| Périodicité d'entretien | Procédure d'entretien |
|---|---|
| À chaque utilisation ou une fois par jour |
|
Ce véhicule utilitaire est destiné principalement à un usage non routier, pour le transport de personnes et de matériel. L'utilisation de ce produit à d'autres fins que celle prévue peut être dangereuse pour vous-même et toute personne à proximité.
Lisez attentivement cette notice pour apprendre comment utiliser et entretenir correctement votre produit, et éviter ainsi de l'endommager ou de vous blesser. Vous êtes responsable de l'utilisation sûre et correcte du produit.
Rendez-vous sur www.Toro.com pour tout document de formation à la sécurité et à l'utilisation des produits, pour tout renseignement concernant un produit ou un accessoire, pour obtenir l'adresse des concessionnaires ou pour enregistrer votre produit.
Pour obtenir des prestations de service, des pièces d'origine Toro ou des renseignements complémentaires, munissez-vous des numéros de modèle et de série de votre produit et contactez un concessionnaire-réparateur agréé ou le service client Toro. La Figure 1 indique l'emplacement des numéros de modèle et de série sur le produit. Inscrivez les numéros dans l'espace réservé à cet effet.
Important: Avec votre appareil mobile, vous pouvez scanner le QR code sur l'autocollant du numéro de série (le cas échéant) pour accéder aux informations sur la garantie, les pièces détachées et autres renseignements concernant le produit.

Ce produit est conforme à toutes les directives européennes pertinentes. Pour plus de renseignements, reportez-vous à la Déclaration de conformité spécifique du produit fournie séparément.
Si cette machine est équipée d'un système télématique, demandez conseil à votre distributeur Toro agréé pour savoir comment l'activer.
CALIFORNIE
Proposition 65 - Avertissement
Le cordon d'alimentation de cette machine contient du plomb, une substance chimique considérée par l'état de Californie comme susceptible de provoquer des malformations congénitales et autres troubles de la reproduction. Lavez-vous les mains après avoir manipulé la batterie.
Les bornes de la batterie et accessoires connexes contiennent du plomb et des composés de plomb. L'état de Californie considère ces substances chimiques comme susceptibles de provoquer des cancers et des troubles de la reproduction. Lavez-vous les mains après avoir manipulé la batterie.
Le symbole de sécurité (Figure 2) utilisé dans ce manuel et sur la machine identifie d'importants messages de sécurité dont vous devez tenir compte pour éviter des accidents.

Le symbole de sécurité apparaît au-dessus de toute information signalant des actions ou des situations dangereuses. Il est suivi de la mention DANGER, ATTENTION ou PRUDENCE
DANGER signale un danger immédiat qui, s'il n'est pas évité, entraînera obligatoirement des blessures graves ou mortelles.
ATTENTION signale un danger potentiel qui, s'il n'est pas évité, risque d'entraîner des blessures graves ou mortelles.
PRUDENCE signale un danger potentiel qui, s'il n'est pas évité, peut éventuellement entraîner des blessures légères ou modérées.
Ce manuel utilise également deux autres termes pour faire passer des informations essentielles : Important pour attirer l'attention sur des informations d'ordre mécanique spécifiques, et Remarque pour souligner des informations d'ordre général méritant une attention particulière.
Ce produit peut causer des blessures. Respectez toujours toutes les consignes de sécurité pour éviter des blessures graves.
Vous devez lire et comprendre le contenu de ce Manuel de l'utilisateur avant de démarrer la machine. Assurez-vous que tous les utilisateurs de ce produit en connaissent parfaitement le fonctionnement et ont bien compris les consignes de sécurité.
Accordez toute votre attention à l'utilisation de la machine. Ne faites rien d'autre qui puisse vous distraire, au risque de causer des dommages corporels ou matériels.
N'approchez pas les mains ou les pieds des composants mobiles de la machine.
N'utilisez pas la machine s'il manque des capots ou d'autres dispositifs de protection, ou s'ils sont endommagés.
N'admettez personne, notamment les enfants, dans le périmètre de travail. N'autorisez jamais les enfants à utiliser la machine.
Arrêtez la machine, coupez le moteur et enlevez la clé avant d'effectuer tout entretien.
L'usage ou l'entretien incorrect de cette machine
peut occasionner des accidents. Pour réduire les risques d'accidents
et de blessures, respectez les consignes de sécurité
qui suivent. Tenez toujours compte des mises en garde signalées
par le symbole de sécurité (
) et la mention Prudence,
Attention ou Danger. Le non respect de ces instructions peut entraîner
des blessures graves ou mortelles.
![]() |
Des autocollants de sécurité et des instructions bien visibles par l'utilisateur sont placés près de tous les endroits potentiellement dangereux. Remplacez tout autocollant endommagé ou manquant. |

















Pièces nécessaires pour cette opération:
| Volant | 1 |
| Vis | 5 |
| Ressort | 2 |
| Cache du volant | 1 |
| Clip du volant | 1 |
Reportez-vous à la Figure 3 pour cette procédure.
Placez le volant sur l'arbre de direction.
Assurez-vous que le volant est centré, autrement dit que la partie plate est en bas et parallèle au sol.
Fixez le volant sur l'arbre de direction à l'aide du contre-écrou.
Serrez le contre-écrou à 27 N·m.
Avec 2 vis et 2 ressorts, fixez le clip sur le cache du volant.
Fixez le cache sur le volant à l'aide de 3 vis.
Serrez les 5 vis à 0,6 N·m.

Chargez les batteries de la machine ; voir Comprendre le chargeur de batteries ion-lithium.
Contrôlez le niveau de liquide de frein avant le premier démarrage de la machine ; voir Contrôle du niveau de liquide de frein.
Contrôlez le niveau de liquide de la boîte-pont avant le premier démarrage de la machine ; voir Contrôle du niveau de liquide de la boîte-pont.
Contrôlez la pression des pneus ; voir Contrôle de la pression des pneus.
Pour assurer l'efficacité optimale du système de freinage, rodez les freins avant d'utiliser la machine.
Amenez la machine à la vitesse maximum, appuyez rapidement sur la pédale de frein sans bloquer les roues.
Répétez 10 fois cette procédure, avec 1 minute d'intervalle entre les arrêts pour ne pas faire surchauffer les freins.

Note: Le volant n’est pas représenté sur la Figure 5 pour plus de clarté.

Utilisez la pédale d'accélérateur pour varier la vitesse de déplacement de la machine. Appuyez sur la pédale d'accélérateur pour démarrer la machine. Enfoncez davantage la pédale pour augmenter la vitesse de déplacement. Relâchez la pédale pour ralentir la machine et pour couper le moteur.
La vitesse de déplacement en marche avant en mode performance est de 26 km/h.
La vitesse de déplacement en marche avant en mode économie est de 18 km/h.
Appuyez sur la pédale de frein pour arrêter ou ralentir la machine.
Un accident est possible si vous utilisez la machine alors que les freins sont usés ou mal réglés.
Si la pédale en bout de course se trouve à moins de 25 mm du plancher, réglez ou réparez les freins.
Le sélecteur de direction (Figure 5) a 2 positions : MARCHE AVANT et MARCHE ARRIèRE.
Note: La machine peut être placée dans n'importe laquelle des 2 positions, mais elle ne se déplace qu'aux positions de MARCHE AVANT et de MARCHE ARRIèRE.
Appuyez sur cet interrupteur (Figure 5) pour actionner l'avertisseur sonore.
L'interrupteur (Figure 5) permet d'allumer les phares. Appuyez sur le haut de l'interrupteur pour allumer les phares. Appuyez sur le bas de l'interrupteur pour éteindre les phares.
Le port USB (Figure 5) permet d'alimenter des appareils mobiles.
Important: Lorsque vous n'utilisez pas le port USB, insérez l'obturateur en caoutchouc pour le protéger d'éventuels dommages.
Utilisez le commutateur d'allumage (Figure 5) pour démarrer ou arrêter le moteur, ou pour sélectionner le mode TRANSPORT.
Le commutateur d’allumage a 3 positions : CONTACT, ARRêT et TRANSPORT.
Tournez la clé dans le sens horaire à la position MARCHE pour utiliser la machine.
Lorsque vous arrêtez la machine, tournez la clé dans le sens antihoraire à la position ARRêT pour couper le moteur. Retirez la clé de l'interrupteur chaque fois que vous quittez la machine.
Pour desserrer le frein de stationnement, tournez le commutateur d'allumage et maintenez-le en position pendant 5 secondes pour sélectionner la position TRANSPORT.
L'écran affiche des renseignements concernant la machine, comme l'état de fonctionnement, ainsi que divers diagnostics et autres données la concernant (Figure 6).

L'affichage comprend un écran de démarrage, un écran d'exécution et un écran de charge (Figure 7, Figure 8 et Figure 9).
La Figure 8 montre ce qui peut apparaître sur l'affichage quand la machine est en marche. L'écran de démarrage s'affiche pendant quelques secondes lorsque vous tournez la clé à la position CONTACT, puis l'écran d'exécution s'affiche.



L'écran d'exécution avec la position du sélecteur de direction (Figure 10) s'affiche quand vous changez de direction.

L'écran d'exécution s'affiche avec la vitesse actuelle de la machine (Figure 11) lorsque la machine roule.

Un code d'anomalie active (Figure 12) s'affiche en cas de problème de la machine.

Quand l’indicateur de batterie froide (Figure 13) clignote sur l’écran d’exécution en cours d’utilisation, les performances de la machine changent jusqu’à ce que la température de la batterie soit supérieure à 0 °C.

L’indicateur de batterie froide s’affiche également sur l’écran de charge (Figure 14) quand les batteries sont trop froides pour pouvoir être chargées.

![]() | Direction – position MARCHE AVANT |
![]() | Transport – position POINT MORT |
![]() | Direction – position MARCHE ARRIèRE |
![]() | Frein de stationnement serré |
![]() | Compteur horaire |
![]() | Tension batterie |
![]() | Niveau de charge de la batterie |
![]() |
Batterie en cours de charge |
![]() |
Avis de faible charge de la batterie |
![]() | Mode Eco activé |
![]() | Anomalie active |
![]() | Indicateur de batterie chaude – la température de la batterie est supérieure à 67 °C |
![]() | Indicateur de batterie froide – la température de la batterie est inférieure à 0 °C |
![]() | Les batteries sont trop froides pour être chargées. |
Le sélecteur de mode superviseur (Figure 15) situé sous le capot, comporte 2 positions : PERFORMANCE et ÉCONOMIE. Tournez le sélecteur dans le sens horaire à la position ÉCONOMIE pour limiter la vitesse maximale de la machine à 18 km/h. Tournez le sélecteur dans le sens antihoraire à la position PERFORMANCE pour rétablir la vitesse de la machine à 26 km/h.

Les poignées de maintien sont situées sur le côté droit de planche de bord et à l'extérieur de chaque siège (Figure 16).

Note: Les spécifications et la conception peuvent faire l'objet de modifications sans préavis.
| Poids de base | 571 kg à sec |
| Capacité nominale (sur surface horizontale) | 767 kg au total, ce qui comprend 90,7 kg pour l'utilisateur et 90,7 kg pour le passager, le chargement, le poids à la flèche de la remorque, le poids brut de la remorque, les accessoires et les outils. |
| Poids total autorisé en charge (PTAC) (sur surface plane) | 1 338 kg au total (comprend tous les poids susmentionnés) |
| Capacité de charge maximale du plateau (sur surface horizontale) | 567 kg au total (comprend le poids à la flèche de la remorque et le poids brut de la remorque) |
| Capacité de remorquage : | |
| Dispositif d'attelage standard | Poids à la flèche : 45 kg |
| Poids brut de la remorque : 363 kg | |
| Dispositif d'attelage renforcé | Poids à la flèche : 45 kg |
| Poids brut de la remorque : 544 kg | |
| Largeur hors tout | 155 cm |
| Longueur hors tout | 307 cm |
| Garde au sol | 28 cm à l'avant sans charge et sans utilisateur, et 17 cm à l'arrière sans charge et sans utilisateur |
| Empattement | 206 cm |
| Voie (entraxe) | 125 cm à l'avant, 120 cm à l'arrière |
| Longueur du plateau de chargement | 113 cm, 137 cm à l’extérieur |
| Largeur du plateau de chargement | 125 cm à l'intérieur, 155 cm à l'extérieur des ailes moulées |
| Hauteur du plateau de chargement | 25 cm à l'intérieur |
Une sélection d'outils et d'accessoires agréés par Toro est disponible pour augmenter et améliorer les capacités de la machine. Pour obtenir la liste de tous les outils et accessoires agréés, contactez votre concessionnaire-réparateur ou votre distributeur Toro agréé, ou rendez-vous sur www.Toro.com.
Pour garantir un rendement optimal et conserver la certification de sécurité de la machine, utilisez uniquement des pièces de rechange et accessoires d'origine Toro. Les pièces de rechange et outils provenant d'autres constructeurs peuvent être dangereux, et leur utilisation risque d'annuler la garantie de la machine.
Ne confiez jamais l'utilisation ou l'entretien de la machine à des enfants ou des personnes qui n'ont pas les compétences nécessaires ou ne sont physiquement aptes. La réglementation locale peut imposer un âge minimum pour les utilisateurs. Le propriétaire de la machine doit assurer la formation de tous les utilisateurs et mécaniciens.
Familiarisez-vous avec le maniement correct de la machine, les commandes et les symboles de sécurité.
Avant de quitter la position d'utilisation, coupez le moteur, enlevez la clé et attendez l'arrêt complet de tout mouvement. Laissez refroidir la machine avant de la régler, d'en faire l'entretien, de la nettoyer ou de la remiser.
Apprenez à arrêter la machine et à couper le moteur rapidement.
Assurez-vous que le nombre d'occupants (vous et votre ou vos passagers) n'est pas supérieur au nombre de poignées de maintien prévues sur la machine.
Assurez-vous de la présence de tous les dispositifs de protection et tous les autocollants. Réparez ou remplacez tous les dispositifs de sécurité et remplacez tous les autocollants illisibles ou manquants. N'utilisez pas la machine s'ils sont absents et ne fonctionnent pas correctement.
| Périodicité d'entretien | Procédure d'entretien |
|---|---|
| À chaque utilisation ou une fois par jour |
|
Avant de démarrer la machine chaque jour, effectuez les procédures décrites à la section .
| Périodicité d'entretien | Procédure d'entretien |
|---|---|
| À chaque utilisation ou une fois par jour |
|
Spécifications de gonflage des pneus : 0,55 à 1,03 bar
Important: Ne dépassez pas la pression de gonflage maximale indiquée sur le flanc des pneus.
Note: La pression de gonflage des pneus est déterminée par la charge utile que vous prévoyez de transporter.
Contrôlez la pression des pneus.
Note: Les pneus avant et arrière doivent être gonflés entre 0,55 et 1,03 bar.
Réduisez la pression de gonflage pour transporter des charges utiles légères, pour réduire le compactage du sol, pour un plus grand confort de roulement et pour minimiser les traces laissées sur le sol.
Augmentez la pression de gonflage pour transporter des charges plus lourdes à des vitesses supérieures.
Au besoin, gonflez ou dégonflez les pneus pour obtenir la pression correcte.

| Périodicité d'entretien | Procédure d'entretien |
|---|---|
| Après les 100 premières heures de fonctionnement |
|
Rodez les machines neuves conformément aux directives pour assurer des performances correctes et prolonger la vie de la machine.
Veillez à roder les freins ; voir la section Rodage sous Préparation.
Contrôlez le liquide de frein ; voir Contrôle du niveau de liquide de frein.
Reportez-vous à pour connaître les contrôles spéciaux à effectuer pendant le rodage.
Contrôlez la position de la suspension avant et arrière et réglez-la au besoin ; voir Réglage du parallélisme des roues avant.
Pour optimiser les performances et la durée de vie des batteries, chargez-les à 100 % à la réception de la machine.
Le propriétaire/l'utilisateur est responsable des accidents pouvant entraîner des dommages corporels ou matériels et peut les prévenir.
Les passagers ne doivent s'asseoir qu'aux emplacements spécifiés. Ne transportez jamais personne sur le plateau de chargement. Tenez tout le monde et les animaux domestiques à l'écart de la machine en marche.
Portez une tenue adaptée, y compris une protection oculaire, un pantalon et des chaussures solides à semelle antidérapante. Si vos cheveux sont longs, attachez-les et ne portez pas de vêtements amples ni de bijoux pendants.
Accordez toute votre attention à l'utilisation de la machine. Ne faites rien d’autre qui puisse vous distraire, au risque de causer des dommages corporels ou matériels.
N'utilisez pas la machine si vous êtes fatigué(e), malade ou sous l'emprise de l'alcool, de médicaments ou de drogues.
Ne dépassez pas le poids brut maximum de la machine.
Redoublez de prudence quand vous freinez ou prenez un virage en transportant une lourde charge dans le plateau.
Le transport de charges surdimensionnées dans le plateau modifie la stabilité de la machine. Ne dépassez pas la capacité de transport du plateau.
La direction, le freinage et la stabilité de la machine sont affectés si la charge transportée ne peut pas être arrimée sur le plateau. Quand vous transportez une charge qui ne peut pas être arrimée sur la machine, freinez et changez de direction avec prudence.
Ralentissez votre course et allégez la charge transportée par la machine sur les terrains accidentés, irréguliers et près de bordures, trous et autres accidents de terrain. La charge peut se déplacer et rendre la machine instable.
Avant de démarrer la machine, assurez-vous le frein de stationnement est serré et que vous êtes au poste d'utilisation.
Vous et vos passagers devez rester assis pendant le déplacement de la machine. Vous devez garder les mains sur le volant et les passagers doivent se tenir aux poignées de maintien prévues à cet effet. Gardez toujours les bras et les jambes à l'intérieur de la machine.
N'utilisez la machine que si la visibilité est bonne. Méfiez-vous des trous, ornières, bosses, rochers ou autres obstacles cachés. Les irrégularités du terrain risquent de provoquer le retournement de la machine. L'herbe haute peut masquer les accidents du terrain. Soyez prudent à l'approche de tournants sans visibilité, de buissons, d'arbres ou d'autres objets susceptibles de vous masquer la vue.
Ne conduisez pas la machine à proximité de fortes dénivellations, fossés ou berges. La machine pourrait se retourner brusquement si une roue passe par-dessus une dénivellation quelconque et se retrouve dans le vide, ou si un bord s'effondre.
Méfiez-vous des obstacles en surplomb tels que branches d'arbres, jambages de portes, et passerelles, etc.
Avant de faire marche arrière, vérifiez que la voie est libre juste derrière la machine et sur sa trajectoire.
Lorsque vous utilisez la machine sur la voie publique, respectez le code de la route et utilisez les accessoires supplémentaires éventuellement exigés par la loi, tels éclairages, clignotants, panneau « véhicule lent » et autres.
Si la machine vibre de façon anormale, coupez le moteur et arrêtez immédiatement la machine, attendez l'arrêt de toutes les pièces mobiles et recherchez d'éventuels dommages. Réparez tout dommage de la machine avant de recommencer à travailler.
L'arrêt de la machine peut demander plus de temps sur les surfaces mouillées que sur les surfaces sèches. Pour sécher les freins par temps de pluie, conduisez lentement sur une surface plane en appuyant légèrement sur la pédale de frein.
Si vous conduisez la machine à haute vitesse et que vous freinez brusquement, les roues arrière peuvent se bloquer et vous risquez alors de perdre le contrôle de la machine.
Ne touchez pas le moteur pendant qu'il tourne ou juste après son arrêt car vous pourriez vous brûler.
Ne laissez pas la machine en marche sans surveillance.
Avant de quitter le poste de conduite :
Garez la machine sur une surface plane et horizontale.
Assurez-vous que le frein de stationnement est serré.
Coupez le moteur de la machine et retirez la clé.
Attendez l'arrêt complet de tout mouvement.
N'utilisez pas la machine s'il y a risque d'orage.
Utilisez uniquement les accessoires et outils agréés par The Toro Company.
Note: Un système de protection antiretournement (ROPS) à 2 montants est un accessoire disponible pour cette machine. Utilisez un système ROPS lorsque vous tondez près de fortes dénivellations, d'étendues d'eau, sur un terrain accidenté ou sur une pente qui pourrait entraîner le retournement de la machine. Pour plus de renseignements, contactez un distributeur Toro agréé.
Les pentes augmentent significativement les risques de perte de contrôle et de basculement de la machine pouvant entraîner des accidents graves, voire mortels.
Examinez attentivement le site pour identifier les pentes sur lesquelles vous pouvez utiliser la machine sans risque et établissez vos propres procédures et règles de travail à appliquer sur les pentes en question. Faites toujours preuve de bon sens et de discernement quand vous réalisez cette étude.
Ne travaillez pas sur les pentes sur lesquelles vous ne vous sentez pas à l'aise.
Déplacez-vous à vitesse réduite et progressivement sur les pentes. Ne changez pas brusquement de vitesse ou de direction.
Évitez d'utiliser la machine sur un terrain humide. Les pneus risquent de perdre en adhérence. La machine peut se retourner avant que les roues ne perdent leur motricité.
Montez et descendez toujours les pentes en ligne droite.
Si la machine commence à perdre de la puissance pendant la montée d'une pente, freinez progressivement et redescendez lentement la pente en ligne droite et en marche arrière.
Il est dangereux de faire demi-tour alors que vous montez ou descendez une pente. Si vous devez tourner alors que vous vous trouvez sur une pente, procédez lentement et prudemment.
Les lourdes charges compromettent la stabilité de la machine sur les pentes. Allégez la charge et ralentissez sur les pentes ou si le centre de gravité de la charge est très élevé. Arrimez solidement la charge sur le plateau de la machine pour l'empêcher de se déplacer. Redoublez de prudence lorsque vous transportez des charges qui ont tendance à se déplacer facilement (liquide, pierres, sable, etc.).
Évitez de démarrer, de vous arrêter ou de tourner sur une pente, surtout avec un chargement. Il faut plus longtemps à la machine pour s'arrêter sur une pente que sur une surface horizontale. Si vous devez arrêter la machine, évitez les variations de vitesse soudaines qui pourraient la faire se renverser ou se retourner. Ne freinez pas brutalement quand vous faites marche arrière, car la machine pourrait se retourner.
Ne dépassez pas le poids total autorisé en charge de la machine lorsque le plateau est chargé et/ou si vous tractez une remorque ; voir Caractéristiques techniques.
Répartissez la charge uniformément sur le plateau pour améliorer la stabilité et la contrôle de la machine.
Avant de décharger le plateau, vérifiez que la voie est libre derrière la machine.
Ne déchargez pas le plateau si la machine est garée transversalement sur une pente. La modification de la répartition de la charge peut causer le retournement de la machine.
Le plateau levé peut retomber et blesser toute personne qui travaille dessous.
Calez toujours le plateau avec la béquille avant de travailler dessous.
Déchargez le plateau avant de le lever.
Ne conduisez pas la machine en laissant le plateau de chargement levé, car elle pourrait facilement se renverser ou se retourner. La structure du plateau peut être endommagée si vous conduisez la machine avec le plateau levé.
Abaissez toujours le plateau de chargement quand vous conduisez la machine.
Abaissez toujours le plateau de chargement après l'avoir déchargé.
Si une charge est regroupée à l'arrière du plateau, celui-ci peut basculer brusquement lorsque vous ouvrez les verrous et vous blesser ou blesser des personnes à proximité.
Centrez bien les charges sur le plateau si possible.
Maintenez le plateau abaissé et assurez-vous que personne n'est appuyé contre ou ne se tient juste derrière lorsque vous ouvrez les verrous.
Déchargez complètement le plateau avant de l'élever pour faire l'entretien de la machine.
Le plateau de chargement peut être lourd. Il peut écraser les mains ou d'autres parties du corps.
N'approchez pas les mains ni aucune autre partie du corps du plateau pendant qu'il s'abaisse.
Vérifiez que le plateau est abaissé et verrouillé.
Passez les doigts dans les poignées du hayon pour le soulever (Figure 20).

Alignez les bords de verrouillage du hayon sur les ouvertures entre les bords de verrouillage du plateau de chargement (Figure 20).
Faites pivoter le hayon vers l'arrière et le bas (Figure 20).
Après avoir déchargé des matériaux en vrac (sable, pierres pour aménagement paysager ou copeaux de bois) du plateau, une petite partie peut rester coincée dans la charnière du hayon. Avant de refermer le hayon, procédez comme suit :
Enlevez à la main autant des débris logés dans la charnière que possible.
Faites pivoter le hayon à environ 45° (Figure 21).

Faites pivoter le hayon d'avant en arrière en l'agitant légèrement quelques secondes (Figure 21).
Note: Cela facilite l'élimination des débris présents dans la charnière.
Abaissez le hayon et assurez-vous qu'il ne reste pas de débris autour et dans la charnière.
Répétez les opérations 1 à 4 jusqu'à ce qu'il ne reste plus de débris dans la charnière.
Faites pivoter le hayon vers le haut et l'avant jusqu'à ce que les bords de verrouillage soient au niveau du creux dans le plateau de chargement (Figure 20).
Note: Levez et abaissez le hayon pour aligner les bords de verrouillage sur les ouvertures verticales entre les bords du plateau de chargement prévus pour recevoir les bords du hayon.
Abaissez le hayon jusqu'à ce qu'il soit de nouveau engagé à l'arrière du plateau de chargement (Figure 20).
Note: Les bords de verrouillage du hayon sont parfaitement fixés par les bords du plateau de chargement.
Vérifiez sur l'écran le niveau de charge du système de batteries ; voir Écran d'affichage.
Si le niveau de charge des batteries devient trop bas (moins de 10 %), une icône de faible charge s'affiche sur l'écran. Lorsque ce pourcentage de charge est atteint, conduisez la machine jusqu'à une zone de recharge désignée et rechargez les batteries ; voir Comprendre le chargeur de batteries ion-lithium.
Si aucun niveau de charge de la batterie n'est indiqué, la machine va fonctionner à vitesse réduite (par ex. 5 km/h).
Important: Lorsque vous arrêtez la machine sur un plan incliné, utilisez les freins de service pour l’arrêter et pour l'immobiliser. Le moteur peut surchauffer ou les batteries peuvent se décharger si vous utilisez l'accélérateur pour arrêter la machine sur une pente.
Enlevez le pied de la pédale d'accélérateur.
Enfoncez lentement la pédale de frein pour serrer les freins de service jusqu'à ce que la machine s'immobilise complètement. Le frein de stationnement s'enclenche quand la machine s'immobilise complètement.
Note: La distance d'arrêt peut varier selon la charge et la vitesse de la machine.
Observez les instructions suivantes pour charger le plateau et utiliser la machine :
Respectez la capacité de charge nominale de la machine et limitez le poids de la charge transportée sur le plateau comme décrit sous Caractéristiques techniques et indiqué sur l'étiquette du poids total autorisé en charge de la machine.
Note: La charge nominale spécifiée n'est valable que si la machine est utilisée sur une surface plane.
Allégez la charge transportée sur le plateau quand vous utilisez la machine sur une pente ou un terrain accidenté.
Allégez la charge transportée sur le plateau si elle est haute (et que son centre de gravité est élevé), comme un tas de briques, des pièces de bois pour aménagements paysagers ou des sacs d'engrais. Répartissez la charge aussi bas que possible, en vous assurant qu'elle ne réduit pas la visibilité derrière la machine quand celle-ci est en marche.
Maintenez les chargements au centre du plateau en procédant comme suit :
Positionnez la charge uniformément entre les deux côtés du plateau.
Important: Un basculement est plus susceptible de se produire si le chargement est regroupé d'un seul côté du plateau.
Positionnez le chargement uniformément entre l'avant et l'arrière du plateau.
Important: Une perte de la direction ou le basculement de la machine peut se produire si la charge est placée derrière l'essieu arrière et que la motricité des roues avant est réduite.
Redoublez de prudence lorsque vous transportez des charges surdimensionnées dans le plateau de chargement, surtout s'il est impossible de centrer le poids de la charge.
Chaque fois que vous le pouvez, arrimez la charge sur le plateau pour l'empêcher de bouger.
Lorsque vous transportez des liquides, conduisez avec précaution pour monter ou descendre des pentes, quand vous changez subitement de vitesse ou que vous vous arrêtez, ou quand vous passez sur des surfaces accidentées.
Le plateau de chargement a une capacité de charge de 0,37 m3. La quantité (le volume) de matériau qu'il est possible de transporter sur le plateau sans dépasser les charges nominales spécifiées, dépend de la densité du matériau en question.
Les volumes maximum de divers matériaux sont indiqués dans le tableau suivant :
| Matériau | Densité | Capacité de charge maximale du plateau(sur surface horizontale) |
| Gravier, sec | 1 522 kg/m3 | Plein |
| Gravier humide | 1 922 kg/m3 | 3/4 plein |
| Sable sec | 1 442 kg/m3 | Plein |
| Sable humide | 1 922 kg/m3 | 3/4 plein |
| Bois | 721 kg/m3 | Plein |
| Écorce | <721 kg/m3 | Plein |
| Terre (compacte) | 1 602 kg/m3 | 3/4 plein (approx.) |
Avant de quitter le poste de conduite :
Garez la machine sur une surface plane et horizontale.
Assurez-vous que le frein de stationnement est serré.
Coupez le moteur de la machine et retirez la clé.
Attendez l'arrêt complet de tout mouvement.
Laissez refroidir la machine avant de la régler, d'en faire l'entretien, de la nettoyer ou de la remiser.
Ne rangez pas la machine à proximité d'une flamme nue, d'une source d'étincelles ou d'une veilleuse, telle celle d'un chauffe-eau ou autre appareil.
Maintenez toutes les pièces de la machine en bon état de marche et toutes les fixations bien serrées.
Faites l'entretien de la ou des ceintures de sécurité, et nettoyez-les au besoin.
Remplacez tous les autocollants usés, endommagés ou manquants.
ATTENTION : Risque d'incendie et de choc électrique – Les batteries ne contiennent aucune pièce réparable par l'utilisateur.
Vérifiez la tension existante dans votre pays avant d'utiliser le chargeur.
Ne chargez pas la machine dans un lieu humide ; protégez-la de la neige et de la pluie.
L'utilisation d'un accessoire non recommandé ou non vendu par Toro peut causer un incendie, un choc électrique ou des blessures.
Pour réduire les risques d'explosion des batteries, respectez ces instructions ainsi que celles des équipements que vous avez l'intention d'utiliser à proximité du chargeur.
Les batteries peuvent dégager des gaz explosifs si elles sont excessivement chargées.
Contactez un distributeur Toro agréé pour l'entretien ou le remplacement des batteries.
Ne confiez jamais l'utilisation ou l'entretien du chargeur à des enfants ou à des personnes non qualifiées. La réglementation locale peut imposer un âge minimum pour les utilisateurs. Le propriétaire de la machine doit assurer la formation de tous les utilisateurs et mécaniciens.
Avant d'utiliser le chargeur, vous devez lire, comprendre et respecter toutes les instructions qui figurent dessus et dans le manuel. Familiarisez-vous avec l'utilisation correcte du chargeur.
Tenez tout le monde, notamment les enfants, à distance pendant la charge des batteries.
Coupez le moteur de la machine et patientez jusqu'à l'arrêt complet de la machine avant de charger les batteries. Un arc électrique peut se produire si vous ne procédez pas ainsi.
Utilisez le chargeur uniquement dans la plage de tension spécifiée dans ce Manuel de l'utilisateur, et uniquement avec un cordon d'alimentation agréé par Toro.
Contactez votre distributeur Toro agréé pour vous procurer le chargeur et le cordon d'alimentation corrects.
Ne chargez pas les batteries qui ont gelé.
Ne maltraitez pas le cordon d’alimentation. Ne tirez pas sur le cordon d'alimentation pour débrancher le chargeur de la prise. Rangez le cordon d'alimentation à l'écart de la chaleur, de l'huile et des arêtes vives.
Branchez le chargeur directement sur une prise de terre. Ne branchez pas le chargeur sur une prise qui n'est pas reliée à la terre, même avec un adaptateur de mise à la terre.
Ne modifiez pas le cordon ou la fiche d'alimentation.
Enlevez bagues, bracelets, colliers, montres et autres objets en métal avant toute intervention sur une batterie ion-lithium. Une batterie ion-lithium peut produire un courant suffisant pour causer de graves brûlures.
Utilisez une rallonge capable d'accepter l’ampérage de charge spécifié dans ce Manuel de l'utilisateur. Si la charge s'effectue à l'extérieur, utilisez une rallonge prévue pour l'usage extérieur.
Si le cordon d'alimentation est endommagé alors qu'il est branché, débranchez-le de la prise murale et procurez-vous un cordon de rechange auprès d'un distributeur Toro agréé.
Débranchez le chargeur de la prise électrique lorsqu'il ne sert pas, avant de le transporter à un autre endroit ou avant d'en faire l'entretien.
Ne démontez pas le chargeur.
Portez le chargeur chez un concessionnaire Toro agréé pour faire effectuer les entretiens et réparations nécessaires.
Débranchez le cordon d'alimentation de la prise avant de commencer l'entretien ou le nettoyage, afin de réduire le risque de choc électrique.
Remplacez les autocollants d'instruction ou de sécurité manquants ou endommagés au besoin.
N'utilisez pas le chargeur si le cordon ou la prise est endommagé(e). Contactez votre concessionnaire Toro agréé pour vous procurer un cordon de rechange.
N'utilisez pas le chargeur s'il est endommagé ; portez-le chez un distributeur Toro agréé.
Procédez avec prudence pour charger la machine sur une remorque ou un camion, ainsi que pour la décharger.
Utilisez des rampes d'une seule pièce pour charger la machine sur une remorque ou un camion.
Arrimez solidement la machine.
L'emplacement des points d'arrimage sur la machine est indiqué à la Figure 22 et la Figure 23.
Note: Chargez la machine sur la remorque en dirigeant l'avant vers l'avant de la remorque. Si cela s'avère impossible, fixez le capot de la machine au cadre avec une sangle ou déposez-le car il pourrait s'envoler pendant le transport. Fixez et transportez le capot séparément.


En cas d'urgence, vous pouvez remorquer la machine sur une courte distance ; toutefois cette procédure ne doit pas être employée de manière habituelle.
Le remorquage à des vitesses excessives peut entraîner la perte du contrôle de la direction et provoquer des accidents.
Ne remorquez jamais la machine à plus de 8 km/h.
Le remorquage de la machine nécessite l'intervention de 2 personnes. S'il est nécessaire de déplacer la machine sur une longue distance, faites-la transporter par camion ou chargez-la sur une remorque.
Accrochez un câble de remorquage à la flèche d'attelage à l'avant du cadre de la machine.
Pour desserrer le frein de stationnement, tournez le commutateur d'allumage et maintenez-le en position pendant 5 secondes pour sélectionner la position TRANSPORT.
Note: Le symbole « N » (soit la position POINT MORT) doit s’afficher à l’écran.
La machine peut tracter des remorques. Un dispositif d'attelage est disponible pour cette machine. Contactez votre concessionnaire-réparateur agréé pour plus de détails.
Quand vous transportez un chargement ou que vous tractez une remorque, ne surchargez pas la machine ou la remorque. La surcharge de la machine ou de la remorque peut réduire les performances de la machine ou endommager les freins, la boîte-pont, la direction, la suspension, la structure de la caisse ou les pneus.
Lorsque vous chargez la remorque, placez toujours 60 % de la charge à l'avant. La flèche d'attelage de la machine est ainsi soumise à environ 10 % du poids brut de la remorque.
Pour assurer un freinage et une motricité corrects, chargez toujours le plateau quand vous tractez une remorque. Ne dépassez pas le poids brut maximum de la remorque ou du véhicule.
Évitez de garer la machine sur une pente si une remorque est attelée. S'il est impossible de faire autrement, calez les roues de la remorque.
Le Ministère des transports américain et les autorités internationales en matière de transport stipulent que les batteries ion-lithium doivent être transportées dans un emballage spécial et uniquement par des transporteurs certifiés pour le transport de ce type de produit. Aux États-Unis, vous avez le droit de transporter une batterie quand elle est installée sur la machine comme équipement alimenté par batterie, avec quelques exigences réglementaires. Contactez le Ministère des transports des États-Unis ou l'organisme approprié dans votre pays pour tout détail sur la réglementation relative au transport des batteries ou de la machine équipée de batteries.
Pour plus de détails sur l'expédition des batteries, contactez votre distributeur Toro agréé.
Tout contact avec de l'eau pendant la charge de la machine peut causer un choc électrique et entraîner des blessures ou la mort.
Ne manipulez pas la fiche ou le chargeur si vous avez les mains mouillées ou les pieds dans l'eau.
Ne chargez pas les batteries sous la pluie ou dans des lieux humides.
Pour réduire le risque de choc électrique, ce chargeur est muni d'une fiche de terre à 3 broches (type B). Si la fiche ne rentre pas dans la prise murale, d'autres types de fiche de terre sont disponibles ; contactez un distributeur Toro agréé.
Ne modifiez en aucun cas le chargeur ou la fiche du cordon d'alimentation.
Important: Vérifiez régulièrement que la gaine du cordon d'alimentation n'est pas percée ou fendue. N'utilisez pas le cordon d'alimentation s'il est endommagé. Ne faites pas passer le cordon dans des flaques d'eau ou de l'herbe détrempée.
Voir les exigences d'alimentation à la Figure 24.

Branchez le cordon d'alimentation sur la prise du chargeur de la machine (Figure 25).
Si le cordon d'alimentation du chargeur est endommagé, il peut causer un choc électrique ou un incendie.
Examinez soigneusement le cordon d'alimentation avant d'utiliser le chargeur. Si le cordon est endommagé, n'utilisez pas le chargeur avant de l'avoir remplacé.

Insérez la fiche du cordon d'alimentation dans une prise de terre.
Si vous essayez de charger les batteries avec un chargeur non fourni par Toro, une surchauffe et d'autres dysfonctionnements associés peuvent se produire et causer des dommages matériels et/ou des blessures.
Chargez les batteries avec les chargeurs fournis par Toro.
Plage de température de charge recommandée : 0 à 45 °C
Important: Chargez les batteries uniquement à des températures comprises dans la plage recommandée.
Note: Le chargeur ne fonctionnera pas en dehors des températures minimum et maximum indiquées. Les indicateurs de batterie chaude ou froide s'affichent sur l'écran.
L'état de charge est indiqué sur l'écran.
Si une anomalie se produit, un message d'erreur s'affiche sur l'écran. Pour remédier à une erreur, voir le Manuel d'entretien de la machine.
Débranchez le cordon d'alimentation de la prise du chargeur.
Placez le cordon d'alimentation dans la position de rangement pour éviter de l'endommager.
Mettez la machine en marche.
Contrôlez le niveau de charge ; voir Écran d'affichage.
Ne confiez pas l'entretien de la machine à des personnes non qualifiées.
Avant de quitter le poste de conduite :
Garez la machine sur une surface plane et horizontale.
Assurez-vous que le frein de stationnement est serré.
Coupez le moteur de la machine et retirez la clé.
Attendez l'arrêt complet de tout mouvement.
Laissez refroidir la machine avant de la régler, d'en faire l'entretien, de la nettoyer ou de la remiser.
Soutenez la machine avec des chandelles chaque fois que vous devez travailler dessous.
Ne travaillez pas sous le plateau levé sans mettre la béquille de sécurité en place.
Ne chargez pas les batteries pendant l'entretien de la machine
Vérifiez l'état de la machine dans son ensemble et maintenez toutes les fixations serrées au couple prescrit.
Pour réduire les risques d'incendie, débarrassez la machine de tout excès de graisse, débris d'herbe, feuilles et saletés.
Si possible, n'effectuez aucun entretien sur la machine en laissant le moteur en marche. Ne vous approchez pas des pièces mobiles.
Si le moteur doit tourner pour effectuer un réglage de la machine, n'approchez pas les mains, les pieds ou autres parties du corps, ni les vêtements des pièces mobiles. Ne laissez personne s'approcher de la machine.
Contrôlez le bon fonctionnement du frein de stationnement selon les recommandations du calendrier d'entretien, et réglez-le au révisez-le selon les besoins.
Maintenez toutes les pièces de la machine en bon état de marche et toutes les fixations serrées au couple correct. Remplacez tous les autocollants usés ou endommagés.
Ne cherchez jamais à modifier la fonction prévue d'un dispositif de sécurité ni à réduire la protection qu'il assure.
Si la machine nécessite une réparation importante ou si vous avez besoin de renseignements, faites appel à un concessionnaire Toro agréé.
Toute modification de la machine susceptible d'en altérer le fonctionnement, les performances, la durabilité ou l'utilisation peut entraîner des blessures parfois mortelles. Une telle utilisation pourrait aussi annuler la garantie produit de The Toro® Company.
| Périodicité d'entretien | Procédure d'entretien |
|---|---|
| Après les 100 premières heures de fonctionnement |
|
| À chaque utilisation ou une fois par jour |
|
| Toutes les 100 heures |
|
| Toutes les 200 heures |
|
| Toutes les 300 heures |
|
| Toutes les 400 heures |
|
| Toutes les 800 heures |
|
| Toutes les 1000 heures |
|
Note: Téléchargez un exemplaire gratuit du schéma électrique en vous rendant sur www.Toro.com et en cherchant votre machine sous le lien Manuels sur la page d'accueil.
Un mauvais entretien de la machine peut entraîner une défaillance prématurée des divers systèmes et vous blesser ou blesser toute personne à proximité.
Maintenez la machine bien entretenue et en bon état de marche, conformément aux instructions du présent manuel.
Ne confiez l'entretien, les réparations, les réglages et les contrôles de la machine qu'à du personnel qualifié et autorisé.
Évitez les risques d'incendie et prévoyez du matériel de protection incendie dans la zone de travail. N'utilisez pas une flamme nue pour vérifier les niveaux de liquides.
N'utilisez pas de récipients ouverts contenant des solvants inflammables pour nettoyer les pièces.
Si vous laissez la clé dans le commutateur, quelqu'un pourrait mettre le moteur en marche accidentellement et vous blesser gravement, ainsi que toute personne à proximité.
Coupez le moteur et retirez la clé du commutateur avant d'effectuer des entretiens.
Copiez cette page pour pouvoir vous en servir régulièrement.
| Entretiens à effectuer | Pour la semaine du : | ||||||
|---|---|---|---|---|---|---|---|
| Lundi | Mardi | Mercredi | Jeudi | Vendredi | Samedi | Dimanche | |
| Contrôlez le fonctionnement du frein et du frein de stationnement. | |||||||
| Contrôlez le fonctionnement du sélecteur de direction. | |||||||
| Contrôlez le niveau de liquide de frein. | |||||||
| Vérifiez les bruits de fonctionnement anormaux. | |||||||
| Vérifiez la pression des pneus. | |||||||
| Recherchez des fuites éventuelles. | |||||||
| Vérifiez le fonctionnement des instruments. | |||||||
| Vérifiez le fonctionnement de l'accélérateur. | |||||||
| Retouchez les peintures endommagées. | |||||||
| Lavez la machine. | |||||||
| Retouchez les peintures endommagées. | |||||||
Important: Dans les conditions indiquées ci-dessous, doublez la fréquence des entretiens :
Utilisation dans le désert
Utilisation par temps froid (au-dessous de 10 °C)
Attelage d'une remorque
Utilisation fréquente dans une atmosphère poussiéreuse
Travaux de construction
Après une utilisation prolongée dans la boue, le sable, l'eau ou autres environnements sales, effectuez ce qui suit :
Faites inspecter et nettoyer vos freins dès que possible. Cela permet d'éliminer les particules abrasives susceptibles de causer une usure excessive.
Lavez la machine seulement avec de l'eau ou en y ajoutant un détergent d'eau.
Important: Ne nettoyez pas la machine avec de l'eau saumâtre ou recyclée.
Garez la machine sur une surface plane et horizontale.
Assurez-vous que le frein de stationnement est serré.
Coupez le moteur de la machine et retirez la clé.
La machine soutenue par un cric peut être instable. La machine pourrait glisser du cric et blesser la personne qui se trouve dessous.
Ne mettez pas le moteur en marche lorsque la machine est soutenue par un cric.
Retirez toujours la clé du commutateur d'allumage avant de descendre de la machine.
Calez les roues lorsque la machine est soutenue par du matériel de levage.
Soutenez la machine avec des chandelles après l'avoir levée.
Important: Si le moteur de la machine doit tourner à des fins d'entretien et/ou de diagnostic, placez des chandelles sous l'essieu arrière afin de soulever les roues arrière à 25 mm au-dessus du sol.
Le point de levage avant de la machine est situé à l'avant du cadre, derrière la flèche d'attelage (Figure 26).

Le point de levage arrière est situé sous les tubes d'essieu (Figure 27).

| Périodicité d'entretien | Procédure d'entretien |
|---|---|
| Toutes les 300 heures |
|
Graisse spécifiée : Mobilgrease XHP™-222
Soulevez l'avant de la machine sur des chandelles.
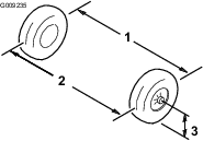
Retirez les 4 écrous de roue qui fixent la roue au moyeu (Figure 29).

Retirez les boulons à embase (⅜" x ¾") qui fixent le support du frein à la fusée et séparez le frein de la fusée (Figure 30).
Note: Soutenez le frein avant de passer à l'opération suivante.

Retirez le couvre-moyeu du moyeu (Figure 31).

Retirez la goupille fendue et le frein d'écrou de la fusée et de son écrou (Figure 31).
Enlevez l'écrou de la fusée, et séparez l'ensemble moyeu et rotor de la fusée (Figure 31 et Figure 32).

Essuyez la fusée avec un chiffon propre.
Répétez les opérations 1 à 7 pour le moyeu et le rotor de l'autre côté de la machine.
Déposez le roulement extérieur et la bague de roulement du moyeu (Figure 33).

Déposez le joint et le roulement intérieur du moyeu (Figure 33).
Essuyez le joint et vérifiez s'il est usé ou endommagé.
Note: N'utilisez pas de solvants ou de carburant pour nettoyer le joint. Remplacez le joint s'il est usé ou endommagé.
Nettoyez les roulements et leurs bagues, et vérifiez si ces pièces sont usées ou endommagées.
Note: Remplacez toutes les pièces usées ou endommagées. Vérifiez que les roulements et les bagues sont propres et secs.
Éliminez la graisse, la saleté et les débris déposés à l'intérieur de la cavité du moyeu (Figure 33).
Garnissez les roulements avec la graisse spécifiée.
Remplissez la cavité du moyeu de 50 à 80 % environ avec la graisse spécifiée (Figure 33).
Assemblez le roulement intérieur sur la bague sur le côté intérieur du moyeu et montez le joint (Figure 33).
Répétez les opérations 1 à 8 pour les roulements de l'autre moyeu.
Appliquez une fine couche de la graisse spécifiée sur la fusée (Figure 34).

Montez le moyeu et le rotor sur la fusée en plaçant le rotor à l'intérieur (Figure 34).
Montez le roulement extérieur sur la fusée et poussez le roulement contre la bague (Figure 34).
Montez la rondelle-frein à languette sur la fusée (Figure 34).
Vissez l'écrou de fusée sur la fusée et serrez l'écrou à 15 N·m tout en tournant le moyeu pour bien asseoir le roulement (Figure 34).
Serrez l'écrou de fusée jusqu'à ce que le moyeu tourne librement.
Serrez l'écrou de fusée à un couple de 1,70 à 2,26 N·m.
Placez le frein d'écrou sur l'écrou et vérifiez que la fente du frein d'écrou et le trou dans la fusée sont alignés et permettent d'insérer la goupille fendue (Figure 35).
Note: Si la fente dans le frein d'écrou et le trou dans la fusée ne sont pas alignés, alignez-les en serrant l'écrou de fusée à un couple maximum de 2,26 N·m.

Insérez la goupille fendue et repliez chaque jambe autour du frein d'écrou (Figure 35).
Reposez le couvre-moyeu sur le moyeu (Figure 35).
Répétez les opérations 1 à 10 pour le moyeu et le rotor de l'autre côté de la machine.
Nettoyez les 2 boulons à embase (⅜" x ¾") et enduisez les filets d'une couche de composé antigrippant.
Alignez les plaquettes de frein de chaque côté du rotor (Figure 30) et alignez également les trous dans le support d'étrier et ceux de la fixation du frein sur le porte-fusée (Figure 34).
Fixez le support d'étrier au porte-fusée (Figure 30) à l'aide de 2 boulons à embase (⅜" x ¾").
Serrez les 2 boulons à embase à un couple de 47 à 54 N·m.
Alignez les trous dans la roue et les goujons du moyeu puis montez la roue sur le moyeu en plaçant la valve à l'extérieur (Figure 29).
Note: Vérifiez que la surface de montage de la roue affleure le moyeu.
Fixez la roue au moyeu avec les écrous de roue (Figure 29).
Serrez les écrous de roues à un couple de 108 à 122 N·m.
Répétez les opérations 1 à 5 pour le frein et la roue de l'autre côté de la machine.
Débranchez le cordon d'alimentation du chargeur de batterie s'il est branché.
Levez le plateau de chargement.
Tournez le coupe-batterie à la position voulue, comme montré à la Figure 36.

Note: La machine est équipée de 4 batteries ion-lithium.
Les batteries ion-lithium doivent être mises au rebut ou recyclées conformément à la réglementation locale et fédérale. Si une batterie nécessite un entretien, contactez votre distributeur Toro agréé.
N'ouvrez pas la batterie. En cas de problèmes de batterie, contactez votre distributeur Toro agréé.
Les batteries contiennent une tension élevée qui peut causer des brûlures ou un choc électrique.
N'essayez pas d'ouvrir les batteries.
Faites preuve d'une extrême prudence quand vous manipulez une batterie dont le bac est fissuré.
Utilisez uniquement le chargeur conçu pour les batteries.
Les batteries ion-lithium possèdent une charge suffisante pour effectuer les travaux prévus au cours de leur durée de vie.
Pour une durée de vie et une utilisation optimales de vos batteries, respectez les consignes qui suivent :
N'ouvrez pas la batterie.
Remisez/garez la machine dans un garage ou un lieu d'entreposage propre et sec, à l'abri de la lumière directe du soleil, de sources de chaleur, de la pluie et de l'humidité. Ne la rangez pas dans un lieu où la température dépasse la plage spécifiée sous Spécifications de remisage des batteries. Les températures en dehors de cette plage endommageront les batteries. Les températures élevées pendant le remisage, notamment quand la charge est élevée, réduisent la durée de vie des batteries.
Si vous devez remiser la machine plus de 10 jours, placez-la dans un endroit frais et sec, à l'abri des rayons du soleil, de la pluie et de l'humidité.
N'utilisez l'éclairage que lorsque cela est nécessaire.
Important: Ne confiez les réparations électriques qu'à un distributeur Toro agréé.
Le chargeur n'a besoin que de très peu d'entretien à part d'être protégé des dommages et des intempéries.
Nettoyez le cordon et le boîtier du chargeur avec un chiffon légèrement humide après chaque utilisation.
Note: Ne nettoyez pas la graisse diélectrique sur les bornes.
Enroulez les cordons quand ils ne servent pas.
Vérifiez régulièrement l'état des cordons d'alimentation, et remplacez-les au besoin par des cordons Toro agréés.
Spécifications : voir votre Catalogue de pièces.
Débranchez l'alimentation de la machine ; voir Utilisation du coupe-batterie.
Ouvrez le capot.
Débranchez le connecteur électrique de faisceau du connecteur du phare (Figure 39).

Déposez les clips rapides qui fixent le phare à son support (Figure 39).
Note: Conservez toutes les pièces pour monter le phare de rechange.
Sortez le phare en le déplaçant vers l'avant à travers l'ouverture dans le pare-chocs avant (Figure 39).
Montez le phare neuf par l'ouverture dans le pare-chocs (Figure 39).
Note: Veillez à bien aligner les ergots sur les trous dans le support de montage derrière le pare-chocs.
Fixez le phare avec les clips rapides retirés à l'opération 4.
Branchez le connecteur électrique de faisceau sur le connecteur de l'ampoule (Figure 39).
Réglez les phares de façon à diriger les faisceaux à la position voulue ; voir Réglage des phares.
Chaque fois que vous déposez ou remplacez un phare, ajustez la position du faisceau comme suit :
Garez la machine sur une surface plane et horizontale, avec les phares à environ 7,6 m de distance d'un mur (Figure 40).
Mesurez la distance entre le sol et le centre du phare, et tracez un repère sur le mur à la même hauteur.
Tournez la clé à la position CONTACT et allumez les phares.
Notez l'emplacement du faisceau des phares sur le mur.
La partie la plus brillante du faisceau doit se trouver 20 cm en dessous du repère que vous avez tracé sur le mur (Figure 40).

Au dos du phare, tournez les vis de réglage (Figure 39) pour orienter le phare et aligner la position de son faisceau.
Rebranchez l’alimentation de la batterie ; voir Utilisation du coupe-batterie.
| Périodicité d'entretien | Procédure d'entretien |
|---|---|
| Toutes les 100 heures |
|
Vérifiez l'état et l'usure des pneus et des jantes.
Note: Les accidents de conduite, comme une collision contre une bordure (de trottoir), peuvent endommager un pneu ou une jante et dérégler en outre le parallélisme des roues. Pour cette raison, vérifiez l'état des pneus après tout accident.
Serrez les écrous de roues à un couple de 108 à 122 N·m.
| Périodicité d'entretien | Procédure d'entretien |
|---|---|
| Toutes les 100 heures |
|
Le volant étant en centré (Figure 41), tournez-le vers la gauche ou la droite. Si vous tournez le volant de plus de 13 mm vers la gauche ou la droite et que les roues ne tournent pas, vérifiez que les composants suivants de la direction et la suspension ne sont pas desserrés ou endommagés :
Joint de l'arbre de direction sur la crémaillère de direction.
Important: Vérifier l'état et la fixation du joint de l'arbre de pignon (Figure 42).
Biellettes de crémaillère de direction


| Périodicité d'entretien | Procédure d'entretien |
|---|---|
| Toutes les 100 heures |
|
Vérifiez que les pneus avant sont gonflés à 0,82 bar.
Ajoutez une masse équivalente au poids moyen de l'utilisateur sur le siège du conducteur ou demandez à l'utilisateur de s'asseoir sur le siège. La masse ou l'utilisateur doit rester sur le siège pendant toute la procédure de réglage.
Sur une surface plane et horizontale, faites reculer la machine en ligne droite sur 2 à 3 m puis revenez à la position de démarrage d'origine. Cela permet à la suspension de se stabiliser à la position d'utilisation.
Outils fournis par le propriétaire de la machine : clé à ergots (réf. Toro 132-5069) ; voir un distributeur Toro agréé.
Important: Effectuez le réglage du carrossage uniquement si vous utilisez un accessoire avant ou si l'usure des pneus est irrégulière.
Contrôlez le carrossage de chaque roue ; il doit être aussi proche de zéro que possible.
Note: Les roues doivent être positionnées de sorte que la bande de roulement soit distribuée uniformément sur le sol pour réduire le risque d'usure irrégulière.
Si le carrossage des roues n'est pas correct, utilisez la clé à ergots pour tourner le collet sur l'amortisseur et orienter la roue correctement (Figure 43).

Important: Avant de régler le pincement, vérifiez que le réglage du carrossage est aussi proche de zéro que possible ; voir Réglage du carrossage.
Placez les roues avant en position ligne droite.
Mesurez la distance entre les roues avant à hauteur d'essieu, à l'avant et à l'arrière des roues (Figure 44).

Si les mesures ne sont pas comprises entre 0 et 6 mm, desserrez les écrous de blocage aux deux extrémités extérieures des biellettes (Figure 45).

Tournez les biellettes de façon à déplacer l'avant de la roue vers l'intérieur ou l'extérieur.
Resserrez les écrous de blocage des biellettes quand le réglage correct est obtenu.
Vérifiez si le volant parcourt toute sa course dans les deux sens.
| Périodicité d'entretien | Procédure d'entretien |
|---|---|
| Toutes les 100 heures |
|
Enlevez le bouchon de remplissage de la boîte-pont (Figure 46).
Note: Le niveau de liquide doit atteindre la base du bouchon de remplissage.

Si le niveau de liquide est trop bas, retirez le bouchon de remplissage et ajoutez le liquide spécifié [indiqué sous Vidange du liquide de la boîte-pont] jusqu'à ce qu'il ressorte par l'orifice (Figure 46).
Remettez le bouchon de remplissage en place et serrez-le à un couple de 27 à 41 N·m.
| Périodicité d'entretien | Procédure d'entretien |
|---|---|
| Toutes les 100 heures |
|
| Toutes les 800 heures |
|
Type de liquide : Mobil 424
Capacité de liquide : 0,95 litre
Placez un bac de vidange sous le bouchon de vidange de la boîte-pont (Figure 47).

Retirez le bouchon de remplissage (Figure 47).
Retirez le bouchon de vidange pour permettre à tout le liquide de s'écouler.
Remettez le bouchon de vidange en place et serrez-le à un couple de 12 à 19 N·m.
Versez le liquide spécifié dans l’orifice de remplissage de la boîte-pont jusqu'à ce qu'il ressorte par l’orifice.
Remettez le bouchon de remplissage en place et serrez-le à un couple de 27 à 41 N·m.
| Périodicité d'entretien | Procédure d'entretien |
|---|---|
| Toutes les 100 heures |
|
Important: Les freins sont l'un des composants de sécurité fondamentaux de la machine. Vérifiez-les attentivement aux intervalles d'entretien recommandés pour garantir le bon fonctionnement et la sécurité de la machine.
Vérifiez l'état et l'usure de la garniture des freins. Remplacez la garniture (plaquette de frein) si elle fait moins de 1,6 mm d'épaisseur.
Vérifiez si le support de garniture et autres composants semblent excessivement usés ou déformés. Remplacez les composants endommagés.
Vérifiez que les conduites de frein, les raccords et les colliers ne présentent pas de fuites, ne sont pas détériorés ou desserrés.
Note: Réparez les fuites ou dommages des composants du système de freinage avant d'utiliser la machine.
Contrôlez le niveau du liquide de frein ; voir Contrôle du niveau de liquide de frein.
| Périodicité d'entretien | Procédure d'entretien |
|---|---|
| À chaque utilisation ou une fois par jour |
|
Type de liquide de frein : DOT 3
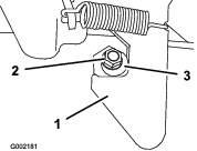
Soulevez le capot pour accéder au maître-cylindre de frein et au réservoir (Figure 48).

Observez le repère de niveau sur le côté du réservoir (Figure 49).
Note: Le niveau doit se situer au-dessus du repère du minimum.

Si le niveau de liquide est trop bas, procédez comme suit :
Nettoyez la surface autour du bouchon du réservoir et enlevez le bouchon (Figure 48).
Versez du liquide de frein DOT 3 dans le réservoir jusqu'à ce que le niveau dépasse le repère minimum (Figure 49).
Note: Ne remplissez pas excessivement le réservoir de liquide de frein.
Remettez le bouchon du réservoir (Figure 48).
Fermez le capot.
| Périodicité d'entretien | Procédure d'entretien |
|---|---|
| Toutes les 1000 heures |
|
Contactez un distributeur Toro agréé.
Si le loquet du plateau de chargement est déréglé, le plateau tressaute pendant le déplacement de la machine. Vous pouvez régler les ergots de verrouillage de sorte que les verrous maintiennent le plateau bien ajusté sur le châssis.
Desserrez le contre-écrou au bout de l'ergot de verrouillage (Figure 50).

Tournez l'ergot de verrouillage dans le sens horaire jusqu'à ce qu'il soit bien serré contre la partie en crochet du loquet (Figure 50).
Serrez le contre-écrou à un couple de 19,7 à 25,4 N·m.
Répétez les opérations 1 à 3 pour le verrou de l'autre côté de la machine.
| Périodicité d'entretien | Procédure d'entretien |
|---|---|
| À chaque utilisation ou une fois par jour |
|
Au besoin, lavez la machine seulement avec de l'eau ou en y ajoutant un détergent doux. Vous pouvez laver la machine à l'aide d'un chiffon.
Important: Ne nettoyez pas la machine avec de l'eau saumâtre ou recyclée.
Important: Il est déconseillé de laver la machine au jet d'eau. Vous risqueriez d'endommager le système électrique, de décoller des autocollants importants ou d'enlever la graisse nécessaire aux points de frottement. N'utilisez pas trop d'eau, surtout près du panneau de commande, du moteur, du contrôleur du moteur, du chargeur, de l'arrière de la planche de bord et des batteries.
Avant de quitter la position d'utilisation, coupez le moteur, retirez la clé et attendez l'arrêt complet de tout mouvement. Laissez refroidir la machine avant de la régler, d'en faire l'entretien, de la nettoyer ou de la remiser.
Le propriétaire est tenu d'examiner périodiquement les zones ou sites de charge et de remisage, et de revoir les procédures pour s’assurer que les exigences sont respectées.
| Périodicité d'entretien | Procédure d'entretien |
|---|---|
| Toutes les 200 heures |
|
| Toutes les 400 heures |
|
Garez la machine sur une surface plane et horizontale, coupez le moteur et enlevez la clé.
Enlevez toutes les saletés et impuretés déposées sur la machine, y compris à l'extérieur du moteur.
Important: Vous pouvez laver la machine avec de l'eau et un détergent doux. Ne lavez pas la machine au jet d'eau haute pression. Le lavage à haute pression peut endommager le système électrique ou enlever la graisse nécessaire aux points de frottement. N'utilisez pas trop d'eau, surtout près du panneau de commande, des feux, du moteur et de la batterie.
Contrôlez les freins ; voir Contrôle des freins.
Contrôlez la pression des pneus ; voir Contrôle des niveaux de liquides et de la pression des pneus.
Contrôlez et resserrez tous les boulons, écrous et vis. Réparez ou remplacez toute pièce endommagée.
Peignez toutes les surfaces métalliques éraflées ou mises à nu.
Note: Une peinture pour retouches est disponible chez les concessionnaires Toro agréés.
Couvrez la machine pour la protéger et la garder propre.
Note: Il n'est pas nécessaire de retirer les batteries de la machine pour le stockage.
Voir les limites de température de stockage dans le tableau suivant :
| Température de stockage | Durée de stockage appropriée |
| 45 à 55 °C | 1 semaine |
| 25 à 45 °C | 3 semaines |
| -20 à 25 °C | 52 semaines |
Important: Les températures en dehors de cette plage endommageront les batteries.La température de stockage des batteries a un impact sur leur durée de vie à long terme. Le stockage prolongé à des températures extrêmes réduit la vie utile des batteries. Pour des températures supérieures à 25 °C, ne dépassez pas la durée de remisage de machine indiquée dans le tableau.
Avant de remiser la machine, chargez ou déchargez les batteries entre 40 % et 60 %.
Note: Une charge de 50 % est optimale pour assurer une durée de vie maximale. Si les batteries sont chargées à 100 % avant le remisage, leur durée de vie sera réduite.Si vous avez l'intention de remiser la machine plus longtemps, chargez les batteries à peu près à 60 %.
Tous les 6 mois de remisage, contrôlez le niveau de charge des batteries et vérifiez qu'il est compris entre 40 % et 60 %. Si la charge est inférieure à 40 %, chargez les batteries entre 40 % et 60 %.
Après avoir chargé les batteries, débranchez le chargeur du secteur.
Si vous laissez le chargeur sur la machine, il sera désactivé une fois les batteries complètement chargées et ne sera réactivé que s'il est débranché puis rebranché.