Bakım
Note: Makinenin sağ ve sol taraflarını, normal çalışma konumuna göre belirleyin.
Kesim Ünitesinin Desteklenmesi
Alt bıçak/silindir grubunu ortaya çıkarmak için kesim ünitesini yana yatırmanızın gerektiği durumlarda, kesim ünitesinin arkasını manivelayla kaldırarak, alt bıçak yuvası ayar cıvatalarının arka ucundaki somunların çalışma yüzeyine temas etmesini önleyin (Şekil 12).

Alt Bıçak Özellikleri
Alt Bıçağın Bakımı
Silindirin, alt bıçak yatağının veya alt bıçağın hasar görmemesi için, alt bıçağa ve alt bıçak yatağına sadece eğitimli bir teknisyen bakım yapmalıdır. Tercihen, kesim ünitenizi bakım için yetkili Toro distribütörüne götürün. Tüm talimatlar, özel aletler ve alt bıçak bakım şemaları için bkz. çekiş ünitesi Bakım Kılavuzu. Alt bıçak yatağını kendi başınıza sökmeniz gerekirse, alt bıçak bakım talimatlarını da içeren aşağıdaki talimatları uygulayın.
Important: Alt bıçağa bakım yaparken, Bakım Kılavuzunda detaylı olarak açıklanan alt bıçak prosedürlerini mutlaka uygulayın. Alt bıçağın doğru takılmaması ve bileylenmemesi silindire, alt bıçak yatağına veya alt bıçağa hasar verebilir.
Alt Bıçak Yatağının Çıkarılması/Alt Bıçak Grubu
-
Alt bıçak yatağı ayar vidasını saatin aksi yönünde döndürerek alt bıçağı silindirden uzaklaştırın (Şekil 13).

-
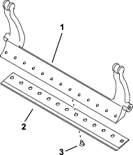
Yay gergisi somununu, rondelanın alt bıçak yatağına karşı gerginliği ortadan kalkana kadar geriye doğru döndürüp çıkarın (Şekil 13).
-
Makinenin her bir tarafında, alt bıçak yatağı cıvatasını sabitleyen kilit somunlarını gevşetin (Şekil 14).

-
Alt bıçak yatağının aşağı doğru çekilebilmesini ve kesim ünitesinden çıkarılabilmesini sağlamak için her bir alt bıçak yatağı cıvatasını sökün (Şekil 14).
Alt bıçak yatağının her iki ucundaki 2 plastik rondela ile 1 çelik rondelayı da hesaba katın (Şekil 15).

-
Alt bıçağı yerinde tutan tüm vidaları sökerek alt bıçak yatağından çıkarın. Alt Bıçak Vida Aleti (Parça No. TOR510880) ile bir lokma anahtar kullanın.
Note: Alt bıçak vidalarını gevşetmek için mekanik veya pnömatik darbeli anahtar kullanabilirsiniz.
Note: Alt bıçağı ve vidaları atın.
Yeni Alt Bıçağın Takılması
-
Kesim Yüksekliği ve Alt Bıçak Seçim Tabloları bölümüne bakarak yeni bir alt bıçak seçin.
-
Alt bıçak yatağı yüzeyindeki pas, döküntü ve korozyonu giderin ve alt bıçak yatağı yüzeyine ince bir tabaka yağ sürün.
Important: Alt bıçak yatağından döküm malzemesini çıkarmayın. Alt bıçak yatağının orta kısmı tasarımı gereği içbükeydir; bu kısmı bileylemeyin.
-
Alt bıçak yatağındaki dişleri temizleyin.
-
Yeni alt bıçak vidalarına yağlayıcı madde sürün ve alt bıçağı alt bıçak yatağına takın.
Important: Sadece yeni alt bıçak vidaları kullanın.
Note: Vida miktarı alt bıçak yatağına bağlı olarak değişir.

-
2 dış vidayı 1 N∙m torkla sıkın.
-
Alt bıçağın tam ortasından çalışarak, vidaları 25,9 +/- 1,4 N∙m torkla sıkın.
Important: Alt bıçak vidalarını mekanik veya pnömatik darbeli anahtar kullanarak sıkmayın.

-
Yeni alt bıçağı bileyin; bkz. Alt Bıçak Bileme Özellikleri.
Alt Bıçak Bileme Özellikleri

| Alt bıçak boşluk (üst) açısı | Bkz. Kesim Yüksekliği ve Alt Bıçak Seçim Tabloları. |
| Ön Açı Aralığı | 13° ila 17° |
| Fairway alt bıçak ön açısı | 10° |
Üst Bileme Açısının Kontrol Edilmesi
Alt bıçaklarınızı bilemek için kullandığınız açı çok önemlidir.
Bileme makinenizin ürettiği açıyı kontrol etmek için açı göstergesini (Toro Parça No. 131-6828) ve açı göstergesi montaj elemanını (Toro Parça No. 131-6829) kullanın ve varsa bileme makinesi hatalarını düzeltin.
-
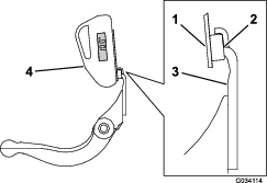
Açı göstergesini, Şekil 19'de gösterildiği gibi alt bıçağın en alt kısmına yerleştirin.

-
Açı göstergesinde Alt Zero düğmesine basın.
-
Açı göstergesi montaj elemanını, mıknatısın kenarı alt bıçağın kenarıyla eşleşecek biçimde alt bıçağın kenarına yerleştirin (Şekil 20).
Note: Bu adımda, dijital gösterge 1 adımındaki ile aynı taraftan görülebiliyor olmalıdır.

-
Açı göstergesini, Şekil 20'de gösterildiği gibi montaj elemanına yerleştirin.
Note: Bu, bileme makinenizin ürettiği açıdır ve tavsiye edilen üst bileme açısının 2 derece içinde olmalıdır.
Alt Bıçak / Alt Bıçak Yatağı Grubunun Takılması
-
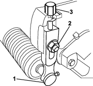
Montaj kulaklarını rondelalar ile alt bıçak yatağı ayar vidasının arasına yerleştirerek alt bıçak / alt bıçak yatağı grubunu takın (Şekil 13).
Important: DPA ayarlayıcılarını, Şekil 21 ile gösterildiği gibi, alt bıçak yatağı kulaklarında ortalayın.DPA ayarlayıcıları alt bıçak yatağı kulaklarının karşısına monte edilirse, bu durum alt bıçak-silindir temasını olumsuz etkileyebilir.

-
Alt bıçak yatağı cıvatalarını (cıvatalardaki somunlarla birlikte) ve 3 rondelayı (toplam 6 adettir) kullanarak alt bıçağı yatağını her bir yan plaka sabitleyin.
-
Yan plaka çıkıntısının her bir tarafına birer naylon rondela yerleştirin. Her bir naylon rondelanın dış kısmına birer adet çelik rondela yerleştirin (Şekil 15).
-
Alt bıçak yatağı cıvatalarını 27 ila 36 N∙m torkla sıkın.
-
Kilit somunlarını, çelik rondelaların uç boşluğunu alana fakat rondelaları elinizle döndüremeyene kadar sıkın. İç kısımdaki rondelalarda bir boşluk olabilir.
Important: Kilit somunlarını aşırı sıkmayın, aksi takdirde yan plakaları deforme edebilirler.
-
Yay gergisi somununu yay çökene kadar sıkın, ardından tekrar 1/2 tur gevşetin (Şekil 22).

-
Alt bıçağı silindire göre ayarlayın; bkz. Alt Bıçağın Silindire Göre Ayarlanması.
Silindir Özellikleri
Silindirin Bileme için Hazırlanması
-
Bileme işleminden önce, tüm kesim ünitesi bileşenlerinin iyi durumda olduğunu kontrol edin ve varsa sorunları giderin.
-
Kesim silindirini aşağıdaki teknik özelliklere göre bilemek için, silindir bileme makinesi üreticisinin talimatlarını uygulayın.
Silindir Bileme Özellikleri Yeni Silindir Çapı 128,5 mm Silindir Çapı Servis Limiti 114,3 mm Bıçak Destek Bilemesi Açısı 30° ± 5° Bıçak Taban GenişliğiAralığı 0,8 ila 1,2 mm Silindir Çapı Konikliği Servis Limiti 0,25 mm
Silindire Destek Bilemesi Yapılması
Yeni silindirin taban genişliği 0,8 ila 1,2 mm, destek bilemesi açısı ise 30° derecedir.
Taban genişliği 3 mm'yi aşınca şunları yapın:
-
Taban genişliği 0,8 mm olana kadar tüm silindir bıçaklarına 30° derece destek bilemesi yapın(Şekil 23.

-
Silindire, <0,025 mm silindir taşması elde edilecek biçimde dairesel bileme yapın.
Note: Bu, taban genişliğinin biraz artmasına neden olacaktır.
-
Kesim ünitesini ayarlayın; bkz. kesim ünitesi Kullanma Kılavuzu.
Note: Silindir kenarı keskinliğinin ve alt bıçağın ömrünü uzatmak için, silindiri ve/veya alt bıçağı biledikten sonra 2 green kesin ve silindir-alt bıçak temasını tekrar kontrol edin (varsa çapaklar bu şekilde giderilecektir). Çapaklar silindir ile alt bıçak arasındaki mesafeyi bozabilir, bu da aşınmayı hızlandırabilir.
Kesim Ünitesine Ters Bileyleme Yapılması
Tehlike
Silindirle veya diğer hareketli parçalarla temas etmek yaralanmaya neden olabilir.
Parmaklarınızı, ellerinizi ve giysilerinizi silindirlerden ve diğer hareketli parçalardan uzak tutun.
-
Ters bileyleme sırasında silindirden uzak durun.
-
Ters bileyleme için asla kısa saplı boya fırçası kullanmayın. Uzun saplı fırçaları size en yakın yetkili Toro distribütöründen temin edebilirsiniz.
-
Makineyi düz ve temiz bir zemine park edin, kesim ünitelerini indirin, motoru durdurun, park frenini etkinleştirin ve kontak anahtarını çıkarın.
-
Silindir motorlarını kesim ünitelerinden çıkarın ve kesim ünitelerini kaldırma kollarından ayırıp çıkarın.
-
Kesim ünitesinin ucundaki kanallı kaplinin içine 3/8 inç karelik bir çubuk parçası sokarak ters bileyleme makinesini kesim ünitesine bağlayın.
Note: Ters bileyleme hakkında ek talimat ve prosedürleri çekiş ünitenizin Kullanma Kılavuzunda ve Toro Silindir ve Döner Çim Biçme Makinelerini Bileyleme Kılavuzunda (Form No. 80-300PT) bulabilirsiniz.
Note: Daha iyi bir kesim kenarı için, bileyleme işleminden sonra alt bıçağın ve silindirin ön yüzünü eğeleyin. Bu sayede, kesim kenarında kalmış olabilecek çapak ve pürüzlü kenarlar giderilecektir.
Silindir Bakımı
Silindir bakımı için Silindir Onarım Seti (Parça No. 140-5552) ve Silindir Onarımı Alet Seti (Parça No. 140-5553) (Şekil 24) mevcuttur. Silindir Onarım Setinde, silindiri onarmak için gereken tüm yataklar, yatak somunları, iç contalar ve dış contalar vardır. Silindir Onarımı Alet Setinde ise, silindir onarım setiyle bir silindiri onarmak için gereken tüm aletler ile montaj talimatları bulunur. Destek için parça kataloğuna bakın veya yetkili Toro distribütörünüze danışın.



çok dikkat edin. Bu talimatlara uyulmaması,
yaralanma veya ölümle sonuçlanabilir.









