Introduction

The log grapple is a load-bearing attachment intended to be used on a Toro compact tool carrier. It is designed primarily for grasping and moving felled logs and other organic debris. It is not intended for handling concrete, rocks, construction materials, other rock or metal materials, or for pulling stumps or other objects from the ground. The attachment also includes a trailer hitch for positioning trailers on level ground and a rope bollard for aiding in lowering small branches. Using this product for purposes other than its intended use could prove dangerous to you and bystanders. Do not modify the machine or attachments.

This attachment should be operated, serviced, and repaired only by professionals familiar with its characteristics and acquainted with the relevant safety procedures.

Operate this attachment in ambient temperatures from -18 to 38°C (0 to 100 °F). Contact your Authorized Service Dealer for provisions required for operating in extreme temperatures.

Read this information carefully to learn how to operate and maintain your product properly and to avoid injury and product damage. You are responsible for operating the product properly and safely.

Visit www.Toro.com for product safety and operation training materials, accessory information, help finding a dealer, or to register your product.

Whenever you need service, genuine Toro parts, or additional information, contact an Authorized Service Dealer or Toro Customer Service and have the model and serial numbers of your product ready. Figure 1 or Figure 1 identifies the location of the model and serial numbers on the product. Write the numbers in the space provided.

Important: With your mobile device, you can scan the QR code on the serial number decal (if equipped) to access warranty, parts, and other product information.

g569743
g569744

This manual identifies potential hazards and has safety messages identified by the safety-alert symbol (Figure 3), which signals a hazard that may cause serious injury or death if you do not follow the recommended precautions.

g000502

The safety-alert symbol appears above information that alerts you to unsafe actions or situations and is followed by the word DANGER, WARNING, or CAUTION.

DANGER indicates an imminently hazardous situation which, if not avoided, will result in death or serious injury.

WARNING indicates a potentially hazardous situation which, if not avoided, could result in death or serious injury.

CAUTION indicates a potentially hazardous situation which, if not avoided, may result in minor or moderate injury.

This manual uses two other words to highlight information. Important calls attention to special mechanical information and Note emphasizes general information worthy of special attention.

Warning

CALIFORNIA

Proposition 65 Warning

Use of this product may cause exposure to chemicals known to the State of California to cause cancer, birth defects, or other reproductive harm.

Safety

General Safety

Always follow all safety instructions to avoid serious injury or death.

  • Do not exceed the rated operating capacity, as the machine may become unstable, which may result in loss of control.

  • Do not transport an attachment with the arms raised or extended (if applicable). Always transport the attachment close to the ground; refer to Transport Position.

  • Have the property or work area marked for buried lines and other objects, and do not dig in marked areas.

  • Read and understand the content of this Operator’s Manual before starting the machine.

  • Use your full attention while operating the machine. Do not engage in any activity that causes distractions; otherwise, injury or property damage may occur.

  • Never allow children or untrained people to operate the machine.

  • Keep your hands and feet away from the moving components and attachments.

  • Do not operate the machine without the guards and other safety protective devices in place and working on the machine.

  • Keep bystanders and pets away from the machine.

  • Stop the machine, shut off the machine, and remove the key before servicing, fueling, or unclogging the machine.

Improperly using or maintaining this machine can result in injury. To reduce the potential for injury, comply with these safety instructions and always pay attention to the safety-alert symbol Graphic, which means Caution, Warning, or Danger—personal safety instruction. Failure to comply with these instructions may result in personal injury or death.

Slope Safety

  • Operate the machine up and down slopes with the heavy end of the machine uphill. Weight distribution changes with attachments. An empty load-bearing attachment makes the rear of the machine the heavy end, and a full load-bearing attachment makes the front of the machine the heavy end. Most other attachments make the front of machine the heavy end.

  • Raising or extending (if applicable) the loader arms on a slope affects the stability of the machine. Keep the loader arms in the lowered and retracted position when on slopes.

  • Slopes are a major factor related to loss of control and tip-over accidents, which can result in severe injury or death. Operating the machine on any slope or uneven terrain requires extra caution.

  • Establish your own procedures and rules for operating on slopes. These procedures must include surveying the site to determine which slopes are safe for machine operation. Always use common sense and good judgment when performing this survey.

  • Slow down and use extra care on hillsides. Ground conditions can affect the stability of the machine.

  • Avoid starting or stopping on a slope. If the machine loses traction, proceed slowly, straight down the slope.

  • Avoid turning on slopes. If you must turn, turn slowly and keep the heavy end of the machine uphill.

  • Keep all movements on slopes slow and gradual. Do not make sudden changes in speed or direction.

  • If you feel uneasy operating the machine on a slope, do not do it.

  • Watch for holes, ruts, or bumps, as uneven terrain could overturn the machine. Tall grass can hide obstacles.

  • Use caution when operating on wet surfaces. Reduced traction could cause sliding.

  • Evaluate the area to ensure that the ground is stable enough to support the machine.

  • Use caution when operating the machine near the following:

    • Drop-offs

    • Ditches

    • Embankments

    • Bodies of water

    The machine could suddenly roll over if a track goes over the edge or the edge caves in. Maintain a safe distance between the machine and any hazard.

  • Do not remove or add attachments on a slope.

  • Do not park the machine on a hillside or slope.

Log Grapple Safety

  • Always close the grapple when not in use.

  • Do not ram piles with the grapple closed.

  • Do not hook a chain on the grapple.

  • Do not use the grapple for hooking and/or pulling. Always clamp the material securely.

  • Always lower the attachment and shut off the machine each time you leave the operating position.

  • Wear appropriate clothing including hard hat, gloves, eye protection, long pants, substantial slip-resistant footwear, and hearing protection. Tie back long hair and do not wear loose clothing or loose jewelry.

  • Be aware that the load, or parts of the load, could fall from the grapple at any time.

  • When carrying objects, tilt the attachment rearward so that the object rests against the teeth on the attachment frame.

  • The load may swing while turning the machine; use caution when turning.

  • Do not use the attachment to lift rocks or boulders, steel, heavy spare parts, or concrete.

  • Do not use the attachment to dig up stumps or rocks.

  • Refer to the Operator’s Manual for any wood chipper, or other equipment used with the log grapple, for safety and operation information.

  • Do not use the attachment to push trees.

Towing Safety

  • Do not attach towed equipment except at the hitch point.

  • Do not use the machine as a towing vehicle unless it has a hitch installed.

  • Do not exceed the maximum gross towing weight.

  • Do not exceed the maximum hitch capacity.

  • Never allow children or others near the towed equipment.

  • On slopes, the weight of the towed equipment may cause loss of traction, increased risk of rollover, and loss of control. Do not tow equipment on slopes; only tow equipment on flat ground.

  • The stopping distance may increase with the weight of a towed load. Travel slowly and allow extra distance to stop.

  • Make wide turns to keep the attachment clear of the machine.

  • Do not tow equipment on public streets, roads, or highways.

Maintenance and Storage Safety

  • Check fasteners at frequent intervals for proper tightness to ensure that the equipment is in safe operating condition.

  • Refer to this Operator’s Manual for important details if you store the attachment for an extended period of time.

  • Maintain or replace safety and instruction labels, as necessary.

Safety and Instructional Decals

Graphic

Safety decals and instructions are easily visible to the operator and are located near any area of potential danger. Replace any decal that is damaged or missing.

g528331
g569742
e_decal147-5747
decal147-5649
decal163-3625
decal163-3626
decal163-3627
decal163-3628
decal163-3629
decal163-3630

Model 23138 Only:

decal163-5347

Setup

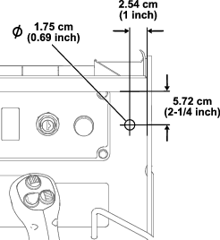
Installing the Light

Model 23138 Only
  1. Park the machine on a level surface, lower the loader arms, and engage the parking brake (if applicable).

  2. Shut off the engine, remove the key, and wait for all moving parts to stop.

  3. Disconnect the battery; refer to the Operator’s Manual for the machine.

  4. Drill a hole (1.75 cm or 0.69 inch diameter) on the right side of the control panel at the location shown.

    Warning

    Using a drill without proper eye protection may allow debris to enter the eye, causing injury.

    Wear eye protection whenever you use a drill.

    g546848
  5. Remove the nut from the light and use it to install the light to the control panel.

    Note: Depending on your machine, you may need to remove additional panels to access the location for the light.

    g569626
  6. Clean and dry the surface near the light and install the decal.

Routing the Wire Harness

Model 23138 Only
  1. Route the wire harness up the loader arm, following the hydraulic hoses to the hole in the frame.

    g522469
  2. Open the hood.

  3. Route the wire harness through the hole in the frame, following the hydraulic hoses.

    g522879
  4. Plug the wire harness into the light.

    g549179
  5. Remove the rear cover; refer to the Operator’s Manual for the machine.

  6. Find the 4-pin connector on the main machine wire harness and plug the log grapple wire harness into it.

    g550498
  7. Install any removed panels.

  8. Connect the battery to the machine.

  9. Close the hood.

  10. Install the log grapple; refer to the Operator’s Manual for the machine.

  11. Connect the wire harness to the log grapple wire harness.

    Note: When removing the attachment, unplug the wire harness at the attachment. Keep the harness installed on the machine.

Product Overview

Note: Specifications and design are subject to change without notice.

Model 23137

Width81.2 cm (32 inches)
Length74.9 cm (29-1/2 inches)
Height101.6 cm (40 inches)
Maximum grapple opening142.2 cm (56 inches)
Minimum grapple opening12.7 cm (5 inches)
Wrapping diameter91.4 cm (36 inches)
Weight149.7 kg (330 lb)
Rated attachment capacity for log grapple1,360 kg (3,000 lb); the actual capacity might be less based on traction unit limitations and operating conditions or environment.
Rope bollard capacity98 kg (200 lb)
Hitch maximum tongue weight227 kg (500 lb)
Maximum hydraulic pressure25.5 MPa (3,700 psi)

Model 23138

Width81.2 cm (32 inches)
Length89.4 cm (35 inches)
Height118.7 cm (46-3/4 inches)
Maximum grapple opening142.2 cm (56 inches)
Minimum grapple opening12.7 cm (5 inches)
Wrapping diameter91.4 cm (36 inches)
Weight186.0 kg (410 lb)
Rated attachment capacity for log grapple1,360 kg (3,000 lb); the actual capacity might be less based on traction unit limitations and operating conditions or environment.
Rope bollard capacity98 kg (200 lb)
Hitch maximum tongue weight227 kg (500 lb)
Maximum hydraulic pressure25.5 MPa (3,700 psi)

To ensure optimum performance and continued safety certification of the machine, use only genuine Toro replacement parts and accessories. Replacement parts and accessories made by other manufacturers could be dangerous, and such use could void the product warranty.

Refer to your Authorized Service Dealer to ensure this attachment is approved for your machine.

Operation

Determine the left and right sides of the machine from the normal operating position.

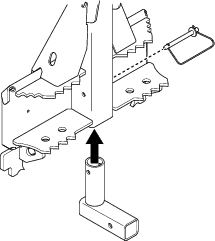
Installing and Removing the Attachment

Refer to the Operator’s Manual for the traction unit for the installation and removal procedure.

Important: Before installing the attachment, position the machine on a level surface, ensure that the mount plates are free of any dirt or debris, and ensure that the pins move freely. If the pins do not move freely, grease them.

Note: Always use the traction unit to lift and move the attachment.

Warning

If you do not fully seat the quick-attach pins through the attachment mount plate, the attachment could fall off the machine, crushing you or bystanders.

Ensure that the quick-attach pins are fully seated in the attachment mount plate.

Warning

Hydraulic fluid escaping under pressure can penetrate skin and cause injury. Fluid injected into the skin must be surgically removed within a few hours by a doctor familiar with this form of injury; otherwise, gangrene may result.

  • Ensure that all hydraulic-fluid hoses and lines are in good condition and all hydraulic connections and fittings are tight before applying pressure to the hydraulic system.

  • Keep your body and hands away from pinhole leaks or nozzles that eject high-pressure hydraulic fluid.

  • Use cardboard or paper to find hydraulic leaks; never use your hands.

Caution

Hydraulic couplers, hydraulic lines/valves, and hydraulic fluid may be hot. If you contact hot components, you may be burned.

  • Wear gloves when disconnecting the hydraulic couplers.

  • Allow the machine to cool before touching hydraulic components.

  • Do not touch hydraulic fluid spills.

Rotating the Grapple

Model 23138 Only

Move the attachment secondary function switch to the left to enable rotate mode, then engage the auxiliary hydraulics controls to rotate the grapple.

Note: The LED light illuminates when rotate mode is active.

Move the attachment secondary function switch to the center to return to grapple mode.

g549214

Lifting Objects

Warning

Do not lift any object that appears unstable or unbalanced; otherwise, the machine could lose stability and result in death or serious injury.

  • If the object appears unstable or unbalanced, lower the grapple and reposition it so that the object is more secure before lifting the object.

  • When transporting the object, keep it as low to the ground as possible.

  • Never lift more than the rated lift capacity of the machine or attachment.

  • Keep bystanders away from the machine.

  1. Slightly raise the grapple off the ground.

  2. Engage the auxiliary hydraulic controls to open and close the grapple to grasp the object you want to move.

  3. Tilt the attachment rearward so that the object rests against the teeth on the attachment frame for additional support and control.

  4. Move the object as needed.

    Note: You can carry small logs using the attachment; lift larger logs only on one end and pull backward.

  5. After moving the object, slowly lower the attachment until it rests flat on the ground before releasing the object.

g518328

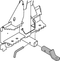
Using the Tow Hitch

The attachment is capable of pulling trailers and attachments.

Do not exceed 227 kg (500 lb) of tongue weight on the tow hitch of the attachment.

Important: When hauling cargo or towing a trailer, do not overload the machine or trailer. Overloading can cause poor performance or damage to the hydraulic-drive units, tracks or tires, and frame.

Warning

Towing on slopes could reduce the stability of the machine and result in death or serious injury.

Do not tow equipment on slopes.

  1. Park the machine on a level surface, close the grapple, lower the loader arms, and engage the parking brake (if applicable).

  2. Shut off the engine and remove the key.

  3. If it is not already installed, install the tow hitch receiver and secure it with the snapper pin.

    g522487
  4. Insert the hitch ball mount into the receiver.

    Note: Hitch ball mount and ball are sold separately from the attachment.

    g518765
  5. Insert the hitch pin through the hole in the receiver and the hitch ball mount.

  6. Secure the hitch using the hairpin cotter.

  7. Before connecting a trailer, open the grapple to access the hitch.

  8. Connect the trailer; refer to the instructions for the trailer coupler to properly secure the trailer to the tow hitch.

Remove the receiver hitch from the attachment before lifting objects with the grapple.

Using the Rope Bollard

Important: Use the rope bollard only for lowering branches from a tree. Do not use it for any other purpose, such as controlling the direction a tree falls or pulling branches or logs.Do not use the rope bollard for loads more than 98 kg (200 lb).

Warning

Improper use of the rope bollard can cause serious injury or death.

  • Do not use the rope bollard unless you are trained or certified in tree rigging.

  • Shut off the machine and ensure that it is stationary when using the rope bollard.

Transport Position

When transporting a load, keep the attachment as close to the ground as possible, no more than 15 cm (6 inches) above the ground. Tilt it rearward to keep the load level.

g518327

Maintenance

Recommended Maintenance Schedule(s)

Maintenance Service IntervalMaintenance Procedure
After the first hour
  • Tighten all bolts.
  • Before each use or daily
  • Grease the attachment(and immediately after every washing).
  • Check the hydraulic lines for leaks, loose fittings, kinked lines, loose mounting supports, wear, weather, and chemical deterioration.(Make necessary repairs before operating.)
  • Check for loose fasteners.
  • Before storage
  • Paint chipped surfaces.
  • Greasing the Attachment

    Maintenance Service IntervalMaintenance Procedure
    Before each use or daily
  • Grease the attachment(and immediately after every washing).
  • Grease Type: General-purpose grease.

    1. Park the machine on a level surface, close the grapple, lower the loader arms, and engage the parking brake (if applicable).

    2. Shut off the engine and remove the key.

    3. Clean the grease fittings with a rag.

    4. Connect a grease gun to each fitting.

      g518731
    5. Pump grease into the fittings until grease begins to ooze out of the bearings (approximately 3 pumps).

    6. Wipe up any excess grease.

    Checking the Hydraulic Lines

    Maintenance Service IntervalMaintenance Procedure
    Before each use or daily
  • Check the hydraulic lines for leaks, loose fittings, kinked lines, loose mounting supports, wear, weather, and chemical deterioration.(Make necessary repairs before operating.)
  • Warning

    Hydraulic fluid escaping under pressure can penetrate skin and cause injury. Fluid injected into the skin must be surgically removed within a few hours by a doctor familiar with this form of injury; otherwise, gangrene may result.

    • Keep your body and hands away from pinhole leaks or nozzles that eject high-pressure hydraulic fluid.

    • Use cardboard or paper to find hydraulic leaks; never use your hands.

    • Safely relieve all pressure in the hydraulic system before performing any work on the hydraulic system.

    Storage

    1. Before long term storage, wash the attachment with mild detergent and water to remove dirt and grime.

    2. Check and tighten all bolts, nuts, and screws. Repair or replace any damaged or worn parts.

    3. Paint all scratched or bare metal surfaces. Paint is available from your Authorized Service Dealer.

    4. Store the attachment in a clean, dry garage or storage area. Cover it to protect it and keep it clean.