| Częstotliwość serwisowania | Procedura konserwacji |
|---|---|
| Przed każdym użyciem lub codziennie |
|
Ta pchana kosiarka z obrotowymi nożami jest przeznaczona do użytku przydomowego. Została zaprojektowana przede wszystkim do koszenia trawy na dobrze utrzymanych trawnikach na posesjach. Używanie produktu w celach niezgodnych z jego przeznaczeniem może okazać się niebezpieczne dla operatora i osób postronnych.
Przeczytaj uważnie poniższe informacje, aby poznać zasady właściwej obsługi i konserwacji urządzenia, nie uszkodzić go i uniknąć obrażeń ciała. Odpowiedzialność za prawidłowe i bezpieczne użytkowanie produktu spoczywa na Tobie.
Aby uzyskać więcej informacji, w tym dotyczących bezpieczeństwa, materiałów szkoleniowych, informacji na temat akcesoriów, pomocy w znalezieniu autoryzowanego sprzedawcy lub rejestracji produktu odwiedź www.Toro.com.
Aby skorzystać z serwisu, zakupić oryginalne części Toro lub uzyskać dodatkowe informacje, skontaktuj się z przedstawicielem autoryzowanego serwisu lub biurem obsługi klienta firmy Toro, a także przygotuj numer modelu i numer seryjny urządzenia. Rysunek 1 przedstawia położenie numeru modelu i numeru seryjnego na produkcie. Zapisz numery w przewidzianym na to miejscu.
Important: Urządzeniem mobilnym zeskanuj kod QR na tabliczce z numerem seryjnym (jeśli występuje), aby uzyskać informacje o gwarancji, częściach zamiennych i innych kwestiach związanych z produktem.

Niniejsza instrukcja zawiera opis potencjalnych zagrożeń, a zawarte w niej ostrzeżenia zostały oznaczone symbolem ostrzegawczym (Rysunek 2), który sygnalizuje niebezpieczeństwo mogące spowodować poważne obrażenia lub śmierć w razie zlekceważenia zalecanych środków ostrożności.

W niniejszej instrukcji występują dwa słowa podkreślające wagę informacji. Ważne zwraca uwagę na szczególne informacje techniczne, a Uwaga podkreśla informacje ogólne wymagające uwagi.
Opisywane urządzenie jest zgodne ze wszystkimi obowiązującymi dyrektywami Unii Europejskiej; szczegółowe informacje zamieszczone są w odpowiedniej deklaracji zgodności, w oddzielnym arkuszu.
Moment obrotowy na wale lub moment użyteczny: Moment obrotowy na wale silnika lub moment użyteczny silnika został wyznaczony laboratoryjnie przez producenta silnika, zgodnie z wytycznymi Stowarzyszenia Inżynierów Motoryzacji (SAE) J1940 lub J2723. Rzeczywisty moment obrotowy silnika w kosiarce tej klasy może być znacznie niższy z powodu jej dostosowania do wymagań dotyczących bezpieczeństwa, emisji oraz eksploatacji. Można je znaleźć w dołączonej do maszyny dokumentacji producenta silnika.
Nie wolno ingerować w zabezpieczenia maszyny ani wyłączać ich. Należy regularnie sprawdzać poprawność ich działania. Nie wolno podejmować prób regulacji lub manipulacji przy elementach sterujących prędkością obrotową silnika. Może to spowodować wystąpienie niebezpiecznego stanu, prowadzącego do obrażeń ciała.
Produkt ten może spowodować amputację dłoni i stóp oraz wyrzucać obiekty. Aby uniknąć poważnych obrażeń ciała lub śmierci, zawsze przestrzegaj wszystkich instrukcji dotyczących bezpieczeństwa.
Przed uruchomieniem silnika należy przeczytać, zrozumieć i przestrzegać instrukcje i ostrzeżenia zawarte w niniejszej Instrukcji obsługi oraz na maszynie i osprzęcie.
Nie zbliżać dłoni ani stóp do ruchomych części maszyny, ani nie wkładać ich pod nią. Nie zbliżać się do otworów wyrzutowych.
Zabronione jest używanie maszyny bez założonych i poprawnie funkcjonujących wszystkich osłon oraz innych urządzeń ochronnych.
Nie zezwalaj osobom postronnym ani dzieciom na podchodzenie w pobliże obszaru pracy. Nigdy nie pozwalaj dzieciom obsługiwać maszyny. Obsługiwać maszynę mogą jedynie osoby odpowiedzialne, przeszkolone, zaznajomione z instrukcją i dysponujące odpowiednimi możliwościami fizycznymi.
Przed przystąpieniem do serwisowania, uzupełniania paliwa czy usuwania przyczyny zatkania się zatrzymaj maszynę, wyłącz silnik i odczekaj, aż wszystkie części ruchome się zatrzymają.
Niewłaściwe użytkowanie lub konserwacja maszyny
może spowodować obrażenia ciała. W celu
zmniejszenia ryzyka obrażeń ciała postępuj
zgodnie z tymi zasadami bezpieczeństwa i zawsze zwracaj
uwagę na ostrzegawczy symbol bezpieczeństwa
, który oznacza:
Uwaga, Ostrzeżenie lub Niebezpieczeństwo – zasady
bezpieczeństwa osobistego. Nieprzestrzeganie powyższych
zasad może doprowadzić do obrażeń ciała
lub śmierci.
![]() |
Etykiety dotyczące bezpieczeństwa oraz instrukcje są wyraźnie widoczne dla operatora i znajdują się w pobliżu wszystkich miejsc potencjalnego zagrożenia. Uszkodzone i brakujące etykiety należy wymienić. |





Important: Zdejmij i wyrzuć zabezpieczający arkusz z tworzywa osłaniający silnik oraz wszelkie inne elementy z tworzywa lub folii użyte do zabezpieczenia maszyny.
Note: Upewnij się, że linki są poprowadzone na zewnątrz uchwytu i nie są przyciśnięte (D na Rysunek 3).


Important: Aby bezpiecznie i łatwo uruchomić silnik przed każdym użyciem maszyny, umieść linkę rozrusznika linkowego w prowadnicy.

Important: Jeśli poziom oleju w skrzyni korbowej jest zbyt niski lub zbyt wysoki, uruchomienie silnika może spowodować jego uszkodzenie.



| Model | Masa | Długość | Szerokość | Wysokość |
|---|---|---|---|---|
| 21773 | 35 kg | 151 cm | 59 cm | 109 cm |
Dostępna jest gama osprzętu i akcesoriów zatwierdzonych przez firmę Toro, przeznaczonych do stosowania z urządzeniem i zwiększających jego możliwości. Skontaktuj się z przedstawicielem autoryzowanego serwisu, dystrybutorem lub wejdź na stronę www.Toro.com, aby uzyskać listę zatwierdzonego osprzętu i akcesoriów.
Dla zagwarantowania wydajnej i bezpiecznej pracy maszyny należy stosować wyłącznie części zamienne/akcesoria zalecane przez firmę Toro. Części zamienne i akcesoria innych producentów mogą być niebezpieczne. Ich stosowanie mogłoby unieważnić gwarancję na produkt.
Note: Określ lewą i prawą stronę maszyny ze standardowego stanowiska operatora.
Przed przystąpieniem do regulacji, serwisowania, czyszczenia lub przed przechowywaniem sprzętu należy zawsze wyłączyć maszynę i zaczekać, aż wszystkie elementy ruchome się zatrzymają, a maszyna ostygnie.
Należy zapoznać się z bezpieczną obsługą urządzeń, elementami sterującymi operatora i znakami bezpieczeństwa.
Sprawdź, czy osłony i zabezpieczenia, takie jak deflektory lub wychwytywacze trawy, są prawidłowo zamocowane i działają prawidłowo.
Zawsze sprawdzaj maszynę, aby upewnić się, że ostrza oraz śruby ostrzy nie są zużyte ani uszkodzone.
Sprawdź obszar, w którym zamierzasz używać maszyny i usuń wszelkie obiekty, które mogłyby wpłynąć na pracę maszyny lub zostać podrzucone przez maszynę.
Zetknięcie się z ruchomym ostrzem prowadzi do poważnych obrażeń ciała. Nie wkładaj palców pod obudowę.
Paliwo jest niezwykle łatwopalne i wybuchowe. Zapłon lub wybuch paliwa może poparzyć operatora i osoby postronne oraz spowodować straty materialne.
Aby zapobiec zapaleniu paliwa przez ładunek elektrostatyczny, przed napełnianiem ustaw kanister lub urządzenie bezpośrednio na podłożu, a nie w pojeździe ani na innym przedmiocie.
Uzupełniaj zbiornik paliwa na zewnątrz, na otwartej przestrzeni, gdy silnik jest zimny. Wytrzyj paliwo, które się rozlało.
Nie zbliżaj się do paliwa, kiedy palisz. Paliwo nie może znajdować się w pobliżu otwartego płomienia ani iskier.
Nigdy nie zdejmuj korka zbiornika paliwa ani nie uzupełniaj paliwa w trakcie pracy silnika lub gdy jest on rozgrzany.
W przypadku rozlania paliwa nie próbuj włączać silnika. Unikaj możliwości spowodowania zapłonu do czasu rozproszenia oparów paliwa.
Przechowuj paliwo w atestowanym kanistrze, poza zasięgiem dzieci.
W przypadku połknięcia paliwo jest szkodliwe dla zdrowia i może prowadzić do śmierci. Długotrwałe wystawienie na działanie oparów może wywołać poważne obrażenia i choroby.
Unikaj długotrwałego wdychania oparów paliwa.
Nie zbliżaj rąk ani twarzy do pistoletu dystrybutora paliwa i otworu zbiornika paliwa.
Unikaj kontaktu paliwa z oczami i ze skórą.
| Typ | Benzyna bezołowiowa |
| Minimalna liczba oktanowa | 87 (USA) lub 91 (oktany badawcze poza USA) |
| Etanol | Nie więcej niż 10% objętościowo |
| Metanol | Brak |
| MTBE (Eter tert-butylowo-metylowy) | Mniej niż 15% objętościowo |
| Olej | Nie wolno dodawać do paliwa |
Należy stosować wyłącznie czyste, świeże (nie starsze niż 30 dni) paliwo z wiarygodnego źródła.
Important: Aby ograniczyć problemy z uruchamianiem, dodaj do świeżego paliwa środek stabilizujący/dodatek uszlachetniający w ilości wskazanej przez producenta.
Dodatkowe informacje zostały podane w instrukcji obsługi silnika.
Napełnij zbiornik paliwa w sposób pokazany na Rysunek 9.

| Częstotliwość serwisowania | Procedura konserwacji |
|---|---|
| Przed każdym użyciem lub codziennie |
|
Important: Jeśli poziom oleju w skrzyni korbowej jest zbyt niski lub zbyt wysoki, uruchomienie silnika może spowodować jego uszkodzenie.

Aby uzyskać najwygodniejsze położenie uchwytu, można go podnosić lub opuszczać.
Przekręć blokadę uchwytu, ustaw uchwyt w jednym z 2 położeń, a następnie zablokuj uchwyt w tej pozycji (Rysunek 11).

Podczas regulacji wysokości cięcia Twoje dłonie mogą mieć kontakt z ostrzami, co może doprowadzić do poważnych obrażeń.
Przed przystąpieniem do zmiany wysokości koszenia wyłącz silnik, wyjmij przycisk rozrusznika elektrycznego (jeżeli występuje) i zaczekaj, aż wszystkie ruchome części się zatrzymają.
Regulując wysokość koszenia nie wkładaj palców pod obudowę.
Jeśli silnik pracował, tłumik może być gorący i spowodować oparzenia.
Zachowaj odległość od gorącego tłumika.
Wyreguluj odpowiednio wysokość koszenia. Ustaw wszystkie cztery koła na takiej samej wysokości koszenia (Rysunek 12).

Noś odpowiednią odzież, w tym ochronę oczu, długie spodnie, pełne obuwie robocze z podeszwą antypoślizgową i ochronniki słuchu. Zwiąż włosy, jeśli są długie, i nie noś luźnej odzieży ani długiej biżuterii.
Podczas obsługi maszyny zachowaj pełne skupienie. Nie podejmuj żadnych rozpraszających czynności, w przeciwnym razie możesz spowodować obrażenia lub wyrządzić szkody w mieniu.
Nie używaj maszyny będąc chorym, zmęczonym lub pod wpływem alkoholu lub narkotyków.
Ostrze jest ostre; kontakt z nim może doprowadzić do poważnych obrażeń ciała. Zanim opuścisz stanowisko operatora, wyłącz silnik i zaczekaj, aż wszystkie ruchome części się zatrzymają.
Po zwolnieniu dźwigni sterującej ostrzami silnik powinien się wyłączyć, a ostrze powinno się zatrzymać w ciągu trzech sekund. Jeżeli tak się nie stanie, natychmiast przestań korzystać z maszyny i skontaktuj się z przedstawicielem autoryzowanego serwisu.
Nie zezwalaj osobom postronnym na podchodzenie w pobliże obszaru pracy. Nie zezwalaj dzieciom na podchodzenie w pobliże obszaru pracy. Dopilnuj, aby znajdowały się pod opieką osoby dorosłej innej niż operator. Zatrzymaj maszynę, jeśli ktokolwiek wejdzie w obszar pracy.
Przed i podczas wykonywania maszyną ruchu do tyłu patrz zawsze w dół i za siebie.
Korzystaj z urządzenia tylko przy dobrej widoczności i odpowiednich warunkach pogodowych. Nie używaj maszyny, jeżeli występuje ryzyko wystąpienia wyładowań atmosferycznych.
Mokra trawa lub liście mogą doprowadzić do poważnych obrażeń ciała w przypadku poślizgnięcia się na nich i kontaktu z ostrzem. Unikaj koszenia w mokrych warunkach.
Zachowaj szczególną ostrożność, zbliżając się do zakrętów z ograniczoną widocznością, krzewów, drzew lub innych obiektów, które mogą ograniczać widoczność.
Nie wolno kierować wyrzucanego materiału w kierunku żadnej osoby. Unikaj wyrzucania materiału na ściany lub przeszkody — może się on odbić w Twoją stronę. Przekraczając powierzchnie pokryte żwirem zatrzymaj noże.
Uważaj na dziury, koleiny, garby, kamienie lub inne ukryte obiekty. Nierówne podłoże może spowodować utratę równowagi lub oparcia dla stóp.
Jeśli maszyna uderzy w jakiś przedmiot lub zacznie wibrować, natychmiast wyłącz silnik, odczekaj, aż wszystkie części ruchome się zatrzymają i odłącz przewód świecy zapłonowej przed sprawdzeniem, czy maszyna nie jest uszkodzona. Przed kontynuowaniem pracy przeprowadź wszystkie niezbędne naprawy.
Przed opuszczeniem stanowiska operatora wyłącz silnik i zaczekaj, aż wszystkie ruchome części się zatrzymają.
Jeśli silnik pracował, będzie on gorący i może spowodować poważne oparzenia. Zachowuj bezpieczną odległość od rozgrzanego silnika.
Uruchamiaj silnik jedynie w dobrze wentylowanych miejscach. Spaliny zawierają tlenek węgla, który jest bezwonną, śmiertelną trucizną.
Sprawdzaj często elementy wychwytywacza trawy oraz kanału wyrzutowego pod kątem zużycia lub pogorszenia ich stanu i wymieniaj je w razie potrzeby na oryginalne części Toro.
Koś zawsze w poprzek zbocza; nigdy w górę lub w dół. Zachowaj szczególną ostrożność, gdy zmieniasz kierunek jazdy na zboczach.
Nie wolno kosić na nadmiernie stromych zboczach. Przy słabym oparciu stóp o grunt mogą wystąpić spowodowane ześlizgnięciem się i upadkiem.
Zachowaj ostrożność przy koszeniu w pobliżu zboczy, rowów lub nasypów.
Przytrzymaj dźwignię sterującą ostrzami przy uchwycie (A na Rysunek 13).
Pociągnij lekko za uchwyt rozrusznika do momentu, aż wyczujesz opór, a następnie gwałtownie go pociągnij i powoli puszczaj, pozwalając na powrót linki przez prowadnicę (B na Rysunek 13).

Note: Jeśli maszyna nie uruchamia się mimo kilku prób, skontaktuj się z przedstawicielem autoryzowanego serwisu.
Aby użyć napędu trybu samobieżnego, wystarczy iść, z łokciami przy bokach, uchwyciwszy rękoma górny uchwyt; maszyna automatycznie dostosuje prędkość do operatora (Rysunek 14).

Note: Jeżeli urządzenie nie cofa się swobodnie po skorzystaniu z trybu samobieżnego, zatrzymaj się z rękami nieruchomo i pozwól kosiarce przejechać kilka centymetrów do przodu, aby zwolnić napęd kół. Możesz również sięgnąć pod górny uchwyt, chwytając metalową rączkę, i przesunąć maszynę do przodu o kilka centymetrów. Jeśli urządzenia dalej nie jeździ z łatwością do tyłu, skontaktuj się z autoryzowanym przedstawicielem serwisowym.
| Częstotliwość serwisowania | Procedura konserwacji |
|---|---|
| Przed każdym użyciem lub codziennie |
|
Aby wyłączyć silnik, puść dźwignię sterowania ostrzami.
Important: Po zwolnieniu dźwigni sterującej ostrzem silnik i ostrze powinny zatrzymać się w ciągu 3 sekund. Jeśli nie zatrzymają się prawidłowo, zatrzymaj natychmiast maszynę i skontaktuj się z przedstawicielem autoryzowanego serwisu.
Urządzenie jest fabrycznie przystosowane do recyklingu ścinków trawy i liści oraz kierowania ich z powrotem na trawnik.
Jeśli na maszynie zamontowany jest worek na trawę, a dźwignia ustawienia worka jest w pozycji Workowanie”, przesuń dźwignię w pozycję Recykling”; patrz Obsługa dźwigni ustawienia worka.
Aby pozbierać pokos i ścinki liści z trawnika, użyj worka na trawę.
Jeśli dźwignia ustawienia worka jest w pozycji Recykling”, przesuń ją w pozycję Workowanie”; patrz Obsługa dźwigni ustawienia worka.
Aby zdemontować worek na trawę, wykonaj czynności w odwrotnej kolejności niż w punkcie Montaż worka na trawę.
Możliwość zmiany ustawień worka umożliwia operatorowi zbieranie lub recykling ścinków trawy i liści, gdy worek na trawę jest zamontowany na maszynie.
W celu workowania ścinków trawy i liści naciśnij przycisk na dźwigni ustawienia worka i przesuwaj dźwignię do przodu do momentu, gdy przycisk na dźwigni wyskoczy (Rysunek 16).

Aby wykonać recykling ścinków trawy i liści, naciśnij przycisk na dźwigni i przesuwaj dźwignię do tyłu, do momentu gdy przycisk na dźwigni wyskoczy.
Important: Aby zapewnić prawidłową pracę, przed zmianą pozycji dźwigni ustawienia worka wyłącz silnik, zaczekaj aż wszystkie ruchome elementy zatrzymają się, a następnie usuń wszelkie ścinki traw i zabrudzenia z drzwiczek worka oraz otaczającego je otworu (Rysunek 17).

Sprawdź obszar, w którym zamierzasz używać maszyny, i usuń wszelkie obiekty, które mogłyby zostać podrzucone przez maszynę.
Unikaj uderzania ostrzem w lite obiekty. Nigdy nie koś celowo nad żadnym przedmiotem.
Jeśli maszyna uderzy w jakiś przedmiot lub wpadnie w wibracje, natychmiast wyłącz silnik, odczekaj, aż wszystkie części ruchome się zatrzymają i odłącz przewód świecy zapłonowej przed sprawdzeniem, czy maszyna nie jest uszkodzona.
Aby uzyskać najlepszą wydajność, przez rozpoczęciem sezonu koszenia lub w razie potrzeby zamontuj nowe ostrze Toro.
Ścinaj za jednym razem tylko około jednej trzeciej źdźbła trawy. Nie koś przy ustawieniu wysokości niższym od 51 mm, z wyjątkiem sytuacji, gdy trawa jest rzadka lub koszenie odbywa się późną jesienią, kiedy wzrost jest spowolniony.
Kosząc trawę o wysokości powyżej 15 cm pracuj przy najwyższym ustawieniu wysokości koszenia i poruszaj się wolniej. Następnie koś przy niższym ustawieniu, aby uzyskać najlepszy wygląd trawy. Jeżeli trawa jest za długa, urządzenie może się zablokować, co spowoduje zgaśnięcie silnika.
Mokra trawa i liście mają tendencję do tworzenia brył w ogródku i powodować zablokowanie maszyny lub zgaśnięcie silnika. Unikaj koszenia w mokrych warunkach.
Pamiętaj, że gdy jest bardzo sucho, wzrasta zagrożenie pożarowe. Zwracaj uwagę na lokalne ostrzeżenia o zagrożeniu pożarowym. Maszyna musi się znajdować z dala od suchych liści i trawy.
Zmieniaj kierunek koszenia. Ułatwia to rozrzucanie ścinków na trawniku, zapewniając równomierne użyźnienie.
Jeśli wygląd trawnika po zakończeniu koszenia jest niezadowalający, spróbuj zastosować co najmniej jedną z następujących metod:
Wymień ostrze lub zleć jego naostrzenie.
Podczas koszenia przemieszczaj się wolniej.
Zwiększ wysokość koszenia maszyny.
Koś trawę częściej.
Nakładaj pokosy na siebie zamiast kosić jeden pokos za każdym przejazdem.
Po skoszeniu trawy sprawdź, czy trawnik jest częściowo widoczny spod pokrywy ściętych liści. Może być konieczne wykonanie więcej niż jednego przejazdu nad liśćmi.
Jeśli na trawniku znajduje się więcej niż 13 cm liści, wykonaj koszenie z ustawioną wyższą wysokością koszenia, po czym powtórz koszenie na pożądanej wysokości koszenia.
Jeśli maszyna nie tnie liści wystarczająco drobno, zmniejsz prędkość koszenia.
Przed przystąpieniem do regulacji, serwisowania, czyszczenia lub przed przechowywaniem sprzętu należy zawsze wyłączyć maszynę i zaczekać, aż wszystkie elementy ruchome się zatrzymają, a maszyna ostygnie.
Oczyść maszynę z trawy i innych pozostałości, aby zapobiec ewentualnym pożarom. Pamiętaj, aby usunąć rozlany olej lub rozlane paliwo.
Nie wolno przechowywać maszyny lub kanistra na paliwo w pobliżu otwartego ognia, iskier lub lamp kontrolnych, takich jak montowane na podgrzewaczu wody lub innych urządzeniach.
Zachowaj ostrożność podczas umieszczania maszyny na przyczepie lub zjeżdżania z niej.
Zabezpiecz maszynę przed stoczeniem się.
| Częstotliwość serwisowania | Procedura konserwacji |
|---|---|
| Po każdym zastosowaniu |
|
Najlepsze rezultaty można osiągnąć, myjąc maszynę od spodu krótko po zakończeniu koszenia.
Opuść maszynę do najniższej wysokości koszenia.
Ustaw urządzenie na płaskiej poziomej utwardzonej nawierzchni.
Przy pracującym silniku i załączonym ostrzu, skieruj strumień wody na przód prawego tylnego koła (Rysunek 18).
Note: Woda rozpryśnie się na drodze ostrza, usuwając ścinki.

Gdy ścinki przestaną się wydobywać, wyłącz wodę i przesuń urządzenie w suche miejsce.
Uruchom silnik i pozostaw go na kilka minut, aby osuszyć spód maszyny i zapobiec jego rdzewieniu.
Przed odstawieniem maszyny do zamkniętego pomieszczenia wyłącz silnik, wyjmij przycisk rozrusznika elektrycznego (jeżeli występuje) i odczekaj aż maszyna ostygnie.
Ustaw maszynę w pozycji pionowej, patrz Przechowywanie maszyny w pozycji pionowej.
Opłucz maszynę od spodu ze ścinków trawy.
Nieprawidłowe złożenie lub rozłożenie uchwytu może spowodować uszkodzenie linek, skutkując wystąpieniem niebezpiecznych warunków eksploatacji.
Rozkładając lub składając uchwyt, nie wolno dopuścić do uszkodzenia linek.
W przypadku uszkodzenia linki skontaktuj się z przedstawicielem autoryzowanego serwisu.
Przy rozłączaniu blokad uchwytu trzymaj uchwyt, aby nie dopuścić do pochwycenia dłoni.
Zwolnij blokady uchwytu, aż górny uchwyt da się swobodnie poruszać (A na Rysunek 19).
Złóż uchwyt do przodu, ustawiając w pozycji całkowitego wychylenia do przodu (B na Rysunek 19).
Important: Podczas składania uchwytu poprowadź linki na zewnątrz uchwytu.

Aby rozłożyć uchwyt, patrz Rozkładanie uchwytu.
W trakcie sezonu koszenia lub poza nim maszynę można przechowywać w pozycji pionowej, aby zmniejszyć powierzchnię zajętej przestrzeni.
Paliwo jest niezwykle łatwopalne i wybuchowe. Zapłon lub wybuch paliwa może poparzyć operatora i osoby postronne.
Przechowywanie maszyny w pozycji pionowej, gdy ilość paliwa w zbiorniku jest zbyt duża, może spowodować wycieki paliwa ze zbiornika. Paliwo jest niezwykle łatwopalne i wybuchowe. Zapłon lub wybuch paliwa może poparzyć operatora i osoby postronne.
Przechowuj maszynę w pozycji pionowej, tylko jeśli poziom paliwa w zbiorniku nie jest wyższy niż zalecany w niniejszej instrukcji użytkownika.
Nie przechowuj maszyny w pozycji odchylonej o więcej niż 90°, gdyż może to spowodować wydostawanie się paliwa ze zbiornika paliwa.
Nie należy transportować maszyny w pozycji pionowej.
Nie wolno próbować uruchomić maszyny w pozycji pionowej.
Nie wolno przechowywać w pozycji pionowej maszyny napełnionej paliwem i olejem, która nie jest przeznaczona do przechowywania w ten sposób.
Nieprawidłowe złożenie lub rozłożenie uchwytu może spowodować uszkodzenie linek, skutkując wystąpieniem niebezpiecznych warunków eksploatacji.
Rozkładając lub składając uchwyt, nie wolno dopuścić do uszkodzenia linek.
W przypadku uszkodzenia linki skontaktuj się z przedstawicielem autoryzowanego serwisu.
Upewnij się, że poziom paliwa w zbiorniku paliwa nie jest wyższy niż zalecany przez producenta silnika; zapoznaj się z etykietą producenta silnika umieszczoną na silniku (Rysunek 20).
Note: Jeżeli poziom paliwa jest zbyt wysoki, spuść paliwo ze zbiornika do odpowiedniego pojemnika na paliwo, aż poziom będzie równy lub niższy niż zalecany przez producenta silnika.

Upewnij się, że w maszynie ustawiona jest wysokość koszenia 92 mm lub niższa. W przeciwnym razie należy ją zmniejszyć, patrz Regulacja wysokości cięcia.
Zwolnij blokady uchwytu (Rysunek 21).

Złóż uchwyt całkowicie do przodu (Rysunek 21).
Important: Podczas składania uchwytu poprowadź linki na zewnątrz uchwytu.
Załącz blokady uchwytu.
Unieś przód maszyny za uchwyt i przenieś do miejsca przechowywania (Rysunek 22).

| Częstotliwość serwisowania | Procedura konserwacji |
|---|---|
| Przed każdym użyciem lub codziennie |
|
| Po każdym zastosowaniu |
|
| Co 25 godzin |
|
| Co rok |
|
| Co rok lub przed składowaniem |
|
Important: Dodatkowe procedury konserwacyjne zostały podane w instrukcji obsługi silnika.
Przed przystąpieniem do regulacji, serwisowania, czyszczenia lub przed przechowywaniem sprzętu należy zawsze wyłączyć maszynę i zaczekać, aż wszystkie elementy ruchome się zatrzymają, a maszyna ostygnie.
Przed wykonaniem którejkolwiek z procedur konserwacyjnych odłącz przewód świecy zapłonowej od świecy.
Podczas serwisowania maszyny należy stosować rękawice i okulary ochronne.
Ostrze jest ostre; kontakt z nim może doprowadzić do poważnych obrażeń ciała. Podczas serwisowania ostrza należy stosować rękawice ochronne. Zabrania się naprawiania lub modyfikowania ostrzy.
Nie manipuluj przy urządzeniach zabezpieczających. Regularnie sprawdzaj prawidłowość ich działania.
Wywrócenie maszyny może spowodować wyciek paliwa. Paliwo jest łatwopalne, ma właściwości wybuchowe i może spowodować obrażenia ciała. Poczekaj, aż pracujący silnik zgaśnie z braku paliwa lub usuń je pompką ręczną; nigdy nie odciągaj paliwa przez wyssanie przez rurkę.
Dla zagwarantowania optymalnej wydajności maszyny stosuj wyłącznie części zamienne/akcesoria zalecane przez firmę Toro. Części zamienne i akcesoria wykonane przez innych producentów mogą być niebezpieczne. Stosowanie ich mogłoby unieważnić gwarancję na produkt.
Wyłącz silnik i zaczekaj, aż wszystkie ruchome części się zatrzymają.
Odłącz przewód od świecy zapłonowej (Rysunek 23).

Po wykonaniu procedur konserwacyjnych podłącz kabel świecy zapłonowej do świecy.
Important: Przed przechyleniem maszyny w celu wymiany oleju lub wymiany ostrza kontynuuj normalną pracę, aż do wyczerpania się całego paliwa w zbiorniku. Jeśli konieczne jest przechylenie kosiarki przed wyczerpaniem się paliwa, użyj ręcznej pompy paliwowej, aby usunąć paliwo. Zawsze przewracaj maszynę na bok ze wskaźnikiem poziomu skierowanym w dół.
| Częstotliwość serwisowania | Procedura konserwacji |
|---|---|
| Co 25 godzin |
|
| Co rok |
|
Odepnij górę pokrywy filtra powietrza (Rysunek 24).

Wyjmij filtr powietrza (Rysunek 24).
Sprawdź filtr powietrza.
Note: Jeśli filtr powietrza jest zbyt brudny, wymień go na nowy. W przeciwnym wypadku delikatnie postukaj filtrem o twardą powierzchnię, aby usunąć zabrudzenia.
Załóż filtr powietrza.
Użyj zacisku, aby zamocować pokrywę filtra powietrza.
| Częstotliwość serwisowania | Procedura konserwacji |
|---|---|
| Co rok |
|
Wymiana oleju w silniku nie jest wymagana, ale jeżeli pojawi się taka potrzeba, postępuj zgodnie z poniższą procedurą.
Note: Uruchom silnik na kilka minut przed wymianą oleju, aby go rozgrzać. Rozgrzany olej łatwiej wypływa i zawiera więcej zanieczyszczeń.
| Ilość oleju silnikowego | 0,44 litra* |
| Lepkość oleju | Olej smarowy klasy SAE 30 lub SAE 10W-30 z detergentami |
| Klasa serwisowa API | SJ lub wyższa |
* Po spuszczeniu oleju w skrzyni korbowej zostaje pewna ilość szczątkowa. Nie napełniaj skrzyni korbowej olejem w ilości równej jej pojemności. Napełniaj skrzynię korbową olejem zgodnie z poniższym opisem.
Ustaw maszynę na równym podłożu.
Patrz Przygotowanie do konserwacji.
Wyjmij wskaźnik poziomu, obracając jego korek w lewo i wyciągając go (Rysunek 25).

Przechyl maszynę na bok (tak, aby filtr powietrza był skierowany w górę), aby spuścić zużyty olej przez szyjkę wlewu oleju (Rysunek 26).

Po spuszczeniu zużytego oleju ustaw maszynę ponownie w położeniu roboczym.
Ostrożnie wlej przez szyjkę wlewu oleju około ¾ pojemności skrzyni korbowej oleju.
Odczekaj 3 minuty na ustabilizowanie się poziomu oleju w silniku.
Oczyść wskaźnik poziomu za pomocą suchej szmatki.
Wsuń wskaźnik poziomu do szyjki wlewu oleju, wkręć go, a następnie wyjmij wskaźnik poziomu.
Odczytaj poziom oleju na wskaźniku (Rysunek 25).
Jeżeli poziom oleju na wskaźniku poziomu jest zbyt niski, ostrożnie dolewaj olej niewielkimi porcjami przez szyjkę wlewu, odczekaj 3 minuty i powtarzaj czynności od 8 do 10 do czasu, gdy poziom oleju na wskaźniku osiągnie prawidłowy poziom.
Jeśli poziom oleju jest zbyt wysoki, spuść jego nadmiar, aby uzyskać prawidłowy poziom na wskaźniku.
Important: Jeśli poziom oleju w skrzyni korbowej jest zbyt niski lub zbyt wysoki, uruchomienie silnika może spowodować jego uszkodzenie.
Zamocuj pewnie wskaźnik poziomu w szyjce wlewu oleju.
Przekaż zużyty olej do recyklingu.
| Częstotliwość serwisowania | Procedura konserwacji |
|---|---|
| Co rok |
|
Important: Aby prawidłowo zainstalować ostrze, należy użyć klucza dynamometrycznego. Jeżeli nie posiadasz klucza dynamometrycznego lub nie jesteś pewny swoich działań, skontaktuj się z autoryzowanym serwisem.
Ostrze należy skontrolować za każdym razem, gdy w maszynie zabraknie paliwa. Jeżeli ostrze zostanie uszkodzone lub pęknie, należy je natychmiast wymienić. Jeżeli krawędź ostrza jest stępiona lub wyszczerbiona, ostrze należy naostrzyć i wyważyć, albo wymienić.
Ostrze jest ostre; kontakt z nim może doprowadzić do poważnych obrażeń ciała.
Podczas serwisowania ostrza, należy stosować rękawice ochronne.
Patrz Przygotowanie do konserwacji.
Przechyl maszynę w bok tak, aby filtr powietrza był skierowany w górę.
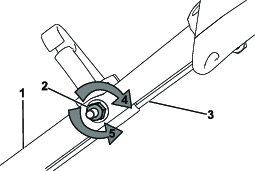
Aby unieruchomić ostrze, należy użyć kawałka drewna (Rysunek 27).

Zdemontuj ostrze, zachowując wszystkie elementy mocujące (Rysunek 27).
Zamontuj nowe ostrze i cały osprzęt mocujący (Rysunek 28).

Important: Ustaw zakrzywione końce ostrza w kierunku obudowy maszyny.
Za pomocą klucza dynamometrycznego dokręć śrubę ostrza z momentem 82 N·m.
Zawsze po zamontowaniu nowej linki napędu samobieżnego lub jeśli napęd samobieżny jest rozregulowany należy przeprowadzić regulację linki napędu samobieżnego.
Obróć nakrętkę regulacyjną w lewo, aby poluzować mocowanie linki (Rysunek 29).

Wyreguluj naprężenie linki (Rysunek 29) pociągając ją do tyłu lub popychając do przodu i przytrzymując w tym położeniu.
Note: Popchnij linkę w kierunku do silnika, aby zwiększyć trakcję, lub pociągnij linkę w kierunku od silnika, aby zmniejszyć trakcję.
Obróć nakrętkę regulacyjną w prawo, aby dokręcić mocowanie linki.
Note: Mocno dokręć nakrętkę z wykorzystaniem klucza.
Przechowuj maszynę w chłodnym, czystym i suchym miejscu.
Przed przystąpieniem do regulacji, serwisowania, czyszczenia lub przed przechowywaniem sprzętu należy zawsze wyłączyć maszynę i zaczekać, aż wszystkie elementy ruchome się zatrzymają, a maszyna ostygnie.
Przy ostatnim tankowaniu w danym roku dodaj do paliwa stabilizator paliwa (taki jak dodatek uszlachetniający do paliwa Toro Premium) postępując zgodnie z wskazówkami na etykiecie.
Odpowiednio zutylizuj niewykorzystane paliwo. Paliwo należy zutylizować zgodnie z obowiązującymi przepisami lub wykorzystać w samochodzie.
Important: Głównym powodem trudności z rozruchem jest pozostawienie starego paliwa w zbiorniku. Zabrania się przechowywania paliwa przez dłużej niż 30 dni, jeżeli nie zastosowano stabilizatora paliwa. Jeżeli zaś zastosowano stabilizator paliwa, nie wolno przekraczać okresu zalecanego przez producenta stabilizatora.
Uruchom maszynę i pozwól jej pracować, aż silnik zatrzyma się z powodu braku paliwa.
Ponownie uruchom silnik i poczekaj, aż sam się zatrzyma. Silnik będzie dostatecznie suchy, kiedy nie będzie można go uruchomić.
Odłącz kabel świecy zapłonowej od świecy i podłącz go do trzpienia przytrzymującego (jeżeli występuje).
Wykręć świecę zapłonową i wlej 30 ml oleju silnikowego przez otwór świecy, a następnie powoli pociągnij kilka razy za linkę rozrusznika, aby rozprowadzić olej w cylindrze, co zapobiegnie jego korozji podczas przechowywania poza sezonem.
Zainstaluj świecę zapłonową, lekko ją dokręcając.
Dokręć wszystkie nakrętki, śruby i wkręty.
Sprawdź i dokręć wszystkie mocowania.
Wykręć świecę zapłonową i szybko zakręć silnikiem, używając rozrusznika linkowego, aby wydmuchać nadmiar oleju z cylindra.
Wkręć świecę zapłonową i dokręć ją kluczem dynamometrycznym momentem 20 N∙m.
Wykonaj wszystkie wymagane procedury konserwacji, patrz .
Sprawdź poziom oleju w silniku, patrz Sprawdzanie poziomu oleju w silniku.
Uzupełnij zbiornik świeżym paliwem; patrz Uzupełnianie paliwa.
Podłącz kabel do świecy zapłonowej.