| Intervalo de assistência | Procedimento de manutenção |
|---|---|
| Em todas as utilizações ou diariamente |
|
Este cortador de relva com operador apeado com lâmina rotativa destina-se a utilizadores domésticos. Foi, principalmente, concebido para cortar a relva em parques bem mantidos em propriedades residenciais. Se a máquina for utilizada com qualquer outro propósito, poderá pôr em perigo o utilizador ou outras pessoas.
Leia estas informações cuidadosamente para saber como utilizar e efetuar a manutenção do produto de forma adequada, bem como evitar ferimentos e danos no produto. A utilização correta e segura do produto é da exclusiva responsabilidade do utilizador.
Vá a www.Toro.com para obter mais informações, incluindo dicas de segurança, materiais de formação, informações sobre acessórios, ajuda a encontrar um representante ou a registar o seu produto.
Sempre que necessitar de assistência, peças genuínas Toro ou informações adicionais, entre em contacto com um representante autorizado ou o serviço de assistência Toro, indicando os números de modelo e de série do produto. Figura 1 identifica a localização dos números de série e de modelo no produto. Escreva os números no espaço disponível.
Important: Com o seu dispositivo móvel, pode ler o código QR no autocolante com o número de série (se existente) para aceder a informações sobre garantia, peças e outros produtos.

Este manual identifica potenciais perigos e tem mensagens de segurança identificadas pelo símbolo de alerta de segurança (Figura 2), que identifica perigos que podem provocar ferimentos graves ou mesmo a morte, se não respeitar as precauções recomendadas.

Neste manual são utilizados duas palavras para identificar informações importantes. Importante identifica informações especiais de ordem mecânica e Nota sublinha informações gerais que requerem especial atenção.
Este produto cumpre todas as diretivas europeias relevantes. Para mais informações, consulte a folha de Declaração de conformidade (DOC) em separado, específica do produto.
Binário bruto ou útil: O binário bruto ou útil deste motor foi classificado em laboratório pelo fabricante do motor em conformidade com a Society of Automotive Engineers (SAE) J1940 ou J2723. Com a configuração para obedecer aos requisitos de segurança, emissões e funcionamento, o binário real do motor nesta classe de cortador será substancialmente inferior. Consulte as informações do fabricante do motor incluídas com a máquina.
Não modifique nem desative dispositivos de segurança na máquina e verifique regularmente se estão a funcionar corretamente. Não tente ajustar nem modificar o controlo de velocidade do motor; ao fazê-lo, pode dar origem a condições pouco seguras, que podem resultar em ferimentos pessoais.
Este produto pode provocar a amputação de mãos e pés e a projeção de objetos. Respeite sempre todas as instruções de segurança, de modo a evitar ferimentos pessoais graves ou mesmo a morte.
Leia, compreenda e siga as instruções e avisos neste Manual do utilizador e na máquina e engates antes de ligar o motor.
Não coloque as mãos ou os pés perto de peças em movimento ou sob a máquina. Mantenha-se afastado de qualquer abertura de descarga.
Não opere a máquina sem que todos os resguardos e outros dispositivos protetores de segurança estejam instalados e a funcionar corretamente na máquina.
Mantenha as pessoas e as crianças pequenas afastadas da área de operação. Não permita que crianças utilizem a máquina. Permita apenas pessoas responsáveis, formadas, familiarizadas com as instruções e fisicamente capazes de utilizar a máquina.
Pare a máquina, desligue o motor e espere até que todas as peças em movimento parem antes de efetuar manutenção, abastecer ou desobstruir a máquina.
O uso e manutenção impróprios deste equipamento
pode resultar em ferimentos. Para reduzir o risco de lesões,
respeite estas instruções de segurança e preste
sempre atenção ao símbolo de alerta de segurança
, que indica: Cuidado, Aviso
ou Perigo – instruções de segurança pessoal.
O não cumprimento destas instruções pode resultar
em ferimentos pessoais ou mesmo em morte.
![]() |
Os autocolantes de segurança e de instruções são facilmente visíveis e situam-se próximo das zonas de potencial perigo. Substitua todos os autocolantes danificados ou perdidos. |





Important: Retire e deite fora a película de plástico protetora que cobre o motor e qualquer outro plástico ou envólucro da máquina.
Note: Certifique-se de que os cabos estão encaminhados para o exterior da pega e não estão entalados (D da Figura 3).


Important: Para arrancar o motor facilmente e em segurança sempre que utilizar a máquina, instale o cabo do arrancador de retrocesso no guia do cabo.

Important: Se o nível de óleo no motor estiver demasiado baixo ou demasiado alto e ligar o motor, pode danificar o motor.



| Modelo | Peso | Comprimento | Largura | Altura |
|---|---|---|---|---|
| 21773 | 35 kg | 151 cm | 59 cm | 109 cm |
Está disponível uma seleção de acessórios aprovados pela Toro para utilização com a máquina, para melhorar e expandir as suas capacidades. Contacte o seu representante de assistência autorizado ou distribuidor Toro autorizado ou vá a www.Toro.com para obter uma lista de todos os acessórios aprovados.
Para assegurar o desempenho ideal e certificação de segurança continuada da máquina, utilize sempre peças de substituição e acessórios genuínos Toro. As peças de substituição e acessórios fabricados por outros fabricantes podem ser perigosos e essa utilização anula a garantia.
Note: Determine os lados direito e esquerdo da máquina a partir da posição normal de utilização.
Desligue sempre a máquina, aguarde que todas as partes móveis parem e deixe a máquina arrefecer antes de a ajustar, lhe fazer a manutenção, limpar ou armazenar.
Familiarize-se com o funcionamento seguro do equipamento, com os comandos do utilizador e com os sinais de segurança.
Certifique-se de que todos os resguardos e dispositivos de segurança, tais como defletores e/ou depósitos de recolha de relva, estão colocados e a funcionar corretamente.
Inspecione sempre a máquina para verificar se as lâminas e os parafusos das lâminas estão gastos ou danificados.
Inspecione a área em que vai utilizar a máquina e remova todos os objetos que podem interferir no funcionamento da máquina ou que a máquina possa projetar.
O contacto com uma lâmina em movimento pode provocar ferimentos graves. Não coloque os dedos sob a caixa.
O combustível é extremamente inflamável e explosivo. Um incêndio ou explosão provocada por combustível pode resultar em queimaduras e danos materiais.
Para evitar que uma descarga de eletricidade estática provoque a ignição do combustível, coloque o contentor e/ou a máquina diretamente no chão antes de encher, não dentro de um veículo ou sobre um objeto.
Encha o depósito de combustível no exterior, num espaço aberto, quando o motor estiver frio. Remova todo o combustível que se tenha derramado.
Não manuseie combustível quando estiver a fumar ou junto de uma chama aberta ou faíscas.
Não retire o tampão do combustível nem adicione combustível enquanto o motor estiver a trabalhar ou quente.
Se derramar combustível, não tente ligar o motor. Evite criar uma fonte de ignição até que os vapores do combustível se tenham dissipado.
Guarde o combustível num recipiente aprovado e mantenha-o fora do alcance das crianças.
O combustível pode ser prejudicial ou mesmo fatal quando ingerido. A exposição prolongada a vapores pode provocar lesões graves ou doenças.
Evite inalar vapores durante muito tempo.
Mantenha as mãos e rosto afastados do bico e abertura do depósito de combustível.
Mantenha o combustível afastado dos olhos e da pele.
| Tipo | Gasolina sem chumbo |
| Classificação mínima de octanas | 87 (EUA) ou 91 (pesquisa de octanas; fora dos EUA) |
| Etanol | Não superior a 10% de volume |
| Metanol | Nenhum |
| MTBE (éter-metil-tercio-butílico) | Inferior a 15% de volume |
| Óleo | Não adicione ao combustível |
Utilize apenas combustível limpo e fresco (com menos de 30 dias) de uma origem fiável.
Important: Para reduzir os problemas de arranque, adicione estabilizador/condicionador de combustível ao combustível novo conforme indicado pelo fabricante do estabilizador/condicionador do combustível.
Consulte o manual do motor para obter informações adicionais.
Encha o depósito de combustível como se mostra na Figura 9.

| Intervalo de assistência | Procedimento de manutenção |
|---|---|
| Em todas as utilizações ou diariamente |
|
Important: Se o nível de óleo no cárter estiver demasiado baixo ou demasiado alto e o motor estiver a trabalhar, pode danificar o motor.

Pode levantar ou descer a pega para a uma posição mais confortável.
Rode o bloqueio da pega, mova-a para as posições 1 ou 2 e bloqueie a pega na posição (Figura 11).

Ajustar as alavancas da altura de corte pode fazer com que as mãos toquem na lâmina em movimento, provocando ferimentos graves.
Desligue o motor, remova o botão de arranque elétrico (se equipado) e aguarde que todas as peças em movimento parem antes de ajustar a altura de corte.
Não coloque os dedos por baixo da caixa quando está a ajustar a altura de corte.
Se o motor tiver estado a trabalhar, o coletor vai estar quente e pode provocar-lhe queimaduras.
Afaste-se da panela quente.
Ajuste a altura de corte conforme desejado. Coloque as rodas à mesma altura de corte (Figura 12).

Utilize vestuário adequado, incluindo proteção visual, calças compridas, calçado resistente antiderrapante e proteções para os ouvidos. Prenda cabelo comprido e não utilize vestuário solto ou joias pendentes.
Tenha total atenção durante a utilização da máquina. Não exerça qualquer atividade que provoque distração; caso contrário podem ocorrer ferimentos ou danos materiais.
Não utilize a máquina quando estiver doente, cansado ou se encontrar sob o efeito de álcool ou drogas.
A lâmina é afiada; tocar na lâmina pode ter como resultado ferimentos pessoais graves. Desligue o motor e espere até que todas as peças em movimento parem antes de sair da posição de operação.
Quando soltar a barra de controlo da lâmina, o motor deve desligar e a lâmina deve parar passados 3 segundos. Se não pararem de forma adequada, pare imediatamente de utilizar a máquina e contacte um representante de assistência autorizado.
Mantenha as pessoas afastadas da área de operação. Mantenha as crianças pequenas afastadas da área de operação e sob vigilância de um adulto responsável que não esteja a operar a máquina. Desligue a máquina se alguém entrar na área.
Olhe sempre para baixo e para trás antes de operar a máquina em marcha-atrás.
Opere a máquina apenas em condições de boa visibilidade e condições atmosféricas adequadas. Nunca opere a máquina quando existir a possibilidade de trovoadas.
A relva e as folhas molhadas podem provocar ferimentos graves se escorregar e tocar na lâmina. Evite cortar em condições de humidade.
Tome todas as precauções adicionais necessárias quando se aproximar de esquinas sem visibilidade, arbustos, árvores ou outros objetos que possam obstruir a visibilidade.
Não direcione o material de descarga para ninguém. Evite descarregar o material contra uma parede ou obstrução, uma vez que o material pode fazer ricochete em direção do operador. Pare a(s) lâmina(s) quando atravessar superfícies de gravilha.
Esteja atento a buracos, carreiras, elevações, pedras ou outros objetos ocultos. O terreno desnivelado pode fazer com que perca o equilíbrio ou a posição.
Se a máquina atingir um objeto ou começar a vibrar, pare imediatamente o motor, espere que todas as peças móveis parem e desligue o fio da vela antes de inspecionar a máquina para ver se está danificada. Efetue todas as reparações necessárias antes de retomar o funcionamento.
Antes de sair da posição de operação, desligue o motor e espere até que todas as peças em movimento parem.
Se o motor tiver estado a trabalhar, vai estar quente e pode provocar-lhe queimaduras graves. Afaste-se do motor quente.
Opere o motor apenas em áreas bem ventiladas. Os gases de exaustão contêm monóxido de carbono, que é um gás inodoro e tóxico.
Verifique o depósito de recolha de relva e a calha de descarga com frequência e substitua com peças Toro genuínas quando necessário.
Corte na transversal; nunca para cima e para baixo. Tome todas as precauções necessárias quando alterar a direção ou se encontrar numa inclinação.
Não corte a relva em inclinações demasiado pronunciadas. A má colocação dos pés pode provocar um acidente por escorregar e cair.
Corte com cuidado perto de depressões, valas ou bancos de areia.
Mantenha a barra de controlo da lâmina encostada à pega (A de Figura 13).
Puxe o manípulo do arranque manual com cordão ligeiramente até sentir resistência e, em seguida, puxe rapidamente e deixe que regresse lentamente ao guia no manípulo (B de Figura 13).

Note: Se o cortador não arrancar após várias tentativas, contacte um distribuidor autorizado.
Para operar a transmissão autopropulsora, basta caminhar com as mãos na pega superior e os cotovelos de lado e o cortador começará automaticamente a andar à sua velocidade (Figura 14).

Note: Se a máquina não se deslocar livremente para trás depois da autopropulsão, pare de caminhar, mantenha as mãos imóveis e permita que a máquina se desloque alguns centímetros para a frente para desengatar a transmissão das rodas. Também pode utilizar a pega metálica debaixo da pega superior para empurrar a máquina alguns centímetros para a frente. Se a máquina continuar sem deslocar-se facilmente para trás, contacte um representante de assistência autorizado.
| Intervalo de assistência | Procedimento de manutenção |
|---|---|
| Em todas as utilizações ou diariamente |
|
Para desligar o motor, solte barra de controlo da lâmina.
Important: Quando soltar a barra de controlo da lâmina, tanto o motor como a lâmina devem parar passados 3 segundos. Se não pararem de forma adequada, pare imediatamente de utilizar a máquina e contacte um revendedor autorizado.
O seu cortador é entregue de fábrica pronto para reciclar a relva e as aparas de relva de forma a serem novamente colocadas no relvado.
Se o saco da relva se encontrar na máquina e a alavanca de uso do saco a pedido se encontrar na posição de recolha, desloque-a para a posição de reciclagem; consulte Utilização da alavanca de uso do saco a pedido.
Utilize o saco de relva quando quiser recolher as aparas de relva e de folhas do relvado.
Se a alavanca de uso do saco a pedido estiver na posição de reciclagem, desloque-a para a posição de recolha; consulte Utilização da alavanca de uso do saco a pedido.
Para retirar o saco, inverta os passos em Instalação do saco da relva.
A funcionalidade de uso do saco a pedido permite recolher ou reciclar relva e aparas com o saco instalado na máquina.
Se desejar recolher relva e aparas, prima o botão na alavanca de uso do saco a pedido e desloque a alavanca para a frente até que o botão saia (Figura 16).

Para reciclar a relva e aparas, prima o botão na alavanca e desloque a alavanca para trás até que o botão saia.
Important: Para garantir o funcionamento correto, desligue o motor, aguarde que todas as peças móveis parem e, em seguida, retire aparas e detritos da abertura de uso do saco a pedido e em redor da abertura (Figura 17) antes de deslocar a alavanca de uma posição para a outra.

Inspecione a área em que vai utilizar a máquina e remova todos os objetos que a máquina possa projetar.
Evite atingir objetos sólidos com a lâmina. Nunca corte a relva deliberadamente por cima de um objeto.
Se a máquina atingir um objeto ou começar a vibrar, pare imediatamente o motor, espere que todas as peças móveis parem e desligue o fio da vela e inspecione a máquina para ver se está danificada.
Para um melhor desempenho, instale uma lâmina Toro nova antes de começar a estação de corte ou quando necessário.
Corte apenas cerca de um terço da lâmina de relva de cada vez. Não corte abaixo da regulação de 51 mm, a menos que a relva seja escassa ou quando se está no fim do outono e a relva começa a crescer mais devagar.
Quanto estiver a cortar relva com mais de 15 cm de altura, corte com a regulação de corte mais alta e caminhe devagar; em seguida volte a cortar com a regulação mais baixa para que o relvado fique com um aspeto óptimo. Se a relva estiver demasiado comprida, a máquina pode encravar e fazer com que o motor vá abaixo.
A relva e as folhas molhadas tendem a acumular-se no jardim e podem fazer com a máquina encrave e o motor vá abaixo. Evite cortar em condições de humidade.
Tenha em atenção o perigo de incêndio em condições muito secas, siga todos os avisos locais de incêndio e mantenha a máquina sem relva seca e detritos.
Alterne a direção de corte. Isto ajuda a dispersar as aparas pelo relvado para uma fertilização uniforme.
Se, depois de cortar, o aspeto do relvado não for satisfatório, tente fazer o seguinte:
Substitua a lâmina ou mande afiá-la.
Caminhe mais devagar quando estiver a cortar.
Aumente a altura de corte na máquina.
Corte a relva com mais frequência.
Sobreponha as filas de corte em vez de cortar uma fila inteira em cada passagem.
Depois de cortar o relvado certifique-se de que metade do relvado se vê através da cobertura de folhas cortadas. Pode ter que passar mais de que uma vez por cima das folhas.
Se houver mais de 13 cm de folhas no relvado, corte a uma altura de corte superior e, em seguida, na altura de corte desejada.
Reduza a velocidade de corte se a máquina não cortar as folhas suficientemente finas.
Desligue sempre a máquina, aguarde que todas as partes móveis parem e deixe a máquina arrefecer antes de a ajustar, lhe fazer a manutenção, limpar ou armazenar.
Elimine todos os vestígios de relva e detritos da máquina de modo a evitar qualquer risco de incêndio. Limpe as zonas que tenham óleo ou combustível derramado.
Nunca guarde a máquina ou o recipiente de combustível num local onde existe uma fonte de fogo, faísca ou luz piloto, como junto de uma caldeira ou outros eletrodomésticos.
Tome todas as precauções necessárias quando colocar ou retirar a máquina de um atrelado.
Impeça que a máquina deslize.
| Intervalo de assistência | Procedimento de manutenção |
|---|---|
| Após cada utilização |
|
Para obter melhores resultados, limpe debaixo da máquina logo após ter concluído o corte.
Desça a máquina para a altura de corte mais baixa.
Desloque a máquina para uma superfície plana e pavimentada.
Com o motor a funcionar e a lâmina engatada, deixe correr água em frente da roda traseira direita (Figura 18).
Note: A água irá saltar para o caminho da lâmina limpando todas as aparas de relva.

Quando não saírem mais aparas, pare a água e desloque o cortador para uma área seca.
Ligue e deixe o motor a funcionar durante alguns minutos para secar a parte de baixo da máquina e evitar que enferruje.
Desligue o motor, remova o botão de arranque elétrico (se equipado) e deixe a máquina arrefecer antes de a armazenar numa área fechada.
Regule a máquina para a posição de armazenamento vertical; consulte Armazenar a máquina na posição de armazenamento vertical.
Lave todas as aparas debaixo da máquina.
Dobrar ou desdobrar a pega inadequadamente pode danificar os cabos criando uma condição de funcionamento insegura.
Não danifique os cabos quando estiver a dobrar ou a desdobrar a pega.
Se um cabo estiver danificado, contacte um distribuidor autorizado.
Segure na pega enquanto desengata os bloqueios da pega para evitar entalar as mãos.
Desengate os bloqueios da pega até conseguir mover livremente a pega superior (A de Figura 19)
Dobre a pega para a frente para a posição totalmente para a frente (B de Figura 19).
Important: Encaminhe os cabos para o exterior dos bloqueios da pega ao dobrar a pega.

Desdobrar a pega; consulte Desdobramento da pega.
Durante a temporada de corte ou na época de inatividade, pode guardar a sua máquina na posição vertical para minimizar o espaço de armazenamento.
O combustível é extremamente inflamável e explosivo. Um incêndio ou explosão provocada por combustível pode resultar em queimaduras.
Armazenar a máquina na posição vertical quando existe muito combustível no depósito de combustível pode causar uma fuga do combustível do depósito. O combustível é extremamente inflamável e explosivo. Um incêndio ou explosão provocada por combustível pode resultar em queimaduras.
Armazene a máquina na posição vertical apenas quando o nível de combustível do depósito de combustível não for superior ao recomendado neste Manual do utilizador.
Não armazene a máquina numa posição que seja para além da posição vertical (90°); caso contrário, o combustível pode verter do depósito de combustível.
Não transporte a máquina na posição de armazenamento vertical.
Não tente ligar a máquina na posição de armazenamento vertical.
Não tente armazenar qualquer máquina com combustível e óleo na posição de armazenamento vertical que não tenha sido concebida para esse fim.
Dobrar ou desdobrar a pega inadequadamente pode danificar os cabos criando uma condição de funcionamento insegura.
Não danifique os cabos quando estiver a dobrar ou a desdobrar a pega.
Se um cabo estiver danificado, contacte um distribuidor autorizado.
Certifique-se de que o nível de combustível no depósito de combustível não é superior ao recomendado pelo fabricante do motor; consulte o autocolante do fabricante do motor colocado no motor (Figura 20).
Note: Se houver um nível de combustível no depósito de combustível demasiado elevado, drene o combustível do depósito para um recipiente aprovado para combustível até que fique abaixo ou no nível recomendado pelo fabricante do motor.

Certifique-se de que a configuração da altura de corte na máquina é de 92 mm ou inferior. Se não for, baixe-a; consulte Ajuste da altura de corte.
Desengate os bloqueios da pega (Figura 21).

Dobre a pega totalmente para a frente (Figura 21).
Important: Encaminhe os cabos para ao lado exterior dos manípulos da pega ao dobrar a pega.
Engate os bloqueios da pega.
Eleve a frente da máquina pela pega e mova-a para o local de armazenamento (Figura 22).

| Intervalo de assistência | Procedimento de manutenção |
|---|---|
| Em todas as utilizações ou diariamente |
|
| Após cada utilização |
|
| A cada 25 horas |
|
| Anualmente |
|
| Anualmente ou antes do armazenamento |
|
Important: Para informações detalhadas sobre os procedimentos de manutenção adicionais, consulte o Manual do utilizador do motor.
Desligue sempre a máquina, aguarde que todas as partes móveis parem e deixe a máquina arrefecer antes de a ajustar, lhe fazer a manutenção, limpar ou armazenar.
Desligue o fio da vela da ignição da vela da ignição antes de executar qualquer procedimento de manutenção.
Use luvas e proteção visual durante a manutenção da máquina.
A lâmina é afiada; tocar na lâmina pode ter como resultado ferimentos pessoais graves. Use luvas quando efetuar a manutenção da lâmina. Não repare nem altere a(s) lâmina(s).
Nunca altere os dispositivos de segurança. Verifique regularmente o funcionamento adequado.
Inclinar a máquina pode fazer com que o combustível derrame. O combustível é inflamável, explosivo e pode provocar ferimentos pessoais. Ponha o motor a funcionar até se gastar o combustível ou remova o combustível com uma bomba manual; nunca com um sifão.
Para assegurar um desempenho ótimo da máquina, utilize apenas peças de substituição e acessórios genuínos Toro. As peças de substituição e acessórios fabricados por outros fabricantes podem ser perigosos e essa utilização anula a garantia.
Desligue o motor e espere que todas as peças em movimento parem.
Desligue o fio da vela da ignição da vela da ignição (Figura 23).

Depois de executar os procedimento de manutenção, ligue o fio da vela de ignição à vela de ignição.
Important: Antes de inclinar o cortador para mudar o óleo ou substituir a lâmina, deixe que o depósito de combustível fique seco utilizando normalmente o cortador. Se tiver de inclinar o cortador antes do combustível se gastar utilize uma bomba de combustível manual para retirar o combustível. Incline sempre a máquina para o lado, com a vareta para baixo.
| Intervalo de assistência | Procedimento de manutenção |
|---|---|
| A cada 25 horas |
|
| Anualmente |
|
Desencaixe a parte superior da cobertura do filtro de ar (Figura 24).

Retire o filtro de ar (Figura 24).
Verifique o filtro de ar.
Note: Se o filtro de ar estiver excessivamente sujo, substitua-o por um novo. Caso contrário, bata ligeiramente com o filtro de ar numa superfície dura para soltar os detritos.
Coloque o filtro de ar.
Utilize o clipe para colocar a cobertura do filtro de ar.
| Intervalo de assistência | Procedimento de manutenção |
|---|---|
| Anualmente |
|
Não é necessário mudar o óleo do motor, mas, se pretender mudar o óleo, efetue o seguinte procedimento.
Note: Ponha o motor a funcionar durante alguns minutos antes de mudar o óleo para o aquecer. O óleo quente flui mais rapidamente e transporta mais contaminantes.
| Capacidade do óleo do motor | 0,44 l* |
| Viscosidade do óleo | Óleo detergente SAE 30 ou SAE 10W-30 |
| Classificação de serviço API | SJ ou superior |
*Existe óleo residual no cárter depois de drenar o óleo. Não despeje a capacidade total do óleo para o cárter. Encha o cárter com óleo de acordo com o indicado nos passos seguintes.
Leve a máquina para uma superfície nivelada.
Consulte Preparação para a manutenção.
Retire a vareta rodando-a no sentido contrário ao dos ponteiros do relógio e puxando-a para fora (Figura 25).

Incline o cortador para o lado (de forma a que o filtro de ar fique voltado para cima) para drenar o óleo utilizado para fora do tubo de enchimento do óleo (Figura 26).

Após drenar o óleo usado, faça a máquina voltar à posição de funcionamento.
Cuidadosamente, deite cerca de ¾ da capacidade do motor de óleo para o tubo de enchimento de óleo.
Aguarde 3 minutos até o óleo assentar no motor.
Limpe a vareta com um pano limpo.
Insira a vareta no tubo de enchimento do óleo e, em seguida, retire-a.
Leia o nível de óleo na vareta (Figura 25).
Se o nível de óleo na vareta estiver demasiado baixo, deite cuidadosamente uma pequena quantidade de óleo para o tubo de enchimento de óleo, aguarde 3 minutos e volte a repetir os passos 8 a 10 até o nível de óleo na vareta estar no nível correto.
Se o nível de óleo na vareta estiver demasiado alto, drene o óleo em excesso até que o nível de óleo se encontre no nível correto.
Important: Se o nível de óleo no motor estiver demasiado baixo ou demasiado alto e ligar o motor, pode danificar o motor.
Coloque firmemente a vareta no tubo de enchimento de óleo.
Recicle devidamente o óleo usado.
| Intervalo de assistência | Procedimento de manutenção |
|---|---|
| Anualmente |
|
Important: Precisará de uma chave de aperto para instalar a lâmina de forma adequada. Se não tiver uma chave de aperto ou se não se sentir à vontade para executar este procedimento, contacte um revendedor autorizado.
Examine a lâmina sempre que ficar sem combustível. Se a lâmina estiver danificada ou rachada, substitua-a imediatamente. Se a extremidade da lâmina estiver embotada ou com falhas, mande-a afiar ou equilibrar ou substitua-a.
A lâmina é afiada; tocar na lâmina pode ter como resultado ferimentos pessoais graves.
Use luvas quando efetuar a manutenção da lâmina.
Consulte Preparação para a manutenção.
Incline sempre a máquina para o lado (com o filtro de ar voltado para cima).
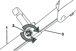
Utilize um bloco de madeira para manter a lâmina segura (Figura 27).

Retire a lâmina guardando todo o equipamento de montagem (Figura 27).
Instale lâmina nova e todo o equipamento de montagem (Figura 28).

Important: Coloque a extremidades em curva da lâmina de forma a apontarem em direção à caixa do cortador.
Utilize uma chave de aperto para apertar o parafuso da lâmina com 82 N·m.
Sempre que instalar um novo cabo autopropulsor ou se a transmissão autopropulsora estiver desajustada, ajuste a transmissão autopropulsora.
Rode a porca de ajuste no sentido contrário ao dos ponteiros do relógio para folgar o ajuste do cabo (Figura 29).

Ajuste a tensão do cabo (Figura 29) puxando-o para trás ou empurrando-o para a frente e mantendo a posição.
Note: Empurre o cabo em direção ao motor para aumentar a tração. Puxe o cabo para longe do motor para diminuir a tração.
Rode a porca de ajuste no sentido dos ponteiros do relógio para apertar o ajuste do cabo.
Note: Aperte a porca firmemente com uma chave.
Guarde a máquina num local fresco, limpo e seco.
Desligue sempre a máquina, aguarde que todas as partes móveis parem e deixe a máquina arrefecer antes de a ajustar, lhe fazer a manutenção, limpar ou armazenar.
No último abastecimento de gasolina do ano, adicione estabilizador de combustível ao combustível (como, por exemplo, Toro Premium Fuel Treatment), como indicado na etiqueta.
A gasolina deverá ser eliminada de forma adequada. Recicle-a de acordo com as normas locais ou utilize-a no seu automóvel.
Important: O combustível velho no depósito do combustível é a principal causa do arranque difícil. Não guarde o combustível sem estabilizador de combustível durante mais de 30 dias e não guarde o combustível estabilizado para além da duração recomendada pelo fabricante do estabilizador de combustível.
Ponha a máquina a trabalhar até que o motor pare por falta de combustível.
Ligue o motor novamente e deixe-o trabalhar até parar. Quando já não conseguir pôr o motor a trabalhar é porque está suficientemente seco.
Desligue o fio da vela da ignição e ligue o fio ao terminal de retenção (se equipado).
Retire a vela de ignição, adicione 30 ml de óleo do motor através do orifício da vela de ignição e puxe o cabo do arrancador lentamente várias vezes para distribuir óleo pelo cilindro de forma a evitar a corrosão do cilindro durante a época de inatividade.
Coloque a vela de ignição de forma solta.
Aperte todas as porcas, cavilhas e parafusos.
Verifique e aperte todos os dispositivos de fixação.
Retire a vela de ignição e ponha o motor a funcionar rapidamente utilizando a pega do arranque manual com cordão para retirar o excesso de óleo do cilindro.
Instale a vela de ignição e aperte-a com uma chave de aperto com 20 N·m.
Realize quaisquer procedimentos de manutenção; consulte .
Verifique o nível de óleo do motor, consulte Verificação do nível de óleo do motor.
Encha o depósito de combustível com combustível novo; consulte Enchimento do depósito de combustível.
Ligue o fio à vela de ignição.