| Périodicité d'entretien | Procédure d'entretien |
|---|---|
| À chaque utilisation ou une fois par jour |
|
Cette machine est une tondeuse autoportée à lames rotatives prévue pour les utilisateurs professionnels employés à des applications professionnelles. Elle est principalement conçue pour tondre les pelouses entretenues régulièrement dans les parcs, les terrains de sports et les espaces verts commerciaux. L'utilisation de ce produit à d'autres fins que celle prévue peut être dangereuse pour vous-même et toute personne à proximité.
Lisez attentivement cette notice pour apprendre comment utiliser et entretenir correctement votre produit, et éviter ainsi de l'endommager ou de vous blesser. Vous êtes responsable de l'utilisation sûre et correcte du produit.
Rendez-vous sur www.Toro.com pour tout document de formation à la sécurité et à l'utilisation des produits, pour tout renseignement concernant un produit ou un accessoire, pour obtenir l'adresse des concessionnaires ou pour enregistrer votre produit.
Pour obtenir des prestations de service, des pièces d'origine Toro ou des renseignements complémentaires, munissez-vous des numéros de modèle et de série du produit et contactez un concessionnaire-réparateur agréé ou le service client Toro. La Figure 1 indique l'emplacement des numéros de modèle et de série sur le produit. Inscrivez les numéros dans l'espace réservé à cet effet.
Important: Avec votre appareil mobile, vous pouvez scanner le QR code sur l'autocollant du numéro de série (le cas échéant) afin d'accéder aux informations sur la garantie, les pièces détachées et autres renseignements concernant le produit.

Les mises en garde de ce manuel soulignent des dangers potentiels et sont signalées par le symbole de sécurité (Figure 2), qui indique un danger pouvant entraîner des blessures graves ou mortelles si les précautions recommandées ne sont pas respectées.

Ce manuel utilise deux termes pour faire passer des renseignements essentiels. Important pour attirer l'attention sur des informations d'ordre mécanique spécifiques et Remarque pour souligner des informations d'ordre général méritant une attention particulière.
Ce produit est conforme à toutes les directives européennes pertinentes. Pour plus de renseignements, reportez-vous à la Déclaration de conformité spécifique du produit fournie séparément.
Vous commettez une infraction à la section 4442 ou 4443 du Code des ressources publiques de Californie si vous utilisez cette machine dans une zone boisée, broussailleuse ou recouverte d'herbe à moins d'équiper le moteur d'un pare-étincelles, tel que défini à la section 4442, maintenu en bon état, ou à moins de construire, équiper et entretenir le moteur de manière à prévenir les incendies.
Le manuel du propriétaire du moteur ci-joint est fourni à titre informatif concernant la réglementation de l'Agence américaine pour la protection de l'environnement (EPA) et la réglementation antipollution de l'état de Californie relative aux systèmes antipollution, à leur entretien et à leur garantie. Vous pouvez vous en procurer un nouvel exemplaire en vous adressant au constructeur du moteur.
CALIFORNIE
Proposition 65 - Avertissement
L'état de Californie considère les gaz d'échappement des moteurs diesel et certains de leurs composants comme susceptibles de provoquer des cancers, des malformations congénitales et autres troubles de la reproduction.
Les bornes de la batterie et accessoires connexes contiennent du plomb et des composés de plomb. L'état de Californie considère ces substances chimiques comme susceptibles de provoquer des cancers et des troubles de la reproduction. Lavez-vous les mains après avoir manipulé la batterie.
L'utilisation de ce produit peut entraîner une exposition à des substances chimiques considérées pas l'état de Californie comme capables de provoquer des cancers, des anomalies congénitales ou d'autres troubles de la reproduction.
Ce produit peut sectionner les mains ou les pieds et projeter des objets. Respectez toujours toutes les consignes de sécurité pour éviter des blessures graves.
Vous devez lire et comprendre le contenu de ce Manuel de l'utilisateur avant de démarrer le moteur.
Accordez toute votre attention à l'utilisation de la machine. Ne faites rien d’autre qui puisse vous distraire, au risque de causer des dommages corporels ou matériels.
N'utilisez pas la machine s'il manque des capots ou d'autres dispositifs de protection, ou s'ils sont défectueux.
N'approchez jamais les mains ou les pieds des pièces rotatives. Ne vous tenez pas devant l'ouverture d'éjection.
N'admettez personne, notamment les enfants, dans le périmètre de travail. N'autorisez jamais les enfants à utiliser la machine.
Avant de quitter la position d'utilisation, coupez le moteur, enlevez la clé et attendez l'arrêt complet de tout mouvement. Laissez refroidir la machine avant de la régler, d'en faire l'entretien, de la nettoyer ou de la remiser.
L'usage ou l'entretien incorrect de cette machine
peut occasionner des accidents. Pour réduire les risques d'accidents
et de blessures, respectez les consignes de sécurité
qui suivent. Tenez toujours compte des mises en garde signalées
par le symbole de sécurité (
) et la mention Prudence,
Attention ou Danger. Le non respect de ces instructions peut entraîner
des blessures graves ou mortelles.
![]() |
Des autocollants de sécurité et des instructions bien visibles par l'utilisateur sont placés près de tous les endroits potentiellement dangereux. Remplacez tout autocollant endommagé ou manquant. |





















À coller sur l'autocollant réf. 112-5297 pour les tondeuses série 4500 dans la CE* (Modèle nº 30885)

À coller sur l'autocollant réf. 112-5297 pour les tondeuses série 4700 dans la CE* (Modèle nº 30887)

Note: Les côtés gauche et droit de la machine sont déterminés d'après la position d'utilisation normale.
Pièces nécessaires pour cette opération:
| Autocollant de sécurité | 1 |
| Autocollant CE | 1 |
| Autocollant de l'année de production | 1 |
Sur les machines devant satisfaire à la norme CE, remplacez l'autocollant de sécurité (127-6647 pour le modèle 30885 ou 127-6648 pour le modèle 30887), l'autocollant CE et l'autocollant de l'année de production (Figure 3).

Pièces nécessaires pour cette opération:
| Support du loquet de capot | 1 |
| Rivet | 2 |
| Rondelle | 1 |
| Vis (¼" x 2") | 1 |
| Contre-écrou (¼") | 1 |
Décrochez le loquet du capot de son support.
Retirez les 2 rivets qui fixent le support du loquet au capot (Figure 4).

Enlevez le support de loquet du capot.
Alignez les trous de montage et positionnez le support de loquet CE et le support de loquet du capot sur le capot (Figure 5).
Note: Le support de loquet doit être appuyé contre le capot. Ne retirez pas le boulon et l'écrou du bras du support de loquet.

Placez les rondelles en face des trous à l'intérieur du capot
Rivetez les supports et les rondelles sur le capot (Figure 5).
Accrochez le loquet du capot sur son support (Figure 6).

Vissez le boulon dans l'autre bras du support de loquet du capot pour bloquer le loquet en position (Figure 7). Serrez le boulon mais pas l'écrou.

L'efficacité du racloir de rouleau en option est optimale quand un espace uniforme de 0,5 à 1 mm sépare le racloir et le rouleau.
Desserrez le graisseur et la vis de fixation (Figure 8).

Faites coulisser le racloir vers le haut ou le bas de manière à obtenir un espace de 0,5 à 1 mm entre la tige et le rouleau.
Fixez le graisseur et serrez les vis à 41 N·m dans un ordre alterné.
Pour vous procurer le déflecteur de mulching correct, contactez votre distributeur Toro agréé.
Enlevez soigneusement tous les débris présents dans les trous de montage des parois arrière et gauche de la chambre.
Montez le déflecteur de mulching dans l'ouverture arrière et fixez-le avec 5 boulons à embase (Figure 9).

Vérifiez que le déflecteur de mulching ne gêne pas la pointe de la lame et ne dépasse pas à l'intérieur de la surface de la paroi arrière de la chambre.
La lame haute levée peut se briser si vous l'utilisez en même temps que le déflecteur de mulching et causer des blessures graves ou mortelles.
N'utilisez pas la lame haute levée avec le déflecteur.
Garez la machine sur une surface plane et horizontale.
Pour les Groundsmaster 4500 et 4700, libérez les câbles des unités de coupe nº 4 et nº 5 (Figure 39).
Pour les Groundsmaster 4700, débloquez les verrous des unités de coupe nº 6 et nº 7 (Figure 42).
Abaissez les unités de coupe.
Serrez le frein de stationnement.
Coupez le moteur et retirez la clé.
Contrôlez la pression des pneus avant d'utiliser la machine ; voir Contrôle de la pression des pneus.
Important: Tous les pneus doivent être gonflés à la pression correcte pour garantir de bons résultats et de bonnes performances. Veillez à toujours utiliser une pression de gonflage suffisante.
Contrôlez le niveau d'huile du pont arrière avant le premier démarrage du moteur ; voir Contrôle du niveau de lubrifiant du pont arrière.
Contrôlez le niveau d'huile moteur avant le démarrage du moteur ; voir Contrôle du niveau d'huile moteur.
Contrôlez le niveau de liquide hydraulique avant de mettre le moteur en marche ; voir Contrôle du niveau de liquide hydraulique.
Contrôlez le système de refroidissement avant le démarrage du moteur ; voir Contrôle du circuit de refroidissement.
Graissez la machine avant de l'utiliser ; voir Graissage des roulements et bagues.
Important: Si vous ne graissez pas la machine correctement, des pannes prématurées de pièces importantes se produiront.

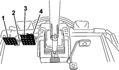
La pédale de déplacement (Figure 10) commande le déplacement en marche avant et arrière. Appuyez sur le haut de la pédale pour avancer et sur le bas pour faire marche arrière. Lorsque les unités de coupe sont complètement levées, la pédale commande le régime moteur et la vitesse de déplacement comme pour une voiture.
Note: Pour un freinage d'urgence, ôtez le pied de la pédale de déplacement et enfoncez les pédales de frein. Cette méthode est la plus rapide pour arrêter la machine.
Deux pédales au pied commandent les freins de roues individuels pour faciliter le braquage, le stationnement et l'adhérence sur les flancs des pentes. Un système de verrouillage relie les pédales entre elles pour serrer le frein de stationnement et pour le transport (Figure 10).
Le verrou de blocage relie les pédales entre elles pour serrer le frein de stationnement (Figure 10).
Pour incliner le volant vers vous, appuyez sur la pédale et tirez la colonne de direction vers vous à la position qui vous convient le mieux, puis relâchez la pédale (Figure 10). Pour éloignez le volant de vous, enfoncez la pédale et relâchez-la quand le volant atteint la position d'utilisation voulue.
Pour serrer le frein de stationnement (Figure 10), reliez les pédales ensemble à l'aide du verrou de blocage, et enfoncez la pédale de frein droite tout en engageant la pédale actionnée en bout de pied. Pour desserrer le frein de stationnement, appuyez sur une des pédales de frein jusqu'à ce que le verrou se rétracte.
Le commutateur d'allumage (Figure 11) a 3 positions : ARRêT, CONTACT/PRéCHAUFFAGE et DéMARRAGE.

La commande de PDF a 2 positions : SORTIE (ENGAGéE) et RENTRéE (DéSENGAGéE). Tirez sur la commande de PDF pour engager les lames des unités de coupe. Appuyez sur la commande pour désengager les lames des unités de coupe (Figure 11).
Le sélecteur (Figure 11) commande les gammes haute et basse.
Sélectionnez la position H/L AUTO pour que la machine passe automatiquement en gamme haute ou basse.
Sélectionnez la position GAMME BASSE pour passer manuellement en gamme basse seulement.
Vous pouvez changer la position du sélecteur à tout moment, mais la machine ne change alors de gamme que lorsque la pédale de déplacement est en position neutre, et la machine s'arrête.
Note: Pour passer à la gamme haute depuis la position H/L AUTO, désengagez la PDF et levez complètement les unités de coupe.
Note: Si le sélecteur est à la position H/L AUTO, il n'est possible d'abaisser les unités de coupe de la position levée maximale que lorsque la pédale de déplacement est à la position neutre et la machine est arrêtée.
La commande du régulateur de vitesse bloque le régulateur de vitesse pour maintenir la vitesse de déplacement voulue (Figure 12). Appuyez sur l'arrière de la commande pour désactiver le régulateur de vitesse. Placez la commande à la position centrale pour activer le régulateur de vitesse et appuyez sur l'avant pour régler la vitesse de déplacement voulue.
Une fois le régulateur de vitesse activé, vous pouvez changer la vitesse à partir de l'InfoCenter (Figure 34).

Ces commandes permettent de lever et d'abaisser les unités de coupe (Figure 11). Appuyez sur le haut des commandes pour baisser les unités de coupe et sur le bas pour les lever. Quand vous démarrez la machine, avec les unités de coupe abaissées, appuyez sur la commande de levage pour permettre aux unités de coupe de flotter et de tondre.
Note: Les unités de coupe ne s'abaissent pas quand la gamme haute est sélectionnée, et elles ne se s'élèvent ou ne s'abaissent pas si vous quittez le siège. D'autre part, les unités de coupe s'abaissent lorsque la clé est en position CONTACT et que vous êtes assis sur le siège.
Poussez l'interrupteur vers le haut pour ALLUMER les feux (Figure 11).
Poussez l'interrupteur vers le bas pour éTEINDRE les feux.
La prise de courant (Figure 13) sert à alimenter les accessoires électriques de 12 volts disponibles en option.

Utilisez le porte-sac pour le rangement (Figure 13).
Déplacez le levier de réglage situé sur le côté du siège vers l'extérieur, faites coulisser le siège à la position voulue, puis relâchez le levier pour bloquer le siège en position (Figure 14).

Tournez le bouton pour régler l'angle de l'accoudoir (Figure 14).
Déplacez le levier pour ajuster l'angle du dossier (Figure 14).
La jauge de poids indique quand le siège est réglé pour le poids de l'utilisateur (Figure 14). Réglez la hauteur en plaçant la suspension dans la zone verte sur la jauge.
Ce levier permet de régler le siège en fonction de votre poids (Figure 14). Tirez sur le levier pour augmenter la pression d'air et abaissez-le pour réduire la pression d'air. Le réglage est correct lorsque la jauge de poids se trouve dans la zone verte.
L'écran LCD de l'InfoCenter (Figure 11) affiche des informations sur votre machine, comme l'état de fonctionnement, ainsi que divers diagnostics et autres renseignements la concernant.
L'écran qui s'affiche dépend des boutons que vous sélectionnez. Chaque bouton peut changer de fonction selon les besoins du moment.

| Description | 4500-D | Référence de la Figure 15 | 4700-D | Référence de la Figure 15 | |
|---|---|---|---|---|---|
| Largeur de coupe | 280 cm | D | 380 cm | F | |
| Largeur hors tout | |||||
| Unités de coupe abaissées | 286 cm | E | 391 cm | G | |
| Unités de coupe levées (transport) | 224 cm | A | 224 cm | A | |
| Largeur de voie | |||||
| Avant | 224 cm | B | 224 cm | B | |
| Arrière | 141 cm | M | 141 cm | M | |
| Hauteur avec ROPS | |||||
| Relevé | 226 cm | C | 226 cm | C | |
| Baissé | 165 cm | 165 cm | |||
| Longueur hors tout | |||||
| Unités de coupe abaissées | 370 cm | H | 370 cm | H | |
| Unités de coupe levées (transport) | 370 cm | B | 370 cm | B | |
| Garde au sol | 15 cm | 15 cm | |||
| Empattement | 171 cm | K | 171 cm | K | |
| Poids net | 1937 kg | 2277 kg | |||
| (avec unités de coupe et sans carburant) | |||||
Note: Les spécifications et la conception peuvent faire l'objet de modifications sans préavis.
| Longueur | 86,4 cm |
| Largeur | 86,4 cm |
| Hauteur | 24,4 cm jusqu'au support de bâti porteur |
| 26,7 cm à la hauteur de coupe de 1,9 cm | |
| 34,9 cm à la hauteur de coupe de 10 cm | |
| Poids | 88 kg |
Une sélection d'outils et d'accessoires agréés par Toro est disponible pour augmenter et améliorer les capacités de la machine. Pour obtenir la liste de tous les outils et accessoires agréés, contactez votre concessionnaire-réparateur ou votre distributeur Toro agréé, ou rendez-vous sur www.Toro.com.
Utilisez exclusivement des pièces de rechange et des accessoires d'origine Toro. Les pièces de rechange et accessoires provenant d'autres constructeurs peuvent être dangereux, et leur utilisation risque d'annuler la garantie de la machine.
Note: Les côtés gauche et droit de la machine sont déterminés d'après la position d'utilisation normale.
Ne confiez jamais l'utilisation ou l'entretien de la machine à des enfants ou à des personnes non qualifiées. La réglementation locale peut imposer un âge minimum pour les utilisateurs. Le propriétaire de la machine doit assurer la formation de tous les utilisateurs et mécaniciens.
Familiarisez-vous avec le maniement correct du matériel, les commandes et les symboles de sécurité.
Avant de quitter la position d'utilisation, coupez le moteur, enlevez la clé et attendez l'arrêt complet de tout mouvement. Laissez refroidir la machine avant de la régler, d'en faire l'entretien, de la nettoyer ou de la remiser.
Apprenez à arrêter la machine et le moteur rapidement.
Vérifiez toujours que les commandes de présence de l'utilisateur, les contacteurs de sécurité et les capots de protection sont en place et fonctionnent correctement. N'utilisez pas la machine s'ils ne fonctionnent pas correctement.
Avant de tondre, vérifiez toujours que les lames, les boulons de lame et les ensembles de coupe sont en bon état de marche. Remplacez les boulons et les lames usés ou endommagés par paires pour ne pas modifier l'équilibre.
Inspectez la zone de travail et débarrassez-la de tout objet pouvant être projeté par la machine.
Ce produit génère un champ électromagnétique. Si vous portez un dispositif médical électronique implantable, consultez votre professionnel de santé avant d'utiliser ce produit.
Faites preuve de la plus grande prudence quand vous manipulez du carburant, en raison de son inflammabilité et du risque d'explosion des vapeurs qu'il dégage.
Éteignez cigarettes, cigares, pipes et autres sources d'étincelles.
Utilisez exclusivement un bidon à carburant homologué.
N'enlevez pas le bouchon du réservoir de carburant et n'ajoutez pas de carburant pendant que le moteur tourne ou est encore chaud.
N'ajoutez pas de carburant et ne vidangez pas le réservoir dans un local fermé.
Ne rangez pas la machine ni les bidons de carburant à proximité d'une flamme nue, d'une source d'étincelles ou d'une veilleuse, telle celle d'un chauffe-eau ou autre appareil.
Si vous renversez du carburant, ne mettez pas le moteur en marche. Évitez toute source possible d'inflammation jusqu'à dissipation complète des vapeurs de carburant.
Avant de mettre le moteur en marche et d'utiliser la machine, vérifiez le niveau d'huile dans le carter moteur ; voir Contrôle du niveau d'huile moteur.
Avant de mettre le moteur en marche et d'utiliser la machine, vérifiez le système de refroidissement ; voir Contrôle du circuit de refroidissement.
Avant de mettre le moteur en marche et d'utiliser la machine, vérifiez le système hydraulique ; voir Contrôle du niveau de liquide hydraulique.
Vidangez chaque jour l'eau ou autres impuretés qui se trouvent dans le séparateur d'eau ; voir Vidange de l'eau du séparateur carburant-eau.
Recherchez des fuites au niveau du pont arrière et du boîtier d'engrenages arrière ; voir Recherche de fuites au niveau du pont arrière et du boîtier d'engrenages.
Capacité du réservoir de carburant :83 litres
Important: Utilisez uniquement du gazole à ultra-faible teneur en soufre. Le carburant à teneur en soufre plus élevée dégrade le catalyseur d'oxydation diesel (DOC), ce qui engendre des problèmes de fonctionnement et raccourcit la vie utile des composants du moteur.Le moteur peut être endommagé si vous ne respectez pas les consignes qui suivent.
N'utilisez jamais de kérosène ou d'essence à la place du gazole,
Ne mélangez jamais de kérosène ou d'huile moteur usagée au gazole.
Ne conservez jamais le carburant dans des récipients dont l'intérieur est galvanisé.
N'utilisez pas d'additifs pour carburant.
Indice de cétane : 45 ou plus
Teneur en soufre : ultra-faible (<15 ppm)
| Spécifications du gazole | Lieu d'utilisation |
| ASTM D975 | États-Unis |
| Nº 1-D S15 | |
| Nº 2-D S15 | |
| EN 590 | Union européenne |
| ISO 8217 DMX | International |
| JIS K2204 Grade nº 2 | Japon |
| KSM-2610 | Corée |
Utilisez uniquement du gazole propre et frais ou des carburants au biodiesel.
Pour garantir la fraîcheur du carburant, n'achetez pas plus que la quantité normalement consommée en 6 mois.
Utilisez du gazole de qualité été (nº 2-D) si la température ambiante est supérieure à -7 °C et du gazole de qualité hiver (nº 1-D ou mélange nº 1-D/2-D) si la température ambiante est inférieure à -7 °C.
Note: L'usage de carburant de qualité hiver à basses températures réduit le point d'éclair et les caractéristiques d'écoulement à froid, ce qui facilite le démarrage et réduit le colmatage du filtre à carburant.L'usage de carburant de qualité été au-dessus de -7 °C contribue à prolonger la vie de la pompe à carburant et augmente la puissance comparé au carburant de qualité hiver.
Cette machine peut aussi utiliser un mélange carburant et biodiesel jusqu'à B20 (20 % biodiesel, 80 % pétrodiesel).
Teneur en soufre : ultra-faible (<15 ppm)
Spécifications du carburant au biodiesel : ASTM D6751 ou EN 14214
Spécifications du carburant mélangé : ASTM D975, EN 590 ou JIS K2204
Important: La partie pétrodiesel doit être à ultra-faible teneur en soufre.
Prenez les précautions suivantes :
Les mélanges au biodiesel peuvent endommager les surfaces peintes.
Utilisez du B5 (teneur en biodiesel de 5 %) ou un mélange de plus faible teneur par temps froid.
Examinez régulièrement les joints et flexibles en contact avec le carburant, car ils peuvent se détériorer avec le temps.
Le filtre à carburant peut se colmater pendant quelque temps après l'adoption de mélanges au biodiesel.
Pour plus de renseignements sur le biodiesel, contactez votre concessionnaire Toro agréé.


Remplissez le réservoir de gazole nº 2-D jusqu'à environ 6 à 13 mm en dessous du haut du réservoir, pas du goulot de remplissage.
Note: Dans la mesure du possible, faites le plein de carburant après chaque utilisation ; cela minimisera la formation éventuelle de condensation à l'intérieur du réservoir.
| Périodicité d'entretien | Procédure d'entretien |
|---|---|
| À chaque utilisation ou une fois par jour |
|
Les pneus doivent être gonflés à 1,38 bar.
Important: Les pneus doivent être uniformément gonflés à la pression préconisée pour garantir de bons résultats et de bonnes performances. Veillez à toujours utiliser une pression de gonflage suffisante.Contrôlez la pression de tous les pneus avant d'utiliser la machine.

| Périodicité d'entretien | Procédure d'entretien |
|---|---|
| Après la 1ère heure de fonctionnement |
|
| Après les 10 premières heures de fonctionnement |
|
| Toutes les 200 heures |
|
Serrez les écrous de roue à un couple de 115 à 136 N·m dans l'ordre indiqué à la Figure 18 et la Figure 19.


Le mauvais couple de serrage des écrous de roue peut occasionner des blessures.
Serrez les écrous de roue au couple correct.
Pour éviter de vous blesser, parfois mortellement, en vous retournant, gardez l'arceau de sécurité relevé et bloqué en position, et attachez votre ceinture de sécurité.
Vérifiez que le siège est bien fixé avec le verrou de siège.
La protection antiretournement est inexistante lorsque l'arceau de sécurité est abaissé.
N'utilisez pas la machine sur un terrain irrégulier ou sur une pente quand l'arceau de sécurité est abaissé.
N'abaissez l'arceau de sécurité qu'en cas d'absolue nécessité.
N'attachez pas la ceinture de sécurité lorsque l'arceau de sécurité est abaissé.
Conduisez lentement et prudemment.
Déployez l'arceau de sécurité dès que possible.
Vérifiez précisément la hauteur libre avant de passer sous un obstacle (par ex. branches, portes, câbles électriques, etc.) et évitez de le toucher.
Important: Attachez toujours la ceinture de sécurité quand l'arceau de sécurité est déployé et verrouillé. N'utilisez pas la ceinture de sécurité quand l'arceau de sécurité est abaissé.
Important: N'abaissez l'arceau de sécurité qu'en cas d'absolue nécessité.
Important: Vérifiez que le siège est bien fixé avec le verrou de siège.


Important: La hauteur de coupe des unités de coupe rotatives est souvent plus basse d'environ 6 mm que celle des unités de coupe à cylindre ayant le même réglage au banc. Vous devrez peut-être régler au banc les unités de coupe rotative à une hauteur supérieure de 6 mm à celle des unités de coupe à cylindres pour la même surface de tonte.
Important: L'accès aux unités de coupe arrière est nettement facilité si vous retirez l'unité de la machine.
Garez la machine sur une surface plane et horizontale, serrez le frein de stationnement, abaissez l'unité de coupe au sol, coupez le moteur et enlevez la clé.
Desserrez le boulon qui fixe le support de hauteur de coupe à la plaque de hauteur de coupe (à l'avant et de chaque côté), comme montré à la Figure 22.
En commençant par le réglage avant, retirez le boulon de fixation.

Tout en soutenant la chambre, déposez l'entretoise (Figure 22).
Placez la chambre à la hauteur de coupe voulue et mettez l'entretoise dans le trou et la fente correspondant à la hauteur de coupe désignée (Figure 23)

Positionnez la plaque taraudée en face de l'entretoise.
Serrez le boulon à la main.
Répétez les opérations 4 à 7 pour chaque réglage latéral.
Serrez les 3 boulons à 41 N·m. Commencez toujours par le boulon avant.
Note: Les réglages de plus de 3,8 cm pourront nécessiter le montage à une hauteur intermédiaire pour éviter le coincement (par exemple, passage d'une hauteur de coupe de 3,1 à 7 cm).
| Périodicité d'entretien | Procédure d'entretien |
|---|---|
| À chaque utilisation ou une fois par jour |
|
Si les contacteurs de sécurité sont déconnectés ou endommagés, la machine peut se mettre en marche inopinément et causer des blessures.
Ne modifiez pas abusivement les contacteurs de sécurité.
Vérifiez chaque jour le fonctionnement des contacteurs de sécurité et remplacez ceux qui sont endommagés avant d'utiliser la machine.
Les contacteurs de sécurité sont conçus pour arrêter la machine si vous vous soulevez du siège alors que la pédale de déplacement est enfoncée. Vous pouvez cependant quitter le siège en laissant le moteur en marche si la pédale de déplacement est à la position NEUTRE. Bien que le moteur continue de tourner quand vous désengagez la prise de force et que vous relâchez la pédale de déplacement, vous devez le couper avant de quitter le siège.
Garez la machine sur une surface plane et horizontale, serrez le frein de stationnement, abaissez les unités de coupe et tournez la clé en position ARRêT.
Appuyez sur la pédale de déplacement et tournez la clé en position CONTACT.
Note: Si le démarreur est actionné, le système de sécurité est défaillant. Corrigez le problème avant d'utiliser la machine.
Tournez la clé en position CONTACT, soulevez-vous du siège et amenez la commande de PDF en position ENGAGéE.
Note: La prise de force ne doit pas s'engager. Si la PDF s'engage, le système de sécurité est défectueux. Corrigez le problème avant d'utiliser la machine.
Serrez le frein de stationnement, tournez la clé à la position CONTACT et sortez la pédale de déplacement de la position NEUTRE.
Note: L'InfoCenter affiche alors « traction denied » (déplacement refusé) et la machine ne devrait pas se déplacer. Si la machine se déplace, le système de sécurité est défectueux. Corrigez le problème avant d'utiliser la machine.
| Périodicité d'entretien | Procédure d'entretien |
|---|---|
| À chaque utilisation ou une fois par jour |
|
Note: Abaissez les unités de coupe sur une partie propre de la pelouse ou sur une surface dure pour éviter de projeter de la poussière et des débris.
Pour vérifier le temps d'arrêt, asseyez-vous sur le siège et désengagez la PDF. Écoutez les lames rotatives et notez le temps qu'il leur faut pour s'immobiliser. S'il leur faut plus de à 7 secondes, réglez la vanne de freinage. Demandez conseil à votre distributeur Toro agréé pour effectuer ce réglage.
Cette lame est conçue pour soulever l'herbe et la disperser de manière optimale dans pratiquement toutes les conditions. Pour soulever plus ou moins l'herbe ou varier la vitesse de dispersion, envisagez d'utiliser une lame différente.
Particularités : excellents soulèvement et dispersion de l'herbe dans la plupart des conditions
La lame permet d'obtenir de meilleurs résultats aux hauteurs de coupe inférieures (19 à 64 mm).
Particularités :
L'éjection est plus uniforme aux hauteurs de coupe inférieures.
L'éjection a moins tendance à se faire vers la gauche, ce qui laisse les abords des bunkers et des fairways plus dégagés.
Moins de puissance nécessaire aux hauteurs de coupe inférieures et pour l'herbe très fournie.
La lame permet d'obtenir de meilleurs résultats aux hauteurs de coupe supérieures (70 à 100 mm).
Particularités :
L'herbe est mieux soulevée et la vitesse d'éjection est améliorée
L'herbe clairsemée ou tendre est particulièrement bien saisie aux hauteurs de coupe supérieures
L'herbe humide ou collante est éjectée plus facilement ce qui réduit la congestion dans les unités de coupe.
Demande plus de puissance pour fonctionner
A tendance à éjecter l'herbe plus à gauche et à former des andains aux hauteurs de coupe inférieures
La lame haute levée peut se briser si vous l'utilisez en même temps que le déflecteur de mulching et causer des blessures graves ou mortelles.
N'utilisez pas la lame haute levée avec le déflecteur de mulching.
Cette lame est conçue pour offrir un excellent mulching des feuilles.
Particularité : excellent mulching des feuilles
| Lame à ailette oblique | Lame à ailette horizontale haute levée(ne pas l'utiliser avec le déflecteur de mulching) | Déflecteur de mulching | Racloir de rouleau | |
| Tonte : hauteur de coupe de 1,9 à 4,4 cm | Recommandée dans la plupart des cas | Peut convenir si l'herbe est fine et clairsemée | Améliore la dispersion et la finition sur les gazons des régions du nord qui sont tondus au moins trois fois par semaine et sur moins du tiers de leur hauteur. Ne pas utiliser avec la lame horizontale haute levée | Utiliser chaque fois que de grandes quantités d'herbe ou des paquets d'herbe écrasés sont observés sur les rouleaux. Les racloirs peuvent favoriser l'accumulation d'herbe dans certains cas. |
| Tonte : hauteur de coupe de 5 à 6,4 cm | Recommandée si l'herbe est épaisse ou très fournie | Recommandée si l'herbe est fine ou clairsemée | ||
| Tonte : hauteur de coupe de 7 à 10 cm | Peut convenir si l'herbe est très fournie | Recommandée dans la plupart des cas | ||
| Mulching des feuilles | Recommandée avec le déflecteur de mulching | Utilisation interdite | Utiliser uniquement avec la lame à ailette oblique, combinée ou Atomic | |
| Avantages | Éjection régulière à basse hauteur de coupe ; aspect plus net autour des bunkers et fairways ; moins de puissance nécessaire. | L'herbe est mieux soulevée et la vitesse d'éjection est améliorée. L'herbe clairsemée ou tendre est saisie aux hauteurs de coupe supérieures. L'herbe humide ou collante est éjectée plus facilement. | Peut améliorer la dispersion et la finition dans certaines applications. Idéal pour le mulching des feuilles. | Réduit les dépôts d'herbe sur les rouleaux dans certains cas. |
| Inconvénients | Ne redresse pas l'herbe correctement aux hauteurs de coupe élevées ; l'herbe humide ou collante a tendance à s'accumuler dans la chambre, ce qui produit une coupe de mauvaise qualité et exige plus de puissance | Exige plus de puissance pour fonctionner avec certaines applications ; a tendance à former des andains aux hauteurs de coupe inférieures quand l'herbe est très fournie ; ne pas utiliser avec le déflecteur de mulching. | L'herbe s'accumule dans la chambre si vous tentez de tondre une trop grande quantité d'herbe avec le déflecteur en place. |
L'écran affiche des informations relatives à la machine, comme l'état de fonctionnement, ainsi que divers diagnostics et autres renseignements la concernant. Plusieurs écrans s'affichent sur l'InfoCenter. Vous pouvez passer d'un écran à l'autre à tout moment en appuyant sur l'un des boutons de l'affichage et en sélectionnant la flèche de direction appropriée.

Note: Chaque bouton peut changer de fonction selon les besoins du moment. Chaque bouton est repéré par une icône illustrant sa fonction actuelle.
![]() | Compteur horaire |
![]() | Réglages de la butée de pédale virtuelle |
![]() | L'utilisateur doit s'asseoir sur le siège. |
![]() | Le frein de stationnement est serré. |
![]() | Température du liquide de refroidissement moteur (°C) |
![]() | Déplacement ou pédale de déplacement |
![]() | Le régulateur de vitesse est engagé. |
![]() | Demande de régénération commandée-de secours |
| Demande de régénération en stationnement ou d'urgence | |
![]() | Une régénération en stationnement ou d'urgence est en cours. |
![]() | Haute température de l'échappement |
![]() | Défaillance du diagnostic de détection de NOx ; ramenez la machine à l'atelier et contactez votre distributeur Toro agréé (logiciel version U et suivantes). |
![]() | La prise de force est désactivée. |
![]() | PDF engagée. |
![]() | Batterie |
![]() | Attention |
![]() | Actif |
![]() | Inactif |
![]() | Précédent |
![]() | Suivant |
![]() | Augmenter |
![]() | Diminuer |
![]() | Écran précédent |
![]() | Écran suivant |
![]() | Augmenter la valeur |
![]() | Réduire la valeur |
![]() | Menu |
![]() | Défilement vers le haut/bas |
![]() | Défilement vers la gauche/droite |
![]() | Température du liquide hydraulique (°C) |
![]() | Gamme haute ou rapide (transport) |
![]() | Gamme basse ou lente (tonte) |
![]() | Ventilateur (inversion du sens de rotation) |
![]() | Toutes les unités de coupe sont levées |
![]() | Toutes les unités de coupe sont baissées |
![]() | Unités de coupe centrales levées |
![]() | Unités de coupe centrales baissées |
![]() | Unités de coupe gauches levées |
![]() | Unités de coupe gauches baissées |
![]() | Unités de coupe droites levées |
![]() | Unités de coupe droites baissées |
![]() | Verrouillé |
Accessible
uniquement en saisissant un code PIN
Pour accéder au système de menus InfoCenter, appuyez sur le bouton d'accès au menu depuis l'écran principal. Cela vous amène au menu principal. Reportez-vous aux tableaux ci-après pour le synopsis des options disponibles dans les différents menus :
| Menu principal – Option de menu | Description |
| Anomalies | Le menu Anomalies contient la liste des anomalies récentes de la machine. Reportez-vous au Manuel d'entretien ou adressez-vous à votre distributeur Toro agréé pour plus de renseignements sur le menu Anomalies et sur les données qu'il contient. |
| Entretien | Le menu Entretien contient des données relatives à la machine telles que les heures de fonctionnement, les compteurs et d'autres données de ce type. |
| Diagnostics | Le menu Diagnostics indique l'état de chaque contacteur, capteur et sortie de commande de la machine. Il peut servir à détecter certains problèmes, car il indique rapidement quelles commandes de la machine sont ACTIVéES ou DéSACTIVéES. |
| Réglages | Le menu Réglages vous permet de personnaliser et modifier les variables de configuration sur l'écran. |
| Réglages machine | Le menu Réglages machine vous permet de régler les seuils d'accélération, de vitesse et de compensation. |
| À propos | Le menu À propos indique le numéro de modèle, le numéro de série et la version logicielle de votre machine. |
| Entretien – Option de menu | Description |
| Hours | Indique le nombre d'heures de fonctionnement de la machine, du moteur et de la PDF, ainsi que le nombre d'heures de transport et restant avant le prochain entretien. |
| Counts | Indique les différents décomptes de la machine. |
Traction Pedal![]() | |
Traction Pump![]() | |
| Fan | Indique si le ventilateur est actif dans les cas suivants : surchauffe du moteur, surchauffe de l'huile, surchauffe de l'huile moteur ou hydraulique et ventilateur activé. |
| Fuel Rate | Indique le taux de carburant qui est utilisé. |
| DPF Regeneration | Options de régénération du filtre à particules diesel et sous-menus DPF (FAP) |
| Diagnostics – Option de menu | Description |
| Left Cutting Unit (unité de coupe gauche) | Reportez-vous au Manuel d'entretien ou adressez-vous à votre distributeur Toro agréé pour plus de détails sur le menu Engine Run (fonctionnement du moteur) et sur les données qu'il contient. |
| Center Cutting Unit (unité de coupe centrale) | |
| Right Cutting Unit (unité de coupe droite) | |
| Traction (déplacement) | |
| HI/LO Range (gamme haute/basse) | |
| PTO (PDF) | |
| Engine (moteur) | |
CAN Statistics![]() |
| Réglages – Option de menu | Description |
| Saisie du code PIN | Permet à une personne (surintendant/mécanicien) autorisée par votre entreprise et détenant le code PIN d'accéder aux menus protégés. |
| Rétroéclairage | Permet de régler la luminosité de l'affichage LCD. |
| Langue | Permet de choisir la langue utilisée sur l'InfoCenter*. |
| Taille de police | Commande la taille de la police sur l'affichage. |
| Unités | Permet de choisir les unités utilisées sur l'InfoCenter (métriques ou impériales). |
Menus protégés![]() | Permet à une personne autorisée par votre entreprise et détenant le code PIN d'accéder aux menus protégés |
Protection des réglages![]() | Permet de modifier les paramètres dans les réglages protégés. |
Note: Le menu Réglages machine ne s'affiche qu'après la saisie du code PIN.
Réglages machine – Option de menu![]() | Description |
Vitesse de tonte ![]() | Permet de régler la vitesse maximale pendant la tonte (gamme basse) |
Vitesse de transp. ![]() | Permet de régler la vitesse maximale pendant le transport (gamme haute) |
Smart Power ![]() | Permet d'activer et de désactiver la fonction Smart Power |
Compensation ![]() | Régule la compensation appliquée aux unités de coupe |
ManÅ“uvres ![]() | Permet d'activer et de désactiver la fonction ManÅ“uvres |
Accélération ![]() | Les réglages Bas, Moyen et Haut déterminent la rapidité de réaction de la vitesse de déplacement lorsque vous actionnez la pédale de déplacement. |
Protégés
sous Menus protégés – accessibles uniquement en
saisissant un code PIN
| À propos – Option de menu | Description |
| Modèle | Indique le numéro de modèle de la machine. |
| Nº de série | Indique le numéro de série de la machine. |
| Version du contrôleur machine | Indique la version du logiciel du contrôleur principal. |
| Rév logiciel | Indique la version du logiciel du contrôleur principal. |
Version de l'InfoCenter![]() | Indique la version du logiciel de l'InfoCenter |
Logiciel secondaire![]() | Indique la référence et la version du contrôleur des unités de coupe pour le modèle Groundsmaster 4700. |
| Phase V | Indique oui ou non selon le moteur. |
Plusieurs paramètres de configuration du fonctionnement peuvent être sélectionnés dans le menu RéGLAGES de l'InfoCenter. Bloquez ces paramètres à partir du MENU PROTéGé.
Note: À la livraison de la machine, le code d'accès initial est programmé par votre distributeur.
Note: Le code PIN par défaut de la machine est 0000 ou 1234.Si vous changez de code PIN et que vous l'oubliez, adressez-vous à votre distributeur Toro agréé.
Depuis le MENU PRINCIPAL, naviguez jusqu'au menu RéGLAGES et appuyez sur le bouton de sélection (Figure 25).

Dans le menu RéGLAGES, naviguez jusqu'à SAISIR PIN et appuyez sur le bouton (Figure 26A).

Pour saisir le code PIN, appuyez sur les boutons de navigation vers le haut/bas jusqu'à ce que le premier chiffre correct s'affiche, puis appuyez sur le bouton de navigation droit pour passer au chiffre suivant (Figure 26B et Figure 26C). Répétez cette procédure jusqu'à ce que le dernier chiffre soit saisi.
Appuyez sur le bouton de sélection.
Note: Si l'affichage accepte le code PIN et que le menu protégé est déverrouillé, « PIN » s'affiche dans le coin supérieur droit de l'écran.
Pour verrouiller le menu protégé, tournez le commutateur d'allumage à la position ARRêT puis à la position CONTACT.
Sous RéGLAGES, naviguez jusqu'à l'option PROTECTION DES RéGLAGES.
Pour afficher et modifier les réglages sans
saisir de code PIN, utilisez le bouton de sélection pour changer
l'option PROTECTION DES RéGLAGES à
(désactivée).
Pour afficher et modifier les réglages en saisissant
un code PIN, utilisez le bouton de sélection pour changer l'option PROTECTION DES RéGLAGES à
(activée), saisissez
le code PIN et tournez le commutateur d'allumage à la
position ARRêT, puis ramenez-la à
la position CONTACT.
L'indicateur d'entretien réinitialise le nombre d'heures restant jusqu'au prochain entretien après avoir effectué un entretien programmé.
Sous RéGLAGES, naviguez jusqu'à SAISIR PIN et appuyez sur le bouton de sélection.
Saisissez le code PIN ; voir Accès aux menus protégés.
Sous ENTRETIEN, naviguez jusqu'à HOURS et appuyez sur le bouton de sélection.
Naviguez jusqu'à l'option ENTRETIEN REQUIS.
Note: Si un entretien est actuellement nécessaire, NOW (maintenant) apparaît près de ENTRETIEN REQUIS.
Mettez l'intervalle d'entretien en surbrillance et appuyez sur le bouton de sélection.
Note: L'intervalle d'entretien (250 h, 500 h, etc.) est situé à côté de l'option ENTRETIEN REQUIS. L'intervalle d'entretien est une option des Menus protégés.
Lorsque l'écran RESET SERVICE TIMER? (réinitialiser indicateur d'entretien ?) s'affiche, appuyez sur le bouton de sélection pour oui (YESi) ou sur le bouton de retour en arrière pour non (NO).
Lorsque vous sélectionnez YES, l'écran d'intervalle est effacé et revient aux sélections Service Hours (heures d'entretien).
Le réglage sélectionné apparaît sous la forme d'un X sur le graphique à barres de la vitesse de déplacement, ainsi que les réglages du régulateur de vitesse et de la butée de pédale. Un X dans une barre indique que la vitesse maximale est limitée par le superviseur (Figure 31).
Note: Ce réglage est mis en mémoire et appliqué à la vitesse de déplacement jusqu'à ce que vous le changiez.
Sous RéGLAGES MACHINE, naviguez jusqu'à l'option VITESSE DE TONTE.
Utilisez les boutons de navigation gauche et droit pour augmenter la vitesse de tonte maximale par paliers de 5 % sur l'écran principal et par paliers de 10 % dans le menu RéGLAGES MACHINE. La plage de valeurs de l'écran principal est de 10 à 100 % et celle des RéGLAGES MACHINE est 30 à 100%.
Le réglage sélectionné apparaît sous la forme d'un X sur le graphique à barres de la vitesse de déplacement, ainsi que les réglages du régulateur de vitesse et de la butée de pédale. Un X dans une barre indique que la vitesse maximale est limitée par le superviseur (Figure 31).
Note: Ce réglage est mis en mémoire et appliqué à la vitesse de déplacement jusqu'à ce que vous le changiez.
Sous RéGLAGES MACHINE, naviguez jusqu'à l'option VITESSE DE TRANSPORT .
Utilisez les boutons de navigation gauche et droit pour augmenter la vitesse de tonte maximale par paliers de 5 % sur l'écran principal et par paliers de 10 % dans le menu RéGLAGES MACHINE. La plage de valeurs de l'écran principal est de 10 à 100 % et celle des RéGLAGES MACHINE est 30 à 100%.
Sous RéGLAGES, naviguez jusqu'à l'option SMART POWER.
Appuyez sur le bouton de navigation droit pour alterner entre ACTIVé et DéSACTIVé.
Sous RéGLAGES MACHINE, naviguez jusqu'à l'option ÉQUILIBRAGE.
Appuyez sur le bouton de navigation droit pour sélectionner la compensation et alterner entre les réglages BAS, MOYEN et HAUT.
Sous RéGLAGES MACHINE, naviguez jusqu'à l'option ACCéLéRATION.
Appuyez sur le bouton de navigation droit pour alterner entre les réglages BAS, MOY. et HAUT.
Dans le menu RéGLAGES MACHINE, naviguez jusqu'à l'option MANÅ“UVRES.
Appuyez sur le bouton droit pour alterner entre ACTIVé et DéSACTIVé.
Note: Pour une utilisation pratique, vous pouvez décider d'exécuter une régénération en stationnement avant que le niveau de suie atteigne 100 %, à condition que le moteur ait tourné plus de 50 heures depuis la dernière régénération commandée, en stationnement ou d'urgence.
Utilisez le menu Technicien pour afficher l'état actuel de la commande de régénération du moteur et le niveau de suie actuel.
Sous RéGLAGES, naviguez jusqu'à l'option RéGéNéRATION PAF et appuyez sur le bouton de sélection.
Sous RéGéNéRATION PAF, naviguez jusqu'à l'option TECHNICIEN et appuyez sur le bouton de sélection.


Clignotement rouge – anomalie active
Rouge continu – avis actif
Bleu continu – étalonnage/messages de dialogue
Vert continu – fonctionnement normal
Cette machine affiche les vitesses de déplacement estimées sous forme d'un pourcentage.
La vitesse est affichée entre 10 et 100 % dans les écrans du régulateur de vitesse et de la butée de pédale virtuelle, et entre 30 et 100 % dans le menu RéGLAGES MACHINE.
Lorsque vous démarrez la machine par temps froid, le mode préchauffage limite le régime du moteur au ralenti pendant une courte durée après le démarrage, ce qui protège les composants contre d'éventuels dommages dus au fonctionnement de la machine avec de l'huile froid.
L'icône d'un flocon de neige
s'affiche sur l'InfoCenter
pour indiquer que le mode Préchauffage est activé. Attendez
la fin de la période de préchauffage pour utiliser la
machine.
Le propriétaire/l'utilisateur est responsable des accidents pouvant entraîner des dommages corporels ou matériels et peut les prévenir.
Portez une tenue adaptée, y compris une protection oculaire, un pantalon, des chaussures solides à semelle antidérapante et des protecteurs d'oreilles. Si vos cheveux sont longs, attachez-les et ne portez pas de vêtements amples ni de bijoux pendants.
N'utilisez pas la machine si vous êtes fatigué(e), malade ou sous l'emprise de l'alcool, de médicaments ou de drogues.
Accordez toute votre attention à l'utilisation de la machine. Ne faites rien d’autre qui puisse vous distraire, au risque de causer des dommages corporels ou matériels.
Avant de mettre le moteur en marche, assurez-vous que tous les embrayages sont au point mort, que le frein de stationnement est serré et que vous êtes au poste d'utilisation.
Ne transportez pas de passagers sur la machine et tenez tout le monde, y compris les enfants, à l'écart de la zone de travail.
N'utilisez la machine que si la visibilité est bonne pour éviter les trous ou autres dangers cachés.
Ne tondez pas l'herbe humide. La perte de motricité peut faire déraper la machine.
N'approchez jamais les mains ou les pieds des pièces rotatives. Ne vous tenez pas devant l'ouverture d'éjection.
Avant de faire marche arrière, vérifiez que la voie est libre juste derrière la machine et sur sa trajectoire.
Soyez prudent à l'approche de tournants sans visibilité, de buissons, d'arbres ou d'autres objets susceptibles de vous masquer la vue.
Arrêtez les lames quand vous ne tondez pas.
Arrêtez la machine, enlevez la clé et attendez l'arrêt complet de toutes les pièces mobiles avant d'examiner l'outil si vous heurtez un obstacle ou si la machine vibre de manière inhabituelle. Effectuez toutes les réparations nécessaires avant de réutiliser la machine.
Ralentissez et faites preuve de prudence quand vous changez de direction, ainsi que pour traverser des routes et des trottoirs avec la machine. Cédez toujours le passage.
Débrayez l'unité de coupe, coupez le moteur, enlevez la clé et attendez l'arrêt complet de tout mouvement avant de régler la hauteur de coupe (à moins de pouvoir le faire depuis le poste de conduite).
Ne faites tourner le moteur que dans des lieux bien aérés. Les gaz d'échappement contiennent du monoxyde de carbone, qui est mortel en cas d'inhalation.
Ne laissez jamais la machine en marche sans surveillance.
Avant de quitter la position d'utilisation, effectuez la procédure suivante :
Garez la machine sur une surface plane et horizontale.
Désengagez la prise de force et abaissez les outils.
Serrez le frein de stationnement.
Coupez le moteur et retirez la clé.
Attendez l'arrêt complet de tout mouvement.
Utilisez la machine uniquement quand la visibilité est bonne. N'utilisez pas la machine s'il y a risque d'orage.
N'utilisez pas la machine comme véhicule de remorquage.
Utilisez uniquement les accessoires, outils et pièces de rechange agréés par Toro.
Utilisez le régulateur de vitesse (selon l'équipement) uniquement sur les surfaces dégagées, planes et sans obstacles où la machine peut rouler à vitesse constante sans interruption.
Le système ROPS est un dispositif de sécurité intégré et efficace.
Ne retirez aucun des composants du système ROPS de la machine.
Vérifiez que la ceinture de sécurité est bien fixée sur la machine.
Tirez la sangle de la ceinture en travers de votre bassin et accrochez la boucle de l'autre côté du siège.
Pour détacher la ceinture de sécurité, tenez la sangle, appuyez sur le bouton de la boucle et guidez la ceinture dans l'ouverture de l'enrouleur automatique. Apprenez à détacher rapidement la ceinture de sécurité en cas d'urgence.
Vérifiez soigneusement où se trouvent les obstacles en hauteur et ne les touchez pas.
Maintenez le système ROPS en bon état en vérifiant minutieusement et régulièrement s'il est endommagé et en maintenant toutes les fixations bien serrées.
Remplacez les composants endommagés du système ROPS. Ne les réparez pas et ne les modifiez pas.
Une cabine montée par Toro constitue un arceau de sécurité.
Attachez toujours la ceinture de sécurité.
Maintenez l'arceau de sécurité relevé et bloqué dans cette position, et attachez la ceinture de sécurité quand vous conduisez la machine avec l'arceau de sécurité relevé.
N'abaissez l'arceau de sécurité que momentanément et seulement en cas d'absolue nécessité. N'attachez pas la ceinture de sécurité lorsque l'arceau de sécurité est abaissé.
N'oubliez pas que la protection antiretournement est inexistante lorsque l'arceau de sécurité est abaissé.
Examinez la zone de travail à l'avance et n'abaissez jamais l'arceau de sécurité repliable lorsque vous vous trouvez sur une pente, près de fortes dénivellations ou d'étendues d'eau.
Les pentes augmentent significativement les risques de perte de contrôle et de retournement de la machine pouvant entraîner des accidents graves, voire mortels. Vous êtes responsable de la sécurité d'utilisation de la machine sur les pentes. L'utilisation de la machine sur une pente, quelle qu'elle soit, demande une attention particulière.
Vous devez évaluer l'état du terrain, l'étudier et le baliser pour déterminer si la pente permet d'utiliser la machine sans risque. Faites toujours preuve de bon sens et de discernement quand vous réalisez cette étude.
Lisez les instructions ci-dessous relatives à l'utilisation de la machine sur les pentes et examinez votre environnement afin de déterminer si les conditions d'utilisation existantes et le site se prêtent à l'utilisation de la machine. Les variations de terrain peuvent modifier le fonctionnement de la machine sur les pentes.
Évitez de démarrer, de vous arrêter ou de tourner sur les pentes. Évitez de changer soudainement de vitesse ou de direction. Tournez lentement et graduellement.
N'utilisez pas la machine si l'adhérence, la direction ou la stabilité peuvent être compromises.
Enlevez ou balisez les obstacles tels que fossés, trous, ornières, bosses, rochers ou autres dangers cachés. L'herbe haute peut masquer les accidents du terrain. Les irrégularités du terrain peuvent provoquer le retournement de la machine.
Tenez compte du fait qu'une perte de l'adhérence peut se produire sur l'herbe humide, en travers des pentes ou dans les descentes. La perte d'adhérence des roues motrices peut faire patiner la machine et entraîner la perte du freinage et de la direction.
Faites preuve de la plus grande prudence lorsque vous utilisez la machine près de fortes dénivellations, de fossés, de berges, d'étendues d'eau ou autres dangers. La machine pourrait se retourner brusquement si une roue passe par-dessus une dénivellation quelconque et se retrouve dans le vide, ou si un bord s'effondre. Établissez une zone de sécurité entre la machine et tout danger potentiel.
Identifiez les dangers potentiels depuis le bas de la pente. Si vous constatez la présence de dangers, tondez la pente avec une machine à conducteur marchant.
Dans la mesure du possible, gardez la ou les unités de coupe abaissées au sol quand vous utilisez la machine sur des pentes. La machine peut devenir instable si vous levez la ou les unités de coupe pendant son déplacement sur une pente.
Redoublez de prudence quand la machine est équipée de systèmes de ramassage ou d'autres outils. Ils peuvent modifier la stabilité et entraîner la perte du contrôle de la machine.
Cette machine est dotée d'un accélérateur de type automobile qui est commandé par la pédale de déplacement.
Elle n'a pas de commande ou de levier d'accélérateur séparé(e).
Lorsque vous enlevez le pied de la pédale de déplacement, la machine freine dynamiquement jusqu'à l'arrêt.
Les pédales sont optimisées pour offrir une bonne réactivité associée à une bonne stabilité. Cela permet de conserver une bonne maîtrise de la machine sur les terrains irréguliers, tout en permettant un freinage rapide et progressif.
Pendant le transport, la pédale de déplacement fonctionne comme celle d'une voiture et change le régime moteur et la vitesse de déplacement selon sa position.
Pendant la tonte, le régime moteur monte automatiquement au ralenti accéléré.
Si le moteur tourne au ralenti, l'exécution d'une fonction telle que lever les unités de coupe ou enfoncer la pédale de déplacement a pour effet de faire monter le régime à un régime de travail minimum, ce qui fournit une puissance suffisante pour exécuter efficacement la fonction en question.
Limitez le temps de ralenti de la machine comme recommandé pour la régénération du filtre à particules diesel (FAP). Coupez le moteur de la machine pour éviter son fonctionnement prolongé au ralenti.
Les vitesses maximales programmées dans les réglages du menu protégé par code PIN sont définies par le superviseur pour limiter la vitesse de déplacement maximale de la machine.
L'utilisation possible de la pédale de déplacement, le régulateur de vitesse et les vitesses de déplacement déterminées par la butée de pédale sont tous limités par les vitesses maximales programmées dans le menu protégé par code PIN.
Quand vous démarrez le moteur et que la température du liquide hydraulique est basse, le régime moteur augmente automatiquement pour optimiser le fonctionnement et chauffer la machine. Le régime moteur retourne automatiquement au ralenti lorsque la température du liquide hydraulique est dans la plage de fonctionnement normale.
Dans des conditions de fonctionnement normales, cette machine devrait fonctionner en plaçant le sélecteur de gamme à la position H/L AUTO (Figure 29). Cette position permet à la machine d'alterner automatiquement entre les gammes haute et basse, selon qu'elle est utilisée pour la tonte ou le transport.
Lorsque vous sélectionnez la position GAMME BASSE (Figure 29), la machine fonctionnera toujours en mode gamme basse. Ce réglage est à privilégier lorsque vous utilisez la machine dans un atelier, que vous la chargez ou la déchargez d'une remorque, quand vous gravissez des pentes raides ou pour toute autre opération qui ne nécessite pas une vitesse de déplacement élevée.
Si vous rencontrez un obstacle, déportez des unités de coupe pour tondre autour.
Lorsque vous transportez la machine d'un lieu de travail à un autre, engagez le mode AUTO HI/LOW, désengagez la PDF et levez les unités de coupe à la position la plus haute. La pédale de déplacement fonctionne alors comme sur une voiture.
Conduisez toujours à vitesse réduite sur les terrains accidentés.
Entraînez-vous à utiliser la machine pour vous familiariser avec ses différentes fonctions.
Levez les unités de coupe, desserrez le frein de stationnement, appuyez sur la pédale de déplacement en marche avant et rendez-vous avec prudence jusqu'à un endroit dégagé.
Entraînez-vous à conduire la machine, car elle est équipée d'une transmission hydrostatique et ses fonctions peuvent différer de celles d'autres machines d'entretien des pelouses.
Entraînez-vous à conduire en marche avant et en marche arrière, ainsi qu'à démarrer et à arrêter la machine. Pour immobiliser la machine, enlevez le pied de la pédale de déplacement et laissez-la revenir en position NEUTRE.
Note: Dans les descentes, vous aurez peut-être besoin de vous servir de la pédale de marche arrière pour arrêter la machine.
Pour arrêter la machine rapidement, enlevez le pied de la pédale de déplacement et appuyez sur la pédale de frein.
Entraînez-vous à contourner des obstacles avec les unités de coupe levées et abaissées. Lorsque vous devez passer entre des obstacles rapprochés, prenez garde de ne pas endommager la machine ou les unités de coupe.
Cette machine possède 2 gammes de vitesse de déplacement : la gamme basse et la gamme haute. Le sélecteur de gamme permet de sélectionner les positions suivantes (Figure 29) :
Gamme H/L Auto :
Sélectionnez la position H/L AUTO pour que la machine passe automatiquement en gamme haute ou basse. La position H/L AUTO est similaire à la position D (marche avant) d'une voiture à boîte de vitesses automatique.
Note: Pour éviter d'endommager le gazon, la machine ne peut alterner entre les gammes haute et basse que lorsque la pédale de déplacement est à la position NEUTRE et les roues ont cessé de tourner.
Note: Les unités de coupe ne peuvent pas être abaissées de la position de transport lorsque la gamme haute est sélectionnée.
Lorsque la position H/L AUTO est sélectionnée et que les unités de coupe sont abaissées pour tondre, la gamme est limitée à la gamme basse.
Pour passer à la gamme haute, sélectionnez la position H/L AUTO avec le sélecteur, désengagez la PDF et levez complètement les unités de coupe.
Lorsque la position H/L AUTO est sélectionnée, la machine passe automatiquement en gamme haute ou basse selon la position des unités de coupe et/ou la position de la commande de PDF.
Gamme basse :
La position GAMME BASSE du sélecteur maintient la machine en gamme basse de façon permanente. La position GAMME BASSE est similaire à la position 2, 1 OU L d'une voiture à boîte de vitesses automatique.
Lorsque la position GAMME BASSE est sélectionnée, la machine fonctionne uniquement en gamme basse.
Choisissez la position GAMME BASSE quand vous chargez la machine sur une remorque ou que vous évoluez dans des espaces étroits, dans un atelier par exemple.

Cette pédale commande la vitesse en marche avant et en marche arrière de la machine, ainsi que le freinage dynamique quand vous la ramenez en position neutre.
La pédale de déplacement est un accélérateur de type automobile, c'est-à-dire que le régime moteur et la vitesse de déplacement répondent au mouvement de la pédale.
Pendant le transport, la pédale de déplacement fonctionne comme celle d'une voiture et change le régime moteur et la vitesse de déplacement selon sa position.
Pendant la tonte, le moteur monte automatiquement au ralenti accéléré pour optimiser les performances de tonte, et la pédale de déplacement commande uniquement la vitesse de déplacement.
Plus vous enfoncez la pédale en marche avant ou arrière, plus la machine roule vite.
Pour arrêter la machine en douceur pendant son déplacement ou pendant la tonte, ramenez la pédale de déplacement en position neutre avec le pied, à la vitesse qui vous convient.
Pour un freinage maximum, enlevez le pied de la pédale de déplacement et laissez-la revenir à la position neutre. La machine freine de manière dynamique jusqu'à l'arrêt.
Ce système de déplacement permet de personnaliser les réglages d'accélération pour son confort et en fonction de l'état du gazon. Voir Comprendre le mode d'accélération pour changer les réglages.

La fonction butée de pédale virtuelle (VPS) permet de régler les limites de vitesse de déplacement maximales temporaires à la fois pour le mode tonte et le mode transport.
Pour accéder à cette fonction, sélectionnez le bouton de navigation vers le haut ou le bas dans le menu principal (Figure 31).
Utilisez la fonction VPS pour régler la vitesse de déplacement maximale en fonction de votre niveau de confort ou de l'application.
Vous ne pouvez pas régler la limite de vitesse VPS à une valeur supérieure à la vitesse de déplacement maximale protégée par le superviseur.
Le réglage VPS est temporaire. Avec cette fonction, les réglages de vitesse du superviseur sont rétablis quand vous tournez la clé à la position ARRêT.
Lorsque le superviseur change la vitesse de déplacement dans les réglages du menu protégé ou lorsque vous la changez avec la fonction VPS, le pédale de déplacement se reprogramme automatiquement pour utiliser toute sa course entre la position neutre et la nouvelle vitesse maximale programmée.
La réduction des réglages de la vitesse de déplacement maximale, vous permet de bénéficier d'un contrôle précis du système de déplacement.

Pendant que la fonction VPS est active, réduisez temporairement la vitesse maximale pour les tâches suivantes :
Tonte du passage de nettoyage sur le fairway.
Utilisation dans ou près de l'atelier d'entretien.
Chargement de la machine sur une remorque.
Note: Une vitesse maximale réduite permet de mieux contrôler la machine pendant l'exécution de ces tâches.
Important: Pour un freinage d'urgence, ôtez le pied de la pédale de déplacement et enfoncez les pédales de frein.
En mode gamme basse seulement, vous pouvez utiliser les freins individuellement pour tourner ou améliorer la motricité. Procédez comme suit quand vous utilisez les freins individuellement :
Déconnectez le verrou de blocage des pédales (Figure 32).
Pour l'assistance en virage, appuyez sur la pédale de frein correspondant au côté où vous allez tourner. Cela raccourcit le rayon de braquage.
Note: Utilisez les freins individuels avec prudence, particulièrement si l'herbe est tendre ou humide, car elle pourrait être arrachée accidentellement.
Pour l'assistance en déplacement, enfoncez légèrement la pédale de frein correspondant à la roue avant qui patine. Par exemple, il peut arriver que la roue en amont patine et perde de son pouvoir de traction. Dans ce cas, appuyez progressivement et par intermittence sur la pédale de frein d'amont, jusqu'à ce que la roue correspondante arrête de patiner, ce qui a pour effet d'augmenter la traction sur la roue en aval.

La commande du régulateur de vitesse bloque le régulateur de vitesse pour maintenir la vitesse de déplacement voulue. Appuyez sur l'arrière de la commande pour désactiver le régulateur de vitesse. Placez la commande à la position centrale pour activer le régulateur de vitesse et appuyez sur l'avant pour régler la vitesse de déplacement voulue.
Après avoir activé la commande du régulateur de vitesse et programmé la vitesse (Figure 33), utilisez l'InfoCenter pour régler la vitesse du régulateur de vitesse (Figure 6 et Figure 34).
Pour désengager le régulateur de vitesse, procédez comme suit :
En gamme haute, enfoncez la pédale de marche arrière, enfoncez la pédale des freins de service ou placez la commande du régulateur de vitesse à la position DéSACTIVéE.
En gamme basse, enfoncez la pédale de marche arrière, enfoncez la pédale des freins de service, désengagez la PDF ou placez la commande du régulateur de vitesse à la position DéSACTIVéE.

Programmez une vitesse de croisière pour de longues distances sans trop d'obstacles.
Sur les terrains accidentés, utilisez l'InfoCenter pour contrôler la vitesse.
Utilisez le régulateur de vitesse pour effectuer des manÅ“uvres comme suit :
Réglez le régulateur de vitesse sur une vitesse plus basse, à laquelle vous vous sentez à l'aise et en sécurité quand vous manÅ“uvrez la machine.
Enfoncez la pédale de déplacement pour accélérer pendant que vous tondez.
Relâchez la pédale pour faire tourner la machine en prévision de la nouvelle passe de tonte.
La machine va ralentir à la vitesse réduite programmée sur le régulateur de vitesse, vous permettant ainsi d'effectuer vos manÅ“uvres efficacement à une vitesse constante.
Après avoir tourné, enfoncez la pédale de déplacement pour faire accélérer la machine afin d'effectuer la nouvelle passe de tonte.
Ce réglage détermine avec quelle rapidité la machine change de vitesse de déplacement et exécute la décélération de la machine en gamme basse. Accédez aux menus protégés dans l'InfoCenter pour changer le mode d'accélération. Le mode d'accélération comporte les 3 positions suivantes :
Bas – faibles accélération et décélération
Moyen – accélération et décélération moyennes
Haut – accélération et décélération élevées
Le mode ManÅ“uvres permet, d'une simple pression, de lever les unités au-dessus du gazon tout en arrêtant momentanément les lames. Ce moyen pratique vous permet de vous concentrer sur les manÅ“uvres de la machine en fin de passe ou quand vous négociez des obstacles.
Note: Le mode ManÅ“uvre est une des fonctions dans les réglages protégés.
Quand vous ACTIVEZ le mode ManÅ“uvres, une brève pression sur l'arrière de la commande de levage (Figure 11) élève automatiquement toutes les unités de coupe de la position de flottement à une hauteur prédéfinie, ce qui a pour effet de désengager automatiquement la PDF. Pour reprendre la tonte, appuyez sur l'avant de la commande de levage. Toutes les unités de coupe s'abaissent et la PDF est réengagée.
Quand vous DéSACTIVEZ le mode ManÅ“uvres, vous pouvez lever manuellement les unités de coupe depuis la position de flottement en maintenant la pression sur l'arrière de toutes les commandes de levage jusqu'à ce que les unités atteignent la hauteur souhaitée. Pour les Groundsmaster 4700, appuyez sur les 3 commandes pour élever les 7 unités de coupe (Figure 11). La PDF ne se désengage que lorsque les unités sont levées à la même hauteur prédéfinie que lorsque le mode ManÅ“uvres est ACTIVé.
Note: Le mode ManÅ“uvres est ACTIVé par défaut.
Le système de compensation maintient la contrepression hydraulique sur les vérins de levage des unités de coupe. Le système de compensation surveille la pression de déplacement en temps réel, et modifie la contrepression des vérins de levage de manière dynamique afin d'optimiser la capacité de traction et la finition. La pression de compensation est réglée en usine pour assurer un équilibre optimal entre la finition et la motricité dans la plupart des cas. La réduction du réglage de la compensation peut augmenter la stabilité de l'unité de coupe mais réduire la motricité. L'augmentation du réglage de la compensation peut accroître la motricité mais compromettre la qualité de la finition ; voir Réglage de la compensation.
Les commandes de réglage de contrepression peuvent être personnalisées et offrent les réglages suivants :
Bas – plus de poids sur les unités de coupe et moins de poids sur les roues motrices
Moyen –poids moyen sur les unités de coupe et les roues motrices
Haut – moins de poids sur les unités de coupe et plus de poids sur les roues motrices
Grâce à la fonction Smart Power, vous n'avez plus besoin d'écouter le régime moteur lorsque les conditions sont difficiles. L'option Smart Power empêche la machine de s'enliser quand les conditions de coupe sont difficiles en régulant automatiquement la vitesse de la machine et en optimisant les performances de coupe.
Note: La fonction Smart Power est ACTIVéE par défaut.
Important: Purgez le système d'alimentation dans les cas suivants :
Après un arrêt du moteur dû à une panne de carburant.
Après l'entretien des composants du circuit d'alimentation.
Enlevez le pied de la pédale de déplacement et vérifiez qu'elle revient à la position NEUTRE. Vérifiez que le frein de stationnement est serré.
Tournez la clé en position CONTACT. Le témoin de préchauffage doit s'allumer.
Quand le témoin s'éteint, tournez la clé en position DéMARRAGE.
Important: Pour éviter de provoquer la défaillance prématurée du démarreur, ne l'actionnez pas plus de 15 secondes de suite. Si le moteur refuse de démarrer après 15 secondes, tournez la clé en position ARRêT, vérifiez les commandes et les procédures, attendez encore 15 secondes et répétez la procédure de démarrage.
Relâchez la clé dès que le moteur démarre et laissez-la revenir en position CONTACT.
Si la température est inférieure à -7 °C, vous pouvez faire 2 autres tentatives espacées de 60 secondes en actionnant le démarreur pendant 30 secondes.
Important: Coupez le moteur et laissez-le refroidir avant de rechercher des fuites d'huile, des pièces desserrées ou autres anomalies.
Important: Laissez tourner le moteur au ralenti pendant 5 minutes avant de l'arrêter s'il vient de fonctionner à pleine charge. Cela permet au turbocompresseur de refroidir avant l'arrêt du moteur. Vous éviterez ainsi une panne prématurée du turbocompresseur.
Note: Abaissez les plateaux de coupe au sol chaque fois que la machine est en stationnement. Cela soulage le système de la charge hydraulique, prévient l'usure des pièces du système et évite l'abaissement accidentel des unités de coupe.
Placez la commande de PDF en position DéSENGAGéE.
Serrez le frein de stationnement.
Tournez la clé de contact à la position ARRêT.
Retirez la clé de contact pour éviter tout démarrage accidentel.
Note: Tondre l'herbe à un régime permettant la charge du moteur favorise la régénération du filtre à particules diesel (FAP).
Desserrez le frein, désengagez la PDF et levez les unités de coupe.
Sélectionnez la position H/L AUTO ou GAMME BASSE avec le sélecteur de gamme. Voir Utilisation du sélecteur de gamme haute et basse.
Note: Lorsque la position H/L AUTO est sélectionnée et que les unités de coupe sont levées, la machine passe automatiquement en mode gamme haute.
En vous servant de la pédale de déplacement comme de la pédale d'accélérateur d'une voiture, conduisez la machine jusqu'au lieu de travail.
Amenez la machine à l'extérieur de la zone à tondre pour effectuer la première passe.
Abaissez les unités de coupe au moyen de l'interrupteur à bascule ou des commandes.
Appuyez sur le bas de la commande de levage (GM4500) ou de la commande de levage centrale (GM4700) pour lever les unités de coupe en position de manÅ“uvres.
Note: La position de manÅ“uvres est seulement disponible si elle est activée dans les menus protégés de l'InfoCenter. Une légère pression sur l'interrupteur à bascule élève les unités de coupe en position de manÅ“uvre et arrête la rotation des lames jusqu'à ce que les unités soient abaissées.
Tirez sur la commande de PDF pour embrayer les unités de coupe.
Note: Le régime moteur monte automatiquement au ralenti accéléré lorsque vous abaissez les unités de coupe et activez la commande de PDF.
En vous servant de la pédale de déplacement, rendez-vous lentement jusqu'à la zone de tonte et actionnez l'interrupteur à bascule pour abaisser les unités de coupe une fois qu'elles sont au-dessus de la zone de tonte.
Note: Entraînez-vous pour éviter que les unités de coupe s'abaissent trop tôt ou ne tondent une surface qui ne doit pas l'être.
Commencez à tondre.
Une fois au bout de la passe de tonte, appuyez sur le bas de la commande de levage (GM4500) ou de la commande de levage centrale (GM4700) pour lever les unités de coupe en position de manÅ“uvres.
Exécutez un demi-tour en « goutte d'eau » pour aligner rapidement la machine pour la passe suivante.
Appuyez sur la commande de levage (GM4500) ou la commande de levage centrale (GM4700) pour abaisser les unités de coupe en position de manÅ“uvres et continuer de tondre.
Le filtre à particules diesel (FAP) élimine la suie dans les gaz d'échappement
Le processus de régénération du FAP utilise la chaleur des gaz d'échappement du moteur qui est accrue par le catalyseur pour réduire la quantité de suie produite en cendre.
Pour maintenir le FAP propre, vous devez :
Faire tourner le moteur à plein régime lorsque cela est possible afin de favoriser le nettoyage automatique du FAP.
Utiliser l'huile moteur correcte.
Minimiser la durée de fonctionnement du moteur au ralenti.
Utilisez du gazole à très faible teneur en soufre.
Utilisez et faites l'entretien de votre machine en gardant à l'esprit le rôle du FAP. Le moteur soumis à une charge produit généralement une température des gaz d'échappement adéquate pour la régénération du FAP.
Important: Minimisez la durée de fonctionnement du moteur au ralenti pour aider à réduire l'accumulation de suie dans le FAP.
La température des gaz d'échappement est élevée (approximativement 600 °C pendant la régénération du FAP. Les gaz d'échappement chauds peuvent vous brûler ou brûler d'autres personnes.
Ne faites pas tourner le moteur dans un local fermé.
Assurez-vous qu'aucun matériau inflammable ne se trouve à proximité du système d'échappement.
Assurez-vous que les gaz d'échappement chauds ne sont pas en contact avec des surfaces qui pourraient être endommagées par la chaleur.
Ne touchez pas les composants du système d'échappement quand il est chaud.
Ne vous tenez pas tout près du tuyau d'échappement de la machine.
| Icône | Définition |
![]() | • Icône de régénération en stationnement ou d'urgence – régénération nécessaire. |
| • Effectuer immédiatement la régénération. | |
![]() | • Une régénération est confirmée et la demande est en cours de traitement. |
![]() | • Une régénération est en cours et la température des gaz d'échappement est élevée. |
![]() | • Défaillance du système de détection de NOx ; un entretien de la machine est nécessaire. |
| Type de régénération | Conditions de régénération du FAP | Description du fonctionnement du FAP |
|---|---|---|
| Passive | Se produit pendant le fonctionnement normal de la machine à haut régime moteur ou haute charge du moteur. | • L'InfoCenter n'affiche pas d'icône pour indiquer la régénération passive. |
| • Durant la régénération passive, le FAP traite les gaz d'échappement à haute température, en oxydant les émissions nocives et en brûlant la suie en cendre. | ||
| Assistée | Se produit car le régime moteur est bas, la charge du moteur est basse ou parce que le calculateur a détecté que le FAP est colmaté par de la suie. | • L'InfoCenter n'affiche pas d'icône pour indiquer la régénération assistée. |
| • Durant la régénération assistée, le calculateur moteur ajuste les réglages du moteur pour augmenter la température d'échappement. | ||
| Commandée | Se produit toutes les 100 heures | • Quand l'icône de haute température
des gaz d'échappement est affiché dans l'InfoCenter, une
régénération est en cours. |
| Se produit également si le fonctionnement normal du moteur excède l'accumulation de suie autorisée dans le filtre. | ||
| • Pendant la régénération commandée, le calculateur moteur maintient un régime moteur élevé pour assurer la régénération du filtre. |
| Type de régénération | Conditions de régénération du FAP | Description du fonctionnement du FAP |
|---|---|---|
| En stationnement | Se produit parce que le calculateur détermine que le nettoyage automatique du FAP a été insuffisant. | • Quand l'icône de
régénération commandée-de secours/en stationnement
ou d'urgence s'affiche, une régénération
est demandée. |
| Se produit également quand vous lancez une une régénération en stationnement. | ||
| Peut se produire lorsque l'interdiction de régénération a été déclenchée et a désactivé le nettoyage automatique du FAP. | • Effectuez une régénération en stationnement aussitôt que possible pour ne pas avoir à effectuer une régénération d'urgence. | |
| Peut se produire si vous avez utilisé le mauvais type de carburant ou d'huile moteur. | • L'exécution d'une régénération en stationnement demande 30 à 60 minutes. | |
| • Le réservoir de carburant doit être au moins au quart plein. | ||
| • Vous devez garer la machine pour effectuer une régénération en stationnement. | ||
| D'urgence | Se produit lorsque vous avez ignoré une demande de régénération en stationnement, ce qui a entraîné un grave colmatage du FAP. | • Quand l'icône de régénération
commandée-de secours/en stationnement ou d'urgence s'affiche, une régénération
d'urgence est demandée. |
| • L'exécution d'une régénération d'urgence peut demander jusqu'à 3 heures. | ||
| • Le réservoir de carburant doit être au moins à moitié plein. | ||
| • Vous devez garer la machine pour effectuer la régénération d'urgence. |
Dans le MENU PRINCIPAL, naviguez jusqu'à l'option ENTRETIEN et appuyez sur le bouton de sélection.
Dans le menu ENTRETIEN, naviguez jusqu'à l'option DPF REGENERATION et appuyez sur le bouton de sélection.
Sélectionnez la fonction de régénération qui vous intéresse.

Ouvrez le menu DPF REGENERATION (régénération du FAP) et naviguez jusqu'à l'option LAST REGEN (dernière régénération).
Sélectionnez le champ LAST REGEN (dernière régénération).
Dans le champ LAST REGEN, entrez le nombre d'heures de fonctionnement du moteur depuis la dernière régénération commandée, en stationnement ou d'urgence.
Sélectionnez le bouton de retour en arrière pour revenir à l'écran DPF REGENERATION.

Une régénération commandée augmente la température des gaz d'échappement. Si vous travaillez près d'arbres, de broussailles, d'herbe haute ou autres plantes ou matériaux sensibles aux changements de température, vous pouvez utiliser l'option INHIBIT REGEN (interdiction de régénération) pour empêcher le calculateur moteur d'exécuter une régénération commandée.
Note: L'option INHIBIT REGEN est toujours utilisée si vous effectuez l'entretien de la machine dans un local fermé.
Note: Si vous programmez l'InfoCenter pour interdire la régénération, il affiche un avis toutes les 15 minutes tandis que le moteur demande une régénération commandée.
Important: Quand vous coupez puis redémarrez le moteur, l'option Inhibit Regen passe par défaut à OFF (désactivée).
Ouvrez le menu DPF REGENERATION (régénération du FAP) et naviguez jusqu'à l'option INHIBIT REGEN (interdiction de régénération).
Sélectionnez le champ INHIBIT REGEN (interdiction de régénération).
Changez le champ Inhibit Regen de OFF (désactivé) à ON (activé).
Assurez-que le réservoir de carburant de la machine contient suffisamment de carburant pour le type de régénération que vous allez effectuer :
Régénération en stationnement : vérifiez que le réservoir de carburant est au quart plein avant de procéder à la régénération en stationnement.
Régénération d'urgence : vérifiez que le réservoir de carburant est à moitié plein avant de procéder à la régénération d'urgence.
Conduisez la machine à l'extérieur à bonne distance des matériaux ou objets combustibles qui pourraient être endommagés par la chaleur.
Garez la machine sur une surface plane et horizontale, placez toutes les commandes en position POINT MORT, désengagez la PDF et abaissez les unités de coupe.
Serrez le frein de stationnement et attendez que le moteur atteigne le régime de ralenti.
Quand le calculateur moteur demande une régénération en stationnement, les indications des messages affichés sur l'InfoCenter.
Important: L'ordinateur de la machine annule la régénération du FAP si vous augmentez le régime moteur à partir du ralenti ou si vous desserrez le frein de stationnement.
Ouvrez le menu DPF REGENERATION et naviguez jusqu'à l'option PARKED REGEN (régénération en stationnement) ou RECOVERY REGEN (régénération d'urgence).
Sélectionnez l'option PARKED REGEN ou RECOVERY REGEN.
Note: Pour pouvoir lancer une régénération d'urgence, vous devez saisir le code PIN correct.
Sur l'écran REGEN PARAMETERS (paramètres de régén.), assurez-vous que le réservoir est au quart plein pour une régénération en stationnement ou à moitié plein pour une régénération d'urgence. Vérifiez que le frein de stationnement est serré et que le moteur tourne au ralenti. Appuyez sur le bouton de sélection pour continuer.
Sur l'écran INITIATE DPF REGEN (lancer régén. du FAP), sélectionnez le bouton Suivant pour continuer.
L'InfoCenter affiche le message INITIATE DPF REGEN (lancer régén. du FAP).
Note: Si nécessaire, appuyez sur l'icône d'annulation pour annuler le processus de régénération.
L'InfoCenter affiche un message indiquant la durée de la régénération.
L'InfoCenter affiche l'écran d'accueil
et l'icône de confirmation de régénération
s'affiche
.
Note: Pendant l'exécution de la régénération
du FAP, l'InfoCenter affiche l'icône de haute température
des gaz d'échappement
.
Quand le calculateur moteur achève une régénération en stationnement ou d'urgence, un avis s'affiche sur l'InfoCenter. Appuyez sur un bouton pour retourner à l'écran d'accueil.
Note: Si la régénération échoue, suivez l'avis affiché et appuyez sur n'importe quel bouton pour retourner à l'écran d'accueil.
Utilisez l'option PARKED REGEN CANCEL (annulation de régén. en stationnement) ou RECOVERY REGEN CANCEL (annulation de régén. d'urgence) pour annuler une régénération en stationnement ou d'urgence en cours d'exécution.
Ouvrez le menu DPF REGENERATION et naviguez jusqu'à l'option PARKED REGEN (régénération en stationnement) ou RECOVERY REGEN (régénération d'urgence).
Appuyez sur le bouton de sélection pour annuler une régénération en stationnement ou d'urgence.

Le ventilateur de refroidissement du moteur est normalement commandé par la machine. La machine peut faire tourner le ventilateur en sens inverse pour enlever les débris accumulés sur la grille arrière. Dans des conditions normales de fonctionnement, la machine commande la vitesse et le sens de rotation du ventilateur en fonction de la température du liquide de refroidissement et du liquide hydraulique. Le sens de rotation du ventilateur est automatiquement inversé pour souffler les débris accumulés sur la grille arrière.
Vous pouvez inverser manuellement le sens de rotation du ventilateur en appuyant sur les 2 boutons extérieurs ou les 2 boutons intérieurs gauche et droit de l'InfoCenter (Figure 38) pendant 2 secondes ; le ventilateur exécute alors un cycle en sens inverse déclenché manuellement. Inversez le sens de rotation du ventilateur quand la grille arrière est colmatée ou avant d'amener la machine à l'atelier ou le local de remisage.

Changez la direction de tonte pour minimiser les problèmes de finition causés en tondant toujours dans la même direction.
Reportez-vous au Guide de dépannage des problèmes de finition disponible sur www.Toro.com.
Pour commencer à travailler, engagez les unités de coupe, puis approchez-vous lentement de la zone de travail. Lorsque les unités de coupe avant se trouvent au-dessus de la zone de travail, abaissez-les.
Pour obtenir la coupe professionnelle avec des bandes droites apparentes recherchées pour certaines applications, choisissez un arbre ou autre objet éloigné et dirigez-vous droit dessus.
Dès que les unités de coupe avant arrivent au bout de la zone de travail, levez-les et exécutez un demi-tour en « goutte d'eau » pour aligner rapidement la machine pour la passe suivante.
Des déflecteurs à boulonner en place sont disponibles pour les unités de coupe. Les déflecteurs de mulching sont utiles quand vous tondez le gazon régulièrement afin de n'avoir pas à couper plus de 25 mm d'herbe à chaque fois. Si vous tondez lorsque l'herbe est trop haute et que les déflecteurs de mulching sont en place, l'aspect du gazon une fois coupé peut se détériorer et la puissance nécessaire la tonte augmente. Les déflecteurs sont aussi utiles pour déchiqueter les feuilles à l'automne.
Ne coupez pas plus de 25 mm environ ou un tiers de la hauteur de l'herbe. Si l'herbe est extrêmement drue et fournie, il peut être préférable d'augmenter la hauteur de coupe.
Au contraire d'une lame émoussée, une lame bien aiguisée assure une coupe nette, sans arracher l'herbe ni la déchiqueter. L'herbe arrachée ou déchiquetée brunit sur les bords, sa croissance ralentit et elle devient plus sensible aux maladies. Vérifiez que la lame est en bon état et que l'ailette est intacte ; voir Entretien du plan de la lame.
Vérifiez que les chambres de coupe sont en bon état. Redressez les pièces faussées des chambres pour obtenir le jeu correct entre la pointe de la lame et la chambre. Vérifiez qu'aucun des rouleaux ou joints pivotants ne présente de jeu pour éviter d'endommager le gazon ou de compromettre la qualité de la finition.
Après la tonte, lavez soigneusement la machine au jet d'eau sans buse pour éviter qu'une pression d'eau excessive ne contamine et n'endommage les joints et les roulements. Enlevez soigneusement la terre et les débris d'herbe accumulés sur le radiateur et le refroidisseur d'huile. Après le nettoyage, vérifiez que la machine ne présente pas de fuites d'huile hydraulique, de dommages ou d'usure des composants hydrauliques et mécaniques, et vérifiez également l'affûtage des lames des unités de coupe.
Avant de quitter la position d'utilisation, coupez le moteur, enlevez la clé et attendez l'arrêt complet de tout mouvement. Laissez refroidir la machine avant de la régler, d'en faire l'entretien, de la nettoyer ou de la remiser.
Pour éviter les risques d'incendie, enlevez les débris d'herbe coupée et autres agglomérés sur les unités de coupe, les dispositifs d'entraînement, les silencieux, les grilles de refroidissement et le compartiment moteur. Nettoyez les coulées éventuelles d'huile ou de carburant.
Si les unités de coupe sont en position de transport, utilisez le système de blocage mécanique positif (le cas échéant) avant de laisser la machine sans surveillance.
Laissez refroidir le moteur avant de ranger la machine dans un local fermé.
Enlevez la clé et fermez l'arrivée de carburant (selon l'équipement) avant de remiser ou de transporter la machine.
Ne remisez jamais la machine ou les bidons de carburant à proximité d'une flamme nue, d'une source d'étincelles ou d'une veilleuse, telle celle d'un chauffe-eau ou d'autres appareils.
Révisez et nettoyez la ou les ceintures de sécurité au besoin.
Le cordon de rangement empêche les unités de coupe extérieures avant de s'affaisser quand la machine est garée pendant la nuit ou pendant un remisage de longue durée. Ils empêchent également les unités de coupe de s'affaisser pendant le transport de la machine d'un lieu à un autre.

Assurez-vous que la PDF est désengagée.
Garez la machine sur une surface plane et horizontale.
Serrez le frein de stationnement.
Levez complètement les unités de coupe.
Placez le cordon devant l'arbre porteur du bras de levage de l'unité de coupe extérieure avant (Figure 40).

Enfilez la boucle du cordon sur l'arbre porteur et engagez-le complètement dans la gorge de l'arbre (Figure 40).
Répétez les opérations 5 et 6 pour l'unité de coupe extérieure avant de l'autre côté de la machine.
Important: Retirez les cordons des arbres porteurs avant d'abaisser les unités de coupe.
Note: Rangez les cordons quand vous ne les utilisez pas.
Assurez-vous que la PDF est désengagée.
Garez la machine sur une surface plane et horizontale.
Serrez le frein de stationnement.
Les unités de coupe étant abaissées, enfilez la boucle du cordon dans la fente de la plaque de renfort du support de rouleau (Figure 41).

Utilisez les 2 verrous de transport arrière pour les unités de coupe nº 6 et 7 (Figure 15) lorsque vous déplacez la machine sur de longues distances ou sur un terrain accidenté, ou encore quand vous transportez ou remisez la machine.

Enlevez la clé et fermez l'arrivée de carburant (selon l'équipement) avant de remiser ou de transporter la machine.
Procédez avec prudence pour charger la machine sur une remorque ou un camion, ainsi que pour la décharger.
Utilisez des rampes d'une seule pièce pour charger la machine sur une remorque ou un camion.
Arrimez solidement la machine.
En cas d'urgence, vous pouvez pousser ou remorquer la machine en activant la fonction de dérivation de la pompe hydraulique à cylindrée variable et en poussant ou en remorquant la machine.
Important: Ne poussez pas et ne remorquez pas la machine à plus de 3 à 4,8 km/h, au risque d'endommager les organes internes de la transmission.Les clapets de décharge doivent être ouverts chaque fois que vous poussez ou remorquez la machine.
Ouvrez le capot et localisez les clapets de décharge (Figure 43) au sommet de la pompe, derrière la batterie/les bacs de rangements.
Tournez chaque vanne de 3 tours dans le sens antihoraire pour l'ouvrir et dériver l'huile à l'intérieur de la transmission.
Note: N'ouvrez pas les vannes de plus de 3 tours.Vous pouvez alors déplacer la machine lentement sans endommager la transmission.


Poussez ou remorquez la machine en marche avant.
Important: Si vous devez pousser ou remorquer la machine en marche arrière, voir le kit de remorquage en marche arrière (réf. 136-3620).
Après avoir poussé ou remorqué la machine, refermez les clapets de décharge. Serrez la vanne à 70 N·m.
Note: Utilisez uniquement des sangles homologuées DOT aux quatre coins pour arrimer la machine.
De chaque côté du cadre, près de la plateforme de l'utilisateur
Sur le pare-chocs arrière


Note: Les côtés gauche et droit de la machine sont déterminés d'après la position d'utilisation normale.
Important: Reportez-vous au manuel du propriétaire du moteur pour toutes procédures d'entretien supplémentaires.
Important: Si vous effectuez l'entretien de la machine et que le moteur tourne avec un conduit d'extraction d'échappement, réglez l'interdiction de régénération à ON (activée) ; voir Réglage de l'interdiction de régénération.
Note: Vous pouvez télécharger un exemplaire gratuit des schémas électriques ou hydrauliques en vous rendant sur www.Toro.com et en recherchant votre machine sous le lien Manuels sur la page d'accueil.
Avant de quitter la position d'utilisation, effectuez la procédure suivante :
Garez la machine sur une surface plane et horizontale.
Désengagez la prise de force et abaissez les outils.
Serrez le frein de stationnement.
Coupez le moteur et retirez la clé.
Attendez l'arrêt complet de tout mouvement.
Portez une tenue adaptée, notamment une protection oculaire, un pantalon et des chaussures solides à semelle antidérapante. Gardez mains, pieds, vêtements, bijoux et cheveux longs à l'écart des pièces mobiles.
Si vous laissez la clé dans le commutateur d'allumage, quelqu'un pourrait mettre le moteur en marche accidentellement et vous blesser gravement, ainsi que toute personne à proximité. Retirez la clé du commutateur d'allumage avant tout entretien.
Laissez refroidir les composants de la machine avant d'effectuer toute opération d'entretien.
Si les unités de coupe sont en position de transport, utilisez le système de blocage mécanique positif (selon l'équipement) avant de laisser la machine sans surveillance.
Si possible, n'effectuez aucun entretien quand le moteur est en marche. Ne vous approchez pas des pièces mobiles.
Ne faites tourner le moteur que dans des lieux bien aérés. Les gaz d'échappement contiennent du monoxyde de carbone, qui est mortel en cas d'inhalation.
Soutenez la machine avec des chandelles chaque fois que vous devez travailler dessous.
Libérez la pression emmagasinée dans les composants avec précaution.
Maintenez toutes les pièces de la machine en bon état de marche et toutes les fixations bien serrées, surtout celles des lames.
Remplacez tous les autocollants usés ou endommagés.
Pour garantir le fonctionnement sûr et optimal de la machine, utilisez exclusivement des pièces de rechange d'origine Toro. Les pièces de rechange provenant d'autres constructeurs peuvent être dangereuses, et leur utilisation risque d'annuler la garantie de la machine.
| Périodicité d'entretien | Procédure d'entretien |
|---|---|
| Après la 1ère heure de fonctionnement |
|
| Après les 10 premières heures de fonctionnement |
|
| Après les 50 premières heures de fonctionnement |
|
| Après les 200 premières heures de fonctionnement |
|
| À chaque utilisation ou une fois par jour |
|
| Toutes les 50 heures |
|
| Toutes les 100 heures |
|
| Toutes les 200 heures |
|
| Toutes les 400 heures |
|
| Toutes les 500 heures |
|
| Toutes les 800 heures |
|
| Toutes les 1000 heures |
|
| Toutes les 2000 heures |
|
| Toutes les 3000 heures |
|
| Avant le remisage |
|
| Tous les 2 ans |
|
Si vous laissez la clé dans le commutateur d'allumage, quelqu'un pourrait mettre le moteur en marche accidentellement et vous blesser gravement, ainsi que toute personne à proximité.
Avant tout entretien, retirez la clé du commutateur d'allumage.
Copiez cette page pour pouvoir vous en servir régulièrement.
| Entretiens à effectuer | Pour la semaine du : | ||||||
|---|---|---|---|---|---|---|---|
| Lundi | Mardi | Mercredi | Jeudi | Vendredi | Samedi | Dimanche | |
| Vérifiez le fonctionnement du système de sécurité. | |||||||
| Vérifiez le fonctionnement des freins. | |||||||
| Contrôlez le niveau d'huile moteur. | |||||||
| Contrôlez le niveau du liquide de refroidissement. | |||||||
| Vidangez le séparateur d'eau/de carburant. | |||||||
| Contrôlez le filtre à air, la cuvette à poussière et la valve de purge. | |||||||
| Vérifiez les bruits anormaux en provenance du moteur.1 | |||||||
| Vérifiez la propreté du radiateur et de l'écran. | |||||||
| Vérifiez les bruits de fonctionnement anormaux. | |||||||
| Contrôlez le niveau de liquide hydraulique. | |||||||
| Vérifiez l'état des flexibles hydrauliques. | |||||||
| Recherchez des fuites éventuelles. | |||||||
| Contrôlez le niveau de carburant. | |||||||
| Contrôlez la pression des pneus. | |||||||
| Vérifiez le fonctionnement des instruments. | |||||||
| Vérifiez le réglage de la hauteur de coupe. | |||||||
| Lubrifiez tous les graisseurs.2 | |||||||
| Nettoyez la machine. | |||||||
| Retouchez les peintures endommagées. | |||||||
|
1Contrôlez la bougie de préchauffage et les injecteurs en cas de démarrage difficile, de fumée excessive ou de fonctionnement irrégulier du moteur. 2Immédiatement après chaque lavage, quelle que soit la fréquence d'entretien indiquée. |
|||||||
Important: Reportez-vous au manuel du propriétaire du moteur pour toutes procédures d'entretien supplémentaires.
| Contrôle effectué par : | ||
| Point contrôlé | Date | Information |
Utilisez les points de levage suivants pour lever la machine :
Avant de la machine – sur le cadre, devant les moteurs des roues motrices (Figure 46).
Important: Ne soutenez pas la machine au niveau des moteurs des roues motrices. Le matériel de levage ne doit pas toucher les tubes et flexibles hydrauliques.

Arrière de la machine – au centre du pont (Figure 47).
Localisez les chandelles de la capacité spécifiée de chaque côté du boîtier d'engrenages et sous l'essieu.
Important: Ne soutenez pas la machine au niveau de la biellette de direction.

Basculez le capot pour accéder au châssis, comme montré à la Figure 48.

Basculez le siège pour accéder au compartiment de levage hydraulique, comme montré à la Figure 49.

| Périodicité d'entretien | Procédure d'entretien |
|---|---|
| Toutes les 50 heures |
|
Type de graisse : graisse au lithium nº 2
Emplacements et nombre de graisseurs :
Roulements d'axes de pivots de freins (5), comme montré à la Figure 50.

Bagues de pivot d'essieu arrière (2), comme montré à la Figure 51.

Rotules de vérin de direction (2), comme montré à la Figure 52.

Rotules de biellette de direction (2), comme montré à la Figure 52.
Bagues de pivot de fusée (2), comme montré à la Figure 52.
Important: Ne graissez par le graisseur supérieur du pivot de fusée plus d'une fois par an (2 injections de graisse).
Bagues de bras de levage (1 par unité de coupe), comme montré à la Figure 53.

Bagues de vérin de levage (2 par unité de coupe), comme montré à la Figure 53.
Roulements d'axes de pivot d'unité de coupe (2 par unité de coupe), comme montré à la Figure 54.
Note: Vous pouvez utiliser n'importe lequel des graisseurs, selon le plus accessible. Injectez la graisse dans le graisseur jusqu'à ce qu'elle commence à ressortir au bas du logement de l'axe (sous l'unité de coupe).

Roulements de bras de bâti porteur d'unité de coupe (1 par unité de coupe), comme montré à la Figure 54.
Roulements de rouleau arrière (2 par unité de coupe), comme montré à la Figure 55.

Important: Veillez à bien aligner les rainures de graissage de chaque support de rouleau sur l'orifice de graissage à chaque extrémité de l'arbre de rouleau. Pour faciliter l'alignement de la rainure et de l'orifice, l'arbre du rouleau comporte un repère à une extrémité.
Coupez le moteur et enlevez la clé avant de contrôler le niveau d'huile ou d'ajouter de l'huile dans le carter.
Ne modifiez pas le réglage du régulateur et ne faites pas tourner le moteur à un régime excessif.
| Périodicité d'entretien | Procédure d'entretien |
|---|---|
| Toutes les 400 heures |
|
Vérifiez si le boîtier du filtre à air présente des dommages susceptibles d'occasionner des fuites d'air. Remplacez-le s'il est endommagé. Vérifiez que le système d'admission ne présente pas de fuites, de dommages ou de colliers de flexible desserrés.
Faites l'entretien du filtre à air uniquement quand l'indicateur de colmatage (Figure 56) indique que cela est nécessaire. Ne remplacez pas le filtre à air plus fréquemment que nécessaire ; cela ne fait qu'accroître le risque de contamination du moteur par des impuretés quand le filtre est déposé.

Important: Le couvercle doit être parfaitement ajusté sur le boîtier du filtre à air.
Remplacez le filtre à air (Figure 57).


Note: Ne nettoyez pas un élément usagé car cela pourrait endommager le matériau du filtre.
Important: N'essayez jamais de nettoyer l'élément de sécurité (Figure 58). Remplacez l'élément filtrant de sécurité une fois sur trois, quand vous effectuez l'entretien du préfiltre.

Réarmez l'indicateur de colmatage (Figure 56) s'il est rouge.
Utilisez une huile moteur de qualité à basse teneur en cendre conforme ou supérieure aux spécifications suivantes :
Catégorie de service API CJ-4 ou mieux
Catégorie de service ACEA E6
Catégorie de service JASO DH-2
Important: L'utilisation d'une huile moteur d'une catégorie autre que la catégorie API CJ-4 ou mieux, ACEA E6 ou JASO DH-2, peut causer le colmatage du filtre à particules diesel ou endommager le moteur.
Utilisez une huile moteur ayant l'indice de viscosité suivant :
Huile préférée : SAE 15W-40 (au-dessus de -18 °C)
Autre huile possible : SAE 10W-30 ou 5W-30 (toutes températures)
L'huile moteur Toro Premium est en vente chez votre distributeur Toro agréé avec l'indice de viscosité 15W-40 ou 10W-30. Consultez le Catalogue de pièces pour les numéros de référence.
| Périodicité d'entretien | Procédure d'entretien |
|---|---|
| À chaque utilisation ou une fois par jour |
|
Le moteur est expédié avec de l'huile dans le carter. Vérifiez toutefois le niveau d'huile avant et après le premier démarrage du moteur.
Important: Contrôlez l'huile moteur chaque jour. Si le niveau d'huile moteur dépasse le repère maximum sur la jauge, il se peut que l'huile soit diluée avec du carburant.Si le niveau d'huile moteur est au-dessus du repère maximum, vidangez l'huile.
Le meilleur moment pour vérifier le niveau d'huile moteur est en début de journée, quand le moteur est froid avant sa mise en marche. Si le moteur a déjà tourné, attendez au moins 10 minutes que l'huile retourne dans le carter avant de contrôler le niveau. Si le niveau d'huile est à la même hauteur ou en dessous du repère minimum sur la jauge, faites l'appoint pour l'amener au repère maximum. Ne remplissez pas excessivement le carter moteur.
Important: Maintenez le niveau d'huile moteur entre les repères maximum et minimum sur la jauge ; une panne de moteur peut se produire si le carter contient trop ou pas assez d'huile.
Contrôlez le niveau d'huile moteur ; voir Figure 59.


Note: Si vous utilisez une huile différente, vidangez complètement le carter moteur avant de refaire le plein.
5,7 litres approximativement avec le filtre.
| Périodicité d'entretien | Procédure d'entretien |
|---|---|
| Toutes les 500 heures |
|
Note: Pour réinitialiser l'indicateur d'entretien dans l'Infocenter, voir Réglage de l'indicateur d'entretien.
Démarrez le moteur et laissez-le tourner pendant 5 minutes pour réchauffer l’huile.
Garez la machine sur une surface plane et horizontale, serrez le frein de stationnement, coupez le moteur et enlevez la clé.
Vidangez l'huile moteur et remplacez le filtre à huile (Figure 60).


Rajoutez de l'huile dans le carter moteur ; voir Capacité du carter d'huile : et Contrôle du niveau d'huile moteur.
| Périodicité d'entretien | Procédure d'entretien |
|---|---|
| Toutes les 3000 heures |
|
Consultez la section Moteur du Manuel d'entretien pour savoir comment démonter et remonter le catalyseur d'oxydation diesel et le filtre à suie du FAP.
Contactez votre concessionnaire Toro agréé pour vous procurer des pièces de rechange ou faire l'entretien du catalyseur d'oxydation diesel et du filtre à suie.
Demandez à votre concessionnaire Toro agréé de réinitialiser l'ECU du moteur après la pose d'un FAP propre.
Dans certaines conditions, le gazole et les vapeurs qu'il dégage sont extrêmement inflammables et explosifs. Un incendie ou une explosion causé(e) par du carburant peut vous brûler, ainsi que d'autres personnes, et causer des dommages matériels.
Remplissez le réservoir à l'aide d'un entonnoir à l'extérieur, dans un endroit dégagé, et lorsque le moteur est arrêté et froid. Essuyez tout carburant répandu.
Ne remplissez pas complètement le réservoir de carburant. Versez la quantité de carburant nécessaire pour que le niveau se situe entre 6 et 13 mm en dessous de la base du goulot de remplissage. L'espace au-dessus doit rester vide pour permettre au carburant de se dilater.
Ne fumez jamais en manipulant du carburant et tenez-vous à l'écart des flammes nues ou sources d'étincelles qui pourraient enflammer les vapeurs de carburant.
Stockez le carburant dans un bidon de sécurité propre et homologué qui doit être maintenu bouché.
| Périodicité d'entretien | Procédure d'entretien |
|---|---|
| Toutes les 800 heures |
|
| Avant le remisage |
|
En complément des entretiens périodiques énoncés, vidangez et nettoyez le réservoir de carburant si le système d'alimentation est contaminé ou si vous prévoyez de remiser la machine pendant une période prolongée. Rincez le réservoir avec du carburant neuf.
| Périodicité d'entretien | Procédure d'entretien |
|---|---|
| Toutes les 400 heures |
|
Vérifiez que les conduites et les raccords ne sont pas détériorés, endommagés ou desserrés.

| Périodicité d'entretien | Procédure d'entretien |
|---|---|
| À chaque utilisation ou une fois par jour |
|
Faites l'entretien du séparateur carburant-eau comme montré à la (Figure 62).

| Périodicité d'entretien | Procédure d'entretien |
|---|---|
| Toutes les 400 heures |
|
Remplacez la cartouche du filtre à carburant comme montré à la Figure 63.

| Périodicité d'entretien | Procédure d'entretien |
|---|---|
| Toutes les 400 heures |
|
Nettoyez la surface autour de la tête du filtre à carburant (Figure 64).

Déposez le filtre et nettoyez la surface de montage de la tête du filtre (Figure 64).
Lubrifiez le joint du filtre avec de l'huile moteur propre ; voir le manuel du propriétaire du moteur pour plus de précisions.
Montez la cartouche sèche à la main jusqu'à ce que le joint rejoigne la tête du filtre, puis serrez la cartouche d'un demi tour supplémentaire.
Amorcez le filtre et les conduites à la pression de la pompe haute pression ; voir Amorçage du circuit d'alimentation.
Démarrez le moteur et vérifiez à nouveau l'absence de fuites autour de la tête du filtre.
Le tube d'aspiration de carburant se trouve dans le réservoir de carburant. Il est muni d'une crépine qui empêche les débris de pénétrer dans le système d'alimentation. Retirez le tube et nettoyez la crépine selon les besoins.
Retirez le collier qui fixe le flexible de carburant au raccord du tube d'aspiration (Figure 65).

Débranchez le flexible du raccord (Figure 65).
Soulevez et déposez le tube d'aspiration du réservoir de carburant (Figure 65).
Note: Soulevez le tube bien droit hors de la bague dans le réservoir.
Nettoyez les débris éventuellement présents sur la crépine au bout du tube d'aspiration de carburant (Figure 65).
Insérez le tube d'aspiration dans la bague de caoutchouc et dans le réservoir de carburant (Figure 65).
Note: Vérifiez que le tube d'aspiration de carburant est complètement engagé dans la bague de caoutchouc.
Branchez le flexible d'alimentation au raccord du tube d'aspiration de carburant et fixez le flexible en place à l'aide du collier que vous avez retiré à l'opération 1.
Amorcez le circuit d'alimentation avant le premier démarrage du moteur, après une panne d'essence ou après l'entretien du circuit d'alimentation (par ex. purge du filtre/séparateur d'eau, remplacement du flexible de carburant).
Pour amorcer le circuit d'alimentation, procédez comme suit :
Vérifiez que le réservoir de carburant n'est pas vide.
Effectuez la procédure suivante pour amorcer le filtre et les conduites reliées à la pompe haute pression afin d'éviter d'user ou d'endommager la pompe :
Tournez la clé à la position CONTACT pendant 15 à 20 secondes.
Tournez la clé à la position CONTACT pendant 30 à 40 secondes.
Note: Cela permet la mise hors tension de l'ECU.
Tournez la clé à la position CONTACT pendant 15 à 20 secondes.
Vérifiez l'absence de fuites autour du filtre et des flexibles.
Important: N'utilisez pas le démarreur pour lancer le moteur afin d'amorcer le circuit d'alimentation.
Débranchez la batterie avant de réparer la machine. Débranchez toujours la borne négative avant la borne positive. Rebranchez la borne positive avant la borne négative.
Chargez la batterie dans un endroit dégagé et bien aéré, à l'écart des flammes ou sources d'étincelles. Débranchez le chargeur du secteur avant de brancher ou de débrancher la batterie. Portez des vêtements de protection et utilisez des outils isolés.
| Périodicité d'entretien | Procédure d'entretien |
|---|---|
| Toutes les 50 heures |
|
Important: Avant d'effectuer des soudures sur la machine, débranchez le câble négatif de la batterie pour éviter d'endommager le système électrique. Vous devez aussi débrancher le moteur, l'InfoCenter et les contrôleurs de la machine avant d'effectuer des travaux de soudure sur la machine.
Note: Les bornes et le bac doivent être propres, car une batterie encrassée se décharge lentement. Pour nettoyer la batterie, lavez le bac avec un mélange d'eau et de bicarbonate de soude. Rincez ensuite à l'eau claire. Pour prévenir la corrosion, enduisez les bornes de la batterie et les cosses des câbles de graisse Grafo 112X (Skin-Over) (réf. Toro 505-47) ou de vaseline.
Ouvrez le verrou du couvercle du bac de rangement droit et soulevez le couvercle (Figure 68).
L'électrolyte contient de l'acide sulfurique, dont l'ingestion est mortelle et qui cause de graves brûlures.
Ne buvez jamais l'électrolyte et évitez tout contact avec les yeux, la peau ou les vêtements. Portez des lunettes de protection et des gants en caoutchouc.
Faites le plein d'électrolyte à proximité d'une arrivée d'eau propre, de manière à pouvoir rincer abondamment la peau en cas d'accident.
Retirez le capuchon en caoutchouc de la borne positive et examinez la batterie.
Débranchez le câble négatif (noir) de la borne négative (-), puis le câble positif (rouge) de la borne positive (+) de la batterie (Figure 66).
S'ils sont mal acheminés, les câbles de la batterie peuvent subir des dommages ou endommager la machine et produire des étincelles. Les étincelles peuvent provoquer l'explosion des gaz de la batterie et vous blesser.
Débranchez toujours le câble négatif (noir) de la batterie avant le câble positif (rouge).
Connectez toujours le câble positif (rouge) de la batterie avant le câble négatif (noir).
Les bornes de la batterie ou les outils en métal peuvent causer des courts-circuits au contact des pièces métalliques et produire des étincelles. Les étincelles peuvent provoquer l'explosion des gaz de la batterie et vous blesser.
Lors du retrait ou de la mise en place de la batterie, les bornes ne doivent toucher aucune partie métallique de la machine.
Évitez de créer des courts-circuits entre les bornes de la batterie et les parties métalliques de la machine avec des outils en métal.

Raccordez un chargeur de 3 à 4 ampères aux bornes de la batterie. Chargez la batterie au régime de 3 à 4 ampères durant 4 à 8 heures.
La batterie en charge produit des gaz qui peuvent exploser.
Ne fumez jamais à côté de la batterie et tenez-la à l'écart des flammes ou sources d'étincelles.
Une fois la batterie chargée, débranchez le chargeur du secteur et des bornes de la batterie.
Raccordez le câble positif (rouge) de la batterie à la borne positive (+) et le câble négatif (noir) à la borne négative (-) (Figure 66).
Fixez les câbles aux bornes au moyen boulons et d'écrous.
Note: Assurez-vous que le collier du câble positif (+) est bien engagé sur la borne de la batterie et que le câble est placé tout près de la batterie. Le câble ne doit pas toucher le couvercle de la batterie.
Pour prévenir la corrosion, enduisez les bornes de la batterie de graisse Grafo 112X (Skin-Over) (réf. 505-47), de vaseline ou de graisse légère.
Placez ensuite le capuchon de caoutchouc sur la borne positive.
Fermez et verrouillez le panneau de la console.
Le porte-fusibles de la machine est situé dans le bac de rangement droit.

Ouvrez le verrou du couvercle du bac de rangement droit et soulevez le couvercle (Figure 68) pour exposer le porte-fusibles (Figure 69).

Remplacez le(s) fusible(s) dans les emplacements libres selon les besoins (Figure 69).

Refermez le couvercle du bac de rangement droit et fixez-le avec le verrou (Figure 68).

| Périodicité d'entretien | Procédure d'entretien |
|---|---|
| Toutes les 400 heures |
|
Les trains planétaires/roues motrices ne doivent présenter aucun jeu axial (les roues ne doivent pas bouger lorsque vous les tirez ou les poussez parallèlement à l'essieu).
Garez la machine sur une surface plane et horizontale, serrez le frein de stationnement, abaissez les unités de coupe, coupez le moteur et enlevez la clé.
Calez les roues arrière et soulevez l'avant de la machine, puis soutenez l'essieu avant/le cadre avec des chandelles.
Une machine en appui sur un cric peut être instable ; elle peut tomber et blesser la personne qui se trouve dessous.
Ne mettez pas le moteur en marche lorsque la machine est soutenue par un cric.
Retirez toujours la clé du commutateur d'allumage avant de descendre de la machine.
Calez les roues lorsque vous levez la machine au cric.
Soutenez la machine avec des chandelles.
Saisissez une des roues motrices avant et tirez/poussez-la en direction et à l'opposé de la machine en vérifiant l'absence de jeu.

Répétez l'opération 3 pour l'autre roue motrice.
Si une roue bouge, demandez à votre distributeur Toro agréé de remettre le train planétaire en état.
| Périodicité d'entretien | Procédure d'entretien |
|---|---|
| Toutes les 400 heures |
|
Lubrifiant spécifié : lubrifiant pour engrenages de haute qualité SAE 85W-140.
Garez la machine sur une surface plane et horizontale, puis tournez la roue de sorte que le bouchon de remplissage soit à la position 12 heures, le bouchon de contrôle soit à la position 3 heures et le bouchon de vidange soit à la position 6 heures (Figure 72).

Retirez le bouchon de contrôle à la position 3 heures (Figure 72).
Le niveau d'huile doit atteindre le bas de l'orifice de contrôle.

Si le niveau d'huile est trop bas, retirez le bouchon de remplissage de la position 12 heures et faites l'appoint d'huile jusqu'à ce qu'elle s'écoule par l'orifice à la position 3 heures.
Vérifiez l'état et l'usure des joints toriques des bouchons.
Note: Remplacez le(s) joint(s) torique(s) au besoin.
Remettez le(s) bouchon(s) en place.
Répétez les opérations 1 à 5 pour le train planétaire de l'autre côté de la machine.
| Périodicité d'entretien | Procédure d'entretien |
|---|---|
| Après les 50 premières heures de fonctionnement |
|
| Toutes les 800 heures |
|
Lubrifiant spécifié : lubrifiant pour engrenages de haute qualité SAE 85W-140.
Capacité du carter de train planétaire et de frein : 0,65 litre
Garez la machine sur une surface plane et horizontale, tournez la roue de sorte que le bouchon de remplissage soit à la position 12 heures, le bouchon de contrôle soit à la position 3 heures et le bouchon de vidange soit à la position 6 heures ; voir Figure 72 sous Contrôle du niveau de lubrifiant du train planétaire.
Enlevez le bouchon de remplissage de la position 12 heures et le bouchon de contrôle de la position 3 heures (Figure 74).

Placez un bac de vidange sous le moyeu du train planétaire, enlevez le bouchon de vidange à la position 6 heures et vidangez toute l'huile (Figure 74).
Vérifiez l'état et l'usure des joints toriques des bouchons de remplissage, de contrôle et de vidange.
Note: Remplacez le(s) joint(s) torique(s) au besoin.
Insérez le bouchon de vidange dans l'orifice de vidange du carter de train planétaire (Figure 74).
Placez un bac de vidange sous le carter de frein, enlevez le bouchon de vidange et vidangez toute l'huile (Figure 75).

Vérifiez l'état et l'usure du joint torique du bouchon, puis remettez le bouchon de vidange en place dans le carter de frein.
Note: Remplacez les joints toriques au besoin.
Versez lentement dans l'orifice du bouchon de remplissage du train planétaire 0,65 litre d'huile pour engrenages de haute qualité SAE 85W-140.
Important: Si le train planétaire se remplit avant que 0,65 litre d'huile soit ajouté, patientez une heure ou remettez le bouchon en place, et déplacez la machine d'environ 3 mètres pour bien répartir l'huile dans le système de freinage. Retirez ensuite le bouchon et ajoutez le restant d'huile.

Remettez en place les bouchons de remplissage et de contrôle.
Essuyez soigneusement les carters de frein et de train planétaire (Figure 77).

Répétez les opérations 1 à 7 de Vidange du train planétaire, et les opérations 1 à 3 dans cette procédure pour l'ensemble train planétaire/frein de l'autre côté de la machine.
| Périodicité d'entretien | Procédure d'entretien |
|---|---|
| À chaque utilisation ou une fois par jour |
|
Recherchez visuellement des fuites au niveau du pont arrière et du boîtier d'engrenages arrière.

| Périodicité d'entretien | Procédure d'entretien |
|---|---|
| Toutes les 400 heures |
|
Le pont arrière est rempli d'huile pour engrenages SAE 85W-140. La capacité est de 2,4 litres. Recherchez les fuites éventuelles chaque jour.
Garez la machine sur une surface plane et horizontale, serrez le frein de stationnement, abaissez les unités de coupe, coupez le moteur et enlevez la clé.
Enlevez un bouchon de contrôle à une extrémité du pont et vérifiez que le lubrifiant atteint la base de l'orifice (Figure 79).
Note: Si le niveau est trop bas, enlevez le bouchon de remplissage et ajoutez suffisamment de lubrifiant pour rectifier le niveau.

| Périodicité d'entretien | Procédure d'entretien |
|---|---|
| Après les 200 premières heures de fonctionnement |
|
| Toutes les 800 heures |
|
Lubrifiant spécifié : lubrifiant pour engrenages de haute qualité SAE 85W-140.
Capacité du pont : 2,4 litres
Garez la machine sur une surface plane et horizontale, serrez le frein de stationnement, abaissez les unités de coupe, coupez le moteur et enlevez la clé.
Nettoyez la surface autour des 3 bouchons de vidange, 1 à chaque extrémité et 1 au centre (Figure 80).

Enlevez les bouchons de contrôle du niveau d'huile et le bouchon d'aération du pont principal pour faciliter la vidange du lubrifiant pour engrenages.
Retirez les bouchons de vidange pour permettre au lubrifiant de s'écouler dans les bacs de vidange.
Remettez les bouchons en place.
Enlevez un bouchon de contrôle et versez dans le pont environ 2,4 litres d'huile pour engrenages 85W-140 ou la quantité d'huile qui convient pour atteindre la base de l'orifice de remplissage.
Remettez le bouchon de contrôle en place.
| Périodicité d'entretien | Procédure d'entretien |
|---|---|
| Toutes les 400 heures |
|
Le boîtier d'engrenages est rempli d'huile pour engrenages SAE 85W-140. La capacité est de 0,5 litre. Recherchez les fuites éventuelles chaque jour.
Garez la machine sur une surface plane et horizontale, serrez le frein de stationnement, abaissez les unités de coupe, coupez le moteur et enlevez la clé.
Enlevez le bouchon de contrôle/remplissage du côté gauche du boîtier d'engrenages et vérifiez que le lubrifiant atteint la base de l'orifice (Figure 81).
Note: Si le niveau est bas, ajoutez suffisamment de lubrifiant pour rectifier le niveau.

| Périodicité d'entretien | Procédure d'entretien |
|---|---|
| Toutes les 800 heures |
|
Garez la machine sur une surface plane et horizontale, serrez le frein de stationnement, abaissez les unités de coupe, coupez le moteur et enlevez la clé.
Mesurez l'entraxe (à hauteur d'essieu) à l'avant et à l'arrière des roues directrices (Figure 82).
Note: Le pincement à l'avant doit être inférieur de 3 mm au pincement à l'arrière.

Pour le régler, retirez la goupille fendue et l'écrou de l'une des rotules de biellette (Figure 83). Déposez la rotule de biellette du support du carter de pont.

Desserrez les fixations aux deux extrémités des biellettes (Figure 83).
Faites pivoter la rotule déposée d'un tour complet vers l'intérieur ou l'extérieur et serrez le collier à l'extrémité libre de la biellette.
Faites pivoter toute la biellette d'un tour complet vers l'intérieur ou l'extérieur et serrez le collier à l'extrémité libre de la biellette.
Posez la rotule dans le support du carter de pont, serrez l'écrou à la main et mesurez le pincement.
Répétez la procédure au besoin.
Resserrez l'écrou et mettez une goupille fendue neuve quand le réglage correct est obtenu.
L'ingestion de liquide de refroidissement peut être toxique ; rangez-le hors de la portée des enfants et des animaux domestiques.
Les projections de liquide de refroidissement brûlant sous pression ou le contact avec le radiateur brûlant et les pièces qui l'entourent peuvent causer des brûlures graves.
Laissez toujours refroidir le moteur pendant au moins 15 minutes avant d'enlever le bouchon du radiateur.
Servez-vous d'un chiffon pour ouvrir le bouchon du radiateur et desserrez-le lentement pour laisser la vapeur s'échapper.
N'utilisez jamais la machine sans les capots de protection.
N'approchez pas les doigts, les mains ou les vêtements du ventilateur et de la courroie d'entraînement en rotation.
Le réservoir de liquide de refroidissement est rempli à l'usine d'un mélange 50/50 d'eau et de liquide de refroidissement longue durée à base d'éthylène glycol.
Important: Utilisez uniquement des liquides de refroidissement en vente dans le commerce et répondant aux spécifications énoncées dans le Tableau des normes des liquides de refroidissement longue durée.N'utilisez pas de liquide de refroidissement ordinaire (vert) issu de la technologie des acides inorganiques (IAT) dans la machine. Ne mélangez pas les liquides de refroidissement ordinaires et longue durée.
|
Type à l'éthylène-glycol |
Type avec inhibiteur de corrosion |
|
Antigel longue durée |
Technologie des acides organiques (OAT) |
|
Important: Ne vous fiez pas à la couleur du liquide de refroidissement pour différencier les types de liquides de refroidissement ordinaire (IAT) et longue durée.Les fabricants de liquides de refroidissement peuvent teinter les liquides de refroidissement longue durée dans les couleurs suivantes : rouge, rose, orange, jaune, bleu, vert-bleu, violet et vert. Utilisez un liquide de refroidissement répondant aux spécifications énoncées dans le Tableau des normes des liquides de refroidissement longue durée. |
|
|
ATSM International |
SAE International |
|
D3306 et D4985 |
J1034, J814 et 1941 |
Important: Le mélange concentré doit être constitué à part égale de liquide de refroidissement et d'eau.
De préférence : si le liquide de refroidissement est mélangé à partir de concentré, le mélanger avec de l'eau distillée.
Option privilégiée : en l'absence d'eau distillée, utiliser un liquide de refroidissement prémélangé au lieu de concentré.
Minimum requis : en l'absence d'eau distillée et de liquide de refroidissement prémélangé, mélanger du liquide concentré avec de l'eau potable propre.
| Périodicité d'entretien | Procédure d'entretien |
|---|---|
| À chaque utilisation ou une fois par jour |
|
Capacité du circuit de refroidissement : 8,5 litres.
Les ventilateurs et les courroies d'entraînement en rotation peuvent causer des blessures.
N'utilisez jamais la machine sans les capots de protection.
N'approchez pas les doigts, les mains ou les vêtements du ventilateur et de la courroie d'entraînement en rotation.
Coupez le moteur et enlevez la clé avant d'effectuer des entretiens.
Garez la machine sur une surface plane et horizontale, serrez le frein de stationnement, abaissez les unités de coupe, coupez le moteur et enlevez la clé.
Enlevez le bouchon de radiateur avec précaution.

Vérifiez le niveau du liquide de refroidissement dans le radiateur. Le radiateur doit être rempli jusqu'en haut du goulot de remplissage et le vase d'expansion jusqu'au repère MAXIMUM (Figure 84).
Si le niveau du liquide de refroidissement est trop bas, ajoutez un mélange 50/50 d'eau et d'antigel à l'éthylène glycol ; voir Spécifications du liquide de refroidissement. N'utilisez pas seulement de l'eau pure ni des liquides de refroidissement à base d'alcool ou de méthanol.
Remettez en place les bouchons du radiateur et du vase d'expansion.
| Périodicité d'entretien | Procédure d'entretien |
|---|---|
| À chaque utilisation ou une fois par jour |
|
Cette machine est équipée d'un système d'entraînement de ventilateur hydraulique qui s'inverse automatiquement (ou manuellement) pour réduire l'accumulation de débris sur le radiateur/refroidisseur d'huile et la grille. Cette fonction permet de réduire le temps nécessaire au nettoyage du radiateur/refroidisseur d'huile, mais n'élimine pas la nécessité d'un nettoyage de routine. Le nettoyage et l'examen périodiques du radiateur/refroidisseur d'huile restent nécessaires.
Garez la machine sur une surface plane et horizontale, serrez le frein de stationnement, abaissez les unités de coupe, coupez le moteur et enlevez la clé.
Laissez refroidir la machine ; voir Consignes de sécurité pendant l'entretien et Consignes de sécurité relatives au système de refroidissement.
Déverrouillez et ouvrez la grille arrière (Figure 85).
Note: Pour déposer la grille, dégagez-la des axes d'articulation.
Nettoyez soigneusement la surface de la grille.

Nettoyez soigneusement les deux côtés du refroidisseur d'huile et du radiateur à l'air comprimé (Figure 86).
Note: Commencez par l'avant et soufflez les débris vers l'arrière. Nettoyez ensuite en soufflant de l'arrière vers l'avant. Répétez cette procédure plusieurs fois jusqu'à ce qu'il ne reste plus aucun débris.

Important: Ne nettoyez pas le radiateur/refroidisseur d'huile avec de l'eau, car cela risque d'encourager la corrosion et la détérioration des composants.
Refermez et verrouillez la grille arrière.
Réglez les freins de service si la garde aux pédales de frein est supérieure à 25 mm ou si les freins ne fonctionnent pas bien. La garde est la distance parcourue par la pédale de frein avant que le freinage soit ressenti.
Garez la machine sur une surface plane et horizontale, serrez le frein de stationnement, abaissez les unités de coupe, coupez le moteur et enlevez la clé.
Débloquez le verrou des pédales de frein pour les rendre indépendantes l'une de l'autre.
Pour réduire la garde aux pédales de frein, serrez les freins comme suit :
Desserrez l'écrou avant sur l'extrémité filetée du câble de frein (Figure 87).

Serrez l'écrou arrière pour déplacer le câble en arrière jusqu'à obtention d'une garde de 13 à 25 mm.
Resserrez les écrous avant une fois que les freins sont réglés correctement.
| Périodicité d'entretien | Procédure d'entretien |
|---|---|
| Toutes les 100 heures |
|
Lorsque la tension est correcte, la courroie présente une flèche de 10 mm quand une force de 4,5 kg est exercée à mi-chemin entre les poulies.
Si vous n'obtenez pas une flèche de 10 mm, desserrez les boulons de fixation de l'alternateur (Figure 56).
Note: Augmentez ou diminuez la tension de la courroie et resserrez les boulons. Contrôlez de nouveau la flèche de la courroie pour vérifier si la tension est correcte.

Consultez immédiatement un médecin si du liquide est injecté sous la peau. Toute injection de liquide hydraulique sous la peau doit être éliminée dans les quelques heures qui suivent par une intervention chirurgicale réalisée par un médecin.
Vérifiez l'état de tous les flexibles et conduits de liquide hydraulique, ainsi que le serrage de tous les branchements et raccords avant de mettre le système hydraulique sous pression.
N'approchez pas les mains ni aucune autre partie du corps des fuites en trou d'épingle ou des gicleurs d'où sort du liquide hydraulique sous haute pression.
Utilisez un morceau de papier ou de carton pour détecter les fuites.
Évacuez avec précaution toute la pression du système hydraulique avant toute intervention sur le système.
Le réservoir est rempli en usine de liquide hydraulique de haute qualité. Contrôlez néanmoins le niveau du liquide hydraulique avant le tout premier démarrage du moteur, puis tous les jours ; voir Contrôle du niveau de liquide hydraulique.
Liquide hydraulique recommandé : liquide hydraulique longue durée « Toro PX Extended Life » ; disponible en bidons de 19 litres ou barils de 208 litres.
Note: Si vous utilisez le liquide de remplacement recommandé dans la machine vous n'aurez pas besoin de vidanger le liquide et de remplacer le filtre aussi souvent.
Autres liquides hydrauliques possibles : si vous ne disposez pas de liquide hydraulique longue durée Toro PX, vous pouvez utiliser d'autres liquides hydrauliques classiques à base de pétrole à condition qu'ils soient conformes aux caractéristiques physiques et aux spécifications de l'industrie suivantes. N'utilisez pas de liquide synthétique. Consultez votre distributeur de lubrifiants pour identifier un produit qui convient.
Note: Toro décline toute responsabilité en cas de dommage causé par l'utilisation d'huiles de remplacement inadéquates. Utilisez uniquement des produits provenant de fabricants réputés qui répondent de leur recommandation.
| Propriétés physiques : | ||
| Viscosité, ASTM D445 | 44 à 48 cSt à 40 °C | |
| Indice de viscosité, ASTM D2270 | 140 ou plus | |
| Point d'écoulement, ASTM D97 | -37 à -45 °C | |
| Spécifications de l'industrie : | Eaton Vickers 694 (I-286-S, M-2950-S/35VQ25 ou M-2952-S) | |
Note: De nombreuses huiles hydrauliques sont presque incolores, ce qui rend difficile la détection des fuites. Un additif colorant rouge pour liquide hydraulique est disponible en bouteilles de 20 ml. Une bouteille suffit pour 15 à 22 litres de liquide hydraulique. Vous pouvez commander ces bouteilles chez les concessionnaires Toro agréés (réf. 44-2500).
Important: Le liquide hydraulique biodégradable synthétique « Toro Premium Synthetic Bio Hyd Fluid » est le seul liquide biodégradable synthétique agréé par Toro. Il est compatible avec les élastomères utilisés dans les systèmes hydrauliques Toro et convient pour de larges plages de températures. Ce liquide est compatible avec les huiles minérales traditionnelles ; toutefois vous devez rincer soigneusement le système hydraulique pour le débarrasser de l'ancien liquide afin d'optimiser la biodégradabilité et les performances. Cette huile est disponible en bidons de 19 litres ou en barils de 208 litres chez votre distributeur Toro agréé.
| Périodicité d'entretien | Procédure d'entretien |
|---|---|
| À chaque utilisation ou une fois par jour |
|
Garez la machine sur une surface plane et horizontale, serrez le frein de stationnement, abaissez les unités de coupe, coupez le moteur et enlevez la clé.
Contrôlez le niveau du liquide hydraulique (Figure 89).


| Périodicité d'entretien | Procédure d'entretien |
|---|---|
| Toutes les 800 heures |
|
| Toutes les 2000 heures |
|
| Tous les 2 ans |
|
Capacité du réservoir de liquide hydraulique : 28,4 litres
Si le liquide est contaminé, demandez à votre concessionnaire Toro agréé de rincer le système. Le liquide contaminé a un aspect laiteux ou noir comparé à du liquide propre.
Garez la machine sur une surface plane et horizontale, serrez le frein de stationnement, abaissez les unités de coupe, coupez le moteur et enlevez la clé.
Ouvrez le capot.
Débranchez le conduit de retour au fond du réservoir hydraulique pour permettre à l'huile de s'écouler dans un grand bac de vidange.
Rebranchez le flexible quand la vidange est terminée.
Remplissez le réservoir de liquide hydraulique ; voir Vidange du liquide hydraulique.
Important: Utilisez uniquement les liquides hydrauliques spécifiés. Tout autre liquide est susceptible d'endommager le système.
Remettez le bouchon du réservoir.
Tournez la clé en position CONTACT pour démarrer le moteur. Actionnez toutes les commandes hydrauliques pour faire circuler le liquide dans tout le circuit, puis recherchez d'éventuelles fuites.
Tournez la clé de contact à la position ARRêT.
Vérifiez le niveau d'huile et faites l'appoint pour faire monter le niveau jusqu'au repère MAXIMUM sur la jauge. Ne remplissez pas excessivement.
| Périodicité d'entretien | Procédure d'entretien |
|---|---|
| Toutes les 800 heures |
|
| Toutes les 1000 heures |
|
Utilisez des filtres de rechange Toro réf. 94-2621 à l'arrière de la machine (unités de coupe) et réf. 75-1310 à l'avant (charge).
Important: L'utilisation de tout autre filtre peut annuler la garantie de certaines pièces.
Basculez le siège de l'utilisateur pour accéder au filtre de pression de la machine ; voir Accès au compartiment de levage hydraulique.

Remplacez le filtre hydraulique de charge au niveau du compartiment de levage hydraulique, comme montré à la Figure 91.


Rabaissez le siège du conducteur et fixez-le en place.
Reposez le filtre de retour sur le côté droit de la machine (Figure 91).
Mettez le moteur en marche et laissez-le tourner environ 2 minutes pour purger l'air du circuit. Coupez le moteur et recherchez des fuites éventuelles.
| Périodicité d'entretien | Procédure d'entretien |
|---|---|
| À chaque utilisation ou une fois par jour |
|
| Tous les 2 ans |
|
Vérifiez chaque jour que les conduites et flexibles hydrauliques ne présentent pas de fuites, ne sont pas pliés, usés, détériorés par les conditions atmosphériques ou les produits chimiques, et que les supports de montage et les raccords ne sont pas desserrés. Effectuez les réparations nécessaires avant d'utiliser la machine.
Les fuites de liquide hydraulique sous pression peuvent transpercer la peau et causer des blessures graves.
Consultez immédiatement un médecin en cas d'injection de liquide sous la peau.
Vérifiez l'état des flexibles et conduites hydrauliques, ainsi que le serrage de tous les raccords et branchements avant de mettre le système hydraulique sous pression.
N'approchez pas les mains ni aucune autre partie du corps des fuites en trou d'épingle ou des gicleurs d'où sort du liquide hydraulique sous haute pression.
Utilisez un morceau de papier ou de carton pour détecter les fuites.
Évacuez avec précaution toute la pression du système hydraulique avant toute intervention sur le système.
Garez la machine sur une surface plane et horizontale, serrez le frein de stationnement, abaissez les unités de coupe, coupez le moteur et enlevez la clé.
Débranchez et déposez le moteur hydraulique de l'unité de coupe (Figure 92). Couvrez le dessus de l'axe pour éviter toute contamination.

Retirez la goupille à anneau (Groundsmaster 4500) ou l'écrou de retenue (Groundsmaster 4700) qui fixe le bâti porteur de l'unité de coupe à l'axe de pivot du bras de levage (Figure 93).

Éloignez l'unité de coupe de la machine.
Placez l'unité de coupe devant la machine.
Faites glisser le bâti porteur de l'unité de coupe sur l'axe de pivot du bras de levage (Figure 93). Fixez l'unité sur l'axe à l'aide de la goupille à anneau (Groundsmaster 4500) ou de l'écrou de retenue (Groundsmaster 4700).
Posez le moteur hydraulique sur l'unité de coupe (Figure 92). Vérifiez que le joint torique est en place et en bon état.
Graissez l'axe.
Vérifiez si le galet avant est usé, oscille excessivement ou se coince. Réparez ou remplacez le galet ou les pièces responsables si vous constatez un de ces défauts.
Retirez le boulon de fixation du galet (Figure 94).
Introduisez un pointeau par l'extrémité du logement de rouleau et chassez le roulement opposé à coups de marteau alternés du côté opposé de la bague intérieure du roulement. Un rebord de 1,5 mm de la bague intérieure devrait être exposé.

Sortez le second roulement à la presse.
Vérifiez l'état du logement de roulements, des roulements et de la douille d'écartement (Figure 94) Remplacez tout composant endommagé et procédez au remontage.
Enfoncez le premier roulement dans le logement à la presse (Figure 94). Exercez la pression uniquement sur la bague extérieure ou uniformément sur les bagues intérieure et extérieure.
Insérez l'entretoise (Figure 94).
Enfoncez le second roulement dans le logement à la presse (Figure 94). Exercez une pression uniforme sur les bagues intérieure et extérieure jusqu'à ce que la bague intérieure rencontre la douille d'écartement.
Montez le galet dans le cadre de l'unité de coupe.
Vérifiez que le galet ne se trouve pas à plus de 1,5 mm de ses supports sur le cadre de l'unité de coupe. Si l'espace est supérieur à 1,5 mm, ajoutez le nombre nécessaire de rondelles de 5/8" de diamètre pour rattraper le jeu.
Important: Si le galet est monté avec un espace supérieur à 1,5 mm, cela crée une charge latérale sur le roulement qui peut alors subir une défaillance prématurée.
Serrez le boulon de fixation à 108 N·m.
Contrôlez l'état et l'usure des lames périodiquement.
Examinez toujours les lames avec prudence. Manipulez les lames avec des gants ou en les enveloppant dans un chiffon, et toujours avec prudence. Limitez-vous à remplacer ou aiguiser les lames ; n'essayez jamais de les redresser ou de les souder.
Attention, sur les machines à plusieurs lames, la rotation d'une lame peut entraîner celle des autres.
À sa sortie d'usine, l'unité de coupe est préréglée à une hauteur de coupe de 5 cm et une inclinaison de lame de 8 mm. Les hauteurs gauche et droite sont aussi préréglées à une distance maximale de ±0,7 mm l'une de l'autre.
L'unité de coupe est conçue pour supporter les impacts sur la lame sans déformer la chambre. Si la lame heurte un objet fixe, vérifiez qu'elle n'est pas endommagée et que son plan est correct.
Déposez le moteur hydraulique de l'unité de coupe et détachez l'unité de coupe de la machine.
A l'aide d'un palan (ou d'au moins une autre personne), placez l'unité de coupe sur une surface plane.
Marquez une extrémité de la lame à la peinture ou au marqueur. Cette extrémité de la lame vous servira à contrôler toutes les hauteurs.
Positionnez le tranchant de l'extrémité marquée à la position 12 heures (droit devant dans la direction de la tonte) (Figure 95) et mesurez la hauteur de la surface plane au tranchant de la lame.

Tournez l'extrémité marquée de la lame aux positions 3 et 9 heures (Figure 95) et mesurez les hauteurs respectives.
Comparez la hauteur mesurée à la position 12 heures au réglage de hauteur de coupe. Elle doit être correcte à plus ou moins 0,7 mm près. Les hauteurs aux positions 3 et 9 heures doivent être supérieures de 1,6 à 6,0 mm à la hauteur à la position 12 heures, et ne doivent pas différer de plus de 2,2 mm l'une de l'autre.
Si une ou plusieurs de ces mesures sont hors spécifications, passez à Réglage du plan de lame.
Commencez par le réglage avant (changez un support à la fois).
Retirez le support de hauteur de coupe (avant, gauche ou droit) du cadre de l'unité de coupe (Figure 96).
Placez des cales de 1,5 mm et/ou des cales de 0,7 mm entre le cadre et le support de l'unité pour obtenir la hauteur de coupe voulue (Figure 96).

Montez le support de hauteur de coupe sur le cadre de l'unité de coupe en plaçant les cales restantes sous le support.
Fixez la vis à tête creuse/l'entretoise et l'écrou à embase.
Note: La vis à tête creuse et l'entretoise sont fixées ensemble avec du frein-filet pour éviter que l'entretoise ne tombe dans le cadre de l'unité de coupe.
Vérifiez la hauteur à 12 heures et corrigez-la si nécessaire.
Déterminez si un seul ou les deux supports (droit et gauche) de hauteur de coupe ont besoin d'être réglés.
Note: Si le côté à la position 3 heures ou 9 heures est plus haut de 1,6 à 6 mm que la nouvelle hauteur avant, aucun réglage n'est nécessaire pour ce côté. Réglez l'autre côté à ±2,2 mm maximum du côté correct.
Réglez les supports de hauteur de coupe droit et/ou gauche en répétant les opérations 1 à 4.
Serrez les boulons de carrosserie et les écrous à embase.
Vérifiez la hauteur aux positions 12, 3 et 9 heures.
Remplacez toute lame si elle heurte un obstacle, si elle est déséquilibrée ou faussée. Pour garantir le meilleur rendement et le maximum de sécurité, utilisez toujours des lames d'origine Toro.
Garez la machine sur une surface plane et horizontale, levez l'unité de coupe à la position de transport, serrez le frein de stationnement, coupez le moteur et enlevez la clé.
Note: Calez ou bloquez l'unité de coupe pour l'empêcher de retomber accidentellement.
Saisissez la lame par son extrémité avec un chiffon ou un gant épais.
Enlevez le boulon, la coupelle de protection et la lame de l'axe de pivot (Figure 97).

Montez la lame, la coupelle de protection et le boulon de la lame, puis serrez le boulon à un couple de 115 à 149 N·m.
Important: Pour obtenir une coupe correcte, l'ailette de la lame doit être dirigée vers l'intérieur de l'unité de coupe.
Note: Après avoir heurté un obstacle, serrez tous les écrous des poulies d'axe à un couple de 115 à 149 N·m.
Deux parties bien précises doivent être examinées lors du contrôle et de l'entretien de la lame : l'ailette et le tranchant. Le tranchant comme l'ailette (à savoir la partie relevée à l'opposé du tranchant) contribuent tous deux à assurer la qualité de la coupe. L'ailette est importante, car elle redresse l'herbe et permet d'obtenir une coupe nette. Toutefois, elle s'use progressivement au cours de l'utilisation. À mesure que l'ailette s'use, la qualité de la coupe se dégrade, même si les tranchants de la lame restent vifs. Le tranchant de la lame doit être bien aiguisé pour couper l'herbe nettement, sans l'arracher. Si la lame est émoussée, l'herbe coupée a tendance à brunir et à être déchiquetée sur les bords. Affûtez les tranchants pour remédier à cela.
Garez la machine sur une surface plane et horizontale, levez l'unité de coupe, serrez le frein de stationnement, mettez la pédale de déplacement en position NEUTRE, placez la commande de PDF en position DéSENGAGéE, coupez le moteur et enlevez la clé de contact.
Examinez attentivement les tranchants de la lame, particulièrement au point de rencontre de la partie plane et de l'ailette (Figure 98).
Note: Le sable et les matières abrasives peuvent éroder le métal à cet endroit, c'est pourquoi il est important de contrôler l'état de la lame avant d'utiliser la tondeuse. Remplacez la lame si elle vous semble usée (Figure 98).

Examinez les tranchants de toutes les lames et aiguisez-les s'ils sont émoussés ou ébréchés (Figure 99).
Note: N'aiguisez que le haut du tranchant et conservez l'angle de coupe d'origine pour obtenir une coupe nette (Figure 99). Limez la même quantité de métal sur les deux tranchants pour ne pas déséquilibrer la lame.

Note: Déposez les lames et affûtez-les avec une meule. Une fois affûtée, remontez la lame ainsi que la coupelle de protection et le boulon de fixation ; voir Retrait et montage des lames des unités de coupe.
Avant de quitter la position d'utilisation, coupez le moteur, enlevez la clé et attendez l'arrêt complet de tout mouvement. Laissez refroidir la machine avant de la régler, d'en faire l'entretien, de la nettoyer ou de la remiser.
Ne rangez pas la machine ni les bidons de carburant à proximité d'une flamme nue, d'une source d'étincelles ou d'une veilleuse, telle celle d'un chauffe-eau ou autre appareil.
Important: Ne nettoyez pas la machine avec de l'eau saumâtre ou recyclée.
Nettoyez soigneusement le groupe de déplacement, les unités de coupe et le moteur.
Contrôlez la pression des pneus. Gonflez tous les pneus du groupe de déplacement à une pression de 0,83 à 1,03 bar.
Vérifiez le serrage de toutes les fixations et resserrez-les au besoin.
Graissez tous les graisseurs et points de pivot. Essuyez tout excès de lubrifiant.
Poncez légèrement et retouchez la peinture rayée, écaillée ou rouillée. Réparez les déformations de la carrosserie.
Procédez à l'entretien de la batterie et des câbles, comme suit :
Débranchez les câbles des bornes de la batterie.
Note: Débranchez toujours la borne négative de la batterie avant la borne positive. Branchez la borne positive avant la borne négative.
Nettoyez la batterie, les cosses des câbles et les bornes de la batterie avec une brosse métallique et un mélange de bicarbonate de soude.
Pour prévenir la corrosion, enduisez les bornes de la batterie et les cosses des câbles de graisse Grafo 112X (Skin-Over) (réf. 505-47) ou de vaseline.
Rechargez lentement la batterie tous les deux mois pendant 24 heures pour prévenir la sulfatation.
Vidangez le carter moteur et remettez en place le bouchon de vidange.
Déposez le filtre à huile et mettez-le au rebut. Posez un filtre neuf.
Versez la quantité correcte d'huile moteur dans le carter d'huile.
Tournez la clé de contact à la position CONTACT, démarrez le moteur et faites-le tourner au ralenti pendant environ 2 minutes.
Tournez la clé de contact à la position ARRêT.
Vidangez complètement le réservoir de carburant, les conduites d'alimentation et l'ensemble filtre à carburant/séparateur d'eau.
Rincez le réservoir de carburant avec du gazole propre et frais.
Branchez tous les raccords du circuit d'alimentation.
Effectuez un nettoyage et un entretien minutieux du filtre à air.
Bouchez l'entrée et l'orifice de sortie du filtre à air avec du ruban imperméable.
Vérifiez la protection antigel et faites l’appoint au besoin, selon la température minimale anticipée dans votre région.
Si les unités de coupe restent séparées du groupe de déplacement pendant un certain temps, obturez le haut des axes pour les protéger de la poussière et de l'humidité.
