| Intervalo de mantenimiento y servicio | Procedimiento de mantenimiento |
|---|---|
| Cada vez que se utilice o diariamente |
|
Esta máquina es una segadora de asiento de cuchillas rotativas, diseñada para ser usada por operadores profesionales contratados en aplicaciones comerciales. Está diseñada principalmente para cortar césped bien mantenido en parques, campos deportivos y zonas verdes comerciales. El uso de este producto para otros propósitos que los previstos podría ser peligroso para usted y para otras personas.
Lea este manual detenidamente para aprender a utilizar y mantener correctamente su producto, y para evitar lesiones y daños al producto. Usted es responsable de utilizar el producto de forma correcta y segura.
Visite www.Toro.com para buscar materiales de formación y seguridad o información sobre accesorios, para localizar un distribuidor o para registrar su producto.
Cuando necesite asistencia técnica, piezas genuinas Toro o información adicional, póngase en contacto con un Servicio Técnico Autorizado o con Asistencia al Cliente de Toro, y tenga a mano los números de modelo y serie de su producto. Figura 1 identifica la ubicación de los números de modelo y serie en el producto. Escriba los números en el espacio provisto.
Important: Con su dispositivo móvil, puede escanear el código QR de la calcomanía del número de serie (en su caso) para acceder a información sobre la garantía, las piezas, y otra información sobre el producto.

El símbolo de alerta de seguridad (Figura 2) que aparece en este manual y en la máquina identifica mensajes de seguridad importantes que usted debe observar para evitar accidentes.

El símbolo de alerta de seguridad aparece encima de información que le alerta ante acciones o situaciones inseguras, y va seguido de la palabra PELIGRO, ADVERTENCIA, o CUIDADO.
PELIGRO: Indica una situación peligrosa inminente, que si no se evita, causará la muerte o lesiones graves.
ADVERTENCIA indica una situación potencialmente peligrosa que si no se evita, podría causar la muerte o lesiones graves.
CUIDADO: Indica una situación potencialmente peligrosa que si no se evita, podría causar lesiones menores o moderadas.
Este manual utiliza dos palabras más para resaltar información. Importante llama la atención sobre información mecánica especial, y Nota resalta información general que merece una atención especial.
Este producto cumple todas las directivas europeas aplicables; si desea más detalles, consulte la Declaración de Conformidad (Declaration of Conformity – DOC) de cada producto.
El uso o la operación del motor en cualquier terreno forestal, de monte o cubierto de hierba a menos que el motor esté equipado con parachispas (conforme a la definición de la sección 4442) mantenido en buenas condiciones de funcionamiento, o que el motor haya sido fabricado, equipado y mantenido para la prevención de incendios, constituye una infracción de la legislación de California (Sección 4442 o 4443 del California Public Resource Code).
El Manual del propietario del motor adjunto ofrece información sobre las normas de la U.S. Environmental Protection Agency (EPA) y de la California Emission Control Regulation sobre sistemas de emisiones, mantenimiento y garantía. Puede solicitarse un manual nuevo al fabricante del motor.
Si la máquina está equipada con un dispositivo telemático, consulte a su distribuidor autorizado Toro para obtener instrucciones para activar el dispositivo.
CALIFORNIA
Advertencia de la Propuesta 65
Es sabido por el Estado de California que los gases de escape de los motores diesel y algunos de sus componentes causan cáncer, defectos congénitos y otros peligros para la reproducción.
Los bornes, terminales y otros accesorios de la batería contienen plomo y compuestos de plomo, productos químicos reconocidos por el Estado de California como causantes de cáncer y daños reproductivos. Lávese las manos después de manejar el material.
El uso de este producto puede provocar la exposición a sustancias químicas que el Estado de California considera causantes de cáncer, defectos congénitos u otros trastornos del sistema reproductor.
Este producto es capaz de amputar manos y pies y de lanzar objetos al aire. Siga siempre todas las instrucciones de seguridad con el fin de evitar lesiones personales graves.
Lea y comprenda el contenido de este manual del operador antes de arrancar el motor.
Preste toda su atención al utilizar la máquina. No realice ninguna actividad que genere distracciones, de lo contrario pueden producirse lesiones o daños en la propiedad.
No utilice la máquina a menos que tenga instalados y estén en funcionamiento todos los protectores y otros dispositivos de seguridad.
Mantenga las manos y los pies alejados de las piezas en movimiento. Manténgase alejado de la apertura de descarga.
Mantenga a otras personas, especialmente a los niños, alejadas del área de operación. Nunca permita a los niños utilizar la máquina.
Apague el motor, retire la llave y espere a que se detenga todo movimiento antes de dejar el puesto del operador. Deje que la máquina se enfríe antes de realizar ajustes, tareas de mantenimiento y de limpieza o de guardarla.
El uso o mantenimiento incorrecto de esta máquina puede
causar lesiones. Para reducir el peligro de lesiones, cumpla estas
instrucciones de seguridad y preste atención siempre al símbolo
de alerta de seguridad
, que significa: Cuidado, Advertencia o Peligro
– instrucción relativa a la seguridad personal. El incumplimiento
de estas instrucciones puede dar lugar a lesiones personales o la
muerte.
![]() |
Las calcomanías e instrucciones de seguridad están a la vista del operador y están ubicadas cerca de cualquier zona de peligro potencial. Sustituya cualquier pegatina que esté dañada o que falte. |





















Colocar sobre la Pieza N° 112-5297 para CE* en máquinas de la serie 4500 (Modelo Nº 30885)

Colocar sobre la Pieza N° 112-5297 para CE* en máquinas de la serie 4700 (Modelo Nº 30887)

Note: Los lados derecho e izquierdo de la máquina se determinan desde la posición normal del operador.
Piezas necesarias en este paso:
| Calcomanía de advertencia | 1 |
| Calcomanía CE | 1 |
| Calcomanía con el año de producción | 1 |
En máquinas que requieran cumplimiento CE, sustituya la calcomanía de advertencia (127-6647 [para el Modelo 30885] o 127-6648 [para el Modelo 30887]), la calcomanía CE y la calcomanía del año de fabricación (Figura 3).

Piezas necesarias en este paso:
| Soporte de la cerradura del capó | 1 |
| Remache | 2 |
| Arandela | 1 |
| Tornillo (¼" x 2") | 1 |
| Contratuerca (¼") | 1 |
Desenganche el cierre del capó del cerradero del capó.
Retire los 2 remaches que sujetan el cerradero del capó al capó (Figura 4).

Retire el cerradero del capó.
Alinee los taladros de montaje y posicione el cierre de seguridad para CE y el enganche del cierre sobre el capó (Figura 5).
Note: El cierre de seguridad debe estar en contacto directo con el capó. No retire el perno y la tuerca del brazo del seguro de cierre.

Alinee las arandelas con los taladros en el interior del capó.
Remache el seguro de cierre, el cerradero y las arandelas al capó (Figura 5).
Enganche el cierre en el cerradero del capó (Figura 6).

Instale el perno en el otro brazo del seguro de cierre del capó para bloquear la posición del cierre (Figura 7). Apriete el perno, pero no apriete la tuerca.

El rascador opcional del rodillo trasero funciona mejor con un espacio uniforme de 0,5 a 1 mm entre el rascador y el rodillo.
Afloje el engrasador y el tornillo de montaje (Figura 8).

Deslice el rascador hacia arriba o hacia abajo hasta que quede un espacio de 0,5 a 1 mm entre la varilla y el rodillo.
Apriete el engrasador y el tornillo a 41 N∙m alternando entre los dos.
Póngase en contacto con su distribuidor Toro autorizado para obtener el deflector de mulching correcto.
Limpie a fondo todos los residuos de los taladros de montaje situados en la pared trasera y la pared izquierda de la cámara.
Instale el deflector de mulching en el hueco trasero y fíjelo con 5 pernos con arandela prensada (Figura 9).

Compruebe que el deflector de mulching no interfiere con las puntas de la cuchilla y que no sobresale de la superficie de la pared trasera de la cámara.
Si utiliza la cuchilla de elevación alta con el deflector de mulching, la cuchilla podría romperse, lo que podría provocar lesiones o la muerte.
No utilice la cuchilla de alta elevación con el deflector.
Aparque la máquina en una superficie nivelada.
En máquinas Groundsmaster 4500 y 4700, desconecte los cables de las unidades de corte N.º 4 y N.º 5 (Figura 39).
En máquinas Groundsmaster 4700, abra los cierres de las unidades de corte N.º 6 y N.º 7 (Figura 42).
Baje las unidades de corte.
Accione el freno de estacionamiento.
Apague el motor y retire la llave.
Compruebe la presión de los neumáticos antes del uso; consulte Comprobación de la presión de los neumáticos.
Important: Mantenga la presión correcta en todos los neumáticos para asegurar una buena calidad de corte y un rendimiento correcto de la máquina. No use los neumáticos con presiones menores que las recomendadas.
Compruebe el nivel del lubricante del eje trasero antes de arrancar el motor por primera vez; consulte Comprobación del lubricante del eje trasero.
Compruebe el nivel de aceite del motor antes de arrancar el motor; consulte Comprobación del nivel de aceite del motor.
Compruebe el nivel del fluido hidráulico antes de arrancar el motor; consulte Comprobación del nivel de fluido hidráulico.
Compruebe el sistema de refrigeración antes de arrancar el motor; consulte Comprobación del sistema de refrigeración.
Engrase la máquina antes del uso; consulte Engrasado de cojinetes y casquillos.
Important: Si la máquina no es engrasada correctamente habrá fallos prematuros de piezas críticas.

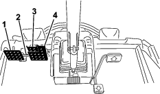
El pedal de tracción (Figura 10) controla la operación hacia delante y hacia atrás. Pise la parte superior del pedal para desplazarse hacia delante y la parte inferior para desplazarse hacia atrás. Cuando las unidades de corte están totalmente elevadas, el pedal controla la velocidad del motor y de la tracción, como en un coche.
Note: En situaciones de frenado de emergencia, levante el pie del pedal de tracción y pise los pedales de freno. Esta es la forma más rápida de detener la máquina.
Hay 2 pedales de freno que accionan frenos de rueda individuales para ayudar en los giros y en el aparcamiento, y para mejorar la tracción en pendientes de través. Un enganche conecta los pedales para el transporte y para su uso como freno de estacionamiento (Figura 10).
El enganche de bloqueo de los pedales conecta los dos pedales para poner el freno de estacionamiento (Figura 10).
Para inclinar el volante hacia usted, pise el pedal y tire de la columna de dirección hacia usted a la posición más cómoda; luego suelte el pedal (Figura 10). Para alejar el volante, pise el pedal y suéltelo cuando el volante llegue a la posición de uso deseada.
Para poner el freno de estacionamiento (Figura 10), conecte los pedales con el enganche de bloqueo, y presione el pedal derecho mientras presiona el pedal supletorio. Para quitar el freno de estacionamiento, pise uno de los pedales de freno hasta que el enganche del freno de estacionamiento se desconecte.
El interruptor de encendido (Figura 11) tiene tres posiciones: DESCONECTADO, CONECTADO/PRECALENTAMIENTO y ARRANQUE.

El interruptor de la TDF tiene dos posiciones: HACIA FUERA (ENGRANADA) y HACIA DENTRO (DESENGRANADA). Tire hacia fuera del mando de la toma de fuerza para engranar las cuchillas de la unidad de corte. Empuje el botón hacia dentro para desengranar las cuchillas de la unidad de corte (Figura 11).
Este interruptor (Figura 11) controla las 2 gamas de velocidad de la máquina, Alta y Baja.
Seleccione la posición H/L AUTO para permitir que la máquina seleccione automáticamente la velocidad alta o baja.
Seleccione la posición BAJA para seleccionar manualmente solo la baja velocidad.
Puede cambiar la posición del interruptor en cualquier momento, pero la máquina sólo cambiará entre las gamas de velocidad si el pedal de tracción está en punto muerto y la máquina está detenida.
Note: Para pasar a velocidad alta en la posición H/L AUTO, desengrane la TDF y eleve totalmente las unidades de corte.
Note: Si el interruptor está en la posición H/L AUTO, no puede bajar las carcasas de la posición totalmente elevada a menos que el pedal de tracción esté en punto muerto y la máquina esté detenida.
El interruptor del control de crucero bloquea dicho control para mantener la velocidad de avance deseada (Figura 12). Presione la parte trasera del mando para desactivar el control de crucero, la parte intermedia para activar el control de crucero y la parte delantera para establecer la velocidad de avance deseada.
Una vez ajustado el control de crucero, puede cambiar la velocidad con el InfoCenter (Figura 34).

Los interruptores de elevación elevan y bajan las unidades de corte (Figura 11). Presione los interruptores hacia adelante para bajar las unidades de corte y hacia atrás para elevar las unidades de corte. Al arrancar la máquina, con las unidades de corte bajadas, presione hacia abajo el interruptor de elevación para dejar que las unidades de corte floten y sieguen.
Note: Las unidades de corte no pueden bajarse en la gama de velocidad alta, y no pueden elevarse o bajarse si el operador no está en el asiento. Las unidades de corte también pueden bajarse con la llave en la posición de CONECTADO y el operador en el asiento.
Pulse el interruptor de las luces en la posición de ENCENDIDO para encender los faros (Figura 11).
Pulse el interruptor de las luces en la posición de APAGADO para apagar los faros.
El enchufe eléctrico (Figura 13) se utiliza para alimentar accesorios eléctricos opcionales de 12 V.

El portabolsas se utiliza para guardar objetos (Figura 13).
Mueva la palanca de ajuste del asiento en el lado del asiento hacia fuera, deslice el asiento hasta la posición deseada y suelte la palanca para fijar el asiento en esa posición (Figura 14).

Gire el pomo para ajustar el ángulo del reposabrazos (Figura 14).
Mueva la palanca para ajustar el ángulo del respaldo (Figura 14).
El indicador de peso indica si el asiento está ajustado para el peso del operador (Figura 14). Ajuste la altura situando la suspensión dentro de la zona verde.
Utilice esta palanca para ajustar el asiento según su peso (Figura 14). Tire de la palanca hacia arriba para aumentar la presión del aire, o empújela hacia abajo para reducir la presión del aire. EL ajuste correcto se obtiene estando el indicador de peso en la zona verde.
La pantalla LCD del InfoCenter (Figura 11) muestra información sobre la máquina, como por ejemplo el estado operativo, diferentes diagnósticos y otra información sobre la máquina.
Las pantallas mostradas dependen de los botones seleccionados. El propósito de cada botón puede variar dependiendo de lo que se necesite en cada momento.

| Descripción | 4500-D | Figura 15 referencia | 4700-D | Figura 15 referencia | |
|---|---|---|---|---|---|
| Anchura de corte | 280 cm | D | 380 cm | F | |
| Anchura total | |||||
| Unidades de corte bajadas | 286 cm | E | 391 cm | G | |
| Unidades de corte elevadas (transporte) | 224 cm | A | 224 cm | A | |
| Distancia entre ruedas | |||||
| Delante | 224 cm | B | 224 cm | B | |
| Trasera | 141 cm | M | 141 cm | M | |
| Altura con ROPS | |||||
| Elevado | 226 cm | C | 226 cm | C | |
| Bajado | 165 cm | 165 cm | |||
| Longitud total | |||||
| Unidades de corte bajadas | 370 cm | H | 370 cm | H | |
| Unidades de corte elevadas (transporte) | 370 cm | L | 370 cm | L | |
| Separación del suelo | 15 cm | 15 cm | |||
| Distancia entre ejes | 171 cm | K | 171 cm | K | |
| Peso neto | 1937 kg (4,270 lb) | 2277 kg (5,020 lb) | |||
| (con unidades de corte, sin combustible) | |||||
Note: Las especificaciones y diseños están sujetos a modificación sin previo aviso.
| Longitud | 86,4 cm |
| Anchura | 86,4 cm |
| Altura | 24,4 cm hasta el soporte del bastidor |
| 26,7 cm con altura de corte de 1,9 cm | |
| 34,9 cm con altura de corte de 10 cm | |
| Peso | 88 kg |
Está disponible una selección de aperos y accesorios homologados por Toro que se pueden utilizar con la máquina a fin de potenciar y aumentar sus prestaciones. Póngase en contacto con su servicio técnico autorizado o con su distribuidor Toro autorizado, o bien visite www.Toro.com para obtener una lista de todos los aperos y accesorios homologados.
Utilice solamente piezas y accesorios genuinos Toro. Las piezas de repuesto y accesorios de otros fabricantes podrían ser peligrosos, y su uso podría invalidar la garantía del producto.
Note: Los lados derecho e izquierdo de la máquina se determinan desde la posición normal del operador.
No deje nunca que la máquina sea utilizada o mantenida por niños o por personas que no hayan recibido la formación adecuada al respecto. La normativa local puede imponer límites sobre la edad del operador. El propietario es responsable de proporcionar formación a todos los operadores y mecánicos.
Familiarícese con la operación segura del equipo, los controles del operador y las señales de seguridad.
Apague el motor, retire la llave y espere a que se detenga todo movimiento antes de dejar el puesto del operador. Deje que la máquina se enfríe antes de realizar ajustes, tareas de mantenimiento y de limpieza o de guardarla.
Sepa cómo parar la máquina y apagar el motor rápidamente.
Compruebe que los controles de presencia del operador, los interruptores de seguridad y los protectores están colocados y que funcionan correctamente. No utilice la máquina si no funcionan correctamente.
Antes de segar, inspeccione siempre la máquina para asegurarse de que las cuchillas, los pernos de las cuchillas y los conjuntos de corte están en buenas condiciones de funcionamiento. Sustituya las cuchillas o los pernos gastados o dañados en conjuntos completos para no desequilibrar la máquina.
Inspeccione la zona en la que va a utilizar la máquina y retire cualquier objeto que pudiera ser arrojado por la máquina.
Este producto genera un campo electromagnético. Si usted lleva un dispositivo médico electrónico implantable, consulte a su profesional sanitario antes de utilizar este producto.
Extreme las precauciones al manejar el combustible. Es inflamable y sus vapores son explosivos.
Apague cualquier cigarrillo, cigarro, pipa u otra fuente de ignición.
Utilice solamente un recipiente de combustible homologado.
No retire la tapa de combustible ni llene el depósito de combustible si el motor está en marcha o está caliente.
No añada ni drene combustible en un lugar cerrado.
No guarde la máquina o un recipiente de combustible en un lugar donde pudiera haber una llama desnuda, chispas o una llama piloto, por ejemplo en un calentador de agua u otro electrodoméstico.
Si se derrama combustible, no intente arrancar el motor; evite crear fuentes de ignición hasta que los vapores del combustible se hayan disipado.
Antes de arrancar el motor y utilizar la máquina, compruebe el nivel de aceite de motor en el cárter; consulte Comprobación del nivel de aceite del motor.
Antes de arrancar el motor y utilizar la máquina, compruebe el sistema de refrigeración; consulte Comprobación del sistema de refrigeración.
Antes de arrancar el motor y utilizar la máquina, compruebe el sistema hidráulico; consulte Comprobación del nivel de fluido hidráulico.
Drene el agua u otros contaminantes del separador de agua; consulte Drenaje del agua del separador de agua/combustible.
Compruebe si hay fugas en el eje trasero y la caja de engranajes; consulte Comprobación de fugas en el eje trasero y la caja de engranajes.
Capacidad del depósito de combustible: 83 litros
Important: Utilice solamente combustible diésel con contenido ultrabajo en azufre. El combustible con porcentajes más altos de azufre degrada el catalizador de oxidación de diésel (DOC), lo que provoca problemas de funcionamiento y acorta la vida útil de los componentes del motor.El incumplimiento de las siguientes precauciones puede dañar el motor.
No utilice nunca queroseno o gasolina en lugar de combustible diésel.
No mezcle nunca queroseno o aceite de motor usado con el combustible diésel.
No mantenga nunca el combustible en envases chapados con zinc en el interior.
No utilice aditivos para el combustible.
Número de octanos: 45 o más
Contenido de azufre: Azufre ultrabajo (<15 ppm)
| Especificaciones de combustibles diésel | Ubicación |
| ASTM D975 | EE. UU. |
| N.º 1-D S15 | |
| N.º 2-D S15 | |
| EN 590 | Unión Europea |
| ISO 8217 DMX | Internacional |
| JIS K2204 N.º de grado 2 | Japón |
| KSM-2610 | Corea |
Utilice únicamente combustible diésel o biodiésel limpio y nuevo.
Compre el combustible en cantidades que puedan ser consumidas en 180 días para asegurarse de que el combustible es nuevo.
Utilice combustible diésel tipo verano (N.º 2-D) a temperaturas superiores a -7 °C y combustible tipo invierno (N.º 1-D o mezcla de N.º 1-D/2-D) a temperaturas inferiores a -7 °C.
Note: El uso de combustible tipo invierno a bajas temperaturas proporciona un punto de inflamación menor y características de flujo en frío que facilitan el arranque y reducen la obturación del filtro del combustible.El uso de combustible tipo verano con temperaturas por encima de los -7 °C contribuirá a alargar la vida útil de la bomba de combustible y a incrementar la potencia en comparación con el combustible tipo invierno.
Esta máquina también puede utilizar una mezcla de combustible biodiésel de hasta B20 (20 % biodiésel, 80<% petrodiésel).
Contenido de azufre: Azufre ultrabajo (<15 ppm)
Especificación de combustible biodiésel: ASTM D6751 o EN 14214
Especificación de combustible mezclado: ASTM D975, EN 590 o JIS K2204
Important: La parte de diésel de petróleo deberá tener un contenido ultrabajo en azufre.
Observe las siguientes precauciones:
Las mezclas de biodiésel pueden dañar las superficies pintadas.
Utilice B5 (contenido de biodiésel del 5 %) o mezclas menores cuando hace frío.
Vigile los retenes, las mangueras y las juntas que estén en contacto con el combustible porque pueden degradarse con el tiempo.
El filtro de combustible puede atascarse durante cierto tiempo después de la conversión a mezclas de biodiésel.
Para obtener más información sobre el biodiésel, póngase en contacto con su distribuidor Toro autorizado.


Llene el depósito hasta una distancia de 6 a 13 mm por debajo del borde superior del depósito, no del cuello de llenado, con combustible diésel n.º 2-D.
Note: Si es posible, llene el depósito de combustible después de cada uso; de esta manera se minimiza la acumulación de condensación dentro del depósito de combustible.
| Intervalo de mantenimiento y servicio | Procedimiento de mantenimiento |
|---|---|
| Cada vez que se utilice o diariamente |
|
La presión correcta de los neumáticos es de 1,38 bar.
Important: Mantenga la presión recomendada de todos los neumáticos para asegurar una buena calidad de corte y un rendimiento correcto de la máquina. No use los neumáticos con presiones menores que las recomendadas.Compruebe la presión de todos los neumáticos antes de utilizar la máquina.

| Intervalo de mantenimiento y servicio | Procedimiento de mantenimiento |
|---|---|
| Después de la primera hora |
|
| Después de las primeras 10 horas |
|
| Cada 200 horas |
|
Apriete las tuercas de las ruedas a entre 115 y 136 N∙m en el orden indicado en la Figura 18 y en la Figura 19.


Si no se mantienen correctamente apretadas las tuercas de las ruedas, podrían producirse lesiones personales.
Apriete las tuercas de las ruedas con el valor de par de apriete adecuado.
Para evitar lesiones o la muerte en caso de un vuelco: mantenga la barra antivuelco en posición elevada y bloqueada y utilice el cinturón de seguridad.
Asegúrese de que el asiento está sujeto con el cierre del asiento.
No hay protección contra vuelcos cuando la barra antivuelco está bajada.
No utilice la máquina en terrenos desiguales o en pendientes con la barra antivuelco bajada.
Baje la barra antivuelco únicamente cuando sea imprescindible.
No use el cinturón de seguridad si la barra antivuelco está bajada.
Conduzca lentamente y con cuidado.
Eleve la barra antivuelco tan pronto como haya espacio suficiente.
Compruebe cuidadosamente que hay espacio suficiente antes de conducir por debajo de cualquier objeto en alto (por ejemplo, ramas, portales, cables eléctricos) y no entre en contacto con ellos.
Important: Utilice siempre el cinturón de seguridad cuando la barra antivuelco está elevada. No utilice el cinturón de seguridad cuando la barra antivuelco está bajada.
Important: Baje la barra antivuelco únicamente cuando sea necesario.
Important: Asegúrese de que el asiento está sujeto con el cierre del asiento.


Important: Las unidades de corte rotativas a menudo cortan aproximadamente 6 mm más bajo que una unidad de corte de molinete con el mismo ajuste de taller. Puede ser necesario ajustar en el taller esta medida de las unidades de corte a 6 mm más alto que las unidades de corte con molinetes que siegan en la misma zona.
Important: El acceso a las unidades de corte traseras mejora en gran medida si se retira la unidad de corte de la máquina.
Aparque la máquina en una superficie nivelada, accione el freno de estacionamiento, baje la unidad de corte al suelo, apague el motor y retire la llave.
Afloje el perno que sujeta cada soporte de altura de corte a la pletina de altura de corte (delante y en cada lado), tal y como se muestra en la Figura 22.
Empezando con el ajuste delantero, retire el perno.

Sujetando la cámara, retire el espaciador (Figura 22).
Mueva la cámara a la altura deseada e instale el espaciador en el taladro y la ranura de altura de corte deseados (Figura 23)

Posicione la pletina con taladro roscado en línea con el espaciador.
Instale el perno con los dedos solamente.
Repita los pasos 4 a 7 para cada ajuste lateral.
Apriete los 3 pernos a entre 41 N∙m. Siempre apriete primero el perno delantero.
Note: Si se realizan ajustes de más de 3,8 cm, puede ser necesario realizar un ajuste intermedio de altura para evitar que se atasque la cámara (por ejemplo, cambiar de una altura de corte de 3,1 a 7 cm).
| Intervalo de mantenimiento y servicio | Procedimiento de mantenimiento |
|---|---|
| Cada vez que se utilice o diariamente |
|
Si los interruptores de seguridad son desconectados o están dañados, la máquina podría ponerse en marcha inesperadamente, causando lesiones personales.
No manipule los interruptores de seguridad.
Compruebe la operación de los interruptores de seguridad cada día, y sustituya cualquier interruptor dañado antes de operar la máquina.
Los interruptores de seguridad están diseñados para parar la máquina si se levanta del asiento con el pedal de tracción pisado. No obstante, puede levantarse del asiento con el motor en marcha si el pedal de tracción está en la posición de PUNTO MUERTO. Aunque el motor sigue funcionando si desengrana el mando de la TDF y suelta el pedal de tracción, apague el motor antes de levantarse del asiento.
Aparque la máquina en una superficie nivelada, ponga el freno de estacionamiento, baje las unidades de corte y gire la llave a la posición de DESCONECTADO.
Pise el pedal de tracción y gire la llave a la posición de CONECTADO.
Note: Si el motor gira, puede haber un problema con el sistema de seguridad. Corrija este problema antes de usar la máquina.
Gire la llave de contacto a la posición de CONECTADO, levántese del asiento y ponga el interruptor de la TDF en ENGRANADO.
Note: La toma de fuerza no debe engranarse. Si la toma de fuerza se engrana, hay un problema con el sistema de seguridad. Corrija este problema antes de usar la máquina.
Accione el freno de estacionamiento, gire la llave del interruptor a la posición de CONECTADO y saque el pedal de tracción de la posición de PUNTO MUERTO.
Note: El InfoCenter mostrará “tracción no permitida”, y la máquina no debe moverse. Si la máquina se mueve, hay un problema con el sistema de interruptores de seguridad. Corrija este problema antes de usar la máquina.
| Intervalo de mantenimiento y servicio | Procedimiento de mantenimiento |
|---|---|
| Cada vez que se utilice o diariamente |
|
Note: Baje las unidades de corte sobre una zona limpia de césped o superficie dura para evitar que se arrojen polvo y residuos.
Para verificar este tiempo de parada, ocupe el asiento y desengrane la TDF. Escuche las cuchillas girando y registre el tiempo que tardan en detenerse por completo. Si tardan más de 7 segundos, ajuste la válvula de frenado. Solicite ayuda a un Distribuidor Toro autorizado para realizar este ajuste.
Esta cuchilla fue diseñada para producir una elevación y dispersión excelentes en casi cualquier condición. Si se requiere mayor o menor elevación y velocidad de descarga, utilice otra cuchilla.
Atributos: Elevación y dispersión excelentes en la mayoría de las condiciones
En general, esta cuchilla ofrece un mejor rendimiento a alturas de corte menores (1,9 a 6,4 cm).
Atributos:
La descarga es más homogénea a alturas de corte menores.
La descarga tiene menos tendencia a desviarse hacia la izquierda, y proporciona un aspecto mejor alrededor de trampas de arena y calles.
Menor potencia requerida a alturas menores con césped denso.
En general, la cuchilla ofrece mejores resultados a alturas de corte mayores (7 a 10 cm).
Atributos:
Más elevación y mayor velocidad de descarga.
La hierba escasa o caída es recogida mejor a alturas de corte mayores
Los recortes mojados o pegajosos son descargados más eficazmente, reduciendo la congestión dentro de la unidad de corte.
Requiere más potencia
Tiende a descargar más hacia la izquierda, y a quedar dispuesta en hileras a alturas de corte menores
Si utiliza una cuchilla de elevación alta con el deflector de mulching, la cuchilla podría romperse, lo que podría provocar lesiones o la muerte.
No utilice la cuchilla de alta elevación con el deflector de mulching.
Esta cuchilla fue diseñada para producir un mulching de hojas excelente.
Atributo: Excelente mulching (picado) de hojas
| Cuchilla con vela de ángulo estándar | Cuchilla de vela paralela de alta elevación(No utilizar con deflector de mulching) | Deflector de mulching | Rascador del rodillo | |
| Siega: Altura de corte de 1,9 a 4,4 cm | Recomendada para la mayoría de las aplicaciones | Puede funcionar bien en césped ligero o escaso | Se ha demostrado que mejora la dispersión y el rendimiento después del corte, en hierbas norteñas cortadas al menos tres veces por semana, cortando menos de un tercio de la hoja de hierba. No utilizar con la cuchilla de vela paralela de alta elevación | Utilícelo cuando se observe acumulación de hierba o grandes acumulaciones de recortes. Los rascadores pueden aumentar la acumulación de recortes en determinadas aplicaciones. |
| Siega: Altura de corte de 5 a 6,4 cm | Recomendada para césped espeso o abundante | Recomendada para césped ligero o escaso | ||
| Siega: Altura de corte de 7 a 10 cm | Puede funcionar bien en césped abundante | Recomendada para la mayoría de las aplicaciones | ||
| Mulching (picado) de hojas | Recomendada para su uso con el deflector de mulching | No se permite | Utilizar únicamente con la cuchilla de vela de combinación, Atomic o de ángulo | |
| A favor | Descarga homogénea a alturas de corte menores; aspecto más limpio alrededor de búnkers y calles, necesita menos potencia. | Más elevación y mayor velocidad de descarga; la hierba escasa o caída se recoge alturas de corte elevadas; los recortes mojados o pegajosos se descargan de forma eficaz | Puede mejorar la dispersión y el aspecto en determinadas aplicaciones de siega; muy bueno para el mulching de hojas. | Reduce las acumulaciones en el rodillo en determinadas aplicaciones. |
| En contra | No levanta bien la hierba en aplicaciones de alta altura de corte. La hierba mojada o pegajosa tiende a acumularse en la cámara, por lo cual se obtiene una calidad de corte deficiente y se requiere un consumo mayor de energía | Se necesita más energía para funcionar en algunas aplicaciones; tiende a quedar dispuesta en hileras a alturas de corte menores en el caso de hierba frondosa; no utilice con deflector de mulching. | Se acumulará hierba en la cámara si se intenta retirar demasiada hierba con el deflector instalado. |
La pantalla muestra información sobre la máquina como, por ejemplo, el estado operativo, diferentes diagnósticos y otra información sobre la máquina. Hay varias pantallas diferentes. Puede cambiar entre las pantallas en cualquier momento pulsando cualquiera de los botones de la pantalla y luego seleccionando la tecla de flecha correspondiente.

Note: El propósito de cada botón puede variar dependiendo de lo que se necesite en cada momento. El icono de cada botón indicará su función en cada momento.
![]() | Horímetro |
![]() | Ajustes de tope virtual del pedal |
![]() | El operador debe sentarse en el asiento. |
![]() | El freno de estacionamiento está accionado. |
![]() | Temperatura del refrigerante del motor (°C o °F) |
![]() | Tracción o Pedal de tracción |
![]() | El control de crucero está activado. |
![]() | Solicitud de regeneración en espera o de restablecimiento |
| Solicitud de regeneración de recuperación o con la máquina aparcada | |
![]() | Se está procesando una regeneración de recuperación o con la máquina aparcada. |
![]() | Alta temperatura de los gases de escape |
![]() | Funcionamiento deficiente del diagnóstico de control de NOx; lleve la máquina al taller y póngase en contacto con su distribuidor Toro autorizado (versión de software U y posteriores). |
![]() | La toma de fuerza está desactivada. |
![]() | La TDF está engranada. |
![]() | Batería |
![]() | Advertencia |
![]() | Activar |
![]() | Inactivo |
![]() | Anterior |
![]() | Siguiente |
![]() | Aumentar |
![]() | Reducir |
![]() | Pantalla anterior |
![]() | Siguiente pantalla |
![]() | Aumentar el valor |
![]() | Reducir el valor |
![]() | Menú |
![]() | Desplazamiento hacia arriba/hacia abajo |
![]() | Desplazamiento hacia la izquierda/hacia la derecha |
![]() | Temperatura del fluido hidráulico (°C o °F) |
![]() | Rápido o rango alto (transporte) |
![]() | Lento o rango bajo (siega) |
![]() | Ventilador (inversión del ventilador) |
![]() | Todas las unidades de corte arriba |
![]() | Todas las unidades de corte abajo |
![]() | Unidades de corte centrales arriba |
![]() | Unidades de corte centrales abajo |
![]() | Unidades de corte izquierdas arriba |
![]() | Unidades de corte izquierdas abajo |
![]() | Unidades de corte derechas arriba |
![]() | Unidades de corte derechas abajo |
![]() | Bloqueado |
Accesible
solo al introducir el PIN
Para entrar en el sistema de menús del InfoCenter, pulse el botón de acceso a los menús en la pantalla principal. Aparecerá el Menú principal. Las tablas siguientes contienen un resumen de las opciones disponibles en cada menú.
| Menú principal – Elemento de menú | Descripción |
| Faults | El menú Faults (Fallos) contiene una lista de los fallos recientes de la máquina. Consulte el Manual de mantenimiento o póngase en contacto con su Distribuidor Autorizado Toro si desea más información sobre el menú Fallos y la información que contiene. |
| Service (Mantenimiento) | El menú Service (Mantenimiento) contiene información sobre la máquina, como por ejemplo horímetros de uso y otros datos similares. |
| Diagnostics (Diagnósticos) | El menú Diagnostics (Diagnósticos) muestra el estado del sensor de cada interruptor de la máquina y de la salida de cada control. Puede utilizar esta información para identificar y resolver algunos problemas, puesto que indica rápidamente qué controles de la máquina están ACTIVADOS/ENCENDIDOS, y cuáles están DESACTIVADOS/APAGADOS. |
| Settings (Ajustes) | El menú Settings (Ajustes) permite personalizar y modificar las variables de configuración de la pantalla. |
| Ajustes de la máquina | El menú Ajustes de la máquina permite ajustar la aceleración, la velocidad y los umbrales de contrapeso. |
| About (Acerca de) | El menú About (Acerca de) muestra el número de modelo, el número de serie y la versión del software de su máquina. |
| Service (Servicio) – Elemento de menú | Descripción |
| Hours (Horas) | Muestra el número total de horas de operación de la máquina, el motor y la TDF, así como el número de horas de transporte y el mantenimiento previsto. |
| Counts | Muestra los diferentes contadores de la máquina. |
Pedal de tracción![]() | |
Bomba de tracción![]() | |
| Ventilador | Indica si el ventilador está activado en los siguientes casos: Alta temperatura del motor, alta temperatura del aceite, alta temperatura del motor o del sistema hidráulico, y ventilador encendido |
| Caudal de combustible | Muestra el caudal de combustible que se está utilizando. |
| DPF Regeneration (Regeneración del DPF) | La opción de la regeneración del filtro de partículas diésel (DPF) y los submenús |
| Diagnostics (Diagnóstico) – Elemento de menú | Descripción |
| Left Cutting Unit | Consulte el Manual de mantenimiento o a su distribuidor autorizado Toro si desea obtener más información sobre el menú Engine Run (Motor – marcha) y la información que contiene. |
| Center Cutting Unit | |
| Right Cutting Unit | |
| Traction | |
| HI/LO Range | |
| PTO | |
| Engine | |
Estadísticas CAN![]() |
| Settings (Ajuste) – Elemento de menú | Descripción |
| Enter PIN (Introducir PIN) | Permite que una persona (superintendente o mecánico) autorizada por la empresa con código PIN acceda a los menús protegidos. |
| Backlight (Retroiluminación) | Controla el brillo de la pantalla LCD. |
| Language (Idioma) | Controla el idioma utilizado en el InfoCenter*. |
| Font Size (Tamaño de fuente) | Controla el tamaño de la fuente en la pantalla. |
| Units (Unidades) | Controla las unidades utilizadas en el InfoCenter (inglés o métrico). |
Menús protegidos![]() | Permite que una persona autorizada por la empresa con el código PIN pueda acceder a los menús protegidos |
Protect Settings (Proteger ajustes)![]() | Permite modificar los ajustes de los menús protegidos. |
Note: El menú Ajustes de la máquina sólo aparece cuando se introduce el PIN.
Ajustes de la máquina - Elemento del menú![]() | Descripción |
Velocidad de siega ![]() | Controla la velocidad máxima en el modo de siega (gama baja) |
Velocidad de transporte ![]() | Controla la velocidad máxima en el modo de transporte (gama alta) |
Smart Power ![]() | Activa y desactiva Smart Power |
Contrapeso ![]() | Controla la cantidad de contrapeso aplicada por las unidades de corte |
Giro ![]() | Activa y desactiva el Giro |
Aceleración ![]() | Los ajustes Baja, Media y Alta controlan la rapidez con la que reacciona la velocidad de tracción al mover el pedal de tracción. |
Protegido
en Protected Menus (Menús protegidos) – accesible solo
al introducir el PIN
| About (Acerca de) – Elemento de menú | Descripción |
| Model | Muestra el número de modelo de la máquina. |
| SN | Muestra el número de serie de la máquina. |
| Machine Controller Revision | Indica la versión de software del controlador maestro. |
| Revisión S/W | Indica la revisión de software del controlador principal. |
Versión del InfoCenter![]() | Indica la versión de software del InfoCenter |
Software secundario![]() | Muestra el número de pieza y la versión del controlador de la unidad de corte del modelo Groundsmaster 4700. |
| Fase V | Muestra sí o no, según el motor. |
Algunas opciones de configuración operativa pueden modificarse en el menú AJUSTES del InfoCenter. Para bloquear estos ajustes, utilice el MENú PROTEGIDO.
Note: Su distribuidor programa la contraseña inicial en el momento de la entrega de la máquina.
Note: El PIN predeterminado de fábrica de la máquina es 0000 o bien 1234.Si ha cambiado el código PIN y lo ha olvidado, póngase en contacto con su Distribuidor Autorizado Toro para obtener ayuda.
En el menú PRINCIPAL, vaya al menú AJUSTES y pulse el botón Seleccionar (Figura 25).

En el menú AJUSTES, vaya a INTRODUCIR PIN y pulse el botón Seleccionar (Figura 26A).

Para introducir el código PIN, presione los botones de navegación Arriba/Abajo hasta que aparezca el primer dígito correcto y, a continuación, pulse el botón de navegación Derecha para desplazarse al dígito siguiente (Figura 26B y Figura 26C). Repita este paso hasta que haya introducido el último dígito.
Pulse el botón Seleccionar.
Note: Si la pantalla acepta el código PIN y el menú protegido se desbloquea, aparece la palabra “PIN” en la esquina superior derecha de la pantalla.
Para bloquear el menú Protegido, gire el interruptor de encendido a la posición DESCONECTADO y luego a la posición CONECTADO.
En SETTINGS (Ajustes), vaya a PROTECT SETTINGS (Proteger ajustes).
Para ver y modificar los ajustes sin introducir un
código PIN, utilice el botón de selección para
cambiar PROTECT SETTINGS (Proteger ajustes)
a
(Desactivado).
Para ver y modificar los ajustes con un código
PIN, utilice el botón Seleccionar para cambiar PROTEGER CONFIGURACIóN a
(Activado), introduzca
el código PIN y gire la llave del interruptor de encendido
a la posición de DESCONECTADO y
luego a la posición de CONECTADO.
El temporizador de mantenimiento programado reinicia a cero las horas restantes para el siguiente mantenimiento después de realizar un procedimiento de mantenimiento programado.
En AJUSTES, vaya a INTRODUCIR PIN y pulse el botón Seleccionar.
Introduzca el PIN; consulte Acceso a los Menús protegidos.
En SERVICE (Mantenimiento), vaya a HOURS (Horas) y pulse el botón Seleccionar.
Desplácese hacia abajo a SERVICE DUE (Mantenimiento pendiente).
Note: Si hay mantenimiento pendiente, aparece NOW (Ahora) junto a SERVICE DUE (Mantenimiento pendiente).
Resalte el símbolo de mantenimiento y pulse el botón Seleccionar.
Note: El intervalo de mantenimiento (250 horas, 500 horas, etc.) está situado junto al SERVICE DUE (Mantenimiento pendiente). Service interval (intervalo de mantenimiento) es un elemento de menú protegido.
Cuando aparezca la pantalla RESET SERVICE TIMER? (¿Resetear temporizador de mantenimiento?, pulse el botón Seleccionar para contestar SÍ o el botón Atrás para contestar NO.
Después de seleccionar YES (Sí), la pantalla de intervalos se borra, y vuelve luego a las selecciones Service Hours (Horas de mantenimiento).
El ajuste seleccionado se muestra como X en el gráfico de barras de control de la velocidad de tracción, junto con los ajustes de control de crucero y tope del pedal. Una X en una barra indica que la velocidad máxima está limitada por el supervisor (Figura 31).
Note: Este ajuste se guarda en la memoria y se aplica a la velocidad de tracción hasta que lo cambie.
En AJUSTES DE LA MáQUINA, vaya a VELOCIDAD DE SIEGA.
Utilice los botones de navegación izquierdo y derecho para aumentar la velocidad de siega máxima en incrementos del 5 % en la pantalla principal y en incrementos del 10 % en el menú MACHINE SETTINGS (Ajustes de la máquina). El rango de la pantalla principal es del 10 al 100 % y el rango de MACHINE SETTINGS (Ajustes de la máquina) es del 30 al 100 %.
El ajuste seleccionado se muestra como X en el gráfico de barras de control de la velocidad de tracción, junto con los ajustes de control de crucero y tope del pedal. Una X en una barra indica que la velocidad máxima está limitada por el supervisor (Figura 31).
Note: Este ajuste se guarda en la memoria y se aplica a la velocidad de tracción hasta que lo cambie.
En AJUSTES DE LA MáQUINA, vaya a VELOCIDAD DE TRANSPORTE.
Utilice los botones de navegación izquierdo y derecho para aumentar la velocidad de siega máxima en incrementos del 5 % en la pantalla principal y en incrementos del 10 % en el menú MACHINE SETTINGS (Ajustes de la máquina). El rango de la pantalla principal es del 10 al 100 % y el rango de MACHINE SETTINGS (Ajustes de la máquina) es del 30 al 100 %.
En AJUSTES, vaya a SMART POWER.
Pulse el botón de navegación Derecha para cambiar entre ON (Activado) y OFF (Desactivado).
En AJUSTES DE LA MáQUINA, vaya a CONTRAPESO.
Pulse el botón de navegación Derecha para seleccionar Contrapeso y para cambiar entre los valores LOW (Bajo), MEDIUM (Medio) y HIGH (Alto).
En AJUSTES DE LA MáQUINA, vaya a ACELERACIóN.
Pulse el botón de navegación Derecha para cambiar entre LOW (Baja), MEDIUM (Media) y HIGH (Alta).
En el menú SETTINGS (Ajustes), desplácese hacia abajo hasta TURNAROUND (Giro).
Pulse el botón derecho para cambiar entre ON (Activado) y OFF (Desactivado).
Note: Para mayor comodidad, puede que decida realizar una regeneración con la máquina aparcada antes de que la carga de hollín llegue al 100 %, siempre que el motor haya estado en funcionamiento 50 horas desde que se realizara con éxito la última regeneración de restablecimiento, con la máquina aparcada o de recuperación.
Utilice el menú Technician (Técnico) para ver el estado actual del control de regeneración del motor y el nivel de hollín actual.
En AJUSTES, vaya a REGENERACIóN DEL DPF y pulse el botón Seleccionar.
En DPF REGENERATION (regeneración del DPF), vaya a TECHNICIAN (Técnico) y pulse el botón Seleccionar.


Rojo intermitente — fallo activo
Rojo fijo — aviso activo
Azul fijo — Mensajes de calibración/diálogo
Verde fijo — operación normal
Esta máquina muestra las velocidades de tracción estimadas en porcentaje.
La velocidad se muestra entre el 10 y el 100 % en las pantallas de control de crucero y de tope virtual del pedal y se muestra entre el 30 y el 100 % en el menú MACHINE SETTINGS (Ajustes de la máquina).
Al arrancar la máquina en temperaturas bajas, el modo de precalentamiento limita la velocidad del motor a ralentí bajo durante un breve periodo después de arrancar el motor para evitar posibles daños a los componentes debido al uso de la máquina con aceite frío.
Un icono en forma de copo de nieve
en la pantalla del InfoCenter
indica que el modo de precalentamiento está activado. No haga
funcionar la máquina hasta después del periodo de precalentamiento.
El propietario/operador puede prevenir y es responsable de cualquier accidente que pudiera provocar lesiones personales o daños materiales.
Lleve ropa adecuada, incluida protección ocular, pantalones largos, calzado resistente y antideslizante y protección auricular. Si tiene el pelo largo, recójaselo, y no lleve prendas o joyas sueltas.
No utilice la máquina si está enfermo, cansado o bajo la influencia de alcohol o drogas.
Preste toda su atención al utilizar la máquina. No realice ninguna actividad que genere distracciones, de lo contrario pueden producirse lesiones o daños en la propiedad.
Antes de arrancar el motor, asegúrese de que todas las transmisiones están en punto muerto, de que el freno estacionamiento está accionado y de que usted se encuentra en la posición del operador.
No lleve pasajeros en la máquina y mantenga a otras personas alejadas de la zona de trabajo.
Utilice la máquina únicamente con buena visibilidad para evitar agujeros y peligros ocultos.
Evite segar la hierba mojada. La reducción de la tracción podría hacer que la máquina se resbalara.
Mantenga las manos y los pies alejados de las piezas en movimiento. Manténgase alejado de la apertura de descarga.
Mire hacia atrás y hacia abajo antes de poner marcha atrás para asegurarse de que el camino está despejado.
Tenga cuidado al acercarse a esquinas ciegas, arbustos, árboles u otros objetos que puedan dificultar la visión.
Pare las cuchillas si no está segando.
Detenga la máquina, retire la llave y espere a que todas las piezas en movimiento se detengan antes de inspeccionar el accesorio después de golpear un objeto o si se produce una vibración anormal en la máquina. Realice todas las reparaciones necesarias antes de volver a utilizar la máquina.
Vaya más despacio y tenga cuidado al girar y al cruzar calles y aceras con la máquina. Ceda el paso siempre.
Desengrane la transmisión de la unidad de corte, apague el motor, retire la llave y espere a que se detenga todo movimiento antes de ajustar la altura de corte (a menos que pueda ajustarse desde la posición del operador).
Accione el motor únicamente en áreas bien ventiladas. Los gases de escape contienen monóxido de carbono, que resulta letal si se inhala.
No deje nunca desatendida la máquina si está funcionando.
Antes de dejar el puesto del operador, realice lo siguiente:
Aparque la máquina en una superficie nivelada.
Desengrane la toma de fuerza y baje los accesorios.
Accione el freno de estacionamiento.
Apague el motor y retire la llave.
Espere a que se detenga todo movimiento.
Utilice la máquina únicamente con buena visibilidad. No utilice la máquina cuando exista riesgo de caída de rayos.
No utilice la máquina como un vehículo de remolcado.
Utilice solamente los accesorios, los aperos y las piezas de repuesto aprobados por Toro.
Utilice el control de crucero (si está instalado) únicamente cuando pueda utilizar la máquina en una zona abierta, llana y libre de obstáculos, y donde la máquina pueda desplazarse a una velocidad constante sin interrupción.
El ROPS es un dispositivo de seguridad integrado y eficaz.
No retire ninguno de los componentes del ROPS de la máquina.
Asegúrese de que el cinturón de seguridad está sujeto a la máquina.
Tire del cinturón sobre el regazo y conéctelo a la hebilla en el otro lado del asiento.
Para desabrochar el cinturón de seguridad, sujete el cinturón, pulse el botón de la hebilla para soltar el cinturón y guié el cinturón hasta el orificio de recogida automática. Asegúrese de que puede desabrochar rápidamente el cinturón de seguridad en caso de emergencia.
Compruebe detenidamente si hay obstrucciones sobre la máquina y no entre en contacto con ellas.
Mantenga el ROPS en condiciones seguras de funcionamiento, inspeccionándolo periódicamente en busca de daños y manteniendo bien apretados todas las fijaciones de montaje.
Sustituya los componentes del ROPS dañados. No los repare ni los modifique.
Una cabina instalada por Toro es una barra antivuelco.
Lleve puesto siempre el cinturón de seguridad.
Si la barra antivuelco es plegable, manténgala en la posición elevada y bloqueada y lleve puesto el cinturón de seguridad mientras utilice la máquina con la barra antivuelco elevada.
Una barra antivuelco plegable puede bajarse temporalmente, pero sólo cuando sea necesario. No lleve el cinturón de seguridad cuando la barra antivuelco está bajada.
Sepa que no hay protección contra vuelcos cuando la barra antivuelco está plegada.
Inspeccione la zona de siega, y no baje nunca una barra antivuelco plegable en zonas donde existan pendientes, taludes o agua.
Las pendientes son una de las principales causas de accidentes por pérdida de control y vuelcos, que pueden causar lesiones graves o la muerte. Usted es responsable de la seguridad cuando trabaja en pendientes. La conducción de la máquina en pendientes requiere extremar la precaución.
Evalúe las condiciones del lugar de trabajo para determinar si es seguro trabajar en la pendiente con la máquina; puede ser necesario realizar un estudio detallado de la zona. Aplique siempre el sentido común y un buen criterio a la hora de realizar esta valoración.
Consulte las instrucciones sobre el uso de la máquina en pendientes indicadas a continuación para determinar si puede utilizar la máquina con las condiciones del día y del lugar concretos. Los cambios en el terreno pueden producir un cambio en el funcionamiento de la máquina en pendientes.
Evite arrancar, parar o girar la máquina en cuestas o pendientes. Evite realizar cambios bruscos de velocidad o de dirección. Realice giros de forma lenta y gradual.
No utilice la máquina en condiciones que puedan comprometer la tracción, la dirección o la estabilidad de la máquina.
Retire o señale obstrucciones como terraplenes, baches, surcos, montículos, rocas u otros peligros ocultos. La hierba alta puede ocultar obstrucciones. Un terreno irregular podría hacer volcar la máquina.
Tenga en cuenta que conducir en hierba mojada, atravesar pendientes empinadas, o bajar cuestas puede hacer que la máquina pierda tracción. La pérdida de tracción de las ruedas motrices puede hacer que la máquina patine, así como sufrir pérdida de frenado o de dirección.
Extreme las precauciones cuando utilice la máquina cerca de terraplenes, fosas, taludes, obstáculos de agua u otros obstáculos. La máquina podría volcar repentinamente si una rueda pasa por el borde de un terraplén o fosa, o si se socava un talud. Establezca un área de seguridad entre la máquina y cualquier peligro.
Identifique peligros situados en la base de la pendiente. Si hay algún peligro, siegue la pendiente con una máquina controlada por un peatón.
Si es posible, mantenga la(s) unidad(es) de corte bajada(s) hasta el suelo al utilizar la máquina en pendientes. Si la(s) unidad(es) de corte se eleva(n) en pendientes, la máquina puede desestabilizarse.
Extreme las precauciones cuando utilice sistemas de recogida de hierba u otros accesorios. Estos pueden cambiar la estabilidad de la máquina y causar pérdidas de control.
Esta máquina tiene un acelerador tipo automóvil, controlado por el pedal de tracción.
Esta máquina no tiene ningún otro mando o palanca del acelerador.
Cuando usted retira el pie del pedal de tracción, la máquina frena dinámicamente y se detiene.
Los pedales están optimizados para ofrecer una respuesta reactiva pero estable, lo que le permite mantener un control uniforme sobre terrenos irregulares, y al mismo tiempo frenar de manera rápida y suave.
Durante el transporte, el pedal de tracción funciona de forma similar a un automóvil, variando la velocidad del motor y la de tracción dependiendo de la posición del pedal de tracción.
Durante la siega, la velocidad del motor aumenta automáticamente a ralentí alto.
Si el motor está a ralentí bajo, al realizar funciones como elevar las unidades de corte o pisar el pedal de tracción, se aumenta la velocidad del motor hasta una velocidad de trabajo mínima, a fin de obtener la potencia suficiente para realizar la función de forma eficiente.
Limite el tiempo de ralentí de la máquina según lo recomendado para la regeneración del filtro de partículas diésel (DPF). Apague la máquina para evitar un tiempo de ralentí prolongado.
Las velocidades máximas configuradas en el menú protegido por PIN son establecidas por el supervisor para limitar la velocidad de tracción máxima de la máquina.
Las velocidades de tracción obtenibles por el uso del pedal de tracción, el control de crucero y el tope del pedal no pueden superar las velocidades máximas establecidas en el menú protegido por PIN.
Si arranca el motor y la temperatura del fluido hidráulico es baja, la velocidad del motor aumenta automáticamente para optimizar el funcionamiento y calentar la máquina. La velocidad del motor vuelve automáticamente a ralentí bajo cuando el fluido hidráulico alcanza la temperatura de operación normal.
En condiciones de uso normales, esta máquina está diseñada para funcionar en la posición H/L AUTO del interruptor de gamas de velocidad (Figura 29). Esta posición permite que la máquina cambie automáticamente entre las gamas de velocidad alta y baja, dependiendo de si se utiliza la máquina para segar o para el transporte.
Cuando se selecciona la posición BAJA del interruptor de gamas de velocidad (Figura 29), la máquina funciona siempre en la gama de velocidad baja. Este ajuste es preferible para desplazamientos dentro de un taller, para cargar o descargar la máquina de un remolque, para subir cuestas empinadas o en cualquier otra situación en la que no se desee utilizar las altas velocidades de tracción de la gama de velocidad alta.
Si hay un obstáculo en su camino, eleve las unidades de corte para segar alrededor del mismo.
Para transportar la máquina entre diferentes áreas de trabajo, seleccione la gama AUTO HI/LOW, desengrane la TDF y eleve totalmente las unidades de corte. Esto permite que el pedal de tracción funcione como en un automóvil.
Siempre conduzca lentamente en terrenos irregulares.
Para familiarizarse con las características de la máquina, practique su manejo.
Eleve las unidades de corte, quite el freno de estacionamiento, pise el pedal de tracción hacia adelante y conduzca con cuidado a un espacio abierto.
Practique la conducción de la máquina, porque tiene una transmisión hidrostática y sus características pueden ser distintas a otras máquinas de mantenimiento de césped.
Practique la conducción hacia adelante y hacia atrás, y el arranque y la parada de la máquina. Para detener la máquina, quite el pie del pedal de tracción y déjelo volver a PUNTO MUERTO.
Note: Al bajar una pendiente en la máquina, posiblemente tenga que pisar el pedal de marcha atrás para parar.
Quite el pie del pedal de tracción y pise los pedales de freno para detenerse rápidamente.
Practique la conducción alrededor de obstáculos con las unidades de corte elevadas y bajadas. Tenga cuidado al conducir entre objetos para no dañar la máquina ni las unidades de corte.
Esta máquina está equipada con 2 gamas de velocidad de tracción; baja y alta. El interruptor de gamas de velocidad le permite seleccionar las posiciones siguientes (Figura 29):
Gama alta/baja automática:
Si selecciona la posición H/L AUTO, la máquina puede seleccionar automáticamente entre las gamas de velocidad alta y baja. La posición H/L AUTO es comparable a seleccionar D (marcha) en un automóvil con transmisión automática.
Note: Para evitar posibles daños al césped, la máquina sólo cambiará entre las gamas baja y alta cuando el pedal de tracción esté en la posición de PUNTO MUERTO y las ruedas se hayan detenido.
Note: Las unidades de corte no pueden ser bajadas desde la posición de transporte mientras se conduce la máquina en la gama de velocidad alta.
Cuando está seleccionada la posición H/L AUTO y las unidades de corte están bajadas para la siega, la velocidad está limitada a la gama de velocidad baja.
Para cambiar a la gama de velocidad alta, seleccione la posición H/L AUTO en el interruptor de gamas de velocidad, desengrane la TDF y eleve totalmente las unidades de corte.
Cuando está seleccionada la posición H/L AUTO, la máquina cambiará automáticamente entre las gamas de tracción alta y baja, dependiendo de la posición de las unidades de corte y/o de la posición del interruptor de la TDF.
Gama baja:
La selección de la posición BAJA del interruptor limita la máquina a la gama de velocidad baja en todo momento. La posición BAJA es comparable a seleccionar 2, 1 O L en un automóvil con transmisión automática.
Cuando está seleccionada la posición BAJA, la máquina funciona solamente en la gama baja.
Utilice la posición BAJA para cargar la máquina en un remolque o para desplazarse en espacios reducidos como un taller.

Este pedal controla la velocidad hacia adelante y hacia atrás de la máquina, y el frenado dinámico cuando vuelve a punto muerto.
El pedal de tracción es un acelerador tipo automóvil; la velocidad del motor y la velocidad de la máquina responden al movimiento del pedal.
Durante el transporte, el pedal de tracción funciona de forma similar a un automóvil, variando la velocidad del motor y la de tracción dependiendo de la posición del pedal de tracción.
Durante la siega, el motor aumenta la velocidad automáticamente a ralentí alto para optimizar el rendimiento de siega, y el pedal de tracción controla solamente la velocidad de tracción.
Cuanto más se presiona el pedal hacia adelante o hacia atrás, más rápidamente se desplaza la máquina.
Para controlar la máquina y que se detenga suavemente mientras esté en movimiento o segando, utilice el pie para que el pedal de tracción vuelva a la posición de punto muerto a la velocidad que desee.
Para accionar el frenado máximo, retire el pie del pedal de tracción y deje que vuelva a punto muerto. La máquina frena dinámicamente y se detiene.
Este sistema de tracción le permite personalizar los ajustes de aceleración para su comodidad y para adaptarse a las condiciones del campo. Consulte Modo de aceleración para obtener información sobre el cambio de los ajustes.

Al utilizar la función de tope virtual del pedal (VPS) puede ajustar los límites temporales de velocidad de tracción máxima tanto para el rango de siega como el de transporte.
Para acceder a esta función, seleccione el botón de navegación arriba o abajo del InfoCenter desde el menú principal (Figura 31).
Utilice el VPS para cambiar la velocidad de tracción máxima y que se ajuste a su nivel de comodidad o a la aplicación.
No puede ajustar el límite de velocidad de VPS a una velocidad superior a la velocidad de tracción máxima protegida por el supervisor.
El VPS es un ajuste temporal. Esta función vuelve a los ajustes de velocidad establecidos por el supervisor cuando la llave se gira a la posición de DESCONECTADO.
Cuando el supervisor cambia la velocidad de tracción en los ajustes del menú protegido, o bien la cambia usted a través de VPS, el pedal de tracción se reprograma automáticamente para utilizar el recorrido completo del pedal entre la posición de punto muerto y el nuevo ajuste de velocidad máxima.
Al bajar los ajustes de velocidad de tracción máxima puede controlar con precisión el sistema de tracción.

Mientras use el VPS, baje temporalmente la velocidad máxima en las siguientes tareas:
Siega de pasada de retoque en la calle.
Funcionamiento en el taller de mantenimiento o cerca del mismo.
Carga de la máquina en un remolque.
Note: Una velocidad máxima inferior aumenta el control al realizar estas tareas.
Important: En situaciones de frenado de emergencia, levante el pie del pedal de tracción y pise los pedales de freno.
En la gama de velocidad baja solamente, puede usar los frenos de forma individual para girar o para mejorar la tracción. Realice lo siguiente al usar los frenos de forma individual:
Desconecte el enganche del bloqueo de los pedales (Figura 32).
Para hacer un giro asistido, pise el pedal de freno correspondiente al lado hacia el cual desea girar. Esto permite realizar giros más cerrados.
Note: Utilice los frenos individuales con cuidado, sobre todo en hierba blanda o húmeda, porque el césped se puede desgarrar de forma accidental.
Para la asistencia en la tracción, pise ligeramente el pedal del freno correspondiente al neumático delantero que esté patinando. Por ejemplo, en ciertas condiciones de pendiente, la rueda que está 'cuesta arriba' resbala y pierde la tracción. Si esto ocurre, pise el pedal de freno de esa rueda de forma gradual e intermitente hasta que la rueda que está ‘cuesta arriba’ deje de resbalar; esta acción aumenta la tracción en la otra rueda.

El interruptor del control de crucero bloquea dicho control para mantener la velocidad de avance deseada. Presione la parte trasera del mando para desactivar el control de crucero, la parte intermedia para activar el control de crucero y la parte delantera para establecer la velocidad de avance deseada.
Después de activar el interruptor del control de crucero y establecer la velocidad (Figura 33), utilice el InfoCenter para ajustar la velocidad del control de crucero (Figura 31 y Figura 34).
Para desengranar el control de crucero, realice lo siguiente:
Si está en la gama de velocidad alta, pise el pedal de tracción hacia atrás, pise los frenos de servicio, o bien presione el interruptor del control de crucero hasta la posición de DESACTIVADO.
Si está en la gama de velocidad baja, pise el pedal de tracción hacia atrás, pise los frenos de servicio, desengrane el mando de la TDF o presione el interruptor de control de crucero hasta la posición de DESACTIVADO.

Establezca una velocidad de crucero para grandes distancias sin muchos obstáculos.
En terrenos irregulares, utilice el InfoCenter para controlar la velocidad.
Utilice el control de crucero en los giros como se indica a continuación:
Ajuste el control de crucero para una velocidad más lenta con la que se encuentre cómodo y seguro durante los giros.
Pise el pedal de tracción para aumentar la velocidad durante la pasada de siega.
Quite el pie del pedal al girar para iniciar la siguiente pasada de siega.
La máquina se ralentiza hasta la velocidad baja del control de crucero, lo que le permite hacer un giro eficiente a una velocidad constante.
Después de girar, utilice el pedal de tracción para aumentar la velocidad de la máquina de nuevo para la siguiente pasada de siega.
Este ajuste determina la rapidez con la que la máquina cambia la velocidad de tracción y lleva a cabo la desaceleración de la máquina en la gama de velocidad baja. Entre en los menús protegidos del InfoCenter para cambiar el modo de aceleración. El modo de aceleración tiene las 3 posiciones siguientes:
Low (Baja) – aceleración y desaceleración bajas
Medium (Media) – aceleración y desaceleración medias
High (Alta) – aceleración y desaceleración altas
Con el modo de giro, puede elevar de forma cómoda y con un solo toque las unidades de corte encima del césped mientras se detienen temporalmente las cuchillas, de modo que puede centrarse en maniobrar con la máquina al final de una pasada de corte o mientras esquiva otros obstáculos.
Note: El modo de giro es una función en los ajustes protegidos.
Con el modo de giro ACTIVADO, presione momentáneamente el interruptor de elevación hacia atrás (Figura 11) para elevar automáticamente todas las unidades de corte desde la posición de flotación a la altura preestablecida, lo que desengrana automáticamente la TDF. Para reanudar la siega, pulse el interruptor de elevación hacia delante. Todas las unidades de corte se bajan y la TDF se activa de nuevo.
Cuando se ajusta el modo de giro en OFF (DESACTIVADO), se elevan manualmente las unidades de corte desde la posición de flotación manteniendo pulsados todos los interruptores de elevación hacia atrás, hasta que las unidades de corte se eleven a la altura deseada. En las máquinas Groundsmaster 4700, pulse los 3 interruptores de elevación para elevar las 7 unidades de corte (Figura 11). La TDF no se desengrana hasta que las unidades de corte se elevan a la misma altura preajustada a la que se elevan cuando el modo de giro está ACTIVADO.
Note: De forma predeterminada, el modo de giro está ACTIVADO.
El sistema de contrapeso mantiene una contrapresión hidráulica en los cilindros de elevación de la unidad de corte. El sistema de contrapeso supervisa la presión de la tracción en tiempo real y cambia dinámicamente la contrapresión del cilindro de elevación para optimizar la capacidad de tracción y el aspecto tras el corte. La presión de contrapeso se ajusta en fábrica para proporcionar un equilibrio óptimo entre aspecto después del corte y tracción en la mayoría de las condiciones de césped. Una reducción del ajuste de contrapeso puede producir una mayor estabilidad en la unidad de corte, pero puede reducir la tracción. Un aumento del ajuste de contrapeso puede aumentar la tracción, pero puede dar lugar a problemas con el aspecto después del corte; consulte Ajuste del contrapeso.
Los controles de ajuste del contrapeso personalizable son los siguientes:
Low (Bajo) – la máxima cantidad de peso en las unidades de corte y el peso mínimo en las ruedas motrices
Medium (Medio) – peso medio en las unidades de corte y en las ruedas motrices
High (Alto) – la cantidad mínima de peso en las unidades de corte y el peso máximo en las ruedas motrices de la máquina
Con Smart Power, el operador no tiene que escuchar la velocidad del motor en condiciones de mucha carga. El sistema Smart Power evita que el motor se ahogue en condiciones de siega difíciles, al controlar automáticamente la velocidad de la máquina y optimizar el rendimiento de corte.
Note: De forma predeterminada, la función Smart Power está ACTIVADA.
Important: Purgue el sistema de combustible si se ha producido alguna de las situaciones siguientes:
El motor se ha apagado por falta de combustible.
Después de que se haya realizado cualquier operación de mantenimiento en los componentes del sistema de combustible.
Retire el pie del pedal de tracción y asegúrese de que el pedal esté en posición de PUNTO MUERTO. Asegúrese de que el freno de estacionamiento está accionado.
Gire la llave a la posición de MARCHA. El indicador de la bujía debe iluminarse.
Cuando se atenúe el indicador de la bujía, gire la llave a la posición de ARRANQUE.
Important: No haga funcionar el motor de arranque durante más de 15 segundos cada vez, o puede producirse un fallo prematuro en el motor de arranque. Si el motor no arranca en 15 segundos, ponga la llave en la posición de DESCONECTADO, compruebe los controles y los procedimientos, espere 15 segundos más y repita el procedimiento de arranque.
Suelte la llave inmediatamente cuando el motor arranque y deje que vuelva a MARCHA.
Cuando la temperatura está por debajo de los -7°C, el motor de arranque puede utilizarse un máximo de dos veces durante 30 segundos, con 60 segundos de espera entre intentos.
Important: Apague el motor y espere a que se enfríe el motor antes de comprobar que no hay fugas de aceite, piezas sueltas u otros desperfectos.
Important: Deje que el motor funcione en ralentí durante 5 minutos antes de pararlo después de funcionar a carga máxima. Esto permite que se enfríe el turbo antes de que se apague el motor. De lo contrario, pueden producirse fallos prematuros en el turbo.
Note: Siempre baje las unidades de corte al suelo después de aparcar la máquina. Esto alivia la carga hidráulica del sistema, evita desgastar las piezas del sistema y también impide que se bajen accidentalmente las unidades de corte.
Mueva el interruptor de la toma de fuerza a la posición de DESENGRANADO.
Accione el freno de estacionamiento.
Gire la llave de contacto a la posición de DESCONECTADO.
Retire la llave de contacto para evitar un arranque accidental.
Note: La siega a una a velocidad que cargue el motor fomenta la regeneración del filtro de partículas diésel (DPF).
Quite el freno, desengrane la TDF y eleve las unidades de corte.
Seleccione la posición H/L AUTO o BAJA con el interruptor de gamas de velocidad. Consulte la sección Uso del interruptor de gamas de velocidad Alta y Baja.
Note: Cuando está seleccionada la posición H/L AUTO y las unidades de corte están elevadas, la máquina selecciona automáticamente la gama de velocidad alta.
Usando el pedal de tracción como si fuera el pedal del acelerador de un automóvil, conduzca hasta el lugar de trabajo.
Sitúe la máquina por fuera de la zona de corte para la primera pasada de siega.
Baje las unidades de corte con el o los interruptor(es) basculante(s).
Pulse brevemente la parte trasera del interruptor de elevación (GM4500) o del interruptor de elevación central (GM4700) para elevar las unidades de corte a la posición de giro.
Note: La posición de giro sólo está disponible si está activada en los menús protegidos del InfoCenter. Una breve pulsación del interruptor basculante, sin mantenerlo presionado, eleva las unidades de corte a la posición de giro y detiene la rotación de las cuchillas hasta que se bajan las unidades de corte.
Tire del mando de la TDF para engranar las unidades de corte.
Note: La velocidad del motor aumenta automáticamente a ralentí alto cuando se bajan las unidades de corte y se activa el mando de la TDF.
Usando el pedal de tracción, acérquese lentamente a la zona de siega y baje las unidades de corte con el interruptor basculante cuando las unidades de corte delanteras estén encima de la zona de siega.
Note: Practique para evitar que las unidades de corte bajen demasiado pronto o sieguen una zona no deseada.
Empiece a segar la zona.
Cuando termine la pasada de siega, pulse brevemente la parte trasera del interruptor de elevación (GM4500) o del interruptor de elevación central (GM4700) para elevar las unidades de corte a la posición de giro.
Realice un giro en forma de lágrima para alinearse rápidamente para la siguiente pasada.
Presione hacia abajo el interruptor de elevación (GM4500) o el interruptor de elevación central (GM4700) para bajar automáticamente las unidades de corte desde la posición de giro y continuar segando.
El filtro de partículas diésel (DPF) elimina el hollín del sistema de escape del motor.
El proceso de regeneración del DPF utiliza el calor de los gases de escape del motor, incrementado por el catalizador, para reducir a cenizas el hollín acumulado.
Para mantener limpio el DPF, recuerde lo siguiente:
Haga funcionar el motor a la velocidad máxima del motor cuando sea posible para potenciar la limpieza automática del DPF.
Utilice el aceite de motor correcto.
Minimice el tiempo durante el cual el motor está en ralentí.
Utilice únicamente combustible diésel ultra bajo en azufre.
Utilice y mantenga la máquina teniendo en cuenta la función del DPF. El motor bajo carga produce normalmente una temperatura suficiente en los gases de escape para la regeneración del DPF.
Important: Minimice el tiempo durante el cual el motor está en ralentí o a baja velocidad, para ayudar a reducir la acumulación de hollín en el DPF.
La temperatura de los gases de escape es alta (alrededor de 600 °C durante la regeneración del DPF. El gas de escape caliente puede dañarle a usted o a otras personas.
No ponga en marcha el motor en un lugar cerrado.
Asegúrese de que no haya materiales inflamables alrededor del sistema de escape.
Asegúrese de que los gases de escape calientes no entren en contacto con superficies que podrían ser dañadas por el calor.
No toque ningún componente caliente del sistema de escape.
No se sitúe cerca del tubo de escape de la máquina.
| Icono | Definición del icono |
![]() | • Icono de regeneración estacionaria o de recuperación – regeneración solicitada. |
| • Realice la regeneración inmediatamente. | |
![]() | • Regeneración aceptada; la solicitud se está procesando. |
![]() | • Regeneración en progreso; la temperatura del escape es elevada. |
![]() | • Funcionamiento defectuoso del sistema de control de NOx; la máquina necesita mantenimiento. |
| Tipo de regeneración | Condiciones que producen la regeneración del DPF | Descripción del funcionamiento del DPF |
|---|---|---|
| Regeneración pasiva | Se produce durante el funcionamiento normal de la máquina con velocidad alta o carga alta del motor | • El InfoCenter no muestra ningún icono que indique la regeneración pasiva. |
| • Durante la regeneración pasiva, el DPF procesa los gases de escape a alta temperatura, oxidando las emisiones dañinas y quemando el hollín hasta convertirlo en ceniza. | ||
| Regeneración de asistencia | Se produce por la baja velocidad del motor, la baja carga del motor o después de que el ordenador detecte que el DPF se ha obstruido con hollín | • El InfoCenter no muestra ningún icono que indique la regeneración de asistencia. |
| • Durante la regeneración de asistencia, el ordenador del motor ajusta la configuración del motor para aumentar la temperatura de los gases de escape. | ||
| Regeneración de restablecimiento | Se produce cada 100 horas | • Cuando aparece el icono de alta temperatura
de los gases de escape en el InfoCenter, se encuentra en curso una regeneración. |
| Se produce también si en el uso normal del motor se sobrepasa la acumulación permitida de hollín dentro del filtro. | ||
| • Durante la regeneración de reinicio, la computadora del motor mantiene una velocidad elevada del motor para asegurar la regeneración del filtro. |
| Tipo de regeneración | Condiciones que producen la regeneración del DPF | Descripción del funcionamiento del DPF |
|---|---|---|
| Con la máquina aparcada | Se produce porque la computadora determina que la limpieza automático del DPF no ha sido suficiente. | • Cuando se muestra el icono de
regeneración de reinicio-standby/estacionaria o de recuperación o se solicita una regeneración. |
| También se produce si se inicia una regeneración estacionaria | ||
| Puede ocurrir porque se ha iniciado la inhibición de la regeneración, lo que ha deshabilitado la limpieza automática del DPF | • Realice una regeneración con la máquina aparcada lo antes posible para evitar que sea necesaria una regeneración de recuperación. | |
| Puede producirse por utilizar el combustible o el aceite del motor incorrecto | • Una regeneración con la máquina aparcada tarda en realizarse entre 30 y 60 minutos. | |
| • El depósito debe disponer al menos de ¼ de combustible. | ||
| • Debe aparcar la máquina para realizar una regeneración con la máquina aparcada. | ||
| Regeneración de recuperación | Se produce porque la solicitud de recuperación estacionaria ha sido ignorada, lo que ha permitido una obstrucción crítica del DPF | • Cuando se muestra el icono de regeneración
de reinicio-standby/estacionaria o de recuperación se solicita una regeneración. |
| • Una regeneración de recuperación tarda en realizarse hasta 3 horas. | ||
| • El depósito debe disponer como mínimo de la mitad de capacidad de combustible. | ||
| • Debe aparcar la máquina para realizar la regeneración de recuperación. |
En MAIN MENU (menú principal), vaya a SETTINGS (Ajustes) y pulse el botón Seleccionar.
En SERVICE (Mantenimiento), vaya a DPF REGENERATION (Regeneración del DPF) y pulse el botón Seleccionar.
Seleccione la función de regeneración que necesita.

Vaya al menú DPF REGENERATION (Regeneración del DPF) y desplácese a LAST REGEN (Última regeneración).
Seleccione la opción LAST REGEN (Última regeneración).
Utilice el campo LAST REGEN (Última regeneración) para determinar cuántas horas se ha utilizado la máquina desde la última regeneración de restablecimiento, con la máquina aparcada o de recuperación.
Seleccione el botón Atrás para volver a la pantalla DPF REGENERATION (Regeneración del DPF).

La regeneración de restablecimiento produce una gran cantidad de gases de escape del motor. Si va a utilizar la máquina alrededor de árboles, maleza, hierba alta u otros materiales o plantas sensibles a la temperatura, puede utilizar el ajuste INHIBIT REGEN (Inhibir regeneración) para impedir que la computadora del motor realice una regeneración de reinicio.
Note: La opción INHIBIT REGEN (Inhibir regeneración) se utiliza siempre cuando se realizan operaciones de mantenimiento en la máquina en un lugar cerrado.
Note: Si usted configura el InfoCenter para que inhiba la regeneración, el InfoCenter muestra un aviso cada 15 minutos mientras el motor solicita una regeneración de reinicio.
Important: Al apagar el motor y volver a encenderlo, el ajuste de Inhibit Regen (Inhibir regeneración) se encuentra de forma predeterminada en OFF (Desconectado).
Vaya al menú DPF REGENERATION (Regeneración del DPF), y desplácese hacia abajo a INHIBIT REGEN (Inhibir regeneración).
Seleccione la opción INHIBIT REGEN (Inhibir regeneración).
Cambie Inhibir regeneración de DESACTIVADO a ACTIVADO.
Asegúrese de que la máquina tiene combustible en el depósito para el tipo de regeneración que vaya a realizar:
Regeneración estacionaria: Asegúrese de tener ¼ de depósito de combustible antes de realizar la regeneración estacionaria.
Regeneración de recuperación: Asegúrese de que el depósito dispone de al menos la mitad de combustible.
Lleve la máquina al exterior, a una zona alejada de materiales combustibles o objetos que podrían resultar dañados por el calor.
Aparque la máquina en una superficie nivelada, mueva todos los controles a PUNTO MUERTO, desengrane la TDF y baje las unidades de corte.
Ponga el freno de estacionamiento y deje que el motor alcance la velocidad de ralentí bajo.
Cuando la computadora del motor solicita una regeneración estacionaria, siga los mensajes del InfoCenter.
Important: El ordenador de la máquina cancela la regeneración del DPF si aumenta la velocidad del motor desde el ralentí bajo o se quita el freno de estacionamiento.
Vaya al menú DPF REGENERATION (Regeneración del DPF), desplácese hacia abajo a PARKED REGEN (Regeneración estacionaria) o RECOVERY REGEN (Regeneración de recuperación).
Seleccione PARKED REGEN (Regeneración estacionaria) o RECOVERY REGEN (Regeneración de recuperación).
Note: Para iniciar una regeneración de recuperación tendrá que introducir el código PIN correcto.
En la pantalla REGEN PARAMETERS (parámetros de regeneración), compruebe que tiene ¼ depósito de combustible si va a realizar la regeneración estacionaria, o ½ depósito de combustible si va a realizar la regeneración de recuperación. Compruebe que el freno de estacionamiento está puesto y que la velocidad del motor está en ralentí bajo. Pulse el botón Seleccionar para continuar.
En la pantalla INITIATE DPF REGEN (Iniciar regeneración de DPF), pulse el botón Siguiente para continuar.
El InfoCenter muestra el mensaje INITIATE DPF REGEN (Iniciar regeneración del DPF).
Note: Si es necesario, pulse el icono Cancelar para cancelar el proceso de regeneración.
El InfoCenter muestra el mensaje con el tiempo necesario para completar la regeneración.
El InfoCenter muestra la pantalla de inicio y aparece
el icono de Regeneración aceptada
.
Note: Mientras se ejecuta la regeneración del DPF, el InfoCenter
muestra el icono de temperatura alta de los gases de escape
.
Cuando la computadora del motor finaliza una regeneración estacionaria o de recuperación, el InfoCenter muestra un aviso. Pulse cualquier botón para salir de la pantalla de inicio.
Note: Si la regeneración no se completa, siga el aviso, y pulse cualquier tecla para salir a la pantalla de Inicio.
Utilice PARKED REGEN CANCEL (Cancelar regeneración estacionaria) o RECOVERY REGEN CANCEL (Cancelar regeneración de recuperación) para cancelar un proceso activo de regeneración estacionaria o de recuperación.
Vaya al menú DPF REGENERATION (Regeneración del DPF), y vaya a PARKED REGEN (Regeneración estacionaria) o RECOVERY REGEN (Regeneración de recuperación).
Pulse el botón Seleccionar para cancelar una Regeneración estacionaria o una Regeneración de recuperación.

El ventilador de refrigeración del motor normalmente lo controla la máquina. La máquina tiene la capacidad de invertir su sentido de giro para eliminar residuos de la rejilla trasera. En condiciones normales de funcionamiento, la máquina controla la velocidad y el sentido del ventilador en función de la temperatura del refrigerante y del fluido hidráulico, y el ventilador invierte su sentido automáticamente para eliminar residuos de la rejilla trasera.
Puede invertir el sentido del ventilador manualmente pulsando los 2 botones exteriores o los botones interiores izquierdo y derecho del InfoCenter (Figura 38) durante 2 segundos; el ventilador completará un ciclo de inversión manual. Invierta el sentido de giro del ventilador si la rejilla trasera está obstruida o antes de trasladar la máquina al taller o al almacén.

Cambie los patrones de siega a menudo para minimizar los problemas de acabado por segar repetidamente en un solo sentido.
Consulte la Guía de solución de problemas con el aspecto después del corte disponible en www.Toro.com.
Para empezar a cortar, engrane las unidades de corte, y acérquese lentamente a la zona de siega. Cuando las unidades de corte delanteras entren en la zona de siega, baje las unidades de corte.
Para lograr un corte en línea recta y un rayado profesional, deseable para algunas aplicaciones, busque un árbol u otro objeto distante y conduzca directamente hacia él.
En cuanto las unidades de corte delanteras lleguen al borde de la zona de siega, eleve las unidades de corte y gire en forma de lágrima para alinearse rápidamente para la siguiente pasada.
Se encuentran disponibles deflectores de mulching instalados con pernos para las unidades de corte. Los deflectores funcionan bien cuando el césped se siega regularmente, evitando cortar más de 25 mm de hierba en cada sesión de corte. Cuando se corta una cantidad excesiva de hierba con los deflectores de mulching instalados, el aspecto después del corte puede deteriorarse y se necesita más potencia para cortar la hierba. Los deflectores de mulching también funcionan bien cuando se trata de picar hojas en el otoño.
Corte no más de aproximadamente 25 mm, o no más de un tercio, de la hoja de hierba. Si la hierba es excepcionalmente densa y frondosa, es posible que tenga que elevar la altura de corte.
Una cuchilla afilada corta limpiamente sin desgarrar o picar las hojas de hierba, que es lo que haría una cuchilla sin filo. Si se rasgan o se deshilachan, los bordes de las hojas se secarán, se retardará su crecimiento y se favorecerá la aparición de enfermedades. Asegúrese de que la cuchilla está en buen estado y de que la vela está completa; consulte Mantenimiento del plano de la cuchilla.
Asegúrese de que las cámaras de corte se encuentran en buen estado. Enderece cualquier componente de la cámara que esté doblado para asegurar un espacio correcto entre las puntas de la cuchilla y la cámara. Asegúrese de que todos los rodillos y articulaciones pivotantes están libres de holgura para evitar daños al césped o un aspecto después del corte de baja calidad.
Después de segar, lave a fondo la máquina con una manguera de jardín sin boquilla para evitar la contaminación y los daños en las juntas y los cojinetes por la presión excesiva del agua. Asegúrese de que el radiador y el enfriador de aceite se mantengan libres de suciedad y recortes de hierba. Después de limpiar la máquina, compruebe que no hay fugas de fluido hidráulico, o daños o desgaste en los componentes mecánicos e hidráulicos y compruebe que las cuchillas de las unidades de corte están afiladas.
Apague el motor, retire la llave y espere a que se detenga todo movimiento antes de dejar el puesto del operador. Deje que la máquina se enfríe antes de realizar ajustes, tareas de mantenimiento y de limpieza o de guardarla.
Para ayudar a prevenir incendios, asegúrese de que las unidades de corte, las transmisiones, los silenciadores, las rejillas de refrigeración y el compartimento del motor están libres de acumulaciones de hierba y residuos. Limpie cualquier aceite o combustible derramado.
Si las unidades de corte están en la posición de transporte, utilice el bloqueo mecánico positivo (si está disponible) antes de dejar la máquina desatendida.
Espere a que se enfríe el motor antes de guardar la máquina en un recinto cerrado.
Retire la llave y cierre el combustible (si está equipado) antes de guardar o transportar la máquina.
No guarde nunca la máquina o un recipiente de combustible cerca de una llama desnuda, chispa o llama piloto, por ejemplo en un calentador de agua u otro electrodoméstico.
Realice el mantenimiento de los cinturones y límpielos cuando sea necesario
Utilice los amarres de almacenamiento de las unidades de corte para evitar el asentamiento de las unidades de corte exteriores delanteras al aparcar la máquina por la noche o si se va a almacenar durante un periodo prolongado. También puede utilizar los amarres de almacenamiento de las unidades de corte para evitar que las unidades de corte se asienten mientras se transporta la máquina entre tareas de siega.

Asegúrese de que la TDF está desengranada.
Aparque la máquina en una superficie nivelada.
Accione el freno de estacionamiento.
Eleve totalmente las unidades de corte.
Alinee el amarre al eje de tiro del brazo de elevación de la unidad de corte exterior delantera (Figura 40).

Deslice el bucle del amarre sobre el eje de tiro hasta que el amarre quede totalmente asentado en la ranura del eje (Figura 40).
Repita los pasos 5 y 6 en la unidad de corte exterior delantera del otro lado de la máquina.
Important: Retire los amarres de los ejes de tiro antes de bajar las unidades de corte
Note: Guarde los amarres cuando no los esté utilizando.
Asegúrese de que la TDF está desengranada.
Aparque la máquina en una superficie nivelada.
Accione el freno de estacionamiento.
Con las unidades de corte bajadas, deslice el bucle del amarre en la ranura de la placa de refuerzo del soporte del rodillo (Figura 41).

Utilice los 2 cierres de transporte traseros de las unidades de corte Nº 6 y Nº 7 (Figura 15) si se va a desplazar la máquina una gran distancia o sobre terreno irregular, durante el transporte o al almacenar la máquina.

Retire la llave y cierre el combustible (si está equipado) antes de guardar o transportar la máquina.
Tenga cuidado al cargar o descargar la máquina en/desde un remolque o un camión.
Utilice rampas de ancho completo para cargar la máquina en un remolque o un camión.
Amarre la máquina firmemente.
En caso de emergencia, la máquina puede desplazarse hacia adelante accionando la función de desvío de la bomba hidráulica de desplazamiento variable y empujando o remolcando la máquina.
Important: No empuje ni remolque la máquina a una velocidad superior a entre 3 y 4,8 km/h. Si empuja o remolca la máquina a una velocidad superior, puede dañarse el sistema de transmisión interno.Las válvulas de alivio deben estar abiertas antes de empujar o remolcar la máquina.
Levante el capó y localice las válvulas de alivio (Figura 43) en la parte superior de la bomba, detrás de la batería/cajas de almacenamiento.
Gire cada válvula 3 vueltas en sentido antihorario para abrirla y dejar pasar el fluido internamente.
Note: No abra la válvula más de 3 giros. Puesto que el aceite se desvía, la máquina puede ser movida lentamente sin dañar la transmisión.


Empuje o remolque la máquina hacia adelante.
Important: Si necesita empujar o remolcar la máquina hacia atrás, vea el Kit de remolcado en marcha atrás (Pieza N° 136-3620).
Termine de empujar o remolcar la máquina y cierre las válvulas de alivio. Apriete la válvula a 70 N·m.
Note: Utilice correas con homologación DOT de las características apropiadas en las cuatro esquinas para amarrar la máquina.
En cada lado del bastidor, junto a la plataforma del operador
En el guardabarros trasero


Note: Los lados derecho e izquierdo de la máquina se determinan desde la posición normal del operador.
Important: Consulte los procedimientos adicionales de mantenimiento del manual del propietario del motor.
Important: Si está realizando tareas de mantenimiento en la máquina y hace funcionar el motor con un conducto de extracción de los gases de escape, establezca el ajuste de inhibición de la regeneración en ON (Activado); consulte Ajuste de la inhibición de la regeneración.
Note: Para descargar una copia gratuita del esquema eléctrico o hidráulico, visite www.toro.com y busque su máquina en el enlace Manuales de la página de inicio.
Antes de dejar el puesto del operador, realice lo siguiente:
Aparque la máquina en una superficie nivelada.
Desengrane la toma de fuerza y baje los accesorios.
Accione el freno de estacionamiento.
Apague el motor y retire la llave.
Espere a que se detenga todo movimiento.
Lleve ropa adecuada, incluyendo protección ocular, pantalón largo y calzado resistente y antideslizante. Mantenga las manos, los pies, las joyas y el pelo largo alejados de las piezas en movimiento.
Si deja la llave en el interruptor, alguien podría arrancar el motor accidentalmente y causar lesiones graves a usted o a otras personas. Retire la llave del interruptor antes de realizar cualquier operación de mantenimiento.
Deje que los componentes de la máquina se enfríen antes de realizar el mantenimiento.
Si las unidades de corte están en la posición de transporte, utilice el bloqueo mecánico positivo (si está disponible) antes de dejar la máquina desatendida.
Si es posible, no realice tareas de mantenimiento con el motor en marcha. Manténgase alejado de las piezas en movimiento.
Accione el motor únicamente en áreas bien ventiladas. Los gases de escape contienen monóxido de carbono, que resulta letal si se inhala.
Apoye la máquina con caballetes siempre que trabaje debajo de la máquina.
Alivie con cuidado la tensión de aquellos componentes que tengan energía almacenada.
Mantenga todas las piezas en buen estado de funcionamiento y todos los herrajes bien apretados, sobre todo los accesorios de las cuchillas.
Sustituya cualquier calcomanía desgastada o deteriorada.
Para garantizar un rendimiento seguro y óptimo de la máquina, utilice únicamente piezas de repuesto genuinas Toro. Las piezas de repuesto de otros fabricantes podrían ser peligrosas y su uso podría invalidar la garantía del producto.
| Intervalo de mantenimiento y servicio | Procedimiento de mantenimiento |
|---|---|
| Después de la primera hora |
|
| Después de las primeras 10 horas |
|
| Después de las primeras 50 horas |
|
| Después de las primeras 200 horas |
|
| Cada vez que se utilice o diariamente |
|
| Cada 50 horas |
|
| Cada 100 horas |
|
| Cada 200 horas |
|
| Cada 400 horas |
|
| Cada 500 horas |
|
| Cada 800 horas |
|
| Cada 1000 horas |
|
| Cada 2000 horas |
|
| Cada 3000 horas |
|
| Antes del almacenamiento |
|
| Cada 2 años |
|
Si deja la llave en el interruptor de encendido, alguien podría arrancar el motor accidentalmente y causar lesiones graves a usted o a otras personas.
Retire la llave antes de realizar cualquier operación de mantenimiento.
Duplique esta página para su uso rutinario.
| Elemento a comprobar | Para la semana de: | ||||||
|---|---|---|---|---|---|---|---|
| Lunes | Martes | Miércoles | Jueves | Viernes | Sábado | Domingo | |
| Compruebe el funcionamiento de los interruptores de seguridad. | |||||||
| Compruebe el funcionamiento de los frenos. | |||||||
| Compruebe el nivel de aceite del motor. | |||||||
| Compruebe el nivel de fluido del sistema de refrigeración. | |||||||
| Drene el separador de agua/combustible. | |||||||
| Compruebe el filtro de aire, la tapa del filtro y la válvula de alivio | |||||||
| Compruebe que no hay ruidos extraños en el motor.1 | |||||||
| Compruebe que el radiador y la rejilla están libres de residuos | |||||||
| Compruebe que no hay ruidos extraños de operación. | |||||||
| Compruebe el nivel de fluido hidráulico. | |||||||
| Compruebe que las mangueras hidráulicas no están dañadas. | |||||||
| Compruebe que no hay fugas de fluidos. | |||||||
| Compruebe el nivel de combustible. | |||||||
| Compruebe la presión de los neumáticos. | |||||||
| Compruebe la operación de los instrumentos. | |||||||
| Compruebe el ajuste de altura de corte. | |||||||
| Lubrique todos los engrasadores.2 | |||||||
| Limpie la máquina. | |||||||
| Retoque la pintura dañada. | |||||||
|
1Compruebe la bujía y las boquillas de los inyectores en caso de dificultad para arrancar, exceso de humo o funcionamiento irregular. 2Inmediatamente después de cada lavado, aunque no corresponda a los intervalos citados. |
|||||||
Important: Consulte en el Manual del operador del motor procedimientos adicionales de mantenimiento.
| Inspección realizada por: | ||
| Elemento | Fecha | Información |
Utilice los siguientes puntos para elevar la máquina:
Parte trasera de la máquina – en el bastidor de la máquina, hacia delante de los motores de la transmisión de las ruedas (Figura 46)
Important: No apoye la máquina en los motores de la transmisión de las ruedas. Mantenga el equipo de izado libre de mangueras y tubos hidráulicos.

Parte trasera de la máquina – en el centro del eje (Figura 47)
Sitúe los gatos fijos de la capacidad especificada a ambos lados de la carcasa de los engranajes y debajo del eje.
Important: No apoye la máquina en la biela.

Incline el capó para tener acceso al chasis, tal y como se muestra en la Figura 48.

Incline el asiento para tener acceso al compartimento de elevación hidráulica, tal y como se muestra en la Figura 49.

| Intervalo de mantenimiento y servicio | Procedimiento de mantenimiento |
|---|---|
| Cada 50 horas |
|
Especificación de la grasa: Grasa de litio Nº 2
La ubicación de los puntos de engrase y las cantidades requeridas son:
Cojinetes de pivote de eje de freno (5) tal y como se muestra en la Figura 50

Casquillos de pivote de eje trasero (2) tal y como se muestra en la Figura 51

Articulaciones esféricas de cilindro de dirección (2) tal y como se muestra en la Figura 52

Articulaciones esféricas de biela (2) tal y como se muestra en la Figura 52
Casquillos de pivote de dirección (2) tal y como se muestra en la Figura 52
Important: No lubrique el punto de engrase superior del pivote de dirección más de una vez al año (2 aplicaciones).
Casquillos de brazo de elevación (1 por unidad de corte) tal y como se muestra en la Figura 53

Casquillos de cilindro de elevación (2 por unidad de corte) tal y como se muestra en la Figura 53
Cojinetes del eje de la unidad de corte (2 por unidad de corte) tal y como se muestra en la Figura 54
Note: Puede utilizar cualquier engrasador, el que se encuentre más accesible. Bombee grasa en el engrasador, hasta que aparezca una pequeña cantidad en la parte inferior del alojamiento del eje (debajo de la unidad de corte).

Cojinetes de los brazos de tiro de las unidades de corte (1 por unidad de corte) tal y como se muestra en la Figura 54
Cojinetes de los rodillos traseros (2 por unidad de corte) tal y como se muestra en la Figura 55

Important: Asegúrese de que la ranura de grasa de cada rodillo está alineada con el orificio de grasa de cada extremo del eje del rodillo. Para alinear la ranura, existe una marca de alineación en un extremo del eje del rodillo.
Apague el motor y retire la llave antes de comprobar el aceite o añadir aceite al cárter.
No cambie la velocidad del regulador ni haga funcionar el motor a una velocidad excesiva.
| Intervalo de mantenimiento y servicio | Procedimiento de mantenimiento |
|---|---|
| Cada 400 horas |
|
Inspeccione la carcasa del limpiador de aire en busca de daños que pudieran causar una fuga de aire. Cámbielo si está dañado. Compruebe todo el sistema de admisión en busca de fugas, daños o abrazaderas sueltas.
Revise el filtro del limpiador de aire únicamente cuando el indicador de mantenimiento (Figura 56) lo requiera. El cambiar el filtro antes de que sea necesario sólo aumenta la posibilidad de que entre suciedad en el motor al retirar el filtro.

Important: Asegúrese de que la tapa está bien asentada y que hace un buen sello con la carcasa del limpiador de aire.
Cambie el limpiador de aire (Figura 57).


Note: No limpie el elemento usado porque puede dañarse el medio filtrante.
Important: No intente nunca limpiar el filtro de seguridad (Figura 58). Sustituya el filtro de seguridad después de cada tres revisiones del filtro primario.

Reinicie el indicador (Figura 56) si se ve rojo.
Utilice aceite de motor de alta calidad y bajo contenido en ceniza que cumpla o supere las especificaciones siguientes:
Categoría de servicio API CJ-4 o superior
Categoría de servicio ACEA E6
Categoría de servicio JASO DH-2
Important: El uso de un aceite del motor que no sea API CJ-4 o superior, ACEA E6 o JASO DH-2 puede hacer que el filtro de partículas diésel se obstruya o que se produzcan daños en el motor.
Utilice el siguiente grado de viscosidad de aceite del motor:
Aceite preferido: SAE 15W-40 (por encima de los -18 °C) °C)
Aceite alternativo: SAE 10W-30 o 5W-30 (todas las temperaturas)
Su distribuidor autorizado Toro dispone de aceite para motores Toro Premium, de viscosidad 15W-40 o 10W-30. Consulte los números de pieza en el Catálogo de piezas.
| Intervalo de mantenimiento y servicio | Procedimiento de mantenimiento |
|---|---|
| Cada vez que se utilice o diariamente |
|
El motor se suministra con aceite en el cárter; no obstante, debe comprobarse el nivel de aceite antes y después de arrancar el motor por primera vez.
Important: Compruebe el aceite del motor cada día. Si el nivel del aceite está en o por debajo de la marca Lleno de la varilla, el aceite del motor puede diluirse con combustible;Si el nivel del aceite está por encima de la marca Lleno de la varilla, cambie el aceite del motor.
El mejor momento para comprobar el aceite del motor es cuando el motor está frío, antes de arrancarlo al principio de la jornada. Si ya se ha arrancado, deje que el aceite se drene al cárter durante al menos 10 minutos antes de comprobar el nivel. Si el nivel del aceite está en o por debajo de la marca “Add” (Añadir) de la varilla, añada aceite hasta que el nivel llegue a la marca “Full” (Lleno).No llene el motor con demasiado aceite.
Important: Mantenga el nivel del aceite del motor entre los límites superior e inferior en el indicador de la varilla; el motor puede fallar si se acciona con aceite insuficiente o en exceso.
Compruebe el nivel de aceite del motor; consulte Figura 59.


Note: Cuando cambie a un aceite diferente, drene todo el aceite antiguo del cárter antes de añadir aceite nuevo.
Aproximadamente 5,7 litros con el filtro.
| Intervalo de mantenimiento y servicio | Procedimiento de mantenimiento |
|---|---|
| Cada 500 horas |
|
Note: Para reiniciar el indicador de mantenimiento previsto del Infocenter; consulte Ajuste del temporizador de mantenimiento programado.
Arranque el motor y déjelo funcionar durante unos cinco minutos para que el aceite se caliente.
Aparque la máquina en una superficie nivelada, accione el freno de estacionamiento, apague el motor y retire la llave.
Cambie el aceite del motor y el filtro (Figura 60).


Añada aceite al cárter; consulte Capacidad de aceite del cárter y Comprobación del nivel de aceite del motor.
| Intervalo de mantenimiento y servicio | Procedimiento de mantenimiento |
|---|---|
| Cada 3000 horas |
|
Consulte la sección sobre Motor en el Manual de mantenimiento para obtener información sobre el montaje y el desmontaje del catalizador de oxidación diésel y el filtro de hollín del DPF.
Consulte a su distribuidor autorizado Toro si desea más información sobre el mantenimiento o las piezas de sustitución del catalizador de oxidación diésel o el filtro de hollín.
Póngase en contacto con su distribuidor autorizado Toro para que restablezcan la ECU del motor después de instalar un DPF limpio.
Bajo ciertas condiciones el combustible diésel y los vapores del combustible son extremadamente inflamables y explosivos. Un incendio o explosión de combustible puede quemarle a usted y a otras personas y causar daños materiales.
Utilice un embudo para llenar el depósito de combustible al aire libre, en una zona despejada, con el motor parado y frío. Limpie cualquier combustible derramado.
No llene completamente el depósito de combustible. Añada combustible al depósito de combustible hasta que el nivel alcance de 6 a 13 mm por debajo de la parte inferior del cuello de llenado. Este espacio vacío en el depósito permite la dilatación del combustible.
No fume nunca mientras maneja el combustible, y aléjese de llamas desnudas o lugares donde los vapores del combustible pueden incendiarse con una chispa.
Almacene el combustible en un recipiente limpio homologado y mantenga el tapón colocado.
| Intervalo de mantenimiento y servicio | Procedimiento de mantenimiento |
|---|---|
| Cada 800 horas |
|
| Antes del almacenamiento |
|
Además del intervalo de mantenimiento indicado, drene y limpie el depósito si se contamina el sistema de combustible o si va a almacenar la máquina durante un periodo de tiempo prolongado. Utilice combustible limpio para enjuagar el depósito.
| Intervalo de mantenimiento y servicio | Procedimiento de mantenimiento |
|---|---|
| Cada 400 horas |
|
Compruebe que los tubos de combustible no están deteriorados o dañados, y que las conexiones no están sueltas.

| Intervalo de mantenimiento y servicio | Procedimiento de mantenimiento |
|---|---|
| Cada vez que se utilice o diariamente |
|
Drene el agua del separador de agua/combustible tal y como se muestra en la (Figura 62).

| Intervalo de mantenimiento y servicio | Procedimiento de mantenimiento |
|---|---|
| Cada 400 horas |
|
Sustituya el cartucho del filtro de combustible tal y como se muestra en la Figura 63.

| Intervalo de mantenimiento y servicio | Procedimiento de mantenimiento |
|---|---|
| Cada 400 horas |
|
Limpie la zona alrededor de la cabeza del filtro de combustible (Figura 64).

Retire el filtro y limpie la superficie de montaje de la cabeza del filtro (Figura 64).
Lubrique la junta del filtro con aceite de motor limpio; consulte el manual del usuario del motor si necesita más información.
Instale el cartucho filtrante seco, a mano, hasta que la junta entre en contacto con la cabeza del filtro, luego gírelo media vuelta más.
Cebe el filtro y las tuberías de la bomba de alta presión; consulte Cebado del sistema de combustible.
Arranque el motor y vuelva a comprobar que no hay fugas alrededor del cabezal del filtro.
El tubo de aspiración de combustible, situado dentro del depósito de combustible, lleva un filtro para evitar que entren residuos en el sistema de combustible. Retire el tubo de aspiración de combustible y limpie el filtro según sea necesario.
Retire la abrazadera que fija la manguera de suministro de combustible al acoplamiento del tubo de aspiración de combustible (Figura 65).

Retire la manguera del acoplamiento (Figura 65).
Eleve el tubo de aspiración de combustible del depósito de combustible (Figura 65).
Note: Eleve el tubo directamente del casquillo en el depósito.
Limpie cualquier residuo de la rejilla al final del tubo de aspiración de combustible (Figura 65).
Inserte el tubo de aspiración de combustible a través del casquillo de goma y en el depósito (Figura 65).
Note: Asegúrese de que el tubo de aspiración de combustible está bien asentado en el casquillo de goma.
Instale la manguera de suministro en el acoplamiento del tubo de aspiración de combustible y fije la manguera con la abrazadera que retiró en el paso 1.
Cebe el sistema de combustible antes de arrancar el motor por primera vez, después de haberse quedado sin combustible o tras realizar tareas de mantenimiento en el sistema de combustible (por ejemplo, drenaje del filtro/separador de agua, sustitución de una manguera de combustible).
Para cebar el sistema de combustible, realice los siguientes procedimientos:
Asegúrese de que hay combustible en el depósito.
Siga estos pasos para cebar el filtro y las líneas hasta la bomba de alta presión para evitar desgate o daños en la bomba:
Gire la llave de contacto a la posición de CONECTADO entre 15 y 20 segundos.
Gire la llave de contacto a la posición de DESCONECTADO entre 30 y 40 segundos.
Note: De este modo, la ECU puede apagarse.
Gire la llave de contacto a la posición de CONECTADO entre 15 y 20 segundos.
Compruebe que no hay fugas alrededor del filtro y las mangueras.
Important: No utilice el sistema de arranque del motor para hacer girar el motor con el fin de cebar el sistema de combustible.
Desconecte la batería antes de reparar la máquina. Desconecte primero el terminal negativo y luego el positivo. Conecte primero el terminal positivo y luego el negativo.
Cargue la batería en una zona abierta y bien ventilada, lejos de chispas y llamas. Desenchufe el cargador antes de conectar o desconectar la batería. Lleve ropa protectora y utilice herramientas aisladas.
| Intervalo de mantenimiento y servicio | Procedimiento de mantenimiento |
|---|---|
| Cada 50 horas |
|
Important: Antes de efectuar soldaduras en la máquina, desconecte el cable negativo de la batería para evitar daños al sistema eléctrico. Asimismo, antes de efectuar soldaduras en la máquina, deben desconectarse el motor, el InfoCenter y los controladores de la máquina.
Note: Mantenga limpios los terminales y toda la carcasa de la batería, porque una batería sucia se descargará lentamente. Para limpiar la batería, lave toda la carcasa con una solución de bicarbonato y agua. Enjuague con agua clara. Aplique una capa de grasa Grafo 112X (Nº de Pieza Toro 505-47) o de vaselina a los conectores de los cables y a los bornes de la batería para evitar la corrosión.
Afloje el enganche de la cubierta de la caja de almacenamiento derecha y eleve la cubierta (Figura 68).
El electrolito de la batería contiene ácido sulfúrico, que es un veneno mortal si se ingiere y causa quemaduras graves.
No beba electrolito y evite el contacto con la piel, los ojos y la ropa. Lleve gafas de seguridad para proteger sus ojos, y guantes de goma para proteger sus manos.
Llene la batería en un lugar que tenga disponible agua limpia para enjuagar la piel.
Retire la cubierta de goma del borne positivo e inspeccione la batería.
Retire el cable negativo (negro) del terminal negativo (-) y el cable positivo (rojo) del terminal positivo (+) de la batería (Figura 66).
Un enrutado incorrecto de los cables de la batería podría dañar la máquina y los cables, causando chispas. Las chispas podrían hacer explotar los gases de la batería, causando lesiones personales.
Desconecte siempre el cable negativo (negro) de la batería antes de desconectar el cable positivo (rojo).
Conecte siempre el cable positivo (rojo) de la batería antes de conectar el cable negativo (negro).
Los bornes de la batería o una herramienta metálica podrían hacer cortocircuito si entran en contacto con los componentes metálicos, causando chispas. Las chispas podrían hacer explotar los gases de la batería, causando lesiones personales.
Al retirar o colocar la batería, no deje que los bornes toquen ninguna parte metálica de la máquina.
No deje que las herramientas metálicas hagan cortocircuito entre los bornes de la batería y las partes metálicas de la máquina.

Conecte un cargador de batería de 3 a 4 amperios a los bornes de la batería. Cargue la batería a un ritmo de 3 a 4 amperios durante 4 a 8 horas.
El proceso de carga de la batería produce gases que pueden explotar.
No fume nunca cerca de la batería, y mantenga alejados de la batería chispas y llamas.
Cuando la batería esté cargada, desconecte el cargador de la toma de electricidad, luego de los bornes de la batería.
Conecte el cable positivo (rojo) al borne positivo (+) y el cable negativo (negro) al borne negativo (-) de la batería (Figura 66).
Sujete los cables a los bornes con pernos y tuercas.
Note: Asegúrese de que el terminal positivo (+) está colocado a tope en el borne y de que el cable está colocado junto a la batería. El cable no debe entrar en contacto con la tapa de la batería.
Aplique una capa de grasa Grafo 112X (Nº de Pieza 505-47), de vaselina o de grasa ligera a ambas conexiones de la batería para evitar la corrosión.
Deslice la cubierta de goma sobre el borne positivo.
Cierre el panel de la consola y sujete el cierre.
El bloque de fusibles de la máquina está situado en la caja de almacenamiento derecha

Afloje el enganche de la cubierta de la caja de almacenamiento derecha y eleve la cubierta (Figura 68) para exponer el bloque de fusibles (Figura 69).

Sustituya el fusible o los fusibles abiertos tal y como sea necesario (Figura 69).

Cierre la cubierta de la caja de almacenamiento derecha y fíjela con el enganche (Figura 68).

| Intervalo de mantenimiento y servicio | Procedimiento de mantenimiento |
|---|---|
| Cada 400 horas |
|
No debe haber holgura entre las transmisiones planetarias/ruedas de tracción (es decir, las ruedas no deben desplazarse al empujarlas o tirar de ellas en sentido paralelo al eje).
Aparque la máquina en una superficie nivelada, ponga el freno de estacionamiento, baje las unidades de corte, apague el motor y retire la llave.
Calce las ruedas traseras y eleve la parte delantera de la máquina, apoyando el eje delantero/bastidor sobre gatos fijos.
Una máquina colocada sobre un gato es inestable y podría caerse, hiriendo a cualquier persona que se encuentre debajo.
No arranque el motor mientras la máquina está elevado con un gato.
Retire siempre la llave del interruptor antes de bajarse de la máquina.
Bloquee las ruedas antes de elevar la máquina con un gato.
Apoye la máquina sobre soportes gato.
Agarre una de las ruedas motrices delanteras con las manos y empuje/tire de ella en sentido paralelo al eje, observando cualquier movimiento.

Repita el paso 3 con la otra rueda motriz.
Si se mueve cualquiera de las ruedas, póngase en contacto con su distribuidor Toro autorizado para que reacondicione la transmisión planetaria.
| Intervalo de mantenimiento y servicio | Procedimiento de mantenimiento |
|---|---|
| Cada 400 horas |
|
Especificación del lubricante: lubricante de engranajes de alta calidad SAE 85W-140
Aparque la máquina en una superficie nivelada y coloque la rueda de modo que el tapón de llenado se encuentre en la posición de las 12, el tapón de verificación en la posición de las 3 y el tapón de vaciado en la posición de las 6 (Figura 72).

Retire el tapón de verificación en la posición de las 3 (Figura 72).
El aceite debe llegar a la parte inferior del orificio del tapón de verificación.

Si el nivel de aceite es bajo, retire el tapón de llenado en la posición de las 12 y añada aceite hasta que empiece a salir del orificio en la posición de las 3.
Inspeccione las juntas tóricas de los tapones en busca de desgaste o daños.
Note: Sustituya las juntas tóricas si fuera necesario.
Instale los tapones.
Repita los pasos 1 y 5 en el conjunto de engranajes planetarios en el otro lado de la máquina.
| Intervalo de mantenimiento y servicio | Procedimiento de mantenimiento |
|---|---|
| Después de las primeras 50 horas |
|
| Cada 800 horas |
|
Especificación del lubricante: lubricante de engranajes de alta calidad SAE 85W-140
Capacidad de lubricación del alojamiento del freno y de los engranajes planetarios: 0,65 litros
Aparque la máquina en una superficie nivelada, coloque la rueda de modo que el tapón de llenado se encuentre en la posición de las 12, el tapón de verificación en la posición de las 3 y el tapón de vaciado en la posición de las 6; consulte Figura 72 en Comprobación del lubricante de la transmisión planetaria.
Retire el tapón de llenado en la posición de las 12 y compruebe el tapón en la posición de las 3 (Figura 74).

Coloque un recipiente debajo del cubo planetario, retire el tapón de vaciado en la posición de las 6 y deje que se drene el aceite (Figura 74).
Inspeccione las juntas tóricas de los tapones de llenado, de verificación y de vaciado en busca de desgaste o daños.
Note: Sustituya las juntas tóricas si fuera necesario.
Instale el tapón de vaciado en el orificio de vaciado del alojamiento de los engranajes planetarios (Figura 74).
Coloque un recipiente debajo del alojamiento del freno, retire el tapón de vaciado y deje que se drene el aceite totalmente (Figura 75).

Inspeccione la junta tórica del tapón por si presentara desgaste o daños e instale el tapón en el alojamiento del freno.
Note: Sustituya la junta tórica si fuera necesario.
Por el orificio del tapón de llenado, llene lentamente la transmisión planetaria con 0,65 litros de lubricante para engranajes SAE 85W-140 de alta calidad.
Important: Si se llena la transmisión planetaria antes de haber agregado 0,65 litros de aceite, espere 1 hora o instale el tapón y desplace la máquina unos 3 metros para distribuir el aceite por el sistema de frenado. Luego, retire el tapón y añada el aceite restante.

Instale el tapón de llenado y compruebe el tapón.
Limpie los alojamientos del freno y de los engranajes planetarios (Figura 77).

Repita los pasos 1 a 7 en Vaciado de la transmisión planetaria y los pasos 1 a 3 en este procedimiento para el conjunto del freno/los engranajes planetarios del otro lado de la máquina.
| Intervalo de mantenimiento y servicio | Procedimiento de mantenimiento |
|---|---|
| Cada vez que se utilice o diariamente |
|
Inspecciones visualmente el eje trasero y la caja de engranajes del eje trasero por si hay fugas.

| Intervalo de mantenimiento y servicio | Procedimiento de mantenimiento |
|---|---|
| Cada 400 horas |
|
El eje trasero está lleno de lubricante para engranajes SAE 85W-140. La capacidad es de 2,4 litros. Compruebe diariamente que no existen fugas.
Aparque la máquina en una superficie nivelada, ponga el freno de estacionamiento, baje las unidades de corte, apague el motor y retire la llave.
Retire un tapón de verificación de un extremo del eje y asegúrese de que el lubricante llega al borde inferior del orificio (Figura 79).
Note: Si el nivel es bajo, retire el tapón de llenado y añada suficiente lubricante para que el nivel llegue al borde inferior de los orificios de los tapones de verificación.

| Intervalo de mantenimiento y servicio | Procedimiento de mantenimiento |
|---|---|
| Después de las primeras 200 horas |
|
| Cada 800 horas |
|
Especificación del lubricante: lubricante de engranajes de alta calidad SAE 85W-140
Capacidad del eje: 2,4 litros
Aparque la máquina en una superficie nivelada, ponga el freno de estacionamiento, baje las unidades de corte, apague el motor y retire la llave.
Limpie la zona alrededor de los tres tapones de vaciado, uno en cada extremo y uno en el centro (Figura 80).

Retire los tapones de verificación del nivel de aceite y el tapón de alivio del eje principal para facilitar el vaciado del lubricante de los engranajes.
Retire los tapones de vaciado y deje fluir el lubricante a los recipientes.
Coloque los tapones.
Retire un tapón de verificación y llene el eje con aproximadamente 2,4 litros de lubricante para engranajes 85W-140, o hasta que el lubricante llegue al borde inferior del orificio.
Instale el tapón de verificación.
| Intervalo de mantenimiento y servicio | Procedimiento de mantenimiento |
|---|---|
| Cada 400 horas |
|
La caja de engranajes está llena de lubricante para engranajes SAE 85W-140. La capacidad es de 0,5 litros. Compruebe diariamente que no existen fugas.
Aparque la máquina en una superficie nivelada, ponga el freno de estacionamiento, baje las unidades de corte, apague el motor y retire la llave.
Retire el tapón de verificación/llenado del lado izquierdo de la caja de engranajes y asegúrese de que el lubricante llega al borde inferior del orificio (Figura 81).
Note: Si el nivel es bajo, añada suficiente lubricante para que el nivel llegue al borde inferior del orificio.

| Intervalo de mantenimiento y servicio | Procedimiento de mantenimiento |
|---|---|
| Cada 800 horas |
|
Aparque la máquina en una superficie nivelada, ponga el freno de estacionamiento, baje las unidades de corte, apague el motor y retire la llave.
Mida la distancia entre centros (a la altura del eje) en la parte delantera y trasera de los neumáticos de dirección (Figura 82).
Note: La distancia delantera debe ser de 3 mm menos que la trasera.

Para ajustar, retire la chaveta y la tuerca de cualquiera de las articulaciones esféricas de la biela (Figura 83). Retire la rótula de la biela del soporte del cojinete del eje.

Afloje las abrazaderas en ambos extremos de las bielas (Figura 83).
Gire la rótula desconectada una revolución completa hacia dentro o hacia fuera, y apriete la abrazadera en el extremo libre de la biela.
Gire el conjunto completo de la biela una revolución completa en el mismo sentido (hacia dentro o hacia fuera) y apriete la abrazadera del extremo conectado de la biela.
Instale la rótula en el soporte del eje, apriete la tuerca con la presión de los dedos simplemente y mida la convergencia.
Repita el procedimiento si es necesario.
Apriete la tuerca e instale una chaveta nueva cuando el ajuste sea correcto.
La ingestión del refrigerante del motor puede causar envenenamiento; manténgalo fuera del alcance de niños y animales domésticos.
Una descarga de refrigerante caliente bajo presión, o cualquier contacto con el radiador caliente y los componentes que lo rodean, puede causar quemaduras graves.
Siempre deje que el motor se enfríe durante al menos 15 minutos antes de retirar el tapón del radiador.
Utilice un trapo al abrir el tapón del radiador y ábralo lentamente para permitir la salida del vapor.
No haga funcionar la máquina sin que las cubiertas estén colocadas.
Mantenga los dedos, las manos y las prendas de vestir alejados del ventilador y de la correa de transmisión en movimiento.
El depósito de refrigerante se llena en fábrica con una solución al 50 % de agua y refrigerante de etilenglicol de larga duración.
Important: Utilice solamente refrigerantes comerciales que cumplan las especificaciones relacionadas en la Tabla de estándares de refrigerantes de larga vida.No utilice refrigerante IAT (tecnología de ácido inorgánico) convencional (verde) en su máquina. No mezcle refrigerante convencional con refrigerante de larga vida.
|
Tipo de refrigerante de etilenglicol |
Tipo de inhibidor de corrosión |
|
Anticongelante de larga duración |
Tecnología de ácido orgánico (OAT) |
|
Important: No confíe en el color del refrigerante para identificar la diferencia entre refrigerante IAT (tecnología de ácido inorgánico) convencional (verde) y refrigerante de larga vida.Los fabricantes de refrigerante pueden teñir los refrigerantes de larga duración con uno de los siguientes colores: rojo, rosa, naranja, amarillo, azul, verde azulado, violeta o verde. Utilice refrigerante que cumpla las especificaciones de la Tabla de estándares de refrigerantes de larga vida. |
|
|
ATSM International |
SAE International |
|
D3306 y D4985 |
J1034, J814, y 1941 |
Important: La concentración del refrigerante debe ser una mezcla al 50% de refrigerante y agua.
Preferencia: Al hacer la mezcla a partir de un refrigerante concentrado, mézclelo con agua destilada.
Alternativa a la preferencia: Si no se dispone de agua destilada, utilice un refrigerante premezclado en lugar de un concentrado.
Requisito mínimo: Si no dispone de agua destilada ni tampoco de refrigerante premezclado, mezcle refrigerante concentrado con agua potable limpia.
| Intervalo de mantenimiento y servicio | Procedimiento de mantenimiento |
|---|---|
| Cada vez que se utilice o diariamente |
|
Capacidad del sistema de refrigeración: 8,5 litros
Los ventiladores y las correas de transmisión, al girar, pueden causar lesiones personales.
No utilice la máquina sin los protectores instalados.
Mantenga los dedos, las manos y las prendas de vestir alejados del ventilador y de la correa de transmisión en movimiento.
Pare el motor y retire la llave antes de realizar cualquier tarea de mantenimiento.
Aparque la máquina en una superficie nivelada, ponga el freno de estacionamiento, baje las unidades de corte, apague el motor y retire la llave.
Retire con cuidado el tapón del radiador.

Compruebe el nivel de refrigerante del radiador. El radiador debe llenarse hasta la parte superior del cuello de llenado, y el depósito de expansión debe llenarse hasta la marca LLENO (Figura 84).
Si el nivel de refrigerante es bajo, añada una solución al 50 % de agua y anticongelante de etilenglicol; consulte Especificación del refrigerante. No use agua sola ni refrigerantes a base de alcohol/metanol.
Instale el tapón del radiador y el tapón del depósito de expansión.
| Intervalo de mantenimiento y servicio | Procedimiento de mantenimiento |
|---|---|
| Cada vez que se utilice o diariamente |
|
La máquina está equipada con un sistema de ventilador hidráulico que invierte su dirección de forma automática (o manual) para reducir la acumulación de residuos en el enfriador de aceite/radiador y la rejilla. Aunque este sistema puede reducir el tiempo necesario para limpiar el enfriador de aceite/radiador, no elimina la necesidad de limpieza rutinaria. Todavía es necesario limpiar e inspeccionar periódicamente el radiador y el enfriador de aceite.
Aparque la máquina en una superficie nivelada, ponga el freno de estacionamiento, baje las unidades de corte, apague el motor y retire la llave.
Deje que la máquina se enfríe; consulte Seguridad en el mantenimiento y Seguridad del sistema de refrigeración.
Desenganche y abra la rejilla trasera (Figura 85).
Note: Para retirar la rejilla, levántela de los goznes de las bisagras.
Limpie a fondo cualquier residuo de la rejilla.

Limpie a fondo ambos lados del enfriador de aceite y del radiador con aire comprimido (Figura 86).
Note: Empezando en la parte delantera, sople los residuos hacia la parte trasera. Luego, limpie desde atrás, soplando los residuos hacia adelante. Repita este procedimiento varias veces hasta eliminar todos los residuos.

Important: Si se limpia el enfriador de aceite o el radiador con agua, pueden producirse daños prematuros en los componentes por corrosión y compactación de los residuos.
Cierre la rejilla trasera y sujétela con el enganche.
Ajuste los frenos de servicio si el pedal de freno tiene más de 25 mm de holgura, o si los frenos no funcionan eficazmente. La holgura es la distancia que recorre el pedal de freno antes de notarse una resistencia de frenado.
Aparque la máquina en una superficie nivelada, ponga el freno de estacionamiento, baje las unidades de corte, apague el motor y retire la llave.
Desenganche el bloqueo de los pedales de freno para que ambos pedales funcionen de forma independiente.
Para reducir la holgura de los pedales de freno, apriete los frenos como se indica a continuación:
Afloje la tuerca delantera del extremo roscado del cable de freno (Figura 87).

Apriete la tuerca trasera para mover el cable hacia atrás hasta que los pedales de freno tengan una holgura de 13 mm a 25 mm.
Apriete las tuercas delanteras una vez que los frenos estén ajustados correctamente.
| Intervalo de mantenimiento y servicio | Procedimiento de mantenimiento |
|---|---|
| Cada 100 horas |
|
Una tensión correcta de la correa permite una desviación de 10 mm al aplicar una fuerza de 4,5 kg a la correa en el punto intermedio entre las poleas.
Si la desviación no es de 10 mm, afloje los pernos de montaje del alternador (Figura 78).
Note: Aumente o reduzca la tensión de la correa del alternador y apriete los pernos. Verifique de nuevo la desviación de la correa para asegurarse de que la tensión es la correcta.

Busque atención médica inmediatamente si el fluido penetra en la piel. Un médico deberá eliminar quirúrgicamente el fluido inyectado en pocas horas.
Asegúrese de que todas las mangueras y líneas de fluido hidráulicos están en buenas condiciones de uso, y que todos los acoplamientos y conexiones hidráulicos están apretados, antes de aplicar presión al sistema hidráulico.
Mantenga el cuerpo y las manos alejados de fugas pequeñas o boquillas que liberan fluido hidráulico a alta presión.
Utilice un cartón o un papel para buscar fugas hidráulicas.
Alivie de manera segura toda presión en el sistema hidráulico antes de realizar trabajo alguno en el sistema hidráulico.
El depósito se llena en la fábrica con fluido hidráulico de alta calidad. Compruebe el nivel del fluido hidráulico antes de arrancar el motor por primera vez y luego a diario; consulte Comprobación del nivel de fluido hidráulico.
Fluido hidráulico recomendado: fluido hidráulico Toro PX Extended Life, disponible en recipientes de 19 litros o en bidones de 208 litros.
Note: Una máquina que utilice el fluido de recambio recomendado necesita menos cambios de filtro y de fluido.
Fluidos hidráulicos alternativos: si no se encuentra disponible el fluido hidráulico Toro PX Extended Life, puede utilizar otro fluido hidráulico convencional basado en petróleo cuyas especificaciones referentes a todas las propiedades materiales estén dentro de los intervalos relacionados a continuación y que cumpla las normas industriales. No utilice fluidos sintéticos. Consulte a su distribuidor de lubricantes para identificar un producto satisfactorio.
Note: Toro no asume responsabilidad alguna por daños causados por sustituciones no adecuadas, por lo que debe utilizar solamente productos de fabricantes reputados que respalden sus recomendaciones.
| Propiedades de materiales: | ||
| Viscosidad, ASTM D445 | cSt a 40 °C 44 a 48 | |
| Índice de viscosidad ASTM D2270 | 140 o más | |
| Punto de descongelación, ASTM D97 | -37 °C a -45 °C | |
| Especificaciones industriales: | Eaton Vickers 694 (I-286-S, M-2950-S/35VQ25 o M-2952-S) | |
Note: La mayoría de los fluidos hidráulicos son casi incoloros, por lo que es difícil detectar fugas. Está disponible un aditivo de tinte rojo para el fluido hidráulico, en botellas de 20 ml. Una botella es suficiente para 15 a 22 litros de fluido hidráulico. Solicite el N.º de pieza 44-2500 a su distribuidor autorizado Toro.
Important: El fluido hidráulico biodegradable Toro Premium Synthetic es el único fluido sintético biodegradable homologado por Toro. Este fluido es compatible con los elastómeros usados en los sistemas hidráulicos Toro, y es apropiado para un amplio intervalo de temperaturas. Este fluido es compatible con aceites minerales convencionales, pero para obtener la máxima biodegradabilidad y rendimiento es necesario purgar el sistema hidráulico completamente de fluido convencional. Su distribuidor Toro autorizado dispone de este aceite en recipientes de 19 litros o en bidones de 208 litros.
| Intervalo de mantenimiento y servicio | Procedimiento de mantenimiento |
|---|---|
| Cada vez que se utilice o diariamente |
|
Aparque la máquina en una superficie nivelada, ponga el freno de estacionamiento, baje las unidades de corte, apague el motor y retire la llave.
Compruebe el nivel de fluido hidráulico (Figura 89).


| Intervalo de mantenimiento y servicio | Procedimiento de mantenimiento |
|---|---|
| Cada 800 horas |
|
| Cada 2000 horas |
|
| Cada 2 años |
|
Capacidad de fluido hidráulico: 28,4 litros
Si el fluido se contamina, póngase en contacto con su Distribuidor Autorizado Toro, porque es necesario purgar el sistema. El fluido contaminado tiene un aspecto lechoso o negro en comparación con el fluido limpio.
Aparque la máquina en una superficie nivelada, ponga el freno de estacionamiento, baje las unidades de corte, apague el motor y retire la llave.
Levante el capó.
Desconecte la manguera de retorno de la parte inferior del depósito y deje fluir el fluido hidráulico a un recipiente grande.
Vuelva a conectar la manguera cuando el fluido hidráulico se haya drenado.
Llene el depósito con fluido hidráulico; consulte Mantenimiento del fluido hidráulico.
Important: Utilice solamente los fluidos hidráulicos especificados. Otros fluidos podrían causar daños en el sistema.
Coloque el tapón del depósito.
Gire la llave del interruptor de encendido a la posición de CONECTADO para arrancar el motor. Utilice todos los controles hidráulicos para distribuir el fluido hidráulico por todo el sistema y compruebe que no hay fugas.
Gire la llave del interruptor de encendido a la posición de DESCONECTADO.
Verifique el nivel de fluido y añada suficiente para que el nivel llegue a la marca LLENO de la varilla. No llene demasiado.
| Intervalo de mantenimiento y servicio | Procedimiento de mantenimiento |
|---|---|
| Cada 800 horas |
|
| Cada 1000 horas |
|
Utilice filtros de recambio Toro Pieza Nº 94-2621 para la parte trasera (unidades de corte) de la máquina y Pieza Nº 75-1310 para la parte delantera (carga) de la máquina.
Important: El uso de otro filtro puede anular la garantía de algunos componentes.
Incline el asiento del operador para acceder al filtro de presión de la segadora; consulte Acceso al compartimento de elevación hidráulica.

Sustituya el filtro hidráulico de carga en el compartimento de elevación hidráulico, tal y como se muestra en la Figura 91.


Baje y fije el asiento del operador.
Sustituya el filtro de retorno a la derecha de la máquina (Figura 91).
Arranque el motor y déjelo funcionar durante unos 2 minutos para purgar el aire del sistema. Pare el motor y compruebe que no hay fugas.
| Intervalo de mantenimiento y servicio | Procedimiento de mantenimiento |
|---|---|
| Cada vez que se utilice o diariamente |
|
| Cada 2 años |
|
Inspeccione a diario las líneas y mangueras hidráulicas para comprobar que no tienen fugas, que no están dobladas, que los soportes no están sueltos, y que no hay desgaste, elementos sueltos, o deterioro causado por agentes ambientales o químicos. Haga todas las reparaciones necesarias antes de utilizar la máquina.
Las fugas de fluido hidráulico bajo presión pueden penetrar en la piel y causar lesiones.
Busque ayuda médica inmediatamente si el fluido penetra en la piel.
Asegúrese de que todas las mangueras y líneas de fluido hidráulico están en buenas condiciones de uso, y que todos los acoplamientos y conexiones hidráulicos están apretados, antes de aplicar presión al sistema hidráulico.
Mantenga el cuerpo y las manos alejados de fugas pequeñas o boquillas que liberan fluido hidráulico a alta presión.
Utilice un cartón o un papel para buscar fugas hidráulicas.
Alivie de manera segura toda presión en el sistema hidráulico antes de realizar trabajo alguno en el sistema hidráulico.
Aparque la máquina en una superficie nivelada, ponga el freno de estacionamiento, baje las unidades de corte, apague el motor y retire la llave.
Desconecte y retire el motor hidráulico de la unidad de corte (Figura 92). Tape la parte superior del eje para evitar la contaminación.

Retire el pasador de seguridad (para máquinas Groundsmaster 4500) o la tuerca de retención (para máquinas Groundsmaster 4700) que sujeta el bastidor de tiro de la unidad de corte a la barra de giro del brazo de elevación (Figura 93).

Aleje la unidad de corte de la máquina.
Coloque la unidad de corte en su posición, delante de la máquina.
Deslice el bastidor de tiro de la unidad de corte sobre el pasador de giro del brazo de elevación (Figura 93). Sujete la unidad de corte al pasador con el pasador de seguridad (para máquinas Groundsmaster 4500) o la tuerca de retención (para máquinas Groundsmaster 4700).
Instale el motor hidráulico en la unidad de corte (Figura 92). Asegúrese de que la junta tórica está correctamente colocada y que no está dañada.
Engrase el eje.
Inspeccione el rodillo delantero; no debe estar desgastado, tener holgura excesiva o atascarse. Ajuste o sustituya el rodillo o sus componentes si se da cualquiera de estas condiciones.
Retire el perno de montaje del rodillo (Figura 94).
Introduzca un punzón por el extremo del alojamiento del rodillo y obligue a salir al cojinete opuesto dando golpecitos alternativos en cada lado del anillo de rodadura interior del cojinete. Debe quedar expuesto un reborde de 1,5 mm del anillo de rodadura interior.

En una prensa, retire el otro cojinete haciendo presión.
Inspeccione el alojamiento del rodillo, los cojinetes, y el espaciador del cojinete (Figura 94) Sustituya cualquier componente dañado y móntelos.
Introduzca a presión el primer cojinete en el alojamiento del rodillo (Figura 94). Haga presión solamente sobre el anillo de rodadura exterior, o de forma igual sobre el anillo exterior y el interior.
Introduzca el espaciador (Figura 94).
Introduzca a presión el segundo cojinete en el alojamiento del rodillo (Figura 94). Presione de manera uniforme sobre el anillo de rodadura interior y el exterior hasta que el anillo de rodadura interior entre en contacto con el espaciador.
Instale el conjunto del rodillo en el bastidor de la unidad de corte.
Compruebe que el espacio entre el conjunto del rodillo y los soportes de montaje del rodillo del bastidor de la unidad de corte no supera los 1,5 mm. Si el espacio es de más de 1,5 mm, instale suficientes arandelas de ⅝" de diámetro para eliminar la holgura.
Important: Si fija el conjunto del rodillo con un espacio mayor de 1,5 mm, creará una carga lateral sobre el cojinete que puede causar un fallo prematuro del cojinete
Apriete el perno de montaje a 108 N·m.
Inspeccione periódicamente las cuchillas, para asegurarse de que no están desgastadas ni dañadas.
Tenga cuidado al comprobar las cuchillas. Envuelva las cuchillas o lleve guantes, y extreme las precauciones al manejar las cuchillas. Las cuchillas únicamente pueden ser cambiadas o afiladas; no las enderece ni las suelde nunca.
En máquinas con múltiples cuchillas, tenga cuidado puesto que girar una cuchilla puede hacer que giren otras cuchillas.
La unidad de corte viene de fábrica preajustada para una altura de corte de 5 cm y con una inclinación de cuchilla de 7,9 mm. Las alturas de la derecha y la izquierda también están preajustadas para que la diferencia entre las dos sea de ±0,7 mm.
La unidad de corte está diseñada para soportar impactos de cuchilla sin deformación de la cámara. Si la cuchilla golpea un objeto sólido, compruebe que no está dañada y verifique la precisión del plano de la cuchilla.
Retire el motor hidráulico de la unidad de corte y retire la unidad de corte de la máquina.
Utilice un polipasto (o dos personas como mínimo) y coloque la unidad de corte sobre una mesa plana.
Marque un extremo de la cuchilla con pintura, un rotulador o similar. Utilice este extremo de la cuchilla para comprobar todas las alturas.
Coloque el filo de corte del extremo marcado de la cuchilla en la posición de las 12 (hacia adelante, en el sentido de la siega) (Figura 95) y mida la altura desde la mesa hasta el filo de corte de la cuchilla.

Gire el extremo marcado de la cuchilla a las posiciones de las 3 y de las 9 (Figura 95) y mida las alturas.
Compare la altura medida en la posición de las 12 con el ajuste de altura de corte. Debe estar a una distancia de no más de 0,7 mm. Las alturas en la posición de las 3 y de las 9 deben ser de 1,6 a 6,0 mm mayores que en la posición de las 12 y con una distancia de no más de 2,2 mm entre sí.
Si alguna de estas medidas no es la correcta, pase a Ajuste del plano de la cuchilla.
Empiece con el ajuste delantero (cambie un soporte a la vez).
Retire el soporte de altura de corte (delantero, izquierdo o derecho) del bastidor de la unidad de corte (Figura 96).
Coloque suplementos de 1,5 mm y/o 0,7 mm entre el bastidor de la unidad de corte y el soporte hasta lograr el ajuste de altura deseado (Figura 96).

Instale el soporte de altura de corte en el bastidor de la unidad de corte con los suplementos restantes colocados debajo del soporte de altura de corte.
Apriete el perno de cabeza allen/espaciador y la tuerca con arandela prensada.
Note: El perno de cabeza allen y el espaciador están fijados con adhesivo sellador de roscas para evitar que el espaciador caiga dentro del bastidor de la unidad de corte.
Verifique la altura de la posición de las 12 y ajústela si es necesario.
Determine si sólo uno o ambos (izquierdo y derecho) de los soportes de ajuste de la altura de corte debe ser ajustado.
Note: Si el lado de las 3 o de las 9 está entre 1,6 y 6,0 mm más alto que la nueva altura delantera, no se necesita ningún ajuste más en ese lado. Ajuste el otro lado igual que el lado correcto, con una tolerancia de ±2,2 mm.
Ajuste los soportes de altura de corte de la derecha y/o de la izquierda repitiendo los pasos 1 a 4.
Apriete los pernos de cuello cuadrado y las tuercas con arandela prensada.
Verifique la altura a las posiciones de las 12 3, y 9.
Cambie la cuchilla si ha golpeado un objeto sólido, si está desequilibrada o si está doblada. Utilice siempre piezas de repuesto genuinas de Toro para garantizar la seguridad y un rendimiento óptimo.
Aparque la máquina en una superficie nivelada, eleve la unidad de corte a la posición de transporte, accione el freno de estacionamiento, apague el motor y retire la llave.
Note: Bloquee la unidad de corte para evitar que se caiga accidentalmente.
Sujete el extremo de la cuchilla usando un paño o un guante grueso.
Retire del eje de la cuchilla el perno de la cuchilla, el protector de césped y la cuchilla (Figura 97).

Instale la cuchilla, el protector de césped y el perno de la cuchilla, y apriete el perno a 115–149 N·m.
Important: La parte curva de la cuchilla debe apuntar hacia el interior de la unidad de corte para asegurar un corte correcto.
Note: Después de golpear un objeto extraño, apriete todas las tuercas de las poleas de los ejes de las cuchillas a entre 115 y 149 N·m.
Deben tenerse en cuenta dos zonas a la hora de realizar tareas de revisión y mantenimiento de la cuchilla de corte: la vela y el filo. Tanto el filo de corte como la vela, la parte inclinada hacia arriba frente al filo de corte, contribuyen a una buena calidad de corte. La vela es importante porque levanta y endereza la hoja de hierba, así produciendo un corte homogéneo. No obstante, la vela se desgasta gradualmente durante el uso. A medida que la vela se desgasta, la calidad de corte disminuye, aunque los filos de corte estén afilados. El filo de corte de la cuchilla debe estar afilado para que la hierba sea cortada en vez de desgarrada. Cuando las puntas de las hojas de hierba tienen un aspecto marrón y desgarrado, es señal de que el filo no está afilado. Afile la cuchilla para corregir esta condición.
Aparque la máquina en una superficie nivelada, eleve la unidad de corte, accione el freno de estacionamiento, ponga el pedal de tracción en PUNTO MUERTO, ponga el mando de la TDF en la posición de DESENGRANADO, apague el motor y retire la llave del interruptor de encendido.
Examine cuidadosamente los extremos de corte de la cuchilla, sobre todo en el punto de reunión entre la parte plana y la parte curva de la cuchilla (Figura 98).
Note: Puesto que la arena y cualquier material abrasivo pueden desgastar el metal que conecta las partes curva y plana de la cuchilla, compruebe la cuchilla antes de utilizar la segadora. Si se aprecia desgaste (Figura 98), cambie la cuchilla.

Inspeccione los filos de corte de todas las cuchillas, y afílelos si están romos o tienen mellas (Figura 99).
Note: Afile únicamente la parte superior del filo y mantenga el ángulo de corte original para asegurar un filo correcto (Figura 99). La cuchilla permanece equilibrada si se retira la misma cantidad de metal de ambos filos de corte.

Note: Retire las cuchillas y afílelas con una muela. Después de afilar los filos de corte, instale la cuchilla con el protector de césped y el perno de la cuchilla; consulte Retirada e instalación de las cuchillas de la unidad de corte.
Apague el motor, retire la llave y espere a que se detenga todo movimiento antes de dejar el puesto del operador. Deje que la máquina se enfríe antes de realizar ajustes, tareas de mantenimiento y de limpieza o de guardarla.
No guarde la máquina o un recipiente de combustible en un lugar donde pudiera haber una llama desnuda, chispas o una llama piloto, por ejemplo en un calentador de agua u otro electrodoméstico.
Important: No utilice agua reciclada o salada para limpiar la máquina.
Limpie a fondo la unidad de tracción, las unidades de corte y el motor.
Compruebe la presión de los neumáticos. Infle todos los neumáticos de la unidad de tracción a 0,83–1,03 bar.
Compruebe que todos los herrajes están bien apretados; apriételos si es necesario.
Engrase todos los engrasadores y de pivote. Limpie cualquier exceso de lubricante.
Lije suavemente y aplique pintura de retoque a cualquier zona pintada que esté rayada, desconchada u oxidada. Repare cualquier desperfecto de la carrocería.
Preparación de la batería y los cables:
Retire los terminales de los bornes de la batería.
Note: Desconecte primero el terminal negativo y luego el positivo. Conecte primero el terminal positivo y luego el negativo.
Limpie la batería, los terminales y los bornes con un cepillo de alambre y una solución de bicarbonato.
Aplique una capa de grasa Grafo 112X (Pieza Nº 505-47) o de vaselina a los terminales de los cables y a los bornes de la batería para evitar la corrosión.
Recargue la batería lentamente durante 24 horas cada 60 días para evitar el sulfatado de plomo de la batería.
Vacíe el aceite de motor del cárter y vuelva a colocar el tapón de vaciado.
Retire y deseche el filtro de aceite. Instale un filtro de aceite nuevo.
Vuelva a llenar el cárter con la cantidad estipulada de aceite de motor.
Gire la llave en el interruptor hasta la posición de CONECTADO, arranque el motor y déjelo funcionar a velocidad de ralentí durante aproximadamente 2 minutos.
Gire la llave en el interruptor hasta la posición de DESCONECTADO.
Vacíe completamente todo el combustible del depósito, de los tubos y del filtro de combustible/separador de agua.
Enjuague el depósito de combustible con combustible diésel limpio y nuevo.
Apriete todos los elementos del sistema de combustible.
Realice una limpieza y un mantenimiento completos del conjunto del limpiador de aire.
Selle la entrada del limpiador de aire y la salida del tubo de escape con cinta impermeabilizante.
Compruebe la protección anticongelante y rellene en caso de necesidad según la temperatura mínima prevista en su región.
Si las unidades de corte se separan de la unidad de tracción durante un periodo prolongado, instale un tapón de husillo en la parte superior del husillo para protegerlo del polvo y del agua.
