| Interval de întreţinere şi service | Procedură de întreţinere |
|---|---|
| Înainte de fiecare folosinţă sau zilnic |
|
Această mașină de tuns iarba cu lamă rotativă, prevăzută cu cabină este proiectată pentru a fi utilizată de operatori profesioniști, angajați pentru aplicații comerciale. A fost proiectată în primul rând pentru tăierea ierbii de pe gazoanele bine întreținute din parcuri, terenuri de sport și terenuri comerciale. Utilizarea acestui produs în alte scopuri decât cele intenționate poate fi periculoasă pentru dumneavoastră și pentru alte persoane.
Citiți cu atenție aceste informații pentru a învăța modul corespunzător de utilizare și întreținere a produsului și pentru a evita rănirea și deteriorarea acestuia. Aveți responsabilitatea de a utiliza produsul în mod corespunzător și sigur.
Vizitați site-ul www.Toro.com pentru siguranța produsului și materiale de instruire privind utilizarea, informații privind accesoriile, ajutor la căutarea unui distribuitor sau pentru înregistrarea produsului.
De fiecare dată când aveți nevoie de service, piese originale Toro sau informații suplimentare, contactați un furnizor de servicii autorizat sau departamentul Servicii Clienți Toro și pregătiți numerele de model sau de serie ale produsului. Figura 1 identifică locația numerelor de model sau de serie pe produs. Scrieți numerele în spațiul furnizat.
Important: Puteți scana codul QR de pe autocolantul cu numărul de serie (dacă este disponibil) cu ajutorul unui dispozitiv mobil pentru a accesa date despre garanție, piese și alte informații despre produs.

Simbolul de alertă de siguranță (Figura 2) prezent în acest manual și pe mașină identifică mesajele de siguranță importante pe care trebuie să le respectați pentru a evita accidentele.

Simbolul de alertă de siguranță apare deasupra informațiilor care vă atenționează cu privire la acțiuni sau situații nesigure și este urmat de cuvântul PERICOL, AVERTISMENT sau ATENȚIE.
PERICOL indică o situație periculoasă iminentă care, dacă nu este evitată, va duce la deces sau vătămare gravă.
AVERTISMENT indică o situație potențial periculoasă care, dacă nu este evitată, poate duce la deces sau vătămare gravă.
ATENȚIE indică o situație potențial periculoasă care, dacă nu este evitată, poate duce la vătămări ușoare sau moderate.
Acest manual utilizează două alte cuvinte pentru a evidenția informațiile. Important atrage atenţia asupra informaţiilor mecanice speciale şi Notă accentuează informaţiile generale care necesită atenţie specială.
Produsul respectă toate directivele europene relevante; pentru detalii, consultaţi Declaraţia de conformitate (DOC) separată specifică produsului.
Este o violare a Codului de Resurse Publice din California, Secţiunea 4442 sau 4443 folosirea sau operarea motorului pe orice sol acoperit de păduri, de arbuşti sau de iarbă dacă motorul nu este echipat cu un amortizor parascântei, conform Secțiunii 4442, păstrat în stare bună de funcționare sau dacă motorul nu este construit, echipat şi întreţinut pentru prevenirea incendiilor.
Manualul operatorului motorului, ataşat, cuprinde informaţii privitoare la Agenţia pentru Protecţia Mediului din Statele Unite (EPA) şi Reglementarea privind Controlul Emisiilor în California pentru sistemele de emisie, întreţinere şi garanţie. Piesele de schimb pot fi comandate prin intermediul fabricantului motorului.
În cazul în care această mașină este echipată cu dispozitiv telematic, consultați distribuitorul dumneavoastră autorizat Toro pentru instrucțiuni cu privire la activarea dispozitivului.
CALIFORNIA
Propunere 65 Avertismente
Evacuările motorului Diesel şi unele dintre constituentele sale sunt cunoscute în Statul California ca substanţe care cauzează cancerul, defectele de naştere sau daunele sistemului reproductiv.
Picioarele de susţinere, bornele bateriei şi accesoriile similare conţin plumb şi compuşi de plumb cunoscuţi în Statul California ca substanţe care cauzează cancer şi daune ale sistemului reproductiv. Spălaţi-vă mâinile după utilizare.
Utilizarea acestui produs poate cauza expunerea la substanţe chimice cunoscute în Statul California ca substanţe care cauzează cancerul, defectele de naştere sau afecţiuni ale sistemului reproductiv.
Acest produs poate provoca răni la nivelul mâinilor sau picioarelor și poate arunca obiecte. Urmați întotdeauna instrucțiunile de siguranță pentru a evita rănirea gravă.
Trebuie să citiți și să înțelegeți conținutul acestui Manual al operatorului înainte de a porni motorul.
Utilizați mașina cu foarte mare atenție. Nu vă angrenați în nicio activitate care vă poate distrage atenția; în caz contrar, se pot înregistra pagube materiale sau vătămări corporale.
Nu utilizați mașina decât cu toate apărătoarele și alte dispozitive de protecție montate pe mașină și funcționând corespunzător.
Țineți mâinile și picioarele la distanță de piesele rotative. Staţi la distanţă de gura de descărcare.
Țineți trecătorii și copiii departe de zona de utilizare. Nu lăsați niciodată copii să utilizeze mașina.
Opriți motorul, scoateţi cheia din contact şi aşteptaţi oprirea oricărei mișcări înainte de a părăsi poziţia operatorului. Lăsați mașina să se răcească înainte de reglarea, repararea, curățarea sau depozitarea acesteia.
Utilizarea sau întreţinerea necorespunzătoare
a acestei maşini poate cauza accidentări. Pentru a reduce
riscul de accidentare, respectați aceste instrucțiuni de siguranță
și acordați întotdeauna atenție simbolului de alertă
privind siguranța
, care înseamnă Atenție, Avertisment
sau Pericol – instrucțiune privind siguranța personală.
Nerespectarea acestor instrucţiuni poate cauza vătămări
corporale sau moartea.
![]() |
Instrucțiunile și autocolantele cu informații privind siguranța sunt ușor vizibile pentru operator și sunt amplasate lângă orice zonă cu potențial risc. Înlocuiți orice autocolant care este deteriorat sau lipsește. |





















Aplicați peste nr. piesă 112-5297 pentru CE* pentru mașini din seria 4500 (nr. Model 30885)

Aplicați peste nr. piesă 112-5297 pentru CE* pentru mașini din seria 4700 (nr. Model 30887)

Note: Determinaţi partea stângă şi dreaptă a maşinii din poziţia de operare normală.
Piese solicitate pentru această procedură:
| Autocolant de avertizare | 1 |
| Autocolant CE | 1 |
| Autocolant cu anul de fabricație | 1 |
La mașinile care necesită conformitate CE, înlocuiți autocolantul de avertizare (127-6647 [pentru modelul 30885] sau 127-6648 [pentru modelul 30887]), autocolantul CE și autocolantul cu anul de fabricație (Figura 3).

Piese solicitate pentru această procedură:
| Suport clichet capotă | 1 |
| Nit | 2 |
| Șaibă | 1 |
| Șurub (¼ x 2") | 1 |
| Contrapiuliţă (¼") | 1 |
Desprindeți clichetul capotei din suportul acestuia.
Îndepărtați cele 2 nituri care fixează suportul clichetului capotei pe capotă (Figura 4).

Îndepărtați suportul clichetului capotei de pe capotă.
În timp ce aliniați orificiile de montare, poziționați pe capotă suportul de blocare CE și suportul clichetului capotei (Figura 5).
Note: Suportul de blocare trebuie să fie pe capotă. Nu îndepărtați șurubul și piulița de pe brațul suportului de blocare.

Aliniați șaibele cu orificiile din interiorul capotei.
Nituiți suporții și șaibele pe capotă (Figura 5).
Prindeți clichetul capotei pe suportul clichetului capotei (Figura 6).

Montați șurubul la celălalt braț al suportului clichetului capotei pentru a bloca clichetul în poziție (Figura 7). Strângeți șurubul, dar nu strângeți piulița.

Screperul pentru rola spate opțional funcționează cel mai bine atunci când există un spațiu uniform de 0,5 până la 1 mm între screper și rolă.
Slăbiți fitingul de lubrifiere și șurubul de montare (Figura 8).

Glisați screperul în sus sau în jos până când obțineți un spațiu de 0,5 până la 1 mm între tijă și rolă.
Strângeți fitingul de lubrifiere și înșurubați-l la un cuplu de 41 N·m într-o secvență alternativă.
Contactați distribuitorul dumneavoastră autorizat Toro pentru deflectorul de mulcire corespunzător.
Curățați bine reziduurile din orificiile de montare de pe peretele din spate și peretele stâng al camerei.
Instalați deflectorul de mulcire în deschiderea din spate și fixați-l cu 5 șuruburi cu guler (Figura 9).

Verificați dacă deflectorul de mulcire nu interferează cu vârful lamei și nu iese în interiorul suprafeței peretelui camerei spate.
Utilizarea lamei cu ridicare la înălțime împreună cu deflectorul de mulcire poate cauza ruperea lamei, ducând la vătămări corporale sau deces.
Nu utilizați lama cu ridicare la înălțime cu deflectorul.
Parcați mașina pe o suprafață plană.
Pentru mașinile Groundsmaster 4500 și 4700, eliberați cablurile unității de tăiere nr. 4 și nr. 5 (Figura 39).
Pentru mașinile 4700, eliberați elementelor de fixare ale unității de tăiere nr. 6 și nr. 7 (Figura 42).
Coborâți unitățile de tăiere.
Cuplați frâna de parcare.
Opriți motorul și scoateți cheia.
Verificaţi presiunea din anvelope înainte de utilizare; consultați Verificarea presiunii din anvelope.
Important: Mențineți presiunea în toate anvelopele pentru a asigura o calitate de tăiere constantă și o performanță adecvată a mașinii. Asigurați o umflare corespunzătoare a anvelopelor.
Verificați nivelul lubrifiantului pe axul spate înainte de a porni motorul pentru prima dată; consultați Verificarea lubrifiantului pentru axul spate.
Verificați nivelul uleiului de motor înainte de a porni motorul; consultați Verificarea nivelului uleiului de motor.
Verificați nivelul uleiului hidraulic înainte de a porni motorul; consultați Verificarea nivelului de ulei hidraulic.
Verificați sistemul de răcire înainte de a porni motorul; consultați Verificarea sistemului de răcire.
Lubrifiați mașina înainte de utilizare; consultați Lubrifierea lagărelor și a bucșelor.
Important: Lubrifierea necorespunzătoare a mașinii va cauza defectarea prematură a pieselor esențiale.

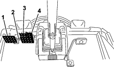
Pedala de tracțiune (Figura 10) controlează deplasarea în față și în marșarier. Apăsați partea de sus a pedalei pentru a vă deplasa în față și partea de jos pentru a vă deplasa în marșarier. Când unitățile de tăiere sunt complet ridicate, pedala controlează motorul și viteza de tracțiune ca în cazul unui autoturism.
Note: În situații de frânare de urgență, eliberați pedala de tracțiune și apoi apăsați pedalele de frână. Acesta este cel mai rapid mod de a opri mașina.
Sunt disponibile 2 pedale care acţionează frânele individuale ale roţilor pentru asistenţă la viraj, parcare şi pentru a ajuta la o tracţiune mai bună pe teren înclinat. Un element de fixare conectează pedalele pentru operarea frânei de parcare și transport (Figura 10).
Elementul de blocare a pedalei conectează pedalele pentru a cupla frâna de parcare (Figura 10).
Pentru a înclina volanul spre dumneavoastră, apăsați pedala în jos, trageți coloana de direcție spre dumneavoastră în poziția cea mai confortabilă și eliberați pedala (Figura 10). Pentru a îndepărta volanul de dumneavoastră, apăsați pedala și eliberați-o când volanul ajunge în poziția de operare dorită.
Pentru a acționa frâna de parcare, (Figura 10) conectați pedalele cu elementul de blocare a pedalei și apăsați în jos pedala de frână dreapta în timp ce cuplați pedala de vârf. Pentru a elibera frâna de parcare, apăsați una dintre pedalele de frână până când se retrage elementul de blocare a frânei de parcare.
Comutatorul de contact (Figura 11) are 3 poziții: OPRIT, PORNIT/PREîNCăLZIRE și START.

Comutatorul prizei de putere are 2 poziții: îN EXTERIOR (CUPLARE) și îN INTERIOR (DECUPLARE). Trageți butonul prizei de putere pentru a cupla lamele unității de tăiere. Apăsați butonul pentru a decupla lamele unității de tăiere (Figura 11).
Acest comutator (Figura 11) controlează cele 2 game de viteze ale mașinilor: mari și reduse.
Selectați poziția H/L AUTO (mari/reduse auto) pentru a permite mașinii să selecteze automat viteze mari sau reduse.
Selectați poziția LOW (redusă) pentru a trece manual doar la viteză redusă.
Puteți schimba oricând poziția comutatorului, dar mașina va comuta între gamele de viteză doar atunci când pedala de tracțiune este în poziție neutră și mașina este oprită.
Note: Pentru a avea viteză mare în poziția H/L AUTO, decuplați priza de putere și ridicați complet unitățile de tăiere.
Note: În cazul în care comutatorul este în poziția H/L AUTO, nu puteți coborî punțile din poziția complet ridicată decât dacă pedala de tracțiune este în poziție neutră și mașina este oprită.
Comutatorul pentru regulatorul de viteză se fixează pentru a menține viteza de deplasare dorită (Figura 12). Apăsarea părții din spate a comutatorului oprește regulatorul de viteză, poziția din mijloc a comutatorului activează funcția regulatorului de viteză, iar apăsarea părții din față a comutatorului setează viteza de deplasare dorită.
După setarea regulatorului de viteză, puteți modifica viteza utilizând InfoCenter (Figura 34).

Comutatoarele de ridicare ridică și coboară unitățile de tăiere (Figura 11). Apăsați comutatoarele în fașă pentru a coborî unitățile de tăiere și în spate pentru a le ridica. Când porniți mașina cu unitățile de tăiere în poziție coborâtă, apăsați comutatorul de ridicare în jos pentru a asigura poziția flotantă a unităților de tăiere și pentru a tunde iarba.
Note: Unitățile de tăiere nu coboară dacă este cuplată gama de viteze mari și nu se ridică și nu coboară dacă nu sunteți așezat pe scaun. De asemenea, unitățile de tăiere coboară cu cheia în poziția PORNIRE și dacă sunteți așezat pe scaun.
Apăsați comutatorul pentru lumini în sus pentru a aprinde luminile în poziția PORNIRE (Figura 11).
Apăsați comutatorul pentru lumini în jos pentru a stinge luminile în poziția OPRIRE.
Utilizați punctul de alimentare electrică (Figura 13) pentru a alimenta accesoriile electrice opționale de 12V.

Utilizați suportul pentru geantă pentru depozitare (Figura 13).
Deplasați spre exterior maneta pentru reglarea scaunului de pe partea laterală a acestuia, glisați scaunul în poziția dorită și eliberați maneta pentru a bloca scaunul în poziție (Figura 14).

Rotiți butonul pentru a regla unghiul cotierei (Figura 14).
Deplasați maneta pentru a regla unghiul spătarului scaunului (Figura 14).
Indicatorul de greutate indică momentul în care scaunul este reglat la greutatea operatorului (Figura 14). Reglați înălțimea poziționând suspensia în cadrul regiunii verzi.
Utilizați această manetă pentru a regla scaunul în funcție de greutatea dumneavoastră (Figura 14). Trageți maneta în sus pentru a mări presiunea aerului și apăsați maneta în jos pentru a reduce presiunea aerului. Reglarea este corectă atunci când indicatorul de greutate se află în regiunea verde.
Afişajul LCD InfoCenter (Figura 11) afișează informații despre mașină, cum ar fi starea de funcționare, diferite date de diagnoză și alte informații despre mașină
Ecranele care sunt afișate depind de butoanele pe care le selectați. Fiecare buton poate fi utilizat pentru alte scopuri, în funcție de opțiunile din momentul respectiv.

| Descriere | 4500-D | Figura 15 Referință | 4700-D | Figura 15 Referință | |
|---|---|---|---|---|---|
| Lăţime de tăiere | 280 cm | D | 380 cm | F | |
| Lăţime totală | |||||
| Unitățile de tăiere coborâte | 286 cm | E | 391 cm | G | |
| Unitățile de tăiere ridicate (transport) | 224 cm | A | 224 cm | A | |
| Ecartament | |||||
| Faţă | 224 cm | B | 224 cm | B | |
| Spate | 141 cm | M | 141 cm | M | |
| Înălțime cu ROPS | |||||
| Ridicat | 226 cm | C | 226 cm | C | |
| Coborât | 165 cm | 165 cm | |||
| Lungime totală | |||||
| Unitățile de tăiere coborâte | 370 cm | H | 370 cm | H | |
| Unitățile de tăiere ridicate (transport) | 370 cm | L | 370 cm | L | |
| Gardă la sol | 15 cm | 15 cm | |||
| Ampatament | 171 cm | K | 171 cm | K | |
| Greutate netă | 1937 kg | 2277 kg | |||
| (cu unități de tăiere și fără combustibil) | |||||
Note: Specificaţiile şi designul pot fi modificate fără preaviz.
| Lungime | 86,4 cm |
| Lăţime | 86,4 cm |
| Înălţime | 24,4 cm până la suportul de transport |
| 26,7 cm la o înălțime de tăiere de ¾" | |
| 34,9 cm la o înălțime de tăiere de 4" | |
| Greutate | 88 kg |
Pentru extinderea și îmbunătățirea performanțelor mașinii este disponibilă o gamă de dispozitive de atașare și accesorii aprobate de Toro. Pentru lista dispozitivelor de atașare și a accesoriilor aprobate, contactați centrul de service local sau un distribuitor Toro autorizat sau accesați www.Toro.com.
Utilizați doar piese de schimb și accesorii originale Toro. Piesele de schimb și accesoriile altor producători pot fi periculoase și pot anula garanția produsului.
Note: Determinați partea stângă și dreaptă a mașinii din poziția de operare normală.
Nu lăsaţi niciodată copii sau persoane neinstruite să utilizeze sau să efectueze lucrări de service asupra maşinii. Reglementările locale pot impune o limită de vârstă pentru utilizator. Proprietarul trebuie să asigure instruirea tuturor operatorilor și a mecanicilor.
Familiarizați-vă cu utilizarea în siguranță a echipamentului, comenzile de operare și indicatoarele de siguranță.
Opriți motorul, scoateţi cheia din contact şi aşteptaţi oprirea oricărei mișcări înainte de a părăsi poziţia operatorului. Lăsați mașina să se răcească înainte de reglarea, repararea, curățarea sau depozitarea acesteia.
Trebuie să ştiţi cum să opriţi rapid maşina și motorul.
Asigurați-vă că toate comenzile de prezență a operatorului, întrerupătoarele de siguranță și protecțiile sunt montate și funcționează în mod corespunzător. Nu utilizați mașina decât dacă acestea funcționează corect.
Înainte de cosire, inspectați întotdeauna mașina pentru a vă asigura că lamele, șuruburile și ansamblurile de tăiere sunt în stare bună de funcționare. Înlocuiți lamele și șuruburile uzate sau deteriorate, ca ansamblu, pentru a menține echilibrul.
Inspectați zona în care veți utiliza mașina și îndepărtați toate obiectele pe care mașina le-ar putea proiecta.
Acest produs generează un câmp electromagnetic. Dacă purtați un dispozitiv medical electronic implantabil, consultați medicul dumneavoastră înainte de a utiliza acest produs.
Fiți extrem de precaut în timpul manipulării combustibilului. Este inflamabil, iar vaporii săi sunt explozivi.
Stingeți toate țigările, țigaretele, pipele și alte surse de aprindere.
Utilizați doar un recipient de combustibil corespunzător.
Nu îndepărtați bușonul rezervorului sau nu umpleți rezervorul de combustibil în timp ce motorul este pornit sau fierbinte.
Nu adăugați sau goliți combustibil într-un spațiu închis.
Nu depozitați mașina sau recipientul cu combustibil într-o zonă cu o flacără deschisă, scântei sau o lampă martor, precum pe un boiler sau un alt dispozitiv electric.
Dacă vărsați combustibil, nu încercați să porniți motorul; evitați orice sursă de aprindere până la disiparea vaporilor de combustibil.
Înainte de a porni motorul și de a utiliza mașina, verificați nivelul uleiului din carterul motorului; consultați Verificarea nivelului uleiului de motor.
Înainte de a porni motorul și de a utiliza mașina, verificați sistemul de răcire; consultați Verificarea sistemului de răcire.
Înainte de a porni motorul și de a utiliza mașina, verificați sistemul hidraulic; consultați Verificarea nivelului de ulei hidraulic.
Scurgeți apa sau alți contaminanți din separatorul de apă; consultați Scurgerea apei din separatorul de apă/combustibil.
Verificați dacă există scurgeri la nivelul axei spate și al cutiei de viteze; consultați Verificarea axei spate și a cutiei de viteze pentru a descoperi eventuale scurgeri.
Capacitatea rezervorului de combustibil: 83 l
Important: Utilizați numai motorină cu un conținut foarte scăzut de sulf. Combustibilul cu conținut mai mare de sulf degradează catalizatorul de oxidare diesel (DOC), ceea ce cauzează probleme de funcționare și scurtează durata de viață a componentelor motorului.Nerespectarea următoarelor măsuri de precauție poate deteriora motorul.
Nu utilizați niciodată kerosen sau benzină în loc de motorină.
Nu amestecați niciodată kerosenul sau uleiul de motor uzat cu motorina.
Nu păstrați niciodată combustibil în recipiente placate cu zinc în interior.
Nu utilizați aditivi pentru combustibil.
Cifră cetanică: 45 sau mai mare
Conținut de sulf: conținut foarte redus de sulf (<15 ppm)
| Specificații motorină | Loc |
| ASTM D975 | SUA |
| Nr. 1-D S15 | |
| Nr. 2-D S15 | |
| EN 590 | Uniunea Europeană |
| ISO 8217 DMX | Internaţional |
| JIS K2204 - Nr. sortiment 2 | Japonia |
| KSM-2610 | Coreea |
Utilizați numai motorină curată și proaspătă sau combustibili biodiesel.
Achiziționați combustibil în cantități care pot fi utilizate în 180 de zile, pentru a asigura prospețimea combustibilului.
Folosiți motorină de vară (Nr. 2-D) la temperaturi peste -7 °C și combustibil de iarnă (Nr. 1-D sau amestec Nr. 1-D/2-D) sub această temperatură.
Note: Utilizarea combustibilului pentru iarnă la temperaturi mai scăzute asigură un punct de aprindere mai scăzut și caracteristici de curgere la rece, ceea ce ușurează pornirea și reduce colmatarea filtrului de combustibil.Utilizarea combustibilului de vară la temperaturi de peste -7 °C contribuie la o durată de viață mai mare a pompei de combustibil și la creșterea puterii în comparație cu combustibilul de iarnă.
Această mașină poate folosi, de asemenea, un amestec de combustibil biodiesel de până la B20 (20% biodiesel, 80% motorină).
Conținut de sulf: conținut foarte redus de sulf (<15 ppm)
Specificație combustibil biodiesel: ASTM D6751 sau EN14214
Specificație combustibil amestecat: ASTM D975, EN590 sau JIS K2204
Important: Proporția de motorină din petrol trebuie să aibă un conținut foarte scăzut de sulf.
Respectați următoarele măsuri de precauție:
Amestecurile de biodiesel pot deteriora suprafețele vopsite.
Utilizați B5 (conținut de biodiesel de 5%) sau amestecuri cu un conținut mai mic pentru o vreme rece.
Monitorizați garniturile, furtunurile, garniturile în contact cu combustibilul, deoarece acestea se pot degrada în timp.
După o perioadă de timp de la trecerea la amestecuri de combustibil biodiesel poate apărea colmatarea filtrului de combustibil.
Pentru mai multe informații despre combustibilul biodiesel, contactați distribuitorul autorizat Toro.


Umpleți rezervorul la aproximativ 6 până la 13 mm sub partea superioară a rezervorului, nu a bușonului cu motorină numărul 2-D.
Note: Dacă este posibil, umpleți rezervorul de combustibil după fiecare utilizare; acest lucru va minimiza posibila acumulare de condens în interiorul rezervorului de combustibil.
| Interval de întreţinere şi service | Procedură de întreţinere |
|---|---|
| Înainte de fiecare folosinţă sau zilnic |
|
Valoarea presiunii corecte din anvelope este de 1,38 bar.
Important: Mențineți presiunea recomandată în toate anvelopele pentru a asigura o calitate de tăiere bună și o performanță adecvată a mașinii. Asigurați o umflare corespunzătoare a anvelopelor.Verificați presiunea aerului din toate anvelopele înainte de a utiliza mașina.

| Interval de întreţinere şi service | Procedură de întreţinere |
|---|---|
| După prima oră |
|
| După primele 10 ore |
|
| La intervale de 200 de ore |
|
Strângeţi prezoanele la un cuplu de 115 - 136 Nm în ordinea prezentată în Figura 18 și Figura 19.


Nerespectarea cuplului adecvat de strângere a prezoanelor poate cauza vătămări corporale.
Strângeţi prezoanele la un cuplu adecvat.
Pentru evita rănirea sau decesul în urma unei răsturnări: mențineți bara antiruliu în poziție ridicată și blocată și utilizați centura de siguranță.
Asigurați-vă că scaunul este fixat cu elementul de fixare pentru scaun.
Nu există nicio protecție împotriva răsturnării atunci când bara antiruliu este în poziție coborâtă.
Nu utilizați mașina pe un teren denivelat sau pe un teren în pantă cu bara antiruliu în poziție coborâtă.
Coborâți bara antiruliu doar atunci când este absolut necesar.
Nu purtați centura de siguranță atunci când bara antiruliu este în poziție coborâtă.
Conduceți încet și cu grijă.
Ridicați bara antiruliu imediat ce permite spațiul.
Verificați cu atenție dacă aveți spațiu suficient deasupra (adică atenție la ramuri, cadre de uși sau cabluri electrice) înainte de deplasarea pe sub obiecte și nu intrați în contact cu acestea.
Important: Utilizați întotdeauna centura de siguranță atunci când bara antiruliu este blocată în poziție ridicată. Nu utilizați centura de siguranță atunci când bara antiruliu este coborâtă.
Important: Coborâți bara antiruliu doar atunci când este necesar.
Important: Asigurați-vă că scaunul este fixat cu elementul de fixare pentru scaun.


Important: Unitățile de tăiere rotative taie adesea cu aproximativ 6 mm mai jos decât o unitate de tăiere cu cilindru cu aceeași setare de banc. Poate fi necesar să setați măsurarea bancului unității de tăiere rotative la 6 mm peste cea a unităților de tăiere cu cilindru care taie în aceeași zonă.
Important: Accesul la unitățile de tăiere din spate este îmbunătățit considerabil prin îndepărtarea unității de tăiere din mașină.
Parcați mașina pe o suprafață uniformă, cuplați frâna de parcare, coborâți unitatea de tăiere la sol, opriți motorul şi scoateţi cheia.
Slăbiți șurubul care fixează fiecare consolă pentru înălțimea de tăiere la placa pentru înălțimea de tăiere (față și fiecare parte), așa cum este indicat în Figura 22.
Începând cu reglarea frontală, îndepărtați șurubul.

În timp ce susțineți camera, îndepărtați distanțierul (Figura 22).
Mutați camera la înălțimea de tăiere dorită și instalați un distanțier în orificiul și fanta pentru înălțimea de tăiere desemnate (Figura 23).

Poziționați placa filetată în linie cu distanțierul.
Strângeți șurubul cu mâna.
Repetați pașii 4 - 7 pentru fiecare reglare laterală.
Strângeți toate cele 3 șuruburi la un cuplu de 41 N·m. Strângeți întotdeauna mai întâi șurubul din față.
Note: Ajustările de peste 3,8 cm pot necesita asamblarea temporară la o înălțime intermediară pentru a preveni blocarea (de exemplu, schimbarea de la o înălțime de tăiere de 3,1 la 7 cm).
| Interval de întreţinere şi service | Procedură de întreţinere |
|---|---|
| Înainte de fiecare folosinţă sau zilnic |
|
În cazul în care comutatoarele de blocare de siguranță sunt deconectate sau deteriorate, mașina poate porni neașteptat și poate cauza vătămări corporale.
Nu modificați comutatoarele de blocare.
Verificați comutatoarele de blocare în fiecare zi și înlocuiți comutatoarele deteriorate înainte de a utiliza mașina.
Comutatoarele de blocare sunt concepute pentru a opri mașina atunci când vă ridicați de pe scaun, când este apăsată pedala de tracțiune. Cu toate acestea, vă puteți ridica de pe scaun în timp ce motorul funcționează și pedala de tracțiune este în poziția NEUTRă. Deși motorul continuă să funcționeze atunci când decuplați comutatorul prizei de putere și eliberați pedala de tracțiune, opriți motorul înainte de a vă ridica de pe scaun.
Parcați mașina pe o suprafață plană, cuplați frâna de parcare, coborâți unitățile de tăiere și rotiți cheia în poziția OPRIRE.
Apăsați pedala de tracțiune și rotiți cheia în poziția PORNIRE.
Note: Dacă motorul pornește, există o defecțiune a sistemului de blocare. Remediați această defecțiune înainte de a utiliza mașina.
Rotiți cheia în poziția PORNIRE, ridicați-vă de pe scaun și deplasați comutatorul prizei de putere în poziția PORNIRE.
Note: Priza de putere nu trebuie să se activeze. Dacă priza de putere se activează, există o defecțiune a sistemului de blocare. Remediați această defecțiune înainte de a utiliza mașina.
Cuplați frâna de parcare, rotiți cheia în poziția PORNIRE și deplasați pedala de tracțiune în afara poziției NEUTRU.
Note: Ecranul InfoCenter afișează tracțiune refuzată” și mașina nu trebuie să se miște. Dacă mașina se deplasează, există o defecțiune a sistemului de blocare. Remediați această defecțiune înainte de a utiliza mașina.
| Interval de întreţinere şi service | Procedură de întreţinere |
|---|---|
| Înainte de fiecare folosinţă sau zilnic |
|
Note: Coborâți unitățile de tăiere pe o porțiune curată de gazon sau o suprafață tare pentru a evita aruncarea de praf și reziduuri.
Pentru a verifica acest timp de oprire, așezați-vă pe scaun și decuplați priza de putere. Ascultați zgomotul produs de lamele rotative și înregistrați timpul necesar pentru oprirea completă a acestora. Dacă durează mai mult de 7 secunde, reglați supapa de frânare. Consultați-vă distribuitorul autorizat Toro pentru asistență cu privire la această reglare.
Această lamă a fost concepută pentru a oferi o ridicare și o dispersie excelente în aproape orice condiție. Dacă este necesară o viteză de ridicare și de descărcare mai mare sau mai mică, luați în considerare o lamă diferită.
Atribute: ridicare și dispersie excelente în majoritatea condițiilor
În general, lama funcționează cel mai bine la înălțimi mai mici de tăiere – 1,9 până la 6,4 cm.
Atribute:
Descărcarea este mai uniformă la înălțimi mai mici de tăiere.
Descărcarea nu proiectează atât de multe resturi la stânga și, prin urmare, asigură un aspect mai curat în jurul obstacolelor de nisip și al terenurilor.
Necesar de putere mai mic pentru înălțimi mai mici și gazon dens.
În general, lama funcționează cel mai bine la înălțimi mai mari de tăiere – 7 până la 10 cm.
Atribute:
Ridicare mai sus și o viteză mai mare de descărcare
Gazonul rar sau moale este colectat în mod semnificativ la înălțimi mai mari de tăiere
Reziduurile umede sau lipicioase sunt evacuate mai eficient, reducând aglomerarea materialului pe unitatea de tăiere.
Necesită mai mulți cai putere pentru funcționare
Are tendința de descărcare într-o zonă mai spre stânga și tendință de polog la înălțimi mai mici de tăiere
Utilizarea unei lame cu ridicare la înălțime împreună cu deflectorul de mulcire poate cauza ruperea lamei, ducând la vătămări corporale sau deces.
Nu utilizați lama cu ridicare la înălțime cu deflectorul de mulcire.
Această lamă a fost concepută pentru a asigura o mulcire excelentă a frunzelor.
Atribut: mulcire excelentă a frunzelor
| Lamă cu suprafață velică înclinată | Lamă cu suprafață velică paralelă și cu ridicare la înălțime(Nu utilizați cu deflectorul de mulcire) | Deflector de mulcire | Screper pentru rolă | |
| Tăierea ierbii: înălțime de tăiere cuprinsă între 1,9 și 4,4 cm | Recomandată în majoritatea aplicațiilor | Funcționare optimă pentru suprafețe cu gazon moale sau rar | S-a demonstrat că îmbunătățește dispersia și performanța după tăierile efectuate asupra ierbii din zone nordice, care sunt tăiate de cel puțin 3 ori pe săptămână și mai puțin de ⅓ din firul de iarbă este îndepărtat. Nu utilizați cu lama cu suprafață velică paralelă și cu ridicare la înălțime | Utilizați ori de câte ori în role se acumulează iarbă sau se pot observa acumulări mari și plate de iarbă. Screperele pot spori depunerea acumulărilor în cazul anumitor aplicații. |
| Tăierea ierbii: înălțime de tăiere cuprinsă între 5 și 6,4 cm | Recomandată pentru suprafețe cu gazon des sau abundent | Recomandată pentru suprafețe cu gazon moale sau rar | ||
| Tăierea ierbii: înălțime de tăiere cuprinsă între 7 și 10 cm | Funcționare optimă pentru suprafețe cu gazon abundent | Recomandată în majoritatea aplicațiilor | ||
| Mulcirea frunzelor | Recomandată pentru utilizare cu deflectorul de mulcire | Nepermis | Utilizați doar în combinație cu lama cu suprafață velică, lama atomică sau cu suprafață velică înclinată | |
| Avantaje | Descărcare uniformă la înălțime de tăiere mai mică; un aspect mai curat în jurul obstacolelor de nisip și al terenurilor; necesar de putere mai mic | Ridicare mai sus și o viteză mai mare de descărcare; gazonul rar sau moale este preluat la o înălțime mare de tăiere; resturile umede sau lipicioase sunt evacuate eficient | Poate îmbunătăți dispersia și aspectul în anumite aplicații de tăiere a ierbii; ideală pentru mulcirea frunzelor | Reduce acumularea materialului pe rolă pentru anumite aplicații |
| Dezavantaje | Nu ridică bine iarba în aplicații cu înălțime mare de tăiere; iarba umedă sau lipicioasă are tendința de a se acumula în cameră, ceea ce duce la o calitate slabă a tăierii și la un necesar de putere mai mare | Necesită mai multă putere pentru a funcționa în unele aplicații; tendință de polog la o înălțime mai mică de tăiere în iarbă deasă; nu utilizați cu deflectorul de mulcire | Iarba se va acumula în cameră dacă încercați să îndepărtați prea multă iarbă cu deflectorul montat |
Afișajul prezintă informații despre mașina dumneavoastră, cum ar fi starea de funcționare, diferite date de diagnoză și alte informații despre mașină. Există mai multe ecrane pe afișaj. Puteți comuta oricând între ecrane apăsând pe oricare dintre butoanele de pe afișaj și selectând apoi săgeata direcțională adecvată.

Note: Fiecare buton poate fi utilizat pentru alte scopuri, în funcție de opțiunile din momentul respectiv. Fiecare buton are o pictogramă ce afișează funcția pe care o îndeplinește în momentul respectiv.
![]() | Contor orar |
![]() | Setări opritor virtual pedală |
![]() | Operatorul trebuie să stea pe scaun. |
![]() | Frâna de parcare este cuplată. |
![]() | Temperatură lichid de răcire motor (°C sau °F) |
![]() | Tracțiune sau pedala de tracțiune |
![]() | Regulatorul de viteză este cuplat. |
![]() | Solicitare de regenerare a resetării în standby |
| Solicitare de regenerare în stare de parcare sau recuperare | |
![]() | Regenerarea în stare de parcare sau recuperare este în curs de procesare. |
![]() | Temperatură ridicată de evacuare |
![]() | Defecțiune la diagnoza controlului NOx; conduceți mașina înapoi la magazin și contactați distribuitorul autorizat Toro (versiunea de software U și ulterioară). |
![]() | Priza de putere este dezactivată. |
![]() | Priza de putere este activă. |
![]() | Baterie |
![]() | Avertisment |
![]() | Activ |
![]() | Inactiv |
![]() | Înapoi |
![]() | Înainte |
![]() | Creștere |
![]() | Scădere |
![]() | Ecranul anterior |
![]() | Următorul ecran |
![]() | Creștere valoare |
![]() | Reducere valoare |
![]() | Meniu |
![]() | Derulare în sus/jos |
![]() | Derulare la stânga/dreapta |
![]() | Temperatură lichid hidraulic (°C sau °F) |
![]() | Deplasare rapidă sau gamă de viteze mari (transport) |
![]() | Deplasare lentă sau gamă de viteze mici (cosire) |
![]() | Ventilator (inversare sens de rotație ventilator) |
![]() | Toate unitățile de tăiere sus |
![]() | Toate unitățile de tăiere jos |
![]() | Unitățile de tăiere centrale sus |
![]() | Unitățile de tăiere centrale jos |
![]() | Unitățile de tăiere stânga sus |
![]() | Unitățile de tăiere stânga jos |
![]() | Unitățile de tăiere dreapta sus |
![]() | Unitățile de tăiere dreapta jos |
![]() | Blocat |
Accesibil
doar prin introducerea codului PIN
Pentru a accesa sistemul de meniuri InfoCenter, apăsați butonul de accesare meniuri în timp ce vă aflați în ecranul principal. Veți fi direcționat către meniul principal. Consultați următoarele tabele pentru un rezumat al opțiunilor disponibile în meniuri:
| Meniu principal - opțiune de meniu | Descriere |
| Defecte | Meniul Faults (Defecte) conține o listă cu defectele recente ale mașinii. Consultați Manualul de service sau contactați distribuitorul autorizat Toro local pentru informații suplimentare cu privire la meniul Defecte și informațiile conținute. |
| Service | Meniul Service conține informații despre mașină, cum ar fi contoarele privind orele de utilizare și alte date similare. |
| Diagnostics (Diagnoze) | Meniul Diagnostics (Diagnoze) afișează starea fiecărui comutator, senzor și a fiecărei comenzi a mașinii. Puteți utiliza acest meniu pentru a remedia unele probleme, deoarece vă indică rapid care comenzi ale mașinii sunt ACTIVATE și care sunt DEZACTIVATE. |
| Settings (Setări) | Meniul Settings (Setări) vă permite să personalizați și să modificați diferiți parametri pe afișaj. |
| Machine Settings (Setări mașină) | Meniul Machine Settings (Setări mașină) vă permite să reglați pragurile de accelerație, viteză și contrabalansare. |
| About (Despre) | Meniul About (Despre) afișează numărul de model, numărul de serie și versiunea de software a mașinii. |
| Service - Opțiune de meniu | Descriere |
| Hours (Ore) | Indică numărul total de ore în care mașina, motorul și priza de putere au fost pornite, precum și numărul de ore în care mașina a fost transportată și service-ul scadent. |
| Counts (Contorizări) | Indică numeroasele contorizări pe care le-a experimentat mașina. |
Traction Pedal (Pedală de tracțiune) | |
Traction Pump (Pompă de tracțiune) | |
| Fan (Ventilator) | Indică dacă ventilatorul este activ în următoarele cazuri: temperatură ridicată motor, temperatură ridicată ulei, temperatură ridicată motor sau sistem hidraulic și ventilator pornit |
| Fuel rate (Rată alimentare) | Indică rata de alimentare utilizată. |
| DPF Regeneration (Regenerare DPF) | Opțiunea de regenerare a filtrului de particule diesel și submeniurile DPF |
| Diagnoză - Opțiune de meniu | Description (Descriere) |
| Left Cutting Unit (Unitate de tăiere stânga) | Consultați Manualul de service sau adresați-vă distribuitorului autorizat Toro pentru informații suplimentare cu privire la meniul Engine Run (Rulare motor) și informațiile conținute. |
| Center Cutting Unit (Unitate de tăiere centrală) | |
| Right Cutting Unit (Unitate de tăiere dreapta) | |
| Traction (Tracţiune) | |
| HI/LO Range (Gamă ridicată/scăzută) | |
| PTO (Priză de putere) | |
| Engine (Motor) | |
CAN Statistics (Statistici CAN) |
| Setări - Opțiune de meniu | Descriere |
| Enter PIN (Introducere PIN) | Permite unei persoane (supraveghetor/mecanic) autorizate de dumneavoastră să acceseze meniurile protejate cu codul PIN. |
| Backlight (Iluminare de fundal) | Reglează luminozitatea ecranului LCD. |
| Language (Limbă) | Setează limba utilizată pe ecranul InfoCenter*. |
| Font Size (Dimensiune font) | Controlează dimensiunea fontului de pe afișaj. |
| Units (Unități) | Controlează unitățile utilizate pe ecranul InfoCenter (în sistem imperial sau metric). |
Protected Menus (Meniuri protejate)![]() | Permite unei persoane autorizate de dumneavoastră să acceseze meniurile protejate cu codul PIN |
Protect Settings (Setări protejate)![]() | Asigură posibilitatea de a modifica setările din setările protejate. |
Note: Meniul Machine Settings (Setări mașină) va apărea numai când este introdus PIN-ul.
Machine Settings (Setări mașină) –
Opțiune de meniu![]() | Descriere |
Mow Speed (Viteză de tuns iarba) ![]() | Controlează viteza maximă în timpul tunderii ierbii (gamă de viteze reduse) |
Trans. Speed (Viteză de transport) ![]() | Controlează viteza maximă în timpul transportului (gamă de viteze mari) |
Smart Power (funcție Smart Power) ![]() | Activează și dezactivează funcția Smart Power |
Counterbalance (Contrabalansare) ![]() | Controlează nivelul de contrabalansare aplicat de unitățile de tăiere |
Turnaround (Întoarcere) ![]() | Activează și dezactivează funcția de Întoarcere |
Acceleration (Accelerare) ![]() | Setările Scăzut, Mediu și Ridicat controlează cât de repede se modifică viteza de tracțiune atunci când deplasați pedala de tracțiune. |
Protejate
în cadrul meniurilor protejate - accesibil doar prin introducerea
codului PIN
| Despre - Opțiune de meniu | Descriere |
| Model | Indică numărul de model al mașinii. |
| SN (Număr de serie) | Indică numărul de serie al mașinii. |
| Machine Controller Revision (Versiunea dispozitivului de control al mașinii) | Indică versiunea de software a dispozitivului de control principal. |
| S/W Revision (Versiune software) | Indică versiunea de software a dispozitivului de control primar. |
InfoCenter Revision (Versiune InfoCenter) | Indică versiunea de software pentru InfoCenter |
Secondary software (Software secundar) | Indică numărul de piesă și versiunea dispozitivului de control al unității de tăiere pentru modelul Groundsmaster 4700. |
| Stage V (Treapta V) | Indică yes (da) sau no (nu) în funcție de motor. |
Există setări de configurare a funcționării care pot fi ajustate în SETTINGS (Setări) din InfoCenter.Pentru a bloca aceste setări, utilizați PROTECTED MENU (Meniu protejat).
Note: În momentul livrării, codul inițial al parolei este programat de distribuitorul dumneavoastră.
Note: Codul PIN al mașinii setat din fabrică este 0000 sau 1234.Dacă ați schimbat codul PIN și l-ați uitat, contactați-vă distribuitorul autorizat Toro pentru asistență.
Din MAIN MENU (Meniul Principal), derulați în jos la meniul SETTINGS (Setări) și apăsați butonul de selectare (Figura 25).

În meniul SETTINGS(Setări), derulați până la ENTEER PIN (Introducere PIN) și apăsați butonul de selectare (Figura 26A).

Pentru a introduce codul PIN, apăsați butoanele de navigare sus/jos până când este afișată prima cifră corectă, apoi apăsați butonul de navigare dreapta pentru a trece la cifra următoare (Figura 26B și Figura 26C). Repetați acest pas până când se introduce ultima cifră.
Apăsați butonul de selectare.
Note: Dacă afișajul acceptă codul PIN și meniul protejat este deblocat, cuvântul PIN” este afișat în colțul din dreapta sus al ecranului.
Pentru a bloca meniul protejat, rotiți comutatorul de contact în poziția OPRIRE și apoi în poziția PORNIRE.
În SETTINGS (Setări), derulați în jos până la PROTECT SETTINGS (Setări protejate).
Pentru a vizualiza și modifica setările fără
a introduce un cod PIN, utilizați butonul de selectare pentru a schimba PROTECT SETTINGS (Setări Protejate) la
(Oprit).
Pentru a vizualiza și modifica setările cu
un cod PIN, utilizați butonul de selectare pentru a modifica PROTECT SETTINGS (Setări protejate) la
(Pornit), setați codul
PIN și rotiți cheia de contact la poziția OFF (Oprit) și apoi la poziția ON (Pornit).
Temporizatorul de scadență a lucrărilor de service resetează numărul de ore după care mașina trebuie dusă în service, după efectuarea unei proceduri de întreținere.
În SETTINGS (Setări), derulați până la ENTER PIN (Introducere PIN) și apăsați butonul de selectare.
Introduceți codul PIN, consultați Accesarea meniurilor protejate.
În SERVICE , navigați la HOURS (Ore) și apăsați butonul de selectare.
Derulați în jos până la SERVICE DUE (Service scadent).
Note: În cazul în care service-ul este scadent, NOW (Acum) apare lângă SERVICE DUE (Service scadent).
Evidențiați intervalul de service și apăsați butonul de selectare.
Note: Intervalul de service (250 ore, 500 ore, etc.) se află lângă SERVICE DUE (Service scadent).Intervalul de service este o opțiune de meniu protejat.
Când apare ecranul RESET SERVICE TIMER? (Resetați temporizatorul de service?), apăsați butonul de selectare pentru YES (DA) sau butonul înapoi pentru NO (NU).
După ce selectați YES (Da), ecranul cu intervalul de service dispare și reveniți la selecția orelor de service.
Setarea selectată este afișată cu un X pe graficul cu bare al vitezei de tracțiune împreună cu setările pentru regulatorul de viteză și opritorul pedalei. Un X pe o bară vă arată că viteza maximă este limitată de coordonator (Figura 31).
Note: Această setare este păstrată în memorie și aplicată vitezei de tracțiune până când o modificați.
În MACHINE SETTINGS (Setări mașină), derulați în jos până la MOW SPEED (Viteză de tuns iarba).
Utilizați butoanele de navigare stânga și dreapta pentru a crește viteza maximă de tundere a ierbii în pași de 5% pe ecranul principal și de 10% în meniul MACHINE SETTINGS (Setări mașină). Intervalul pentru ecranul principal este de la 10 până la 100%, iar intervalul din MACHINE SETTINGS (Setări mașină) este de la 30 până la 100%.
Setarea selectată este afișată cu un X pe graficul cu bare al vitezei de tracțiune împreună cu setările pentru regulatorul de viteză și opritorul pedalei. Un X pe o bară vă arată că viteza maximă este limitată de coordonator (Figura 31).
Note: Această setare este păstrată în memorie și aplicată vitezei de tracțiune până când o modificați.
În MACHINE SETTINGS (Setări mașină), derulați în jos până la TRANSPORT SPEED (Viteză de transport).
Utilizați butoanele de navigare stânga și dreapta pentru a crește viteza maximă de tundere a ierbii în pași de 5% pe ecranul principal și de 10% în meniul MACHINE SETTINGS (Setări mașină). Intervalul pentru ecranul principal este de la 10 până la 100%, iar intervalul din MACHINE SETTINGS (Setări mașină) este de la 30 până la 100%.
În SETTINGS (Setări), derulați în jos până la SMART POWER (funcție Smart Power).
Apăsați butonul de navigare dreapta pentru a comuta între ACTIVARE și DEZACTIVARE.
În MACHINE SETTINGS (Setări mașină), derulați în jos până la COUNTERBALANCE (Contrabalansare).
Apăsați butonul de navigare dreapta pentru a selecta contrabalansarea și a comuta între setările LOW (Scăzut), MEDIUM (Mediu), și HIGH (Ridicat).
În MACHINE SETTINGS (Setări mașină), derulați în jos până la ACCELERATION (Accelerare).
Apăsați butonul de navigare dreapta pentru a comuta între LOW (Scăzut), MEDIUM (Mediu), și HIGH (Ridicat).
În meniul SETTINGS MENU (meniu Setări), derulați în jos până la TURNAROUND (Întoarcere).
Apăsați butonul dreapta pentru a comuta între ON (PORNIT) și OFF (OPRIT).
Note: Pentru confort la operare, puteți decide să efectuați o regenerare în stare de parcare înainte ca sarcina de funingine să atingă 100%, cu condiția ca motorul să fi funcționat mai mult de 50 de ore de la ultima regenerare de resetare, în stare de parcare sau de recuperare efectuată cu succes.
Utilizați meniul tehnicianului pentru a vizualiza starea curentă a controlului regenerării motorului și nivelul curent de funingine.
În SETTINGS (Setări), derulați în jos până la DPF RENGERATION (Regenerare DPF) și apăsați butonul de selectare.
În DPF RENGERATION (Regenerare DPF), derulați în jos până la TECHNICIAN (Tehnician) și apăsați butonul de selectare.


Intermitent roșu – defect activ
Roșu continuu – avertizare activă
Albastru continuu – mesaje de calibrare/dialog
Verde continuu – funcționare normală
Această mașină afișează vitezele de tracțiune estimate sub formă de procent.
Viteza este afișată între 10 și 100% pentru ecranele pentru regulatorul de viteză și opritorul virtual al pedalei, și între 30 și 100% în meniul MACHINE SETTINGS (Setări mașină).
La pornirea mașinii pe vreme rece, modul de încălzire limitează turația motorului la ralanti redus pentru o perioadă scurtă de timp după pornirea motorului, prevenind astfel posibilele deteriorări ale componentelor în urma funcționării mașinii cu ulei rece.
O pictogramă de fulg de zăpadă
pe ecranul InfoCenter indică
faptul că modul de încălzire este activ. Nu folosiți
utilajul decât după perioada de încălzire.
Proprietarul/operatorul poate preveni și este responsabil pentru accidentele care pot cauza vătămări corporale sau pagube materiale.
Purtați îmbrăcăminte adecvată, inclusiv ochelari de protecție, pantaloni lungi, încălțăminte solidă, antiderapantă și căști pentru protecția auzului. Strângeți la spate părul lung și nu purtați îmbrăcăminte largă sau bijuterii.
Nu operaţi maşina dacă sunteți bolnav, obosit sau sub influența alcoolului sau a drogurilor.
Utilizați mașina cu foarte mare atenție. Nu vă angrenați în nicio activitate care vă poate distrage atenția; în caz contrar, se pot înregistra pagube materiale sau vătămări corporale.
Înainte de a porni motorul, asigurați-vă că toate dispozitivele de acționare sunt în poziția neutră, că frâna de parcare este cuplată și că vă aflați în poziția de operare.
Nu transportați persoane cu mașina și țineți trecătorii și copiii departe de zona de utilizare.
Utilizați mașina doar în condiții bune de vizibilitate și feriți-vă de gropi și pericole ascunse.
Evitați să tundeți iarba în condiții de umezeală. Tracțiunea redusă poate cauza alunecarea mașinii.
Țineți mâinile și picioarele la distanță de piesele rotative. Stați la distanță de gura de descărcare.
Uitați-vă în spate și în jos înainte de a deplasa mașina în marșarier pentru a vă asigura că drumul este liber.
Apropiați-vă cu atenție de curbele fără vizibilitate, tufișuri, copaci sau alte obiecte care vă pot afecta vizibilitatea.
Opriți lamele când nu tundeți iarba.
Opriți mașina, îndepărtați cheia și așteptați până ce se opresc toate piesele mobile înainte de a verifica un dispozitiv de atașare după lovirea unui obiect sau dacă mașina vibrează anormal. Efectuați reparațiile necesare înainte de a o utiliza din nou.
Când conduceți mașina, încetiniți și virați, traversați drumurile și trotuarele cu mare atenție. Acordați întotdeauna dreptul de trecere.
Decuplați dispozitivul de acționare de la unitatea de tăiere, opriți motorul, scoateți cheia și așteptați până ce toate piesele mobile se opresc înainte de a regla înălțimea de tăiere (cu excepția cazului în care o puteți regla din poziția de operare).
Operați motorul doar în zone bine ventilate. Gazele de eșapament conțin monoxid de carbon, care este letal odată ce este inhalat.
Nu lăsați o mașină pornită nesupravegheată.
Înainte de a părăsi poziția operatorului, realizați următorii pași:
Parcați mașina pe o suprafață uniformă.
Decuplați priza de putere și coborâți dispozitivele de atașare.
Cuplați frâna de parcare.
Opriți motorul și scoateți cheia.
Așteptați până ce toate mișcările se opresc.
Utilizați mașina doar atunci când aveți o vizibilitate corespunzătoare. Nu utilizați mașina dacă există riscul unor descărcări electrice.
Nu utilizați mașina drept vehicul de tractare.
Utilizați numai accesorii, dispozitive de atașare și piese de schimb aprobate de Toro.
Utilizați regulatorul de viteză (dacă există în dotare) doar atunci când puteți opera mașina într-o zonă deschisă, plană, fără obstacole, în care mașina se poate deplasa cu o viteză constantă fără întrerupere.
ROPS este un dispozitiv de siguranță integral și eficient.
Nu îndepărtați niciuna dintre componentele ROPS de pe mașină.
Asigurați-vă că centura de siguranță este montată la mașină.
Trageți centura de siguranță și conectați-o la catarama de pe partea cealaltă a scaunului.
Pentru a deconecta centura de siguranță, susțineți-o, apăsați butonul de pe cataramă pentru a elibera centura și ghidați-o în deschiderea de retragere automată. Asigurați-vă că puteți elibera cureaua rapid în caz de urgență.
Verificați cu atenție dacă există obstacole deasupra capului și nu intrați în contact cu acestea.
Păstrați sistemul ROPS într-o stare de funcționare optimă, inspectându-l periodic pentru deteriorări și menținând toate elementele de fixare strânse.
Înlocuiți componentele ROPS deteriorate. Nu le reparați sau modificați.
O cabină montată de Toro are o bară antiruliu.
Purtați întotdeauna centura de siguranță.
Mențineți bara antiruliu rabatabilă în poziția ridicată și blocată și utilizați centura de siguranță atunci când operați mașina cu bara antiruliu în poziția ridicată.
Coborâți o bară antiruliu pliabilă doar când este necesar. Nu purtați o centură de siguranță atunci când bara antiruliu este pliată.
Rețineți că nu există protecție împotriva răsturnării atunci când o bară antiruliu pliată este în poziția inferioară.
Verificați zona pe care o veți cosi și nu pliați niciodată o bară antiruliu pliabilă în zonele în care există pante sau apă.
Pantele reprezintă un risc major de accidente legate de pierderea controlului și răsturnare, care pot cauza vătămări grave sau decesul. Sunteți responsabil pentru utilizarea în siguranță pe pante. Utilizarea mașinii pe o pantă necesită atenție suplimentară.
Evaluați starea curentă a terenului pentru a stabili dacă panta este sigură pentru utilizarea mașinii, inclusiv întregul spațiu. Dați dovadă de simț practic și o judecată bună atunci când realizați această evaluare.
Consultați instrucțiunile privind pantele indicate mai jos pentru operarea mașinii pe pante și pentru a stabili dacă puteți opera mașina în condițiile din ziua respectivă și la locul respectiv. Modificările de pe teren pot duce la o schimbare legată de utilizarea în pantă a mașinii.
Evitați pornirea, oprirea sau virarea mașinii în pantă. Evitați să schimbați brusc viteza sau direcția. Virați ușor și treptat.
Nu utilizați mașina în nicio situație în care tracțiunea, direcția sau stabilitatea este sub semnul întrebării.
Îndepărtați sau marcați obstacole precum șanțurile, gropile, denivelările, pietrele sau alte pericole ascunse. Iarba înaltă poate ascunde obstacole. Terenul denivelat poate cauza răsturnarea mașinii.
Rețineți faptul că utilizarea mașinii pe iarbă udă, de-a lungul pantelor sau pe direcție descendentă poate duce la pierderea tracțiunii. Pierderea tracțiunii pentru roțile motoare poate duce la alunecare și pierderea capacității de frânare și direcționare.
Fiți extrem de precaut când utilizați mașina în apropierea pantelor abrupte, șanțurilor, terasamentelor, cursurilor de apă sau altor zone periculoase. Mașina se poate răsturna brusc dacă o roată trece peste margine sau marginea cedează. Păstrați o distanță sigură între mașină și orice sursă de pericol.
Identificați pericolele de la baza pantei. Dacă există pericole, cosiți panta cu o mașină controlată pietonal.
Dacă este posibil, mențineți unitatea (unitățile) de tăiere coborâtă(e) la sol în timpul utilizării pe pantă. Ridicarea unității (unităților) de tăiere timpul utilizării în pantă poate genera instabilitatea mașinii.
Fiți extrem de precaut cu sistemele de colectare a ierbii sau alte dispozitive de atașare. Acestea pot modifica stabilitatea mașinii și pot cauza pierderea controlului.
Această mașină are o accelerație în stil auto care este controlată de pedala de tracțiune.
Această mașină nu are un comutator de accelerație separat sau o manetă de accelerație.
Când eliberați pedala de tracțiune, mașina frânează dinamic până la oprire.
Comenzile pedalei sunt optimizate pentru a oferi un răspuns reactiv, dar stabil, permițându-vă să mențineți controlul constant pe teren accidentat, asigurând în același timp o frânare rapidă și lină.
În timpul transportului, pedala de tracțiune va funcționa similar cu cea a unui autoturism și va modifica turația motorului și viteza de tracțiune în funcție de poziția sa.
Când tundeți iarba, turația motorului va crește automat la turație de ralanti ridicată.
Dacă motorul funcționează la turația de ralanti scăzută, activarea unei funcții precum ridicarea unităților de tăiere sau apăsarea pedalei de tracțiune mărește turația motorului la o turație minimă de lucru, oferind suficientă putere pentru a derula eficient funcția.
Limitați timpul de inactivitate al mașinii conform recomandărilor pentru regenerarea filtrului de particule diesel (DPF). Opriți mașina pentru a preveni prelungirea timpului de funcționare la ralanti.
Vitezele maxime stabilite în setările meniului protejat prin codul PIN sunt stabilite de coordonator pentru a limita viteza maximă de tracțiune a mașinii.
Utilizarea pedalei pentru tracțiunea posibilă, a regulatorului de viteză și vitezelor de tracțiune pentru opritorul pedalei sunt toate limitate de vitezele maxime setate în meniul protejat prin codul PIN.
Când porniți motorul și temperatura uleiului hidraulic este scăzută, turația motorului crește automat pentru a optimiza funcționarea și încălzi mașina. Turația motorului revine automat la turația de ralanti scăzută după ce temperatura uleiului hidraulic se încadrează într-un interval normal de funcționare.
În condiții normale de funcționare, această mașină este destinată să funcționeze în poziția H/L AUTO a comutatorului pentru gama de viteze (Figura 29). Această poziție permite mașinii să comute automat între gamele de viteze reduse și mari, după cum mașina este utilizată pentru tunderea ierbii sau transport.
Atunci când selectați poziția REDUSă a comutatorului pentru gama de viteze (Figura 29), mașina va funcționa întotdeauna în gama de viteze reduse. Această setare este de preferat pentru operarea într-o zonă de atelier, încărcarea sau descărcarea de pe o remorcă, urcarea pe pante abrupte sau orice altă operațiune în care nu se dorește o viteză de tracțiune mai mare din gama de viteze mari.
Dacă există un obstacol în drum, ridicați unitățile de tăiere pentru a tunde iarba în jurul acestuia.
Când transportați mașina între zonele de lucru, activați gama AUTO HI/LOW, opriți priza de putere și ridicați unitățile de tăiere în poziția complet în sus. Acest lucru permite pedalei de tracțiune să funcționeze în mod similar celei a unui autoturism.
Conduceți întotdeauna încet în zonele accidentate.
Pentru a vă familiariza cu caracteristicile mașinii, exersați utilizarea acesteia.
Ridicați unitățile de tăiere, eliberați frâna de parcare, apăsați pedala de tracțiune înainte și conduceți cu atenție într-o zonă deschisă.
Exersați conducerea mașinii, deoarece are o transmisie hidrostatică și caracteristicile sale pot diferi de ale altor mașini de întreținere a gazonului.
Exersați deplasarea în față și în marșarier și pornirea și oprirea mașinii. Pentru a opri mașina, eliberați pedala de tracțiune și lăsați-ă să revină în poziția NEUTRă.
Note: Când coborâți în pantă cu mașina, poate fi necesar să folosiți pedala de marșarier pentru a opri.
Eliberați pedala de tracțiune și apăsați pedalele de frână pentru a opri rapid.
Exersați deplasarea în jurul obstacolelor cu unitățile de tăiere ridicate și coborâte. Aveți grijă când conduceți între obiecte apropiate, astfel încât să nu deteriorați mașina sau unitățile de tăiere.
Această mașină este echipată cu 2 game de viteze de tracțiune: reduse și mari. Cu ajutorul comutatorului pentru gama de viteze puteți selecta următoarele poziții (Figura 29):
Gama mari/reduse - Auto:
Selectarea poziției H/L AUTO permite mașinii să selecteze automat între gamele de viteze reduse și mari. Poziția H/L AUTO este comparabilă cu selectarea poziției D (drive) din autoturismul dumneavoastră echipat cu transmisie automată.
Note: Pentru a preveni deteriorarea posibilă a gazonului, mașina va comuta între gamele de viteze reduse și mari doar atunci când pedala de tracțiune este în poziția NEUTRĂ și s-a oprit mișcarea roților.
Note: Unitățile de tăiere nu pot fi coborâte din poziția de transport în timp ce conduceți mașina în gama de viteze mari.
Atunci când este selectată poziția H/L AUTO și unitățile de tăiere sunt coborâte pentru tunderea ierbii, gama de viteze este limitată la gama de viteze reduse.
Pentru a obține gama de viteze mari, selectați poziția H/L AUTO a comutatorului pentru gama de viteze, decuplați priza de putere și ridicați complet unitățile de tăiere.
Atunci când este selectată poziția H/L AUTO, mașina va comuta automat între gamele de tracțiune mari și reduse, în funcție de poziția unităților de tăiere și/sau de poziția comutatorului prizei de putere.
Gama redusă:
Selectarea poziției LOW (Reduse) a comutatorului menține mașina în permanență în gama de viteze reduse. Selectarea poziției LOW este comparabilă cu selectarea poziției 2, 1 SAU L în autoturismul dumneavoastră cu transmisie automată.
Atunci când este selectată poziția LOW, mașina funcționează doar în gama de viteze reduse.
Utilizați poziția LOW atunci când încărcați mașina pe o remorcă sau vă deplasați în zone înguste, cum ar fi un atelier.

Această pedală controlează viteza de deplasare în față și în marșarier a mașinii și frânarea dinamică atunci când o readuceți în poziție neutră.
Pedala de tracțiune este similară clapetei de accelerație tip auto - turația motorului și viteza mașinii răspund la mișcarea pedalei.
În timpul transportului, pedala de tracțiune va funcționa similar cu cea a unui autoturism și va modifica turația motorului și viteza de tracțiune în funcție de poziția sa.
În timpul tunderii ierbii, motorul ajunge automat la turația de ralanti ridicată pentru a optimiza performanța de tundere a ierbii, iar pedala de tracțiune controlează doar viteza de tracțiune.
Cu cât apăsați mai mult pedala pentru deplasare în față sau în marșarier, cu atât mai rapid se va deplasa mașina.
Pentru a controla mașina până la o oprire lină în timpul transportului sau al tunderii ierbii, readuceți cu piciorul pedala de tracțiune în poziția neutră cu viteza dorită.
Pentru a activa frânarea maximă, eliberați pedala de tracțiune, permițându-i să revină la poziția neutră. Mașina frânează dinamic până la oprire.
Acest sistem de tracțiune permite operatorului să personalizeze setările de accelerație pentru confortul său și condițiile de parcurs. Consultați Înțelegerea modului Accelerare pentru modificarea setărilor.

Funcția de opritor virtual al pedalei (VPS) vă permite să setați limitele temporare pentru viteza de tracțiune maximă pentru intervalul de tundere a ierbii și de transport.
Pentru a accesa această funcție, selectați butonul de navigare sus sau jos al InfoCenter din meniul principal (Figura 31).
Utilizați VPS pentru a regla viteza de tracțiune maximă pentru a se potrivi cu nivelul dumneavoastră de confort sau pentru a se potrivi cu aplicația.
Nu puteți regla limita de viteză VPS pentru a fi mai rapidă decât viteza de tracțiune maximă protejată de coordonator.
VPS este o setare temporară. Această funcție revine la setările de viteză efectuate de către coordonator atunci când cheia este rotită în poziția OPRIT.
Atunci când viteza de tracțiune este modificată de către coordonator în setările meniului protejat, sau de către dumneavoastră prin VPS, pedala de tracțiune se reprogramează automat pentru a utiliza întreaga cursă a pedalei între poziția neutră și noua setare pentru viteza maximă.
Reducerea setărilor pentru viteza de tracțiune maximă vă permite să controlați în mod precis sistemul de tracțiune.

În timp ce utilizați VPS, reduceți temporar viteza maximă pentru următoarele sarcini:
Tunderea ierbii de pe trecerea de curățare de pe teren.
Funcționarea în sau în apropierea atelierului de întreținere.
Încărcarea mașinii pe o remorcă.
Note: O viteză maximă mai mică permite un control îmbunătățit în timpul efectuării acestor sarcini.
Important: În situații de frânare de urgență, eliberați pedala de tracțiune și apoi apăsați pedalele de frână.
Puteți utiliza frânele individual pentru viraje sau pentru a îmbunătăți tracțiunea doar în gama de viteze reduse. Atunci când utilizați frânele individual efectuați următoarele:
Deconectați elementul de blocare a pedalei (Figura 32).
Pentru asistență la viraj, apăsați pedala de frână corespunzătoare în partea în care efectuați virajul. Acest lucru permite obținerea unei raze de bracaj mai mici.
Note: Folosiți frânele individuale cu atenție, în special pe iarbă moale sau umedă, deoarece gazonul se poate rupe.
Pentru asistență la tracțiune, aplicați o presiune ușoară pe pedala de frână corespunzătoare anvelopei din față care patinează. De exemplu, în unele condiții de teren înclinat, roata din amonte patinează și își pierde tracțiunea. Dacă apare această situație, apăsați pedala de frână la urcare treptat și intermitent, până când roata din amonte nu mai patinează. Această acțiune mărește tracțiunea pe roata din aval.

Comutatorul pentru regulatorul de viteză se blochează pentru a menține viteza de deplasare dorită. Apăsarea părții din spate a comutatorului oprește regulatorul de viteză, poziția din mijloc a comutatorului activează funcția regulatorului de viteză, iar apăsarea părții din față a comutatorului setează viteza de deplasare dorită.
După ce este activat comutatorul pentru regulatorul de viteză și este setată viteza (Figura 33), utilizați InfoCenter pentru a seta viteza regulatorului de viteză (Figura 31 și Figura 34).
Pentru a decupla regulatorul de viteză procedați după cum urmează:
Când este activată gama de viteze mari, apăsați pedala de tracțiune în marșarier, apăsați frânele de serviciu sau deplasați comutatorul pentru regulatorul de viteză în poziția OPRIT.
Când este activată gama de viteze reduse, apăsați pedala de tracțiune în marșarier, apăsați frânele de serviciu, opriți comutatorul prizei de putere sau deplasați comutatorul pentru regulatorul de viteză în poziția OPRIT.

Setați o viteză de croazieră pentru distanțe lungi, fără multe obstacole.
Pe teren accidentat, utilizați InfoCenter pentru a controla viteza.
Utilizați regulatorul de viteză pentru întoarceri după cum urmează:
Setați regulatorul de viteză la o viteză mai mică la care vă simțiți confortabil și în siguranță în timp ce întoarceți.
Apăsați pedala de tracțiune pentru a mări viteza de tundere a ierbii în timpul trecerii.
Eliberați pedala când întoarceți pentru următoarea trecere de tundere a ierbii.
Mașina va încetini până la setarea scăzută a regulatorului de viteză, permițându-vă să efectuați o întoarcere eficientă la o viteză constantă.
După întoarcere, utilizați pedala de tracțiune pentru a mări viteza mașinii pentru următoarea trecere de tundere a ierbii.
Această setare determină cât de repede schimbă mașina viteza de tracțiune și efectuează decelerarea mașinii în gama de viteze reduse. Accesați meniurile protejate din InfoCenter pentru a modifica modul Accelerare. Modul Accelerare are 3 poziții:
Low (Redusă) - accelerare și decelerare redusă
Medium (Medie) - accelerare și decelerare medie
High (Mare) - cea mai mare accelerare și decelerare
Modul Întoarcere vă asigură controlul convenabil, cu o singură atingere, pentru a ridica unitățile de tăiere deasupra gazonului în timp ce opriți temporar lamele, permițându-vă să vă concentrați asupra conducerii mașinii la finalul unei treceri de tundere a ierbii sau în timp ce vă deplasați printre alte obstacole.
Note: Modul Întoarcere este o caracteristică din setările protejate.
Când este setată poziția PORNIT pentru modul întoarcere, apăsați pentru scurt timp comutatorul de ridicare spre spate (Figura 11) pentru a ridica automat toate unitățile de tăiere din poziția flotantă la o înălțime prestabilită, decuplând automat priza de putere. Pentru a relua tunderea ierbii, apăsați spre față comutatorul de ridicare. Toate unitățile de tăiere coboară, iar priza de putere pornește din nou.
Când este setată poziția OPRIT pentru modul întoarcere, ridicați manual unitățile de tăiere din poziția flotantă ținând apăsate toate comutatoarele de ridicare spre spate, până când unitățile de tăiere se ridică la înălțimea dorită. Pentru mașinile Groundsmaster 4700, apăsați toate cele 3 comutatoare de ridicare pentru a ridica toate cele 7 unități de tăiere (Figura 11). Priza de putere nu se decuplează până când unitățile de tăiere nu se ridică la aceeași înălțime prestabilită când este setată poziția PORNIT pentru modul întoarcere.
Note: În mod implicit, pentru modul întoarcere este setată poziția PORNIT.
Sistemul de contrabalansare menține contrapresiunea hidraulică pe cilindrii de ridicare ai unității de tăiere. Sistemul de contrabalansare monitorizează presiunea de tracțiune în timp real, modificând în mod dinamic contrapresiunea cilindrului de ridicare pentru a optimiza puterea de tracțiune și aspectul după tăiere. Presiunea de contrabalansare a fost setată din fabrică la un echilibru optim între aspectul după tăiere și puterea de tracțiune pentru majoritatea stărilor gazonului. Setarea contrabalansării la un nivel mai mic poate determina sporirea stabilității unității de tăiere, dar poate scădea puterea de tracțiune. Setarea contrabalansării la un nivel mai mare poate mări puterea de tracțiune, dar poate duce la un aspect necorespunzător după tăiere; consultați Setarea contrabalansării.
Contrabalansarea poate fi setată la un nivel după cum urmează:
Scăzut - cea mai mare greutate pe unitățile de tăiere și cea mai mică greutate pe roțile motoare
Mediu - greutate medie pe unitățile de tăiere și roțile motoare
Ridicat - cea mai mică greutate pe unitățile de tăiere și cea mai mare greutate pe roțile motoare ale mașinii
Cu funcția Smart Power, operatorul nu trebuie să asculte turația motorului în condiții de sarcini mari. Funcția Smart Power previne încetinirea motorului în condiții de tăiere dificile, controlând automat viteza mașinii și optimizând performanța de tăiere.
Note: În mod implicit, pentru funcția Smart Power este setată poziția PORNIT.
Important: Purjați sistemul de combustibil în oricare dintre situațiile următoare:
Motorul s-a oprit din cauza lipsei de combustibil.
A fost efectuată întreținerea componentelor sistemului de alimentare cu combustibil.
Eliberați pedala de tracțiune și asigurați-vă că este în poziția NEUTRă. Asigurați-vă că este acționată frâna de parcare.
Rotiți cheia în poziția FUNCțIONARE. Trebuie să se aprindă indicatorul luminos.
Când indicatorul luminos își reduce intensitatea, rotiți cheia în poziția START.
Important: Nu operați demarorul mai mult de 15 secunde la o încercare, deoarece în caz contrar poate apărea o defecțiune prematură a acestuia. Dacă motorul nu pornește după 15 secunde, rotiți cheia în poziția OPRIT, verificați comenzile și procedurile, așteptați încă 15 secunde și repetați procedura de pornire.
Eliberați cheia imediat când motorul pornește și lăsați-o să revină în poziția FUNCțIONARE.
Când temperatura este mai mică de -7°C, demarorul poate fi pornit timp de 30 de secunde, apoi 60 de secunde oprit pentru 2 încercări.
Important: Opriți motorul și lăsați-l să se răcească înainte de a verifica dacă există scurgeri de ulei, piese slăbite sau alte defecțiuni.
Important: Lăsați motorul să ruleze la ralanti timp de 5 minute înainte de a-l opri după o funcționare la sarcină completă. Acest lucru permite turbocompresorului să se răcească înainte de a opri motorul. Nerespectarea acestui lucru poate duce la defectarea prematură turbocompresorului.
Note: Coborâți unitățile de tăiere la sol ori de câte ori mașina este parcată. Acest lucru eliberează sarcina hidraulică a sistemului, previne uzura pieselor sistemului și, de asemenea, previne coborârea accidentală a unităților de tăiere.
Deplasaţi comutatorul prizei de putere în poziţia OPRIT.
Cuplați frâna de parcare.
Rotiţi cheia de contact în poziţia OPRIT.
Scoateţi cheia pentru a preveni pornirea accidentală.
Note: Tăierea ierbii la o viteză care constituie o sarcină corespunzătoare pentru motor promovează regenerarea DPF.
Decuplați frâna, decuplați priza de putere și ridicați unitățile de tăiere.
Selectați poziția H/L AUTO sau LOW cu comutatorul pentru gama de viteze. Consultați Utilizarea comutatorului pentru gama de viteze mari și reduse.
Note: Când este selectată poziția H/L AUTO iar unitățile de tăiere sunt ridicate, mașina va selecta automat gama de viteze mari.
Folosind pedala de tracțiune ca pe o pedală de accelerație a unui autoturism, conduceți mașina la locul de utilizare.
Aliniați mașina în afara zonei de tăiere pentru prima trecere de tundere a ierbii.
Coborâți unitățile de tăiere cu ajutorul comutatorului basculant sau al comutatoarelor.
Apăsați spre spate comutatorul de ridicare (GM4500) sau comutatorul de ridicare din mijloc (GM4700) pentru a ridica unitățile de tăiere în poziția întoarcere.
Note: Poziția întoarcere este disponibilă doar dacă este activată în meniurile protejate din InfoCenter. Apăsarea scurtă a comutatorului basculant ridică unitățile de tăiere în poziția întoarcere și oprește rotația lamelor până când sunt coborâte unitățile de tăiere.
Trageți comutatorul prizei de putere pentru a cupla unitățile de tăiere.
Note: Turația motorului crește automat la ralanti ridicat atunci când coborâți unitățile de tăiere și activați comutatorul prizei de putere.
Folosind pedala de tracțiune, apropiați-vă încet de zona de tundere a ierbii și coborâți unitățile de tăiere cu comutatorul basculant după ce unitățile de tăiere din față au ajuns peste zona de tundere.
Note: Exersați pentru a vă asigura că unitățile de tăiere nu coboară prea repede și nu tund iarba într-o zonă neintenționată.
Începeți tunderea ierbii în zona respectivă.
Când finalizați trecerea de tundere a ierbii, apăsați spre spate comutatorul de ridicare (GM4500) sau comutatorul de ridicare din mijloc (GM4700) pentru a ridica unitățile de tăiere în poziția de întoarcere.
Efectuați un viraj în formă de lacrimă pentru a vă alinia rapid pentru următoarea trecere.
Apăsați comutatorul de ridicare (GM4500) sau comutatorul de ridicare din mijloc (GM4700) pentru a coborî automat unitățile de tăiere din poziția întoarcere și a continua tunderea ierbii.
Filtrul de particule diesel (DPF) îndepărtează funinginea din gazele de eșapament ale motorului.
Procesul de regenerare a DPF-ului utilizează căldura din gazele de eșapament ale motorului, care este crescută de catalizator, pentru a transforma funinginea acumulată în cenușă.
Pentru a menține DPF curat, rețineți următoarele:
Rulați motorul la turație maximă atunci când este posibil pentru a favoriza curățarea automată a DPF.
Utilizați uleiul de motor corect.
Reduceți la minimum perioada de timp în care motorul merge la ralanti.
Utilizați doar motorină cu un conținut foarte scăzut de sulf.
Operați și întrețineți mașina luând în considerare funcția DPF. Motorul în sarcină produce, în general, o temperatură de evacuare adecvată pentru regenerarea DPF.
Important: Minimizați perioada de timp în care motorul rulează la ralanti sau perioada în care îl utilizați la un interval de turații scăzute pentru a ajuta la reducerea acumulării de funingine în DPF.
Temperatura de evacuare este prea mare (aprox. 600°C) în timpul regenerării DPF. Gazele fierbinți de eșapament pot fi dăunătoare pentru dumneavoastră sau alte persoane.
Nu utilizați motorul într-o zonă închisă.
Asigurați că nu există materiale inflamabile în jurul sistemului de evacuare.
Asigurați-vă că gazele de evacuare fierbinți nu intră în contact cu suprafețele care pot fi deteriorate de căldură.
Nu atingeți o componentă fierbinte a sistemului de evacuare.
Nu stați lângă sau în jurul țevii de evacuare a mașinii.
| Pictogramă | Definiție pictogramă |
![]() | • Pictogramă de regenerare în stare de parcare sau regenerare de recuperare – regenerarea este solicitată. |
| • Efectuați imediat regenerarea. | |
![]() | • O regenerare este confirmată, iar solicitarea este procesată. |
![]() | • O regenerare este în curs de desfășurare și temperatura de evacuare este crescută. |
![]() | • Defecțiune a sistemului de control NOx; mașina necesită service. |
| Tip de regenerare | Condiții care generează regenerarea DPF | Descrierea funcționării DPF |
|---|---|---|
| Pasivă | Apare în timpul funcționării normale a mașinii la un interval de turații ridicat al motorului sau la sarcină mare a motorului | • InfoCenter nu afișează o pictogramă care să indice regenerarea pasivă. |
| • În timpul regenerării pasive, DPF prelucrează gazele de eșapament fierbinți, oxidând emisiile dăunătoare și transformând funinginea în cenușă. | ||
| Asistată | Apare din cauza intervalului de turații scăzute ale motorului, a sarcinii reduse a motorului sau după ce computerul detectează că DPF este colmatat cu funingine | • InfoCenter nu afișează o pictogramă care să indice regenerarea asistată. |
| • În timpul regenerării asistate, computerul motorului reglează setările motorului pentru a crește temperatura de evacuare. | ||
| De resetare | Are loc la intervale de 100 de ore | • Când pictograma pentru temperatură
ridicată de evacuare este afișată pe InfoCenter, o regenerare
este în curs de desfășurare. |
| Apare, de asemenea, dacă funcționarea normală a motorului depășește cantitatea de acumulare de funingine permisă în filtru | ||
| • În timpul regenerării de resetare, computerul motorului menține o turație ridicată a motorului pentru a asigura regenerarea filtrului. |
| Tip de regenerare | Condiții care generează regenerarea DPF | Descrierea funcționării DPF |
|---|---|---|
| În timpul parcării | Apare deoarece computerul determină că respectiva curățare automată a DPF nu a fost suficientă. | • Când se afișează
pictograma de resetare în stare de standby/parcare sau de regenerare
de recuperare sau când se solicită o regenerare. |
| Apare și dacă inițiați o regenerare în timpul parcării | ||
| Poate apărea deoarece a fost inițiată inhibarea regenerării și aceasta a dezactivat efectuarea curățării automate a DPF | • Efectuați regenerarea în timpul parcării pe cât de curând posibil pentru a evita nevoia inițierii unei regenerări de recuperare. | |
| Poate avea loc din cauza utilizării combustibilului sau uleiului de motor incorect | • O regenerare în timpul parcării se realizează într-un interval de 30 până la 60 de minute. | |
| • Trebuie să aveți cel puțin un nivel de ¼ de combustibil în rezervor. | ||
| • Trebuie să parcați mașina pentru a iniția o regenerare în stare de parcare. | ||
| Recuperare | Se produce deoarece cererea de recuperare în timpul parcării a fost ignorată, permițând ca DPF să fie înfundat în mod critic | • Când se afișează pictograma
de resetare în stare de standby/parcare sau de regenerare de
recuperare , este solicitată o regenerare de recuperare. |
| • O regenerare în timpul parcării se realizează într-un interval de până la 3 ore. | ||
| • Trebuie să aveți cel puțin un nivel de ½ de combustibil în rezervor. | ||
| • Trebuie să parcați mașina pentru a iniția o regenerare de recuperare. |
Din MAIN MENU (Meniu Principal), derulați în jos până la SERVICE și apăsați butonul de selectare.
În SERVICE, derulați până la DPF REGENERATION (Regenerare DPF) și apăsați butonul de selectare.
Selectați funcția de regenerare de care aveți nevoie.

Accesați meniul DPF REGENERATION (Regenerare DPF) și derulați până la LAST REGEN (Ultima regenerare).
Selectați intrarea LAST REGEN (Ultima regenerare).
Utilizați câmpul LAST REGEN (Ultima regenerare) pentru a determina numărul de ore de funcționare a motorului de la ultima regenerare de resetare, în stare de parcare sau de recuperare.
Selectați butonul înapoi pentru a reveni la ecranul DPF REGENERATION (Regenerare DPF).

O regenerare de resetare produce evacuare sporită a motorului. Dacă utilizați mașina în jurul copacilor, tufișurilor, ierbii înalte sau a altor plante sau materiale sensibile la temperatură, puteți utiliza setarea INHIBIT REGEN (Inhibare regenerare) pentru a împiedica computerului motorului să efectueze o regenerare de resetare.
Note: Opțiunea INHIBIT REGEN (Inhibare regenerare) este întotdeauna utilizată atunci când se efectuează lucrări de întreținere a mașinii într-o zonă închisă.
Note: Dacă setați InfoCenter să inhibe regenerarea, InfoCenter va afișa o recomandare la fiecare 15 minute în timp ce motorul solicită o regenerare de resetare.
Important: Când opriți motorul și îl porniți din nou, setarea de inhibare a regenerării este setată implicit la OPRIRE.
Accesați meniul DPF REGENERATION (Regenerare RPF) și derulați în jos până la INHIBIT REGEN (Inhibare regenerare).
Selectați intrarea Inhibit REGEN (Inhibare regenerare).
Modificați setarea de inhibare regenerare de la OFF (Dezactivare) la ON (Activare).
Asigurați-vă că mașina are suficient combustibil în rezervor pentru tipul de regenerare pe care îl efectuați:
Parked Regeneration (Regenerare în stare de parcare): asigurați-vă că aveți un nivel de ¼ de combustibil înainte de a efectua regenerarea în stare de parcare.
Recovery Regeneration (Regenerare de recuperare): asigurați-vă că aveți un nivel de ½ de combustibil înainte de a efectua regenerarea de recuperare.
Deplasați mașina, în exterior, într-o zonă aflată la distanță de materiale combustibile sau articole care pot fi deteriorate de căldură.
Parcați mașina pe o suprafață uniformă, comutați toate comenzile pe NEUTRU, decuplați priza de putere și coborâți unitățile de tăiere.
Cuplați frâna de parcare și lăsați motorul să atingă o turație mică de ralanti.
Când computerul motorului solicită o regenerare în stare de parcare, urmați mesajele afișate în InfoCenter.
Important: Computerul mașinii anulează regenerarea DPF dacă creșteți turația motorului de la ralanti cu turații scăzute sau dacă eliberați frâna de parcare.
Accesați meniul DPF REGENERATION (Regenerare DPF) și derulați în jos până la PARKED REGEN (Regenerare în stare de parcare) sau RECOVERY REGEN (Regenerare de recuperare).
Selectați intrarea PARKED REGEN (Regenerare în stare de parcare) sau intrarea RECOVERY REGEN (Regenerare de recuperare).
Note: Inițierea unei regenerări de recuperare necesită introducerea codului PIN corect.
În ecranul REGEN PARAMETERS (Parametri de regenerare), verificați dacă aveți un nivel de ¼ de combustibil în cazul în care urmează să efectuați regenerarea în stare de parcare sau verificați dacă aveți un nivel de ½ de combustibil în cazul în care urmează să efectuați regenerarea de recuperare. Verificați dacă este cuplată frâna de parcare și dacă turația motorului este setată la turație scăzută de ralanti. Apăsați butonul de selectare pentru a continua.
Pe ecranul INITIATE DPF REGEN (INIțIERE REGENERARE DPF), selectați butonul de înainte pentru a continua.
InfoCenter afișează mesajul INITIATE DPF REGEN (Inițiere regenerare DPF).
Note: Dacă este necesar, apăsați pictograma de anulare pentru a anula procesul de regenerare.
InfoCenter afișează mesajul privind timpul necesar pentru finalizare.
InfoCenter afișează ecranul principal și apare
pictograma de confirmare a regenerării
.
Note: În timp ce regenerarea DPF rulează, InfoCenter
afișează pictograma privind temperatura ridicată de
evacuare
.
Când computerul motorului finalizează o regenerare în stare de parcare sau de recuperare, InfoCenter afișează o recomandare. Apăsați orice buton pentru a reveni la ecranul de pornire.
Note: În cazul în care regenerarea nu se finalizează, urmați recomandarea și apăsați orice buton pentru a reveni la ecranul de pornire.
Utilizați setarea PARKED REGEN CANCEL (Anulare a regenerării în stare de parcare) sau RECOVERY REGEN CANCEL (Anulare a regenerării de recuperare) pentru a anula rularea procesului de regenerare în stare de parcare sau de recuperare.
Accesați meniul DPF REGENERATION (Regenerare DPF), derulați până la PARKED REGEN (Regenerare în stare de parcare) sau RECOVERY REGEN (Regenerare de recuperare).
Apăsați butonul de selectare pentru a anula o Parked Regen (Regenerare în stare de parcare) sau o Recovery Regen (Regenerare de recuperare).

Ventilatorul de răcire a motorului este controlat în mod normal de mașină. Mașina are capacitatea de a inversa sensul de rotație a ventilatorului pentru a elimina reziduurile de pe ecranul din spate. În condiții normale de funcționare, mașina controlează viteza și sensul de rotație ale ventilatorului pe baza temperaturii lichidului de răcire și a uleiului hidraulic, iar ventilatorul își inversează automat sensul de rotație pentru a elimina reziduurile de pe ecranul din spate.
Puteți inversa manual sensul de rotație al ventilatorului apăsând cele 2 butoane exterioare sau cele 2 butoane interioare stânga și dreapta ale InfoCenter (Figura 38) timp de 2 secunde - ventilatorul finalizează un ciclu invers inițiat manual. Inversați sensul de rotație al ventilatorului atunci când ecranul din spate este colmatat sau înainte de a deplasa mașina la atelier sau într-o zonă de depozitare.

Modificați frecvent modelele de tundere a ierbii pentru a obține un aspect cât mai plăcut după tăiere, evitând tunderea ierbii în mod repetat în aceeași direcție.
Consultați Ghidul pentru îmbunătățirea aspectului după tăiere disponibil pe pagina de internet www.Toro.com.
Pentru a începe tunderea ierbii, cuplați unitățile de tăiere și apoi apropiați-vă încet de zona de tundere. În momentul în care partea din față a unităților de tăiere intră în contact cu zona de tundere, coborâți unitățile de tăiere.
Pentru a efectua tunderea ierbii în mod profesionist, în linie dreaptă și cu dungi care sunt necesare pentru anumite aplicații, găsiți un copac sau alt obiect în depărtare și conduceți direct spre el.
Imediat după ce unitățile de tăiere din față ajung la marginea zonei de tundere a ierbii, ridicați unitățile de tăiere și efectuați o întoarcere în formă de lacrimă pentru a vă alinia rapid pentru următoarea trecere.
Pentru unitățile de tăiere sunt disponibile deflectoare de mulcire cu fixare cu șuruburi. Deflectoarele de mulcire funcționează bine atunci când întrețineți gazonul conform unui program regulat, pentru a evita îndepărtarea per tundere a unei lungimi de creștere mai mari de 25 mm. Dacă tăiați o lungime de creștere prea mare cu deflectoarele de mulcire montate, aspectul după tăiere se poate deteriora și crește puterea observată de tundere a gazonului. Deflectoarele de mulcire se comportă bine și la mărunțirea frunzelor, toamna.
Îndepărtați cel mult aproximativ 25 mm sau ⅓ din firul de iarbă atunci când o tăiați. În iarba excepțional de luxuriantă și densă, poate fi necesar să măriți valoarea de setare a înălțimii de tăiere.
O lamă ascuțită taie precis, fără a rupe sau mărunți firele de iarbă, așa cum face o lamă tocită. Ruperea și mărunțirea cauzează decolorarea marginilor firelor de iarbă, reducând viteza de creștere și sporind riscul de îmbolnăvire. Asigurați-vă că lama este în stare bună și că există o suprafață velică plină; consultați Întreținerea suprafeței lamei.
Asigurați-vă că toate camerele de tăiere sunt în stare bună. Îndreptați orice componente îndoite ale camerei pentru a asigura un spațiu corect între vârful lamei și cameră. Asigurați-vă că nu există joc la nivelul tuturor rolelor și articulațiilor pivotante, pentru a preveni deteriorarea gazonului sau aspectul necorespunzător după tăiere.
După tunderea ierbii, spălați bine mașina cu un furtun de grădină fără duză pentru a evita contaminarea și deteriorarea garniturilor și rulmenților, cauzate de presiunea excesivă a apei. Asigurați-vă că radiatorul și răcitorul de ulei sunt păstrate fără murdărie sau reziduuri de iarbă. După curățare, verificați mașina pentru a determina eventuale scurgeri de ulei hidraulic, urme de deteriorare sau uzură a componentelor hidraulice și mecanice și verificați starea de ascuțire a lamelor unității de tăiere.
Opriți motorul, scoateţi cheia din contact şi aşteptaţi oprirea oricărei mișcări înainte de a părăsi poziţia operatorului. Lăsați mașina să se răcească înainte de reglarea, repararea, curățarea sau depozitarea acesteia.
Pentru a ajuta la prevenirea incendiilor, asigurați-vă că unitățile de tăiere, transmisiile, tobele de eșapament, ecranele de răcire și compartimentul motorului nu prezintă depuneri de iarbă și reziduuri. Curățați scurgerile de ulei sau combustibil.
Dacă unitățile de tăiere sunt în poziția de transport, utilizați siguranța mecanică (dacă este disponibilă) înainte de a lăsa mașina nesupravegheată.
Înainte de depozitarea mașinii în orice spațiu, lăsați motorul să se răcească.
Scoateți cheia și opriți alimentarea (dacă este disponibilă) înainte de a depozita sau transporta mașina.
Nu depozitați mașina sau recipientul cu combustibil într-o zonă cu o flacără deschisă, scântei sau o lampă martor, precum pe un boiler sau alte dispozitive electrice.
Întrețineți și curățați centurile de siguranță, după cum este necesar
Utilizați șnururile pentru depozitarea unităților de tăiere pentru a preveni tasarea unităților de tăiere exterioare din față atunci când mașina este parcată peste noapte sau dacă este depozitată pentru o perioadă mare de timp. De asemenea, puteți utiliza șnururile pentru depozitarea unităților de tăiere pentru a preveni tasarea acestora în timp ce mașina este transportată de la o lucrare de tundere a ierbii la alta.

Asigurați-vă că priza de putere este decuplată.
Parcați mașina pe o suprafață uniformă.
Cuplați frâna de parcare.
Ridicați complet unitățile de tăiere.
Aliniați șnurul cu arborele de transport al brațului de ridicare pentru unitatea de tăiere exterioară din față (Figura 40).

Glisați bucla șnurului peste arborele de transport până când șnurul este complet așezat în adâncitura din arbore (Figura 40).
Repetați pașii 5 și 6 pentru unitatea de tăiere exterioară din față din cealaltă parte a mașinii.
Important: Îndepărtați șnururile de pe arborii de transport înainte de a coborî unitățile de tăiere
Note: Depozitați șnururile atunci când nu le folosiți.
Asigurați-vă că priza de putere este decuplată.
Parcați mașina pe o suprafață uniformă.
Cuplați frâna de parcare.
Cu unitățile de tăiere coborâte, glisați bucla șnurului în fanta din placa de ranforsare a suportului rolei (Figura 41).

Utilizați cele 2 elemente de fixare de transport din spate pentru unitățile de tăiere nr. 6 și 7 (Figura 15) când deplasați mașina pe distanțe lungi, pe teren accidentat, când transportați sau depozitați mașina.

Scoateți cheia și opriți alimentarea (dacă este disponibilă) înainte de a depozita sau transporta mașina.
Încărcați sau descărcați cu grijă mașina pe/de pe o remorcă sau un camion.
Utilizați rampe cu lățime maximă pentru încărcarea mașinii pe o remorcă sau un camion.
Fixați mașina corespunzător.
În caz de urgență, puteți deplasa mașina în față activând funcția de bypass a pompei hidraulice cu cilindree variabilă, împingând sau tractând mașina.
Important: Nu împingeți sau tractați mașina mai repede de 3 până la 4,8 km/h. Dacă împingeți sau tractați la o viteză mai mare, pot apărea deteriorări interne ale transmisiei.Supapele de siguranță trebuie să fie deschise de fiecare dată când împingeți sau tractați mașina.
Deschideți capota și localizați supapele de siguranță (Figura 43) în partea de sus a pompei, în spatele bateriei/cutiilor de depozitare.
Rotiți fiecare supapă cu 3 ture în sens invers acelor de ceasornic pentru a deschide și a permite bypass-ul fluidului în interior.
Note: Nu deschideți supapa cu mai mult de 3 ture. Deoarece are loc bypass-ul fluidului, puteți deplasa mașina încet, fără a deteriora transmisia.


Împingeți sau tractați mașina în față.
Important: Dacă trebuie să împingeți sau să tractați mașina în marșarier, consultați setul de remorcare în marșarier (nr. piesă 136-3620).
Finalizați acțiunea de împingere sau tractare a mașinii și închideți supapa de siguranță. Strângeți supapa la un cuplu de 70 Nm.
Note: Utilizați curele aprobate DOT pentru a lega mașina în 4 colțuri.
Pe fiecare parte a cadrului, lângă platforma operatorului
Pe bara de protecție spate


Note: Determinaţi partea stângă şi dreaptă a maşinii din poziţia de operare normală.
Important: Consultați manualul operatorului motorului pentru proceduri suplimentare de întreținere.
Important: Dacă efectuați lucrări de întreținere asupra mașinii și rulați motorul cu o conductă de extracție a gazelor de evacuare a motorului, setați inhibarea regenerării la PORNIT; consultați Setarea Inhibare regenerare.
Note: Descărcați o copie gratuită a schemei electrice sau hidraulice, accesând www.Toro.com și căutați documentele necesare pentru mașina dumneavoastră în linkul Manuale de pe pagina principală.
Înainte de a părăsi poziția operatorului, realizați următorii pași:
Parcați mașina pe o suprafață uniformă.
Decuplați priza de putere și coborâți dispozitivele de atașare.
Cuplați frâna de parcare.
Opriți motorul și scoateți cheia.
Așteptați până ce toate mișcările se opresc.
Purtați îmbrăcăminte adecvată, inclusiv ochelari de protecție, pantaloni lungi și încălțăminte solidă, antiderapantă. Țineți mâinile, picioarele, hainele, bijuteriile și părul lung la distanță de piesele în mișcare.
Dacă lăsați cheia în contact, cineva poate porni în mod accidental motorul și vă poate răni pe dumneavoastră sau alți trecători. Scoateți cheia din contact înainte de a efectua orice lucrare de întreținere.
Lăsați componentele mașinii să se răcească înainte de a realiza lucrările de întreținere.
Dacă unitățile de tăiere sunt în poziția de transport, utilizați blocarea de siguranță mecanică (dacă este disponibilă) înainte de a lăsa mașina nesupravegheată.
Dacă este posibil, nu efectuați lucrări de întreținere cu motorul în funcțiune. Păstrați distanța față de componentele în mișcare.
Operați motorul doar în zone bine ventilate. Gazele de eșapament conțin monoxid de carbon, care este letal odată ce este inhalat.
Sprijiniți mașina cu cricuri tip capră ori de câte ori lucrați sub mașină.
Depresurizați cu grijă componentele cu energie stocată.
Mențineți toate componentele mașinii în stare bună de funcționare și bine fixate, în special dispozitivele de atașare pentru lamă.
Înlocuiți toate autocolantele uzate sau deteriorate.
Pentru a asigura performanța optimă și sigură a mașinii, utilizați doar piese de schimb originale Toro. Piesele de schimb ale altor producători pot fi periculoase și pot anula garanția produsului.
| Interval de întreţinere şi service | Procedură de întreţinere |
|---|---|
| După prima oră |
|
| După primele 10 ore |
|
| După primele 50 ore |
|
| După primele 200 ore |
|
| Înainte de fiecare folosinţă sau zilnic |
|
| La intervale de 50 de ore |
|
| La intervale de 100 de ore |
|
| La intervale de 200 de ore |
|
| La intervale de 400 de ore |
|
| La intervale de 500 de ore |
|
| La intervale de 800 de ore |
|
| La intervale de 1.000 de ore |
|
| La intervale de 2.000 de ore |
|
| La intervale de 3.000 de ore |
|
| Înainte de depozitare |
|
| La fiecare 2 ani |
|
Dacă lăsați cheia în contact, cineva poate porni în mod accidental motorul și vă poate răni pe dumneavoastră sau alți trecători.
Scoateți cheia înainte de a efectua orice lucrare de întreținere.
Copiați această pagină pentru utilizare de rutină.
| Verificări de întreținere | Pentru săptămâna: | ||||||
|---|---|---|---|---|---|---|---|
| Luni | Marți | Miercuri | Joi | Vineri | Sâmbătă | Duminică | |
| Verificați funcționarea sistemului de blocare de siguranță. | |||||||
| Verificați funcționarea frânei. | |||||||
| Verificați nivelul uleiului de motor. | |||||||
| Verificați nivelul de lichid al sistemului de răcire. | |||||||
| Goliți separatorul de apă/combustibil. | |||||||
| Verificați filtrul de aer, cupa anti-praf și supapa de aerisire. | |||||||
| Verificați zgomotele neobișnuite ale motorului.1 | |||||||
| Verificați dacă există resturi pe radiator și ecran | |||||||
| Verificați zgomotele neobișnuite de funcționare. | |||||||
| Verificați nivelul de ulei hidraulic. | |||||||
| Verificați dacă furtunurile hidraulice sunt deteriorate. | |||||||
| Verificați dacă există scurgeri de lichide. | |||||||
| Verificați nivelul de combustibil. | |||||||
| Verificați presiunea din anvelope. | |||||||
| Verificați funcționarea instrumentului. | |||||||
| Verificați reglarea înălțimii de tăiere. | |||||||
| Lubrifiați toate fitingurile de lubrifiere.2 | |||||||
| Curățați mașina. | |||||||
| Retușați vopseaua deteriorată. | |||||||
|
1Verificați bujia incandescentă și duzele injectoarelor dacă se observă o pornire grea, exces de fum sau rulare dificilă. 2Imediat după fiecare spălare, indiferent de intervalul menționat. |
|||||||
Important: Consultaţi manualul operatorului motorului pentru proceduri de întreţinere suplimentare.
| Inspecție efectuată de: | ||
| Element | Dată | Informații |
Utilizați următoarele locuri drept puncte pentru a ridica mașina:
Partea frontală a mașinii - pe cadrul mașinii, în fața motoarelor de acționare roți (Figura 46)
Important: Nu sprijiniți mașina la nivelul motoarelor de acționare roți. Mențineți echipamentul de ridicare departe de tuburile și furtunurile hidraulice.

Partea din spate a mașinii - la nivelul centrului axului (Figura 47)
Amplasați suporturile cric tip capră cu capacitatea specificată pe ambele părți ale cutiei de viteze și sub ax.
Important: Nu sprijiniți mașina la nivelul tirantului.

Înclinați capota pentru a avea acces la șasiu, așa cum se arată în Figura 48.

Înclinați scaunul pentru a accesa compartimentul de ridicare hidraulică, așa cum se arată în Figura 49.

| Interval de întreţinere şi service | Procedură de întreţinere |
|---|---|
| La intervale de 50 de ore |
|
Specificație lubrifiant: lubrifiant cu litiu nr. 2
Locațiile fitingurilor de lubrifiere și cantitățile sunt următoarele:
Rulmenți de pivotare a arborelui de frână (5), așa cum se arată în Figura 50

Bucșe de pivotare a axului spate (2), așa cum se arată în Figura 51

Articulații sferice ale cilindrului de direcție (2), așa cum se arată în Figura 52

Articulații sferice tirant (2), așa cum se arată în Figura 52
Bucșe pivot (2), așa cum se arată în Figura 52
Important: Lubrifiați fitingul superior de pe pivot o dată pe an (2 pompe).
Bucșe braț de ridicare (1 pentru fiecare unitate de tăiere), așa cum se arată în Figura 53

Bucșe cilindru de ridicare (2 per unitate de tăiere), așa cum se arată în Figura 53
Rulmenți ai arborelui axului unității de tăiere (2 per unitate de tăiere), așa cum se arată în Figura 54
Note: Puteți utiliza oricare fiting, care vă este mai accesibil. Introduceți lubrifiant în fiting până când apare o cantitate mică în partea de jos a carcasei axului (sub unitatea de tăiere).

Bucșe braț de transport unitate de tăiere (1 pentru fiecare unitate de tăiere), așa cum se arată în Figura 54
Rulmenți cu role spate (2 per unitate de tăiere), așa cum se arată în Figura 55

Important: Asigurați-vă că canelura pentru lubrifiere din fiecare suport al rolei se aliniază cu orificiul pentru lubrifiere de la fiecare capăt al arborelui rolei. Pentru a ajuta la alinierea canelurii și orificiului, există, de asemenea, un semn de aliniere pe 1 capăt al arborelui rolei.
Opriţi motorul şi scoateţi cheia înainte de a verifica nivelul de ulei sau de a adăuga ulei în carter.
Nu modificați turația regulatorului și nu supraturați motorul.
| Interval de întreţinere şi service | Procedură de întreţinere |
|---|---|
| La intervale de 400 de ore |
|
Verificați dacă există deteriorări la nivelul corpului filtrului de aer care ar putea cauza o scurgere de aer. Înlocuiți-l dacă este deteriorat. Verificați întregul sistem de admisie pentru a descoperi eventuale scurgeri, deteriorări sau cleme de furtun slăbite.
Efectuați lucrări de service pentru filtrul de aer doar când indicatorul (Figura 56) solicită acest lucru. Înlocuirea filtrului de aer înainte de a fi necesar mărește doar posibilitatea de pătrundere a murdăriei în motor atunci când scoateți filtrul.

Important: Asigurați-vă de amplasarea corectă a capacului și de faptul că etanșează perfect corpul filtrului de aer.
Înlocuiți filtrul de aer (Figura 57).


Note: Nu curățați un element uzat, deoarece curățarea acestuia poate deteriora mediul de filtrare.
Important: Nu încercați niciodată să curățați filtrul de siguranță (Figura 58). Înlocuiți filtrul de siguranță după fiecare 3 lucrări de service pentru filtrul primar.

Resetați indicatorul (Figura 56) dacă este roșu.
Utilizați ulei de motor de înaltă calitate, cu conținut scăzut de cenușă, care îndeplinește sau depășește următoarele specificații:
Categoria de service API CJ-4 sau superioară
Categoria de service ACEA E6
Categoria de service JASO DH-2
Important: Utilizarea unui alt ulei de motor decât API CJ-4 sau superior, ACEA E6 sau JASO DH-2 poate cauza colmatarea filtrului de particule diesel sau deteriorarea motorului.
Utilizați următoarea clasă de vâscozitate a uleiului de motor:
Ulei preferat: SAE 15W-40 (peste 0°F)
Ulei alternativ: SAE 10W-30 sau 5W-30 (toate temperaturile)
Uleiul de motor Toro Premium este pus la dispoziție de furnizorii autorizați Toro, cu diferite clase de vâscozitate: 15W-40 sau 10W-30. Consultați Catalogul de piese de schimb pentru numerele de piesă.
| Interval de întreţinere şi service | Procedură de întreţinere |
|---|---|
| Înainte de fiecare folosinţă sau zilnic |
|
Motorul este livrat cu ulei în carter; totuși, nivelul uleiului trebuie verificat înainte și după pornirea motorului.
Important: Verificaţi zilnic nivelul uleiului de motor. Dacă nivelul uleiului de motor depășește marcajul Full (plin) de pe jojă, uleiul de motor poate fi diluat cu combustibil;Dacă nivelul uleiului de motor depășește marcajul Full (plin), schimbați uleiul de motor.
Cel mai bun moment pentru a verifica uleiul de motor este atunci când motorul este rece, înainte de a fi pornit la începutul zilei. Dacă a fost deja pornit, lăsați uleiul să se scurgă înapoi în carter timp de cel puțin 10 minute înainte de a verifica. Dacă nivelul uleiului este la sau sub marcajul Add (adaugă) de pe jojă, adăugați ulei pentru a aduce nivelul uleiului la marcajul Full (plin). Nu umpleți excesiv motorul cu ulei.
Important: Mențineți nivelul uleiului de motor între limitele superioare și inferioare de pe jojă; motorul se poate defecta dacă îl porniți cu prea mult sau prea puțin ulei.
Verificați nivelul uleiului de motor; consultați Figura 59.


Note: Când utilizați un ulei diferit, scurgeți tot uleiul vechi din carter înainte de a adăuga uleiul nou.
Aproximativ 5,7 l cu filtru.
| Interval de întreţinere şi service | Procedură de întreţinere |
|---|---|
| La intervale de 500 de ore |
|
Note: Pentru a reseta indicatorul de service din Infocenter; consultați Setarea temporizatorului de scadență a lucrărilor de service.
Porniți motorul și lăsați-l să ruleze timp de 5 minute pentru a permite încălzirea uleiului.
Parcați mașina pe o suprafață plană, cuplați frâna de parcare, opriți motorul și scoateți cheia de contact.
Înlocuiți uleiul de motor și filtrul (Figura 60).


Adăugaţi ulei în carter; consultați Capacitatea carterului de ulei și Verificarea nivelului uleiului de motor.
| Interval de întreţinere şi service | Procedură de întreţinere |
|---|---|
| La intervale de 3.000 de ore |
|
Consultați secțiunea Motor din Manualul de service pentru informații despre demontarea și montarea catalizatorului de oxidare diesel și a filtrului de funingine al DPF-ului.
Contactați distribuitorul dumneavoastră autorizat Toro pentru piesele de schimb sau service pentru catalizatorul de oxidare diesel și filtrul de funingine.
Contactați distribuitorul dumneavoastră autorizat Toro pentru a vă reseta sistemul ECU al motorului după ce instalați un DPF curat.
În anumite condiții, motorina și vaporii de combustibil sunt foarte inflamabili și explozivi. Un incendiu sau o explozie cauzată de combustibil vă poate arde pe dumneavoastră şi pe cei din jur și poate cauza pagube materiale.
Utilizați o pâlnie pentru a umple rezervorul de combustibil într-un spațiu deschis, cu motorul oprit și rece. Ștergeți orice urme de combustibil vărsat.
Nu umpleți în totalitate rezervorul de combustibil. Adăugați combustibil în rezervor până când nivelul ajunge la 6 - 13 mm sub partea inferioară a bușonului rezervorului. Acest spațiu liber din rezervor permite dilatarea combustibilului.
Nu fumați niciodată când manipulați combustibil și stați departe de flăcări deschise sau de locurile în care vaporii de combustibil pot fi aprinși de scântei.
Păstrați combustibilul într-un recipient curat, aprobat în materie de siguranță și păstrați capacul fixat.
| Interval de întreţinere şi service | Procedură de întreţinere |
|---|---|
| La intervale de 800 de ore |
|
| Înainte de depozitare |
|
În plus față de intervalul de service menționat, goliți și curățați rezervorul dacă sistemul de alimentare este contaminat sau dacă depozitați mașina pentru o perioadă îndelungată. Utilizați combustibil curat pentru a purja rezervorul.
| Interval de întreţinere şi service | Procedură de întreţinere |
|---|---|
| La intervale de 400 de ore |
|
Verificați conductele de combustibil pentru deteriorări, defecțiuni sau racorduri slăbite.

| Interval de întreţinere şi service | Procedură de întreţinere |
|---|---|
| Înainte de fiecare folosinţă sau zilnic |
|
Scurgeți apa din separatorul de apă/combustibil în modul indicat în (Figura 62).

| Interval de întreţinere şi service | Procedură de întreţinere |
|---|---|
| La intervale de 400 de ore |
|
Înlocuiți recipientul filtrului de combustibil în modul indicat în Figura 63.

| Interval de întreţinere şi service | Procedură de întreţinere |
|---|---|
| La intervale de 400 de ore |
|
Curăţaţi zona din jurul capătului filtrului de combustibil (Figura 64).

Scoateți filtrul și curățați suprafața de montare a capătului filtrului (Figura 64).
Ungeți garnitura filtrului cu ulei de motor curat; consultați manualul de utilizare al motorului pentru informații suplimentare.
Montați manual recipientul cu filtru uscat, până când garnitura intră în contact cu capătul filtrului, apoi strângeți cu încă jumătate (½) de tură.
Amorsați filtrul și conductele către pompa de înaltă presiune; consultați Amorsarea sistemului de combustibil.
Porniți motorul și verificați din nou dacă există scurgeri în jurul capătului filtrului.
Tubul de colectare a combustibilului se află în interiorul rezervorului de combustibil și este echipat cu un ecran, care previne pătrunderea resturilor în sistemul de alimentare. Îndepărtați tubul de colectare a combustibilului și curățați ecranul în mod corespunzător.
Îndepărtați clema de furtun care fixează furtunul de alimentare cu combustibil pe racordul tubului de colectare a combustibilului (Figura 65).

Îndepărtați furtunul de la racord (Figura 65).
Ridicați tubul de colectare a combustibilului din rezervorul de combustibil (Figura 65).
Note: Ridicați tubul direct din bucșa din rezervor.
Curățați orice reziduuri de pe ecranul de la capătul tubului de colectare a combustibilului (Figura 65).
Introduceți tubul de colectare a combustibilului în rezervor prin bucșa din cauciuc (Figura 65).
Note: Asigurați-vă că tubul de colectare a combustibilului este așezat complet în bucșa din cauciuc.
Montați furtunul de alimentare pe racordul tubului de colectare a combustibilului și fixați furtunul cu clema de furtun pe care ați îndepărtat-o la pasul 1.
Amorsați sistemul de combustibil înainte de a porni motorul pentru prima dată, după ce ați rămas fără combustibil sau după întreținerea sistemului de combustibil (de exemplu, golirea filtrului/separatorului de apă, înlocuirea furtunului de combustibil).
Pentru a amorsa sistemul de combustibil, efectuați următorii pași:
Asigurați-vă că există combustibil în rezervor.
Efectuați următorii pași pentru a amorsa filtrul și conductele către pompa de înaltă presiune, pentru a preveni uzura sau deteriorarea pompei:
Rotiți cheia în poziția PORNIT pentru 15 - 20 de secunde.
Rotiți cheia în poziția OPRIT pentru 30 - 40 de secunde.
Note: Acest lucru permite oprirea ECU.
Rotiți cheia în poziția PORNIT pentru 15 – 20 de secunde.
Verificați dacă există scurgeri în jurul filtrului și al furtunurilor.
Important: Nu utilizați demarorul pentru a porni motorul pentru a amorsa sistemul de alimentare.
Deconectați bateria înainte de repararea mașinii. Deconectați întâi borna negativă, apoi borna pozitivă. Conectați întâi borna pozitivă, apoi borna negativă.
Încărcați bateria într-un spațiu deschis, bine ventilat, departe de scântei sau flăcări. Deconectați încărcătorul înainte de a conecta sau deconecta bateria. Purtați îmbrăcăminte de protecție și utilizați scule izolate.
| Interval de întreţinere şi service | Procedură de întreţinere |
|---|---|
| La intervale de 50 de ore |
|
Important: Înainte de a efectua lucrări de sudură asupra mașinii, deconectați cablul de la borna negativă a bateriei pentru a preveni deteriorarea sistemului electric. De asemenea, trebuie să deconectați motorul, InfoCenter și dispozitivele de control ale mașinii înainte de efectua lucrări de sudură asupra mașinii.
Note: Păstrați bornele și întreaga carcasă a bateriei curate, deoarece o baterie murdară se descarcă lent. Pentru a curăța bateria, spălați întreaga carcasă cu o soluție de bicarbonat de sodiu și apă. Clătiți cu apă curată. Acoperiți clemele bateriei și conectorii cablurilor cu lubrifiant Grafo 112X (nr. piesă Toro 505-47) sau vaselină pentru a preveni coroziunea.
Slăbiți elementul de fixare pentru capacul cutiei de depozitare din dreapta și ridicați capacul (Figura 68).
Electrolitul bateriei conține acid sulfuric, care este letal dacă este consumat și provoacă arsuri grave.
Nu beți electrolit și evitați contactul cu pielea, ochii sau îmbrăcămintea. Purtați ochelari de protecție pentru a vă proteja ochii și mănuși de cauciuc pentru a vă proteja mâinile.
Umpleți bateria într-un loc în care este întotdeauna disponibilă apă curată pentru spălarea pielii.
Îndepărtați manșonul din cauciuc de la borna pozitivă și verificați bateria.
Îndepărtați cablul negativ (negru) de la borna negativă (-) și cablul pozitiv (roșu) de la borna pozitivă (+) a bateriei (Figura 66).
Dispunerea incorectă a cablurilor bateriei poate deteriora mașina și cablurile, provocând scântei. Scânteile pot produce explozia gazelor din baterie, ducând la vătămări corporale.
Deconectați întotdeauna cablul negativ (negru) al bateriei înainte de a deconecta cablul pozitiv (roșu).
Conectați întotdeauna cablul pozitiv (roșu) al bateriei înainte de a conecta cablul negativ (negru).
Bornele bateriei sau uneltele metalice pot face scurtcircuit la contactul cu piesele metalice, producând scântei. Scânteile pot produce explozia gazelor din baterie, ducând la vătămări corporale.
Când îndepărtați sau instalați bateria, nu permiteți contactul bornelor cu piesele metalice ale mașinii.
Nu permiteți uneltelor metalice să producă un scurtcircuit între bornele bateriei și piesele metalice ale mașinii.

Conectați un încărcător de baterie de 3 - 4 A la bornele bateriei. Încărcați bateria la o intensitate de 3 - 4 A, timp de 4 - 8 ore.
Încărcarea bateriei produce gaze explozibile.
Nu fumați niciodată în apropierea bateriei și țineți sursele de scântei și foc departe de aceasta.
Când bateria este încărcată, deconectați încărcătorul de la priza electrică și de la bornele bateriei.
Montați cablul pozitiv (roșu) la borna pozitivă (+) și cablul negativ (negru) la borna negativă (-) a bateriei (Figura 66).
Fixați cablurile la borne cu șuruburi și piulițe.
Note: Asigurați-vă că borna pozitivă (+) este fixată complet pe terminal și cablul este poziționat perfect pe baterie. Cablul nu trebuie să intre în contact cu capacul bateriei.
Acoperiți ambele conexiuni ale bateriei cu lubrifiant Grafo 112X, nr. piesă 505-47, vaselină sau lubrifiant ușor pentru a preveni coroziunea.
Glisați manșonul din cauciuc peste borna pozitivă.
Închideți panoul consolei și fixați elementul de fixare.
Blocul cu siguranțe pentru mașină este amplasat în cutia de depozitare din dreapta

Slăbiți elementul de fixare pentru capacul cutiei de depozitare din dreapta și ridicați capacul (Figura 68) pentru a avea acces la blocul cu siguranțe (Figura 69).

Înlocuiți siguranța (siguranțele) arsă (arse) după cum este necesar (Figura 69).

Închideți capacul cutiei de depozitare din dreapta și fixați capacul cu elementul de fixare (Figura 68).

| Interval de întreţinere şi service | Procedură de întreţinere |
|---|---|
| La intervale de 400 de ore |
|
Nu trebuie să existe un joc axial la nivelul angrenajelor planetare/roților motoare (adică roțile nu trebuie să se miște atunci când trageți sau împingeți într-o direcție paralelă cu axul).
Parcați mașina pe o suprafață plană, cuplați frâna de parcare, coborâți unitatea de tăiere, opriți motorul şi scoateţi cheia.
Blocați roțile din spate și ridicați partea din față a mașinii, sprijinind axul față/cadrul pe suporturi cric tip capră.
Mașina ridicată pe un cric poate fi instabilă și poate aluneca de pe acesta, rănind persoana aflată dedesubt.
Nu porniţi motorul în timp ce maşina se află pe un cric.
Scoateți întotdeauna cheia din contact înainte de a coborî din mașină.
Blocați roțile când ridicați mașina pe un cric.
Susțineți mașina pe suporturi cric tip capră.
Apucați una dintre roțile motoare din față și împingeți/trageți-o înspre mașină și în exteriorul acesteia, observând orice mișcare.

Repetați pasul 3 pentru cealaltă roată motoare.
Dacă oricare dintre roți se mișcă, contactați distribuitorul autorizat Toro pentru reglarea sistemul de angrenaj planetar.
| Interval de întreţinere şi service | Procedură de întreţinere |
|---|---|
| La intervale de 400 de ore |
|
Specificație cu privire la lubrifiant: lubrifiant pentru angrenaje, de înaltă calitate, SAE 85W-140
Parcați mașina pe o suprafață plană și poziționați roata astfel încât bușonul de umplere să fie în poziția corespunzătoare orei 12, bușonul de verificare în poziția corespunzătoare orei 3 și bușonul de golire în poziția corespunzătoare orei 6 (Figura 72).

Îndepărtați bușonul de verificare în poziția corespunzătoare orei 3 (Figura 72).
Nivelul uleiului trebuie să fie în partea de jos a orificiului de verificare.

Dacă nivelul uleiului este scăzut, scoateți bușonul de umplere în poziția corespunzătoare orei 12 și adăugați ulei până când începe să curgă din orificiu în poziția corespunzătoare orei 3.
Verificați dacă există urme de uzură sau deteriorare ale inelului de etanșare al bușonului (bușoanelor).
Note: Înlocuiți inelul (inelele) de etanşare după cum este necesar.
Montați bușonul (bușoanele).
Repetați pașii 1 - 5 pentru ansamblul angrenajului planetar de pe cealaltă parte a mașinii.
| Interval de întreţinere şi service | Procedură de întreţinere |
|---|---|
| După primele 50 ore |
|
| La intervale de 800 de ore |
|
Specificație cu privire la lubrifiant: lubrifiant pentru angrenaje, de înaltă calitate, SAE 85W-140
Capacitate de lubrifiere pentru carcasele mecanismului planetar și frânei: 0,65 l
Parcați mașina pe o suprafață plană, poziționați roata astfel încât bușonul de umplere să fie în poziția corespunzătoare orei 12, bușonul de verificare în poziția corespunzătoare orei 3 și bușonul de golire în poziția corespunzătoare orei 6; consultați Figura 72 din Verificarea lubrifiantului pentru angrenajul planetar.
Îndepărtați bușonul de umplere în poziția corespunzătoare orei 12 și bușonul de verificare în poziția corespunzătoare orei 3 (Figura 74).

Amplasați o tavă de golire sub butucul planetar, îndepărtați bușonul de golire în poziția corespunzătoare orei 6 și lăsați uleiul să se scurgă complet (Figura 74).
Verificați dacă există urme de uzură sau deteriorare ale inelelor de etanșare ale bușoanelor de umplere, de verificare și de golire.
Note: Înlocuiți inelul (inelele) de etanşare după cum este necesar.
Montați bușonul de golire în orificiul de golire al carcasei mecanismului planetar (Figura 74).
Amplasați o tavă de golire sub carcasa frânei, îndepărtați bușonul de golire și lăsați uleiul să se scurgă complet (Figura 75).

Verificați dacă există urme de uzură sau deteriorare ale inelului de etanșare al bușonului și montați bușonul de golire la carcasa frânei.
Note: Înlocuiți inelul de etanşare după cum este necesar.
Umpleți încet, prin orificiul bușonului de umplere, angrenajul planetar cu 0,65 l de lubrifiant SAE 85W-140 wt pentru angrenaje, de înaltă calitate.
Important: Dacă angrenajul planetar se umple înainte de adăugarea cantității de 0,65 l de ulei, așteptați 1 oră sau montați bușonul și deplasați mașina pe o distanță de aproximativ trei metri pentru a distribui uleiul prin sistemul de frânare. Apoi scoateți bușonul și adăugați uleiul rămas.

Montați bușonul de umplere și bușonul de verificare.
Ștergeți carcasele mecanismului planetar și frânei (Figura 77).

Repetați pașii 1 - 7 din Golirea angrenajul planetar și pașii 1 - 3 din această procedură pentru ansamblul mecanism planetar/frână de pe cealaltă parte a mașinii.
| Interval de întreţinere şi service | Procedură de întreţinere |
|---|---|
| Înainte de fiecare folosinţă sau zilnic |
|
Verificați vizual dacă există scurgeri la nivelul axului spate și al cutiei de viteze ax spate.

| Interval de întreţinere şi service | Procedură de întreţinere |
|---|---|
| La intervale de 400 de ore |
|
Axul spate este umplut cu lubrifiant pentru angrenaje SAE 85W-140. Capacitatea este de 2,4 l. Verificați vizual, zilnic, dacă există scurgeri.
Parcați mașina pe o suprafață plană, cuplați frâna de parcare, coborâți unitatea de tăiere, opriți motorul şi scoateţi cheia.
Îndepărtați un bușon de verificare de la un capăt al axului și asigurați-vă că nivelul lubrifiantul este până la partea inferioară a orificiului (Figura 79).
Note: Dacă nivelul este scăzut, îndepărtați bușonul de umplere și adăugați suficient lubrifiant pentru a aduce nivelul până la partea inferioară a orificiilor pentru bușonul de verificare.

| Interval de întreţinere şi service | Procedură de întreţinere |
|---|---|
| După primele 200 ore |
|
| La intervale de 800 de ore |
|
Specificație cu privire la lubrifiant: lubrifiant pentru angrenaje, de înaltă calitate, SAE 85W-140
Capacitate ax: 2,4 l
Parcați mașina pe o suprafață plană, cuplați frâna de parcare, coborâți unitatea de tăiere, opriți motorul şi scoateţi cheia.
Curățați zona din jurul celor 3 bușoane de golire - 1 la fiecare capăt și 1 în centru (Figura 80).

Îndepărtați bușoanele de verificare a nivelului de ulei și capacul de aerisire al axului principal pentru a facilita scurgerea lubrifiantului pentru angrenaje.
Îndepărtați bușoanele de golire și lăsați uleiul pentru angrenaje să se scurgă în tăvi.
Montați bușoanele.
Îndepărtați un bușon de verificare și umpleți axul cu aproximativ 2,4 l de lubrifiant pentru angrenaje 85W-140 sau până când lubrifiantul ajunge până la partea inferioară a orificiului.
Montați bușonul de verificare.
| Interval de întreţinere şi service | Procedură de întreţinere |
|---|---|
| La intervale de 400 de ore |
|
Cutia de viteze este umplută cu lubrifiant pentru angrenaje SAE 85W-140. Capacitatea este de 0,5 l. Verificați vizual, zilnic, dacă există scurgeri.
Parcați mașina pe o suprafață plană, cuplați frâna de parcare, coborâți unitatea de tăiere, opriți motorul şi scoateţi cheia.
Îndepărtați bușonul de verificare/umplere din partea stângă a cutiei de viteze și asigurați-vă că nivelul de lubrifiant este până în partea inferioară a orificiului (Figura 81).
Note: Dacă nivelul este scăzut, adăugați suficient lubrifiant pentru a aduce nivelul până la partea inferioară a orificiului.

| Interval de întreţinere şi service | Procedură de întreţinere |
|---|---|
| La intervale de 800 de ore |
|
Parcați mașina pe o suprafață plană, cuplați frâna de parcare, coborâți unitatea de tăiere, opriți motorul şi scoateţi cheia.
Măsurați distanța centru-centru (la înălțimea axului) în partea din față și din spate a roților (Figura 82).
Note: Distanța din față trebuie să fie mai mică cu 3 mm decât cea din spate.

Pentru reglare, îndepărtați cuiul spintecat și piulița de la oricare dintre articulațiile sferice ale tirantului (Figura 83). Îndepărtați articulația sferică a tirantului de pe suportul carcasei axului.

Slăbiţi clemele de la ambele capete ale tirantului (Figura 83).
Rotiți articulația sferică detașată spre interior sau spre exterior cu 1 rotație completă și strângeți clema de la capătul liber al tirantului.
Rotiți întregul ansamblu al tirantului în același sens (spre interior sau spre exterior) cu 1 rotație completă și strângeți clema de la capătul conectat al tirantului.
Montați articulația sferică la suportul carcasei axului, strângeți piulița cu mâna și măsurați unghiul de convergență.
Repetați procedura dacă este necesar.
Strângeți piulița și instalați un cui spintecat nou când reglarea este corectă.
Ingerarea lichidului de răcire a motorului poate provoca otrăvire; a nu se lăsa la îndemâna copiilor și animalelor de companie.
Descărcarea lichidului de răcire fierbinte sub presiune sau atingerea unui radiator fierbinte și a pieselor din jur poate provoca arsuri grave.
Lăsați întotdeauna motorul să se răcească cel puțin 15 minute înainte de a scoate capacul radiatorului.
Utilizați o lavetă când deschideți capacul radiatorului și deschideți capacul încet pentru a permite ieșirea aburului.
Nu operați mașina fără capace montate.
Țineți degetele, mâinile și hainele la distanță de ventilatorul rotativ și cureaua de transmisie.
Rezervorul de lichid de răcire este umplut din fabrică cu o soluție 50/50 de apă și lichid de răcire cu durată de viață prelungită pe bază de etilenglicol.
Important: Utilizați doar lichide de răcire disponibile în comerț, care îndeplinesc specificațiile enumerate în Tabelul cu standardele pentru lichidul de răcire cu durată de viață extinsă.Nu utilizați pentru mașină lichid de răcire convențional (verde) cu tehnologia acizilor anorganici (IAT). Nu amestecați lichid de răcire convențional cu lichid de răcire cu durată de viață prelungită.
|
Lichid de răcire pe bază de etilenglicol |
Tip de inhibitor de coroziune |
|
Antigel cu durată de viață prelungită |
Tehnologia acizilor organici (OAT) |
|
Important: Nu vă bazați pe culoarea lichidului de răcire pentru a identifica diferența dintre lichidul de răcire convențional (verde) cu tehnologia acizilor anorganici (IAT) și lichidul de răcire cu durată de viață prelungită.Producătorii de lichid de răcire pot colora lichidul de răcire cu durată de viață prelungită într-una dintre următoarele culori: roșu, roz, portocaliu, galben, albastru, turcoaz, violet și verde. Folosiți lichid de răcire care îndeplinește specificațiile din Tabelul cu standarde pentru lichidul de răcire cu durată de viață prelungită. |
|
|
ATSM International |
SAE International |
|
D3306 și D4985 |
J1034, J814 și 1941 |
Important: Concentrația lichidului de răcire trebuie să fie dată de un amestec 50/50 de lichid de răcire și apă.
De preferat: atunci când diluați lichidul de răcire concentrat, amestecați-l cu apă distilată.
Opțiune preferată: dacă nu este disponibilă apă distilată, utilizați un lichid de răcire preamestecat în locul unui lichid de răcire concentrat.
Cerință minimă: dacă nu sunt disponibile apă distilată și lichid de răcire preamestecat, amestecați lichidul de răcire concentrat cu apă potabilă curată.
| Interval de întreţinere şi service | Procedură de întreţinere |
|---|---|
| Înainte de fiecare folosinţă sau zilnic |
|
Capacitatea sistemului de răcire: 8,5 l.
Ventilatoarele rotative și curelele de transmisie pot provoca vătămări corporale.
Nu operați mașina fără protecții montate.
Țineți degetele, mâinile și hainele la distanță de ventilatorul rotativ și cureaua de transmisie.
Opriţi motorul şi scoateţi cheia înainte de efectuarea lucrărilor de întreținere.
Parcați mașina pe o suprafață plană, cuplați frâna de parcare, coborâți unitatea de tăiere, opriți motorul şi scoateţi cheia.
Îndepărtați cu grijă capacul radiatorului.

Verificaţi nivelul de lichid de răcire din radiator. Radiatorul trebuie umplut până la partea superioară a bușonului de umplere, iar rezervorul de expansiune trebuie umplut până la marcajul COMPLET (Figura 84).
Dacă nivelul de lichid de răcire este scăzut, adăugați un amestec 50/50 de apă și antigel pe bază de etilenglicol; consultați Specificații cu privire la lichidul de răcire. Nu folosiți doar apă sau lichide de răcire pe bază de alcool/metanol.
Montați capacul radiatorului și capacul rezervorului de expansiune.
| Interval de întreţinere şi service | Procedură de întreţinere |
|---|---|
| Înainte de fiecare folosinţă sau zilnic |
|
Această mașină este echipată cu un sistem de antrenare a ventilatorului acționat hidraulic care inversează sensul automat (sau manual) pentru a reduce acumularea de reziduuri la nivelul răcitorului de ulei/radiatorului și al ecranului. Deși această caracteristică poate ajuta la reducerea timpului necesar curățării radiatorului/răcitorului de ulei, nu elimină necesitatea curățării de rutină. Curățarea și verificarea periodică a radiatorului/răcitorului sunt în continuare necesare.
Parcați mașina pe o suprafață plană, cuplați frâna de parcare, coborâți unitatea de tăiere, opriți motorul şi scoateţi cheia.
Lăsați mașina să se răcească; consultați Siguranță în timpul întreținerii și Siguranța sistemului de răcire.
Desprindeți și deschideți prin pivotare ecranul spate (Figura 85).
Note: Pentru a îndepărta ecranul, ridicați-l de pe axele de pivotare.
Curățați bine ecranul de toate reziduurile.

Curățați bine cu aer comprimat ambele laturi ale răcitorului de ulei și radiatorului (Figura 86).
Note: Începeți din față și îndepărtați reziduurile spre spate. Apoi curățați din spate și îndepărtați-le spre față. Repetați procedura de mai multe ori până când îndepărtați toate pleava și reziduurile.

Important: Curățarea cu apă a răcitorului de ulei/radiatorului cauzează coroziunea prematură și deteriorarea componentelor și compactează reziduurile.
Închideți ecranul spate și fixați-l cu elementul de fixare.
Reglați frânele de serviciu atunci când pedala de frână are o cursă liberă mai mare de 25 mm sau când frânele nu funcționează eficient. Cursa liberă este distanța pe care se mișcă pedala de frână înainte de a simți rezistența la frânare.
Parcați mașina pe o suprafață plană, cuplați frâna de parcare, coborâți unitatea de tăiere, opriți motorul şi scoateţi cheia.
Eliberați elementul de blocare de pe pedalele de frână, astfel încât ambele pedale să funcționeze independent una de cealaltă.
Pentru a reduce cursa liberă a pedalelor de frână, strângeți frânele după cum urmează:
Slăbiți piulița din față pe capătul filetat al cablului de frână (Figura 87).

Strângeți piulița din spate pentru a deplasa cablul în spate până când pedalele de frână au o cursă liberă de 13 - 25 mm.
Strângeți piulițele din față după ce frânele sunt reglate corect.
| Interval de întreţinere şi service | Procedură de întreţinere |
|---|---|
| La intervale de 100 de ore |
|
Tensionarea corectă a curelei permite o deformare de 10 mm atunci când este aplicată o forță de 4,5 kg asupra curelei la jumătatea distanței dintre fulii.
Dacă deformarea nu este de 10 mm, slăbiți șuruburile de montare a alternatorului (Figura 78).
Note: Creșteți sau micșorați tensionarea curelei alternatorului și strângeți șuruburile. Verificați din nou deformarea curelei pentru a vă asigura că tensionarea este corectă.

Apelați imediat la un medic în cazul în care uleiul hidraulic intră în contact cu pielea. Uleiul care pătrunde în piele trebuie să fie eliminat chirurgical în interval de câteva ore de un medic.
Asigurați-vă că toate furtunurile și conductele cu ulei hidraulic sunt în stare bună și toate racordurile și fitingurile hidraulice sunt etanșe înainte de a presuriza sistemul hidraulic.
Țineți fața și alte părți ale corpului la distanță de infiltrații sau duze care pulverizează ulei hidraulic sub presiune.
Utilizați carton sau hârtie pentru a detecta scurgerile de ulei hidraulic.
Depresurizați în siguranță sistemul hidraulic înainte de orice intervenție asupra acestuia.
Rezervorul este umplut din fabrică cu ulei hidraulic de înaltă calitate. Verificați nivelul uleiului hidraulic înainte de a porni motorul și zilnic după aceea; consultați Verificarea nivelului de ulei hidraulic.
Lichid hidraulic recomandat: lichid hidraulic cu durată extinsă de viață Toro PX; disponibil în recipiente de 19 l sau în bidoane de 208 l.
Note: O mașină care utilizează lichidul de înlocuire recomandat necesită schimbări mai puțin frecvente de lichid și de filtru.
Lichide hidraulice alternative: Dacă lichidul hidraulic cu durată de viață extinsă Toro PX nu este disponibil, puteți utiliza un alt lichid hidraulic convențional, pe bază de petrol, cu specificații care se încadrează în intervalul menționat pentru toate următoarele proprietăți ale materialelor și care îndeplinește standardele din industrie. Nu utilizaţi lichide sintetice. Consultați-vă cu distribuitorul de lubrifiant pentru a identifica un produs satisfăcător.
Note: Toro nu își asumă răspunderea pentru daunele provocate de utilizarea unor produse necorespunzătoare; prin urmare, utilizați doar produse de la producători consacrați, care garantează pentru recomandările furnizate.
| Proprietăți produs: | ||
| Vâscozitate, ASTM D445 | cSt la 40 °C: 44 – 48 | |
| Indice de vâscozitate ASTM D2270 | 140 sau superior | |
| Punct de curgere, ASTM D97 | -37 °C - -45 °C | |
| Specificații pentru industrie: | Eaton Vickers 694 (I-286-S, M-2950-S/35VQ25 sau M-2952-S) | |
Note: Multe uleiuri hidraulice sunt aproape incolore, detectarea scurgerilor fiind dificilă. Un aditiv colorant roșu pentru uleiul hidraulic este disponibil în flacoane de 20 ml. Un flacon este suficient pentru 15 până la 22 litri de ulei hidraulic. Nr. piesă de comandă 44-2500 de la un distribuitor autorizat Toro.
Important: Lichidul hidraulic biodegradabil sintetic Toro Premium este singurul lichid sintetic biodegradabil aprobat de Toro. Acest lichid este compatibil cu elastomerii utilizați în sistemele hidraulice Toro și este potrivit pentru un interval vast de temperaturi. Acest lichid este compatibil cu uleiurile minerale convenționale, dar pentru biodegradabilitate și performanță maximă, sistemul hidraulic trebuie spălat complet de lichidul convențional. Uleiul este disponibil la distribuitorul autorizat Toro în containere de 19 l sau butoaie de 208 l.
| Interval de întreţinere şi service | Procedură de întreţinere |
|---|---|
| Înainte de fiecare folosinţă sau zilnic |
|
Parcați mașina pe o suprafață plană, cuplați frâna de parcare, coborâți unitatea de tăiere, opriți motorul şi scoateţi cheia.
Verificați nivelul de ulei hidraulic (Figura 89).


| Interval de întreţinere şi service | Procedură de întreţinere |
|---|---|
| La intervale de 800 de ore |
|
| La intervale de 2.000 de ore |
|
| La fiecare 2 ani |
|
Capacitate ulei hidraulic: 28,4 l
Dacă uleiul este contaminat, contactați distribuitorul autorizat Toro deoarece sistemul trebuie purjat. Uleiul contaminat are un aspect lăptos sau negru în comparație cu uleiul curat.
Parcați mașina pe o suprafață plană, cuplați frâna de parcare, coborâți unitatea de tăiere, opriți motorul şi scoateţi cheia.
Ridicați capota.
Deconectați conducta de retur a carcasei din partea inferioară a rezervorului și lăsați uleiul hidraulic să curgă în tava de golire.
Montați furtunul când uleiul hidraulic încetează să se scurgă.
Umpleți rezervorul cu ulei hidraulic; consultați Întreținere cu privire la uleiul hidraulic.
Important: Utilizați doar uleiurile hidraulice specificate. Alte uleiuri pot cauza deteriorarea sistemului.
Montați capacul rezervorului.
Rotiți cheia în contact în poziția PORNIT pentru a porni motorul. Utilizați toate comenzile hidraulice pentru a distribui uleiul hidraulic în întregul sistem și verificați dacă există scurgeri.
Rotiți cheia în contact în poziția OPRIT.
Verificați nivelul uleiului și adăugați suficient pentru a ridica nivelul până la marcajul COMPLET de pe jojă. Nu umpleţi excesiv.
| Interval de întreţinere şi service | Procedură de întreţinere |
|---|---|
| La intervale de 800 de ore |
|
| La intervale de 1.000 de ore |
|
Utilizați filtre de schimb Toro, nr. piesă 94-2621 pentru partea din spate (unități de tăiere) a mașinii și nr. piesă 75-1310 pentru partea din față (încărcare) a mașinii.
Important: Utilizarea unui alt filtru poate anula garanția pentru unele componente.
Înclinați scaunul operatorului pentru a accesa filtrul sub presiune al mașinii de tuns iarbă; consultați Accesarea compartimentului de ridicare hidraulică

Înlocuiți filtrul hidraulic de încărcare la compartimentul de ridicare hidraulic, așa cum se arată în Figura 91.


Coborâți și fixați scaunul operatorului.
Înlocuiți filtrul de retur din partea dreaptă a mașinii (Figura 91).
Porniți motorul și lăsați-l să funcționeze timp de aproximativ 2 minute pentru a elimina aerul din sistem. Opriţi motorul şi verificați dacă există scurgeri.
| Interval de întreţinere şi service | Procedură de întreţinere |
|---|---|
| Înainte de fiecare folosinţă sau zilnic |
|
| La fiecare 2 ani |
|
Verificați zilnic conductele și furtunurile hidraulice pentru a descoperi eventuale scurgeri, conducte deformate, suporturi de montare slăbite, urme de uzură, fitinguri slăbite, deteriorare din cauza condițiilor meteo și a acțiunii substanțelor chimice. Efectuați toate reparațiile necesare înainte de a utiliza mașina.
Uleiul hidraulic scurs sub presiune poate pătrunde în piele și cauza răniri.
Apelați imediat la un medic în cazul în care uleiul hidraulic intră în contact cu pielea.
Asigurați-vă că toate furtunurile și conductele cu ulei hidraulic sunt în stare bună și toate racordurile și fitingurile hidraulice sunt etanșe înainte de a presuriza sistemul hidraulic.
Țineți fața și alte părți ale corpului la distanță de infiltrații sau duze care pulverizează ulei hidraulic sub presiune.
Utilizați carton sau hârtie pentru a detecta scurgerile de ulei hidraulic.
Depresurizați în siguranță sistemul hidraulic înainte de orice intervenție asupra acestuia.
Parcați mașina pe o suprafață plană, cuplați frâna de parcare, coborâți unitatea de tăiere, opriți motorul şi scoateţi cheia.
Deconectați și scoateți motorul hidraulic din unitatea de tăiere (Figura 92). Acoperiți partea superioară a axului pentru a preveni contaminarea.

Îndepărtați cuiul de osie (pentru mașinile Groundsmaster 4500) sau piulița de fixare (pentru mașinile Groundsmaster 4700) care fixează cadrul de susținere al unității de tăiere pe știftul de pivotare al brațului de ridicare (Figura 93).

Rotiţi unitatea de tăiere în afara mașinii.
Deplasați unitatea de tăiere în poziție, în fața mașinii.
Glisați cadrul de susținere al unității de tăiere pe știftul de pivotare al brațului de ridicare (Figura 93). Fixați unitatea de tăiere pe știft cu cuiul de osie (pentru mașinile Groundsmaster 4500) sau piulița de fixare (pentru mașinile Groundsmaster 4700).
Montați motorul hidraulic la unitatea de tăiere (Figura 92). Asigurați-vă că garnitura inelară este fixată și nu prezintă deteriorări.
Lubrifiați axul.
Inspectați rola frontală pentru uzură, mișcări necontrolate în exces sau blocare. Reparați sau înlocuiți rola sau componentele dacă există oricare dintre aceste condiții.
Îndepărtați șurubul de montare a rolei (Figura 94).
Introduceți un perforator prin capătul carcasei rolei și scoateți lagărul opus în afară prin lovire alternativă pe partea opusă a căii de rulare a lagărului. Ar trebui să fie expusă o margine de 1,5 mm a căii de rulare interioare.

Împingeți al doilea lagăr în exterior în presă.
Inspectați carcasa rolei, lagărul și distanțierul lagărului pentru a observa dacă sunt deteriorate (Figura 94). Înlocuiți toate componentele deteriorate și montați-le.
Apăsați primul lagăr în carcasa rolei (Figura 94). Apăsați doar sau în mod egal pe calea de rulare interioară și exterioară.
Introduceți distanțierul (Figura 94).
Apăsați al doilea lagăr în carcasa rolei (Figura 94). Apăsați în mod egal pe calea de rulare interioară și pe cea exterioară până când calea interioară intră în contact cu distanțierul.
Instalați ansamblul rolei în cadrul unității de tăiere.
Verificați dacă există un spațiu mai mare de 1,5 mm între ansamblul rolelor și suporturile de montare pe role ale cadrului unității de tăiere. Dacă există un spațiu de peste 1,5 mm, instalați suficiente șaibe cu diametrul de ⅝" pentru a acoperi distanța.
Important: Fixarea ansamblului rolelor cu un spațiu mai mare de 1,5 mm creează o sarcină laterală asupra lagărului și poate duce la defectarea prematură a acestuia
Strângeți șurubul de montare la un cuplu de 108 N·m.
Inspectați lama periodic pentru urme de uzură sau de deteriorare.
Verificați lamele cu grijă. Acoperiți lamele sau purtați mănuși și efectuați lucrările de service pentru lame cu atenție. Doar înlocuiți sau ascuțiți lamele; nu le îndreptați sau sudați niciodată.
În cazul mașinilor cu mai multe lame, acționați cu atenție, deoarece rotirea unei lame poate duce la rotirea celorlalte lame.
Unitate de tăiere este livrată din fabrică cu înălțimea de tăiere presetată la 5 cm și echipată un cuțit pentru tuns de 7,9 mm. Înălțimile din stânga și din dreapta sunt, de asemenea, presetate la ± 0,7 mm, una față de cealaltă.
Unitatea de tăiere este proiectată să reziste la un impact al lamei fără deformarea camerei. Dacă lama lovește un obiect solid, verificați-o pentru a observa dacă este deteriorată și suprafața lamei este corespunzătoare.
Îndepărtați motorul hidraulic de la unitatea de tăiere și îndepărtați unitatea de tăiere de la mașină.
Utilizați un echipament de ridicare (sau minim 2 persoane) și așezați unitatea de tăiere pe o masă plană.
Marcați 1 capăt al lamei cu un pix sau un marker. Utilizați acest capăt al lamei pentru a verifica toate înălțimile.
Poziționați marginea de tăiere a capătului marcat al lamei la ora 12 (drept înainte în direcția de cosire) (Figura 95) și măsurați înălțimea de la masă la marginea de tăiere a lamei.

Rotiți capătul marcat al lamei în pozițiile de la orele 3 și 9 (Figura 95) și măsurați înălțimile.
Comparați înălțimea măsurată la ora 12 cu setarea înălțimii de tăiere. Ar trebui să fie de 0,7 mm. Înălțimile corespunzătoare orei 3 și 9 trebuie să fie de 1,6 - 6,0 mm, mai mari decât setarea corespunzătoare orei 12 și la 2,2 mm una față de cealaltă.
Dacă oricare dintre aceste măsurători nu se încadrează în specificații, continuați la Reglarea suprafeței lamei.
Începeți cu reglarea frontală (schimbați câte o consolă pe rând).
Îndepărtați consola pentru înălțimea de tăiere (față, stânga sau dreapta) de pe cadrul unității de tăiere (Figura 96).
Reglați lamele de 1,5 mm și/sau de 0,7 mm între cadrul unității de tăiere și consolă pentru a obține setarea dorită a înălțimii (Figura 96).

Montați consola pentru înălțimea de tăiere pe cadrul unității de tăiere cu lamelele rămase asamblate sub consola pentru înălțimea de tăiere.
Fixați șurubul cu cap/distanțierul și piulița cu guler.
Note: Șurubul cu cap imbus/distanțierul sunt fixate cu un adeziv de blocare a filetului pentru a preveni căderea distanțierului în interiorul cadrului unității de tăiere.
Verificați înălțimea corespunzătoare orei 12 și reglați dacă este necesar.
Determinați dacă doar unul sau ambele (dreapta și stânga) console pentru înălțimea de tăiere trebuie ajustate.
Note: Dacă partea corespunzătoare orei 3 sau 9 este cu 1,6 până la 6,0 mm mai mare decât noua înălțime frontală, nu este necesară nicio ajustare pentru partea respectivă. Reglați cealaltă parte la ± 2,2 mm față de partea corectă.
Reglați consolele pentru înălțimea de tăiere din dreapta și/sau din stânga, repetând pașii 1 - 4.
Fixați șuruburile de fixare și piulițele cu guler.
Verificați înălțimile corespunzătoare orei 12, 3 și 9.
Înlocuiți lama dacă a lovit un obiect solid sau dacă lama nu mai este echilibrată sau este îndoită. Utilizați întotdeauna lame de schimb originale Toro pentru a asigura siguranță și performanță optimă.
Parcați mașina pe o suprafață uniformă, ridicați unitatea de tăiere în poziția de transport, cuplați frâna de parcare, opriţi motorul şi scoateţi cheia.
Note: Blocați sau încuiați unitatea de tăiere pentru a preveni o cădere accidentală a acesteia.
Prindeți capătul lamei folosind o lavetă sau mănușă cu protecție corespunzătoare.
Scoateți șurubul lamei, cupa anti-scalp și lama de pe arborele axului (Figura 97).

Montați lama, cupa anti-scalp și șurubul lamei și strângeți șurubul lamei la un cuplu cuprins între 115 și 149 N m.
Important: Partea curbată a lamei trebuie să fie îndreptată către interiorul unității de tăiere, pentru a asigura tăierea corespunzătoare.
Note: După lovirea unui obiect străin, strângeți toate piulițele fuliei axului la un cuplu cuprins între 115 și 149 Nm.
La verificarea și întreținerea lamei mașinii de tuns iarba trebuie luate în considerare două zone: suprafața velică și marginea de tăiere. Atât marginile de tăiere, cât și suprafața velică, care este porțiunea întoarsă, opusă marginii de tăiere, contribuie la o calitate bună a tăieturii. Suprafața velică este importantă deoarece ridică iarba drept, asigurând astfel o tăiere uniformă. Cu toate acestea, suprafața velică se uzează treptat în timpul funcționării. Pe măsură ce se uzează suprafața velică, calitatea tăierii se degradează, deși marginile de tăiere sunt ascuțite. Marginea de tăiere a lamei trebuie să fie ascuțită, astfel încât iarba să fie tăiată și nu ruptă. Este evident că marginea de tăiere este tocită atunci când vârfurile firelor de iarbă au culoarea maro și sunt mărunțite. Ascuțiți marginile de tăiere pentru a corecta aceasta situație.
Parcați mașina pe o suprafață plană, ridicați unitatea de tăiere, cuplați frâna de parcare, deplasați pedala de tracțiune în poziția NEUTRă, deplasați maneta prizei de putere în poziția OPRIT, opriți motorul și scoateți cheia din contact.
Examinați cu atenție capetele de tăiere ale lamei, în special acolo unde se întâlnesc părțile plate și curbate ale lamei (Figura 98).
Note: Deoarece nisipul și materialele abrazive pot îndepărta metalul care unește partea plată cu cea curbată a lamei, verificați lama înainte de a utiliza mașina de tuns iarba. Dacă se constată semne de uzură (Figura 98), înlocuiți lama.

Examinați marginile de tăiere ale tuturor lamelor și ascuțiți-le dacă sunt tocite sau crestate (Figura 99).
Note: Ascuțiți doar partea superioară a marginii de tăiere și mențineți unghiul de tăiere inițial pentru a asigura ascuțirea (Figura 99). Lama rămâne echilibrată dacă eliminați aceeași cantitate de metal de pe ambele margini de tăiere.

Note: Demontați lamele și ascuțiți-le cu un dispozitiv pentru ascuțit. După ascuțirea marginilor de tăiere, montați lama cu cupa anti-scalp și șurubul lamei; consultați Îndepărtarea și montarea unității (unităților de tăiere).
Opriți motorul, scoateţi cheia din contact şi aşteptaţi oprirea oricărei mișcări înainte de a părăsi poziţia operatorului. Lăsați mașina să se răcească înainte de reglarea, repararea, curățarea sau depozitarea acesteia.
Nu depozitați mașina sau recipientul cu combustibil într-o zonă cu o flacără deschisă, scântei sau o lampă martor, precum pe un boiler sau un alt dispozitiv electric.
Important: Nu folosiți apă salmastră sau recuperată pentru a curăța mașina.
Curățați temeinic unitatea de tracțiune, unitățile de tăiere și motorul.
Verificaţi presiunea din anvelope. Umflați toate anvelopele unității de tracțiune la 83 - 103 bar.
Verificați dacă toate elementele de fixare sunt slăbite și strângeți-le dacă este necesar.
Lubrifiați toate fitingurile de lubrifiere și punctele de articulație. Ștergeți excesul de lubrifiant.
Șlefuiți ușor și utilizați vopsea de retuș pe zonele vopsite care sunt zgâriate, ciobite sau ruginite. Reparați orice lovituri ale caroseriei metalice.
Reparați bateria și cablurile, după cum urmează:
Deconectați bornele bateriei de la picioarele de susținere ale bateriei.
Note: Întotdeauna deconectați întâi borna negativă, apoi borna pozitivă. Întotdeauna conectați întâi borna pozitivă, apoi borna negativă.
Curățați bateria, bornele și picioarele de susținere cu o perie de sârmă și soluție de bicarbonat de sodiu.
Acoperiți bornele cablului și picioarele de susținere ale bateriei cu lubrifiant Grafo 112X (număr piesă 505-47) sau vaselină pentru a preveni coroziunea.
Reîncărcați lent bateria la fiecare 60 de zile timp de 24 de ore pentru a preveni sulfatarea plumbului bateriei.
Goliți uleiul de motor din baia de ulei și înlocuiți bușonul de golire.
Îndepărtați și eliminați filtrul de ulei. Montați un filtru de ulei nou.
Reumpleți baia de ulei cu cantitatea necesară de ulei de motor.
Rotiți cheia în contact în poziția PORNIRE, porniți motorul și rulați-l la o turație de ralanti timp de aprox. 2 minute.
Rotiți cheia în contact în poziția OPRIRE.
Goliți tot combustibilul din rezervorul de combustibil, conducte și ansamblul filtrului de combustibil/separatorului de apă.
Clătiți rezervorul de combustibil cu motorină proaspătă și curată.
Fixați toate fitingurile sistemului de alimentare.
Curăţaţi bine şi întreţineţi ansamblul filtrului de aer.
Etanșați admisia filtrului de aer și orificiul de evacuare cu bandă rezistentă la intemperii.
Verificați protecția antiîngheț și adăugați conform necesităților pentru temperatura minimă estimată în zona dumneavoastră.
Dacă unitățile de tăiere sunt separate de unitatea de tracțiune pentru o perioadă mai lungă de timp, montați un dop pentru ax în partea superioară a axelor pentru a le proteja împotriva prafului și apei.
