| Intervalo de assistência | Procedimento de manutenção |
|---|---|
| Em todas as utilizações ou diariamente |
|
Esta máquina é um cortador de relva com transporte de utilizador e lâmina rotativa destinada a ser utilizada por operadores profissionais contratados em aplicações comerciais. Foi principalmente concebida para cortar a relva em parques, campos desportivos e relvados comerciais bem mantidos. Se a máquina for utilizada para um fim diferente da sua utilização prevista, poderá pôr em perigo o utilizador e outras pessoas.
Leia estas informações cuidadosamente para saber como utilizar o produto, como efetuar a sua manutenção de forma adequada, evitar ferimentos pessoais e danos no produto. A utilização correta e segura do produto é da exclusiva responsabilidade do utilizador.
Visite www.Toro.com para obter informações sobre materiais de formação de operação e segurança dos produtos, informações sobre acessórios, para obter o contacto de um representante ou para registar o seu produto.
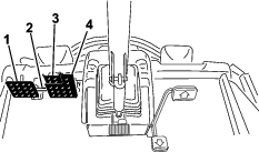
Sempre que necessitar de assistência, peças genuínas Toro ou informações adicionais, entre em contacto com um representante de assistência autorizado ou com a assistência ao cliente Toro, indicando os números de série e modelo do produto. A Figura 1 mostra onde se encontram os números de série e modelo do produto. Escreva os números no espaço fornecido.
Important: Com o seu dispositivo móvel, pode ler o código QR no autocolante do número de série (se equipado) para aceder à garantia, peças e outras informações do produto.

Este manual identifica potenciais perigos e tem mensagens de segurança identificadas pelo símbolo de alerta de segurança (Figura 2), que identificam perigos que podem provocar ferimentos graves ou mesmo a morte, se não respeitar as precauções recomendadas.

Este manual utiliza duas palavras para destacar informações. A palavra Importante chama a atenção para informações especiais de ordem mecânica e a palavra Nota sublinha informações gerais que requerem especial atenção.
Este produto cumpre todas as diretivas europeias relevantes. Para mais informações, consulte a folha de Declaração de conformidade em separado, específica do produto.
Utilizar ou operar o motor em qualquer terreno com floresta, arbustos ou relva é uma violação da secção 4442 ou 4443 do código de recursos públicos da Califórnia exceto se o motor estiver equipado com uma proteção contra chamas, como definido na secção 4442, mantido em boas condições ou o motor for construído equipado e mantido para a prevenção de fogo.
O Manual do proprietário do motor é fornecido para informações acerca do sistema de emissões, manutenção e garantia da US Environmental Protection Agency (EPA) e regulamento de controlo de emissões da Califórnia. A substituição pode ser solicitada através do fabricante do motor.
CALIFÓRNIA
Proposição 65 Aviso
É do conhecimento do Estado da Califórnia que os gases de escape a alguns dos componentes deste veículo contêm químicos que podem provocar cancro, defeitos congénitos ou outros problemas reprodutivos.
Os pólos, terminais e restantes acessórios da bateria contêm chumbo e derivados de chumbo; é do conhecimento do Estado da Califórnia que estes químicos podem provocar cancro e problemas reprodutivos. Lave as mãos após a utilização.
É do conhecimento do Estado da Califórnia que a utilização deste produto pode causar exposição a químicos que podem provocar cancro, defeitos congénitos ou outros problemas reprodutivos.
Este produto é capaz de amputar mãos e pés e projetar objetos. Respeite sempre todas as instruções de segurança, de modo a evitar ferimentos pessoais graves.
Leia e compreenda o conteúdo deste Manual do utilizador antes de ligar o motor.
Tenha toda a atenção durante a operação da máquina. Não faça qualquer atividade que cause distrações; caso contrário, podem ocorrer ferimentos ou danos materiais.
Não opere a máquina sem que todos os resguardos e outros dispositivos protetores de segurança estejam instalados e a funcionar corretamente na máquina.
Mantenha as mãos e os pés longe de peças em rotação. Mantenha-se afastado da abertura de descarga.
Mantenha as crianças e outras pessoas afastadas da área de funcionamento. Nunca permita que crianças utilizem a máquina.
Desligue o motor, retire a chave e aguarde até que todo o movimento pare, antes de sair da posição de operação. Deixe a máquina arrefecer antes de a ajustar, lhe fazer a manutenção, limpar ou armazenar.
A utilização ou manutenção inadequada
desta máquina pode provocar ferimentos. De modo a reduzir o
risco de ferimentos, deverá respeitar estas instruções
de segurança e prestar sempre atenção ao símbolo
de alerta de segurança
, que indica Cuidado, Aviso ou Perigo –
instrução de segurança pessoal. O não
cumprimento destas instruções pode resultar em ferimentos
pessoais ou mesmo em morte.
![]() |
Os autocolantes de segurança e instruções estão facilmente visíveis para o operador e situam-se próximos das zonas de potencial perigo. Substitua todos os autocolantes danificados ou perdidos. |





















Coloque sobre a peça n.º 112-5297 para CE* para máquinas da série 4500 (modelo n.º 30885)

Coloque sobre a peça n.º 112-5297 para CE* para máquinas da série 4700 (modelo n.º 30887)

Note: Determine os lados direito e esquerdo da máquina a partir da posição normal de utilização.
Peças necessárias para este passo:
| Autocolante de aviso | 1 |
| Autocolante CE | 1 |
| Autocolante do ano de fabrico | 1 |
Em máquinas que requerem conformidade CE, substitua o autocolante de aviso (127-6647 [para o modelo 30885] ou 127-6648 [para o modelo 30887]), autocolante CE e o autocolante do ano de fabrico (Figura 3).

Peças necessárias para este passo:
| Suporte do trinco do capot | 1 |
| Rebite | 2 |
| Anilha | 1 |
| Parafuso (¼ x 2 pol.) | 1 |
| Porca de bloqueio (¼ pol.) | 1 |
Solte o trinco do capot do suporte.
Retire os dois rebites que prendem o suporte do trinco ao capot (Figura 4).

Retire o suporte do trinco do capot.
Ao alinhar os furos de montagem, posicione o suporte do trinco CE e o suporte do trinco do capot no capot (Figura 5).
Note: O suporte do trinco tem de estar contra o capot. Não retire o parafuso e a porca do braço do suporte do trinco.

Alinhe as anilhas com os orifícios no lado interior do capot.
Aplique rebites nos suportes e nas anilhas ao capot (Figura 5).
Prenda o trinco no suporte do trinco do capot (Figura 6).

Instale o parafuso no outro braço do suporte do trinco do capot para prender o trinco na posição (Figura 7). Aperte o parafuso firmemente, mas não aperte a porca.

O raspador do rolo traseiro opcional funciona melhor quando houver uma folga uniforme de 0,5 a 1 mm entre o raspador e o rolo.
Desaperte o bocal de lubrificação e o parafuso de fixação (Figura 8).

Deslize o raspador para cima ou para baixo até obter uma folga de 0,5 a 1 mm entre a barra e o rolo.
Aperte o bocal de lubrificação e aperte com uma força de 41 N·m em sequência alternada.
Contacte o distribuidor Toro autorizado para obter o abafador de cobertura (mulch) correto.
Remova todos os detritos dos orifícios de montagem nas paredes traseira e esquerda da câmara.
Instale o abafador de cobertura (mulch) na abertura traseira e fixe-o com cinco parafusos com cabeça flangeada (Figura 9).

Verifique se o abafador de cobertura (mulch) não toca nas pontas da lâmina e não fica a pressionar a face interna da parede da câmara traseira.
Utilizar uma lâmina de alta elevação com o abafador de mulch pode fazer com que a lâmina parta, provocando lesões graves ou morte.
Não utilize a lâmina de grande elevação com o abafador.
Estacione a máquina numa superfície nivelada.
Para máquinas Groundsmaster 4500 e 4700, liberte os cabos da unidade de corte 4 e 5 (Figura 39).
Para máquinas Groundsmaster 4700, liberte os trincos da unidade de corte 6 e 7 (Figura 42).
Baixe as unidades de corte.
Engate o travão de estacionamento.
Desligue o motor e retire a chave.
Verifique a pressão dos pneus; consulte Verificação da pressão dos pneus.
Important: Mantenha a pressão em todos os pneus, de modo a garantir uma boa qualidade de corte e um desempenho adequado da máquina. Não encha de menos os pneus.
Verifique o nível do lubrificante do eixo traseiro antes de ligar o motor pela primeira vez; consulte Verificação do lubrificante do eixo traseiro.
Verifique o nível de óleo do motor antes de ligar o motor; consulte Verificação do nível de óleo do motor.
Verifique o nível de óleo hidráulico antes de ligar o motor, consulte Verificação do nível do fluido hidráulico.
Verifique o sistema de arrefecimento antes de ligar o motor; consulte Verificação do sistema de arrefecimento.
Lubrifique a máquina antes da utilização; consulte Lubrificação dos rolamentos e casquilhos.
Important: Não realizar uma lubrificação adequada pode causar uma falha prematura de peças vitais.

O pedal de tração (Figura 10) permite controlar o avanço e recuo da máquina. Pressione a zona superior do pedal para deslocar a máquina para a frente e a zona inferior para deslocar a máquina para trás. Quando as unidades de corte estiverem totalmente elevadas, o pedal controla a velocidade do motor e da tração como um automóvel.
Note: Em situações de travagem de emergência, retire o pé do pedal de tração e, em seguida, pressione os pedais do travão. Esta é a forma mais rápida de parar a máquina.
Existem dois pedais para controlar os travões das rodas individuais, para ajudar nas mudanças de direção, estacionamento, assim como para auxiliar uma melhor tração numa inclinação. Uma barra liga os pedais para a utilização do travão de estacionamento e o transporte (Figura 10).
A barra de bloqueio dos pedais liga ambos os pedais para engatar o travão de estacionamento (Figura 10).
Para inclinar o volante na sua direção, carregue no pedal, puxe o volante para si para a posição mais confortável e, em seguida, solte o pedal (Figura 10). Para afastar o volante de si, pressione o pedal e liberte-o quando o volante atingir a posição de operação que deseja.
Para engatar o travão de estacionamento, (Figura 10) junte os pedais com a barra de bloqueio dos pedais e empurre para baixo o pedal da direita engatando o pedal de pé. Para libertar o travão de estacionamento, deverá pressionar um dos pedais do travão até que o bloqueio do travão de estacionamento desengate.
A ignição (Figura 11) tem 3 posições: DESLIGAR, LIGAR/PREAQUECIMENTO e ARRANQUE.

O interruptor da tomada de força dispõe de duas posições: PARA FORA (Engatado) e PARA DENTRO (Desengatado). Puxe o botão de tomada de força para fora para engatar as lâminas da unidade de corte. Empurre o botão para dentro para desengatar as lâminas da unidade de corte (Figura 11).
Este interruptor (Figura 11) controla as gamas das duas velocidades da máquina; alta e baixa.
Selecione a posição H/L AUTO para permitir que a máquina selecione automaticamente a velocidade alta ou baixa.
Seleccione a posição BAIXA para sobrepor manualmente a gama apenas para baixo.
Pode alterar a posição do interruptor a qualquer momento, mas a máquina só muda entre as gamas de velocidade quando o pedal de tração se encontra em neutro e a máquina está parada.
Note: Para obter a velocidade alta na posição H/L AUTO, desengate a tomada de força e eleve totalmente as unidades de corte.
Note: Se tiver o interruptor na posição H/L AUTO, não pode descer as plataformas da posição totalmente elevada, excepto se o pedal de tração estiver em neutro e a máquina estiver parada.
O interruptor de controlo de cruzeiro bloqueia no controlo de cruzeiro para manter a velocidade desejada (Figura 12). Pressionando na parte traseira do interruptor desliga o controlo de cruzeiro, a posição do meio do interruptor permite a função de controlo de cruzeiro e a parte frontal do interruptor define a velocidade desejada.
Assim que o controlo de cruzeiro estiver definido, pode alterar a velocidade utilizando o InfoCenter (Figura 34).

Os interruptores de elevação servem para levantar e baixar as unidades de corte (Figura 11). Prima os interruptores para a frente para baixar as unidades de corte e para trás para elevar as unidades de corte. Ao ligar a máquina, quando as unidades de corte se encontram na posição descida, prima o interruptor da esquerda para baixo para permitir às unidades de corte ficarem suspensas e cortar.
Note: As unidades de corte não descem enquanto estiver em gama de velocidade alta e não sobem nem descem se o operador estiver fora do banco. Adicionalmente, as unidades de corte irão baixar com a chave na posição LIGAR e o operador sentado no banco.
Prima o interruptor de luz para cima para a posição LIGAR (para acender os faróis (Figura 11).
Prima o interruptor de luz para baixo para a posição DESLIGAR para apagar os faróis.
Utilize o ponto de corrente (Figura 13) para ligar acessórios elétricos opcionais de 12 volts.

Utilize o suporte do saco para armazenamento (Figura 13).
Desloque a alavanca de ajuste do banco que se encontra no lado do banco para fora, faça deslizar o banco para a posição desejada e liberte a alavanca para o fixar em posição (Figura 14).

Rode o manípulo para ajustar o ângulo do descanso do braço (Figura 14).
Mova a alavanca para ajustar o ângulo do encosto do banco (Figura 14).
O indicador de peso indica quando o banco está ajustado ao peso do operador (Figura 14). Ajuste a altura posicionando a suspensão dentro da gama da região verde.
Utilize esta alavanca para ajustar o banco ao seu peso (Figura 14). Puxe a alavanca para cima para aumentar a pressão de ar e empurre para baixo para diminuir a pressão de ar. O devido ajuste é correto quando o indicador de peso se encontra na região verde.
O ecrã LCD InfoCenter (Figura 11) mostra informações acerca da máquina, por exemplo, o estado de operação e vários diagnósticos e outras informações acerca da máquina.
Os ecrãs que surgem dependem dos botões que selecionar. O objetivo de cada botão pode mudar, dependendo do que é requerido no momento.

| Descrição | 4500-D | Figura 15 referência | 4700-D | Figura 15 referência | |
|---|---|---|---|---|---|
| Largura de corte | 280 cm | D | 380 cm | F | |
| Largura total | |||||
| Unidades de corte para baixo | 286 cm | E | 391 cm | G | |
| Unidades de corte para cima (transporte) | 224 cm | A | 224 cm | A | |
| Largura do rasto | |||||
| Frente | 224 cm | B | 224 cm | B | |
| Posterior | 141 cm | M | 141 cm | M | |
| Altura com proteção contra capotamento | |||||
| Elevada | 226 cm | C | 226 cm | C | |
| Descida | 165 cm | 165 cm | |||
| Comprimento total | |||||
| Unidades de corte para baixo | 370 cm | H | 370 cm | H | |
| Unidades de corte para cima (transporte) | 370 cm | L | 370 cm | L | |
| Espaço livre acima do solo | 15 cm | 15 cm | |||
| Distância entre os eixos | 171 cm | K | 171 cm | K | |
| Peso líquido | 1937 kg | 2277 kg | |||
| (com unidades de corte e sem combustível) | |||||
Note: As especificações e o desenho do produto estão sujeitos a alterações sem aviso prévio.
| Comprimento | 86,4 cm |
| Largura | 86,4 cm |
| Altura | 24,4 cm para a montagem de suporte |
| 26,7 cm a uma altura de corte de 1,9 cm | |
| 34,9 cm a uma altura de corte de 10 cm | |
| Peso | 88 kg |
Está disponível uma seleção de engates e acessórios aprovados pela Toro para utilização com a máquina, para melhorar e expandir as suas capacidades. Contacte o seu representante ou distribuidor de assistência autorizado ou vá a www.Toro.com para obter uma lista de todos os engates e acessórios aprovados.
Utilize apenas peças de substituição e acessórios originais Toro. Os acessórios e peças sobressalentes produzidos por outros fabricantes poderão tornar-se perigosos e a sua utilização pode anular a garantia do produto.
Note: Determine os lados direito e esquerdo da máquina a partir da posição normal de utilização.
Nunca permita que crianças ou pessoal não qualificado utilizem ou procedam à assistência técnica da máquina. Os regulamentos locais podem determinar restrições relativamente à idade do operador. A formação de todos os operadores e mecânicos é da responsabilidade do proprietário.
Familiarize-se com o funcionamento seguro do equipamento, com os controlos do utilizador e com os sinais de segurança.
Desligue o motor, retire a chave e aguarde até que todo o movimento pare, antes de sair da posição de operação. Deixe a máquina arrefecer antes de a ajustar, lhe fazer a manutenção, limpar ou armazenar.
Saiba como parar a máquina e desligar o motor rapidamente.
Verifique se os controlos de presença do operador, os interruptores de segurança e os resguardos estão corretamente montados e a funcionar corretamente. Não utilize a máquina se estes componentes não estiverem a funcionar corretamente.
Antes do corte, inspecione sempre a máquina para assegurar que as lâminas, os parafusos das lâminas e as unidades de corte estão em bom estado de funcionamento. Substitua as lâminas e os parafusos gastos ou danificados em grupos para manter o equilíbrio.
Inspecione a área onde vai utilizar a máquina e remova todos os objetos que a máquina possa projetar.
Este produta gera um campo eletromagnético. Se usar algum dispositivo médico eletrónico implantável, consulte um profissional de saúde antes de utilizar este produto.
Tenha muito cuidado quando manusear combustível. Este combustível é inflamável e os seus vapores são explosivos.
Apague todos os cigarros, charutos, cachimbos e outras fontes de ignição.
Utilize apenas recipientes aprovados para combustível.
Não retire a tampa do depósito nem encha o depósito enquanto o motor se encontrar em funcionamento ou estiver quente.
Não adicione ou retire combustível num espaço fechado.
Nunca guarde a máquina ou o recipiente de combustível num local onde existam chamas abertas, faíscas ou luzes piloto, como junto de uma caldeira ou outros aparelhos.
Em caso de derrame de combustível, não tente ligar o motor; evite criar qualquer fonte de ignição até os vapores do combustível se terem dissipado.
Antes de ligar o motor e utilizar máquina, verifique o nível do óleo no cárter do motor; consulte Verificação do nível de óleo do motor.
Antes de ligar o motor e utilizar a máquina, verifique o sistema de arrefecimento; consulte Verificação do sistema de arrefecimento.
Antes de ligar o motor e utilizar a máquina, verifique o sistema hidráulico; consulte Verificação do nível do fluido hidráulico.
Retire a água ou outro tipo de contaminação do separador de água diariamente; consulte Retirar água do separador de água-combustível.
Verificação de fugas do eixo traseiro e da caixa de engrenagens do eixo traseiro; consulte Verificação de fugas do eixo traseiro e da caixa de engrenagens.
Capacidade do depósito de combustível: 83 litros
Important: Utilize apenas gasóleo com ultra baixo conteúdo de enxofre. O combustível com taxas mais elevadas de enxofre degrada o catalisador de oxidação diesel (DOC), o que causa problemas operacionais e encurta a vida útil entre manutenções dos componentes do motor.A não observação das seguintes precauções pode danificar o motor.
Nunca utilize querosena nem gasolina em vez de gasóleo.
Nunca misture querosena nem óleo do motor com o gasóleo.
Nunca guarde o combustível em recipientes com revestimento interior de zinco.
Não utilize aditivos de combustível.
Classificação de cetanos: 45 ou superior
Teor de enxofre: ultra baixo conteúdo de enxofre (<15 ppm)
| Especificações do gasóleo | Local |
| ASTM D975 | EUA |
| N.º 1-D S15 | |
| N.º 2-D S15 | |
| EN 590 | União Europeia |
| ISO 8217 DMX | Internacional |
| JIS K2204 classificação n.º 2 | Japão |
| KSM-2610 | Coreia |
Utilize apenas gasóleo limpo ou biodiesel.
Adquira combustível em quantidades que possam ser usadas no prazo de 180 dias para assegurar a pureza do combustível.
Utilize gasóleo de verão (N.º 2-D) a temperaturas superiores a -7°C e gasóleo de inverno (N.º 1-D ou mistura N.º 1-D/2-D) abaixo de -7°C.
Note: A utilização de gasóleo de inverno a temperaturas inferiores proporciona um ponto de inflamação mais baixo e características de fluxo frio que facilitam o arranque e reduzem a obstrução do filtro de combustível.A utilização de gasóleo de verão acima de -7°C contribui para uma maior duração da bomba de combustível e maior potência quando comparado com o gasóleo de inverno.
Esta máquina também pode usar um combustível com mistura de biodiesel de até B20 (20% biodiesel, 80% petrodiesel).
Teor de enxofre: ultra baixo conteúdo de enxofre (<15 ppm)
Especificações do biodiesel: ASTM D6751 ou EN 14214
Especificações da mistura de combustível: ASTM D975, EN 590 ou JIS K2204
Important: A parte de gasóleo tem de ser de ultra baixo teor de enxofre.
Tome as seguintes precauções:
As misturas de biodiesel podem danificar as superfícies pintadas.
Utilize misturas B5 (conteúdo de biodiesel de 5%) ou inferiores no tempo frio.
Verifique os vedantes, tubos e juntas em contacto com o combustível, uma vez que podem degradar-se ao longo do tempo.
Pode ocorrer obstrução do filtro de combustível durante algum tempo após mudar para misturas de biodiesel.
Para mais informações sobre biodiesel, contacte o seu distribuidor autorizado Toro.


Encha o depósito de combustível com gasóleo n.º 2-D até 6 a 13 mm abaixo do topo do depósito, não do tubo de enchimento.
Note: Se possível, encha o depósito de combustível após cada utilização; isto minimiza uma eventual formação de condensação dentro do depósito.
| Intervalo de assistência | Procedimento de manutenção |
|---|---|
| Em todas as utilizações ou diariamente |
|
A pressão correta dos pneus é de 1,38 bar.
Important: Mantenha a pressão recomendada em todos os pneus, de modo a garantir uma boa qualidade de corte e um desempenho adequado da máquina. Não encha de menos os pneus.Verifique a pressão do ar em todos os pneus antes de utilizar a máquina.

| Intervalo de assistência | Procedimento de manutenção |
|---|---|
| Após a primeira hora |
|
| Após as pimeiras 10 horas |
|
| A cada 200 horas |
|
Aperte as porcas das rodas com 115 a 136 N·m pela ordem que se mostra na Figura 18 e na Figura 19.


A não observância de um binário de aperto adequado das porcas das rodas pode dar origem a lesões.
Aperte as porcas das rodas com o valor de aperto adequado.
Para evitar ferimentos ou a morte por capotamento: mantenha a barra de segurança levantada e bloqueada, e use o cinto de segurança.
Certifique-se de que o banco está preso com o trinco do banco.
Não há proteção anticapotamento quando a barra de segurança estiver em baixo.
Não opere a máquina em terreno irregular ou num declive acentuado com a barra de segurança na posição descida.
Baixe a barra de segurança só quando for mesmo necessário.
Não use o cinto de segurança quando a barra de segurança estiver em baixo.
Conduza devagar e com cuidado.
Levante a barra de segurança assim que houver espaço livre.
Verifique atentamente a altura livre existente (ou seja, ramos, portas, fios elétricos) antes de passar com a máquina debaixo de qualquer objeto e impeça o contacto.
Important: Use sempre o cinto de segurança quando levantar e bloquear a barra de segurança. Não use o cinto de segurança quando a barra de segurança estiver em baixo.
Important: Baixe a barra de segurança só quando for necessário.
Important: Certifique-se de que o banco está preso com o trinco do banco.


Important: As unidades de corte rotativas cortam aproximadamente 6 mm abaixo, em comparação com uma unidade de corte com cilindros que tenha o mesmo ajuste. Pode ser necessário ajustar a unidade de corte rotativa para 6 mm acima do valor de ajuste dos cilindros que cortam na mesma área.
Important: O acesso às unidades de corte traseiras é bastante melhorado se retirar a unidade de corte da máquina.
Estacione a máquina numa superfície plana, engate o travão de estacionamento, desça a unidade de corte, desligue o motor e retire a chave.
Desaperte o parafuso que prende o suporte da altura de corte à placa da altura de corte (frente e de cada lado), conforme se mostra na Figura 22.
Comece pelo ajuste dianteiro, retire o parafuso.

Enquanto estiver suportar a câmara, retire o espaçador (Figura 22).
Mova a câmara para a altura de corte desejada e instale o espaçador no orifício e ranhura da altura de corte designada (Figura 23).

Alinhe a placa roscada com o espaçador.
Coloque o parafuso e a porca apertados à mão.
Repita os passos 4 a 7 para cada ajuste lateral.
Aperte os três parafusos com uma força de 41 N∙m. Aperte sempre o parafuso da frente primeiro.
Note: Os ajustes de mais de 3,8 cm podem exigir a montagem temporária numa altura intermédia para evitar encravamento (por exemplo, passar de uma altura de corte de 3,1 a 7 cm).
| Intervalo de assistência | Procedimento de manutenção |
|---|---|
| Em todas as utilizações ou diariamente |
|
A máquina poderá arrancar inesperadamente se os interruptores de bloqueio de segurança se encontrarem desligados ou danificados e provocar lesões.
Não desative os interruptores de bloqueio.
Verifique o funcionamento dos interruptores de bloqueio diariamente e substitua todos os interruptores danificados antes de utilizar a máquina.
Os interruptores de segurança são concebidos para desligar a máquina quando se levanta do banco quando o pedal de tração é pressionado. No entanto, poderá abandonar o banco enquanto o motor se encontrar em funcionamento, se o pedal de tração se encontrar na posição PONTO MORTO. Embora o motor continue a funcionar quando o interruptor da tomada de força é desengatado e o pedal de tração libertado, desligue o motor antes de se levantar do banco.
Estacione a máquina numa superfície nivelada, engate o travão de estacionamento, desça as unidades de corte e coloque a chave na posição DESLIGAR.
Pressione o pedal de tração e rode a chave da ignição para a posição LIGAR.
Note: Se o motor arrancar, isso significa que existe uma avaria no sistema de segurança. Corrija esta avaria antes de operar a máquina.
Rode a chave para a posição LIGAR, levante-se do banco e mova o interruptor da tomada de força para LIGAR.
Note: A tomada de força não se deve acionar. Se a tomada de força engatar, isso significa que existe uma avaria no sistema de segurança. Corrija esta avaria antes de operar a máquina.
Engate o travão de estacionamento, rode a chave para a posição LIGAR e mova o pedal de tração para fora da posição PONTO MORTO.
Note: O InfoCenter irá apresentar “tração negada” e a máquina não se deve mover. Se a máquina se mover, isso significa que existe uma avaria no sistema de segurança. Corrija esta avaria antes de operar a máquina.
| Intervalo de assistência | Procedimento de manutenção |
|---|---|
| Em todas as utilizações ou diariamente |
|
Note: Desça as unidades de corte para uma secção limpa de relva ou para uma superfície sólida para evitar a projeção de poeira e detritos.
Para verificar este tempo de paragem, sente-se no banco e desengate a tomada de força. Ouça as lâminas em rotação e registe o tempo que as lâminas demoram a parar por completo. Se demorarem mais de 7 segundos, ajuste a válvula de travagem. Solicite a assistência do distribuidor autorizado Toro ao fazer este ajuste.
Esta lâmina foi concebida para proporcionar excelente elevação e dispersão praticamente em qualquer condição. Se for necessária maior ou menor elevação e velocidade de descarga, pondere utilizar uma lâmina diferente.
Atributos Excelente elevação e dispersão na maioria das condições
Geralmente, a lâmina funciona melhor com alturas de corte inferiores – 1,9 a 6,4 cm.
Atributos:
A descarga é mais uniforme com alturas de corte inferiores.
A descarga tem menor tendência para desviar para a esquerda, dando um aspeto mais limpo aos bancos de areia e relvados.
Não necessita de tanta potência quando definir alturas de corte inferiores e quando a relva for densa.
Geralmente, a lâmina funciona melhor com alturas de corte superiores – 7 a 10 cm.
Atributos:
Maior capacidade de elevação e descargas mais rápidas
A relva dispersa ou a erva pouco rija é colhida mais facilmente com alturas de corte superiores
As aparas de relva molhadas ou pegajosas são deitadas fora com mais eficiência, diminuindo os problemas de congestionamento sob a unidade de corte.
Necessita de mais potência para funcionar
Tem tendência para fazer descargas mais para a esquerda e pode criar um amontoado de erva com as alturas de corte inferiores
Utilizar uma lâmina de alta elevação com o abafador de cobertura (mulch) pode fazer com que a lâmina parta, provocando lesões graves ou morte.
Não utilize a lâmina de grande elevação com o abafador de mulch.
Esta lâmina foi concebida para proporcionar excelente acumulação de folhas.
Atributo: excelente cobertura (mulch)
| Aba inclinada | Aba paralela de alta elevação(não utilizar com o abafador de mulch) | Abafador de cobertura (mulch) | Raspador do rolo | |
| Corte da relva: altura de corte de 1,9 a 4,4 cm | Recomendado para a maioria das aplicações | Pode resultar bem no corte de erva fina ou relva dispersa | Melhora os resultados de dispersão e o desempenho pós-corte nos relvados do Norte, que são cortados pelo menos três vezes por semana; menos de 1/3 da erva é retirada durante a operação de corte. Não utilizar com aba paralela de alta elevação | Utilize sempre que os rolos começarem a ficar com relva ou se virem grandes pedaços acumulados de relva. Os raspadores podem aumentar a acumulação de relva em certas aplicações. |
| Corte da relva: altura de corte de 5 a 6,4 cm | Recomendado para erva espessa ou relva densa | Recomendado para erva fina ou relva dispersa | ||
| Corte da relva: altura de corte de 7 a 10 cm | Pode resultar bem no corte de relva densa | Recomendado para a maioria das aplicações | ||
| Cobertura (mulch) de folhas | Recomendado para utilizar com o abafador de cobertura (mulch) | Não permitido | Utilize apenas com a combinação de lâmina de aba, lâmina atómica ou lâmina de aba inclinada | |
| Prós | Descarga uniforme a altura de corte inferior; relvados em redor de bancos de areia e fairways mais bem cuidados, menor consumo de energia | Maior capacidade de elevação e descargas mais rápidas; relva dispersa ou a erva pouco rija é colhida com uma altura de corte superior. As aparas de relva molhadas ou pegajosas são deitadas fora com eficiência. | Pode melhorar a dispersão e o aspeto em determinadas aplicações de corte de relva. Muito bom para cobertura (mulch) de folhas. | Reduz a acumulação no rolo em determinadas aplicações. |
| Contras | Não levanta bem a relva em aplicações de altura de corte elevada; a erva molhada ou pegajosa tem tendência a acumular-se na câmara, originando um corte de má qualidade e sendo necessário mais potência. | Necessita de mais potência em algumas aplicações. Tendência para criar um amontoado de erva quando definir uma altura de corte inferior para cortar relva densa. Não utilize com o abafador de cobertura (mulch). | A relva acumula-se na câmara, se tentar retirar demasiada relva com o abafador instalado |
O ecrã InfoCenter mostra informações acerca da máquina, como o estado de operação, vários diagnósticos e outras informações acerca da máquina. Existem vários ecrãs de informações. Pode alternar entre ecrãs a qualquer altura pressionando qualquer um dos botões do InfoCenter e, em seguida, selecionando a seta direcional adequada.

Note: O objetivo de cada botão pode mudar, dependendo do que é requerido no momento. Cada botão terá a indicação de um ícone apresentando a função atual.
![]() | Conta-horas |
![]() | Definições da paragem de pedal virtual |
![]() | O utilizador tem de se sentar no banco. |
![]() | O travão de estacionamento está engatado. |
![]() | Temperatura do líquido de arrefecimento do motor (°C ou °F) |
![]() | Tração ou Pedal de tração |
![]() | O controlo de cruzeiro está acionado. |
![]() | Pedido de regeneração rearmada-paragem |
| Pedido de regeneração em estacionamento ou de recuperação | |
![]() | Está a ser processada uma regeneração em estacionamento ou de recuperação |
![]() | Temperatura de escape elevada |
![]() | Avaria do diagnóstico de controlo NOx; conduza a máquina novamente para a oficina e contacte o distribuidor autorizado da Toro (versão de software U e posterior). |
![]() | A tomada de força está desativada. |
![]() | A tomada de força está ligada. |
![]() | Bateria |
![]() | Aviso |
![]() | Ativo |
![]() | Inativo |
![]() | Anterior |
![]() | Seguinte |
![]() | Aumentar |
![]() | Diminuir |
![]() | Ecrã anterior |
![]() | Ecrã seguinte |
![]() | Aumentar valor |
![]() | Diminuir valor |
![]() | Menu |
![]() | Deslizar para cima/baixo |
![]() | Deslizar para a esquerda/direita |
![]() | Temperatura do fluido hidráulico (°C ou °F) |
![]() | Gama alta ou rápida (transporte) |
![]() | Gama baixa ou lenta (corte) |
![]() | Ventoinha (inversão da ventoinha) |
![]() | Todas as unidades de corte em cima |
![]() | Todas as unidades de corte em baixo |
![]() | Unidades de corte centrais em cima |
![]() | Unidades de corte centrais em baixo |
![]() | Unidades de corte esquerdas em cima |
![]() | Unidades de corte esquerdas em baixo |
![]() | Unidades de corte direitas em cima |
![]() | Unidades de corte direitas em baixo |
![]() | Bloqueado |
Acessível
apenas com introdução do PIN
Para aceder ao sistema de menus InfoCenter, pressione o botão de acesso ao menu quando está no Menu principal. Isto vai levá-lo ao Menu principal. Consulte as tabelas seguintes para obter uma sinopse das opções disponíveis dos menus:
| Menu principal – item de menu | Descrição |
| Avarias | O menu Avarias contém uma lista das falhas recentes da máquina. Consulte o Manual de manutenção ou contacte o seu distribuidor Toro autorizado para mais informações acerca do menu de falhas e as informações aqui contidas. |
| Manutenção | O menu Manutenção contém informações sobre a máquina como, por exemplo, contadores das horas de utilização e outros números semelhantes. |
| Diagnósticos | O menu Diagnósticos apresenta o estado de cada interruptor, sensor e saída de controlo da máquina. Pode utilizar isto para solucionar determinados problemas, uma vez que o informa rapidamente que comandos da máquina estão LIGADOS e quais estão DESLIGADOS. |
| Definições | O menu Definições permite-lhe personalizar e modificar as variáveis de configuração do ecrã. |
| Definições da máquina | O menu Definições da máquina permite-lhe ajustar a aceleração, a velocidade e os limites de contrapesos. |
| Acerca | O menu Acerca indica o número do modelo, número de série e versão de software da sua máquina. |
| Manutenção – item de menu | Descrição |
| Hours | Indica o número total de horas em que a máquina, o motor e a tomada de força estiveram a funcionar, bem como o número de horas em que a máquina foi transportada e assistência devida. |
| Counts | Indica as várias contagens que a máquina efetuou. |
Traction Pedal![]() | |
Traction Pump![]() | |
| Fan | Indica se uma ventoinha está ativa nos seguintes casos: Temperatura elevada do motor, temperatura elevada do óleo, temperatura elevada do motor ou hidráulica e ventoinha ligada |
| Fuel Rate | Mostra a taxa de combustível em utilização. |
| DPF Regeneration | Opção de regeneração do filtro de partículas de gasóleo (DPF) e submenus do DPF |
| Diagnósticos – item de menu | Descrição |
| Left Cutting Unit | Consulte o Manual de manutenção ou o Distribuidor autorizado Toro para mais informações acerca do menu Funcionamento do motor e as informações aqui contidas. |
| Center Cutting Unit | |
| Right Cutting Unit | |
| Traction | |
| HI/LO Range | |
| PTO | |
| Engine | |
CAN Statistics![]() |
| Definições – item de menu | Descrição |
| Introduzir PIN | Permite que uma pessoa (supervisor/mecânico) autorizada pela sua empresa tenha acesso a menus protegidos utilizando o PIN. |
| Retroiluminação | Controla o brilho do ecrã LCD. |
| Idioma | Controla o idioma utilizado no InfoCenter*. |
| Tamanho da fonte | Controla o tamanho da fonte do ecrã. |
| Unidades | Controla as unidades utilizadas no InfoCenter (imperiais ou métricas). |
Menus protegidos![]() | Permite que uma pessoa autorizada pela sua empresa tenha acesso a menus protegidos utilizando o PIN. |
Proteger definições![]() | Permite alterar as definições nas definições protegidas. |
Note: As Definições da máquina só serão mostradas quando introduzir o PIN.
Definições da máquina –
item de menu![]() | Descrição |
Mow Speed ![]() | Controla a velocidade máxima enquanto está a cortar (gama baixa). |
Trans. Speed ![]() | Controla a velocidade máxima enquanto está em transporte (gama alta) |
Smart Power ![]() | Liga/desliga a definição de Smart Power (alimentação inteligente). |
Counterbalance ![]() | Controla a quantidade de contrapeso aplicado pelas unidades de corte. |
Turnaround ![]() | Liga/desliga a definição de Turnaround (viragem). |
Acceleration ![]() | As definições Low (baixa), Medium (média) o e High (alta) controlam a rapidez com que a velocidade de tração reage quando move o pedal de tração. |
Protegido
em Menus protegidos – acessível apenas com introdução
do PIN
| Acerca – item de menu | Descrição |
| Model | Indica o número do modelo da máquina. |
| SN | Indica o número de série da máquina. |
| Machine Controller Revision | Indica a revisão de software do controlador principal. |
| S/W Revision | Indica a revisão de software do controlador principal. |
InfoCenter Revision![]() | Indica a revisão de software do InfoCenter. |
Secondary software![]() | Mostra o número de revisão e da peça do controlador da unidade de corte para o modelo Groundsmaster 4700. |
| Stage V | Mostra "Yes” (sim) ou "No” (não) de acordo com o motor. |
Há definições de configuração de funcionamento que são ajustáveis no menu DEFINIçõES do InfoCenter. Para bloquear estas definições utilize o item MENU PROTEGIDO.
Note: No momento da entrega, é programada a palavra-passe inicial pelo distribuidor.
Note: O PIN por defeito vindo de fábrica para a sua máquina é 0000 ou 1234.Se alterar o PIN e se tiver se esquecido do mesmo, contate o seu distribuidor autorizado da Toro.
A partir do MENU PRINCIPAL, percorra até ao menu de DEFINIçõES e prima o botão de seleção (Figura 25).

No menu DEFINIçõES, deslize até INTRODUZIR PIN e prima o botão de seleção (Figura 26A).

Para introduzir o PIN, prima os botões de navegação cima/baixo até surgir o primeiro dígito correto e depois prima o botão direito para avançar para o próximo dígito (Figura 26B e Figura 26C). Repita este passo até inserir o último dígito.
Prima o botão de seleção.
Note: Se o ecrã aceitar o PIN e o menu protegido tiver sido desbloqueado, é apresentada a palavra “PIN” no canto superior direito do ecrã.
Para bloquear o menu protegido, rode o interruptor da ignição para a posição OFF (desligar) e depois para a posição ON (ligar).
Em DEFINIçõES, percorra até ao menu DEFINIçõES DE PROTEçãO.
Para ver e alterar as definições sem
introduzir um código PIN, utilize o botão de seleção
para alterar as DEFINIçõES DE PROTEçãO para
(Off,
desligar).
Para ver e alterar as definições com
um código PIN, utilize o botão de seleção
para alterar as DEFINIçõES DE PROTEçãO para
(On,
ligar), defina o código PIN e rode a chave para a posição OFF (desligar) e, em seguida, para a posição ON (ligar).
O temporizador de manutenção obrigatória repõe as horas de manutenção obrigatórias após ser realizada uma manutenção prevista.
No menu DEFINIçõES, deslize até INTRODUZIR PIN e prima o botão de seleção.
Introduza o PIN; consulte Accessing Protected Menus (acesso aos menus protegidos).
No menu MANUTENçãO, deslize até HOURS e prima o botão de seleção.
Percorra até SERVICE DUE (manutenção obrigatória)
Note: Se o prazo tiver expirado, aparecerá NOW (agora) junto de SERVICE DUE.
Destaque o intervalo de manutenção e prima o botão direito.
Note: O intervalo de manutenção (250 horas, 500 horas, etc.) está localizado junto de SERVICE DUE. O intervalo de manutenção é um item de menu protegido.
Quando o ecrã RESET SERVICE TIMER? (repor o temporizador de manutenção) aparecer, clique no botão de seleção para YES (sim) ou no botão de retroceder para NO (não).
Depois de selecionar YES, o ecrã de intervalo é reposto e volta para as seleções das horas de manutenção.
A definição selecionada é mostrada como um X no gráfico da barra de velocidade de tração juntamente com as definições de controlo de cruzeiro e batente do pedal. Um X numa barra mostra que a velocidade máxima é limitada pelo supervisor (Figura 31).
Note: Esta definição é retida na memória e aplicada à velocidade de tração até que a altere.
Em DEFINIçõES DA MáQUINA, percorra até MOW SPEED.
Utilize os botões de navegação para a esquerda e direita para aumentar a velocidade máxima de corte em incrementos de 5% no ecrã principal e em incrementos de 10% em DEFINIçõES DA MáQUINA. O intervalo para o ecrã principal é de 10 a 100%, e o intervalo em DEFINIçõES DA MáQUINA é de 30 a 100%.
A definição selecionada é mostrada como um X no gráfico da barra de velocidade de tração juntamente com as definições de controlo de cruzeiro e batente do pedal. Um X numa barra mostra que a velocidade máxima é limitada pelo supervisor (Figura 31).
Note: Esta definição é retida na memória e aplicada à velocidade de tração até que a altere.
Em DEFINIçõES DA MáQUINA, percorra até TRANSPORT SPEED.
Utilize os botões de navegação para a esquerda e direita para aumentar a velocidade máxima de corte em incrementos de 5% no ecrã principal e em incrementos de 10% em DEFINIçõES DA MáQUINA. O intervalo para o ecrã principal é de 10 a 100%, e o intervalo em DEFINIçõES DA MáQUINA é de 30 a 100%.
Em DEFINIçõES, percorra até SMART POWER.
Prima o botão de navegação direito para alternar entre ON e OFF (ligar e desligar).
Em DEFINIçõES DA MáQUINA, percorra até COUNTERBALANCE.
Prima o botão de navegação direito para selecionar o contrapeso e alterar entre as definições LOW, MEDIUM e HIGH (baixo, médio e alto).
Em DEFINIçõES DA MáQUINA, percorra até ACCELERATION.
Prima o botão de navegação direito para alternar entre LOW, MEDIUM e HIGH (baixo, médio e alto).
Em DEFINIçõES, deslize até TURNAROUND.
Prima o botão direito para alternar entre ON e OFF (ligar e desligar).
Note: Para um funcionamento mais conveniente, poderá preferir efetuar uma regeneração em estacionamento antes que a fuligem atinja os 100%, desde que o motor tenha trabalhado mais de 50 horas desde a última regeneração de recuperação, em estacionamento ou de reposição bem-sucedida.
Utilize o Technician Menu (menu técnico) para ver o estado atual do controlo de regeneração do motor e ver o nível de fuligem indicado.
No menu DEFINIçõES, deslize até DPF REGENERATION e prima o botão de seleção.
No menu DPF REGENERATION, deslize até TECHNICIAN e prima o botão de seleção.


Vermelho intermitente – falha ativa
Vermelho — aviso ativo
Azul — mensagem de diálogo/calibragem
Verde — funcionamento normal
A máquina apresenta velocidades de tração estimadas em percentagem.
A velocidade é apresentada entre 10 e 100% para os ecrãs de paragem de pedal virtual e cruzeiro, e apresentada entre 30 e 100% no menu DEFINIçõES DA MáQUINA.
Quando liga a máquina em condições atmosféricas frias, o modo de aquecimento limita a velocidade do motor a ralenti baixo durante um curto período após o arranque do motor, evitando potenciais danos aos componentes devido ao óleo frio da máquina.
Um ícone de floco de neve
presente no InfoCenter
indica quando o modo de aquecimento está ativo. Não
opere a máquina até que esta termine o período
de aquecimento.
O proprietário/operador pode prevenir e é responsável por acidentes que possam causar ferimentos pessoais ou danos materiais.
Utilize vestuário adequado, incluindo proteção visual, calças compridas, calçado resistente antiderrapante e proteções para os ouvidos. Prenda cabelo comprido e não utilize vestuário solto ou joias pendentes.
Nunca utilize a máquina se se sentir cansado, doente ou sob o efeito de álcool ou drogas.
Tenha toda a atenção durante a operação da máquina. Não faça qualquer atividade que cause distrações; caso contrário, podem ocorrer ferimentos ou danos materiais.
Antes de ligar o motor, certifique-se de que as transmissões estão em Ponto morto, o travão de estacionamento está engatado e coloque-se na posição de operação.
Não transporte passageiros na máquina e mantenha as crianças e outras pessoas afastadas da área de operação.
Utilize a máquina apenas quando tiver boa visibilidade para evitar buracos ou outros perigos não visíveis.
Evite cortar relva molhada. Uma redução da tração poderá fazer com que a máquina derrape.
Mantenha as mãos e os pés longe de peças em rotação. Mantenha-se afastado da abertura de descarga.
Antes de recuar, olhe para trás e para baixo para ter a certeza de que o caminho está desimpedido.
Tome todas as precauções necessárias quando se aproximar de esquinas sem visibilidade, arbustos, árvores ou outros objetos que possam obstruir o seu campo de visão.
Pare as lâminas sempre que não estiver a cortar.
Pare a máquina, retire a chave e aguarde que todas as peças móveis parem antes de inspecionar o acessório depois de atingir um objeto ou se existir uma vibração anormal na máquina. Efetue todas as reparações necessárias antes de retomar o funcionamento.
Abrande e tome as precauções necessárias quando virar e atravessar estradas e passeios com a máquina. Dê sempre prioridade.
Desengate a transmissão para a unidade de corte, desligue o motor, retire a chave e aguarde que todas as peças móveis parem antes de ajustar a altura de corte (exceto se a puder ajustar a partir da posição de operação).
Opere o motor apenas em áreas bem ventiladas. Os gases de exaustão contêm monóxido de carbono, que é letal se inalado.
Nunca deixe a máquina em funcionamento sem vigilância.
Antes de sair da posição de operador, faça o seguinte:
Estacione a máquina numa superfície plana.
Desative a tomada de força e desça os acessórios.
Engate o travão de estacionamento.
Desligue o motor e retire a chave.
Aguarde que todo o movimento pare.
A utilização da máquina deve ser efetuada apenas com boa visibilidade. Não opere a máquina quando existir risco de relâmpagos.
Não use a máquina como um veículo de reboque.
Utilize apenas acessórios, engates e peças de substituição aprovados pela Toro.
Utilize o cruise control (se equipado) apenas quando puder operar a máquina numa área aberta e plana, livre de obstáculos e onde a máquina se possa mover a uma velocidade constante, sem interrupções.
O ROPS é um dispositivo integral e de segurança efetiva.
Não retire nenhum dos componentes ROPS da máquina.
Certifique-se de que o cinto está preso à máquina.
Puxe o cinto sobre o regaço e encaixe o cinto na fivela no outro lado do banco.
Para retirar o cinto de segurança, segure no cinto, pressione o botão da fivela para libertar o cinto e guie o cinto para a abertura de auto-retração. Certifique-se de que consegue soltar rapidamente o cinto numa situação de emergência.
Verifique cuidadosamente se existem obstruções suspensas e não entre em contacto com elas.
Mantenha o ROPS em boas condições de funcionamento inspecionando-o regularmente para verificar se há danos e mantenha apertadas todos os fixadores.
Substitua os componentes danificados do ROPS. Não os repare ou modifique.
Uma cabina instalada pela Toro é uma barra de segurança.
Use sempre o cinto de segurança.
Mantenha a barra de segurança elevada e bloqueada e use o cinto de segurança quando operar a máquina com a barra de segurança na posição elevada.
Baixe a barra de segurança temporariamente só quando necessário. Não use o cinto de segurança com a barra de segurança na posição para baixo.
Tenha em atenção que não há nenhuma proteção contra capotamento quando a barra de segurança dobrável estiver em baixo.
Verifique a área que vai cortar e nunca dobre uma barra de segurança dobrável onde houver declives, depressões ou água.
Os declives são um dos principais fatores que contribuem para a perda de controlo e acidentes de capotamento que podem resultar em ferimentos graves ou morte. Você é responsável pelo funcionamento seguro em declives. Operação da máquina em qualquer declive requer cuidado adicional.
Avalie as condições do local para determinar se o declive é seguro para o funcionamento da máquina, incluindo vigilância do local. Utilize sempre o bom senso e capacidade crítica ao efetuar esta avaliação.
Consulte as instruções de operação da máquina em declives indicadas em seguida e determine se pode operar a máquina nas condições desse dia e desse local. As alterações no terreno podem dar origem a uma alteração da operação da máquina em declives.
Evite arrancar, parar ou virar em declives. Evite alterações súbitas na velocidade ou direção. Faça as curvas lenta e gradualmente.
Não utilize a máquina em condições nas quais a tração, a viragem ou a estabilidade possam ser postas em causa.
Remova ou assinale obstruções como valas, buracos, sulcos, lombas, pedras ou outros perigos escondidos. A relva alta pode esconder obstruções. O terreno desnivelado pode fazer capotar a máquina.
Esteja atento ao funcionamento da máquina em relva molhada, ao atravessar declives ou a descer – a máquina poderá perder tração. A perda de tração das rodas dianteiras pode resultar em derrapagem e perda de capacidade de travagem e de controlo da direção.
Tenha uma especial atenção quando utilizar a máquina perto de declive acentuados, valas, margens, perigos junto à água ou outros. A máquina poderá capotar repentinamente se uma roda resvalar ou se o piso ceder. Estabeleça uma área de segurança entre a máquina e qualquer perigo.
Identifique os perigos na base do declive. Se houver perigos, corte o declive com uma máquina controlada por operador apeado.
Se possível, mantenha a(s) unidade(s) de corte descida(s) para o solo enquanto estiver a trabalhar em inclinações. Elevar a)s) unidade(s) de corte enquanto a máquina estiver a operar em inclinações pode causar instabilidade da máquina.
Tenha cuidados redobrados com os sistemas de recolha de relva ou outros engates. Estes poderão afetar a estabilidade da máquina e provocar a perda de controlo.
Esta máquina possui um acelerador do estilo automóvel que é controlado pelo pedal de tração.
Esta máquina não tem um interruptor de acelerador separado nem alavanca de acelerador.
Quando remove o pé do pedal de tração, a máquina trava de forma dinâmica até parar.
Os controlos do pedal são otimizados para fornecer uma resposta reativa, mas estável, permitindo manter um controlo consistente em terreno irregular, assim como uma travagem rápida e suave.
Durante o transporte, o pedal de tração funciona de forma semelhante à de um automóvel e altera a velocidade do motor e da tração dependendo da posição do pedal de tração.
Durante o corte, a velocidade do motor aumenta automaticamente para ralenti elevado.
Se o motor se encontrar a ralenti reduzido, realizar uma função como elevar as unidades de corte ou pressionar o pedal de tração aumenta a velocidade do motor para uma velocidade de trabalho mínima, fornecendo uma potência suficiente para realizar de forma eficiente a função.
Limite o tempo de paragem da máquina como recomendado para a regeneração do filtro de partículas diesel (DPF). Desligue a máquina para evitar um tempo de paragem alargado.
As velocidades máximas definidas nas definições do menu protegido com PIN são introduzidas pelo supervisor para limitar a velocidade máxima de tração da máquina.
A utilização alcançável das velocidades do pedal de tração, controlo de cruzeiro e batente do pedal são limitadas pelas velocidades máximas definidas no menu protegido por PIN.
Quando liga o motor e a temperatura do fluido hidráulico está baixa, a velocidade do motor aumenta automaticamente para otimizar o funcionamento e aquece a máquina. O motor regressa automaticamente ao ralenti baixo depois de a temperatura do fluido hidráulico se encontrar num intervalo de operação normal.
Em condições de funcionamento normal, esta máquina destina-se a operar na posição H/L AUTO no interruptor de gama de velocidades (Figura 29). Esta posição permite que a máquina mude automaticamente entre as gamas baixa e alta, dependendo se a máquina está a ser utilizada para cortar ou transportar.
Quando seleciona a posição BAIXO no interruptor de gama de velocidades (Figura 29), a máquina opera sempre na gama de velocidade baixa. Esta definição é preferível para funcionamento numa área de oficina, carregando ou descarregando de um atrelado, subir inclinações acentuadas ou em qualquer outro funcionamento em que não se desejam as velocidades de tração altas da gama de velocidade alta.
Se houver algum obstáculo, eleve as unidades de corte para cortar à volta dele.
Ao transportar a máquina entre áreas de trabalho, engate a gama AUTO HI/LOW, desligue a tomada de força e eleve as unidades de corte para a posição totalmente elevada. Isto permite que o pedal de tração opere como um automóvel.
Conduza sempre devagar em terrenos acidentados.
Para se familiarizar com as funções da máquina, pratique o funcionamento da máquina.
Levante as unidades de corte, desengate o travão de estacionamento, pise o pedal de tração e conduza em direção a um espaço aberto.
Treine a condução da máquina, pois tem transmissão hidrostática e as suas funções podem diferir da maioria das outras máquinas de manutenção de relvados.
Pratique a marcha para a frente e para trás, e como ligar e desligar a máquina. Para parar a máquina, retire o pé do pedal de tração e deixe–o regressar à posição PONTO MORTO.
Note: Quando descer uma encosta na máquina, pode ser necessário utilizar o pedal de inversão de marcha para parar.
Retire o pé do pedal de tração e pressione os pedais do travão para parar rapidamente.
Pratique a condução em redor de obstáculos com as unidades de corte em cima e em baixo. Tenha cuidado ao conduzir por entre objetos estreitos para que não danifique nem a máquina nem as unidades de corte.
Esta máquina está equipada com duas gamas de velocidade de tração; baixa e alta. O interruptor de gama de velocidades permite-lhe selecionar as seguintes posições (Figura 29):
Gama Auto Alta/Baixa:
Selecionar a posição H/L AUTO permite que a máquina selecione automaticamente entre as gamas de velocidade alta ou baixa. A posição H/L AUTO é comparável a selecionar D (drive) no seu carro com uma transmissão automática.
Note: Para evitar danos potenciais à relva, a máquina só muda entre a gama alta e baixa quando o pedal de tração está na posição PONTO MORTO e as rodas tiverem parado de mover.
Note: As unidades de corte não podem ser descidas da posição de transporte enquanto conduz a máquina na gama de alta velocidade.
Quando é selecionada a posição H/L AUTO e as unidades de corte são descidas para cortar, a gama de velocidade é limitada à gama de velocidade baixa.
Para obter a gama de velocidade alta, selecione a posição H/L AUTO no interruptor da gama de velocidades, desengate a tomada de força e eleve totalmente as unidades de corte.
Quando é selecionada a posição H/L AUTO, a máquina muda automaticamente entre as gamas de tração alta e baixa com base na posição das unidades de corte e/ou posição do interruptor da tomada de força.
Gama baixa:
Selecionar a posição BAIXO no interruptor mantém sempre a máquina na gama de velocidade inferior. A posição BAIXO é comparável a selecionar 2, 1 OU L no seu carro com uma transmissão automática.
Quando é selecionada a posição BAIXO, a máquina só opera na gama baixa.
Utilize a posição BAIXO ao carregar a máquina num atrelado ou navegar em áreas apertadas como uma oficina.

Este pedal controla a velocidade para a frente e para trás da máquina e o travão dinâmico quando o repõe em ponto morto.
O pedal de tração é um acelerador do estilo automóvel – a velocidade do motor e a velocidade da máquina respondem ao movimento do pedal.
Durante o transporte, o pedal de tração funciona de forma semelhante à de um automóvel e altera a velocidade do motor e da tração dependendo da posição do pedal de tração.
Durante o corte, o motor aumenta automaticamente para ralenti elevado para otimizar o desempenho e o pedal de tração apenas controla a velocidade de tração.
Quanto mais pressionar o pedal para a frente ou para trás, mais rápido a máquina se move.
Para controlar a máquina para uma paragem suave durante o transporte ou corte, utilize o pé para levar o pedal de tração para ponto morto à taxa desejada.
Para engatar a travagem máxima, retire o pé do pedal de tração, permitindo que regresse a ponto morto. A máquina irá travar de forma dinâmica até parar.
Este sistema de tração permite personalizar as definições de aceleração para conforto do operador e segundo as condições do campo. Consulte Compreender o modo de aceleração para alterar as definições.

A funcionalidade de paragem de pedal virtual (VPS) permite-lhe definir limites da velocidade da tração máximos e temporários para as gamas de corte e transporte.
Para aceder a esta funcionalidade, selecione os botões de navegação cima ou baixo do InfoCenter a partir do menu principal (Figura 31).
Utilize a VPS para ajustar a velocidade de tração máxima para corresponder ao seu nível de conforto ou à utilização em questão.
Não pode ajustar o limite de velocidade da VPS para uma velocidade mais rápida que a definida pelo supervisor.
A VPS é uma configuração temporária. Esta funcionalidade é reposta para as configurações definidas pelo supervisor quando a chave é colocada na posição OFF (desligada).
Quando a velocidade da tração é alterada pelo supervisor nas definições do menu protegido ou por si através da VPS, o pedal de tração é reprogramado automaticamente para controlar totalmente o pedal entre ponto-morto e a nova definição de velocidade máxima.
Baixar as definições da velocidade da tração máxima permite-lhe controlar o sistema de tração com precisão.

Enquanto utiliza a VPS, baixe temporariamente a velocidade máxima para as seguintes tarefas:
Cortar o cleanup pass do fairway.
Utilizar a máquina junto da oficina de manutenção.
Carregar a máquina num atrelado.
Note: Uma velocidade máxima menor permite-lhe ter mais controlo enquanto efetua estas tarefas.
Important: Em situações de travagem de emergência, retire o pé do pedal de tração e, em seguida, pressione os pedais do travão.
Na gama de velocidade baixa apenas, pode utilizar os travões individualmente para virar ou melhorar a tração. Realize o seguinte ao utilizar os travões individualmente:
Desligue a barra de bloqueio dos pedais (Figura 32).
Para ajuda à viragem, pressione o pedal de travão correspondente do lado para o qual vai virar. Isto permite um menor raio de viragem.
Note: Utilize os travões individuais com cuidado, especialmente em relva macia ou molhada, já que poderá danificar a relva acidentalmente.
Para ajuda à viragem, aplique uma leve pressão no pedal de travão correspondente ao pneu frontal que está a derrapar. Por exemplo, em algumas inclinações, a roda dianteira pode derrapar e fazer com que a máquina perca tração. Se tal acontecer, deverá pressionar o pedal de travão gradual e intervaladamente até que a roda dianteira pare de derrapar; esta ação aumenta a tração da roda traseira.

O interruptor de controlo de cruzeiro bloqueia no controlo de cruzeiro para manter a velocidade desejada. Pressionando na parte traseira do interruptor desliga o controlo de cruzeiro, a posição do meio do interruptor permite a função de controlo de cruzeiro e a parte frontal do interruptor define a velocidade desejada.
Depois de o interruptor de controlo de cruzeiro ser ativado e a velocidade ser definida na consola (Figura 33), utilize o InfoCenter para ajustar a definição de velocidade do controlo de cruzeiro (Figura 6 e Figura 34).
Para desengatar o controlo de cruzeiro utilize o seguinte:
Quando na gama de velocidade alta, pressione o pedal de tração de marcha-atrás, pressione os travões de serviço ou pressione o interruptor de controlo de cruzeiro para a posição DESLIGAR.
Na gama de velocidade baixa, pressione o pedal de tração de marcha-atrás, pressione os travões de serviço, desligue o interruptor da tomada de força ou pressione o interruptor de controlo de cruzeiro para a posição DESLIGAR.

Definir um controlo de cruzeiro para longas distâncias sem muitos obstáculos.
Em terrenos difíceis, utilize o InfoCenter para controlar a velocidade.
Utilize o controlo de cruzeiro para viragens da seguinte forma:
Defina o controlo de cruzeiro.para reduzir a velocidade para que fique confortável e seguro ao virar.
Pressione o pedal de tração para aumentar a velocidade para cortar durante a passagem de corte.
Retire o pé do pedal quando virar para a seguinte passagem de corte.
A máquina abranda para a definição de controlo de cruzeiro baixa, permitindo-lhe realizar uma viragem eficiente a uma velocidade constante.
Depois da viragem, utilize o pedal de tração para aumentar a velocidade da máquina novamente para a passagem de corte seguinte.
Esta definição determina a rapidez com que a máquina altera a velocidade de tração e realiza a desaceleração da máquina na gama baixa. Entre nos menus protegidos no InfoCenter para alterar o modo de aceleração. O modo de aceleração tem as 3 posições seguintes:
Baixo – baixa aceleração e desaceleração
Médio – média aceleração e desaceleração
Alto – a mais alta aceleração e desaceleração
O modo de viragem permite-lhe, de forma cómoda, controlar com um toque o elevar das unidades de corte acima da relva enquanto para temporariamente as lâminas, permitindo-lhe focar-se na condução da máquina no final de uma passagem de corte ou enquanto navega por outros obstáculos.
Note: O modo de viragem é uma funcionalidade nas definições protegidas.
Quando o modo de viragem está definido para LIGAR, pressiona por breves momentos o interruptor de elevar para trás (Figura 11), o que faz com que se elevem automaticamente todas as unidades de corte da posição de flutuação para uma altura predefinida desengatando automaticamente a tomada de força. Para retomar o corte; Pressione o interruptor de elevar para a frente. Todas as unidades de corte descem e a tomada de força inicia novamente.
Quando o modo de viragem está definido para DESLIGAR, pode elevar manualmente as unidades de corte da posição de flutuação pressionando e mantendo pressionado todos os interruptores de elevação para trás até que as unidades de corte elevem para a altura desejada. Para máquinas Groundsmaster 4700, pressione os três interruptores para elevar as sete unidades de corte (Figura 11). A tomada de força não desengata até que as unidades de corte elevem para a mesma altura predefinida para a qual as unidades de corte elevam quando o modo viragem é definido para LIGAR.
Note: Por defeito, o modo de viragem está LIGADO.
O sistema de contrapeso mantém a contrapressão hidráulica nos cilindros de elevação da unidade de corte. O sistema de contrapeso verifica a pressão de tração em tempo real, alterando de forma dinâmica a pressão do cilindro de elevação para otimizar a capacidade de tração e o aspeto após o corte. A pressão do contrapeso foi configurada em fábrica para obter um equilíbrio ideal do aspeto após o corte e capacidade de tração na maioria das condições do relvado. Diminuir o contrapeso pode produzir uma unidade de corte mais estável, mas pode diminuir a capacidade de tração. Aumentar o contrapeso pode aumentar a capacidade de tração, mas pode resultar em mau aspeto após o corte; consulte Definição do contrapeso.
Os controlos da definição de contrapeso personalizáveis são os seguintes:
Baixo – a maior quantidade de peso nas unidades de corte e o menor peso nas rodas
Médio – peso médio nas unidades de corte e nas rodas
Alto – a menor quantidade de peso nas unidades de corte e o maior peso nas rodas
Com o Smart Power, o utilizador não precisa de estar atento à velocidade do motor em condições de carga difíceis. Smart Power impede o atolamento do motor em condições de corte difíceis ao controlar automaticamente a velocidade da máquina e ao otimizar o desempenho de corte.
Note: Por predefinição, a definição Smart Power está LIGADA.
Important: Purgue o sistema de combustível, caso tenha ocorrido uma das seguintes situações:
Paragem do motor por falta de combustível.
Manutenção dos componentes do sistema de combustível.
Retire o pé do pedal de tração e certifique-se de que este se encontra na posição NEUTRAL (ponto morto). Certifique-se de que o travão de estacionamento se encontra engatado.
Rode a chave da ignição para a posição FUNCIONAMENTO. A luz indicadora deve acender.
Quando a luz indicadora das velas apagar, rode a chave para a posição ARRANQUE.
Important: O motor de arranque não deverá funcionar mais de 15 segundos em cada tentativa, de modo a não prejudicar o seu desempenho. Se o motor não arrancar no espaço de 15 segundos, rode a chave para a posição DESLIGAR, verifique os comandos e os procedimentos efetuados, aguarde mais 15 segundos e repita o procedimento de arranque.
Liberte imediatamente a chave quando o motor arrancar, deixando-a regressar à posição FUNCIONAMENTO.
Quando a temperatura ambiente for inferior a -7°C, o motor de arranque poderá funcionar 2 vezes durante 30 segundos, com um intervalo de 60 segundos entre as duas tentativas.
Important: Desligue o motor e deixe-o arrefecer antes de verificar se existem fugas de óleo, peças soltas ou quaisquer outros problemas.
Important: Deixe o motor a funcionar ao ralenti durante 5 minutos antes de o desligar, depois de uma opera com a carga total. Isto permite que o turbocompressor arrefeça antes de se desligar o motor. O não cumprimento deste procedimento pode provocar avarias prematuras ao nível do turbocompressor.
Note: Baixe as unidades de corte até ao solo sempre que a máquina está estacionada. Isto alivia a carga hidráulica do sistema, evita o desgaste nas peças do sistema e evita também um abaixamento acidental das unidades de corte.
Desloque o interruptor da tomada de força para a posição DESLIGAR.
Engate o travão de estacionamento.
Rode a chave para a posição DESLIGAR.
Tire a chave para evitar arranques acidentais.
Note: Cortar a relva a uma taxa que aplique carga sobre o motor promove a regeneração do DPF.
Desengate o travão, desengate a tomada de força e eleve as unidades de corte.
Selecione a posição H/L AUTO ou BAIXO com o interruptor de gama de velocidades. Consulte Utilizar o interruptor de gama de velocidade alta e baixa.
Note: Quando a posição H/L AUTO está selecionada e as unidades de corte estão elevadas, a máquina seleciona automaticamente a gama de velocidade alta.
Utilizando o pedal de tração como um pedal de acelerador num automóvel, conduza a máquina para o local de trabalho.
Alinhe a máquina no exterior da área de corte para a primeira passagem de corte.
Desça as unidades de corte com o interruptor ou interruptores oscilador.
Bata no interruptor de elevação (GM4500) ou interruptor de elevação intermédio (GM4700) para trás para elevar as unidades de corte para a posição de viragem.
Note: A posição de viragem só está disponível se estiver ativada nos menus protegidos no InfoCenter. Bater no interruptor oscilador sem o segurar eleva as unidades de corte para a posição de viragem e para a rotação das lâminas até que as unidades de corte sejam descidas.
Puxe o interruptor da tomada de força para engatar as unidades de corte.
Note: A velocidade do motor aumenta automaticamente para ralenti elevado quando desce as unidades de corte e ativa o interruptor da tomada de força.
Utilizando o pedal de tração, aproxime-se lentamente da área de corte e desça as unidades de corte com o interruptor oscilador assim que as unidades de corte frontais estiverem na área de corte.
Note: Pratique para assegurar que as unidades de corte não descem prematuramente e cortam uma área não pretendida.
Comece a cortar a área.
Quando concluir a passagem de corte, bata no interruptor de elevação (GM4500) ou interruptor de elevação intermédio (GM4700) para trás para elevar as unidades de corte para a posição de viragem.
Efetue uma volta em forma de gota para alinhar rapidamente para a próxima passagem.
Pressione o interruptor de elevação (GM4500) ou interruptor de elevação intermédio (GM4700) para baixo para descer automaticamente as unidades de corte da posição de viragem e continuar a cortar.
O filtro de partículas diesel (FPD) remove a fuligem do escape do motor.
O processo de regeneração do FPD utiliza o calor da exaustão do motor que é aumentado pelo catalisador para reduzir a fuligem acumulada em cinzas.
Para manter o FPD limpo, lembre-se do seguinte:
Faça funcionar o motor a velocidade total quando possível para promover a autolimpeza do FPD.
Utilize o óleo de motor correto.
Minimize a quantidade de tempo que mantém o motor ao ralenti.
Utilize gasóleo com ultra baixo teor de enxofre.
Opere e faça a manutenção da sua máquina tendo em mente a função do FPD. O motor sob carga geralmente produz temperatura de exaustão adequadas para a regeneração do FPD.
Important: Minimize a quantidade de tempo que o motor está ao ralenti ou opere o motor a velocidade reduzida para ajudar a reduzir a acumulação de fuligem no FPD.
A temperatura de escape é quente (aproximadamente 600°C durante a regeneração do FPD. Os gases quentes do escape podem feri-lo a si ou a outras pessoas.
Não opere o motor numa área fechada.
Certifique-se de que não existem materiais inflamáveis em redor do sistema de escape.
Certifique-se de que o gás quente de escape não entra em contacto com superfícies que possam ser danificadas pelo calor.
Não toque num componente do sistema de escape que esteja quente.
Não se aproxime do tubo de escape da máquina.
| Ícone | Definição do ícone |
![]() | • Ícone de regeneração estacionada ou de recuperação – é solicitada a regeneração. |
| • Proceda de imediato à regeneração. | |
![]() | • Uma regeneração é reconhecida e solicitada no processo. |
![]() | • Uma regeneração está a decorrer e a temperatura de escape é elevada. |
![]() | • Avaria do sistema de controlo NOx; a máquina necessita de assistência. |
| Tipo de regeneração | Condições que causam a regeneração do DPF | Descrição da operação DPF |
|---|---|---|
| Passiva | Ocorre durante o funcionamento normal da máquina a uma velocidade do motor elevada ou com carga de motor elevada | • O InfoCenter não mostra um ícone relativo à regeneração passiva. |
| • Durante a regeneração passiva, o filtro de partículas de gasóleo processa gases de escape muito quentes, ao oxidar as emissões nocivas e reduzir a fuligem a cinzas. | ||
| Assistida | Ocorre devido a velocidade do motor baixa, a carga do motor baixa ou após o computador detetar que o FPD está a ficar obstruído com fuligem | • O InfoCenter não mostra um ícone que indica regeneração assistida. |
| • Durante a regeneração assistida, o computador do motor ajusta as definições do motor para aumentar a temperatura de escape. | ||
| Rearmada | Ocorre a cada 100 horas | • Quando o ícone da temperatura de
escape elevada surge no InfoCenter, está em curso uma regeneração. |
| Também ocorre se o funcionamento normal do motor ultrapassa a quantidade normal de acumulação de fuligem dentro do filtro | ||
| • Durante a regeneração rearmada, o computador do motor mantém uma velocidade do motor elevada para assegurar a regeneração do filtro. |
| Tipo de regeneração | Condições que causam a regeneração do DPF | Descrição da operação FPD |
|---|---|---|
| Em estacionamento | Ocorre porque o computador determina que a limpeza automática do FPD não foi suficiente. | • Quando surge o ícone
de regeneração rearmada-paragem/estacionada ou de recuperação é solicitada uma
regeneração. |
| Também ocorre quando inicia uma regeneração estacionada. | ||
| Pode ocorrer porque inibir regeneração foi iniciado e foi desativada a limpeza automática. | • Efetue a regeneração em estacionamento assim que possível para evitar uma regeneração de recuperação. | |
| Pode resultar da utilização de óleo do motor ou combustível incorretos | • A regeneração em estacionamento demora entre 30 a 60 minutos. | |
| • Tem de ter, pelo menos, ¼ do depósito do combustível cheio. | ||
| • Tem de estacionar a máquina para efetuar uma regeneração em estacionamento. | ||
| Recuperação | Ocorre porque o pedido de uma regeneração estacionada foi ignorado, permitindo a que o FPD fique entupido de forma crítica | • Quando surge o ícone de regeneração
rearmada-paragem/estacionada ou de recuperação é solicitada uma
regeneração de recuperação. |
| • A regeneração de recuperação demora cerca de 3 horas. | ||
| • Tem de ter, pelo menos, ½ do depósito do combustível cheio. | ||
| • Tem de estacionar a máquina para efetuar uma regeneração de recuperação. |
A partir do MENU PRINCIPAL, deslize até MANUTENçãO e prima o botão de seleção.
No menu MANUTENçãO, deslize até DPF REGENERATION e prima o botão de seleção.
Selecione a função de regeneração que precisa.

Aceda ao menu DPF REGENERATION e deslize até LAST REGEN (última regeneração).
Selecione a entrada LAST REGEN.
Utilize o campo LAST REGEN para determinar quantas horas o motor trabalhou desde a última regeneração de recuperação, em estacionamento ou rearmada.
Selecione o botão de retroceder para voltar para o ecrã DPF REGENERATION.

Uma regeneração rearmada produz um escape elevado do motor. Se estiver a operar a máquina perto de árvores, arbustos, relva alta ou outras plantas ou materiais sensíveis à temperatura, pode utilizar a definição de INHIBIT REGEN (inibir regeneração) para evitar que o computador do motor realize uma regeneração rearmada.
Note: A opção de INHIBIT REGEN é sempre utilizada quando está a ser realizada manutenção na máquina numa área fechada.
Note: Se definir o InfoCenter para inibir a regeneração, o InfoCenter mostra um aviso a cada 15 minutos enquanto o motor solicitar uma regeneração rearmada.
Important: Quando desligar o motor e o voltar a ligar, a configuração Inibir regeneração está definida para DESLIGAR.
Aceda ao menu DPF REGENERATION e deslize até INHIBIT REGEN (inibir regeneração).
Selecione a entrada de INHIBIT REGEN.
Altere a definição de inibir regeneração de OFF to ON.
Certifique-se de que a máquina tem combustível no depósito suficiente para o tipo de regeneração que vai efetuar:
Regeneração em estacionamento: certifique-se de que tem ¼ do depósito de combustível cheio antes de efetuar a regeneração.
Regeneração de recuperação: certifique-se de que tem ½ depósito de combustível cheio antes de efetuar a regeneração.
Mova a máquina para o exterior para uma área afastada de materiais ou itens combustíveis que possam ficar danificados pelo calor.
Pare a máquina numa superfície nivelada, desloque todos os comandos para a posição NEUTRAL, desengate a tomada de força e baixe as unidades de corte.
Engate o travão de estacionamento e permita que o motor alcance a velocidade de ralenti baixo.
Quando é solicitada uma regeneração estacionada pelo computador do motor, siga as mensagens do InfoCenter.
Important: O computador da máquina cancela a regeneração do FPD, se aumentar a velocidade do motor de ralenti baixo ou soltar o travão de estacionamento.
Aceda ao menu DPF REGENERATION e deslize até PARKED REGEN (regeneração em estacionamento) ou RECOVERY REGEN (regeneração de recuperação).
Selecione a entrada de PARKED REGEN ou de RECOVERY REGEN.
Note: Iniciar uma regeneração de recuperação exige que introduza o PIN correto.
No ecrã REGEN PARAMETERS, verifique se tem 1/4 do depósito de combustível, se for efetuar a regeneração em estacionamento, ou 1/2 depósito de combustível, se for efetuar a regeneração de recuperação. Verifique se o travão de estacionamento está engatado e a velocidade do motor está em ralenti baixo. Prima o botão de seleção para continuar.
No ecrã de INITIATE DPF REGEN (iniciar regeneração do FPD), selecione o botão seguinte para continuar.
O InfoCenter apresenta a mensagem INITIATING DPF REGEN (iniciar regeneração do FPD).
Note: Se necessário, prima o ícone de cancelar para cancelar o processo de regeneração.
O InfoCenter apresenta a mensagem do tempo até à conclusão.
O InfoCenter mostra o ecrã inicial e surge
o ícone de reconhecimento de regeneração
.
Note: Enquanto a regeneração do filtro de partículas
diesel decorre, o InfoCenter apresenta o ícone de elevada temperatura
de escape
.
Quando o computador do motor conclui uma regeneração estacionada ou de recuperação, o InfoCenter mostra um aviso. Pressione qualquer botão para sair para o ecrã inicial.
Note: Se a regeneração não concluir, siga o aviso e pressione qualquer botão para sair para o ecrã inicial.
Utilize a definição PARKED REGEN CANCEL (cancelar regeneração em estacionamento) ou RECOVERY REGEN CANCEL (cancelar regeneração de recuperação) para cancelar um processo de regeneração em estacionamento ou de recuperação em execução.
Aceda ao menu DPF REGENERATION e deslize até PARKED REGEN (regeneração em estacionamento) ou RECOVERY REGEN (regeneração de recuperação).
Prima o botão de seleção para cancelar uma Parked Regen (regeneração em estacionamento) ou uma Recovery Regen (regeneração de recuperação).

A ventoinha de arrefecimento do motor é normalmente controlada pela máquina. A máquina tem a capacidade para inverter a ventoinha para soprar detritos do filtro traseiro. Em condições de funcionamento normais, a máquina controla a velocidade da ventoinha e a direção com base na temperatura do líquido de arrefecimento e do fluido hidráulico e a ventoinha inverte automaticamente a direção para soprar os detritos do filtro traseiro.
Pode inverter manualmente a ventoinha ao premir os 2 botões exteriores ou os 2 botões esquerda e direita interiores do InfoCenter (Figura 38) durante 2 segundos – a ventoinha completa um ciclo invertido com início manual. Inverta a ventoinha quando o painel traseiro está entupido ou antes de transportar a máquina para a oficina ou área de armazenamento.

Mude os padrões de corte frequentemente para minimizar o aspeto após o corte induzido pelo corte repetitivo na mesma direção.
Consulte o Guia de resolução de problemas de aspeto após o corte disponível em www.Toro.com.
Para começar a cortar, acione as unidades de corte, e aproxime-se lentamente da área a cortar. Assim que as unidades de corte da frente estiverem na área de corte, baixe as unidades de corte.
Para obter um corte profissional, direito e riscado, desejado em alguns casos e para determinados fins, concentre-se numa árvore ou em outro objeto distante e dirija-se para lá em linha reta.
Assim que as unidades de corte dianteiras alcancem a extremidade da área a cortar, levante as unidades de corte e efetue uma volta em forma de gota para alinhar o veículo para a próxima passagem.
Estão disponíveis abafadores de cobertura (mulch) aparafusados para as unidades de corte. Os abafadores de cobertura (mulch) têm um bom desempenho quando a relva é tratada segundo um calendário regular, a fim de evitar retirar mais do que 2,5 cm da relva crescida. Quando cortar demasiado a altura da relva com os abafadores de cobertura (mulch) instalados, a aparência do relvado após o corte pode deteriorar-se e observar-se um aumento da potência do corte. Os abafadores também têm um bom desempenho na trituração de folhas durante o outono.
Não retire mais de cerca de 25 mm ou ⅓ das folhas da relva ao cortar. Em casos de relva excecionalmente viçosa e densa, poderá ter de aumentar a altura de corte.
Uma lâmina afiada, ao contrário de uma lâmina em mau estado, corta de forma mais eficaz, sem danificar ou rasgar a relva. Quando se rasga ou danifica a relva, esta fica castanha nas extremidades, cresce irregularmente e torna-se mais suscetível a doenças. Certifique-se de que a lâmina está em boas condições e de que a aba está inteira; consulte a Manutenção da plaina da lâmina.
Certifique-se de que as câmaras de corte estão em boas condições. Endireite quaisquer componentes da câmara que estejam dobrados, para corrigir a folga entre a ponta da lâmina e a câmara. Assegure que todos os rolos e articulações não têm folgas para evitar danos no relvado e uma má aparência após o corte.
Depois de cortar, lave totalmente a máquina com uma mangueira sem agulheta para evitar contaminar e danificar os vedantes e os rolamentos devido ao excesso de pressão da água. Certifique-se de que o radiador e refrigerador do óleo não se sujam nem acumulam restos de relva. Após a limpeza, inspecione a máquina para verificar a existência de eventuais fugas de fluido hidráulico, danos ou desgaste nos componentes hidráulicos e mecânicos e verifique o estado da lâmina da unidade de corte.
Desligue o motor, retire a chave e aguarde até que todo o movimento pare antes de sair da posição de operação. Deixe a máquina arrefecer antes de a ajustar, lhe fazer a manutenção, limpar ou armazenar.
Para prevenir incêndios, certifique-se de que as unidades de corte, transmissões, redes de arrefecimento, e compartimentos do motor estão livres de relva e acumulação de detritos. Limpe as zonas que tenham óleo ou combustível derramado.
Se as unidades de corte estiverem na posição de transporte, utilize o bloqueio mecânico positivo (se disponível) antes de abandonar a máquina.
Espere que o motor arrefeça antes de armazenar a máquina em ambiente fechado.
Retire a chave e desligue o sistema de combustível (se equipado) antes do armazenamento ou transporte da máquina.
Nunca guarde a máquina ou o recipiente de combustível num local onde exista chama aberta, faísca ou luz piloto, como junto de uma caldeira ou outros aparelhos.
Mantenha e limpe o(s) cinto(s) de segurança, como necessário
Utilize o cordão de armazenamento da unidade de corte para impedir o movimento para fora das unidades de corte quando a máquina está estacionada durante a noite ou quando é armazenada durante um período mais longo. Também pode utilizar o cordão de armazenamento da unidade de corte para impedir que as unidades de corte assentem enquanto a máquina estiver a ser transportada entre trabalhos.

Certifique-se de que a tomada de força está desengatada.
Estacione a máquina numa superfície nivelada.
Engate o travão de estacionamento.
Eleve totalmente as unidades de corte.
Alinhe o cordão com o eixo de suporte do braço de elevação para a unidade de corte que se move para fora (Figura 40).

Passe o laço no cordão por cima do eixo de suporte até que o cordão fique posicionado na ranhura do eixo (Figura 40).
Repita os passos 5 e 6 para a unidade de corte que se move para fora no outro lado da máquina.
Important: Retire os cordões dos eixos de suporte antes de baixar as unidades de corte
Note: Guarde os cordões quando não os estiver a utilizar.
Certifique-se de que a tomada de força está desengatada.
Estacione a máquina numa superfície nivelada.
Engate o travão de estacionamento.
Com as unidades de corte baixadas, passe o laço do cordão na ranhura da placa de reforço do suporte do rolo (Figura 41).

Utilize os dois trincos traseiros de transporte para as unidades de corte n.º 6 e 7 (Figura 15) quando deslocar a máquina durante longas distâncias, em terreno acidentado ou quando transportar ou armazenar a máquina.

Retire a chave e desligue o sistema de combustível (se equipado) antes do armazenamento ou transporte da máquina.
Tome todas as precauções necessárias quando colocar ou retirar a máquina de um reboque ou camião.
Utilize rampas de largura total para carregar a máquina num reboque ou camião.
Prenda bem a máquina.
Em caso de emergência, a máquina pode ser deslocada para a frente, ativando a função de purga na bomba hidráulica de deslocação variável e empurrando ou rebocando a máquina.
Important: Não empurre nem reboque a máquina a uma velocidade superior a 3–4,8 km/h. Se empurrar ou rebocar a uma velocidade superior, o sistema interno da transmissão pode sofrer danos.As válvulas de descarga deverão estar abertas sempre que empurrar ou rebocar a máquina.
Abra o capot e localize as válvulas de descarga (Figura 43) na parte superior da bomba, por detrás das caixas da bateria/armazenamento.
Rode cada válvula três voltas no sentido contrário ao dos ponteiros do relógio para abrir e permitir a passagem do fluido internamente.
Note: Não abra a válvula mais de três voltas. Após este procedimento, pode deslocar lentamente a máquina sem danificar a transmissão.


Empurre ou reboque a máquina para a frente.
Important: Se tiver de empurrar ou rebocar a máquina em marcha-atrás, consulte o Kit de reboque em marcha-atrás (peça n.º 136-3620).
Finalize o empurrar ou rebocar da máquina e feche as válvulas de descarga. Aperte a válvula com uma força de 70 N·m.
Note: Utilize correias com aprovação DOT nos quatro cantos para rebocar a máquina.
Em cada lado da estrutura perto da plataforma do operador
Para-choques traseiro


Note: Determine os lados direito e esquerdo da máquina a partir da posição normal de operação.
Important: Para informações detalhadas sobre os procedimentos de manutenção adicionais, consulte o Manual do proprietário do motor.
Important: Se estiver a efetuar a manutenção da máquina e colocar o motor a trabalhar com um tubo de extração do escape do motor, defina a inibição da regeneração para ON; consulte Configuração da inibição da regeneração.
Note: Transfira uma cópia gratuita dos esquemas elétricos ou hidráulicos visitando www.Toro.com e procurando a sua máquina a partir da hiperligação de manuais na página inicial.
Antes de sair da posição de operador, faça o seguinte:
Estacione a máquina numa superfície plana.
Desative a tomada de força e desça os acessórios.
Engate o travão de estacionamento.
Desligue o motor e retire a chave.
Aguarde que todo o movimento pare.
Use vestuário apropriado, incluindo proteção visual, calças compridas, e calçado resistente e antiderrapante. Mantenha as mãos, pés, vestuário, joias, e cabelos compridos afastadas de componentes em movimento.
Se deixar a chave na ignição, alguém pode ligar acidentalmente o motor e feri-lo a si ou às pessoas que se encontrarem próximo da máquina. Retire a chave da ignição antes de fazer qualquer revisão.
Deixe os componentes da máquina arrefecerem antes de proceder à manutenção.
Se as unidades de corte estiverem na posição de transporte, utilize o bloqueio mecânico positivo (se equipado) antes de abandonar a máquina.
Se possível, não faça manutenção com o motor em funcionamento. Mantenha-se longe das peças móveis.
Opere o motor apenas em áreas bem ventiladas. Os gases de exaustão contêm monóxido de carbono, que é letal se inalado.
Apoie a máquina com macacos sempre que trabalhar debaixo da máquina.
Cuidadosamente, liberte a pressão dos componentes com energia acumulada.
Mantenha todas as peças da máquina em boas condições de trabalho e as partes corretamente apertadas, especialmente as partes do engate da lâmina.
Substitua todos os autocolantes gastos ou danificados.
Para assegurar o desempenho seguro e ideal da máquina, utilize apenas peças sobressalentes originais da Toro. As peças sobressalentes produzidas por outros fabricantes poderão tornar-se perigosas e a sua utilização pode anular a garantia do produto.
| Intervalo de assistência | Procedimento de manutenção |
|---|---|
| Após a primeira hora |
|
| Após as pimeiras 10 horas |
|
| Após as pimeiras 50 horas |
|
| Após as pimeiras 200 horas |
|
| Em todas as utilizações ou diariamente |
|
| A cada 50 horas |
|
| A cada 100 horas |
|
| A cada 200 horas |
|
| A cada 400 horas |
|
| A cada 500 horas |
|
| A cada 800 horas |
|
| A cada 1000 horas |
|
| A cada 2000 horas |
|
| A cada 3000 horas |
|
| Antes do armazenamento |
|
| Cada 2 anos |
|
Se deixar a chave na ignição, alguém pode ligar acidentalmente o motor e feri-lo a si ou às pessoas que se encontrarem próximo da máquina.
Retire a chave antes de efetuar qualquer manutenção.
Copie esta página para uma utilização de rotina.
| Verificações de manutenção | Para a semana de: | ||||||
|---|---|---|---|---|---|---|---|
| Segunda-feira | Terça | Quarta | Quinta | Sexta | Sábado | Domingo | |
| Verifique o funcionamento do sistema de segurança. | |||||||
| Verifique o funcionamento dos travões. | |||||||
| Verifique o nível de óleo do motor. | |||||||
| Verifique o nível do fluido do sistema de arrefecimento. | |||||||
| Efetue a drenagem do separador de combustível/água. | |||||||
| Verifique o filtro de ar, o recipiente de pó e a válvula de descarga. | |||||||
| Verifique todos os ruídos estranhos no motor.1 | |||||||
| Verifique se existem detritos no radiador e no painel | |||||||
| Verifique todos os ruídos estranhos de funcionamento. | |||||||
| Verifique o nível do fluido hidráulico. | |||||||
| Verifique se os tubos hidráulicos se encontram danificados. | |||||||
| Verifique se há fuga de fluidos. | |||||||
| Verifique o nível de combustível. | |||||||
| Verifique a pressão dos pneus. | |||||||
| Verifique o funcionamento do painel de instrumentos. | |||||||
| Verifique o ajuste da altura do corte. | |||||||
| Aplique lubrificante em todos os bocais de lubrificação.2 | |||||||
| Limpe a máquina. | |||||||
| Retoque a pintura danificada. | |||||||
|
1Em caso de arranque difícil, verifique as velas de ignição e os injetores; poderá ainda verificar-se alguma produção excessiva de fumo ou um funcionamento irregular da máquina. 2 Imediatamente após cada lavagem, independentemente do intervalo previsto. |
|||||||
Important: Para informações detalhadas sobre os procedimentos de manutenção adicionais, consulte o Manual de utilização do motor.
| Inspeção efetuada por: | ||
| Item | Data | Informação |
Utilize os seguintes como pontos de elevação da máquina:
Na parte dianteira da máquina – na estrutura da máquina, à frente dos motores da transmissão da roda (Figura 46)
Important: Não sustente a máquina nos motores da transmissão da roda. Mantenha o equipamento de elevação afastado dos tubos hidráulicos e dos tubos.

Na parte traseira da máquina – no centro do eixo (Figura 47)
Localize os apoios da capacidade especificada em ambos os lados da caixa de engrenagens e debaixo do eixo.
Important: Não sustente a máquina na barra de ligação.

Incline o capot para aceder ao chassis, como se mostra na Figura 48.

Incline o banco para aceder ao compartimento de elevação hidráulica, como se mostra na Figura 49.

| Intervalo de assistência | Procedimento de manutenção |
|---|---|
| A cada 50 horas |
|
Especificação de lubrificante: Massa n.º 2 à base de lítio
A localização dos bocais de lubrificação e as quantidades são as seguintes:
Rolamentos da articulação do veio do travão (5), como se mostra na Figura 50

Casquilhos da articulação do eixo traseiro (2, como se mostra na Figura 51

Rótulas do cilindro da direção (2), como se mostra na Figura 52

Rótulas da barra de ligação (2), como se mostra na Figura 52
Casquilhos do pino principal (2), como se mostra na Figura 52
Important: Lubrifique a união superior no pino principal apenas anualmente (duas bombas).
Casquilhos do braço de elevação (1 por unidade de corte), como se mostra na Figura 53

Casquilhos do cilindro de elevação (2 por unidade de corte), como se mostra na Figura 53
Rolamentos do veio do eixo da unidade de corte (2 por unidade de corte), como se mostra na Figura 54
Note: Pode utilizar qualquer um dos bocais, o que for mais acessível. Injete o lubrificante no bocal, até aparecer uma pequena quantidade no fundo da cobertura do eixo (debaixo da unidade de corte).

Casquilhos do braço de suporte da unidade de corte (1 por unidade de corte), como se mostra na Figura 54
Rolamentos do rolo traseiro (2 por unidade de corte), como se mostra na Figura 55

Important: Certifique-se de que a ranhura de lubrificação em cada montagem do rolo está alinhada com o orifício de lubrificação em cada extremidade do veio do rolo. Para ajudar a alinhar a ranhura e o orifício, existe também uma marca de alinhamento numa extremidade do veio do rolo.
Desligue o motor e retire a chave antes de verificar ou adicionar óleo ao cárter.
Não altere os valores do acelerador nem acelere o motor excessivamente.
| Intervalo de assistência | Procedimento de manutenção |
|---|---|
| A cada 400 horas |
|
Verifique se existe algum dano no corpo do filtro de ar que possa provocar uma fuga de ar. Substitua se estiver danificado. Verifique todo o sistema de admissão para ver se tem fugas, se está danificado ou se há braçadeiras de tubos soltas.
Faça a manutenção ao filtro de ar apenas quando o indicador de serviço(Figura 56) o exigir. Mudar o filtro de ar antes de ser necessário apenas aumenta a possibilidade de entrar sujidade no motor quando retira o filtro.

Important: Certifique-se de que a cobertura está corretamente assente e veda com o corpo do filtro de ar.
Substitua o filtro de ar (Figura 57).


Note: Não limpe um elemento usado porque limpá-lo pode danificar os componentes do filtro.
Important: Nunca tente limpar o filtro de segurança (Figura 58). Substitua o filtro de segurança após três operações de manutenção do filtro primário.

Reinicie o indicador (Figura 56) se este se apresentar vermelho.
Utilize óleo de motor de alta qualidade com nível baixo de cinzas que satisfaça ou ultrapasse as seguintes especificações:
Categoria API CJ-4 ou superior
Categoria ACEA E6
Categoria JASO DH-2
Important: Utilizar óleo de motor que não seja API CJ-4 ou superior, ACEA E6 ou JASO DH-2 pode fazer com que o filtro de partículas de gasóleo fique entupido ou danifique o motor.
Utilize o seguinte grau de viscosidade do óleo de motor:
Óleo preferido: SAE 15W-40 (acima de -18°C)
Óleo alternativo: SAE 10W-30 ou 5W-30 (todas as temperaturas)
O óleo de motor premium Toro encontra-se disponível no seu distribuidor Toro autorizado no grau de viscosidade 15W-40 ou 10W-30. Consulte o catálogo das peças para saber quais são os números das peças.
| Intervalo de assistência | Procedimento de manutenção |
|---|---|
| Em todas as utilizações ou diariamente |
|
O motor já é enviado com óleo no cárter; no entanto, o nível de óleo deverá ser verificado antes e depois de ligar o motor pela primeira vez.
Important: Verifique o nível de óleo do motor diariamente. Se o nível de óleo do motor estiver acima da marca Cheio na vareta, o óleo do motor pode diluir-se com o combustível;Se o nível de óleo do motor estiver acima da marca Cheio na vareta, mude o óleo do motor.
A melhor altura para verificar o nível de óleo do motor será quando o motor estiver frio antes do dia de trabalho começar. Se já tiver funcionado, espere 10 minutos até o óleo voltar para o reservatório e verifique depois. Se o nível de óleo estiver exatamente na marca ou abaixo da marca Adicionar na vareta, adicione óleo até o nível atingir a marca Cheio. Não encha muito o motor com óleo.
Important: Mantenha o nível de óleo do motor entre os limites superior e inferior na vareta; o motor pode falhar se trabalhar com demasiado ou com pouco óleo.
Verificação do nível de óleo do motor; consulte Figura 59.


Note: Quando utilizar um óleo diferente deve esvaziar todo o óleo existente no cárter antes de adicionar óleo novo.
Cerca de 5,7 litros com o filtro.
| Intervalo de assistência | Procedimento de manutenção |
|---|---|
| A cada 500 horas |
|
Note: Para repor o indicador de manutenção obrigatória no InfoCenter, consulte a Definição do temporizador de manutenção obrigatória.
Ligue o motor e deixe-o funcionar durante cerca de 5 minutos para aquecer.
Estacione a máquina para uma superfície nivelada, engate o travão de estacionamento, desligue o motor e retire a chave.
Substitua o filtro e o óleo do motor (Figura 60).


Junte óleo ao cárter; consulte a Capacidade de óleo no cárter e Verificação do nível de óleo do motor.
| Intervalo de assistência | Procedimento de manutenção |
|---|---|
| A cada 3000 horas |
|
Consulte a secção Motor no Manual de manutenção para obter mais informações sobre desmontagem e montagem do catalisador de oxidação diesel e do filtro de fuligem do DPF.
Entre em contacto com o seu distribuidor autorizado da Toro para mais informações sobre o catalisador de oxidação diesel e peças de substituição ou manutenção do filtro de fuligem.
Contacte o seu distribuidor Toro autorizado para repor a ECU do motor depois de instalar um DPF limpo.
Em determinadas condições, o gasóleo e respetivos gases podem tornar-se inflamáveis e explosivos. Um incêndio ou explosão de combustível poderá provocar queimaduras e danos materiais.
Utilize um funil para encher o depósito de combustível no exterior, numa zona aberta, quando o motor se encontrar desligado e frio. Limpe todo o combustível derramado.
Não encha completamente o depósito de combustível. Adicione combustível ao depósito de combustível, até que o nível se encontre entre 6 e 13 mm abaixo da extremidade inferior do tubo de enchimento. Este espaço no depósito permite a expansão do combustível.
Não fume quando se encontrar próximo de combustível e mantenha-se afastado de todas as fontes de chama ou faíscas que possam inflamar os vapores existentes nesse meio.
Guarde o combustível num recipiente limpo e seguro e mantenha-o sempre bem fechado.
| Intervalo de assistência | Procedimento de manutenção |
|---|---|
| A cada 800 horas |
|
| Antes do armazenamento |
|
Para além do intervalo de manutenção indicado, deverá drenar e lavar o depósito se o sistema de combustível ficar contaminado ou se guardar a máquina por um período prolongado. Utilize combustível limpo para lavar o depósito.
| Intervalo de assistência | Procedimento de manutenção |
|---|---|
| A cada 400 horas |
|
Verifique os tubos de combustível quanto a sinais de deterioração, danos ou ligações soltas.

| Intervalo de assistência | Procedimento de manutenção |
|---|---|
| Em todas as utilizações ou diariamente |
|
Drenar água do separador de água-combustível como se mostra na (Figura 62).

| Intervalo de assistência | Procedimento de manutenção |
|---|---|
| A cada 400 horas |
|
Substitua o recipiente do filtro de combustível conforme se mostra na Figura 63.

| Intervalo de assistência | Procedimento de manutenção |
|---|---|
| A cada 400 horas |
|
Limpe a zona em torno da cabeça do filtro de combustível (Figura 64).

Retire o filtro e limpe a superfície de montagem da cabeça do filtro (Figura 64).
Lubrifique a junta do filtro com óleo de motor lubrificante limpo; consulte o Manual do proprietário do motor para informação adicional.
Monte o recipiente seco do filtro, manualmente, até que a junta entre em contacto com a cabeça do filtro, rodando em seguida o filtro mais ½ volta.
Prepare o filtro e as linhas para a bomba de alta pressão; consulte a Ferração do sistema de combustível.
Ligue o motor e verifique se há fugas em redor da cabeça do filtro.
O tubo de admissão de combustível, localizado no interior do depósito de combustível, está equipado com um filtro para evitar que entre sujidade no sistema de combustível. Retire o tubo de admissão de combustível e limpe o filtro conforme necessário.
Retire a braçadeira de tubos que prende o tubo de alimentação do combustível à união do tubo de recolha de combustível (Figura 65).

Separe o tubo da união (Figura 65).
Levante o tubo de recolha de combustível do depósito do combustível (Figura 65).
Note: Levante o tubo diretamente do casquilho no depósito.
Limpe quaisquer detritos no filtro na extremidade do tubo de recolha de combustível (Figura 65).
Insira o tubo de recolha de combustível através do casquilho de borracha e no depósito (Figura 65).
Note: Certifique-se de que o tubo de recolha de combustível está totalmente encostado ao casquilho de borracha.
Instale o tubo de alimentação na união do tubo de recolha de combustível e prenda o tubo com a braçadeira de tubos que retirou no passo 1.
Ferre o sistema de combustível antes de ligar o motor pela primeira vez, depois de ficar sem combustível ou após a manutenção do sistema de combustível (por ex., drenagem do filtro/separador de água, substituição do tubo do combustível).
Para ferrar o sistema de combustível, realize os seguintes passos:
Certifique-se de que há combustível no depósito de combustível.
Realize os seguintes passos para preparar o filtro e as linhas para a bomba de alta pressão para evitar desgaste ou dano na bomba.
Rode a chave da ignição para a posição LIGAR durante 15 a 20 segundos.
Rode a chave da ignição para a posição DESLIGAR durante 30 a 40 segundos.
Note: Isto permite a ECU desligar.
Rode a chave da ignição para a posição ON (ligar) durante 15 a 20 segundos.
Verifique se há fugas em redor do filtro e tubos.
Important: Não utilize o motor de arranque do motor para arrancar o motor e assim ferrar o sistema de combustível.
Desligue a bateria antes de reparar a máquina. Desligue o terminal negativo em primeiro lugar e o terminal positivo no final. Ligue o terminal positivo em primeiro lugar e o terminal negativo no final.
Carregue a bateria num espaço aberto e bem ventilado, longe de faíscas e chamas. Retire a ficha do carregador da tomada antes de o ligar ou desligar da bateria. Utilize roupas adequadas e ferramentas com isolamento.
| Intervalo de assistência | Procedimento de manutenção |
|---|---|
| A cada 50 horas |
|
Important: Antes de efetuar qualquer soldagem na máquina, deverá desligar o cabo negativo da bateria, de modo a evitar quaisquer danos no sistema elétrico. Também tem de desligar o motor, o InfoCenter e os controladores da máquina antes de efetuar soldagem na máquina.
Note: Mantenha os terminais e toda a caixa da bateria em perfeitas condições de limpeza já que uma bateria suja descarrega mais rapidamente. Para limpar a bateria, deverá lavar toda a caixa com uma solução de bicarbonato de sódio e água. Enxagúe com água limpa. Cubra os bornes da bateria e ligações dos cabos com lubrificante Grafo 112X (peça Toro n.º 505-47) ou vaselina para evitar qualquer corrosão.
Desaperte o trinco da cobertura da caixa de armazenamento direita e levante a cobertura (Figura 68).
O eletrólito da bateria contém ácido sulfúrico, uma substância extremamente venenosa que é fatal e causa queimaduras graves.
Não beba eletrólito e evite qualquer contacto com a pele, olhos e vestuário. Utilize óculos de proteção para proteger os olhos e luvas de borracha para proteger as mãos.
Ateste a bateria apenas em locais onde exista água limpa para lavar as mãos.
Retire a cobertura de borracha do borne positivo e verifique a bateria.
Retire o cabo negativo (preto) do terminal negativo (-) e o cabo positivo (vermelho) do terminal positivo (+) da bateria (Figura 66).
A ligação incorreta dos cabos da bateria pode danificar o veículo e os cabos, produzindo faíscas. As faíscas podem provocar uma explosão dos gases da bateria, resultando em ferimentos pessoais.
Desligue sempre o cabo negativo (preto) da bateria antes de desligar o cabo positivo (vermelho).
Ligue sempre o cabo positivo (vermelho) da bateria antes de ligar o cabo negativo (preto).
Os terminais da bateria e as ferramentas de metal poderão provocar curto-circuitos noutros componentes do veículo, produzindo faíscas. As faíscas podem provocar uma explosão dos gases da bateria, resultando em ferimentos pessoais.
Quando retirar ou montar a bateria, não toque com os terminais da bateria noutras peças metálicas da máquina.
Não deixe as ferramentas de metal entrar em curto-circuito com os terminais da bateria e peças metálicas da máquina.

Ligue um carregador de baterias de 3 a 4 amperes aos bornes da bateria. Carregue a bateria com um carregador de bateria de 3 a 4 amperes, durante 4 a 8 horas.
O carregamento da bateria gera gases que podem explodir.
Nunca fume perto da bateria e mantenha-a afastada de faíscas e chamas.
Quando a bateria estiver carregada, desligue o carregador da tomada de alimentação e dos bornes da bateria.
Instale o cabo positivo (vermelho) no terminal positivo (+) e o cabo negativo (negro) no terminal negativo (-) da bateria (Figura 66).
Prenda os cabos aos bornes com parafusos e porcas.
Note: Certifique-se de que o terminal positivo (+) se encontra corretamente colocado no borne e de que o cabo se encontra corretamente encaixado na bateria. O cabo não deverá estar em contacto com a cobertura da bateria.
Cubra as ligações da bateria com lubrificante Grafo 112X, peça n.º 505-47, vaselina ou lubrificante suave, para evitar qualquer corrosão.
Coloque a cobertura de borracha no terminal positivo.
Feche o painel da consola e prenda o trinco.
O bloco de fusíveis da máquina fica na caixa de armazenamento direita.

Desaperte o trinco da cobertura da caixa de armazenamento direita e levante a cobertura (Figura 68) para expor o bloco de fusíveis (Figura 69).

Substitua o(s) fusível(is) aberto(s) conforme necessário (Figura 69).

Feche a cobertura da caixa de armazenamento direita e prenda a cobertura com o trinco (Figura 68).

| Intervalo de assistência | Procedimento de manutenção |
|---|---|
| A cada 400 horas |
|
Não deve haver folga nas extremidades das transmissões planetárias/rodas da transmissão (ou seja, as rodas não se devem mover quando as puxa ou empurra numa direção paralela ao eixo).
Estacione a máquina numa superfície plana, engate o travão de estacionamento, desça as unidades de corte, desligue o motor e retire a chave.
Coloque um calço nas rodas traseiras e eleve a frente da máquina, suportando o eixo frontal/estrutura nas preguiças.
Uma máquina apoiada por uma preguiça pode tornar-se instável e deslizar da preguiça, ferindo quem se encontrar por baixo.
Não ligue o motor quando a máquina estiver apoiada num macaco.
Retire sempre a chave da ignição antes de sair da máquina.
Bloqueie os pneus quando estiver a levantar a máquina com um macaco.
Apoie a máquina com macacos.
Agarre numa das rodas frontais e empurre/puxe na direção da máquina e direção contrária, reparando se existe algum movimento.

Repita o passo 3 para a outra roda.
Se alguma das rodas se mover, contacte o distribuidor autorizado Toro para obter uma reparação da transmissão planetária.
| Intervalo de assistência | Procedimento de manutenção |
|---|---|
| A cada 400 horas |
|
Especificações do lubrificante: lubrificante para engrenagens SAE 85W-140 de alta qualidade
Estacione a máquina numa superfície plana, posicione a roda de forma a que o tampão de enchimento fique na posição das 12 horas, o tampão de verificação fique na posição das 3 horas e o tampão de drenagem fique na posição das 6 horas (Figura 72).

Retire o tampão de verificação da posição das 3 horas (Figura 72).
O óleo deve ficar ao nível do fundo do orifício do tampão de verificação.

Se o nível estiver baixo, retire o tampão de enchimento da posição das 12 horas e adicione óleo até que comece a sair pelo furo da posição das 3 horas.
Verifique o anel de retenção para ver se os tampões estão gastos ou danificados.
Note: Substitua os anéis de retenção conforme necessário.
Volte a colocar os tampões.
Repita os passos 1 a 5 para o conjunto da engrenagem planetária no outro lado da máquina.
| Intervalo de assistência | Procedimento de manutenção |
|---|---|
| Após as pimeiras 50 horas |
|
| A cada 800 horas |
|
Especificações do lubrificante: lubrificante para engrenagens SAE 85W-140 de alta qualidade
Capacidade de lubrificação da caixa do travão e da engrenagem planetária: 0,65 litros
Estacione a máquina numa superfície plana, posicione a roda de forma a que o tampão de enchimento fique na posição das 12 horas, o tampão de verificação fique na posição das 3 horas e o tampão de drenagem fique na posição das 6 horas; consulte Figura 72 em Verificação do lubrificante da transmissão da engrenagem planetária.
Retire o tampão de enchimento da posição das 12 horas e o tampão de verificação da posição das 3 horas (Figura 74).

Coloque o recipiente de escoamento por baixo do cubo da roda, retire o tampão de drenagem e deixe o óleo escorrer até drenar completamente (Figura 74).
Verifique o anel de retenção dos tampões de enchimento, verificação e drenagem para ver se estão gastos ou danificados.
Note: Substitua os anéis de retenção conforme necessário.
Instale o tampão de drenagem no orifício de drenagem da caixa da engrenagem planetária (Figura 74).
Coloque o recipiente de escoamento por baixo da estrutura do travão, retire o tampão e deixe o óleo escorrer completamente (Figura 75).

Verifique o anel de retenção para ver se o tampão está gasto ou danificado e instale o tampão de drenagem na estrutura do travão.
Note: Substitua o anel de retenção conforme necessário.
Através do orifício do tampão de enchimento, encha lentamente com 0,65 litros de lubrificante para engrenagens SAE 85W-140 de elevada qualidade.
Important: Se a roda encher antes de 0,65 litros de óleo, aguarde uma hora ou instale o tampão e mova a máquina cerca de 3 m para distribuir o óleo através do sistema de travões. Em seguida, retire o tampão e adicione o restante óleo.

Coloque o tampão de enchimento e o tampão de verificação.
Limpe as estruturas do travão e da engrenagem planetária (Figura 77).

Repita os passos 1 a 7 em Drenagem da transmissão da engrenagem planetária e os passos 1 através 3 neste procedimento para o conjunto travão/engrenagem planetária no outro lado da máquina.
| Intervalo de assistência | Procedimento de manutenção |
|---|---|
| Em todas as utilizações ou diariamente |
|
Inspecione visualmente o eixo traseiro e a caixa de engrenagens do eixo traseiro.

| Intervalo de assistência | Procedimento de manutenção |
|---|---|
| A cada 400 horas |
|
O eixo traseiro é abastecido com lubrificante para engrenagens SAE 85W-140. A sua capacidade é de 2,4 litros. Efetue diariamente uma inspeção visual quanto a fugas.
Estacione a máquina numa superfície plana, engate o travão de estacionamento, desça as unidades de corte, desligue o motor e retire a chave.
Retire o tampão de verificação de uma extremidade do eixo e certifique-se de que existe lubrificante até ao fundo do orifício (Figura 79).
Note: Se o nível estiver baixo, retire o tampão de enchimento e adicione lubrificante suficiente para o nível de lubrificante subir até ao fundo do orifício do tampão de verificação.

| Intervalo de assistência | Procedimento de manutenção |
|---|---|
| Após as pimeiras 200 horas |
|
| A cada 800 horas |
|
Especificações do lubrificante: lubrificante para engrenagens SAE 85W-140 de alta qualidade
Capacidade do eixo: 2,4 litros
Estacione a máquina numa superfície plana, engate o travão de estacionamento, desça as unidades de corte, desligue o motor e retire a chave.
Limpe a zona em redor dos 3 tampões de escoamento, 1 em cada extremidade e 1 no centro (Figura 80).

Retire os tampões de verificação do nível de óleo e o tampão de ventilação do eixo principal para facilitar a drenagem do lubrificante para engrenagens.
Retire os tampões de escoamento e deixe o lubrificante para engrenagens escorrer para recipientes adequados.
Instale os tampões.
Retire um tampão de verificação e encha o eixo com cerca de 2,4 litros de lubrificante 85W-140 ou até que o lubrificante chegue à parte de baixo do orifício.
Coloque o tampão de verificação.
| Intervalo de assistência | Procedimento de manutenção |
|---|---|
| A cada 400 horas |
|
O eixo traseiro é abastecido com lubrificante para engrenagens SAE 85W-140. A capacidade é de 0,5 litros. Efetue diariamente uma inspeção visual quanto a fugas.
Estacione a máquina numa superfície plana, engate o travão de estacionamento, desça as unidades de corte, desligue o motor e retire a chave.
Retire o tampão de verificação/enchimento que se encontra na zona esquerda da caixa de engrenagens e certifique-se de que existe lubrificante até ao fundo do orifício (Figura 81).
Note: Se o nível estiver baixo, junte lubrificante suficiente para o nível subir até ao fundo do orifício.

| Intervalo de assistência | Procedimento de manutenção |
|---|---|
| A cada 800 horas |
|
Estacione a máquina numa superfície plana, engate o travão de estacionamento, desça as unidades de corte, desligue o motor e retire a chave.
Meça a distância de centro a centro (à altura do eixo) na zona dianteira e traseira dos pneus da direção (Figura 82).
Note: A medição dianteira deve ser 3 mm inferior à medição traseira.

Para ajustar, remova o contrapino e a porca de cada uma das rótulas da barra de ligação (Figura 83). Remova a rótula da barra de ligação do suporte do eixo.

Desaperte as abraçadeiras que estão em ambas as extremidades das barras de ligação (Figura 83).
Rode a rótula desligada para dentro ou para fora uma (1) volta completa e aperte o grampo na extremidade solta da barra de ligação.
Rode o conjunto total da barra de ligação na mesma direção (para dentro ou para fora) uma volta completa e aperte o grampo na extremidade ligada da barra de ligação.
Instale a rótula no suporte do eixo e aperte bem a porca à mão e meça o alinhamento.
Repita o procedimento, se necessário.
Aperte a porca e instale um novo contrapino quando o ajuste estiver correto.
Ingerir líquido de refrigeração do motor pode ser tóxico; Mantenha as crianças e os animais de estimação afastados.
O derrame de líquido de refrigeração quente pressurizado ou o contacto com o radiador quente e peças adjacentes pode provocar queimaduras graves.
Deixe sempre o motor arrefecer pelo menos 15 minutos antes de retirar a tampa do radiador.
Use um trapo quando abrir o tampão do radiador, fazendo-o lentamente para permitir a saída do vapor.
Não conduza a máquina sem as tampas estarem no lugar.
Mantenha os dedos, mãos e roupa afastados do movimento rotativo da ventoinha e da correia da transmissão.
O reservatório do líquido de arrefecimento é cheio de fábrica com uma solução 50/50 de água e líquido de arrefecimento Extended Life à base de etilenoglicol.
Important: Utilize apenas líquidos de arrefecimento disponíveis comercialmente que cumpram as especificações indicadas na Tabela de normas do líquido de arrefecimento Extended Life.Não utilize líquido de arrefecimento de tecnologia de ácido inorgânico (IAT) convencional (verde) na sua máquina. Não misture líquido de arrefecimento convencional com líquido de arrefecimento Extended Life.
|
Tipo de líquido de arrefecimento de etilenoglicol |
Tipo de inibidor de corrosão |
|
Anti-congelante Extended life |
Tecnologia de ácido orgânico (OAT) |
|
Important: Não confie na cor do líquido de arrefecimento para identificar a diferença entre líquido de arrefecimento de tecnologia de ácido inorgânico (IAT) convencional (verde) e líquido de arrefecimento Extended Life.Os fabricantes de líquido de arrefecimento podem adicionar corante ao líquido de arrefecimento Extended Life numa das seguintes cores: vermelho, rosa, laranja, amarelo, azul, verde azulado, violeta e verde. Utilize apenas líquidos de arrefecimento que cumpram as especificações indicadas na Tabela de normas do líquido de arrefecimento Extended Life. |
|
|
ATSM International |
SAE International |
|
D3306 e D4985 |
J1034, J814 e 1941 |
Important: A concentração de líquido de arrefecimento deve ser uma mistura 50/50 de líquido de arrefecimento para água.
Preferido: Ao misturar líquido de arrefecimento a partir de concentrado, misturar com água destilada.
Opção preferida: Se não estiver disponível água destilada, utilize um líquido de arrefecimento pré-misturado em vez de concentrado.
Requisito mínimo: Se não estiver disponível água destilada nem líquido de arrefecimento pré-misturado, misture líquido de arrefecimento concentrado com água potável.
| Intervalo de assistência | Procedimento de manutenção |
|---|---|
| Em todas as utilizações ou diariamente |
|
Capacidade do sistema de arrefecimento: 8,5 litros
O movimento rotativo das ventoinhas e das correias de transmissão pode provocar ferimentos.
Não conduza a máquina sem as coberturas estarem no lugar.
Mantenha os dedos, mãos e roupa afastados do movimento rotativo da ventoinha e da correia da transmissão.
Desligue o motor e retire a chave antes de efetuar a manutenção.
Estacione a máquina numa superfície plana, engate o travão de estacionamento, desça as unidades de corte, desligue o motor e retire a chave.
Retire cuidadosamente o tampão do radiador.

Verifique o nível do líquido de arrefecimento do radiador. O radiador deverá encontrar-se cheio de líquido até ao cimo do tubo de enchimento e o nível do líquido no depósito de expansão deverá atingir a marca CHEIO (Figura 84).
Se o nível do líquido de arrefecimento estiver baixo, deverá juntar uma solução 50/50 de água e anticongelante etileno-glicol; consulte a secção Especificação do líquido de arrefecimento. Não use apenas água ou produtos de arrefecimento à base álcool/metanol.
Volte a montar as tampas no radiador e no depósito de expansão.
| Intervalo de assistência | Procedimento de manutenção |
|---|---|
| Em todas as utilizações ou diariamente |
|
Esta máquina está equipada com um sistema de ventilação hidráulico que automaticamente (ou manualmente) inverte para reduzir a acumulação de detritos no radiador/refrigerador e filtro. Embora esta função possa ajudar a reduzir o tempo necessário para limpar radiadores/refrigeradores, não elimina a necessidade de limpeza de rotina. Ainda é necessário a limpeza e inspeção periódicas do radiador/refrigerador.
Estacione a máquina numa superfície plana, engate o travão de estacionamento, desça as unidades de corte, desligue o motor e retire a chave.
Deixe arrefecer a máquina; consulte a Segurança da manutenção e a Segurança do sistema de arrefecimento.
Destranque e abra o painel traseiro (Figura 85).
Note: Para retirar o painel, levante os pinos das dobradiças.
Limpe cuidadosamente os detritos do painel.

Limpe os dois lados do refrigerador de óleo e o radiador com ar comprimido (Figura 86).
Note: Comece a partir da parte dianteira e sopre os detritos para fora na direção da parte posterior. Depois, limpe a partir da parte posterior e sopre na direção da parte dianteira. Repita o procedimento várias vezes até remover toda a sujidade e detritos.

Important: A limpeza do radiador/refrigerador com água poderá acelerar o processo de corrosão destes componentes e compactar os resíduos.
Feche o filtro traseiro e fixe-o com os trincos.
Ajuste os travões de serviço se o pedal do travão apresentar uma folga superior a 25 mm ou quando os travões não funcionarem de forma eficaz. Folga é a distância percorrida pelo pedal antes de se verificar qualquer resistência ao movimento.
Estacione a máquina numa superfície plana, engate o travão de estacionamento, desça as unidades de corte, desligue o motor e retire a chave.
Desengate o trinco de bloqueio dos pedais dos travões, de forma a que ambos os pedais possam funcionar de forma independente.
Para reduzir as folgas no pedais dos travões, aperte os travões da seguinte forma:
Desaperte a porca dianteira na extremidade roscada do cabo do travão (Figura 87).

Aperte a porca traseira para deslocar o cabo para trás até que os pedais dos travões apresentem uma folga de 13 a 25 mm.
Aperte as porcas dianteiras depois de os travões estarem corretamente ajustados.
| Intervalo de assistência | Procedimento de manutenção |
|---|---|
| A cada 100 horas |
|
Uma tensão adequada da correia deverá permitir um desvio de 10 mm quando for aplicada uma força de 4,5 kg numa zona intermédia da correia entre as polias.
Se a deslocação obtida não for igual a 10 mm, deve desapertar os parafusos de montagem do alternador (Figura 56).
Note: Aumente ou diminua a tensão da correia do alternador e aperte os parafusos. Verifique uma vez mais a deslocação da correia para se certificar de que a tensão está correta.

Em caso de penetração do fluido na pele, consulte imediatamente um médico. O fluido penetrado deve ser removido cirurgicamente dentro de algumas horas por um médico.
Certifique-se de que todas as tubagens e mangueiras do fluido hidráulico se encontram bem apertadas e em bom estado de conservação antes de colocar o sistema sob pressão.
Mantenha os seus corpo e mãos longe de fugas ou bicos que projetem fluido hidráulico sob pressão.
Utilize um pedaço de cartão ou papel para detetar fugas do fluido hidráulico.
Alivie com segurança toda a pressão do sistema hidráulico antes de executar qualquer trabalho neste sistema.
O reservatório é enchido na fábrica com fluido hidráulico de qualidade superior. Verifique o nível de fluido hidráulico antes de ligar o motor pela primeira vez e diariamente a partir daí; consulte Verificação do nível do fluido hidráulico.
Fluido hidráulico recomendado: Fluido hidráulico Toro PX Extended Life; disponível em recipientes de 19 litros ou tambores de 208 litros.
Note: Uma máquina que utilize o fluido de substituição recomendado requer substituições de fluido e filtro menos frequentes.
Fluidos hidráulicos alternativos: Se o fluido hidráulico Toro PX Extended Life não estiver disponível, pode utilizar outro fluido hidráulico convencional à base de petróleo que possua especificações abrangidas pelo intervalo indicado para todas as propriedades dos materiais seguintes e que cumpra as normas da indústria. Não utilize fluido sintético. Consulte o seu distribuidor de lubrificantes para identificar um produto satisfatório.
Note: A Toro não assume a responsabilidade por danos causados devido ao uso de substitutos inadequados, pelo que recomendamos a utilização exclusiva de produtos de fabricantes com boa reputação no mercado.
| Propriedades do material: | ||
| Viscosidade, ASTM D445 | cSt a 40°C 44 até 48 | |
| Índice de viscosidade ASTM D2270 | 140 ou superior | |
| Ponto de escoamento, ASTM D97 | -37°C a -45°C | |
| Especificações industriais: | Eaton Vickers 694 (I-286-S, M-2950-S/35VQ25 ou M-2952-S) | |
Note: A maioria dos fluidos são incolores, o que dificulta a deteção de fugas. Encontra-se à sua disposição um aditivo vermelho para o fluido hidráulico, em recipientes de 20 ml. Um recipiente é suficiente para 15 a 22 litros de fluido hidráulico. Poderá encomendar a peça n.º 44-2500 ao seu distribuidor Toro.
Important: Toro Premium Synthetic Biodegradable Hydraulic Fluid é o único fluido sintético biodegradável aprovado pela Toro. Este fluido é compatível com os elastómeros utilizados nos sistemas hidráulicos da Toro e é adequado a uma vasta gama de condições térmicas. Este fluido é compatível com óleos minerais convencionais, mas para um desempenho e biodegradabilidade máximos, deve remover totalmente o fluido convencional do sistema hidráulico. O óleo está disponível em recipientes de 19 litros ou tambores de 208 litros junto do seu distribuidor autorizado Toro.
| Intervalo de assistência | Procedimento de manutenção |
|---|---|
| Em todas as utilizações ou diariamente |
|
Estacione a máquina numa superfície plana, engate o travão de estacionamento, desça as unidades de corte, desligue o motor e retire a chave.
Verifique o nível de fluido hidráulico (Figura 89).


| Intervalo de assistência | Procedimento de manutenção |
|---|---|
| A cada 800 horas |
|
| A cada 2000 horas |
|
| Cada 2 anos |
|
Capacidade de fluido hidráulico: 28,4 litros
Se o fluido tiver sido contaminado, deverá entrar em contacto com o seu distribuidor autorizado TORO para efetuar uma lavagem do sistema. O fluido contaminado tem uma aparência leitosa ou negra quando comparado com óleo limpo.
Estacione a máquina numa superfície plana, engate o travão de estacionamento, desça as unidades de corte, desligue o motor e retire a chave.
Eleve o capot.
Desligue o tubo de retorno da caixa da zona inferior do reservatório e deixe que o fluido escorra para um recipiente adequado.
Instale o tubo quando o fluido hidráulico parar de escorrer.
Encha o reservatório com fluido hidráulico; consulte Manutenção do fluido hidráulico.
Important: Utilize apenas os fluidos hidráulicos especificados. A utilização de outros fluidos poderá danificar o sistema.
Em seguida, volte a montar a tampa do reservatório.
Rode a chave para a posição LIGAR para ligar o motor. Utilize todos os comandos hidráulicos, de modo a distribuir o fluido hidráulico por todo o sistema e verifique se há fugas.
Rode a chave da ignição para a posição DESLIGAR.
Verifique o nível do fluido e adicione fluido suficiente para o nível subir até à marca CHEIO da vareta. Não encha demasiado.
| Intervalo de assistência | Procedimento de manutenção |
|---|---|
| A cada 800 horas |
|
| A cada 1000 horas |
|
Utilize os filtros sobressalentes Toro: peça n.º 94-2621 para a traseira da máquina (unidades de corte) e a peça n.º 75-1310 para a dianteira (carga) da máquina.
Important: A utilização de outro filtro poderá anular a garantia de alguns componentes.
Incline o banco do operador para aceder ao filtro de pressão do cortador; consulte Aceder ao compartimento de elevação hidráulica.

Substitua o filtro hidráulico de carga no compartimento de elevação hidráulica, como se mostra na Figura 91.


Baixe e prenda o banco do operador.
Substitua o filtro de retorno no lado direito da máquina (Figura 91).
Ligue o motor e deixe funcionar a máquina durante dois minutos para eliminar o ar do sistema. Desligue o motor e verifique se existem fugas.
| Intervalo de assistência | Procedimento de manutenção |
|---|---|
| Em todas as utilizações ou diariamente |
|
| Cada 2 anos |
|
Verifique diariamente as tubagens e as mangueiras hidráulicas quanto à existência de fugas, tubagens dobradas, suportes de montagem soltos, desgaste, juntas soltas e danos provocados pelas condições atmosféricas ou por agentes químicos. Efetue todas as reparações necessárias antes de utilizar a máquina.
O fluido hidráulico que sai sob pressão pode penetrar na pele e provocar lesões.
Em caso de penetração do fluido na pele, consulte imediatamente um médico.
Certifique-se de que todos os tubos e tubos hidráulicos se encontram em bom estado de conservação e que todas as ligações e uniões hidráulicas estão bem apertadas antes de colocar o sistema sob pressão.
Mantenha os seus corpo e mãos longe de fugas ou bicos que projetem fluido hidráulico sob pressão.
Utilize um pedaço de cartão ou papel para detetar fugas do fluido hidráulico.
Alivie com segurança toda a pressão do sistema hidráulico antes de executar qualquer trabalho neste sistema.
Estacione a máquina numa superfície plana, engate o travão de estacionamento, desça as unidades de corte, desligue o motor e retire a chave.
Desligue e retire o motor hidráulico da unidade de corte (Figura 92). Cubra a parte superior do eixo para não o sujar.

Retire o pino de sujeição (para máquinas Groundsmaster 4500) ou porca de bloqueio (para máquinas Groundsmater 4700) que fixa a estrutura de suporte da unidade de corte ao pino da articulação do braço de elevação (Figura 93).

Afaste a unidade de corte da máquina.
Mova a unidade de corte para a posição em frente da máquina.
Deslize a estrutura de suporte da unidade de corte até que esta fique sobre o pino da articulação do braço de elevação (Figura 93). Prenda a unidade de corte ao pino com o pino de sujeição (para máquinas Groundsmaster 4500) ou a porca de retenção (para máquinas Groundsmaster 4700).
Instale o motor hidráulico na unidade de corte (Figura 92). Verifique se o anel de retenção está posicionado corretamente e não está danificado.
Lubrifique o eixo.
Verifique se o rolo dianteiro está desgastado, oscila demasiado ou encrava. Faça a manutenção ou substitua o rolo ou respetivos componentes, se detetar uma destas situações.
Retire o parafuso de montagem do rolo (Figura 94).
Na estrutura do rolo, retire o rolamento que está à frente, batendo alternadamente nas extremidades da calha interna do rolamento. Deverá existir um rebordo de 1,5 mm da calha interna exposto.

Empurre o segundo rolamento para fora.
Verifique se a estrutura dos rolamentos, os rolamentos e o espaçador de rolamentos estão danificados (Figura 94). Substitua os componentes danificados e volte a montá-los.
Introduza o primeiro rolamento na estrutura do rolo (Figura 94). Empurre só a calha externa ou, então, exerça o mesmo tipo de pressão nas calhas interna e externa.
Coloque o espaçador (Figura 94)
Introduza o segundo rolamento na estrutura do rolo (Figura 94). Exerça o mesmo tipo de pressão nas calhas interna e externa até a calha interna entrar em contacto com o espaçador.
Instale o conjunto do rolo na estrutura da unidade de corte.
Verifique se a folga não excede 1,5 mm entre o conjunto do rolo e os suportes de montagem do cilindro da estrutura da unidade de corte. Se existir uma folga de mais de 1,5 mm, coloque anilhas com diâmetro de ⅝ pol. suficientes para compensar a inclinação.
Important: Fixar o conjunto do rolo com uma folga superior a 1,5 mm cria uma carga lateral no rolamento e pode levar a falha prematura do rolamento
Fixe o parafuso de montagem com uma força de 108 N·m.
Inspecione periodicamente se a lâmina apresenta sinais de desgaste ou outros danos.
Tome todas as precauções necessárias quando efetuar a verificação das lâminas. Envolva as lâminas ou utilize luvas e tome todas as precauções necessárias quando efetuar a manutenção das lâminas. Substitua ou afie apenas as lâminas, não as endireite ou solde.
Em máquinas multilâminas, esteja atento ao facto de que a rotação de uma lâmina pode provocar a rotação das restantes.
A unidade de corte vem configurada de fábrica com uma altura de corte de 5 cm e inclinação da lâmina de 7,9 mm. As alturas do lado esquerdo e direito também vêm previamente configuradas para estarem até ± 0,7 mm uma da outra.
A unidade de corte foi concebida para suportar os impactos da lâmina sem que a câmara seja danificada. Se uma lâmina bater num objeto sólido, verifique se esta ficou danificada e se a plaina continua em boas condições de funcionamento.
Retire o motor hidráulico da unidade de corte e retire a unidade de corte da máquina.
Utilize um guindaste (ou o mínimo de duas pessoas) e ponha a unidade de corte numa mesa plana.
Marque uma extremidade da lâmina com uma caneta ou um marcador. Utilize esta extremidade da lâmina para verificar todas as alturas.
Posicione a extremidade de corte da extremidade marcada da lâmina nas 12 horas (a direito na direção do corte) (Figura 95) e meça a altura da mesa à extremidade de corte da lâmina.

Rode a extremidade marcada da lâmina para as posições das 3 horas e das 9 horas (Figura 95) e meça as alturas.
Compare a altura medida no sentido das 12 horas com a definição da altura de corte. Deverá encontrar-se até 0,7 mm. As alturas das 3 horas e das 9 horas devem ser 1,6 a 6,0 mm mais altas do que a definição das 12 horas e até 2,2 mm uma da outra.
Se alguma destas medidas não se encontrar dentro do especificado, vá para Ajuste da plaina da lâmina.
Comece pelo ajuste na parte dianteira (mude um suporte de cada vez).
Retire o suporte da altura de corte (frente, esquerda ou direita) da estrutura da unidade de corte (Figura 96).
Ajuste os calços de 1,5 mm e/ou de 0,7 mm entre a estrutura da unidade de corte e o suporte para obter a definição de altura pretendida (Figura 96).

Instale o suporte da altura de corte na estrutura da unidade de corte com os instale os calços restantes debaixo do suporte da altura de corte.
Prenda o parafuso de cabeça de encaixe/espaçador e a porca flangeada.
Note: O parafuso de cabeça de encaixe e o espaçador são unidos com adesivo de roscas para evitar que o espaçador caia no interior da estrutura da unidade de corte.
Verifique a altura no sentido das 12 horas e faça os devidos ajustes, se necessário.
Determine se é necessário ajustar apenas um ou ambos os suportes da altura de corte (esquerdo e direito).
Note: Se o lado das 3 horas ou das 9 horas estiver 1,6 a 6,0 mm mais alto do que a nova altura dianteira, não é necessário qualquer ajuste para esse lado. Ajuste o outro lado para estar a ± 2,2 mm do lado correto.
Ajuste os suportes da altura de corte do lado direito e/ou esquerdo repetindo os passos 1 a 4.
Fixe os parafusos da carroçaria e porcas flangeadas.
Verifique as alturas nos sentidos das 12, 3 e 9 horas.
Substitua a lâmina se esta atingir um objeto sólido ou se se encontrar desequilibrada ou deformada. Utilize sempre lâminas sobressalentes genuínas Toro para garantir um desempenho seguro e eficaz.
Estacione a máquina numa superfície nivelada, eleve a unidade de corte para a posição de transporte, engate o travão de mão, desligue o motor e retire a chave da ignição.
Note: Bloqueie a unidade de corte para não cair acidentalmente.
Fixe a extremidade da lâmina utilizando um pedaço de tecido ou uma luva grossa.
Retire o parafuso da lâmina, o recipiente antidanos e lâmina do eixo (Figura 97).

Instale a lâmina, recipiente antidanos e parafuso da lâmina e aperte o parafuso da lâmina com 115 a 149 N·m.
Important: A parte curva da lâmina tem de estar virada para o interior da unidade de corte para assegurar uma boa capacidade de corte.
Note: Depois de bater num objeto estranho aperte todas as porcas das polias do veio com 115 a 149 N·m.
Tenha atenção a duas zonas quando inspecionar as lâminas do cortador: a parte curva e a parte cortante. Tanto as partes cortantes como a parte curva (parte virada para cima oposta à parte cortante) contribuem para uma boa qualidade de corte. A parte curva é importante, pois levanta a relva e permite obter um corte regular. No entanto, a parte curva está sujeita a um desgaste gradual durante o funcionamento da máquina. À medida que a parte curva se gasta, também diminui a qualidade do corte, embora as partes cortantes permaneçam afiadas. A parte cortante da lâmina deve manter-se afiada para que a relva seja cortada e não arrancada. Verifica-se uma parte cortante romba quando a relva apresenta extremidades acastanhadas e rasgadas. Afie a parte cortante para corrigir esta situação.
Estacione a máquina numa superfície nivelada, eleve a plataforma de corte, engate o travão de estacionamento, ponha o pedal de tração na posição PONTO MORTO, desloque a alavanca da tomada de força para a posição DESLIGAR, desligue o motor e retire a chave da ignição.
Examine cuidadosamente as extremidades da lâmina, prestando especial atenção à zona onde se encontram as partes curvas e planas da lâmina (Figura 98).
Note: A areia e os materiais abrasivos podem desgastar o metal entre as partes plana e curva da lâmina; por isso, verifique a lâmina antes de utilizar a máquina. Se verificar que esta zona se encontra desgastada (Figura 98), substitua a lâmina.

Inspecione as extremidades de corte de todas as lâminas e afie-as se apresentarem sinais de desgaste ou ranhuras (Figura 99).
Note: Afie apenas a zona superior da parte cortante e mantenha o ângulo de corte original para garantir um desempenho eficaz da lâmina (Figura 99). A lâmina manterá o equilíbrio se retirar a mesma quantidade de material de ambas as extremidades de corte.

Note: Retire as lâminas e afie-as num amolador: Após afiar a parte cortante, monte a lâmina com o dispositivo anti-danos e o parafuso da lâmina; consulte Desmontagem e montagem da(s) lâmina(s) da unidade de corte.
Desligue o motor, retire a chave e aguarde até que todo o movimento pare, antes de sair da posição de operação. Deixe a máquina arrefecer antes de a ajustar, lhe fazer a manutenção, limpar ou armazenar.
Nunca guarde a máquina ou o recipiente de combustível num local onde existam chamas abertas, faíscas ou luzes piloto, como junto de uma caldeira ou outros aparelhos.
Important: Não utilize água salobra ou recuperada para limpar a máquina.
Limpe bem a unidade de tração, unidades de corte e motor.
Verifique a pressão dos pneus. Encha todos os pneus de tração com 0,83 a 1,03 bar.
Verifique todos os dispositivos de fixação para ver se estão soltos e aperte-os conforme necessário.
Lubrifique todos os bocais de lubrificação e pontos de articulação. Limpe a massa lubrificante em excesso.
Lixe e retoque todas as zonas riscadas, estaladas ou enferrujadas. Efetue a reparação de todas as mossas existentes no corpo metálico.
Efetue a manutenção da bateria e dos cabos da seguinte forma:
Retire os terminais dos bornes da bateria.
Note: Desligue sempre o terminal negativo em primeiro lugar e o terminal positivo no final. Ligue sempre o terminal positivo em primeiro lugar e o terminal negativo no final.
Limpe a bateria, terminais e polos com uma escova de arame e uma solução de bicarbonato de sódio.
Cubra os terminais do cabo e os pólos da bateria com lubrificante Grafo 112X (peça nº 505-47) ou vaselina para evitar qualquer corrosão.
Carregue a bateria lentamente durante 24 horas, de 2 em 2 meses, para evitar a sulfatização do chumbo da bateria.
Drene o óleo do motor do recipiente e coloque o tampão de escoamento.
Retire o filtro do óleo. Coloque um novo filtro de óleo.
Encha o cárter do óleo com a quantidade designada de óleo do motor.
Rode a chave para a posição LIGAR, ligue o motor e faça-o funcionar ao ralenti durante aproximadamente dois minutos.
Rode a chave para a posição DESLIGAR.
Drene completamente todo o combustível do depósito de combustível, tubos e conjunto do separador do filtro de combustível/água.
Lave o depósito de combustível com gasóleo novo e limpo.
Aperte todas as uniões do sistema de combustível.
Limpe e efetue a manutenção da estrutura do filtro de ar.
Vede a entrada do filtro de ar e a saída de gases com fita impermeável.
Verifique a proteção anticongelante e adicione conforme necessário para a temperatura mínima prevista para a zona.
Se as unidades de corte forem separadas da unidade de tração durante algum tempo, instale o bujão do eixo na parte superior do próprio eixo para protegê-lo de poeiras e da água.
