| Underhållsintervall | Underhållsförfarande |
|---|---|
| Varje användning eller dagligen |
|
Maskinen är en åkgräsklippare med roterande knivar som är avsedd att användas av yrkesförare som har anlitats för kommersiellt arbete. Den är primärt konstruerad för att klippa gräs på väl underhållna parkgräsmattor, sportanläggningar och kommersiella anläggningar. Det kan medföra fara för dig och kringstående om maskinen används i andra syften än vad som avsetts.
Läs den här informationen noga så att du lär dig att använda och underhålla produkten på rätt sätt och för att undvika person- och produktskador. Du är ansvarig för att produkten används på ett korrekt och säkert sätt.
Besök www.Toro.com om du behöver utbildningsmaterial för säkerhet och drift, information om tillbehör, hjälp med att hitta en återförsäljare eller om du vill registrera din produkt.
Kontakta en auktoriserad återförsäljare eller Toros kundservice och ha produktens modell- och artikelnummer till hands om du har behov av service, Toro-originaldelar eller ytterligare information. Figur 1 visar var på produkten modell- och serienumren sitter. Skriv numren i det tomma utrymmet.
Important: Skanna rutkoden på serienummerdekalen (i förekommande fall) med en mobil enhet för att få tillgång till information om garanti, reservdelar och annat.

I den här bruksanvisningen anges potentiella risker och alla säkerhetsmeddelanden har markerats med en varningssymbol (Figur 2), som anger fara som kan leda till allvarliga personskador eller dödsfall om föreskrifterna inte följs.

Två ord används också i den här bruksanvisningen för att markera information. Viktigt anger speciell teknisk information och Observera anger allmän information som bör ges särskild uppmärksamhet.
Produkten uppfyller alla relevanta europeiska direktiv. Mer information finns i produktens separata försäkran om överensstämmelse.
Det är ett brott mot avsnitt 4442 eller 4443 i Kaliforniens Public Resource Code att använda eller köra motorn på skogs-, busk- eller grästäckt mark om motorn inte är utrustad med en gnistsläckare som är i fullgott skick, vilket anges i avsnitt 4442, eller utan att motorn är konstruerad, utrustad och underhållen för att förhindra brand.
Den bifogade bruksanvisningen till motorn tillhandahålls för information om den amerikanska miljömyndigheten EPA:s (US Environmental Protection Agency) och Kaliforniens lagstiftning om utsläppskontroll för emissionssystem, underhåll och garanti. Extra bruksanvisningar kan beställas från motortillverkaren.
KALIFORNIEN
Proposition 65 Varning
Avgaserna från dieselmotorer och vissa avgaskomponenter innehåller ämnen som av den amerikanska delstaten Kalifornien anses orsaka cancer, fosterskador och andra fortplantningsskador.
Batteripoler och kabelanslutningar med tillbehör innehåller bly och blyföreningar, kemikalier som den amerikanska delstaten Kalifornien anser kan orsaka cancer och fortplantningsskador. Tvätta händerna efter hantering.
Användning av produkten kan orsaka kemikalieexponering som av den amerikanska delstaten Kalifornien anses orsaka cancer, fosterskador och andra fortplantningsskador.
Maskinen kan slita av händer och fötter och kasta omkring föremål. Följ alltid alla säkerhetsanvisningar för att undvika allvarliga personskador.
Läs och se till att du har förstått innehållet i den här bruksanvisningen innan du startar motorn.
Var fullt koncentrerad på maskinen när du använder den. Delta inte i aktiviteter som kan distrahera dig, eftersom personskador eller skador på egendom då kan uppstå.
Kör endast maskinen om skydd och andra säkerhetsanordningar sitter på plats och fungerar.
Håll händer och fötter borta från rörliga delar. Håll avstånd till utkastaröppningen.
Håll kringstående och barn borta från arbetsområdet. Låt aldrig barn använda maskinen.
Stäng av motorn, ta ut nyckeln och vänta tills alla rörliga delar har stannat innan du kliver ur förarsätet. Låt maskinen svalna innan du utför service, justerar, rengör eller ställer den i förvar.
Felaktigt bruk eller underhåll av maskinen kan leda till
personskador. För att minska risken för skador ska du alltid
följa säkerhetsanvisningarna och uppmärksamma varningssymbolen
. Symbolen betyder Var försiktig,
Varning eller Fara – anvisning om personsäkerhet. Underlåtenhet
att följa anvisningarna kan leda till personskador eller dödsfall.
![]() |
Säkerhetsdekalerna och anvisningarna är fullt synliga för föraren och finns nära alla potentiella farozoner. Ersätt dekaler som har skadats eller saknas. |





















Fästs över artikelnr 112-5297 för CE* på maskiner i 4500-serien (Modellnr 30885)

Fästs över artikelnr 112-5297 för CE* på maskiner i 4700-serien (Modellnr 30887)

Note: Vänster och höger sida på maskinen är lika med förarens vänstra respektive högra sida vid normal körning.
Delar som behövs till detta steg:
| Varningsdekal | 1 |
| CE-dekal | 1 |
| Dekal med uppgift om tillverkningsår | 1 |
På maskiner som kräver CE-överensstämmelse ska du byta ut varningsdekalen (127-6647 [för modell 30885] eller 127-6648 [för modell 30887]), CE-dekalen och dekalen med tillverkningsår (Figur 3).

Delar som behövs till detta steg:
| Motorhuvslåsfäste | 1 |
| Nit | 2 |
| Bricka | 1 |
| Skruv (¼ x 2 tum) | 1 |
| Låsmutter (¼ tum) | 1 |
Kroka av motorhuvsspärren från dess fäste.
Ta bort de två nitarna som fäster motorhuvslåsfästet på motorhuven (Figur 4).

Kroka av motorhuvslåsfästet på motorhuven.
Placera CE-låsfästet och motorhuvslåsfästet på motorhuven när du passar in monteringshålen (Figur 5).
Note: Låsfästet måste ligga mot motorhuven. Ta inte bort skruven och muttern från låsfästets arm.

Rikta in brickorna mot hålen på motorhuvens insida.
Nita fast fästena och brickorna på motorhuven (Figur 5).
Kroka fast spärren på motorhuvslåsfästet (Figur 6).

Montera skruven i den andra armen på motorhuvslåsfästet för att låsa spärren på plats (Figur 7). Dra åt skruven ordentligt, men dra inte åt muttern.

Den bakre rullskrapan (tillval) fungerar bäst när det finns ett jämnt mellanrum på 0,5–1 mm mellan skrapan och rullen.
Lossa smörjnippeln och monteringsskruven (Figur 8).

Skjut skrapan uppåt eller nedåt tills du får ett mellanrum på 0,5–1 mm mellan stången och rullen.
Dra åt smörjnippeln och skruven växelvis till ett moment på 41 Nm.
Kontakta din auktoriserade Toro-återförsäljare för rätt samlarskärm.
Rengör monteringshålen på bakpanelen och kammarens vänstra vägg noga.
Montera samlarskärmen i den bakre öppningen och fäst den med fem huvudskruvar med fläns (Figur 9).

Se till att samlarskärmen inte stör knivspetsen och inte går in innanför den bakre kammarens vägg.
Om höglyftskniven används tillsammans med samlarskärmen kan kniven gå sönder, vilket kan leda till personskador eller dödsfall.
Använd inte höglyftskniven tillsammans med skärmen.
Parkera maskinen på en plan yta.
För Groundsmaster 4500- och 4700-maskiner ska du lossa klippenhetskablarna nr 4 och nr 5 (Figur 39).
För Groundsmaster 4700-maskiner ska du lossa klippenhetsspärrarna nr 6 och nr 7 (Figur 42).
Sänk klippenheterna.
Koppla in parkeringsbromsen.
Stäng av motorn och ta ut nyckeln.
Kontrollera däcktrycket före användning. Se Kontrollera däcktrycket.
Important: Se till att ha rätt tryck i alla däck så att du får en bra klippkvalitet och maskinen fungerar som den ska. Däcken får inte vara för löst pumpade.
Kontrollera även oljenivån i bakaxeln innan du startar motorn för första gången. Se Kontrollera oljan i bakaxeln.
Kontrollera oljenivån innan och efter att motorn startas. Se Kontrollera oljenivån i motorn.
Kontrollera hydraulvätskenivån innan du startar motorn. Se Kontrollera hydraulvätskenivån.
Kontrollera kylsystemet innan du startar motorn. Se Kontrollera kylsystemet.
Smörj maskinen före användning. Se Smörja lager och bussningar.
Important: Om du inte smörjer maskinen på rätt sätt kommer viktiga komponenter att gå sönder i förtid.

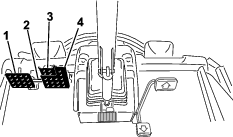
Gaspedalen (Figur 10) reglerar körning framåt och bakåt. Tryck ned pedalens övre del för att köra framåt och dess undre del för att backa. När klippenheterna är helt upphöjda styr pedalen motorvarvtalet och hjuldrivningshastigheten som på en bil.
Note: Vid nödbromsning ska du ta bort foten från gaspedalen och sedan trycka ner bromspedalerna. Detta är det snabbaste sättet att stanna maskinen.
De finns två fotpedaler som styr separata hjulbromsar och gör det lättare att svänga, parkera och köra i backar. En låspinne kopplar ihop pedalerna vid parkeringsbromsning och transport (Figur 10).
Pedallåsspärren kopplar samman pedalerna så att parkeringsbromsen kan läggas i (Figur 10).
Om du vill luta ratten mot dig ska du trampa ned fotpedalen och dra ratten mot dig så att du får en bekväm körposition, och sedan släppa upp pedalen (Figur 10). Om du vill flytta ratten bort från dig ska du trampa ned fotpedalen och släppa upp den när ratten nått önskat arbetsläge.
Koppla in parkeringsbromsen (Figur 10) genom att koppla ihop pedalerna med hjälp av pedallåsspärren och trampa ned den högra bromspedalen samtidigt som du ansätter fotpedalen. Koppla ur parkeringsbromsen genom att trampa ned en av bromspedalerna tills parkeringsbromsspärren lossas.
Tändningslåset (Figur 11) har tre lägen: AV, På/FöRVäRMNING och START.

Kraftuttagsbrytaren har två lägen: UTDRAGEN (INKOPPLAD) och INTRYCKT (URKOPPLAD). Dra ut kraftuttagsbrytaren för att aktivera klippenhetens knivar. Tryck in knappen för att koppla ur klippenhetens knivar (Figur 11).
Denna växelväljare (Figur 11) styr maskinens 2 hastighetsintervall: högt och lågt.
Välj H/L AUTO-position för att låta maskinen automatiskt välja hög eller låg hastighet.
Välj LåG position för att manuellt åsidosätta till låg hastighet.
Du kan när som helst ändra växelpositionen, men maskinen kommer endast att växla mellan hastighetsintervall när gaspedalen är i neutralläge och maskinen står stilla.
Note: För att gå till hög hastighet i H/L AUTO-läge ska kraftuttaget kopplas från och klippenheterna lyftas upp helt.
Note: Om du har växelväljaren i H/L AUTO-läge kan du inte sänka däcken från helt upphöjt läge såvida inte gaspedalen är i neutralläge och maskinen står stilla.
Omkopplaren för farthållaren låser farthållaren så att önskad hastighet bibehålls (Figur 12). Om du trycker baktill på omkopplaren stängs farthållaren av, om omkopplaren är i mittläget aktiveras farthållaren och om du trycker framtill på omkopplaren ställs den önskade hastigheten in.
När du aktiverat farthållaren kan du ändra hastigheten via InfoCenter (Figur 34).

Med lyftbrytarna kan du höja och sänka klippenheterna (Figur 11). Tryck brytarna framåt för att sänka ned klippenheterna och bakåt för att höja upp dem. När du startar maskinen med klippenheterna i det nedre läget ska du trycka ned lyftbrytaren så att klippenheterna kan flyta och klippa.
Note: Det går inte att sänka klippenheterna i det höga hastighetsläget, och det går varken att höja eller sänka dem om du inte sitter i sätet. Klippenheterna sänks när nyckeln är i läget På och du sitter i sätet.
Tryck ljusomkopplaren uppåt för att slå På lamporna (Figur 11).
Tryck ljusomkopplaren nedåt för att stänga AV lamporna.
Använd eluttaget (Figur 13) för att driva extra elutrustning på 12V.

Använd påshållaren för förvaring (Figur 13).
För spaken på sidan om sätet utåt, skjut sätet till önskat läge och släpp sedan spaken för att låsa sätet i det läget (Figur 14).

Vrid på ratten för att justera armstödets vinkel (Figur 14).
Flytta spaken för att justera ryggstödets vinkel (Figur 14).
Viktmätaren anger när sätet har anpassats efter förarens vikt (Figur 14). Justera höjden genom att ställa in fjädringen i det gröna området.
Använd denna spak för att anpassa sätet efter din vikt (Figur 14). Dra upp spaken för att öka lufttrycket och tryck ner spaken för att minska lufttrycket. Sätet är korrekt justerat när viktmätaren är i det gröna området.
På LCD-skärmen InfoCenter (Figur 11) visas information om maskinen, till exempel driftstatus, diagnostik och övrig information om maskinen.
Vilka skärmar som visas beror på vilka knappar du väljer. Knapparnas funktioner kan ändras beroende på omständigheterna.

| Beskrivning | 4500-D | Figur 15referens | 4700-D | Figur 15 – referens | |
|---|---|---|---|---|---|
| Klippbredd | 280 cm | D | 380 cm | F | |
| Total bredd | |||||
| Med sänkta klippenheter | 286 cm | E | 391 cm | G | |
| Med upphöjda klippenheter (transport) | 224 cm | A | 224 cm | A | |
| Bandbredd | |||||
| Fram | 224 cm | B | 224 cm | B | |
| Bakre | 141 cm | M | 141 cm | M | |
| Höjd med vältskydd | |||||
| Upphöjd | 226 cm | C | 226 cm | C | |
| Nedsänkt | 165 cm | 165 cm | |||
| Total längd | |||||
| Med sänkta klippenheter | 370 cm | H | 370 cm | H | |
| Med upphöjda klippenheter (transport) | 370 cm | L | 370 cm | L | |
| Markfrigång | 15 cm | 15 cm | |||
| Hjulbas | 171 cm | K | 171 cm | K | |
| Nettovikt | 1 937 kg | 2 277 kg | |||
| (med klippenheter och utan bränsle) | |||||
Note: Specifikationer och utformning kan ändras utan föregående meddelande.
| Längd | 86,4 cm |
| Bredd | 86,4 cm |
| Höjd | 24,4 cm till bärramsfästet |
| 26,7 cm vid 19 mm klipphöjd | |
| 34,9 cm vid 102 mm klipphöjd | |
| Vikt | 88 kg |
Det finns ett urval av godkända Toro-redskap och -tillbehör som du kan använda för att förbättra och utöka maskinens kapacitet. Kontakta en auktoriserad serviceverkstad eller Toro-återförsäljare eller gå till www.Toro.com för att se en lista över alla godkända redskap och tillbehör.
Använd endast Toros originalreservdelar och tillbehör. Det kan vara farligt att använda reservdelar och tillbehör från andra tillverkare och det kan göra produktgarantin ogiltig.
Note: Vänster och höger sida på maskinen är lika med förarens vänstra respektive högra sida vid normal körning.
Låt aldrig barn eller någon som inte har fått utbildning använda eller utföra underhåll på maskinen. Lokala föreskrifter kan begränsa förarens ålder. Det är ägaren som ansvarar för att utbilda alla förare och mekaniker.
Lär dig hur du använder utrustningen på ett säkert sätt och bekanta dig med manöverorgan och säkerhetsskyltar.
Stäng av motorn, ta ut nyckeln och vänta tills alla rörliga delar har stannat innan du kliver ur förarsätet. Låt maskinen svalna innan du utför service, justerar, rengör eller ställer den i förvar.
Lär dig att stanna maskinen och stänga av motorn snabbt.
Kontrollera att förarkontroller, säkerhetsbrytare och skydd sitter fast och fungerar som de ska. Kör inte maskinen om dessa inte fungerar som de ska.
Före klippning ska du alltid kontrollera att knivarna, knivbultarna och klippenheterna är i gott fungerande skick. Byt ut slitna eller skadade knivar och skruvar i satser så att balanseringen bibehålls.
Inspektera området där maskinen ska användas och ta bort föremål som maskinen kan slunga iväg.
Denna produkt genererar ett elektromagnetiskt fält. Om du använder en implanterbar elektronisk medicinteknisk produkt ska du kontakta din vårdgivare innan du använder den här produkten.
Var ytterst försiktig när du hanterar bränsle. Det är brandfarligt och dess ångor är explosiva.
Släck alla cigaretter, cigarrer, pipor och allt annat som brinner.
Använd endast en godkänd bränsledunk.
Ta inte bort tanklocket och fyll inte på bränsle i bränsletanken medan motorn är igång eller fortfarande är varm.
Fyll inte på eller tappa ut bränsle från maskinen i ett slutet utrymme.
Förvara inte maskinen eller bränslebehållaren i närheten av en öppen låga, gnista eller tändlåga, t.ex. nära en varmvattenberedare eller någon annan utrustning.
Om du spiller ut bränsle ska du inte försöka starta motorn. Undvik att skapa några gnistor tills bränsleångorna har skingrats.
Innan du startar motorn och använder maskinen ska du kontrollera oljenivån i motorns vevhus. Se Kontrollera oljenivån i motorn.
Innan du startar motorn och börjar använda maskinen bör du kontrollera kylsystemet; se Kontrollera kylsystemet.
Innan du startar motorn och börjar använda maskinen bör du kontrollera hydraulsystemet; se Kontrollera hydraulvätskenivån.
Töm ut vatten eller andra föroreningar från vattenseparatorn. Se Tömma bränsle-/vattenseparatorn på vatten.
Kontrollera att bakaxeln och bakaxelväxellådan inte läcker. Se Kontrollera att bakaxeln och växellådan inte läcker.
Bränsletankens kapacitet: 83 liter
Important: Använd endast dieselbränsle med mycket låg svavelhalt. Bränsle med högre svavelhalt försämrar dieseloxideringskatalysatorn (DOC), vilket orsakar funktionsproblem och förkortar livslängden på motorkomponenterna.Underlåtenhet att följa nedanstående försiktighetsåtgärder kan skada motorn.
Använd aldrig fotogen eller bensin istället för dieselbränsle.
Blanda aldrig fotogen eller använd motorolja med dieselbränslet.
Förvara aldrig bränsle i behållare med zinkplätering på insidan.
Använd inte bränsletillsatser.
Cetantal: 45 eller högre
Svavelhalt: mycket låg svavelhalt (< 15 ppm)
| Specifikationer för dieselbränsle | Plats |
| ASTM D975 | USA |
| Nr 1-D S15 | |
| Nr 2-D S15 | |
| EN 590 | EU |
| ISO 8217 DMX | Internationell |
| JIS K2204 klass nr 2 | Japan |
| KSM-2610 | Korea |
Använd endast ren, färsk diesel eller biogasbränslen.
Köp inte mer bränsle än vad som går åt inom 180 dagar så att det garanterat är färskt.
Använd diesel för sommarbruk (nr 2-D) vid temperaturer över −7 °C och bränsle för vinterbruk (nr 1-D eller en blandning av nr 1-D/2-D) under −7 °C.
Note: Användning av bränsle för vinterbruk vid lägre temperaturer ger lägre flampunkts- och flytpunktsegenskaper, vilket gör att maskinen startar lättare och att inte bränslefiltret sätts igen i lika hög grad.Om diesel för sommarbruk används vid temperaturer över −7 °C bidrar det till att pumpen håller längre och har större effekt jämfört med bränsle för vinterbruk.
Maskinen kan också använda ett biodieselbränsle, upp till B20 (20 % biodiesel, 80 % petrodiesel).
Svavelhalt: mycket låg svavelhalt (< 15 ppm)
Specifikation för biodieselbränsle: ASTM D6751 eller SS-EN 14214
Specifikation för blandat bränsle: ASTM D975, SS-EN 590 eller JIS K2204
Important: Petroleumdieselandelens svavelhalt måste vara mycket låg.
Vidta följande säkerhetsåtgärder:
Biodieselblandningar kan skada målade ytor.
Använd B5 (andel biodiesel är 5 %) eller blandningar med mindre biodieselandel vid kallt väder.
Kontrollera tätningar, slangar och packningar som kommer i kontakt med bränsle, eftersom de kan försämras över tiden.
Vid byte till biodieselblandningar kan bränslefiltret sättas igen i början.
Kontakta en auktoriserad Toro-återförsäljare för mer information om biodieselbränsle.


Fyll på tanken med dieselbränsle (nr 2-D) till ungefär 6–13 mm under tankens, inte påfyllningsrörets, övre kant.
Note: Fyll om möjligt på tanken varje gång maskinen har använts. Detta minskar eventuell ansamling av kondens i bränsletanken.
| Underhållsintervall | Underhållsförfarande |
|---|---|
| Varje användning eller dagligen |
|
Lufttrycket i däcken ska vara 1,38 bar.
Important: Upprätthåll rekommenderat tryck i alla däck för att få god klippkvalitet och korrekt maskindrift. Däcken får inte vara för löst pumpade.Kontrollera lufttrycket i samtliga däck innan du kör maskinen.

| Underhållsintervall | Underhållsförfarande |
|---|---|
| Efter den första timmen |
|
| Efter de första 10 timmarna |
|
| Var 200:e timme |
|
Dra åt hjulmuttrarna till 115–136 Nm i den ordning som visas i Figur 18 och Figur 19.


Om hjulmuttrarna inte dras åt med korrekt åtdragningsmoment kan det leda till personskador.
Dra åt hjulmuttrarna till rätt momentvärde.
Undvik vältolyckor som kan leda till livshotande personskador genom att hålla vältskyddet i upprätt låst läge och använda säkerhetsbältet.
Kontrollera att sätesspärren håller sätet på plats.
Det finns inget vältskydd om störtbågen är nedfälld.
Kör inte maskinen på ojämn mark eller i en sluttning med störtbågen nedfälld.
Fäll inte ned störtbågen om det inte är absolut nödvändigt.
Använd inte säkerhetsbältet om störtbågen är nedfälld.
Kör långsamt och försiktigt.
Fäll upp störtbågen så snart som det finns tillräckligt med utrymme.
Var mycket uppmärksam på utrymmen ovanför dig (dvs. grenar, dörrar, elektriska sladdar) innan du kör under ett föremål och vidrör dem inte.
Important: Använd alltid säkerhetsbältet när störtbågen är i det uppfällda och låsta läget. Använd inte säkerhetsbälte när störtbågen är nedsänkt.
Important: Fäll endast ned störtbågen om det är absolut nödvändigt.
Important: Kontrollera att sätesspärren håller sätet på plats.


Important: Roterande klippenheter klipper ofta cirka 6 mm lägre än en cylinderklippenhet med samma bänkinställning. Bänken på roterande klippenheter kan behöva ställas in 6 mm högre än cylinderklippenheterna som klipper i samma område.
Important: Det går mycket lättare att komma åt de bakre klippenheterna om klippenheten tas bort från maskinen.
Ställ maskinen på ett plant underlag, koppla in parkeringsbromsen, sänk ned klippenheten till marken, stäng av motorn och ta ut nyckeln.
Lossa den skruv som fäster respektive klipphöjdsfäste på klipphöjdsplattan (längst fram och på vardera sidan) (Figur 22).
Ta bort bulten och börja med att justera framdelen.

Ta bort distansbrickan samtidigt som du stöttar kammaren (Figur 22)
Flytta kammaren till önskad klipphöjd och montera distansbrickan i avsett klipphöjdshål och -spår (Figur 23).

Placera den gängade plattan i linje med distansbrickan.
Montera skruven för hand.
Upprepa steg 4 till 7 för justering av vardera sidan.
Dra åt alla tre skruvarna till 41 Nm. Dra alltid åt den främre bulten först.
Note: Vid justeringar på mer än 3,8 cm kan det behövas en tillfällig montering i mellanliggande höjd för att undvika att det kärvar (t.ex. om klipphöjden ändras från 3,1 cm till 7 cm).
| Underhållsintervall | Underhållsförfarande |
|---|---|
| Varje användning eller dagligen |
|
Om säkerhetsbrytarna är frånkopplade eller skadade kan maskinen plötsligt gå igång, vilket i sin tur kan leda till personskador.
Gör inga otillåtna ändringar på säkerhetsbrytarna.
Kontrollera säkerhetsbrytarnas funktion dagligen och byt ut eventuella skadade brytare innan du kör maskinen.
Säkerhetsbrytarna är utformade så att de stänger av maskinen om du lämnar sätet samtidigt som gaspedalen är nedtryckt. Du kan dock resa dig från sätet medan motorn är igång om gaspedalen är i NEUTRALLäGET. Även om motorn fortsätter att vara igång när kraftuttagsbrytaren har kopplats ur och gaspedalen är uppsläppt måste du stänga av motorn innan du lämnar sätet.
Parkera maskinen på ett plant underlag, koppla in parkeringsbromsen, sänk ned klippenheterna och vrid nyckeln till läget AV.
Tryck ned bromspedalen och vrid nyckeln till läget På.
Note: Om motorn dras runt är det fel på säkerhetssystemet. Åtgärda felet innan maskinen används.
Vrid nyckeln till läget På, res dig från sätet och för kraftuttagsbrytaren till På.
Note: Kraftuttaget ska inte starta. Om kraftuttaget ändå startar är det fel på säkerhetssystemet. Åtgärda felet innan maskinen används.
Koppla in parkeringsbromsen, vrid nyckeln till läget På och för gaspedalen från NEUTRALLäGET.
Note: InfoCenter visar ”traction denied” (hjuldrivning nekas) och maskinen bör inte röra sig. Om maskinen ändå rör sig är det fel på säkerhetssystemet. Åtgärda felet innan maskinen används.
| Underhållsintervall | Underhållsförfarande |
|---|---|
| Varje användning eller dagligen |
|
Note: Sänk ned klippenheterna på en ren gräsmatta eller hård yta för att undvika att damm och skräp kastas omkring.
För att kontrollera stopptiden ska du sätta dig på sätet och koppla ur kraftuttaget. Lyssna på knivarna som roterar och notera hur lång tid det tar för knivarna att stanna helt. Om det tar längre än sju sekunder behöver bromsventilen justeras. Kontakta din auktoriserade Toro-återförsäljare för att få hjälp med att utföra denna justering.
Denna kniv har konstruerats för att tillhandahålla utmärkt lyft och utkastning under de flesta förhållanden. Använd en annan kniv om högre eller lägre lyft och snabbare eller långsammare utkastarhastighet behövs.
Egenskaper: utmärkt lyft och utkastning under de flesta förhållanden
Kniven fungerar vanligen bäst vid lägre klipphöjder (1,9–6,4 cm).
Egenskaper:
Utkastningen blir jämnare vid lägre klipphöjder.
Utkastarens tendens att kasta åt vänster minskar, vilket gör att klippta områden runt bunkrar och fairways ser snyggare ut.
Lägre effektbehov vid låga höjder och tätt gräs.
Kniven fungerar vanligen bättre vid högre klipphöjder (7–10 cm).
Egenskaper:
Högre lyft och snabbare utkastning
Gles eller mycket mjuk gräsmatta klipps betydligt bättre vid högre klipphöjder
Effektivare utkastning av vått eller klibbigt gräs, vilket minskar anhopningen i klippenheten.
Kräver fler hästkrafter för att kunna användas
Tenderar att kasta ut längre åt vänster, och kan även ha en tendens att bilda torvsträngar vid lägre klipphöjder
Om en höglyftskniv används tillsammans med samlarskärmen kan kniven gå sönder, vilket kan leda till personskador eller dödsfall.
Använd inte höglyftskniven tillsammans med samlarskärmen.
Kniven har utformats för att tillhandahålla utmärkt lövkompostering.
Egenskap: Utmärkt lövkompostering
| Kniv med vinklat segel | Höglyftskniv med parallellt segel(Får ej användas tillsammans med samlarskärmen) | Samlarskärm | Rullskrapa | |
| Gräsklippning: 1,9–4,4 cm klipphöjd | Rekommenderas för de flesta tillämpningar | Kan fungera väl i lätt eller glest gräs | Har visat sig förbättra spridningen och resultatet efter klippning när det gäller gräs i nordligare klimat som klipps minst tre gånger i veckan och där mindre än en tredjedel av grässtrået avlägsnas. Får ej användas tillsammans med höglyftskniven med parallellt segel | Använd den närhelst gräs ansamlas på rullarna eller stora platta gräsklumpar upptäcks. Skraporna kan ibland öka ihopklumpningen. |
| Gräsklippning: 5–6,4 cm klipphöjd | Rekommenderas för tjockt eller frodigt gräs | Rekommenderas för lätt eller glest gräs | ||
| Gräsklippning: 7–10 cm klipphöjd | Kan fungera väl i frodigt gräs | Rekommenderas för de flesta tillämpningar | ||
| Lövkompostering | Rekommenderas för användning tillsammans med samlarskärmen | Får ej användas | Endast för användning med kombinationssegel, Atomic-kniv eller vinklat segel | |
| Fördelar | Jämn utkastning vid lägre klipphöjder; ger ett snyggare resultat runt bunkrar och fairways; lägre effektbehov | Högre lyft och snabbare utkastning. Gles eller mycket mjuk gräsmatta klipps vid högre klipphöjder. Vått eller klibbigt gräs kastas ut på ett effektivt sätt | Kan förbättra spridningen och resultatet vid vissa typer av tillämpningar. Mycket bra för lövkompostering | Minskar ansamlingen på rullarna vid vissa tillämpningar. |
| Nackdelar | Lyfter inte gräset särskilt bra vid höga klipphöjder. Vått eller klibbigt gräs tenderar att ansamlas i kammaren, vilket leder till ett dåligt klippresultat och högre effektbehov. | Kräver mer effekt för att kunna köras vid vissa tillämpningar. Har en tendens att bilda torvsträngar vid lägre klipphöjder i frodigt gräs. Får ej användas tillsammans med samlarskärmen. | Om du försöker klippa alltför mycket gräs med skärmen på kommer gräs att ansamlas i kammaren |
På displayen visas information om maskinen, till exempel driftsstatus, diagnosinformation och övrig information om maskinen. Det finns flera skärmar i InfoCenter-skärmen. Du kan växla mellan skärmarna när som helst genom att trycka på någon av skärmknapparna och sedan välja önskad riktningspil.

Note: Varje knapps funktion kan ändras beroende på vad tillfället kräver. Vid varje knapp visas en ikon som förklarar den aktuella funktionen.
![]() | Timmätare |
![]() | Inställningar för virtuellt pedalstopp |
![]() | Föraren måste sitta på sätet. |
![]() | Parkeringsbromsen är åtdragen. |
![]() | Motorns kylvätsketemperatur (°C eller °F) |
![]() | Hjuldrivning eller gaspedal |
![]() | Farthållaren är aktiverad. |
![]() | Begäran om återställnings-/standbyregenerering |
| Förfrågan om parkerad regenerering eller återhämtningsregenerering | |
![]() | En parkerad regenerering eller en återhämtningsregenerering pågår. |
![]() | Hög avgastemperatur |
![]() | Fel i Nox-kontrolldiagnos. Kör tillbaka maskinen till verkstaden och kontakta en auktoriserad Toro-återförsäljare (programvaruversion U eller senare). |
![]() | Kraftuttaget är inaktiverat. |
![]() | Kraftuttaget är inkopplat. |
![]() | Batteri |
![]() | Varning |
![]() | Aktiv |
![]() | Inaktiv |
![]() | Föregående |
![]() | Nästa |
![]() | Öka |
![]() | Minska |
![]() | Föregående skärm |
![]() | Nästa skärm |
![]() | Öka värdet |
![]() | Minska värdet |
![]() | Meny |
![]() | Bläddra uppåt/nedåt |
![]() | Bläddra åt vänster/höger |
![]() | Hydraulvätsketemperatur (°C eller °F) |
![]() | Snabb eller hög räckvidd (transport) |
![]() | Långsam eller låg räckvidd (klippning) |
![]() | Fläkt (omvändning av fläkt) |
![]() | Alla klippenheter upp |
![]() | Alla klippenheter ner |
![]() | Mittklippenheter upp |
![]() | Mittklippenheter ner |
![]() | Vänster klippenheter upp |
![]() | Vänster klippenheter ner |
![]() | Höger klippenheter upp |
![]() | Höger klippenheter ner |
![]() | Låst |
Endast
tillgänglig med PIN-kod
Tryck på menyåtkomstknappen i huvudskärmen för att få åtkomst till InfoCenters menysystem. Då kommer du till huvudmenyn. Se följande tabeller för en sammanfattning av vilka alternativ som finns tillgängliga från menyerna:
| Huvudmeny – menyobjekt | Beskrivning |
| Fel | Felmenyn innehåller en lista med de senaste maskinfelen som uppstått. Läs servicehandboken eller kontakta en auktoriserad Toro-återförsäljare för mer information om felmenyn och den information som finns där. |
| Service | Servicemenyn innehåller information om maskinen som t.ex. antal brukstimmar och andra liknande siffror. |
| Diagnostik | Diagnostikmenyn visar statusen för alla brytare, givare och styruteffekt på maskinen. Du kan använda den här menyn för att felsöka vissa problem och snabbt se vilka maskinreglage som är På och vilka som är AV. |
| Inställningar | Med hjälp av inställningsmenyn kan du anpassa och ändra konfigurationsvariabler på skärmen. |
| Maskininställningar | Med hjälp av menyn maskininställningar kan du justera tröskelvärdena för acceleration, hastighet och motvikt. |
| Om | I menyn Om står maskinens modellnummer, artikelnummer och programvaruversion. |
| Service – menyobjekt | Beskrivning |
| Hours | Anger det totala antal timmar som maskinen, motorn och kraftuttaget har varit på samt antalet timmar som maskinen har transporterats och när det är dags för service. |
| Counts | Anger händelser som har inträffat i maskinen. |
Gaspedal![]() | |
Hjuldrivningspump![]() | |
| Fläkt | Visar om fläkten är aktiv i följande fall: hög temperatur i motorn, hög temperatur för oljan, hög motor- eller hydraultemperatur och fläkt på |
| Bränsleförbrukning | Visar hur mycket bränsle som förbrukas. |
| DPF-regenerering | Alternativ för regenerering av dieselpartikelfiltret och undermenyer för det |
| Diagnostik – menyobjekt | Beskrivning |
| Vänster klippenhet | Läs servicehandboken eller kontakta en auktoriserad Toro-återförsäljare för mer information om menyn Motor – Kör och informationen som finns där. |
| Mittklippenhet | |
| Höger klippenhet | |
| Hjuldrivning | |
| Högt/lågt område | |
| Krafttuttag | |
| Motor | |
CAN-statistik![]() |
| Inställningar – menyobjekt | Beskrivning |
| Ange PIN-kod | Med en PIN-kod kan en person (arbetsledare/mekaniker) som har godkänts av företaget få åtkomst till låsta menyer. |
| Bakgrundsbelysning | Styr LCD-skärmens ljusstyrka. |
| Språk | Styr språken som används på InfoCenter*. |
| Teckenstorlek | Styr storleken på teckensnittet på skärmen. |
| Enheter | Styr vilka enheter som används på InfoCenter (brittiska eller metriska). |
Låsta menyer![]() | Med en PIN-kod kan en person som har godkänts av företaget få åtkomst till låsta menyer |
Lås inställn.![]() | Gör att du kan ändra de låsta inställningarna. |
Note: Menyn Maskininställningar visas endast när PIN-koden har angetts.
Maskininställningar – menyobjekt![]() | Beskrivning |
Klipphastighet ![]() | Styr den maximala hastigheten under klippning (lågt område) |
Trans. Hastighet ![]() | Styr den maximala hastigheten under transport (högt område) |
Smart Power ![]() | Aktiverar/inaktiverar Smart Power |
Motvikt ![]() | Styr hur mycket motvikt som klippenheterna tillämpar |
Vändläge ![]() | Aktiverar/inaktiverar vändläge |
Acceleration ![]() | Inställningarna Låg, Medelhög och Hög styr hur snabbt drivningshastigheten reagerar när du flyttar gaspedalen. |
Låst
under Låsta menyer – endast tillgänglig med PIN-kod
| Om – menyobjekt | Beskrivning |
| Modell | Visar maskinens modellnummer. |
| Art.nr | Visar maskinens artikelnummer. |
| Maskinstyrenhetens versionsnummer | Visar versionsnumret för masterstyrenheten. |
| S/W-versionsnummer | Visar versionsnumret för den primära styrenheten. |
InfoCenter-versionsnummer![]() | Visar programvaruversionen för InfoCenter |
Sekundär programvara![]() | Visar artikelnummer och upplaga av klippstyrenheten för Groundsmaster 4700-modellen. |
| Steg V | Visar Ja eller Nej beroende på motor. |
Det finns inställningar för driftskonfigurering som kan justeras i INSTäLLNINGARNA för InfoCenter. Använd LåST MENY för att låsa dessa inställningar.
Note: Den initiala lösenordskoden har programmerats av återförsäljaren vid leverans.
Note: Den fabriksinställda PIN-koden för maskinen är antingen 0000 eller 1234.Om du har ändrat PIN-koden och därefter glömt den nya koden kan du kontakta en auktoriserad Toro-återförsäljare för att få hjälp.
Från HUVUDMENYN bläddrar du ner till menyn INSTäLLNINGAR och trycker på välja-knappen (Figur 25).

I menyn INSTäLLNINGAR bläddrar du till ANGE PIN-KOD och trycker på välja-knappen (Figur 26A).

Ange PIN-koden genom att trycka på navigeringsknapparna uppåt eller nedåt tills den rätta första siffran visas. Tryck sedan på höger navigeringsknapp för att gå till nästa siffra (Figur 26B och Figur 26C). Upprepa detta steg tills den sista siffran har angetts.
Tryck på välja-knappen.
Note: Om PIN-koden accepteras på skärmen och den låsta menyn låses upp visas ordet ”PIN” i skärmens övre högra hörn.
Spärra den låsta menyn genom att vrida tändningslåset till det AVSTäNGDA läget och sedan till det PåSLAGNA läget.
I SETTINGS (Inställningar) bläddrar du ner till PROTECT SETTINGS (Lås inställn).
Om du vill visa och ändra inställningarna
utan att ange en PIN-kod använder du välja-knappen och ändrar
inställningen för LåS INSTäLLN. till
(Av).
Om du vill visa och ändra inställningarna
med en PIN-kod använder du välja-knappen för att ändra LåS INSTäLLN. till
(På). Ställ sedan
in PIN-koden och vrid nyckeln i tändningslåset till läget AV och sedan till läget På.
Timern Dags för service nollställer timmarna till service efter att en planerad underhållsåtgärd har utförts.
I INSTäLLNINGAR bläddrar du till ANGE PIN-KOD och trycker på välja-knappen.
Ange PIN-kod. Se Åtkomst till låsta menyer.
I SERVICE navigerar du till TIMMAR och trycker på knappen välj.
Bläddra ner till DAGS FöR SERVICE.
Note: Om det är dags för service så visas NU bredvid DAGS FöR SERVICE.
Markera serviceintervallet och tryck på valknappen.
Note: Du hittar serviceintervallet (250 timmar, 500 timmar osv.) bredvid DAGS FöR SERVICE.Serviceintervall är ett låst menyalternativ.
När skärmen ÅTERSTÄLLA SERVICETIMER? visas trycker du på välja-knappen för JA eller på tillbaka-knappen för NEJ.
När du har valt JA rensas intervallskärmen och återgår till valen för servicetimmar.
Den valda inställningen visas som ett X i stapeldiagrammet för drivhastigheten och hastighet tillsammans med inställningarna för farthållare och pedalstopp. Ett X i en stapel visar att maxhastigheten har begränsats av arbetsledaren (Figur 31).
Note: Denna inställning behålls i minnet och appliceras på drivhastigheten tills du ändrar den.
I MASKININSTäLLNINGAR bläddrar du ned till KLIPPHASTIGHET.
Använd vänster och höger navigeringsknapp för att öka den maximala klipphastigheten i steg om 5 % på huvudskärmen och i steg om 10 % i menyn MASKININSTäLLNINGAR. Intervallet för huvudskärmen är 10 till 100 % och intervallet för MASKININSTäLLNINGAR är 30 till 100 %.
Den valda inställningen visas som ett X i stapeldiagrammet för drivhastigheten och hastighet tillsammans med inställningarna för farthållare och pedalstopp. Ett X i en stapel visar att maxhastigheten har begränsats av arbetsledaren (Figur 31).
Note: Denna inställning behålls i minnet och appliceras på drivhastigheten tills du ändrar den.
I MASKININSTäLLNINGAR bläddrar du ned till TRANSPORTHASTIGHET.
Använd vänster och höger navigeringsknapp för att öka den maximala klipphastigheten i steg om 5 % på huvudskärmen och i steg om 10 % i menyn MASKININSTäLLNINGAR. Intervallet för huvudskärmen är 10 till 100 % och intervallet för MASKININSTäLLNINGAR är 30 till 100 %.
I INSTäLLNINGAR bläddrar du ner till SMART POWER.
Tryck på den högra navigeringsknappen för att växla mellan På och AV.
I MASKININSTäLLNINGAR bläddrar du ner till MOTVIKT.
Tryck på den högra navigeringsknappen för att välja motvikt och ändra mellan inställningarna LåG, MEDELHöG och HöG.
I MASKININSTäLLNINGAR bläddrar du ner till ACCELERATION.
Tryck på höger navigeringsknapp för att växla mellan LåG, MEDELHöG och HöG.
I INSTäLLNINGSMENYN bläddrar du ner till VäNDLäGE.
Tryck på högerknappen för att växla mellan PÅ och AV.
Note: Av praktiska skäl är det möjligt att välja att utföra en parkerad regenerering innan sotnivån når 100 %, förutsatt att motorn har gått i mer än 50 timmar sedan den senaste genomförda parkerade regenereringen eller återställnings- och återhämtningsregenereringen.
Använd menyn för tekniker för att se den aktuella statusen för reglaget för motorregenerering och den aktuella sotnivån.
I INSTäLLNINGAR bläddrar du ned till DPF REGENERATION (DPF-regenerering) och trycker på välja-knappen.
I DPF REGENERATION (DPF-regenerering) bläddrar du ned till TECHNICIAN (TEKNIKER) och trycker på välja-knappen.


Blinkande rött sken – aktivt fel
Fast rött sken – aktiv rekommendation
Fast blått sken – kalibrerings-/dialogmeddelanden
Fast grönt sken – normal drift
Denna maskin visar uppskattade drivhastigheter i procent.
Hastigheten visas mellan 10 och 100 % för farthållarskärmen och den virtuella pedalstoppskärmen och mellan 30 och 100 % i menyn MASKININSTäLLNINGAR.
När maskinen startas i kallt väder begränsar uppvärmningsläget motorvarvtalet till låg tomgång under en kort period efter att motorn startats, vilket förhindrar potentiella komponentskador om maskinen körs med kall olja.
En ikon av en snöflinga
på InfoCenter-skärmen visar när
uppvärmningsläget är aktivt. Använd inte maskinen
förrän efter uppvärmningsperioden.
Ägaren/operatören kan förebygga olyckor samt ansvarar för olyckor som kan ge upphov till personskador eller skador på egendom.
Använd lämpliga kläder, inklusive ögonskydd, långbyxor, rejäla och halkfria skor samt hörselskydd. Sätt upp långt hår och använd inte hängande smycken eller löst sittande kläder.
Kör inte maskinen om du är sjuk, trött eller påverkad av alkohol eller läkemedel.
Var fullt koncentrerad på maskinen när du använder den. Delta inte i aktiviteter som kan distrahera dig, eftersom personskador eller skador på egendom då kan uppstå.
Se till att alla drivenheter är i neutralläge, parkeringsbromsen är inkopplad och att du sitter i förarsätet innan du startar motorn.
Skjutsa inte passagerare på maskinen och håll kringstående och barn på säkert avstånd från arbetsområdet.
Använd endast maskinen om du har god sikt, så att du kan undvika gropar och dolda faror.
Undvik att klippa vått gräs. Försämrat grepp kan göra att maskinen glider.
Håll händer och fötter borta från rörliga delar. Håll avstånd till utkastaröppningen.
Titta bakåt och nedåt innan du backar för att se till att vägen är fri.
Var försiktig när du närmar dig hörn med skymd sikt, buskage, träd eller andra objekt som kan försämra sikten.
Stanna knivarna när du inte klipper gräs.
Stanna maskinen, ta ut nyckeln och vänta tills alla rörliga delar har stannat innan du undersöker redskapet om du kör på ett föremål eller om maskinen vibrerar på ett onormalt sätt. Reparera alla skador innan du börjar köra maskinen igen.
Sakta ned och var försiktig när du svänger och korsar vägar och trottoarer med maskinen. Lämna alltid företräde.
Koppla ur klippenhetens drivenhet, stäng av motorn, ta ut nyckeln och vänta tills alla rörelser har avstannat innan du justerar klipphöjden (såvida du inte kan justera den från arbetsläget).
Kör endast motorn i välventilerade utrymmen. Avgaser innehåller koloxid, vilket är dödligt om det andas in.
Lämna aldrig en maskin som är i gång utan uppsikt.
Innan du kliver ur förarsätet ska du göra följande:
Ställ maskinen på ett plant underlag.
Koppla ur kraftuttaget och sänk ner redskapen.
Koppla in parkeringsbromsen.
Stäng av motorn och ta ut nyckeln.
Vänta tills alla rörliga delar har stannat.
Använd endast maskinen när sikten är god. Använd inte maskinen när det finns risk för blixtnedslag.
Använd inte maskinen som bogserfordon.
Använd endast tillbehör, redskap och reservdelar som har godkänts av Toro.
Använd endast farthållaren (om sådan finns) när du kan köra maskinen i ett öppet och plant område som är fritt från hinder och där maskinen kan köras med en konstant hastighet utan avbrott.
Vältskyddet är en inbyggd, effektiv säkerhetsanordning.
Ta inte bort några vältskyddsdelar från maskinen.
Kontrollera att säkerhetsbältet fäster vid maskinen.
Dra bältesremmen över knät och spänn fast säkerhetsbältet i spännet på andra sidan sätet.
För att lossa säkerhetsbältet ska du hålla i bältet, trycka på knappen på spännet för att frigöra bältet och styra in det i den automatiska indragningens öppning. Säkerställ att du kan lossa säkerhetsbältet snabbt i en nödsituation.
Var mycket uppmärksam på hinder som kan finnas ovanför dig och vidrör dem inte.
Håll vältskyddet i säkert bruksskick genom att regelbundet inspektera det noga och kontrollera att det inte är skadat samt hålla alla fästelement åtdragna.
Byt ut skadade vältskyddsdelar. Reparera eller ändra dem inte.
En hytt som monteras av Toro har en störtbåge.
Använd alltid säkerhetsbältet.
Håll den fällbara störtbågen i upprätt låst läge, och använd säkerhetsbältet när du kör maskinen med störtbågen uppfälld.
Störtbågen ska endast fällas ned tillfälligt när så behövs. Använd inte säkerhetsbältet när störtbågen är nedfälld.
Tänk på att det inte finns något vältskydd när störtbågen är nedfälld.
Kontrollera området som ska klippas och ha aldrig störtbågen nedfälld i närheten av sluttningar, stup eller vattendrag.
Sluttningar är en betydande faktor vid olyckor som orsakas av att föraren förlorat kontrollen eller att maskinen välter, vilket kan innebära livsfara eller leda till allvarliga personskador. Du ansvarar för säker drift i sluttningar. Du måste vara extra försiktig när du kör maskinen i en sluttning.
Utvärdera förhållandena på platsen för att bedöma om sluttningen är säker för körning av maskinen, bland annat genom att undersöka hela arbetsplatsen. Använd alltid sunt förnuft och ett gott omdöme när du utför kontrollen.
Gå igenom instruktionerna för körning av maskinen i sluttningar nedan och fastställ om maskinen kan användas under de förhållanden som råder på den platsen och den dagen. Förändringar i terrängen kan leda till att maskinens manövrering i sluttningar förändras.
Undvik att starta, stänga av eller svänga med maskinen i sluttningar. Undvik att göra plötsliga ändringar i hastighet eller riktning. Sväng långsamt och successivt.
Använd inte maskinen under förhållanden där det råder tvekan om dragkraft, styrning eller stabilitet.
Avlägsna eller märk ut hinder såsom diken, hål, fåror, gupp, stenar och andra dolda faror. Det kan finnas dolda hinder i högt gräs. Ojämn terräng kan göra att maskinen välter.
Observera att maskinen kan tappa drivkraft om maskinen körs på vått gräs, tvärs över sluttningar eller nedför en sluttning. Drivhjul som tappar drivkraft kan leda till att maskinen glider och att du förlorar kontrollen över bromsning och styrning.
Var mycket försiktig när du använder maskinen nära stup, diken, flodbäddar, vattendrag eller andra faror. Maskinen kan välta plötsligt om ett hjul kör över en kant eller kanten ger med sig. Håll ett säkert avstånd mellan maskinen och riskfyllda områden.
Identifiera faror nere vid slutet av sluttningen. Klipp sluttningen med en handgräsklippare om det finns faror.
Om möjligt ska klippenheterna hållas nedsänkta mot marken när du kör maskinen i sluttningar. Om klippenheterna höjs vid körning i sluttningar kan maskinen bli ostadig.
Var mycket försiktig när du använder gräsuppsamlingssystem och andra redskap. De kan ändra maskinens stabilitet och leda till att du förlorar kontrollen.
Den här maskinen har ett gasspjäll av biltyp som styrs av gaspedalen.
Maskinen har inget separat gasreglage eller gasreglagespak.
När du tar bort foten från gaspedalen bromsas maskinen dynamiskt till stopp.
Pedalerna är avsedda att ge ett snabbt men stabilt svar så att du kan bibehålla jämn kontroll i ojämn terräng, samtidigt som det går att bromsa snabbt och mjukt.
Under transporter fungerar gaspedalen som på en bil och ändrar motorvarvtalet och drivhastigheten beroende på gaspedalens position.
Vid klippning höjs motorvarvtalet automatiskt till hög tomgång.
Om motorn går på låg tomgång kan du utföra en funktion som att lyfta klippenheterna eller trycka ner gaspedalen för att höja motorvarvtalet till minimal arbetshastighet, vilket ger tillräckligt med kraft för att effektivt kunna utföra funktionen.
Begränsa maskinens inaktivitet enligt rekommendationen för regenerering av dieselpartikelfilter (DPF). Stäng av maskinen för att förhindra utökad tomgångstid.
De högsta hastigheter som ställs med de PIN-kodsskyddade menyinställningarna ställs in av arbetsledaren för att begränsa maskinens maximala drivhastighet.
Den maximala hastigheterna som kan uppnås med gaspedalanvändning, farthållare och pedalstopp begränsas av de högsta hastigheter som ställs in i den PIN-skyddade menyn.
När du startar motorn och hydraulvätskans temperatur är låg ökar motorns varvtal automatiskt för att optimera driften och värmer upp maskinen. Motorvarvtalet återgår automatiskt till låg tomgång när hydraulvätskans temperatur är i normalt driftområde.
Under normala driftförhållanden är denna maskin avsedd att köras i läget H/L AUTO på hastighetslägesreglaget (Figur 29). Denna position gör att maskinen automatiskt kan växla mellan låg- och höghastighetsintervall, beroende på om maskinen används för att klippa eller transportera.
När du väljer LåG position på hastighetslägesreglaget (Figur 29) kommer maskinen alltid att fungera i det låga hastighetsområdet. Denna inställning är att föredra för användning i ett butiksområde, vid lastning eller lossning från en släpvagn, vid körning i branta sluttningar eller vid någon annan åtgärd där det inte är önskvärt med höghastighetsintervallets högre drivhastigheter.
Om det finns ett hinder i vägen lyfter du klippenheterna så att du kan klippa runt hindret.
När du transporterar maskinen mellan olika arbetsområden ska du aktivera läget AUTO HI/LOW, stänga av kraftuttaget och lyfta upp klippenheterna helt och hållet. Detta gör att gaspedalen fungerar som på en bil.
Kör alltid långsamt på ojämnt underlag.
Öva på att använda maskinen för att bekanta dig med dess funktioner.
Lyft upp klippenheterna, koppla ur parkeringsbromsen, tryck på gaspedalen för framåtkörning och kör försiktigt till en öppen plats.
Öva på att köra maskinen, eftersom den har en hydrostatisk transmission och dess funktioner kan skilja sig från andra maskiner för gräsunderhåll.
Öva på att köra framåt och backa samt starta och stanna maskinen. Stanna maskinen genom att ta bort foten från gaspedalen och låta den återgå till NEUTRALLäGE.
Note: När du kör nedför en sluttning med maskinen kan du behöva använda backningspedalen för att stanna.
Ta bort foten från gaspedalen och trampar ner bromspedalerna för att stanna snabbt.
Öva på att köra runt hinder med klippenheterna uppe respektive nere. Var försiktig när du kör i trånga utrymmen, så att du inte skadar maskinen eller klippenheterna.
Den här maskinen är utrustad med två drivhastighetslägen: lågt och högt. Med hastighetslägesväljaren kan du välja följande positioner (Figur 29):
Hög/låg automatiskt intervall:
Om du väljer H/L AUTO-läge kan maskinen automatiskt välja mellan låg-och höghastighetsintervallen. H/L AUTO-läge är jämförbar med att välja D (drive) i en bil med automatväxellåda.
Note: För att förhindra eventuella grässkador kommer maskinen endast att växla mellan lågt och högt intervall när gaspedalen är i NEUTRALLäGE och hjulen har slutat röra sig.
Note: Klippenheterna kan inte sänkas från transportläget när du kör maskinen i höghastighetsområdet.
När H/L AUTO-position väljs och klippenheterna sänks för klippning är begränsas hastighetsintervallet till det låga varvtalsläget.
För att gå till höghastighetsintervallet, välj H/L AUTO-läge på hastighetslägesreglaget, koppla från kraftuttaget och lyft upp klippenheterna helt.
När H/L AUTO-position väljs kommer maskinen automatiskt att automatiskt växla mellan höga och låga drivintervall baserat på klippenheternas läge och/eller kraftuttagsbrytarens läge.
Lågväxelläge:
Om du väljer den LåGA positionen på reglaget hålls maskinen alltid i det låga varvtalsläget. Den LåGA positionen är jämförbar med att välja 2, 1 ELLER L i en bil med automatväxellåda.
När LåG-läget har valts arbetar maskinen endast i det låga läget.
Använd LåG-positionen när du lastar maskinen på ett släp eller navigerar när du navigerar i trånga ytor som en verkstad.

Den här pedalen styr maskinens fram- och backhastighet och den dynamiska bromsningen när du återställer den i neutralläge.
Gaspedalen är ett gasreglage av fordonstyp – motorvarvtalet och maskinens hastighet svarar på pedalrörelsen.
Under transporter fungerar gaspedalen som på en bil och ändrar motorvarvtalet och drivhastigheten beroende på gaspedalens position.
När du klipper höjs motorns varvtal automatiskt till hög tomgång för att optimera klippningsprestandan och gaspedalen styr bara drivhastigheten.
Ju längre du trycker pedalen framåt eller bakåt, desto snabbare rör sig maskinen.
Om du vill stanna maskinen mjukt vid transport eller klippning ska du släppa upp gaspedalen till neutralläget genom att lyfta foten i lämplig fart.
Om du vill bromsa maximalt ska du ta bort foten från gaspedalen och låta den återgå till neutralläget. Maskinen bromsar dynamiskt och stannar.
Med det här drivsystemet kan du anpassa accelerationsinställningarna efter komfort och den specifika gräsmattan. Se Förstå accelerationsläget för information om hur du ändrar inställningarna.

Med funktionen för virtuellt pedalstopp (VPS) kan du ställa in de tillfälliga maximala drivhastighetsgränserna för både klipp- och transportområdet.
För att komma åt den här funktionen ska du trycka på navigeringsknapparna upp eller ner från huvudmenyn (Figur 31).
Använd VPS för att justera den maximala drivhastigheten så att den passar din komfortnivå eller för att passa tillämpningen.
Du kan inte justera VPS-hastighetsgränsen till snabbare än den maximala drivhastigheten som har ställts in av arbetsledaren.
VPS är en tillfällig inställning. Denna funktion återställs till den högsta hastigheten som arbetsledaren har ställt in när tändningslåset stängs AV.
När drivhastigheten ändras av arbetsledaren i de skyddade menyinställningarna eller av dig via VPS, programmerar gaspedalen automatiskt om för att använda hela pedalslaget mellan neutralläget och den nya maxhastighetsinställningen.
Genom att sänka inställningarna för maximal drivhastighet kan du styra drivsystemet mer noggrant.

Medan du använder VPS ska du tillfälligt sänka maxhastigheten för följande uppgifter:
Klippa rensningspasset på fairway.
Drift i eller i närheten av underhållsverkstaden.
Lasta maskinen på ett släp.
Note: En lägre maxhastighet ger bättre kontroll när du utför dessa uppgifter.
Important: Vid nödbromsning ska du ta bort foten från gaspedalen och sedan trycka ner bromspedalerna.
Endast i lågt läge kan du använda bromsarna individuellt för att svänga eller förbättra väggreppet. Utför följande när du använder bromsarna individuellt:
Koppla loss pedallåsspärren (Figur 32).
För hjälp att svänga ska du trycka ned bromspedalen på den sida som du vill svänga mot. Detta möjliggör en snävare svängradie.
Note: Var försiktig när du använder bromsarna var för sig, i synnerhet på mjukt eller vått gräs eftersom gräsmattan kan få revor av misstag.
För bättre väggrepp ska du trycka försiktigt på bromspedalen för det framhjul som slirar. Under vissa lutningsförhållanden slirar motlutshjulet och förlorar fästet. Om denna situation skulle uppstå, trycker du ner motlutsbromsen gradvis och med jämna mellanrum tills motlutshjulet slutar att slira, vilket ökar drivningen på medlutshjulet.

Omkopplaren för farthållaren låser farthållaren så att önskad hastighet bibehålls. Om du trycker baktill på omkopplaren stängs farthållaren av, om omkopplaren är i mittläget aktiveras farthållaren och om du trycker framtill på omkopplaren ställs den önskade hastigheten in.
När omkopplaren för farthållaren är aktiverad och hastigheten är inställd (Figur 33) kan du använda InfoCenter för att justera farthållarens hastighet (Figur 6 och Figur 34).
Gör så här för att avaktivera farthållaren:
I det höga hastighetsläget ska du trycka på backningsgaspedalen eller fotbromsarna, eller ställa omkopplaren för farthållaren i läget AV.
I lågt hastighetsläge ska du trycka på backningsgaspedalen eller fotbromsarna, stänga av kraftuttagsbrytaren eller ställa omkopplaren för farthållaren i läget AV.

Ställ in en körhastighet för långa avstånd utan många hinder.
Använd InfoCenter för att styra hastigheten i ojämn terräng.
Använd farthållaren för att hantera vändningar enligt följande:
Ställ in farthållaren på en lägre hastighet som är bekväm och säker när du svänger runt.
Tryck ner gaspedalen för att öka hastigheten för klippningen under klippsvepet.
Ta foten från pedalen när du svänger runt inför nästa klippningssvep.
Maskinen saktar ned till den låga farthållarinställningen så att du kan göra en effektiv vändning med konstant hastighet.
När du har svängt runt använder du gaspedalen för att öka maskinens hastighet igen för nästa klippningssvep.
Den här inställningen avgör hur snabbt maskinen ändrar hastighet och påverkar maskinens hastighetsminskning i lågt läge. Gå till de skyddade menyerna i InfoCenter för att ändra accelerationsläget. Accelerationsläget har följande tre positioner:
Låg – låg acceleration och retardation
Medelhög – medelhög acceleration och retardation
Hög – högsta acceleration och retardation
Med vändläget har du en praktisk styrningslösning med en knapp för att höja klippenheterna ovanför gräset samtidigt som knivarna tillfälligt stannas, vilket gör att du kan fokusera på att köra maskinen i slutet av ett klippområde eller för att navigera runt andra hinder.
Note: Vändläget är en funktion som finns bland de skyddade inställningarna.
När vändläget är inställt på På kan du tillfälligt trycka lyftbrytaren bakåt (Figur 11) för att automatiskt höja alla klippenheter från flytläget till en förinställd höjd och koppla ur kraftuttaget automatiskt. För att fortsätta klipparbetet trycker du lyftbrytaren framåt. Alla klippenheter sänks ned och kraftuttaget startar igen.
När vändläget är AVAKTIVERAT kan du manuellt höja klippenheterna från flytläget genom att trycka och hålla ner alla lyftomkopplare bakåt tills klippenheterna höjer sig till önskad höjd. På Groundsmaster 4700-maskiner ska du trycka på alla tre lyftbrytarna för att höja samtliga sju klippenheter (Figur 11). Kraftuttaget kopplas inte ur förrän klippenheterna höjs till samma förinställda höjd som klippenheterna höjs till när vändläget är På.
Note: Som standard är vändningsläget På.
Motviktssystemet upprätthåller ett hydrauliskt mottryck på klippenhetens lyftcylindrar. Motviktssystemet övervakar drivtrycket i realtid och justerar dynamiskt lyftcylindrarnas mottryck för att ge optimal dragkraft och ett utmärkt klippresultat. Motviktstrycket har ställts in på fabriken för optimal jämvikt mellan klippresultat och dragkraft vid de flesta gräsförhållanden. Om du minskar motviktsinställningen kan du få en stabilare klippenhet, men dragkraften kan minska. Om du ökar motviktsinställningen kan dragkraften öka, men klippresultatet kan bli sämre. Se Ställa in motvikten.
De anpassningsbara inställningarna för motvikt är följande:
Låg – störst vikt på klippenheterna och minst vikt på drivhjulen
Medium – medelstor vikt på klippenheterna och drivhjulen
Hög – minst vikt på klippenheterna och störst vikt på drivhjulen
Med Smart Power behöver inte föraren lyssna på motorvarvtalet när tung last dras. Tack vare Smart Power-drivningen kör inte maskinen fast under tunga klippförhållanden eftersom den automatiskt styr maskinhastigheten och optimerar klipprestandan.
Note: Som standard är den smarta strömfunktionen På.
Important: Lufta bränslesystemet om något av följande har inträffat:
Motorn har stannat till följd av att bränslet har tagit slut.
Underhåll har utförts på komponenter i bränslesystemet.
Ta bort foten från gaspedalen och se till att pedalen är i NEUTRALLäGE. Kontrollera att parkeringsbromsen ligger i.
Vrid nyckeln till KöRLäGET. Glödstiftsindikatorn ska tändas.
Vrid nyckeln till STARTLäGET när glödstiftsindikatorn slocknar.
Important: Kör inte startmotorn i mer än 15 sekunder åt gången, annars kan det uppstå fel på startmotorn i förtid. Om motorn inte startar efter 15 sekunder vrider du nyckeln till det AVSTäNGDA läget. Kontrollera reglagen och procedurerna, vänta i ytterligare 15 sekunder och upprepa startproceduren.
Släpp omedelbart nyckeln när motorn startar och låt den gå tillbaka till KöRLäGET.
Om temperaturen är under –7 °C, kan startmotorn vara på i 30 sekunder och sedan vara avstängd i 60 sekunder under två försök.
Important: Stäng av motorn och låt den svalna innan du kontrollerar om det finns oljeläckor, lösa delar eller andra problem.
Important: Låt motorn gå på tomgång i fem minuter innan du stänger av den efter arbete under full belastning. Detta gör att turboladdaren hinner svalna innan motorn stängs av. Underlåtenhet att göra detta kan leda till förtida turboladdningsproblem.
Note: Sänk ner klippenheterna till marken när maskinen är parkerad. Detta frigör den hydrauliska belastningen från systemet, förhindrar slitage på systemets delar och förebygger även att klippenheterna sänks ned av misstag.
För kraftuttagsbrytaren till URKOPPLAT läge.
Koppla in parkeringsbromsen.
Vrid tändningsnyckeln till läget AV.
Ta ut nyckeln för att undvika att maskinen startas oavsiktligt.
Note: Att klippa gräs med en hastighet som utsätter motorn för belastning förbättrar DPF-regenereringen.
Lossa bromsen, koppla från kraftuttaget och höj klippenheterna.
Välj H/L AUTO- eller LåG-positionen med hastighetsreglaget. Se Använda växelväljaren för hög och låg växel
Note: När H/L AUTO-positionen är vald och klippenheterna höjs kommer maskinen automatiskt att välja det höga varvtalsläget.
Använd gaspedalen som en gaspedal på en bil och kör maskinen till arbetsplatsen.
Placera maskinen utanför klippområdet när du börjar klippa.
Sänk klippenheterna med vippomkopplaren eller -omkopplarna.
Tryck lyftomkopplaren (GM4500) eller mittlyftomkopplaren (GM4700) bakåt för att lyfta klippenheterna till vändläget.
Note: Vändläget är endast tillgängligt om det aktiveras under de skyddade menyerna i InfoCenter. Genom att trycka på vippomkopplaren utan att hålla den höjer du klippenheterna till vändningsläget och stoppar knivarnas rotation tills klippenheterna sänks.
Dra ut kraftuttagsbrytaren för att aktivera klippenheterna.
Note: Motorns varvtal stiger automatiskt till hög tomgång när du sänker klippenheterna och aktiverar kraftuttagsbrytaren.
Använd gaspedalen och närma dig klippområdet långsamt och sänk klippenheterna med vippomkopplaren när de främre klippenheterna är över klippområdet.
Note: Öva på att se till att klippenheterna inte sänks för tidigt eller att de inte kan klippa ett oavsiktligt område.
Börja klippa området.
När du är klar med klippsvepet trycker du lyftomkopplaren (GM4500) eller mittlyftomkopplaren (GM4700) bakåt för att lyfta klippenheterna till vändläget.
Genomför en tårformad sväng för att snabbt komma i läge för nästa klippsträcka.
Tryck ner lyftomkopplaren (GM4500) eller mittlyftomkopplare (GM4700) för att automatiskt sänka klippenheterna från vändläget och fortsätt att klippa.
Dieselpartikelfiltret (DPF) avlägsnar sot från motoravgaser.
DPF-regenereringsprocessen använder värme från motoravgaserna som ökar genom katalysatorn så att den ackumulerade soten i askan minskas.
Kom ihåg följande för att hålla DPF ren:
Kör motorn på fullt varvtal när det är möjligt för att åstadkomma DPF-regenerering.
Använd rätt motorolja.
Minimera den tid som motorn går på tomgång.
Använd endast diesel med extremt låg svavelhalt.
Använd och underhåll maskinen med dieselpartikelfiltrets funktioner i åtanke. Motor under belastning skapar i allmänhet tillräcklig avgastemperatur för DPF-regenerering.
Important: Minimera tiden som du låter motorn gå på tomgång eller kör motorn på ett lägre varvtal för att minska ansamlingen av sot i DPF.
Avgastemperaturen är mycket hög (ca 600 °C) under DPF-regenereringen. Heta avgaser kan skada dig eller andra människor.
Kör inte motorn i ett slutet utrymme.
Se till att det inte finns något brännbart material runt avgassystemet.
Säkerställ att den heta avgasen inte vidrör ytor som kan skadas av värme.
Rör inte vid heta avgassystemskomponenter.
Stå inte vid eller i närheten av maskinens avgasrör.
| Symbol | Definition |
![]() | • Symbol för parkerings- eller återhämtningsregenerering – regenerering begärs. |
| • Utför regenerering omedelbart. | |
![]() | • En regenerering har bekräftats och begäran behandlas. |
![]() | • En regenerering pågår och avgastemperaturen är förhöjd. |
![]() | • Funktionsfel i NOx-styrsystemet – underhåll av maskinen krävs. |
| Typ av regenerering | Förhållanden som leder till DPF-regenerering | Beskrivning av DPF-drift |
|---|---|---|
| Passiv | Inträffar under normal användning av maskinen vid högt motorvarvtal eller hög motorbelastning | • InfoCenter visar inte en symbol som anger passiv regenerering. |
| • Under passiv regenerering bearbetar dieselpartikelfiltret mycket varma avgaser, oxiderar skadliga utsläpp och bränner sot till aska. | ||
| Stöd | Inträffar till följd av låga motorvarvtal och låg motorbelastning, eller efter det att datorn har upptäckt att dieselpartikelfiltret är tilltäppt av sot | • InfoCenter visar ingen ikon som anger stödregenerering. |
| • Under stödregenereringen justerar motorns dator motorns inställningar för att höja avgastemperaturen. | ||
| Återställning | Inträffar var 100:e timme | • När symbolen för hög avgastemperatur visas i InfoCenter pågår
en regenerering. |
| Den uppstår även om normal motordrift överträffar den tillåtna ackumuleringsmängden för sot i filtret | ||
| • Vid återställningsregenerering upprätthåller motorns dator en förhöjd motorhastighet för att säkerställa filterregenerering. |
| Typ av regenerering | Förhållanden som leder till DPF-regenerering | Beskrivning av DPF-drift |
|---|---|---|
| Parkerad | Inträffar om datorn fastställer att den automatiska DPF-rengöringen inte är tillräcklig. | • När en symbol för
återställning-standby/parkerad regenerering eller återhämtningsregenerering eller en regenerering begärs. |
| Inträffar även när du initierar en parkerad regenerering | ||
| Kan inträffa om spärrad regenerering initieras så att den automatiska DPF-rengöringen inte kan aktiveras | • Genomför en parkerad regenerering så snart som möjligt så att du slipper behöva genomföra en återhämtningsregenerering. | |
| Detta kan inträffa som en följd av användning av fel bränsle eller motorolja | • En parkerad regenerering tar 30–60 minuter. | |
| • Tanken måste vara minst ¼ full. | ||
| • Du måste parkera maskinen för att kunna genomföra en parkerad regenerering. | ||
| Återställning | Inträffar när en begäran om parkerad återställning har ignorerats, vilket leder till att DPF blir ordentligt igensatt | • När en symbol för återställning-standby/parkerad
regenerering eller återhämtningsregenerering eller en återhämtningsregenerering
begärs. |
| • En återhämtningsregenerering tar upp till tre timmar att slutföra. | ||
| • Tanken måste vara minst halvfull. | ||
| • Du måste parkera maskinen för att kunna genomföra en återställningsregenerering. |
I HUVUDMENYN bläddrar du ner till SERVICE och trycker på välja-knappen.
I SERVICE bläddrar du till DPF-REGENERERING och trycker på välja-knappen.
Välj den regenereringsfunktion du behöver.

Gå till menyn DPF REGENERATION (DPF-regenerering) och bläddra fram till LAST REGEN (Senaste regenerering).
Välj posten SENASTE REGENERERING.
Använd fältet LAST REGEN för att avgöra hur många timmar du har kört motorn sedan den senaste parkerade regenereringen eller återställnings- och återhämtningsregenereringen.
Tryck på tillbaka-knappen för att återgå till skärmen DPF-REGENERERING.

En återställningsregenerering leder till ökade motoravgaser. Om maskinen ska användas runt träd, snår, högt gräs eller andra temperaturkänsliga plantor eller material kan du använda inställningen INHIBIT REGEN för spärrad regenerering så att inte motordatorn utför en återställningsregenerering.
Note: Alternativet INHIBIT REGEN (spärra regenerering) används alltid när underhåll utförs på maskinen i ett slutet område.
Note: Om du ställer in att regenerering ska spärras i InfoCenter visar InfoCenter ett meddelande var femtonde minut medan motorn begär en återställningsregenerering.
Important: När du stänger av motorn och startar den igen återgår inställningarna för Inhibit Regen automatiskt till AV.
Gå till menyn{ DPF REGENERATION (DPF-regenerering) och bläddra ner till INHIBIT REGEN (spärra regenerering).
Markera posten INHIBIT REGEN (spärra regenerering).
Ändra inställningen för spärrad regenerering från AV till På.
Kontrollera att maskinen har tillräckligt med bränsle i tanken för den typ av regenerering du ska utföra:
Parkerad regenerering: Se till tanken är minst ¼ full.
Återställningsregenerering: Se till att tanken är minst halvfull.
Flytta maskinen utomhus till ett område utan brandfarligt material eller föremål som kan skadas av värme.
Parkera maskinen på ett plant underlag, flytta alla reglage till NEUTRALLÄGET, koppla ur kraftuttaget och sänk ned klippenheterna.
Koppla in parkeringsbromsen och låt motorn nå låg tomgång.
När motorns dator begär en parkerad regenerering ska du följa uppmaningarna i InfoCenter.
Important: Maskinens dator avbryter DPF-regenereringen om du ökar motorvarvtalet från låg tomgång eller kopplar ur parkeringsbromsen.
Gå till menyn DPF REGENERATION (DPF-regenerering) och bläddra ner till PARKED REGEN (parkerad regenerering) eller RECOVERY REGEN (återhämtningsregenerering).
Välj posten för PARKED REGEN (Parkerad regenerering) eller RECOVERY REGEN (Återhämtningsregenerering).
Note: För att initiera en återhämtningsregenerering måste du ange rätt PIN-kod.
Kontrollera via skärmen REGEN PARAMETERS (regenereringsparametrar) att minst en fjärdedel av tanken är fylld om du ska utföra en parkerad regenerering eller att den är minst halvfull om du ska utföra en återhämtningsregenerering. Kontrollera att parkeringsbromsen är inkopplad och att motorvarvtalet är inställt på låg tomgång. Tryck på valknappen för att fortsätta.
På skärmen INITIATE DPF REGEN (initiera DPF-regenerering) trycker du på knappen nästa för att fortsätta.
InfoCenter visar meddelandet INITIATE DPF REGEN (Initiera DPF-regenerering).
Note: Tryck vid behov på ikonen avbryt för att avbryta regenereringsprocessen.
Ett meddelande om tidsspannet för slutföring visas i InfoCenter.
InfoCenter visar startskärmen och en bekräftelsesymbol
för regenerering
.
Note: Medan DPF-regenereringen pågår visas symbolen för
hög avgastemperatur
i InfoCenter.
När motorns dator har slutfört en parkerad regenerering eller återhämtningsregenerering visas ett meddelande i InfoCenter. Tryck på valfri knapp för att återgå till startskärmen.
Note: Om regenereringen inte slutförs följer du anvisningarna och trycker på valfri knapp för att gå till startskärmen.
Använd inställningarna PARKED REGEN CANCEL (avbryt parkerad regenerering) eller RECOVERY REGEN CANCEL (avbryt återhämtningsregenerering) för att avbryta körningen av en parkerad regenerering eller återhämtningsregenerering.
Gå till menyn DPF REGENERATION (DPF-regenerering) och bläddra till PARKED REGEN (parkerad regenerering) eller RECOVERY REGEN (återhämtningsregenerering).
Tryck på välja-knappen för att avbryta en parkerad regenerering eller återhämtningsregenerering.

Motorns kylarfläkt regleras normalt av maskinen. Maskinen kan köra fläkten bakåt och blåsa bort skräp från det bakre gallret. Under normala körförhållanden reglerar maskinen fläktens hastighet och riktning baserat på kylvätske- och hydraulvätsketemperaturen, och fläkten byter automatiskt riktning för att blåsa bort skräp från det bakre gallret.
Du kan ändra fläktens riktning manuellt. Håll de två yttre knapparna eller de inre höger- och vänsterknapparna på InfoCenter (Figur 38) nedtryckta i två sekunder så gör fläkten en manuell bakåtkörning. Kör fläkten bakåt när det bakre gallret är igensatt eller innan du kör in maskinen i verkstaden eller ett förvaringsområde.

Byt klippmönster ofta för att undvika ett dåligt klippresultat till följd av upprepad klippning i en och samma riktning.
Se felsökningsguiden för klippresultatsproblem på www.Toro.com.
Börja klippningen genom att koppla in klippenheterna och därefter köra långsamt mot det område som ska klippas. Sänk klippenheterna när de främre klippenheterna befinner sig ovanför klippområdet.
Om du vill klippa vissa områden i ett randigt mönster med räta linjer, letar du reda på ett träd eller något annat föremål längre bort och kör rakt emot det.
Så snart de främre klippenheterna når klippområdets kant höjer du dem och gör en droppformad sväng, för att snabbt komma i läge för nästa klippsträcka.
Samlarskärmar som skruvas fast finns tillgängliga för klippenheterna. Samlarskärmarna fungerar utmärkt om du underhåller gräset regelbundet så att inte mer än 2,5 cm avlägsnas vid varje klippning. Om för mycket av gräsets längd klipps av när samlarskärmarna är monterade kan slutresultatet efter klippning försämras och behovet av större motoreffekt märkas. Samlarskärmarna fungerar även bra till att sönderdela löv på hösten.
Klipp maximalt av 25 mm eller högst en tredjedel av grässtrået. Vid klippning av ovanligt frodigt och tätt gräs kan du behöva höja klipphöjdsinställningen.
En slipad kniv klipper rent utan att slita och rycka av grässtråna som ett slött knivblad. Om gräset slits och rycks av gulnar det i ändarna, vilket försämrar tillväxten och ökar risken för sjukdomar. Kontrollera att kniven hålls i gott skick och att seglet är helt. Se Serva knivplanet.
Se till så att klippkamrarna är i bra skick. Räta ut eventuella böjda komponenter i kamrarna för att säkerställa korrekt spel mellan knivspets och kammare. Se till att alla rullar och svängbara leder inte har något spel för att förhindra grässkador eller ofördelaktigt utseende efter klippning.
Tvätta maskinen ordentligt efter klippningen. Använd en trädgårdsslang utan munstycke så att tätningar och lager inte förorenas eller skadas av ett för högt vattentryck. Se till att smuts och gräsklipp inte kommer i kontakt med kylaren och oljekylaren. Inspektera maskinen efter rengöring för att säkerställa att det inte finns hydraulvätskeläckor, skador eller slitage på hydrauliska och mekaniska delar. Kontrollera även att klippenheternas knivar är vassa.
Stäng av motorn, ta ut nyckeln och vänta tills alla rörliga delar har stannat innan du kliver ur förarsätet. Låt maskinen svalna innan du utför service, justerar, rengör eller ställer den i förvar.
För att förebygga brandrisker måste du se till att alla klippenheter, drivenheter, ljuddämpare, kylskärmar och motorrum är fria från gräs och skräp. Torka upp eventuellt olje- eller bränslespill.
Om klippenheterna är i transportläget ska du använda det positiva låset (om så utrustad) innan du lämnar maskinen utan uppsikt.
Låt motorn svalna innan maskinen ställs undan i ett slutet utrymme.
Ta ut nyckeln och stäng av bränsletillförseln (i förekommande fall) vid förvaring och transport.
Förvara aldrig maskinen eller bränslebehållaren i närheten av en öppen låga, gnista eller tändlåga, t.ex. på en varmvattenberedare eller någon annan anordning.
Underhåll och rengör säkerhetsbälten vid behov
Använd klippenhetens förvaringslina för att förhindra att de främre yttre klippenheterna sjunker när maskinen är parkerad över natten eller om den står oanvänd under en längre tid. Du kan också använda klippenhetens förvaringslinor för att förhindra att klippenheterna sjunker när maskinen transporteras mellan olika klippningsjobb.

Kontrollera att kraftuttaget är urkopplat.
Parkera maskinen på en plan yta.
Koppla in parkeringsbromsen.
Höj klippenheterna helt.
Rikta in linan på lyftarmens hållaraxel för den främre yttre klippenheten (Figur 40).

Dra linöglan över bäraxeln tills linan sitter fast ordentligt i axelskåran (Figur 40).
Upprepa steg 5 och 6 för den främre yttre klippenheten på maskinens andra sida.
Important: Ta bort linorna från bäraxlarna innan klippenheterna sänks ned
Note: Stuva undan linorna när du inte använder dem.
Kontrollera att kraftuttaget är urkopplat.
Parkera maskinen på en plan yta.
Koppla in parkeringsbromsen.
För in linöglan i skåran i rullstödets förstärkningsplatta med klippenheterna i nedsänkt läge (Figur 41).

Använd de två bakre transportsäkringarna för klippenhet nr 6 och 7 (Figur 15) när du kör maskinen över långa avstånd, i ojämn terräng, vid transport eller när maskinen ska förvaras.

Ta ut nyckeln och stäng av bränsletillförseln (i förekommande fall) vid förvaring och transport.
Var försiktig när du lastar på eller av maskinen från en släpvagn eller lastbil.
Använd ramper i fullbredd när du lastar maskinen på en släpvagn eller lastbil.
Bind fast maskinen så att den sitter säkert.
I nödfall kan du skjuta maskinen framåt genom att aktivera bypassfunktionen i den varierbara hydraulpumpen och sedan skjuta eller bogsera maskinen.
Important: Knuffa eller bogsera inte maskinen snabbare än 3–4,8 km/h. Om maskinen knuffas eller bogseras snabbare kan transmissionen skadas.Avlastningsventilerna måste alltid vara öppna när maskinen skjuts eller bogseras.
Öppna motorhuven och leta upp avlastningsventilerna (Figur 43) högst upp på pumpen, bakom batteriet/förvaringslådorna.
Vrid varje ventil tre varv moturs för att öppna ventilen och låta vätskan avledas internt.
Note: Öppna inte ventilen mer än tre varv. Eftersom vätskan avleds kan du flytta maskinen långsamt utan att transmissionen skadas.


Knuffa eller bogsera maskinen framåt.
Important: Använd den omvända dragsatsen (artikelnr 136-3620) om du måste knuffa eller bogsera maskinen bakåt.
Sluta skjuta eller bogsera maskinen och stäng avlastningsventilerna. Dra åt ventilen till 70 Nm.
Note: Använd DOT-godkända spännband med korrekt märkvärde i de fyra hörnen när maskinen ska fästas.
På var sida om ramen vid förarplattformen
På den bakre stötdämparen


Note: Vänster och höger sida på maskinen är lika med förarens vänstra respektive högra sida vid normal körning.
Important: Mer information om underhållsrutiner finns i bruksanvisningen till motorn.
Important: Om du utför maskinunderhåll och kör motorn med ett avgasrör ska inställningen för spärrad regenerering vara På. Se Ställa in Inhibit Regen (spärra regenerering).
Note: Hämta en kostnadsfri kopia av elschemat eller hydraulschemat genom att gå till www.Toro.com, klicka på länken till manualerna och sök efter din maskin.
Innan du kliver ur förarsätet ska du göra följande:
Ställ maskinen på ett plant underlag.
Koppla ur kraftuttaget och sänk ner redskapen.
Koppla in parkeringsbromsen.
Stäng av motorn och ta ut nyckeln.
Vänta tills alla rörliga delar har stannat.
Använd lämpliga kläder, inklusive ögonskydd, långbyxor och kraftiga halkfria skor. Håll händer, fötter, kläder, smycken och långt hår borta från alla rörliga delar.
Om du lämnar nyckeln i tändningslåset kan någon råka starta motorn av misstag och skada dig eller någon annan person allvarligt. Ta ut nyckeln ur tändningslåset innan du utför något underhåll.
Låt maskinens komponenter svalna innan du utför underhåll.
Om klippenheterna är i transportläget ska du använda det positiva låset (i förekommande fall) innan du lämnar maskinen utan uppsikt.
Utför om möjligt inget underhåll på maskinen medan motorn är igång. Håll dig på avstånd från rörliga delar.
Kör endast motorn i välventilerade utrymmen. Avgaser innehåller koloxid, vilket är dödligt om det andas in.
Stötta upp maskinen med pallbockar när du arbetar under maskinen.
Lätta försiktigt på trycket i komponenter med lagrad energi.
Håll alla maskindelar i gott bruksskick och samtliga beslag åtdragna, i synnerhet knivens fästelement.
Byt ut alla slitna eller skadade dekaler.
Använd endast originalreservdelar och tillbehör från Toro för att garantera en säker, optimal prestanda för maskinen. Det kan vara farligt att använda reservdelar från andra tillverkare och det kan göra produktgarantin ogiltig.
| Underhållsintervall | Underhållsförfarande |
|---|---|
| Efter den första timmen |
|
| Efter de första 10 timmarna |
|
| Efter de första 50 timmarna |
|
| Efter de första 200 timmarna |
|
| Varje användning eller dagligen |
|
| Var 50:e timme |
|
| Var 100:e timme |
|
| Var 200:e timme |
|
| Var 400:e timme |
|
| Var 500:e timme |
|
| Var 800:e timme |
|
| Var 1000:e timme |
|
| Var 2000:e timme |
|
| Var 3000:e timme |
|
| Före förvaring |
|
| Vartannat år |
|
Om du lämnar nyckeln i tändningslåset kan någon av misstag starta motorn och skada dig eller någon annan allvarligt.
Ta ut nyckeln ur tändningslåset innan du utför något underhåll.
Kopiera sidan och använd den regelbundet.
| Kontrollpunkt | Vecka: | ||||||
|---|---|---|---|---|---|---|---|
| Måndag | Tisdag | Onsdag | Torsdag | Fredag | Lördag | Söndag | |
| Kontrollera att säkerhetssystemet fungerar. | |||||||
| Kontrollera bromsens funktion. | |||||||
| Kontrollera oljenivån i motorn. | |||||||
| Kontrollera vätskenivån i kylsystemet. | |||||||
| Töm vatten-/bränsleseparatorn. | |||||||
| Kontrollera luftfiltret, dammkåpan och luftningsventilen. | |||||||
| Undersök ovanliga motorljud.1 | |||||||
| Undersök om det finns skräp i kylaren eller gallret. | |||||||
| Kontrollera om det finns missljud vid körning/användning. | |||||||
| Kontrollera hydraulvätskenivån. | |||||||
| Kontrollera att det inte finns skador på hydraulslangarna. | |||||||
| Kontrollera att systemet inte har några oljeläckor. | |||||||
| Kontrollera bränslenivån. | |||||||
| Kontrollera däcktrycket. | |||||||
| Kontrollera instrumentfunktionen. | |||||||
| Kontrollera klipphöjdsinställningen. | |||||||
| Smörj alla smörjnipplarna.2 | |||||||
| Rengör maskinen. | |||||||
| Bättra på skadad lack. | |||||||
|
1 Undersök glödstift och insprutningsmunstycken om motorn är svårstartad, om den avger överdrivet mycket rök eller vid ojämn gång. 2 Omedelbart efter varje tvätt, oavsett intervallet i listan. |
|||||||
Important: Information om ytterligare underhållsrutiner finns i bruksanvisningen till motorn.
| Kontrollen utförd av: | ||
| Artikel | Datum | Information |
Använd följande punkter när maskinen lyfts upp:
Framtill på maskinen – på maskinens ram, framför hjuldrivningsmotorerna (Figur 46)
Important: Använd inte hjuldrivningsmotorerna för att stötta upp maskinen. Håll lyftutrustningen fri från hydraulrör och slangar.

Baktill på maskinen – mitt på axeln (Figur 47)
Leta reda på domkrafterna av angiven kapacitet på båda sidorna av växellådan och under axeln.
Important: Använd inte dragstången för att stötta upp maskinen.

Luta motorhuven för att komma åt chassit enligt Figur 48.

Luta sätet för att komma åt hydraullyftens batterifack enligt Figur 49.

| Underhållsintervall | Underhållsförfarande |
|---|---|
| Var 50:e timme |
|
Typ av fett: Litiumfett nr 2
Smörjnipplarnas placering och antal är som följer:
Bromsaxelns lager (5) enligt Figur 50

Bakre axeltappsbussningar (2) enligt Figur 51

Styrcylinderns kulleder (2) enligt Figur 52

Dragstångskulleder (2) enligt Figur 52
Axeltappsbussningar (2) enligt Figur 52
Important: Smörj den övre nippeln på axeltappen högst en gång om året (2 pumpningar).
Lyftarmsbussningar (1 per klippenhet) enligt Figur 53

Lyftcylinderbussningar (2 per klippenhet) enligt Figur 53
Klippenhetens spindelaxellager (2 per klippenhet) enligt (Figur 54)
Note: Du kan använda vilken som helst av nipplarna, beroende på vilken som är mest tillgänglig. Pumpa in fett i nippeln tills en liten mängd kommer ut längst ned i spindelkåpan (under klippenheten).

Klippenhetens bärarmsbussningar (1 per klippenhet) enligt Figur 54
Bakre rullager (2 per klippenhet) enligt (Figur 55)

Important: Kontrollera att smörjskåran på varje rulle är justerad mot smörjhålet i rullaxelns vardera ände. Det finns även ett justeringsmärke på ena änden av rullaxeln som kan användas som hjälp att justera skåran mot hålet.
Stäng av motorn och ta ut nyckeln innan du kontrollerar oljenivån eller fyller på olja i vevhuset.
Ändra inte varvtalshållarens inställning och övervarva inte motorn.
| Underhållsintervall | Underhållsförfarande |
|---|---|
| Var 400:e timme |
|
Undersök om luftrenarhuset har skador som skulle kunna orsaka en luftläcka. Byt ut den om den är skadad. Kontrollera hela intagssystemet och leta efter läckor, skador eller lösa slangklämmor.
Utför service på luftrenarfiltret bara när serviceindikatorn (Figur 56) anger att det krävs. Om du byter luftfiltret tidigare ökar det risken för att smuts kommer in i motorn när du har avlägsnat filtret.

Important: Försäkra dig om att kåpan sitter som den ska och sluter tätt runt luftrenarhuset.
Använd högkvalitativ motorolja med låg askhalt som uppfyller eller överträffar följande specifikationer:
API-servicekategori CJ-4 eller högre
ACEA-servicekategori E6
JASO-servicekategori DH-2
Important: Om motorolja av annan typ än API CJ-4 eller högre, ACEA E6 eller JASO DH-2 används kan detta orsaka att dieselpartikelfiltret täpps igen eller att motorn skadas.
Använd motorolja med följande viskositetsgrad:
Rekommenderad olja: SAE 15W-40 (över –18 °C) F)
Alternativ olja: SAE 10W-30 eller 5W-30 (alla temperaturer)
Toro Premium-motorolja med en oljeviskositet på 15W-40 eller 10W-30 kan köpas hos auktoriserade Toro-återförsäljare. Artikelnummer hittar du i reservdelskatalogen.
| Underhållsintervall | Underhållsförfarande |
|---|---|
| Varje användning eller dagligen |
|
Motorn levereras med olja i vevhuset. Oljenivån måste dock kontrolleras innan och efter motorn startas första gången.
Important: Kontrollera motoroljan dagligen. Om oljenivån är ovanför markeringen Full på oljestickan kan motoroljan vara utspädd med bränsle.Om oljenivån är ovanför markeringen Full ska du byta motoroljan.
Det är bäst att kontrollera motoroljan när motorn är kall, innan den har startats för dagen. Om motorn redan har varit igång, ska du låta oljan rinna tillbaka ned till sumpen i minst 10 minuter innan du kontrollerar den. Fyll på olja tills nivån når upp till markeringen ”Full” på oljestickan om nivån ligger på eller under markeringen ”Add”.Fyll inte på för mycket olja i motorn.
Important: Motoroljenivån ska ligga mellan den övre och den nedre markeringen på oljestickan. Motorn kan gå sönder om du kör den med för mycket eller för lite olja.
Kontrollera motoroljenivån, se Figur 59.


Note: När du använder annan olja bör du tappa ut all gammal olja ur vevhuset innan du fyller på ny olja.
Cirka 5,7 liter med filtret.
| Underhållsintervall | Underhållsförfarande |
|---|---|
| Var 500:e timme |
|
Note: Så här återställer du serviceindikatorn på Infocenter. Se Ställa in timern för Dags för service.
Starta motorn och låt den gå i fem minuter så att oljan värms upp.
Parkera maskinen på ett plant underlag, koppla in parkeringsbromsen, stäng av motorn och ta ut nyckeln.
Byt motorns olja och filter (Figur 60).


Fyll på olja i vevhuset. Se Vevhusvolym och Kontrollera oljenivån i motorn.
| Underhållsintervall | Underhållsförfarande |
|---|---|
| Var 3000:e timme |
|
I avsnittet om motorn i servicehandboken finns information om demontering och montering av dieseloxideringskatalysatorn och sotfiltret i dieselpartikelfiltret.
Kontakta en auktoriserad Toro-återförsäljare om du behöver reservdelar eller service av dieseloxideringskatalysatorn och sotfiltret.
Kontakta en auktoriserad Toro-återförsäljare så att de kan återställa motorns styrenhet när du har monterat ett rent dieselpartikelfilter.
Under vissa omständigheter är dieselbränsle och bränsleångor mycket brandfarliga och explosiva. Bränslebrand eller explosion kan skada dig själv och andra och orsaka materiella skador.
Använd en tratt och fyll på bränsletanken utomhus på en öppen plats, när motorn är avstängd och kall. Torka upp utspillt bränsle.
Fyll inte tanken helt full. Fyll på bränsle i tanken tills det återstår 6 till 13 mm till påfyllningsrörets underkant. Det tomma utrymmet behövs för bränslets expansion.
Rök aldrig när du handskas med bensin och håll dig borta från öppen eld eller platser där bensinångor kan antändas av gnistor.
Förvara bränsle i en ren, säkerhetsgodkänd behållare och se till att locket sitter på.
| Underhållsintervall | Underhållsförfarande |
|---|---|
| Var 800:e timme |
|
| Före förvaring |
|
Utöver vid de angivna serviceintervallen ska tanken tömmas och rengöras om bränslesystemet förorenas eller om du ställer maskinen i förvaring under en längre period. Använd rent bränsle för att spola ur tanken.
| Underhållsintervall | Underhållsförfarande |
|---|---|
| Var 400:e timme |
|
Kontrollera om bränsleledningarna har skadats eller försämrats på något annat sätt, eller om det finns lösa anslutningar.

| Underhållsintervall | Underhållsförfarande |
|---|---|
| Varje användning eller dagligen |
|
Töm ut vatten från bränsle-/vattenseparatorn enligt (Figur 62).

| Underhållsintervall | Underhållsförfarande |
|---|---|
| Var 400:e timme |
|
Byt ut bränslefilterskålen enligt Figur 63.

| Underhållsintervall | Underhållsförfarande |
|---|---|
| Var 400:e timme |
|
Gör rent området kring bränslefilterhuvudet (Figur 64).

Demontera filtret och rengör filterhuvudets monteringsyta (Figur 64).
Smörj filterpackningen med ren motorsmörjolja. Mer information finns i bruksanvisningen till motorn.
Montera den torra filterskålen för hand tills packningen kommer i kontakt med filterhuvudet, och vrid den sedan ytterligare ett halvt varv.
Lufta filtret och linjerna till högtryckspumpen Se Flöda bränslesystemet.
Starta motorn och kontrollera om det finns några läckor runt filterhuvudet igen.
Bränsleupptagningsröret sitter på bränsletankens insida och är utrustat med ett filter som förhindrar att skräp kommer in i bränslesystemet. Demontera bränsleupptagningsröret och rengör filtret vid behov.
Ta bort slangklämman som fäster bränsletillförselslangen vid bränsleupptagningsrörets fäste (Figur 65).

Skilj slangen från fästet (Figur 65).
Lyft upp bränsleupptagningsröret från bränsletanken (Figur 65).
Note: Lyft röret direkt från bussningen i tanken.
Ta bort allt skräp från gallret på bränsleupptagningsrörets ände (Figur 65).
För in bränsleupptagningsröret genom gummibussningen och ned i tanken (Figur 65).
Note: Kontrollera att bränsleupptagningsröret sitter ordentligt i gummibussningen.
Montera tillförselslangen på bränsleupptagningsrörets koppling och fäst slangen med slangklämman som du tog bort i steg 1.
Snapsa bränslesystemet innan du startar motorn för första gången, om tanken har tömts på bensin eller efter underhåll av bränslesystemet (t.ex. efter att du har tömt filtret/vattenseparatorn eller bytt bränsleslang).
Innan du snapsar bränslesystemet ska du utföra följande steg:
Kontrollera att det finns bränsle i bränsletanken.
Utför följande steg för att snapsa filtret och ledningarna till högtryckspumpen för att förhindra slitage och skador på pumpen:
Vrid nyckeln till läget På i 15–20 sekunder.
Vrid nyckeln till läget AV i 30–40 sekunder.
Note: Detta gör att styrenheten stängs av.
Vrid nyckeln till läget På i 15–20 sekunder.
Kontrollera om det finns några läckor runt filter och slangar.
Important: Snapsa inte bränslesystemet genom att använda startmotorn för att dra runt motorn.
Koppla bort batteriet innan reparation utförs på maskinen. Lossa minuskabelanslutningen först och pluskabelanslutningen sist. Återanslut pluskabelanslutningen först och minuskabelanslutningen sist.
Ladda batteriet i ett öppet och välventilerat utrymme, på avstånd från gnistor och öppna lågor. Koppla ur laddaren innan batteriet ansluts eller kopplas bort. Använd skyddskläder och isolerade verktyg.
| Underhållsintervall | Underhållsförfarande |
|---|---|
| Var 50:e timme |
|
Important: Lossa minuskabeln från batteriet innan du svetsar något på maskinen, så att inte elsystemet skadas. Koppla även bort motorn, InfoCenter och maskinens styrenheter innan du svetsar på maskinen.
Note: Se till att hålla kabelanslutningarna och hela batterilådan rena, eftersom ett smutsigt batteri långsamt laddas ur. Rengör batteriet genom att tvätta hela lådan med en lösning bestående av natriumbikarbonat och vatten. Skölj med rent vatten. Fetta in batteripoler och kabelskor med smörjfett av typen Grafo 112X (skinover) (Toro artikelnr 505-47) eller vaselin för att förhindra korrosion.
Lossa spärren för locket till höger förvaringslåda och lyft upp locket (Figur 68).
Batterielektrolyt innehåller svavelsyra som är dödligt vid förtäring och orsakar allvarliga brännskador.
Drick inte elektrolyten och undvik kontakt med hud, ögon och kläder. Använd skyddsglasögon för att skydda ögonen och gummihandskar för att skydda händerna.
Fyll på batteriet på en plats där du har tillgång till rent vatten och kan skölja av huden.
Ta bort gummiskon från pluskabelanslutningen och undersök batteriet.
Ta bort minuskabeln (svart) från minuskabelanslutningen (–) och pluskabeln (röd) från pluskabelanslutningen (+) på batteriet (Figur 66).
Felaktig dragning av batterikablarna kan skada maskinen och kablarna samt orsaka gnistor. Gnistor kan få batterigaserna att explodera, vilket kan leda till personskador.
Lossa alltid batteriets minuskabel (svart) innan du lossar pluskabeln (röd).
Anslut alltid pluskabeln (röd) innan du ansluter minuskabeln (svart).
Batteripolerna eller verktyg av metall kan kortslutas mot maskinkomponenter i metall och orsaka gnistor. Gnistor kan få batterigaserna att explodera, vilket kan leda till personskador.
Vid avlägsnande eller installation av batteriet får du inte låta batterianslutningarna komma i kontakt med några av maskinens metalldelar.
Låt inte metallverktyg kortslutas mellan batterianslutningarna och maskinens metalldelar.

Anslut en batteriladdare på 3–4 A till batteripolerna. Ladda batteriet med 3–4 A under 4–8 timmar.
Vid laddning av batteriet bildas explosiva gaser.
Rök aldrig nära batteriet och håll det borta från gnistor och lågor.
Koppla ur laddningsanordningen från eluttaget och batteripolerna när batteriet är laddat.
Fäst pluskabeln (röd) till pluskabelanslutningen (+) och minuskabeln (svart) till minuskabelanslutningen (–) på batteriet (Figur 66).
Fäst kablarna vid polerna med skruvar och muttrar.
Note: Se till att pluskabelanslutningen (+) går ända upp till polen och att kabeln sitter tätt emot batteriet. Kabeln får inte vidröra batterikåpan.
Fetta in båda batterianslutningarna med smörjfett av typen Grafo 112X (skin-over), artikelnr 505-47, vaselin eller ett lättare fett för att förhindra korrosion.
Trä gummiskon över den positiva anslutningen.
Stäng konsolpanelen och säkra spärren.
Maskinens säkringsblock sitter i den högra förvaringslådan.


| Underhållsintervall | Underhållsförfarande |
|---|---|
| Var 400:e timme |
|
Det ska inte förekomma något ändspelrum i planetväxlarna/drivhjulen (dvs. hjulen ska inte röra sig när du trycker på dem eller drar i dem i en riktning som är parallell med axeln).
Ställ maskinen på ett plant underlag, koppla in parkeringsbromsen, sänk ned klippenheterna, stäng av motorn och ta ut nyckeln.
Blockera bakdäcken och höj upp maskinens front genom att stötta upp den främre axeln/ramen med domkrafter.
En maskin på en domkraft kan bli instabil och halka av domkraften och skada personer som befinner sig under den.
Starta inte motorn när maskinen stöttas upp med en domkraft.
Ta alltid ut nyckeln ur tändningslåset innan du kliver ut ur maskinen.
Blockera hjulen när du stöttar upp maskinen med en domkraft.
Stötta upp maskinen med domkrafter.
Ta tag i ett av de främre drivhjulen och tryck det mot eller dra det från maskinen och observera eventuell rörelse.

Upprepa steg 3 för det andra drivhjulet.
Om något hjul rör sig kontaktar du en auktoriserad Toro-leverantör och låter denne bygga om planetväxeln.
| Underhållsintervall | Underhållsförfarande |
|---|---|
| Var 400:e timme |
|
Oljespecifikation: högkvalitativ SAE 85W-140-växelolja
Parkera maskinen på ett plant underlag och placera hjulet så att påfyllningspluggen är i läget klockan 12, kontrollpluggen är i läget klockan 3 och avtappningspluggen är i läget klockan 6 (Figur 72).

Ta bort kontrollpluggen som sitter i läget klockan 3 (Figur 72).
Oljenivån ska vara vid botten av kontrollplugghålet.

Om oljenivån är låg ska du ta bort påfyllningspluggen som är i läget klockan 12 och fylla på med olja tills den rinner ut ur hålet som är i läget klockan 3.
Kontrollera om O-ringen för pluggen/pluggarna är sliten eller skadad.
Note: Byt ut O-ringen/ringarna vid behov.
Montera pluggen/pluggarna.
Upprepa steg 1 till 5 på planetväxeln på maskinens andra sida.
| Underhållsintervall | Underhållsförfarande |
|---|---|
| Efter de första 50 timmarna |
|
| Var 800:e timme |
|
Oljespecifikation: högkvalitativ SAE 85W-140-växelolja
Smörjkapacitet för planetväxel och bromshus: 0,65 l
Parkera maskinen på ett plant underlag och placera hjulet så att påfyllningspluggen är i läget klockan 12, kontrollpluggen är i läget klockan 3 och avtappningspluggen är i läget klockan 6. Se Figur 72 i Kontrollera planetväxeloljan.
Ta bort påfyllningspluggen i läget klockan 12 och kontrollpluggen i läget klockan 3 (Figur 74).

Placera ett avtappningskärl under planetnavet, ta bort avtappningspluggen i läget klockan 6 och låt oljan tappas ut helt (Figur 74).
Kontrollera om O-ringarna för påfyllnings-, kontroll- och avtappningspluggarna är slitna eller skadade.
Note: Byt ut O-ringen/ringarna vid behov.
Montera avtappningspluggen i avtappningshålet på planetväxelhuset (Figur 74).
Placera ett avtappningskärl under bromshuset, ta bort avtappningspluggen och låt oljan tappas ut helt (Figur 75).

Kontrollera om pluggens O-ring är sliten eller skadad och sätt tillbaka avtappningspluggen i bromshuset.
Note: Byt ut O-ringen vid behov.
Fyll långsamt på planetväxeln med 0,65 liter högkvalitativ olja av typen SAE 85W-140 genom påfyllningspluggshålet.
Important: Om planetväxeln blir full innan 0,65 liter olja har tillsatts ska du vänta i en timme eller sätta tillbaka pluggen och flytta maskinen cirka tre meter så att oljan fördelas i bromssystemet. Ta sedan bort pluggen och fyll på resterande olja.

Sätt tillbaka påfyllningspluggen och kontrollpluggen.
Torka av planetväxeln och bromshusen (Figur 77).

Upprepa steg 1 till 7 i Tömma planetväxeln och steg 1 till 3 i denna procedur för planetväxeln/bromsen på maskinens andra sida.
| Underhållsintervall | Underhållsförfarande |
|---|---|
| Varje användning eller dagligen |
|
Gör en visuell läckagekontroll av bakaxeln och bakaxelväxellådan.

| Underhållsintervall | Underhållsförfarande |
|---|---|
| Var 400:e timme |
|
Bakaxeln är fylld med olja av typen SAE 85W-140. Kapaciteten är 2,4 liter. Gör en visuell läckagekontroll varje dag.
Ställ maskinen på ett plant underlag, koppla in parkeringsbromsen, sänk ned klippenheterna, stäng av motorn och ta ut nyckeln.
Ta bort en kontrollplugg från axelns ena sida och se till att oljan når upp till botten av hålet (Figur 79).
Note: Ta bort påfyllningspluggen om nivån är låg, och tillsätt tillräckligt med olja så att nivån når botten av kontrollhålet.

| Underhållsintervall | Underhållsförfarande |
|---|---|
| Efter de första 200 timmarna |
|
| Var 800:e timme |
|
Oljespecifikation: högkvalitativ SAE 85W-140-växelolja
Axelkapacitet: 2,4 liter
Ställ maskinen på ett plant underlag, koppla in parkeringsbromsen, sänk ned klippenheterna, stäng av motorn och ta ut nyckeln.
Gör rent runt de tre avtappningspluggarna: en på varje ände och en i mitten (Figur 80).

Ta bort oljekontrollpluggarna och huvudaxelns luftningslock, så att växeloljan kan rinna ut lättare.
Ta bort avtappningspluggarna så att växeloljan kan rinna ned i kärlen.
Montera pluggarna.
Ta bort en kontrollplugg och fyll axeln med ca 2,4 liter olja av typen 85W-140, eller tills smörjmedlet nått upp till hålets botten.
Montera kontrollpluggen.
| Underhållsintervall | Underhållsförfarande |
|---|---|
| Var 400:e timme |
|
Växellådan är fylld med olja av typen SAE 85W-140. Kapaciteten är 0,5 liter. Gör en visuell läckagekontroll varje dag.
Ställ maskinen på ett plant underlag, koppla in parkeringsbromsen, sänk ned klippenheterna, stäng av motorn och ta ut nyckeln.
Ta bort kontroll-/påfyllningspluggen på växellådans vänstra sida och kontrollera att oljan når upp till botten av hålet (Figur 81).
Note: Fyll på tillräckligt med olja så att den når botten av hålet om nivån är för låg.

| Underhållsintervall | Underhållsförfarande |
|---|---|
| Var 800:e timme |
|
Ställ maskinen på ett plant underlag, koppla in parkeringsbromsen, sänk ned klippenheterna, stäng av motorn och ta ut nyckeln.
Mät avståndet från mitt till mitt (vid axelhöjd) framtill och baktill på styrhjulen (Figur 82).
Note: Det främre måttet ska vara 3 mm mindre än det bakre måttet.

Justera genom att ta bort saxpinne och mutter från varje kulled på dragstången (Figur 83). Avlägsna kulleden på dragstången från stödet till axelhuset.

Lossa klämmorna på dragstängernas bägge ändar (Figur 83).
Vrid den lösgjorda kulleden inåt eller utåt ett (1) helt varv, och dra åt klämman i dragstångens lösa ände.
Vrid hela dragstångsenheten åt samma håll (inåt eller utåt) ett helt varv, och dra åt klämman i den anslutna änden av dragstången.
Montera kulleden på stödet till axelhuset, dra åt muttern med fingrarna och mät skränkningen.
Upprepa proceduren om så behövs.
Dra åt muttern och montera en ny saxpinne när justeringen är korrekt.
Motorns kylvätska kan orsaka förgiftning vid förtäring. Förvara den utom räckhåll för barn och husdjur.
Het kylvätska som sprutas ut under tryck kan orsaka allvarliga brännskador, och detsamma gäller om man vidrör den heta kylaren eller närliggande delar.
Låt motorn svalna i minst 15 minuter innan du öppnar kylarlocket.
Ta hjälp av en trasa för att öppna kylarlocket och öppna locket sakta så att ånga kan komma ut.
Kör inte maskinen om inte kåporna sitter på plats.
Håll fingrar, händer och kläder borta från den roterande fläkten och drivremmen.
Kylvätsketanken fylls på fabriken med en 50/50-blandning av vatten och etylenglykolbaserad kylvätska med längre livslängd.
Important: Använd endast kommersiellt tillgängliga kylvätskor som uppfyller specifikationerna som anges i tabellen för kylvätskestandarder med längre livslängd (Extended Life Coolant Standards Table).Använd inte konventionell (grön), oorganisk syra-teknik (IAT) som kylvätska i maskinen. Blanda inte konventionell kylvätska med kylvätska med längre livslängd.
|
Typ av etylenglykolkylvätska |
Typ av korrosionshämmare |
|
Långlivad frostskyddad |
Organisk syra-teknik (OAT) |
|
Important: Förlita dig inte på färgen på kylvätskan för att identifiera skillnaden mellan konventionella (gröna), oorganiska syra-teknik (IAT) kylvätskor och kylvätskor med längre livslängd.Kylvätsketillverkare färgar ibland kylvätska med längre livslängd i någon av följande färger: röd, rosa, orange, gul, blå, turkos, lila och grön. Använd kylvätska som uppfyller specifikationerna som anges i tabellen för kylvätskestandarder med längre livslängd. |
|
|
ATSM International |
SAE International |
|
D3306 och D4985 |
J1034, J814 och 1941 |
Important: Kylvätskekoncentrationen ska vara en 50/50-blandning av kylvätska och vatten.
Rekommenderat: blanda kylvätska från ett koncentrat med destillerat vatten.
Rekommenderat alternativ: om destillerat vatten inte är tillgängligt bör du använda en färdigblandad kylvätska istället för ett koncentrat.
Minimikrav: om varken destillerat vatten eller färdigblandad kylvätska finns tillgängligt ska du blanda den koncentrerade kylvätskan med rent drickbart vatten.
| Underhållsintervall | Underhållsförfarande |
|---|---|
| Varje användning eller dagligen |
|
Kylsystemets volym: 8,5 liter.
Roterande fläktar och drivremmar kan orsaka personskador.
Maskinen får endast köras om skydden sitter på plats.
Håll fingrar, händer och kläder borta från den roterande fläkten och drivremmen.
Stäng av motorn och ta ut nyckeln innan du utför något underhåll.
Ställ maskinen på ett plant underlag, koppla in parkeringsbromsen, sänk ned klippenheterna, stäng av motorn och ta ut nyckeln.
Ta av kylarlocket försiktigt.

Kontrollera kylvätskenivån i kylaren. Kylaren ska fyllas upp till påfyllningsrörets översta del och expansionstanken ska fyllas upp till markeringen FULL (Figur 84).
Tillsätt en 50/50-blandning av vatten och frostskyddsmedel med etylenglykol om kylmedelnivån är låg; se Specifikationer för kylvätska. Använd inte enbart vatten och inte heller alkohol-/metanolbaserat kylmedel.
Sätt tillbaka kylarlocket och locket till expansionstanken.
| Underhållsintervall | Underhållsförfarande |
|---|---|
| Varje användning eller dagligen |
|
Maskinen är försedd med ett hydrauldrivet fläktsystem som automatiskt (eller manuellt) körs bakåt när skräp behöver avlägsnas från oljekylaren/kylaren och gallret. Med den här funktionen går det snabbare att rengöra maskinens kylare/oljekylare, men den eliminerar inte behovet av rutinrengöring. Regelbunden rengöring och kontroll måste fortfarande utföras på kylaren/oljekylaren.
Ställ maskinen på ett plant underlag, koppla in parkeringsbromsen, sänk ned klippenheterna, stäng av motorn och ta ut nyckeln.
Låt maskinen svalna. Se Säkerhet vid underhåll och Säkerhet för kylsystemet.
Frigör och sväng upp bakpanelen (Figur 85).
Note: Avlägsna panelen genom att lyfta av den från gångjärnsbultarna.
Rengör panelen noggrant och ta bort allt skräp.

Rengör noga på båda sidor om oljekylaren och kylaren med tryckluft (Figur 86).
Note: Börja framifrån och blås skräpet bakåt. Rengör sedan bakifrån och blås framåt. Upprepa detta flera gånger tills alla beläggningar och allt skräp är borta.

Important: Om oljekylaren/kylaren rengörs med vatten leder det till för tidig uppkomst av rost och att skräp packas samman.
Stäng den bakre panelen och lås den med spärrhaken.
Justera fotbromsarna om bromspedalens rörelseavstånd överstiger 25 mm eller om bromsarna inte fungerar effektivt. Det fria spelet är det avstånd bromspedalen förflyttar sig innan bromsmotståndet känns av.
Ställ maskinen på ett plant underlag, koppla in parkeringsbromsen, sänk ned klippenheterna, stäng av motorn och ta ut nyckeln.
Koppla ur låsspärren från bromspedalen så att båda pedalerna fungerar oberoende av varandra.
För att minska bromspedalernas fria spel ska du dra åt bromsarna som följer:
Lossa frontmuttern på den gängade änden av bromsvajern (Figur 87).

Dra åt den bakre muttern för att dra vajern bakåt tills bromspedalernas rörelseavstånd är mellan 13 och 25 mm.
Dra åt de främre muttrarna efter att bromsarna har justerats korrekt.
| Underhållsintervall | Underhållsförfarande |
|---|---|
| Var 100:e timme |
|
Om remmen är korrekt spänd kan den böjas ned 10 mm med en kraft på 4,5 kg mittemellan remskivorna.
Om nedböjningen inte är 10 mm lossar du generatorns fästbultar (Figur 56).
Note: Öka eller minska generatorremmens spänning och dra åt bultarna. Kontrollera remmens nedböjning igen för att säkerställa att spännkraften är korrekt.

Sök omedelbart läkare om du träffas av en stråle hydraulvätska och vätskan tränger in i huden. Vätska som trängt in i huden måste opereras bort inom några få timmar av en läkare.
Se till att alla hydrauloljeslangar och -ledningar är i gott skick och att alla hydraulanslutningar och -kopplingar är ordentligt åtdragna innan hydraulsystemet trycksätts.
Håll kropp och händer borta från småläckor eller munstycken som sprutar ut hydraulvätska under högtryck.
Använd en kartong- eller pappersbit för att hitta hydraulläckor.
Lätta på allt tryck i hydraulsystemet på ett säkert sätt innan något arbete utförs i hydraulsystemet.
Tanken fylls med hydraulvätska av hög kvalitet på fabriken. Kontrollera hydraulvätskenivån innan motorn startas för första gången och därefter dagligen. Se Kontrollera hydraulvätskenivån.
Rekommenderad hydraulvätska: Toro PX-hydraulvätska med förlängd hållbarhet. Finns i spannar om 19 liter eller fat om 208 liter.
Note: Om den rekommenderade utbytesvätskan används behöver maskinens vätska och filter inte bytas ut lika ofta.
Alternativa hydraulvätskor: Om Toro PX-hydraulvätska med förlängd hållbarhet inte är tillgänglig kan du använda en annan vanlig, oljebaserad hydraulvätska med specifikationer som faller inom det angivna området för samtliga materialegenskaper nedan och som uppfyller branschstandarderna. Använd inte syntetisk vätska. Rådgör med din smörjmedelsdistributör för att hitta en lämplig produkt.
Note: Toro ansvarar inte för skador som uppstått till följd av att felaktiga vätskor använts. Använd därför endast produkter från ansedda tillverkare som ansvarar för sina rekommendationer.
| Materialegenskaper: | ||
| Viskositet, ASTM D445 | cSt vid 40 °C: 44 till 48 | |
| Viskositetsindex, ASTM D2270 | 140 eller högre | |
| Flytpunkt, ASTM D97 | -37 °C till -45 °C | |
| Branschspecifikationer: | Eaton Vickers 694 (I-286-S, M-2950-S/35VQ25 eller M-2952-S) | |
Note: Många hydraulvätskor är nästintill färglösa vilket gör det svårt att upptäcka läckor. Det finns en rödfärgstillsats till hydraulvätskan i flaskor om 20 ml. En flaska räcker till 15–22 liter hydraulvätska. Beställ artikelnr 44-2500 från en auktoriserad Toro-återförsäljare.
Important: Toro Premium Synthetic Biodegradable Hydraulic Fluid är den enda syntetiska, biologiskt nedbrytbara hydraulvätskan som godkänts av Toro. Vätskan kan blandas med de elastomerer som används i Toros hydraulsystem och kan användas i många olika temperaturer. Vätskan kan blandas med traditionella mineraloljor, men för största möjliga biologiska nedbrytbarhet och prestanda bör hydraulsystemet sköljas noga så att inga traditionella oljor finns kvar. Du kan köpa oljan i dunkar om 19 liter eller fat om 208 liter hos en auktoriserad Toro-återförsäljare.
| Underhållsintervall | Underhållsförfarande |
|---|---|
| Varje användning eller dagligen |
|
Ställ maskinen på ett plant underlag, koppla in parkeringsbromsen, sänk ned klippenheterna, stäng av motorn och ta ut nyckeln.
Kontrollera hydraulvätskenivån (Figur 89).


| Underhållsintervall | Underhållsförfarande |
|---|---|
| Var 800:e timme |
|
| Var 2000:e timme |
|
| Vartannat år |
|
Hydraulvätskekapacitet: 28,4 liter
Om den är förorenad ska du kontakta din lokala Toro-återförsäljare, eftersom systemet måste spolas. Förorenad hydraulvätska är mjölkaktig eller svart jämfört med ren olja.
Ställ maskinen på ett plant underlag, koppla in parkeringsbromsen, sänk ned klippenheterna, stäng av motorn och ta ut nyckeln.
Öppna huven.
Lossa returröret från behållarens botten och låt hydraulvätskan rinna ner i ett stort kärl.
Sätt tillbaka slangen när all hydraulvätska har tömts ut.
Fyll tanken med hydraulvätska. Se Serva hydraulvätskan.
Important: Använd endast specificerade hydrauloljor. Andra oljor kan orsaka skador på systemet.
Sätt tillbaka tanklocket.
Starta motorn genom att vrida nyckeln i tändningslåset till läget På. Använd samtliga hydraulreglage för att sprida hydraulvätskan i hela systemet. Kontrollera om det finns några läckor.
Vrid nyckeln i tändningslåset till läget AV.
Kontrollera vätskenivån och fyll på tillräckligt så att nivån når upp till markeringen FULL på oljestickan. Fyll inte på för mycket.
| Underhållsintervall | Underhållsförfarande |
|---|---|
| Var 800:e timme |
|
| Var 1000:e timme |
|
Använd Toro-ersättningsfilter med artikelnr 94-2621 på maskinens baksida (klippenheter) och artikelnr 75-1310 på dess framsida (laddning).
Important: Om något annat filter används kan garantin för några av komponenterna bli ogiltig.
Luta förarsätet för att komma åt klipparens tryckfilter. Se Komma åt hydraullyftens batterifack.

Byt ut det hydrauliska laddfiltret i hydraullyftens batterifack enligt Figur 91.


Sänk ned och lås fast förarsätet.
Byt returfiltret på maskinens högra sida (Figur 91).
Starta motorn och låt den gå i cirka 2 minuter så att systemet avluftas. Stäng av motorn och undersök om det finns några läckor.
| Underhållsintervall | Underhållsförfarande |
|---|---|
| Varje användning eller dagligen |
|
| Vartannat år |
|
Undersök hydraulledningarna och slangarna dagligen och kontrollera om det finns läckor, vridna ledningar, lösa fäststöd, slitage, lösa beslag, väderslitage och kemiskt slitage. Reparera alla eventuella skador innan du använder maskinen igen.
Hydraulvätska som läcker ut under tryck kan tränga in i huden och orsaka skada.
Uppsök läkare omedelbart om du träffas av en stråle hydraulvätska och vätskan tränger in i huden.
Kontrollera att alla hydrauloljeslangar och -ledningar är i gott skick och att alla hydraulanslutningar och -kopplingar är ordentligt åtdragna innan hydraulsystemet trycksätts.
Håll kropp och händer borta från småläckor eller munstycken som sprutar ut hydraulvätska under högtryck.
Använd en kartong- eller pappersbit för att hitta hydraulläckor.
Lätta på allt tryck i hydraulsystemet på ett säkert sätt innan något arbete utförs i hydraulsystemet.
Ställ maskinen på ett plant underlag, koppla in parkeringsbromsen, sänk ned klippenheterna, stäng av motorn och ta ut nyckeln.
Koppla ur och avlägsna hydraulmotorn från klippenheten (Figur 92). Täck över spindelns ovandel för att förhindra förorening.

Ta bort hjulsprinten (Groundsmaster 4500-maskiner) eller fästmuttern (Groundsmaster 4700-maskiner) som fäster klippenhetens bärram vid lyftarmens svängtapp (Figur 93).

Rulla bort klippenheten från maskinen.
Placera klippenheten i rätt läge framför maskinen.
Skjut på klippenhetens bärram på lyftarmens svängtapp (Figur 93). Fäst klippenheten vid tappen med hjulsprinten (Groundsmaster 4500-maskiner) eller fästmuttern (Groundsmaster 4700-maskiner).
Montera hydraulmotorn på klippenheten (Figur 92). Se till att O-ringen sitter i rätt läge och är i bra skick.
Smörj spindeln.
Kontrollera om den främre rullen är sliten, svänger mycket eller kärvar. Om något av dessa tillstånd föreligger bör service utföras på rullen eller också bör den eller några komponenter bytas ut.
Ta bort rullarnas fästbult (Figur 94).
Skjut in ett pinndorn genom rullkåpans ände och driv ut det motsatta lagret genom att knacka växelvis på motsatt sida av den inre lagerbanan. En fläns på 1,5 mm bör friläggas från den inre lagerbanan.

Tryck ut det andra lagret.
Kontrollera att rullkåpan, lagren och lagrets distansbricka är i gott skick (Figur 94). Byt ut skadade komponenter och montera dem.
Tryck in det första lagret i rullkåpan (Figur 94). Tryck endast på den yttre lagerbanan eller lika mycket på den inre och yttre lagerbanan.
För in distansbrickan (Figur 94).
Tryck in det andra lagret i rullkåpan (Figur 94). Tryck lika mycket på den inre och den yttre lagerbanan tills den inre lagerbanan vidrör distansbrickan.
Montera rullenheten i klippenhetsramen.
Kontrollera att avståndet mellan rullenheten och klippenhetens rullmonteringsfästen inte överstiger 1,5 mm. Om avståndet överstiger 1,5 mm kan du montera så många brickor (⅝ tum i diameter) som behövs för att ta upp spelet.
Important: Om rullenheten monteras med ett avstånd som överstiger 1,5 mm belastas lagrets sida, vilket kan leda till att lagret går sönder i förtid.
Dra åt fästskruven till 108 Nm.
Kontrollera om kniven är sliten eller skadad med jämna mellanrum.
Var försiktig när du kontrollerar knivarna. Linda in knivarna i något eller ta på dig handskar, och var försiktig när du servar knivarna. Knivarna får endast bytas ut eller slipas – de ska aldrig rätas ut eller svetsas.
Var försiktig vid hantering av maskiner med flera knivar, eftersom en roterande kniv kan få andra knivar att rotera.
Klippenheten levereras från fabriken med en förinställd klipphöjd på 5 cm och en bladräfsa på 7,9 mm. Vänster och höger höjd är också förinställda till ett avstånd på högst ± 0,7 mm från varandra.
Klippenheten är konstruerad för att motstå knivstötar utan att kammaren deformeras. Om kniven stöter emot något hårt föremål ska du kontrollera att kniven inte är skadad och att knivplanet är korrekt inställt.
Avlägsna hydraulmotorn från klippenheten och klippenheten från maskinen.
Använd en domkraft (eller ta hjälp av minst en person) och placera klippenheten på ett plant bord.
Markera den ena änden av kniven med en färgpenna eller en markör. Använd denna knivände för att kontrollera alla höjder.
Placera den markerade ändens skäregg i läget klockan 12 (rakt fram i klippriktningen) (Figur 95) och mät höjden från bordet till knivens skäregg.

Vrid knivens markerade ände till lägena klockan 3 och klockan 9 (Figur 95) och mät höjderna.
Jämför den avlästa höjden vid läget klockan 12 med klipphöjdsinställningen. Den bör ligga inom 0,7 mm. Höjderna klockan 3 och klockan 9 bör vara 1,6 ± 6,0 mm högre än klockan 12 och befinna sig på ett avstånd av högst 2,2 mm från varandra.
Gå vidare till Justera knivplanet om något av måtten inte ligger inom specifikationen.
Börja med att justera framdelen (byt ut ett fäste åt gången).
Avlägsna klipphöjdsfästet (främre, vänstra eller högra) från klippenhetsramen (Figur 96).
Justera mellanlägg på 1,5 mm och/eller 0,7 mm mellan klippenhetsramen och fästet för att erhålla önskad höjdinställning (Figur 96).

Montera klipphöjdsfästet på klippenhetsramen med de återstående mellanläggen som monterats under klipphöjdsfästet.
Fäst insexskruven/distansbrickan och flänsmuttern.
Note: Insexskruven/distansbrickan hålls ihop med gänglåsningslim för att undvika att distansbrickan faller ned i klippenhetsramen.
Kontrollera höjden klockan 12 och justera vid behov.
Avgör om endast ett eller båda klipphöjdsfästena (höger och vänster) behöver justeras.
Note: Om klockan 3- eller klockan 9-sidan är 1,6 ± 6,0 mm högre än den nya höjden i framändan behövs ingen justering för den sidan. Justera den andra sidan till högst ± 2,2 mm från den korrekta sidan.
Justera höger och/eller vänster klipphöjdsfäste genom att upprepa steg 1 till 4.
Fäst med vagnsbultar och flänsmuttrar.
Kontrollera höjden klockan 12, 3 och 9.
Byt en kniv om den har träffats av ett hårt föremål, om kniven är obalanserad eller böjd. Använd alltid originalknivar från Toro för att garantera säkerhet och optimal prestanda.
Ställ maskinen på ett plant underlag, höj upp klippenheten till transportläget, koppla in parkeringsbromsen, stäng av motorn och ta ut nyckeln.
Note: Palla upp eller lås klippenheten så att den inte kan falla av en olyckshändelse.
Fatta tag i knivens ände med en trasa eller en tjockt vadderad handske.
Ta bort knivskruven, antiskalpbehållaren och kniven från spindelaxeln (Figur 97).

Montera kniven, antiskalpbehållaren och knivskruven och dra åt knivskruven till 115–149 Nm.
Important: Knivens böjda del måste alltid vara vänd mot klippenhetens insida för att klippningen ska bli rätt.
Note: Om du har kört på något föremål ska du dra åt samtliga muttrar på spindelskivorna till 115–149 Nm.
Ägna särskild uppmärksamhet åt två områden när du kontrollerar och servar klipparkniven: seglet och knivseggen. Både eggar och segel (den uppåtvända delen mittemot eggen) bidrar till en god klippkvalitet. Seglet är viktigt eftersom det lyfter gräset rätt upp och därmed bidrar till en jämn klippning. Seglet slits dock gradvis under arbetet. I takt med att seglet slits försämras klippkvaliteten något, trots att eggarna är vassa. Knivens egg måste vara vass så att gräset klipps snarare än slits av. Om grässpetsarna ser bruna och avslitna ut är det ett tydligt tecken på att eggarna är slöa. Slipa dem i så fall för att åtgärda problemet.
Ställ maskinen på ett plant underlag, höj upp klippenheten, koppla in parkeringsbromsen, för gaspedalen till NEUTRALLäGET, för kraftuttagsspaken till AVSTäNGT läge, stäng av motorn och ta ut nyckeln ur tändningslåset.
Undersök knivseggarna noggrant, i synnerhet där knivens flata och böjda del möts (Figur 98).
Note: Kontrollera kniven innan du använder gräsklipparen, eftersom sand och slipande material kan slita bort metallen mellan knivens flata och böjda delar. Byt ut kniven om den är sliten (Figur 98).

Kontrollera samtliga knivseggar och vässa dem om de är slöa eller har fått hack (Figur 99).
Note: Slipa endast knivseggens översta del och behåll den ursprungliga skärvinkeln för bästa skärpa (Figur 99). Kniven bibehåller balansen om du slipar bort lika mycket från båda knivseggarna.

Note: Demontera knivarna och slipa dem med en slipmaskin. När du har slipat knivseggarna monterar du kniven med antiskalpbehållaren och knivskruven. Se Demontera och montera klippenhetsknivarna.
Stäng av motorn, ta ut nyckeln och vänta tills alla rörliga delar har stannat innan du kliver ur förarsätet. Låt maskinen svalna innan du utför service, justerar, rengör eller ställer den i förvar.
Förvara inte maskinen eller bränslebehållaren i närheten av en öppen låga, gnista eller tändlåga, t.ex. nära en varmvattenberedare eller någon annan utrustning.
Important: Använd inte bräckt eller återvunnet vatten (gråvatten) när du gör rent maskinen.
Rengör traktorenheten, klippenheterna och motorn ordentligt.
Kontrollera däcktrycket. Pumpa upp alla däck på traktorenheten till mellan 0,82 och 1,03 bar.
Kontrollera alla fästelement och dra åt dem om de är lösa.
Smörj alla smörjnipplar och böjaxlar. Torka av överflödigt fett.
Sandpappra lätt och måla i områden där färgen har skrapats av, flagat eller rostat. Reparera eventuella bucklor i metallchassit.
Serva batteriet och kablarna på följande sätt:
Ta bort batteriets kabelanslutningar från batteripolerna.
Note: Lossa alltid minuskabelanslutningen först och pluskabelanslutningen sist. Återanslut alltid pluskabelanslutningen först och minuskabelanslutningen sist.
Rengör batteriet, kabelanslutningarna och polerna med en stålborste och bakpulverlösning.
Fetta in kabelanslutningar och batteripoler med smörjfett av typen Grafo 112X (skin-over) (artikelnr 505-47) eller vaselin för att förhindra korrosion.
Ladda långsamt upp batteriet i 24 timmar var 60:e dag för att förhindra att det blysulfateras.
Töm motoroljan från kärlet och sätt tillbaka avtappningspluggen.
Ta bort och kasta oljefiltret. Montera ett nytt oljefilter.
Fyll på oljekärlet med rätt mängd motorolja.
Vrid om nyckeln i tändningslåset till läget På, starta motorn och låt den gå på tomgång i cirka två minuter.
Vrid om nyckeln i tändningslåset till läget AV.
Tappa noga ur allt bränsle ur bränsletanken, bränsleledningarna och bränslefiltret/vattenseparatorn.
Spola bränsletanken med färskt, rent dieselbränsle.
Dra åt alla anslutningar i bränslesystemet.
Rengör och serva luftrenaren ordentligt.
Täta luftrenarens inlopp och avgasutloppet med väderbeständig tejp.
Kontrollera frostskyddsmedlet och fyll på vid behov så att maskinen klarar de lägsta temperaturerna under vintern.
Om klippenheterna är avskilda från traktorenheten under en längre tid ska en spindelplugg monteras överst i spindlarna för att skydda spindlarna från damm och vatten.
