| Maintenance Service Interval | Maintenance Procedure |
|---|---|
| Before each use or daily |
|
This machine is a ride-on, rotary-blade lawn mower intended to be used by professional, hired operators in commercial applications. It is primarily designed for cutting grass on well-maintained lawns in parks, sports fields, and on commercial grounds. Using this product for purposes other than its intended use could prove dangerous to you and bystanders.
Read this information carefully to learn how to operate and maintain your product properly and to avoid injury and product damage. You are responsible for operating the product properly and safely.
Visit www.Toro.com for product safety and operation training materials, accessory information, help finding a dealer, or to register your product.
Whenever you need service, genuine Toro parts, or additional information, contact an Authorized Service Dealer or Toro Customer Service and have the model and serial numbers of your product ready. Figure 1 identifies the location of the model and serial numbers on the product. Write the numbers in the space provided.
Important: With your mobile device, you can scan the QR code on the serial number decal (if equipped) to access warranty, parts, and other product information.

This manual identifies potential hazards and has safety messages identified by the safety-alert symbol (Figure 2), which signals a hazard that may cause serious injury or death if you do not follow the recommended precautions.

This manual uses 2 words to highlight information. Important calls attention to special mechanical information and Note emphasizes general information worthy of special attention.
This product complies with all relevant European directives; for details, please see the separate product specific Declaration of Conformity (DOC) sheet.
It is a violation of California Public Resource Code Section 4442 or 4443 to use or operate the engine on any forest-covered, brush-covered, or grass-covered land unless the engine is equipped with a spark arrester, as defined in Section 4442, maintained in effective working order or the engine is constructed, equipped, and maintained for the prevention of fire.
The enclosed engine owner's manual is supplied for information regarding the US Environmental Protection Agency (EPA) and the California Emission Control Regulation of emission systems, maintenance, and warranty. Replacements may be ordered through the engine manufacturer.
CALIFORNIA
Proposition 65 Warning
Diesel engine exhaust and some of its constituents are known to the State of California to cause cancer, birth defects, and other reproductive harm.
Battery posts, terminals, and related accessories contain lead and lead compounds, chemicals known to the State of California to cause cancer and reproductive harm. Wash hands after handling.
Use of this product may cause exposure to chemicals known to the State of California to cause cancer, birth defects, or other reproductive harm.
This product is capable of amputating hands and feet and of throwing objects. Always follow all safety instructions to avoid serious personal injury.
Read and understand the contents of this Operator’s Manual before starting the engine.
Use your full attention while operating the machine. Do not engage in any activity that causes distractions; otherwise, injury or property damage may occur.
Do not operate the machine without all guards and other safety protective devices in place and functioning properly on the machine.
Keep your hands and feet away from rotating parts. Keep clear of the discharge opening.
Keep bystanders and children out of the operating area. Never allow children to operate the machine.
Shut off the engine, remove the key, and wait for all movement to stop before you leave the operator’s position. Allow the machine to cool before adjusting, servicing, cleaning, or storing it.
Improperly using or maintaining this machine can result in injury.
To reduce the potential for injury, comply with these safety instructions
and always pay attention to the safety-alert symbol
, which means Caution, Warning,
or Danger—personal safety instruction. Failure to comply with
these instructions may result in personal injury or death.
![]() |
Safety decals and instructions are easily visible to the operator and are located near any area of potential danger. Replace any decal that is damaged or missing. |





















Affix over Part No. 112-5297 for CE* for 4500 series machines (Model No. 30885)

Affix over Part No. 112-5297 for CE* for 4700 series machines (Model No. 30887)

Note: Determine the left and right sides of the machine from the normal operating position.
Parts needed for this procedure:
| Warning decal | 1 |
| CE decal | 1 |
| Production-year decal | 1 |
On machines requiring CE compliance, replace the warning decal (127-6647 [for Model 30885] or 127-6648 [for Model 30887]), CE decal, and the production-year decal (Figure 3).

Parts needed for this procedure:
| Hood-latch bracket | 1 |
| Rivet | 2 |
| Washer | 1 |
| Screw (1/4 x 2 inches) | 1 |
| Locknut (1/4 inch) | 1 |
Unhook the hood latch from the hood-latch bracket.
Remove the 2 rivets securing the hood-latch bracket to the hood (Figure 4).

Remove the hood-latch bracket from the hood.
While aligning the mounting holes, position the CE lock bracket and the hood-latch bracket onto the hood (Figure 5).
Note: The lock bracket must be against the hood. Do not remove the bolt and nut from the lock-bracket arm.

Align the washers with the holes on the inside of the hood.
Rivet the brackets and the washers to the hood (Figure 5).
Hook the latch onto the hood-latch bracket (Figure 6).

Install the bolt into the other arm of the hood-latch bracket to lock the latch in position (Figure 7). Tighten the bolt but do not tighten the nut.

The optional rear roller scraper functions best when there is an even gap of 0.5 to 1 mm (0.02 to 0.04 inch) between the scraper and the roller.
Loosen the grease fitting and the mounting screw (Figure 8).

Slide the scraper up or down until you obtain a gap of 0.5 to 1 mm (0.02 to 0.04 inch) between the rod and the roller.
Tighten the grease fitting and screw to 41 N∙m (30 ft-lb) in an alternating sequence.
Contact your authorized Toro distributor for the correct mulching baffle.
Thoroughly clean debris from the mounting holes on the rear wall and left wall of the chamber.
Install the mulching baffle in the rear opening and secure it with 5 flange-head bolts (Figure 9).

Verify that the mulching baffle does not interfere with the tip of the blade and does not protrude inside the surface of the rear chamber wall.
Using the high-lift blade with the mulching baffle could cause the blade to break, resulting in personal injury or death.
Do not use the high-lift blade with the baffle.
Park the machine on a level surface.
For Groundsmaster 4500 and 4700 machines, release the No. 4 and No. 5 cutting-unit cables (Figure 39).
For Groundsmaster 4700 machines, release the No. 6 and No. 7 cutting-unit latches (Figure 42).
Lower the cutting units.
Engage the parking brake.
Shut off the engine and remove the key.
Check the tire pressure before use; refer to Checking the Tire Pressure.
Important: Maintain pressure in all tires to ensure a good quality-of-cut and proper machine performance. Do not underinflate the tires.
Check the rear-axle lubricant level before you start the engine for the first time; refer to Checking the Rear-Axle Lubricant.
Check the engine-oil level before starting the engine; refer to Checking the Engine-Oil Level.
Check the hydraulic-fluid level before starting the engine; refer to Checking the Hydraulic-Fluid Level.
Check the cooling system before starting the engine; refer to Checking the Cooling System.
Grease the machine before use; refer to Greasing the Bearings and Bushings.
Important: Failure to properly grease the machine will result in premature failure of critical parts.

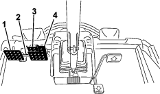
The traction pedal (Figure 10) controls forward and reverse operation. Press the top of the pedal to move forward and the bottom to move backward. When the cutting units are fully raised, the pedal controls the engine and traction speed like a car.
Note: In emergency braking situations, remove your foot from the traction pedal and then press the brake pedals. This is the quickest way to stop the machine.
There are 2 foot pedals that operate individual wheel brakes for turning assistance, parking, and to aid in better side-hill traction. A latch connects the pedals for parking-brake operation and transport (Figure 10).
The pedal-locking latch connects the pedals together to engage the parking brake (Figure 10).
To tilt the steering wheel toward you, press the foot pedal down, pull the steering tower toward you to the most comfortable position, and release the pedal (Figure 10). To move the steering wheel away from you, press the foot pedal and release it when the steering wheel reaches the desired operating position.
To engage the parking brake, (Figure 10) connect the pedals together with the pedal-locking latch and push down on the right brake pedal while engaging the toe pedal. To release the parking brake, press 1 of the brake pedals until the parking brake latch retracts.
The key switch (Figure 11) has 3 positions: OFF, ON/PREHEAT, and START.

The PTO switch has 2 positions: OUT (ENGAGE) and IN (DISENGAGE). Pull the PTO button out to engage the cutting-unit blades. Push the button in to disengage the cutting-unit blades (Figure 11).
This switch (Figure 11) controls the machines 2 speed ranges; high and low.
Select the H/L AUTO position to allow the machine to automatically select high or low speed.
Select the LOW position to manually override to low speed only.
You can change the switch position at any time, but the machine will only switch between speed ranges when the traction pedal is in neutral and the machine is stopped.
Note: To get to high speed in the H/L AUTO position, disengage the PTO and fully raise the cutting units.
Note: If you have the switch in the H/L AUTO position, you cannot lower the decks from the fully-raised position unless the traction pedal is in neutral and the machine is stopped.
The cruise-control switch locks in the cruise control to maintain the desired ground speed (Figure 12). Pressing the rear of the switch turns off the cruise control, the middle position of the switch enables the cruise-control function, and the front of the switch sets the desired ground speed.
Once the cruise control is set, you can change the speed using the InfoCenter (Figure 34).

The lift switches raise and lower the cutting units (Figure 11). Press the switches forward to lower the cutting units and rearward to raise the cutting units. When starting the machine, with the cutting units in the down position, press the lift switch down to allow the cutting units to float and mow.
Note: The cutting units do not lower while in the high-speed range and they do not raise or lower if you are out of the seat. Also, the cutting units lower with the key in the ON position and you are in the seat.
Press the light switch upward to turn the lights to the ON position (Figure 11).
Press the light switch downward to turn the lights to the OFF position.
Use the power point (Figure 13) to power optional 12V electrical accessories.

Use the bag holder for storage (Figure 13).
Move the seat adjustment lever on the side of the seat outward, slide the seat to the desired position, and release the lever to lock the seat into position (Figure 14).

Rotate the knob to adjust the armrest angle (Figure 14).
Move the lever to adjust the seat-back angle (Figure 14).
The weight gauge indicates when the seat is adjusted to the operator’s weight (Figure 14). Adjust the height by positioning the suspension within the range of the green region.
Use this lever to adjust the seat to your weight (Figure 14). Pull the lever up to increase the air pressure and push the lever down to decrease the air pressure. The proper adjustment is correct when the weight gauge is in the green region.
The InfoCenter LCD display (Figure 11) shows information about your machine, such as the operating status, various diagnostics, and other information about the machine
The screens that display depend on which buttons you select. The purpose of each button may change depending on what is required at the time.

| Description | 4500-D | Figure 15 reference | 4700-D | Figure 15 reference | |
|---|---|---|---|---|---|
| Width of cut | 280 cm (110 inches) | D | 380 cm (150 inches) | F | |
| Overall width | |||||
| Cutting units down | 286 cm (113 inches) | E | 391 cm (154 inches) | G | |
| Cutting units up (transport) | 224 cm (88 inches) | A | 224 cm (88 inches) | A | |
| Track width | |||||
| Front | 224 cm (88 inches) | B | 224 cm (88 inches) | B | |
| Rear | 141 cm (56 inches) | M | 141 cm (56 inches) | M | |
| Height with ROPS | |||||
| Raised | 226 cm (88.8 inches) | C | 226 cm (88.8 inches) | C | |
| Lowered | 165 cm (65.2 inches) | 165 cm (65.2 inches) | |||
| Overall length | |||||
| Cutting units down | 370 cm (146 inches) | H | 370 cm (146 inches) | H | |
| Cutting units up (transport) | 370 cm (146 inches) | L | 370 cm (146 inches) | L | |
| Ground clearance | 15 cm (6 inches) | 15 cm (6 inches) | |||
| Wheel base | 171 cm (68 inches) | K | 171 cm (68 inches) | K | |
| Net weight | 1937 kg (4,270 lb) | 2277 kg (5,020 lb) | |||
| (with cutting units and no fuel) | |||||
Note: Specifications and design are subject to change without notice.
| Length | 86.4 cm (34 inches) |
| Width | 86.4 cm (34 inches) |
| Height | 24.4 cm (9.6 inches) to carrier mount |
| 26.7 cm (10-1/2 inches) at 3/4-inch height of cut | |
| 34.9 cm (13-3/4 inches) at 4-inch height of cut | |
| Weight | 88 kg (195 lb) |
A selection of Toro approved attachments and accessories is available for use with the machine to enhance and expand its capabilities. Contact your Authorized Service Dealer or authorized Toro distributor or go to www.Toro.com for a list of all approved attachments and accessories.
Use only genuine Toro replacement parts and accessories. Replacement parts and accessories made by other manufacturers could be dangerous, and such use could void the product warranty.
Note: Determine the left and right sides of the machine from the normal operating position.
Never allow children or untrained people to operate or service the machine. Local regulations may restrict the age of the operator. The owner is responsible for training all operators and mechanics.
Become familiar with the safe operation of the equipment, operator controls, and safety signs.
Shut off the engine, remove the key, and wait for all movement to stop before you leave the operator’s position. Allow the machine to cool before adjusting, servicing, cleaning, or storing it.
Know how to stop the machine and shut off the engine quickly.
Check that operator-presence controls, safety switches, and guards are attached and functioning properly. Do not operate the machine unless they are functioning properly.
Before mowing, always inspect the machine to ensure that the blades, blade bolts, and cutting assemblies are in good working condition. Replace worn or damaged blades and bolts in sets to preserve balance.
Inspect the area where you will use the machine and remove all objects that the machine could throw.
This product generates an electromagnetic field. If you wear an implantable electronic medical device, consult your health care professional before using this product.
Use extreme care in handling fuel. It is flammable and its vapors are explosive.
Extinguish all cigarettes, cigars, pipes, and other sources of ignition.
Use only an approved fuel container.
Do not remove the fuel cap or fill the fuel tank while the engine is running or hot.
Do not add or drain fuel in an enclosed space.
Do not store the machine or fuel container where there is an open flame, spark, or pilot light, such as on a water heater or other appliance.
If you spill fuel, do not attempt to start the engine; avoid creating any source of ignition until the fuel vapors have dissipated.
Before you start the engine and use the machine, check the oil level in the engine crankcase; refer to Checking the Engine-Oil Level.
Before you start the engine and use the machine, check the cooling system; refer to Checking the Cooling System.
Before you start the engine and use the machine, check the hydraulic system; refer to Checking the Hydraulic-Fluid Level.
Drain water or other contaminants from the water separator; refer to Draining Water from the Fuel/Water Separator.
Check the rear axle and rear-axle gearbox for leaks; refer to Checking the Rear Axle and Gearbox for Leaks.
Fuel tank capacity: 83 L (22 US gallons)
Important: Use only ultra-low sulphur diesel fuel. Fuel with higher rates of sulfur degrades the diesel oxidation catalyst (DOC), which causes operational problems and shortens the service life of engine components.Failure to observe the following cautions may damage the engine.
Never use kerosene or gasoline instead of diesel fuel.
Never mix kerosene or used engine oil with the diesel fuel.
Never keep fuel in containers with zinc plating on the inside.
Do not use fuel additives.
Cetane rating: 45 or higher
Sulfur content: Ultra-low sulfur (<15 ppm)
| Diesel fuel specification | Location |
| ASTM D975 | USA |
| No. 1-D S15 | |
| No. 2-D S15 | |
| EN 590 | European Union |
| ISO 8217 DMX | International |
| JIS K2204 Grade No. 2 | Japan |
| KSM-2610 | Korea |
Use only clean, fresh diesel fuel or biodiesel fuels.
Purchase fuel in quantities that can be used within 180 days to ensure fuel freshness.
Use summer-grade diesel fuel (No. 2-D) at temperatures above -7°C (20°F) and winter-grade fuel (No. 1-D or No. 1-D/2-D blend) below that temperature.
Note: Use of winter-grade fuel at lower temperatures provides lower flash point and cold flow characteristics which eases starting and reduces fuel filter plugging.Using summer-grade fuel above -7°C (20°F) contributes toward longer fuel pump life and increased power compared to winter-grade fuel.
This machine can also use a biodiesel-blended fuel of up to B20 (20% biodiesel, 80% petrodiesel).
Sulfur content: Ultra-low sulfur (<15 ppm)
Biodiesel fuel specification: ASTM D6751 or EN14214
Blended fuel specification: ASTM D975, EN590, or JIS K2204
Important: The petroleum diesel portion must be ultra-low sulfur.
Observe the following precautions:
Biodiesel blends may damage painted surfaces.
Use B5 (biodiesel content of 5%) or lesser blends in cold weather.
Monitor seals, hoses, gaskets in contact with fuel as they may degrade over time.
Fuel filter plugging may occur for a time after you convert to biodiesel blends.
For more information on biodiesel, contact your authorized Toro distributor.


Fill the tank to about 6 to 13 mm (1/4 to 1/2 inch) below the top of the tank, not the filler neck, with Number 2-D diesel fuel.
Note: If possible, fill the fuel tank after each use; this will minimize possible buildup of condensation inside the fuel tank.
| Maintenance Service Interval | Maintenance Procedure |
|---|---|
| Before each use or daily |
|
The correct air pressure in the tires is 138 kPa (20 psi).
Important: Maintain the recommended pressure in all tires to ensure a good quality of cut and proper machine performance. Do not under-inflate the tires.Check the air pressure in all the tires before operating the machine.

| Maintenance Service Interval | Maintenance Procedure |
|---|---|
| After the first hour |
|
| After the first 10 hours |
|
| Every 200 hours |
|
Torque the wheel lug nuts to 115 to 136 N∙m (85 to 100 ft-lb) in the order shown in Figure 18 and Figure 19.


Failing to maintain proper torque of the wheel lug nuts could result in personal injury.
Torque the wheel lug nuts to the proper torque value.
To avoid injury or death from rollover: keep the roll bar in the raised locked position and use the seat belt.
Ensure that the seat is secured with the seat latch.
There is no rollover protection when the roll bar is in the down position.
Do not operate the machine on uneven ground or on a hill side with the roll bar in the down position.
Lower the roll bar only when absolutely necessary.
Do not wear the seat belt when the roll bar is in the down position.
Drive slowly and carefully.
Raise the roll bar as soon as clearance permits.
Check carefully for overhead clearances (i.e., branches, doorways, electrical wires) before driving under any objects and do not contact them.
Important: Always use the seat belt when the roll bar is in the raised and locked position. Do not use the seat belt when the roll bar is in the lowered position.
Important: Lower the roll bar only when necessary.
Important: Ensure that the seat is secured with the seat latch.


Important: The rotary cutting units often cut approximately 6 mm (1/4 inch) lower than a reel cutting unit with the same bench setting. It may be necessary to set the rotary cutting-unit bench measurement at 6 mm (1/4 inch) above that of reel cutting units cutting in the same area.
Important: Access to the rear cutting units is greatly improved by removing the cutting unit from the machine.
Park the machine on a level surface, engage the parking brake, lower the cutting unit to the ground, shut off the engine, and remove the key.
Loosen the bolt securing each height-of-cut bracket to the height-of-cut plate (front and each side) as shown in Figure 22.
Beginning with front adjustment, remove the bolt.

While supporting the chamber, remove the spacer (Figure 22).
Move the chamber to the desired height of cut and install a spacer into the designated height-of-cut hole and slot (Figure 23).

Position the tapped plate in-line with the spacer.
Install the bolt finger-tight.
Repeat steps 4 through 7 for each side adjustment.
Torque all 3 bolts to 41 N∙m (30 ft-lb). Always tighten the front bolt first.
Note: Adjustments of more than 3.8 cm (1-1/2 inches) may require temporary assembly to an intermediate height to prevent binding (e.g., changing from 3.1 to 7 cm (1-1/4 to 2-3/4 inches) height of cut).
| Maintenance Service Interval | Maintenance Procedure |
|---|---|
| Before each use or daily |
|
If safety interlock switches are disconnected or damaged, the machine could operate unexpectedly, causing personal injury.
Do not tamper with the interlock switches.
Check the operation of the interlock switches daily and replace any damaged switches before operating the machine.
The interlock switches are designed to shut off the machine when you rise from the seat when the traction pedal is pressed. However, you can rise from the seat while the engine is running and the traction pedal is in the NEUTRAL position. Although the engine continues to run when you disengage the PTO switch and release the traction pedal, shut off the engine before rising from the seat.
Park the machine on a level surface, engage the parking brake, lower the cutting units, and turn the key to the OFF position.
Press the traction pedal and turn the key to the ON position.
Note: If the engine cranks, there is a malfunction in the interlock system. Correct this malfunction before operating the machine.
Turn the key to the ON position, rise from the seat, and move the PTO switch to ON.
Note: The PTO should not engage. If the PTO engages, there is a malfunction in the interlock system. Correct this malfunction before operating the machine.
Engage the parking brake, turn the key to the ON position and move the traction pedal out of the NEUTRAL position.
Note: The InfoCenter displays "traction denied" and the machine should not move. If the machine does move, there is a malfunction in the interlock system. Correct this malfunction before operating the machine.
| Maintenance Service Interval | Maintenance Procedure |
|---|---|
| Before each use or daily |
|
Note: Lower the cutting units onto a clean section of turf or hard surface to avoid throwing dust and debris.
To verify this stopping time, sit in the seat and disengage the PTO. Listen for the rotating blades and record the time it takes for the blades to come to a complete stop. If it takes longer than 7 seconds, adjust the braking valve. Call your authorized Toro distributor for assistance in making this adjustment.
This blade was designed to provide excellent lift and dispersion in almost any condition. If more or less lift and discharge velocity is required, consider a different blade.
Attributes: Excellent lift and dispersion in most conditions
The blade generally performs best in lower heights of cut—1.9 to 6.4 cm (3/4 to 2-1/2 inches).
Attributes:
Discharge remains more even at lower heights of cut.
Discharge has less tendency to throw left and thus a cleaner look around bunkers and fairways.
Lower power requirement at lower heights and dense turf.
The blade generally performs better in the higher heights of cut—7 to 10 cm (2 to 4 inches).
Attributes:
More lift and higher discharge velocity
Sparse or limp turf is picked up significantly at higher heights of cut
Wet or sticky clippings are discharged more efficiently reducing congestion in the cutting unit.
Requires more horsepower to run
Tends to discharge further left and can tend to windrow at lower heights of cut
Using a high-lift blade with the mulching baffle could cause the blade to break, resulting in personal injury or death.
Do not use the high-lift blade with the mulching baffle.
This blade was designed to provide excellent leaf mulching.
Attribute: Excellent leaf mulching
| Angle Sail Blade | High-Lift, Parallel-Sail Blade(Do not use with the mulching baffle) | Mulching Baffle | Roller Scraper | |
| Grass Cutting: 1.9 to 4.4 cm (3/4 to 1-3/4 inches) height of cut | Recommended in most applications | May work well in light or sparse turf | Has been shown to improve dispersion and after-cut performance on northern grasses that are cut at least 3 times per week and less than 1/3 of the grass blade is removed. Do not use with the high-lift, parallel-sail blade | Use it whenever the rollers build up with grass or large, flat grass clumps of grass are seen. The scrapers may increase clumping in certain applications. |
| Grass Cutting: 5 to 6.4 cm (2 to 2-1/2 inches) height of cut | Recommended for thick or lush turf | Recommended for light or sparse turf | ||
| Grass Cutting: 7 to 10 cm (2-3/4 to 4 inches) height of cut | May work well in lush turf | Recommended in most applications | ||
| Leaf Mulching | Recommended for use with the mulching baffle | Not Allowed | Use with combination sail, atomic blade, or angle sail blade only | |
| Pros | Even discharge at lower height of cut; cleaner look around bunkers and fairways; lower power requirements | More lift and higher discharge velocity; sparse or limp turf is picked up at high height of cut; wet or sticky clippings are discharged efficiently | May improve dispersion and appearance in certain grass cutting applications; very good for leaf mulching | Reduces roller buildup in certain applications |
| Cons | Does not lift the grass well in high height-of-cut applications; wet or sticky grass has a tendency to build up in the chamber, leading to poor quality of cut and higher power requirements | Requires more power to run in some applications; tends to windrow at lower height of cut in lush grass; do not use with the mulching baffle | Grass will build up in the chamber if you attempt to remove too much grass with the baffle in place |
The display shows information about your machine such as the operating status, various diagnostics, and other information about the machine. There are multiple screens on the display. You can switch between the screens at any time by pressing any of the display buttons and then selecting the appropriate directional arrow.

Note: The purpose of each button may change depending on what is required at the time. Each button is labeled with an icon displaying its current function.
![]() | Hour meter |
![]() | Virtual pedal stop settings |
![]() | The operator must sit in the seat. |
![]() | The parking brake is engaged. |
![]() | Engine coolant temperature (°C or °F) |
![]() | Traction or Traction Pedal |
![]() | The cruise control is engaged. |
![]() | Reset-standby regeneration request |
| Parked or recovery regeneration request | |
![]() | A parked or recovery regeneration is processing. |
![]() | High exhaust temperature |
![]() | NOx control diagnosis malfunction; drive the machine back to the shop and contact your authorized Toro distributor (software version U and later). |
![]() | The power take-off is disabled. |
![]() | The PTO is on. |
![]() | Battery |
![]() | Warning |
![]() | Active |
![]() | Inactive |
![]() | Previous |
![]() | Next |
![]() | Increase |
![]() | Decrease |
![]() | Previous screen |
![]() | Next screen |
![]() | Increase value |
![]() | Decrease value |
![]() | Menu |
![]() | Scroll up/down |
![]() | Scroll left/right |
![]() | Hydraulic-fluid temperature (°C or °F) |
![]() | Fast or High range (transport) |
![]() | Slow or Low range (mow) |
![]() | Fan (fan reversal) |
![]() | All cutting units up |
![]() | All cutting units down |
![]() | Center cutting units up |
![]() | Center cutting units down |
![]() | Left cutting units up |
![]() | Left cutting units down |
![]() | Right cutting units up |
![]() | Right cutting units down |
![]() | Locked |
Accessible
only by entering PIN
To access the InfoCenter menu system, press the menu access button while at the main screen. This brings you to the main menu. Refer to the following tables for a synopsis of the options available from the menus:
| Main Menu—Menu Item | Description |
| Faults | The Faults menu contains a list of the recent machine faults. Refer to the Service Manual or contact your authorized Toro distributor for more information on the Faults menu and the information contained there. |
| Service | The Service menu contains information on the machine such as hours of use, counters, and other similar numbers. |
| Diagnostics | The Diagnostics menu displays the state of each machine switch, sensor, and control output. You can use this to troubleshoot certain issues as it quickly tells you which machine controls are ON and which are OFF. |
| Settings | The Settings menu allows you to customize and modify configuration variables on the display. |
| Machine Settings | The Machine Settings menu allows you to adjust the acceleration, speed, and counterbalance thresholds. |
| About | The About menu lists the model number, serial number, and software version of your machine. |
| Service—Menu Item | Description |
| Hours | Lists the total number of hours that the machine, engine, and PTO have been on, as well as the number of hours the machine has been transported and service due. |
| Counts | Lists numerous counts the machine has experienced. |
Traction Pedal![]() | |
Traction Pump![]() | |
| Fan | Indicates if the fan is active in the following instances: Engine high temp, oil high temp, engine or hydraulic high temp, and fan on |
| Fuel Rate | Shows the fuel rate being used. |
| DPF Regeneration | The diesel particulate filter regeneration option and DPF submenus |
| Diagnostics—Menu Item | Description |
| Left Cutting Unit | Refer to the Service Manual or your authorized Toro distributor for more information on the Engine Run menu and the information contained there. |
| Center Cutting Unit | |
| Right Cutting Unit | |
| Traction | |
| HI/LO Range | |
| PTO | |
| Engine | |
CAN Statistics![]() |
| Settings—Menu Item | Description |
| Enter PIN | Allows a person (superintendent/mechanic) authorized by your company with the PIN code to access protected menus. |
| Backlight | Controls the brightness of the LCD display. |
| Language | Controls the language used on the InfoCenter*. |
| Font Size | Controls the size of the font on the display. |
| Units | Controls the units used on the InfoCenter (English or Metric). |
Protected Menus![]() | Allows a person authorized by your company with the PIN code to access protected menus |
Protect Settings![]() | Allows the ability to change the settings in the protected settings. |
Note: The Machine Settings menu will only show when the PIN is entered.
Machine Settings—Menu Item![]() | Description |
Mow Speed ![]() | Controls the maximum speed while in mow (low range) |
Trans. Speed ![]() | Controls the maximum speed while in transport (high range) |
Smart Power ![]() | Turns Smart Power on and off |
Counterbalance ![]() | Controls the amount of counterbalance applied by the cutting units |
Turnaround ![]() | Turns Turnaround on and off |
Acceleration ![]() | Low, Medium, and High settings control how quickly the traction speed reacts when you move the traction pedal. |
Protected
under Protected Menus—accessible only by entering PIN
| About—Menu Item | Description |
| Model | Lists the model number of the machine. |
| SN | Lists the serial number of the machine. |
| Machine Controller Revision | Lists the software revision of the master controller. |
| S/W Revision | Lists the software revision of the primary controller. |
InfoCenter Revision![]() | Lists the software revision of the InfoCenter |
Secondary software![]() | Shows the part number and revision of the cutting unit controller for the Groundsmaster 4700 model. |
| Stage V | Shows yes or no depending on the engine. |
There are operating configuration settings that are adjustable within the SETTINGS of the InfoCenter. To lock these settings, use the PROTECTED MENU.
Note: At the time of delivery, the initial password code is programmed by your distributor.
Note: The factory default PIN code for you machine is either 0000 or 1234.If you changed the PIN code and forgot the code, contact your authorized Toro distributor for assistance.
From the MAIN MENU, scroll down to the SETTINGS menu and press the select button (Figure 25).

In the SETTINGSmenu, scroll to the ENTEER PIN and press the select button (Figure 26A).

To enter the PIN code, press the up/down navigation buttons until the correct first digit appears, then press the right navigation button to move on to the next digit (Figure 26B and Figure 26C). Repeat this step until the last digit is entered.
Press the select button.
Note: If the display accepts the PIN code and the protected menu is unlocked, the word “PIN” displays in the upper right corner of the screen.
To lock the protected menu, rotate the key switch to the OFF position and then to the ON position.
In SETTINGS, scroll down to PROTECT SETTINGS.
To view and change the settings without entering a
PIN code, use the select button to change the PROTECT
SETTINGS to
(Off).
To view and change the settings with a PIN code, use
the select button to change the PROTECT SETTINGS to
(On),
set the PIN code, and turn the key in the ignition switch to the OFF position and then to the ON position.
The service due timer resets the service due hours after a scheduled maintenance procedure is performed.
In SETTINGS , scroll to ENTER PIN and press the select button.
Enter PIN; refer to Accessing Protected Menus.
In SERVICE , navigate to HOURS and press the select button.
Scroll down to SERVICE DUE.
Note: If service is currently due, NOW appears next to SERVICE DUE.
Highlight the service interval and press the select button.
Note: The service interval (250 Hrs, 500 Hrs, etc) is located next to SERVICE DUE. Service interval is a protected menu item.
When the RESET SERVICE TIMER? screen appears, press the select button for YES or the back button for NO.
After you select YES, the interval screen clears and reverts back to the service hours selections.
The selected setting is displayed as an X on the traction-speed bar graph along with the cruise control and pedal stop settings. An X in a bar shows you that the maximum speed is limited by the supervisor (Figure 31).
Note: This setting is retained in memory and applied to the traction speed until you change it.
In MACHINE SETTINGS, scroll down to MOW SPEED.
Use the left and right navigation buttons to increase the maximum mow speed in 5% increments on the main screen and 10% increments in the MACHINE SETTINGS menu. The range for the main screen is 10 to 100% and the MACHINE SETTINGS range is 30 to 100%.
The selected setting is displayed as an X on the traction-speed bar graph along with the cruise control and pedal stop settings. An X in a bar shows you that the maximum speed is limited by the supervisor (Figure 31).
Note: This setting is retained in memory and applied to the traction speed until you change it.
In MACHINE SETTINGS, scroll down to TRANSPORT SPEED.
Use the left and right navigation buttons to increase the maximum mow speed in 5% increments on the main screen and 10% increments in the MACHINE SETTINGS menu. The range for the main screen is 10 to 100% and the MACHINE SETTINGS range is 30 to 100%.
In SETTINGS, scroll down to SMART POWER.
Press the right navigation button to switch between ON and OFF.
In MACHINE SETTINGS, scroll down to COUNTERBALANCE.
Press the right navigation button to select counterbalance and change between the LOW, MEDIUM, and HIGH settings.
In MACHINE SETTINGS, scroll down to ACCELERATION.
Press the right navigation button to switch between LOW, MEDIUM, and HIGH.
In the SETTINGS MENU, scroll down to TURNAROUND.
Press the right button to switch between ON and OFF.
Note: For operating convenience, you may decide to perform a parked regeneration before the soot load reaches 100%, provided the engine has run more than 50 hours since the last successful reset, parked, or recovery regeneration.
Use the Technician menu to view the current state of engine regeneration control and the current soot level.
In SETTINGS, scroll down to DPF RENGERATION and press the select button.
In DPF RENGERATION, scroll down to TECHNICIAN and press the select button.


Flashing red—active fault
Solid red—active advisory
Solid blue—calibration/dialog messages
Solid green—normal operation
This machine displays estimated traction speeds in a percentage.
The speed is displayed between 10 and 100% for the cruise and virtual pedal stop screens, and displayed between 30 and 100% in the MACHINE SETTINGS menu.
When starting the machine in cold weather, warm-up mode limits the engine speed to low idle for a short period after the engine is started, preventing potential component damage from operating the machine with cold oil.
A snowflake icon
on the InfoCenter screen denotes when warm-up
mode is active. Do not operate the machine until after the warm-up
period.
The owner/operator can prevent and is responsible for accidents that may cause personal injury or property damage.
Wear appropriate clothing, including eye protection; long pants; substantial, slip-resistant footwear; and hearing protection. Tie back long hair and do not wear loose clothing or loose jewelry.
Do not operate the machine while ill, tired, or under the influence of alcohol or drugs.
Use your full attention while operating the machine. Do not engage in any activity that causes distractions; otherwise, injury or property damage may occur.
Before you start the engine, ensure that all drives are in neutral, the parking brake is engaged, and you are in the operating position.
Do not carry passengers on the machine and keep bystanders and children out of the operating area.
Operate the machine only in good visibility to avoid holes or hidden hazards.
Avoid mowing on wet grass. Reduced traction could cause the machine to slide.
Keep your hands and feet away from rotating parts. Keep clear of the discharge opening.
Look behind and down before backing up to be sure of a clear path.
Use care when approaching blind corners, shrubs, trees, or other objects that may obscure your vision.
Stop the blades whenever you are not mowing.
Stop the machine, remove the key, and wait for all moving parts to stop before inspecting the attachment after striking an object or if there is an abnormal vibration in the machine. Make all necessary repairs before resuming operation.
Slow down and use caution when making turns and crossing roads and sidewalks with the machine. Always yield the right-of-way.
Disengage the drive to the cutting unit, shut off the engine, remove the key, and wait for all movement to stop before adjusting the height of cut (unless you can adjust it from the operating position).
Operate the engine only in well-ventilated areas. Exhaust gases contain carbon monoxide, which is lethal if inhaled.
Never leave a running machine unattended.
Before you leave the operator’s position, do the following:
Park the machine on a level surface.
Disengage the power takeoff and lower the attachments.
Engage the parking brake.
Shut off the engine and remove the key.
Wait for all movement to stop.
Operate the machine only in good visibility. Do not operate the machine when there is the risk of lightning.
Do not use the machine as a towing vehicle.
Use accessories, attachments, and replacement parts approved by Toro only.
Use the cruise control (if equipped) only when you can operate the machine in an open, flat area that is free from obstacles and where the machine can move at a constant speed without interruption.
The ROPS is an integral and effective safety device.
Do not remove any of the ROPS components from the machine.
Ensure that the seat belt is attached to the machine.
Pull the belt strap over your lap and connect the belt to the buckle on the other side of the seat.
To disconnect the seat belt, hold the belt, press the buckle button to release the belt, and guide the belt into the auto-retract opening. Ensure that you can release the belt quickly in an emergency.
Check carefully for overhead obstructions and do not contact them.
Keep the ROPS in safe operating condition by thoroughly inspecting it periodically for damage and keeping all the mounting fasteners tight.
Replace damaged ROPS components. Do not repair or alter them.
A cab installed by Toro is a roll bar.
Always wear your seat belt.
Keep a folding roll bar in the raised and locked position, and wear your seat belt when operating the machine with the roll bar in the raised position.
Lower a folding roll bar temporarily only when necessary. Do not wear the seat belt when the roll bar is folded down.
Be aware that there is no rollover protection when a folded roll bar is in the down position.
Check the area that you will be mowing and never fold down a folding roll bar in areas where there are slopes, drop-offs, or water.
Slopes are a major factor related to loss of control and rollover accidents, which can result in severe injury or death. You are responsible for safe slope operation. Operating the machine on any slope requires extra caution.
Evaluate the site conditions to determine if the slope is safe for machine operation, including surveying the site. Always use common sense and good judgment when performing this survey.
Review the slope instructions listed below for operating the machine on slopes and to determine whether you can operate the machine in the conditions on that day and at that site. Changes in the terrain can result in a change in slope operation for the machine.
Avoid starting, stopping, or turning the machine on slopes. Avoid making sudden changes in speed or direction. Make turns slowly and gradually.
Do not operate a machine under any conditions where traction, steering, or stability is in question.
Remove or mark obstructions such as ditches, holes, ruts, bumps, rocks, or other hidden hazards. Tall grass can hide obstructions. Uneven terrain could overturn the machine.
Be aware that operating the machine on wet grass, across slopes, or downhill may cause the machine to lose traction. Loss of traction to the drive wheels may result in sliding and a loss of braking and steering.
Use extreme caution when operating the machine near drop-offs, ditches, embankments, water hazards, or other hazards. The machine could suddenly roll over if a wheel goes over the edge or the edge caves in. Establish a safety area between the machine and any hazard.
Identify hazards at the base of the slope. If there are hazards, mow the slope with a pedestrian-controlled machine.
If possible, keep the cutting unit(s) lowered to the ground while operating on slopes. Raising the cutting unit(s) while operating on slopes can cause the machine to become unstable.
Use extreme caution with grass-collection systems or other attachments. These can change the stability of the machine and cause a loss of control.
This machine has an automotive-style throttle that is controlled by the traction pedal.
This machine does not have a separate throttle switch or throttle lever.
When you remove your foot from the traction pedal, the machine dynamically brakes to a stop.
The pedal controls are optimized to provide a reactive yet stable response, allowing you to maintain consistent control over rough terrain, while still allowing for quick, smooth braking.
While transporting, the traction pedal will operate similar to a car and change the engine and traction speed dependent on the traction pedal position.
When mowing, the engine speed will automatically raise to high idle.
If the engine is at low idle, performing a function like lifting the cutting units or pressing the traction pedal raises the engine speed to a minimum working speed, providing enough power to efficiently perform the function.
Limit the machine idle time as recommended for diesel particulate filter (DPF) regeneration. Shut of the machine to prevent extended idling time.
The maximum speeds set in the PIN protected menu settings are set by the supervisor to limit the machine’s maximum traction speed.
The achievable traction pedal use, cruise control, and pedal stop traction speeds are all limited by the maximum speeds set in the PIN protected menu.
When you start the engine and the hydraulic fluid temperature is low, the engine speed automatically increases to optimize operation and warms up the machine. The engine speed automatically returns to low idle after the hydraulic fluid temperature is in a normal operating range.
Under normal operating conditions, this machine is intended to operate in the H/L AUTO position on the speed range switch (Figure 29). This position allows the machine to automatically switch between low and high speed ranges, depending on whether the machine is being used for mowing or transporting.
When you select the LOW position on the speed range switch (Figure 29), the machine will always operate in low speed range. This setting is preferable for operation in a shop area, loading or unloading from a trailer, climbing steep inclines, or any other operation where the higher traction speeds of the high speed range is not desired.
If an obstacle is in the way, lift the cutting units to mow around it.
When transporting the machine between work areas, engage the AUTO HI/LOW range, shut off the PTO, and raise the cutting units to the fully upward position. This allows the traction pedal to operate like a car.
Always drive slowly in rough areas.
To get familiar with the features of the machine, practice operating the machine.
Lift the cutting units, disengage the parking brake, press the forward traction pedal, and carefully drive to an open area.
Practice driving the machine, because it has a hydrostatic transmission and its features can differ from other turf-maintenance machines.
Practice moving forward and reverse, and starting and stopping the machine. To stop the machine, remove your foot from the traction pedal and let it return to NEUTRAL.
Note: When going downhill in the machine, you may need to use the reverse pedal to stop.
Remove your foot from the traction pedal and press down on the brake pedals to stop quickly.
Practice driving around obstacles with the cutting units up and down. Be careful when driving between narrow objects so that you do not damage the machine or cutting units.
This machine is equipped with 2 traction speed ranges; low and high. The speed range switch allows you to select the following positions (Figure 29):
High/Low Auto range:
Selecting the H/L AUTO position allows the machine to automatically select between the low and high speed ranges. The H/L AUTO position is comparable to selecting D (drive) in your car with an automatic transmission.
Note: To prevent potential turf damage, the machine will only shift between low and high range when the traction pedal is in NEUTRAL position and the wheels have stopped moving.
Note: The cutting units cannot be lowered from the transport position while you drive the machine in the high speed range.
When H/L AUTO position is selected and the cutting units are lowered for mowing, the speed range is limited to the low speed range.
To get to high speed range, select the H/L AUTO position on the speed range switch, disengage the PTO, and fully raise the cutting units.
When H/L AUTO position is selected, the machine will automatically switch between high and low traction ranges based on the position of the cutting units and/or the position of the PTO switch.
Low range:
Selecting the LOW position on the switch keeps the machine in the low speed range at all times. The LOW position is comparable to selecting 2, 1 OR L in your car with an automatic transmission.
When the LOW position is selected, the machine only operates in low range.
Use the LOW position when loading the machine on a trailer or navigating tight areas like a shop.

This pedal controls the forward and reverse speed of the machine and the dynamic braking when you return it to neutral.
The traction pedal is an automotive-style throttle—the engine speed and the machine speed respond to the pedal movement.
While transporting, the traction pedal will operate similar to a car and change the engine and traction speed dependent on the traction pedal position.
While mowing, the engine automatically raises to high idle to optimize mowing performance, and the traction pedal only controls traction speed.
The further you push the pedal forward or reverse, the faster the machine moves.
To control the machine to a smooth stop while transporting or mowing, use your foot to return the traction pedal to neutral at your desired rate.
To engage maximum braking, remove your foot from the traction pedal, allowing it to return to neutral. The machine dynamically brakes to a stop.
This traction system allows you to customize the acceleration settings for operator comfort and course conditions. Refer to Understanding the Acceleration Mode for changing the settings.

The virtual pedal stop (VPS) feature allows you to set the temporary maximum traction-speed limits for both the mow and transport range.
To access this feature, select the InfoCenter up or down navigation button from the main menu (Figure 31).
Use the VPS to adjust the maximum traction speed to match your comfort level or to fit the application.
You cannot adjust the VPS speed limit faster than the supervisor-protected maximum traction speed.
VPS is a temporary setting. This feature reverts back to the supervisor speed settings when the key is switched to the OFF position.
When the traction speed is changed by the supervisor in the protected menu settings or by you through the VPS, the traction pedal automatically reprograms to use the full pedal stroke between neutral and the new maximum-speed setting.
Lowering the maximum traction-speed settings allows you to precisely control the traction system.

While you use the VPS, temporarily lower the maximum speed for the following tasks:
Mowing the cleanup pass on the fairway.
Operating in or near the maintenance shop.
Loading the machine onto a trailer.
Note: A lower maximum speed allows for improved control while performing these tasks.
Important: In emergency braking situations, remove your foot from the traction pedal and then press the brake pedals.
In the low speed range only, you can use the brakes individually for turning or to improve traction. Perform the following when using the brakes individually:
Disconnect the pedal-locking latch (Figure 32).
For turning assist, press the corresponding brake pedal to the side you are turning. This allows a tighter turning radius.
Note: Use the individual brakes carefully, especially on soft or wet grass, because the turf may be torn accidentally.
For traction assist, apply light pressure to the brake pedal corresponding to the front tire that is slipping. For example, in some slope conditions, the uphill wheel slips and loses traction. If this situation occurs, press the uphill brake pedal gradually and intermittently until the uphill wheel stops slipping, This action increases the traction on the downhill wheel.

The cruise-control switch locks in the cruise control to maintain the desired ground speed. Pressing the rear of the switch turns the cruise control off, the middle position of the switch enables the cruise-control function, and the front of the switch sets the desired ground speed.
After the cruise control switch is enabled and the speed is set (Figure 33), use the InfoCenter to adjust the speed setting of the cruise control (Figure 6 and Figure 34).
To disengage the cruise control use the following:
When in high speed range, press the reverse traction pedal, press the service brakes, or press the cruise control switch to the OFF positon.
When in low speed range, press the reverse traction pedal, press the service brakes, shut off the PTO switch, or press the cruise control switch to the OFF positon.

Set a cruising speed for long distances without many obstacles.
On rough terrain, use the InfoCenter to control the speed.
Use the cruise control for turnarounds as follows:
Set the cruise control to slower speed that you're comfortable and safe at while turning around.
Press the traction pedal to increase the speed for mowing during the mowing pass.
Take your foot off the pedal when turning around for the next mowing pass.
The machine will slow down to the low cruise control setting, allowing you to make an efficient turnaround at a constant speed.
After turning around, use the traction pedal to increase the machine speed back up for the next mowing pass.
This setting determines how quickly the machine changes traction speed, and effects the deceleration of the machine in the low speed range. Enter the protect menus in the InfoCenter to change the acceleration mode. The acceleration mode has the following 3 positions:
Low—low acceleration and deceleration
Medium—medium acceleration and deceleration
High—highest acceleration and deceleration
The turnaround mode allows you convenient, 1-touch control to raise the cutting units above the turf while temporarily stopping the blades, allowing you to focus on driving the machine at the end of a mowing pass, or while navigating other obstacles.
Note: The turnaround mode is a feature in the protected settings.
When the turnaround mode is set to the ON position, you momentarily press the lift switch rearward (Figure 11) to automatically raise all cutting units from the float position to a preset height, automatically disengaging the PTO. To resume mowing, press the lift switch forward. All the cutting units lower, and the PTO starts again.
When the turnaround mode is set to the OFF position, you manually raise the cutting units from the float position by pressing and holding all lift switches rearward until the cutting units raise to the desired height. For Groundsmaster 4700 machines, press all 3 lift switches to raise all 7 cutting units (Figure 11). The PTO does not disengage until the cutting units raise to the same preset height to which the cutting units raise when the turnaround-mode is set to ON.
Note: By default, the turnaround mode is ON.
The counterbalance system maintains hydraulic back pressure on the cutting-unit lift cylinders. The counterbalance system monitors the real-time traction pressure, dynamically changing the lift-cylinder back pressure to optimize traction capability and after-cut appearance. The counterbalance pressure has been set at the factory to an optimal balance of after-cut appearance and traction capability in most turf conditions. Decreasing the counterbalance setting can produce a more stable cutting unit but can decrease the traction capability. Increasing the counterbalance setting can increase the traction capability, but may result in a poor after-cut appearance; refer to Setting the Counterbalance.
The customizable counterbalance setting controls are as follows:
Low—the most amount of weight on cutting units and the lowest weight on the drive wheels
Medium—medium weight on cutting units and the drive wheels
High—the least amount of weight on cutting units and the highest weight on machine drive wheels
With Smart Power, the operator does not have to listen to the engine speed in heavy load conditions. Smart Power prevents the engine from bogging down in heavy cutting conditions by automatically controlling the machine speed and optimizing cutting performance.
Note: By default, the Smart Power feature is ON.
Important: Bleed the fuel system if any of the following have occurred:
The engine has shut off due to lack of fuel.
Maintenance has been performed upon the fuel system components.
Remove your foot from the traction pedal and ensure that it is in NEUTRAL. Ensure that the parking brake is engaged.
Turn the key to the RUN position. The glow indicator should illuminate.
When the glow indicator dims, turn the key to the START position.
Important: Do not run the starter motor more than 15 seconds at a time or premature starter failure may result. If the engine fails to start after 15 seconds, turn the key to the OFF position, check the controls and procedures, wait 15 additional seconds, and repeat the starting procedure.
Release the key immediately when the engine starts and allow it to return to the RUN position.
When the temperature is less than -7°C (20°F), the starter motor can be run for 30 seconds on then 60 seconds off for 2 attempts.
Important: Shut off the engine and allow the engine to cool before you check for oil leaks, loose parts, or other malfunctions.
Important: Allow the engine to idle for 5 minutes before shutting it off after a full-load operation. This allows the turbocharger to cool down before shutting off the engine. Failure to do so may lead to premature turbocharger failure.
Note: Lower the cutting units to the ground whenever the machine is parked. This relieves the hydraulic load from the system, prevents wear on system parts and also prevents accidental lowering of the cutting units.
Move the PTO switch to the OFF position.
Engage the parking brake.
Rotate the ignition key to the OFF position.
Remove the key to prevent accidental starting.
Note: Cutting grass at a rate that loads the engine promotes DPF regeneration.
Disengage the brake, disengage the PTO, and raise the cutting units.
Select the H/L AUTO or LOW position with the speed range switch. Refer to Using the High and Low Speed Range Switch.
Note: When the H/L AUTO position is selected and the cutting units are raised, the machine will automatically select the high speed range.
Using the traction pedal like an accelerator pedal on a car, drive the machine to the job site.
Align the machine outside the cutting area for the first cutting pass.
Lower the cutting units with the rocker switch or switches.
Tap the lift switch (GM4500) or middle-lift switch (GM4700) rearward to lift the cutting units to the turnaround position.
Note: The turnaround position is only available if it is activated under the protected menus in the InfoCenter. Tapping the rocker switch without holding it raises the cutting units to the turn around position and stops the rotation of the blades until the cutting units are lowered.
Pull the PTO switch to engage the cutting units.
Note: The engine speed automatically rises to high idle when you lower the cutting units and activate the PTO switch.
Using the traction pedal, approach the mowing area slowly and lower the cutting units with the rocker switch once the front cutting units are over the mowing area.
Note: Practice to ensure the cutting units do not lower early or mow an unintended area.
Begin mowing the area.
When you complete the mowing pass, tap the lift switch (GM4500) or middle-lift switch (GM4700) rearward to lift the cutting units to the turn around position.
Perform a tear-shaped turn to quickly line up for your next pass.
Press the lift switch (GM4500) or middle-lift switch (GM4700) down to automatically lower the cutting units from the turnaround position and continue mowing.
The diesel-particulate filter (DPF) removes soot from the engine exhaust.
The DPF regeneration process uses heat from the engine exhaust that is increased by the catalyst to reduce accumulated soot into ash.
To keep the DPF clean, remember the following:
Run the engine at full engine speed when possible to promote DPF self-cleaning.
Use the correct engine oil.
Minimize the amount of time that you idle the engine.
Use only ultra low sulfur diesel fuel.
Operate and maintain your machine with the function of the DPF in mind. Engine under load generally produces adequate exhaust temperature for DPF regeneration.
Important: Minimize the amount of time that you idle the engine or operate the engine at low-engine speed to help reduce the accumulation of soot in the DPF.
The exhaust temperature is hot (approximately 600°C (1,112°F) during DPF regeneration. Hot exhaust gas can harm you or other people.
Do not operate the engine in an enclosed area.
Ensure that there are no flammable materials around the exhaust system.
Ensure that the hot exhaust gas does not contact surfaces that may be damaged by heat.
Do not touch a hot exhaust system component.
Do not stand near or around the exhaust pipe of the machine.
| Icon | Icon Definition |
![]() | • Parked or recovery regeneration icon-regeneration is requested. |
| • Perform the regeneration immediately. | |
![]() | • A regeneration is acknowledged and the request is processing. |
![]() | • A regeneration is in progress and the exhaust temperature is elevated. |
![]() | • NOx control system malfunction; the machine requires service. |
| Type of Regeneration | Conditions that cause DPF regeneration | DPF description of operation |
|---|---|---|
| Passive | Occurs during normal operation of the machine at high-engine speed or highengine load | • The InfoCenter does not display an icon indicating passive regeneration. |
| • During passive regeneration, the DPF processes high-heat exhaust gasses, oxidizing harmful emissions, and burning soot to ash. | ||
| Assist | Occurs because of low-engine speed, low-engine load, or after the computer detects the DPF is becoming obstructed with soot | •The InfoCenter does not display an icon indicating assist regeneration. |
| • During assist regeneration, the engine computer adjusts the engine settings to raise the exhaust temperature. | ||
| Reset | Occurs every 100 hours | • When the high exhaust-temperature icon is displayed in the InfoCenter,
a regeneration is in progress. |
| Also occurs if normal engine operation surpasses the allowed soot accumulation amount within the filter | ||
| • During reset regeneration, the engine computer maintains an elevated engine speed to ensure filter regeneration. |
| Type of Regeneration | Conditions that cause DPF regeneration | DPF description of operation |
|---|---|---|
| Parked | Occurs because the computer determines that the automatic DPF cleaning has not been sufficient. | • When the reset-standby/parked
or recovery regeneration icon or a regeneration is requested. |
| Also occurs because you initiate a parked regeneration | ||
| May occur because the inhibit regen has been initiated and has disabled the automatic DPF cleaning from occuring | • Perform the parked regeneration as soon as possible to avoid needing a recovery regeneration. | |
| May result from using the incorrect fuel or engine oil | • A parked regeneration requires 30 to 60 minutes to complete. | |
| • You must have at least a 1/4 tank of fuel in the tank. | ||
| • You must park the machine to perform a parked regeneration. | ||
| Recovery | Occurs because the request for parked recovery has been ignored, allowing the DPF to be critically plugged | • When the reset-standby/parked or recovery
regeneration icon a recovery regeneration is requested. |
| • A recovery regeneration requires up to 3 hours to complete. | ||
| • You must have at least a 1/2 tank of fuel in the machine. | ||
| • You must park the machine to perform a recovery regeneration. |
From the MAIN MENU, scroll down to SERVICE and press the select button.
In SERVICE, scroll to DPF REGENERATION and press the select button.
Select the regeneration function you need.

Access the DPF REGENERATION menu, and scroll to LAST REGEN.
Select the LAST REGEN entry.
Use the LAST REGEN field to determine how many hours you have run the engine since the last reset, parked, or recovery regeneration.
Select the back button to return to the DPF REGENERATION screen.

A reset regeneration produces elevated engine exhaust. If you are operating the machine around trees, brush, tall grass, or other temperature-sensitive plants or materials, you can use the INHIBIT REGEN setting to prevent the engine computer from performing a reset regeneration.
Note: The INHIBIT REGEN option is always used when maintenance is being performed on the machine in an enclosed area.
Note: If you set the InfoCenter to inhibit regeneration, the InfoCenter displays an advisory every 15 minutes while the engine requests a reset regeneration.
Important: When you shut off the engine and start it again, the inhibit regen setting defaults to OFF.
Access the DPF REGENERATION menu, and scroll down to INHIBIT REGEN.
Select the Inhibit REGEN entry.
Change the inhibit regeneration setting from OFF to ON.
Ensure that the machine has fuel in the tank for the type of regeneration you are performing:
Parked Regeneration: Ensure that you have 1/4 tank of fuel before performing the parked regeneration.
Recovery Regeneration: Ensure that you have 1/2 tank of fuel before performing the recovery regeneration.
Move the machine outside to an area away from combustible materials or items that may be damaged by heat.
Park the machine on a level surface, move all controls to NEUTRAL, disengage the PTO, and lower the cutting units.
Engage the parking brake and allow the engine to reach low idle speed.
When a parked regeneration is requested by the engine computer, follow the messages on the InfoCenter.
Important: The computer of the machine cancels DPF regeneration if you increase the engine speed from low idle or release the parking brake.
Access the DPF REGENERATION menu, and scroll down to PARKED REGEN or RECOVERY REGEN.
Select the PARKED REGEN entry or the RECOVERY REGEN entry.
Note: Initiating a recovery regeneration requires you to enter the correct PIN code.
At the REGEN PARAMETERS screen, verify that you have 1/4 tank of fuel if you are performing the parked regeneration or 1/2 tank of fuel if you are performing the recovery regeneration. Verify that the parking brake is engaged and the engine speed is set to low idle. Press the select button to continue.
At the INITIATE DPF REGEN screen, select the next button to continue.
The InfoCenter displays theINITIATE DPF REGEN message.
Note: If needed, press the cancel icon to cancel the regeneration process.
The InfoCenter displays the time to complete message.
The InfoCenter displays the home screen and the regeneration
acknowledge icon appears
.
Note: While the DPF regeneration runs, the InfoCenter displays the
high exhaust-temperature icon
.
When the engine computer completes a parked or recovery regeneration, the InfoCenter displays an advisory. Press any button to exit to the home screen.
Note: If the regeneration fails to complete, follow the advisory and press any button to exit to the home screen.
Use the PARKED REGEN CANCEL or RECOVERY REGEN CANCEL setting to cancel a running parked or recovery regeneration process.
Access the DPF REGENERATION menu, scroll to PARKED REGEN or RECOVERY REGEN.
Press the select button to cancel a Parked Regen or Recovery Regen.

The engine cooling fan is normally controlled by the machine. The machine has the ability to reverse the fan to blow debris off the rear screen. Under normal operating conditions, the machine controls the fan speed and direction based on coolant and hydraulic-fluid temperature, and the fan automatically reverses direction to blow debris off the rear screen.
You can manually reverse the fan by pressing the 2 outer buttons or the 2 inside left and right buttons of the InfoCenter (Figure 38) for 2 seconds—the fan completes a manually initiated reverse cycle. Reverse the fan when the rear screen is clogged or prior to moving the machine into the shop or a storage area.

Change mowing patterns often to minimize a poor after-cut appearance from repeatedly mowing in the same direction.
Refer to the After-cut Appearance Troubleshooting Guide available at www.Toro.com.
To begin cutting, engage the cutting units, then approach the mowing area slowly. Once the front cutting units are over the mowing area, lower the cutting units.
To achieve the professional straight-line cut and striping that is desirable for some applications, find a tree or other object in the distance and drive straight toward it.
As soon as the front cutting units reach the edge of the mowing area, lift the cutting units, and perform a teardrop-shaped turn to quickly line up for your next pass.
Bolt-in mulching baffles are available for the cutting units. The mulching baffles perform well when you maintain turf on a regular schedule to avoid removing more than 25 mm (1 inch) of growth per cutting. When you cut too much growth with the mulching baffles installed, the after-cut appearance may deteriorate and the observed power to cut the turf increases. The mulching baffles also perform well for shredding leaves in the fall.
Remove no more than approximately 25 mm (1 inch), or 1/3 of the grass blade when cutting. In exceptionally lush and dense grass, you may need to raise your height-of-cut setting.
A sharp blade cuts cleanly and without tearing or shredding the grass blades like a dull blade. Tearing and shredding causes the grass to turn brown at the edges, which impairs growth and increases susceptibility to diseases. Ensure that the blade is in good condition and that there is a full sail; refer to Servicing the Blade Plane.
Ensure that the cutting chambers are in good condition. Straighten any bends in the chamber components to ensure correct blade tip/chamber clearance. Ensure all rollers and pivoting joints do not have play in them to prevent turf damage or poor after cut appearance.
After mowing, thoroughly wash the machine with a garden hose with no nozzle to avoid contamination and damage to the seals and bearings caused by excessive water pressure. Ensure that the radiator and oil cooler are kept free of dirt or grass clippings. After cleaning, inspect the machine for possible hydraulic-fluid leaks, damage, or wear to the hydraulic and mechanical components, and check the cutting-unit blades for sharpness.
Shut off the engine, remove the key, and wait for all movement to stop before you leave the operator’s position. Allow the machine to cool before adjusting, servicing, cleaning, or storing it.
To help prevent fires, ensure that the cutting units, drives, mufflers, cooling screens, and engine compartment are free from grass and debris buildup. Clean up oil or fuel spills.
If the cutting units are in the transport position, use the positive mechanical lock (if available) before you leave the machine unattended.
Allow the engine to cool before storing the machine in any enclosure.
Remove the key and shut off the fuel (if equipped) before storing or hauling the machine.
Never store the machine or fuel container where there is an open flame, spark, or pilot light, such as on a water heater or on other appliances.
Maintain and clean the seat belt(s) as necessary
Use the cutting-unit storage lanyards to prevent the forward outer cutting units from settling when the machine is parked overnight or if it is being stored for an extended period. You can also use the cutting-unit storage lanyards to prevent the cutting units from settling while the machine is transporting between mowing tasks.

Ensure that the PTO is disengaged.
Park the machine on a level surface.
Engage the parking brake.
Fully raise the cutting units.
Align the lanyard to the carrier shaft of the lift arm for the forward outer-cutting unit (Figure 40).

Slip the loop in the lanyard over the carrier shaft until the lanyard is fully seated in the groove in the shaft (Figure 40).
Repeat steps 5 and 6 for the forward outer-cutting unit at the other side of the machine.
Important: Remove the lanyards from the carrier shafts before lowering the cutting units
Note: Stow the lanyards when you are not using them.
Ensure that the PTO is disengaged.
Park the machine on a level surface.
Engage the parking brake.
With the cutting units lowered, slip the loop of the lanyard into the slot in the reinforcement plate of the roller support (Figure 41).

Use the 2 rear-transport latches for the No. 6 and 7 cutting units (Figure 15) when moving the machine over long distances, rough terrain, when transporting, or storing the machine.

Remove the key and shut off the fuel (if equipped) before storing or hauling the machine.
Use care when loading or unloading the machine into a trailer or a truck.
Use full-width ramps for loading the machine into a trailer or a truck.
Tie the machine down securely.
In an emergency, you can move the machine forward by actuating the bypass function in the variable-displacement hydraulic pump and pushing or towing the machine.
Important: Do not push or tow the machine faster than 3 to 4.8 km/h (2 to 3 mph). If you push or tow at a faster speed, internal transmission damage may occur.The relief valves must be open whenever you push or tow the machine.
Open the hood and locate the relief valves (Figure 43) on the top of pump, behind the battery/storage boxes.
Rotate each valve 3 turns counter-clockwise to open and allow the fluid to bypass internally.
Note: Do not open the valve more than 3 turns. Because fluid is bypassed, you can move the machine slowly without damaging the transmission.


Push or tow the machine forward.
Important: If you must push or tow the machine in reverse, refer to the Reverse Tow Kit (Part No. 136-3620).
Finish pushing or towing the machine and close the relief valves. Torque the valve to 70 N∙m (52 ft-lb).
Note: Use properly-rated DOT-approved straps in 4 corners to tie down the machine.
On each side of the frame by the operator’s platform
On the rear bumper


Note: Determine the left and right sides of the machine from the normal operating position.
Important: Refer to your engine owner’s manual for additional maintenance procedures.
Important: If you are performing maintenance on the machine and run the engine with an engine exhaust-extraction duct, set the inhibit regen setting to ON; refer to Setting the Inhibit Regen.
Note: Download a free copy of the electrical or hydraulic schematic by visiting www.Toro.com and searching for your machine from the Manuals link on the home page.
Before you leave the operator’s position, do the following:
Park the machine on a level surface.
Disengage the power takeoff and lower the attachments.
Engage the parking brake.
Shut off the engine and remove the key.
Wait for all movement to stop.
Wear appropriate clothing, including eye-protection; long pants and substantial, slip-resistant footwear. Keep hands, feet, clothing, jewelry, and long hair away from moving parts.
If you leave the key in the switch, someone could accidently start the engine and seriously injure you or other bystanders. Remove the key from the switch before you perform any maintenance.
Allow machine components to cool before performing maintenance.
If the cutting units are in the transport position, use the positive mechanical lock (if equipped) before you leave the machine unattended.
If possible, do not perform maintenance while the engine is running. Keep away from moving parts.
Operate the engine only in well-ventilated areas. Exhaust gases contain carbon monoxide, which is lethal if inhaled.
Support the machine with jack stands whenever you work under the machine.
Carefully release pressure from components with stored energy.
Keep all parts of the machine in good working condition and all hardware tightened, especially blade-attachment hardware.
Replace all worn or damaged decals.
To ensure safe, optimal performance of the machine, use only genuine Toro replacement parts. Replacement parts made by other manufacturers could be dangerous, and such use could void the product warranty.
| Maintenance Service Interval | Maintenance Procedure |
|---|---|
| After the first hour |
|
| After the first 10 hours |
|
| After the first 50 hours |
|
| After the first 200 hours |
|
| Before each use or daily |
|
| Every 50 hours |
|
| Every 100 hours |
|
| Every 200 hours |
|
| Every 400 hours |
|
| Every 500 hours |
|
| Every 800 hours |
|
| Every 1,000 hours |
|
| Every 2,000 hours |
|
| Every 3,000 hours |
|
| Before storage |
|
| Every 2 years |
|
If you leave the key in the key switch, someone could accidently start the engine and seriously injure you or other bystanders.
Remove the key before you do any maintenance.
Use the following as points to lift the machine:
Front of the machine—at the frame of the machine, forward of the wheel-drive motors (Figure 46)
Important: Do not support the machine at the wheel-drive motors. Keep the lifting equipment clear of hydraulic tubing and hoses.

Rear of the machine—at the center of the axle (Figure 47)
Locate the jackstands of the specified capacity at both sides of the gear case and under the axle.
Important: Do not support the machine at the tie rod.

Tilt the hood to access the chassis as shown in Figure 48.

Tilt the seat to access the hydraulic lift compartment as shown in Figure 49.

| Maintenance Service Interval | Maintenance Procedure |
|---|---|
| Every 50 hours |
|
Grease specification: No. 2 lithium grease
The grease fitting locations and quantities are as follows:
Brake-shaft pivot bearings (5) as shown in Figure 50

Rear-axle-pivot bushings (2) as shown in Figure 51

Steering-cylinder ball joints (2) as shown in Figure 52

Tie-rod ball joints (2) as shown in Figure 52
Kingpin bushings (2) as shown in Figure 52
Important: Lubricate the top fitting on the kingpin no more than annually (2 pumps).
Lift-arm bushings (1 per cutting unit) as shown in Figure 53

Lift-cylinder bushings (2 per cutting unit) as shown in Figure 53
Cutting-unit spindle-shaft bearings (2 per cutting unit) as shown in Figure 54
Note: You can use either fitting, whichever is more accessible. Pump grease into the fitting until a small amount appears at the bottom of the spindle housing (under the cutting unit).

Cutting-unit carrier-arm bushings (1 per cutting unit) as shown in Figure 54
Rear roller bearings (2 per cutting unit) as shown in Figure 55

Important: Make sure that the grease groove in each roller mount aligns with the grease hole in each end of the roller shaft. To help align the groove and the hole, there is also an alignment mark on 1 end of the roller shaft.
Shut off the engine and remove the key before checking the oil or adding oil to the crankcase.
Do not change the governor speed or overspeed the engine.
| Maintenance Service Interval | Maintenance Procedure |
|---|---|
| Every 400 hours |
|
Check the air-cleaner body for damage which could cause an air leak. Replace it if it is damaged. Check the whole intake system for leaks, damage, or loose hose clamps.
Service the air-cleaner filter only when the service indicator (Figure 56) requires it. Changing the air filter before it is necessary only increases the chance of dirt entering the engine when you remove the filter.

Important: Ensure that the cover is seated correctly and seals with the air-cleaner body.
Use high-quality, low-ash engine oil that meets or exceeds the following specifications:
API service category CJ-4 or higher
ACEA service category E6
JASO service category DH-2
Important: Using engine oil other than API CJ-4 or higher, ACEA E6, or JASO DH-2 may cause the diesel particulate filter to plug or cause engine damage.
Use the following engine oil viscosity grade:
Preferred oil: SAE 15W-40 (above 0°F)
Alternate oil: SAE 10W-30 or 5W-30 (all temperatures)
Toro Premium Engine Oil is available from your authorized Toro distributor in either 15W-40 or 10W-30 viscosity grades. See the Parts Catalog for part numbers.
| Maintenance Service Interval | Maintenance Procedure |
|---|---|
| Before each use or daily |
|
The engine is shipped with oil in the crankcase; however, the oil level must be checked before and after the engine is first started.
Important: Check the engine oil daily. If the engine-oil level is above the Full mark on the dipstick, the engine oil may be diluted with fuel;If the engine oil level is above the Full mark, change the engine oil.
The best time to check the engine oil is when the engine is cool before it has been started for the day. If it has already been run, allow the oil to drain back down to the sump for at least 10 minutes before checking. If the oil level is at or below the Add mark on the dipstick, add oil to bring the oil level to the Full mark. Do not overfill the engine with oil.
Important: Keep the engine-oil level between the upper and lower limits on the dipstick; the engine may fail if you run it with too much or too little oil.
Check the engine-oil level; refer to Figure 59.


Note: When using different oil, drain all old oil from the crankcase before adding new oil.
Approximately 5.7 L (6 US qt) with the filter.
| Maintenance Service Interval | Maintenance Procedure |
|---|---|
| Every 500 hours |
|
Note: To reset the service due indicator in the Infocenter; refer to Setting the Service Due Timer.
Start the engine and let it run 5 minutes to allow the oil to warm up.
Park the machine on a level surface, engage the parking brake, shut off the engine, and remove the key.
Replace the engine oil and filter (Figure 60).


Add oil to the crankcase; refer to theCrankcase Oil Capacity and Checking the Engine-Oil Level.
| Maintenance Service Interval | Maintenance Procedure |
|---|---|
| Every 3,000 hours |
|
Refer to the Engine section in the Service Manual for information on disassembling and assembling the diesel-oxidation catalyst and the soot filter of the DPF.
Contact your authorized Toro distributor for diesel-oxidation catalyst and the soot filter replacement parts or service.
Contact your authorized Toro distributor to reset the engine ECU after you install a clean DPF.
Under certain conditions, diesel fuel and fuel vapors are highly flammable and explosive. A fire or explosion from fuel can burn you and others and can cause property damage.
Use a funnel to fill the fuel tank outdoors, in an open area, when the engine is off and is cold. Wipe up any fuel that spills.
Do not fill the fuel tank completely full. Add fuel to the fuel tank until the level is 6 to 13 mm (1/4 to 1/2 inch) below the bottom of the filler neck. This empty space in the tank allows the fuel to expand.
Never smoke when handling fuel, and stay away from an open flame or where fuel fumes may be ignited by a spark.
Store fuel in a clean, safety-approved container and keep the cap in place.
| Maintenance Service Interval | Maintenance Procedure |
|---|---|
| Every 800 hours |
|
| Before storage |
|
In addition to the listed service interval, drain and clean the tank if the fuel system becomes contaminated or if you are storing the machine for an extended period. Use clean fuel to flush out the tank.
| Maintenance Service Interval | Maintenance Procedure |
|---|---|
| Every 400 hours |
|
Inspect the fuel lines for deterioration, damage, or loose connections.

| Maintenance Service Interval | Maintenance Procedure |
|---|---|
| Before each use or daily |
|
Drain water from the fuel/water separator as shown in (Figure 62).

| Maintenance Service Interval | Maintenance Procedure |
|---|---|
| Every 400 hours |
|
Replace the fuel-filter canister as shown in Figure 63.

| Maintenance Service Interval | Maintenance Procedure |
|---|---|
| Every 400 hours |
|
Clean the area around the fuel-filter head (Figure 64).

Remove the filter and clean the filter head mounting surface (Figure 64).
Lubricate the filter gasket with clean lubricating engine oil; refer to the engine owner's manual for additional information.
Install the dry filter canister, by hand, until the gasket contacts the filter head, then rotate it an additional 1/2 turn.
Prime the filter and the lines to the high pressure pump; refer to Priming the Fuel System.
Start the engine and inspect for leaks around the filter head again.
The fuel-pickup tube, located inside the fuel tank, is equipped with a screen to help prevent debris from entering the fuel system. Remove the fuel-pickup tube and clean the screen as required.
Remove the hose clamp that secures the fuel supply hose to the fitting of the fuel-pickup tube (Figure 65).

Separate the hose from the fitting (Figure 65).
Lift the fuel-pickup tube from the fuel tank (Figure 65).
Note: Lift the tube straight from the bushing in the tank.
Clean any debris from the screen at the end of the fuel-pickup tube (Figure 65).
Insert the fuel-pickup tube through the rubber bushing and into the tank (Figure 65).
Note: Ensure that the fuel-pickup tube is fully seated into the rubber bushing.
Install the supply hose onto the fitting of the fuel-pickup tube, and secure the hose with the hose clamp that you removed in step 1.
Prime the fuel system before starting the engine for the first time, after running out of fuel, or after fuel system maintenance (e.g., draining the filter/water separator, replacing a fuel hose).
To prime the fuel system, perform the following steps:
Ensure that fuel is in the fuel tank.
Perform the following steps to prime the filter and the lines to the high pressure pump to prevent wear or damage to the pump:
Cycle the key to the ON position for 15 to 20 seconds.
Cycle the key to the OFF position for 30 to 40 seconds.
Note: This allows the ECU to power down.
Cycle the key to the ON position for 15 to 20 seconds.
Inspect for leaks around the filter and hoses.
Important: Do not use the engine starter motor to crank the engine to prime the fuel system.
Disconnect the battery before repairing the machine. Disconnect the negative terminal first and the positive last. Connect the positive terminal first and the negative last.
Charge the battery in an open, well-ventilated area, away from sparks and flames. Unplug the charger before connecting or disconnecting the battery. Wear protective clothing and use insulated tools.
| Maintenance Service Interval | Maintenance Procedure |
|---|---|
| Every 50 hours |
|
Important: Before welding on the machine, disconnect the negative cable from the battery to prevent damage to the electrical system. Also, you must disconnect the engine, InfoCenter, and machine controllers before welding on the machine.
Note: Keep the terminals and the entire battery case clean, because a dirty battery discharges slowly. To clean the battery, wash the entire case with a solution of baking soda and water. Rinse with clear water. Coat the battery posts and cable connectors with Grafo 112X (skin-over) grease (Toro Part No. 505-47) or petroleum jelly to prevent corrosion.
Loosen the latch for the cover of the right storage box and raise the cover (Figure 68).
Battery electrolyte contains sulfuric acid, which is fatal if consumed and causes severe burns.
Do not drink electrolyte and avoid contact with skin, eyes, or clothing. Wear safety glasses to shield your eyes and rubber gloves to protect your hands.
Fill the battery where clean water is always available for flushing the skin.
Remove the rubber boot from the positive terminal and inspect the battery.
Remove the negative cable (black) from the negative (-) terminal and the positive cable (red) from the positive (+) terminal of the battery (Figure 66).
Incorrect battery cable routing could damage the machine and cables, causing sparks. Sparks can cause the battery gasses to explode, resulting in personal injury.
Always disconnect the negative (black) battery cable before disconnecting the positive (red) cable.
Always connect the positive (red) battery cable before connecting the negative (black) cable.
Battery terminals or metal tools could short against metal components, causing sparks. Sparks can cause the battery gasses to explode, resulting in personal injury.
When removing or installing the battery, do not allow the battery terminals to touch any metal parts of the machine.
Do not allow metal tools to short between the battery terminals and metal parts of the machine.

Connect a 3 to 4 A battery charger to the battery posts. Charge the battery at a rate of 3 to 4 A for 4 to 8 hours.
Charging the battery produces gasses that can explode.
Never smoke near the battery and keep sparks and flames away from battery.
When the battery is charged, disconnect the charger from the power outlet and battery posts.
Install the positive cable (red) to the positive (+) terminal and the negative cable (black) to the negative (-) terminal of the battery (Figure 66).
Secure the cables to the posts with bolts and nuts.
Note: Make sure that the positive (+) terminal is all the way on the post and the cable is positioned snug to the battery. The cable must not contact the battery cover.
Coat both battery connections with Grafo 112X (skin-over) grease, Part No. 505-47, petroleum jelly, or light grease to prevent corrosion.
Slide the rubber boot over the positive terminal.
Close the console panel and secure the latch.
The fuse block for the machine is located in the right storage box


| Maintenance Service Interval | Maintenance Procedure |
|---|---|
| Every 400 hours |
|
There should be no end-play in the planetary drives/drive wheels (i.e., the wheels should not move when you pull or push them in a direction parallel to the axle).
Park the machine on a level surface, engage the parking brake, lower the cutting units, shut off the engine, and remove the key.
Chock the rear wheels and raise the front of machine, supporting the front axle/frame on jack stands.
A machine on a jack may be unstable and slip off the jack, injuring anyone beneath it.
Do not start the engine while the machine is on a jack.
Always remove the key from the switch before getting off the machine.
Block the tires when you are raising the machine with a jack.
Support the machine with jack stands.
Grasp 1 of the front drive wheels and push/pull it toward and away from the machine, noting any movement.

Repeat step 3 for the other drive wheel.
If either wheel moves, contact your authorized Toro distributor to have the planetary drive rebuilt.
| Maintenance Service Interval | Maintenance Procedure |
|---|---|
| Every 400 hours |
|
Lubricant Specification: high quality SAE 85W-140 gear lubricant
Park the machine on level surface and position the wheel so that the fill plug is at the 12 o'clock position, the check plug is at 3 o'clock position, and the drain plug is at the 6 o'clock position (Figure 72).

Remove the check plug at the 3 o’clock position (Figure 72).
The oil level should be at the bottom of the check-plug hole.

If the oil level is low, remove the fill plug at the 12 o’clock position and add oil until it begins to flow out of the hole at the 3 o’clock position.
Check the O-ring for the plug(s) for wear or damage.
Note: Replace the O-ring(s) as needed.
Install the plug(s).
Repeat steps 1 through 5 on the planetary gear assembly at the other side of the machine.
| Maintenance Service Interval | Maintenance Procedure |
|---|---|
| After the first 50 hours |
|
| Every 800 hours |
|
Lubricant specification: high quality SAE 85W-140 gear lubricant
Planetary and brake housing lubrication capacity: 0.65 L (22 fl oz)
Park the machine on level surface, position the wheel so that the fill plug is at the 12 o'clock position, the check plug is at 3 o'clock position, and the drain plug is at the 6 o'clock position; refer to Figure 72 in Checking the Planetary Gear-Drive Lubricant.
Remove the fill plug at the 12 o’clock position and the check plug at the 3 o’clock position (Figure 74).

Place a drain pan under the planetary hub, remove the drain plug at the 6 o’clock position, and allow the oil to fully drain (Figure 74).
Check the O-rings for the fill, check, and drain plugs for wear or damage.
Note: Replace the O-ring(s) as needed.
Install the drain plug into the drain hole of the planetary housing (Figure 74).
Place a drain pan under the brake housing, remove the drain plug, and allow the oil to fully drain (Figure 75).

Check the O-ring for the plug for wear or damage and install the drain plug into the brake housing.
Note: Replace the O-ring as needed.
Through the fill-plug hole, slowly fill the planetary with 0.65 L (22 fl oz) of high quality SAE 85W-140 wt gear lube.
Important: If the planetary fills before the 0.65 L (22 fl oz) of oil is added, wait 1 hour or install the plug and move the machine approximately ten feet to distribute the oil through the brake system. Then, remove the plug and add the remaining oil.

Install the fill plug and the check plug.
Wipe clean the planetary and brake housings (Figure 77).

Repeat steps 1 through 7 in Draining the Planetary-Gear-Drive and steps 1 through 3 in this procedure for the planetary/brake assembly at the other side of the machine.
| Maintenance Service Interval | Maintenance Procedure |
|---|---|
| Before each use or daily |
|
Visually inspect the rear axle and rear-axle gearbox for leaks.

| Maintenance Service Interval | Maintenance Procedure |
|---|---|
| Every 400 hours |
|
The rear axle is filled with SAE 85W-140 gear lube. The capacity is 2.4 L (80 fl oz). Visually inspect for leaks daily.
Park the machine on a level surface, engage the parking brake, lower the cutting units, shut off the engine, and remove the key.
Remove a check plug from 1 end of the axle and ensure that the lubricant is up to the bottom of the hole (Figure 79).
Note: If the level is low, remove the fill plug and add enough lubricant to bring the level up to the bottom of the check-plug holes.

| Maintenance Service Interval | Maintenance Procedure |
|---|---|
| After the first 200 hours |
|
| Every 800 hours |
|
Lubricant specification: high-quality SAE 85W-140 gear lubricant
Axle capacity: 2.4 L (80 fl oz)
Park the machine on a level surface, engage the parking brake, lower the cutting units, shut off the engine, and remove the key.
Clean the area around the 3 drain plugs—1 on each end and 1 in the center (Figure 80).

Remove the oil-level check plugs and the main-axle-vent cap to ease draining the gear lubricant.
Remove the drain plugs and allow the gear lubricant to drain into the pans.
Install the plugs.
Remove a check plug and fill the axle with approximately 2.4 L (80 fl oz) of 85W-140 gear lube or until the lubricant is up to the bottom of the hole.
Install the check plug.
| Maintenance Service Interval | Maintenance Procedure |
|---|---|
| Every 400 hours |
|
The gear box is filled with SAE 85W-140 gear lube. The capacity is 0.5 L (16 fl oz). Visually inspect for leaks daily.
Park the machine on a level surface, engage the parking brake, lower the cutting units, shut off the engine, and remove the key.
Remove the check/fill plug from the left side of the gear box and ensure that lubricant is up to the bottom of the hole (Figure 81).
Note: If the level is low, add enough lubricant to bring the level up to the bottom of the hole.

| Maintenance Service Interval | Maintenance Procedure |
|---|---|
| Every 800 hours |
|
Park the machine on a level surface, engage the parking brake, lower the cutting units, shut off the engine, and remove the key.
Measure the center-to-center distance (at axle height) at the front and rear of the steering tires (Figure 82).
Note: The front measurement must be 3 mm (1/8 inch) less than the rear measurement.

To adjust, remove the cotter pin and nut from either tie rod ball joint (Figure 83). Remove the tie-rod ball joint from the axle-case support.

Loosen the clamps at both ends of the tie rods (Figure 83).
Rotate the detached ball joint inward or outward 1 complete revolution and tighten the clamp at the loose end of the tie rod.
Rotate the entire tie-rod assembly the same direction (inward or outward) 1 complete revolution and tighten the clamp at the connected end of the tie rod.
Install the ball joint in the axle-case support, tighten the nut finger-tight, and measure the toe-in.
Repeat procedure if necessary.
Tighten the nut and install a new cotter pin when the adjustment is correct.
Swallowing engine coolant can cause poisoning; keep out of reach from children and pets.
Discharge of hot, pressurized coolant or touching a hot radiator and surrounding parts can cause severe burns.
Always allow the engine to cool at least 15 minutes before removing the radiator cap.
Use a rag when opening the radiator cap, and open the cap slowly to allow steam to escape.
Do not operate the machine without the covers in place.
Keep your fingers, hands, and clothing clear of the rotating fan and drive belt.
The coolant reservoir is filled at the factory with a 50/50 solution of water and ethylene glycol base extended-life coolant.
Important: Use only commercially available coolants that meet the specifications listed in the Extended Life Coolant Standards Table.Do not use conventional (green) inorganic-acid technology (IAT) coolant in your machine. Do not mix conventional coolant with extended-life coolant.
|
Ethylene-Glycol Coolant Type |
Corrosion Inhibitor Type |
|
Extended-life antifreeze |
Organic-acid technology (OAT) |
|
Important: Do not rely on the color of the coolant to identify the difference between conventional (green) inorganic-acid technology (IAT) coolant and extended-life coolant.Coolant manufacturers may dye extended-life coolant in one of the following colors: red, pink, orange, yellow, blue, teal, violet, and green. Use coolant that meets the specifications in the Extended Life Coolant Standards Table. |
|
|
ATSM International |
SAE International |
|
D3306 and D4985 |
J1034, J814, and 1941 |
Important: Coolant concentration should be a 50/50 mixture of coolant to water.
Preferred: When mixing coolant from a concentrate, mix it with distilled water.
Preferred option: If distilled water is not available, use a pre-mix coolant instead of a concentrate.
Minimum requirement: If distilled water and pre-mix coolant are not available, mix concentrated coolant with clean drinkable water.
| Maintenance Service Interval | Maintenance Procedure |
|---|---|
| Before each use or daily |
|
Cooling system capacity: 8.5 L (9 US qt).
The rotating fans and drive belts can cause personal injury.
Do not operate the machine without the guards in place.
Keep your fingers, hands, and clothing clear of the rotating fan and drive belt.
Shut off the engine and remove the key before performing maintenance.
Park the machine on a level surface, engage the parking brake, lower the cutting units, shut off the engine, and remove the key.
Carefully remove the radiator cap.

Check the coolant level in the radiator. The radiator should be filled to the top of the filler neck and the expansion tank filled to the FULL mark (Figure 84).
If the coolant is low, add a 50/50 mixture of water and ethylene glycol anti-freeze; refer to Coolant Specification. Do not use water only or alcohol/methanol based coolants.
Install the radiator cap and expansion-tank cap.
| Maintenance Service Interval | Maintenance Procedure |
|---|---|
| Before each use or daily |
|
This machine is equipped with a hydraulically driven fan drive system that automatically (or manually) reverses to reduce oil cooler/radiator and screen debris buildup. While this feature can help reduce the time required to clean oil cooler/radiator, it does not eliminate the need for routine cleaning. Periodic cleaning and inspection of the radiator/cooler is still required.
Park the machine on a level surface, engage the parking brake, lower the cutting units, shut off the engine, and remove the key.
Allow the machine to cool down; refer to Maintenance Safety and Cooling System Safety.
Unlatch and swing open the rear screen (Figure 85).
Note: To remove the screen, lift it off the hinge pins.
Clean the screen thoroughly of all debris.

Thoroughly clean both sides of the oil cooler and the radiator with compressed air (Figure 86).
Note: Start from the front and blow the debris out toward the back. Then clean from the back side and blow toward the front. Repeat procedure several times until you remove all chaff and debris.

Important: Cleaning the oil cooler/radiator with water promotes premature corrosion damage to components and compacts debris.
Close the rear screen and secure it with the latch.
Adjust the service brakes when there is more than 25 mm (1 inch) of free travel of the brake pedal, or when the brakes do not work effectively. Free travel is the distance the brake pedal moves before you feel braking resistance.
Park the machine on a level surface, engage the parking brake, lower the cutting units, shut off the engine, and remove the key.
Release the locking latch from the brake pedals so that both pedals work independently of each other.
To reduce free travel of the brake pedals, tighten the brakes as follows:
Loosen the front nut on the threaded end of the brake cable (Figure 87).

Tighten the rear nut to move the cable rearward until the brake pedals have 13 to 25 mm (1/2 to 1 inch) of free travel.
Tighten the front nuts after the brakes are adjusted correctly.
| Maintenance Service Interval | Maintenance Procedure |
|---|---|
| Every 100 hours |
|
Proper tension of the belt allows 10 mm (3/8 inch) of deflection when a force of 4.5 kg (10 lb) is applied on the belt midway between the pulleys.
If the deflection is not 10 mm (3/8 inch), loosen the alternator-mounting bolts (Figure 56).
Note: Increase or decrease the alternator-belt tension and tighten the bolts. Check the deflection of the belt again to ensure that the tension is correct.

Seek immediate medical attention if fluid is injected into skin. Injected fluid must be surgically removed within a few hours by a doctor.
Ensure that all hydraulic-fluid hoses and lines are in good condition and all hydraulic connections and fittings are tight before applying pressure to the hydraulic system.
Keep your body and hands away from pinhole leaks or nozzles that eject high-pressure hydraulic fluid.
Use cardboard or paper to find hydraulic leaks.
Safely relieve all pressure in the hydraulic system before performing any work on the hydraulic system.
The reservoir is filled at the factory with high-quality hydraulic fluid. Check the level of the hydraulic fluid before you first start the engine and daily thereafter; refer to Checking the Hydraulic-Fluid Level.
Recommended hydraulic fluid: Toro PX Extended Life Hydraulic Fluid; available in 19 L (5 US gallon) pails or 208 L (55 US gallon) drums.
Note: A machine using the recommended replacement fluid requires less frequent fluid and filter changes.
Alternative hydraulic fluids: If Toro PX Extended Life Hydraulic Fluid is not available, you may use another conventional, petroleum-based hydraulic fluid having specifications that fall within the listed range for all the following material properties and that it meets industry standards. Do not use synthetic fluid. Consult with your lubricant distributor to identify a satisfactory product.
Note: Toro does not assume responsibility for damage caused by improper substitutions, so use products only from reputable manufacturers who will stand behind their recommendation.
| Material Properties: | ||
| Viscosity, ASTM D445 | cSt @ 40°C (104°F) 44 to 48 | |
| Viscosity Index ASTM D2270 | 140 or higher | |
| Pour Point, ASTM D97 | -37°C to -45°C (-34°F to -49°F) | |
| Industry Specifications: | Eaton Vickers 694 (I-286-S, M-2950-S/35VQ25 or M-2952-S) | |
Note: Many hydraulic fluids are almost colorless, making it difficult to spot leaks. A red dye additive for the hydraulic fluid is available in 20 ml (0.67 fl oz) bottles. A bottle is sufficient for 15 to 22 L (4 to 6 US gallons) of hydraulic fluid. Order Part No. 44-2500 from your authorized Toro distributor.
Important: Toro Premium Synthetic Biodegradable Hydraulic Fluid is the only synthetic biodegradable fluid approved by Toro. This fluid is compatible with the elastomers used in Toro hydraulic systems and is suitable for a wide-range of temperature conditions. This fluid is compatible with conventional mineral oils, but for maximum biodegradability and performance, the hydraulic system should be thoroughly flushed of conventional fluid. The oil is available in 19 L (5 US gallon) pails or 208 L (55 US gallon) drums from your authorized Toro distributor.
| Maintenance Service Interval | Maintenance Procedure |
|---|---|
| Before each use or daily |
|
Park the machine on a level surface, engage the parking brake, lower the cutting units, shut off the engine, and remove the key.
Check the hydraulic-fluid level (Figure 89).


| Maintenance Service Interval | Maintenance Procedure |
|---|---|
| Every 800 hours |
|
| Every 2,000 hours |
|
| Every 2 years |
|
Hydraulic Fluid Capacity: 28.4 L (7.50 US gallons)
If the fluid becomes contaminated, contact your authorized Toro distributor, because the system must be flushed. Contaminated fluid looks milky or black when compared to clean oil.
Park the machine on a level surface, engage the parking brake, lower the cutting units, shut off the engine, and remove the key.
Raise the hood.
Disconnect the case return line from the bottom of the reservoir and let the hydraulic fluid flow into a large drain pan.
Install the hose when the hydraulic fluid stops draining.
Fill the reservoir with hydraulic fluid; refer to Servicing the Hydraulic Fluid.
Important: Use only the hydraulic fluids specified. Other fluids could cause system damage.
Install the reservoir cap.
Turn the key in the key switch to the ON position to start the engine. Use all the hydraulic controls to distribute hydraulic fluid throughout the system, and check for leaks.
Turn the key in the key switch to the OFF position.
Check the fluid level and add enough to raise level the level to the FULL mark on the dipstick. Do not overfill.
| Maintenance Service Interval | Maintenance Procedure |
|---|---|
| Every 800 hours |
|
| Every 1,000 hours |
|
Use Toro replacement filters Part No. 94-2621 for the rear (cutting units) of the machine and Part No. 75-1310 for the front (charge) of the machine.
Important: Using another filter may void the warranty on some components.
Tilt the operator’s seat to access the mower-pressure filter; refer to Accessing the Hydraulic Lift Compartment

Replace the charge hydraulic filter at the hydraulic lift compartment as shown in Figure 91.


Lower and secure the operator’s seat.
Replace the return filter at the right side of the machine (Figure 91).
Start the engine and let it run for about 2 minutes to purge air from the system. Shut off the engine and check for leaks.
| Maintenance Service Interval | Maintenance Procedure |
|---|---|
| Before each use or daily |
|
| Every 2 years |
|
Inspect the hydraulic lines and hoses daily for leaks, kinked lines, loose mounting supports, wear, loose fittings, weather deterioration, and chemical deterioration. Make all necessary repairs before operating the machine.
Hydraulic fluid escaping under pressure can penetrate skin and cause injury.
Seek immediate medical help if fluid is injected into skin.
Make sure that all hydraulic-fluid hoses and lines are in good condition and all hydraulic connections and fittings are tight before applying pressure to the hydraulic system.
Keep your body and hands away from pinhole leaks or nozzles that eject high-pressure hydraulic fluid.
Use cardboard or paper to find hydraulic leaks.
Safely relieve all pressure in the hydraulic system before performing any work on the hydraulic system.
Park the machine on a level surface, engage the parking brake, lower the cutting units, shut off the engine, and remove the key.
Disconnect and remove the hydraulic motor from the cutting unit (Figure 92). Cover the top of the spindle to prevent contamination.

Remove the lynch pin (for Groundsmaster 4500 machines) or retaining nut (for Groundsmaster 4700 machines) securing the cutting unit-carrier frame to the lift-arm pivot pin (Figure 93).

Roll the cutting unit away from the machine.
Move the cutting unit into position in front of the machine.
Slide the cutting unit-carrier frame onto the lift-arm-pivot pin (Figure 93). Secure the cutting unit to the pin with the lynch pin (for Groundsmaster 4500 machines) or retaining nut (for Groundsmaster 4700 machines).
Install the hydraulic motor to the cutting unit (Figure 92). Make sure that the O-ring is in position and not damaged.
Grease the spindle.
Inspect the front roller for wear, excess wobble, or binding. Service or replace the roller or components if any of these conditions exist.
Remove the roller-mounting bolt (Figure 94).
Insert a punch through the end of the roller housing and drive the opposite bearing out by alternating taps to the opposite side of inner bearing race. There should be a 1.5 mm (0.060 inch) lip of inner race exposed.

Push the second bearing out in press.
Inspect the roller housing, bearings, and bearing spacer for damage (Figure 94). Replace any damaged components and assemble them.
Press the first bearing into the roller housing (Figure 94). Press on the outer race only or equally on the inner and outer race.
Insert the spacer (Figure 94).
Press the second bearing into the roller housing (Figure 94). Pressing equally on the inner and outer race until the inner race contacts the spacer.
Install the roller assembly into the cutting-unit frame.
Verify that there is no more than a 1.5 mm (0.060 inch) gap between roller assembly and the roller mount brackets of the cutting-unit frame. If there is a gap over 1.5 mm (0.060 inch), install enough 5/8-inch diameter washers to take up the slop.
Important: Securing the roller assembly with a gap larger than 1.5 mm (0.060 inch) creates a side load on the bearing and can lead to premature bearing failure
Torque the mounting bolt to 108 N∙m (80 ft-lb).
Inspect the blade periodically for wear or damage.
Use care when checking the blades. Wrap the blades or wear gloves, and use caution when servicing the blades. Only replace or sharpen the blades; never straighten or weld them.
On multi-bladed machines, take care as rotating one blade can cause other blades to rotate.
The cutting unit comes from the factory preset at 5 cm (2 inches) height of cut and blade rake of 7.9 mm (0.310 inch). The left and right heights are also preset to within ± 0.7 mm (0.030 inch) of the other.
The cutting unit is designed to withstand blade impacts without deformation of the chamber. If the blade strikes a solid object, inspect the blade for damage and the blade plane for accuracy.
Remove the hydraulic motor from the cutting unit and remove the cutting unit from the machine.
Use a hoist (or minimum of 2 people) and place the cutting unit on a flat table.
Mark 1 end of the blade with a paint pen or marker. Use this end of the blade to check all heights.
Position the cutting edge of the marked end of the blade at 12 o’clock (straight ahead in the direction of mowing) (Figure 95) and measure height from table to cutting edge of blade.

Rotate the marked end of the blade to the 3 and 9 o’clock positions (Figure 95) and measure the heights.
Compare the 12 o’clock measured height to the height-of-cut setting. It should be within 0.7 mm (0.030 inch). The 3 and 9 o’clock heights should be 1.6 to 6.0 mm (0.060 to 0.240 inch) higher than the 12 o’clock setting and within 2.2 mm (0.090 inch) of each other.
If any of these measurements are not within specification, proceed to Adjusting the Blade Plane.
Start with the front adjustment (change 1 bracket at a time).
Remove the height-of-cut bracket, (front, left, or right) from the cutting-unit frame (Figure 96).
Adjust 1.5 mm (0.060 inch) shims and/or 0.7 mm (0.030 inch) shims between the cutting-unit frame and bracket to achieve the desired height setting (Figure 96).

Install the height-of-cut bracket to the cutting-unit frame with the remaining shims assembled below the height-of-cut bracket.
Secure the socket-head bolt/spacer and flange nut.
Note: Socket-head bolt/spacer are held together with thread-locking adhesive to prevent the spacer from falling inside the cutting-unit frame.
Verify the 12 o’clock height and adjust if needed.
Determine if only 1 or both (right and left) height-of-cut brackets need to be adjusted.
Note: If the 3 or 9 o’clock side is 1.6 to 6.0 mm (0.060 to 0.240 inch) higher than the new front height then no adjustment is needed for that side. Adjust the other side to within ± 2.2 mm (0.090 inch) of the correct side.
Adjust the right and/or left height-of-cut brackets by repeating steps 1 through 4.
Secure the carriage bolts and flange nuts.
Verify the 12, 3, and 9 o’clock heights.
Replace the blade if it hits a solid object, is out of balance, or is bent. Always use genuine Toro replacement blades to ensure safety and optimum performance.
Park the machine on a level surface, raise the cutting unit to the transport position, engage the parking brake, shut off the engine, and remove the key.
Note: Block or lock the cutting unit to prevent it from accidentally falling.
Grasp the end of the blade using a rag or thickly-padded glove.
Remove the blade bolt, anti-scalp cup, and blade from the spindle shaft (Figure 97).

Install the blade, anti-scalp cup, and blade bolt and tighten the blade bolt to 115 to 149 N∙m (85 to 110 ft-lb).
Important: The curved part of the blade must be pointing toward the inside of the cutting unit to ensure proper cutting.
Note: After striking a foreign object, torque all spindle-pulley nuts to 115 to 149 N∙m (85 to 110 ft-lb).
Two areas must be considered when checking and servicing the mower blade—the sail and the cutting edge. Both cutting edges and the sail, which is the turned-up portion opposite of the cutting edge, contribute to a good quality of cut. The sail is important because it lifts the grass up straight, thereby producing an even cut. However, the sail gradually wears down during operation. As the sail wears down, the quality of cut degrades, although the cutting edges are sharp. The cutting edge of the blade must be sharp so that the grass is cut rather than torn. A dull cutting edge is evident when the tips of the grass appear brown and shredded. Sharpen the cutting edges to correct this condition.
Park the machine on a level surface, raise the cutting unit, engage the parking brake, put the traction pedal in NEUTRAL, put the PTO lever in the OFF position, shut off the engine, and remove the key from the ignition.
Examine the cutting ends of the blade carefully, especially where the flat and curved parts of the blade meet (Figure 98).
Note: Because sand and abrasive material can wear away the metal that connects the flat and curved parts of the blade, check the blade before using the mower. If wear is noticed (Figure 98), replace the blade.

Examine the cutting edges of all of the blades and sharpen the cutting edges if they are dull or nicked (Figure 99).
Note: Sharpen only the top of the cutting edge and maintain the original cutting angle to ensure sharpness (Figure 99). The blade remains balanced if you remove the same amount of metal from both cutting edges.

Note: Remove the blades and sharpen them on a grinder. After sharpening the cutting edges, install the blade with the anti-scalp cup and blade bolt; refer to Removing and Installing the Cutting-Unit Blade(s).
Shut off the engine, remove the key, and wait for all movement to stop before you leave the operator’s position. Allow the machine to cool before adjusting, servicing, cleaning, or storing it.
Do not store the machine or fuel container where there is an open flame, spark, or pilot light, such as on a water heater or other appliance.
Important: Do not use brackish or reclaimed water to clean the machine.
Thoroughly clean the traction unit, cutting units, and engine.
Check the tire pressure. Inflate all traction unit tires to 83 to 103 kPa (12 to 15 psi).
Check all fasteners for looseness and tighten them as necessary.
Grease all grease fittings and pivot points. Wipe up any excess lubricant.
Lightly sand and use touch-up paint on painted areas that are scratched, chipped, or rusted. Repair any dents in the metal body.
Service the battery and cables as follows:
Remove the battery terminals from the battery posts.
Note: Always disconnect the negative terminal first and the positive last. Always connect the positive terminal first and the negative last.
Clean the battery, terminals, and posts with a wire brush and baking soda solution.
Coat the cable terminals and battery posts with Grafo 112X skin-over grease (Part Number 505-47) or petroleum jelly to prevent corrosion.
Slowly recharge the battery every 60 days for 24 hours to prevent lead sulfation of the battery.
Drain the engine oil from the oil pan and replace the drain plug.
Remove and discard the oil filter. Install a new oil filter.
Refill the oil pan with designated quantity of motor oil.
Turn the key in the switch to the ON position, start the engine, and run it at idle speed for approximately 2 minutes.
Turn the key in the switch to the OFF position.
Thoroughly drain all fuel from the fuel tank, lines, and the fuel filter/water separator assembly.
Flush the fuel tank with fresh, clean diesel fuel.
Secure all fuel-system fittings.
Thoroughly clean and service the air-cleaner assembly.
Seal the air-cleaner inlet and the exhaust outlet with weatherproof tape.
Check the antifreeze protection and add as needed for expected minimum temperature in your area.
If the cutting units are separated from the traction unit for any length of time, install a spindle plug in the top of the spindles to protect the spindles from dust and water.
