| Onderhoudsinterval | Onderhoudsprocedure |
|---|---|
| Bij elk gebruik of dagelijks |
|
Deze machine is bedoeld voor gebruik door professionele hoveniers voor het onderhouden van gras op hellingen, glooiend terrein en gebieden vlakbij water of bunkers. Gebruik van dit product voor andere doeleinden dan deze kan gevaarlijk zijn voor u of omstanders.
Lees deze informatie zorgvuldig door, zodat u weet hoe u de machine op de juiste wijze moet gebruiken en onderhouden en om letsel en schade aan de machine te voorkomen. U bent verantwoordelijk voor het juiste en veilige gebruik van de machine.
Ga naar https://www.toro.com/nl-nl voor meer informatie, inclusief veiligheidstips, instructiemateriaal, informatie over accessoires, hulp bij het vinden van een dealer of om uw product te registreren.
Als u service, originele Toro- onderdelen of aanvullende informatie nodig hebt, kunt u contact opnemen met een erkende servicedealer of met de klantenservice van Toro. U dient hierbij altijd het modelnummer en het serienummer van het product te vermelden. De locatie van het plaatje met het modelnummer en het serienummer van het product is aangegeven op Figuur 1. U kunt de nummers noteren in de ruimte hieronder.
Important: U kunt met uw mobiel apparaat de QR-code op het plaatje met het serienummer (indien aanwezig) scannen om toegang te krijgen tot de garantie, onderdelen en andere productinformatie.

U kunt het modelnummer en het serienummer noteren in de ruimte hieronder:
Er worden in deze handleiding een aantal mogelijke gevaren en een aantal veiligheidsberichten genoemd (Figuur 2) met de volgende waarschuwingssymbolen, die duiden op een gevaarlijke situatie die zwaar lichamelijk letsel of de dood tot gevolg kan hebben wanneer de veiligheidsvoorschriften niet in acht worden genomen.

Er worden in deze handleiding twee woorden gebruikt om uw aandacht op bijzondere informatie te vestigen. Belangrijk attendeert u op bijzondere technische informatie en Opmerking duidt algemene informatie aan die bijzondere aandacht verdient.
Dit product voldoet aan alle relevante Europese richtlijnen. Zie voor details de aparte product-specifieke conformiteitsverklaring.
Bruto- en nettokoppel: Het bruto- en nettokoppel van deze motor is door de motorfabrikant in laboratoriumomstandigheden gemeten volgens standaard J1940 of J2723 van de Society of Automotive Engineers (SAE). Omdat bij de configuratie rekening is gehouden met de veiligheids- en gebruiksvoorschriften, zal dit type maaiers in de praktijk een veel lager motorkoppel hebben. Raadpleeg de informatie van de motorfabrikant die wordt meegeleverd met de machine.
Important: Lees deze instructies zorgvuldig voordat u de machine gebruikt, en hou ze bij om ze in de toekomst te kunnen raadplegen.
Dit product kan handen of voeten afsnijden en voorwerpen uitwerpen. Volg altijd alle veiligheidsinstructies op om ernstig letsel te voorkomen.
Lees de Gebruikershandleiding en verzeker dat u deze begrijpt voordat u de motor start.
Houd uw handen en voeten uit de buurt van bewegende onderdelen van de machine.
Gebruik de machine niet als er schermen of andere beveiligingsmiddelen ontbreken of als deze niet naar behoren werken.
Laat geen omstanders of kinderen het werkgebied betreden. Laat kinderen nooit de machine bedienen. Laat enkel mensen die verantwoordelijk en getraind zijn en die bovendien vertrouwd zijn met de instructies en fysiek ertoe in staat zijn de machine bedienen. Plaatselijke voorschriften kunnen nadere eisen stellen aan de leeftijd van degene die met de machine werkt.
Zet de motor af, verwijder het contactsleuteltje (indien aanwezig) en wacht totdat alle bewegende onderdelen tot stilstand zijn gekomen voordat u de bestuurderspositie verlaat. Laat de machine afkoelen voordat u deze afstelt, reinigt, stalt of er onderhoudswerkzaamheden aan verricht.
Onjuist gebruik of onderhoud van deze machine kan letsel tot
gevolg hebben. Om het risico op letsel te verkleinen, dient u zich
aan de volgende veiligheidsinstructies te houden en altijd op het
veiligheidssymbool
te letten, dat betekent Voorzichtig, Waarschuwing
of Gevaar – instructie voor persoonlijke veiligheid. Niet-naleving
van deze instructies kan leiden tot lichamelijk of dodelijk letsel.
![]() |
Veiligheidsstickers en veiligheidsinstructies zijn gemakkelijk zichtbaar voor de bestuurder en bevinden zich bij plaatsen waar gevaar kan ontstaan. Vervang alle beschadigde of ontbrekende stickers. |




Benodigde onderdelen voor deze stap:
| Onderste duwboom | 1 |
| Voetstop | 1 |
| Ring (6 mm) | 2 |
| Borgmoer (6 mm) | 1 |
Note: U kunt de voetstop enkel gebruiken om de duwboom in de verticale stand te ondersteunen wanneer u de duwboom in de laagste stand (103,4 cm) monteert.

Bepaal de hoogte van de duwboom wanneer de voetstop aan de hefaanslagbeugel is bevestigd (Figuur 3).
Lijn de opening in de voetstop uit met de opening in de onderste duwboom (Figuur 4).

Monteer de voetstop aan de duwboom met 2 ringen (6 mm) en een borgmoer (6 mm).
Draai de borgmoer vast.
Note: Zorg ervoor dat u de voetstop kunt draaien.
Benodigde onderdelen voor deze stap:
| T-lagerbussen | 4 |
| Borgpen | 2 |
| Ring (6 mm) | 6 |
| Haarspeldveer | 2 |
| Knop | 2 |
| U-bout | 2 |
| Fitting van duwboom | 1 |
| Bovenste duwboom | 1 |
| Bout (¼" x 1¾") | 1 |
| Borgmoer (¼") | 1 |
Monteer 2 T-lagerbussen in de flenzen van de duwboom van het maaidek (Figuur 5).

Lijn de voetstop van de duwboom uit met de hefaanslagbeugel op het maaidek (Figuur 6).

Breng de opening in het stuur op een lijn met de openingen in de lagers (Figuur 7) en bevestig het stuur aan de machine. Gebruik hierbij een borgpen, 2 ringen (6 mm) en een haarspeldveer.

Herhaal stap 3 aan de andere kant van de machine.
Lijn de openingen in de bovenste duwboom uit met de openingen in de onderste duwboom (Figuur 8).

Monteer de bovenste duwboom aan de onderste duwboom met de 2 U-bouten, 2 ringen (6 mm) en 2 knoppen.
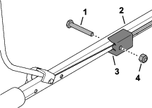
Steek de fitting aan het uiteinde van de kabelmantel in de bovenste aansluiting van de fitting van de duwboom (Figuur 9).

Knijp in de poot van de dodemanshendel totdat u deze kunt losmaken van de bovenste duwboom, en verwijder de dodemanshendel van de machine (Figuur 10).

Steek de kabelfitting door de opening in de beugel van de dodemanshendel zoals getoond in Figuur 11.

Steek het uiteinde van de dodemanshendel in de duwboom, knijp lichtjes in de andere poot van de dodemanshendel en steek de dodemanshendel in de duwboom (Figuur 13).

Bevestig de fitting van de duwboom aan de bovenste duwboom (Figuur 14); gebruik hierbij de bout (¼" x 1¾") en borgmoer (¼").

Important: Uw machine wordt geleverd zonder olie in het carter. Vul het carter met olie voordat u de motor start.
API-onderhoudsclassificatie: SJ of hoger
Olieviscositeit: 10W-30 olie
Oliecapaciteit: 0,40 liter
Plaats de machine op een horizontaal oppervlak.
Verwijder de peilstok uit de vulbuis en veeg deze af met een schone doek (Figuur 14).

Giet langzaam de aanbevolen motorolie in de vulbuis (Figuur 15) en wacht 3 minuten.

Steek de peilstok in de vulbuis en trek deze er weer uit.
Check het oliepeil van de peilstok (Figuur 16).
Note: Als u te veel olie in de motor hebt gedaan, moet u het teveel aftappen; zie De motorolie afvoeren.

Als het oliepeil zich onder de bovenste markering bevindt, veegt u de peilstok af met een schone doek en herhaalt u stap 3 tot en met 5 tot het motoroliepeil zich aan de bovenste markering bevindt.
Steek de peilstok in de vulbuis en draai de peilstok stevig vast.



De dodemanshendel (Figuur 19) regelt de vliegwielrem en de ontsteking van de motor.
Knijp de dodemanshendel naar de duwboom om de motor in te schakelen.
Laat de hendel aan de duwboom los om de motor uit te schakelen.
Gebruik de brandstofafsluitklep (Figuur 19) om de brandstofstroom naar de motor te regelen.
Sluit de brandstofafsluitklep als u de machine transporteert, onderhoudt of stalt.
Open de brandstofafsluitklep om de motor in te schakelen.
|
Type |
Maaibreedte |
Productbreedte |
|---|---|---|
|
02617 |
53 cm |
63,5 cm |
Een selectie van door Toro goedgekeurde werktuigen en accessoires is verkrijgbaar voor gebruik met de machine om de mogelijkheden daarvan te verbeteren en uit te breiden. Neem contact op met uw erkende servicedealer of bezoek https://www.toro.com/nl-nl voor een lijst van alle goedgekeurde werktuigen en accessoires.
Om de beste prestaties te verkrijgen en ervoor te zorgen dat de veiligheidscertificaten van de machine blijven gelden, moet u ter vervanging altijd originele onderdelen en accessoires van Toro aanschaffen. Gebruik ter vervanging nooit onderdelen en accessoires van andere fabrikanten, omdat dit gevaarlijk kan zijn en de productgarantie hierdoor kan vervallen.
Zet de motor af, verwijder het contactsleuteltje (indien aanwezig) en wacht totdat alle bewegende onderdelen tot stilstand zijn gekomen voordat u de bestuurderspositie verlaat. Laat de machine afkoelen voordat u deze afstelt, reinigt, stalt of er onderhoudswerkzaamheden aan verricht.
Zorg ervoor dat u vertrouwd raakt met de bedieningsorganen en de veiligheidssymbolen, en weet hoe u de machine veilig kunt gebruiken.
Controleer of alle kappen en veiligheidsvoorzieningen zijn bevestigd en naar behoren werken.
Controleer de messen, bevestigingsbouten en het maaimechanisme altijd op slijtage of beschadiging.
Controleer het werkgebied en verwijder alle voorwerpen die het gebruik van de machine zouden kunnen hinderen of die de machine zou kunnen uitwerpen.
Bij het instellen van de maaihoogte kunt u in aanraking komen met een bewegend mes. Dit kan ernstig letsel veroorzaken.
Vervang een defecte geluiddemper.
Brandstof is uiterst ontvlambaar en zeer explosief. Brand of explosie van brandstof kan brandwonden bij u of anderen en materiële schade veroorzaken.
Om te voorkomen dat een statische lading de brandstof tot ontbranding kan brengen, moet u het brandstofreservoir en/of de machine op de grond plaatsen voordat u de tank vult, niet op een voertuig of een ander object.
Brandstof uitsluitend in de open lucht bij een koude motor bijvullen of aftappen. Neem eventueel gemorste benzine op.
Vul de brandstoftank in de open lucht wanneer de motor koud is. Neem eventueel gemorste benzine op.
Rook niet als u omgaat met brandstof, en houd brandstof uit de buurt van open vuur of vonken.
Als de motor draait of heet is, mag de brandstoftankdop niet worden verwijderd en mag de tank niet met brandstof worden bijgevuld.
Probeer de motor niet te starten als u brandstof morst. Zorg ervoor dat er geen ontstekingsbronnen in de buurt zijn totdat de brandstofdampen volledig zijn verdwenen.
Bewaar brandstof in een goedgekeurd vat of blik en buiten bereik van kinderen.
Plaats de dop stevig terug op de brandstoftank en op alle brandstofvaten.
Brandstof is schadelijk of dodelijk bij inname. Langdurige blootstelling aan dampen kan leiden tot ernstig letsel en ziekte.
Voorkom dat u dampen lange tijd inademt.
Houd uw handen en gezicht uit de buurt van de vulpijp en de opening van de brandstoftank.
Houd brandstof uit de buurt van uw ogen en huid.
| Band | Loodvrije benzine |
| Minimaal octaangetal | 87 (VS) of 91 (researchoctaangetal; buiten de VS) |
| Ethanol | Niet meer dan 10% van het volume |
| Methanol | Geen |
| MTBE (methyl-tertiair-butylether) | Niet meer dan 15% van het volume |
| Olie | Niet toevoegen aan de brandstof |
Gebruik uitsluitend schone, verse brandstof (minder dan 30 dagen oud) van een gerespecteerde bron.
Important: Om startproblemen te verminderen, moet u stabilizer/conditioner toevoegen aan de verse brandstof volgens de voorschriften van de fabrikant van de stabilizer/conditioner.
Note: Raadpleeg de gebruikershandleiding van de motor voor verdere informatie.
Reinig de omgeving van de tankdop en verwijder de dop van de tank.
Vul de brandstoftank met de aanbevolen brandstof zoals getoond in Figuur 20.

Plaats de dop op de brandstoftank.
Draag geschikte kleding en uitrusting, zoals oogbescherming, een lange broek, stevige schoenen met een gripvaste zool en gehoorbescherming. Draag lang haar niet los en draag geen losse kleding of juwelen.
Geef uw volledige aandacht als u de machine gebruikt. Zorg ervoor dat u met niets anders bezig bent waardoor u kunt worden afgeleid, anders kan er letsel ontstaan of kan eigendom worden beschadigd.
Gebruik de machine niet als u ziek of moe bent of onder de invloed van alcohol of drugs bent.
Schakel het maaimes en alle aandrijfkoppelingen uit voordat u de motor start.
Start de motor volgens de instructies en hou uw voeten een eind uit de buurt van het maaimes.
Kantel de machine niet meer dan nodig om de motor te starten en til alleen het deel op dat van u af is.
Zet de motor af, verwijder het contactsleuteltje (indien aanwezig) en wacht totdat alle bewegende onderdelen tot stilstand zijn gekomen voordat u de bestuurderspositie verlaat. Laat de machine afkoelen voordat u deze afstelt, reinigt, stalt of er onderhoudswerkzaamheden aan verricht.
Als u de dodemanshendel loslaat, moeten de motor en het maaimes binnen 3 seconden stoppen. Als dit niet het geval is, mag u de machine niet meer gebruiken en moet u contact opnemen met een erkende servicedealer.
Hou omstanders, vooral kinderen en huisdieren, uit de buurt van het werkgebied. Houd kleine kinderen uit de buurt van het werkgebied en plaats ze onder toezicht van een verantwoordelijke volwassene die de machine niet aan het gebruiken is. Stop de machine als iemand het werkgebied betreedt.
Gebruik de machine enkel bij een goede zichtbaarheid en in geschikte weersomstandigheden. Gebruik de machine niet als het kan bliksemen.
Als u nat gras en natte bladeren maait, kunt u uitglijden, in aanraking komen met het mes en ernstig letsel oplopen. Indien mogelijk, gebruik de machine niet in vochtige omstandigheden.
Wees uiterst voorzichtig bij het naderen van blinde hoeken, struiken, bomen en andere objecten die uw zicht kunnen belemmeren.
Kijk uit voor gaten, geulen, hobbels, stenen of andere verborgen objecten. Op oneffen terrein kunt u uw evenwicht verliezen of wegglijden.
Als de maaimachine een voorwerp raakt en begint te trillen, moet u meteen de motor afzetten, wachten totdat alle bewegende onderdelen tot stilstand zijn gekomen en de bougiekabel losmaken voordat u de maaimachine op beschadiging controleert. Voer alle noodzakelijke reparaties uit voordat u de machine weer in gebruik neemt.
De machine mag nooit worden opgetild of gedragen terwijl de motor nog loopt.
Als de motor heeft gelopen, kan deze heet zijn en ernstige brandwonden veroorzaken. Blijf uit de buurt van de hete motor.
Motoruitlaatgassen bevatten koolmonoxide, dat dodelijk is als het wordt ingeademd. Laat de motor niet binnenshuis of in een afgesloten ruimte draaien.
Gebruik alleen accessoires en werktuigen die door Toro zijn goedgekeurd.
Het werken op hellingen is een belangrijke factor bij ongelukken waarbij de controle over de machine wordt verloren. Dit kan ernstig of dodelijk letsel veroorzaken. U bent verantwoordelijk voor een veilig gebruik van de machine op hellingen. Gebruik van de machine op hellingen vereist altijd extra voorzichtigheid. Doe het volgende voordat u de machine op een helling gaat gebruiken:
Lees de instructies voor gebruik op een helling in de handleiding en zorg dat u deze instructies begrijpt.
Onderzoek de toestand van het werkgebied op die dag om te bepalen of de machine veilig kan worden gebruikt op de helling. Gebruik uw gezond verstand en uw beoordelingsvermogen wanneer u dit onderzoek uitvoert. Veranderingen in het terrein, zoals de vochtigheidsgraad, kunnen snel van invloed zijn op de manier waarop de machine reageert op een helling.
Zorg dat u stabiel staat en houd de hendels stevig vast. Loop stapvoets; nooit rennen.
Trim met de helling mee, nooit hellingen op en af.
Ga zeer zorgvuldig te werk als u van richting verandert op een helling.
Trim niet op steile hellingen.
Ga voorzichtig te werk als u de machine omkeert of naar u toe trekt.
Maai geen nat gras. Het niet goed neerzetten van de voeten kan ongevallen veroorzaken waarbij de gebruiker wegglijdt en ten val komt.
Verwijder of let op obstakels als sloten, gaten, geulen, hobbels, stenen of andere verborgen gevaren. In hoog gras zijn obstakels niet altijd zichtbaar.
Maai voorzichtig in de buurt van steile hellingen, greppels of dijken.
Houd bij het werken met de machine altijd beide handen op de duwboom.
Als u vanaf de top van een helling moet maaien en u hebt een groter bereik nodig, gebruik dan een goedgekeurde verlengde duwboom.

Draai de handgreep van de brandstofafsluitklep horizontaal om de klep te openen.
Draai de handgreep van de brandstofafsluitklep verticaal om de klep te sluiten.
Open de brandstofafsluitklep; raadpleeg Brandstofafsluitklep.
Sluit de dodemanshendel tegen de duwboom.

Zet uw voet op het dek en kantel de machine in uw richting (Figuur 23).

Trek aan de handgreep van het startkoord terwijl u de dodemanshendel vasthoudt.
Note: Als de motor na enkele pogingen niet wil starten, moet u contact opnemen met een erkende servicedealer of een erkende Toro verdeler.
| Onderhoudsinterval | Onderhoudsprocedure |
|---|---|
| Bij elk gebruik of dagelijks |
|
Om de motor te stoppen, moet u de dodemanshendel loslaten (Figuur 24).
Important: Als u de dodemanshendel loslaat, moeten de motor en de maaischijf binnen 3 seconden stoppen. Als dit niet gebeurt, mag u de machine niet verder gebruiken en moet u contact opnemen met een erkende servicedealer of een erkende Toro verdeler.

Note: Als u de duwboom hebt gemonteerd in de lage stand (103,4 cm), gebruikt u de voetstop om de duwboom in de verticale stand te ondersteunen.

Om de duwboom los te laten, tilt u de duwboom op en draait u de voetstop naar voren (Figuur 25).
Om de duwboom te ondersteunen, plaatst u de duwboom en draait u de voetstop naar achter.
Bij het instellen van de maaihoogte kunt u in aanraking komen met een bewegend mes. Dit kan ernstig letsel veroorzaken.
Zet de motor uit en wacht totdat alle bewegende onderdelen tot stilstand gekomen zijn.
Draag snijbestendige handschoenen bij het hanteren van het maaimes.
Als de motor heeft gelopen, kan de geluiddemper heet zijn en ernstige brandwonden veroorzaken.
Blijf uit de buurt van een hete geluiddemper.
Sluit de brandstofafsluitklep; raadpleeg Brandstofafsluitklep.
Verwijder de bougiekabel van de bougie.
Kantel de maaimachine op de zijkant, met de peilstok omlaag.
Important: Kantel de maaimachine altijd op de zijkant, met de peilstok omlaag gericht. Als u de machine in een andere richting kantelt, kan olie in de aftapleiding komen en moet u de olie minimaal 30 minuten laten uitlopen.

Gebruik een blok hout om het mes stil te houden (Figuur 27).

Gebruik de sleutel die is meegeleverd met de machine om het mes te verwijderen door de bout linksom te draaien (Figuur 27).
Important: Draag een veiligheidsbril en snijbestendige handschoenen wanneer u het mes verwijdert.
Verander de positie van de afstandsstukken om de maaihoogte af te stellen zoals getoond in Figuur 28.
Note: Elk afstandsstuk verandert de maaihoogte van het mes met 6,3 mm.

Lijn de gebogen uiteinden van het mes uit naar het maaidek toe, en monteer de borgschroef, het mes, de afstandsstukken en het conische afstandsstuk aan de rotor met de bout.
Important: Monteer het conische afstandsstuk altijd rechtstreeks onder de rotor en de borgschroef onder de kop van de bout.

Draai de mesbout vast met een torsie van 25 N·m.
Note: Een bout die is vastgedraaid met een torsie van 25 N·m zit erg vast. Zet het maaimes vast met een stuk hout en plaats uw volle gewicht achter de momentsleutel om de bout goed vast te draaien.

Kantel de machine omhoog, sluit de bougiekabel aan op de bougie en open de brandstofafsluitklep.
Plaats de ring van de voetstop onder de hefaanslagbeugel om de machine beter te kunnen hanteren.

Controleer het werkgebied en verwijder alle voorwerpen die de machine zou kunnen uitwerpen.
Zorg ervoor dat het mes geen vaste voorwerpen raakt. Maai nooit met opzet over voorwerpen.
Als de maaimachine toch een voorwerp raakt en begint te trillen, moet u meteen de motor afzetten, de bougiekabel losmaken en de maaimachine op beschadiging controleren.
De beste resultaten krijgt u door ervoor te zorgen dat het maaimes scherp is voordat het maaiseizoen begint.
Vervang een beschadigd mes door een nieuw vervangmes van Toro.
Zorg ervoor dat een geslepen mes dezelfde lengte heeft als de intacte snijlijn.
U moet telkens niet meer dan ongeveer een derde van de lengte van het gras afmaaien. Maai niet met een stand lager dan de hoogste instelling (30 mm), tenzij de grasmat dun is, of als het laat in het najaar is wanneer het gras langzamer begint te groeien; zie De maaihoogte instellen.
Maai geen gras dat langer is dan 15 cm omdat de machine dan kan vastlopen of de motor kan afslaan.
Nat gras en natte bladeren gaan aankoeken, waardoor de maaimachine verstopt kan raken of de motor kan afslaan. Maai uitsluitend in droge omstandigheden indien mogelijk.
Als u nat gras en natte bladeren maait, kunt u uitglijden, in aanraking komen met het mes en ernstig letsel oplopen.
Maai uitsluitend in droge omstandigheden indien mogelijk.
Wees bedacht op het risico van brand in zeer droge omstandigheden; neem alle plaatselijke brandwaarschuwingen in acht en houd de machine vrij van droog gras en bladafval.
Als u met het uiterlijk van het voltooide gazon niet tevreden bent, probeer dan een of meer van de volgende stappen:
Controleer de maai-eenheid en/of vervang het maaimes.
Loop langzamer tijdens het maaien.
Stel de maaimachine in op een hogere maaihoogte.
Maai het gras vaker.
Laat de maaibanen overlappen in plaats van steeds een volledig nieuwe baan te maaien.
Na het maaien moet altijd 50% van het gazon zichtbaar blijven door de bladerlaag. Dit kan een of meerdere rondgangen over de bladeren vereisen.
Het wordt afgeraden om gras te maaien dat langer is dan 15 cm. Als het gras te dik is, kan de machine verstopt raken en de motor afslaan.
Als de maaimachine de bladeren niet fijn genoeg maakt, is het beter om wat langzamer te maaien.
Zet de motor af, verwijder het contactsleuteltje (indien aanwezig) en wacht totdat alle bewegende onderdelen tot stilstand zijn gekomen voordat u de bestuurderspositie verlaat. Laat de machine afkoelen voordat u deze afstelt, reinigt, stalt of er onderhoudswerkzaamheden aan verricht.
Verwijder gras en vuil van de machine om brand te voorkomen. Neem gemorste olie of brandstof op.
Bewaar de machine of brandstofhouder nooit bij een open vlam, vonk of waakvlam bij bv. een geiser of andere apparaten.
Bevestig de machine.
Wees voorzichtig bij het in- en uitladen van de machine.
| Onderhoudsinterval | Onderhoudsprocedure |
|---|---|
| Na elk gebruik |
|
Er kan materiaal losraken dat zit vastgekoekt aan de onderkant van de maaimachine.
Draag oogbescherming.
Blijf in de bedrijfsstand (achter de handgreep).
Houd omstanders uit de buurt.
Kantel de maaimachine op de zijkant, met de peilstok omlaag.
Important: Kantel de maaimachine altijd op de zijkant, met de peilstok omlaag gericht. Als u de machine in een andere richting kantelt, kan olie in de aftapleiding komen en moet u de olie minimaal 30 minuten laten uitlopen.
Gebruik een borstel of perslucht om gras en vuil van het uitlaatscherm, de bovenste kap en de aangrenzende maaidekoppervlakken te verwijderen.
Reinig het koelsysteem; verwijder maaisel of vuil van de koelribben van de motor en van de startmotor.
Note: Reinig het koelsysteem vaker in vuile omstandigheden.
| Onderhoudsinterval | Onderhoudsprocedure |
|---|---|
| Na de eerste 5 bedrijfsuren |
|
| Bij elk gebruik of dagelijks |
|
| Na elk gebruik |
|
| Om de 25 bedrijfsuren |
|
| Om de 100 bedrijfsuren |
|
| Jaarlijks |
|
Zet de motor af, verwijder het contactsleuteltje (indien aanwezig) en wacht totdat alle bewegende onderdelen tot stilstand zijn gekomen voordat u de bestuurderspositie verlaat. Laat de machine afkoelen voordat u deze afstelt, reinigt, stalt of er onderhoudswerkzaamheden aan verricht.
Trek de bougiekabel los van de bougie voordat u onderhoudswerkzaamheden uitvoert.
Draag handschoenen en oogbescherming wanneer u servicewerkzaamheden verricht.
Controleer de machine regelmatig en vervang versleten of beschadigde onderdelen. Vervang de maaionderdelen niet door metalen onderdelen; gebruik alleen maaionderdelen die geschikt zijn voor gebruik met de bedrijfssnelheid van de machine.
Knoei nooit met de veiligheidsvoorzieningen. Controleer regelmatig of deze goed werken.
Als u de machine kantelt, kan er benzine uit de tank lekken. Benzine is ontvlambaar en explosief en kan lichamelijk letsel veroorzaken. Laat de motor drooglopen of pomp de brandstof met een handpomp uit de tank. Gebruik nooit een hevel.
Draai al het bevestigingsmateriaal regelmatig strak aan, zodat de machine steeds veilig kan worden gebruikt.
Verander nooit de stand van de toerenregelaar van de motor en laat de motor niet te snel draaien.
Om veilige en optimale prestaties van de machine te verkrijgen, moet u ter vervanging alleen originele Toro onderdelen en accessoires gebruiken. Gebruik ter vervanging nooit onderdelen en accessoires van andere fabrikanten, omdat dit gevaarlijk kan zijn en de productgarantie hierdoor kan vervallen.
Als u de machine kantelt, kan er benzine uit de tank lekken. Brandstof is ontvlambaar en explosief en kan brandwonden veroorzaken.
Laat de motor drooglopen of pomp de brandstof met een handpomp uit de tank. Gebruik nooit een hevel.
Important: Kantel de maaimachine altijd op de zijkant, met de peilstok omlaag gericht. Als u de machine is gekanteld met de peilstok naar boven gericht, kan olie in de aftapleiding komen en moet u de olie minimaal 30 minuten laten uitlopen.
Zet de motor uit en wacht totdat alle bewegende onderdelen tot stilstand gekomen zijn.
Plaats de machine op een horizontaal oppervlak.
Maak de bougiekabel los van de bougie (Figuur 32).

Sluit de brandstofafsluitklep; raadpleeg Brandstofafsluitklep.
Important: Tap brandstof af uit de brandstoftank als u de machine repareert.
Nadat u de onderhoudswerkzaamheden hebt uitgevoerd, opent u de brandstofklep en sluit u de kabel weer aan op de bougie.
| Onderhoudsinterval | Onderhoudsprocedure |
|---|---|
| Jaarlijks |
|
Druk de lippen van de vergrendeling bovenop het luchtfilterdeksel omlaag (Figuur 33).

Verwijder de dop.
Verwijder het filterelement (Figuur 33).
Inspecteer het papieren luchtfilterelement.
Vervang het filter indien het beschadigd is, nat geworden is van olie of brandstof, en overmatig vuil is.
Als het luchtfilter vuil is, klop er dan een paar keer mee op een harde ondergrond of blaas met perslucht onder een druk van minder dan 2,07 bar door de zijde van het filter die naar de motor is gericht.
Note: Borstel het vuil niet uit het filter, als u borstelt wordt het vuil in de vezels geduwd.
Maak de basis en het deksel van het luchtfilter schoon met een vochtige doek. Veeg geen vuil in de luchtgang.
Steek het filter in de basis van het filter.
Plaats het deksel terug.
API-onderhoudsclassificatie: SJ of hoger
Olieviscositeit: 10W-30 olie
| Onderhoudsinterval | Onderhoudsprocedure |
|---|---|
| Bij elk gebruik of dagelijks |
|
Maak de machine klaar voor onderhoud; zie Voorbereidingen voor onderhoudswerkzaamheden.
Verwijder de peilstok uit de vulbuis en veeg deze af met een schone doek.
Steek de peilstok in de vulbuis en trek deze er weer uit.
Important: Draai de peilstok niet in de vulbuis.
Check het oliepeil op de peilstok.

Als het oliepeil zich dicht bij of onder de onderste markering op de peilstok bevindt (Figuur 34), giet u langzaam de aanbevolen motorolie in de vulbuis (Figuur 35) en wacht u 3 minuten.

Veeg de peilstok af met een schone doek en herhaal stap 3 tot en met 5 tot het motoroliepeil zich aan de bovenste markering bevindt.
Steek de peilstok in de vulbuis en draai de peilstok stevig vast.
| Onderhoudsinterval | Onderhoudsprocedure |
|---|---|
| Na de eerste 5 bedrijfsuren |
|
| Om de 25 bedrijfsuren |
|
Als de motor koud is, laat u deze 1 tot 2 minuten lopen zodat de olie warm wordt.
Controleer of de brandstoftank weinig of geen brandstof bevat zodat de brandstof niet lekt als u de maaier op de zijkant kantelt.
Maak de machine klaar voor onderhoud; zie Voorbereidingen voor onderhoudswerkzaamheden.
Verwijder de peilstok uit de vulbuis en veeg deze af met een schone doek.
Plaats een opvangbak op de grond naast het maaidek aan de kant van de machine met de vulbuis (Figuur 35).

Kantel de machine op de zijkant met de vulbuis omlaag om de olie via de vulbuis weg te laten lopen.
Important: Kantel de maaimachine altijd op de zijkant, met de peilstok omlaag gericht. Als u de machine in een andere richting kantelt, kan olie in de aftapleiding komen en moet u de olie minimaal 30 minuten laten uitlopen.
Zet de maaimachine terug in de bedrijfsstand.
Verwijder gemorste olie van de machine.
Note: Geef de oude olie af bij een erkend inzamelpunt.
Oliecapaciteit: 0,40 liter
Giet langzaam de aanbevolen olie in de vulbuis (Figuur 35) en wacht 3 minuten.

Steek de peilstok in de vulbuis en trek deze er weer uit.
Important: Draai de peilstok niet in de vulbuis.
Check het oliepeil van de peilstok (Figuur 38).
Note: Als u te veel olie in de motor hebt gedaan, moet u het teveel aftappen; zie De motorolie afvoeren.

Als het oliepeil zich onder de bovenste markering bevindt, veegt u de peilstok af met een schone doek en herhaalt u stap 1 tot en met 3 tot het motoroliepeil zich aan de bovenste markering bevindt.
Steek de peilstok in de vulbuis en draai de peilstok stevig vast.
| Onderhoudsinterval | Onderhoudsprocedure |
|---|---|
| Om de 100 bedrijfsuren |
|
Specificatie van de bougie: Champion RN9YC of een equivalent type
Maak de machine klaar voor onderhoud; zie Voorbereidingen voor onderhoudswerkzaamheden.
Maak de omgeving van de bougie schoon.
Haal de bougie uit de cilinderkop.
Important: Als de bougie versleten, beschadigd of vuil is, moet deze worden vervangen. U mag de elektroden niet reinigen omdat hierdoor gruis in de cilinder terecht kan komen wat de motor kan beschadigen.
Stel de elektrodenafstand (Figuur 39) tussen de centrale elektrode en de massa-elektrode af op 0,76 mm.

Plaats de bougie en de pakking.
Draai de bougie vast met een torsie van 20 N·m.
Sluit de bougiekabel aan op de bougie.
Het maaimes is scherp, contact met het maaimes kan ernstig lichamelijk letsel veroorzaken.
Verwijder de bougiekabel van de bougie.
Draag snijbestendige handschoenen als u onderhoudswerkzaamheden verricht aan het maaimes.
| Onderhoudsinterval | Onderhoudsprocedure |
|---|---|
| Bij elk gebruik of dagelijks |
|
Maak de machine klaar voor onderhoud; zie Voorbereidingen voor onderhoudswerkzaamheden.
Kantel de maaimachine op de zijkant, met de vulbuis omlaag.
Important: Kantel de maaimachine altijd op de zijkant, met de peilstok omlaag gericht. Als u de machine in een andere richting kantelt, kan olie in de aftapleiding komen en moet u de olie minimaal 30 minuten laten uitlopen.

Het mes controleren op slijtage of beschadigingen.
Een beschadigd of gescheurd mes moet direct worden verwijderd en vervangen.
Als de snijrand bot is of bramen vertoont, moet u het mes verwijderen en laten slijpen of vervangen en opnieuw monteren.
Kantel de machine rechtop.
| Onderhoudsinterval | Onderhoudsprocedure |
|---|---|
| Jaarlijks |
|
Important: U hebt een momentsleutel nodig om het mes te monteren. Als u geen momentsleutel hebt of niet goed weet hoe u de montage moet uitvoeren, kunt u contact opnemen met een erkende Toro verdeler of erkende servicedealer.
Maak de machine klaar voor onderhoud; zie Voorbereidingen voor onderhoudswerkzaamheden.
Kantel de maaimachine op de zijkant, met de vulbuis omlaag.
Important: Kantel de maaimachine altijd op de zijkant, met de peilstok omlaag gericht. Als u de machine in een andere richting kantelt, kan olie in de aftapleiding komen en moet u de olie minimaal 30 minuten laten uitlopen.

Noteer de plaats van de afstandsstukken.

Gebruik een blok hout om het mes stil te houden (Figuur 43).

Gebruik de sleutel die is meegeleverd met de machine om het mes te verwijderen door de mesbout linksom te draaien (Figuur 42).
Important: Draag een veiligheidsbril en snijbestendige handschoenen wanneer u het mes verwijdert.
Lijn de gebogen uiteinden van het mes uit naar het maaidek toe, en monteer de borgschroef, het mes, de afstandsstukken en het conische afstandsstuk aan de rotor met de bout.
Important: U moet het conische afstandsstuk altijd rechtstreeks onder de rotor monteren en de borgschroef onder de kop van de bout.

Draai de mesbout vast met een torsie van 25 N·m.
Note: Een bout die is vastgedraaid met een torsie van 25 N·m zit erg vast. Zet het maaimes vast met een stuk hout en plaats uw volle gewicht achter de momentsleutel om de bout goed vast te draaien.

Kantel de machine rechtop.
Zet de motor af, verwijder het contactsleuteltje (indien aanwezig) en wacht totdat alle bewegende onderdelen tot stilstand zijn gekomen voordat u de bestuurderspositie verlaat. Laat de machine afkoelen voordat u deze afstelt, reinigt, stalt of er onderhoudswerkzaamheden aan verricht.
Laat de motor afkoelen voordat u de machine in een afgesloten ruimte opslaat.
Laat de motor afkoelen voordat u de machine in een afgesloten ruimte opslaat.
Bewaar de machine of brandstofhouder nooit bij een open vlam, vonk of waakvlam bij bijv. een geiser of andere apparaten.
Verwijder gras, bladeren en vuil van de geluiddemper en het motorcompartiment om brand te voorkomen.
Brandstofdampen kunnen tot ontploffing komen.
Bewaar brandstof niet langer dan 30 dagen.
Stal de machine nooit in een afgesloten ruimte in de nabijheid van open vuur.
Laat de motor afkoelen voordat u de machine stalt.
Als u de tank voor de laatste keer van het jaar vult, moet u een stabilizer toevoegen aan de benzine volgens de voorschriften van de fabrikant.
Laat de motor lopen totdat hij afslaat door gebrek aan brandstof.
Start de motor opnieuw en laat hem lopen totdat hij afslaat. Wanneer u de motor niet meer kunt starten, is het brandstofsysteem leeg.
Verwijder de bougiekabel van de bougie.
Verwijder de bougie, giet 30 ml motorolie in de bougieopening en trek verschillende keren langzaam aan de handgreep van het startkoord om de olie over de cilinder te verspreiden.
Monteer de bougie en draai deze dan aan tot 20 N·m.
Het mes controleren op slijtage of beschadigingen. Als het mes bot is, moet u het laten slijpen. Als het mes beschadigd is, moet u het vervangen.
Draai alle moeren, bouten en schroeven goed aan.
Stal de maaimachine op een koele, schone, droge plaats.
| Problem | Possible Cause | Corrective Action |
|---|---|---|
| De motor start niet. |
|
|
| De motor start moeilijk of verliest vermogen. |
|
|
| De motor loopt onregelmatig. |
|
|
| De maaimachine of de motor trilt abnormaal. |
|
|
| Ongelijkmatig maaipatroon. |
|
|