| Cadenza di manutenzione | Procedura di manutenzione |
|---|---|
| Prima di ogni utilizzo o quotidianamente |
|
Questa macchina è destinata all'uso da parte di operatori professionisti in applicazioni commerciali per la manutenzione di tappeti erbosi su pendenze, strette ondulazioni, aree nei pressi di zone d'acqua o bordi dei bunker. L’utilizzo di questo prodotto per scopi non conformi alle funzioni per cui è stato concepito può essere pericoloso per l’utente e gli astanti.
Leggete attentamente queste informazioni al fine di utilizzare e mantenere correttamente il prodotto e di evitare infortuni e danni. Voi siete responsabili del corretto utilizzo del prodotto, all'insegna della sicurezza.
Visitate il sito www.https://www.toro.com/en-GB per maggiori informazioni, tra cui suggerimenti per la sicurezza, materiali di formazione, informazioni sugli accessori, per ottenere assistenza nella ricerca di un rivenditore o per registrare il vostro prodotto.
Per assistenza, ricambi originali Toro o ulteriori informazioni, rivolgetevi a un Distributore Toro autorizzato o a un Centro Assistenza Toro, e abbiate sempre a portata di mano il numero del modello e il numero di serie del prodotto. Figura 1 indica la posizione del numero di modello e di serie sul prodotto. Scrivete i numeri nell’apposito spazio.
Important: Con il vostro dispositivo mobile, potete scansionare il codice QR sull’adesivo del numero di serie (se presente) per accedere a informazioni su garanzia, ricambi e altre informazioni sui prodotti.

Scrivete il numero del modello e il numero di serie nello spazio seguente:
Il sistema di avvertimento adottato dal presente manuale identifica i pericoli potenziali e riporta messaggi di sicurezza, identificati dal simbolo di avvertimento (Figura 2), che segnalano un pericolo in grado di provocare infortuni gravi o la morte se non si osservano le precauzioni raccomandate.

Per evidenziare le informazioni vengono utilizzate due parole. Importante indica informazioni meccaniche di particolare importanza, e Nota evidenzia informazioni generali di particolare rilevanza.
Questo prodotto è conforme a tutte le direttive europee pertinenti. Vedere i dettagli nella Dichiarazione di Conformità (DICO) specifica del prodotto, fornita a parte.
Coppia lorda o netta: La coppia lorda o netta di questo motore è stata valutata in laboratorio dal produttore del motore in conformità alla norma SAE (Society of Automotive Engineers) J1940 o J2723. La configurazione rispondente ai requisiti di sicurezza, emissione e funzionamento comporta una sensibile riduzione della potenza effettiva del motore di questa classe di tosaerba. Si rimanda alle informazioni del produttore del motore fornite con la macchina.
Important: Leggete queste istruzioni attentamente prima di utilizzare la macchina e conservatele per un riferimento futuro.
Questo prodotto è in grado di amputare mani e piedi e di scagliare oggetti. Rispettate sempre tutte le norme di sicurezza per evitare gravi infortuni.
Leggete e comprendete il contenuto di questo Manuale dell'operatore prima di avviare il motore.
Non mettete le mani o i piedi vicino alle parti mobili della macchina.
Non utilizzate la macchina senza che tutti gli schermi e gli altri dispositivi di protezione siano montati e funzionanti.
Tenete lontani gli astanti e i bambini dall’area operativa. Non permettete che bambini e ragazzi utilizzino la macchina. Consentite l’utilizzo della macchina solo a persone responsabili, addestrate, che abbiano familiarità con le istruzioni e fisicamente capaci. Le normative locali possono imporre limiti all'età dell'operatore.
Spegnete il motore, togliete la chiave (se in dotazione) e attendete che tutte le parti in movimento si arrestino prima di abbandonare la posizione dell'operatore. Lasciate raffreddare la macchina prima di eseguire interventi di riparazione, manutenzione o pulizia o di rimessarla.
L'errato utilizzo o l'errata manutenzione di questa
macchina può causare infortuni. Per ridurre il rischio di incidenti,
rispettate le seguenti norme di sicurezza e fate sempre attenzione
al simbolo di allarme (
), che indica: Attenzione, Avvertenza o Pericolo
– “norme di sicurezza”. La mancanza di rispetto
delle presenti istruzioni può provocare infortuni o la morte.
![]() |
Adesivi e istruzioni di sicurezza sono chiaramente visibili all’operatore e ubicate vicino a qualsiasi area di potenziale pericolo. Sostituite eventuali adesivi se danneggiati o mancanti. |




Parti necessarie per questa operazione:
| Stegola inferiore | 1 |
| Arresto a pedale | 1 |
| Rondella (6 mm) | 2 |
| Dado di bloccaggio (6 mm) | 1 |
Note: Potete utilizzare l’arresto a pedale solo per sostenere la stegola in posizione verticale quando montate la stegola nella posizione più bassa, 103,4 cm.

Stabilite l’altezza della stegola quando l’arresto a pedale è fissato alla staffa del dispositivo di bloccaggio (Figura 3).
Allineate il foro nell’arresto a pedale con il foro nella stegola inferiore (Figura 4).

Montate l'arresto a pedale sulla stegola con 2 rondelle (6 mm) e un dado di bloccaggio (6 mm).
Serrate il dado di bloccaggio.
Note: Accertatevi di poter ruotare l’arresto a pedale.
Parti necessarie per questa operazione:
| Bussole a T | 4 |
| Coppiglia | 2 |
| Rondella (6 mm) | 6 |
| Coppiglia a forcella | 2 |
| Manopola | 2 |
| Bullone a U | 2 |
| Raccordo della stegola | 1 |
| Stegola superiore | 1 |
| Bullone (¼" x 1¾") | 1 |
| Dado di bloccaggio (¼") | 1 |
Montate 2 bussole a T nelle flange della stegola del piatto di taglio (Figura 5).

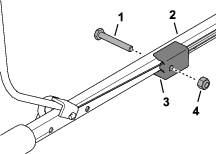
Allineate l’arresto del pedale della stegola alla staffa del dispositivo di bloccaggio sul piatto (Figura 6).

Allineate il foro della maniglia con i fori delle boccole (Figura 7) e fissate la maniglia alla macchina con 1 coppiglia, 2 rondelle (6 mm) e 1 coppiglia a forcella.

Ripetete il passaggio 3 sull’altro lato della macchina.
Allineate i fori sulla stegola superiore con i fori nella stegola inferiore (Figura 8).

Assemblate la stegola superiore alla stegola inferiore con i 2 bulloni a U, 2 rondelle (6 mm) e 2 manopole.
Inserite il raccordo all’estremità della guaina del cavo nella presa superiore del raccordo della stegola (Figura 9).

Premete la gamba della stegola di presenza dell’operatore fino a quando non è possibile rimuoverlo dalla stegola superiore e rimuovete la barra dalla macchina (Figura 10).

Inserite il raccordo del cavo attraverso il foro nella staffa della stegola di presenza dell’operatore come illustrato nella Figura 11.

Inserite l’estremità della stegola di presenza dell’operatore nella stegola, premete leggermente l’altra gamba della barra e inserite la barra nella stegola (Figura 13).

Fissate il raccordo della stegola alla stegola superiore (Figura 14) con il bullone (¼" x 1¾") e il dado di bloccaggio (¼").

Important: La macchina viene consegnato senza olio nel motore. Prima di avviare il motore, aggiungetevi olio.
Classificazione API: SJ o superiore
Viscosità dell’olio: olio 10W-30
Capacità dell’olio: 0,40 litri
Portate la macchina su una superficie pianeggiante.
Rimuovete l’asta di livello dal bocchettone di riempimento dell’olio e pulite l’asta di livello con un panno pulito (Figura 14).

Versate lentamente l’olio motore specificato nel bocchettone di riempimento dell’olio (Figura 15), e attendete 3 minuti.

Inserite l’asta di livello nel bocchettone di riempimento dell’olio, quindi rimuovete l’asta di livello.
Controllate il livello dell’olio sull’asta di livello (Figura 16).
Note: Se avete riempito il motore con troppo olio, drenate l’olio in eccesso; fate riferimento a Svuotamento del motore.

Se il livello dell’olio è inferiore al limite superiore, pulite l’asta di livello con un panno pulito e ripetete i passaggi 3 e 5 fino a quando il livello dell’olio motore non arriva al segno di limite superiore.
Inserite l’asta di livello nel bocchettone di riempimento dell’olio e serratela a mano in modo sicuro.



La stegola di presenza dell’operatore (Figura 19) controlla il freno del volano e l’accensione del motore.
Premete la barra verso la stegola per avviare il motore.
Rilasciate la barra verso la stegola per spegnere il motore.
Utilizzate la valvola di intercettazione del carburante (Figura 19) per controllare il flusso del carburante al motore.
Chiudete la valvola di intercettazione del carburante durante il trasporto, la manutenzione o il rimessaggio della macchina.
Aprite la valvola di intercettazione del carburante per avviare il motore.
|
Modello |
Larghezza di taglio |
Larghezza del prodotto |
|---|---|---|
|
02617 |
53 cm |
63,5 cm |
È disponibile una gamma di attrezzi ed accessori approvati da Toro per l'impiego con la macchina, per ottimizzare ed ampliare le sue applicazioni. Richiedete la lista degli attrezzi ed accessori approvati ad un Centro Assistenza Toro o ad un Distributore autorizzati, oppure visitate il sito www.https://www.toro.com/en-GB.
Per ottenere prestazioni ottimali e mantenere la certificazione di sicurezza della macchina, utilizzate solo ricambi e accessori originali Toro. I ricambi e gli accessori realizzati da altri produttori possono essere pericolosi e tale utilizzo può rendere nulla la garanzia del prodotto.
Spegnete il motore, togliete la chiave (se in dotazione) e attendete che tutte le parti in movimento si arrestino prima di abbandonare la posizione dell'operatore. Lasciate raffreddare la macchina prima di eseguire interventi di riparazione, manutenzione o pulizia o di rimessarla.
Familiarizzate con il funzionamento sicuro dell'apparecchiatura, con i comandi dell'operatore e con gli adesivi di sicurezza.
Verificate che tutte le protezioni e i dispositivi di sicurezza siano montati e correttamente funzionanti.
Controllate sempre che le lame, i bulloni delle lame e il gruppo di taglio non siano usurati o danneggiati.
Ispezionate l'area in cui userete la macchina ed eliminate tutti gli oggetti che potrebbero interferire con il suo funzionamento o che la macchina potrebbe scagliare.
Mentre regolate l'altezza di taglio potreste toccare la lama in movimento e ferirvi gravemente.
Sostituite una marmitta guasta.
Il carburante è estremamente infiammabile ed altamente esplosivo.Un incendio o un’esplosione causati dal carburante possono ustionare voi ed altre persone e provocare danni.
Per impedire che una carica elettrostatica faccia incendiare il carburante, mettete la tanica e/o la macchina per terra prima del riempimento, mai in un veicolo o su un oggetto.
Aggiungete carburante al serbatoio o drenatelo in uno spazio esterno, aperto, a motore freddo. Tergete il carburante versato.
Fate il pieno di carburante all’aria aperta, a motore freddo. Tergete il carburante versato.
Non maneggiate il carburante quando fumate o nelle adiacenze di una fiamma libera o di scintille.
Non togliete il tappo del carburante né aggiungete carburante al serbatoio mentre il motore è in funzione o caldo.
Non cercate di avviare il motore se avete versato del carburante. Non create possibili fonti di incendio finché i vapori del carburante non si saranno dissipati.
Conservate il carburante in taniche omologate e tenete lontano dalla portata dei bambini.
Sostituite il tappo sul serbatoio del carburante e su tutte le taniche di carburante in modo sicuro.
Se ingerito, il carburante è nocivo o fatale. L’esposizione a lungo termine ai vapori di benzina può causare gravi danni e malattie.
Evitate di respirare a lungo i vapori.
Tenete il viso e le mani lontano dagli ugelli e dall’apertura del serbatoio del carburante.
Tenete il carburante lontano dagli occhi e dalla pelle.
| Tipo | Benzina senza piombo |
| Valutazione nominale minima di ottani | 87 (USA) o 91 (ottano ricerca; al di fuori degli USA) |
| Etanolo | Non oltre il 10 % per volume |
| Metanolo | Nessuno |
| MTBE (metil terziario-butil etere) | Meno del 15 % per volume |
| Olio | Non aggiungetelo al carburante |
Utilizzate solo carburante pulito e fresco (non più vecchio di 30 giorni) proveniente da fonti autorevoli.
Important: Per ridurre i problemi di avviamento, aggiungete stabilizzatore/additivo del carburante al carburante fresco come indicato dal produttore dello stabilizzatore/additivo del carburante.
Note: Fate riferimento al manuale del motore per avere maggiori informazioni.
Pulite l’area intorno al tappo del serbatoio del carburante e togliete il tappo.
Riempite il serbatoio del carburante con il carburante specificato come illustrato nella Figura 20.

Montate il tappo sul serbatoio del carburante.
Fate riferimento a Controllo del livello dell'olio motore.
Indossate abbigliamento consono, comprendente occhiali di protezione, pantaloni lunghi, scarpe robuste e antiscivolo e protezioni per l’udito. Legate i capelli lunghi e non indossate indumenti larghi o gioielli pendenti.
Prestate piena attenzione quando utilizzate la macchina. Non effettuate alcuna attività che causi distrazioni; in caso contrario, potreste causare infortuni o danni alla proprietà.
Non utilizzate la macchina in caso di malattia, stanchezza o sotto l’effetto di alcol o droga.
Disinnestate la lama e tutte le frizioni di marcia prima di avviare il motore.
Avviate il motore in conformità alle istruzioni e tenendo il piede ben lontano dalla lama.
Non inclinate la macchina più del necessario per avviare il motore e sollevate solo la parte che si trova a distanza da voi.
Spegnete il motore, togliete la chiave (se in dotazione) e attendete che tutte le parti in movimento si arrestino prima di abbandonare la posizione dell'operatore. Lasciate raffreddare la macchina prima di eseguire interventi di riparazione, manutenzione o pulizia o di rimessarla.
Quando rilasciate il comando di presenza dell'operatore, il motore dovrebbe spegnersi e la lama dovrebbe arrestarsi entro 3 secondi. In caso contrario, smettete subito di usare il tosaerba e rivolgetevi ad un Centro Assistenza autorizzato.
Tenete gli astanti, in particolare bambini e animali domestici, lontani dall’area delle operazioni. Tenete i bambini piccoli fuori dall’area operativa e sotto attenta sorveglianza da parte di un adulto responsabile che non stia utilizzando la macchina. Fermate la macchina se qualcuno entra nell'area di lavoro.
Azionate la macchina soltanto in condizioni meteo idonee e di buona visibilità. Non utilizzate la macchina se c'è rischio di fulmini.
Erba e foglie bagnate possono causare gravi ferite se doveste scivolare e toccare la lama. Se possibile, evitate di tosare in condizioni di bagnato.
Prestate la massima attenzione quando vi avvicinate a curve cieche, cespugli, alberi o ad altri oggetti che possano ostruire la visuale.
Fate attenzione a buche, solchi, gobbe, rocce o altre insidie del terreno. Il terreno accidentato può far sì che perdiate l'equilibrio o la presa.
Se la macchina colpisce un oggetto o inizia a vibrare, spegnete immediatamente il motore, attendete l'arresto di tutte le parti in movimento e scollegate il cappellotto dalla candela prima di esaminare la macchina per escludere danni. Effettuate le riparazioni necessarie prima di riprendere a utilizzare la macchina.
Non sollevate né trasportate la macchina se il motore è acceso.
Se il motore è stato acceso, sarà caldo e potrebbe provocarvi ustioni. Non avvicinatevi al motore caldo.
Lo scarico del motore contiene monossido di carbonio, che è letale se inalato. Non far funzionare il motore in ambienti chiusi o angusti.
Utilizzate solo accessori e attrezzi approvati da Toro.
Le pendenze sono un importante fattore che influisce sugli incidenti causati da perdita di controllo, che possono comportare gravi infortuni o la morte. Siete responsabili del funzionamento sicuro in pendenza. L'utilizzo della macchina su qualsiasi pendenza richiede un livello superiore di attenzione. Prima di utilizzare la macchina su una pendenza, attenetevi alle seguenti istruzioni:
Rivedete e comprendete le istruzioni per le pendenze nel manuale.
Valutate le condizioni del giorno nel sito per determinare se esistono le premesse per utilizzare la macchina in pendenza senza compromettere la sicurezza. Basatevi su buon senso e giudizio quando effettuate questa valutazione. Le variazioni delle condizioni del terreno, come l'umidità, possono determinare un rapido cambiamento del funzionamento in pendenza della macchina.
State sempre attenti a non inciampare e mantenete una presa salda sulle maniglie. Camminate, non correte.
Tagliate sulla superficie delle pendenza, mai andando su e giù dalle stesse.
Sulle pendenze invertite la direzione con la massima cautela.
Non tagliate su pendenze ripide.
Prestate la massima attenzione quando fate marcia indietro o tirate la macchina verso di voi.
Evitate di tosare sull'erba bagnata. A causa della scarsa tenuta, la macchina potrebbe slittare e cadere.
Rimuovete o segnalate gli ostacoli, come fossati, buche, solchi, dossi, rocce o altri pericoli nascosti. L'erba alta può nascondere degli ostacoli.
Tosate con cautela in prossimità di scarpate, fossati o terrapieni.
Quando utilizzate la macchina, tenete sempre entrambe le mani sulla maniglia.
Quando tagliate dall’alto di una pendenza e dovete raggiungere una distanza maggiore, utilizzate una maniglia allungata approvata.

Ruotate la maniglia della valvola di intercettazione del carburante in posizione orizzontale per aprire la valvola.
Ruotate la maniglia della valvola di intercettazione del carburante in posizione verticale per chiudere la valvola.
Aprite la valvola di intercettazione del carburante; fate riferimento a Valvola di intercettazione del carburante.
Chiudete la stegola di presenza dell’operatore contro la stegola.

Posizionate il piede sul piatto e inclinate la macchina verso di voi (Figura 23).

Tenendo la stegola di presenza dell’operatore, tirate l’impugnatura di avviamento a strappo.
Note: Se la macchina non si avvia dopo aver fatto vari tentativi, contattate un Centro Assistenza autorizzato o un Distributore Toro autorizzato.
| Cadenza di manutenzione | Procedura di manutenzione |
|---|---|
| Prima di ogni utilizzo o quotidianamente |
|
Per spegnere il motore, rilasciate la stegola di presenza dell’operatore (Figura 24).
Important: Quando rilasciate la stegola di presenza dell’operatore, sia il motore che il disco di taglio dovrebbero arrestarsi entro 3 secondi. Qualora non si arrestino in modo appropriato, smettete subito di usare la macchina e rivolgetevi a un Centro Assistenza autorizzato o a un Distributore Toro autorizzato.

Note: Se avete montato la stegola nella posizione bassa, da 103,4 cm, utilizzate l’arresto del pedale per sostenere la stegola in posizione verticale.

Per rilasciare la stegola, sollevate la stegola e ruotate l’arresto del pedale in avanti (Figura 25).
Per sostenere la stegola, posizionate la stegola e ruotate l’arresto del pedale indietro.
Mentre regolate l'altezza di taglio potreste toccare la lama in movimento e ferirvi gravemente.
Spegnete il motore e attendete che tutte le parti in movimento si siano fermate.
Indossate guanti resistenti ai tagli quando maneggiate la lama.
Se il motore è stato acceso, il silenziatore sarà caldo e potrebbe provocarvi ustioni.
Non avvicinatevi al silenziatore caldo.
Chiudete la valvola di intercettazione del carburante; fate riferimento a Valvola di intercettazione del carburante.
Scollegate il cappellotto dalla candela.
Inclinate la macchina sul fianco con l'asta di livello in basso.
Important: Inclinate sempre la macchina su un lato con l’asta di livello allineata verso il basso. Se la macchina viene inclinata in un’altra direzione, l’olio potrebbe riempire il treno-valvole e questo richiederà almeno 30 minuti per il drenaggio.

Usate un blocco di legno per tenere ferma la lama (Figura 27).

Utilizzate la chiave fornita con la macchina per rimuovere la lama ruotando il bullone in senso antiorario (Figura 27).
Important: Indossate guanti di sicurezza e guanti resistenti ai tagli quando rimuovete la lama.
Modificate la posizione dei distanziali per regolare l’altezza di taglio come illustrato nella Figura 28.
Note: Ogni distanziale modifica l’altezza di taglio della lama di 6,3 mm.

Allineate le estremità curve della lama verso il piatto di taglio e montate il fermo, la lama, i distanziali e il distanziale conico al girante con il bullone.
Important: Montate sempre il distanziale conico direttamente sotto il girante e il fermo sotto la testa della vite.

Serrate il bullone della lama a 25 N∙m.
Note: Un bullone serrato a 25 N∙m è molto stretto. Quando mantenete la lama di taglio con un blocco o un pezzo di legno, ponete il vostro peso dietro la chiave dinamometrica e serrate il bullone.

Inclinate la macchina verso l’alto, collegate il cavo della candela alla candela e aprite la valvola di intercettazione del carburante.
Posizionate l’anello dell’arresto del pedale sotto il dispositivo di bloccaggio per aumentare la capacità di maneggiare la macchina.

Ispezionate l'area in cui userete la macchina ed eliminate tutti gli oggetti che la macchina potrebbe scagliare.
Evitate di colpire oggetti solidi con la lama. Non tosate deliberatamente sopra un oggetto.
Se la macchina dovesse colpire un oggetto o iniziare a vibrare, spegnete immediatamente il motore, scollegate il cappellotto dalla candela ed esaminate la macchina per escludere danni.
Per prestazioni migliori, accertatevi che la lama sia affilata prima dell’inizio della stagione di taglio.
Sostituite una lama danneggiata con una nuova lama sostitutiva Toro.
Accertatevi che una lama affilate abbia la stessa lunghezza dell’impianto di taglio intatto.
Falciate soltanto un terzo del filo d'erba per volta. Non tagliate al di sotto delle impostazioni più alte (30 mm) tranne nel caso in cui l’erba sia rada, o se è autunno inoltrato, quando la crescita dell’erba inizia a rallentare; fate riferimento a Regolazione dell'altezza di taglio.
Non tosate erba lunga più di 15 cm perché la macchina potrebbe essere soggetta a ostruzioni e il motore potrebbe andare in stallo.
Erba e foglie bagnate tendono ad ammucchiarsi sul tappeto erboso, e possono intasare il tosaerba o arrestare il motore. Tosate solo in condizioni di asciutto, se possibile.
Erba e foglie bagnate possono causare gravi ferite se doveste scivolare e toccare la lama.
Tosate solo in condizioni di asciutto, se possibile.
In condizioni di particolare siccità prestate attenzione al rischio di incendio, seguite le relative avvertenze locali e mantenete la macchina libera da erba secca e scarti di foglie.
Se l'aspetto del tappeto erboso tosato non è soddisfacente, provate 1 dei seguenti:
Controllate l’apparato di taglio e/o sostituite la lama.
Camminate più lentamente mentre tosate.
Alzate l'altezza di taglio del tosaerba.
Tosate l'erba più di frequente.
Sovrapponete le passate, anziché falciare un'intera andana ad ogni passata.
Dopo la tosatura del tappeto erboso, almeno metà di esso deve essere visibile attraverso le foglie. All'occorrenza, effettuate più di una sola passata sulle foglie.
Si sconsiglia di falciare l'erba lunga più di 15 cm. Se lo strato di foglie è troppo spesso, il tosaerba può intasarsi e arrestare il motore.
Se il tosaerba non sminuzza finemente le foglie, rallentate la velocità di tosatura.
Spegnete il motore, togliete la chiave (se in dotazione) e attendete che tutte le parti in movimento si arrestino prima di abbandonare la posizione dell'operatore. Lasciate raffreddare la macchina prima di eseguire interventi di riparazione, manutenzione o pulizia o di rimessarla.
Per prevenire un incendio, eliminate erba e detriti dalla macchina. Tergete l’olio e il carburante versati.
Non depositate mai la macchina o la tanica del carburante in presenza di fiamme libere, scintille o spie, come vicino a uno scaldabagno o altre apparecchiature.
Assicuratevi che la macchina non possa spostarsi.
Prestate cautela durante il carico e lo scarico della macchina.
| Cadenza di manutenzione | Procedura di manutenzione |
|---|---|
| Dopo ogni utilizzo |
|
La macchina può spostare del materiale dal sottoscocca.
Usate occhiali di sicurezza.
Rimanete in posizione di servizio (dietro la stegola).
Non consentite ad alcuno di avvicinarsi alla zona di lavoro.
Inclinate la macchina sul fianco con l'asta di livello in basso.
Important: Inclinate sempre la macchina su un lato con l’asta di livello allineata verso il basso. Se la macchina viene inclinata in un’altra direzione, l’olio potrebbe riempire il treno-valvole e questo richiederà almeno 30 minuti per il drenaggio.
Utilizzate una spazzola o aria compressa per eliminare erba e detriti dalla protezione della marmitta, dalla cuffia superiore e dalle aree intorno al piatto.
Pulite il sistema di raffreddamento; rimuovete sfalci di erba, detriti o morchia dalle alette di raffreddamento dell’aria del motore e dallo starter.
Note: Pulite il sistema di raffreddamento con maggiore frequenza in presenza di morchia o di sporcizia elevata.
| Cadenza di manutenzione | Procedura di manutenzione |
|---|---|
| Dopo le prime 5 ore |
|
| Prima di ogni utilizzo o quotidianamente |
|
| Dopo ogni utilizzo |
|
| Ogni 25 ore |
|
| Ogni 100 ore |
|
| Ogni anno |
|
Spegnete il motore, togliete la chiave (se in dotazione) e attendete che tutte le parti in movimento si arrestino prima di abbandonare la posizione dell'operatore. Lasciate raffreddare la macchina prima di eseguire interventi di riparazione, manutenzione o pulizia o di rimessarla.
Staccate il cappellotto dalla candela prima di eseguire interventi di manutenzione.
Indossate i guanti e la protezione per gli occhi durante la manutenzione della macchina.
Controllate la macchina con regolarità e sostituite eventuali componenti usurati o danneggiati. Non sostituite gli strumenti di taglio con componenti in metallo; utilizzate solo elementi di taglio indicati per l’uso alla velocità di lavoro della macchina.
Non manomettere i dispositivi di sicurezza. Controllatene il funzionamento ad intervalli regolari.
Inclinando la macchina potreste fare fuoriuscire il carburante. Il carburante è infiammabile, esplosivo e può causare infortuni. Fate girare il motore finché non è vuoto, o togliete la benzina con una pompa a mano; non travasatela mai per mezzo di un sifone.
Mantenete serrati tutti i dispositivi di fissaggio per assicurarvi che la macchina sia in grado di funzionare in tutta sicurezza.
Non modificate la taratura del regolatore del motore e non fate superare al motore il regime previsto.
Per garantire prestazioni ottimali della macchina, utilizzate solo ricambi e accessori originali Toro. I ricambi e gli accessori realizzati da altri produttori possono essere pericolosi e tale utilizzo può rendere nulla la garanzia del prodotto.
Inclinando la macchina potreste fare fuoriuscire il carburante. Il carburante è infiammabile, esplosivo e può causare lesioni personali.
Lasciate in funzione il motore fino esaurimento carburante o rimuovete il carburante con una pompa manuale; mai con un sifone.
Important: Inclinate sempre la macchina su un lato con l’asta di livello allineata verso il basso. Se la macchina viene inclinata con l’asta di livello allineata verso l’alto, l’olio potrebbe riempire il treno-valvole e questo richiederà almeno 30 minuti per il drenaggio.
Spegnete il motore e attendete che tutte le parti in movimento si arrestino.
Portate la macchina su una superficie pianeggiante.
Scollegate il cappellotto dalla candela (Figura 32).

Chiudete la valvola di intercettazione del carburante; fate riferimento a Valvola di intercettazione del carburante.
Important: Se state procedendo alla riparazione della macchina, svuotate il serbatoio del carburante.
Dopo avere eseguito la/e procedura/e di manutenzione, aprite la valvola del carburante e collegate il cavo della candela alla candela.
| Cadenza di manutenzione | Procedura di manutenzione |
|---|---|
| Ogni anno |
|
Premete verso il basso le linguette di chiusura nella parte superiore del coperchio del filtro dell’aria (Figura 33).

Togliete il coperchio.
Rimuovete l’elemento filtrante (Figura 33).
Ispezionate il filtro aria di carta.
Se il filtro è danneggiato, presenta tracce di olio o carburante, o è eccessivamente sporco, sostituitelo.
Se il filtro è sporco, battetelo contro una superficie dura diverse volte o soffiate aria compressa a meno di 2,07 bar sul lato del filtro rivolto verso il motore.
Note: Non eliminate lo sporco con una spazzola; lo spazzolamento spinge lo sporco all'interno delle fibre.
Pulite la base del filtro dell’aria e il coperchio utilizzando un panno umido. Non pulite lo sporco dentro il condotto dell'aria.
Inserite il filtro nella base del filtro.
Montate il coperchio.
Classificazione API: SJ o superiore
Viscosità dell’olio: olio 10W-30
| Cadenza di manutenzione | Procedura di manutenzione |
|---|---|
| Prima di ogni utilizzo o quotidianamente |
|
Preparate la macchina per la manutenzione; fate riferimento a Preparazione per la manutenzione.
Rimuovete l’asta di livello dal bocchettone di riempimento dell’olio e pulite l’asta di livello con un panno pulito.
Inserite l’asta di livello nel bocchettone di riempimento dell’olio, quindi rimuovete l’asta di livello.
Important: Non inserite l’asta di livello nel bocchettone di riempimento.
Controllate il livello dell’olio sull’asta di livello.

Se il livello dell’olio è prossimo o al di sotto del segno di limite inferiore sull’asta di livello (Figura 34), versate lentamente l’olio motore specificato nel bocchettone di riempimento dell’olio (Figura 35) e attendete 3 minuti.

Pulite l’asta di livello con un panno pulito e ripetete i passaggi 3 e 5 fino a quando il livello dell’olio motore non arriva al segno di limite superiore.
Inserite l’asta di livello nel bocchettone di riempimento dell’olio e serratela a mano in modo sicuro.
| Cadenza di manutenzione | Procedura di manutenzione |
|---|---|
| Dopo le prime 5 ore |
|
| Ogni 25 ore |
|
Se il motore è freddo, fatelo girare per 1-2 minuti per riscaldare l’olio.
Assicuratevi che il carburante nel serbatoio sia scarso o del tutto assente, così che non si versi all'esterno quando inclinate la macchina su un lato.
Preparate la macchina per la manutenzione; fate riferimento a Preparazione per la manutenzione.
Rimuovete l’asta di livello dal bocchettone di riempimento dell’olio e pulite l’asta di livello con un panno pulito.
Ponete una vaschetta di scarico accanto al piatto sul lato del bocchettone di riempimento dell’olio della macchina e sul pavimento (Figura 35).

Inclinate la macchina su un lato con il bocchettone di riempimento dell’olio verso il basso per drenare l’olio dal bocchettone di riempimento.
Important: Inclinate sempre la macchina su un lato con l’asta di livello allineata verso il basso. Se la macchina viene inclinata in un’altra direzione, l’olio potrebbe riempire il treno-valvole e questo richiederà almeno 30 minuti per il drenaggio.
Raddrizzate il tosaerba in posizione di servizio.
Pulite eventuali fuoriuscite di olio dalla macchina.
Note: Consegnate l'olio usato al centro di raccolta più vicino.
Capacità dell’olio: 0,40 litri
Versate lentamente l’olio motore specificato nel bocchettone di riempimento dell’olio (Figura 35) e attendete 3 minuti.

Inserite l’asta di livello nel bocchettone di riempimento dell’olio, quindi rimuovete l’asta di livello.
Important: Non inserite l’asta di livello nel bocchettone di riempimento.
Controllate il livello dell’olio sull’asta di livello (Figura 38).
Note: Se avete riempito il motore con troppo olio, drenate l’olio in eccesso; fate riferimento a Svuotamento del motore.

Se il livello dell’olio è inferiore al limite superiore, pulite l’asta di livello con un panno pulito e ripetete i passaggi 1 e 3 fino a quando il livello dell’olio motore non arriva al segno di limite superiore.
Inserite l’asta di livello nel bocchettone di riempimento dell’olio e serratela a mano in modo sicuro.
| Cadenza di manutenzione | Procedura di manutenzione |
|---|---|
| Ogni 100 ore |
|
Specifiche della candela: Champion RN9YC o equivalente.
Preparate la macchina per la manutenzione; fate riferimento a Preparazione per la manutenzione.
Pulite attorno alla candela.
Togliete la candela dalla testata.
Important: Sostituite una candela usurate, danneggiata o sporca. Non pulite gli elettrodi, perché i granelli che penetrano nel cilindro possono danneggiare il motore.
Regolate la distanza tra gli elettrodi (Figura 39) tra l’elettrodo centrale e l’elettrodo laterale a 0,76 mm.

Installate la candela e la guarnizione.
Serrate la candela a 20 N∙m.
Collegate il cappellotto alla candela.
La lama è affilata, e può causare gravi ferite.
Scollegate il cappellotto dalla candela.
Indossate guanti resistenti ai tagli quando procedete alla manutenzione della lama.
| Cadenza di manutenzione | Procedura di manutenzione |
|---|---|
| Prima di ogni utilizzo o quotidianamente |
|
Preparate la macchina per la manutenzione; fate riferimento a Preparazione per la manutenzione.
Inclinate la macchina su un lato con il bocchettone di riempimento dell’olio verso il basso.
Important: Inclinate sempre la macchina su un lato con l’asta di livello allineata verso il basso. Se la macchina viene inclinata in un’altra direzione, l’olio potrebbe riempire il treno-valvole e questo richiederà almeno 30 minuti per il drenaggio.

Controllate la lama del tosaerba per accertare che non sia consumata o danneggiata.
Nel caso in cui la lama sia danneggiata o incrinata, rimuovetela e sostituitela immediatamente.
Nel caso in cui la lama sia smussata o presenti delle intaccature, affilatela o sostituitela e montate la lama.
Inclinate la macchina ponendola in verticale.
| Cadenza di manutenzione | Procedura di manutenzione |
|---|---|
| Ogni anno |
|
Important: È necessaria una chiave dinamometrica per montare la lama. Se non avete a disposizione una chiave dinamometrica o non vi sentite sicuri a eseguire questa procedura, contattate un Distributore Toro autorizzato o un Centro Assistenza autorizzato.
Preparate la macchina per la manutenzione; fate riferimento a Preparazione per la manutenzione.
Inclinate la macchina su un lato con il bocchettone di riempimento dell’olio verso il basso.
Important: Inclinate sempre la macchina su un lato con l’asta di livello allineata verso il basso. Se la macchina viene inclinata in un’altra direzione, l’olio potrebbe riempire il treno-valvole e questo richiederà almeno 30 minuti per il drenaggio.

Prendete nota della posizione dei distanziali.

Usate un blocco di legno per tenere ferma la lama (Figura 43).

Utilizzate la chiave fornita con la macchina per rimuovere la lama ruotando il bullone della lama in senso antiorario (Figura 42).
Important: Indossate guanti di sicurezza e guanti resistenti ai tagli quando rimuovete la lama.
Allineate le estremità curve della lama verso il piatto di taglio e montate il fermo, la lama, i distanziali e il distanziale conico al girante con il bullone.
Important: Dovete sempre montare il distanziale conico direttamente sotto il girante e il fermo sotto la testa della vite.

Serrate il bullone della lama a 25 N∙m.
Note: Un bullone serrato a 25 N∙m è molto stretto. Quando mantenete la lama di taglio con un blocco o un pezzo di legno, ponete il vostro peso dietro la chiave dinamometrica e serrate il bullone.

Inclinate la macchina ponendola in verticale.
Spegnete il motore, togliete la chiave (se in dotazione) e attendete che tutte le parti in movimento si arrestino prima di abbandonare la posizione dell'operatore. Lasciate raffreddare la macchina prima di eseguire interventi di riparazione, manutenzione o pulizia o di rimessarla.
Lasciate raffreddare il motore prima di riporre la macchina in un ambiente chiuso.
Lasciate raffreddare il motore prima di riporre la macchina in un ambiente chiuso.
Non depositate mai la macchina o la tanica del carburante in presenza di fiamme libere, scintille o spie, come vicino a uno scaldabagno o altre apparecchiature.
Rimuovete erba, foglie e detriti dalla marmitta e dal vano motore per prevenire incidenti.
I vapori di carburante possono esplodere.
Non conservate il carburante per più di 30 giorni.
Non riponete la macchina in un ambiente chiuso vicino a fiamme libere.
Fate raffreddare il motore prima del rimessaggio.
L'ultima volta che fate il pieno, prima del rimessaggio, versate lo stabilizzatore nel carburante, come indicato nelle istruzioni del costruttore del motore.
Lasciate in funzione la macchina fino a quando il motore non si spegne per esaurimento del carburante.
Riavviate il motore e lasciatelo girare fino allo spegnimento. Quando non riuscite più ad avviare il motore, il sistema di alimentazione è vuoto.
Scollegate il cappellotto dalla candela.
Rimuovete la candela, aggiungete 30 ml di olio attraverso il foro della candela e tirate l’impugnatura di avviamento a strappo lentamente per varie volte per distribuire l’olio in tutto il cilindro.
Montate la candela e serratela a 20 N∙m.
Controllate danneggiamenti/usura della lama. Nel caso in cui la lama sia smussata, affilatela; nel caso in cui la lama sia danneggiata, sostituitela.
Serrate tutti i dadi, i bulloni e le viti.
Riponete la macchina in un luogo fresco, pulito e asciutto.
| Problem | Possible Cause | Corrective Action |
|---|---|---|
| Il motore non si avvia. |
|
|
| Il motore si avvia con difficoltà o perde potenza. |
|
|
| Il motore non è regolare. |
|
|
| Il tosaerba o il motore vibrano in modo eccessivo. |
|
|
| Il taglio non è uniforme. |
|
|