| Périodicité d'entretien | Procédure d'entretien |
|---|---|
| À chaque utilisation ou une fois par jour |
|
Cette machine est destinée aux utilisateurs temporaires, aux utilisateurs employés par des entreprises ; elle sert à l'entretien des gazons sur les pentes, les terrains légèrement ondulés, les zones proches d'étendues d'eau ou les rebords des bunkers. L'utilisation de ce produit à d'autres fins que celle prévue peut être dangereuse pour vous-même et toute personne à proximité.
Lisez attentivement cette notice pour apprendre comment utiliser et entretenir correctement votre produit, et éviter ainsi de l'endommager ou de vous blesser. Vous êtes responsable de l'utilisation sûre et correcte du produit.
Rendez-vous sur www.https://www.toro.com/en-GB pour plus d’informations, y compris des conseils de sécurité, des documents de formation, des renseignements concernant un accessoire, pour obtenir l'adresse d'un concessionnaire ou pour enregistrer votre produit.
Pour obtenir des prestations de service, des pièces d'origine Toro ou des renseignements complémentaires, munissez-vous des numéros de modèle et de série du produit et contactez un concessionnaire-réparateur agréé ou le service client Toro. La Figure 1 indique l'emplacement des numéros de modèle et de série du produit. Inscrivez les numéros dans l'espace réservé à cet effet.
Important: Avec votre appareil mobile, vous pouvez scanner le QR code sur l'autocollant du numéro de série (le cas échéant) afin d'accéder aux informations sur la garantie, les pièces détachées et autres renseignements concernant le produit.

Notez les numéros de modèle et de série du produit dans l'espace ci-dessous :
Les mises en garde de ce manuel soulignent des dangers potentiels et sont signalées par le symbole de sécurité (Figure 2), qui indique un danger pouvant entraîner des blessures graves ou mortelles si les précautions recommandées ne sont pas respectées.

Ce manuel utilise deux termes pour faire passer des renseignements essentiels. Important pour attirer l'attention sur des informations d'ordre mécanique spécifiques et Remarque pour souligner des informations d'ordre général méritant une attention particulière.
Ce produit est conforme à toutes les directives européennes pertinentes. Pour plus de renseignements, consultez la Déclaration de conformité spécifique au produit fournie séparément.
Couple brut ou net : le couple brut ou net de ce moteur a été calculé en laboratoire par le constructeur du moteur selon la norme SAE J1940 ou J2723 de la Society of Automotive Engineers (SAE). Étant configuré pour satisfaire aux normes de sécurité, antipollution et d'exploitation, le moteur monté sur cette classe de tondeuse aura un couple effectif nettement inférieur. Reportez-vous aux informations du constructeur du moteur qui accompagnent la machine.
Important: Lisez attentivement cette notice avant d'utiliser la machine et conservez-la à titre de référence.
Ce produit peut sectionner les mains ou les pieds et projeter des objets. Respectez toujours toutes les consignes de sécurité pour éviter des blessures graves.
Vous devez lire et comprendre le contenu de ce Manuel de l'utilisateur avant de démarrer le moteur.
N'approchez pas les mains ou les pieds des composants mobiles de la machine.
N'utilisez pas la machine s'il manque des capots ou d'autres dispositifs de protection, ou s'ils sont défectueux.
N'admettez personne, notamment les enfants, dans le périmètre de travail. N'autorisez jamais un enfant à utiliser la machine. Seules les personnes responsables, formées à l'utilisation de la machine, ayant lu et compris les instructions et physiquement aptes sont autorisées à utiliser la machine. Certaines législations imposent un âge minimum pour l'utilisation de ce type d'appareil.
Avant de quitter la position d'utilisation, coupez le moteur, enlevez la clé (selon l'équipement) et attendez l'arrêt complet de tout mouvement. Laissez refroidir la machine avant de la régler, d'en faire l'entretien, de la nettoyer ou de la remiser.
L'usage ou l'entretien incorrect de cette machine
peut occasionner des accidents. Pour réduire les risques d'accidents
et de blessures, respectez les consignes de sécurité
qui suivent. Tenez toujours compte des mises en garde signalées
par le symbole de sécurité (
) et la mention Prudence,
Attention ou Danger. Le non respect de ces instructions peut entraîner
des blessures graves ou mortelles.
![]() |
Des autocollants de sécurité et des instructions bien visibles par l'utilisateur sont placés près de tous les endroits potentiellement dangereux. Remplacez tout autocollant endommagé ou manquant. |




Pièces nécessaires pour cette opération:
| Partie inférieure du guidon | 1 |
| Cale au pied | 1 |
| Rondelle (6 mm) | 2 |
| Contre-écrou (6 mm) | 1 |
Note: Vous ne pouvez utiliser la cale au pied pour soutenir le guidon en position verticale que lorsque vous montez le guidon à la position basse (103,4 cm).

Déterminez la hauteur du guidon quand la cale au pied est fixée à son support (Figure 3).
Alignez le trou dans la cale au pied et le trou dans la partie inférieure du guidon (Figure 4).

Fixez la cale au pied sur le guidon à l'aide de 2 rondelles (6 mm) et d'un contre-écrou (6 mm).
Serrez le contre-écrou.
Note: Vérifiez que la cale au pied peut pivoter.
Pièces nécessaires pour cette opération:
| Douilles en T | 4 |
| Goupille fendue | 2 |
| Rondelle (6 mm) | 6 |
| Goupille fendue | 2 |
| Bouton | 2 |
| Étrier fileté | 2 |
| Bloc de fixation | 1 |
| Partie supérieure du guidon | 1 |
| Boulon (¼" x 1¾") | 1 |
| Contre-écrou (¼") | 1 |
Insérez 2 douilles en T dans les brides de montage du guidon sur le plateau de coupe (Figure 5).

Alignez la cale au pied du guidon par rapport support sur le plateau (Figure 6).

Alignez le trou du guidon sur les trous des douilles (Figure 7), et fixez le guidon sur la machine à l'aide d'un axe de chape, de 2 rondelles (6 mm) et d'une goupille fendue.

Répétez l'opération 3 de l'autre côté de la machine.
Alignez les trous dans la partie supérieure et les trous dans la partie inférieure du guidon (Figure 8).

Fixez la partie supérieure du guidon sur la partie inférieure à l'aide de 2 étriers filetés, 2 rondelles (6 mm) et 2 boutons.
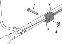
Insérez la fixation au bout de la gaine du câble dans la douille supérieure du bloc de fixation (Figure 9).

Serrez le côté de la barre de présence de l'utilisateur jusqu'à ce qu'il sorte de la partie supérieure, puis déposez la barre de la machine (Figure 10).

Insérez la fixation du câble dans le trou du support de la barre de présence de l'utilisateur, comme montré à la Figure 11.

Insérez l'extrémité de la barre de présence de l'utilisateur dans le guidon, serrez légèrement un des côtés de la barre et insérez la barre dans le guidon (Figure 13).

Fixez le bloc de fixation sur la partie supérieure du guidon (Figure 14) à l'aide du boulon (¼" x 1¾") et du contre-écrou (¼").

Important: Le carter moteur de cette machine est vide à la livraison. Faites l'appoint d'huile avant de mettre le moteur en marche.
Classe de service API : SJ ou mieux
Viscosité de l'huile : 10W-30
Capacité du carter d'huile : 0,40 l
Amenez la machine sur une surface plane et horizontale.
Retirez la jauge du goulot de remplissage et essuyez-la sur un chiffon propre (Figure 14).

Versez lentement l'huile moteur spécifiée dans le goulot de remplissage (Figure 15), puis attendez 3 minutes.

Insérez la jauge au fond du goulot de remplissage, puis ressortez-la.
Vérifiez le niveau d'huile indiqué sur la jauge (Figure 16).
Note: Si vous remplissez excessivement le carter moteur, vidangez l'excédent d'huile ; voir Vidange de l'huile moteur.

Si le niveau d'huile est au-dessus de la limite supérieure, essuyez la jauge sur un chiffon propre et répétez les opérations 3 à 5 jusqu'à ce que le niveau atteigne la limite supérieure.
Insérez la jauge dans le goulot de remplissage et serrez-la solidement à la main.



La barre de présence de l'utilisateur (Figure 19) commande le frein du volant moteur et l'allumage du moteur.
Serrez la barre de présence de l'utilisateur contre le guidon pour démarrer le moteur.
Relâchez la barre pour couper le moteur.
Le robinet d'arrivée de carburant (Figure 19) permet de régler le débit de carburant vers le moteur.
Fermez le robinet d'arrivée de carburant avant de transporter, de faire l'entretien ou de remiser la machine
Ouvrez le robinet d'arrivée de carburant pour démarrer le moteur.
|
Modèle |
Largeur de coupe |
Largeur du produit |
|---|---|---|
|
02617 |
53 cm |
63,5 cm |
Une sélection d'outils et d'accessoires agréés par Toro est disponible pour augmenter et améliorer les capacités de la machine. Pour obtenir la liste de tous les accessoires et outils agréés, contactez votre concessionnaire-réparateur ou votre distributeur Toro agréé, ou rendez-vous sur www.https://www.toro.com/en-GB.
Pour garantir un rendement optimal et conserver la certification de sécurité de la machine, utilisez uniquement des pièces de rechange et accessoires d'origine Toro. Les pièces de rechange et accessoires provenant d'autres constructeurs peuvent être dangereux, et leur utilisation risque d'annuler la garantie de la machine.
Avant de quitter la position d'utilisation, coupez le moteur, enlevez la clé (selon l'équipement) et attendez l'arrêt complet de tout mouvement. Laissez refroidir la machine avant de la régler, d'en faire l'entretien, de la nettoyer ou de la remiser.
Familiarisez-vous avec le maniement correct du matériel, les commandes et les symboles de sécurité.
Vérifiez toujours que les capots et les dispositifs de sécurité sont en place et fonctionnent correctement.
Vérifiez toujours que les lames, boulons de lames et ensembles de coupe ne sont pas usés ni endommagés.
Examinez la zone de travail et débarrassez-la de tout objet pouvant gêner le fonctionnement de la machine ou être projeté pendant son utilisation.
Pendant le réglage de la hauteur de coupe, vous risquez de toucher la lame en mouvement et de vous blesser gravement.
Remplacez le silencieux s'il est défectueux.
Le carburant est extrêmement inflammable et hautement explosif. Un incendie ou une explosion causé(e) par du carburant peut vous brûler, ainsi que les personnes se tenant à proximité, et causer des dommages matériels.
Pour éviter que l'électricité statique n'enflamme le carburant, posez le récipient et/ou la machine directement sur le sol avant de faire le plein ; ne la laissez pas dans un véhicule ou sur un support quelconque.
Remplissez ou vidangez le réservoir de carburant à l'extérieur, dans un endroit bien dégagé, lorsque le moteur est froid. Essuyez tout carburant répandu.
Faites le plein du réservoir de carburant à l'extérieur, dans un endroit bien dégagé, lorsque le moteur est froid. Essuyez tout carburant répandu.
Ne fumez jamais quand vous manipulez du carburant et tenez-vous à l'écart des flammes nues ou des sources d'étincelles.
Ne retirez pas le bouchon du réservoir de carburant et n'ajoutez pas de carburant dans le réservoir lorsque le moteur tourne ou est chaud.
Si vous renversez du carburant, ne mettez pas le moteur en marche à cet endroit. Évitez de créer des sources d'inflammation jusqu'à dissipation complète des vapeurs de carburant.
Conservez le carburant dans un récipient homologué et hors de la portée des enfants.
Revissez fermement le bouchon du réservoir et les bouchons des bidons de carburant.
Le carburant est toxique et même mortel en cas d'ingestion. L'exposition prolongée aux vapeurs de carburant peut causer des blessures et des maladies graves.
Évitez de respirer les vapeurs de carburant de façon prolongée.
N'approchez pas les mains ni le visage du pistolet ou de l'ouverture du réservoir de carburant.
N'approchez pas le carburant des yeux et de la peau.
| Type | Essence sans plomb |
| Indice d'octane minimum | 87 (USA) ou 91 (octane recherche ; hors USA) |
| Éthanol | Pas plus de 10 % par volume |
| Méthanol | Aucun |
| MTBE (éther méthyltertiobutylique) | Moins de 15 % par volume |
| Huile | Ne pas ajouter au carburant |
Utilisez uniquement du carburant propre et frais (stocké depuis moins d'un mois) provenant d'une source fiable.
Important: Pour réduire les problèmes de démarrage, ajoutez au carburant frais la quantité de stabilisateur/conditionneur indiquée par le fabricant du stabilisateur/conditionneur.
Note: Reportez-vous au manuel du propriétaire du moteur pour tout renseignement complémentaire.
Nettoyez la surface autour du bouchon du réservoir de carburant et enlevez le bouchon.
Remplissez le réservoir de carburant avec le carburant spécifié, comme indiqué à la Figure 20.

Remettez le bouchon du réservoir de carburant.
Portez une tenue adaptée, y compris une protection oculaire, un pantalon, des chaussures solides à semelle antidérapante et des protecteurs d'oreilles. Si vos cheveux sont longs, attachez-les et ne portez pas de vêtements amples ni de bijoux pendants.
Accordez toute votre attention à l'utilisation de la machine. Ne faites rien d'autre qui puisse vous distraire, au risque de causer des dommages corporels ou matériels.
N'utilisez pas la machine si vous êtes fatigué(e), malade ou sous l'emprise de l'alcool, de médicaments ou de drogues.
Désengagez la lame et tous les embrayages avant de démarrer le moteur.
Démarrez le moteur en vous conformant aux instructions et en évitant d'approcher les pieds de la lame.
Ne basculez pas la machine plus que nécessaire pour démarrer le moteur, et ne soulevez que la partie éloignée de vous.
Avant de quitter la position d'utilisation, coupez le moteur, enlevez la clé (selon l'équipement) et attendez l'arrêt complet de tout mouvement. Laissez refroidir la machine avant de la régler, d'en faire l'entretien, de la nettoyer ou de la remiser.
Lorsque vous relâchez la commande de présence de l'utilisateur, le moteur et la lame doivent s'arrêter en moins de 3 secondes. Si ce n'est pas le cas, cessez immédiatement d'utiliser la machine et adressez-vous à un concessionnaire-réparateur agréé.
Tenez tout le monde, en particulier les enfants et les animaux, à l'écart de la zone de travail. Veillez à ce que les enfants restent hors de la zone de travail, sous la garde d'un adulte responsable autre que l'utilisateur de la machine. Arrêtez la machine si quelqu'un entre dans la zone de travail.
N'utilisez la machine que si la visibilité est suffisante et les conditions météorologiques favorables. N'utilisez pas la machine s'il y a risque d'orage.
En travaillant sur l'herbe ou les feuilles humides, vous risquez de glisser et de vous blesser gravement si vous touchez la lame en tombant. Si possible, évitez de tondre quand l'herbe est humide.
Soyez particulièrement prudent à l'approche de tournants sans visibilité, de buissons, d'arbres ou d'autres objets susceptibles de masquer la vue.
Méfiez-vous des trous, ornières, bosses, rochers ou autres obstacles cachés. Vous pouvez glisser ou perdre l'équilibre si le terrain est irrégulier.
Si la machine heurte un obstacle ou commence à vibrer, coupez immédiatement le moteur, attendez l'arrêt complet de toutes les pièces mobiles et débranchez le fil de la bougie avant de vérifier si la machine n'est pas endommagée. Effectuez toutes les réparations nécessaires avant de réutiliser la machine.
Ne soulevez et ne portez jamais la machine lorsque le moteur tourne.
Le moteur est très chaud s'il vient de tourner et peut alors vous brûler gravement. Ne vous approchez pas du moteur s'il est encore chaud.
Les gaz d'échappement du moteur contiennent du monoxyde de carbone dont l'inhalation est mortelle. Ne faites pas tourner le moteur à l'intérieur d'un local fermé.
Utilisez uniquement les accessoires et équipements agréés par Toro.
Les pentes augmentent significativement les risques de perte de contrôle de la machine ce qui peut entraîner des accidents graves, voire mortels. Vous êtes responsable de la sécurité d'utilisation de la machine sur les pentes. L'utilisation de la machine sur une pente, quelle qu'elle soit, demande une attention particulière. Avant d’utiliser la machine sur une pente, vous devez :
Lire et comprendre les instructions du manuel relatives à l'utilisation sur les pentes.
Évaluer chaque jour l'état du terrain pour déterminer si la pente permet d'utiliser la machine sans risque. Faire preuve de bon sens et de discernement lors de cette évaluation. Les conditions changeantes du terrain, telle l'humidité, peuvent rapidement modifier le fonctionnement de la machine sur les pentes.
Veillez à ne pas perdre l'équilibre et tenez fermement les poignées. Marchez, ne courez pas.
Tondez transversalement à la pente, jamais en montant ou descendant.
Soyez extrêmement prudent lorsque vous changez de direction sur un terrain en pente.
Ne tondez pas de pentes trop raides.
Redoublez de prudence en marche arrière ou quand vous tirez la machine vers vous.
Ne tondez pas l'herbe humide. Vous pourriez glisser et vous blesser en tombant.
Enlevez ou balisez les obstacles tels que fossés, trous, ornières, bosses, rochers ou autres dangers cachés. L'herbe haute peut masquer les accidents du terrain.
Faites preuve de prudence quand vous tondez à proximité de dénivellations, fossés ou berges.
Lorsque vous utilisez la machine, gardez toujours les deux mains sur le guidon.
Lorsque vous tondez depuis le sommet d'une pente et qu'il est nécessaire d'augmenter la portée de la machine, utilisez une extension de guidon agréée.

Tournez la poignée à l'horizontale pour ouvrir le robinet d'arrivée de carburant.
Tournez la poignée à la verticale pour fermer le robinet d'arrivée de carburant.
Ouvrez le robinet d'arrivée de carburant ; voir Robinet d'arrivée de carburant.
Serrez la barre de présence de l'utilisateur contre le guidon.

Placez le pied sur le plateau de coupe et basculez la machine vers vous (Figure 23).

Tout en maintenant la barre de présence de l'utilisateur serrée, tirez sur la poignée du lanceur.
Note: Si le moteur ne démarre pas après plusieurs tentatives, contactez un concessionnaire-réparateur agréé ou un distributeur Toro agréé.
| Périodicité d'entretien | Procédure d'entretien |
|---|---|
| À chaque utilisation ou une fois par jour |
|
Pour arrêter le moteur, relâchez la barre de présence de l'utilisateur (Figure 24).
Important: Lorsque vous relâchez la barre de présence de l'utilisateur, le moteur et le disque de coupe doivent s'arrêter en moins de 3 secondes. Si ce n'est pas le cas, cessez immédiatement d'utiliser la machine et contactez un concessionnaire-réparateur agréé ou un distributeur Toro agréé.

Note: Si vous montez le guidon à la position basse (103,4 cm), maintenez-le en position verticale avec la cale au pied.

Pour débloquer le guidon, soulevez-le et pivotez la cale au pied vers l'avant (Figure 25).
Pour soutenir et caler le guidon, placez-le à la position voulue et pivotez la cale au pied vers l'arrière.
Pendant le réglage de la hauteur de coupe, vous risquez de toucher la lame en mouvement et de vous blesser gravement.
Coupez le moteur et attendez l'arrêt complet de toutes les pièces mobiles.
Portez des gants anti-coupures pour manipuler la lame.
Si le moteur vient de tourner, le silencieux est très chaud et risque de vous brûler gravement.
Ne vous approchez pas du silencieux encore chaud.
Fermez le robinet d'arrivée de carburant ; voir Robinet d'arrivée de carburant.
Débranchez le fil de la bougie.
Basculez la machine sur le côté, avec la jauge en bas.
Important: Basculez toujours la machine sur le côté, jauge en bas. Si vous basculez la machine dans une autre direction, de l'huile peut s'écouler dans le système de distribution et vous devrez alors patienter 30 minutes avant qu'elle soit vidangée.

Immobilisez la lame avec un morceau de bois (Figure 27).

Déposez la lame à l'aide de la clé fournie avec la machine en tournant le boulon dans le sens antihoraire (Figure 27).
Important: Portez des lunettes de sécurité et des gants anti-coupures pour déposer la lame.
Changez les entretoises de position pour ajuster la hauteur coupe, comme montré à la Figure 28.
Note: Chaque entretoise modifie la hauteur de coupe de la lame de 6,3 mm.

Tournez les extrémités courbes de la lame vers le plateau de coupe et fixez la douille de retenue, la lame, les entretoises et l'entretoise conique sur la turbine avec le boulon.
Important: Placez toujours l'entretoise conique juste sous la turbine et la douille de retenue sous la tête du boulon.

Serrez le boulon de la lame à 25 N·m.
Note: Un boulon vissé à 25 N·m est très serré. Bloquez la lame une cale en bois, appuyez de tout votre poids sur la clé dynamométrique, et serrez le boulon.

Redressez la machine, rebranchez le fil de la bougie et ouvrez le robinet d'arrivée de carburant.
Placez la boucle de la cale au pied sous le support pour améliorer le comportement de la machine.

Inspectez la zone de travail et débarrassez-la de tout objet pouvant être projeté par la machine.
Évitez de heurter des obstacles avec la lame. Ne passez jamais intentionnellement sur un objet quel qu'il soit.
Si la machine a heurté un obstacle ou commence à vibrer, coupez immédiatement le moteur, débranchez le fil de la bougie et vérifiez si la machine est endommagée.
Pour obtenir des résultats optimaux, vérifiez que la lame est bien aiguisée avant le début de la saison de tonte.
Si elle est endommagée, remplacez la lame par une lame Toro neuve.
Vérifiez que la lame aiguisée est de la même longueur que le fil de coupe intact.
Ne tondez l'herbe que sur un tiers de sa hauteur à chaque fois. N'utilisez pas une hauteur de coupe inférieure à 30 mm, sauf si l'herbe est clairsemée ou à la fin de l'automne quand la pousse commence à ralentir ; voir Réglage de la hauteur de coupe.
Ne tondez pas l'herbe fait plus de 15 cm de haut, car la machine pourrait se boucher ou le moteur caler.
L'herbe et les feuilles humides ont tendance à s'agglomérer sur la pelouse et peuvent obstruer la machine et faire caler le moteur. Dans la mesure du possible, ne tondez que lorsque l'herbe est sèche.
En travaillant sur l'herbe ou les feuilles humides, vous risquez de glisser et de vous blesser gravement si vous touchez la lame en tombant.
Dans la mesure du possible, ne tondez que lorsque l'herbe est sèche.
Soyez conscient des risques d'incendie par temps très sec, respectez tous les avertissements locaux relatifs aux incendies, et ne laissez pas l'herbe et les feuilles sèches s'accumuler sur la machine.
Si l'aspect de la pelouse tondue n'est pas satisfaisant, essayez une ou plusieurs des solutions suivantes :
Examinez l'unité de coupe et/ou remplacez la lame.
Tondez en avançant plus lentement.
Augmentez la hauteur de coupe.
Tondez plus souvent.
Empiétez sur les passages précédents pour tondre une largeur de bande réduite.
Après la tonte, 50 % de la pelouse doit être visible sous la couche de feuilles hachées. Vous devrez peut-être repasser plusieurs fois sur les feuilles.
Il n'est pas recommandé de tondre l'herbe de plus de 15 cm. Si la couche de feuilles est trop épaisse, la machine peut se boucher et faire caler le moteur.
Ralentissez la vitesse de tonte si les feuilles ne sont pas hachées assez menues.
Avant de quitter la position d'utilisation, coupez le moteur, enlevez la clé (selon l'équipement) et attendez l'arrêt complet de tout mouvement. Laissez refroidir la machine avant de la régler, d'en faire l'entretien, de la nettoyer ou de la remiser.
Pour éviter les risques d'incendie, enlevez les brins d'herbe et autres débris qui sont agglomérés sur la machine. Nettoyez les coulées éventuelles d'huile ou de carburant.
Ne remisez jamais la machine ni les bidons de carburant à proximité d'une flamme nue, d'une source d'étincelles ou d'une veilleuse, telle celle d'un chauffe-eau ou d'autres appareils.
Sécurisez la machine.
Faites preuve de prudence pendant que vous chargez ou déchargez la machine.
| Périodicité d'entretien | Procédure d'entretien |
|---|---|
| Après chaque utilisation |
|
Des débris peuvent être projetés de sous le carter de la machine.
Portez une protection oculaire.
Restez à la position d'utilisation (derrière le guidon).
N'autorisez personne à pénétrer dans la zone de travail.
Basculez la machine sur le côté, avec la jauge en bas.
Important: Basculez toujours la machine sur le côté, jauge en bas. Si vous basculez la machine dans une autre direction, de l'huile peut s'écouler dans le système de distribution et vous devrez alors patienter 30 minutes avant qu'elle soit vidangée.
À l'aide d'une brosse ou d'air comprimé, éliminez les débris d'herbe et autre sur le la protection d'échappement, le capot supérieur et les surfaces autour du plateau de coupe.
Nettoyez le système de refroidissement, enlevez les déchets d'herbe, les débris ou les saletés éventuellement agglomérés sur les ailettes de refroidissement du moteur et sur le démarreur.
Note: Nettoyez le système de refroidissement plus fréquemment s'il y a beaucoup de saleté ou de déchets d'herbe sèche.
| Périodicité d'entretien | Procédure d'entretien |
|---|---|
| Après les 5 premières heures de fonctionnement |
|
| À chaque utilisation ou une fois par jour |
|
| Après chaque utilisation |
|
| Toutes les 25 heures |
|
| Toutes les 100 heures |
|
| Une fois par an |
|
Avant de quitter la position d'utilisation, coupez le moteur, enlevez la clé (selon l'équipement) et attendez l'arrêt complet de tout mouvement. Laissez refroidir la machine avant de la régler, d'en faire l'entretien, de la nettoyer ou de la remiser.
Débranchez le fil de la bougie avant de procéder à un quelconque entretien.
Portez des gants et une protection oculaire pour faire l'entretien de la machine.
Examinez la machine régulièrement et remplacez les pièces usées ou endommagées. Ne remplacez pas l'élément de coupe par des pièces métalliques ; utilisez uniquement les éléments de coupe prévus pour la vitesse de fonctionnement de la machine.
N'enlevez pas et ne modifiez pas les dispositifs de sécurité. Vérifiez régulièrement qu'ils fonctionnent correctement.
Du carburant peut s'échapper lorsque la machine est basculée sur le côté. Le carburant est inflammable et explosif, et peut causer des blessures. Laissez tourner le moteur jusqu'à ce qu'il s'arrête faute de carburant ou vidangez le reste du carburant avec une pompe manuelle ; ne siphonnez jamais le carburant.
Gardez toutes les fixations bien serrées pour garantir l'utilisation sûre de la machine.
Ne modifiez pas le réglage du régulateur et ne faites pas tourner le moteur à un régime excessif.
Pour garantir un rendement optimal de la machine, utilisez uniquement des pièces de rechange et accessoires Toro d'origine. Les pièces de rechange et accessoires provenant d'autres constructeurs peuvent être dangereux, et leur utilisation risque d'annuler la garantie de la machine.
Du carburant peut s'échapper lorsque la machine est basculée sur le côté. Le carburant est inflammable et explosif, et peut causer des blessures.
Laissez tourner le moteur jusqu'à ce qu'il s'arrête faute de carburant ou vidangez le reste du carburant avec une pompe manuelle ; ne siphonnez jamais le carburant.
Important: Basculez toujours la machine sur le côté, jauge en bas. Si vous basculez la machine avec la jauge en haut, de l'huile peut s'écouler dans le système de distribution et vous devrez alors patienter 30 minutes avant qu'elle soit vidangée.
Coupez le moteur et attendez l'arrêt complet de toutes les pièces mobiles.
Amenez la machine sur une surface plane et horizontale.
Débranchez le fil de la bougie (Figure 32).

Fermez le robinet d'arrivée de carburant ; voir Robinet d'arrivée de carburant.
Important: Videz le réservoir de carburant si vous réparez la machine.
Après avoir effectué un entretien, ouvrez le robinet d'arrivée de carburant et rebranchez le fil de la bougie.
| Périodicité d'entretien | Procédure d'entretien |
|---|---|
| Une fois par an |
|
Appuyez sur les languettes de verrouillage en haut du couvercle du filtre à air (Figure 33).

Déposez le couvercle.
Déposez l'élément filtrant (Figure 33).
Examinez l'élément en papier.
Remplacez l'élément filtrant s'il est endommagé, imbibé d'huile ou de carburant et excessivement encrassé.
Si le filtre est encrassé, tapotez-le à plusieurs reprises sur une surface dure ou soufflez de l'air comprimé à moins de 2,07 bar par le coté du filtre qui est face au moteur.
Note: Ne brossez pas le filtre pour le nettoyer, car cela aura pour effet d'incruster la saleté dans les fibres.
Nettoyez la base et le couvercle du filtre à air avec un chiffon humide. Ne faites pas pénétrer de poussière dans le conduit d'air.
Insérez l'élément filtrant dans la base du filtre.
Remettez le couvercle en place.
Classe de service API : SJ ou mieux
Viscosité de l'huile : 10W-30
| Périodicité d'entretien | Procédure d'entretien |
|---|---|
| À chaque utilisation ou une fois par jour |
|
Préparez la machine pour l'entretien ; voir Préparation à l'entretien.
Retirez la jauge du goulot de remplissage et essuyez-la sur un chiffon propre.
Insérez la jauge au fond du goulot de remplissage, puis ressortez-la.
Important: Ne vissez pas la jauge dans le goulot de remplissage
Vérifiez le niveau d'huile indiqué sur la jauge.

Si le niveau d'huile est près ou en dessous du repère inférieur sur la jauge (Figure 34), versez lentement l'huile moteur spécifiée dans le goulot de remplissage (Figure 35) et attendez 3 minutes.

Essuyez la jauge sur un chiffon propre et répétez les opérations 3 à 5 jusqu'à ce que le niveau atteigne la limite supérieure.
Insérez la jauge dans le goulot de remplissage et serrez-la solidement à la main.
| Périodicité d'entretien | Procédure d'entretien |
|---|---|
| Après les 5 premières heures de fonctionnement |
|
| Toutes les 25 heures |
|
Si le moteur est froid, laissez-le tourner 1 à 2 minutes pour réchauffer l'huile.
Vérifiez que le réservoir de carburant est pratiquement ou complètement vide pour éviter toute fuite de carburant quand vous couchez la machine sur le côté.
Préparez la machine pour l'entretien ; voir Préparation à l'entretien.
Retirez la jauge du goulot de remplissage et essuyez-la sur un chiffon propre.
Placez un bac de vidange sur le sol sous le plateau, du côté du goulot de remplissage de la machine (Figure 35).

Basculez la machine sur le côté avec le goulot de remplissage pour vidanger l'huile par le goulot de remplissage.
Important: Basculez toujours la machine sur le côté, jauge en bas. Si vous basculez la machine dans une autre direction, de l'huile peut s'écouler dans le système de distribution et vous devrez alors patienter 30 minutes avant qu'elle soit vidangée.
Redressez la machine à la position normale d'utilisation.
Nettoyez l'huile éventuellement répandue sur la machine.
Note: Débarrassez-vous correctement de l'huile usagée en la déposant dans un centre de recyclage agréé.
Capacité du carter d'huile : 0,40 l
Versez lentement l'huile moteur spécifiée dans le goulot de remplissage (Figure 35), puis attendez 3 minutes.

Insérez la jauge au fond du goulot de remplissage, puis ressortez-la.
Important: Ne vissez pas la jauge dans le goulot de remplissage
Vérifiez le niveau d'huile indiqué sur la jauge (Figure 38).
Note: Si vous remplissez excessivement le carter moteur, vidangez l'excédent d'huile ; voir Vidange de l'huile moteur.

Si le niveau d'huile est au-dessus de la limite supérieure, essuyez la jauge sur un chiffon propre et répétez les opérations 1 à 3 jusqu'à ce que le niveau atteigne la limite supérieure.
Insérez la jauge dans le goulot de remplissage et serrez-la solidement à la main.
| Périodicité d'entretien | Procédure d'entretien |
|---|---|
| Toutes les 100 heures |
|
Spécifications de la bougie : Champion RN9YC ou équivalent.
Préparez la machine pour l'entretien ; voir Préparation à l'entretien.
Nettoyez la surface autour de la bougie.
Retirez la bougie de la culasse.
Important: Remplacez la bougie si elle est usée, endommagée ou encrassée. Ne nettoyez pas les électrodes, car des particules pourraient tomber dans la culasse et endommager le moteur.
Réglez l'écartement (Figure 39) entre électrodes centrale et latérale à 0,76 mm.

Montez la bougie et le joint.
Serrez la bougie à 20 N·m.
Rebranchez le fil de la bougie.
La lame est tranchante et vous pouvez vous blesser gravement à son contact.
Débranchez le fil de la bougie.
Portez des gants anti-coupures pour effectuer l'entretien de la lame.
| Périodicité d'entretien | Procédure d'entretien |
|---|---|
| À chaque utilisation ou une fois par jour |
|
Préparez la machine pour l'entretien ; voir Préparation à l'entretien.
Basculez la machine sur le côté, avec le goulot de remplissage en bas.
Important: Basculez toujours la machine sur le côté, jauge en bas. Si vous basculez la machine dans une autre direction, de l'huile peut s'écouler dans le système de distribution et vous devrez alors patienter 30 minutes avant qu'elle soit vidangée.

Vérifiez régulièrement que la lame n'est pas usée ni endommagée.
Si la lame est endommagée ou fêlée, déposez-la et remplacez-la immédiatement.
Si une lame est émoussée ou ébréchée, déposez-la, aiguisez ou remplacez-la, puis remettez-la en place.
Redressez la machine en position normale.
| Périodicité d'entretien | Procédure d'entretien |
|---|---|
| Une fois par an |
|
Important: Une clé dynamométrique est nécessaire pour monter la lame. Si vous n'en possédez pas ou si vous ne vous sentez pas capable d'effectuer cette procédure, contactez un distributeur Toro agréé ou un concessionnaire-réparateur agréé.
Préparez la machine pour l'entretien ; voir Préparation à l'entretien.
Basculez la machine sur le côté, avec le goulot de remplissage en bas.
Important: Basculez toujours la machine sur le côté, jauge en bas. Si vous basculez la machine dans une autre direction, de l'huile peut s'écouler dans le système de distribution et vous devrez alors patienter 30 minutes avant qu'elle soit vidangée.

Notez la position des entretoises.

Immobilisez la lame avec un morceau de bois (Figure 43).

Déposez la lame à l'aide de la clé fournie avec la machine en tournant le boulon dans le sens antihoraire (Figure 42).
Important: Portez des lunettes de sécurité et des gants anti-coupures pour déposer la lame.
Tournez les extrémités courbes de la lame vers le plateau de coupe et fixez la douille de retenue, la lame, les entretoises et l'entretoise conique sur la turbine avec le boulon.
Important: Vous devez toujours placer l'entretoise conique juste sous la turbine et la douille de retenue sous la tête du boulon.

Serrez le boulon de la lame à 25 N·m.
Note: Un boulon vissé à 25 N·m est très serré. Bloquez la lame une cale en bois, appuyez de tout votre poids sur la clé dynamométrique, et serrez le boulon.

Redressez la machine en position normale.
Avant de quitter la position d'utilisation, coupez le moteur, enlevez la clé (selon l'équipement) et attendez l'arrêt complet de tout mouvement. Laissez refroidir la machine avant de la régler, d'en faire l'entretien, de la nettoyer ou de la remiser.
Laissez refroidir le moteur avant de ranger la machine dans un local fermé.
Laissez refroidir le moteur avant de ranger la machine dans un local fermé.
Ne remisez jamais la machine ni les bidons de carburant à proximité d'une flamme nue, d'une source d'étincelles ou d'une veilleuse, telle celle d'un chauffe-eau ou d'autres appareils.
Pour éviter les risques d'incendie, enlevez l'herbe, les feuilles et les débris qui sont déposés sur le silencieux et le compartiment moteur.
Les vapeurs de carburant sont explosives.
Ne conservez pas le carburant plus d'un mois.
Ne remisez pas la machine dans un local fermé où se trouve une flamme nue.
Laissez refroidir le moteur avant de remiser la machine.
Lors du dernier plein de la saison, ajoutez un stabilisateur au carburant selon les instructions du constructeur du moteur.
Laissez tourner le moteur de la machine jusqu'à ce qu'il s'arrête faute de carburant.
Remettez le moteur en marche et laissez-le tourner jusqu'à ce qu'il s'arrête. Le circuit de carburant est vide quand vous ne pouvez plus démarrer le moteur.
Débranchez le fil de la bougie.
Retirez la bougie d'allumage et versez 30 ml d'huile dans l'orifice. Tirez ensuite la poignée du lanceur lentement à plusieurs reprises pour bien répartir l'huile à l'intérieur du cylindre.
Remettez la bougie en place à la main et serrez-la à 20 N·m.
Vérifiez régulièrement que la lame n'est pas usée ni endommagée. Si la lame est émoussée, faites-la aiguiser ; si elle est endommagée, remplacez-la.
Serrez tous les écrous, boulons et vis.
Remisez la machine dans un local frais, propre et sec.
| Problem | Possible Cause | Corrective Action |
|---|---|---|
| Le moteur ne démarre pas. |
|
|
| Le moteur démarre difficilement ou perd de la puissance. |
|
|
| Le moteur ne tourne pas régulièrement. |
|
|
| La machine ou le moteur vibre excessivement. |
|
|
| La tonte n'est pas uniforme. |
|
|