| Wartungsintervall | Wartungsmaßnahmen |
|---|---|
| Bei jeder Verwendung oder täglich |
|
Diese Maschine ist für gewerbliche Betreiber zur Rasenpflege an Hängen, engen Wellen, in der Nähe von Gewässern, oder Bunkerlippen bestimmt. Der zweckfremde Einsatz dieser Maschine kann für Sie und Unbeteiligte gefährlich sein.
Lesen Sie diese Informationen sorgfältig durch, um sich mit dem ordnungsgemäßen Einsatz und der Wartung des Geräts vertraut zu machen und Verletzungen und eine Beschädigung des Geräts zu vermeiden. Sie tragen die Verantwortung für einen ordnungsgemäßen und sicheren Einsatz des Geräts.
Besuchen Sie https://www.toro.com/de-de für weitere Informationen, einschließlich Sicherheitstipps, Schulungsunterlagen, Zubehörinformationen, Standort eines Händlers oder Registrierung des Produkts.
Wenden Sie sich an den Toro-Vertragshändler oder Kundendienst, wenn Sie eine Serviceleistung, Originalersatzteile von Toro oder weitere Informationen benötigen. Haben Sie dafür die Modell- und Seriennummern der Maschine griffbereit. In Bild 1 ist angegeben, wo an dem Produkt die Modell- und die Seriennummer angebracht sind. Tragen Sie hier die Modell- und Seriennummern des Geräts ein.
Important: Scannen Sie mit Ihrem Mobilgerät den QR-Code auf dem Seriennummernaufkleber (falls vorhanden), um auf Garantie-, Ersatzteil- oder andere Produktinformationen zuzugreifen.

Tragen Sie die Modell- und Seriennummern des Produkts unten ein:
In dieser Anleitung werden potenzielle Gefahren angeführt, und Sicherheitshinweise werden vom Sicherheitswarnsymbol (Bild 2) gekennzeichnet. Dieses Warnsymbol weist auf eine Gefahr hin, die zu schweren oder tödlichen Verletzungen führen kann, wenn Sie die empfohlenen Sicherheitsvorkehrungen nicht einhalten.

In dieser Anleitung werden zwei Begriffe zur Hervorhebung von Informationen verwendet. Wichtig weist auf spezielle technische Informationen hin, und Hinweis hebt allgemeine Informationen hervor, die Ihre besondere Beachtung verdienen.
Dieses Produkt entspricht allen relevanten europäischen Richtlinien. Weitere Angaben finden Sie in den produktspezifischen Konformitätsbescheinigungen.
Brutto- oder Nettodrehmoment: Das Brutto- oder Nettodrehmoment dieses Motors wurde vom Motorhersteller im Labor gemäß SAE J1940 oder J2723 ermittelt. Aufgrund der Konfiguration zur Erfüllung von Sicherheits-, Emissions- und Betriebsanforderungen ist die tatsächliche Motorleistung in dieser Klasse der Rasenmäher wesentlich niedriger. Weitere Informationen finden Sie in der Motorbedienungsanleitung des Herstellers, die mit der Maschine ausgeliefert wurde.
Important: Lesen Sie diese Bedienungsanleitung sorgfältig durch, bevor Sie die Maschine benutzen, und bewahren Sie sie zum späteren Nachschlagen auf.
Dieses Produkt kann Hände und Füße amputieren und Gegenstände aufschleudern. Befolgen Sie zum Vermeiden von schweren Verletzungen immer alle Sicherheitshinweise.
Lesen und verstehen Sie vor dem Anlassen des Motors den Inhalt dieser Bedienungsanleitung.
Halten Sie Hände und Füße von beweglichen Teilen fern.
Bedienen Sie die Maschine niemals, wenn nicht alle Schutzvorrichtungen und Abdeckungen angebracht und funktionstüchtig sind.
Halten Sie Unbeteiligte, insbesondere Kinder, aus dem Arbeitsbereich fern. Das Fahrzeug darf niemals von Kindern betrieben werden. Lassen Sie nur Personen zu, die verantwortungsbewusst, geschult, mit den Anweisungen vertraut, und körperlich in der Lage sind, die Maschine zu bedienen. Örtliche Vorschriften bestimmen u. U. das Mindestalter von Bedienern.
Stellen Sie vor dem Verlassen des Fahrersitzes den Motor ab, ziehen Sie den Schlüssel ab (sofern vorhanden) und warten Sie, bis alle beweglichen Teile zum Stillstand gekommen sind. Lassen Sie die Maschine abkühlen, bevor Sie sie einstellen, warten, reinigen, oder einlagern.
Der unsachgemäße Einsatz oder die falsche Wartung
dieser Maschine kann zu Verletzungen führen. Halten Sie diese
Sicherheitsanweisungen ein, um das Verletzungsrisiko zu verringern.
Achten Sie immer auf das Sicherheitswarnsymbol
, es bedeutet Vorsicht,
Warnung oder Gefahr – Sicherheitshinweis“. Wenn
diese Hinweise nicht beachtet werden, kann es zu schweren bis tödlichen
Verletzungen kommen.
![]() |
Die Sicherheitsaufkleber und Bedienungsanweisungen sind gut sichtbar; sie befinden sich in der Nähe der möglichen Gefahrenbereiche. Tauschen Sie beschädigte oder verloren gegangene Aufkleber aus. |




Für diesen Arbeitsschritt erforderliche Teile:
| Unterer Führungsholm | 1 |
| Fußanschlag | 1 |
| Unterlegscheibe (6 mm) | 2 |
| Sicherungsmutter (6 mm) | 1 |
Note: Sie können den Fußanschlag nur dann zur Unterstützung des Holms in der vertikalen Position verwenden, wenn Sie den Holm in der unteren Stellung von 103,4 cm montieren.

Ermitteln Sie die Holmhöhe, wenn der Fußanschlag an der Halterung des Höhenanschlags befestigt ist (Bild 3).
Fluchten Sie das Loch im Fußanschlag mit dem Loch im unteren Führungsholm aus (Bild 4).

Befestigen Sie den Fußanschlag mit zwei Unterlegscheiben (6 mm) und einer Sicherungsmutter (6 mm) am Führungsholm.
Ziehen Sie die Sicherungsmutter an.
Note: Vergewissern Sie sich, dass Sie den Fußanschlag schwenken können.
Für diesen Arbeitsschritt erforderliche Teile:
| T-Buchsen | 4 |
| Splint | 2 |
| Unterlegscheibe (6 mm) | 6 |
| Splint | 2 |
| Handrad | 2 |
| U-Bügel | 2 |
| Holmverbindung | 1 |
| Oberer Bügel | 1 |
| Schraube (¼" x 1¾") | 1 |
| Sicherungsmutter (¼") | 1 |
Setzen Sie die beiden T-Buchsen in die Holmflansche des Mähwerks ein (Bild 5).

Richten Sie den Fußanschlag des Holms auf den Höhenanschlag am Mähwerk aus (Bild 6).

Richten Sie die Bohrung im Holm mit den Bohrungen in den Buchsen (Bild 7) aus und befestigen Sie den Holm mit einem Federsplint, zwei Unterlegscheiben (6 mm) und einer Splint an der Maschine.

Wiederholen Sie den Schritt 3 an der anderen Seite der Maschine.
Fluchten Sie die Löcher im oberen Holm mit den Löchern im unteren Holm aus (Bild 8).

Montieren Sie den oberen Holm am unteren Lenker mit den beiden Bügelschrauben, zwei Unterlegscheiben (6 mm) und zwei Sterngriffmuttern.
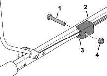
Stecken Sie das Anschlussstück am Ende des Kabelzugmantels in die obere Buchse der Holmverbindung (Bild 9).

Drücken Sie die Seite des Schaltbügels zusammen, bis Sie ihn vom oberen Holm abnehmen können, und nehmen Sie den Schaltbügel von der Maschine ab (Bild 10).

Führen Sie das Anschlussstück des Kabelzugs durch das Loch in der Halterung des Schaltbügels, wie in Bild 11 dargestellt.

Stecken Sie das Ende des Schaltbügels in den Holm, drücken Sie den Schaltbügel leicht zusammen und stecken Sie das Ende des Schaltbügels in den Holm (Bild 13).

Befestigen Sie das Anschlussstück des Kabelzugs am oberen Holm (Bild 14) mit der Schraube (¼" x 1¾") und der Sicherungsmutter (¼").

Important: Die Maschine hat bei der Auslieferung kein Öl im Motor. Vor dem Starten des Motors muss Öl in den Motor eingefüllt werden.
API-Klassifikation: SJ oder höher.
Ölviskosität: 10W-30 Öl
Ölmenge: 0,40 l
Stellen Sie die Maschine auf einer ebenen Fläche ab.
Entfernen Sie den Peilstab aus dem Öleinfüllstutzen und wischen Sie ihn mit einem sauberen Lappen ab (Bild 14).

Gießen Sie das angegebene Motoröl langsam in den Öleinfüllstutzen (Bild 15) und warten Sie 3 Minuten.

Stecken Sie den Peilstab vollständig in den Öleinfüllstutzen und ziehen ihn dann wieder heraus.
Prüfen Sie den Ölstand am Peilstab (Bild 16).
Note: Wenn Sie zu viel Öl in den Motor gefüllt haben, lassen Sie etwas Öl ab; siehe Ablassen des Motoröls.

Wenn der Ölstand unter der oberen Füllstandsmarke liegt, wischen Sie den Ölpeilstab mit einem sauberen Lappen ab und wiederholen Sie die Schritte 3 bis 5, bis der Motorölstand die obere Füllstandsmarke erreicht hat.
Führen Sie den Ölpeilstab in den Öleinfüllstutzen ein und ziehen Sie den Ölpeilstab mit der Hand fest an.



Der Schaltbügel (Bild 19) steuert die Schwungradbremse und die Zündung des Motors.
Drücken Sie den Schaltbügel gegen den Holm, um den Motor zu starten.
Lassen Sie den Schaltbügel zum Abstellen des Motors los.
Verwenden Sie das Kraftstoffhahn (Bild 19), um den Kraftstofffluss zum Motor zu steuern.
Schließen Sie beim Transport, der Wartung oder zur Aufbewahrung der Maschine den Kraftstoffhahn.
Öffnen Sie den Kraftstoffhahn, um den Motor zu starten.
|
Modell |
Schnittbreite |
Produktbreite |
|---|---|---|
|
02617 |
53 cm |
63,5 cm |
Ein Sortiment an Originalanbaugeräten und -zubehör von Toro wird für diese Maschine angeboten, um den Funktionsumfang des Geräts zu erhöhen und zu erweitern. Wenden Sie sich an einen offiziellen Toro-Vertragshändler oder navigieren Sie auf https://www.toro.com/de-de für eine Liste der zugelassenen Anbaugeräte und des Zubehörs.
Verwenden Sie, um die optimale Leistung und Sicherheit zu gewährleisten, nur Originalersatzteile und -zubehörteile von Toro. Ersatzteile und Zubehör anderer Hersteller können gefährlich sein und eine Verwendung könnte die Garantie ungültig machen.
Stellen Sie vor dem Verlassen des Fahrersitzes den Motor ab, ziehen Sie den Schlüssel ab (sofern vorhanden) und warten Sie, bis alle beweglichen Teile zum Stillstand gekommen sind. Lassen Sie die Maschine abkühlen, bevor Sie sie einstellen, warten, reinigen, oder einlagern.
Machen Sie sich mit dem sicheren Einsatz des Geräts, der Bedienelemente und den Sicherheitsaufklebern vertraut.
Prüfen Sie, ob alle Schutzvorrichtungen und Sicherheitsvorrichtungen montiert sind und richtig funktionieren.
Überprüfen Sie immer die Maschine und stellen Sie sicher, dass die Schnittmesser, -schrauben und das Mähwerk nicht abgenutzt oder beschädigt sind.
Prüfen Sie den Arbeitsbereich der Maschine und entfernen Sie alle Objekte die sich auf den Einsatz der Maschine auswirken oder von ihr aufgeschleudert werden könnten.
Wenn Sie die Schnitthöhe einstellen, können Sie mit dem Messer in Kontakt kommen und schwere Verletzungen erleiden.
Ersetzen Sie einen defekten Schalldämpfer.
Kraftstoff ist hochentzündlich und hochexplosiv. Feuer und Explosionen durch Kraftstoff können Verbrennungen und Sachschäden verursachen.
Stellen Sie den Kanister bzw. die Maschine vor dem Auftanken auf den Boden und nicht auf ein Fahrzeug oder auf ein Objekt, um eine elektrische Ladung durch das Entzünden des Kraftstoffs zu vermeiden.
Füllen Sie Kraftstoff nur im Außenbereich in den Kraftstofftank ein oder lassen Sie ihn ab, wenn der Motor kalt ist. Wischen Sie verschütteten Kraftstoff auf.
Füllen Sie den Kraftstofftank im Freien auf, wenn der Motor kalt ist. Wischen Sie verschütteten Kraftstoff auf.
Rauchen Sie nicht beim Umgang mit Kraftstoff, und gehen Sie nicht in der Nähe von offenem Feuer oder Funken mit Kraftstoff um.
Betanken Sie die Maschine nie bei laufendem oder heißem Motor oder entfernen Sie den Tankdeckel.
Lassen Sie den Motor nie bei Kraftstoffverschüttungen an. Vermeiden Sie, dass Sie Zündquellen schaffen, bis die Kraftstoffdämpfe verdunstet sind.
Bewahren Sie Kraftstoff in vorschriftsmäßigen, für Kinder unzugänglichen Kanistern auf.
Bringen Sie den Deckel des Kraftstofftanks und aller Kraftstoffbehälter wieder fest an.
Kraftstoff ist bei Einnahme gesundheitsschädlich oder tödlich. Wenn eine Person langfristig Benzindünsten ausgesetzt ist, kann dies zu schweren Verletzungen und Krankheiten führen.
Vermeiden Sie das langfristige Einatmen von Benzindünsten.
Halten Sie Ihre Hände und das Gesicht vom Füllstutzen und der Öffnung des Kraftstofftanks fern.
Halten Sie Kraftstoff von Augen und der Haut fern.
| Typ | Bleifreies Benzin |
| Minimale Oktanzahl | 87 (US) oder 91 (Oktanzahl ermitteln; außerhalb der USA) |
| Ethanol | Nicht über 10% Volumenprozent |
| Methanol | Keine |
| MTBE (Methyl-tertiär-Butylether) | Weniger als 15% Volumenprozent |
| Öl | Vermischen Sie nie Kraftstoff mit Öl |
Verwenden Sie nur sauberen, frischen Kraftstoff (höchstens 30 Tage alt) von einem namhaften Hersteller/Quelle.
Important: Geben Sie die Menge des Kraftstoffstabilisators bzw. -konditionierers in den frischen Kraftstoff, wie vom Hersteller des Kraftstoffstabilisators vorgeschrieben, um Startprobleme zu vermeiden.
Note: Weitere Informationen finden Sie in der Bedienungsanleitung für den Motor.
Reinigen Sie den Bereich um den Tankdeckel und nehmen den Deckel ab.
Füllen Sie den Kraftstofftank mit dem angegebenen Kraftstoff, wie in Bild 20 dargestellt.

Setzen Sie den Deckel des Kraftstofftanks wieder auf.
Siehe Prüfen des Motorölstands.
Tragen Sie geeignete Kleidung, u. a. eine Schutzbrille, lange Hosen, rutschfeste Arbeitsschuhe und einen Gehörschutz. Binden Sie lange Haare hinten zusammen und tragen Sie keinen Schmuck oder weite Kleidung.
Konzentrieren Sie sich immer bei der Verwendung der Maschine. Tun Sie nichts, was Sie ablenken könnte, sonst können Verletzungen oder Sachschäden auftreten.
Bedienen Sie die Maschine nicht, wenn Sie müde oder krank sind oder unter Alkohol- oder Drogeneinfluss stehen.
Kuppeln Sie das Messer und alle Antriebskupplungen aus, bevor Sie den Motor starten.
Lassen Sie den Motor gemäß der Anweisungen an. Halten Sie dabei Ihre Füße vom Messer fern.
Kippen Sie die Maschine nicht mehr als nötig, um den Motor zu starten, und heben Sie nur den Teil an, der von Ihnen entfernt liegt.
Stellen Sie vor dem Verlassen des Fahrersitzes den Motor ab, ziehen Sie den Schlüssel ab (sofern vorhanden) und warten Sie, bis alle beweglichen Teile zum Stillstand gekommen sind. Lassen Sie die Maschine abkühlen, bevor Sie sie einstellen, warten, reinigen, oder einlagern.
Wenn Sie die elektronische Sicherheit loslassen, sollten der Motor und das Messer innerhalb von 3 Sekunden abgestellt werden. Wenn dies nicht der Fall ist, setzen Sie die Maschine nicht mehr ein und wenden sich sofort an einen offiziellen Vertragshändler.
Halten Sie Unbeteiligte, besonders Kinder und Haustiere, aus dem Arbeitsbereich fern. Halten Sie kleine Kinder aus dem Mähbereich fern und unter Aufsicht eines verantwortlichen Erwachsenen, der nicht die Maschine bedient. Stellen Sie, wenn jemand den Arbeitsbereich betritt, sofort die Maschine ab.
Setzen Sie die Maschine nur bei guten Sichtverhältnissen und geeigneten Witterungsbedingungen ein. Fahren Sie die Maschine nie bei Gewitter, bzw. wenn Gefahr durch Blitzschlag besteht.
Nasses Gras und/oder nasse Blätter können zu schweren Verletzungen führen, sollten Sie darauf ausrutschen und mit dem Messer in Berührung kommen. Vermeiden Sie falls möglich Mäharbeiten bei nassen Umgebungsbedingungen.
Gehen Sie beim Anfahren von blinden Ecken, Sträuchern, Bäumen und anderen Gegenständen, die Ihre Sicht behindern können, vorsichtig vor.
Achten Sie auf Löcher, Rillen, Bodenwellen, Steine oder andere verborgene Objekte. Unebenes Gelände kann dazu führen, dass Sie das Gleichgewicht oder den Halt verlieren.
Stellen Sie den Motor sofort ab, wenn der Mäher auf einen Gegenstand aufprallt oder anfängt zu vibrieren, warten, bis alle beweglichen Teile zum Stillstand gekommen sind, und ziehen den Zündkerzenstecker ab, bevor Sie den Mäher auf eventuelle Beschädigungen untersuchen. Führen Sie die erforderlichen Reparaturarbeiten aus, bevor Sie die Maschine erneut einsetzen.
Heben Sie die Maschine nie bei laufendem Motor an oder tragen sie.
Der Motor ist nach dem Betrieb sehr heiß und Sie könnten sich verbrennen. Berühren Sie nie den heißen Motor.
Motorabgase enthalten Kohlenmonoxid, das beim Einatmen tödlich ist. Lassen Sie den Motor nie in geschlossenen Räumen laufen.
Verwenden Sie nur von Toro zugelassenes Zubehör und zugelassene Anbaugeräte.
Hanglagen sind eine wesentliche Ursache für einen Kontrollverlust, der zu schweren ggf. tödlichen Verletzungen führen kann. Sie sind für den sicheren Einsatz an Hanglagen verantwortlich. Das Einsetzen der Maschine an jeder Hanglage erfordert große Vorsicht. Vor dem Einsatz der Maschine an einer Hanglage muss Folgendes durchgeführt werden:
Lesen und verstehen Sie die Anweisungen zu Hanglagen in der Bedienungsanleitung.
Schätzen Sie den Zustand des Geländes an diesem Tag ein, um zu ermitteln, ob die Maschine sicher an der Hanglage eingesetzt werden kann. Verwenden Sie gesunden Menschenverstand und ein gutes Urteilsvermögen bei der Durchführung dieser Beurteilung. Veränderungen im Gelände, u. a. Feuchtigkeit, können sich schnell auf den Einsatz der Maschine an einer Hanglage auswirken.
Achten Sie immer auf festen Stand und halten die Griffe sicher fest. Gehen Sie, laufen Sie nie.
Mähen Sie immer quer zum Hang, niemals hangaufwärts oder -abwärts.
Gehen Sie beim Richtungswechsel an Hängen äußerst vorsichtig vor.
Versuchen Sie nicht, steile Hänge zu mähen.
Seien Sie äußerst vorsichtig, wenn Sie das Gerät zurücksetzen oder in Ihre Richtung ziehen.
Vermeiden Sie ein Mähen auf nassem Gras. Ein schlechter Halt kann zu Rutsch- und Fallunfällen führen.
Entfernen oder markieren Sie Hindernisse, u. a. Gräben, Löcher, Rillen, Bodenwellen, Steine oder andere verborgene Gefahren. Hohes Gras kann Hindernisse verdecken.
Gehen Sie bei Mäharbeiten in der Nähe von steilen Gefällen, Gräben oder Böschungen besonders vorsichtig vor.
Fassen Sie beim Verwenden der Maschine den Holm immer mit beiden Händen an.
Wenn Sie von der Oberseite eines Hangs aus mähen und eine größere Reichweite benötigen, verwenden Sie einen zugelassenen verlängerten Holm.

Drehen Sie den Griff des Kraftstoffhahns in die horizontale Stellung, um das Ventil zu öffnen.
Drehen Sie den Griff des Kraftstoffhahns in die senkrechte Stellung, um das Ventil zu schließen.
Offen Sie den Kraftstoffhahn; siehe Kraftstoffhahn.
Ziehen Sie den Schaltbügel gegen den Holm.

Stellen Sie den Fuß auf das Mähwerk und kippen Sie die Maschine in ihre Richtung (Bild 23).

Halten Sie den Schaltbügel fest und ziehen Sie den Rücklaufstartergriff.
Note: Wenn der Rasenmäher nach mehreren Versuchen nicht anspringt, wenden Sie sich an Ihre offizielle Vertragswerkstatt oder einen offiziellen Toro Vertragshändler.
| Wartungsintervall | Wartungsmaßnahmen |
|---|---|
| Bei jeder Verwendung oder täglich |
|
Lassen Sie zum Abstellen des Motors den Schaltbügel los (Bild 24).
Important: Wenn Sie den Schaltbügel loslassen, sollten der Motor und die Mähscheibe innerhalb von 3 Sekunden abgestellt werden. Werden sie nicht ordnungsgemäß abgestellt, setzen Sie die Maschine nicht mehr ein und wenden Sie sich an Ihre offizielle Vertragswerkstatt oder einen offiziellen Toro Vertragshändler.

Note: Wenn Sie den Holm in der unterer Stellung von 103,4 cm montiert haben, verwenden Sie den Fußanschlag, um den Holm in der vertikalen Stellung zu halten.

Um den Holm zu entriegeln, heben Sie den Holm an und drehen Sie den Fußanschlag nach vorne (Bild 25).
Positionieren Sie den Holm und drehen Sie den Fußanschlag nach hinten, um den Holm abzustützen.
Wenn Sie die Schnitthöhe einstellen, können Sie mit dem Messer in Kontakt kommen und schwere Verletzungen erleiden.
Stellen Sie den Motor ab und warten Sie, bis alle beweglichen Teile zum Stillstand gekommen sind.
Tragen Sie bei der Handhabung des Messers schnittfeste Handschuhe.
Wenn der Motor gelaufen ist, ist der Auspuff sehr heiß und Sie könnten sich verbrennen.
Berühren Sie nie den heißen Auspuff.
Schließen Sie den Kraftstoffhahn; siehe Kraftstoffhahn.
Schließen Sie den Zündkerzenstecker ab.
Kippen Sie die Maschine so seitlich, dass der Ölpeilstab nach unten zeigt.
Important: Kippen Sie die Maschine immer so auf die Seite, dass der Ölpeilstab nach unten zeigt. Wenn die Maschine in eine andere Richtung gekippt wird, kann Öl in die Ventiltriebe fließen und Sie müssen mindestens 30 Minuten warten, bis es abgelaufen ist.

Stabilisieren Sie das Messer mit einem Holzblock (Bild 27).

Verwenden Sie den mitgelieferten Schraubenschlüssel, um das Messer zu entfernen, dabei die Schraube gegen den Uhrzeigersinn drehen (Bild 27).
Important: Tragen Sie beim Ausbau des Messers eine Schutzbrille und schnittfeste Handschuhe.
Ändern Sie die Position der Distanzstücke, um die Schnitthöhe einzustellen, wie in Bild 28 dargestellt.
Note: Jedes Distanzstück verändert die Schnitthöhe des Messers um 6,3 mm.

Richten Sie die gebogenen Enden des Messers zum Mähwerk hin aus und montieren Sie den Halter, das Messer, die Distanzstücke und das konische Distanzstück mit der Schraube am Laufrad.
Important: Montieren Sie das konische Distanzstück immer direkt unter dem Laufrad und die Halterung unter dem Schraubenkopf.

Ziehen Sie die Messerschraube auf ein Drehmoment von 25 N∙m an.
Note: Eine mit 25 N∙m angezogene Schraube sitzt sehr fest. Arretieren Sie das Messer mit einem Holzstück, und verlagern Sie gleichzeitig Ihr Gewicht auf den Drehmomentschlüssel und ziehen Sie die Schraube fest.

Kippen Sie die Maschine an, schließen Sie das Zündkabel an die Zündkerze an und öffnen Sie den Kraftstoffhahn.
Legen Sie den Bügel des Fußanschlags unter den Höhenanschlag, um die Handhabung der Maschine zu verbessern.

Prüfen Sie den Arbeitsbereich gründlich und entfernen Sie alle Objekte, die von der Maschine aufgeschleudert werden könnten.
Vermeiden Sie, dass das Messer auf Fremdkörper aufprallt. Mähen Sie nie absichtlich über irgendwelchen Gegenständen.
Stellen Sie den Motor sofort ab, wenn der Mäher auf einen Gegenstand aufprallt oder anfängt zu vibrieren, ziehen den Kerzenstecker von der Zündkerze und untersuchen Sie den Mäher auf eventuelle Beschädigungen.
Um die beste Leistung zu erzielen, sollten Sie sicherstellen, dass das Messer vor Beginn der Mähsaison scharf ist.
Ersetzen Sie ein beschädigtes Messer durch ein neues Toro Ersatzmesser.
Stellen Sie sicher, dass ein geschärftes Messer dieselbe Länge wie der intakte Schneidfaden hat.
Mähen Sie immer nur ein Drittel des Grashalms in einem Durchgang. Mähen Sie nur unter der höchsten Einstellung (30 mm), wenn das Gras sehr fein wächst oder im Spätherbst, wenn sich das Graswachstum verlangsamt; siehe Einstellen der Schnitthöhe.
Mähen Sie kein Gras mit einer Länge von mehr als 15 cm, da die Maschine verstopfen oder der Motor abwürgen könnte.
Nasses Gras und Laub neigen zum Verklumpen im Garten und können ein Verstopfen der Maschine und ein Abstellen des Motors verursachen. Mähen Sie (falls möglich) nur bei trockenen Bedingungen.
Nasses Gras oder Laub können zu schweren Verletzungen führen, sollten Sie darauf ausrutschen und mit dem Messer in Berührung kommen.
Mähen Sie (falls möglich) nur bei trockenen Bedingungen.
In sehr trockenen Bedingungen besteht eine Brandgefahr. Halten Sie alle lokalen Brandgefahrwarnungen ein und entfernen Sie trockenes Gras und Laub von der Maschine.
Probieren Sie bei einem unbefriedigenden Schnittbild des Rasens eine der folgenden Abhilfen aus:
Prüfen Sie das Mähwerk und/oder tauschen Sie das Messer aus.
Gehen Sie beim Mähen langsamer.
Heben Sie die Schnitthöhe der Maschine an.
Mähen Sie häufiger.
Lassen Sie die Bahnen überlappen, anstelle bei jedem Gang eine neue Bahn zu mähen.
Stellen Sie nach dem Mähen sicher, dass die Hälfte des Rasens durch die Schnittgutdecke sichtbar ist. Dabei müssen Sie unter Umständen mehrmals über das Laub mähen.
Mähen Sie kein Gras, das länger als 15 cm ist. Wenn die Laubdecke zu dick ist, kann die Maschine verstopfen und der Motor kann abstellen.
Mähen Sie langsamer, wenn die Maschine das Laub nicht fein genug häckselt.
Stellen Sie vor dem Verlassen des Fahrersitzes den Motor ab, ziehen Sie den Schlüssel ab (sofern vorhanden) und warten Sie, bis alle beweglichen Teile zum Stillstand gekommen sind. Lassen Sie die Maschine abkühlen, bevor Sie sie einstellen, warten, reinigen oder einlagern.
Entfernen Sie Gras und Schmutz von der Maschine, um einem Brand vorzubeugen. Wischen Sie Öl- und Kraftstoffverschüttungen auf.
Lagern Sie die Maschine oder den Benzinkanister nie an Orten mit offener Flamme, Funken oder Zündflamme, z. B. Warmwasserbereiter, oder andere Geräte.
Befestigen Sie die Maschine.
Gehen Sie beim Laden und Abladen der Maschine auf einen/von einem Transportmittel vorsichtig vor.
| Wartungsintervall | Wartungsmaßnahmen |
|---|---|
| Nach jeder Verwendung |
|
Die Maschine kann Ablagerungen unter dem Maschinengehäuse lockern.
Tragen Sie eine Schutzbrille.
Bleiben Sie in der Einsatzstellung (hinter dem Holm).
Halten Sie Unbeteiligte vom Bereich fern.
Kippen Sie die Maschine so seitlich, dass der Ölpeilstab nach unten zeigt.
Important: Kippen Sie die Maschine immer so auf die Seite, dass der Ölpeilstab nach unten zeigt. Wenn die Maschine in eine andere Richtung gekippt wird, kann Öl in die Ventiltriebe fließen und Sie müssen mindestens 30 Minuten warten, bis es abgelaufen ist.
Entfernen Sie Gras und Rückstände mit einer Bürste oder Druckluft von der Auspuffschutzvorrichtung, der oberen Haube und den umgebenden Mähwerkbereichen.
Reinigen Sie die Kühlanlage und entfernen Sie Schnittgut, Schmutz- und Fettrückstände von den Kühlrippen des Motors und vom Anlasser.
Note: Reinigen Sie das Kühlsystem bei schmutzigen Bedingungen oder starkem Häckselaufkommen häufiger.
| Wartungsintervall | Wartungsmaßnahmen |
|---|---|
| Nach fünf Betriebsstunden |
|
| Bei jeder Verwendung oder täglich |
|
| Nach jeder Verwendung |
|
| Alle 25 Betriebsstunden |
|
| Alle 100 Betriebsstunden |
|
| Jährlich |
|
Stellen Sie vor dem Verlassen des Fahrersitzes den Motor ab, ziehen Sie den Schlüssel ab (sofern vorhanden) und warten Sie, bis alle beweglichen Teile zum Stillstand gekommen sind. Lassen Sie die Maschine abkühlen, bevor Sie sie einstellen, warten, reinigen, oder einlagern.
Ziehen Sie den Zündkerzenstecker ab, bevor Sie Wartungsarbeiten ausführen.
Tragen Sie beim Durchführen von Wartungsarbeiten Handschuhe und eine Schutzbrille.
Prüfen Sie die Maschine regelmäßig und wechseln Sie abgenutzte oder beschädigte Teile aus. Ersetzen Sie die Schneidelemente nicht durch Metallteile; verwenden Sie nur Mähelemente, die für den Einsatz bei der Betriebsgeschwindigkeit der Maschine geeignet sind.
Modifizieren Sie auf keinen Fall die Sicherheitsvorkehrungen. Prüfen Sie ihre einwandfreie Funktion in regelmäßigen Abständen.
Ein Kippen der Maschine kann zu einem Verschütten von Kraftstoff führen. Kraftstoff ist entflammbar, explosiv und kann Verletzungen verursachen. Lassen Sie den Motor laufen, bis kein Kraftstoff mehr im Tank ist, oder pumpen Sie den Kraftstoff ab. Sie sollten auf keinen Fall versuchen, Kraftstoff abzusaugen.
Halten Sie alle Befestigungselemente fest angezogen, damit die Maschine in einem sicheren Betriebszustand bleibt.
Verändern Sie nie die Einstellung des Motorfliehkraftreglers, und überdrehen Sie niemals den Motor.
Um eine optimale Leistung der Maschine zu gewährleisten, verwenden Sie nur Original Ersatzteile und Zubehör von Toro. Die Verwendung von Ersatzteilen und Zubehör von anderen Herstellern kann Gefahren bergen und zum Erlöschen der Garantie führen.
Ein Kippen der Maschine kann zu einem Verschütten von Kraftstoff führen. Kraftstoff ist entflammbar, explosiv und kann Verletzungen verursachen.
Lassen Sie den Motor laufen, bis kein Kraftstoff mehr im Tank ist, oder pumpen Sie den Kraftstoff ab. Sie sollten auf keinen Fall versuchen, Kraftstoff abzusaugen.
Important: Kippen Sie die Maschine immer so auf die Seite, dass der Ölpeilstab nach unten zeigt. Wenn die Maschine mit dem Ölpeilstab nach oben gekippt wird, kann Öl in den Ventiltrieb gelangen, welches dann mindestens 30 Minuten lang abgelassen werden muss.
Stellen Sie den Motor ab und warten Sie, bis alle beweglichen Teile zum Stillstand gekommen sind.
Stellen Sie die Maschine auf einer ebenen Fläche ab.
Ziehen Sie den Kerzenstecker von der Zündkerze ab (Bild 32).

Schließen Sie den Kraftstoffhahn; siehe Kraftstoffhahn.
Important: Wenn Sie die Maschine reparieren, entleeren Sie zuvor den Kraftstofftank.
Stecken Sie nach dem Abschluss der Wartungsarbeiten das Zündkabel wieder auf die Zündkerze und öffnen Sie den Kraftstoffhahn.
| Wartungsintervall | Wartungsmaßnahmen |
|---|---|
| Jährlich |
|
Drücken Sie die Verriegelungslaschen oben an der Luftfilterabdeckung nach unten (Bild 33).

Entfernen Sie die Abdeckung.
Nehmen Sie den Filtereinsatz heraus (Bild 33).
Prüfen Sie den Papierfilter.
Wenn der Luftfilter beschädigt, mit Öl oder Kraftstoff benetzt und übermäßig verschmutzt ist, ersetzen Sie diesen.
Wenn der Filter schmutzig ist, klopfen Sie ihn mehrmals auf einer festen Oberfläche aus oder blasen Sie Druckluft (unter 2,07 bar) durch die Seite des Filters, die zum Motor zeigt.
Note: Bürsten Sie Schmutz nie vom Filter ab. Ein Bürsten drückt den Schmutz noch tiefer in die Fasern.
Reinigen Sie das Luftfilterunterteil und die Abdeckung mit einem feuchten Lappen. Wischen Sie keinen Schmutz in den Luftschacht.
Setzen Sie den Filter in das Luftfilterunterteil ein.
Setzen Sie die Abdeckung auf.
API-Klassifikation: SJ oder höher.
Ölviskosität: 10W-30 Öl
| Wartungsintervall | Wartungsmaßnahmen |
|---|---|
| Bei jeder Verwendung oder täglich |
|
Bereiten Sie die Maschine für die Wartung vor, siehe Vorbereiten für die Wartung.
Entfernen Sie den Ölpeilstab aus dem Öleinfüllstutzen und wischen Sie ihn mit einem sauberen Lappen ab.
Stecken Sie den Ölpeilstab vollständig in den Öleinfüllstutzen und ziehen ihn dann wieder heraus.
Important: Schrauben Sie den Ölpeilstab nicht in den Öleinfüllstutzen ein.
Prüfen Sie den Ölstand am Ölpeilstab.

Wenn der Ölstand nahe oder unter der unteren Grenzmarkierung am Ölpeilstab (Bild 34) liegt, gießen Sie langsam das angegebene Motoröl in den Öleinfüllstutzen (Bild 35) und warten Sie 3 Minuten.

Wischen Sie den Ölpeilstab mit einem sauberen Lappen ab und wiederholen Sie die Schritte 3 bis 5, bis der Motorölstand an der oberen Grenzmarkierung steht.
Führen Sie den Ölpeilstab in den Öleinfüllstutzen ein und ziehen Sie den Ölpeilstab mit der Hand fest an.
| Wartungsintervall | Wartungsmaßnahmen |
|---|---|
| Nach fünf Betriebsstunden |
|
| Alle 25 Betriebsstunden |
|
Wenn der Motor kalt ist, lassen Sie ihn ein bis zwei Minuten laufen, um das Öl zu erwärmen.
Stellen Sie sicher, dass der Kraftstofftank nur wenig oder keinen Kraftstoff enthält, sodass kein Kraftstoff ausläuft, wenn Sie die Maschine seitlich kippen.
Bereiten Sie die Maschine für die Wartung vor, siehe Vorbereiten für die Wartung.
Entfernen Sie den Ölpeilstab aus dem Öleinfüllstutzen und wischen Sie ihn mit einem sauberen Lappen ab.
Legen Sie eine Auffangwanne neben dem Mähwerk an der Öleinfüllstutzenseite der Maschine und auf den Boden (Bild 35).

Kippen Sie die Maschine mit dem Öleinfüllstutzen nach unten auf die Seite, um das Öl aus dem Öleinfüllstutzen abzulassen.
Important: Kippen Sie die Maschine immer so auf die Seite, dass der Ölpeilstab nach unten zeigt. Wenn die Maschine in eine andere Richtung gekippt wird, kann Öl in die Ventiltriebe fließen und Sie müssen mindestens 30 Minuten warten, bis es abgelaufen ist.
Stellen Sie die Maschine wieder in die Betriebsstellung.
Entfernen Sie verschüttetes Öl von der Maschine.
Note: Entsorgen Sie das Altöl bei einem zugelassenen Recyclingcenter.
Ölmenge: 0,40 l
Gießen Sie das angegebene Motoröl langsam in den Öleinfüllstutzen (Bild 35) und warten Sie 3 Minuten.

Stecken Sie den Ölpeilstab vollständig in den Öleinfüllstutzen und ziehen ihn dann wieder heraus.
Important: Schrauben Sie den Ölpeilstab nicht in den Öleinfüllstutzen ein.
Prüfen Sie den Ölstand am Peilstab (Bild 38).
Note: Wenn Sie zu viel Öl in den Motor gefüllt haben, lassen Sie etwas Öl ab; siehe Ablassen des Motoröls.

Wenn der Ölstand unter der oberen Füllstandsmarke liegt, wischen Sie den Ölpeilstab mit einem sauberen Lappen ab und wiederholen Sie die Schritte 1 bis 3, bis der Motorölstand die obere Füllstandsmarke erreicht hat.
Führen Sie den Ölpeilstab in den Öleinfüllstutzen ein und ziehen Sie den Ölpeilstab mit der Hand fest an.
| Wartungsintervall | Wartungsmaßnahmen |
|---|---|
| Alle 100 Betriebsstunden |
|
Zündkerzenangabe: Champion RN9YC oder gleichwertig.
Bereiten Sie die Maschine für die Wartung vor, siehe Vorbereiten für die Wartung.
Reinigen Sie den Bereich um die Zündkerze herum.
Entfernen Sie die Zündkerze aus dem Zylinderkopf.
Important: Tauschen Sie eine abgenutzte, beschädigte oder verschmutzte Zündkerze aus. Reinigen Sie nie die Elektroden, da Abschabungen in den Zylinder eindringen und den Motor beschädigen könnten.
Stellen Sie den Luftspalt (Bild 39) zwischen der Mittelelektrode und der Seitenelektrode auf 0,76 mm ein.

Schrauben Sie die Zündkerze mit Dichtung ein.
Ziehen Sie die Kerze mit 20 N∙m an.
Schließen Sie den Zündkerzenstecker wieder an die Zündkerze an.
Das Messer ist scharf; ein Kontakt damit kann zu schweren Verletzungen führen.
Klemmen Sie das Zündkabel von der Zündkerze ab.
Tragen Sie bei der Wartung des Messers schnittfeste Handschuhe.
| Wartungsintervall | Wartungsmaßnahmen |
|---|---|
| Bei jeder Verwendung oder täglich |
|
Bereiten Sie die Maschine für die Wartung vor, siehe Vorbereiten für die Wartung.
Kippen Sie die Maschine immer so auf die Seite, dass der Öleinfüllstutzen nach unten zeigt.
Important: Kippen Sie die Maschine immer so auf die Seite, dass der Ölpeilstab nach unten zeigt. Wenn die Maschine in eine andere Richtung gekippt wird, kann Öl in die Ventiltriebe fließen und Sie müssen mindestens 30 Minuten warten, bis es abgelaufen ist.

Prüfen Sie das Messer regelmäßig auf Abnutzung und Defekte.
Wechseln Sie das Messer sofort aus, wenn es beschädigt oder eingerissen ist.
Wenn das Messer stumpf ist oder Kerben aufweist, entfernen Sie es, lassen Sie es schärfen oder tauschen Sie es aus und setzen Sie es wieder ein.
Kippen Sie die Maschine aufrecht.
| Wartungsintervall | Wartungsmaßnahmen |
|---|---|
| Jährlich |
|
Important: Sie benötigen für den Einbau des Messers einen Drehmomentschlüssel. Wenn Sie keinen Drehmomentschlüssel haben oder diese Arbeit nicht ausführen möchten, wenden Sie sich an einen offiziellen Vertragshändler oder eine autorisierte Vertragswerkstatt.
Bereiten Sie die Maschine für die Wartung vor, siehe Vorbereiten für die Wartung.
Kippen Sie die Maschine immer so auf die Seite, dass der Öleinfüllstutzen nach unten zeigt.
Important: Kippen Sie die Maschine immer so auf die Seite, dass der Ölpeilstab nach unten zeigt. Wenn die Maschine in eine andere Richtung gekippt wird, kann Öl in die Ventiltriebe fließen und Sie müssen mindestens 30 Minuten warten, bis es abgelaufen ist.

Notieren Sie die Position der Distanzstücke.

Stabilisieren Sie das Messer mit einem Holzblock (Bild 43).

Verwenden Sie den mit der Maschine gelieferten Schraubenschlüssel, um das Messer zu entfernen, indem Sie die Messerschraube gegen den Uhrzeigersinn drehen (Bild 42).
Important: Tragen Sie beim Ausbau des Messers eine Schutzbrille und schnittfeste Handschuhe.
Richten Sie die gebogenen Enden des Messers zum Mähwerk hin aus und montieren Sie den Halter, das Messer, die Distanzstücke und das konische Distanzstück mit der Schraube am Laufrad.
Important: Sie müssen das konische Distanzstück immer direkt unter dem Laufrad und den Halter unter dem Schraubenkopf montieren.

Ziehen Sie die Messerschraube auf ein Drehmoment von 25 N∙m an.
Note: Eine mit 25 N∙m angezogene Schraube sitzt sehr fest. Arretieren Sie das Messer mit einem Holzstück, und verlagern Sie gleichzeitig Ihr Gewicht auf den Drehmomentschlüssel und ziehen Sie die Schraube fest.

Kippen Sie die Maschine aufrecht.
Stellen Sie vor dem Verlassen des Fahrersitzes den Motor ab, ziehen Sie den Schlüssel ab (sofern vorhanden) und warten Sie, bis alle beweglichen Teile zum Stillstand gekommen sind. Lassen Sie die Maschine abkühlen, bevor Sie sie einstellen, warten, reinigen, oder einlagern.
Lassen Sie den Motor abkühlen, bevor Sie die Maschine in einem geschlossenen Raum abstellen.
Lassen Sie den Motor abkühlen, bevor Sie die Maschine in einem geschlossenen Raum abstellen.
Lagern Sie die Maschine oder den Benzinkanister nie an Orten mit offener Flamme, Funken oder Zündflamme, z. B. Warmwasserbereiter, oder andere Geräte.
Entfernen Sie Gras, Blätter und Schmutzansammlungen aus dem Auspuff und dem Motorraum, um Brände zu vermeiden.
Kraftstoffdämpfe können explodieren.
Lagern Sie Kraftstoff nicht länger als 30 Tage.
Lagern Sie die Maschine nicht in geschlossenen Räumen in der Nähe von offenem Feuer ein.
Lassen Sie vor dem Einlagern den Motor abkühlen.
Füllen Sie beim letzten Betanken für das Jahr dem frischen Benzin einen Kraftstoffstabilisator zu. Folgen Sie dabei den Anweisungen des Motorherstellers.
Lassen Sie die Maschine so lange laufen, bis der Motor infolge von Benzinknappheit abstellt.
Starten Sie den Motor und lassen Sie ihn laufen, bis er abstellt. Wenn Sie den Motor nicht mehr starten können, ist das Kraftstoffsystem leer.
Schließen Sie den Zündkerzenstecker ab.
Entfernen Sie die Zündkerze, füllen Sie 30 ml Öl in die Öffnung ein und ziehen Sie mehrmals langsam am Rücklaufstarterkabel, um das Öl im Zylinder zu verteilen.
Setzen Sie die Zündkerze wieder ein und ziehen Sie diese auf ein Drehmoment von 20 N∙m an.
Prüfen Sie das Messer regelmäßig auf Abnutzung und Defekte. Wenn das Messer stumpf ist, lassen Sie sie schärfen; wenn das Messer beschädigt ist, ersetzen Sie es.
Ziehen Sie alle Schrauben und Muttern an.
Lagern Sie die Maschine an einem kühlen, sauberen und trockenen Ort ein.
| Problem | Possible Cause | Corrective Action |
|---|---|---|
| Der Motor sollte nicht anspringen. |
|
|
| Der Motor springt nur schwer an oder verliert an Leistung. |
|
|
| Der Motor läuft nicht rund. |
|
|
| Die Maschine oder der Motor vibriert stark. |
|
|
| Das Schnittmuster ist nicht gleichmäßig. |
|
|