| Khoảng thời gian Dịch vụ Bảo trì | Quy trình Bảo trì |
|---|---|
| Trước mỗi lần sử dụng hoặc hàng ngày |
|
Máy này thiết kế cho người đi bộ vận hành và máy được thiết kế để nhân viên vận hành chuyên nghiệp của công ty sử dụng trong các ứng dụng thương mại. Máy được thiết kế chủ yếu để đục thông khí cho các khu vực rộng lớn trên những bãi cỏ được chăm sóc tốt trong công viên, sân gôn, sân thể thao và trên các khu đất thương mại. Việc sử dụng sản phẩm này cho các mục đích khác với mục đích sử dụng ban đầu có thể gây nguy hiểm cho bạn và những người xung quanh.
Vui lòng đọc kỹ thông tin này để hiểu cách vận hành và bảo trì sản phẩm đúng cách, cũng như để tránh gây thương tích và làm hư hỏng sản phẩm. Bạn là người chịu trách nhiệm vận hành sản phẩm đúng cách và an toàn.
Truy cập vào trang www.Toro.com để xem các tài liệu về an toàn sản phẩm và đào tạo vận hành, thông tin về phụ kiện, hỗ trợ tìm đại lý hoặc đăng ký sản phẩm của bạn.
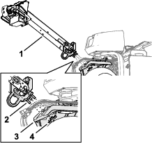
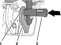
Bất cứ khi nào bạn cần dịch vụ, phụ tùng Toro chính hãng hoặc thông tin bổ sung, vui lòng liên hệ với nhà phân phối Toro được ủy quyền và chuẩn bị sẵn kiểu model và số sê-ri của sản phẩm. Hình 1 xác định vị trí của mẫu máy và số sê-ri trên sản phẩm. Hãy viết các số vào khoảng trống cho sẵn.

Ký hiệu cảnh báo an toàn (Hình 2) được trình bày cả trong sách hướng dẫn này và trên máy để xác định các thông báo an toàn quan trọng mà bạn phải tuân theo để phòng ngừa tai nạn.

Ký hiệu cảnh báo an toàn xuất hiện phía trên thông tin để cảnh báo cho bạn về các hành động hoặc tình huống không an toàn và theo sau là từ NGUY HIỂM, CẢNH BÁO hoặc THẬN TRỌNG.
NGUY HIỂM cho biết trường hợp nguy hiểm sắp xảy ra, nếu không tránh, sẽ dẫn đến tử vong hoặc thương tích nghiêm trọng.
CẢNH BÁO cho biết trường hợp nguy hiểm tiềm ẩn, nếu không tránh, có thể dẫn đến tử vong hoặc thương tích nghiêm trọng.
THẬN TRỌNG cho biết trường hợp nguy hiểm tiềm ẩn, nếu không tránh, có thể dẫn đến thương tích nhẹ hoặc trung bình.
Sách hướng dẫn này sử dụng hai từ khác để nêu bật thông tin. Các chú ý quan trọng về thông tin cơ học đặc biệt và Lưu ý đều nhấn mạnh thông tin chung mà bạn cần đặc biệt lưu tâm.
Sản phẩm này tuân thủ tất cả các chỉ thị liên quan của Châu Âu; để biết thông tin chi tiết, vui lòng xem tờ Tuyên bố Tuân thủ (DOC) dành riêng cho sản phẩm.
Do ở một số khu vực có các quy định của địa phương, tiểu bang hoặc liên bang yêu cầu sử dụng bộ ngăn tia lửa trên động cơ của loại máy này, có thể tùy chọn cung cấp thêm bộ ngăn tia lửa. Nếu bạn cần một bộ ngăn tia lửa, vui lòng liên hệ với nhà phân phối Toro được ủy quyền của bạn. Bộ ngăn tia lửa chính hãng của Toro được Cục Kiểm lâm Hoa Kỳ phê duyệt.
Hướng dẫn sử dụng máy đính kèm cung cấp thông tin liên quan đến Cơ quan Bảo vệ Môi trường (EPA) của Hoa Kỳ và Quy định Kiểm soát Khí thải của California về các hệ thống khí thải, bảo trì và bảo hành. Bạn có thể đặt hàng các phụ tùng thay thế từ nhà sản xuất máy.
Nếu máy này được trang bị thiết bị viễn tin; hãy tham khảo nhà phân phối Toro được ủy quyền của bạn để biết hướng dẫn kích hoạt thiết bị.
CALIFORNIA
Cảnh báo theo Dự luật 65
Khói thải động cơ từ sản phẩm này chứa các hóa chất được Tiểu bang California xem là nguyên nhân gây ung thư, dị tật bẩm sinh hoặc gây hại cho hệ sinh sản.
Cọc bình ắc quy, thiết bị đầu cuối và phụ kiện liên quan đến ắc quy có chứa chì và các hợp chất của chì, các hóa chất được Tiểu bang California xem là nguyên nhân gây ra ung thư và gây hại cho hệ sinh sản. Rửa tay sau khi xử lý.
Việc sử dụng sản phẩm này có thể dẫn đến tình trạng phơi nhiễm với hóa chất được Tiểu Bang California xem là nguyên nhân gây ung thư, dị tật bẩm sinh hoặc gây hại cho hệ sinh sản.
Sản phẩm này có thể gây thương tích cá nhân. Vui lòng luôn tuân thủ tất cả các hướng dẫn an toàn để tránh gây thương tích cá nhân nghiêm trọng.
Đọc và hiểu nội dung của Hướng dẫn Vận hành này trước khi khởi động máy.
Tập trung cao độ trong khi vận hành máy. Tránh bị phân tâm vào bất kỳ hoạt động nào khác; nếu không, bạn có thể gây thương tích cho bản thân hoặc gây thiệt hại về tài sản.
Không để tay hoặc chân của bạn gần các bộ phận đang chuyển động của máy.
Không vận hành máy khi tất cả các bộ phận bảo vệ và các thiết bị bảo vệ an toàn khác không ở đúng vị trí và không hoạt động trên máy.
Không để người xung quanh đến gần máy khi máy đang hoạt động.
Tránh xa lỗ hở xung quanh răng đục. Không để người xung quanh và vật nuôi lại gần máy.
Không để trẻ em vào khu vực vận hành. Tuyệt đối không để trẻ em vận hành máy.
Đỗ máy trên bề mặt bằng phẳng, nâng cao hoàn toàn và chốt thanh tay cầm để gài phanh đỗ, tắt động cơ, rút chìa khóa và chờ cho tất cả các bộ phận đang chuyển động dừng lại trước khi bảo dưỡng, đổ nhiên liệu hay làm thông máy.
Việc sử dụng hoặc bảo trì máy không đúng
cách có thể dẫn đến thương tích. Để
giảm nguy cơ thương tích, hãy tuân thủ hướng dẫn
an toàn này và luôn chú ý
đến ký hiệu cảnh báo an toàn
, cụ thể là Thận
trọng, Cảnh báo hoặc Nguy hiểm - hướng dẫn an toàn cá
nhân. Việc không tuân thủ hướng dẫn này có
thể dẫn đến thương tích cá nhân hoặc tử
vong.
![]() |
Người vận hành có thể dễ dàng nhìn thấy các nhãn mác và hướng dẫn an toàn được đặt gần bất kỳ khu vực nào có thể xảy ra nguy hiểm. Hãy thay thế bất kỳ nhãn mác nào bị hỏng hoặc bị thiếu. |
















Note: Phía trước của máy là phía tay cầm của người vận hành và là vị trí vận hành thông thường. Bên trái và bên phải liên quan đến hướng di chuyển khi bạn đi bộ cùng với máy theo phía sau.
Note: Để nâng đầu lấy lõi sau khi lấy máy ra, hãy nhả cần đục thông khí và khởi động động cơ; tham khảo Khởi động Động cơ và Nâng Đầu Lấy lõi để biết thêm thông tin.
Các bộ phận cần thiết cho quy trình này:
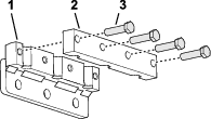
| Cụm bánh xe | 2 |
Note: Nếu có thể, hãy sử dụng tời để nâng phần sau máy lên. Sử dụng các lỗ nhỏ trong vỏ vòng bi đầu lấy lõi làm điểm gắn tời (Hình 3).

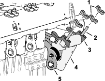
Ở phía sau của máy, tháo 4 đai ốc vấu đang siết chặt phía sau của máy vào khung của tấm pallet vận chuyển.
Lắp cụm bánh xe vào mỗi trục bánh sau bằng 4 đai ốc vấu (Hình 4).

Hãy xoay mô-men xoắn của đai ốc vấu từ 61 đến 75 N∙m.
Lặp lại các bước 1 đến 3 ở phía bên kia của máy.
Xì hơi tất cả các lốp xe đến 83 kPa.
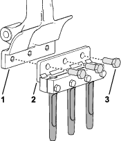
Các bộ phận cần thiết cho quy trình này:
| Tay cầm | 1 |
| Êcu hãm (1/2 inch) | 3 |
Lắp các chốt ren ở cuối thanh tay cầm vào các lỗ trên tay lái (Hình 5).
Note: Nhờ người khác giữ giúp thanh tay cầm.

Vặn êcu hãm mặt bích (1/2 inch) lên trên mỗi một trong số 3 chốt ren.
Tạo mô-men xoắn của các êcu hãm mặt bích từ 91 đến 113 N∙m (67 đến 83 ft-lb).
Xoay thanh tay cầm lên và cố định bằng đinh chốt thanh tay cầm (Hình 6).

Luồn đầu nối cáp phanh vào phía dưới đáy của rãnh thanh tay cầm (Hình 7).

Lắp đầu nối cáp phanh vào chốt kẹp hình chữ U và siết chặt đầu nối vào chốt bằng vòng đệm và kẹp ghim.
Luồn đầu nối 6 chốt và đầu nối 12 chốt của bộ dây an toàn của máy xuyên qua vòng dây trong rãnh thanh tay cầm (Hình 8).

Cắm đầu nối 12 chốt của bộ dây an toàn của máy vào đầu nối 12 ổ cắm của bộ dây an toàn của thanh tay cầm (Hình 9).

Cắm đầu nối 6 chốt của bộ dây an toàn của máy vào đầu nối 6 ổ cắm của bộ dây an toàn của thanh tay cầm.
Lắp neo đẩy vào của bộ dây an toàn của máy vào lỗ trong rãnh thanh tay cầm (Hình 10).

Lắp neo đẩy vào của bộ dây an toàn của máy vào lỗ trên khung dẫn hướng.
Siết chặt bộ dây an toàn của máy vào rãnh thanh tay cầm bằng dây buộc cáp xuyên qua các khe trong rãnh (Hình 11).

Siết chặt bộ dây an toàn của máy vào khung dẫn hướng bằng dây buộc cáp xuyên qua các khe trong khung.
Căn chỉnh khía hình chữ V nhỏ trên vỏ thanh tay cầm với khía hình chữ V hướng lên (Hình 12).

Căn chỉnh các lỗ trên vỏ với các lỗ trong rãnh thanh tay cầm.
Siết chặt vỏ vào thanh tay cầm bằng 6 vít tạo hình ren (1/4 inch).
Các bộ phận cần thiết cho quy trình này:
| Bu lông (1/4 x 1 inch) | 2 |
| Đai ốc mặt bích (5/16 inch) | 2 |
Chất điện phân trong ắc quy có chứa axit sulfuric, đây là một chất độc chết người và gây bỏng nghiêm trọng.
Tránh tiếp xúc với da, mắt và quần áo. Đeo kính bảo hộ để bảo vệ mắt và đeo găng tay cao su để bảo vệ tay.
Tháo, sạc và lắp ắc quy ở nơi luôn có sẵn nước sạch để rửa sạch da.
Sạc ắc quy có giải phóng khí có thể gây nổ.
Không được hút thuốc gần ắc quy và để tia lửa cũng như ngọn lửa tránh xa ắc quy.
Các cực ắc quy hoặc dụng cụ kim loại có thể bị đoản mạch cho các bộ phận kim loại của máy, gây ra tia lửa. Tia lửa có thể gây nổ khí bình ắc quy, gây thương tích cá nhân.
Khi tháo hoặc lắp ắc quy, không để các cực ắc quy chạm vào bất kỳ bộ phận kim loại nào của máy.
Không để các dụng cụ kim loại bị đoản mạch giữa các cực ắc quy và các bộ phận kim loại của máy.
Định tuyến cáp ắc quy không chính xác có thể làm hỏng máy và dây cáp, gây ra tia lửa. Tia lửa có thể gây nổ khí bình ắc quy, gây chấn thương cá nhân.
Luôn ngắt kết nối cáp âm (màu đen) của ắc quy trước khi ngắt kết nối cáp dương (màu đỏ).
Luôn kết nối cáp dương (màu đỏ) của ắc quy trước khi kết nối cáp âm (màu đen).
Tháo chốt và mở cửa ngăn chứa ắc quy (Hình 13).

Tháo ắc quy ra khỏi ngăn chứa ắc quy.
Sử dụng bộ sạc ắc quy có công suất sạc 3 đến 4 A để sạc ắc quy.
Khi ắc quy đã được sạc, hãy ngắt kết nối bộ sạc khỏi ổ cắm điện và các cọc ắc quy.
Lắp ắc quy vào khay trong ngăn chứa ắc quy (Hình 14). Đặt ắc quy sao cho các cực được căn chỉnh hướng ra ngoài.

Siết chặt ắc quy vào đế ngăn chứa bằng một thanh nẹp, 2 thanh chữ J, 2 vòng đệm phẳng và 2 đai ốc có tai.
Siết chặt cáp dương (màu đỏ) vào cực dương (+) của ắc quy bằng bu lông đầu dù cổ vuông và đai ốc.
Trượt ngăn chứa cao su qua cực dương.
Siết chặt cáp âm (màu đen) vào cực âm (-) của ắc quy bằng bu lông đầu dù cổ vuông và đai ốc.
Đóng và chốt cửa ngăn chứa ắc quy.
Các bộ phận cần thiết cho quy trình này:
| Khóa chốt | 2 |
| Bu lông tự ren | 2 |
| Vòng đệm trong có khóa răng | 2 |
Nếu bạn đang thiết lập máy này để sử dụng ở Liên minh Châu Âu (CE), hãy lắp khóa chốt mui xe vào mui xe phía sau như sau để tuân thủ các quy định của CE.
Tháo mui xe phía sau.
Lắp khóa chốt trên chốt mui xe (Hình 15) bằng bu lông tự làm ren (tổng cộng 2 cái).

Sử dụng kìm và cờ lê để vặn vòng đệm khóa bên trong vào mỗi bu lông (1 đến 2 ren) để siết chặt bu lông vào mui xe.
Lặp lại các bước 2 đến 3 ở phía bên kia của mui xe.
Lắp mui xe phía sau.
Các bộ phận cần thiết cho quy trình này:
| Thanh buộc | 1 |
| Đinh tán nổ | 1 |
| Bu lông (1/4 x 1 inch) | 1 |
| Êcu hãm (1/4 inch) | 1 |
Nếu bạn đang càiu đặt máy này để tuân thủ CE, hãy lắp liên kết chốt vỏ dây đai như sau.
Xác định vị trí lỗ trên vỏ dây đai cạnh khe dành cho cần chốt (Hình 16 và Hình 17).

Siết chặt cụm thanh buộc vào lỗ trên vỏ dây đai bằng đinh tán nổ (Hình 17).

Vặn bu lông vào cần chốt (Hình 18).

Có nhiều lựa chọn ngăn chứa răng, tấm bảo vệ sân cỏ và răng cho máy. Tham khảo Lắp Bộ phận Bảo vệ Lớp cỏ, Ngăn chứa Răng đục và Răng đục.


Sử dụng chốt thanh tay cầm (Hình 21) để siết chặt thanh tay cầm ở vị trí hướng lên và gài phanh đỗ.
Important: Siết chặt thanh tay cầm ở vị trí hướng lên bất cứ khi nào bạn rời khỏi vị trí của người vận hành.
Cần khi có mặt người vận hành (Hình 21) giúp đảm bảo bạn ở vị trí của người vận hành khi điều khiển máy hoặc chạy đầu lấy lõi.
Note: Nhả cần khi có mặt người vận hành không làm tắt động cơ.
Sử dụng InfoCenter (Hình 21) để điều chỉnh cách hoạt động của nút điều khiển đầu lấy lõi.
Nếu bạn tiếp xúc với công tắc dừng va chạm (Hình 21), máy sẽ thực hiện các hành động sau:
Máy dừng chạy về phía trước.
Đầu lấy lõi nâng lên và ngừng chạy.
Note: Chạm vào công tắc dừng va chạm không làm tắt động cơ. Bạn có thể điều khiển máy theo hướng lùi nhưng phải đặt lại công tắc dừng va chạm để lái về phía trước.

Sử dụng công tắc vận chuyển/đục thông khí (Hình 22) để điều khiển tốc độ tối đa mà bạn có thể điều khiển máy trong khi đục thông khí hoặc vận chuyển máy.
Vị trí đụC THôNG KHí cho phép đục thông khí và giới hạn tốc độ trên mặt đất ở mức 4,0 km/h (2,5 mph) hoặc chậm hơn.
Vị trí VậN CHUYểN cho phép bạn điều khiển máy với tốc độ tối đa trên mặt đất hoặc chậm hơn giữa các địa điểm làm việc.
Note: Bạn không thể đục thông khí bằng công tắc vận chuyển/đục thông khí ở vị trí VậN CHUYểN.
Sử dụng nút điều khiển lực kéo bên trái hoặc bên phải (Hình 22) để điều khiển máy tiến hoặc lùi.
Sử dụng công tắc khóa tốc độ (Hình 22) để duy trì tốc độ trên mặt đất khi bạn điều khiển máy; tương tự như điều khiển hành trình trên ô tô.
Vị trí GàI (ENGAGE) sẽ khóa tốc độ trên mặt đất hiện tại mà máy đang vận hành.
Vị trí BậT (ON) sẽ kích hoạt khóa tốc độ trên mặt đất.
Vị trí TắT sẽ tắt khóa tốc độ trên mặt đất.
Sử dụng công tắc khóa tốc độ (Hình 22) để duy trì tốc độ trên mặt đất với tốc độ giữ khoảng cách giữa các lỗ đục thông khí.
Vị trí BậT (ON)—kích hoạt và gài khóa tốc độ trên mặt đất để duy trì tốc độ trên mặt đất với tốc độ giữ khoảng cách giữa các lỗ đục thông khí khi bạn nhả cần đục thông khí khi kết thúc đường đi đục thông khí.
Vị trí TắT sẽ tắt khóa tốc độ trên mặt đất—máy sẽ ngừng di chuyển về phía trước khi bạn nhả cần đục thông khí.

Sử dụng cần tiết lưu (Hình 24) để điều khiển tốc độ động cơ:
Di chuyển cần tiết lưu về phía trước sẽ tăng tốc độ động cơ—về phía vị trí NHANH.
Di chuyển cần tiết lưu về phía sau sẽ làm giảm tốc độ động cơ—về phía vị trí CHậM.
Note: Tốc độ động cơ điều chỉnh tốc độ của đầu lấy lõi.
Sử dụng bướm gió khi khởi động động cơ nguội (Hình 24).
Sử dụng công tắc khóa điện (Hình 24) để khởi động và tắt động cơ. Công tắc có 3 vị trí:
KHởI độNG – xoay chìa khóa theo chiều kim đồng hồ đến vị trí KHởI độNG để bật mô-tơ khởi động.
CHạY – khi động cơ khởi động, nhả chìa khóa và nó tự động di chuyển đến vị trí BậT.
TắT – xoay chìa khóa ngược chiều kim đồng hồ đến vị trí TắT để tắt động cơ.
Sử dụng đồng hồ đo vòng quay để xác định tốc độ động cơ (Hình 24).
Sử dụng van ngắt nhiên liệu để kiểm soát nhiên liệu từ bình nhiên liệu (Hình 25).

Màn hình InfoCenter (Hình 26) hiển thị thông tin về máy của bạn, chẳng hạn như trạng thái hoạt động, các chẩn đoán khác nhau và thông tin khác về máy.

Note: Mục đích của mỗi nút có thể thay đổi tùy thuộc vào nội dung được yêu cầu tại thời điểm đó. Mỗi nút được gắn nhãn với một biểu tượng hiển thị chức năng hiện tại của nút.
Sử dụng các nút điều hướng để điều hướng giữa một số màn hình và các mục menu:
Màn hình khởi động ứng dụng: hiển thị thông tin máy hiện tại trong vài giây sau khi bạn di chuyển phím sang vị trí BậT.
Menu chính: tham khảo Sử dụng Menu.
|
DỊCH VỤ ĐẾN HẠN |
Cho biết khi nào dịch vụ theo lịch cần phải được thực hiện |
|
|
Chế độ vận chuyển |
|
|
Độ sâu của lỗ |
|
|
Khoảng cách lỗ |
|
|
Đường kính răng đục |
|
|
Số răng đục cho mỗi ngăn chứa |
|
|
Ắc quy |
|
|
Đồng hồ đo giờ |
|
|
Hoạt động/OK |
|
|
Không hoạt động |
|
|
Tiếp theo |
|
|
Màn hình trước đó |
|
|
Menu |
|
|
Tăng/giảm giá trị |
|
|
Cuộn lên/xuống |
|
|
Cuộn sang trái/phải |
|
|
Thoát ra menu |
|
|
|
Để truy cập menu chính, nhấn nút quay lại/thoát khi đang ở bất kỳ màn hình thông tin nào.
Tham khảo bảng sau đây để biết mô tả về các phương án tùy chọn có sẵn từ các menu.
|
Mục Menu |
Mô tả |
|---|---|
|
LỗI |
Chứa danh sách lỗi gần đây của máy. Tham khảo Hướng dẫn Sử dụng Dịch vụ hoặc nhà phân phối Toro được ủy quyền của bạn để biết thêm thông tin về menu Lỗi. |
|
DịCH Vụ |
Chứa thông tin về máy như giờ sử dụng, bộ đếm, và các chỉ số tương tự khác. |
|
CHẩN đOáN |
Liệt kê các trạng thái khác nhau mà máy hiện có; bạn có thể sử dụng tính năng này để khắc phục một số sự cố nhất định vì nó nhanh chóng cho bạn biết các nút điều khiển máy nào đang hoạt động và các nút điều khiển nào đang tắt. |
|
CàI đặT |
Cho phép bạn nhập mã PIN hoặc tùy chỉnh màn hình InfoCenter. |
|
CàI đặT MáY |
Cho phép bạn sửa đổi các đặc điểm vận hành và cấu hình của máy. |
|
GIớI THIệU |
Liệt kê số kiểu model, số sê-ri và phiên bản phần mềm của máy bạn. |
|
Mục Menu |
Mô tả |
|---|---|
|
Số LIệU THốNG Kê |
Liệt kê các bộ đếm dữ liệu chạy máy và dữ liệu vận hành, chẳng hạn như thời gian chạy động cơ, diện tích/thể tích/thời gian đục thông khí, khoảng cách di chuyển đục thông khí. |
|
GIờ |
Hiển thị tổng số giờ mà máy móc, động cơ và PTO đã hoạt động, cũng như số giờ mà máy móc đã được vận chuyển và dịch vụ đến hạn. |
|
Số LượNG |
Hiển thị nhiều chỉ số mà máy đã gặp phải. |
|
NâNG DịCH Vụ |
Bật hoặc tắt nâng dịch vụ. |
|
Hạ DịCH Vụ |
Bật hoặc tắt hạ dịch vụ. |
|
3WD |
Bật 3WD tự động hoặc luôn ở chế độ 3WD. |
|
Độ CAO Từ MặT đấT |
Chỉ rõ nếu hiệu chuẩn cảm biến hợp lệ, bắt đầu quá trình hiệu chuẩn và liệt kê giá trị điện của cảm biến. |
|
BơM LựC KéO |
Chỉ rõ nếu hiệu chuẩn cảm biến hợp lệ, bắt đầu quá trình hiệu chuẩn và liệt kê giá trị điện của cảm biến. |
|
ĐầU VàO LựC KéO |
Chỉ rõ nếu hiệu chuẩn cảm biến hợp lệ, bắt đầu quá trình hiệu chuẩn và liệt kê giá trị điện của cảm biến. |
|
CảM BIếN Độ CAO |
Chỉ rõ nếu hiệu chuẩn cảm biến hợp lệ, bắt đầu quá trình hiệu chuẩn và liệt kê giá trị điện của cảm biến. |
|
|
|
|
Mục Menu |
Mô tả |
|---|---|
|
NHậP Mã PIN |
Cho phép người được ủy quyền có mã PIN truy cập các menu được bảo vệ |
|
ĐèN NềN |
Điều khiển độ sáng của màn hình LCD |
|
NGôN NGữ |
Điều khiển ngôn ngữ được sử dụng trên InfoCenter |
|
ĐơN Vị |
Điều khiển các đơn vị được sử dụng trên InfoCenter (hệ Anh hoặc hệ mét) |
|
CHỉNH SửA Mã PIN |
Cho phép người được ủy quyền có mã PIN thay đổi mã PIN |
|
CàI đặT BảO Vệ |
Bật hoặc tắt yêu cầu nhập mã PIN để truy cập cài đặt được bảo vệ |
|
ĐặT LạI MặC địNH |
Đưa tất cả cài đặt về mặc định |
|
|
|
|
Mục Menu |
Mô tả |
|
VậN CHUYểN TốI đA |
Cho phép bạn thay đổi tốc độ tiến tối đa trên mặt đất; mặc định = 6,4 km/h |
|
ĐụC THôNG KHí THủ CôNG |
Bật hoặc tắt đục thông khí thủ công |
|
|
|
|
Mục Menu |
Mô tả |
|---|---|
|
Kiểu model |
Liệt kê số model của máy |
|
SN |
Liệt kê số sê-ri của máy |
|
Bản sửa đổi S/W |
Liệt kê bản sửa đổi phần mềm của bộ điều khiển chính |
|
Số liệu thống kê CAN |
Liệt kê trạng thái bus giao tiếp của máy |
|
Bản sửa đổi InfoCenter |
Liệt kê phiên bản phần mềm của màn hình InfoCenter |
|
|
|
|
Mục Menu |
Mô tả |
|---|---|
|
Lực kéo |
Tham khảo Hướng dẫn Sử dụng Dịch vụ hoặc nhà phân phối Toro được ủy quyền của bạn để biết thêm thông tin về các mục menu Chẩn đoán. |
|
Đục thông khí |
|
|
Động cơ |
Các menu được bảo vệ không được hiển thị theo mặc định. Các cài đặt này được mở khóa bằng cách nhập Mã PIN.
Note: Mã PIN mặc định của nhà sản xuất cho máy của bạn là 0000 hoặc 1234; tại thời điểm giao hàng, nhà phân phối của bạn có thể đã thay đổi mã PIN.Nếu bạn đã thay đổi mã PIN và quên mã, vui lòng liên hệ với nhà phân phối Toro được ủy quyền của bạn để được hỗ trợ.
Từ MENU CHíNH, cuộn xuống đến menu CàI đặT và nhấn nút chọn (Hình 27).

Trong menu CàI đặT, cuộn đến NHậP Mã PIN và nhấn nút chọn (Hình 28A).

Để nhập mã PIN, hãy nhấn các nút điều hướng lên/xuống cho đến khi chữ số đầu tiên chính xác xuất hiện, sau đó nhấn nút điều hướng bên phải để chuyển sang chữ số tiếp theo (Hình 28B và Hình 28C). Lặp lại bước này cho đến khi nhập chữ số cuối cùng.
Nhấn nút chọn (Hình 28D).
Note: Nếu man hình chấp nhận mã PIN và menu được
bảo vệ được mở khóa,
sẽ hiển thị ở góc trên bên
phải của màn hình.
Để ẩn menu được bảo vệ, xoay công tắc chìa khóa đến vị trí TắT rồi đến vị trí BậT.
Sau khi nhập mã PIN, hãy vào menu CàI đặT và cuộn xuống CàI đặT BảO Vệ.
Để cho phép xem các menu được
bảo vệ mà không cần nhập mã PIN, hãy sử
dụng nút chọn để thay đổi CàI
đặT BảO Vệ thành
(Tắt).
Để yêu cầu mã PIN để xem
các menu được bảo vệ, hãy sử dụng nút
chọn để thay đổi CàI đặT
BảO Vệ thành
(Bật), cài đặt mã PIN và
xoay chìa khóa trong công tắc khóa điện
sang vị trí TắT rồi đến vị
trí BậT.

Màu đỏ nhấp nháy—lỗi đang hoạt động
Màu đỏ liên tục—tư vấn đang hoạt động
Màu xanh dương liên tục—thông báo hiệu chuẩn/hộp thoại
Màu xanh lá liên tục—hoạt động bình thường
Note: Thông số kỹ thuật và thiết kế có thể được thay đổi mà không cần phải thông báo.
| Chiều rộng | 127 cm |
| Khoảng cách giữa hai trục của xe | 113 cm |
| Chiều rộng vết | 97 cm |
| Chiều rộng lõi | 122 cm |
| Chiều dài | 295 cm (116,3 inches) |
| Chiều cao đầu (nâng) | 114 cm |
| Chiều cao đầu (hạ) | 93 cm (36,5 inches) |
| Chiều cao, tay cầm | 154,2 cm (60,7 inches) |
| Khoảng sáng gầm | 12 cm |
| Tốc độ tiến | 0 đến 7,2 kph (0 đến 4,5 mph) |
| Tốc độ lùi | 0 đến 4 kph (0 đến 2,5 mph) |
| Trọng lượng tịnh | 745 kg (1.642 lbs) |
Lựa chọn bộ gá và phụ kiện đã được Toro phê duyệt và có sẵn để sử dụng với máy nhằm nâng cao và mở rộng khả năng của máy. Hãy liên hệ với Đại lý Dịch vụ được Ủy quyền hoặc nhà phân phối Toro được ủy quyền của bạn hoặc truy cập www.Toro.com để xem danh sách tất cả các bộ gá và phụ kiện đã được phê duyệt.
Để đảm bảo hiệu suất tối ưu, chỉ sử dụng các phụ tùng và phụ kiện thay thế chính hãng của Toro. Các phụ kiện và phụ tùng thay thế do các nhà sản xuất khác sản xuất có thể gây nguy hiểm và việc sử dụng chúng có thể làm mất hiệu lực bảo hành của sản phẩm.
Tham khảo thông tin về đầu răng, tấm bảo vệ sân cỏ và răng trong bảng cấu hình răng sau đây:
| Mô tả Đầu Răng | Khoảng cách Đầu Răng | Kích thước Thân răng | Số lượng Răng | Loại Tấm Bảo vệ Sân cỏ (số lượng) |
|---|---|---|---|---|
| Đầu 2x5 Răng Nhỏ | 41 mm | 9,5 mm | 60 | 5 Răng – ngắn (2) |
| 5 Răng – dài (1) | ||||
| Đầu 1x6 Răng Nhỏ | 32 mm | 9,5 mm | 36 | 6 Răng – ngắn (2) |
| 6 Răng – dài (1) | ||||
| Đầu 3 Răng (7/8 inch) | 66 mm | 22,2 mm | 18 | 3 Răng – ngắn (2) |
| 3 Răng – dài (1) | ||||
| Đầu 3 Răng (3/4 inch) | 66 mm | 19,5 mm | 18 | 3 Răng – ngắn (2) |
| 3 Răng – dài (1) | ||||
| Đầu 4 Răng (3/4 inch) | 51 mm | 19,5 mm | 24 | 4 Răng – ngắn (2) |
| 4 Răng – dài (1) | ||||
| Đầu 5 Răng Kim | 41 mm | – | 30 | 5 răng – ngắn (2) |
| 5 Răng – dài (1) |
Note: Xác định các mặt bên trái và bên phải của máy từ vị trí vận hành bình thường.
Tuyệt đối không cho phép trẻ em hoặc người chưa được đào tạo thực hiện việc vận hành hoặc bảo trì máy. Quy định địa phương có thể hạn chế độ tuổi của người vận hành. Chủ sở hữu chịu trách nhiệm đào tạo tất cả các nhân viên vận hành và thợ máy.
Làm quen với cách vận hành thiết bị an toàn, các biện pháp kiểm soát áp dụng đối với người vận hành và biển báo an toàn.
Biết cách dừng máy và tắt động cơ nhanh chóng.
Trước khi vận hành, hãy luôn kiểm tra máy để đảm bảo các răng ở tình trạng hoạt động tốt. Tay các răng bị mòn hoặc hư hỏng.
Kiểm tra khu vực bạn định sử dụng máy và loại bỏ tất cả những vật thể mà máy có thể làm văng ra.
Xác định vị trí và đánh dấu tất cả các đường dây điện hoặc đường dây thông tin liên lạc, các bộ phận tưới tiêu và các vật cản khác trong khu vực đục thông khí. Loại bỏ các mối nguy hiểm nếu có thể, hoặc lập kế hoạch để tránh các mối nguy này.
Đỗ máy trên bề mặt bằng phẳng, nâng cao hoàn toàn và chốt thanh tay cầm để gài phanh đỗ, tắt động cơ, rút chìa khóa và chờ tất cả các bộ phận đang chuyển động dừng lại.
Kiểm tra nút điều khiển khi có mặt người vận hành, công tắc an toàn, các tấm chắn đã được gắn và khả năng hoạt động đã bình thường chưa. Không vận hành máy trừ khi chúng hoạt động bình thường.
Cần hết sức cẩn thận khi xử lý nhiên liệu. Nhiên liệu dễ cháy và hơi nhiên liệu dễ gây nổ.
Dập tắt tất cả thuốc lá, xì gà, tẩu thuốc và các nguồn phát lửa khác.
Chỉ sử dụng bình chứa nhiên liệu đã được phê duyệt.
Không tháo nắp nhiên liệu hoặc đổ vào bình nhiên liệu khi động cơ đang chạy hoặc đang nóng.
Không đổ thêm hoặc xả nhiên liệu trong không gian kín.
Không cất giữ máy hoặc bình chứa nhiên liệu ở nơi có lửa trần, tia lửa hoặc đèn đánh lửa, chẳng hạn như trên máy nước nóng hoặc thiết bị khác.
Nếu bạn đổ tràn nhiên liệu, đừng cố khởi động động cơ; tránh tạo ra bất kỳ nguồn phát lửa nào cho đến khi hơi nhiên liệu tan hết.
| Loại | Xăng không pha chì |
| Chỉ số octan tối thiểu | 87 (Hoa Kỳ) hoặc 91 (chỉ số octan nghiên cứu; bên ngoài Hoa Kỳ) |
| Etanol | Không hơn 10% theo thể tích |
| Metanol | Không có |
| MTBE (metyl butyl ete bậc ba) | Dưới 15% theo thể tích |
| Dầu | Không đổ thêm vào nhiên liệu |
Chỉ sử dụng nhiên liệu sạch, mới (dưới 30 ngày tuổi) từ nguồn uy tín.
Important: Để giảm sự cố khởi động, hãy đổ thêm chất ổn định/điều hòa nhiên liệu vào nhiên liệu mới theo chỉ dẫn của nhà sản xuất chất ổn định/điều hòa nhiên liệu.
Dung tích bình nhiên liệu: 26,5 L
Đỗ máy trên bề mặt bằng phẳng, nâng cao hoàn toàn và chốt thanh tay cầm để gài phanh đỗ, tắt động cơ, rút chìa khóa và chờ tất cả các bộ phận đang chuyển động dừng lại.
Làm sạch xung quanh nắp bình nhiên liệu và tháo nắp ra (Hình 30).

Đổ thêm nhiên liệu vào bình nhiên liệu cho đến khi ở mức cách đáy cổ bình nạp từ 6 mm đến 13 mm.
Important: Không gian này trong bình cho phép nhiên liệu giãn nở. Không đổ đầy hoàn toàn bình nhiên liệu.
Lắp đặt nắp bình nhiên liệu thật chặt.
Lau sạch tất cả các phần nhiên liệu bị tràn.
Trước khi khởi động máy mỗi ngày, hãy thực hiện các quy trình mỗi Lần sử dụng/Hàng ngày được liệt kê trong .
| Khoảng thời gian Dịch vụ Bảo trì | Quy trình Bảo trì |
|---|---|
| Trước mỗi lần sử dụng hoặc hàng ngày |
|
Nếu hệ thống khóa liên động an toàn bị ngắt kết nối hoặc bị hỏng, máy có hoạt động bất ngờ, gây chấn thương cá nhân.
Không được can thiệp vào công tắc khóa liên động.
Kiểm tra hoạt động của hệ thống khóa liên động hàng ngày và thay bất kỳ bộ phận khóa liên động an toàn nào bị hỏng trước khi vận hành máy.
Hệ thống khóa liên động an toàn ngăn không cho động cơ khởi động trừ khi nút điều khiển lực kéo ở vị trí Số MO.
Hệ thống khóa liên động an toàn ngăn không cho động cơ khởi động trừ khi cần có mặt người vận hành được nhả hoàn toàn.
Hệ thống khóa liên động an toàn ngăn không cho động cơ khởi động trừ khi cần đầu lấy lõi được nhả hoàn toàn.
Hệ thống khóa liên động an toàn nâng đầu lấy lõi và tắt nếu bạn lái máy lùi trong khi đục thông khí hoặc chạm vào công tắc dừng va chạm.
Important: Nếu hệ thống khóa liên động an toàn không hoạt động theo mô tả, hãy nhờ nhà phân phối Toro được ủy quyền sửa chữa hệ thống khóa liên động an toàn ngay lập tức.
Nếu đầu lấy lõi được hạ xuống, hãy thực hiện các bước sau. Nếu đầu lấy lõi được nâng lên, chuyển sang Kiểm tra Khóa liên động của Bộ khởi động.
Khởi động động cơ và cài đặt tốc độ động cơ ở vị trí CHậM; tham khảo Khởi động Động cơ.
Hạ thanh tay cầm (Hình 31).

Nhấn bất kỳ nút nào trên InfoCenter.
Note: Đầu lấy lõi nâng lên.
Tắt động cơ; tham khảo Tắt Động cơ.
Nếu động cơ đang chạy, hãy tắt động cơ.
Giữ chặt cần khi có mặt người vận hành vào thanh tay cầm và xoay nút điều khiển lực kéo (Hình 32) về phía trước hoặc xoay về phía sau và khởi động động cơ.
Important: Động cơ không được khởi động.

Nhả cần khi có mặt người vận hành, di chuyển nút điều khiển lực kéo đến vị trí Số MO và khởi động động cơ.
Giữ chặt cần khi có mặt người vận hành vào thanh tay cầm và xoay phần trên của nút điều khiển lực kéo về phía trước (Hình 33).
Note: Máy chạy về phía trước.

Trong khi giữ nút điều khiển lực kéo, hãy nhả cần khi có mặt người vận hành (Hình 34).
Important: Máy phải dừng chạy về phía trước.

Giữ chặt cần khi có mặt người vận hành vào thanh tay cầm và xoay phần trên của nút điều khiển lực kéo về phía trước (Hình 35).
Note: Máy chạy về phía trước.

Trong khi giữ cần khi có mặt người vận hành và nút điều khiển lực kéo, hãy chạm vào công tắc dừng va chạm (Hình 36).
Important: Máy phải dừng chạy về phía trước.
Note: Động cơ vẫn chạy.

Đặt lại công tắc dừng va chạm; tham khảo Đặt lại Công tắc Dừng Va chạm.
Thực hiện 1 trong các thao tác sau:
Di chuyển máy đến khu vực sân cỏ ở nơi bạn có thể đục thông khí mà không làm hỏng các răng đục hoặc khu vực đó.
Tháo răng đục.
Giữ chặt cần khi có mặt người vận hành vào thanh tay cầm, xoay phần trên của nút điều khiển lực kéo về phía trước và đóng cần đục thông khí (Hình 37).
Note: Máy chạy về phía trước, đầu lấy lõi chạy và hạ xuống.

Trong khi giữ chặt cần khi có mặt người vận hành và cần đục thông khí, hãy xoay phần trên của nút điều khiển lực kéo về phía sau (Hình 38).
Important: Đầu lấy lõi phải nâng lên và ngừng chạy.
Note: Động cơ vẫn chạy.

Di chuyển nút điều khiển lực kéo đến vị trí Số MO.
Nếu bạn đã tháo các răng đục, hãy lắp chúng lại và hiệu chuẩn độ cao từ mặt đất của răng đục; tham khảo Lắp ráp Răng đục vào Đầu Lấy lõi và Hiệu chuẩn Độ cao từ Mặt đất của Răng đục.
Important: Bạn phải hiệu chuẩn độ cao từ mặt đất của răng đục mỗi lần thay đổi từ răng đục dài hơn sang răng đục ngắn hơn hoặc từ răng đục ngắn hơn sang răng đục dài hơn.
Có nhiều lựa chọn ngăn chứa răng, tấm bảo vệ sân cỏ và răng cho máy. Chọn các bộ phận cần thiết theo bảng phụ kiện trong Bộ gá và Phụ kiện.
Nâng đầu lấy lõi và khóa vào vị trí bằng chốt dịch vụ; tham khảo Hỗ trợ Đầu Lấy lõi với Chốt vận hành.
Đỗ máy trên bề mặt bằng phẳng, nâng cao hoàn toàn và chốt thanh tay cầm để gài phanh đỗ, tắt động cơ, rút chìa khóa và chờ tất cả các bộ phận đang chuyển động dừng lại.
Note: Nhà máy vận chuyển các kẹp bộ phận bảo vệ lớp cỏ, vòng đệm và êcu hãm mặt bích được siết chặt vào các khung bộ phận bảo vệ lớp cỏ (Hình 39).
Lắp lỏng các bộ phận bảo vệ lớp cỏ vào khung bộ phận bảo vệ lớp cỏ bằng 4 kẹp bộ phận bảo vệ lớp cỏ và 12 êcu hãm mặt bích (3/8 inch) và 12 vòng đệm (7/16 x 13/16 inch).
Note: Không siết chặt các êcu hãm mặt bích.

Lắp lỏng kẹp răng đục vào ngăn chứa răng đục (Hình 40) bằng 4 bu lông (3/8 x 1-1/2 inch). Không siết chặt các bu lông.
Note: Các bu lông là bộ phận trong bộ ngăn chứa răng.

Lắp các răng đục vào ngăn chứa răng đục và kẹp răng đục (Hình 41).

Tạo mô-men xoắn cho các bu lông (3/8 x 1-1/2 inch) đang siết chặt các kẹp răng đục và răng đục đến 40,6 N∙m (30 ft-lb).
Lặp lại các bước 1 đến 3 đối với các kẹp răng đục, ngăn chứa răng đục và răng đục khác.
Lắp lỏng ngăn chứa răng đục và răng đục vào tay đòn răng đục #2 (Hình 42 và Hình 43) bằng 3 bu lông (1/2 x 1-1/4 inch).


Tạo mô-men xoắn cho các bu lông (1/2 x 1-1/4 inch) đến 102 N∙m (75 ft-lb).
Lặp lại các bước 1 và 2 đối với tay đòn răng đục #5.
Kiểm tra căn chỉnh của các khe bộ phận bảo vệ lớp cỏ với các răng đục để đảm bảo chúng nằm chính giữa (Hình 44).
Note: Điều chỉnh bộ phận bảo vệ lớp cỏ theo yêu cầu.

Tạo mô-men xoắn cho êcu hãm mặt bích (3/8 inch) đang siết chặt 3 kẹp bộ phận bảo vệ lớp cỏ và 3 bộ phận bảo vệ lớp cỏ vào 3 khung bộ phận bảo vệ lớp cỏ.
Lắp ngăn chứa răng đục và các răng đục còn lại vào các ngăn chứa răng đục #1, #3, #4 và #6 bằng 12 bu lông (1/2 x 1-1/4 inch).
Tạo mô-men xoắn cho các bu lông (1/2 x 1-1/4 inch) đến 102 N∙m (75 ft-lb).
Hiệu chuẩn máy đối với độ cao từ mặt đất của răng đục; tham khảo Chạy Ứng dụng Độ cao từ Mặt đất của Răng đục.
Xoay chìa khóa điện đến vị trí CHạY.
Nếu mũi tên không hiển thị trên màn hình chế độ VậN CHUYểN hoặc màn hình chế độ ĐụC THôNG KHí, hãy nhập mã PIN để truy cập các menu được bảo vệ; tham khảo Truy cập Menu được Bảo vệ.
Note: Màn hình chế độ VậN CHUYểN hoặc màn hình chế độ ĐụC THôNG KHí hiển thị (Hình 45).

Nhấn nút bên phải hai lần để hiển thị màn hình Hiệu chuẩn Độ cao từ Mặt đất của Răng đục (Hình 46).
Note: Nhấn nút bên trái để hiển thị màn hình chế độ VậN CHUYểN hoặc ĐụC THôNG KHí.

Nhấn nút bên phải để hiển thị màn hình Cài đặt Độ sâu của Lỗ (Hình 47).
Note: Nhấn nút bên trái để hiển thị màn hình Độ cao từ Mặt đất của Răng đục.

Nhấn nút bên phải để hiển thị màn hình Cài đặt Khoảng cách giữa các lỗ (Hình 48).
Note: Nhấn nút bên trái để hiển thị màn hình Cài đặt Độ sâu của Lỗ.

Nhấn nút bên phải để hiển thị màn hình Cài đặt Đường kính Răng đục (Hình 48).
Note: Nhấn nút bên trái để hiển thị màn hình Cài đặt Khoảng cách giữa các lỗ.

Nhấn nút bên phải để hiển thị màn hình Cài đặt Số lượng Răng đục (Hình 50).
Note: Nhấn nút bên trái để hiển thị màn hình Cài đặt Đường kính Răng đục.

Note: ProCore 648s được thiết kế để mang lại hiệu suất sục khí tối ưu trên nhiều loại cỏ và đất, điều kiện nông học và kiểu răng đục khác nhau khi được đặt ở độ sâu 7,6 cm. Khi được sử dụng ở các cài đặt nông hơn, đặc biệt là ở độ sâu dưới 5 cm với các răng đục nhỏ hơn, nó có thể gây ra phá vỡ bề mặt lớn hơn.
Đảm bảo đầu lấy lõi được nâng lên; tham khảo Nâng Đầu Lấy lõi.
Xoay chìa khóa điện đến vị trí CHạY.

Nhấn nút bên phải cho đến khi màn hình Cài đặt Đặt Độ sâu của Lỗ hiển thị (Hình 51 và Hình 52).
Điều chỉnh độ sâu răng đục bằng các nút lên và xuống (Hình 52) như sau:
Nhấn nút xuống để giảm độ sâu của lỗ.
Nhấn nút lên để tăng độ sâu của lỗ.

Nhấn nút bên trái hoặc bên phải để lưu cài đặt của bạn và thoát khỏi màn hình độ sâu.
Xoay chìa khóa điện đến vị trí TắT.
Note: Nếu sục khí ở độ sâu tối đa cho phép (với bất kỳ chiều dài răng đục nào) sau khi chạy hiệu chuẩn độ cao từ mặt đất, các bu lông bảo vệ mặt cỏ sẽ bừa hoặc tiếp xúc với mặt cỏ, hãy giảm độ sâu thêm một bước (¼ inch).
Note: Khi bạn chọn tốc độ giữ khoảng cách giữa các lỗ mục tiêu, máy sẽ điều khiển tốc độ trên mặt đất để duy trì khoảng cách giữa các lỗ.
Đảm bảo đầu lấy lõi được nâng lên; tham khảo Nâng Đầu Lấy lõi.
Xoay chìa khóa điện đến vị trí CHạY.

Nhấn nút bên phải cho đến khi màn hình Cài đặt Khoảng cách giữa các lỗ (Hình 53 và Hình 54).
Điều chỉnh khoảng cách giữa các lỗ (Hình 54) như sau:
Nhấn nút xuống để giảm khoảng cách giữa các lỗ.
Nhấn nút lên để tăng khoảng cách giữa các lỗ.

Nhấn nút bên trái hoặc bên phải để lưu cài đặt của bạn và thoát khỏi màn hình khoảng cách.
Xoay chìa khóa điện đến vị trí TắT.
Đảm bảo đầu lấy lõi được nâng lên; tham khảo Nâng Đầu Lấy lõi.
Xoay chìa khóa điện đến vị trí CHạY.

Nhấn nút bên phải cho đến khi màn hình Cài đặt Đường kính Răng đục (Hình 55 và Hình 56).
Điều chỉnh đường kính răng đục bằng các nút lên và xuống (Hình 56) như sau:
Nhấn nút lên để tăng đường kính răng đục.
Nhấn nút xuống để giảm đường kính răng đục.

Nhấn nút bên trái hoặc bên phải để lưu cài đặt của bạn và thoát khỏi màn hình đường kính.
Xoay chìa khóa điện đến vị trí TắT.
Đảm bảo đầu lấy lõi được nâng lên; tham khảo Nâng Đầu Lấy lõi.
Xoay chìa khóa điện đến vị trí CHạY.

Nhấn nút bên phải cho đến khi màn hình Cài đặt Số lượng Răng đục hiển thị (Hình 58).
Điều chỉnh số lượng răng đục bằng các nút lên và xuống (Hình 58) như sau:
Important: Số lượng răng đục là số lượng răng đục của 1 ngăn chứa.
Nhấn nút lên để tăng số lượng răng đục.
Nhấn nút xuống để giảm số lượng răng đục.

Nhấn nút bên trái hoặc bên phải để lưu cài đặt của bạn và thoát khỏi màn hình số lượng răng đục.
Xoay chìa khóa điện đến vị trí TắT.
| Khoảng thời gian Dịch vụ Bảo trì | Quy trình Bảo trì |
|---|---|
| Trước mỗi lần sử dụng hoặc hàng ngày |
|
Important: Hiệu chuẩn độ cao từ mặt đất của răng đục mỗi lần bạn thay răng đục hoặc thay răng đục bị mòn.
Đảm bảo đầu lấy lõi được nâng lên.
Đỗ máy trên bề mặt bằng phẳng, nâng cao hoàn toàn và chốt thanh tay cầm để gài phanh đỗ, tắt động cơ, rút chìa khóa và chờ tất cả các bộ phận đang chuyển động dừng lại.
Tháo nắp đầu lấy lõi; tham khảo Tháo Nắp Đầu Lấy lõi.
Xoay ròng rọc đầu lấy lõi (Hình 59) cho đến khi các răng đục ngoài cùng thẳng hàng gần mặt đất nhất (Hình 60).
Important: Giữ cho ngón tay của bạn tránh xa khu vực ở nơi các dây đai chụm lại và rời khỏi ròng rọc để bạn không bị kẹp ngón tay.


Lắp nắp đầu lấy lõi; tham khảo Lắp Nắp Đầu Lấy lõi.
Xoay chìa khóa điện đến vị trí CHạY.
Note: Màn hình chế độ VậN CHUYểN hoặc màn hình chế độ ĐụC THôNG KHí hiển thị (Hình 61).

Di chuyển thanh tay cầm để bạn có thể nhìn thấy các răng đục ngoài cùng mà bạn đã định vị ở Chuẩn bị Máy.
Nhấn nút bên phải cho đến khi trình thuật sĩ Độ CAO Từ MặT đấT CủA RăNG đụC hiển thị.
Trên màn hình Độ cao từ Mặt đất của Răng đục (Hình 62), rồi nhấn nút ở giữa.

Trên màn hình NHấN OK để BắT đầU RăNG đụC (Hình 63), nhấn nút chọn.

Note: Thông báo Đã GàI HIệU CHUẩN hiển thị và đầu lấy lõi từ từ hạ xuống.
Important: Để bàn tay của bạn gần InfoCenter.
Note: Đầu lấy lõi hạ xuống chậm hơn nếu chất lỏng thủy lực đã nguội.
Khi bất kỳ răng đục nào chạm đất, nhấn nút chọn trên màn hình Hạ Đầu (Hình 64).
Note: Các răng đục chỉ được chạm đất và không nâng hoặc dỡ trọng lượng khỏi lốp.Nếu đầu lấy lõi nâng máy lên, máy sẽ hiệu chuẩn độ cao từ mặt đất không chính xác, dẫn đến độ sâu của lỗ không chính xác và tạo búi cỏ ở miệng của lỗ đục thông khí.

Note: thông báo HOàN TấT HIệU CHUẩN hiển thị và đầu nâng lên hoàn toàn.
Nhấn nút quay lại để thoát khỏi ứng dụng Độ cao từ Mặt đất của Răng đục.
Chủ sở hữu/người vận hành có thể ngăn chặn và chịu trách nhiệm về những tai nạn có thể gây thương tích cá nhân hoặc thiệt hại về tài sản.
Mặc quần áo phù hợp, bao gồm bảo vệ mắt; quần dài; giày dép chắc chắn, chống trơn trượt; và bảo vệ thính giác. Buộc tóc dài lại, cột chặt quần áo rộng và không đeo đồ trang sức lỏng lẻo.
Không vận hành máy khi mệt mỏi, bị ốm, hoặc đang chịu ảnh hưởng của các chất có cồn, chất gây nghiện.
Không để những người xung quanh, trẻ em và vật nuôi lại gần khu vực vận hành. Không cho phép trẻ em vận hành máy. Chỉ cho phép những người có trách nhiệm, được đào tạo, quen thuộc với hướng dẫn và có đủ năng lực thể chất vận hành máy.
Tuyệt đối không chở người đi cùng trên máy.
Chỉ vận hành máy khi có tầm nhìn tốt để tránh các hố hoặc nguy cơ tiềm ẩn.
Giữ tay và chân tránh xa răng.
Quan sát phía sau và phía dưới trước khi lùi để đảm bảo đường đi thông suốt.
Dừng máy, tắt động cơ, rút chìa khóa, chờ cho tất cả bộ phận đang chuyển động dừng lại và kiểm tra răng khi răng va chạm vào vật thể hoặc nếu có rung động bất thường trong máy. Thực hiện tất cả các sửa chữa cần thiết trước khi vận hành trở lại.
Luôn duy trì áp suất lốp phù hợp.
Giảm tốc độ kéo trên đường và bề mặt gồ ghề.
Dốc là yếu tố chính liên quan đến tai nạn mất kiểm soát và lật xe, có thể dẫn đến chấn thương nặng hoặc tử vong. Bạn là người chịu trách nhiệm vận hành an toàn trên dốc. Cần phải hết sức thận trọng khi vận hành máy trên bất kỳ độ dốc nào.
Đánh giá các điều kiện của địa điểm làm việc để xác định xem độ dốc có an toàn cho vận hành máy hay không, bao gồm khảo sát địa điểm. Luôn luôn suy xét dựa trên kinh nghiệm và đưa ra đánh giá hợp lý khi thực hiện khảo sát này.
Xem lại hướng dẫn về độ dốc được liệt kê dưới đây để vận hành máy trên dốc và xem lại điều kiện để xác định xem bạn có thể vận hành máy trong điều kiện vào ngày hôm đó và tại địa điểm đó hay không. Việc thay đổi về địa hình có thể dẫn đến thay đổi vận hành của máy trên dốc.
Tránh khởi động, dừng hoặc quay máy trên dốc. Tránh thay đổi tốc độ hoặc phương hướng đột ngột. Quay rẽ chậm dần đều.
Không vận hành máy trong bất kỳ điều kiện nào khi nghi ngờ có vấn đề về lực kéo, lái hoặc độ ổn định.
Loại bỏ hoặc đánh dấu vật cản như mương, hố, đường lún, chỗ lồi, đá hoặc các nguy cơ tiềm ẩn khác. Cỏ cao có thể che khuất vật cản. Địa hình không bằng phẳng có thể làm lật máy.
Lưu ý rằng việc vận hành máy trên cỏ ướt, ngang dốc hoặc xuống dốc có thể làm mất lực kéo của máy. Mất lực kéo đến các bánh xe truyền động có thể dẫn đến trượt, mất phanh và mất lái.
Cần hết sức thận trọng khi vận hành máy gần dốc thẳng đứng, mương, bờ kè, nguy cơ có nước hoặc các mối nguy hiểm khác. Máy có thể đột ngột ngã lăn nếu một bánh xe đi qua mép hoặc mép bị lún. Thiết lập khu vực an toàn giữa máy và mọi mối nguy hiểm.
Nâng cao thanh tay cầm hoàn toàn để gài phanh đỗ (Hình 65).

Đảm bảo đinh chốt thanh tay cầm xuyên qua lỗ trên tấm hãm (Hình 66).
Nếu phanh đỗ không gài, máy có thể di chuyển khiến bạn hoặc người xung quanh bị thương.
Đảm bảo thanh tay cầm được nâng lên hoàn toàn và chốt chắc chắn vào tấm hãm.

Nâng hoàn toàn và chốt thanh tay cầm để gài phanh đỗ; tham khảo Bật Phanh Đỗ.
Sử dụng bướm gió (Hình 70) như sau:
Trước khi khởi động động cơ nguội, di chuyển điều khiển bướm gió đến vị trí BậT.
Khi khởi động động cơ ấm hoặc nóng, bạn có thể không cần sử dụng bướm gió.

Di chuyển cần tiết lưu đến vị trí NHANH trước khi khởi động động cơ nguội.
Xoay chìa khóa điện về vị trí KHởI độNG. Khi động cơ khởi động, nhả chìa khóa.
Important: Mỗi lần không bật bộ khởi động trong quá 10 giây. Nếu động cơ không khởi động được, hãy chờ 30 giây để động cơ nguội đi giữa các lần thử. Không tuân theo những hướng dẫn này có thể làm cháy mô-tơ khởi động.
Sau khi động cơ khởi động, di chuyển bướm gió đến vị trí TắT. Nếu động cơ chạy không đều hoặc dừng, hãy di chuyển bướm gió trở về phía vị trí BậT trong vài giây. Sau đó di chuyển cần tiết lưu đến tốc độ động cơ mong muốn.
Note: Lặp lại bước này theo yêu cầu.
Trẻ em hoặc những người xung quanh có thể bị thương nếu di chuyển hoặc cố gắng vận hành máy khi không được giám sát.
Luôn nâng hoàn toàn và chốt thanh tay cầm để gài phanh đỗ, tắt động cơ và rút chìa khóa khi để máy không được giám sát, dù chỉ trong vài phút.
Nâng hoàn toàn và chốt thanh tay cầm để gài phanh đỗ; tham khảo Bật Phanh Đỗ.
Di chuyển cần tiết lưu (Hình 71) đến vị trí CHậM.

Để động cơ dừng trong 60 giây.
Xoay chìa khóa khóa điện đến vị trí TắT và rút chìa khóa.
Nếu bạn đang vận chuyển hoặc cất giữ máy, hãy đóng van ngắt nhiên liệu (Hình 72).
Important: Đóng van ngắt nhiên liệu trước khi vận chuyển máy trên xe moóc hoặc cất máy. Nâng hoàn toàn và chốt thanh tay cầm để gài phanh đỗ trước khi vận chuyển máy. Rút chìa khóa ra khỏi công tắc khóa điện để ngăn không cho bơm nhiên liệu chạy và khiến ắc quy phóng điện.

Important: Đi bộ ở phía trước máy theo hướng tiến khi vận hành máy, không bước đi và quay mặt về phía sau khi vận hành máy.

Sử dụng Khóa Tốc độ cho phép bạn điều khiển máy mà không cần phải giữ nút điều khiển lực kéo.
Note: Bạn không thể sử dụng tính năng khóa tốc độ khi điều khiển máy lùi.
Sử dụng khóa tốc độ trong khi đục thông khí cho phép bạn tiếp tục điều khiển máy ở tốc độ giữ khoảng cách giữa các lỗ đã chọn khi kết thúc đường đi đục thông khí, quay máy và bắt đầu đường đi đục thông khí tiếp theo mà không thay đổi vị trí điều khiển lực kéo.
Note: Tính năng khóa tốc độ ở chế độ đục thông khí đang hoạt động khi đầu lấy lõi được đặt ở chế độ thả rơi trễ; tính năng khóa tốc độ bị khóa ở chế độ thả rơi ngay lập tức.
Khóa tốc độ trên mặt đất hoạt động giống như điều khiển hành trình ô tô.
Nhấn công tắc vận chuyển/đục thông khí sang vị trí VậN CHUYểN (Hình 74).

Nhấn công tắc khóa tốc độ sang vị trí BậT.
Điều khiển máy về phía trước với tốc độ trên mặt đất mong muốn.
Nhấn công tắc khóa tốc độ sang vị trí GàI.
Note: Khóa tốc độ trên mặt đất duy trì tốc độ trên mặt đất hiện tại mà máy đang chạy. Bạn có thể nhả nút điều khiển lực kéo.
Để nhả thao tác khóa tốc độ, hãy thực hiện một trong các thao tác sau:
Nhấn công tắc khóa tốc độ sang vị trí TắT.
Xoay phần trên của nút điều khiển lực kéo về phía sau để lái máy lùi.
Nhả cần khi có mặt người vận hành.
Nhấn công tắc dừng va chạm.
Note: Khóa tốc độ trên mặt đất không khả dụng khi đục thông khí ở chế độ thả rơi ngay lập tức.
Nhấn công tắc vận chuyển/đục thông khí ở vị trí ĐụC THôNG KHí (Hình 75).

Nhấn công tắc khóa tốc độ sang vị trí BậT.
Lái máy về phía trước và đóng cần đục thông khí.
Note: Khóa tốc độ trên mặt đất được gài và đầu lấy lõi hạ xuống.
Khi kết thúc đường đi đục thông khí, nhả cần đục thông khí.
Note: Đầu lấy lõi nâng lên nhưng máy vẫn duy trì tốc độ trên mặt đất với tốc độ giữ khoảng cách giữa các lỗ đục thông khí.
Để nhả thao tác khóa tốc độ, hãy thực hiện một trong các thao tác sau:
Nhấn công tắc khóa tốc độ sang vị trí TắT.
Xoay phần trên của nút điều khiển lực kéo về phía sau để lái máy lùi.
Nhả cần khi có mặt người vận hành.
Nhấn công tắc dừng va chạm.
Note: Sử dụng chế độ vận chuyển khi bạn di chuyển máy giữa các địa điểm làm việc.
Note: Máy chạy với tốc độ khả biến giảm vào bất cứ lúc nào mà công tắc vận chuyển/đục thông khí ở vị trí ĐụC THôNG KHí.
Khởi động động cơ và di chuyển nút điều khiển tiết lưu đến vị trí NHANH; tham khảo Khởi động Động cơ.
Hạ thanh tay cầm để nhả phanh đỗ; tham khảo Nhả Phanh Đỗ.
Nhấn phía bên trái của công tắc vận chuyển/đục thông khí sang vị trí VậN CHUYểN (Hình 76).

Note: InfoCenter hiển thị biểu tượng VậN CHUYểN (Hình 77).

Nhìn theo hướng của lộ trình đã lên kế hoạch để đảm bảo lộ trình thông thoáng rõ ràng.
Nắm chặt thanh tay cầm bên trái hoặc bên phải và cần khi có mặt người vận hành (Hình 76), rồi bóp cần vào tay cầm.
Dùng ngón tay cái xoay nút điều khiển lực kéo sang trái hoặc phải để điều khiển máy như sau:
Xoay phần trên của nút điều khiển lực kéo về phía trước để lái máy tiến.
Xoay phần trên của nút điều khiển lực kéo về phía sau để lái máy lùi.
Note: Xoay thêm nút điều khiển lực kéo sẽ làm tăng tốc độ trên mặt đất của máy.
Important: Để dừng máy ngay lập tức, hãy nhấn công tắc dừng va chạm (Hình 78).

Nếu bạn đang đục thông khí, hãy thả cần đục thông khí (Hình 79) để nâng đầu lấy lõi; tham khảo Nâng Đầu Lấy lõi.

Nhả nút điều khiển lực kéo và để nó di chuyển về vị trí Số MO.
Nhả cần khi có mặt người vận hành.
Nâng hoàn toàn và chốt thanh tay cầm để gài phanh đỗ; tham khảo Bật Phanh Đỗ.
Note: Máy chạy với tốc độ khả biến giảm bất cứ khi nào đầu lấy lõi được nâng lên.
Khởi động động cơ và di chuyển nút điều khiển tiết lưu đến vị trí NHANH; tham khảo Khởi động Động cơ.
Hạ thanh tay cầm để nhả phanh đỗ; tham khảo Nhả Phanh Đỗ.
Nhấn phía bên phải của công tắc vận chuyển/đục thông khí sang vị trí ĐụC THôNG KHí (Hình 80).

InfoCenter hiển thị độ sâu của lỗ và khoảng cách giữa các lỗ hiện tại (Hình 81).

Nhìn theo hướng của lộ trình đã lên kế hoạch để đảm bảo lộ trình thông thoáng rõ ràng.
Nắm chặt thanh tay cầm bên trái hoặc bên phải và cần khi có mặt người vận hành (Hình 80), rồi bóp cần vào tay cầm.
Dùng ngón tay cái xoay phần trên của nút điều khiển lực kéo sang trái hoặc phải để điều khiển máy về phía trước.
Note: Trong quá trình đục thông khí, máy chạy với tốc độ đáp ứng những gì bạn đã chọn cho khoảng cách giữa các lỗ mục tiêu.
Khi sử dụng khóa tốc độ trên mặt đất, việc nhả cần đục thông khí mà không thay đổi vị trí điều khiển lực kéo sẽ khiến máy duy trì tốc độ trên mặt đất, giống như điều khiển hành trình của ô tô.
Lái máy theo hướng lùi sẽ làm mất hiệu ứng điều khiển hành trình và khiến máy chạy với tốc độ trên mặt đất khả biến.
Khi bạn nâng đầu lên để quay máy nhằm thực hiện một đường đi khác, bạn có thể tăng tốc độ trên mặt đất bằng cách di chuyển nút điều khiển lực kéo xa hơn về phía trước. Khi bạn đưa nút điều khiển lực kéo về vị trí Số MO, máy sẽ giảm tốc độ xuống tốc độ trên mặt đất cần thiết để giữ khoảng cách giữa các lỗ đục thông khí.
Sử dụng lốp trước để quan sát điểm thả rơi khi đục thông khí ở chế độ thả rơi trễ.
Nhấn phần trên của công tắc điều khiển thả rơi (Hình 82) đến vị trí THả RơI TRễ.

Lái máy theo hướng tiến; tham khảo Điều khiển Máy ở Chế độ Đục thông khí.
Khi lốp trước lăn qua chu vi khu vực đục thông khí, hãy đóng cần đục thông khí bên trái hoặc bên phải (Hình 83).
Note: Đầu lấy lõi chạy và hạ xuống khi máy di chuyển về phía trước băng qua khu vực đục thông khí mục tiêu.

Sử dụng lốp trước (Hình 84) để quan sát điểm nâng khi ở chế độ thả rơi trễ.

Để nâng đầu lấy lõi, thực hiện 1 trong các thao tác sau:
Khi lốp trước lăn qua chu vi khu vực đục thông khí, hãy nhả cần đục thông khí (Hình 85).
Note: Máy trì hoãn việc nâng đầu lấy lõi cho đến khi đầu lấy lõi đạt đến vị trí mục tiêu mà bạn đã xác định bằng cách sử dụng lốp trước và nhả cần đục thông khí.

Lái máy theo hướng lùi; tham khảo Điều khiển Máy theo Hướng Lùi.
Nhấn phần dưới của công tắc điều khiển thả rơi (Hình 86) đến vị trí THả RơI NGAY LậP TứC.
Note: Đèn trong công tắc phát sáng.

Lái máy theo hướng tiến; tham khảo Điều khiển Máy ở Chế độ Đục thông khí.
Đóng bên trái hoặc bên phải cần đục thông khí (Hình 87).
Note: Đầu lấy lõi ngay lập tức hạ xuống và bắt đầu đục thông khí.

Để nâng đầu lấy lõi, thực hiện 1 trong các thao tác sau:
Nhả cần đục thông khí (Hình 88).
Note: Máy nâng đầu lấy lõi ngay lập tức.

Lái máy theo hướng lùi; tham khảo Điều khiển Máy theo Hướng Lùi.
Nhả nút điều khiển lực kéo và để nó di chuyển đến vị trí Số MO, và nhả cần khi có mặt người vận hành (Hình 91).

Di chuyển ra khỏi công tắc dừng va chạm (Hình 92).
Note: Một lò xo trong công tắc dừng va chạm sẽ đặt lại công tắc.

Nắm chặt thanh tay cầm bên trái hoặc bên phải và cần khi có mặt người vận hành (Hình 93), rồi bóp cần vào tay cầm.

Điều khiển máy, tham khảo Điều khiển Máy ở Chế độ Vận chuyển hoặc Điều khiển Máy ở Chế độ Đục thông khí.
Sử dụng tấm đánh dấu để căn chỉnh các hàng đục thông khí (Hình 94).

Máy sử dụng 2 bộ đếm để ghi lại diện tích được đục thông khí và thể tích lõi đất bị dịch chuyển. Sử dụng thông tin từ những bộ đếm này để ước tính lượng rải phủ bề mặt cần áp dụng cho (các) khu vực lớp cỏ được đục thông khí.
Bộ đếm Diện tích 1 không được bảo vệ bằng mã PIN và được người vận hành máy dự định thiết lập lại.
Note: Nếu người vận hành ghi lại bộ đếm Diện tích 1 cho từng địa điểm đục thông khí, bạn có thể ước tính lượng lớp đất mặt và yêu cầu phân phối cho từng địa điểm.
Bộ đếm Diện tích 2 được bảo vệ bằng mã PIN và được người giám sát hoặc người đại diện của họ dự định thiết lập lại.
Diện tích được đục thông khí hiển thị theo đơn vị đo m2 (SI) hoặc ft2 (hệ Anh).
Thể tích lấy lõi bị dịch chuyển hiển thị dưới dạng đơn vị đo m3 (SI) hoặc yd3 (hệ Anh).
Khi xem bộ đếm thể tích lấy lõi bị dịch chuyển, máy sẽ tính toán thể tích bằng cách sử dụng đường kính răng đục và số lượng răng đục mà bạn đã nhập trong InfoCenter.
Important: Nếu (các) giá trị đường kính răng đục và/hoặc số lượng răng đục không chính xác trước khi đục thông khí cho địa điểm, InfoCenter sẽ tính toán và hiển thị các giá trị thể tích lõi không chính xác cho Diện tích 1 và Diện tích 2. Nếu các giá trị đường kính và/hoặc số lượng thay đổi sau khi đục thông khí, InfoCenter sẽ thay đổi các giá trị thể tích được hiển thị.
Đỗ máy trên bề mặt bằng phẳng.
Đảm bảo động cơ đang chạy hoặc chìa khóa điện ở vị trí CHạY.
Trong InfoCenter, điều hướng đến MENU CHíNH.
Nhấn nút xuống cho đến khi tùy chọn DịCH Vụ được chọn, và nhấn nút chọn (Hình 95).

Trên màn hình DịCH Vụ, nhấn nút xuống cho đến khi tùy chọn Số LIệU THốNG Kê được chọn, rồi nhấn nút chọn (Hình 96).

Note: Bộ đếm DIệN TíCH hiển thị trên màn hình Số LIệU THốNG Kê.

Trên màn hình Số LIệU THốNG Kê, nhấn nút xuống cho đến khi tùy chọn DIệN TíCH 1 được chọn (Hình 98).

Ghi lại diện tích đục thông khí và thể tích lõi đất vào bảng tính; tham khảo ví dụ sau.
|
Ngày |
Sân (nếu có nhiều) |
Vị trí |
Diện tích Đục thông khí |
Thể tích Lõi |
Nhấn nút chọn để hiển thị màn hình diện tích và thể tích đặt lại.
Trên MàN HìNH ĐặT LạI DIệN TíCH Và THể TíCH, nhấn nút chọn.
Note: InfoCenter hiển thị màn hình số liệu thống kê và bộ đếm diện tích và thể tích được đặt lại về 0.
Note: Nếu bạn không đặt lại bộ đếm Diện tích 1, bộ đếm diện tích và thể tích sẽ tiếp tục tích lũy dữ liệu.

Lặp lại các bước từ 1 đến 4 nếu cần.
Nhấn nút quay lại để quay lại menu chính.
Note: Đặt lại bộ đếm DIệN TíCH 2 sẽ không đặt lại bộ đếm DIệN TíCH 1.
Nhập mã PIN để truy cập các menu được bảo vệ; tham khảo Truy cập Menu được Bảo vệ.
Trên màn hình Số LIệU THốNG Kê, nhấn nút xuống cho đến khi tùy chọn DIệN TíCH 2 được chọn (Hình 100).

Nếu cần, ghi lại dữ liệu về diện tích đục thông khí và thể tích lõi đất.
Nhấn nút chọn để hiển thị màn hình diện tích và thể tích đặt lại.
Trên MàN HìNH ĐặT LạI DIệN TíCH Và THể TíCH, nhấn nút chọn (Hình 101).
Note: InfoCenter hiển thị màn hình số liệu thống kê và bộ đếm diện tích và thể tích được đặt lại về 0.
Note: Nếu bạn không đặt lại bộ đếm Diện tích 2, bộ đếm diện tích và thể tích sẽ tiếp tục tích lũy dữ liệu.

Nhấn nút quay lại để quay lại menu chính.
Lắp chốt dịch vụ trước khi thực hiện bảo trì đầu lấy lõi hoặc khi cất máy trong hơn một vài ngày.
Nếu đầu lấy lõi được nâng lên mà không được chốt, nó có thể hạ xuống bất ngờ và gây thương tích cho bạn hoặc những người xung quanh.
Bất cứ khi nào bạn bảo dưỡng đầu lấy lõi, bao gồm thay răng hoặc tấm bảo vệ sân cỏ, hãy sử dụng chốt vận hành để siết chặt đầu lấy lõi ở vị trí nâng.
Nâng đầu lấy lõi.
Đỗ máy trên bề mặt bằng phẳng, nâng cao hoàn toàn và chốt thanh tay cầm để gài phanh đỗ, tắt động cơ, rút chìa khóa và đợi tất cả các bộ phận chuyển động dừng lại.
Tháo nắp đầu lấy lõi; tham khảo Tháo Nắp Đầu Lấy lõi.
Tháo chốt giữ bánh xe đang siết chặt chốt dịch vụ vào tấm bên (Hình 102).

Xoay chốt dịch vụ về phía sau và căn chỉnh nó trên chốt hỗ trợ của đầu lấy lõi.
Cố định chốt vào chốt hỗ trợ bằng chốt giữ bánh xe.
Nếu cần, hãy lắp nắp đầu lấy lõi; tham khảo Lắp Nắp Đầu Lấy lõi.
Đỗ máy trên bề mặt bằng phẳng, nâng cao hoàn toàn và chốt thanh tay cầm để gài phanh đỗ, tắt động cơ, rút chìa khóa và đợi tất cả các bộ phận chuyển động dừng lại.
Nếu nắp đầu lấy lõi được lắp thì hãy tháo ra; tham khảo Tháo Nắp Đầu Lấy lõi.
Tháo chốt giữ bánh xe đang siết chặt chốt dịch vụ vào chốt hỗ trợ của đầu lấy lõi (Hình 103).

Xoay chốt dịch vụ xuống và căn chỉnh nó trên chốt hỗ trợ của tấm bên.
Cố định chốt vào chốt hỗ trợ bằng chốt giữ bánh xe.
Lắp nắp đầu lấy lõi; tham khảo Lắp Nắp Đầu Lấy lõi.
Important: Thay răng đục bị hỏng bằng răng đục có cùng chiều dài. Độ dài răng đục khác nhau ảnh hưởng xấu đến bề ngoài của lỗ.
Độ dài răng đục khác nhau ảnh hưởng đến bề ngoài của lỗ.
Tham khảo minh họa trong Lắp Bộ phận Bảo vệ Lớp cỏ, Ngăn chứa Răng đục và Răng đục .
Nâng đầu lấy lõi và khóa vào vị trí bằng chốt vận hành.
Đỗ máy trên bề mặt bằng phẳng, nâng cao hoàn toàn và chốt thanh tay cầm để gài phanh đỗ, tắt động cơ, rút chìa khóa và chờ tất cả các bộ phận đang chuyển động dừng lại.
Nới lỏng các bu lông của ngăn chứa răng đục và tháo (các) răng đục cũ ra.
Lắp (các) răng đục mới vào ngăn chứa răng đục.
Tạo mô-men xoắn cho các bu lông của ngăn chứa răng đục đến 40,6 N∙m (30 ft-lb).
Nếu cần, hãy lặp lại quy trình này trên các tay đòn còn lại.
Sử dụng ứng dụng thu hồi độ cao từ mặt đất để kiểm tra nhanh độ cao từ mặt đất hiện tại của răng đục.
Ứng dụng di chuyển đầu xuống vị trí đã hiệu chuẩn trước đó; Khi đầu đã vào đúng vị trí, bạn có thể kiểm tra khoảng cách của đầu răng đục với mặt đất.
Đảm bảo đầu lấy lõi được nâng lên.
Đỗ máy trên bề mặt bằng phẳng, nâng cao hoàn toàn và chốt thanh tay cầm để gài phanh đỗ, tắt động cơ, rút chìa khóa và chờ tất cả các bộ phận đang chuyển động dừng lại.
Tháo nắp đầu lấy lõi; tham khảo Tháo Nắp Đầu Lấy lõi.
Xoay ròng rọc đầu lấy lõi (Hình 104) cho đến khi các răng đục ngoài cùng thẳng hàng gần mặt đất nhất.
Important: Giữ cho ngón tay của bạn tránh xa khu vực ở nơi các dây đai chụm lại và rời khỏi ròng rọc để bạn không bị kẹp ngón tay.


Lắp nắp đầu lấy lõi; tham khảo Lắp Nắp Đầu Lấy lõi.
Nhập mã PIN để truy cập các menu được bảo vệ; tham khảo Truy cập Menu được Bảo vệ.
Trong InfoCenter, điều hướng đến MENU CHíNH.
Nhấn nút xuống cho đến khi tùy chọn DịCH Vụ được chọn, và nhấn nút chọn (Hình 105).

Nhấn nút xuống trên InfoCenter để điều hướng đến tùy chọn Độ CAO Từ MặT đấT, sau đó nhấn nút chọn.
Nhấn nút xuống trên InfoCenter để điều hướng đến tùy chọn THU HồI HIệU CHUẩN, rồi nhấn nút chọn.
Trên màn hình Thu hồi Độ cao từ Mặt đất (Hình 106), nhấn nút chọn.

Trên màn hình Đầu Sẽ Hạ (Hình 107), nhấn nút chọn.

Note: Thông báo Hạ Đầu hiển thị và đầu lấy lõi hạ xuống.
Quan sát các răng đục ngoài cùng để biết các điều kiện nằm ngoài hiệu chuẩn sau đây.
Nếu các răng đục bắt đầu xuyên qua mặt đất—nhấn nút chọn (Hình 108) và chạy ứng dụng Độ CAO Từ MặT đấT CủA RăNG đụC; tham khảo Chạy Ứng dụng Độ cao từ Mặt đất của Răng đục.
Nếu các răng đục nằm trên mặt đất—nhấn nút chọn và chạy ứng dụng Độ CAO Từ MặT đấT CủA RăNG đụC; tham khảo Chạy Ứng dụng Độ cao từ Mặt đất của Răng đục.

Nếu răng đục ngoài cùng chạm nhẹ mặt đất, hãy nhấn nút chọn để nâng đầu lấy lõi lên.
Máy chuyển trọng lượng từ bộ kéo sang đầu lấy lõi để giúp duy trì độ sâu của lỗ trong các kết cấu đất khác nhau. Tuy nhiên, nếu kết cấu đất đủ cứng làm cản trở độ sâu đục thông khí tối đa, có thể đầu lấy lõi sẽ cần chuyển trọng lượng bổ sung. Máy được thiết lập để chuyển trọng lượng thông thường tại nhà máy. Để tăng áp suất hướng xuống của lò xo chuyển trọng lượng, hãy tiến hành như sau:
Nhả đột ngột các tấm lò xo có thể gây thương tích.
Nhờ người khác giúp điều chỉnh lò xo chuyển trọng lượng.
Đỗ máy trên bề mặt bằng phẳng, nâng cao hoàn toàn và chốt thanh tay cầm để gài phanh đỗ, tắt động cơ, rút chìa khóa và chờ tất cả các bộ phận đang chuyển động dừng lại.
Nới lỏng êcu hãm mặt bích phía trước và bu lông đầu dù cổ vuông đang siết chặt tấm căng lò xo vào giá đỡ của đầu lấy lõi (Hình 109).
Note: Không tháo êcu hãm và bu lông đầu dù cổ vuông.

Tháo êcu hãm mặt bích phía sau đang siết chặt giá lò xo vào giá đỡ.
Note: Không tháo bu lông đầu dù cổ vuông.
Lắp chốt khóa truyền động hoặc thanh ngắt 1/2 inch vào lỗ vuông trên tấm căng lò xo (Hình 110).

Xoay chốt khóa hoặc thanh ngắt để giảm lực căng trên bu lông đầu dù cổ vuông phía sau và tháo ra khỏi lỗ trên.
Note: Lỗ trên là vị trí chuyển trọng lượng bình thường.
Xoay tấm căng lò xo cho đến khi nó thẳng hàng với lỗ dưới trên giá đỡ, lắp bu lông đầu dù cổ vuông qua các lỗ trên tấm và giá đỡ.
Note: Lỗ dưới là vị trí chuyển trọng lượng cao hơn. Xoay các tấm lò xo lên trên sẽ tăng khả năng chuyển trọng lượng.
Siết chặt bu lông đầu dù cổ vuông vào giá đỡ và tấm căng lò xo bằng êcu hãm mặt bích.
Tạo mô-men xoắn của đai ốc khóa đến 37 đến 45 N∙m (27 đến 33 ft-lb).
Để có chất lượng lỗ và hiệu suất máy tối ưu, hãy đục thông khí bằng hệ thống bám đất tự động.
Chỉ sử dụng phương pháp bám đất thủ công nếu cảm biến vị trí răng đục bị hỏng.
Đỗ máy trên bề mặt bằng phẳng, nâng cao hoàn toàn và chốt thanh tay cầm để gài phanh đỗ, tắt động cơ, rút chìa khóa và chờ tất cả các bộ phận đang chuyển động dừng lại.
Tháo nắp đầu lấy lõi; tham khảo Tháo Nắp Đầu Lấy lõi.
Tháo chốt giữ bánh xe đang siết chặt chốt và các vòng chêm chặn độ sâu vào khung chặn (Hình 111 và Hình 112).


Đặt các vòng chêm ở trên hoặc ở dưới khung chặn để điều chỉnh độ sâu lấy lõi.
Với tất cả các vòng chêm ở trên cùng của khung chặn, cài đặt độ sâu là 10,7 cm (4-1/4 inch).
Vòng chêm dày tương đương với gia số 19 mm (3/4 inch).
Vòng chêm mỏng tương đương với gia số độ sâu 9,5 mm.
Note: Bạn phải cài đặt tất cả các vòng chêm, bất kể vị trí của chúng.
Lắp chốt và các vòng chêm chặn độ sâu vào khung chặn bằng chốt giữ bánh xe.
Lặp lại các bước từ 3 đến 5 ở mặt đối diện của máy.
Important: Đảm bảo vị trí vòng chêm ở trên và ở dưới khung chặn bên trái và bên phải giống hệt nhau.
Lắp nắp đầu lấy lõi; tham khảo Lắp Nắp Đầu Lấy lõi.
Note: Nếu bạn đục thông khí ở chế độ thủ công, bạn phải đặt InfoCenter cho chế độ bám đất thủ công mỗi lần bạn khởi động động cơ.
Xoay chìa khóa điện sang vị trí CHạY.
Note: Không khởi động động cơ.
Nhập mã PIN để truy cập các menu được bảo vệ; tham khảo Truy cập Menu được Bảo vệ.
Trong InfoCenter, điều hướng đến MENU CHíNH.
Nhấn nút xuống cho đến khi tùy chọn CàI đặT MáY được chọn, và nhấn nút chọn.
Nhấn nút xuống cho đến khi tùy chọn ĐụC THôNG KHí THủ CôNG được chọn, rồi nhấn nút chọn (Hình 113) để đặt đục thông khí thủ công thành BậT.

Khởi động động cơ.
Đục thông khí bằng Đục thông khí Bằng Chế độ Thả rơi Trễ hoặc Đục thông khí bằng Chế độ Thả rơi Ngay lập tức.
Note: Khi bạn tắt động cơ và khởi động, máy sẽ mặc định ở chế độ tự động bám đất.
Đỗ máy trên bề mặt bằng phẳng, nâng cao hoàn toàn và chốt thanh tay cầm để gài phanh đỗ, tắt động cơ, rút chìa khóa và chờ tất cả các bộ phận đang chuyển động dừng lại.
Tháo nắp đầu lấy lõi; tham khảo Tháo Nắp Đầu Lấy lõi.
Tháo chốt giữ bánh xe đang siết chặt chốt và các vòng chêm chặn độ sâu vào khung chặn (Hình 114).


Đặt tất cả các vòng chêm ở trên khung chặn.
Lắp chốt và các vòng chêm chặn độ sâu vào khung chặn bằng chốt giữ bánh xe.
Note: Bạn phải xếp gọn tất cả các vòng chêm.
Lặp lại các bước từ 3 đến 5 ở mặt đối diện của máy.
Lắp nắp đầu lấy lõi; tham khảo Lắp Nắp Đầu Lấy lõi.
Khi điều chỉnh chuyển trọng lượng, có thể đục thông khí lớp cỏ có nền đất đủ cứng khiến máy nâng lốp sau lên khỏi mặt đất. Điều này có thể khiến khoảng cách giữa các lỗ không đồng đều.
Nếu tình trạng nâng này xảy ra, bạn có thể thêm các tấm đối trọng tùy chọn vào ống trục khung sau. Mỗi tấm đối trọng tăng thêm 28,5 kg (63 lb) cho máy. Bạn có thể thêm tối đa 2 tấm. Tham khảo Danh mục Bộ phận của máy bạn để biết số bộ phận đối trọng và phần cứng.
Dụng cụ cần thiết: Ổ cắm 15 mm và chìa vặn đầu ống
Important: Không vận hành động cơ khi van bypass mở lâu hơn 10 đến 15 giây.
Nếu có thể, hãy đỗ máy trên bề mặt bằng phẳng.
Nâng hoàn toàn và cài chốt thanh tay cầm để gài phanh đỗ, tắt động cơ, rút chìa khóa và đợi tất cả các bộ phận chuyển động dừng lại.
Tháo 2 bu lông đầu mặt bích đang siết chặt thùng lưu trữ vào giá đỡ thùng (Hình 115).

Xác định vị trí nắp cho vít van rẽ nhánh giữa động cơ và bơm thủy lực như được minh họa trong Hình 116).

Sử dụng ổ cắm 15 mm và chìa vặn đầu ống để xoay van rẽ nhánh ngược chiều kim đồng hồ 1-1/2 vòng.
Important: Không xoay van rẽ nhánh quá 1-1/2 vòng.
Nếu bạn kéo máy, hãy kéo máy bằng vòng buộc phía trước (Hình 117).
Important: Không đẩy/kéo máy quá 30,5 m hoặc nhanh hơn 0,6 km/h vì có thể xảy ra hư hỏng bộ phận thủy lực.

Hạ thanh tay cầm để nhả phanh đỗ trước khi đẩy/kéo máy.
Important: Bạn phải hạ thanh tay cầm để nhả phanh đỗ trước khi di chuyển máy.
Important: Bạn phải đóng van bypass để lái máy. Không cố vận hành hệ thống kéo khi van bypass đang mở.
Xác định vị trí vít van rẽ nhánh giữa động cơ và bơm thủy lực.
Note: Vị trí của nắp vít van rẽ nhánh được minh họa trong Hình 118.

Sử dụng ổ cắm 15 mm và chìa vặn đầu ống để xoay van rẽ nhánh theo chiều kim đồng hồ 1-1/2 vòng.
Note: Không vặn quá chặt vít rẽ nhánh.
Sử dụng cờ lê 15 mm để lắp nắp vít rẽ nhánh lên trên bơm thủy lực.
Lắp thùng lưu trữ vào giá đỡ thùng bằng 2 bu lông đầu mặt bích.
Nếu động cơ ngừng chạy trong khi đầu lấy lõi hạ xuống và các răng đục cắm vào đất và bạn không thể khởi động động cơ, hãy thực hiện Nâng Đầu Lấy lõi bằng Bộ khởi động hoặc Tháo Ngăn chứa Răng đục ra khỏi Tay đòn Dập.
Di chuyển chìa khóa tới vị trí CHạY.
Trong InfoCenter, điều hướng đến MENU CHíNH.
Nhấn nút xuống cho đến khi tùy chọn DịCH Vụ được chọn, và nhấn nút chọn (Hình 119).

Nhấn nút xuống cho đến khi tùy chọn NâNG DịCH Vụ được chọn, và nhấn nút chọn (Hình 120).
Note: Tùy chọn nâng dịch vụ thay đổi thành BậT.

Di chuyển chìa khóa đến vị trí KHởI độNG và quay tay bộ khởi động trong 10 giây.
Important: Mỗi lần không bật bộ khởi động trong quá 10 giây. Nếu răng đục chưa dọn sạch mặt đất, hãy chờ 30 giây để động cơ nguội đi giữa các lần thử. Không tuân theo những hướng dẫn này có thể làm cháy mô-tơ khởi động.
Note: Đầu lấy lõi nâng các răng đục lên khỏi mặt đất.
Important: Các răng đục dọn sạch mặt đất hoàn toàn trước khi di chuyển máy.
Mở van rẽ nhánh; tham khảo Rẽ nhánh Bơm Thủy lực và Di chuyển Máy.
Kéo/đẩy máy đến vị trí gần đó để tiếp tục công việc hoặc chất lên xe moóc.
Important: Không kéo/đẩy máy quá 30,5 m và không nhanh hơn 1,6 km/h, vì có thể xảy ra hư hỏng thủy lực.
Tháo các ngăn chứa răng ra khỏi các cán dập.
Mở van rẽ nhánh; tham khảo Rẽ nhánh Bơm Thủy lực và Di chuyển Máy.
Kéo/đẩy máy đến vị trí gần đó để tiếp tục công việc hoặc chất lên xe moóc.
Important: Không kéo/đẩy máy quá 30,5 m và không nhanh hơn 1,6 km/h, vì có thể xảy ra hư hỏng thủy lực.
Trong lúc rẽ phải thật đều và từ từ khi đục thông khí. Không được thực hiện rẽ gấp khi đang bật đầu lấy lõi. Lập kế hoạch cho đường đục thông khí trước khi hạ máy đục thông khí xuống.
Luôn chú ý liên tục mọi vật ở trước mặt theo hướng di chuyển về phía trước. Tránh đục thông khí bên cạnh các tòa nhà, hàng rào và các thiết bị khác.
Thường xuyên quan sát phía sau để đảm bảo máy vận hành bình thường và vẫn thẳng hàng với đường đi trước đó.
Luôn dọn sạch khu vực có các bộ phận máy hư hỏng, chẳng hạn như răng gãy, v.v. để tránh bị cuốn vào các máy cắt cỏ hay thiết bị bảo dưỡng sân cỏ khác.
Thay các răng gãy, kiểm tra và sửa chữa hư hỏng cho những răng còn sử dụng được. Sửa chữa các hư hỏng khác của máy trước khi bắt đầu vận hành.
Khi đục thông khí với chiều rộng nhỏ hơn chiều rộng toàn bộ của máy, bạn có thể tháo bớt răng, nhưng vẫn phải lắp đầu răng lắp trên các cán dập để đảm bảo sự cân bằng và hoạt động phù hợp của máy.
Máy này đục thông khí sâu hơn hầu hết các máy đục thông khí vùng green. Trên vùng green và teebox đẩy lên tự nhiên hoặc đã được cải tạo, các loại răng rỗng dài hơn và độ sâu sâu hơn có thể gặp khó khăn khi đục toàn bộ lõi. Điều này là do đất tự nhiên cứng hơn dính vào đầu răng. Đẩy các răng đục sân cỏ/teebox ra từ mặt bên của nhà sản xuất luôn sạch hơn và giảm thời gian cần thiết để làm sạch các răng đục đó. Dần dần, bạn sẽ loại bỏ được tình trạng này bằng các chương trình đục thông khí và tiếp tục phủ liên tục trên cùng.
Máy được thiết kế đào sâu nhất có thể; Tuy nhiên, ở một số điều kiện cỏ nhất định, các tấm chắn cỏ và/hoặc các bu-lông trên tấm chắn cỏ có thể làm hỏng phần đất khi thông đất ở độ sâu tối đa. Nếu sục khí ở độ sâu tối đa cho phép (với bất kỳ chiều dài răng đục nào) sau khi chạy hiệu chuẩn độ cao từ mặt đất, các bu lông bảo vệ mặt cỏ sẽ bừa hoặc tiếp xúc với mặt cỏ, hãy giảm độ sâu thêm một bước (¼ inch).
Nếu mặt đất quá cứng để có thể đạt độ sâu lấy lõi mong muốn, đầu lấy lõi có thể bắt đầu nảy đều thành nhịp. Điều này là do các răng đang cố đâm xuyên vào tầng đất cứng. Có thể khắc phục tình trạng này bằng cách thực hiện các điều sau:
Không đục thông khí nếu mặt đất quá cứng hoặc khô. Kết quả đục thông khí tốt nhất đạt được là sau khi mưa hoặc tưới cỏ vào ngày hôm trước.
Nếu đang thử dùng đầu 4 răng thì hãy đổi sang đầu 3 răng, hoặc giảm số lượng răng trên mỗi cán dập. Cố gắng duy trì dạng răng đối xứng để phân đều tải trên các cán dập.
Nếu mặt đất bị đóng cứng, hãy giảm độ xâm nhập của máy đục thông khí (cài đặt độ sâu), dọn các lõi, tưới cỏ và đục thông khí lại với độ xâm nhập sâu hơn.
Việc đục thông khí các loại đất trên lớp đất cái cứng (nghĩa là đất/cát nằm phía trên lớp đất đá) có thể khiến chất lượng lỗ không như ý muốn. Điều này xảy ra khi độ sâu đục thông khí lớn hơn lớp đất tích tụ và lớp đất cái quá cứng không thể đâm xuyên vào. Khi răng tiếp xúc với tầng đất cái cứng hơn này, máy đục thông khí có thể bị nâng lên và khiến cho phần trên của các lỗ bị kéo dài ra. Giảm độ sâu đục thông khí đủ để tránh xâm nhập vào tầng đất cái cứng.
Chất lượng lỗ vào đang xấu đi khi lỗ có rãnh (kéo về phía trước).
Nếu chất lượng lỗ vào kém đi, hãy kiểm tra hiệu chuẩn độ cao từ mặt đất của răng đục, tham khảo Kiểm tra Hiệu chuẩn Độ cao từ Mặt đất của Răng đục.
Do thiết kế hàng kép, đầu lấy lõi có răng nhỏ yêu cầu thiết đặt khoảng cách giữa các lỗ là 6,3 cm. Tốc độ là yếu tố quan trọng giúp duy trì khoảng cách bề mặt giữa các lỗ là 3,2 cm. Tham khảo Cài đặt Khoảng cách giữa các lỗ nếu khoảng cách giữa các lỗ cần có sự thay đổi nhỏ.
Khi sử dụng đầu răng nhỏ hoặc răng đặc lớn hơn, cấu trúc rễ cỏ có vai trò quan trọng giúp tránh cỏ bị hư hại do vùng rễ bị xé rách. Nếu 2 cán ở giữa bắt đầu nâng mặt cỏ lên hoặc vùng rễ bị hư hại quá mức, hãy tiến hành như sau:
Tăng khoảng cách giữa các lỗ
Giảm kích thước răng
Giảm độ sâu của răng
Tháo một số răng
Thao tác nâng mà răng đục cứng tạo ra khi được kéo ra khỏi mặt cỏ có thể gây hư hại mặt cỏ. Thao tác nâng này có thể làm rách vùng rễ nếu mật độ răng hoặc đường kính răng quá cao.
Khi dùng các răng đặc dài hơn (tức là dài 3/8 x 4 inch) để đục thông khí hoặc sử dụng các răng kim, phía trước của các lỗ có thể bị xẻ rãnh hoặc tạo búi. Để lấy lại chất lượng lỗ tuyệt vời cho cấu hình này, hãy thử cách sau:
Hiệu chuẩn độ cao từ mặt đất của răng đục; tham khảo Hiệu chuẩn Độ cao từ Mặt đất của Răng đục.
Giảm tốc độ chạy rỗi cao của động cơ xuống 2800 đến 2900 vòng/phút.
Note: Do tốc độ đầu lấy lõi và lực kéo tăng và giảm cùng với tốc độ động cơ nên khoảng cách giữa các lỗ không bị ảnh hưởng.
Nếu giảm tốc độ động cơ giúp cải thiện chất lượng lỗ đối với các loại răng đục cứng hoặc răng đục loại kim dài hơn, hãy điều chỉnh cụm giảm chấn roto-link.
Note: Trong hầu hết các điều kiện, cài đặt gốc có hiệu quả tốt nhất.
Nếu phía trước của lỗ có rãnh hoặc tạo búi, cài đặt roto-link cứng hơn sẽ giúp chống đẩy lỗ và cải thiện chất lượng lỗ.
Nếu phía sau của các lỗ có rãnh hoặc tạo búi, cài đặt roto-link mềm hơn sẽ giúp cải thiện chất lượng lỗ.
Note: Bạn phải đảo ngược vị trí của giảm chấn roto-Link nếu bạn thay đổi trở lại răng đục kiểu lõi hoặc bất kỳ răng đục nhỏ nào.
Đỗ máy trên bề mặt bằng phẳng, nâng cao hoàn toàn và chốt thanh tay cầm để gài phanh đỗ, tắt động cơ, rút chìa khóa và chờ tất cả các bộ phận đang chuyển động dừng lại.
Tháo nắp đầu lấy lõi; tham khảo Tháo Nắp Đầu Lấy lõi.
Cố định đầu lấy lõi bằng chốt vận hành; tham khảo Hỗ trợ Đầu Lấy lõi với Chốt vận hành.
Note: Nhà máy đặt 1 vòng chêm roto-link tại trục cụm giảm chấn roto-link và 1 vòng chêm tại vị trí được xếp gọn cho mỗi tay đòn dập.
Note: Điều chỉnh cụm giảm chấn roto-link cho phép bạn vận hành máy với tốc độ động cơ tối đa (3400 vòng/phút), tuy nhiên bạn có thể cần phải đục thông khí với tốc độ động cơ chậm hơn để cải thiện chất lượng lỗ.
Tháo 2 êcu hãm mặt bích đang siết chặt trục cụm chấn roto-link vào khung phía sau của máy (Hình 121).

Tháo vòng chêm (nếu được xếp gọn) và vòng đệm cứng hình bầu dục.
Xoay liên kết cụm giảm chấn và trục cụm giảm chấn xuống (Hình 122).

Định vị vòng chêm roto-link để điều chỉnh các điều kiện gò lỗ sau:
Note: Mỗi vòng chêm tương đương 12,7 mm (1/2 inch). Vòng chêm giảm chấn dưới phải duy trì được lắp vào trục cụm giảm chấn.
Nếu phía trước của các lỗ có rãnh hoặc tạo búi—hãy đặt các vòng chêm ở trên khung phía sau ở vị trí được xếp gọn.
Nếu phía sau của các lỗ có rãnh hoặc tạo búi—hãy đặt cả hai vòng chêm ở trên khung phía sau, ở mỗi bên của trục cụm giảm chấn roto-link.
Xoay liên kết cụm giảm chấn và trục cụm giảm chấn lên trên, đồng thời lắp các chốt ren qua các lỗ trên khung phía sau của máy.
Siết chặt trục cụm giảm chấn và các vòng chêm vào khung phía sau bằng vòng đệm cứng hình bầu dục và êcu hãm (Hình 123).

Tạo mô-men xoắn của các êcu hãm mặt bích từ 47 đến 61 N∙m (35 đến 45 ft-lb).
Lặp lại các bước 1 đến 7 ở 2 tay đòn dập tiếp theo.
Xếp gọn chốt dịch vụ; tham khảo Xếp gọn Chốt Dịch vụ.
Lắp nắp đầu lấy lõi; tham khảo Lắp Nắp Đầu Lấy lõi.
Thực hiện hiệu chuẩn độ cao từ mặt đất của răng đục; tham khảo Hiệu chuẩn Độ cao từ Mặt đất của Răng đục.
Mang máy đến khu vực kiểm tra, và đục thông khí lớp cỏ để so sánh chất lượng lỗ.
Nếu chất lượng lỗ được cải thiện, hãy lặp lại các bước trong Chuẩn bị Máy, Điều chỉnh Cụm giảm chấn Roto-Link và Lắp Nắp Đầu Lấy lõi để điều chỉnh cụm giảm chấn roto-link ở 3 tay đòn dập khác.
Đỗ máy trên bề mặt bằng phẳng, nâng cao hoàn toàn và chốt thanh tay cầm để gài phanh đỗ, tắt động cơ, rút chìa khóa và chờ tất cả các bộ phận đang chuyển động dừng lại.
Hạ thấp đầu lấy lõi hoặc siết chặt bằng chốt dịch vụ khi bạn không chạy máy.
Duy trì tất cả các bộ phận của máy ở tình trạng hoạt động tốt và cố định chặt tất cả phụ kiện.
Thay tất cả các nhãn mác bị mòn, hư hỏng hoặc còn thiếu.
| Khoảng thời gian Dịch vụ Bảo trì | Quy trình Bảo trì |
|---|---|
| Trước mỗi lần sử dụng hoặc hàng ngày |
|
Important: Không sử dụng nước lợ hoặc nước tuần hoàn để làm sạch máy.
Important: Không rửa máy bằng áp lực.
Đỗ máy trên bề mặt bằng phẳng, nâng cao hoàn toàn và chốt thanh tay cầm để gài phanh đỗ, tắt động cơ, rút chìa khóa và chờ tất cả các bộ phận đang chuyển động dừng lại.
Rửa máy thật kỹ.
Sử dụng ống mềm làm vườn không có đầu phun để tránh đẩy nước qua các phớt dầu và làm nhiễm bẩn mỡ vòng bi.
Sử dụng chổi để loại bỏ các tạp chất đóng thành cục.
Sử dụng chất tẩy rửa nhẹ để làm sạch nắp.
Sau khi làm sạch, bôi định kỳ một lớp sáp ô tô để duy trì lớp bóng hoàn thiện của nắp.
Kiểm tra xem máy có bị hư hỏng, rò rỉ dầu, các bộ phận và răng có bị mòn hay không.
Tháo, làm sạch và tra dầu răng. Phun một lớp dầu mỏng lên các vòng bi đầu lấy lõi (liên kết tay quay và bộ giảm chấn).
Important: Siết chặt đầu lấy lõi bằng chốt vận hành nếu bạn cất giữ máy từ vài ngày trở lên.
Có các vòng buộc nằm ở mặt trước và mặt sau của máy (Hình 124, Hình 125 và Hình 126).
Note: Sử dụng dây đeo được DOT phê duyệt và được đánh giá phù hợp để buộc máy; tham khảo Thông số kỹ thuật để biết trọng lượng của máy.



Điều khiển máy trên đường phố hoặc lòng đường mà không có đèn báo rẽ, đèn chiếu sáng, vạch phản quang, biểu tượng xe đang chạy chậm sẽ rất nguy hiểm và có thể dẫn đến tai nạn, gây thương tích cá nhân.
Không vận hành máy trên đường phố hoặc lòng đường công cộng.
Important: Sử dụng dốc có đầy đủ chiều rộng thông thoáng để chất máy lên xe moóc hoặc xe tải.
Tải máy lên xe moóc hoặc xe tải (ưu tiên đầu lấy lõi hướng về phía trước).
Nâng hoàn toàn và cài chốt thanh tay cầm để gài phanh đỗ, tắt động cơ, rút chìa khóa và đợi tất cả các bộ phận chuyển động dừng lại.
Cố định đầu lấy lõi bằng chốt vận hành; tham khảo Hỗ trợ Đầu Lấy lõi với Chốt vận hành.
Đóng van ngắt nhiên liệu; tham khảo Van Ngắt Nhiên liệu.
Tại các điểm buộc, buộc máy vào xe moóc hoặc xe tải bằng dây cáp, dây xích hoặc dây đeo; tham khảo Điểm buộc
| Trọng lượng | 745 kg (1.642 lb) hoặc 829 kg (1.827 lb) với 2 đối trọng tùy chọn |
| Chiều rộng | Tối thiểu 130 cm |
| Chiều dài | Tối thiểu 267 cm |
| Góc Dốc | Độ dốc 3,5/12 (16 °) tối đa |
| Hướng Tải | Đầu lấy lõi hướng về phía trước (ưu tiên) |
| Công suất Kéo của Xe | Lớn hơn tổng trọng lượng xe moóc (GTW) |
Note: Tải xuống bản sao miễn phí của sơ đồ phần điện hoặc thủy lực bằng cách truy cập www.Toro.com và tìm kiếm máy của bạn từ liên kết Hướng dẫn sử dụng trên trang chủ.
Note: Tham khảo hướng dẫn sử dụng động cơ để biết thêm các quy trình bảo trì.
Note: Xác định các mặt bên trái và bên phải của máy từ vị trí vận hành bình thường.
Đỗ máy trên bề mặt bằng phẳng, nâng cao hoàn toàn và chốt thanh tay cầm để gài phanh đỗ, tắt động cơ, rút chìa khóa và chờ tất cả các bộ phận đang chuyển động dừng lại. Để máy nguội trước khi điều chỉnh, bảo dưỡng, vệ sinh hoặc cất giữ.
Chỉ thực hiện những hướng dẫn bảo trì được mô tả trong hướng dẫn sử dụng này. Nếu máy cần sửa chữa nhiều hoặc bạn cần được trợ giúp, vui lòng liên hệ với nhà phân phối Toro được ủy quyền.
Đảm bảo máy ở trong điều kiện vận hành an toàn bằng cách xoáy chặt các loại đai ốc, bu lông và vít.
Nếu có thể, không thực hiện bảo trì trong khi động cơ đang chạy. Tránh xa các bộ phận đang chuyển động.
Cẩn thận giải phóng áp suất từ các bộ phận có năng lượng dự trữ.
Kiểm tra bu lông gắn răng mỗi ngày để đảm bảo chúng đã được siết chặt theo thông số kỹ thuật.
Đảm bảo tất cả các bộ phận bảo vệ được lắp đặt và mui máy đã đóng chắc chắn sau khi bảo trì hoặc điều chỉnh máy.
| Khoảng thời gian Dịch vụ Bảo trì | Quy trình Bảo trì |
|---|---|
| Sau 8 giờ đầu tiên |
|
| Sau 50 giờ đầu tiên |
|
| Trước mỗi lần sử dụng hoặc hàng ngày |
|
| 25 giờ một lần |
|
| 50 giờ một lần |
|
| 100 giờ một lần |
|
| 200 giờ một lần |
|
| 250 giờ một lần |
|
| 400 giờ một lần |
|
| 500 giờ một lần |
|
| Trước khi bảo quản |
|
| Hàng năm |
|
Important: Tham khảo hướng dẫn sử dụng động cơ để biết thêm các quy trình bảo trì.
Sao chép trang này để sử dụng thường xuyên.
| Hạng mục Kiểm tra Bảo trì | Trong tuần: | ||||||
|---|---|---|---|---|---|---|---|
| Thứ Hai | Thứ Ba | Thứ Tư | Thứ Năm | Thứ Sáu | Thứ Bảy | Chủ Nhật | |
| Kiểm tra hoạt động của khóa liên động an toàn. | |||||||
| Kiểm tra hoạt động của phanh đỗ. | |||||||
| Kiểm tra mức dầu động cơ. | |||||||
| Kiểm tra mức nhiên liệu. | |||||||
| Kiểm tra bộ lọc khí. | |||||||
| Kiểm tra động cơ xem có mảnh vụn không. | |||||||
| Kiểm tra tiếng ồn bất thường của động cơ. | |||||||
| Kiểm tra tiếng ồn hoạt động bất thường. | |||||||
| Kiểm tra mức chất lỏng thủy lực. | |||||||
| Kiểm tra các ống mềm thủy lực xem có bị hư hỏng không. | |||||||
| Kiểm tra rò rỉ chất lỏng. | |||||||
| Kiểm tra hoạt động của thiết bị. | |||||||
| Kiểm tra tình trạng của các răng. | |||||||
| Đánh lại lớp sơn bị hư hỏng. | |||||||
Important: Tham khảo hướng dẫn sử dụng động cơ để biết thêm các quy trình bảo trì.
| Kiểm tra được thực hiện bởi: | ||
| Mục | Ngày | Thông tin |
| 1 | ||
| 2 | ||
| 3 | ||
| 4 | ||
| 5 | ||
| 6 | ||
| 7 | ||
| 8 | ||
Nếu bạn để chìa khóa trong công tắc khóa điện, ai đó có thể vô tình khởi động động cơ và gây thương tích nghiêm trọng cho bạn hoặc những người xung quanh.
Đỗ máy trên bề mặt bằng phẳng, nâng cao hoàn toàn và chốt thanh tay cầm để gài phanh đỗ, tắt động cơ, rút chìa khóa và chờ tất cả các bộ phận đang chuyển động dừng lại.
Important: Các chốt hãm trên nắp của máy này được thiết kế để giữ nguyên trên nắp sau khi tháo. Nới lỏng tất cả các chốt hãm trên mỗi nắp một vài vòng để làm nắp lỏng ra nhưng vẫn gắn trên máy, sau đó quay lại và nới lỏng chúng cho đến khi nắp bung ra. Cách này sẽ giúp bạn không vô tình tháo rời bu lông ra khỏi chốt giữ.
Đỗ máy trên bề mặt bằng phẳng.
Nâng hoàn toàn và chốt thanh tay cầm để gài phanh đỗ; tham khảo Bật Phanh Đỗ.
Tắt động cơ, rút chìa khóa, và chờ cho mọi chuyển động dừng lại trước khi rời khỏi máy; tham khảo Tắt Động cơ.
Để máy nguội.
Nếu máy không được nâng lên đúng cách bằng các khối hoặc con đội kê, máy có thể di chuyển hoặc bị đổ, gây thương tích cá nhân.
Khi thay đổi bộ gá, lốp hoặc tiến hành các bảo dưỡng khác, hãy sử dụng đúng các khối, tời và kích nâng.
Đảm bảo đặt máy trên bề mặt cứng, bằng phẳng chẳng hạn như sàn bê tông.
Trước khi nâng máy, tháo tất cả các bộ gá có thể ảnh hưởng đến việc nâng máy an toàn và đúng cách.
Luôn luôn chèn hoặc chặn bánh xe. Dùng con đội kê hoặc các khối gỗ chắc chắn để nâng đỡ máy.
Chuẩn bị máy để bảo trì; tham khảo Chuẩn bị Máy để Bảo trì.
Chèn lốp sau để ngăn máy di chuyển.
Important: Để tránh làm hỏng mô-tơ bánh xe, không sử dụng mô-tơ bánh trước làm điểm kích.
Đặt kích chắc chắn dưới tay đòn đỡ bánh xe trước (Hình 127).

Kích phía trước của máy lên khỏi mặt đất.
Đặt con đội kê hoặc khối gỗ cứng ở dưới phía trước của khung để nâng máy.
Chuẩn bị máy để bảo trì; tham khảo Chuẩn bị Máy để Bảo trì.
Chèn lốp trước để ngăn máy di chuyển.
Important: Để tránh làm hỏng mô-tơ bánh xe, không sử dụng mô-tơ bánh sau làm điểm kích.
Đặt kích nâng cố định ở dưới tấm khung ngay bên trong bánh sau (Hình 128).

Note: Nếu có thể, hãy sử dụng tời để nâng phần sau máy lên. Sử dụng các lỗ nhỏ trong vỏ vòng bi đầu lấy lõi làm điểm gắn tời (Hình 129).

Kích (hoặc nâng) phía sau của máy lên khỏi mặt đất.
Đặt con đội kê hoặc khối gỗ cứng ở dưới khung để nâng máy.

Nếu máy của bạn có khóa chốt CE, hãy nới lỏng bu lông tấm khóa cho đến khi tấm khóa dọn sạch khe ở mặt bên của nắp đầu lấy lõi (Hình 138).

Xoay tấm khóa để mở chốt (Hình 138).
Lặp lại 1 và 2 ở phía bên kia của nắp.
Mở chốt nắp đầu lấy lõi tại vị trí 4 chốt (Hình 137 và Hình 139).

Nâng nắp đầu lấy lõi ra khỏi máy (Hình 140).

Căn chỉnh nắp đầu lấy lõi vào máy như được minh họa trong Hình 141.

Chốt nắp đầu lấy lõi tại vị trí 4 chốt (Hình 142).
Nếu máy của bạn có khóa chốt CE, hãy xoay tấm khóa cho đến khi nó thẳng hàng với khe ở mặt bên của nắp đầu lấy lõi (Hình 143).



Siết chặt bu lông tấm khóa (Hình 143).
Lặp lại các bước 3 và 4 ở phía bên kia của nắp.
| Khoảng thời gian Dịch vụ Bảo trì | Quy trình Bảo trì |
|---|---|
| 500 giờ một lần |
|
| Hàng năm |
|
Máy có các núm tra mỡ phải được bôi trơn.
Important: Vòng bi rất hiếm khi bị hỏng do các khiếm khuyết trong vật liệu hoặc tay nghề. Lý do hỏng phổ biến nhất là do độ ẩm và chất bẩn lọt qua các phớt dầu bảo vệ. Những vòng bi được bôi mỡ dựa vào việc bảo dưỡng thường xuyên để loại bỏ các mảnh vụn có hại ra khỏi khu vực vòng bi. Những vòng bi phớt dầu dựa vào việc đổ đầy mỡ đặc biệt lúc đầu và phớt dầu tích hợp mạnh mẽ để giữ cho các chất bẩn và hơi ẩm không vào trong các bộ phận lăn.
Vòng bi phớt dầu không cần phải bôi trơn hay bảo trì ngắn hạn. Điều này giảm thiểu yêu cầu bảo dưỡng định kỳ và giảm nguy cơ làm hỏng sân cỏ do nhiễm bẩn mỡ. Các sản phẩm vòng bi phớt dầu này sẽ cung cấp hiệu suất và thời hạn sử dụng tốt trong điều kiện sử dụng bình thường, nhưng bạn nên thực hiện kiểm tra định kỳ tình trạng vòng bi và tính toàn vẹn của phớt dầu để tránh thời gian dừng hoạt động. Kiểm tra vòng bi theo mùa và thay thế nếu chúng bị hỏng hoặc mài mòn. Vòng bi phải hoạt động trơn tru và không xuất hiện các đặc tính bất lợi như nhiệt độ cao, tiếng ồn, lỏng lẻo, hoặc rỉ sét.
Do điều kiện vận hành mà các vòng bi/sản phẩm phớt dầu này phải chịu tác động (tức là cát, hóa chất cỏ, nước, va đập, v.v.) chúng được coi là bộ phận bị mài mòn bình thường. Những vòng bi bị hỏng do các nguyên nhân không phải do khiếm khuyết về vật liệu hoặc tay nghề thường sẽ không được bảo hành.
Note: Bạn có thể ảnh hưởng xấu đến vòng bi khi sử dụng quy trình rửa không đúng cách. Không rửa máy khi còn nóng và tránh phun áp suất cao hoặc khối lượng lớn vào vòng bi.
Những vòng bi mới thường đẩy một số mỡ ra khỏi gioăng trên máy mới. Mỡ bị đẩy ra chuyển sang màu đen do chứa mảnh vụn và không phải do nhiệt độ quá cao. Tốt nhất bạn nên lau sạch mỡ thừa trên gioăng này sau 8 tiếng đầu tiên. Có thể luôn có một vùng ẩm ướt xung quanh mép gioăng. Điều này không gây bất lợi cho tuổi thọ vòng bi và giữ cho mép gioăng được bôi trơn.
Tắt động cơ trước khi kiểm tra dầu hoặc đổ thêm dầu vào cacte.
Không thay đổi tốc độ bộ điều khiển hoặc chạy quá tốc độ của động cơ.
| Khoảng thời gian Dịch vụ Bảo trì | Quy trình Bảo trì |
|---|---|
| 25 giờ một lần |
|
| 100 giờ một lần |
|
Chuẩn bị máy để bảo trì; hãy tham khảo Chuẩn bị Máy để Bảo trì.
Làm sạch xung quanh bộ lọc khí để tránh bụi bẩn xâm nhập vào động cơ và gây hư hỏng.
Vặn tháo núm và tháo nắp bộ lọc khí (Hình 144).

Cẩn thận trượt bộ lọc sơ bộ bằng xốp ra khỏi bộ phận giấy (Hình 144).
Vặn tháo đai ốc nắp và tháo nắp, vòng chêm và bộ lọc bằng giấy (Hình 144).
Important: Thay thế bộ phận xốp nếu bị rách hoặc bị mòn.
Rửa bộ lọc sơ bộ bằng xốp trong xà phòng lỏng và nước ấm. Khi làm sạch, hãy rửa kỹ.
Làm khô bộ lọc sơ bộ bằng cách vắt trong một miếng vải sạch (không vặn bóp).
Cho 3 đến 6 cl dầu vào bộ lọc sơ bộ (Hình 145).

Bóp bộ lọc sơ bộ để phân phối dầu.
Kiểm tra bộ lọc bằng giấy xem có bị rách, màng dính dầu và hỏng gioăng cao su không (Hình 146).

Important: Không được làm sạch bộ phận giấy. Thay bộ phận giấy nếu bị bẩn hoặc bị hỏng.
Important: Để tránh động cơ bị hỏng, hãy luôn vận hành động cơ khi đã lắp đầy đủ cụm bộ lọc khí có xốp và giấy.
Cẩn thận trượt bộ lọc sơ bộ bằng xốp lên trên bộ lọc giấy (Hình 147).

Đặt cụm bộ lọc khí lên trên đế bộ lọc khí.
Lắp ráp nắp, vòng chêm và đai ốc nắp.
Tạo mô-men xoắn lên đai ốc đến 11 N∙m.
Lắp nắp bộ lọc khí và siết chặt bằng núm.
Loại dầu: SJ dịch vụ API dầu động cơ tẩy rửa, chất lượng cao trở lên
Độ nhớt của dầu: Tham khảo bảng dưới đây:

| Khoảng thời gian Dịch vụ Bảo trì | Quy trình Bảo trì |
|---|---|
| Trước mỗi lần sử dụng hoặc hàng ngày |
|
Động cơ được vận chuyển với dầu ở trong cacte; tuy nhiên, kiểm tra mức dầu trước và sau khi động cơ khởi động lần đầu tiên.
Hãy sử dụng dầu động cơ chất lượng cao theo mô tả trong Thông số kỹ thuật của Dầu Động cơ.
Important: Không đổ tràn dầu ra khỏi cacte.Không chạy động cơ khi mức dầu động cơ dưới vạch thấp.
Note: Thời điểm tốt nhất để kiểm tra dầu động cơ là khi động cơ nguội trước khi khởi động trong ngày. Nếu đã chạy, hãy để dầu chảy ngược xuống bình hứng ít nhất trong 10 phút trước khi kiểm tra.
Chuẩn bị máy để bảo trì; hãy tham khảo Chuẩn bị Máy để Bảo trì.
Để động cơ nguội.
Lau sạch xung quanh nắp nạp dầu và que thăm (Hình 149).

Tháo que thăm, lau sạch và lắp vào đến khi đã hoàn toàn nằm trong thùng.
Tháo que thăm dầu và kiểm tra mức dầu.
Mức dầu động cơ phải nằm giữa vạch đầy ''F'’ và vạch thấp ''L'’ trên que thăm.
Nếu mức dầu ở dưới vạch thấp ''L'', hãy tháo nắp nạp dầu và đổ thêm loại dầu quy định cho đến khi mức dầu đạt đến vạch đầy ''F'' trên que thăm.
Lắp nắp nạp dầu và que thăm.
| Khoảng thời gian Dịch vụ Bảo trì | Quy trình Bảo trì |
|---|---|
| Sau 50 giờ đầu tiên |
|
| 100 giờ một lần |
|
Dung tích cacte: xấp xỉ 1,9 L với bộ lọc.
Khởi động động cơ và để động cơ chạy 5 phút. Điều này làm nóng dầu để xả dầu tốt hơn.
Đỗ máy sao cho phía xả thấp hơn một chút so với phía đối diện để đảm bảo dầu xả hoàn toàn, tắt động cơ, nâng hoàn toàn và chốt thanh tay cầm để gài phanh đỗ và rút chìa khóa.
Đặt chảo ở bên dưới nút xả dầu và tháo nút xả (Hình 150).
Note: Để dầu xả hoàn toàn.

Luồn nút xả dầu vào động cơ và siết chặt nút xả.
Note: Thải bỏ dầu đã qua sử dụng tại trung tâm tái chế được chứng nhận.
Đặt chảo nông ở bên dưới bộ lọc dầu và tháo bộ lọc (Hình 150).
Note: Thải bỏ bộ lọc dầu đã qua sử dụng tại trung tâm tái chế được chứng nhận.
Lau sạch bề mặt của bộ tiếp hợp lọc.
Đổ đầy dầu được chỉ định vào bộ lọc dầu mới đến mức dưới cùng của ren.
Để bộ lọc hấp thụ dầu trong 2 phút, sau đó đổ lượng dầu thừa ra.
Bôi một lớp mỏng dầu mới vào miếng đệm trên bộ lọc.
Luồn bộ lọc dầu lên trên bộ tiếp hợp lọc cho đến khi miếng đệm tiếp xúc với bộ tiếp hợp lọc (Hình 150), sau đó siết chặt bộ lọc thêm 1/2 vòng.

Lau sạch khu vực xung quanh nắp nạp dầu và que thăm (Hình 152).

Tháo nắp nạp dầu và từ từ đổ khoảng 80% lượng dầu quy định qua nắp van.
Từ từ thêm dầu bổ sung để đưa mức dầu về vạch F (đầy) trên que thăm; tham khảo Thông số kỹ thuật của Dầu Động cơ và Kiểm tra Mức Dầu Động cơ.
Important: Không đổ tràn dầu ra khỏi cacte.
Lắp nắp nạp dầu và que thăm.
| Khoảng thời gian Dịch vụ Bảo trì | Quy trình Bảo trì |
|---|---|
| 200 giờ một lần |
|
Chuẩn bị máy để bảo trì; hãy tham khảo Chuẩn bị Máy để Bảo trì.
Kéo dây ra khỏi bugi (Hình 153).

Làm sạch phần xung quanh bugi.
Sử dụng ổ cắm bugi để tháo cả bugi và miếng đệm kim loại.
Loại bugi: Champion RC12YC hoặc tương đương
Khe Khí: 0,75 mm
Xem xét phần trung tâm của cả hai bugi (Hình 154). Nếu bạn nhìn thấy màu nâu nhạt hoặc màu xám nhạt trên vật cách điện có nghĩa là động cơ đang hoạt động tốt. Lớp phủ màu đen trên vật cách điện thường có nghĩa là bộ lọc khí bị bẩn.
Important: Không được vệ sinh bugi. Luôn thay bugi khi có lớp phủ đen, các điện cực bị mòn, màng dầu hoặc vết nứt.

Kiểm tra khe hở giữa điện cực trung tâm và điện cực bên.
Uốn cong điện cực bên nếu khe hở không chính xác.
Hãy đảm bảo rằng khe khí nằm chính xác giữa điện cực trung tâm và điện cực bên trước khi lắp đặt mỗi bugi. Sử dụng cờ lê bugi để tháo và lắp bugi, cũng như dụng cụ tạo khe hở/thiết bị đo khe hở để kiểm tra và điều chỉnh khe khí. Lắp đặt bugi mới nếu cần.
Luồn bugi vào các lỗ bugi của động cơ.
Sử dụng ổ cắm bugi và cờ lê mô-men xoắn để vặn bugi đến 27 N∙m (20 ft-lb).
Lắp dây bugi lên trên bugi (Hình 155).

| Khoảng thời gian Dịch vụ Bảo trì | Quy trình Bảo trì |
|---|---|
| Trước mỗi lần sử dụng hoặc hàng ngày |
|
Trước mỗi lần sử dụng, hãy kiểm tra và làm sạch màn động cơ. Loại bỏ cỏ, bụi bẩn hoặc các mảnh vụn khác tích tụ ra khỏi màn nạp khí của động cơ.
Trong những điều kiện nhất định, nhiên liệu và hơi nhiên liệu rất dễ gây cháy và nổ. Cháy hoặc nổ do nhiên liệu có thể gây bỏng cho bạn và những người khác, cũng có thể gây thiệt hại về tài sản.
Đổ đầy bình nhiên liệu ở ngoài trời, ở khu vực thoáng đãng, khi động cơ tắt và nguội. Lau sạch nếu bị tràn nhiên liệu.
Không đổ đầy hoàn toàn bình nhiên liệu. Đổ thêm nhiên liệu vào bình nhiên liệu cho đến mức cách mặt trên của bình 25 mm, không phải cổ bình nạp. Không gian trống này trong bình cho phép nhiên liệu giãn nở.
Tuyệt đối không hút thuốc khi xử lý nhiên liệu, và tránh xa ngọn lửa trần hoặc nơi có tia lửa có thể bắt cháy với hơi nhiên liệu.
Lưu trữ nhiên liệu trong bình chứa sạch sẽ, được chứng nhận an toàn và giữ nắp ở đúng vị trí.
| Khoảng thời gian Dịch vụ Bảo trì | Quy trình Bảo trì |
|---|---|
| 100 giờ một lần |
|
Important: Tuyệt đối không lắp bộ lọc bẩn nếu bộ lọc đó đã được tháo ra khỏi đường dẫn nhiên liệu.
Chuẩn bị máy để bảo trì; hãy tham khảo Chuẩn bị Máy để Bảo trì.
Đóng van ngắt nhiên liệu (Hình 156).


Bóp các đầu của kẹp ống mềm với nhau và trượt ra khỏi bộ lọc.
Tháo bộ lọc khỏi ống mềm nhiên liệu.
Căn chỉnh bộ lọc nhiên liệu với mũi tên hướng về phía động cơ và lắp ống mềm nhiên liệu lên trên các ống nối bộ lọc.
Đặt các kẹp ống mềm gần với bộ lọc nhiên liệu và siết chặt kẹp.
Lau sạch tất cả các phần nhiên liệu bị tràn.
Mở van ngắt nhiên liệu.
Trong những điều kiện nhất định, nhiên liệu rất dễ cháy và rất dễ nổ. Cháy hoặc nổ do nhiên liệu có thể gây bỏng cho bạn và những người khác và có thể gây thiệt hại về tài sản.
Xả nhiên liệu ra khỏi bình nhiên liệu khi động cơ nguội. Thực hiện thao tác này ngoài trời trong khu vực thoáng đãng. Lau sạch bất kỳ nhiên liệu nào bị tràn.
Tuyệt đối không hút thuốc khi xả nhiên liệu, và tránh xa ngọn lửa mở hoặc nơi có tia lửa có thể đốt cháy khói nhiên liệu.
Chuẩn bị máy để bảo trì; hãy tham khảo Chuẩn bị Máy để Bảo trì.
Đóng van ngắt nhiên liệu (Hình 157).


Nới lỏng kẹp ống mềm ở bộ lọc nhiên liệu và trượt lên đường dẫn nhiên liệu ra khỏi bộ lọc nhiên liệu.
Kéo đường dẫn nhiên liệu ra khỏi bộ lọc nhiên liệu.
Mở van ngắt nhiên liệu và để nhiên liệu chảy vào bình chứa nhiên liệu hoặc đĩa dầu.
Note: Giờ là thời điểm tốt nhất để lắp bộ lọc nhiên liệu mới vì bình nhiên liệu đang rỗng.
Lắp ống mềm nhiên liệu lên trên ống nối bộ lọc.
Đặt kẹp ống mềm gần với bộ lọc nhiên liệu và siết chặt kẹp.
Ngắt kết nối ắc quy trước khi sửa chữa máy. Ngắt kết nối cực âm trước tiên và ngắt kết nối cực dương cuối cùng. Kết nối cực dương trước tiên và kết nối cực âm cuối cùng.
Sạc ắc quy ở khu vực thoáng, thông gió tốt, tránh xa tia lửa và ngọn lửa. Rút phích cắm bộ sạc trước khi kết nối hoặc ngắt kết nối ắc quy.
Mặc quần áo bảo hộ và sử dụng các dụng cụ cách điện.
| Khoảng thời gian Dịch vụ Bảo trì | Quy trình Bảo trì |
|---|---|
| Hàng năm |
|
Giữ mặt trên cùng của ắc quy luôn sạch sẽ.
Tháo chốt và mở cửa ngăn chứa ắc quy (Hình 158).

Làm sạch phần trên của ắc quy bằng bàn chải nhúng trong dung dịch amoniac hoặc soda bicacbonat.
Important: Không tháo nắp nạp trong khi làm sạch.
Rửa kỹ bề mặt của ắc quy và ngăn chứa ắc quy bằng nước sạch.
Đóng và chốt cửa ngăn chứa ắc quy.
| Khoảng thời gian Dịch vụ Bảo trì | Quy trình Bảo trì |
|---|---|
| Hàng năm |
|
Các cực ắc quy hoặc dụng cụ kim loại có thể bị đoản mạch cho các bộ phận kim loại của máy kéo, gây ra tia lửa. Tia lửa có thể gây nổ khí bình ắc quy, gây chấn thương cá nhân.
Khi tháo hoặc lắp ắc quy, không để các cực ắc quy chạm vào bất kỳ bộ phận kim loại nào của máy.
Không để các dụng cụ kim loại bị đoản mạch giữa các cực ắc quy và các bộ phận kim loại của máy.
Định tuyến cáp ắc quy không chính xác có thể làm hỏng máy và dây cáp gây ra tia lửa. Tia lửa có thể gây nổ khí bình ắc quy, gây chấn thương cá nhân.
Luôn ngắt kết nối cáp âm (màu đen) của ắc quy trước khi ngắt kết nối cáp dương (màu đỏ).
Luôn kết nối cáp dương (màu đỏ) của ắc quy trước khi kết nối cáp âm (màu đen).
Tháo chốt và mở cửa ngăn chứa ắc quy (Hình 159).

Kiểm tra xem các kẹp cáp ắc quy có chắc chắn không.
Siết chặt phần cứng kẹp cáp ắc quy bị lỏng.
Kiểm tra kẹp cáp ắc quy và cực ắc quy có bị ăn mòn không.
Nếu các cực bị ăn mòn, hãy tháo cáp âm của ắc quy.
Tháo cáp dương của ắc quy.
Làm sạch các kẹp cáp và các cực của ắc quy.
Kết nối cáp dương của ắc quy.
Kết nối cáp âm của ắc quy.
Bọc các đầu cáp và cọc ắc quy bằng mỡ bôi ngoài Grafo 112X (Số Bộ phận Toro 505-47).
Đóng và chốt cửa ngăn chứa ắc quy.
Hệ thống điện được bảo vệ bằng cầu chì. Nếu cầu chì bị hở, hãy kiểm tra bộ phận và hệ thống dây xem có bị đoản mạch để nối đất không.
Tháo chốt và mở cửa ngăn chứa ắc quy (Hình 160).

Tháo nắp khỏi khối cầu chì (Hình 161).
Note: Cầu chì quạt được đặt nội tuyến phía sau ắc quy (Hình 162).


Tháo cầu chì bị hở.
Lắp cầu chì mới có cường độ dòng điện định mức được ghi trên nhãn mác khối cầu chì.
Lắp nắp lên trên khối cầu chì (hoặc lên trên cầu chì quạt nội tuyến).
Đóng và chốt cửa ngăn chứa ắc quy.
| Khoảng thời gian Dịch vụ Bảo trì | Quy trình Bảo trì |
|---|---|
| 50 giờ một lần |
|
Chuẩn bị máy để bảo trì; hãy tham khảo Chuẩn bị Máy để Bảo trì.
Kiểm tra để đảm bảo áp suất khí trong tất cả các lốp xe là 83 kPa. Kiểm tra lốp xe khi nguội để có chỉ số đo áp suất chính xác nhất.
Important: Áp suất lốp không đồng đều có thể khiến độ sâu lấy lõi không đồng đều.

Trọng lượng bánh xe rất nặng, 33 kg.
Thận trọng khi tháo ra khỏi cụm lốp.
| Khoảng thời gian Dịch vụ Bảo trì | Quy trình Bảo trì |
|---|---|
| Hàng năm |
|
Các dây đai truyền động của máy có độ bền cao. Tuy nhiên, việc tiếp xúc thường xuyên với bức xạ UV, ozon hoặc tiếp xúc ngẫu nhiên với hóa chất có thể làm giảm chất lượng cao su theo thời gian và dẫn đến hao mòn sớm hoặc tổn hao vật liệu (tức là các sợi dây đai bị tách rời hoặc bị thiếu).
Tháo vỏ dây đai; tham khảo Tháo Vỏ Dây đai.
Kiểm tra bơm thủy lực, trục kích và dây đai trục khuỷu (Hình 164) xem có bị hỏng, mòn, nứt đệm quá mức hoặc có mảnh vụn lớn mắc kẹt không.
Note: Thay (các) dây đai khi cần thiết.

Lắp vỏ dây đai; tham khảo Lắp Vỏ Dây đai.
| Khoảng thời gian Dịch vụ Bảo trì | Quy trình Bảo trì |
|---|---|
| Sau 8 giờ đầu tiên |
|
Chuẩn bị máy để bảo trì; hãy tham khảo Chuẩn bị Máy để Bảo trì.
Tháo vỏ dây đai; tham khảo Tháo Vỏ Dây đai.
Nới lỏng vít có mũ đầu mặt bích và êcu hãm mặt bích đang siết chặt ròng rọc cần căng cho dây đai bơm thủy lực cho đến khi bu lông di chuyển trong khe của giá đỡ cần căng (Hình 165).


Chạm vào phần trên cùng của ròng rọc cần căng và để lò xo căng điều chỉnh độ căng của dây đai.
Important: Không tác dụng lực căng dây đai lớn hơn mức lực căng của lò xo, nếu không có thể dẫn đến hư hỏng bộ phận.
Tạo mô-men xoắn cho vít có mũ đầu mặt bích và êcu hãm mặt bích từ 37 đến 45 N∙m (27 đến 33 ft-lb).
Lắp vỏ dây đai; tham khảo Lắp Vỏ Dây đai.
Tìm đến dịch vụ chăm sóc y tế ngay lập tức nếu chất lỏng bị tiêm vào da. Trong vòng vài giờ chất lỏng bị tiêm vào phải được bác sĩ phẫu thuật loại bỏ.
Đảm bảo tất cả các ống mềm và đường dẫn chất lỏng thủy lực ở tình trạng tốt và tất cả các kết nối và mối nối thủy lực đều được siết chặt trước khi tạo áp suất cho hệ thống thủy lực.
Không để cơ thể và tay bị dính vào chất lỏng thủy lực có áp suất cao bị phun ra từ các lỗ và ống rò rỉ.
Sử dụng bìa cứng hoặc giấy để tìm chỗ bị rò thủy lực.
Giảm áp suất trong hệ thống thủy lực một cách an toàn trước khi thực hiện bất kỳ công việc nào trên hệ thống thủy lực.
Đỡ đầu lấy lõi bằng chốt dịch vụ; tham khảo Hỗ trợ Đầu Lấy lõi với Chốt vận hành.
Tắt động cơ.
Di chuyển công tắc khóa điện về vị trí CHạY.
Trong InfoCenter, điều hướng đến MENU CHíNH.
Nhấn nút xuống cho đến khi tùy chọn DịCH Vụ được chọn, và nhấn nút chọn (Hình 166).

Note: Đầu lấy lõi hạ xuống cho đến khi được hỗ trợ hoàn toàn bởi chốt dịch vụ.
Nhấn nút xuống cho đến khi tùy chọn Hạ DịCH Vụ được chọn, và nhấn nút chọn (Hình 167).

Di chuyển chìa khóa tới vị trí DừNG.
Note: Khởi động động cơ và chạy để nâng đầu lấy lõi bằng thủy lực, từ đó bạn có thể xếp gọn chốt dịch vụ; tham khảo Xếp gọn Chốt Dịch vụ.
| Khoảng thời gian Dịch vụ Bảo trì | Quy trình Bảo trì |
|---|---|
| Trước mỗi lần sử dụng hoặc hàng ngày |
|
Trước mỗi lần sử dụng, hãy kiểm tra đường ống và ống mềm thủy lực xem có bị rò rỉ, đầu nối bị lỏng, ống mềm gấp khúc, giá đỡ gắn bị lỏng, hao mòn, và xuống cấp do thời tiết hoặc hóa chất không. Thay các đường dẫn thủy lực bị mòn hoặc bị hỏng trước khi vận hành máy.
Note: Giữ cho các khu vực xung quanh hệ thống thủy lực không có mảnh vụn tích tụ.
Bình chứa được đổ đầy tại nhà máy bằng chất lỏng thủy lực chất lượng cao. Kiểm tra mức chất lỏng thủy lực trước khi bạn khởi động động cơ lần đầu tiên và hàng ngày sau đó; tham khảo Kiểm tra Mức Dầu Động cơ.
Chất lỏng thủy lực được khuyến nghị: Chất lỏng Thủy lực có Thời hạn Sử dụng Lâu dài Toro PX; có sẵn trong thùng 19 L hoặc tang 208 L.
Note: Máy sử dụng chất lỏng thay thế được khuyến nghị sẽ yêu cầu thay đổi chất lỏng và bộ lọc ít thường xuyên hơn.
Chất lỏng thủy lực thay thế: Nếu không có sẵn Chất lỏng Thủy lực Toro PX có Thời hạn Sử dụng Lâu dài, bạn có thể sử dụng một chất lỏng thủy lực thông thường khác chứa dầu mỏ, có thông số kỹ thuật nằm trong phạm vi được liệt kê cho tất cả các tính chất vật liệu sau đây và đáp ứng các tiêu chuẩn công nghiệp. Không sử dụng chất lỏng tổng hợp. Tham khảo ý kiến của nhà phân phối chất bôi trơn của bạn để xác định sản phẩm ưng ý.
Note: Toro không chịu trách nhiệm về thiệt hại do thay thế không đúng cách, vì vậy chỉ sử dụng sản phẩm từ các nhà sản xuất có uy tín luôn ủng hộ khuyến nghị của họ.
| Tính chất Vật liệu: | ||
| Độ nhớt, ASTM D445 | cSt @ 40°C 44 đến 48 | |
| Chỉ số Độ nhớt ASTM D2270 | 140 trở lên | |
| Điểm Đông tụ, ASTM D97 | -37°C đến -45°C | |
| Thông số kỹ thuật Công nghiệp: | Eaton Vickers 694 (I-286-S, M-2950-S/35VQ25 hoặc M-2952-S) | |
Note: Nhiều chất lỏng thủy lực gần như không màu nên rất khó phát hiện rò rỉ. Phụ gia nhuộm có màu đỏ dành cho chất lỏng thủy lực được cung cấp trong các chai 20 ml. Một chai đủ dùng cho 15 đến 22 L chất lỏng thủy lực. Đặt hàng Bộ phận số 44-2500 từ nhà phân phối Toro được ủy quyền của bạn.
Important: Chất lỏng Thủy lực Phân hủy sinh học Tổng hợp Cao cấp Toro là chất lỏng phân hủy sinh học tổng hợp duy nhất được Toro phê duyệt. Chất lỏng này tương thích với các chất đàn hồi được sử dụng trong hệ thống thủy lực Toro và phù hợp với nhiều điều kiện nhiệt độ khác nhau. Chất lỏng này tương thích với các loại dầu khoáng thông thường, nhưng để đạt được khả năng phân hủy sinh học và hiệu suất tối đa, hệ thống thủy lực cần phải được dội sạch hoàn toàn bằng chất lỏng thông thường. Dầu được cung cấp trong thùng 19 L hoặc tang 208 L từ nhà phân phối Toro được ủy quyền của bạn.
| Khoảng thời gian Dịch vụ Bảo trì | Quy trình Bảo trì |
|---|---|
| Trước mỗi lần sử dụng hoặc hàng ngày |
|
Important: Khi đầu lấy lõi ở vị trí nâng lên, kiểm tra mức chất lỏng thủy lực trước khi khởi động động cơ lần đầu tiên và hàng ngày sau đó.
Bình chứa thủy lực được đổ đầy tại nhà máy bằng chất lỏng thủy lực chất lượng cao.
Chuẩn bị máy để bảo trì; hãy tham khảo Chuẩn bị Máy để Bảo trì.
Tháo vỏ dây đai; tham khảo Tháo Vỏ Dây đai.
Làm sạch khu vực xung quanh cổ bình nạp và nắp bình thủy lực (Hình 168). Tháo nắp ra khỏi cổ bình nạp.

Tháo que thăm ra khỏi cổ bình nạp và lau bằng giẻ sạch. Lắp que thăm vào cổ bình nạp; sau đó tháo ra và kiểm tra mức chất lỏng. Mức chất lỏng phải đạt đến vạch trên que thăm (Hình 169).

Nếu đang ở mức thấp, đổ thêm chất lỏng thủy lực quy định để nâng mức lên vạch đầy.
Lắp que thăm và nắp vào cổ bình nạp.
Lắp vỏ dây đai; tham khảo Lắp Vỏ Dây đai.
| Khoảng thời gian Dịch vụ Bảo trì | Quy trình Bảo trì |
|---|---|
| 200 giờ một lần |
|
| 400 giờ một lần |
|
Dung tích bình chứa thủy lực: khoảng 6,6 L
Important: Không thay các bộ lọc dầu ô tô, nếu không, hệ thống thủy lực có thể bị hư hỏng nghiêm trọng.
Note: Tháo bộ lọc hồi lưu sẽ xả toàn bộ bình chứa chất lỏng.
Chuẩn bị máy để bảo trì; hãy tham khảo Chuẩn bị Máy để Bảo trì.
Đặt đĩa dầu nước dưới bộ lọc, tháo bộ lọc cũ và lau sạch bề mặt miếng đệm của đầu nối lọc (Hình 170).

Bôi một lớp mỏng chất lỏng thủy lực sạch lên miếng đệm trên bộ lọc mới.
Lắp bộ lọc thủy lực lên trên bộ tiếp hợp lọc. Xoay từng bộ lọc theo chiều kim đồng hồ cho đến khi miếng đệm tiếp xúc với bộ tiếp hợp lọc, sau đó siết chặt mỗi bộ lọc thêm 1/2 vòng.
Đổ thêm chất lỏng thủy lực quy định cho đến khi mức chất lỏng ở vạch Đầy trên que thăm dầu, tham khảo Thông số kỹ thuật của Chất lỏng Thủy lực và Kiểm tra Mức Chất lỏng Thủy lực.
Khởi động động cơ và chạy trong 2 phút để lọc hết không khí ra khỏi hệ thống. Tắt động cơ, rút chìa khóa và kiểm tra có rò rỉ chất lỏng thủy lực không.
Kiểm tra mức chất lỏng thủy lực. Đổ thêm chất lỏng thủy lực quy định để nâng mức đến vạch ĐầY trên que thăm dầu, nếu cần.
Note: Không đổ chất lỏng quá đầy vào bình chứa thủy lực.
Lắp vỏ dây đai; tham khảo Lắp Vỏ Dây đai.
| Khoảng thời gian Dịch vụ Bảo trì | Quy trình Bảo trì |
|---|---|
| Sau 8 giờ đầu tiên |
|
| 250 giờ một lần |
|
Chuẩn bị máy để bảo trì; hãy tham khảo Chuẩn bị Máy để Bảo trì.
Tháo nắp đầu lấy lõi; tham khảo Tháo Nắp Đầu Lấy lõi.
Kiểm tra các chốt hãm đầu lấy lõi, chốt hãm tay cầm máy xới và đai ốc vấu của bánh xe để đảm bảo duy trì mô-men xoắn phù hợp. Các yêu cầu về mô-men xoắn của chốt hãm được liệt kê trên nhãn mác mô-men xoắn của bu lông nằm trên rãnh hỗ trợ đầu lấy lõi (Hình 171).

Lắp nắp đầu lấy lõi; tham khảo Lắp Nắp Đầu Lấy lõi.
Chuẩn bị máy để bảo trì; hãy tham khảo Chuẩn bị Máy để Bảo trì.
Nới lỏng các vít có mũ và êcu hãm mặt bích đang siết chặt tấm chắn bên vào khung đầu lấy lõi (Hình 172).

Điều chỉnh tấm chắn lên hoặc xuống cho đến khi bạn đo được khoảng cách từ 25 đến 38 mm (1 đến 1,5 inch) giữa tấm chắn và mặt đất.
Siết chặt các vít có mũ và êcu hãm mặt bích.
Lặp lại các bước từ 2 đến 4 ở mặt đối diện của máy.
Thay các bộ phận bảo vệ lớp cỏ nếu chúng bị hỏng hoặc bị mòn đến độ dày dưới 6 mm (1/4 inch). Các bộ phận bảo vệ lớp cỏ bị hỏng có thể vướng vào và xé nát, làm hỏng lớp cỏ.

Các vạch định thời của đầu lấy lõi có thể dễ dàng được xác định bằng các vạch đúc sẵn trên 3 vỏ vòng bi.

Trước khi bạn rời khỏi vị trí của người vận hành, hãy thực hiện các bước sau:
Đỗ máy trên bề mặt bằng phẳng.
Nâng hoàn toàn và chốt thanh tay cầm để gài phanh đỗ.
Tắt động cơ và rút chìa khóa (nếu được trang bị).
Chờ cho tất cả chuyển động dừng lại.
Để máy nguội trước khi điều chỉnh, bảo dưỡng, vệ sinh hoặc cất giữ.
Không cất giữ máy hoặc bình chứa nhiên liệu ở nơi có lửa trần, tia lửa hoặc đèn đánh lửa, chẳng hạn như trên máy nước nóng hoặc thiết bị khác.
Sạc ắc quy có giải phóng khí có thể gây nổ.
Không được hút thuốc gần ắc quy và để tia lửa cũng như ngọn lửa tránh xa ắc quy.
Chuẩn bị máy để bảo trì; hãy tham khảo Chuẩn bị Máy để Bảo trì.
Ngắt kết nối dây bugi.
Loại bỏ cỏ, bụi bẩn và cáu ghét ra khỏi các bộ phận bên ngoài của toàn bộ máy, đặc biệt là động cơ và hệ thống thủy lực. Làm sạch bụi bẩn và cặn bám ra khỏi bề ngoài cánh tản nhiệt đầu xilanh động cơ và vỏ quạt thổi.
Bảo dưỡng bộ lọc khí; tham khảo Bảo dưỡng Bộ lọc Khí.
Thay dầu động cơ; tham khảo Thay Dầu Động cơ và Bộ lọc.
Thay bộ lọc và chất lỏng thủy lực, tham khảo Thay Chất lỏng Thủy lực và Bộ lọc.
Kiểm tra áp suất lốp; tham khảo Kiểm tra Áp suất Lốp.
Kiểm tra tình trạng của các răng.
Nếu bạn cất giữ máy theo mùa, hãy thực hiện tất cả các bước trong Cất giữ Máy dưới 30 ngày và các bước sau:
Kiểm tra và siết chặt tất cả các bu lông, đai ốc và vít. Sửa chữa hoặc thay bất kỳ bộ phận nào bị hỏng hoặc bị mòn.
Rửa và lau khô toàn bộ máy. Tháo các răng, làm sạch và tra dầu. Phun sương một lớp dầu mỏng lên các vòng bi đầu lấy lõi (liên kết tay quay và bộ giảm chấn).
Important: Bạn có thể rửa máy bằng chất tẩy rửa nhẹ và nước. Không rửa máy bằng áp lực. Tránh sử dụng quá nhiều nước, đặc biệt là gần bảng điều khiển, động cơ, bơm thủy lực và mô-tơ.
Note: Mở máy với động cơ ở chế độ dừng lâu trong 2 đến 5 phút sau khi rửa.
Sơn tất cả các bề mặt kim loại trần hoặc bị trầy xước. Sơn có sẵn từ nhà phân phối Toro được ủy quyền của bạn.
Siết chặt chốt vận hành nếu phải cất giữ máy trong hơn một vài ngày.
Cất giữ máy trong nhà để xe hoặc khu vực bảo quản khô ráo, sạch sẽ. Rút chìa khóa ra khỏi công tắc khóa điện và để xa tầm tay trẻ em hoặc những người sử dụng khác không được ủy quyền.
Đậy máy lại để bảo vệ và giữ máy sạch sẽ.
Thêm chất ổn định/điều hòa chứa dầu mỏ vào nhiên liệu trong bình. Làm theo hướng dẫn trộn của nhà sản xuất chất ổn định. Không sử dụng chất ổn định chứa cồn (etanol hoặc metanol).
Note: Chất ổn định/điều hòa nhiên liệu có hiệu quả nhất khi được trộn với nhiên liệu mới và sử dụng thường xuyên.
Important: Không lưu trữ nhiên liệu có chứa chất ổn định/điều hòa lâu hơn thời hạn khuyến cáo của nhà sản xuất chất ổn định nhiên liệu.
Chạy động cơ để phân phối nhiên liệu điều hòa qua hệ thống nhiên liệu trong 5 phút.
Tắt động cơ, để nguội và xả bình nhiên liệu; tham khảo Xả Bình Nhiên liệu.
Khởi động động cơ và chạy cho đến khi động cơ tắt.
Làm nghẹt động cơ. Khởi động và chạy động cơ cho đến khi động cơ không khởi động.
Tháo các bugi và kiểm tra tình trạng; tham khảo Bảo dưỡng Bugi. Sau khi tháo bugi ra khỏi động cơ, đổ 2 thìa dầu động cơ vào lỗ bugi. Rồi sử dụng bộ khởi động để quay động cơ và phân phối dầu bên trong xilanh. Lắp các bugi. Không lắp dây trên bugi.
Note: Thải bỏ nhiên liệu đúng cách. Tái chế tuân theo quy định tại địa phương.
Tháo các cực ắc quy ra khỏi các cọc ắc quy và tháo ắc quy ra khỏi máy.
Làm sạch ắc quy, cực và cọc ắc quy bằng chổi sắt và dung dịch soda bicacbonat.
Bọc các đầu cáp và cọc ắc quy bằng mỡ bôi ngoài Grafo 112X (Số Bộ phận Toro 505-47) hoặc mỡ khoáng để tránh bị ăn mòn.
Sạc lại ắc quy từ từ 60 ngày một lần, trong 24 giờ để ngăn chặn quá trình sulfat hóa dây dẫn của ắc quy. Để ngăn ắc quy bị đóng băng, hãy đảm bảo ắc quy đã được sạc đầy. Trọng lượng riêng của ắc quy đã sạc đầy là từ 1,265 đến 1,299.
Cất giữ ắc quy trên kệ hoặc trên máy. Ngắt kết nối các dây cáp nếu cất giữ bảo quản ắc quy trên máy. Bảo quản ở nơi thoáng mát để tránh sạc ắc quy bị nhanh xuống cấp.
| Problem | Possible Cause | Corrective Action |
|---|---|---|
| Bộ khởi động không quay. |
|
|
| Động cơ không khởi động, khởi động khó khăn hoặc không thể tiếp tục chạy. |
|
|
| Động cơ mất điện. |
|
|
| Động cơ bị quá nhiệt. |
|
|
| Có rung động bất thường. |
|
|
| Máy không chạy. |
|
|
| Đầu lấy lõi không chạy. |
|
|
| Đầu nảy lên trong khi đục thông khí. |
|
|
| Mặt cỏ bị tạo búi/rách ở lối vào. |
|
|
| Có búi trong lỗ khi các răng đục khí ở phía bên. |
|
|
| Mặt cỏ bị nâng/rách trong khi đục thông khí. |
|
|
| Phía trước của lỗ bị lõm hoặc đẩy. |
|
|