| 整備間隔 | 整備手順 |
|---|---|
| 使用するごとまたは毎日 |
|
この機械は歩きながら操作する機械であり、専門業務に従事するプロのオペレータが運転操作することを前提として製造されています。この機械は、集約的で高度な管理を受けているゴルフ場やスポーツフィールドの芝生、あるいは商用目的で使用される、面積の大きな芝生にエアレーション作業を行うことを主たる目的として製造されております。この機械は本来の目的から外れた使用をすると運転者本人や周囲の人間に危険な場合があります。
この説明書を読んで製品の運転方法や整備方法を十分に理解し、他人に迷惑の掛からないまた適切な方法でご使用ください。この製品を適切かつ安全に使用するのはお客様の責任です。
製品の安全や取り扱い講習、アクセサリなどに関する情報、代理店についての情報の入手、お買い上げ製品の登録などをネットで行っていただくことができます:www.Toro.com
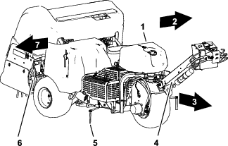
サービス、純正部品、または追加情報が必要な場合は、製品のモデル番号とシリアル番号を用意の上、いつでもToroの正規代理店に連絡してください。図 1 にモデル番号とシリアル番号の表示位置を示します。いまのうちに番号をメモしておきましょう。

危険警告記号(図 2)は、このマニュアルと実機上とに表示され、事故防止のために守るべき重要な注意事項を示します。

危険警告記号に続いて、危険、警告、または注意という文字が表示され、危険についての具体的な内容が示されます。
危険:人命に関わる重大な潜在的危険を意味します。この注意を守らないと死亡事故や重大な人身事故が起こります。
警告:人命に関わる潜在的危険を意味します。この注意を守らないと死亡事故や重大な人身事故が起こる恐れがあります。
注意:安全に関わる潜在的危険を意味します。この注意を守らないとけがをする可能性があります。
この他に2つの言葉で注意を促しています。重要「重要」は製品の構造などについての注意点を、注はその他の注意点を表しています。
この製品は、関連するEU規制に適合しています; 詳細については、DOC シート(規格適合証明書)をご覧ください。
地域によっては、この機械の使用に当たり、本機のエンジンにスパークアレスタを取り付けることが義務付けられております。スパークアレスタはオプションとして販売されています。ご入用の場合は、弊社正規代理店よりお買い求めください。トロの純正スパークアレスタは、USDA森林局の適合品です。
エンジンの保守整備のため、および米国環境保護局(EPA)並びにカリフォルニア州排ガス規制に関連してエンジンマニュアルを同梱しております。エンジンマニュアルはエンジンのメーカーから入手することができます。
このマシンにテレマティクスデバイスが装備されている場合、Toro認定代理店に問い合わてデバイスをアクティベートしてください。
カリフォルニア州
第65号決議による警告
カリフォルニア州では、この製品に使用されているエンジンの排気には発癌性や先天性異常などの原因となる物質が含まれているとされております。
バッテリーやバッテリー関連製品には鉛が含まれており、カリフォルニア州では発ガン性や先天性異常を引き起こす物質とされています。取り扱い後は手をよく洗ってください。
米国カリフォルニア州では、この製品を使用した場合、ガンや先天性異常などを誘発する物質に触れる可能性があるとされております。
この機械は人身事故を引き起こす能力がある。重大な人身事故を防ぐため、すべての注意事項を厳守してください。
エンジンを始動する前に必ずこのオペレーターズマニュアルをお読みになり、内容をよく理解してください。
この機械を運転する時は常に十分な注意を払ってください。運転中は運転操作に集中してください;注意散漫は事故の大きな原因となります。
機械の可動部の近くには絶対に手足を近づけないでください。
ガードなどの安全保護機器が正しく取り付けられていない時は、運転しないでください。
周囲の人や動物を機械から十分に遠ざけてください。
タインの周囲の開口部には近づかないでください。作業中は人や動物を十分に遠ざけてください。
作業場所に子供を近づけないでください。子供に運転させないでください。
機械の詰まりの除去や給油や整備作業を行う場合には、平らな場所に駐車し、ハンドルバーを一番高い位置にしてラッチで固定し、駐車ブレーキを掛け、トラクションユニットのエンジンを停止し、キーを抜き取り、可動部が完全に停止したのを確認してください。
間違った使い方や整備不良は負傷などの人身事故につながります。事故を防止するため、以下に示す安全上の注意や安全注意標識
のついている遵守事項は必ずお守りください 「注意」、「警告」、および「危険」
の記号は、人身の安全に関わる注意事項を示しています。これらの注意を怠ると死亡事故などの重大な人身事故が発生する恐れがあります。
![]() |
セーフティラベルや指示は危険な個所のオペレーターから見やすい部分に貼付してあります。破損したりはがれたりした場合は新しいラベルを貼り直してください。 |
















Note: 機体の前とは操作ハンドルのあるところです。ここが通常の運転操作位置です。機体の左右とは、機体の走行方向(オペレーターが歩く向き)を基準としたものです。
Note: クレートからマシンを出した後にコアリングヘッドを上昇させるには、エアレーションベイルを開放してエンジンを始動する;詳細はエンジンの始動手順とコアリングヘッドを上昇させるにはを参照。
この作業に必要なパーツ
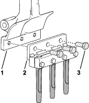
| ホイールアセンブリ | 2 |
Note: 可能であれば、ホイストで機体後部を持ち上げてください。その場合、コアリングヘッドのベアリングハウジングについているアイを吊上げポイントとして利用します(図 3)。

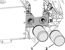
マシン後方で、マシン後部を出荷用パレットに固定しているラグナット 4 個を外す。
ラグナット 4 個を使用して、後ホイールハブそれぞれにホイールアセンブリを取り付ける(図 4)。

ラグナットを 61-75 N.m(9.7-12.5 kg.m = 45-55 ft-lb)にトルク締めする。
マシンの反対側でも 1 - 3 の作業を行う。
すべてのタイヤを 0.83 bar(0.84 kg/cm2=12 psi)に調整する。
この作業に必要なパーツ
| ハンドル | 1 |
| ロックナット(½") | 3 |
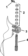
ブレーキケーブルのフィッティングを、ハンドルバーのチャネル部材の下を通して配設する(図 7)。

ブレーキケーブルのフィッティングをクレビスピンに取り付け、ワッシャ―とヘアピンでクレビスピンに固定する。
マシンのワイヤハーネスについている 6 ピンコネクタと 12 ピンコネクタを、ハンドルバーのチャネル部材についているハトメに通す(図 8)。

マシンのハーネスの 12 ピンコネクタを、ハンドルバーのワイヤハーネスの 12 ソケットコネクタに接続する(図 9)。

マシンのハーネスの 6 ピンコネクタを、ハンドルバーのハーネスの 6 ソケットコネクタに接続する。
マシンのハーネスの押し込みアンカーを、ハンドルバーのチャネル部材の穴に押し込む(図 10)。

マシンのハーネスの押し込みアンカーを、ガイドブラケットの穴に押し込む。
ケーブルタイをハンドルバーのチャネル部材のスロットに通して、マシンのハーネスをチャネル部材に固定する(図 11)。

ケーブルタイをガイドブラケットのスロットに通して、マシンのハーネスをガイドブラケットに固定する。
ハンドルバーカバーについている小さいノッチを、ノッチアップに合わせる(図 12)。

カバーの穴を、ハンドルバーのチャネル部材の穴に合わせる。
タップねじ(¼")6 本を使用してカバーをハンドルバーに固定する。
この作業に必要なパーツ
| ボルト(¼ x 1") | 2 |
| フランジナット(5/16") | 2 |
電解液には触れると火傷を起こす劇薬である硫酸が含まれている。
皮膚、目、衣服などに電解液を付着させないよう注意してください。安全ゴーグルとゴム手袋で目と手を保護すること。
皮膚をすぐに洗浄できる十分な水のある場所で、バッテリーの取り外し、充電し、取り付けを行う。
充電中は爆発性のガスが発生する。
充電中は絶対禁煙を厳守しバッテリーにいかなる火気も近づけない。
バッテリーの端子に金属製品や車体の金属部分が触れるとショートを起こして火花が発生する。それによって水素ガスが爆発を起こし人身事故に至る恐れがある。
バッテリーの取り外しや取り付けを行うときには、端子と金属を接触させないように注意する。
バッテリーの端子と金属を接触させない。
バッテリーケーブルの接続手順が不適切であるとケーブルがショートを起こして火花が発生する。それによって水素ガスが爆発を起こし人身事故に至る恐れがある。
ケーブルを取り外す時は、必ずマイナス(黒)ケーブルから取り外し、次にプラス(赤)ケーブルを外す。
ケーブルを取り付ける時は、必ずプラス(赤)ケーブルから取り付け、それからマイナス(黒)ケーブルを取り付ける。
ラッチを外し、バッテリーコンパートメントのドアを開く(図 13)。

バッテリー搭載部からバッテリーを取り出す。
充電能力 3-4 A の充電器を使用してバッテリーを充電する。
充電が終わったらチャージャをコンセントから抜き、バッテリー端子からはずす。
バッテリーをコンパートメントのトレーに取り付ける(図 14)。バッテリー端子が外側を向くように取り付ける。

押さえ棒(2 本)、J ロッド(2 本)、平ワッシャ、と蝶ねじ(2 個)でバッテリーを固定する。
プラス(赤)ケーブルをバッテリーのプラス(+)端子に接続し、キャリッジボルトとナットで固定する。
プラス端子に絶縁カバーを取り付ける。
マイナス(黒)ケーブルをバッテリーのマイナス(ー)端子に取り付け、キャリッジボルトとナットで固定する。
バッテリーコンパートメントのドアを閉じてラッチを掛ける。
この作業に必要なパーツ
| ラッチロック | 2 |
| タップボルト | 2 |
| 内歯ロックワッシャ | 2 |
EU(CE)諸国でこの機械を使用する場合には、CE 規制に適合することが必要ですので、以下の要領で後フードにラッチロックを取り付けてください。
後フードを取り外す。
タップボルト(合計 2 本)で、フードラッチ(図 15)にラッチロックを取り付ける。

プライヤかモンキーレンチを使って、内部ロックワッシャを各ボルトに取り付け (1 山か 2 山)ボルトをフードに固定する。
フードの反対側でも 2 - 3 の作業を行う。
後フードを取り付ける。
豊富な種類のタインホルダー、ターフガード、タインがあります。ターフガード、タインホルダー、タインを取り付けるを参照。


ハンドルバーのラッチ(図 21)でハンドルバーを上位置に固定し、駐車ブレーキを掛ける。
Important: 運転位置を離れる時は必ずハンドルバーを上位置に固定してください。
オペレータプレゼンスベイル(図 21)は、マシンの運転中やコアリングヘッドの動作中にオペレータが運転操作位置にいることをマシンに教える安全装置です。
Note: このベイルから手を離してもエンジンは停止しません。
インフォセンター(図 21)で、コアリングヘッドの動作設定を変更することができます。
バンプストップスイッチ(図 21)に触れると、マシンは以下の動作を行います:
前進を停止する。
コアリングヘッドが上昇して回転を停止する。
Note: バンプストップスイッチに触れてもエンジンは停止しません。この状態でマシンを後退させることができます。前進するためにはバンプスイッチをリセットします。

移動走行・エアレーションスイッチ(図 22)は、移動走行中やエアレーション中の最大走行速度をコントロールするスイッチです。
エアレーション位置では、走行速度の上限が 4.0 km/h に制限されます。
移動走行位置では、最高走行速度で走行することが可能です。
Note: 移動走行位置では、エアレーション作業を行うことはできません。
マシンの前進後退動作は、左側または右側の走行コントロール(図 22)で行うことができます。
速度ロックスイッチ(図 22)はマシンの走行速度を固定するスイッチです;自動車のクルーズコントロールと同じような働きをします。
入位置にすると、現在の走行速度がロックされます。
ON 位置で、走行速度の固定状態となります。
OFF 位置で、速度ロック状態が解除となります。
速度ロックスイッチ(図 22)で、穴あけ間隔に合った速度を維持することができます。
ON 位置 — 穴あけ作業の開始位置(列の先頭)でエアレーションベイルから手を離すのに合わせて走行速度ロックが ON となり、穴あけ間隔に合った速度を維持します。
OFF 位置では、走行速度ロックが OFF となります — エアレーションベイルから手を離すと前進を停止します。

スロットルレバー(図 24)はエンジンの速度を制御します:
レバーを前に倒すとエンジン速度が増加します — 高速位置
レバーを後に倒すとエンジン速度が低下します — 低速位置
Note: エンジン速度がコアリングヘッドの速度を決定します。
冷えているエンジンを始動する時に使用します(図 24)。
始動スイッチ(図 24)はエンジンの始動と停止を行うスイッチです。スイッチには 3 つの位置があります:
START:キーを右に回してSTART位置にすると、スタータモータが始動します。
RUN:エンジンが掛かったらキーから手を離すと、キーは自動的に ON 位置まで戻ります。
OFF:エンジンを停止する時にはキーをOFF位置にします。
タコメータはエンジン速度を表示します(図 24)。
燃料タンクからの燃料供給を停止したい時に使用します(図 25)。

インフォセンターディスプレイ(図 26) には、マシンの動作ステータス、さまざまな診断、その他の情報など、マシンに関する情報が表示される。

Note: 各ボタンの機能はメニューの内容によって変わります。各ボタンについて、その時の機能がアイコンで表示されます。
ナビゲーション ボタンを使って、いくつかの画面とメニュー項目の間を移動します。
スプラッシュスクリーン:キーをオンの位置に移動してから数秒間、現在のマシン情報が表示されます。
メインメニュー:メニューの使い方.を参照してください。
|
SERVICE DUE |
定期整備時期がきたことのお知らせです |
|
|
移動走行モード |
|
|
穴の深さ |
|
|
穴の間隔 |
|
|
タインの直径 |
|
|
ホルダー当たりタイン数 |
|
|
バッテリー |
|
|
アワーメータ |
|
|
アクティブ/OK |
|
|
非アクティブ |
|
|
次へ |
|
|
前画面 |
|
|
メニュー |
|
|
値を増減する |
|
|
上下にスクロール |
|
|
左/右にスクロール |
|
|
終了してメニューに戻る |
|
|
|
メイン メニューにアクセスするには、情報画面のいずれかで戻る/終了ボタンを押します。
各メニューにおいてどのような内容が表示されるかは、以下の表をご覧ください。
|
メニュー項目 |
記述称 |
|---|---|
|
不具合 |
最近発生した不具合を記憶しています。「故障」メニューの詳細については、サービスマニュアルを参照するか、Toro認定代理店に問い合わせること。 |
|
サービス |
使用時間積算記録などの情報を見ることができます。 |
|
診断 |
マシンの現在の状態を表示します;どのコントロール装置がアクティブで、どれがシャトダウン状態かが表示されますから、故障探究を手早く行うことができます。 |
|
設定 |
PIN を入力したり、インフォセンターの表示をカスタマイズしたりできます。 |
|
マシンの設定 |
マシンの動作特性と構成を変更できます。 |
|
ABOUT |
モデル番号、シリアル番号、ソフトウェアのバージョンなどを確認することができます。 |
|
メニュー項目 |
記述称 |
|---|---|
|
統計 |
エンジン稼働時間、エアレーション面積/量/時間、エアレーション移動距離など、マシンの稼働データと操作データのカウンターをリストアップします。 |
|
時間 |
マシン、エンジン、PTOが稼働していた合計時間数、およびマシンの搬送時間と保守期限が表示されます。 |
|
数 |
マシンが遭遇した多数のカウントを表示します。 |
|
サービスリフト |
サービスリフトを有効または無効にします。 |
|
サービスロワー |
サービスロワーを有効または無効にします。 |
|
3WD |
自動3WDまたは常時3WDを有効にします。 |
|
地面の高さ |
センサーの校正が有効かどうかを示し、校正プロセスを開始し、センサーの電気的値を示します。 |
|
牽引ポンプ |
センサーの校正が有効かどうかを示し、校正プロセスを開始し、センサーの電気的値を示します。 |
|
トラクション入力 |
センサーの校正が有効かどうかを示し、校正プロセスを開始し、センサーの電気的値を示します。 |
|
高さセンサー |
センサーの校正が有効かどうかを示し、校正プロセスを開始し、センサーの電気的値を示します。 |
|
|
|
|
メニュー項目 |
記述称 |
|---|---|
|
ピンを入力する |
許可された人が PIN コードを入力してアクセスできる項目です |
|
バックライト |
LCD 表示の明るさを調整します |
|
言語 |
インフォセンターで使用される言語を制御する。 |
|
単位 |
インフォセンターで使用する単位(ヤードポンド法またはメートル法)を選択できます |
|
PINの編集 |
PIN コードを持つ権限のある人のみに、PINコードを変更できるようにします。 |
|
保護設定 |
保護された設定にアクセスするための PIN コード入力の要件を有効または無効にする |
|
デフォルトにリセットする |
すべての設定をデフォルトに戻す |
|
|
|
|
メニュー項目 |
記述称 |
|
最大搬送速度 |
最大前進対地速度を変更できます。デフォルト = 時速 6.4 キロ |
|
手動エアレーション |
手動エアレーションを有効または無効にします |
|
|
|
|
メニュー項目 |
記述称 |
|---|---|
|
モデル |
マシンのモデル番号を表示します |
|
SN |
マシンのシリアル番号を表示します |
|
ソフトウェア改訂 |
マスターコントローラの改訂番号を表示します |
|
CAN統計 |
マシンの通信バスの状態を表示します |
|
インフォセンターの改定番号 |
インフォセンター画面のソフトウェア改定をリストする |
|
|
|
|
メニュー項目 |
記述称 |
|---|---|
|
走行 |
診断メニュー項目の詳細については、サービスマニュアルを参照するか、Toro認定代理店に問い合わせること。 |
|
エアレーション |
|
|
エンジン |
デフォルトでは保護されたメニューは表示されません。PIN コードを入力すると、これらの設定のロックが解除されます。
Note: マシンの工場出荷時のデフォルトのPINコードは0000または1234です。配送時に、代理店がPINコードを変更している可能性があります。PIN を変更後、PIN を忘れてしまった場合には、弊社ディストリビュータにご相談ください。
メイン メニューから、設定メニューまで下にスクロールし、選択ボタン (図 27) を押します。

設定メニューで、PIN を入力までスクロールし、選択ボタン (図 28A) を押します。

PINコードを入力するには、正しい最初の桁が表示されるまでナビゲーション ボタンを上下に押し、次に右のナビゲーション ボタンを押して次の桁 (図 28B と 図 28C) に進みます。最後の桁が入力されるまでこの手順を繰り返します。
選択ボタン(図 28D)を押します。
Note: ディスプレイがPINコードを受け入れ、保護されたメニューのロックが解除されると、画面の右上隅に
が表示されます。
保護されたメニューを非表示にするには、キースイッチをオフの位置に回し、次にオンの位置に回転します。
PINコードを入力したら、設定メニューに入り、設定の保護まで下にスクロールします。
PINコードを入力せずに保護されたメニューを表示できるようにするには、選択ボタンでプロテクト設定を
(オフ)に変更します。
保護されたメニューを表示するためにPINコードを要求するには、選択ボタンを使ってプロテクト設定を (
オン) に変更し、PINコードを設定し、イグニッションスイッチのキーをオフの位置に回し、次にオンの位置に回します。

赤の点滅 - アクティブな故障
赤の点灯 - アクティブな勧告
青の点灯 - キャリブレーション/ダイアログ メッセージ
緑色の点灯 - 通常動作
Note: 仕様および設計は予告なく変更される場合があります。
| 幅 | 127 cm |
| ホイールベース: | 113 cm |
| トレッド | 97 cm |
| コアリング幅 | 122 cm |
| 長さ | 295 cm |
| ヘッド高さ(上昇時) | 114 cm |
| ヘッド高さ(下降時) | 93 cm |
| 高さ(ハンドル) | 154.2 cm |
| 地上高 | 12 cm |
| 前進速度 | 0-7.2 km/h |
| 後退速度 | 0-4 km/h |
| 純重量 | 745 kg |
Toroが認定した各種のアタッチメントやアクセサリがそろっており、機械の機能をさらに広げることができます。詳細は弊社の正規サービスディーラ、または代理店へお問い合わせください;弊社のウェブサイト www.Toro.com でもすべての認定アタッチメントとアクセサリをご覧になることができます。
機械の性能を完全に引き出し、かつ安全にお使いいただくために、交換部品やアクセサリは純正品をお使いください。他社の部品やアクセサリを御使用になると危険な場合があり、製品保証を受けられなくなる場合がありますのでおやめください。
使用すべきタインヘッド、ターフガード、およびタインについては以下の構成表をご覧ください。
| タインヘッド | タインヘッドの間隔 | シャンクのサイズ | タインの数 | ターフガードの種類(数) |
|---|---|---|---|---|
| 2x5 ミニタイン用ヘッド | 41 mm | 9.5 mm | 60 | 5 本用 — ショート(2 枚) |
| 5 本用 — ロング(1 枚) | ||||
| 1x6 ミニタイン用ヘッド | 32 mm | 9.5 mm | 36 | 6 本用 — ショート(2 枚) |
| 6 本用 — ロング(1 枚) | ||||
| 3 本付けヘッド(⅞") | 66 mm | 22.2 mm | 18 | 3 本用 — ショート(2 枚) |
| 3 本用 — ロング(1 枚) | ||||
| 3 本付けヘッド(¾") | 66 mm | 19.5 mm | 18 | 3 本用 — ショート(2 枚) |
| 3 本用 — ロング(1 枚) | ||||
| 4 本付けヘッド(¾") | 51 mm | 19.5 mm | 24 | 4 本用 — ショート(2 枚) |
| 4 本用 — ロング(1 枚) | ||||
| 5本付けニードルタイン用ヘッド | 41 mm | — | 30 | 5 本用 — ショート(2 枚) |
| 5 本用 — ロング(1 枚) |
Note: 前後左右は運転位置からみた方向です。
子供やトレーニングを受けていない大人には、絶対に運転や整備をさせないでください。地域によっては機械のオペレータに年齢制限を設けていることがありますのでご注意ください。オーナーは、オペレータ全員にトレーニングを受講させる責任があります。
各部の操作方法や本機の正しい使用方法、警告表示などに十分慣れ、安全に運転できるようになりましょう。
エンジンの緊急停止方法に慣れておきましょう。
使用前に必ず機体の点検を行い、タインの状態が良好であることを確認してください。磨耗したり破損したりしているタインは交換してください。
これから機械で作業する場所をよく確認し、エアレーションの障害になりそうなものはすべて取り除きましょう。
散布関係機器、電線、電話線など作業上問題になりそうなものはすべて、小旗を立てるなどして適切にマーキングしてください。障害物は、可能な場合は除去し、そうでない場合は避ける方法を計画しておきましょう。
平らな場所に駐車し、ハンドルバーを一番高い位置にしてラッチで固定し、駐車ブレーキを掛け、トラクションユニットのエンジンを停止し、キーを抜き取り、可動部が完全に停止したのを確認してください。
オペレータコントロールやインタロックスイッチなどの安全装置が正しく機能しているか、また安全カバーなどが外れたり壊れたりしていないか点検してください。これらが正しく機能しない時には機械を使用しないでください。
燃料の取り扱いに際しては安全に特にご注意ください。燃料は引火性が高く、気化すると爆発する可能性があります。
燃料取り扱い前に、引火の原因になり得るタバコ、パイプなど、すべての火気を始末してください。
燃料の保管は必ず認可された容器で行ってください。
エンジン回転中などエンジンが高温の時には、燃料タンクのふたを開けたり給油したりしないでください。
締め切った場所では燃料の補給や抜き取りをしないでください。
ガス湯沸かし器のパイロット火やストーブなど裸火や火花を発するものがある近くでは、機械や燃料容器を保管・格納しないでください。
燃料がこぼれたら、エンジンを始動せずにマシンを別の場所に動かし、気化した燃料ガスが十分に拡散するまで引火の原因となるものを近づけないでください。
| タイプ | 無鉛ガソリン |
| 最低オクタン価 | 87(米国内)、91(米国外;リサーチ法オクタン価) |
| エタノール | 体積比で10%未満であること |
| メタノール | なし |
| MTBE(メチルターシャリーブチルエーテル) | 体積比で15%未満であること |
| オイル | 燃料にオイルを混合しないこと |
きれいで新しい(購入後30日以内)燃料を使ってください。
Important: 始動困難トラブル低減のために、新しい燃料にスタビライザー/コンディショナーを、コンディショナメーカーの指示に従って使用してください。
燃料タンク容量:26.5 リットル
平らな場所に駐車し、ハンドルバーを一番高い位置にしてラッチで固定し、駐車ブレーキを掛け、トラクションユニットのエンジンを停止し、キーを抜き取り、可動部が完全に停止したのを確認してください。
燃料キャップの周囲をきれいに拭いてキャップを外す(図 30)。

給油は燃料タンクの首の根元から 6-13 mm 程度下までとする。
Important: これは、温度が上昇して燃料は膨張したときにあふれないように空間を確保するためである。燃料タンク一杯に入れないこと。
燃料タンクのキャップをしっかりとはめる。
こぼれた燃料はふき取ってください。
毎日の運転前に、に記載されている「使用ごと/毎日の点検整備」を行ってください。
| 整備間隔 | 整備手順 |
|---|---|
| 使用するごとまたは毎日 |
|
インタロックシステムは安全装置であり、これを取り外すと予期せぬ人身事故が起こり得る。
インタロックスイッチをいたずらしない。
作業前にインタロックシステムの動作を点検し、不具合があれば作業前に交換修理する。
インタロックシステムは、 走行コントロールがニュートラル位置にない限りエンジンが始動できないようにする安全装置です。
オペレータプレゼンスベイルが完全に解除されない限り、安全インタロックシステムにより、エンジンの始動が拒絶されます。
コアリングヘッドが完全に解除されない限り、安全インタロックシステムにより、エンジンの始動が拒絶されます。
安全インタロックシステムは、エアレーション中に本機を後退させたり、バンプストップスイッチに触れたりするとコアリングヘッドを上昇させ、シャットダウンさせます。
Important: 安全インターロック システムが説明どおりに作動しない場合は、Toro認定代理店に直ちに安全インターロック システムの修理を依頼してください。
コアリングヘッドが下がった状態の場合には以下を行います。コアリングヘッドが上がった状態の場合はスタータのインタロックをテストするへ進んでください。
エンジンが掛かっている場合はエンジンを停止する。
どちらかのオペレータ安全ベイルをハンドルバーとと共に握り、走行コントロール(図 32)を前方又は後方に回転させ、エンジンを始動する。
Important: エンジンが始動しなければ正常です。

どちらかのオペレータベイルをハンドルバーと共に握り込み、走行コントロールの上部を前方に回転させる(図 35)。
Note: マシンが前進すれば正常です。

オペレータベールと走行コントロールを保持したまま、バンプストップスイッチに触る(図 36)。
Important: 前進を停止すれば正常です。
Note: エンジンは作動を続けます。

バンプストップスイッチをリセットする;バンプストップスイッチのリセット方法を参照。
以下のうちの一つを行う:
タインやを傷つけずにエアレーションできる芝生にマシンを移動させる。
タインを外す。
どちらかのオペレータベイルをハンドルバーと共に握り込み、走行コントロールの上部を前方に回転させ、エアレーションベイルを握り込む図 37)。
Note: マシンが前進し、コアリングヘッドが作動を開始して降下すれば正常です。

オペレータベイルとエアレーションベイルを握った状態で、走行コントロールの上部を後方に回転させる(図 38)。
Important: コアリングヘッドが上昇して回転を停止すれば正常です。
Note: エンジンは作動を続けます。

走行コントロールをニュートラルにする。
タインが取り外されている場合はタインを取り付け、タインの地上高を調整する;タインをコアリングヘッドに取り付けるとタインガードの高さのキャリブレーションを行うを参照。
Important: 長さの異なるタインに変更するたびに、タインの高さを較正する必要があります。
豊富な種類のタインホルダー、ターフガード、タインがあります。「アタッチメントとアクセサリ」に掲載している一覧表から必要なものをお選びください。
コアリングヘッドを上昇させ、整備用ラッチで固定する;コアリングヘッド支持用整備用ラッチの使用方法を参照。
平らな場所に駐車し、ハンドルバーを一番高い位置にしてラッチで固定し、駐車ブレーキを掛け、トラクションユニットのエンジンを停止し、キーを抜き取り、可動部が完全に停止したのを確認してください。
Note: ターフガード用クランプ、ワッシャ、フランジロックナットは、ターフガードブラケットに取り付けた状態で出荷されています(図 39)。
ターフガードブラケットにターフガードを仮止めする;ターフガードクランプ 4 個、フランジロックナット(⅜")12個、ワッシャ(7/16×13/16")12個でを使用する。
Note: フランジロックナットはまだ本締めしないでください。

No. 2 タインアームにタインホルダーとタインを取り付ける(図 42と図 43);ボルト(½ x 1¼")3 本を使用する。


ボルト (½ x 1¼")を102 N∙m (11.5 kg.m = 75 ft-lb)にトルク締めする。
No. 5 タインアームにもステップ1と2を行う。
タインがターフガードのスロットの中心にあることを確認する(図 44)。
Note: 必要に応じてターフガードを調整してください。

ターフガードクランプ 3 個とターフガード 3 枚をターフガードブラケット 3 個に固定しているロックナット(⅜")をトルク締めする。
残りのタインホルダーとタインを、No. 1、No. 3、No. 4、No. 6 タインアームに取り付ける;ボルト(½ x 1¼")12 本を使用する。
ボルト (½ x 1¼")を102 N∙m (11.5 kg.m = 75 ft-lb)にトルク締めする。
タインと地面の高さに関する機械のキャリブレーションを行う;地上高ティーチアプリを実行するを参照。
イグニッションキーを RUN 位置に回す。
搬送モード画面またはエアレートモード画面で矢印が表示されない場合は、PINコードを入力して保護されたメニューにアクセスする。アクセス制限付きメニューへのアクセスを参照方。
Note: 移動走行モード画面またはエアレーションモード画面が表示される(図 45)。

右ボタンを2回押して、「タイン地上高の校正」画面を表示する (図 46) 。
Note: 左ボタンを押すと、搬送Tまたはエアレーションモード画面が表示される。

右ボタンを押して、「穴の深さの設定」画面を表示する (図 47) 。
Note: 左ボタンを押して、「地面の高さを教える」画面を表示する。

右ボタンを押して、「穴間隔の設定」画面を表示する (図 48) 。
Note: 左ボタンを押して、「穴の深さの設定」画面を表示する。

右ボタンを押して、「タイン直径の設定」画面を表示する (図 48) 。
Note: 左ボタンを押して、「穴間隔の設定」画面を表示する。

右ボタンを押して、「タイン数の設定」画面を表示する (図 50) 。
Note: 左ボタンを押して、「タイン直径の設定」画面を表示する。

Note: ProCore 648sは、深さ7.6 cmに設定すると、さまざまな草や土壌の種類、農業条件、およびタイン種類にわたって最適な通気性能を発揮するように設計されています。特に、より小さなタインを使って5 cm未満の浅い深度の設定で使うと、表面の損傷が大きくなる可能性があります。
コアリングヘッドが上ってることを確認する;コアリングヘッドを上昇させるにはを参照。
イグニッションキーを RUN 位置に回す。

次のように上下ボタン (図 52) を使ってタインの深さを調整する。
穴の深さを浅くするには下ボタンを押す。
穴の深さを深くするには上ボタンを押す。

左または右のボタンを押して設定を保存し、深さ画面を終了する。
キーを OFF 位置に回す。
Note: 地上高の校正を実行した後、最大許容深さ (任意の長さのタインを使用) でエアレーションを行う際に、ターフガード ボルトが芝生を引きずったり接触したりする場合は、深さを1ステップ (¼") 減らしてください。
Note: 目標穴開け間隔を選択すると、マシンはその穴開け間隔を維持するように走行速度を制御します。
コアリングヘッドが上ってることを確認する;コアリングヘッドを上昇させるにはを参照。
イグニッションキーを RUN 位置に回す。

穴あけ間隔(図 54)を以下の手順で調整する:
穴間隔を短くするには下ボタンを押す。
穴間隔を長くするには上ボタンを押す。

左または右のボタンを押して設定を保存し、穴間隔画面を終了する。
キーを OFF 位置に回す。
コアリングヘッドが上っていることを確認する;コアリングヘッドを上昇させるにはを参照。
イグニッションキーを RUN 位置に回す。

次のように上下ボタン (図 56) を使ってタインの直径を調整する。
直径を大きくするには上ボタンを押す。
直径を小さくするには下ボタンを押す。

左または右のボタンを押して設定を保存し、直径画面を終了する。
キーを OFF 位置に回す。
コアリングヘッドが上っていることを確認する;コアリングヘッドを上昇させるにはを参照。
イグニッションキーを RUN 位置に回す。

[タイン数の設定] 画面が表示されるまで、右ボタンを押す(図 58) 。
次のように上下ボタン (図 58) を使ってタイン数を調整する。
Important: タインの本数はホルダ1個あたりのタインの数です。
タイン数を増やすには上ボタンを押す。
タイン数を減らすには下ボタンを押す。

左または右のボタンを押して設定を保存し、数量画面を終了する。
キーを OFF 位置に回す。
| 整備間隔 | 整備手順 |
|---|---|
| 使用するごとまたは毎日 |
|
Important: タインを交換した時は摩耗したタインを新品に交換したら必ず、タインの地上高を校正してください。
コアリングヘッドが上っていることを確認する。
平らな場所に駐車し、ハンドルバーを一番高い位置にしてラッチで固定し、駐車ブレーキを掛け、トラクションユニットのエンジンを停止し、キーを抜き取り、可動部が完全に停止したのを確認してください。
コアリングヘッドのカバーを取り外す;コアリングヘッドのカバーの取り外しを参照。
コアリングヘッドのプーリ(図 59)を回転させて、一番外側のタインが地表面に最も近付いた状態にする(図 60)。
Important: ベルトがプーリーが掛かる部分や離脱する部分で指を挟まないように注意してください。


コアリングヘッドのカバーを取り付ける;コアリングヘッドのカバーの取り付けを参照。
イグニッションキーを RUN 位置に回す。
Note: 移動走行モード画面またはエアレーションモード画面が表示される(図 61)。

マシンの準備を行うで位置決めした一番外側のタインが見えるようにハンドルを動かす。
地面の高さを教えるウィザードが表示されるまで、右ボタンを押す。
[地面の高さを教える] 画面 (図 62) で、どちらかの中央ボタンを押す。

OKを押してティーチを開始画面 (図 63) で、選択ボタンを押す。

Note: 校正が開始されましたというメッセージが表示され、コアリングヘッドがゆっくりと下がります。
Important: すぐにインフォセンターを操作できるように準備しておいてください。
Note: 油圧オイルの温度が低いとコアリングヘッドの下降動作が遅くなります。
いずれかのタインが地面に触れたら、「ヘッド下降」画面の選択ボタンを押す (図 64) 。
Note: タインは地面に触れるだけで、タイヤを持ち上げたり、持ち上げる動作が始まってはいけません。コアリングッドがマシンを持ち上げてしまうと、正しい地上高の較正ができず、正しい深さの穴を開けられず、また穴の入口側にタフトが発生します。

Note: 校正が終了しましたというメッセージが表示され、ヘッドが一番上まで上がります。
戻るボタンを押して、「地面の高さを教える」アプリケーションを終了する。
オーナーやオペレータは自分自身や他の安全に責任があり、オペレータやユーザーの注意によって物損事故や人身事故を防止することができます。
作業にふさわしい服装をし、安全めがね、長ズボン、頑丈で滑りにくい安全な靴、および聴覚保護具を着用してください。長い髪は束ね、服のだぶついている部分はまとめるなどし、垂れ下がる装飾品は身に着けないでください。
疲れている時、病気の時、アルコールや薬物を摂取した時は運転しないでください。
作業場所に、無用の大人や子供、ペットなどを近づけないでください。子供に運転させないでください。講習を受けて正しい運転知識を身に着け、運転操作に必要な運動能力があり、責任ある大人のみがこの機械の操作を行ってください。
絶対に人を乗せないでください。
運転は、穴や障害物を確認できる十分な照明のもとで行ってください。
タインに手足を近づけないでください。
バックするときには、足元と後方の安全に十分な注意を払ってください。
異物をはね飛ばしたときや機体に異常な振動を感じたときにはまずエンジンを停止してキーを抜き、各部の動きが完全に止まるのを待って、タイン部分をよく点検してください。異常を発見したら、作業を再開する前にすべて修理してください。
タイヤ空気圧を常に正しく調整して使ってください。
悪路や不整地では走行速度を落としてください。
斜面はスリップや転倒などを起こしやすく、これらは重大な人身事故につながります。斜面での安全運転はオペレータの責任です。どんな斜面であっても、通常以上に十分な注意が必要です。
斜面については、実地の測定を含めてオペレータ自身が調査を行い、安全に作業ができるかどうかを判断してください。この調査においては、常識を十分に働かせてください。
以下に掲載している斜面での運転上の注意点やその場合の天候条件および場所の条件などを良く読み、作業日当日の現場のコンディションが作業に不適当な状態でないかどうか判断してください。同じ斜面上であっても、地表面の条件が変われば運転条件が変わります。
斜面での発進・停止・旋回は避けてください。急に方向を変えたり急な加速やブレーキ操作をしないでください。旋回は速度を落としてゆっくりと行ってください。
走行、ステアリング、安定性などに疑問がある場合には運転しないでください。
隠れた穴、わだち、盛り上がり、石などの見えない障害は、取り除く、目印を付けるなどして警戒してください。深い芝生に隠れて障害物が見えないことがあります。不整地では機体が転倒する可能性があります。
ぬれ芝、急斜面など滑りやすい場所で運転すると滑って制御できなくなる危険があります。駆動力を失うと、スリップを起こしたりブレーキや舵取りができなくなる恐れがあります。
段差、溝、盛り土、水などの近では安全に十二分の注意を払ってください。万一車輪が段差や溝に落ちたり、地面が崩れたりすると、機体が瞬時に転倒し、非常に危険です。必ず安全距離を確保してください。
ハンドルバーを完全に上昇させてラッチを掛け、駐車ブレーキを掛ける;駐車ブレーキの掛け方を参照。
以下の要領でチョーク(図 70)を使用する:
エンジンが冷えている場合には、チョークをON 位置にセットする。
エンジンが暖かい場合には、チョークを使用しない。

エンジンが冷えている時は、スロットルレバーを高速 位置にセットする。
始動キーを START 位置に回す。エンジンが始動したら、キーから手を離してください。
Important: スタータは 1 度に 10 秒間以上連続で使用しないでください。5 秒以内にエンジンが始動しなかった場合は、30 秒間待ってからもう一度始動を試みてください。この手順を守らないとスタータモータを焼損する恐れがあります。
エンジンが始動した後は、チョークを OFF 位置に戻す。それでエンジンの回転が悪くなるようであれば、チョークを ON 位置に戻して数秒間待つ。様子を見ながらスロットルレバーを希望のエンジン速度位置に動かす。
Note: 必要に応じてこの操作を繰り返す。
子供や外部者が本機を操作しようとして思わぬけがや事故に発展する恐れがある。
たとえ数分間であっても、機体から離れるときは、必ずハンドイルバーを上げてラッチを掛けて駐車ブレーキを掛け、エンジンを止め、キーを抜き取ること。
ハンドルバーを完全に上昇させてラッチを掛け、駐車ブレーキを掛ける;駐車ブレーキの掛け方を参照。
スロットルレバー(図 71)を 低速位置に動かす。

エンジンをアイドル回転させた状態で 60 秒間待つ。
始動キーを OFF 位置にして抜き取る。
マシンを搬送する時や格納保管する時には燃料バルブを閉じる(図 72)。
Important: トレーラ移送する場合や格納保管する場合は、燃料バルブを閉じてください。マシンをトレーラに載せる前にハンドルバーを完全に上昇させてラッチを掛け、駐車ブレーキを掛け、燃料ポンプが作動してバッテリーが放電してしまわないよう、イグニッションスイッチからキーを取り外してください。

Important: 機械を後ろ手に引くようにして前向きに歩く。後ろ向きに歩かない。

速度ロック機能を利用すると、走行コントロールを保持せずにマシンを走行させることができます。
Note: 後退時には速度ロック機能を使用できません。
エアレーション中に速度ロックを使用すると、列の終わりに来た時に、走行コントロールを操作せずに、穴開け作業速度のまま機械の向きを変えて、次の列を開始することができます。
Note: エアレートモードでの速度ロック機能は、コアリングヘッドが「遅延あり降下」モードに設定されている場合に有効となります。「遅延なし降下」モードには、速度ロック機能はありません。
走行速度ロックは自動車のクルーズモードのようなものです。
移動走行・エアレーション切り替えスイッチを移動走行位置にする(図 74)。

速度ロックスイッチを ON 位置にする。
希望する走行速度でマシンを前進させる。
速度ロックスイッチを入 位置にする。
Note: 現在の走行速度がロックされ、その速度で走行を続けます。走行コントロールから手を離すことができます。
速度ロックを解除するには、以下のうちの一つを行う:
速度ロックスイッチをOFF 位置にする。
走行コントロールの上部を後ろ側に回転させてマシンを後退させる。
オペレータ安全ベイルから手を離す。
バンプストップスイッチを押す。
Note: 「遅延なし降下」モードでは速度ロックを使用できません。
移動走行・エアレーション切り替えスイッチをエアレーション位置にする(図 75)。

速度ロックスイッチを ON 位置にする。
マシンを前進させ、エアレーションベールを握り込む。
Note: 走行速度ロックが動作し、コアリングヘッドが降下を開始する。
列の最後に来たらエアレーションベイルから手を離す。
Note: コアリングヘッドが上昇するが、マシン穴開け作業速度で走行を続ける。
速度ロックを解除するには、以下のうちの一つを行う:
速度ロックスイッチをOFF 位置にする。
走行コントロールの上部を後ろ側に回転させてマシンを後退させる。
オペレータ安全ベイルから手を離す。
バンプストップスイッチを押す。
Note: 現場から現場へマシンを移動させるときは、移動走行モードを使用します。
Note: 移動走行・エアレーションスイッチがエアレーション位置の時は、マシンは低速でしか走行できません。
エンジンを始動し、スロットルコントロールを高速にセットする;エンジンの始動手順を参照。
ハンドルを降ろして駐車ブレーキを解除する;駐車ブレーキの外し方を参照。
移動走行・エアレーションスイッチの左側を押して移動走行位置にする(図 76)。

Note: インフォセンターに移動走行アイコンが表示される(図 77)。

進行方向に障害物がないことを目で確認する。
左または右のハンドルバーとオペレータベイルをつかんで(図 76)ベイルを握り込む。
親指を使って、左または右の走行コントロールを以下のように操作する:
走行コントロールの上部を前方に回転させるとマシンは前進する。
走行コントロールの上部を後ろ側に回転させるとマシンは後退する。
Note: 走行コントロールをさらに大きく回すと走行速度が大きくなる。
Important: マシンを即座に停止させるにはバンプストップスイッチを使用します(図 78)。

エアレーション中の場合はエアレーションベイル(図 79)から手を放してコアリングヘッドを上昇させる;コアリングヘッドを上昇させるにはを参照。

走行コントロールから手を離す。コントロールはニュートラルに戻る。
オペレータ安全ベイルから手を離す。
ハンドルバーを完全に上昇させてラッチを掛け、駐車ブレーキを掛ける;駐車ブレーキの掛け方を参照。
Note: コアリングヘッドが上昇していても、常に低速(可変)での走行となります。
エンジンを始動し、スロットルコントロールを高速にセットする;エンジンの始動手順を参照。
ハンドルを降ろして駐車ブレーキを解除する;駐車ブレーキの外し方を参照。
移動走行・エアレーションスイッチの右側を押してエアレーション位置にする(図 80)。

インフォセンターには、現在の穴の深さと穴の間隔が表示される(図 81)。

進行方向に障害物がないことを目で確認する。
左または右のハンドルバーとオペレータベイルをつかんで(図 80)ベイルを握り込む。
親指を使って、左または右の走行コントロールの上部操作してマシンを前進させる。
Note: エアレーション中は、事前に設定された穴あけ間隔に合わせた速度で走行します。
速度ロックを使用すると、走行コントロールはそのままでエアレーションベイルから手を離すと、自動車のクルーズコントロールのように設定速度を維持したままで走行することができます。
マシンを後退させるとクルーズコントロール機能が解除され、可変速度で走行できるようになります。
また、ヘッドを上昇させてマシンを旋回させる際には、走行コントロールをさらに前に押すことで走行速度を上げることができます。走行コントロールをニュートラル位置に戻すと、事前設定されている穴あけ間隔に合わせた走行速度になります。
遅延あり降下モードでエアレーションを行う場合には、前タイヤを目安にして降下位置を決めます。
降下コントロールスイッチ(図 82)の上部を押して 遅延あり降下位置にする。

マシンを前進で走行させる;エアレーションモードでの運転を参照。
前タイヤが作業場所に入るタイミングで、左または右のエアレーションベイルを握り込む(図 83)。
Note: コアリングヘッドが作動を開始し、作業場所に入ったところで降下してくる。

降下コントロールスイッチ(図 86)の下部を押して 遅延なし降下位置にする。
Note: スイッチのランプが点灯します。

マシンを前進で走行させる;エアレーションモードでの運転を参照。
左または右のエアレーションベイルを握り込む(図 87)。
Note: すぐにコアリングヘッドが下降して穴あけが始まる。

走行コントロールから手を離してニュートラル位置に戻し、オペレータベイルから手を離す(図 91)。

バンプストップスイッチから手を離す(図 92)。
Note: バンプストップスイッチに内蔵されたスプリングによってスイッチがリセットされる。

左または右のハンドルバーとオペレータベイルをつかんで(図 93)ベイルを握り込む。

マシンの運転を行う;移動走行モードでの運転またはエアレーションモードでの運転を参照。
ラインマーカーを使うと列をそろえるのに便利です(図 94)。

マシンには 2 つのカウンターがあり、更新面積と抜かれたコアの体積を記録しています。これらの情報をもとにして、撒布すべき目砂の量を推定することができます。
Area 1 カウンターは PIN コードで保護されていませんので、オペレータがリセットできます。
Note: エアレーションの各現場で Area 1 カウンターの読みを記録すれ、現場ごとの目砂の必要量を推定することができます。
Area 2 カウンターは PIN コードで保護されています。責任者のみがリセットできます。
作業済み面積は m2 (SI) または ft2(ヤードポンド法)で表示されます。
抜き取りコア体積は m3 (SI) または ft3(ヤードポンド法)で表示されます。
抜き取りコアの体積の表示は、インフォセンターに入力されているタイン直径とタイン本数から計算されます。
Important: タインの直径やタイン数量の値が正しくないと、Area 1 と Area 2 に表示される更新済み面積も抜き取られたコアの体積も正しく計算されません。エアレーション後に直径や量の値が変更された場合、インフォセンターに表示される数値は変更された数値をベースとした値に変更されます。
統計画面で、領域 1オプションが選択されるまで下ボタンを押す (図 98)。

作業済み面積と除去済みコアの体積を記録する。
|
日付 |
コース名(複数コースの場合) |
場所 |
エアレーション面積 |
コア体積 |
選択ボタンを押すと領域と体積のリセット画面が表示されます。
領域と体積のリセット画面で、選択ボタンを押す。
Note: インフォセンターの画面が「統計」画面に変わり、面積と体積の数値がリセットされる。
Note: リセットしないと、面積カウンターも体積カウンターも積算し続けます。

必要に応じて1-4を繰り返す。
メイン画面に戻るには、戻るボタンを押す。
Note: AREA 2 カウンターをリセットしても、AREA 1 カウンターはリセットされません。
PIN を入力して保護メニューにアクセスする;アクセス制限付きメニューへのアクセスを参照。
統計画面で、領域 2オプションが選択されるまで下ボタンを押す (図 100)。

必要に応じて数値をメモするなどする。
選択ボタンを押すと領域と体積のリセット画面が表示されます。
領域と体積のリセット画面で、選択ボタンを押す(図 101)。
Note: インフォセンターの画面が「統計」画面に変わり、面積と体積の数値がリセットされる。
Note: リセットしないと、Area 2 の面積カウンターも体積カウンターも積算し続けます。

メイン画面に戻るには、戻るボタンを押す。
コアリングヘッドの保守整備作業を行うときや、2 日間以上にわたって使用しないときは、整備用ラッチを取り付けておいてください。
コアリングヘッドを上昇させた状態でラッチを取り付けずに放置すると、ヘッドが突然下降してけがをする可能性がある。
コアリングヘッドに対して作業を行うとき(タインの交換やターフガードの着脱作業を含む)は、整備用ラッチを取り付けてコアリングヘッドを上昇位置に固定すること。
コアリングヘッドを上昇させる。
平らな場所に駐車し、ハンドルバーを一番高い位置にしてラッチで固定し、駐車ブレーキを掛け、トラクションユニットのエンジンを停止し、キーを抜き取り、可動部が完全に停止したのを確認してください。
コアリングヘッドのカバーを取り外す;コアリングヘッドのカバーの取り外しを参照。
サービスラッチをサイドプレートに固定しているリンチピンを外す(図 102)。

サービスラッチを後方に回転させてコアリングヘッドのサポートピンに合わせる。
リンチピンを使用して、ラッチをサポートピンに固定する。
必要であればコアリングヘッドのカバーを取り付ける;コアリングヘッドのカバーの取り付けを参照。
平らな場所に駐車し、ハンドルバーを一番高い位置にしてラッチで固定し、駐車ブレーキを掛け、トラクションユニットのエンジンを停止し、キーを抜き取り、可動部が完全に停止したのを確認してください。
コアリングヘッドカバーが付いている場合にはこれを外す; コアリングヘッドのカバーの取り外しを参照。
サービスラッチをコアリングヘッドのサポートピンに固定しているリンチピンを取り外す(図 103)。

サービスラッチを下に回してサイドプレートのサポートピンに合わせる。
リンチピンを使用して、ラッチをサポートピンに固定する。
コアリングヘッドのカバーを取り付ける;コアリングヘッドのカバーの取り付けを参照。
Important: 破損したタインは、同じ長さのタインと交換してください。タインの長さが異なると、穴の外観が悪くなります。
タインの長さが異なると、穴の外観に悪影響が出ます。
図解については ターフガード、タインホルダー、タインを取り付ける を参照してください。
コアリングヘッドを上昇させ、整備用ラッチで固定する。
平らな場所に駐車し、ハンドルバーを一番高い位置にしてラッチで固定し、駐車ブレーキを掛け、トラクションユニットのエンジンを停止し、キーを抜き取り、可動部が完全に停止したのを確認してください。
タインホルダーのボルトをゆるめるてタインを取り外す。
新しいタインを差し込む。
タインホルダーのボルトを 40.6 N·m(4.15 kg.m = 30 ft-lb)にトルク締めする。
必要に応じて残りのアームについても同じ要領で交換作業を行なう。
リコール地面高さアプリケーションを使って、現在のタイン地面高さをすばやくチェックする。
アプリケーションはヘッドを前に調整した位置まで下げるので、ヘッドが所定の位置に配置されたら、地面からタインの先端までの距離を検査できます。
コアリングヘッドが上っていることを確認する。
平らな場所に駐車し、ハンドルバーを一番高い位置にしてラッチで固定し、駐車ブレーキを掛け、トラクションユニットのエンジンを停止し、キーを抜き取り、可動部が完全に停止したのを確認してください。
コアリングヘッドのカバーを取り外す;コアリングヘッドのカバーの取り外しを参照。
コアリングヘッドのプーリ(図 104)を回転させて、一番外側のタインが地表面に最も近付いた状態にする。
Important: ベルトがプーリーが掛かる部分や離脱する部分で指を挟まないように注意してください。


コアリングヘッドのカバーを取り付ける;コアリングヘッドのカバーの取り付けを参照。
PIN を入力して保護メニューにアクセスする;アクセス制限付きメニューへのアクセスを参照。
インフォセンターで、メインメニューに移動する。
サービスオプションが選択されるまで下ボタンを押し、次に選択ボタンを押す (図 105) 。

インフォセンターの下ボタンを押して地上高オプションに移動し、選択ボタンを押す。
インフォセンターの下ボタンを押してリコール校正オプションに移動し、選択ボタンを押す。
[リコール地面の高さ] 画面 (図 106) で、選択ボタンを押す。

「ヘッドが下がる」画面で(図 107) で、選択ボタンを押す。

Note: Lowering Head(ヘッドを降下させます)というメッセージが表示されてヘッドが下降する。
最も外側のタインを点検する:以下のような場合は不適切状態と判断する:
タインが地面に突き刺さり始めたら、選択ボタン (図 108) を押して、地面の高さを教えるアプリケーションを実行する。地上高ティーチアプリを実行するを参照方。
タインが地面の上にある場合は、選択ボタンを押し、地面の高さを教えるアプリケーションを実行する。地上高ティーチアプリを実行するを参照方。

一番外側のタインが地面に軽く触れたら、選択ボタンを押してコアリングヘッドを上げる。
この機械は機体の重量移動によってコアリングヘッドに重量が掛かるようになっています。しかし、土壌が硬すぎてタインが入りきらない場合には、より大きな重量移動をコアリングヘッドに行う必要があります。出荷時には「ノーマル」重量移動に設定してあります。重量移動スプリングで押圧を増加させる調整は以下の手順で行います:
スプリングプレートを急に開放すると怪我をする危険がある。
重量移動スプリングの調整は 2 人で作業を行うこと。
平らな場所に駐車し、ハンドルバーを一番高い位置にしてラッチで固定し、駐車ブレーキを掛け、トラクションユニットのエンジンを停止し、キーを抜き取り、可動部が完全に停止したのを確認してください。
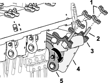
スプリングテンションプレートをコアリングヘッドのサポートブラケットに固定している前側フランジロックナットとキャリッジボルトをゆるめる(図 109)。
Note: このロックナットとキャリッジボルトは外さないでください。

スプリングブラケットをサポートブラケットに固定しているフランジロックナット(後側)を外す。
Note: キャリッジボルトは外さないでください。
スプリングテンションプレートの四角い穴に ½" のラチェットまたはバールを差し込む(図 110)。

ラチェット(又はバール)を回してリアキャリッジボルトの張力を解除し、上部の穴から取り外す。
Note: ノーマル設定は上穴です。
スプリングテンションプレートを回してサポートブラケットの下側の穴に合わせ、キャリッジボルトをプレートとブラケットの穴 に挿入する。
Note: 下穴は、重量移動を大きくする設定です。スプリングプレートを上に回すと重量移動が大きくなります。
フランジロックナットで、キャリッジボルトを、サポートブラケットとスプリングテンショ ンプレートに固定する。
ロックナットを 37~45 N・m (3.8~4.6 kg.m = 27- 33 ft-lb)にトルク締めする。
マシンの性能を最大に引き出し、高品質の穴あけを行うために、自動地面追従システムの利用をお奨めします。
手動での地表追従は、タイン位置センサーが破損した場合にのみ行うことをお奨めします。
平らな場所に駐車し、ハンドルバーを一番高い位置にしてラッチで固定し、駐車ブレーキを掛け、トラクションユニットのエンジンを停止し、キーを抜き取り、可動部が完全に停止したのを確認してください。
コアリングヘッドのカバーを取り外す;コアリングヘッドのカバーの取り外しを参照。
深さストップピンとスペーサをストップブラケットに固定しているリンチピンを取り外す(図 111と図 112)。


スペーサをブラケットの上または下にセットしてコアリング深さを調整する。
全部のスペーサをストップブラケットの上にセットすると穴あけ深さは 107 mm にセットされる。
厚いスペーサは 19 mm に相当。
薄いスペーサは 9.5 mm 深さに相当。
Note: 位置に関係なく、全部のスペーサを装着する必要があります。
リンチピンを使用して、深さストップピンとスペーサをトップブラケットに組み付ける。
マシンの反対側でも 3 - 5 の作業を行う。
Important: スペーサ取り付け位置が、左右のストップブラケットで同じであることを確認してください。
コアリングヘッドのカバーを取り付ける;コアリングヘッドのカバーの取り付けを参照。
Note: 手動モードでエアレーションを行う場合は、エンジンを始動するごとに毎回、インフォセンターを手動地表追従モードに設定する必要があります。
イグニッションキーを RUN 位置に回す。
Note: エンジンは始動させないでください。
PIN を入力して保護メニューにアクセスする;アクセス制限付きメニューへのアクセスを参照。
インフォセンターで、メインメニューに移動する。
マシン設定オプションが選択されるまで下ボタンを押し、次に選択ボタンを押す。
手動エアレーションオプションが選択されるまで下ボタンを押し、次に選択ボタン (図 113)を押し、手動エアレーションをオンに設定する。

エンジンを掛ける。
遅延あり降下モードでのエアレーションまたは遅延なし降下モードでのエアレーションでエアレーションを行う。
Note: エンジン停止すると、再始動した時点では自動地上追従モードになりますので注意してください。
平らな場所に駐車し、ハンドルバーを一番高い位置にしてラッチで固定し、駐車ブレーキを掛け、トラクションユニットのエンジンを停止し、キーを抜き取り、可動部が完全に停止したのを確認してください。
コアリングヘッドのカバーを取り外す;コアリングヘッドのカバーの取り外しを参照。
深さストップピンとスペーサをストップブラケットに固定しているリンチピンを取り外す(図 114)。


全部のスペーサをストップブラケットの上に取り付ける。
リンチピンを使用して、深さストップピンとスペーサをトップブラケットに組み付ける。
Note: 全部のスペーサを取り付けてください。
マシンの反対側でも 3 - 5 の作業を行う。
コアリングヘッドのカバーを取り付ける;コアリングヘッドのカバーの取り付けを参照。
荷重移動を調整すると、リアタイヤが浮くほどの硬い芝生でもエアレーションできるようになる場合がありますが、それによって穴の形が崩れてしまう場合があります。
リアタイヤが浮く場合には、後フレームのアクスルチューブに載せるウェイトプレート(オプション)を搭載することができます。各ウェイトの重量は 28.5 kg あります。最大 2 枚まで追加することができます。マシンのパーツカタログでカウンタウェイトや搭載用金具のパーツ番号を確認のうえでご注文ください。
必要な工具: 15 mm ソケットとソケットレンチ
Important: バルブを開けたままで10-15 秒間以上はエンジンを回さないでください。
可能であれば、平らな場所に駐車する。
ハンドルバーを一番高い位置にしてラッチで固定し、駐車ブレーキを掛け、トラクションユニットのエンジンを停止し、キーを抜き取り、可動部が完全に停止したのを確認してください。
小物入れを小物入れブラケットに固定している 2 本のフランジヘッドボルトを取り外す(図 115)。

図 116のように、エンジンと油圧ポンプの間にあるバイパスバルブねじのカバーを探し出す。

15 mm ソケットとソケットレンチを使用して、バイパスバルブを左に1.5 回転させる。
Important: バイパスバルブは1.5 回転以上させないでください。
牽引する場合は、マシン前部にあるロープ掛け用のアイを使用する(図 117)。
Important: 油圧系統を破損から保護するため、手押し・手引きでの移動距離は 30 m 以内とし、移動速度は時速 1.6 km 以下を厳守してください。

ハンドルバーを下げて駐車ブレーキを解除し、マシンを手で押して(或いは引いて)移動する。
Important: 必ずハンドルバーを下げて駐車ブレーキを解除してから、移動してください。
Important: バイパスバルブを閉じないと運転はできません。バルブを開いたままで走行しようとしないでください。
エンジンと油圧ポンプの途中に配置されているバイパスバルブねじを探し出す。
Note: バイパスバルブねじのカバーは 図 118にあります。

15 mm ソケットとソケットレンチを使用して、バイパスバルブを右に1.5 回転させる。
Note: バイパスバルブを締めすぎないように注意してください。
15 mm のレンチを使用して、バイパスねじのカバーを油圧ポンプに取り付ける。
小物入れを小物入れブラケットに取り付ける;フランジヘッドボルト 2 本を使用する。
コアリングヘッドが下がってタインが土に刺さっている状態でエンジンが停止し、エンジンが始動できなくなった場合には、スタータを使ってコアリングヘッドを上昇させる または ストンパアームからタインホルダーを外す を行ってください。
キーを RUN 位置に回す。
インフォセンターで、メインメニューに移動する。
サービスオプションが選択されるまで下ボタンを押し、次に選択ボタンを押す (図 119) 。

サービスリフトオプションが選択されるまで下ボタンを押し、次に選択ボタンを押す (図 120) 。
Note: サービスリフトオプションがオンに変わります。

キーを START 位置に回してスタータを 10 秒間作動させる。
Important: スタータは 1 度に 10 秒間以上連続で使用しないでください。タインが抜けなかった場合は、30 秒間待ってからもう一度行ってください。この手順を守らないとスタータモータを焼損する恐れがあります。
Note: コアリングヘッドが上昇して地面からタインが抜けてきます。
Important: タインが完全に抜けたのを確認してからマシンを動かしてください。
バイパスバルブを開く;油圧ポンプのバイパスプラグを開いてマシンを人力移動するを参照。
機体を近くまで押して(引いて)移動し、現場または修理工場などて修復作業を行う。
Important: 手押し・手引きでの移動距離は 30.5 m 以内とし、移動速度は時速 1.6km 以下を厳守してください。
ストンパアームからタインホルダーを外す。
バイパスバルブを開く;油圧ポンプのバイパスプラグを開いてマシンを人力移動するを参照。
機体を近くまで押して(引いて)移動し、現場または修理工場などて修復作業を行う。
Important: 手押し・手引きでの移動距離は 30.5 m 以内とし、移動速度は時速 1.6km 以下を厳守してください。
エアレーション中の旋回は非常にゆっくりていねいに行う。コアリングヘッドが作動中に急旋回をしないでください。エアレータを実際に着地させるまえに、走行するコースを決めておくこと。
常に前方に何があるかをはっきりと意識しながら機械の操作を行ってください。建物やフェンスのそばなどでのエアレーション作業は避けてください。
後方を頻繁に確認し、動作が正常であること、畝がそろっていることなどを確かめながら運転してください。
タインを破損したりした場合には、必ず破片をきれいに集め、後からくる芝刈機などが事故を起こさないように配慮してください。
破損したタインは新しいものに交換し、既存のタインに異常がないか確認してから作業を続けてください。駆動部分などに破損が見つかった場合には、必ず修理してから作業を再開する。
機械の作業幅全部を使わないでエアレーションを行なう場合には、使わない幅部分のタインを外して使えばよいのですが、その場合、タインヘッドは取り付けたままにしておいてください。マシンの正しいバランスを維持するためにタインヘッドが必要です。
この機械は、他の多くのグリーン用エアレータよりも深い穴あけを行うことができます。そのため、土盛りで造成した(サンド仕様でない)グリーンで長い中空タインを使うと、コアの先端部がきれいに抜けないことがあります。これは、タインの先端部分に土質の異なる土が入るためです。弊社のサイドイジェクト型グリーン用(やティー用)のタインを使うと、早い動作でもきれいにコアがぬけます。エアレーションと目砂散布を繰り返し実施することにより、この問題は解消します。
この機械は、可能な限り奥行きを持たせるように設計されているため、エアレーションが最大深さ設定で行なわれている場合、芝の状況によっては芝ガードや芝ガードボルトに損傷を引き起こす可能性があります。地上高の校正を実行した後、最大許容深さ (任意の長さのタインを使用) でエアレーションを行う際に、ターフガード ボルトが芝生を引きずったり接触したりする場合は、深さを1ステップ (¼") 減らしてください。
土壌が固すぎると、コアリングヘッドが『バウンド』するように動くことがあります。これは地中の固結層でタインが跳ね返されているためです。それまでの間の対処法:
土壌が非常に硬い時や非常に乾いている時のエアレーションは避ける。雨の降った翌日や、ターフに散布した翌日に作業を行うと最良の結果が得られる。
4 タインヘッドを使っている場合には 3 タインヘッドに交換してみる(アーム 1 本あたりのタイン本数を減らす)。タインの配置が対称形になるようにしてアームに掛かる負荷を平均化する。
土壌が非常に硬い時は、浅めのエアレーション(深さ設定を浅く)にし、コアを回収し、散布を行い、その後に希望深さでエアレーションを行うようにする。
非常に固い下層土壌の上に盛り土をして造成した場所(岩の多い土地の上にサンドや土を盛り上げたような場合)では、穴の形が悪くなる場合があります。特に、盛り土(表層土)の厚さよりも深く穴をあけようとすると、この問題が出やすくなります。硬い土層との境界部にタインが当たるときにエアレータが持ち上げられてしまい、そのために穴の上部の形が崩れるためです。このような場合には、深い層を叩かないように、穴あけ深さを浅くしてください。
穴がスロット状(前方に引っ張られた状態)になって穴の品質が悪くなっている。
穴の入り口の形状が悪い場合は、タインの高さのキャリブレーションを確認してください;タインの地上高キャリブレーションの確認を参照。
ミニタインは 2 列配置になっている関係上、穴開け間隔を 6.3 cm に設定する必要があります。3.2 cm の列間をきれいに維持するためには、走行速度を適切にコントロールすることが重要です。穴あけ間隔をすこし変えたい場合には、穴開け間隔を設定するを参照してください。
ミニタインやむくタインを使用する場合、ターフの根の構造によっては芝剥がれがおきやすくなります。ミニタインやむくタインを使用する場合、ターフの根の構造によっては芝剥がれがおきやすくなります。中央の 2 本のアームで芝剥ぎを起こす、あるいは根のいたみがひどいようなら、以下の措置をとってください:
穴あけ間隔を広くする
タインのサイズを小さくする
タインの深さを小さくする
タインを何本かはずす
むくタインが地面から引き抜かれる時にターフを引き裂く可能性があります。タインの密度や直径が大きい場合にはダメージが大きくなります。
長いむくタイン(⅜" x 4"=10 mm x 100 mm)、あるいはニードルタイプのタインを使用すると穴の前部が長くなったり持ち上がった感じになったりすることがあります。このような場合に本来の高品質な穴の形状に戻すためには、以下を試してください:
タインの地上高のキャリブレーションを行う;タインガードの高さのキャリブレーションを行うを参照。
エンジンのハイアイドル速度を 2800-2900 rpm に調整する。
Note: 走行速度とコアリングヘッドの動作速度はエンジンの速度の低下に合わせて増減しますので、穴の間隔は変化しません。
エンジン回転を遅くしても、長いむくタインやニードルタインで作業した穴の品質が向上する場合は、ロトリンクのダンパを調整してください。
Note: 通常は、出荷時の設定が最もきれいな穴あけを行います。
穴の前面に溝やタフトがある場合、ロトリンクを硬めに設定すると、穴を押す動作への抵抗が強くなって穴の品質が向上します。
穴の後面に溝やタフトがある場合には、ロトリンクを柔らかめに設定すると穴の品質が向上します。
Note: コアリングやミニタインに戻す場合にはロトリンクのダンパを元に戻すことが必要になります。
平らな場所に駐車し、ハンドルバーを一番高い位置にしてラッチで固定し、駐車ブレーキを掛け、トラクションユニットのエンジンを停止し、キーを抜き取り、可動部が完全に停止したのを確認してください。
コアリングヘッドのカバーを取り外す;コアリングヘッドのカバーの取り外しを参照。
整備用ラッチでコアリングヘッドを固定する;コアリングヘッド支持用整備用ラッチの使用方法。
Note: 出荷時の設定は、ロトリンクのダンパーシャフトにロトリンクスペーサを 1 個とりつけ、ストンパアームにスペーサ 1 個を収納した状態になっています。
Note: ロトリンクダンパーを調整することで、エンジン全開(3400rpm)での運転が可能になりますが、穴の品質を高品位に維持するためには、低回転数でのエアレーションが必要な場合があります。
ロトリンクのダンパーシャフトをマシンの後部フレームに固定しているフランジロックナット 2 個を外す(図 121)。

スペーサ(が収納状態であれば)、硬化楕円ワッシャと共に外す。
ダンプナのリンクとダンプナのシャフトを下向きに回転させる(図 122)。

以下の状態に合わせて、ロトリンクのスペーサーの配置を変更する:
Note: スペーサ1個が 13 mm に相当します。下部バンパスペーサは、ダンパのシャフトに組み付けたままにしておきます。
穴の前面に溝やタフトがある場合には、スペーサを後フレームの上(収納位置)に配置する。
穴の後面に溝やタフトがある場合には、ロトリンクのダンプナのシャフトの両側で、両方のスペーサを後フレームの上に配置する。
ダンプナリンクとダンプナシャフトを上向きに回転させ、スタッドをマシンの後部フレームの穴に挿入する。
硬化楕円ワッシャーとロックナットで、ダンプナシャフトとスペーサを後フレームに固定する(図 123)。

フランジロックナットを 47-61 N·m (4.84-6.22 kg.m = 35- 45 ft-lb)にトルク締めする。
あと 2 本のストンパアームにもステップ1ー7を行う。
サービスラッチを収納する;サービスラッチの収納方法を参照。
コアリングヘッドのカバーを取り付ける;コアリングヘッドのカバーの取り付けを参照。
地上高のキャリブレーションを行う;タインガードの高さのキャリブレーションを行うを参照。
テスト用のターフでマシンを運転して穴の品質を比較してみる。
穴の品質が向上していれば、残り 3 本のストンパアームにもマシンの準備を行う、ロトリンクのダンパの調整、コアリングヘッドのカバーの取り付けのステップを繰り返してロトリンクのダンプナを調整する。
平らな場所に駐車し、ハンドルバーを一番高い位置にしてラッチで固定し、駐車ブレーキを掛け、トラクションユニットのエンジンを停止し、キーを抜き取り、可動部が完全に停止したのを確認してください。
使用しないときは、コアリングヘッドを下げておくか、サービスラッチで固定してください。
機体各部が良好な状態にあり、ボルトナット類が十分にしまっているか常に点検してください。
摩耗、破損したり読めなくなったステッカーは交換してください。
| 整備間隔 | 整備手順 |
|---|---|
| 使用するごとまたは毎日 |
|
Important: 塩分を含んだ水や処理水は機体の洗浄に使用しないでください。
Important: ただし高圧洗浄器は使用しないでください。
平らな場所に駐車し、ハンドルバーを一番高い位置にしてラッチで固定し、駐車ブレーキを掛け、トラクションユニットのエンジンを停止し、キーを抜き取り、可動部が完全に停止したのを確認してください。
機体全体をていねいに洗浄する。
シールやベアリングの内部に水がはいらないように、通常のホースを水道につないで水を流しかけながら洗ってください。
こびりついた汚れはブラシなどで落とす。
カバー類はソフトな中性洗剤で洗う。
洗浄後は、時々、機体にワックスなどを塗ってカバーの光沢を維持する。
清掃がすんだら、破損、オイルの漏れ、タインの摩耗など機体各部を点検する。
タインを外し、洗ってオイルを塗ります。コアリングヘッドのベアリング(クランクとダンパリンク)にはオイルを薄く吹き付けてください。
Important: 格納期間が 2 日間を超える場合には、コアリングヘッドに整備用ラッチを掛けてください。
公道上を走行する場合には、適切な方向指示器、反射器、表示、低速車表示などが定められており、これらを遵守しないと危険である。
公道上を走行しないこと。
Important: 機械をトレーラやトラックに積み込む際には、機体と同じ幅のある歩み板を使用してください。
トレーラまたはトラックにマシンを載せる(コアリングヘッドが前方になるようにするのが推奨)。
ハンドルバーを一番高い位置にしてラッチで固定し、駐車ブレーキを掛け、トラクションユニットのエンジンを停止し、キーを抜き取り、可動部が完全に停止したのを確認してください。
整備用ラッチでコアリングヘッドを固定する;コアリングヘッド支持用整備用ラッチの使用方法。
燃料バルブを閉じる;燃料バルブを参照。
ロープ掛けポイントを利用して、機体をトレーラやトラックにロープやチェーンで固定する;ロープ掛けポイントを参照。
| 重量 | オプションのウェイトを 2 つ搭載した状態で、745 kg または829 kg |
| 幅 | 130 cm 以上 |
| 長さ | 267 cm 以上 |
| ランプ板の傾斜角度: | 最大 3.5/12 ピッチ(16°) |
| 積み込み方向: | コアリングヘッドを前に(可能であれば) |
| 牽引車両の能力: | トレーラ総重量(GTW)より大きいこと |
Note: www.Toro.com から、この機械に関する配線図と油圧回路図をダウンロードすることができます。弊社ホームページからマニュアルへのリンクをご活用ください。
Note: エンジンの整備に関しての詳細は、付属のエンジンマニュアルを参照してください。
Note: 前後左右は運転位置からみた方向です。
平らな場所に駐車し、ハンドルバーを一番高い位置にしてラッチで固定し、駐車ブレーキを掛け、トラクションユニットのエンジンを停止し、キーを抜き取り、可動部が完全に停止したのを確認してください。調整、整備、清掃、格納などは、車両が十分に冷えてから行ってください。
このマニュアルに記載されている以外の保守整備作業は行わないでください。大がかりな修理が必要になった時や援助が必要な時は、Toro 正規代理店にご相談ください。
ボルト、ナット、ねじ類は十分に締めつけ、常に機械全体の安全を心掛けてください。
可能な限り、エンジンを回転させながらの整備はしないでください。可動部に近づかないでください。
機器類を取り外すとき、スプリングなどの力が掛かっている場合があります。取り外しには十分注意してください。
タインの取り付けボルトやナットが所定のトルクで締め付けられているか、毎回点検してください。
エアレータの整備作業終了後は、必ずすべてのガード類を正しく取り付け、フードを確実に閉めてください。
| 整備間隔 | 整備手順 |
|---|---|
| 使用開始後最初の 8 時間 |
|
| 使用開始後最初の 50 時間 |
|
| 使用するごとまたは毎日 |
|
| 25運転時間ごと |
|
| 50運転時間ごと |
|
| 100運転時間ごと |
|
| 200運転時間ごと |
|
| 250運転時間ごと |
|
| 400運転時間ごと |
|
| 500運転時間ごと |
|
| 長期保管前 |
|
| 1年ごと |
|
Important: エンジンの整備に関しての詳細は、付属のエンジンマニュアルを参照してください。
このページをコピーして使ってください。
| 点検項目 | 第 週 | ||||||
|---|---|---|---|---|---|---|---|
| 月 | 火 | 水 | 木 | 金 | 土 | 日 | |
| インタロックの動作 | |||||||
| 駐車ブレーキの作動を点検する。 | |||||||
| エンジンオイルの量を点検する。 | |||||||
| 燃料残量を点検する。 | |||||||
| エアクリーナを点検する。 | |||||||
| 冷却部の汚れ具合を点検する。 | |||||||
| エンジンからの異常音がないか点検する。 | |||||||
| 運転操作時の異常音。 | |||||||
| 油圧オイルの量を点検する。 | |||||||
| 油圧ホースの磨耗損傷状態を点検する。 | |||||||
| オイル漏れがないか点検する。 | |||||||
| 計器類の動作を確認する。 | |||||||
| タインの状態を点検する。 | |||||||
| 塗装傷のタッチアップ修理を行う。 | |||||||
Important: エンジンの整備に関しての詳細は、付属のエンジンマニュアルを参照してください。
| 点検担当者名: | ||
| 内容 | 日付 | 記事 |
| 1 | ||
| 2 | ||
| 3 | ||
| 4 | ||
| 5 | ||
| 6 | ||
| 7 | ||
| 8 | ||
始動キーをつけたままにしておくと、誰でもいつでもエンジンを始動させることができ、危険である。
平らな場所に駐車し、ハンドルバーを一番高い位置にしてラッチで固定し、駐車ブレーキを掛け、トラクションユニットのエンジンを停止し、キーを抜き取り、可動部が完全に停止したのを確認してください。
Important: カバーについているボルトナット類は、カバーを外しても、カバーから外れません。全部のボルト類を数回転ずつゆるめてカバーが外れかけた状態にし、それから、全部のボルト類を完全にゆるめてカバーを外すようにしてください。このようにすれば、誤ってリテーナからボルトを外してしまうことがありません。
平らな場所に駐車する。
ハンドルバーを完全に上昇させてラッチを掛け、駐車ブレーキを掛ける;駐車ブレーキの掛け方を参照。
エンジンを停止させ、キーを抜き取り、各部が完全に停止したのを確認してから運転席を離れる;エンジンの停止手順を参照。
マシンが冷えるのを待つ。
この保持を怠ると、機体が動いたり落下する危険があり、重大な人身事故になるおそれがある。
アタッチメントやタイヤを交換する場合など機体を浮かせる必要があるときには、適切なブロック、ホイスト、ジャッキなどを使用すること。
まず機体を、コンクリートなどのしっかりした床の上に駐車する。
ジャッキアップ前に、吊上げの邪魔になったり整備作業にに不要なアタッチメントなどは全て外す。
車輪は、輪止めなどで確実に保持する。必要に応じ、ジャッキスタンドや安全ラッチなどを利用して機体を確実に支える。
マシンの整備の準備を行う;整備作業のための準備を参照。
機体が動かないように後タイヤをブロックする。
Important: ホイールモータ部分にジャッキを 掛けないでください。ホイールモータが破損します。
機体前部のホイールサポートアームの下にジャッキを確実に置く(図 127)。

機体前部を浮かせる。
持ち上げた機体の下に角材やジャッキスタンドなどを当てて確実に保持する。
マシンの整備の準備を行う;整備作業のための準備を参照。
機体が動かないように後タイヤをブロックする。
Important: 後ホイールモータ部分にジャッキを 掛けないでください。ホイールモータが破損します。
後ホイールのすぐ内側にあるフレームプレートの下にジャッキを確実に置く(図 128)。

Note: 可能であれば、ホイストで機体後部を持ち上げてください。その場合、コアリングヘッドのベアリングハウジングについているアイを吊上げポイントとして利用します(図 129)。

機体後部を浮かせる。
持ち上げた機体の下に角材やジャッキスタンドなどを当てて確実に保持する。
| 整備間隔 | 整備手順 |
|---|---|
| 500運転時間ごと |
|
| 1年ごと |
|
このマシンにはグリスアップの必要な箇所はありません。
Important: ベアリングが、材質上の欠陥や製造上の瑕疵のために破損することはめったにありません。破損原因のうちで最も多いのは、水やホコリが保護シールを通り越えて内部に侵入することです。グリスアップの必要なベアリングでは、定期的にグリスを注入することで、内部に侵入した異物を外へ押し出していますから、定期的な整備が非常に大切です。密封式のベアリングは、製造時に特殊なグリスを封入し、強力なシールによって内部を保護しています。
密封式のベアリングは、短期的には何の整備も必要ないので保守作業が軽減され、また、グリスが落ちてターフを汚すというような事故がありません。このため保守作業が軽減され、また、グリスが落ちてターフを汚すというような事故発生しにくくなります。普通に使用していれば長期間にわたって高い性能を発揮しますが、定期点検は必ず行い、作動状態とシールの劣化状態を確認してください。劣化を放置すると整備に思わぬ時間がかかることになります。これらのベアリングはシーズンごとに点検し、必要に応じて新しいものに交換してください。回転がスムーズなこと、作動中に熱を持たないこと、異音がしないこと、ガタや腐食によるもれがないことが大切です。
ベアリングは消耗部品です。また、使用環境から様々なストレス(砂、農薬、水、衝撃など)を受けますから、整備の良し悪しによって寿命が大きく変わります。整備不良によるベアリングの破損事故は保証の対象にはなりません。
Note: 機体の洗浄方法が不適切であるとベアリングに悪影響が出ます。機械各部が高温のときに水をかけないこと、また、高圧の水をベアリングに直接当てないことが非常に重要です。
使用開始直後に、ベアリングのシール部から少量のグリスが漏れ出してくるのは異常ではありません。染み出してきたグリスは黒色に変色しますが、これはゴミが混じるからであり、高熱による変色ではありません。最初の8運転時間が終了した時点で、染み出ているグリスをふき取ることをお奨めします。シールのリップの周囲がいつもグリスでぬれている感じがすることがあります。これも通常範囲のことであり、シールリップが常時潤滑されている証拠です。
エンジンオイルの点検や補充は、エンジンを止めて行ってください。
エンジンのガバナの設定を変えたり、エンジンの回転数を上げすぎたりしないでください。
| 整備間隔 | 整備手順 |
|---|---|
| 25運転時間ごと |
|
| 100運転時間ごと |
|
マシンの整備の準備を行う;整備作業のための準備を参照。
エンジン内部に汚れが落ちないように、まず、エアクリーナ周囲をきれいに清掃する。
エアクリーナのカバーを固定しているノブを外し、カバーを取り出す(図 144)。

ペーパーエレメントについているスポンジエレメントを注意深く外す(図 144)。
カバーナットを外し、カバー、スペーサ、ペーパーエレメントを外す(図 144)。
Important: エンジンを保護するため、エンジンは必ずペーパーエレメントとスポンジエレメントの両方を取り付けて使ってください。
ペーパーエレメントにスポンジエレメントを注意深く取りつける(図 147)。

エアクリーナのベースにエアクリーナアセンブリを取り付ける。
カバー、スペーサー、カバーナットを組み立てる。
ナットを 11 N·m (1.09 kg.m = 95 in-lb)にトルク締めする。
エアクリーナのカバーを元通りに取り付け、ノブで固定する。
オイルのタイプ: 洗浄性オイル(API 規格 SJ またはそれ以上)
オイルの粘度:この下の表を参照。

| 整備間隔 | 整備手順 |
|---|---|
| 使用するごとまたは毎日 |
|
エンジンにはオイルを入れて出荷していますが、初回運転の前後に必ずエンジンオイルの量を確認してください。
エンジンオイルの仕様の項で解説している高品質なエンジンオイルを使用してください。
Important: 入れすぎないように注意してください。エンジンオイル不足の状態でエンジンを運転しないでくださ い。
Note: エンジンオイルを点検する最もよいタイミングは、その日の仕事を始める直前、エンジンがまだ冷えているうちです。既にエンジンを始動してしまった場合には、一旦エンジンを停止し、オイルが戻ってくるまで約 10 分間程度待ってください。
マシンの整備の準備を行う;整備作業のための準備を参照。
エンジンが冷えるのを待つ。
オイルキャップとディップスティック周辺をきれいに拭く(図 149)。

ディップスティックを抜き取り、付いているオイルをウェスで拭きとってもう一度完全に差し込む。
ディップスティックを引き抜いて油量を点検する。
エンジンオイル量が 2 本のマーク(F と L)の間であれば適正である。
L 位置よりも少ない場合は、補給管についているキャップを取り、F 位置までオイルを補給する。
補給口のキャップとディップスティックを取り付ける。
| 整備間隔 | 整備手順 |
|---|---|
| 使用開始後最初の 50 時間 |
|
| 100運転時間ごと |
|
エンジンオイルの容量: 約 1.9 リットル(フィルタ含む)。
エンジンを始動し、5 分間程度運転する。オイルが温まって排出しやすくなります。
オイルが完全に抜けるように、排出口側がやや低くなるように駐車し、ハンドルバーを一番高い位置にしてラッチで固定して駐車ブレーキを掛け、エンジンを停止させ、駐車ブレーキを掛け、キーを抜き取る。
オイルドレンプラグの下に容器を置き、プラグを取り外す(図 150)。
Note: オイルが完全に抜けるのを待つ。

ドレンプラグをエンジンに取り付けてプラグを締め付ける。
Note: 廃油はリサイクルセンターに持ち込むなど適切な方法で処分する。
オイルキャップとディップスティック周辺をきれいに拭く(図 152)。

オイル補給口のキャップを取り、所要量の約 80% のオイルを、バルブカバーから入れる。
ディップスティックの F (FULL) マークに達するまで補給口から残りのオイルをゆっくりと補給する; エンジンオイルの仕様とエンジンオイルの量を点検するを参照。
Important: 入れすぎないように注意してください。
補給口のキャップとディップスティックを取り付ける。
| 整備間隔 | 整備手順 |
|---|---|
| 200運転時間ごと |
|
マシンの整備の準備を行う;整備作業のための準備を参照。
点火プラグのコードが抜けているのを確認する(図 153)。

点火プラグの周囲をきれいにする。
点火プラグ用ソケットを使用して、点火プラグと金属製ガスケットの両方を取り外す。
点火プラグのタイプ: Champion RC12YC または同等品
エアギャップ:0.75 mm
中央の電極部を観察する(図 154)。絶縁体部がうす茶色や灰色なら適正、碍子が黒くなっているのは不完全燃焼である(エアクリーナの汚れが原因であることが多い)。
Important: 点火プラグ自身を清掃しないこと。黒い汚れ、電極の磨耗、油膜、亀裂などがある場合は、新しいものと交換する。

プラグの電極間のエアギャップを点検し、
適正値から外れていれば外側の電極を曲げて調整する。
取り付ける時には電極間のエアギャップを正しく調整しておいてください。取り付け、取り外しには必ず専用のレンチを使い、エアギャップの点検調整にはすきまゲージやギャップ調整工具などを使ってください。必要に応じて新しい点火プラグと交換してください。
エンジンの点火プラグ取り付け穴に点火プラグを取り付ける。
点火プラグ用ソケットを使用して、点火プラグを 27 N∙m(2.8 kg.m = 20 ft-lb)にトルク締めする。
点火プラグにコードを取り付ける(図 155)。

| 整備間隔 | 整備手順 |
|---|---|
| 使用するごとまたは毎日 |
|
毎回、使用前にエンジンスクリーンを点検してください。吸気口やその付近に刈りかすやごみがたまっていたら取り除いてください。
条件次第では燃料は引火・爆発しやすく、火災や爆発を起こすと非常に危険である。発火したり爆発したりすると、やけどや火災などを引き起こす。
燃料補給は必ず屋外で、エンジンが冷えた停止状態で行う。こぼれた燃料はふき取る。
燃料タンク一杯に入れないこと。燃料を補給する時は、(補給管の上端からではなく)タンクの上面から約25 mm下のレベルを超えて給油しない。これは、温度が上昇して燃料が膨張したときにあふれないように空間を確保するためである。
燃料の取り扱い中は禁煙を厳守し、火花や炎を絶対に近づけない。
安全で汚れのない認可された容器で保存し、容器には必ずキャップをはめること。
| 整備間隔 | 整備手順 |
|---|---|
| 100運転時間ごと |
|
Important: 汚れているフィルタを再取り付けするのは絶対にやめてください。
マシンの整備の準備を行う;整備作業のための準備を参照。
燃料バルブを閉じる(図 156)。


ホースクランプの両端をつまんでクランプをゆるめ、フィルタから遠ざける。
燃料ホースからフィルタを抜き取る。
燃料フィルタについている矢印がエンジンの方向に向くようにして、燃料ホースをフィルタのフィッティングに接続する。
ホースクランプを燃料フィルタのフィッティングの上に移動し、クランプでホースを固定する。
こぼれた燃料はふき取ってください。
燃料バルブを開く。
燃料は非常に引火・爆発しやすい物質である。発火したり爆発したりすると、やけどや火災などを引き起こす。
燃料タンクからの燃料の抜き取りはエンジンが冷えてから行う。この作業は必ず屋外の広い場所で行う。こぼれた燃料はふき取る。
燃料取り扱い中は禁煙を厳守し、火花や炎を絶対に近づけない。
マシンの整備の準備を行う;整備作業のための準備を参照。
燃料バルブを閉じる(図 157)。


燃料フィルタについているクランプをゆるめ、フィルタからずらす。
燃料フィルタから燃料ホースを抜き取る。
燃料バルブを開き、排出される燃料を適切な容器に受ける。
Note: 燃料タンクが空になったこの時に燃料フィルタを交換するのがベストです。
燃料フィルタに燃料ホースを取り付ける。
ホースクランプを燃料フィルタのフィッティングの上に移動し、クランプでホースを固定する。
マシンの整備や修理を行う前に、バッテリーの接続を外してください。バッテリーの接続を外すときにはマイナスケーブルを先に外し、次にプラスケーブルを外してください。接続するときにはプラスを先に接続し、次にマイナスを接続してください。
バッテリーの充電は、火花や火気のない換気の良い場所で行ってください。バッテリーと充電器の接続や切り離しを行うときは、充電器をコンセントから抜いておいてください。
また、安全な服装を心がけ、工具は確実に絶縁されたものを使ってください。
| 整備間隔 | 整備手順 |
|---|---|
| 1年ごと |
|
バッテリーの上面をきれいに維持してください。
ラッチを外し、バッテリーコンパートメントのドアを開く(図 158)。

バッテリー上部はアンモニア水または重曹水に浸したブラシで定期的に清掃してください。
Important: 清掃中はセルキャップを外さないでください。
バッテリーおよびバッテリーコンパートメントの表面をきれいな水で十分に洗い流す。
バッテリーコンパートメントのドアを閉じてラッチを掛ける。
| 整備間隔 | 整備手順 |
|---|---|
| 1年ごと |
|
バッテリーの端子に金属製品やトラクタの金属部分が触れるとショートを起こして火花が発生する。それによって水素ガスが爆発を起こし人身事故に至る恐れがある。
バッテリーの取り外しや取り付けを行うときには、端子と金属を接触させないように注意する。
バッテリーの端子と金属を接触させない。
バッテリーケーブルの接続手順が不適切であるとケーブルがショートを起こして火花が発生する。それによって水素ガスが爆発を起こし人身事故に至る恐れがある。
ケーブルを取り外す時は、必ずマイナス(黒)ケーブルから取り外し、次にプラス(赤)ケーブルを外す。
ケーブルを取り付ける時は、必ずプラス(赤)ケーブルから取り付け、それからマイナス(黒)ケーブルを取り付ける。
ラッチを外し、バッテリーコンパートメントのドアを開く(図 159)。

バッテリーケーブルのクランプが確実に締まっているか点検する。
クランプがゆるんでいる場合には締めつける。
バッテリーケーブルのクランプと端子に錆が発生していないか点検する。
腐食している場合は、マイナスケーブルを外す。
次にプラスケーブルを外す。
ケーブルクランプとバッテリー端子を清掃する。
プラスケーブルを元通りに取り付ける。
バッテリーのマイナスケーブルを接続する。
両方の端子部にワセリン(Grafo 112X: P/N 505-47)を薄く塗る。
バッテリーコンパートメントのドアを閉じてラッチを掛ける。
| 整備間隔 | 整備手順 |
|---|---|
| 50運転時間ごと |
|
マシンの整備の準備を行う;整備作業のための準備を参照。
すべてのタイヤの空気圧が 0.83 bar(0.84 kg/cm2=12 psi)に調整されていることを確認してください。測定はタイヤが冷えている状態で行うのがベストです。
Important: 各タイヤで空気圧がバラバラだと、均一な深さにコアリングできません。

ホイール用ウェイトは非常に重い(33kg)。
タイヤからウェイトを外すときには安全に十分注意すること。
| 整備間隔 | 整備手順 |
|---|---|
| 1年ごと |
|
マシンの駆動ベルトは非常に耐久性の高い部品です。しかし、紫外線やオゾン、薬剤などに触れて劣化が進んだり傷んだり(ベルトの層の分離など)する可能性があります。
ベルトカバーを取り外す;ベルトカバーの取り外しを参照。
油圧ポンプ、ジャッキシャフト、クランクシャフトの各ベルト(図 164)を点検。破損、摩耗、割れ、こびりついたほこりなどがないか調べる。
Note: 必要に応じてベルトを交換する。

ベルトカバーを取り付ける;ベルトカバーを取り付けるを参照。
| 整備間隔 | 整備手順 |
|---|---|
| 使用開始後最初の 8 時間 |
|
マシンの整備の準備を行う;整備作業のための準備を参照。
ベルトカバーを取り外す;ベルトカバーの取り外しを参照。
油圧ポンプベルトのアイドラプーリを固定しているフランジヘッドキャップスクリュとフランジロックナットをゆるめる。ボルトがアイドラサポートのスロットの中で動くようになればよい(図 165)。


アイドラプーリの上部を軽くたたいて、テンションスプリングの聴力でベルトに張りを出す。
Important: テンションスプリングの張力だけで張りを掛けてください。これ以上の力を掛けると損傷する恐れがあります。
フランジヘッドキャップスクリュとフランジロックナットを 37-45 N·m (3.7-4.6 kg.m = 27-33 ft-lb) にトルク締めする。
ベルトカバーを取り付ける;ベルトカバーを取り付けるを参照。
万一、油圧オイルが体内に入ったら、直ちに専門医の治療を受ける。万一、油圧オイルが体内に入った場合には、数時間以内に手術を受ける必要がある。
油圧装置を作動させる前に、全部のラインコネクタが適切に接続されていること、およびラインやホースの状態が良好であることを確認すること。
油圧のピンホールリークやノズルからは作動油が高圧で噴出しているので、絶対に手などを近づけない。
リークの点検には新聞紙やボール紙を使う。
油圧関係の整備を行う時は、内部の圧力を確実に解放する。
整備用ラッチでコアリングヘッドを支える;コアリングヘッド支持用整備用ラッチの使用方法を参照。
エンジンを停止する。
イグニッションスイッチを RUN 位置に回す。
インフォセンターで、メインメニューに移動する。
サービスオプションが選択されるまで下ボタンを押し、次に選択ボタンを押す (図 166) 。

Note: コアリングヘッドが下降してサービスラッチに完全に支持される。
サービスロア―オプションが選択されるまで下ボタンを押し、次に選択ボタンを押す (図 167) 。

キーを STOP 位置に回す。
Note: エンジンを始動し、油圧でコアリングヘッドを上昇させ、サービスラッチを収納できるようにする;サービスラッチの収納方法を参照。
| 整備間隔 | 整備手順 |
|---|---|
| 使用するごとまたは毎日 |
|
油圧ラインと油圧ホースは毎回使用前に点検してください。 オイル漏れ、 ホースのねじれ、 支持部のゆるみ、 磨耗、 フィッティングのゆるみ、 風雨や薬品による劣化などがないか十分に点検してください。磨耗や損傷などした油圧配管は、必ず交換してからマシンを使用するようにしてください。
Note: 油圧システムの周辺にゴミをためないようにしてください。
油圧オイル溜めに高品質の油圧オイルを満たして出荷しています。初めての運転の前に必ず油量を確認し、その後は毎日点検してください;エンジンオイルの量を点検するを参照。
交換用の推奨油圧オイル:Toro PX Extended Life Hydraulic Fluid(19 リットル缶または208 リットル缶)。
Note: 推奨オイルを使用するとオイルやフィルタ交換の回数を減らすことができます。
使用可能な他のオイル:Toro PX Extended Life Hydraulic Fluidが入手できない場合は、以下に挙げる特性条件および産業規格を満たす石油系の油圧オイルを使用することができます。合成オイルは使用しないでください。オイルの専門業者と相談の上、適切なオイルを選択してください:
Note: 不適切なオイルの使用による損害については弊社は責任を持ちかねますので、品質の確かな製品をお使い下さる様お願いいたします。
| 物性: | ||
| 粘度, ASTM D445 | cSt @ 40°C 44-48 | |
| 粘性インデックス ASTM D2270 | 140 以上 | |
| 流動点, ASTM D97 | -37°C--45°C | |
| 産業規格: | Eaton Vickers 694 (I-286-S, M-2950-S/35VQ25 or M-2952-S) | |
Note: 多くの油圧オイルはほとんど無色透明であり、そのためオイル洩れの発見が遅れがちです。油圧オイル用の着色剤(20 ml 瓶)をお使いいただくと便利です。1瓶で 15-22 リットルのオイルに使用できます。パーツ番号は P/N 44-2500; ご注文は Toro 代理店へ。
Important: トロ・プレミアム合成生分解油圧作動液は、トロ社がこの製品への使用を認めた唯一の合成生分解オイルです。この生分解オイルは、トロの油圧系統に使用されているエラストマー製品に悪影響を与えないこと、また広い温度範囲で安定していることが確認されています。この生分解オイルは、通常の鉱物系油圧オイルと互換性がありますが、通常のオイルから切り替える際には、生分解性能を最大限に発揮させるために、油圧系統内部を洗浄することを強くお奨めします。この生分解オイルは、モービル代理店にて 19 リットル缶または 208 リットル缶でお求めになれます。
| 整備間隔 | 整備手順 |
|---|---|
| 使用するごとまたは毎日 |
|
Important: コアリングヘッドを上げた状態で、エンジンを初めて始動する前とその後は毎日、油圧液のレベルを点検する。
油圧オイルタンクに高品質の油圧オイルを満たして出荷しています。
マシンの整備の準備を行う;整備作業のための準備を参照。
ベルトカバーを取り外す;ベルトカバーの取り外しを参照。
油圧オイルタンクの注油口周辺をきれいに拭き、キ ャップ(図 168)を外す。給油口からキャップを取る。

補給口の首からディップスティックを抜き、ウ ェスできれいに拭う。もう一度首に差し込んで引き抜き、オイルの量を点検する。ディップスティックのマークまであれば適正である(図 169)。

油量が少なければ適切なオイルを FULL マークまで補給する。
ディップスティックとキャップを取り付ける。
ベルトカバーを取り付ける;ベルトカバーを取り付けるを参照。
| 整備間隔 | 整備手順 |
|---|---|
| 200運転時間ごと |
|
| 400運転時間ごと |
|
油圧オイルタンクの量:約 6.6 リットル
Important: 自動車用のオイルフィルタなどを使わないでください。重大な内部損傷が発生する恐れがあります。
Note: リターンフィルタを外すとオイルタンク内部の全部のオイルが排出されます。
マシンの整備の準備を行う;整備作業のための準備を参照。
フィルタの下に容器を置き、フィルタを外し、フィルタアダプタのガスケット部をきれいに拭く(図 170)。

新しいフィルタのガスケットに所定の新しい油圧オイルを薄くぬる。
それぞれのアダプタにフィルタを取り付ける。ガスケットがアダプタに当たるまで手でねじ込み、そこから更に ½ 回転増し締めして各フィルタを取り付ける。
所定の油圧オイルを、ディップスティックの Full マークまで入れる;油圧作動液の仕様と油圧オイルの量を点検するを参照。
エンジンを始動して 2 分間運転し、システム内のエアをパージする。エンジンを止めてキーを抜き、油圧オイルが漏れていないか点検する。
油圧オイルの量を点検する。必要に応じてディップスティックの FULL マークまで所定のオイルを補給する。
Note: 油圧オイルを入れすぎないでください。
ベルトカバーを取り付ける;ベルトカバーを取り付けるを参照。
| 整備間隔 | 整備手順 |
|---|---|
| 使用開始後最初の 8 時間 |
|
| 250運転時間ごと |
|
マシンの整備の準備を行う;整備作業のための準備を参照。
コアリングヘッドのカバーを取り外す;コアリングヘッドのカバーの取り外しを参照。
コアリングヘッド、ティラーハンドル、およびホイールナットのボルトのトルクを点検し、適切な締め付けになっていることを確認してください。適正トルク値は、コアリングヘッドのサポートチャネル材に貼付されているデカルに標示されています(図 171)。

コアリングヘッドのカバーを取り付ける;コアリングヘッドのカバーの取り付けを参照。
マシンの整備の準備を行う;整備作業のための準備を参照。
サイドシールドをコアリングヘッドのフレームに固定しているキャップスクリュとフランジロックナットをゆるめる(図 172)。

シールドと地面の間のすきまが 25-38 mm となるように、シールドの上下位置を調整する。
キャップスクリュとフランジロックナットを本締めする。
マシンの反対側でも 2 - 4 の作業を行う。
ターフガードが割れたり、ひどく磨耗(厚みが 6 mm 以下)した場合には交換してください。ターフガードが割れていると芝を引っ掛けて損傷します。

コアリングヘッドには、3 つのベアリングハウジングに、非常に分かりやすいタイミングマークが鋳込まれています。

運転席を離れる前に:
平らな場所に駐車する。
ハンドルバーを完全に上昇させてラッチを掛け、駐車ブレーキを掛ける。
エンジンを止め、(キーのある機種では)キーを抜き取る。
全ての動きが停止するのを待つ。
調整、整備、清掃、格納などは、車両が十分に冷えてから行ってください。
ガス湯沸かし器のパイロット火やストーブなど裸火や火花を発するものがある近くでは、機械や燃料容器を保管・格納しないでください。
充電中は爆発性のガスが発生する。
充電中は絶対禁煙を厳守しバッテリーにいかなる火気も近づけない。
マシンの整備の準備を行う;整備作業のための準備を参照。
点火コードを外す。
機体各部、特にエンジンや油圧装置に付着している泥や刈りかすをきれいに落とす。特にエンジンのシリンダヘッドや冷却フィン部分やブロアハウジングを丁寧に清掃する。
エアクリーナの整備を行う;エアクリーナの整備を参照。
エンジンオイルを交換する;エンジンオイルとフィルタの交換を参照。
油圧フィルタと油圧オイルを交換する;油圧オイルとフィルタの交換を参照。
タイヤ空気圧を点検する;タイヤ空気圧を点検するを参照。
タインの状態を点検する。
シーズンオフに本体を保管する場合には、格納期間が 30 日未満の場合のステップ全部と、以下を行ってください:
機体各部のゆるみを点検し、必要な締め付けや交換、修理を行う。破損したり摩耗したりしたパーツを交換する。
機体全体を水洗いして乾かす。タインを外し、洗ってオイルを塗る。コアリングヘッドのベアリング(クランクとダンパリンク)にはオイルを薄く吹き付けてください。
Important: 機体は中性洗剤と水で洗うことができます。ただし高圧洗浄器は使用しないでください。また、コントロールパネルやエンジン、油圧ポンプ、モーターに大量の水をかけないようにしてください。
Note: 機体の洗浄がおわったらエンジンを掛けて2-5分間程度運転してください。
機体の塗装がはげていればタッチアップ修理をする。ペイントはトロの正規代理店から入手することができる。
マシンを 2 日間以上にわたって保管する場合には整備用ラッチを取り付けてください。
汚れていない乾燥した場所で保管する。始動スイッチのキーは必ず抜き取って子供などの手の届かない場所に保管する。
機体にはカバーを掛けておく。
燃料タンクの燃料に石油系スタビライザー/コンディショナーを添加する。混合の方法はスタビライザーのメーカーの指示に従う。アルコール系のスタビライザ(エタノール系やメタノール系)は使用しないこと。
Note: スタビライザは、新しい燃料に添加して常時使うのが最も効果的です。
Important: スタビライザ(品質安定剤)を添加した燃料であっても、スタビライザメーカーが推奨する保管期間を越えて保管しないでください。
エンジンをかけて約5分間作動させ、コンディショナ入りのガソリンを各部に循環させる。
エンジンを停止し、エンジンの温度が下がるのを待って燃料を抜き取る;燃料タンクの内部清掃を参照。
エンジンを再度始動して自然に停止するまで運転する。
チョークを引く。始動できなくなるまでエンジンの始動・運転を続ける。
点火プラグを外し、点検を行う;点火プラグの整備を参照。各プラグの取り付け穴からエンジンオイルをスプーン2杯程度入れ、スタータを回してエンジンをクランクさせ、オイルをシリンダ内部に行き渡らせる。点火プラグを取り付ける。ただし点火プラグのコードは外しておく。
Note: 抜き取った燃料は法令などにしたがって適切に処分する。
バッテリー端子からケーブルを外し、車体からバッテリーを取り出す。
バッテリー本体、端子、ケーブル端部を重曹水とブラシで洗浄する。
腐食防止のために両方の端子部にワセリン(Grafo 112X: P/N 505-47)を薄く塗る。
電極板の劣化を防止するため、60日ごとに24時間かけてゆっくりと充電する。バッテリーの凍結を防止するため、フル充電状態で保管するようにしてください。完全充電したバッテリー液の比重は1.265-1.299 になる。
充電終了後は、機体に取り付けて保存しても、機体から外したままで保存してもよい。機体に取り付けて保存する場合は、ケーブルを外しておく。温度が高いとバッテリーは早く放電するので、涼しい場所を選んで保管する。
| Problem | Possible Cause | Corrective Action |
|---|---|---|
| スタータがクランキングしない。 |
|
|
| エンジンが始動しない、始動しにくい、すぐ止まる。 |
|
|
| エンジンのパワーが出ない。 |
|
|
| エンジンがオーバーヒートしている。 |
|
|
| 異常に振動する。 |
|
|
| 走行できない。 |
|
|
| コアリングヘッドが作動しない。 |
|
|
| エアレーション中にヘッドがバウンドする。 |
|
|
| タイン打ち込み部分でターフがぼさぼさになったり裂けたりする。 |
|
|
| サイドイジェクトタインを使うとターフがぼさぼさになったり裂けたりする。 |
|
|
| エアレーション時にターフが持ち上げられたり裂けたりする。 |
|
|
| 穴の前部がへこむまたは押しつぶされる。 |
|
|