| Cadenza di manutenzione | Procedura di manutenzione |
|---|---|
| Prima di ogni utilizzo o quotidianamente |
|
Un operatore a terra comanda questa macchina, destinata all'uso da parte di operatori professionisti in applicazioni commerciali. La macchina è progettata principalmente per l’arieggiatura di grandi aree su prati ben mantenuti in parchi, campi da golf, campi sportivi e su terreni commerciali. L'utilizzo di questo prodotto per scopi diversi da quelli previsti potrebbe rivelarsi pericoloso per voi ed eventuali astanti.
Leggete attentamente queste informazioni al fine di utilizzare e mantenere correttamente il prodotto ed evitare infortuni e danni. Il proprietario è responsabile del corretto utilizzo del prodotto e della sicurezza.
Visitate il sito www.Toro.com per ottenere materiali di formazione sulla sicurezza e il funzionamento dei prodotti, informazioni sugli accessori, assistenza nella localizzazione di un rivenditore o per registrare il vostro prodotto.
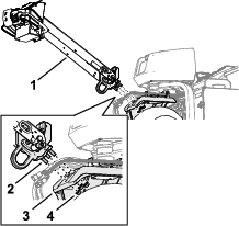
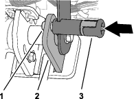
Ogni volta che vi occorrono assistenza, ricambi Toro originali o informazioni aggiuntive, contattate un distributore Toro autorizzato e tenete pronto il numero di modello e il numero di serie del vostro prodotto. Il numero del modello e il numero di serie si trovano nella posizione illustrata nella Figura 1. Scrivete i numeri nello spazio previsto.

Il simbolo di allerta di sicurezza (Figura 2) mostrato nel presente manuale e sulla macchina identifica importanti messaggi di sicurezza che dovete seguire per evitare incidenti.

Il simbolo di allerta di sicurezza compare sopra alle informazioni che vi mettono in guardia da azioni o situazioni non sicure e sono seguite dalla parola PERICOLO, AVVERTENZA o ATTENZIONE.
PERICOLO indica una situazione di pericolo imminente che, se non evitata, determina la morte o gravi infortuni.
AVVERTENZA indica una situazione di potenziale pericolo che, se non evitata, può determinare la morte o gravi infortuni.
ATTENZIONE indica una situazione di potenziale pericolo che, se non evitata, potrebbe determinare infortuni lievi o moderati.
Per evidenziare le informazioni vengono utilizzate anche altre due parole. Importante indica informazioni di carattere meccanico di particolare importanza e Nota evidenzia informazioni generali di particolare rilevanza.
Questo prodotto è conforme a tutte le direttive europee pertinenti; vedere i dettagli nella Dichiarazione di Conformità (DICO) specifica del prodotto, fornita a parte.
Poiché in alcune zone esistono normative locali, statali o federali che prevedono l'uso di un parascintille sul motore di questa macchina, un parascintille è disponibile come optional. Se desiderate ricevere un parascintille, contattate il vostro distributore autorizzato Toro. I parascintille originali Toro sono approvati dall'USDA Forestry Service.
Il Manuale d'uso del motore allegato fornisce informazioni sull'Environmental Protection Agency (EPA) degli Stati Uniti e sul regolamento del Controllo delle Emissioni dello stato della California riguardo a sistemi di emissione, manutenzione e garanzia. I pezzi di ricambio possono essere ordinati tramite il produttore del motore.
Se questa macchina è dotata di un dispositivo telematico, fate riferimento al vostro distributore Toro autorizzato per attivare il dispositivo.
CALIFORNIA
Avvertenza norma "Proposition 65"
Il gas di scarico di questo prodotto contiene sostanze chimiche note allo Stato della California come cancerogene e responsabili di difetti congeniti ed altri problemi riproduttivi.
I poli delle batterie, i morsetti e gli accessori attinenti contengono piombo e relativi composti, sostanze chimiche che nello Stato della California sono considerate cancerogene e causa di anomalie della riproduzione. Lavate le mani dopo aver maneggiato la batteria.
L'utilizzo del presente prodotto potrebbe esporre a sostanze chimiche che nello Stato della California sono considerate cancerogene e causa di anomalie congenite o di altre problematiche della riproduzione.
Questo prodotto è in grado di procurare lesioni agli individui. Rispettate sempre tutte le norme di sicurezza per evitare gravi infortuni alla persona.
Leggete e comprendete il contenuto di questo Manuale dell'operatore prima di avviare il motore.
Prestate la massima attenzione mentre utilizzate la macchina. Non intraprendete alcuna attività che vi possa distrarre; in caso contrario potreste causare infortuni o danni alla proprietà.
Non mettete le mani o i piedi vicino a componenti in movimento della macchina.
Non utilizzate la macchina senza che tutti gli schermi e gli altri dispositivi di protezione siano montati e correttamente funzionanti.
Tenete la macchina a distanza dagli astanti mentre si sposta.
Tenetevi a distanza dall'apertura lungo le fustelle. Tenete gli astanti e gli animali domestici a distanza dalla macchina.
Tenete i bambini all’esterno dall'area di lavoro. Non permettete mai che bambini e ragazzi utilizzino la macchina.
Parcheggiate la macchina su un terreno pianeggiante, sollevate completamente e fissate la maniglia per inserire il freno di stazionamento, spegnete il motore, togliete la chiave e attendete che si fermino tutte le parti in movimento prima di effettuare interventi di manutenzione, rifornimento di carburante o di eliminare eventuali intasamenti.
L'errato utilizzo o la manutenzione di questa macchina
può causare infortuni. Per ridurre il rischio di incidenti,
rispettate le seguenti norme di sicurezza e fate sempre attenzione
al simbolo di allarme
, che indica: Attenzione, Avvertenza o Pericolo
– “norme di sicurezza”. Il mancato rispetto di queste
istruzioni può provocare infortuni o morte.
![]() |
Gli adesivi di sicurezza e di istruzione sono chiaramente visibili e sono affissi accanto a zone particolarmente pericolose. Sostituite eventuali adesivi se danneggiati o mancanti. |
















Note: La parte anteriore della macchina corrisponde alla stegola dell'operatore ed è la normale posizione operativa. Sinistra e destra sono relative alla direzione di marcia mentre procedete con la macchina dietro di voi.
Note: Per sollevare la testa di carotaggio dopo aver estratto dalla cassa la macchina, rilasciate la barra di arieggiatura e avviate il motore; fate riferimento a Avviamento del motore e a Sollevamento della testa di carotaggio per ulteriori informazioni.
Parti necessarie per questa operazione:
| Gruppo ruote | 2 |
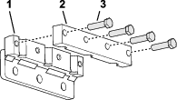
Note: Se disponibile, utilizzate un paranco per sollevare la parte posteriore della macchina. Come punti di attacco per il sollevamento utilizzate i ganci a occhiello nelle sedi dei cuscinetti della testa di carotaggio (Figura 3).

Sul retro della macchina, rimuovete i 4 dadi a staffa che fissano il retro della macchina alle staffe del pallet di spedizione.
Montate un gruppo ruote su ciascun mozzo ruota posteriore utilizzando i 4 dadi a staffa (Figura 4).

Serrate i dadi ad aletta tra 61 e 75 N∙m.
Ripetete i passaggi da 1 a 3 sull'altro lato della macchina.
Sgonfiate tutti gli pneumatici a 0,83 bar.
Parti necessarie per questa operazione:
| Maniglia | 1 |
| Dado di bloccaggio (½") | 3 |
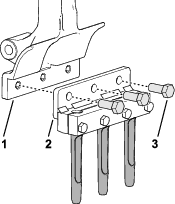
Inserite gli spinotti all'estremità della maniglia nei fori del braccio di sterzo (Figura 5).
Note: Fate tenere in posizione la maniglia a un'altra persona.

Avvitate un dado di bloccaggio flangiato (1/2") su ciascuno dei 3 spinotti.
Serrate i dadi di bloccaggio flangiati a una coppia di 91–113 N∙m.
Sollevate la maniglia e fissatela con il perno di fissaggio apposito (Figura 6).

Instradate l'attacco del cavo del freno sotto alla parte inferiore del canale della maniglia (Figura 7).

Inserite l'attacco del cavo del freno sul perno con testa e fissate l'attacco al perno con la rondella e la coppiglia.
Instradate il connettore a 6 pin e il connettore a 12 pin del cablaggio preassemblato della macchina attraverso la boccola nel canale della maniglia (Figura 8).

Collegate il connettore a 12 pin del cablaggio preassemblato della macchina al connettore a 12 prese del cablaggio preassemblato della maniglia (Figura 9).

Collegate il connettore a 6 pin del cablaggio preassemblato della macchina al connettore a 6 prese del cablaggio preassemblato della maniglia.
Inserite l'ancoraggio a spinta del cablaggio preassemblato della macchina nel foro del canale della maniglia (Figura 10).

Inserite l'ancoraggio a spinta del cablaggio preassemblato della macchina nel foro della staffa di guida.
Fissate il cablaggio preassemblato della macchina al canale della maniglia con una fascetta per cavi attraverso le fessure del canale (Figura 11).

Fissate il cablaggio preassemblato della macchina alla staffa di guida con una fascetta per cavi attraverso le fessure della staffa.
Allineate il piccolo incavo del coprimaniglia con l'incavo in alto (Figura 12).

Allineate i fori della copertura con i fori del canale della maniglia.
Fissate il coprimaniglia con le 6 viti autofilettanti (1/4").
Parti necessarie per questa operazione:
| Bullone (¼" x 1") | 2 |
| Dado flangiato (5/16") | 2 |
L'elettrolito della batteria contiene acido solforico, veleno mortale che può causare gravi ustioni.
Evitate che venga a contatto con la pelle, gli occhi o gli abiti. Indossate occhiali di protezione per proteggere gli occhi, e guanti di gomma per proteggere le mani.
Rimuovete, caricate e installate la batteria nelle vicinanze di acqua pulita, per lavare la pelle.
Durante la ricarica della batteria si sviluppano gas esplosivi.
Non fumate mai nelle adiacenze della batteria e tenetela lontano da scintille e fiamme.
I morsetti della batteria e gli attrezzi metallici possono creare cortocircuiti contro i componenti metallici, e provocare scintille, che possono fare esplodere i gas della batteria e causare infortuni.
In sede di rimozione o montaggio della batteria, impedite ai morsetti di toccare le parti metalliche della macchina.
Non lasciate che gli attrezzi metallici creino cortocircuiti fra i morsetti della batteria e le parti metalliche della macchina.
In caso di errato percorso dei cavi della batteria, la macchina ed i cavi possono venire danneggiati e causare scintille, che possono fare esplodere i gas della batteria e causare infortuni.
Scollegate sempre il cavo negativo (nero) della batteria prima di quello positivo (rosso).
Collegate sempre il cavo positivo (rosso) della batteria prima di quello negativo (nero).
Sbloccate lo sportello del vano batteria e apritelo (Figura 13).

Togliete la batteria dal vano.
Utilizzate un caricatore con capacità di carica da 3 a 4 A per caricare la batteria.
Quando la batteria è carica, staccate il caricabatterie dalla presa elettrica e dai poli della batteria.
Montate la batteria nel vassoio del vano batteria (Figura 14). Posizionate la batteria con i morsetti rivolti verso l’esterno.

Fissate la batteria alla base del vano usando un tirante di tenuta, 2 tiranti a J, 2 rondelle piane e 2 dadi ad alette.
Fissate il cavo positivo (rosso) sul terminale positivo (+) della batteria con un bullone a testa tonda e un dado.
Infilate la guaina in gomma sul terminale positivo.
Fissate il cavo negativo (nero) sul terminale negativo (-) della batteria con un bullone a testa tonda e un dado.
Chiudete lo sportello del vano batteria e bloccatelo.
Parti necessarie per questa operazione:
| Dispositivo di chiusura | 2 |
| Bullone senza dado | 2 |
| Rondella di sicurezza dentata interna | 2 |
Se state preparando la macchina per un utilizzo all'interno dell'Unione Europea (CE), montate il dispositivo di chiusura del cofano posteriore sul cofano posteriore come spiegato in seguito per soddisfare le normative CE.
Rimuovete il cofano posteriore.
Montate un dispositivo di chiusura sul fermo del cofano (Figura 15) con un bullone senza dado (2 in totale).

Utilizzate delle pinze e una chiave regolabile per avvitare la rondella di bloccaggio interna su ciascun bullone (da 1 a 2 filettature) per fissare i bulloni al cofano.
Ripetete i passaggi da 2 a 3 sull'altro lato del cofano.
Montate il cofano posteriore.
Parti necessarie per questa operazione:
| Cordino | 1 |
| Ribattino con spina | 1 |
| Bullone (¼" x 1") | 1 |
| Dado di bloccaggio (¼") | 1 |
Se state preparando la macchina per la conformità CE, montate il cordino di fissaggio del copricinghia come spiegato in seguito.
Individuate il foro sul copricinghia, vicino alla fessura della leva del dispositivo di fermo (Figura 16 e Figura 17).

Fissate il gruppo cordino al foro del copricinghia con un ribattino con spina (Figura 17).

Inserite il bullone nella leva del dispositivo di fermo (Figura 18).

Parti necessarie per questa operazione:
| Adesivo CE | 1 |
| Adesivo anno di produzione | 1 |
È disponibile una vasta gamma di portafustelle, protezioni del tappeto erboso e fustelle da utilizzare con la macchina. Fate riferimento a Installazione delle protezioni del tappeto erboso, dei portafustelle e delle fustelle.


Utilizzate il dispositivo di fermo della maniglia (Figura 21) per fissare la maniglia in posizione sollevata e per inserire il freno di stazionamento.
Important: Fissate la maniglia in posizione sollevata ogni volta che abbandonate la postazione dell'operatore.
La barra di presenza dell'operatore (Figura 21) aiuta a garantire che vi troviate alla postazione dell'operatore mentre guidate la macchina o utilizzate la testa di carotaggio.
Note: Il rilascio della barra di presenza dell'operatore non comporta lo spegnimento del motore.
Utilizzate l'InfoCenter (Figura 21) per regolare il funzionamento dei comandi della testa di carotaggio.
Se l'interruttore di arresto per presenza di dossi entra in contatto con un ostacolo (Figura 21), la macchina effettua le seguenti azioni:
La macchina interrompe la marcia in avanti.
La testa di carotaggio si solleva e si arresta.
Note: Il contatto con l'interruttore di arresto per presenza di dossi non comporta lo spegnimento del motore. Potete guidare la macchina in retromarcia, ma è necessario reimpostare l'interruttore per dossi per guidarla in avanti.

Utilizzate l'interruttore trasporto/arieggiatura (Figura 22) per controllare la velocità massima della macchina mentre effettuate l'arieggiatura o trasportate la macchina.
La posizione ARIEGGIATURA consente l'arieggiatura e limita la velocità di avanzamento a un massimo di 4,0 km/h.
La posizione TRASPORTO consente di guidare la macchina fino alla velocità di avanzamento massima per raggiungere l'area di lavoro.
Note: Non è possibile effettuare l'arieggiatura mentre l'interruttore trasporto/arieggiatura si trova sulla posizione TRASPORTO.
Utilizzate il comando di trazione destro o sinistro (Figura 22) per guidare la macchina in avanti o all'indietro.
Utilizzate l'interruttore di bloccaggio del regime del motore (Figura 22) per mantenere la stessa velocità di avanzamento, come il limitatore di velocità di un'automobile.
La posizione di INSERIMENTO imposta la velocità di avanzamento attuale.
La posizione ATTIVAZIONE attiva il bloccaggio della velocità di avanzamento.
La posizione DISATTIVAZIONE disattiva il bloccaggio della velocità di avanzamento.
Utilizzate l'interruttore di bloccaggio del regime del motore (Figura 22) per mantenere la stessa velocità di avanzamento al tasso di spaziatura tra i fori dell'arieggiatura.
La posizione ATTIVAZIONE attiva e inserisce il bloccaggio della velocità per mantenere la velocità di avanzamento al tasso di spaziatura tra i fori dell'arieggiatura quando rilasciate la barra di arieggiatura al termine di un passaggio di arieggiatura.
La posizione DISATTIVAZIONE disattiva il bloccaggio della velocità di avanzamento, interrompendo l'avanzamento della macchina quando rilasciate la barra di arieggiatura.

Utilizzate la barra di arieggiatura (Figura 23) per abbassare e sollevare la testa di carotaggio.
Utilizzate l'interruttore per il controllo dell'abbassamento (Figura 23) per modificare il modo in cui la testa di carotaggio si abbassa durante l'arieggiatura. È possibile selezionare le seguenti modalità:
Abbassamento immediato
Abbassamento ritardato

Utilizzate la leva dell'acceleratore (Figura 24) per controllare la velocità del motore:
Spostare la leva dell'acceleratore in avanti, verso la posizione VELOCE, incrementa la velocità del motore.
Spostare la leva dell'acceleratore all'indietro, verso la posizione LENTA, riduce la velocità del motore.
Note: La velocità del motore regola la velocità della testa di carotaggio.
Utilizzate lo starter durante l'avviamento del motore a freddo (Figura 24).
Utilizzate l'interruttore di accensione (Figura 24) per avviare e spegnere il motore. L'interruttore ha 3 posizioni:
AVVIAMENTO: ruotate la chiave in senso orario in posizione di AVVIAMENTO per azionare il motorino di avviamento.
FUNZIONAMENTO: quando il motore si avvia, rilasciate la chiave che si sposta automaticamente in posizione di ACCENSIONE.
SPEGNIMENTO: ruotate la chiave in senso antiorario in posizione di SPEGNIMENTO per spegnere il motore.
Utilizzate il contagiri per determinare la velocità del motore (Figura 24).
Utilizzate la valvola di intercettazione del carburante per controllare il carburante proveniente dal serbatoio del carburante (Figura 25).

Il display dell'InfoCenter (Figura 26) mostra informazioni sulla vostra macchina, come stato operativo, varie informazioni diagnostiche e altri dettagli.

Note: Lo scopo di ogni pulsante può variare a seconda della necessità del momento. Ogni pulsante è etichettato con un'icona che ne visualizza la funzione corrente.
Utilizzate i pulsanti di spostamento per spostarvi tra le varie schermate e le voci dei menu:
Schermata di avvio: dopo aver spostato la chiave sulla posizione ON, mostra per alcuni secondi le informazioni attuali della macchina.
Menu principale: fate riferimento a Utilizzo dei menu.
|
MANUTENZIONE NECESSARIA |
Indica quando dovrà essere effettuata la manutenzione programmata |
|
|
Modalità trasporto |
|
|
Profondità dei fori |
|
|
Spaziatura tra i fori |
|
|
Diametro delle fustelle |
|
|
Fustelle per portafustelle |
|
|
Batteria |
|
|
Contaore |
|
|
Attivo/OK |
|
|
Non attivo |
|
|
Avanti |
|
|
Schermata precedente |
|
|
Menu |
|
|
Aumenta/Riduci valore |
|
|
Scorri su/giù |
|
|
Scorri a sinistra/destra |
|
|
Torna al menu |
|
|
|
Per accedere al menu principale, premete il pulsante Indietro/Esci mentre vi trovate in una qualsiasi schermata di informazioni.
Consultate le tabelle seguenti per una descrizione delle opzioni disponibili nei menu:
|
Voce menu |
Descrizione |
|---|---|
|
GUASTI |
Contiene un elenco dei guasti recenti della macchina. Consultate il Manuale di manutenzione o il distributore Toro autorizzato di zona per maggiori informazioni sul menu Guasti. |
|
MANUTENZIONE |
Contiene informazioni sulla macchina come le ore di utilizzo, contatori e altri dati numerici simili. |
|
DIAGNOSTICA |
Elenca vari stati attuali della macchina; potete utilizzare questa voce per individuare determinati problemi in quanto indica rapidamente quali comandi macchina sono attivi e quali no. |
|
IMPOSTAZIONI |
Consente di inserire il PIN o di personalizzare il display dell'InfoCenter. |
|
IMPOSTAZIONI MACCHINA |
Consente di modificare le caratteristiche di funzionamento e la configurazione della macchina. |
|
INFORMAZIONI |
Elenca il numero di modello, il numero di serie e la versione software della macchina. |
|
Voce menu |
Descrizione |
|---|---|
|
STATISTICHE |
Elenca contatori relativi ai dati di funzionamento della macchina, come tempo di funzionamento del motore, area/volume/tempo di arieggiatura e distanza percorsa durante l'arieggiatura. |
|
ORE |
Mostra il numero totale di ore in cui sono stati utilizzati la macchina, il motore e la PDF, oltre al numero di ore di trasporto della macchina e il numero di ore alla manutenzione. |
|
CONTEGGI |
Mostra diversi conteggi della macchina. |
|
SOLLEVAMENTO MANUTENZIONE |
Attiva o disattiva il sollevamento manutenzione. |
|
ABBASSAMENTO MANUTENZIONE |
Attiva o disattiva l'abbassamento manutenzione. |
|
3 RUOTE MOTRICI |
Attiva le 3 ruote motrici automatiche o le 3 ruote motrici sempre attive. |
|
ALTEZZA DAL TERRENO |
Indica se la calibrazione del sensore è valida, avvia il processo di calibrazione ed elenca il valore elettrico del sensore. |
|
POMPA DI TRAZIONE |
Indica se la calibrazione del sensore è valida, avvia il processo di calibrazione ed elenca il valore elettrico del sensore. |
|
INPUT TRAZIONE |
Indica se la calibrazione del sensore è valida, avvia il processo di calibrazione ed elenca il valore elettrico del sensore. |
|
SENSORE DI ALTEZZA |
Indica se la calibrazione del sensore è valida, avvia il processo di calibrazione ed elenca il valore elettrico del sensore. |
|
|
|
|
Voce menu |
Descrizione |
|---|---|
|
INSERISCI PIN |
Consente a una persona autorizzata di accedere ai menu protetti utilizzando il codice PIN. |
|
RETROILLUMINAZIONE |
Consente di impostare la luminosità del display LCD. |
|
LINGUA |
Consente di impostare la lingua usata nell'InfoCenter. |
|
UNITà |
Consente di impostare le unità utilizzate nell'InfoCenter (sistema imperiale o metrico) |
|
MODIFICA PIN |
Consente a una persona autorizzata di modificare il codice PIN utilizzando il codice PIN stesso. |
|
IMPOSTAZIONI PROTETTE |
Attiva o disattiva la necessità di inserire il codice PIN per accedere alle impostazioni protette. |
|
VALORI PREDEFINITI |
Riporta tutte le impostazioni ai valori predefiniti. |
|
|
|
|
Voce menu |
Descrizione |
|
TRASPORTO MASSIMO |
Consente di modificare la velocità di avanzamento massima; default = 6,4 km/h. |
|
ARIEGGIATURA MANUALE |
Attiva o disattiva l'arieggiatura manuale. |
|
|
|
|
Voce menu |
Descrizione |
|---|---|
|
Model |
Elenca il numero di modello della macchina |
|
NS |
Elenca il numero di serie della macchina. |
|
Rev SW |
Elenca la revisione del software del controller master. |
|
Statistiche CAN |
Elenca lo stato del bus di comunicazione della macchina. |
|
Revisione InfoCenter |
Elenca la revisione del software del displaydell'InfoCenter. |
|
|
|
|
Voce menu |
Descrizione |
|---|---|
|
Trazione |
Consultate il Manuale di manutenzione o il distributore Toro autorizzato di zona per maggiori informazioni sulle voci del menu Diagnostica. |
|
Arieggiatura |
|
|
Motore |
I menu protetti non sono visualizzati per impostazione predefinita. È possibile accedere a tali impostazioni inserendo il codice PIN.
Note: Il codice PIN predefinito di fabbrica della macchina è 0000 o 1234; al momento della consegna, il vostro distributore può aver modificato il codice PIN.Se avete modificato il codice PIN e lo avete dimenticato, contattate il vostro distributore Toro autorizzato.
Dal MENU PRINCIPALE, scorrete in giù fino al menu IMPOSTAZIONI, poi premete il pulsante Invio (Figura 27).

Dal menu IMPOSTAZIONI, scorrete fino alla voce INSERISCI PIN e premete il pulsante Invio (Figura 28A).

Per inserire il codice PIN, premete i pulsanti di spostamento Su/Giù finché non compare la prima cifra corretta, quindi premete il pulsante di spostamento Destra per passare alla cifra successiva (Figura 28B e Figura 28C). Ripetete questo passaggio fino a inserire l'ultima cifra.
Premete il pulsante Invio (Figura 28D).
Note: Se il display ha accettato il codice PIN e i menu protetti sono
stati sbloccati, viene visualizzata la parola
nell'angolo in alto
a destra della schermata.
Per nascondere i menu protetti, ruotate l'interruttore chiave sulla posizione OFF, quindi sulla posizione ON.
Una volta inserito il codice PIN, accedete al menu IMPOSTAZIONI, quindi scorrete in giù fino alla voce IMPOSTAZIONI PROTETTE.
Per visualizzare i menu protetti senza dover inserire
alcun codice PIN, utilizzate il pulsante Invio per modificare la voce IMPOSTAZIONI PROTETTE in
(Disattivata).
Per visualizzare i menu protetti previo inserimento
del codice PIN, utilizzate il pulsante Invio per modificare la voce IMPOSTAZIONI PROTETTE in
(Attivata), impostate il
codice PIN e ruotate la chiave nell'interruttore di accensione
sulla posizione OFF, quindi sulla posizione ON.

Rossa, lampeggia: guasto
Rossa, fissa: avviso
Blu, fissa: calibrazione/messaggi di dialogo
Verde, fissa: normale funzionamento
Note: Specifiche e disegno sono soggetti a variazione senza preavviso.
| Larghezza | 127 cm |
| Interasse | 113 cm |
| Carreggiata | 97 cm |
| Larghezza di carotaggio | 122 cm |
| Lunghezza | 295 cm |
| Altezza della testa (sollevata) | 114 cm |
| Altezza della testa (abbassata) | 93 cm |
| Altezza, stegola | 154,2 cm |
| Distanza da terra | 12 cm |
| Velocità di marcia avanti | 0–7,2 km/h |
| Velocità di retromarcia | 0–4 km/h |
| Peso netto | 745 kg |
È disponibile una gamma di attrezzi ed accessori approvati da Toro per l'impiego con la macchina, per ottimizzare ed ampliare le sue applicazioni. Richiedete la lista degli attrezzi e accessori approvati a un Centro assistenza o a un distributore Toro autorizzati, oppure visitate www.Toro.com.
Per garantire prestazioni ottimali, utilizzate solo ricambi e accessori originali Toro. L'utilizzo di parti di ricambio e accessori di altri produttori può essere pericoloso e rendere nulla la garanzia.
Fate riferimento alla tabella di configurazione delle fustelle seguente per le informazioni su testa della fustella, protezione per i tappeti erbosi e fustelle:
| Descrizione testa per fustelle | Distanziamento testa per fustelle | Dimensioni gambo | Quantità di fustelle | Tipo di protezione del tappeto erboso (quantità) |
|---|---|---|---|---|
| Testa per fustelle mini 2x5 | 41 mm | 9,5 mm | 60 | A 5 fustelle – corte (2) |
| A 5 fustelle – lunghe (1) | ||||
| Testa per fustelle mini 1x6 | 32 mm | 9,5 mm | 36 | A 6 fustelle – corte (2) |
| A 6 fustelle – lunghe (1) | ||||
| Testa a 3 fustelle (⅞") | 66 mm | 22,2 mm | 18 | A 3 fustelle – corte (2) |
| A 3 fustelle – lunghe (1) | ||||
| Testa a 3 fustelle (¾") | 66 mm | 19,5 mm | 18 | A 3 fustelle – corte (2) |
| A 3 fustelle – lunghe (1) | ||||
| Testa a 4 fustelle (¾") | 51 mm | 19,5 mm | 24 | A 4 fustelle – corte (2) |
| A 4 fustelle – lunghe (1) | ||||
| Testa a 5 fustelle aghiformi | 41 mm | – | 30 | A 5 fustelle – corte (2) |
| A 5 fustelle – lunghe (1) |
Note: Stabilite i lati sinistro e destro della macchina dalla normale posizione di guida.
Non lasciate mai che bambini o persone non addestrate utilizzino o effettuino interventi di manutenzione sulla macchina. Le normative locali possono imporre limiti all'età dell'operatore. Il proprietario è responsabile della formazione di tutti gli operatori e i meccanici.
Acquisite familiarità con il funzionamento sicuro dell'attrezzatura, dei comandi dell'operatore e dei segnali di sicurezza.
Imparate come arrestare la macchina e spegnere il motore rapidamente.
Prima dell'utilizzo, ispezionate sempre la macchina per accertarvi che le fustelle siano in buone condizioni operative. Sostituite le fustelle usurate o danneggiate.
Ispezionate l'area dove prevedete di utilizzare la macchina e rimuovete tutti gli oggetti contro cui la macchina potrebbe cozzare.
Individuate e contrassegnate la posizione delle linee elettriche o di comunicazione, i componenti del sistema di irrigazione e altri ostacoli nell’area che deve essere arieggiata. Rimuovete le possibili fonti di pericolo, ove possibile, o pensate a un modo per evitarli.
Parcheggiate la macchina su un terreno pianeggiante, sollevate completamente e fissate la maniglia per inserire il freno di stazionamento, spegnete il motore, togliete la chiave e attendete che si fermino tutte le parti in movimento.
Verificate che comandi di presenza dell'operatore, interruttori di sicurezza e protezioni siano fissati e correttamente funzionanti. Se non funziona correttamente, non azionate la macchina.
Prestate estrema cautela nel maneggiare il carburante. È infiammabile e i suoi vapori sono esplosivi.
Spegnete sigarette, sigari, pipa e altre fonti di accensione.
Utilizzate soltanto taniche per carburanti approvate.
Non rimuovete il tappo del carburante né rabboccate il serbatoio del carburante mentre il motore è in funzione o è caldo.
Non aggiungete o svuotate il carburante in uno spazio chiuso.
Non rimessate la macchina o la tanica del carburante in luoghi in cui siano presenti fiamme libere, scintille o spie, come quelle di uno scaldabagno o di altri apparecchi.
Se del carburante dovesse fuoriuscire, non tentate di avviare il motore, evitate di creare fonti di innesco fino a quando i vapori di carburante non saranno evaporati.
| Tipo | Benzina senza piombo |
| Numero di ottano minimo | 87 (USA) o 91 (ottano ricerca; al di fuori degli USA) |
| Etanolo | Non maggiore del 10% in volume |
| Metanolo | Spenta |
| MTBE (metil-t-butil etere) | Non maggiore del 15% in volume |
| Olio | Non aggiungete al carburante |
Utilizzate solo carburante pulito, fresco (non più vecchio di 30 giorni), proveniente da una fonte affidabile.
Important: Per ridurre i problemi di avviamento, aggiungete stabilizzatore/additivo del carburante al carburante fresco come indicato dal produttore dello stabilizzatore/additivo del carburante.
Capacità del serbatoio del carburante: 26,5 litri
Parcheggiate la macchina su un terreno pianeggiante, sollevate completamente e fissate la maniglia per inserire il freno di stazionamento, spegnete il motore, togliete la chiave e attendete che si fermino tutte le parti in movimento.
Pulite l'area attorno al tappo del serbatoio del carburante e rimuovetela (Figura 30).

Aggiungete carburante nel serbatoio fino a quando il livello non è tra 6 mm e 13 mm sotto la base del collo del bocchettone.
Important: Questo spazio permette l'espansione del carburante. Non riempite completamente il serbatoio.
Montate saldamente il tappo del serbatoio del carburante.
Tergete il carburante eventualmente versato.
Ogni giorno, prima di avviare la macchina, effettuate le procedure Ogni utilizzo/Giornaliere elencate in .
| Cadenza di manutenzione | Procedura di manutenzione |
|---|---|
| Prima di ogni utilizzo o quotidianamente |
|
Se il sistema di sicurezza a interblocchi è scollegato o guasto, la macchina può funzionare in modo imprevisto, causando lesioni personali.
Non manomettete i microinterruttori di sicurezza.
Verificate il funzionamento del sistema di sicurezza a interblocchi quotidianamente e sostituite eventuali componenti a interblocchi danneggiati prima di utilizzare la macchina.
Il sistema di sicurezza a interblocchi impedisce l'avviamento del motore se la barra di comando della trazione non è in FOLLE.
Il sistema di sicurezza a interblocchi impedisce l'avviamento del motore se la barra di presenza dell'operatore non è completamente rilasciata.
Il sistema di sicurezza a interblocchi impedisce l'avviamento del motore se la barra della testa di carotaggio non è completamente rilasciata.
Il sistema di sicurezza a interblocchi solleva la testa di carotaggio e la spegne se conducete la macchina all'indietro mentre effettuate l'arieggiatura o se l'interruttore di arresto per presenza di dossi entra a contatto con un ostacolo.
Important: Se il sistema di sicurezza a interblocchi non funziona come descritto, fate immediatamente riparare il sistema di sicurezza a interblocchi a un distributore Toro autorizzato.
Se la testa di carotaggio è abbassata, effettuate i seguenti passaggi. Se la testa di carotaggio è sollevata, andate a Prova dell'interblocco del motorino di avviamento.
Avviate il motore e impostate la velocità del motore su LENTA; fate riferimento a Avviamento del motore.
Abbassate la maniglia (Figura 31).

Premete uno qualsiasi dei pulsanti dell'InfoCenter.
Note: La testa di carotaggio si solleva.
Spegnete il motore; fate riferimento a Spegnimento del motore.
Se il motore è in funzione, spegnetelo.
Premete una qualsiasi delle barre di presenza dell'operatore contro la maniglia e ruotate il comando di trazione (Figura 32) in avanti o all'indietro, quindi avviate il motore.
Important: Il motore non deve avviarsi.

Rilasciate la barra di presenza dell'operatore, portate il comando di trazione in FOLLE e avviate il motore.
Premete una qualsiasi delle barre di presenza dell'operatore contro la maniglia e ruotate in avanti la parte superiore del comando di trazione (Figura 33).
Note: La macchina avanza.

Tenendo in posizione il comando di trazione, rilasciate la barra di presenza dell'operatore (Figura 34).
Important: La macchina deve interrompere la marcia in avanti.

Premete una qualsiasi delle barre di presenza dell'operatore contro la maniglia e ruotate in avanti la parte superiore del comando di trazione (Figura 35).
Note: La macchina avanza.

Tenendo in posizione la barra di presenza dell'operatore e il comando di trazione, fate entrare in contatto con un ostacolo l'interruttore di arresto per presenza di dossi (Figura 36).
Important: La macchina deve interrompere la marcia in avanti.
Note: Il motore resta in funzione.

Reimpostate l'interruttore di arresto per presenza di dossi; fate riferimento a Reimpostazione dell'interruttore di arresto per presenza di dossi.
Effettuate 1 delle seguenti azioni:
Spostate la macchina su un'area erbosa in cui potete effettuare l'arieggiatura senza danneggiare le fustelle o l'area.
Rimuovete le fustelle.
Premete una qualsiasi delle barre di presenza dell'operatore contro la maniglia, ruotate in avanti la parte superiore del comando di trazione e premete la barra di arieggiatura (Figura 37).
Note: La macchina avanza, la testa di carotaggio si attiva e si abbassa.

Tenendo in posizione la barra di presenza dell'operatore e la barra di arieggiatura, ruotate all'indietro la parte superiore del comando di trazione (Figura 38).
Important: La testa di carotaggio deve sollevarsi e arrestarsi.
Note: Il motore resta in funzione.

Spostate il comando di trazione in posizione di FOLLE.
Se avete rimosso le fustelle, installatele e calibrate la distanza delle fustelle dal terreno; fate riferimento a Montaggio delle fustelle sulla testa di carotaggio e a Calibrazione della distanza delle fustelle dal terreno.
Important: Dovete calibrare la distanza delle fustelle dal terreno ogni volta che sostituite delle fustelle lunghe con altre più corte o viceversa.
È disponibile una vasta gamma di portafustelle, protezioni del tappeto erboso e fustelle da utilizzare con la macchina. Scegliete i componenti necessari in base alla Scheda degli accessori nella sezione Attrezzi e Accessori.
Sollevate la testa di carotaggio e bloccatela con il fermo di servizio; fate riferimento a Supporto della testa di carotaggio con il fermo di servizio.
Parcheggiate la macchina su un terreno pianeggiante, sollevate completamente e fissate la maniglia per inserire il freno di stazionamento, spegnete il motore, togliete la chiave e attendete che si fermino tutte le parti in movimento.
Note: Le fascette, le rondelle e i dadi di bloccaggio flangiati delle protezioni del manto erboso sono spediti di fabbrica fissati alle staffe (Figura 39).
Montate senza serrare le protezioni del tappeto erboso sulle staffe apposite utilizzando 4 fascette delle protezioni, 12 dadi di bloccaggio flangiati (3/8") e 12 rondelle (7/16" x 13/16").
Note: Non serrate i dadi di bloccaggio flangiati.

Sul portafustelle montate, senza serrarlo, un pezzo di bloccaggio (Figura 40) con 4 bulloni (3/8" x 1-1/2"). Non serrate i bulloni.
Note: I bulloni sono a corredo nei kit portafustelle.

Montate le fustelle sul portafustelle e sul pezzo di bloccaggio delle fustelle (Figura 41).

Serrate i bulloni (3/8" x 1-1/2") fissando i pezzi di bloccaggio delle fustelle e le fustelle a 40,6 N∙m.
Ripetete i passaggi da 1 a 3 per gli altri pezzi di bloccaggio delle fustelle, portafustelle e fustelle.
Montate senza serrare il portafustelle e le fustelle al braccio delle fustelle #2 (Figura 42 e Figura 43) con 3 bulloni (1/2" x 1-1/4").


Serrate i bulloni (1/2" x 1-1/4") a 102 N∙m.
Ripetete i passaggi 1 e 2 per il braccio delle fustelle #5.
Verificate l'allineamento delle fessure delle protezioni del tappeto erboso rispetto alle fustelle per accertarvi che siano centrate (Figura 44).
Note: Regolate le protezioni del tappeto erboso come necessario.

Serrate i dadi di bloccaggio flangiati (3/8") che fissano le 3 fascette delle protezioni del tappeto erboso e le 3 protezioni del tappeto erboso alle 3 staffe delle protezioni del tappeto erboso.
Montate il portafustelle e le fustelle rimanenti ai bracci delle fustelle #1, #3, #4 e #6 con 12 bulloni (1/2" x 1-1/4").
Serrate i bulloni (1/2" x 1-1/4") a 102 N∙m.
Calibrate la macchina per la distanza delle fustelle dal terreno; fate riferimento a Esecuzione dell'applicazione per l'Impostazione dell'altezza dal terreno.
Ruotate la chiave di accensione in posizione di FUNZIONAMENTO.
Se le frecce non vengono visualizzate nella schermata della modalità TRASPORTO o della modalità ARIEGGIATURA, inserite il codice PIN per accedere ai menu protetti; fate riferimento a Accesso ai menu protetti.
Note: Viene visualizzata la schermata della modalità TRASPORTO o della modalità ARIEGGIATURA (Figura 45).

Premete due volte il pulsante Destra per visualizzare la schermata Calibrazione della distanza delle fustelle dal terreno (Figura 46).
Note: Premete il pulsante Sinistra per visualizzare la schermata della modalità TRASPORTO o della modalità ARIEGGIATURA.

Premete il pulsante Destra per visualizzare la schermata Impostazione della profondità dei fori (Figura 47).
Note: Premete il pulsante Sinistra per visualizzare la schermata Impostazione dell'altezza dal terreno.

Premete il pulsante Destra per visualizzare la schermata Impostazione della distanza tra i fori (Figura 48).
Note: Premete il pulsante Sinistra per visualizzare la schermata Impostazione della profondità dei fori.

Premete il pulsante Destra per visualizzare la schermata Impostazione del diametro delle fustelle (Figura 48).
Note: Premete il pulsante Sinistra per visualizzare la schermata Impostazione della distanza tra i fori.

Premete il pulsante Destra per visualizzare la schermata Impostazione della quantità delle fustelle (Figura 50).
Note: Premete il pulsante Sinistra per visualizzare la schermata Impostazione del diametro delle fustelle.

Note: ProCore 648s è progettato per offrire prestazioni di arieggiatura ottimali su una vasta varietà di tipi di erba e di terreno, condizioni agronomiche e stili di fustelle quando impostato su una profondità di 7,6 cm. Quando utilizzato con impostazioni di profondità inferiore, in particolare con profondità inferiori a 5 cm con fustelle più piccole, può causare alterazioni della superficie di entità maggiore.
Assicuratevi che la testa di carotaggio sia sollevata; fate riferimento a Sollevamento della testa di carotaggio.
Ruotate la chiave di accensione in posizione di FUNZIONAMENTO.

Premete il pulsante Destra fino a quando non viene visualizzata la schermata Impostazione della profondità dei fori (Figura 51 e Figura 52).
Regolate la profondità delle fustelle utilizzando i pulsanti Su e Giù (Figura 52) come segue:
Premete il pulsante Giù per ridurre la profondità dei fori.
Premete il pulsante Su per aumentare la profondità dei fori.

Premete il pulsante Destra o Sinistra per salvare l'impostazione e uscire dalla schermata di impostazione della profondità.
Ruotate la chiave di accensione in posizione di SPEGNIMENTO.
Note: Se, dopo aver effettuato la calibrazione dell'altezza dal suolo, quando effettuate l'arieggiatura alla profondità massima consentita (con fustelle di qualsiasi lunghezza) i bulloni delle protezioni per il tappeto erboso vengono trascinati sul tappeto erboso o entrano a contatto con esso, riducete la profondità di un livello (0,6 cm).
Note: Quando selezionate un tasso di spaziatura tra i fori, la macchina controlla la velocità di avanzamento per mantenere la spaziatura tra i fori.
Assicuratevi che la testa di carotaggio sia sollevata; fate riferimento a Sollevamento della testa di carotaggio.
Ruotate la chiave di accensione in posizione di FUNZIONAMENTO.

Premete il pulsante Destra fino a quando non viene visualizzata la schermata Impostazione della distanza tra i fori (Figura 53 e Figura 54).
Regolate la distanza tra i fori (Figura 54) come segue:
Premete il pulsante Giù per ridurre la distanza tra i fori.
Premete il pulsante Su per aumentare la distanza tra i fori.

Premete il pulsante Destra o Sinistra per salvare l'impostazione e uscire dalla schermata di impostazione della distanza.
Ruotate la chiave di accensione in posizione di SPEGNIMENTO.
Assicuratevi che la testa di carotaggio sia sollevata; fate riferimento a Sollevamento della testa di carotaggio.
Ruotate la chiave di accensione in posizione di FUNZIONAMENTO.

Premete il pulsante Destra fino a quando non viene visualizzata la schermata Impostazione del diametro delle fustelle (Figura 55 e Figura 56).
Regolate il diametro delle fustelle utilizzando i pulsanti Su e Giù (Figura 56) come segue:
Premete il pulsante Su per aumentare il diametro delle fustelle.
Premete il pulsante Giù per ridurre il diametro delle fustelle.

Premete il pulsante Destra o Sinistra per salvare l'impostazione e uscire dalla schermata di impostazione del diametro.
Ruotate la chiave di accensione in posizione di SPEGNIMENTO.
Assicuratevi che la testa di carotaggio sia sollevata; fate riferimento a Sollevamento della testa di carotaggio.
Ruotate la chiave di accensione in posizione di FUNZIONAMENTO.

Premete il pulsante Destra fino a quando non viene visualizzata la schermata Impostazione della quantità di fustelle (Figura 58).
Regolate la quantità di fustelle utilizzando i pulsanti Su e Giù (Figura 58) come segue:
Important: La quantità di fustelle è il numero di fustelle di 1 portafustelle.
Premete il pulsante Su per aumentare la quantità di fustelle.
Premete il pulsante Giù per ridurre la quantità di fustelle.

Premete il pulsante Destra o Sinistra per salvare l'impostazione e uscire dalla schermata di impostazione della quantità di fustelle.
Ruotate la chiave di accensione in posizione di SPEGNIMENTO.
| Cadenza di manutenzione | Procedura di manutenzione |
|---|---|
| Prima di ogni utilizzo o quotidianamente |
|
Important: Calibrate la distanza delle fustelle dal terreno ogni volta che cambiate tipo di fustelle o sostituite quelle usurate.
Assicuratevi che la testa di carotaggio sia sollevata.
Parcheggiate la macchina su un terreno pianeggiante, sollevate completamente e fissate la maniglia per inserire il freno di stazionamento, spegnete il motore, togliete la chiave e attendete che si fermino tutte le parti in movimento.
Rimuovete la copertura della testa di carotaggio; fate riferimento a Rimozione della copertura della testa di carotaggio.
Fate ruotare la puleggia della testa di carotaggio (Figura 59) fino a quando le fustelle più esterne non sono allineate in modo da essere le più vicine al terreno (Figura 60).
Important: Tenete le dita lontano dall'area in cui la cinghia si unisce alla e lascia la puleggia, così da evitare che vengano schiacciate.


Montate la copertura della testa di carotaggio; fate riferimento a Montaggio della copertura della testa di carotaggio.
Ruotate la chiave di accensione in posizione di FUNZIONAMENTO.
Note: Viene visualizzata la schermata della modalità TRASPORTO o della modalità ARIEGGIATURA (Figura 61).

Spostate la maniglia in modo da vedere le fustelle più esterne che avete posizionato a Preparazione della macchina.
Premete il pulsante Destra fino a quando non viene visualizzata la procedura guidata IMPOSTAZIONE DELL'ALTEZZA DAL TERRENO.
Alla schermata Impostazione dell'altezza dal terreno (Figura 62), premete uno qualsiasi dei pulsanti centrali.

Alla schermata PREMI OK PER AVVIARE L'IMPOSTAZIONE (Figura 63), premete il tasto Invio.

Note: Viene visualizzato il messaggio CALIBRAZIONE ATTIVATA e la testa di carotaggio si abbassa lentamente.
Important: Tenete la mano vicina all'InfoCenter.
Note: La testa di carotaggio si abbassa più lentamente se il fluido idraulico è freddo.
Quando una qualsiasi fustella tocca il terreno, premete il pulsante Invio all'interno della schermata Abbassamento testa in corso (Figura 64).
Note: Le fustelle devono solo toccare il terreno e non sollevare o scaricare parte del peso dalle ruote.Se la testa di carotaggio solleva la macchina, la macchina calibra in modo incorretto l'altezza dal terreno e ciò può causare una profondità dei fori incorretta e la presenza di ciuffi d'erba all'interno dei fori dell'arieggiatura.

Note: Viene visualizzato il messaggio CALIBRAZIONE COMPLETATA e la testa si solleva completamente.
Premete il pulsante Indietro per uscire dall'applicazione Impostazione dell'altezza dal terreno.
Il proprietario/operatore può impedire ed è responsabile di incidenti che potrebbero causare infortuni alle persone o danni alla proprietà.
Indossate abbigliamento consono, comprendente occhiali di protezione, pantaloni lunghi, scarpe robuste e antiscivolo e protezioni per l'udito. Legate i capelli lunghi, fissate l'abbigliamento largo e non indossate gioielli pendenti.
Non azionate la macchina se siete stanchi, malati o sotto l'influenza di alcol o farmaci.
Tenete gli astanti, bambini e animali domestici lontano dall’area di lavoro. Non permettete che bambini e ragazzi utilizzino la macchina. Consentite l’utilizzo della macchina solo a persone responsabili, formate, che abbiano familiarità con le istruzioni e che siano fisicamente idonei.
Non trasportate mai eventuali passeggeri sulla macchina.
Utilizzate la macchina solo in buone condizioni di visibilità per evitare buche o pericoli nascosti.
Tenete mani e piedi a distanza dalle fustelle.
Prima di fare marcia indietro, guardate indietro e in basso, assicurandovi che il percorso sia libero.
Arrestate la macchina, spegnete il motore, togliete la chiave, attendete che tutte le parti in movimento siano ferme e ispezionate le fustelle per escludere danni dopo aver colpito un oggetto o se si avvertono vibrazioni anomale sulla macchina. Effettuate tutte le riparazioni necessarie prima di riprendere le operazioni.
Mantenete sempre la pressione degli pneumatici corretta.
Riducete la velocità di trazione su strade e superfici accidentate.
Le pendenze sono la causa principale di incidenti dovuti a perdita di controllo e ribaltamenti, che possono provocare gravi infortuni o la morte. Siete responsabili del funzionamento sicuro in pendenza. L'utilizzo della macchina su qualsiasi pendenza richiede un livello superiore di attenzione.
Valutate le condizioni del sito, inclusa l’ispezione in loco, per stabilire se la macchina può essere azionata senza rischi in pendenza. Basatevi sempre su buon senso e giudizio quando effettuate questa ricognizione.
Consultate le istruzioni per l’utilizzo in pendenza della macchina elencate di seguito e verificate le condizioni d’uso al fine di determinare se è possibile azionare la macchina in quel particolare giorno e in quel sito. I cambiamenti del terreno possono determinare un cambiamento del funzionamento in pendenza della macchina.
Evitate di avviare, arrestare o sterzare con la macchina in pendenza. Evitate di cambiare bruscamente la velocità o la direzione. Sterzate in modo lento e graduale.
Non azionate la macchina in condizioni in cui trazione, sterzaggio o stabilità possono essere compromessi.
Rimuovete o segnalate le ostruzioni, come fossati, buche, solchi, dossi, rocce o altri pericoli nascosti. L'erba alta può nascondere delle ostruzioni. Il terreno accidentato può ribaltare la macchina.
Siate consapevoli del fatto che l'utilizzo della macchina su erba bagnata, trasversalmente su pendenze o in discesa può causare una perdita di trazione della macchina. La perdita di trazione delle ruote motrici può comportare uno slittamento e una perdita di capacità frenante e sterzante.
Prestate estrema cautela durante l'utilizzo della macchina in prossimità di scarpate, fossati, terrapieni, zone d'acqua pericolose o altri pericoli. La macchina potrebbe ribaltarsi improvvisamente nel caso in cui una ruota ne superi il bordo o se il bordo dovesse cedere. Individuate un'area di sicurezza tra la macchina ed eventuali pericoli.
Sollevate completamente la maniglia per inserire il freno di stazionamento (Figura 65).

Assicuratevi che il perno di fissaggio della maniglia passi attraverso il foro fino all'interno della piastra di arresto (Figura 66).
Se non si inserisce il freno di stazionamento, la macchina può spostarsi e causare delle lesioni personali a voi o agli astanti.
Assicuratevi che la maniglia sia completamente sollevata e fissata saldamente alla piastra di arresto.

Sollevate completamente e fissate la maniglia per inserire il freno di stazionamento; fate riferimento a Inserimento del freno di stazionamento.
Utilizzate lo starter (Figura 70) nel modo seguente:
Prima di avviare un motore a freddo, spostate il comando dello starter in posizione di ACCENSIONE.
Quando avviate un motore caldo o molto caldo, può non essere necessario l'avviamento con lo starter.

Spostate la leva dell'acceleratore in posizione di MASSIMA prima di avviare il motore a freddo.
Girate la chiave di accensione in posizione di avvio START. Rilasciate la chiave quando il motore si avvia.
Important: Non utilizzate il motorino di avviamento per più di 10 secondi alla volta. Se il motore non si avvia, attendete 30 secondi prima di riprovare, per consentire il raffreddamento. La mancata osservanza di queste istruzioni può fare bruciare il motorino di avviamento.
Una volta avviato il motore, spostate lo starter in posizione di SPEGNIMENTO. Se il motore esita o va in stallo, riportate indietro lo starter in posizione di ATTIVAZIONE per qualche secondo, quindi portate la leva dell'acceleratore nella posizione corrispondente alla velocità del motore desiderata.
Note: All'occorrenza, ripetete questo passaggio.
I bambini e gli astanti potrebbero riportare ferite se dovessero spostare o cercare di azionare la macchina quando è incustodita.
Ogni volta che lasciate incustodita la macchina, anche solo per qualche minuto, sollevate completamente e fissate la maniglia per inserire il freno di stazionamento, spegnete il motore e rimuovete la chiave.
Sollevate completamente e fissate la maniglia per inserire il freno di stazionamento; fate riferimento a Inserimento del freno di stazionamento.
Spostate la leva dell'acceleratore (Figura 71) in posizione di MINIMA.

Lasciate girare il motore alla minima per 60 secondi.
Girate la chiave di accensione in posizione di SPEGNIMENTO e toglietela.
Se trasportate o rimessate la macchina, chiudete la valvola di intercettazione del carburante (Figura 72).
Important: Chiudete la valvola di intercettazione del carburante prima di trasportare la macchina su un rimorchio o rimessarla. Sollevate completamente e fissate la maniglia per inserire il freno di stazionamento prima di trasportare la macchina. Rimuovete la chiave dall'interruttore di accensione per impedire alla pompa del carburante di attivarsi e scaricare la batteria.

Important: Camminate in avanti mentre utilizzate la macchina, non camminate rivolti all'indietro durante l'utilizzo della macchina.

Utilizzare il bloccaggio della velocità vi consente di guidare la macchina senza dover tenere premuto il comando di trazione.
Note: Non è possibile utilizzare il bloccaggio della velocità mentre conducete la macchina all'indietro.
Utilizzare il bloccaggio della velocità durante l'arieggiatura vi consente di continuare a guidare la macchina alla velocità di spaziatura tra i fori selezionata al termine di un passaggio di arieggiatura, girare la macchina e iniziare il nuovo passaggio di arieggiatura senza cambiare la posizione del comando di trazione.
Note: Il bloccaggio della velocità in modalità arieggiatura è attivo quando è impostato l'abbassamento ritardato della testa di carotaggio; il bloccaggio della velocità non è disponibile se è impostato l'abbassamento immediato.
Il bloccaggio della velocità di avanzamento funziona come il limitatore di velocità di un'automobile.
Premete l'interruttore trasporto/arieggiatura selezionando TRASPORTO (Figura 74).

Premete l’interruttore di bloccaggio del regime del motore portandolo in posizione di ATTIVAZIONE.
Guidate la macchina in marcia avanti alla velocità di avanzamento desiderata.
Premete l’interruttore delle luci di emergenza portandolo in posizione di INSERIMENTO.
Note: Il bloccaggio della velocità di avanzamento mantiene la velocità di avanzamento attuale. Potete rilasciare il comando di trazione.
Per disinserire il bloccaggio della velocità, effettuate una delle seguenti azioni:
Premete l’interruttore delle luci di emergenza portandolo in posizione di SPEGNIMENTO.
Ruotate all'indietro la parte superiore del comando di trazione per condurre la macchina all'indietro.
Rilasciate la barra di presenza dell'operatore.
Premete l'interruttore di arresto per presenza di dossi.
Note: Il bloccaggio della velocità di avanzamento non è disponibile quando si sta effettuando l'arieggiatura in modalità abbassamento immediato.
Premete l'interruttore trasporto/arieggiatura selezionando ARIEGGIATURA (Figura 75).

Premete l’interruttore di bloccaggio del regime del motore portandolo in posizione di ATTIVAZIONE.
Guidate la macchina in avanti e stringete la barra di arieggiatura.
Note: Si attiva il bloccaggio della velocità di avanzamento e la testa di carotaggio si abbassa.
Al termine del passaggio di arieggiatura, rilasciate la barra di arieggiatura.
Note: La testa di carotaggio si solleva, ma la macchina mantiene la velocità di avanzamento al tasso di spaziatura tra i fori dell'arieggiatura.
Per disinserire il bloccaggio della velocità, effettuate una delle seguenti azioni:
Premete l’interruttore delle luci di emergenza portandolo in posizione di SPEGNIMENTO.
Ruotate all'indietro la parte superiore del comando di trazione per condurre la macchina all'indietro.
Rilasciate la barra di presenza dell'operatore.
Premete l'interruttore di arresto per presenza di dossi.
Note: Utilizzate la modalità trasporto quando dovete raggiungere un'area di lavoro con la macchina.
Note: La macchina avanza a una velocità variabile ridotta ogni volta che l'interruttore trasporto/arieggiatura si trova sulla posizione ARIEGGIATURA.
Avviate il motore e spostate il comando dell'acceleratore in posizione di MASSIMA; fate riferimento a Avviamento del motore.
Abbassate la maniglia per rilasciare il freno di stazionamento; fate riferimento a Disinserimento del freno di stazionamento.
Premete il lato sinistro dell'interruttore trasporto/arieggiatura selezionando TRASPORTO (Figura 76).

Note: L'InfoCenter mostra l'icona TRASPORTO (Figura 77).

Guardate nella direzione in cui intendete procedere per assicurarvi che sia sgombra.
Stringete la maniglia destra o sinistra e la barra di presenza dell'operatore (Figura 76) e spingete la barra verso la maniglia.
Con il pollice, ruotate il comando di trazione destro o sinistro per guidare la macchina come indicato di seguito:
Ruotate in avanti la parte superiore del comando di trazione per condurre la macchina in avanti.
Ruotate all'indietro la parte superiore del comando di trazione per condurre la macchina all'indietro.
Note: Ruotando ulteriormente il comando di trazione, aumenterà la velocità di avanzamento della macchina.
Important: Per arrestare immediatamente la macchina premete l'interruttore di arresto per presenza di dossi (Figura 78).

Se state effettuando l'arieggiatura, rilasciate la barra di arieggiatura (Figura 79) per sollevare la testa di carotaggio; fate riferimento a Sollevamento della testa di carotaggio.

Rilasciate il comando di trazione e lasciatelo tornare in FOLLE.
Rilasciate la barra di presenza dell'operatore.
Sollevate completamente e fissate la maniglia per inserire il freno di stazionamento; fate riferimento a Inserimento del freno di stazionamento.
Note: La macchina avanza a una velocità variabile ridotta ogni volta che la testa di carotaggio è sollevata.
Avviate il motore e spostate il comando dell'acceleratore in posizione di MASSIMA; fate riferimento a Avviamento del motore.
Abbassate la maniglia per rilasciare il freno di stazionamento; fate riferimento a Disinserimento del freno di stazionamento.
Premete il lato destro dell'interruttore trasporto/arieggiatura selezionando ARIEGGIATURA (Figura 80).

L'InfoCenter mostra l'attuale profondità dei fori e spaziatura tra i fori (Figura 81).

Guardate nella direzione in cui intendete procedere per assicurarvi che sia sgombra.
Stringete la maniglia destra o sinistra e la barra di presenza dell'operatore (Figura 80) e spingete la barra verso la maniglia.
Con il pollice, ruotate la parte superiore del comando di trazione destro o sinistro per guidare la macchina in avanti.
Note: Durante l'arieggiatura, la macchina avanza a una velocità adeguata alla spaziatura tra i fori selezionata.
Se, mentre utilizzate il bloccaggio della velocità di avanzamento, rilasciate la barra di arieggiatura senza modificare la posizione del comando di trazione, la macchina mantiene la stessa velocità di avanzamento, come se fosse inserito il limitatore di velocità di un'automobile.
Guidare la macchina in retromarcia disinserisce il bloccaggio della velocità di avanzamento e fa sì che la macchina proceda a una velocità di avanzamento variabile.
Quando sollevate la testa di carotaggio per girare la macchina per un altro passaggio, potete incrementare la velocità di avanzamento spostando più in avanti il comando di trazione. Quando fate tornare il comando di trazione in FOLLE, la macchina rallenta raggiungendo la velocità di avanzamento necessaria in base alla spaziatura tra i fori dell'arieggiatura.
Quando effettuate l'arieggiatura in modalità abbassamento ritardato, utilizzate la ruota anteriore per individuare il punto di abbassamento.
Premete la parte superiore dell'interruttore per il controllo dell'abbassamento (Figura 82) selezionando ABBASSAMENTO RITARDATO.

Conducete la macchina in avanti; fate riferimento a Guida della macchina in modalità arieggiatura.
Quando le ruote anteriori raggiungono il perimetro dell'area di arieggiatura, stringete la barra di arieggiatura destra o sinistra (Figura 83).
Note: La testa di carotaggio si attiva e si abbassa mentre la macchina avanza sull'area di arieggiatura.

Quando lavorate in modalità abbassamento ritardato, utilizzate la ruota anteriore (Figura 84) per individuare il punto di sollevamento.

Per sollevare la testa di carotaggio, effettuate 1 delle seguenti azioni:
Quando la ruota anteriore raggiunge il perimetro dell'area di arieggiatura, rilasciate la barra di arieggiatura (Figura 85).
Note: La macchina ritarda il sollevamento della testa di carotaggio fino a quando questa non raggiunge il punto desiderato che avete individuato utilizzando la ruota anteriore e rilasciando la barra di arieggiatura.

Conducete la macchina all'indietro; fate riferimento a Guida della macchina in retromarcia.
Premete la parte inferiore dell'interruttore per il controllo dell'abbassamento (Figura 86) selezionando ABBASSAMENTO IMMEDIATO.
Note: La spia dell'interruttore si accende.

Conducete la macchina in avanti; fate riferimento a Guida della macchina in modalità arieggiatura.
Stringete la barra di arieggiatura destra o sinistra (Figura 87).
Note: La testa di carotaggio si abbassa immediatamente e inizia l'arieggiatura.

Per sollevare la testa di carotaggio, effettuate 1 delle seguenti azioni:
Rilasciate la barra di arieggiatura (Figura 88).
Note: La macchina solleva immediatamente la testa di carotaggio.

Conducete la macchina all'indietro; fate riferimento a Guida della macchina in retromarcia.
Se avete abbassato la testa di carotaggio, rilasciate la barra di arieggiatura (Figura 89).

Rilasciate il comando di trazione e lasciatelo tornare in FOLLE.
Mentre tenete premuta la barra di presenza dell'operatore contro la maniglia, ruotate lentamente all'indietro la parte superiore del comando di trazione (Figura 90).

Rilasciate il comando di trazione e lasciatelo tornare in FOLLE, quindi rilasciate la barra di presenza dell'operatore (Figura 91).

Allontanatevi dall'interruttore di arresto per presenza di dossi (Figura 92).
Note: Una molla presente all'interno dell'interruttore di arresto per presenza di dossi ne ripristina lo stato iniziale.

Stringete la maniglia destra o sinistra e la barra di presenza dell'operatore (Figura 93) e spingete la barra verso la maniglia.

Guidate la macchina, fate riferimento a Guida della macchina in modalità trasporto o a Guida della macchina in modalità arieggiatura.
Usate il marcalinee per allineare le file di arieggiatura (Figura 94).

La macchina impiega 2 contatori per tenere traccia dell'area su cui è stata effettuata l'arieggiatura e del volume di terreno spostato/carotaggio. Utilizzate le informazioni di tali contatori per creare una stima della quantità di topdressing da applicare sull'area sulla quale è stata effettuata l'arieggiatura.
Il contatore Area 1 non è protetto dal codice PIN e deve essere reimpostato dall'operatore della macchina.
Note: Se l'operatore tiene traccia del contatore Area 1 per ciascuna area di arieggiatura è possibile stimare la quantità di strato superficiale del terreno e i requisiti di erogazione per ciascuna area.
Il contatore Area 2 è protetto dal codice PIN e deve essere reimpostato dal supervisore o da un suo delegato.
L'area sottoposta ad arieggiatura viene mostrata in m2 (sistema metrico) o ft2 (sistema imperiale).
Il volume di terreno spostato/carotaggio viene mostrato in m3 (sistema metrico) o yd3 (sistema imperiale).
Quando vengono visualizzati i contatori del volume di terreno spostato/carotaggio, la macchina calcola il volume utilizzando il diametro delle fustelle e la quantità di fustelle che avete inserito nell'InfoCenter.
Important: Se i valori del diametro delle fustelle e/o della quantità di fustelle sono incorretti prima dell'arieggiatura dell'area, l'InfoCenter calcolerà e mostrerà valori incorretti relativi al volume di carotaggio per l'Area 1 e l'Area 2. Se i valori del diametro delle fustelle e/o della quantità di fustelle vengono modificati dopo l'arieggiatura, l'InfoCenter modificherà i valori visualizzati relativi al volume di carotaggio.
Parcheggiate la macchina su terreno pianeggiante.
Controllate che il motore sia in funzione o che la chiave di accensione sia in posizione di FUNZIONAMENTO.
All'interno dell'InfoCenter, raggiungete il MENU PRINCIPALE.
Premete il pulsante Giù fino a quando non viene selezionata l'opzione MANUTENZIONE, quindi premete il pulsante Invio (Figura 95).

All'interno della schermata MANUTENZIONE, premete il pulsante Giù fino a quando non viene selezionata l'opzione STATISTICHE, quindi premete il pulsante Invio (Figura 96).

Note: All'interno della schermata STATISTICHE viene visualizzato un contatore AREA.

All'interno della schermata STATISTICHE, premete il pulsante Giù fino a quando non viene selezionata l'opzione AREA 1 (Figura 98).

Prendete nota in un foglio di lavoro dell'area su cui è stata effettuata l'arieggiatura e del volume del terreno spostato/carotaggio; fate riferimento all'esempio seguente.
|
Data |
Campo (se ve n'è più di uno) |
Posizione |
Area arieggiatura |
Volume carotaggio |
Premete il pulsante Invio per passare alla schermata Reimposta area e volume.
All'interno della schermata REIMPOSTA AREA E VOLUME, premete il pulsante Invio.
Note: L'InfoCenter torna alla schermata delle statistiche e i contatori dell'area e del volume vengono riportati a 0.
Note: Se non reimpostate il contatore Area 1, i contatori dell'area e del volume continueranno ad accumulare dati.

All’occorrenza, ripetete i passaggi da 1 a 4.
Premete il pulsante Indietro per tornare al menu principale.
Note: La reimpostazione dei contatori AREA 2 non comporta la reimpostazione dei contatori AREA 1.
Inserite il codice PIN per accedere ai menu protetti; fate riferimento a Accesso ai menu protetti.
All'interno della schermata STATISTICHE, premete il pulsante Giù fino a quando non viene selezionata l'opzione AREA 2 (Figura 100).

Se necessario, prendete nota dei dati relativi all'area di arieggiatura e al volume del terreno spostato/carotaggio.
Premete il pulsante Invio per passare alla schermata Reimposta area e volume.
All'interno della schermata REIMPOSTA AREA E VOLUME, premete il pulsante Invio (Figura 101).
Note: L'InfoCenter torna alla schermata delle statistiche e i contatori dell'area e del volume vengono riportati a 0.
Note: Se non reimpostate il contatore Area 2, i contatori dell'area e del volume continueranno ad accumulare dati.

Premete il pulsante Indietro per tornare al menu principale.
Installate il fermo di servizio prima di eseguire interventi di manutenzione sulla testa di carotaggio o in caso di rimessaggio superiore a un paio di giorni.
Se la testa di carotaggio è sollevata e non fissate, può abbassarsi in modo imprevisto e ferire voi o gli astanti.
Ogni volta che revisionate la testa di carotaggio, inclusa la sostituzione di fustelle o protezioni per il tappeto erboso, utilizzate il fermo di servizio per fissare la testa di carotaggio in posizione sollevata.
Alzate la testa di carotaggio.
Parcheggiate la macchina su un terreno pianeggiante, sollevate completamente e fissate la maniglia per inserire il freno di stazionamento, spegnete il motore, togliete la chiave e attendete che si fermino tutte le parti in movimento.
Rimuovete la copertura della testa di carotaggio; fate riferimento a Rimozione della copertura della testa di carotaggio.
Rimuovete la coppiglia ad anello che fissa il fermo di servizio alla piastra laterale (Figura 102).

Ruotate il fermo di servizio all'indietro e allineatelo con il perno di supporto della testa di carotaggio.
Fissate il fermo al perno di supporto con la coppiglia ad anello.
Se necessario, montate la copertura della testa di carotaggio; fate riferimento a Montaggio della copertura della testa di carotaggio.
Parcheggiate la macchina su un terreno pianeggiante, sollevate completamente e fissate la maniglia per inserire il freno di stazionamento, spegnete il motore, togliete la chiave e attendete che si fermino tutte le parti in movimento.
Se è installata la copertura della testa di carotaggio, rimuovetela; fate riferimento a Rimozione della copertura della testa di carotaggio.
Rimuovete la coppiglia ad anello che fissa il fermo di servizio al perno di supporto della testa di carotaggio (Figura 103).

Ruotate verso il basso il fermo di servizio e allineatelo con il perno di supporto della piastra laterale.
Fissate il fermo al perno di supporto con la coppiglia ad anello.
Montate la copertura della testa di carotaggio; fate riferimento a Montaggio della copertura della testa di carotaggio.
Important: Sostituite una fustella danneggiata con una della stessa lunghezza. Fustelle di lunghezze diverse influenzano negativamente l'aspetto dei fori.
Fustelle di lunghezze diverse influenzano l'aspetto dei fori.
Fate riferimento a Installazione delle protezioni del tappeto erboso, dei portafustelle e delle fustelle per le illustrazioni.
Alzate la testa di carotaggio e bloccatela con il fermo di servizio.
Parcheggiate la macchina su un terreno pianeggiante, sollevate completamente e fissate la maniglia per inserire il freno di stazionamento, spegnete il motore, togliete la chiave e attendete che si fermino tutte le parti in movimento.
Allentate i bulloni dei portafustelle e togliete le fustelle danneggiate.
Inserite le nuove fustelle nel portafustelle.
Serrate i bulloni dei portafustelle a 40,6 N∙m.
Se necessario ripetete la procedura sugli altri bracci.
Utilizzate l'applicazione per la verifica dell'altezza dal terreno per verificare rapidamente la distanza attuale delle fustelle dal terreno.
L'applicazione abbassa la testa fino alla posizione già calibrata; una volta che la testa è in posizione potete misurare la distanza delle punte delle fustelle dal terreno.
Assicuratevi che la testa di carotaggio sia sollevata.
Parcheggiate la macchina su un terreno pianeggiante, sollevate completamente e fissate la maniglia per inserire il freno di stazionamento, spegnete il motore, togliete la chiave e attendete che si fermino tutte le parti in movimento.
Rimuovete la copertura della testa di carotaggio; fate riferimento a Rimozione della copertura della testa di carotaggio.
Fate ruotare la puleggia della testa di carotaggio (Figura 104) fino a quando le fustelle più esterne non sono allineate in modo da essere le più vicine al terreno.
Important: Tenete le dita lontano dall'area in cui la cinghia si unisce alla e lascia la puleggia, così da evitare che vengano schiacciate.


Montate la copertura della testa di carotaggio; fate riferimento a Montaggio della copertura della testa di carotaggio.
Inserite il codice PIN per accedere ai menu protetti; fate riferimento a Accesso ai menu protetti.
All'interno dell'InfoCenter, raggiungete il MENU PRINCIPALE.
Premete il pulsante Giù fino a quando non viene selezionata l'opzione MANUTENZIONE, quindi premete il pulsante Invio (Figura 105).

Premete il pulsante Giù dell'InfoCenter fino a raggiungere l'opzione ALTEZZA DAL TERRENO, quindi premete il pulsante Invio.
Premete il pulsante Giù dell'InfoCenter fino a raggiungere l'opzione VERIFICA CALIBRAZIONE, quindi premete il pulsante Invio.
Alla schermata Verifica dell'altezza dal terreno (Figura 106), premete il pulsante Invio.

Alla schermata La testa si abbasserà (Figura 107), premete il pulsante Invio.

Note: Viene visualizzato il messaggio Abbassamento testa in corso e la testa di carotaggio si abbassa.
Osservate le fustelle più esterne per individuare le seguenti condizioni che indicano una calibrazione non corretta.
Se le fustelle iniziano a penetrare nel terreno: premete il pulsante Invio (Figura 108) e avviate l'applicazione per l'IMPOSTAZIONE DELL'ALTEZZA DAL TERRENO; fate riferimento a Esecuzione dell'applicazione per l'Impostazione dell'altezza dal terreno.
Se le fustelle sono sollevate rispetto al terreno: premete il pulsante Invio e avviate l'applicazione per l'IMPOSTAZIONE DELL'ALTEZZA DAL TERRENO; fate riferimento a Esecuzione dell'applicazione per l'Impostazione dell'altezza dal terreno.

Se le fustelle più esterne toccano leggermente il terreno, premete il pulsante Invio per sollevare la testa di carotaggio.
La macchina trasferisce il peso dal trattore alla testa di carotaggio per mantenere la profondità dei fori in vari tipi di terreno. Tuttavia, se la struttura del terreno è soda e non permette di raggiungere la piena profondità di arieggiatura, può essere necessario un trasferimento di peso aggiuntivo sulla testa di carotaggio. La macchina è preimpostata in base a un trasferimento del peso normale. Per aumentare la pressione discendente delle molle di trasferimento del peso osservate la seguente procedura.
L'improvviso rilascio delle foglie delle molle a balestra può causare infortuni.
Fatevi aiutare da un'altra persona quando dovete regolare la molla di trasferimento del peso.
Parcheggiate la macchina su un terreno pianeggiante, sollevate completamente e fissate la maniglia per inserire il freno di stazionamento, spegnete il motore, togliete la chiave e attendete che si fermino tutte le parti in movimento.
Allentate il dado di bloccaggio flangiato anteriore e il bullone a testa tonda che fissano la piastra di tensione della molla alla staffa di supporto della testa di carotaggio (Figura 109).
Note: Non rimuovete il dado di bloccaggio né il bullone a testa tonda.

Rimuovete il dado di bloccaggio flangiato posteriore che fissa le staffe di tensione delle molle alla staffa di supporto.
Note: Non rimuovete il bullone a testa tonda.
Inserite un cricchetto da 1/2" o una barra idonea nel foro quadrato della foglia della piastra di tensione della molla (Figura 110).

Ruotate il cricchetto o la barra per ridurre la tensione del bullone a testa tonda posteriore e rimuovetelo dal foro superiore.
Note: Il foro superiore corrisponde alla posizione di trasferimento del peso normale.
Ruotate la piastra di tensione della molla fino a quando non è allineata con il foro inferiore della staffa di supporto, quindi inserite il bullone a testa tonda nei fori della piastra e della staffa.
Note: Il foro inferiore corrisponde alla posizione di trasferimento del peso maggiore. Girando verso l'alto le foglie delle molle a balestra aumenterete il trasferimento del peso.
Fissate il bullone a testa tonda alla staffa di supporto e alla piastra di tensione della molla utilizzando il dado di bloccaggio flangiato.
Serrate i dadi di bloccaggio a una coppia di 37–45 N∙m.
Per una qualità dei fori e prestazioni della macchina ottimali, effettuate l'arieggiatura utilizzando il sistema automatico di adattamento al suolo.
Utilizzate il sistema manuale di adattamento al suolo solamente nel caso in cui il sensore di posizionamento delle fustelle sia danneggiato.
Parcheggiate la macchina su un terreno pianeggiante, sollevate completamente e fissate la maniglia per inserire il freno di stazionamento, spegnete il motore, togliete la chiave e attendete che si fermino tutte le parti in movimento.
Rimuovete la copertura della testa di carotaggio; fate riferimento a Rimozione della copertura della testa di carotaggio.
Rimuovete la coppiglia ad anello che fissa il perno e i distanziali di arresto della profondità alla staffa di arresto (Figura 111 e Figura 112).


Mettete i distanziali sopra o sotto la staffa di arresto per regolare la profondità di carotaggio.
Quando tutti i distanziali si trovano sulla parte superiore della staffa di arresto, la profondità è impostata a 10,7 cm.
I distanziali alti corrispondono a incrementi di 19 mm.
I distanziali bassi corrispondono a incrementi di 9,5 mm.
Note: È necessario installare tutti i distanziali, a prescindere dalla loro posizione.
Montate il perno di arresto della profondità e i distanziali sulla staffa di arresto con la coppiglia ad anello.
Ripetete i passaggi da 3 a 5 sull'altro lato della macchina.
Important: Assicuratevi che la posizione dei distanziali sopra e sotto alle staffe di arresto destra e sinistra sia identica.
Montate la copertura della testa di carotaggio; fate riferimento a Montaggio della copertura della testa di carotaggio.
Note: Se effettuate l'arieggiatura in modalità manuale, dovete impostare l'InfoCenter per il sistema manuale di adattamento al suolo ogni volta che avviate il motore.
Girate la chiave di accensione in posizione di FUNZIONAMENTO.
Note: Non avviate il motore.
Inserite il codice PIN per accedere ai menu protetti; fate riferimento a Accesso ai menu protetti.
All'interno dell'InfoCenter, raggiungete il MENU PRINCIPALE.
Premete il pulsante Giù fino a quando non viene selezionata l'opzione IMPOSTAZIONI MACCHINA, quindi premete il pulsante Invio.
Premete il pulsante Giù fino a quando non viene selezionata l'opzione ARIEGGIATURA MANUALE, quindi premete il pulsante Invio (Figura 113) per impostare l'arieggiatura manuale su ATTIVA.

Avviate il motore.
Effettuate l'Arieggiatura in modalità abbassamento ritardato o l'Arieggiatura in modalità abbassamento immediato.
Note: Quando spegnete il motore e lo avviate, la macchina torna alla modalità predefinita del sistema automatico di adattamento al suolo.
Parcheggiate la macchina su un terreno pianeggiante, sollevate completamente e fissate la maniglia per inserire il freno di stazionamento, spegnete il motore, togliete la chiave e attendete che si fermino tutte le parti in movimento.
Rimuovete la copertura della testa di carotaggio; fate riferimento a Rimozione della copertura della testa di carotaggio.
Rimuovete la coppiglia ad anello che fissa il perno e i distanziali di arresto della profondità alla staffa di arresto (Figura 114).


Posizionate tutti i distanziali sopra alla staffa di arresto.
Montate il perno di arresto della profondità e i distanziali sulla staffa di arresto con la coppiglia ad anello.
Note: È necessario riporre tutti i distanziali.
Ripetete i passaggi da 3 a 5 sull'altro lato della macchina.
Montate la copertura della testa di carotaggio; fate riferimento a Montaggio della copertura della testa di carotaggio.
Una volta regolato il trasferimento del peso è possibile effettuare l'arieggiatura di manti erbosi con terreno tanto duro da causare il sollevamento delle ruote posteriori. In tal caso lo spazio tra i fori può diventare irregolare.
Se le ruote posteriori si sollevano è possibile aggiungere delle piastre di contrappeso facoltative sul tubo dell'assale posteriore del telaio. Ciascuna piastra di contrappeso aggiunge 28,5 kg alla macchina. È possibile aggiungere fino a 2 piastre. Fate riferimento al Catalogo parti della macchina per i numeri delle parti dei contrappesi e della bulloneria.
Attrezzi richiesti: bussola e chiave a bussola da 15 mm
Important: Non azionate il motore con la valvola di bypass aperta per oltre 10-15 secondi.
Se possibile, parcheggiate la macchina su terreno pianeggiante.
Sollevate completamente e fissate la maniglia per inserire il freno di stazionamento, spegnete il motore, togliete la chiave e attendete che si fermino tutte le parti in movimento.
Rimuovete i 2 bulloni a testa flangiata che fissano il cestello di raccolta alla staffa del cestello (Figura 115).

Individuate la copertura della vite della valvola di bypass tra il motore e la pompa idraulica, come mostrato nella Figura 116).

Utilizzate una bussola e una chiave a bussola da 15 mm per ruotare la valvola di bypass in senso antiorario di 1 giro e 1/2.
Important: Non ruotate la valvola di bypass di più di 1 giro e 1/2.
Se trainate la macchina, trainatela utilizzando il gancio anteriore (Figura 117).
Important: Non spingete/trainate mai la macchina per oltre 30,5 m o a una velocità superiore a 1,6 km/h dal momento che i componenti idraulici potrebbero subire danni.

Abbassate la maniglia per disinserire il freno di stazionamento prima di spingere/trainare la macchina.
Important: È necessario abbassare la maniglia per disinserire il freno di stazionamento prima di spostare la macchina.
Important: È necessario chiudere la valvola di bypass per guidare la macchina. Non provate ad azionare il sistema di trazione con la valvola di bypass aperta.
Individuate la vite della valvola di bypass tra il motore e la pompa idraulica.
Note: La posizione della copertura della valvola di bypass è mostrata nella Figura 118.

Utilizzate una bussola e una chiave a bussola da 15 mm per ruotare la valvola di bypass in senso orario di 1 giro e 1/2.
Note: Non serrate eccessivamente la vite della valvola di bypass.
Utilizzate una chiave da 15 mm per installare la copertura della valvola di bypass sulla pompa idraulica.
Montate il cestello di raccolta sulla staffa del cestello utilizzando i 2 bulloni a testa flangiata.
Se il motore si arresta quando la testa di carotaggio si abbassa e le fustelle entrano in contatto con il suolo e non siete in grado di riavviare il motore, seguite i passaggi descritti in Sollevamento della testa di carotaggio utilizzando il motorino di avviamento o in Rimozione dei portafustelle dai bracci del gruppo di pressione.
Girate la chiave in posizione di FUNZIONAMENTO.
All'interno dell'InfoCenter, raggiungete il MENU PRINCIPALE.
Premete il pulsante Giù fino a quando non viene selezionata l'opzione MANUTENZIONE, quindi premete il pulsante Invio (Figura 119).

Premete il pulsante Giù fino a quando non viene selezionata l'opzione SOLLEVAMENTO MANUTENZIONE, quindi premete il pulsante Invio (Figura 120).
Note: L'opzione Sollevamento manutenzione passa a ATTIVA.

Girate la chiave in posizione di AVVIAMENTO, quindi attivate il motorino di avviamento per 10 secondi.
Important: Non utilizzate il motorino di avviamento per più di 10 secondi alla volta. Se le fustelle non si sollevano dal terreno, attendete 30 secondi prima di riprovare, per consentire il raffreddamento. La mancata osservanza di queste istruzioni può fare bruciare il motorino di avviamento.
Note: La testa di carotaggio solleva le fustelle dal terreno.
Important: Attendete che le fustelle si sollevino completamente dal terreno prima di spostare la macchina.
Aprite la valvola di bypass; fate riferimento a Aggiramento della pompa idraulica e spostamento della macchina.
Trainate o spingete la macchina in un luogo adiacente per continuare la manutenzione, o caricatela su un rimorchio.
Important: Non spingete/trainate la macchina per oltre 30,5 m e a una velocità superiore a 1,6 km/h dal momento che potrebbero verificarsi danni idraulici.
Togliete i portafustelle dai bracci del gruppo di pressione.
Aprite la valvola di bypass; fate riferimento a Aggiramento della pompa idraulica e spostamento della macchina.
Trainate o spingete la macchina in un luogo adiacente per continuare la manutenzione, o caricatela su un rimorchio.
Important: Non spingete/trainate la macchina per oltre 30,5 m e a una velocità superiore a 1,6 km/h dal momento che potrebbero verificarsi danni idraulici.
In fase di arieggiatura eseguite curve molto graduali. Non eseguite mai curve strette quando è innestata la testa di carotaggio. Programmate il percorso di arieggiatura prima di abbassare l'arieggiatore.
Tenete sempre conto di ciò che si trova in avanti, in direzione della marcia avanti. Evitate di effettuare l'arieggiatura in prossimità di edifici, recinzioni e altre attrezzature.
Guardate spesso dietro di voi per accertarvi che la macchina funzioni correttamente e mantenga l'allineamento con la passata precedente.
Sgomberate sempre la zona di lavoro da parti danneggiate della macchina, come fustelle spezzate ecc., per impedire che vengano raccolte da tosaerba o da altre attrezzature per la manutenzione dei tappeti erbosi.
Sostituite le fustelle spezzate, ispezionate e riparate i danni delle fustelle utilizzabili. Riparate eventuali danni alla macchina prima di iniziare ad utilizzarla.
In fase di aerazione con meno della lunghezza totale della macchina, le fustelle possono essere rimosse, ma le teste per fustelle devono restare installate sui bracci del gruppo pressione per garantire il corretto equilibrio e funzionamento della macchina.
Questa macchina arieggia più in profondità della maggior parte degli arieggiatori per green. Sui green e i tee realizzati con il suolo nativo, le fustelle cave più lunghe e più profonde possono avere difficoltà ad espellere le carote complete. Ciò è dovuto al suolo nativo più duro che aderisce in fondo alla fustella. Le fustelle del produttore ad espulsione laterale per green e tee rimangono più pulite e riducono il tempo necessario per la pulizia delle fustelle. Tale condizione verrà poi eliminata con programmi di arieggiatura e topdressing continuati.
Questa macchina è stata progettata per offrire la massima profondità possibile. Tuttavia, in alcune condizioni del tappeto erboso, le protezioni del tappeto erboso e/o i bulloni delle protezioni del tappeto erboso possono causare danni mentre si effettua l'arieggiatura con l'impostazione di profondità massima. Se, dopo aver effettuato la calibrazione dell'altezza dal suolo, quando effettuate l'arieggiatura alla profondità massima consentita (con fustelle di qualsiasi lunghezza) i bulloni delle protezioni per il tappeto erboso vengono trascinati sul tappeto erboso o entrano a contatto con esso, riducete la profondità di un livello (0,6 cm).
Se il terreno è troppo sodo per ottenere la profondità di carotaggio desiderata, la testa di carotaggio può assumere un ritmo rimbalzante. Questo è causato dal terreno compatto che le fustelle cercano di penetrare. Correggete questa condizione tentando quanto segue:
Non eseguite l'arieggiatura se il terreno è troppo duro o arido. Otterrete i migliori risultati di arieggiatura dopo la pioggia o il lavaggio del tappeto erboso il giorno precedente.
se usate la testa a quattro fustelle cambiatela con una a tre fustelle o riducete il numero di fustelle per braccio del gruppo di pressione; cercate di mantenere una configurazione simmetrica delle fustelle per caricare in modo uniforme i bracci del gruppo di pressione;
Se il terreno è sodo e compatto, riducete la penetrazione dell'arieggiatore (impostazione della profondità), pulite le carote, irrigate il tappeto erboso e arieggiate nuovamente a una penetrazione più profonda.
L'arieggiatura di terreni costruiti su terreno di sottofondo duro (terra o sabbia sopra terreno roccioso) può produrre fori di qualità indesiderata. Ciò si verifica quando la profondità di arieggiatura è superiore a quella dello strato di terreno superiore e le fustelle non possono penetrare il terreno di sottofondo perché è troppo sodo. Quando le fustelle vengono a contatto con questo terreno di sottofondo più sodo, l'arieggiatore può sollevarsi e allungare la parte superiore dei fori. Riducete la profondità di arieggiatura quanto basta per evitare la penetrazione nel duro terreno di sottofondo.
La qualità dell'ingresso dei fori si sta deteriorando se il foro presenta delle scanalature (risulta tirato verso l'esterno).
Se la qualità dell'ingresso dei fori si sta deteriorando, verificate la calibrazione della distanza delle fustelle dal terreno; fate riferimento a Verifica della calibrazione della distanza delle fustelle dal terreno.
A causa del design a doppia fila, la testa di carotaggio delle mini fustelle richiede una distanza tra i fori impostata a 6,3 cm. La velocità di trasferimento è fondamentale per mantenere l'aspetto di 3,2 cm tra i fori. Fate riferimento a Impostazione della distanza tra i fori se la distanza tra i vostri fori richiede una piccola modifica.
La struttura delle radici del tappeto erboso è importante quando si usa la testa per fustelle mini o le fustelle piene più grandi per non strappare le radici e causare danni al tappeto erboso. Se i 2 bracci centrali iniziano a sollevare il tappeto erboso o i danni alla zona delle radici sono eccessivi, procedete nel modo seguente:
Aumentate lo spazio tra i fori
Riducete le dimensioni delle fustelle
Diminuire la profondità delle fustelle
Togliete alcune fustelle.
L'azione di sollevamento creata da una fustella piena quando viene estratta dal tappeto erboso può causare danni al tappeto stesso. Se la densità o il diametro delle fustelle sono eccessivi, tale sollevamento può strappare le radici.
In fase di aerazione con fustelle piene più lunghe (3/8" x 4" di lunghezza) o fustelle aghiformi, la parte anteriore dei fori può diventare scanalata o a ciuffo. Per ottenere nuovamente una qualità dei fori eccellente con questa configurazione, provate a effettuare i seguenti passaggi:
Calibrate la distanza delle fustelle dal terreno; fate riferimento a Calibrazione della distanza delle fustelle dal terreno.
Riducete la velocità minima superiore del motore a 2800-2900 giri/min.
Note: A causa dell'aumento e riduzione della trazione e della velocità delle teste di carotaggio insieme alla velocità del motore, la distanza tra i fori non subisce modifiche.
Se la riduzione della velocità del motore migliora la qualità dei fori per le fustelle piene più lunghe o le fustelle aghiformi, regolate l'ammortizzatore Roto-Link.
Note: Nella maggioranza delle condizioni, l'impostazione di fabbrica offre i risultati migliori.
Se la parte anteriore dei fori è scanalata o a ciuffo, un'impostazione più rigida del Roto-Link aiuta a contrastare la pressione dei fori e a migliorare la qualità degli stessi.
Se la parte posteriore dei fori è scanalata o a ciuffo, un'impostazione meno rigida del Roto-Link aiuta a migliorare la qualità dei fori.
Note: È necessario invertire la posizione dell'ammortizzatore Roto-Link se tornate nuovamente a utilizzare fustelle di carotaggio o qualsiasi tipo di fustelle mini.
Parcheggiate la macchina su un terreno pianeggiante, sollevate completamente e fissate la maniglia per inserire il freno di stazionamento, spegnete il motore, togliete la chiave e attendete che si fermino tutte le parti in movimento.
Rimuovete la copertura della testa di carotaggio; fate riferimento a Rimozione della copertura della testa di carotaggio.
Fissate la testa di carotaggio con il fermo di servizio; fate riferimento a Supporto della testa di carotaggio con il fermo di servizio.
Note: Per impostazione di fabbrica, è posizionato 1 distanziale Roto-Link sull'albero dell'ammortizzatore Roto-Link e 1 distanziale è in posizione di riposizione per ciascun braccio del gruppo di pressione.
Note: Regolare gli ammortizzatori Roto-Link vi consente di utilizzare la macchina alla velocità massima del motore (3400 giri/min), ma potrebbe essere necessario effettuare l'arieggiatura a velocità del motore più ridotte per una migliore qualità dei fori.
Rimuovete i 2 dadi di bloccaggio che fissano l'albero dell'ammortizzatore Roto-Link al telaio posteriore della macchina (Figura 121).

Rimuovete il distanziale (se riposto) e le rondelle ovali indurite.
Ruotate la connessione dell'ammortizzatore e l'albero dell'ammortizzatore verso il basso (Figura 122).

Posizionate il distanziale Roto-Link per correggere le seguenti imperfezioni dei fori:
Note: Ciascun distanziale equivale a 12,7 mm. Il distanziale paraurti inferiore deve rimanere montato sull'albero dell'ammortizzatore.
Se la parte anteriore dei fori è scanalata o a ciuffo, posizionate i distanziali sopra al telaio posteriore, in posizione di rimessaggio.
Se la parte posteriore dei fori è scanalata o a ciuffo, posizionate i distanziali sopra al telaio posteriore, su ciascun lato dell'albero dell'ammortizzatore Roto-Link.
Ruotate la connessione dell'ammortizzatore e l'albero dell'ammortizzatore verso l'alto, quindi inserite gli spinotti nei fori del telaio posteriore della macchina.
Fissate l'albero dell'ammortizzatore e i distanziali al telaio posteriore con le rondelle ovali indurite e i dadi di bloccaggio (Figura 123).

Serrate i dadi di bloccaggio flangiati a una coppia di 47–61 N∙m.
Ripetete i passaggi da 1 a 7 per i successivi 2 bracci del gruppo di pressione.
Riponete il fermo di servizio; fate riferimento a Riporre il fermo di servizio.
Montate la copertura della testa di carotaggio; fate riferimento a Montaggio della copertura della testa di carotaggio.
Seguite la procedura per la calibrazione della distanza delle fustelle dal terreno; fate riferimento a Calibrazione della distanza delle fustelle dal terreno.
Portate la macchina in un'area di prova ed effettuate l'arieggiatura del terreno per valutare la qualità dei fori.
Se la qualità dei fori è migliorata, ripetete i passaggi elencati in Preparazione della macchina, Regolazione degli ammortizzatori Roto-Link e Montaggio della copertura della testa di carotaggio per regolare gli ammortizzatori Roto-Link degli altri 3 bracci del gruppo di pressione.
Parcheggiate la macchina su un terreno pianeggiante, sollevate completamente e fissate la maniglia per inserire il freno di stazionamento, spegnete il motore, togliete la chiave e attendete che si fermino tutte le parti in movimento.
Abbassate la testa di carotaggio o fissatela con il fermo di servizio quando non utilizzate la macchina.
Mantenete tutte le parti della macchina in buone condizioni operative e la bulloneria ben serrata.
Sostituite tutti gli adesivi usurati, danneggiati o mancanti.
| Cadenza di manutenzione | Procedura di manutenzione |
|---|---|
| Prima di ogni utilizzo o quotidianamente |
|
Important: Non utilizzate acqua salmastra o depurata per pulire la macchina.
Important: Non utilizzate lance ad alta pressione.
Parcheggiate la macchina su un terreno pianeggiante, sollevate completamente e fissate la maniglia per inserire il freno di stazionamento, spegnete il motore, togliete la chiave e attendete che si fermino tutte le parti in movimento.
Lavate accuratamente la macchina.
Utilizzate una canna da giardinaggio senza ugello per evitare di forzare l'acqua oltre le tenute e contaminare il grasso dei cuscinetti.
Utilizzate una spazzola per rimuovere il materiale solidificato.
Lavate i carter con un detersivo neutro.
Dopo la pulizia, applicate periodicamente uno strato di cera automatica per mantenere la finitura lucida della copertura.
Ispezionate la macchina per escludere danni, perdite d'olio e usura di componenti e fustelle.
Togliete le fustelle, pulitele e lubrificatele. Spruzzate leggermente dell'olio nebulizzato sui cuscinetti delle teste di carotaggio (gomito e connessioni dell'ammortizzatore).
Important: Fissate la testa di carotaggio con il fermo di servizio se rimessate la macchina per più di un paio di giorni.
Sono presenti ganci di ancoraggio situati nella parte anteriore e posteriore della macchina (Figura 124, Figura 125 e Figura 126).
Note: Utilizzate cinghie con la classificazione adeguata e dotati di approvazione DOT per fissare la macchina; fate riferimento a Specifiche per il peso della macchina.



Non guidate la macchina su strade o superstrade se non avete le luci di direzione, fari, catarifrangenti o un cartello di veicolo lento; ciò è pericoloso e può causare incidenti e ferite.
Non azionate la macchina su strade pubbliche o superstrade.
Important: Utilizzate rampe di larghezza massima per caricare la macchina su un rimorchio o un autocarro.
Caricate la macchina sul rimorchio o l'autocarro (testa di carotaggio avanti - preferibile).
Sollevate completamente e fissate la maniglia per inserire il freno di stazionamento, spegnete il motore, togliete la chiave e attendete che si fermino tutte le parti in movimento.
Fissate la testa di carotaggio con il fermo di servizio; fate riferimento a Supporto della testa di carotaggio con il fermo di servizio.
Chiudete la valvola di intercettazione del carburante; fate riferimento a Valvola di intercettazione del carburante.
Nei punti di ancoraggio, fissate la macchina al rimorchio o all'autocarro con cavi, catene o cinghie; fate riferimento a Punti di ancoraggio.
| Peso | 745 kg o 829 kg con 2 pesi opzionali |
| Larghezza | 130 cm minimo |
| Lunghezza | 267 cm minimo |
| Angolo di rampa | Angolazione massima di 3,5/12 (16°) |
| Direzione del carico | Testa di carotaggio in avanti (direzione preferita) |
| Capacità di traino del veicolo | Superiore al peso lordo del rimorchio (GTW) |
Note: Scaricate una copia gratuita dello schema elettrico o idraulico visitando il sito www.Toro.com e cercando la vostra macchina dal link Manuali sulla home page.
Note: Per ulteriori interventi di manutenzione si rimanda al manuale d'uso del motore.
Note: Stabilite i lati sinistro e destro della macchina dalla normale posizione di guida.
Parcheggiate la macchina su un terreno pianeggiante, sollevate completamente e fissate la maniglia per inserire il freno di stazionamento, spegnete il motore, togliete la chiave e attendete che si fermino tutte le parti in movimento. Lasciate raffreddare la macchina prima di eseguire interventi di riparazione, manutenzione, pulizia o di rimessarla.
Eseguite solamente gli interventi di manutenzione indicati in questo manuale. Qualora la macchina richieda interventi di assistenza o di riparazione importanti, rivolgetevi a un distributore Toro autorizzato.
Accertatevi che la macchina si trovi in condizioni operative sicure serrando dadi, bulloni e viti.
Se possibile, non effettuate la manutenzione mentre il motore è in funzione. Tenetevi a distanza dalle parti in movimento.
Scaricate con cautela la pressione dai componenti che hanno accumulato energia.
Controllate quotidianamente i bulloni di montaggio delle fustelle per accertarvi che siano serrati come da specifiche.
Al termine degli interventi di manutenzione o regolazione sulla macchina, assicuratevi che tutte le protezioni siano state montate e che il cofano sia ben chiuso.
| Cadenza di manutenzione | Procedura di manutenzione |
|---|---|
| Dopo le prime 8 ore |
|
| Dopo le prime 50 ore |
|
| Prima di ogni utilizzo o quotidianamente |
|
| Ogni 25 ore |
|
| Ogni 50 ore |
|
| Ogni 100 ore |
|
| Ogni 200 ore |
|
| Ogni 250 ore |
|
| Ogni 400 ore |
|
| Ogni 500 ore |
|
| Prima del rimessaggio |
|
| Ogni anno |
|
Important: Per ulteriori interventi di manutenzione si rimanda al manuale d'uso del motore.
Fotocopiate questa pagina e utilizzatela quando opportuno.
| Punto di verifica per la manutenzione | Per la settimana di: | ||||||
|---|---|---|---|---|---|---|---|
| Lun | Mar | Mer | Gio | Ven | Sab | Dom | |
| Verificate il funzionamento del sistema di microinterruttori di sicurezza. | |||||||
| Verificate il funzionamento del freno di stazionamento. | |||||||
| Controllate il livello dell'olio motore. | |||||||
| Controllate il livello del carburante. | |||||||
| Revisionate il filtro dell'aria. | |||||||
| Verificate che non vi siano detriti sul motore. | |||||||
| Controllate eventuali rumori insoliti prodotti dal motore. | |||||||
| Controllate eventuali rumori anomali di funzionamento. | |||||||
| Controllate il livello del fluido idraulico. | |||||||
| Verificate che i tubi idraulici flessibili non siano danneggiati. | |||||||
| Verificate che non ci siano perdite di liquido. | |||||||
| Verificate il funzionamento degli strumenti. | |||||||
| Controllate le condizioni delle fustelle. | |||||||
| Ritoccate la vernice danneggiata. | |||||||
Important: Per ulteriori interventi di manutenzione si rimanda al manuale d'uso del motore.
| Ispezione effettuata da: | ||
| N. | Data | Informazioni |
| 1 | ||
| 2 | ||
| 3 | ||
| 4 | ||
| 5 | ||
| 6 | ||
| 7 | ||
| 8 | ||
Se lasciate la chiave nell'interruttore di accensione, qualcuno potrebbe accidentalmente avviare il motore e ferire gravemente voi od altre persone.
Parcheggiate la macchina su un terreno pianeggiante, sollevate completamente e fissate la maniglia per inserire il freno di stazionamento, spegnete il motore, togliete la chiave e attendete che si fermino tutte le parti in movimento.
Important: Gli elementi di fissaggio presenti sui coperchi di questa macchina sono progettati in modo tale che rimangano agganciati ai coperchi dopo la loro rimozione. Allentate di alcuni giri tutti gli elementi di fissaggio su ogni coperchio, così che il coperchio risulti mobile ma ancora agganciato, quindi allentate completamente gli elementi di fissaggio fino a liberare del tutto il coperchio. Questa procedura vi impedirà di staccare accidentalmente del tutto i bulloni dagli elementi di fissaggio.
Parcheggiate la macchina su terreno pianeggiante.
Sollevate completamente e fissate la maniglia per inserire il freno di stazionamento; fate riferimento a Inserimento del freno di stazionamento.
Spegnete il motore, togliete la chiave e attendete che tutte le parti in movimento si arrestino prima di abbandonare la macchina; fate riferimento a Spegnimento del motore.
Lasciate raffreddare la macchina.
Se la macchina non è correttamente supportata da blocchi o cavalletti metallici, può spostarsi o cadere, e causare infortuni.
In sede di sostituzione di accessori, pneumatici e per altri interventi, usate blocchi, paranchi e cavalletti idonei.
Assicuratevi che la macchina sia parcheggiata su una superficie solida e piana, come un pavimento in calcestruzzo.
Prima di sollevare la macchina togliete tutti gli accessori che possano interferire con il sollevamento sicuro e corretto della macchina.
Mettete sempre delle zeppe o dei blocchi sotto le ruote. Sostenete la macchina su cavalletti metallici o su blocchi di legno duro.
Preparate la macchina per la manutenzione; fate riferimento a Preparazione della macchina per la manutenzione.
Posizionate delle zeppe sotto gli pneumatici posteriori per evitare che la macchina si sposti.
Important: Per evitare danni al motore delle ruote, non utilizzate il motore delle ruote anteriori come punto di sollevamento.
Collocate accuratamente il cavalletto sotto il braccio anteriore di supporto delle ruote (Figura 127).

Sollevate da terra la parte anteriore della macchina
Collocate i cavalletti metallici o dei blocchi di legno duro sotto la parte anteriore del telaio, per sostenere la macchina.
Preparate la macchina per la manutenzione; fate riferimento a Preparazione della macchina per la manutenzione.
Mettete una zeppa sotto il pneumatico anteriore per impedire che la macchina si sposti.
Important: Per prevenire danni al motore delle ruote, non usate il motore della ruota posteriore come punto di sollevamento.
Collocate il cavalletto metallico con sicurezza sotto la piastra del telaio, appena oltre la ruota posteriore (Figura 128).

Note: Se disponibile, utilizzate un paranco per sollevare la parte posteriore della macchina. Come punti di attacco per il sollevamento utilizzate i ganci a occhiello nelle sedi dei cuscinetti della testa di carotaggio (Figura 129).

Sollevate da terra (con un cric o un paranco) la parte posteriore della macchina.
Collocate i cavalletti metallici o dei blocchi di legno duro sotto il telaio, per sostenere la macchina.
Allineate la staffa di montaggio del copricinghia con la staffa di supporto del copricinghia del telaio della macchina (Figura 133).

Abbassate il copricinghia (Figura 134).

Abbassate completamente la maniglia del fermo per fissare il copricinghia (Figura 135).

Se la macchina presenta un cordino di fissaggio del copricinghia CE, avvitate il bullone del cordino nel foro del copricinghia e serrate il bullone (Figura 136).


Se la macchina presenta dispositivi di chiusura CE, allentate il bullone della piastra di bloccaggio fino a quando la piastra di bloccaggio non libera la fessura sul lato della copertura della testa di carotaggio (Figura 138).

Ruotate la piastra di bloccaggio per liberare la fessura (Figura 138).
Ripetete i passaggi 1 e 2 sull’altro lato della copertura.
Sganciate la copertura della testa di carotaggio agendo sui 4 fermi (Figura 137 e Figura 139).

Sollevate la copertura della testa di carotaggio dalla macchina (Figura 140).

Allineate la copertura della testa di carotaggio alla macchina, come illustrato nella Figura 141.

Agganciate la copertura della testa di carotaggio agendo sui 4 fermi (Figura 142).
Se la macchina presenta dispositivi di chiusura CE, ruotate la piastra di bloccaggio fino a quando non si allinea con la fessura sul lato della copertura della testa di carotaggio (Figura 143).



Serrate il bullone della piastra di bloccaggio (Figura 143).
Ripetete i passaggi 3 e 4 sull’altro lato della copertura.
| Cadenza di manutenzione | Procedura di manutenzione |
|---|---|
| Ogni 500 ore |
|
| Ogni anno |
|
Sulla macchina non vi sono raccordi da lubrificare.
Important: È raro che i cuscinetti accusino avarie a causa di difetti di materiale o lavorazione. La causa più comune di avarie è l'umidità e la contaminazione che penetrano oltre le tenute di protezione. I cuscinetti ingrassati fanno affidamento su una manutenzione regolare per eliminare i residui dannosi dalla zona dei cuscinetti. I cuscinetti sigillati vengono riempiti inizialmente con un grasso speciale, e fanno affidamento su una guarnizione di tenuta integrale e robusta per tenere l'umidità e le sostanze contaminanti fuori dagli elementi girevoli.
I cuscinetti ermetici non hanno bisogno di lubrificazione o manutenzione a breve termine. Questa caratteristica riduce la manutenzione ordinaria necessaria ed il rischio di danneggiare il tappeto erboso a causa di contaminazione da grasso. Questi cuscinetti ermetici offrono ottime prestazioni e lunga durata in normali condizioni di utilizzo; per evitare tempi morti occorre tuttavia eseguire un controllo periodico delle condizioni dei cuscinetti e dell'integrità della tenuta. Controllate i cuscinetti ad ogni stagione e sostituiteli se risultano danneggiati o usurati. I cuscinetti devono funzionare regolarmente, senza alcun segno di forte calore, rumore, fuoriuscite di ruggine, e non devono essere allentati.
A causa delle condizioni operative alle quali sono soggetti questi cuscinetti e confezioni ermetiche (es. sabbia, sostanze chimiche sul tappeto erboso, acqua, urti ecc.), essi sono considerati articoli di normale usura. I cuscinetti avariati per cause non attribuibili a difetti di materiale o lavorazione non sono normalmente coperti da garanzia.
Note: L'utilizzo di procedure di lavaggio improprie può influire negativamente sul cuscinetto. Non lavate la macchina quando è ancora calda ed evitate di spruzzare i cuscinetti con lance ad alta pressione o ad alto volume.
Non è raro che dalle guarnizioni di cuscinetti nuovi su una macchina nuova fuoriesca del grasso. Questo grasso spurgato diventa nero a causa dei detriti raccolti, non per il calore eccessivo. È buona norma tergere il grasso superfluo dalle guarnizioni di tenuta dopo le prime 8 ore di servizio. Una parte del labbro della guarnizione può essere sempre bagnata; Ciò non nuoce alla vita utile del cuscinetto e mantiene lubrificato il labbro della guarnizione.
Spegnete il motore prima di controllare l'olio o aggiungere olio nella coppa.
Non cambiate la velocità del regolatore o utilizzate una velocità eccessiva del motore.
| Cadenza di manutenzione | Procedura di manutenzione |
|---|---|
| Ogni 25 ore |
|
| Ogni 100 ore |
|
Preparate la macchina per la manutenzione; fate riferimento a Preparazione della macchina per la manutenzione.
Pulite intorno al filtro dell'aria per evitare che la morchia possa penetrare nel motore provocando gravi danni.
Svitate la manopola e rimuovete il coperchio del corpo del filtro (Figura 144).

Fate scorrere attentamente il prefiltro in schiuma sintetica fuori dall'elemento di carta (Figura 144).
Svitate il dado del coperchio e rimuovete il coperchio, il distanziale e il filtro di carta (Figura 144).
Important: Sostituite l'elemento in schiuma sintetica se fosse danneggiato o usurato.
Lavate il prefiltro in schiuma sintetica con acqua tiepida e sapone; quando è pulito, risciacquatelo accuratamente.
Asciugate il prefiltro premendolo in un panno pulito (senza strizzare).
Applicate da 3 a 6 cl d'olio sul prefiltro (Figura 145).

Comprimete il prefiltro per distribuire l'olio.
Controllate che il filtro in carta non sia strappato, che non abbia strati untuosi e che la guarnizione in gomma non sia danneggiata (Figura 146).

Important: Non pulite mai l'elemento di carta. Sostituite l'elemento di carta se risulta sporco o danneggiato.
Important: Per prevenire danni al motore, utilizzatelo sempre con gli elementi di carta e schiuma montati.
Fate scorrere attentamente il prefiltro in schiuma sintetica sul filtro di carta (Figura 147).

Montate il gruppo filtro dell'aria sulla relativa base.
Montate il coperchio, il distanziale e il dado del coperchio.
Serrate il dado a 11 N∙m.
Montate il coperchio del filtro dell'aria e fissatelo con la manopola.
Tipo di olio: olio detergente motore di alta qualità (API service SJ o superiore)
Viscosità dell’olio: fate riferimento alla seguente tabella:

| Cadenza di manutenzione | Procedura di manutenzione |
|---|---|
| Prima di ogni utilizzo o quotidianamente |
|
Al momento della fornitura la coppa del motore contiene dell'olio, tuttavia è necessario controllarne il livello prima e dopo il primo avvio del motore.
Utilizzate olio motore di alta qualità, come descritto in Specifiche dell'olio motore.
Important: Non riempite troppo la coppa del motore con l'olio.Non fate funzionare il motore con un livello dell'olio motore al di sotto del segno basso.
Note: Il momento migliore per controllare l'olio del motore è a motore freddo prima che venga avviato per la giornata. Se è già stato avviato, lasciate che l'olio ritorni nel pozzetto per almeno 10 minuti prima di controllarlo.
Preparate la macchina per la manutenzione; fate riferimento a Preparazione della macchina per la manutenzione.
Fate raffreddare il motore.
Pulite l'area intorno al tappo di rifornimento dell'olio e l'asta di livello (Figura 149).

Togliete l'asta di livello, asciugatela e reinseritela a fondo.
Rimuovete l'asta e controllate il livello dell'olio.
Il livello dell'olio motore deve essere compreso tra i segni di limite di pieno "F" e basso "L" sull'asta di livello.
Se il livello dell'olio è al di sotto del segno basso "L", rimuovete il tappo di rifornimento dell'olio e aggiungete l'olio specificato fino a quando il livello non raggiunge il segno di pieno "F" sull'asta di livello.
Montate il tappo di riempimento dell'olio e l'asta di livello.
| Cadenza di manutenzione | Procedura di manutenzione |
|---|---|
| Dopo le prime 50 ore |
|
| Ogni 100 ore |
|
Capacità della coppa dell'olio: circa 1,9 litri con il filtro.
Avviate il motore e lasciatelo funzionare per cinque minuti. L'olio caldo defluisce con maggiore facilità.
Parcheggiate la macchina in modo che il lato di spurgo sia leggermente più in basso rispetto al lato opposto per garantire uno spurgo completo dell'olio, spegnete il motore, sollevate completamente e fissate la maniglia per inserire il freno di stazionamento e togliete la chiave.
Collocate una bacinella sotto al tappo di spurgo dell'olio e rimuovete il tappo (Figura 150).
Note: Lasciate che l'olio venga spurgato completamente.

Avvitate e serrate il tappo di spurgo dell'olio sul motore.
Note: Smaltite l'olio usato in un centro di raccolta autorizzato.
Collocate una bacinella di spurgo bassa sotto il filtro dell'olio e togliete il filtro (Figura 150).
Note: Smaltite il filtro dell'olio usato in un centro di raccolta autorizzato.
Asciugate la superficie dell'adattatore del filtro.
Riempite il nuovo filtro dell'olio fino alla base della filettatura con l'olio specificato.
Lasciate che il filtro assorba l'olio per 2 minuti, quindi versate in una bacinella l'olio in eccesso.
Spalmate un velo di olio nuovo sulla guarnizione del filtro.
Inserite il filtro dell'olio sul relativo adattatore in modo che la guarnizione sia a contatto con l'adattatore del filtro (Figura 150), quindi serrate il filtro di un ulteriore 1/2 giro.

Pulite l'area intorno al tappo di rifornimento dell'olio e l'asta di livello (Figura 152).

Togliete il tappo di rifornimento dell'olio e versate lentamente l'80% circa della quantità d'olio specificata attraverso il coperchio della valvola.
Rabboccate lentamente l'olio fino a portarlo all'altezza del segno "F" (pieno) sull'asta di livello; fate riferimento a Specifiche dell'olio motore e a Controllo del livello dell'olio motore.
Important: Non riempite troppo la coppa del motore con l'olio.
Montate il tappo di riempimento dell'olio e l'asta di livello.
| Cadenza di manutenzione | Procedura di manutenzione |
|---|---|
| Ogni 200 ore |
|
Preparate la macchina per la manutenzione; fate riferimento a Preparazione della macchina per la manutenzione.
Staccate il cappellotto dalle candele (Figura 153).

Pulite attorno alle candele.
Utilizzate una bussola per candele per rimuovere le candele e le guarnizioni in metallo.
Tipo di candela: Champion RC12YC o equivalente
Distanza tra gli elettrodi: 0,75 mm
Controllate la parte centrale di entrambe le candele (Figura 154). Se l'isolatore è di color marrone chiaro o grigio, il motore funziona correttamente. Una patina nera sull'isolatore significa in genere che il filtro dell'aria è sporco.
Important: Non pulite mai le candele. Sostituite sempre le candele in caso di patina nera sull'isolatore, elettrodi usurati, pellicola d'olio o incrinature.

Controllate la distanza tra gli elettrodi centrale e laterale.
Piegate l'elettrodo laterale se la distanza non è corretta.
Prima di montare ogni candela accertatevi che la distanza tra gli elettrodi centrali e laterali sia corretta. Utilizzate una chiave per candele per la rimozione e il montaggio delle candele e un calibro/spessimetro per il controllo e la regolazione della distanza fra gli elettrodi. Se necessario, montate delle candele nuove.
Inserite le candele nella relativa sede del motore.
Utilizzate una bussola per candele e una chiave torsiometrica per serrare le candele a 27 N∙m.
Collegate i cappellotti delle candele alle candele (Figura 155).

| Cadenza di manutenzione | Procedura di manutenzione |
|---|---|
| Prima di ogni utilizzo o quotidianamente |
|
Controllate e pulite sempre la griglia del motore prima dell'uso. Rimuovete eventuali accumuli di erba, sporcizia o altri detriti dalla griglia di presa d'aria del motore.
In determinate condizioni, la benzina e i relativi vapori sono estremamente infiammabili ed esplosivi. Un incendio o un'esplosione possono ustionare voi ed altre persone e causare danni.
Riempite il serbatoio del carburante all'esterno, in un'area aperta, quando il motore è spento e freddo. Tergete il carburante versato.
Non riempite completamente il serbatoio. Aggiungete carburante nel serbatoio fino a quando il livello non è 25 mm sotto la parte superiore del serbatoio, non sotto il collo del bocchettone. Questo spazio servirà ad assorbire l'espansione del carburante.
Non fumate mai quando maneggiate il carburante e tenetevi a distanza da fiamme aperte o luoghi dove scintille possano accendere i vapori di carburante.
Conservate il carburante in un contenitore pulito approvato per la sicurezza e mettete il tappo.
| Cadenza di manutenzione | Procedura di manutenzione |
|---|---|
| Ogni 100 ore |
|
Important: Non montate mai un filtro sporco qualora sia stato tolto dall'impianto di alimentazione.
Preparate la macchina per la manutenzione; fate riferimento a Preparazione della macchina per la manutenzione.
Chiudete la valvola di intercettazione del carburante (Figura 156).


Premete le estremità delle fascette stringitubo e allontanatele dal filtro.
Togliete il filtro dal tubo del carburante.
Allineate il filtro del carburante con la freccia rivolta verso il motore, quindi montate il tubo del carburante sui raccordi del filtro.
Posizionate i serratubi vicino al filtro del carburante e serrate i serratubi.
Tergete il carburante eventualmente versato.
Aprite la valvola di intercettazione del carburante.
In talune condizioni il carburante è estremamente infiammabile ed altamente esplosivo. Un incendio o un'esplosione possono ustionare voi ed altre persone e causare danni.
Spurgate il carburante dal relativo serbatoio quando il motore è freddo. Eseguite questa operazione all'aperto. e tergete il carburante versato.
Non fumate mai durante l'operazione di spurgo del carburante e tenetevi a distanza da fiamme aperte o luoghi dove scintille possano accendere i vapori di carburante.
Preparate la macchina per la manutenzione; fate riferimento a Preparazione della macchina per la manutenzione.
Chiudete la valvola di intercettazione del carburante (Figura 157).


Allentate la fascetta stringitubo e spostatela in alto sul tubo del carburante, lontano dal filtro del carburante.
Estraete il tubo del carburante dal relativo filtro.
Aprite la valvola di intercettazione del carburante e lasciate spurgare il carburante in una tanica o una bacinella di spurgo.
Note: Questo è il momento più opportuno per montare un nuovo filtro, in quanto il serbatoio del carburante è vuoto.
Montate il tubo del carburante sul raccordo del filtro.
Posizionate il serratubo vicino al filtro del carburante e serrate il serratubo.
Scollegate la batteria prima di riparare la macchina. Scollegate prima il morsetto negativo, per ultimo quello positivo. Collegate prima il morsetto positivo e per ultimo quello negativo.
Caricate la batteria in un'area aperta e ben ventilata, lontano da scintille e fiamme. Scollegate il caricabatteria prima di collegare o scollegare la batteria.
Indossate indumenti di protezione e utilizzate attrezzi isolati.
| Cadenza di manutenzione | Procedura di manutenzione |
|---|---|
| Ogni anno |
|
Tenete pulito il lato superiore della batteria.
Sbloccate lo sportello del vano batteria e apritelo (Figura 158).

Pulite il lato superiore della batteria con un pennello bagnato in una soluzione di bicarbonato sodico o ammoniaca.
Important: Non togliete i tappi di riempimento durante la pulizia.
Risciacquate accuratamente la superficie della batteria e il vano batteria con acqua pulita.
Chiudete lo sportello del vano batteria e bloccatelo.
| Cadenza di manutenzione | Procedura di manutenzione |
|---|---|
| Ogni anno |
|
I morsetti della batteria e gli attrezzi metallici possono creare cortocircuiti contro i componenti metallici dell'unità motrice e provocare scintille. che possono fare esplodere i gas della batteria e causare infortuni.
In sede di rimozione o montaggio della batteria, impedite ai morsetti di toccare le parti metalliche della macchina.
Non lasciate che gli attrezzi metallici creino cortocircuiti fra i morsetti della batteria e le parti metalliche della macchina.
In caso di errato percorso dei cavi della batteria, la macchina ed i cavi possono venire danneggiati e causare scintille, che possono fare esplodere i gas delle batterie e causare infortuni.
Scollegate sempre il cavo negativo (nero) della batteria prima di quello positivo (rosso).
Collegate sempre il cavo positivo (rosso) della batteria prima di quello negativo (nero).
Sbloccate lo sportello del vano batteria e apritelo (Figura 159).

Verificate che i serrafili della batteria siano saldamente fissati.
Serrate la bulloneria allentata dei serrafili della batteria.
Controllate eventuali segni di corrosione sui serrafili e sui morsetti della batteria.
Se i morsetti sono corrosi, rimuovete il cavo negativo della batteria.
Rimuovete il cavo positivo della batteria.
Pulite i serrafili e i morsetti della batteria.
Collegate il cavo positivo della batteria.
Collegate il cavo negativo della batteria.
Ricoprite i morsetti e i poli della batteria con grasso di rivestimento Grafo 112X (n. cat. Toro 505-47).
Chiudete lo sportello del vano batteria e bloccatelo.
L'impianto elettrico è protetto da fusibili, Se si apre un fusibile, controllate il componente e il cablaggio per individuare eventuali cortocircuiti con dispersione a terra.
Sbloccate lo sportello del vano batteria e apritelo (Figura 160).

Rimuovete il coperchio dal portafusibili (Figura 161).
Note: Il fusibile della ventola è posizionato in linea dietro alla batteria (Figura 162).


Rimuovete il fusibile aperto.
Montate un nuovo fusibile con amperaggio nominale corrispondente a quello indicato sull'adesivo del portafusibili.
Montate il coperchio sul portafusibili (o sul fusibile della ventola in linea).
Chiudete lo sportello del vano batteria e bloccatelo.
| Cadenza di manutenzione | Procedura di manutenzione |
|---|---|
| Ogni 50 ore |
|
Preparate la macchina per la manutenzione; fate riferimento a Preparazione della macchina per la manutenzione.
Controllate che la pressione dei pneumatici sia pari a 0,83 bar. Per ottenere valori più attendibili, controllate i pneumatici a freddo.
Important: La pressione irregolare dei pneumatici può causare una profondità di carotaggio irregolare.

La zavorra è molto pesante, 33 kg.
Fate attenzione quando rimuovete la zavorra dal gruppo pneumatici.
| Cadenza di manutenzione | Procedura di manutenzione |
|---|---|
| Ogni anno |
|
Le cinghie di trasmissione della macchina sono resistenti. Tuttavia, la normale esposizione alle radiazioni UV, all'ozono o l'esposizione accidentale a sostanze chimiche possono col tempo far deteriorare la gomma e causare anzitempo l'usura o perdite di materiale (ad esempio, separazione o mancanza di strati delle cinghie).
Rimuovete il copricinghia; fate riferimento a Rimuovete il copricinghia.
Esaminate la cinghia della pompa idraulica, dell'albero ausiliario e dell'albero motore (Figura 164) per individuare eventuali danni, segni di usura, eccessive fessurazioni dei cuscinetti o grossi detriti incastrati.
Note: Quando necessario, sostituite le cinghie.

Montate il copricinghia; fate riferimento a Montaggio del copricinghia.
| Cadenza di manutenzione | Procedura di manutenzione |
|---|---|
| Dopo le prime 8 ore |
|
Preparate la macchina per la manutenzione; fate riferimento a Preparazione della macchina per la manutenzione.
Rimuovete il copricinghia; fate riferimento a Rimuovete il copricinghia.
Allentate la vite a testa cilindrica flangiata e il dado di bloccaggio flangiato che fissano la puleggia tendicinghia della cinghia della pompa idraulica fino a quando il bullone non si sposta nella fessura del supporto del tendicinghia (Figura 165).


Picchiettate la parte superiore della puleggia tendicinghia e fate in modo che la molla di tensione regoli la tensione della cinghia.
Important: Non applicate alla cinghia una tensione superiore a quella applicata dalla molla di tensione o rischierete di danneggiare i componenti.
Serrate la vite a testa cilindrica flangiata e il dado di bloccaggio flangiato a 37-45 N∙m.
Montate il copricinghia; fate riferimento a Montaggio del copricinghia.
Se il fluido viene iniettato sulla pelle, rivolgetevi immediatamente ad un medico. Il fluido iniettato deve essere rimosso chirurgicamente da un medico entro poche ore.
Assicuratevi che tutti i flessibili e i tubi del fluido idraulico siano in buone condizioni e che tutti i collegamenti e i raccordi idraulici siano serrati prima di mettere l'impianto idraulico sotto pressione.
Tenete corpo e mani lontano da perdite filiformi o da ugelli che eiettano fluido idraulico pressurizzato.
Usate cartone o carta per cercare le perdite di fluido idraulico.
Eliminate con sicurezza la pressione dall'intero impianto idraulico prima di eseguire qualsiasi intervento sull'impianto.
Supportate la testa di carotaggio con il fermo di servizio; fate riferimento a Supporto della testa di carotaggio con il fermo di servizio.
Spegnete il motore.
Spostate l’interruttore di accensione sulla posizione di FUNZIONAMENTO.
All'interno dell'InfoCenter, raggiungete il MENU PRINCIPALE.
Premete il pulsante Giù fino a quando non viene selezionata l'opzione MANUTENZIONE, quindi premete il pulsante Invio (Figura 166).

Note: La testa di carotaggio si abbassa fino a essere completamente sorretta dal fermo di servizio.
Premete il pulsante Giù fino a quando non viene selezionata l'opzione ABBASSAMENTO MANUTENZIONE, quindi premete il pulsante Invio (Figura 167).

Girate la chiave in posizione di ARRESTO.
Note: Avviate il motore e utilizzate il sollevamento idraulico della testa di carotaggio per riporre il fermo di servizio; fate riferimento a Riporre il fermo di servizio.
| Cadenza di manutenzione | Procedura di manutenzione |
|---|---|
| Prima di ogni utilizzo o quotidianamente |
|
Controllate sempre i tubi e i flessibili idraulici prima dell'uso per verificare che non ci siano perdite, connessioni allentate, tubi aggrovigliati, supporti di fissaggio allentati, usura o deterioramento causato dalle condizioni atmosferiche o da agenti chimici. Sostituite i tubi idraulici danneggiati o consumati prima di utilizzare la macchina.
Note: Mantenete libere dagli accumuli di detriti le aree attorno all'impianto idraulico.
Il serbatoio viene rifornito in fabbrica con liquido idraulico di qualità elevata. Controllate il livello del fluido idraulico prima di avviare il motore per la prima volta e in seguito ogni giorno; fate riferimento a Controllo del livello dell'olio motore.
Fluido idraulico consigliato: fluido idraulico Toro PX Extended Life; disponibile in fustini da 19 litri o in contenitori da 208 litri.
Note: Una macchina che utilizza il fluido di ricambio raccomandato richiede cambi meno frequenti di fluido e filtro.
Fluidi idraulici alternativi: qualora il fluido Toro PX Extended Life non fosse disponibile, si potranno utilizzare altri fluidi idraulici di tipo tradizionale a base di petrolio con specifiche che rientrino nell'intervallo indicato per tutte le seguenti proprietà materiali e siano conformi agli standard di settore. Non utilizzate fluido sintetico. Il distributore di lubrificanti vi consiglierà sulla scelta di un prodotto soddisfacente.
Note: Toro non si assume alcuna responsabilità per danni causati da sostituzioni non idonee, pertanto si raccomanda di utilizzare solo prodotti di costruttori di buona reputazione, che rispondano delle proprie raccomandazioni.
| Proprietà materiali: | ||
| Viscosità, ASTM D445 | cSt a 40 °C da 44 a 48 | |
| Indice di viscosità ASTM D2270 | 140 o superiore | |
| Punto di scorrimento, ASTM D97 | Da -37 °C a -45 °C | |
| Caratteristiche industriali: | Eaton Vickers 694 (I-286-S, M-2950-S/35VQ25 o M-2952-S) | |
Note: Molti fluidi idraulici sono praticamente incolori, e rendono difficile il rilevamento di fuoriuscite. Un additivo con colorante rosso per il fluido idraulico è disponibile in flaconi da 20 ml. Un flacone è sufficiente per 15–22 litri di fluido idraulico. Ordinate il n. cat. 44-2500 dal vostro distributore Toro autorizzato.
Important: Toro Premium Synthetic Biodegradable Hydraulic Fluid è l'unico fluido biodegradabile sintetico approvato da Toro. Questo fluido è compatibile con gli elastomeri impiegati nei sistemi idraulici Toro e si adatta a un'ampia gamma di temperature. Questo fluido è compatibile con i comuni oli minerali, ma per ottenere livelli di biodegradabilità e prestazioni massime occorre lavare a fondo il sistema idraulico per eliminare il fluido comune. L'olio è disponibile in fustini da 19 litri o in contenitori da 208 litri del vostro distributore Toro autorizzato.
| Cadenza di manutenzione | Procedura di manutenzione |
|---|---|
| Prima di ogni utilizzo o quotidianamente |
|
Important: Con la testa di carotaggio in posizione sollevata, controllate il livello di fluido idraulico prima di avviare per la prima volta il motore e, in seguito, giornalmente.
Il serbatoio idraulico viene rifornito in fabbrica con liquido idraulico di qualità elevata.
Preparate la macchina per la manutenzione; fate riferimento a Preparazione della macchina per la manutenzione.
Rimuovete il copricinghia; fate riferimento a Rimuovete il copricinghia.
Pulite la zona intorno al collo del bocchettone e il tappo del serbatoio idraulico (Figura 168). Togliete il tappo dal collo del bocchettone.

Togliete l'asta di livello dal collo del bocchettone e pulitela strofinando con un panno pulito. Inserite l'asta di livello nel collo del bocchettone, quindi estraetela e controllate il livello del fluido. Il livello del fluido deve essere pari alla tacca sull'asta di livello (Figura 169).

Se il livello è basso, versate il fluido idraulico specificato fino a farlo innalzare al livello della tacca di pieno.
Montate l'asta di livello e il tappo sul collo del bocchettone.
Montate il copricinghia; fate riferimento a Montaggio del copricinghia.
| Cadenza di manutenzione | Procedura di manutenzione |
|---|---|
| Ogni 200 ore |
|
| Ogni 400 ore |
|
Capacità del serbatoio idraulico: circa 6,6 l
Important: Non sostituite i filtri dell'olio per autovetture, perché potreste danneggiare gravemente l'impianto idraulico.
Note: La rimozione del filtro di ritorno spurgherà l'intero serbatoio del fluido.
Preparate la macchina per la manutenzione; fate riferimento a Preparazione della macchina per la manutenzione.
Collocate una bacinella di spurgo sotto i filtri, togliete i filtri usati e pulite la guarnizione di riduzione del filtro (Figura 170).

Spalmate un velo di fluido idraulico nuovo sulla guarnizione dei nuovi filtri.
Montate i filtri idraulici sugli adattatori dei filtri. Girate ogni filtro in senso orario finché la guarnizione non tocca l'adattatore, quindi serrate ogni filtro di un altro mezzo giro.
Aggiungete il fluido idraulico specificato fino a quando il livello non raggiunge il segno di pieno sull'asta di livello; fate riferimento a Specifiche del fluido idraulico e a Controllo del livello del fluido idraulico.
Avviate il motore e lasciatelo funzionare per due minuti per spurgare l'aria dall'impianto. Spegnete il motore, togliete la chiave e verificate l'assenza di perdite del fluido idraulico.
Controllate il livello del fluido idraulico. All'occorrenza rabboccate il fluido idraulico specificato fino alla tacca di PIENO sull'asta di livello.
Note: Non riempite troppo il serbatoio idraulico con il fluido.
Montate il copricinghia; fate riferimento a Montaggio del copricinghia.
| Cadenza di manutenzione | Procedura di manutenzione |
|---|---|
| Dopo le prime 8 ore |
|
| Ogni 250 ore |
|
Preparate la macchina per la manutenzione; fate riferimento a Preparazione della macchina per la manutenzione.
Rimuovete la copertura della testa di carotaggio; fate riferimento a Rimozione della copertura della testa di carotaggio.
Verificate i dispositivi delle teste di carotaggio, i dispositivi di fissaggio della stegola della fresa e i dadi a staffa delle ruote per verificare che venga mantenuta la coppia corretta. I requisiti della coppia dei fermi sono elencati sull'adesivo relativo al serraggio dei bulloni, applicato al canale di supporto della testa di carotaggio (Figura 171).

Montate la copertura della testa di carotaggio; fate riferimento a Montaggio della copertura della testa di carotaggio.
Preparate la macchina per la manutenzione; fate riferimento a Preparazione della macchina per la manutenzione.
Allentate le viti a testa cilindrica e i dadi di bloccaggio flangiati che fissano lo schermo laterale al telaio della testa di carotaggio (Figura 172).

Regolate lo schermo in alto o in basso fino a che non vi sono 25-38 mm tra lo schermo e il terreno.
Serrate le viti a testa cilindrica e i dadi di bloccaggio flangiati.
Ripetete i passaggi da 2 a 4 sull'altro lato della macchina.
Sostituite le protezioni del tappeto erboso in caso di rottura o di usura a uno spessore inferiore a 6 mm. Se sono rotte, le protezioni del tappeto erboso possono impigliarsi nel tappeto erboso e danneggiarlo.

I timing marks della testa di carotaggio sono facilmente identificabili dai segni riportati sulle 3 sedi dei cuscinetti.

Prima di abbandonare la postazione dell'operatore, attenetevi alle seguenti istruzioni:
Parcheggiate la macchina su terreno pianeggiante.
Sollevate completamente e fissate la maniglia per inserire il freno di stazionamento.
Spegnete il motore e togliete la chiave (se in dotazione).
Attendete che tutte le parti in movimento si arrestino.
Lasciate raffreddare la macchina prima di eseguire interventi di riparazione, manutenzione, pulizia o di rimessarla.
Non rimessate la macchina o la tanica del carburante in luoghi in cui siano presenti fiamme libere, scintille o spie, come quelle di uno scaldabagno o di altri apparecchi.
Durante la ricarica della batteria si sviluppano gas esplosivi.
Non fumate mai nelle adiacenze della batteria e tenetela lontano da scintille e fiamme.
Preparate la macchina per la manutenzione; fate riferimento a Preparazione della macchina per la manutenzione.
Scollegate il cappellotto.
Rimuovete erba, sporcizia e morchia dalle parti esterne dell'intera macchina, soprattutto dal motore e dall'impianto idraulico. Pulite sporco e morchia dalla parte esterna delle alette della testa del cilindro del motore e dall'alloggiamento del soffiatore.
Revisionate il filtro dell'aria; vedete Revisione del filtro dell'aria.
Cambiate il filtro dell'olio del motore; vedere Cambio dell'olio motore e del filtro.
Cambiate i filtri idraulici e il fluido; fate riferimento a Cambio del fluido idraulico e dei filtri.
Controllate la pressione degli pneumatici; vedete Controllo della pressione degli pneumatici.
Controllate le condizioni delle fustelle.
Se rimessate la macchina per la stagione, seguite tutti i passaggi di Rimessaggio della macchina per meno di 30 giorni e quanto segue:
Controllate e serrate tutti i bulloni, i dadi e le viti. Riparate o sostituite le parti danneggiate o consumate.
Lavate e asciugate l'intera macchina. Rimuovete le fustelle, pulitele e oliatele. Spruzzate leggermente dell'olio nebulizzato sui cuscinetti delle teste di carotaggio (gomito e connessioni dell'ammortizzatore).
Important: La macchina può essere lavata con detersivo neutro ed acqua. Non utilizzate lance ad alta pressione per il lavaggio della macchina. Non utilizzate una quantità di acqua eccessiva, in particolare in prossimità della plancia, del motore, delle pompe idrauliche e dei motori.
Note: Dopo il lavaggio, fate funzionare la macchina con il motore alla minima superiore per 2-5 minuti.
Ritoccate tutti i graffi e le superfici metalliche sverniciate. La vernice è disponibile presso il vostro distributore Toro autorizzato.
Fissate il fermo di servizio se la macchina deve essere rimessata per più di un paio di giorni.
Riponete la macchina in una rimessa o in un deposito pulito ed asciutto. Togliete la chiave di accensione e riponetela fuori della portata dei bambini e delle persone non autorizzate all'uso.
Coprite la macchina con un telo per proteggerla e mantenerla pulita.
Aggiungete un stabilizzatore/additivo a base di petrolio al carburante nel serbatoio. osservate le istruzioni per la miscelazione riportate dal produttore dello stabilizzatore. Non utilizzate stabilizzatori a base di alcool (etanolo o metanolo).
Note: Uno stabilizzatore/additivo del carburante è più efficace quando miscelato con carburante fresco e utilizzato sempre.
Important: Non stoccate il carburante contenente stabilizzatore/additivo più a lungo della durata raccomandata dal produttore dello stabilizzatore.
Fate funzionare il motore per distribuire il carburante condizionato nel sistema di alimentazione per 5 minuti.
Spegnete il motore, lasciate che si raffreddi e spurgate il serbatoio del carburante; fate riferimento a Spurgo del serbatoio del carburante.
Avviate il motore e lasciatelo in funzione fino allo spegnimento.
Chiudete l'aria al motore. Avviate e lasciate in funzione il motore fino a quando non si avvia.
Rimuovete le candele e verificatene le condizioni; fate riferimento a Manutenzione delle candele. Con le candele staccate dal motore, versate 2 cucchiaiate d'olio motore in ciascun foro delle candele. A questo punto attivate il motorino di avviamento per distribuire l'olio nei cilindri. Collegate il cappellotto delle candele. Non montate il cappellotto sulle candele.
Note: Smaltite correttamente il carburante. Riciclate in base ai codici locali.
Togliete i morsetti della batteria dai poli e rimuovete la batteria dalla macchina.
Pulite la batteria, i morsetti e i poli con una spazzola metallica e una soluzione di bicarbonato di sodio;
per impedire la corrosione, ricoprite i morsetti e i poli della batteria con grasso di rivestimento Grafo 112X (n. cat. Toro 505-47) o vaselina.
Per impedire la solfatazione di piombo della batteria, caricatela lentamente ogni 60 giorni per 24 ore. Per impedirne il congelamento, verificate che la batteria sia completamente carica. La densità relativa della batteria completamente carica è di 1.265-1.299.
Conservate la batteria su uno scaffale o nella macchina. Se la conservate nella macchina, lasciate scollegati i cavi. Conservate la batteria in un luogo fresco, per evitare che si scarichi rapidamente.
| Problem | Possible Cause | Corrective Action |
|---|---|---|
| Il motorino di avviamento non si avvia. |
|
|
| Il motore non si avvia, ha difficoltà di avviamento o perde potenza. |
|
|
| Il motore perde potenza. |
|
|
| Il motore si surriscalda. |
|
|
| Presenza di vibrazioni anormale. |
|
|
| La trazione non funziona. |
|
|
| La testa di carotaggio non funziona. |
|
|
| La testa rimbalza durante l'arieggiatura. |
|
|
| Ciuffi d'erba o erba strappata in entrata. |
|
|
| Ci sono ciuffi d'erba nelle fustelle a espulsione laterale. |
|
|
| Il tappeto erboso si è sollevato/strappato durante l'arieggiatura. |
|
|
| La parte anteriore del foro è a fossetta o premuta. |
|
|