| Onderhoudsinterval | Onderhoudsprocedure |
|---|---|
| Bij elk gebruik of dagelijks |
|
Deze machine wordt bestuurd door een lopende bestuurder en is bedoeld voor gebruik door professionele bestuurders en voor commerciële toepassingen. De machine is voornamelijk ontworpen voor het beluchten van grote oppervlakken op goed onderhouden grasmatten in parken, golfbanen, sportvelden en terreinen die voor commerciële doeleinden gebruikt worden. Het gebruik van dit product voor andere doeleinden dan het bedoelde gebruik kan gevaarlijk zijn voor u en voor omstanders.
Lees deze informatie zorgvuldig door, zodat u weet hoe u dit product op de juiste wijze moet gebruiken en onderhouden en om letsel en schade aan de machine te voorkomen. U bent verantwoordelijk voor het juiste en veilige gebruik van de machine.
Ga naar www.Toro.com voor documentatie over productveiligheid en bedieningsinstructies, informatie over accessoires, hulp bij het vinden van een dealer of om uw product te registreren.
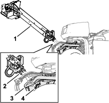
Als u service, originele Toro onderdelen of aanvullende informatie nodig hebt, kunt u contact opnemen met een erkende Toro dealer. U dient hierbij altijd het modelnummer en het serienummer van het product te vermelden. De locatie van het plaatje met het modelnummer en het serienummer van het product is aangegeven op Figuur 1. U kunt de nummers noteren in de ruimte hieronder.

Het waarschuwingssymbool (Figuur 2) dat wordt getoond in deze handleiding en op de machine geeft belangrijke veiligheidsinformatie aan die u moet opvolgen om ongelukken te voorkomen.

Het waarschuwingssymbool wordt weergegeven boven de informatie die u waarschuwt voor onveilige acties of situaties en wordt gevolgd door het woord GEVAAR, WAARSCHUWING, of VOORZICHTIG.
GEVAAR: een direct gevaarlijke situatie die, indien niet voorkomen, altijd zal leiden tot ernstig of fataal letsel.
WAARSCHUWING: een mogelijk gevaarlijke situatie die, indien niet voorkomen, kan leiden tot ernstig of fataal letsel.
VOORZICHTIG: een mogelijk gevaarlijke situatie die, indien niet voorkomen, kan leiden tot licht of middelmatig letsel.
Er worden in deze handleiding nog twee woorden gebruikt om uw aandacht op bijzondere informatie te vestigen. Belangrijk attendeert u op bijzondere technische informatie en Opmerking duidt algemene informatie aan die bijzondere aandacht verdient.
Dit product voldoet aan alle relevante Europese richtlijnen; zie voor details de aparte productspecifieke conformiteitsverklaring.
Omdat er in sommige regio's nationale of plaatselijke voorschriften gelden die vereisen dat er een vonkenvanger op de motor van deze machine wordt gebruikt, is er een optionele vonkenvanger verkrijgbaar. Neem contact op met een erkende Toro verdeler als u een vonkenvanger nodig hebt. De vonkenvangers van Toro zijn goedgekeurd door de Amerikaanse USDA Forestry Service.
De bij deze motor geleverde Gebruikershandleiding bevat informatie over het Environmental Protection Agency (EPA) in de Verenigde Staten en de California Emission Control Regulation voor emissiesystemen, onderhoud en garantie. Bestel vervangingsonderdelen bij de fabrikant van de motor.
Als deze machine is uitgerust met een telematica-apparaat; neem dan contact op met uw erkende Toro distributeur voor instructies over hoe u het apparaat moet activeren.
CALIFORNIË
Proposition 65 Waarschuwing
De uitlaatgassen van de motor van dit product bevatten chemische stoffen waarvan bekend is dat ze kanker, geboorteafwijkingen of andere schade aan de voortplantingsorganen kunnen veroorzaken.
Accuklemmen, accupolen en dergelijke onderdelen bevatten lood en loodverbindingen. Van deze stoffen is bekend dat ze kanker en schade aan de voortplantingsorganen veroorzaken. Was altijd uw handen nadat u met deze onderdelen in aanraking bent geweest.
Gebruik van dit product kan leiden tot blootstelling aan chemische stoffen waarvan de Staat Californië weet dat ze kanker, geboorteafwijkingen en andere schade aan het voortplantingssysteem veroorzaken.
Dit product kan lichamelijk letsel veroorzaken. Volg altijd alle veiligheidsinstructies op om ernstig letsel te voorkomen.
Lees deze Gebruikershandleiding en zorg ervoor dat u deze begrijpt voordat u de motor start.
Geef uw volledige aandacht als u de machine gebruikt. Zorg ervoor dat u met niets anders bezig bent waardoor u kunt worden afgeleid, anders kan er letsel ontstaan of kan eigendom worden beschadigd.
Houd handen en voeten uit de buurt van de bewegende onderdelen van de machine.
Gebruik de machine enkel als de nodige schermen en andere beveiligingsmiddelen aanwezig zijn en naar behoren werken.
Blijf met een rijdende machine steeds uit de buurt van omstanders.
Blijf uit de buurt van de opening rond de tanden. Hou omstanders en huisdieren uit de buurt van de machine.
Laat geen kinderen het werkgebied betreden. Laat kinderen nooit de machine bedienen.
Parkeer de machine op een horizontaal oppervlak, hef de handgreep geheel naar boven tot deze vergrendelt om de parkeerrem in te schakelen, schakel de motor uit, verwijder het contactsleuteltje, en wacht totdat alle bewegende delen tot stilstand zijn gekomen voordat u onderhoud uitvoert, brandstof bijvult of blokkages uit de machine verwijdert.
Onjuist gebruik of onderhoud van deze machine kan letsel tot
gevolg hebben. Om het risico op letsel te verkleinen, dient u zich
aan de volgende veiligheidsinstructies te houden en altijd op het
veiligheidssymbool
te letten, dat betekent Voorzichtig, Waarschuwing
of Gevaar – instructie voor persoonlijke veiligheid. Niet-naleving
van deze instructies kan leiden tot lichamelijk of dodelijk letsel.
![]() |
Veiligheidsstickers en veiligheidsinstructies zijn gemakkelijk zichtbaar voor de bestuurder en bevinden zich bij plaatsen waar gevaar kan ontstaan. Vervang alle beschadigde of ontbrekende stickers. |
















Note: De voorkant van de machine bevindt zich aan de bestuurdershandgreep, en is de normale bestuurderspositie. Bepaal wat links en rechts is ten opzichte van de rijrichting waarin u de machine leidt.
Note: Om de beluchtingskop omhoog te zetten na het uitpakken van de machine: zet de beluchtingshandgreep vrij en start de motor, zie Motor starten en Heffen van de beluchtingskop voor meer informatie.
Benodigde onderdelen voor deze stap:
| Wiel | 2 |
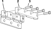
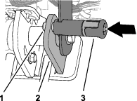
Note: Als deze beschikbaar is, moet u een takel gebruiken om de achterzijde van de machine te heffen. Gebruik de ogen in de lagerhuizen van de beluchtingskop om de takel te bevestigen (Figuur 3).

Aan de achterkant van de machine: verwijder de 4 wielmoeren waarmee de achterkant van de machine is bevestigd aan de beugels van het pallet voor transport.
Monteer een wiel op elke wielnaaf achter, met de 4 wielmoeren (Figuur 4).

Draai de wielmoeren vast met een aandraaimoment van 61 tot 75 N·m.
Herhaal stap 1 tot 3 aan de andere kant van de machine.
Verminder de bandenspanning tot 0,83 bar.
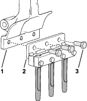
Benodigde onderdelen voor deze stap:
| Handgreep | 1 |
| Borgmoer (½") | 3 |
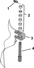
Steek de tapeinden door het eind van de handgreep in de gaten in de stuurarm (Figuur 5).
Note: Laat de handgreep door iemand anders ondersteunen.

Draai een flensborgmoer (½") op elk van de 3 tapeinden.
Draai de flensborgmoeren aan met 91 tot 113 N·m.
Draai de handgreep naar boven en zet deze vast met handgreepvergrendeling (Figuur 6).

Voer het oog van de remkabel door de onderkant van het profiel van de handgreep (Figuur 7).

Monteer het oog van de remkabel op de gaffelpen en borg het ook op de pen met de onderlegring en haarspeldveer.
Leid de stekker met 6 pennen en de stekker met 12 pennen van de kabelboom van de machine door de doorvoer in het profiel van de handgreep (Figuur 8).

Steek de stekker met 12 pinnen van de kabelboom van de machine in de stekker met 12 bussen van de kabelboom van de handgreep (Figuur 9).

Steek de stekker met 6 pinnen van de kabelboom van de machine in de stekker met 6 bussen van de kabelboom van de handgreep.
Steek de bevestiging van de kabelboom van de machine in het gat in het profiel van de handgreep (Figuur 10).

Steek de bevestiging van de kabelboom van de machine in het gat in de geleidebeugel.
Bevestig de kabelboom van de machine op het profiel van de handgreep met een kabelbinder, door de sleuven in het profiel (Figuur 11).

Bevestig de kabelboom van de machine op de geleidebeugel met een kabelbinder, door de sleuven in het beugel.
Plaats de kap van de handgreep met de inkeping naar boven (Figuur 12).

Lijn de gaten in de kap uit met de gaten in het profiel van de handgreep.
Monteer de kap op de handgreep met de 6 zelftappende schroeven (¼").
Benodigde onderdelen voor deze stap:
| Bout (¼" x 1") | 2 |
| Flensmoer (5/16") | 2 |
Accuzuur bevat zwavelzuur; dit is een dodelijk gif dat ernstige brandwonden veroorzaakt.
Voorkom contact met de huid, ogen of kleding. Draag een veiligheidsbril en rubberhandschoenen om uw ogen en handen te beschermen.
De accu alleen verwijderen, opladen en monteren op plaatsen waar schoon water aanwezig is om indien nodig uw huid af te spoelen.
Bij het opladen produceert de accu gassen die tot ontploffing kunnen komen.
Rook nooit in de buurt van de accu en zorg ervoor dat er geen vonken of vlammen vlakbij de accu komen.
Accupolen of metalen gereedschappen kunnen kortsluiting maken met metalen onderdelen van de machine, waardoor vonken kunnen ontstaan. Hierdoor kunnen accugassen tot ontploffing komen en lichamelijk letsel veroorzaken.
Zorg ervoor dat bij het verwijderen of installeren van de accu de accupolen niet in aanraking komen met metalen onderdelen van de machine.
Voorkom dat metalen gereedschappen kortsluiting veroorzaken tussen de accupolen en metalen onderdelen van de machine.
Als accukabels verkeerd worden verbonden, kan dit schade aan de machine en de kabels tot gevolg hebben en vonken veroorzaken. Hierdoor kunnen accugassen tot ontploffing komen, waardoor lichamelijk letsel kan ontstaan.
Maak altijd eerst de minkabel (zwart) van de accu los voordat u de pluskabel (rood) losmaakt.
Sluit altijd eerst de pluskabel (rood) van de accu aan voordat u de minkabel (zwart) aansluit.
Ontgrendel de deur van de accubehuizing en open deze (Figuur 13).

Verwijder de accu uit de accubehuizing.
Laad de accu op met een lader met een stroomsterkte van 3 tot 4 A.
Als de accu is opgeladen, haalt u de acculader uit het stopcontact en maakt u deze los van de accupolen.
Plaats de accu in de bak in de accubehuizing (Figuur 14). Plaats de accu zo dat de polen naar buiten gericht zijn.

Bevestig de accu aan de basis van de behuizing met een aandrukstang, 2 J-stangen, 2 platte ringen en 2 vleugelmoeren.
Sluit de plus-kabel (rood) aan op de positieve (+) pool van de accu met een slotbout en moer.
Schuif het rubberen kapje over de pluspool van de accu heen.
Sluit de minkabel (zwart) aan op de minpool (-) van de accu met een slotbout en moer.
Sluit en vergrendel de deur van de accubehuizing.
Benodigde onderdelen voor deze stap:
| Vergrendeling | 2 |
| Tapbout | 2 |
| Inwendige getande borgring | 2 |
Als deze machine wordt gebruikt in de Europese Unie (CE) moet de vergrendeling van de achterkap worden gemonteerd, zoals hieronder beschreven, om te voldoen aan de CE-voorschriften.
Verwijder de achterkap.
Monteer de vergrendeling over de sluiting van de kap (Figuur 15) met tapbouten (2 in totaal).

Schroef een borgring op elke bout (1 tot 2 slagen) met een tang en sleutel, om de bouten te borgen op de kap.
Herhaal stap2 tot 3 aan de andere kant van de kap.
Monteer de achterkap.
Benodigde onderdelen voor deze stap:
| Riempje | 1 |
| Popnagel | 1 |
| Bout (¼" x 1") | 1 |
| Borgmoer (¼") | 1 |
Als u deze machine wilt configureren conform de CE-voorschriften, monteer het riempje van de vergrendeling van de riemkap dan zoals hieronder beschreven.
De riemkap is voorzien van een gat naast de sleuf van de handgreep van de vergrendeling (Figuur 16 en Figuur 17).

Monteer het riempje op het gat in de riemkap met een popnagel (Figuur 17).

Draai de bout in de handgreep van de vergrendeling (Figuur 18).

Er is een breed scala tandhouders, beschermvingers en tanden verkrijgbaar voor de machine. Zie Monteren van de beschermvingers, tandhouders en tanden.


Zet de handgreep vast in de bovenste positie en stel de parkeerrem in werking met de vergrendeling van de handgreep (Figuur 21).
Important: Zet de handgreep altijd in de bovenste positie als u de bestuurdersplek verlaat.
De dodemanshendel (Figuur 21) verzekert dat u op de bestuurdersplek aanwezig bent bij het rijden van de machine of gebruiken van de beluchtingskop.
Note: Als u de dodemanshendel loslaat wordt de motor niet uitgeschakeld.
Met het InfoCenter (Figuur 21) regelt u de werking van de bedieningsorganen van de beluchtingskop.
Als u tegen de stootschakelaar (Figuur 21) komt doet de machine het volgende:
De machine stopt met vooruitrijden.
De beluchtingskop gaat omhoog en stopt met draaien.
Note: Als u de stootschakelaar raakt wordt de motor niet uitgeschakeld. U kunt de machine dan achteruit rijden, maar u moet de stootschakelaar resetten om weer vooruit te rijden.

Met de transport/beluchten schakelaar (Figuur 22) stelt u de maximale snelheid in waarmee de machine kan rijden tijdens het beluchten of tijdens het rijden (transporteren) naar een andere plek.
In de BELUCHTEN -stand kunt u beluchten en is de rijsnelheid beperkt tot maximaal 4 km/u.
In de TRANSPORT- stand kunt u de machine op de volle rijsnelheid (of langzamer) naar de volgende werkplek rijden.
Note: Als de transport/beluchten schakelaar op TRANSPORT staat kunt u niet beluchten.
Met de tractiebediening links of rechts (Figuur 22) kunt de machine vooruit of achteruit laten rijden.
Met de schakelaar voor snelheidsvergrendeling (Figuur 22) kunt u de rijsnelheid handhaven. Dit is vergelijkbaar met cruise control op een auto.
Met ACTIVEREN wordt de huidige rijsnelheid opgeslagen.
Met AAN wordt de snelheidsvergrendeling ingeschakeld.
Met UIT wordt de snelheidsvergrendeling uitgeschakeld.
Met de schakelaar voor snelheidsvergrendeling (Figuur 22) handhaaft u de rijsnelheid zodat de beluchtingsgaten op de juiste afstand worden gevormd.
Met de AAN- stand wordt de snelheidsvergrendeling geactiveerd en ingeschakeld. Dit handhaaft de rijsnelheid voor de juiste afstand van de beluchtingsgaten als u aan het eind van een baan de beluchtingshandgreep loslaat.
Met de UIT - stand wordt de snelheidsvergrendeling uitgeschakeld, de machine stopt dan met naar voren rijden als u de beluchtingshandgreep loslaat.

Met de gashendel (Figuur 24) regelt u het motortoerental.
Beweeg de gashendel naar voren, naar FAST/SNEL om het motortoerental te verhogen.
Beweeg de gashendel naar achteren, naar SLOW/LAAG om het motortoerental te verlagen.
Note: Het motortoerental bepaalt de snelheid van de beluchtingskop.
Gebruik de choke om een koude motor te starten (Figuur 24).
Gebruik de contactschakelaar (Figuur 24) om de motor te starten en uit te zetten. De contactschakelaar heeft 3 standen:
START – Draai het sleuteltje naar rechts op START om de startmotor in werking te stellen.
LOPEN – Zodra de motor aanslaat, laat u het sleuteltje los en beweegt het automatisch naar de stand AAN.
UIT – Draai het sleuteltje linksom naar UIT om de motor af te zetten.
Lees het motortoerental of op de toerenteller (Figuur 24).
Gebruik de brandstofafsluitklep om de brandstof van de brandstoftank te regelen (Figuur 25).

Het InfoCenter display (Figuur 26) toont informatie zoals de bedrijfsmodus en diverse diagnostieken en andere informatie over de machine.

Note: De knoppen kunnen verschillende functies vervullen afhankelijk van wat op dat moment nodig is. Voor elke knop is er een icoon dat de huidige functie weergeeft.
Gebruik de navigatieknoppen om te navigeren tussen verschillende schermen en menu-items:
Welkomscherm: toont de huidige informatie over de machine gedurende een aantal seconden nadat u het sleuteltje op AAN hebt gezet.
Hoofdmenu: zie De menu's gebruiken.
|
ONDERHOUD VEREIST |
Geeft aan wanneer gepland onderhoud moet worden uitgevoerd |
|
|
Transport- stand |
|
|
Gatdiepte |
|
|
Gatafstand |
|
|
Tanddoorsnede |
|
|
Tanden per houder |
|
|
Accu |
|
|
Urenteller |
|
|
Actief/OK |
|
|
Inactief |
|
|
Volgende |
|
|
Vorig scherm |
|
|
Menu |
|
|
Waarde verhogen/verlagen |
|
|
Omhoog/omlaag scrollen |
|
|
Naar links/rechts scrollen |
|
|
Naar menu gaan |
|
|
|
Om naar het hoofdmenu te gaan, drukt u op de knop terug/afsluiten terwijl u in één van de informatieschermen bent.
Raadpleeg de volgende tabellen voor een omschrijving van de opties die u hebt in de menu's:
|
Menu-item |
Beschrijving |
|---|---|
|
STORING - FAULT |
Geeft een lijst weer van recente fouten (storingen) van de machine. Raadpleeg de Onderhoudshandleiding of een erkende Toro verdeler voor meer informatie over het menu Storingen. |
|
ONDERHOUD - SERVICE |
Bevat informatie over de machine, zoals bedrijfsuren, tellers en andere gegevens. |
|
DIAGNOSTIEK - DIAGNOSTICS |
Geeft de huidige toestanden van de machine aan. Hiermee kunt u bepaalde storingen oplossen, omdat de in- en uitgeschakelde bedieningsorganen worden getoond. |
|
INSTELLINGEN - SETTINGS |
Hiermee kunt u de pincode invoeren of het display van het InfoCenter aanpassen. |
|
MACHINE-INSTELLINGEN - MACHINE SETTINGS |
Hiermee kunt u de gebruikseigenschappen en configuratie van de machine wijzigen. |
|
OVER - ABOUT |
Weergave van het modelnummer, het serienummer en de versie van de software van uw machine. |
|
Menu-item |
Beschrijving |
|---|---|
|
STATISTIEK - STATISTICS |
Geeft tellers weer met informatie over het bedrijf van de machine en het gebruik, zoals het aantal bedrijfsuren, beluchtte oppervlak/volume/tijd, afgelegde afstand bij het beluchten. |
|
UREN - HOURS |
Geeft het totaal aantal bedrijfsuren aan van de machine, motor en aftakas, het aantal uren dat de machine getransporteerd is, en wanneer onderhoud vereist is. |
|
TELLINGEN - COUNTS |
Geeft talrijke tellingen weer die de machine heeft uitgevoerd. |
|
OMHOOGBRENGEN VOOR ONDERHOUD - SERVICE LIFT |
Omhoogbrengen voor onderhoud in- of uitschakelen |
|
OMLAAGBRENGEN VOOR ONDERHOUD - SERVICE LOWER |
Omlaagbrengen voor onderhoud in- of uitschakelen |
|
3WD |
Automatische driewielaandrijving inschakelen of driewielaandrijving is altijd ingeschakeld. |
|
GRONDHOOGTE - GROUND HEIGHT |
Geeft aan of de sensorkalibraties juist zijn, start het kalibratieproces, en geeft het elektrische signaal van de sensor weer. |
|
TRACTIEPOMP - TRACTION PUMP |
Geeft aan of de sensorkalibraties juist zijn, start het kalibratieproces, en geeft het elektrische signaal van de sensor weer. |
|
INPUT TRACTIE - TRACTION INPUT |
Geeft aan of de sensorkalibraties juist zijn, start het kalibratieproces, en geeft het elektrische signaal van de sensor weer. |
|
HOOGTESENSOR - HEIGHT SENSOR |
Geeft aan of de sensorkalibraties juist zijn, start het kalibratieproces, en geeft het elektrische signaal van de sensor weer. |
|
|
|
|
Menu-item |
Beschrijving |
|---|---|
|
CODE INVOEREN - ENTER PIN |
Geeft een bevoegde met de pincode toegang tot de beveiligde menu’s |
|
ACHTERGRONDVERLICHTING - BACKLIGHT |
Instellen van de helderheid van de achtergrondverlichting van het lcd |
|
TAAL - LANGUAGE |
Bepaalt de taal die gebruikt wordt in het InfoCenter |
|
EENHEDEN - UNITS |
Instellen van de eenheden die het InfoCenter gebruikt (Engels of metrisch) |
|
PINCODE WIJZIGEN - EDIT PIN |
Hiermee kan een bevoegd persoon met de pincode de pincode wijzigen |
|
BEVEILIGDE INSTELLINGEN - PROTECT SETTINGS |
Hiermee schakelt u het verplicht invoeren van een pincode in of uit om toegang te krijgen tot beveiligde instellingen |
|
STANDAARDWAARDEN HERSTELLEN - RESET DEFAULTS |
Hiermee zet u alle instellingen terug naar de standaardwaarden |
|
|
|
|
Menu-item |
Beschrijving |
|
MAX TRANSPORT |
Hiermee kunt u de maximale rijsnelheid vooruit wijzigen, standaard ingesteld op 6,4 km/h |
|
MANUELE BELUCHTING - MANUAL AERATION |
Hiermee schakelt u de manuele beluchting in of uit |
|
|
|
|
Menu-item |
Beschrijving |
|---|---|
|
Model |
Toont het modelnummer van de machine |
|
Serienummer - SN |
Toont het serienummer van de machine |
|
Softwareversie - S/W Revision |
Toont de softwareversie van de hoofdbedieningseenheid |
|
CAN statistieken - CAN Statistics |
Toont de status van de communicatiebus van de machine |
|
Softwareversie InfoCenter - InfoCenter Revision |
Toont de softwareversie van het InfoCenter display |
|
|
|
|
Menu-item |
Beschrijving |
|---|---|
|
Tractie - Traction |
Raadpleeg de Onderhoudshandleiding of een erkende Toro verdeler voor meer informatie over het menu Diagnostiek. |
|
Beluchting- Aeration |
|
|
Motor - Engine |
Beveiligde menu's worden standaard niet getoond. Deze instellingen worden ontgrendeld door de pincode in te voeren.
Note: De pincode van uw machine is 0000 of 1234. Op het moment van levering kan uw verdeler de pincode gewijzigd hebben.Als u de pincode heeft gewijzigd en vergeten bent, neem dan contact op met uw erkende Toro- verdeler voor hulp.
Scrol in het HOOFDMENU naar beneden tot het menu INSTELLINGEN en druk op de selectieknop (Figuur 27).

Scrol in het menu INSTELLINGEN naar PINCODE INVOEREN en druk op de selectieknop (Figuur 28A).

Om de pincode in te voeren, drukt u op de navigatieknoppen omhoog/omlaag tot het eerste gewenste cijfer verschijnt. Druk dan op de rechter navigatieknop om naar het volgende cijfer te gaan (Figuur 28B en Figuur 28C). Herhaal deze stap tot het laatste cijfer ingevoerd is.
Druk op de selectieknop (Figuur 28D).
Note: Als het display de pincode accepteert en de beveiligde menu’s
opent, dan verschijnt
in de rechter bovenhoek van het scherm.
Om de beveiligde menu’s te verbergen, draait u de contactschakelaar naar UIT stand en dan naar de AAN stand.
Zodra de pincode is ingevoerd, gaat u naar het menu INSTELLINGEN, en scrolt u naar beneden naar BEVEILIGDE INSTELLINGEN.
Om de beveiligde menu’s te kunnen bekijken zonder
een pincode in te voeren, zet u met de selectieknop INSTELLINGEN
BEVEILIGEN op
(Uit).
Om de pincode nodig te hebben om de beveiligde menu’s
te kunnen bekijken, stelt u met de selectieknop INSTELLINGEN
BEVEILIGEN in op
(Aan). Stel vervolgens de pincode in, en draai
het contactsleuteltje UIT en daarna weer AAN.

Knipperend rood - actieve fout
Ononderbroken rood - actieve melding
Ononderbroken blauw - kalibratie-/dialoogberichten
Ononderbroken groen - normale werking
Note: Specificaties en ontwerp kunnen zonder voorafgaande kennisgeving worden gewijzigd.
| Breedte | 127 cm |
| Wielbasis | 113 cm |
| Spoorbreedte | 97 cm |
| Beluchtingsbreedte | 122 cm |
| Lengte | 295 cm |
| Hoogte kop (geheven stand) | 114 cm |
| Hoogte kop (omlaaggebracht) | 93 cm |
| Hoogte (handgreep) | 154,2 cm |
| Afstand tot de grond | 12 cm |
| Snelheid vooruit | 0 tot 7.,2 km/u |
| Snelheid achteruit | 0 tot 4 km/u |
| Nettogewicht | 745 kg |
Een selectie van door Toro goedgekeurde werktuigen en accessoires is verkrijgbaar voor gebruik met de machine om de mogelijkheden daarvan te verbeteren en uit te breiden. Neem contact op met een erkende servicedealer of een erkende Toro verdeler, of bezoek www.Toro.com voor een lijst van alle goedgekeurde werktuigen en accessoires.
Om veilige en optimale prestaties te verkrijgen, moet u ter vervanging alleen originele Toro- onderdelen en accessoires gebruiken. Gebruik ter vervanging nooit onderdelen en accessoires van andere fabrikanten, omdat dit gevaarlijk kan zijn en de productgarantie kan tenietdoen.
Raadpleeg de tandenconfiguratietabel hieronder voor informatie over de tandenkop, de beschermvinger en de tand:
| Omschrijving tandenkop | Afstand tandenkop | Schachtafmeting | Aantal tanden | Type beschermvinger (aantal) |
|---|---|---|---|---|
| Kop met 2 x 5 minitanden | 41 mm | 9,5 mm | 60 | 5 tanden – kort (2) |
| 5 tanden – lang (1) | ||||
| Kop met 1 x 6 minitanden | 32 mm | 9,5 mm | 36 | 6 tanden – kort (2) |
| 6 tanden – lang (1) | ||||
| Kop met 3 tanden (⅞") | 66 mm | 22,2 mm | 18 | 3 tanden – kort (2) |
| 3 tanden – lang (1) | ||||
| Kop met 3 tanden (¾") | 66 mm | 19,5 mm | 18 | 3 tanden – kort (2) |
| 3 tanden – lang (1) | ||||
| Kop met 4 tanden (¾") | 51 mm | 19,5 mm | 24 | 4 tanden – kort (2) |
| 4 tanden – lang (1) | ||||
| Kop met 5 naaldtanden | 41 mm | — | 30 | 5 tanden – kort (2) |
| 5 tanden – lang (1) |
Note: Bepaal vanuit de normale bedieningspositie de linker- en rechterzijde van de machine.
Laat kinderen of personen die geen instructie hebben ontvangen, de machine nooit gebruiken of onderhoudswerkzaamheden daaraan verrichten. Plaatselijke voorschriften kunnen nadere eisen stellen aan de leeftijd van degene die met de machine werkt. De eigenaar is verantwoordelijk voor de instructie van alle bestuurders en technici.
Zorg ervoor dat u vertrouwd raakt met de bedieningsorganen en de veiligheidssymbolen, en weet hoe u de machine veilig kunt gebruiken.
Zorg ervoor dat u weet hoe u de machine en de motor snel kunt stoppen.
Controleer voordat u begint te werken altijd de machine om zeker te zijn dat de tanden in goede staat zijn. Vervang versleten of beschadigde tanden.
Inspecteer het terrein waarop u de machine wilt gebruiken en verwijder alle voorwerpen die de machine zou kunnen raken.
Markeer alle elektrische of communicatieleidingen, onderdelen van het beregeningssysteem en andere obstakels op het terrein dat zal worden belucht. Verwijder de hindernissen indien mogelijk of plan hoe u ze kunt vermijden.
Parkeer de machine op een horizontaal oppervlak, hef de handgreep geheel naar boven tot deze vergrendelt om de parkeerrem in te schakelen, schakel de motor uit, verwijder het contactsleuteltje, en wacht totdat alle bewegende delen tot stilstand zijn gekomen.
Controleer of de dodemansknoppen, de veiligheidsschakelaars en de veiligheidsschermen zijn bevestigd en naar behoren werken. Gebruik de machine uitsluitend als deze naar behoren werken.
Wees uiterst voorzichtig bij het omgaan met brandstof. Brandstof is ontvlambaar en de dampen kunnen tot ontploffing komen.
Doof alle sigaretten, sigaren, pijpen en andere ontstekingsbronnen.
Gebruik uitsluitend een goedgekeurd vat of blik voor de brandstof.
Wanneer de motor loopt of heet is, mag u de brandstofdop niet verwijderen of brandstof toevoegen.
Geen brandstof bijvullen of aftappen in een afgesloten ruimte.
Bewaar de machine en het brandstofvat niet op plaatsen waar open vlammen, vonken of waakvlammen (bv. van een boiler of een ander toestel) aanwezig kunnen zijn.
Probeer de motor niet te starten als u brandstof hebt gemorst; voorkom elke vorm van open vuur of vonken totdat de brandstofdampen volledig zijn verdwenen.
| Type | Loodvrije benzine |
| Minimaal octaangetal | 87 (VS) of 91 (researchoctaangetal; buiten de VS) |
| Ethanol | Niet meer dan 10% van het volume |
| Methanol | Geen |
| MTBE (methyl-tertiair-butylether) | Niet meer dan 15% van het volume |
| Olie | Niet toevoegen aan de brandstof |
Gebruik uitsluitend schone, verse brandstof (minder dan 30 dagen oud) van een betrouwbare leverancier.
Important: Om startproblemen te verminderen, moet u stabilizer/conditioner toevoegen aan de verse brandstof volgens de voorschriften van de fabrikant van de stabilizer/conditioner.
Inhoud brandstoftank: 26,5 liter
Parkeer de machine op een horizontaal oppervlak, hef de handgreep geheel naar boven tot deze vergrendelt om de parkeerrem in te schakelen, schakel de motor uit, verwijder het contactsleuteltje, en wacht totdat alle bewegende delen tot stilstand zijn gekomen.
Reinig de omgeving van de tankdop en verwijder deze (Figuur 30).

Vul de brandstoftank totdat het peil 6 mm tot 13 mm onder de onderkant van de vulbuis staat.
Important: De ruimte in de tank geeft de brandstof de kans om uit te zetten. Vul de brandstoftank niet helemaal.
Draai de tankdop stevig vast.
Neem eventueel gemorste brandstof op.
Voer elke dag voordat u de machine start de procedures uit in het onderdeel Telkens voor gebruik/Dagelijkse procedure beschreven in .
| Onderhoudsinterval | Onderhoudsprocedure |
|---|---|
| Bij elk gebruik of dagelijks |
|
Als het veiligheidssysteem (interlock) is afgekoppeld of beschadigd zou de machine onverwacht in werking kunnen komen en lichamelijk letsel kunnen veroorzaken.
Laat de interlockschakelaars van het veiligheidssysteem ongemoeid.
Controleer elke dag de werking van het veiligheidssysteem en vervang eventuele beschadigde onderdelen van het systeem voordat u de machine gebruikt.
Het veiligheidssysteem zorgt ervoor dat de motor alleen kan worden gestart als de tractiehendel in de NEUTRAALSTAND staat.
Het veiligheidssysteem voorkomt het starten van de motor als de dodemanshandgreep niet geheel vrij staat.
Het veiligheidssysteem voorkomt het starten van de motor als de beluchtingshandgreep niet geheel vrij staat.
Het veiligheidssysteem heft de beluchtingskop op en schakelt de kop uit als u de machine achteruit rijdt tijdens het beluchten, of als u de stootschakelaar aanraakt.
Important: Als het veiligheidssysteem niet functioneert als hier beschreven moet u het systeem direct door een erkende Toro verdeler laten repareren.
Als de beluchtingskop in de gezakte stand staat handel dan als volgt. Als de beluchtingskop in de geheven stand staat ga dan door met Controle van de beveiliging (interlock) van de startmotor .
Start de motor en zet het motortoerental op LAAG; zie Motor starten.
Duw de handgreep (Figuur 31) naar beneden.

Druk op één van de knoppen van het InfoCenter.
Note: De beluchtingskop gaat naar boven.
Zet de motor af, zie De motor afzetten.
Als de motor loopt zet deze dan uit.
Druk één van de dodemanshendels tegen de handgreep en draai de tractieregeling (Figuur 32) naar voren of naar achteren, en start de motor.
Important: De motor mag niet starten.

Laat de dodemanshendel los, zet de tractiebediening op NEUTRAAL en start de motor.
Druk één van de dodemanshendels tegen de handgreep en draai de bovenkant van de tractieregeling naar voren (Figuur 33).
Note: De machine rijdt vooruit.

Hou de tractiebediening in deze stand en laat de dodemanshendel (Figuur 34) los.
Important: De machine moet stoppen met vooruitrijden.

Druk één van de dodemanshendels tegen de handgreep en draai de bovenkant van de tractieregeling naar voren (Figuur 35).
Note: De machine rijdt vooruit.

Hou de dodemanshendel en de tractieregeling in deze stand, en druk tegen de stootschakelaar (Figuur 36).
Important: De machine moet stoppen met vooruitrijden.
Note: De motor blijft lopen.

Reset de stootschakelaar, zie Resetten van de stootschakelaar .
Voer één van de onderstaande handelingen uit:
Zet de machine op een stuk gras dat u kunt beluchten zonder beschadiging van de tanden of het gras.
Verwijder de tanden.
Druk één van de dodemanshendels tegen de handgreep en draai de bovenkant van de tractieregeling naar voren, sluit de beluchtingshandgreep (Figuur 37) dan.
Note: De machine rijdt vooruit, de beluchtingskop draait, en de kop zakt.

Hou de dodemanshendel en de beluchtingshandgreep ingedrukt, en draai de bovenkant van de tractieregeling naar achter (Figuur 38).
Important: De beluchtingskop moet omhoogkomen en stoppen met draaien.
Note: De motor blijft lopen.

Zet de tractieregeling op NEUTRAAL.
Als u de tanden heeft verwijderd, monteer deze dan en kalibreer de hoogte van de tanden boven de grond, zie Monteren van de tanden op de beluchtingskop en Kalibreren van de hoogte van de tanden boven de grond .
Important: Als u wisselt tussen lange en korte tanden, of omgekeerd, moet u de hoogte van de tanden boven de grond altijd kalibreren.
Er is een breed scala tandhouders, beschermvingers en tanden verkrijgbaar voor de machine. U kunt de benodigde onderdelen kiezen uit het overzicht van werktuigen en accessoires.
Breng de beluchtingskop omhoog en zet deze vast met de onderhoudsvergrendeling De beluchtingskop ondersteunen met de onderhoudsvergrendeling.
Parkeer de machine op een horizontaal oppervlak, hef de handgreep geheel naar boven tot deze vergrendelt om de parkeerrem in te schakelen, schakel de motor uit, verwijder het contactsleuteltje, en wacht totdat alle bewegende delen tot stilstand zijn gekomen.
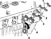
Note: Af fabriek zijn de klemmen voor de beschermvingers en flensborgmoeren bevestigd aan de beugels van de beschermvingers (Figuur 39).
Zet de beschermvingers losjes op de beugels van de beschermvingers met de 4 klemmen van de beschermvingers en 12 flensborgmoeren (3/8") en 12 onderlegringen (7/16 x 13/16").
Note: Zet de flensborgmoeren nog niet vast.

Zet de tandenklem losjes op de tandhouder (Figuur 40) met 4 bouten (⅜ x 1½"). Draai de bouten niet aan.
Note: De bouten zijn onderdelen van de tandhouderset.

Monteer de tanden in de tandhouder en tandklem (Figuur 41).

Trek de bouten (⅜ x 1½") aan tot 40,6 N∙m om de tandklemmen en tanden vast te zetten.
Herhaal stap 1 tot 3 voor de andere tandklemmen, tandhouders en tanden.
Monteer de tandhouder en tanden losjes op tandarm nr. 2 (Figuur 42 en Figuur 43) met 3 bouten (½ x 1¼").


Draai de bouten (½ x 1¼") vast met 102 Nm.
Herhaal stap 1 en 2 voor tandarm nr. 5.
Controleer de uitlijning van de sleuven voor de beschermvingers met de tanden om te verzekeren dat ze gecentreerd zijn (Figuur 44).
Note: Monteer de beschermvingers naar behoefte.

Draai de flensborgmoeren (⅜") aan om de 3 klemmen van de beschermvingers en de 3 beschermvingers vast te zetten op de 3 beugels van de beschermvingers.
Monteer de overgebleven tandhouder en tanden op tandhouders nr.. 1, 3, 4, en 6, met 12 bouten (½ x 1¼").
Draai de bouten (½ x 1¼") vast met 102 Nm.
Kalibreer de machine voor de hoogte van de tanden boven de grond, zie Activeer de applicatie voor het instellen van de hoogte boven de grond .
Draai het contactsleuteltje naar de stand LOPEN.
Als de pijlen niet worden weergegeven op het TRANSPORT scherm of het BELUCHTEN scherm, voer dan de pincode in om toegang te krijgen tot de beveiligde menu’s; raadpleeg Naar beveiligde menu's gaan.
Note: Het TRANSPORT of BELUCHTEN scherm verschijnt (Figuur 45).

Druk twee keer op de rechter knop om het scherm voor het kalibreren van de hoogte van de tanden boven de grond (Figuur 46) te bereiken.
Note: Druk op de linker knop om het TRANSPORTscherm of het BELUCHTEN scherm weer te geven.

Druk op de rechter knop om het scherm voor het instellen van de gatdiepte te bereiken (Figuur 47).
Note: Druk op de linker knop om de knop voor het instellen van de hoogte boven de grond te bereiken.

Druk op de rechter knop om het scherm voor het instellen van de gatafstand (Figuur 48) te bereiken.
Note: Druk op de linker knop om het scherm voor het instellen van de gatdiepte te bereiken.

Druk op de rechter knop om het scherm voor het instellen van de tanddoorsnede (Figuur 48) te bereiken.
Note: Druk op de linker knop om het scherm voor het instellen van de gatafstand (tussenruimte) te bereiken.

Druk op de rechter knop om het scherm voor het instellen van het aantal tanden (Figuur 50) te bereiken.
Note: Druk op de linker knop om het scherm voor het instellen van de tanddoorsnede te bereiken.

Note: De ProCore 648s is ontworpen voor optimale beluchting in een breed scala van gras- en bodemsoorten, agronomische omstandigheden en tandtypes indien ingesteld op een diepte van 7,6 cm. Bij gebruik op kleinere diepten, met name minder dan 5 cm en met kleinere tanden, kan het bodemoppervlak sterker verstoord worden.
Verzeker dat beluchtingskop in de geheven stand staat, zie Heffen van de beluchtingskop .
Draai het contactsleuteltje naar de stand LOPEN.

Druk op de rechter knop tot het scherm voor het instellen van de gatdiepte bereikt is (Figuur 51 en Figuur 52).
Stel de tanddiepte als volgt in met de richtingknoppen omhoog en omlaag (Figuur 52):
Druk op de knop omlaag om de gatdiepte te verkleinen.
Druk op de knop omhoog om de gatdiepte te vergroten.

Druk op de linker of rechter knop om uw instelling te bewaren en het scherm voor het instellen van de diepte te verlaten.
Draai het contactsleuteltje naar de stand UIT.
Note: Als bij beluchten op de maximaal toegestane diepte (met tanden van elke lengte) na het uitvoeren van de kalibratie van de grondhoogte de bouten van de beschermvingers slepen of het gazon raken, verminder de werkdiepte dan met een stap (¼").
Note: Als u de gewenste gatafstand instelt dan regelt de machine de rijsnelheid om de afstand te handhaven.
Verzeker dat beluchtingskop in de geheven stand staat, zie Heffen van de beluchtingskop .
Draai het contactsleuteltje naar de stand LOPEN.

Druk op de rechter knop tot het scherm voor het instellen van de gatafstand (tussenruimte) bereikt is (Figuur 53 en Figuur 54).
Stel de gatafstand (Figuur 54) als volgt in:
Druk op de knop omlaag om de gatafstand te verkleinen.
Druk op de knop omhoog om de gatafstand te vergroten.

Druk op de linker of rechter knop om uw instelling te bewaren en het scherm voor het instellen van de afstand te verlaten.
Draai het contactsleuteltje naar de stand UIT.
Verzeker dat beluchtingskop in de geheven stand staat; zie Heffen van de beluchtingskop .
Draai het contactsleuteltje naar de stand LOPEN.

Druk op de rechter knop tot het scherm voor het instellen van de tanddoorsnede bereikt is (Figuur 55 en Figuur 56).
Stel de tanddoorsnede als volgt in met de richtingknoppen omhoog en omlaag (Figuur 56):
Druk op de knop omhoog om de tanddoorsnede te vergroten.
Druk op de knop omlaag om de tanddoorsnede te verkleinen.

Druk op de linker of rechter knop om uw instelling te bewaren en het scherm voor het instellen van de doorsnede te verlaten.
Draai het contactsleuteltje naar de stand UIT.
Verzeker dat beluchtingskop in de geheven stand staat, zie Heffen van de beluchtingskop .
Draai het contactsleuteltje naar de stand LOPEN.

Druk op de rechter knop tot het scherm voor het instellen van het aantal tanden bereikt is (Figuur 58).
Stel het aantal tanden als volgt in met de richtingknoppen omhoog en omlaag (Figuur 58):
Important: Het aantal tanden is het aantal tanden voor 1 houder.
Druk op de knop omhoog om het aantal tanden te vergroten.
Druk op de knop omlaag om het aantal tanden te verlagen.

Druk op de linker of rechter knop om uw instelling te bewaren en het scherm voor het instellen van het aantal tanden te verlaten.
Draai het contactsleuteltje naar de stand UIT.
| Onderhoudsinterval | Onderhoudsprocedure |
|---|---|
| Bij elk gebruik of dagelijks |
|
Important: Kalibreer de hoogte van de tanden boven de grond altijd als u de tanden verwisselt of versleten tanden vervangt.
Verzeker dat beluchtingskop in de geheven stand staat.
Parkeer de machine op een horizontaal oppervlak, hef de handgreep geheel naar boven tot deze vergrendelt om de parkeerrem in te schakelen, schakel de motor uit, verwijder het contactsleuteltje, en wacht totdat alle bewegende delen tot stilstand zijn gekomen.
Verwijder de kap van de beluchtingskop, zie Verwijderen van kap van de beluchtingskop.
Verdraai de poelie van de beluchtingskop (Figuur 59) tot de buitenste tanden het dichtst bij de grond staan (Figuur 60).
Important: Hou uw vingers uit de buurt van het gebied waar de riem de poelie bereikt en verlaat, zodat uw vingers niet beklemd worden.


Monteer de kap van de beluchtingskop, zie Monteren van kap van de beluchtingskop.
Draai het contactsleuteltje naar de stand LOPEN.
Note: Het TRANSPORT of BELUCHTEN scherm verschijnt (Figuur 61).

Stel de handgreep zo in dat u de buitenste tanden kunt zien, u heeft deze ingesteld in De machine klaarmaken .
Druk op de rechter knop tot u de TEACH GROUND HEIGHT wizard (applicatie voor het instellen van de hoogte boven de grond) bereikt.
In het scherm Teach Ground Height (Figuur 62) drukt u op een van de middelste knoppen.

In het scherm DRUK OP OK OM TE BEGINNEN MET INSTELLEN - PRESS OK TO START TEACH scherm (Figuur 63) drukt u op de selectieknop.

Note: Het bericht KALIBRATIE INGESCHAKELD - CALIBRATION ENGAGED verschijnt, en de beluchtingskop zakt langzaam naar beneden.
Important: Hou uw hand bij het InfoCenter.
Note: De beluchtingskop zakt langzamer als de hydraulische vloeistof koud is.
Als een tand de grond raakt, drukt u op de selectieknop in het scherm Kop laten zakken - Lowering Head (Figuur 64).
Note: De tanden moeten de grond net raken, ze mogen de machine niet opheffen of het gewicht overnemen van de wielen. Als de beluchtingskop de machine opheft zal de hoogte boven de grond niet goed worden gekalibreerd. Dat leidt tot een onjuiste gatdiepte en vervorming van het beluchtingsgat.

Note: het bericht KALIBRATIE VOLTOOID - CALIBRATION COMPLETE verschijnt, en de beluchtingskop beweegt geheel naar boven.
Druk op de knop terug om de Teach Ground Height applicatie te verlaten.
De eigenaar/bestuurder is verantwoordelijk voor ongevallen die kunnen leiden tot lichamelijk letsel en materiële schade, en hij kan zulke ongevallen voorkomen.
Draag geschikte kleding en uitrusting, zoals oogbescherming, een lange broek, stevige schoenen met een gripvaste zool en gehoorbescherming. Draag lang haar niet los, steek losse kledingstukken goed vast en draag geen bungelende juwelen.
Gebruik de machine niet als u moe, ziek of onder de invloed van alcohol of drugs bent.
Hou omstanders, kinderen en huisdieren uit de buurt van het werkgebied. Laat kinderen nooit de machine bedienen. Laat de machine uitsluitend bedienen door mensen die verantwoordelijk, opgeleid en met de instructies bekend zijn, en die fysiek in staat zijn de machine te bedienen.
Vervoer nooit passagiers op de machine.
Gebruik de machine uitsluitend bij goede zichtbaarheid zodat u uit de buurt van kuilen en verborgen gevaren kunt blijven.
Houd uw handen en voeten uit de buurt van de tanden.
Kijk achterom en omlaag voordat u achteruitrijdt om er zeker van te zijn dat de weg vrij is.
Stop de machine, zet de motor uit, verwijder het sleuteltje, wacht totdat alle bewegende onderdelen tot stilstand zijn gekomen en controleer de tanden als u een voorwerp heeft geraakt of de machine abnormaal begint te trillen. Voer alle noodzakelijke reparaties uit voordat u de machine weer in gebruik neemt.
Houd de banden altijd op de juiste spanning.
Verminder uw tractiesnelheid op oneffen wegen en oppervlakken.
Het maaien op hellingen is een belangrijke factor bij ongelukken waarbij de controle over de machine wordt verloren of deze omkantelt. Dit kan ernstig of dodelijk letsel veroorzaken. U bent verantwoordelijk voor een veilig gebruik van de machine op hellingen. Gebruik van de machine op hellingen vereist altijd extra voorzichtigheid.
Onderzoek de toestand van het werkgebied om te bepalen of de machine veilig kan worden gebruikt op de helling. Gebruik altijd uw gezond verstand en uw beoordelingsvermogen wanneer u dit onderzoek uitvoert.
Neem de hieronder genoemde instructies voor gebruik van de machine op hellingen door en beoordeel de omstandigheden om na te gaan of u de machine in de specifieke situatie op het betreffende terrein kunt gebruiken. Veranderingen in het terrein kunnen ertoe leiden dat de machine zich anders gedraagt op een helling.
Vermijd starten, stoppen of bochten maken op hellingen. Voorkom dat u plotseling de snelheid of de rijrichting van de machine moet veranderen. Keer traag en geleidelijk om.
Gebruik de machine niet in omstandigheden waarin u niet zeker bent van de tractie, het stuurgedrag of de stabiliteit.
Verwijder of markeer obstakels zoals greppels, putten, geulen, hobbels, stenen en andere verborgen gevaren. In hoog gras zijn obstakels niet altijd zichtbaar. De machine kan omslaan op oneffenheden in het terrein.
Denk eraan dat de machine tractie kan verliezen doordat u bergafwaarts, op nat gras of dwars op een helling maait. Als de aandrijfwielen tractie verliezen, kan de machine gaan schuiven en kunt u de controle over de remmen en het stuur verliezen.
Rij zeer voorzichtig als u de machine gebruikt in de buurt van steile hellingen, greppels, dijken, waterpartijen en andere gevaarlijke punten. De machine kan plotseling omslaan als een wiel over de rand komt, of als de rand instort. Zorg voor een veilige afstand tussen de machine en een gevarenzone.
Beweeg de handgreep geheel naar boven om de parkeerrem in te schakelen (Figuur 65).

Verzeker dat handgreepvergrendelpen door het gat in de vergrendelplaat steekt (Figuur 66).
Als de parkeerrem niet wordt ingeschakeld kan de machine in beweging komen en u of omstanders verwonden.
Verzeker dat handgreep geheel naar boven staat en goed aangrijpt in de vergrendelplaat.

Zet de handgreep geheel naar boven en vergrendel deze om de parkeerrem in te schakelen, zie De handrem inschakelen.
Gebruik de choke als volgt:Figuur 70
Voordat u een koude motor start, moet u de chokehendel in de stand AAN zetten.
Wanneer u een warme of hete motor start, hoeft u de choke misschien niet te gebruiken.

Zet de gashendel op SNEL voordat u een koude motor start.
Draai het contactsleuteltje naar de stand START. Laat het sleuteltje los zodra de motor aanslaat.
Important: Stel de startmotor telkens niet langer dan 10 seconden in werking. Als de motor niet wil starten, moet u na elke poging de motor 30 seconden laten afkoelen. Indien u deze instructies niet opvolgt, kan de startmotor doorbranden.
Zodra de motor start, schakelt u de chokehendel op de stand UIT. Als de motor afslaat of hapert, schakelt u de choke weer gedurende een paar seconden naar de stand AAN. Zet vervolgens de gashendel in de gewenste stand.
Note: Herhaal dit indien nodig.
Kinderen of omstanders kunnen letsel oplopen als zij de machine verplaatsen of proberen te bedienen terwijl deze onbeheerd staat.
Als u de machine onbeheerd achterlaat, al is het maar enkele minuten, zet de handgreep dan altijd geheel naar boven en vergrendel deze om de parkeerrem in te schakelen, schakel de motor uit, en neem het contactsleuteltje uit.
Zet de handgreep geheel naar boven en vergrendel deze om de parkeerrem in te schakelen, zie De handrem inschakelen.
Zet de gashendel Figuur 71 op LAAG.

Laat de motor 60 seconden stationair draaien.
Draai het contactsleuteltje naar de stand UIT en haal het sleuteltje uit het contact.
Als de machine vervoerd of gestald wordt sluit dan de brandstofafsluitklep (Figuur 72).
Important: Sluit de brandstofafsluitklep voordat u de machine vervoert op een aanhangwagen of voordat u de machine stalt. Zet de handgreep geheel naar boven en vergrendel deze om de parkeerrem in te schakelen voordat u de machine vervoert. Verwijder het sleuteltje uit het contact zodat de brandstofpomp niet kan draaien waardoor de accu ontladen zou worden.

Important: Tijdens het gebruik moet u voor de machine en voorwaarts lopen. Loop en kijk nooit achterwaarts tijdens het gebruik van de machine.

Met de snelheidsvergrendeling kunt u de machine laten rijden zonder dat u de tractiebediening ingedrukt hoeft te houden.
Note: U kunt de snelheidsvergrendeling niet gebruiken als u de machine achteruit rijdt.
Als u de snelheidsvergrendeling gebruikt tijdens het beluchten kunt u de machine laten rijden op de ingestelde snelheid voor het bereiken van de juiste gatafstand bij het bereiken van het einde van een baan. U kunt de machine dan keren, en aan de volgende baan beginnen, zonder verstellen van de tractieregeling.
Note: De snelheidsvergrendeling in de Beluchten- stand is actief als de beluchtingskop is ingesteld op vertraagd zakken. De snelheidsvergrendeling is niet beschikbaar als de kop is ingesteld op direct zakken.
De snelheidsvergrendeling werkt net zoals de cruise control van een auto.
Zet de Transport/Beluchten schakelaar in de TRANSPORT- stand (Figuur 74).

Zet de schakelaar voor snelheidsvergrendeling op AAN.
Rij de machine vooruit met de gewenste snelheid.
Zet de schakelaar voor snelheidsvergrendeling op ACTIVEREN.
Note: De snelheidsvergrendeling handhaaft de rijsnelheid van de machine nu. U kunt de tractiebediening loslaten.
Om de snelheidsvergrendeling te deactiveren voert u één van de onderstaande handelingen uit:
Zet de schakelaar voor snelheidsvergrendeling op UIT.
Verdraai de bovenkant van de tractiebediening naar achteren om de machine achteruit te rijden.
Laat de dodemanshandgreep los.
Druk de stootschakelaar in.
Note: De vergrendeling van de rijsnelheid is niet beschikbaar als de kop is ingesteld op direct zakken.
Zet de Transport/Beluchten schakelaar in de BELUCHTEN- stand (Figuur 75).

Zet de schakelaar voor snelheidsvergrendeling op AAN.
Rij de machine vooruit en sluit de beluchtingshandgreep.
Note: De snelheidsvergrendeling van de rijsnelheid wordt ingeschakeld, en beluchtingskop zakt.
Aan het uiteinde van de baan laat u de beluchtingshandgreep los.
Note: De beluchtingskop gaat naar boven, de machine handhaaft de rijsnelheid die vereist voor de gatafstand.
Om de snelheidsvergrendeling te deactiveren voert u één van de onderstaande handelingen uit:
Zet de schakelaar voor snelheidsvergrendeling op UIT.
Verdraai de bovenkant van de tractiebediening naar achteren om de machine achteruit te rijden.
Laat de dodemanshandgreep los.
Druk de stootschakelaar in.
Note: Gebruik de Transport stand als u de machine wilt verplaatsen tussen werkplekken.
Note: De machine rijdt met een verminderde, instelbare snelheid als de Transport/Beluchten schakelaar in de BELUCHTEN- stand staat.
Start de motor en zet de gashendel op SNEL, zie Motor starten.
Laat de handgreep zakken om parkeerrem vrij te zetten, zie Parkeerrem vrijzetten.
Zet de linkerkant van de Transport/Beluchten schakelaar op de TRANSPORT- stand (Figuur 76).

Note: Het InfoCenter toont het TRANSPORT pictogram (Figuur 77).

Kijk in de richting waar u naartoe wilt rijden om te controleren of de baan vrij is.
Pak de linker of rechter handgreep en de dodemanshendel (Figuur 76), en druk de beugel naar de handgreep.
Met uw duim verdraait u de tractieregeling (links of rechts) om de machine te laten rijden, als volgt:
Verdraai de bovenkant van de tractiebediening naar voren om de machine vooruit te laten rijden.
Verdraai de bovenkant van de tractiebediening naar achteren om de machine achteruit laten rijden.
Note: Als u de tractiebediening verder verdraait wordt de rijsnelheid van de machine hoger.
Important: Om de machine direct te stoppen drukt u de stootschakelaar in (Figuur 78).

Tijdens het beluchten laat u de beluchtingshandgreep (Figuur 79) los om de beluchtingskop omhoog te brengen, zie Heffen van de beluchtingskop.

Laat de tractiebediening los zodat deze naar de NEUTRAAL- stand beweegt.
Laat de dodemanshandgreep los.
Zet de handgreep geheel naar boven en vergrendel deze om de parkeerrem in te schakelen, zie De handrem inschakelen.
Note: Als de beluchtingskop in de geheven stand staat rijdt de machine op een lagere, instelbare snelheid.
Start de motor en zet de gashendel op SNEL, zie Motor starten.
Laat de handgreep zakken om parkeerrem vrij te zetten, zie Parkeerrem vrijzetten.
Zet de rechter kant van de Transport/Beluchten schakelaar op de BELUCHTEN- stand (Figuur 80).

Het InfoCenter toont de huidige gatdiepte en gatafstand (Figuur 81).

Kijk in de richting waar u naartoe wilt rijden om te controleren of de baan vrij is.
Pak de linker of rechter handgreep en de dodemanshendel (Figuur 80), en druk de hendel naar de handgreep.
Met uw duim verdraait u de bovenkant van de tractieregeling links of rechts om de machine vooruit te laten rijden.
Note: Gedurende het beluchten rijdt de machine op de snelheid om de gewenste gatafstand te bereiken.
Als u de vergrendeling van de rijsnelheid gebruikt, en de beluchtingshandgreep loslaat zonder de tractiebediening te verstellen dan zal de machine de rijsnelheid handhaven, net zoals de cruise control van een auto.
Als u de machine achteruit rijdt wordt de cruise control uitgeschakeld en rijdt de machine op de instelbare rijsnelheid.
Als u de kop omhoog zet om de machine om te keren voor de volgende baan kunt u de rijsnelheid verhogen door de tractieregeling verder naar voren te draaien. Als u de tractiebediening weer op NEUTRAAL zet neemt de snelheid van de machine af tot de vereiste snelheid voor de ingestelde gatafstand.
Bij het beluchten met vertraagd zakken kijkt u naar het voorwiel om het punt te bepalen waar de kop moet zakken.
Druk op de bovenkant van de keuzeschakelaar (Figuur 82) om VERTRAAGD ZAKKEN te kiezen.

Laat de machine vooruit rijden, zie Met de machine rijden in de Beluchten- stand.
Als het voorwiel over de grens van het te beluchten gebied beweegt sluit u de beluchtingshandgreep links of rechts (Figuur 83).
Note: De beluchtingskop gaat draaien en zakt terwijl de machine naar voren rijdt over het te beluchten gebied.

Bij het beluchten met vertraagd zakken kijkt u naar het voorwiel (Figuur 84) om het punt te bepalen waar de kop moet heffen.

Om de beluchtingskop te heffen voert u één van de onderstaande handelingen uit:
Als het voorwiel over de grens van het te beluchten gebied beweegt laat u de beluchtingshandgreep los (Figuur 85).
Note: De machine vertraagt het heffen van de beluchtingskop tot de kop het punt bereikt dat u bepaalde op basis van het voorwiel en het loslaten van de beluchtingshandgreep.

Laat de machine achteruit rijden, zie Met de machine achteruit rijden .
Druk op de onderkant van de keuzeschakelaar (Figuur 86) om DIRECT ZAKKEN te kiezen.
Note: Het lampje van de schakelaar gaat branden.

Laat de machine vooruit rijden, zie Met de machine rijden in de Beluchten- stand.
Sluit de linker of rechter beluchtingshandgreep (Figuur 87).
Note: De beluchtingskop zakt direct en gaat beluchten.

Om de beluchtingskop te heffen voert u één van de onderstaande handelingen uit:
Laat de beluchtingshandgreep los (Figuur 88).
Note: De machine heft de beluchtingskop direct.

Laat de machine achteruit rijden, zie Met de machine achteruit rijden .
Laat de tractiebediening los zodat deze naar de NEUTRAAL- stand beweegt, en laat de dodemanshandgreep los (Figuur 91).

Beweeg van de stootschakelaar af (Figuur 92).
Note: Een veer in stootschakelaar reset de schakelaar.

Pak de linker of rechter handgreep en de dodemanshendel (Figuur 93), en druk de hendel naar de handgreep.

Laat de machine rijden, zie Met de machine rijden in de Transport stand of Met de machine rijden in de Beluchten- stand.
Met de lijnvolger kunt u de banen van de beluchter uitlijnen (Figuur 94).

De machine heeft twee tellers, voor het beluchtte oppervlak en voor het volume van de verplaatste grond in de pluggen. Met de gegevens van deze tellers kunt u de hoeveelheid topdressing schatten die op het beluchtte gebied moet worden aangebracht.
De Area 1 (oppervlak 1) teller is niet beveiligd met een pincode, het is de bedoeling dat deze teller door de gebruiker van de machine wordt gereset.
Note: Als de gebruiker de stand van de Area 1 teller voor elk belucht oppervlak noteert kunt u de vereiste topdressing en vereiste levering voor elk oppervlak schatten.
De Area 2 (oppervlak 2) teller is beveiligd met een pincode, het is de bedoeling dat deze teller door de leidinggevende of plaatsvervanger wordt gereset.
Het beluchtte oppervlak wordt weergegeven in m2 (SI) of ft2 (Engelse) eenheden.
Het verplaatste volume van de pluggen wordt weergegeven in m3 (SI) of yd3 (Engelse) eenheden.
Bij het weergeven van de tellers voor het verplaatste volume berekent de machine het volume op basis van de tanddoorsnede en het aantal tanden dat u in het InfoCenter heeft ingevoerd.
Important: Als de tanddoorsnede en/of aantal tanden onjuist zijn voordat het beluchten begint zal het InfoCenter onjuiste volumes berekenen voor Area 1 en Area 2. Als de doorsnede en/of het aantal na het beluchten worden gewijzigd zal het InfoCenter de weergegeven volumes opnieuw berekenen.
Parkeer de machine op een horizontaal oppervlak.
Verzeker dat de motor loopt of het contactsleuteltje in de stand LOPEN staat.
In het InfoCenter gaat u naar het HOOFDMENU.
Druk op de knop omlaag tot de optie ONDERHOUD - SERVICE gekozen is en druk dan op de selectieknop (Figuur 95).

In het ONDERHOUD - SERVICE scherm drukt u op de knop omlaag tot de optie STATISTIEK - STATISTICS gekozen is, en dan drukt u op de selectieknop (Figuur 96).

Note: Een AREA teller verschijnt op het scherm STATISTIEK - STATISTICS.

In het scherm STATISTIEK -STATISTICS, drukt u op de knop omlaag tot de optieAREA 1 is gekozen (Figuur 98).

Maak een aantekening van het beluchtte oppervlak en het volume van de plugs, zie onderstaand voorbeeld.
|
Datum |
Baan (bij meerdere banen) |
Locatie |
Belucht oppervlak |
Volume van de pluggen |
Druk op de selectieknop om het oppervlak en volume te resetten.
In het scherm OPPERVLAK EN VOLUME RESETTEN - RESET AREA AND VOLUME drukt u op de selectieknop.
Note: Het InfoCenter toont het scherm met statistieken, en de tellers voor het oppervlak en volume worden gereset tot 0.
Note: Als u de Area 1 teller niet reset blijven de tellers voor het oppervlak en volume doorlopen.

Herhaal indien nodig de stappen 1 tot 4.
Druk op de knop terug om terug te keren naar het hoofdscherm.
Note: Het resetten van de AREA 2 tellers leidt niet tot het resetten van de AREA 1 tellers.
Voer de pincode voor toegang tot de beveiligde menu’s in, zie Naar beveiligde menu's gaan.
In het scherm STATISTIEK -STATISTICS, drukt u op de knop omlaag tot de optieAREA 2 is gekozen (Figuur 100).

Indien nodig maakt u een aantekening van het beluchtte oppervlak en volume van de pluggen.
Druk op de selectieknop om het oppervlak en volume te resetten.
In het scherm OPPERVLAK EN VOLUME RESETTEN - RESET AREA AND VOLUME drukt u op de selectieknop (Figuur 101).
Note: Het InfoCenter toont het scherm met statistieken, en de tellers voor het oppervlak en volume worden gereset tot 0.
Note: Als u de Area 2 teller niet reset blijven de tellers voor het oppervlak en volume doorlopen.

Druk op de knop terug om terug te keren naar het hoofdscherm.
Plaats de onderhoudsvergrendeling voordat u onderhoudswerkzaamheden uitvoert aan de beluchtingskop of als de beluchter voor meerdere dagen wordt gestald.
Als de beluchtingskop in de geheven stand staat en niet is vergrendeld, kan deze onverwacht omlaaggaan en u of omstanders verwonden.
Telkens wanneer u onderhoudswerkzaamheden verricht aan de beluchtingskop, inclusief het veranderen van tanden of beschermvingers, moet u de onderhoudsvergrendeling gebruiken om de beluchtingskop in de in de geheven stand te vergrendelen.
Breng de beluchtingskop omhoog.
Parkeer de machine op een horizontaal oppervlak, hef de handgreep geheel naar boven tot deze vergrendelt om de parkeerrem in te schakelen, schakel de motor uit, verwijder het contactsleuteltje, en wacht totdat alle bewegende delen tot stilstand zijn gekomen.
Verwijder de kap van de beluchtingskop, zie Verwijderen van kap van de beluchtingskop.
Verwijder de borgpen waarmee de onderhoudsvergrendeling is verbonden met de zijplaat (Figuur 102).

Draai de onderhoudsvergrendeling naar achteren en lijn deze uit met de steunpen van de beluchtingskop.
Zet de vergrendeling vast op de steunpen met de borgpen.
Indien nodig: monteer de kap van de beluchtingskop, zie Monteren van kap van de beluchtingskop.
Parkeer de machine op een horizontaal oppervlak, hef de handgreep geheel naar boven tot deze vergrendelt om de parkeerrem in te schakelen, schakel de motor uit, verwijder het contactsleuteltje, en wacht totdat alle bewegende delen tot stilstand zijn gekomen.
Als de kap van de beluchtingskop gemonteerd is, verwijder deze dan, zie Verwijderen van kap van de beluchtingskop.
Verwijder de borgpen waarmee de onderhoudsvergrendeling is bevestigd aan de steunpen van de beluchtingskop (Figuur 103).

Draai de onderhoudsvergrendeling naar beneden en lijn deze uit met de steunpen van de zijplaat.
Zet de vergrendeling vast op de steunpen met de borgpen.
Monteer de kap van de beluchtingskop, zie Monteren van kap van de beluchtingskop.
Important: Vervang een beschadigde tand door een nieuwe tand van dezelfde lengte. Als er tanden van verschillende lengtes worden gebruikt zien de gaten er minder goed uit.
Tanden van verschillende lengtes zijn van invloed zijn op de vorm van de gaten.
Raadpleeg Monteren van de beschermvingers, tandhouders en tanden voor afbeeldingen.
Breng de beluchtingskop op en zet deze vast met de onderhoudsvergrendeling.
Parkeer de machine op een horizontaal oppervlak, hef de handgreep geheel naar boven tot deze vergrendelt om de parkeerrem in te schakelen, schakel de motor uit, verwijder het contactsleuteltje, en wacht totdat alle bewegende delen tot stilstand zijn gekomen.
Maak de bouten van de tandhouder los en verwijder de oude tand(en).
Steek de nieuwe tand(en) in de tandhouder.
Draai de bouten van de tandhouder aan tot 40,6 N·m.
Indien nodig: herhaal deze procedure bij de overige armen.
Gebruik de Recall ground height applicatie om de huidige hoogte van de tanden boven de grond weer te geven.
De applicatie beweegt de kop omlaag naar de eerder gekalibreerde positie. Zodra de kop in positie is, kunt u de afstand van de tandpunten tot de grond inspecteren.
Verzeker dat beluchtingskop in de geheven stand staat.
Parkeer de machine op een horizontaal oppervlak, hef de handgreep geheel naar boven tot deze vergrendelt om de parkeerrem in te schakelen, schakel de motor uit, verwijder het contactsleuteltje, en wacht totdat alle bewegende delen tot stilstand zijn gekomen.
Verwijder de kap van de beluchtingskop, zie Verwijderen van kap van de beluchtingskop.
Verdraai de poelie van de beluchtingskop (Figuur 104) tot de buitenste tanden het dichtst bij de grond staan.
Important: Hou uw vingers uit de buurt van het gebied waar de riem de poelie bereikt en verlaat, zodat uw vingers niet beklemd worden.


Monteer de kap van de beluchtingskop, zie Monteren van kap van de beluchtingskop.
Voer de pincode voor toegang tot de beveiligde menu’s in, zie Naar beveiligde menu's gaan.
In het InfoCenter gaat u naar het HOOFDMENU.
Druk op de knop omlaag tot de optie ONDERHOUD - SERVICE gekozen is en druk dan op de selectieknop (Figuur 105).

Druk op de knop omlaag op het InfoCenter om naar de optie GRONDHOOGTE - GROUND HEIGHT te gaan. Druk dan op de selectieknop.
Druk op de knop omlaag op het InfoCenter om naar de optie RECALL CALIBRATION - OPNIEUW KALIBREREN te gaan. Druk dan op de selectieknop.
In het scherm Weergaven van de hoogte boven d grond - Recall Ground Height (Figuur 106) drukt u op de selectieknop.

In het scherm Hoofd zal zakken - Head Will Lower (Figuur 107) drukt u op de selectieknop.

Note: Het bericht Lowering Head verschijnt en de beluchtingskop zakt.
Kijk naar de buitenste tanden om te zien of deze de volgende tekenen van onjuiste kalibratie tonen.
Als de tanden de grond in gaan: druk op de selectieknop (Figuur 108) en activeer de TEACH GROUND HEIGHT applicatie, zie Activeer de applicatie voor het instellen van de hoogte boven de grond .
Als de tanden boven de grond stoppen: druk op de selectieknop en activeer de TEACH GROUND HEIGHT applicatie, zie Activeer de applicatie voor het instellen van de hoogte boven de grond .

Als de buitenste tanden de grond net raken, druk dan op de selectieknop om de beluchtingskop omhoog te zetten.
De machine draagt gewicht over van de tractie-eenheid naar de beluchtingskop, zodat de gatdiepte hetzelfde blijft, ongeacht de structuur van de bodem. Indien de structuur van de bodem zo hard is dat de volledige beluchtingsdiepte niet kan worden bereikt, heeft de beluchtingskop mogelijk meer gewichtsoverdracht nodig. In de fabriek is de machine ingesteld op de normale gewichtsoverdracht. Om de neerwaartse druk van de veren voor de gewichtsoverdracht te verhogen, gaat u als volgt te werk:
Als de veerplaten plotseling losschieten, kunt u letsel oplopen.
Vraag iemand hulp als u de veer voor de gewichtsoverdracht instelt.
Parkeer de machine op een horizontaal oppervlak, hef de handgreep geheel naar boven tot deze vergrendelt om de parkeerrem in te schakelen, schakel de motor uit, verwijder het contactsleuteltje, en wacht totdat alle bewegende delen tot stilstand zijn gekomen.
Maak de voorste flensborgmoer en slotbout los, waarmee de veerspanplaat is gemonteerd op de steunbeugel van de beluchtingskop (Figuur 109).
Note: Verwijder de borgmoer en slotbout niet.

Verwijder de achterste flensborgmoer waarmee de veerbeugels zijn bevestigd aan de steunbeugel.
Note: Verwijder de slotbout niet.
Steek een 1/2" ratel of wringijzer in het vierkante gat in de veerspanplaat (Figuur 110).

Verdraai de ratel of het wringijzer om de spanning op de achterste slotbout te verminderen en neem deze uit het bovenste gat.
Note: Het bovenste gat is voor de normale gewichtsoverdracht.
Verdraai veerspanplaat tot deze samenvalt met het onderste gat in de in bevestigingsbeugel, plaats de slotbout door de gaten in de plaat en de beugel.
Note: Het onderste gat is voor de hogere gewichtsoverdracht. Als u de veerplaten omhoog draait, wordt de gewichtsoverdracht groter.
Bevestig de slotbout aan de bevestigingsbeugel en veerspanplaat met de flensborgmoer.
Draai de borgmoeren vast met een aandraaimoment van 37 tot 45 N·m.
Voor optimale gaten en machineprestaties moet u het automatische grondvolgsysteem gebruiken bij het beluchten.
Volg de grond alleen met de hand als de positiesensor van de tanden beschadigd is.
Parkeer de machine op een horizontaal oppervlak, hef de handgreep geheel naar boven tot deze vergrendelt om de parkeerrem in te schakelen, schakel de motor uit, verwijder het contactsleuteltje, en wacht totdat alle bewegende delen tot stilstand zijn gekomen.
Verwijder de kap van de beluchtingskop, zie Verwijderen van kap van de beluchtingskop.
Verwijder de borgpen waarmee diepteaanslag pen en afstandsstukken zijn gemonteerd op de stopbeugel (Figuur 111 en Figuur 112).


Plaats de afstandsstukken boven of onder de aanslagbeugel om de gewenste werkdiepte te verkrijgen.
Als alle afstandsstukken boven de beugel zitten, bedraagt de werkdiepte 10,7 cm.
Een dik afstandsstuk verandert de werkdiepte met 19 mm.
Een dun afstandsstuk verandert de werkdiepte met 9,5 mm.
Note: U moet altijd alle afstandsstukken monteren, ongeacht hun plaats.
Bevestig de diepteaanslag pen en de afstandsstukken op de aanslagbeugel met de borgpen.
Herhaal stap3 tot 5 aan de andere kant van de machine.
Important: Verzeker dat de plaatsing van de afstandsstukken boven en onder de linker en rechter aanslagbeugels gelijk zijn.
Monteer de kap van de beluchtingskop, zie Monteren van kap van de beluchtingskop.
Note: Als u met handbediening belucht moet u elke keer dat u de motor start het InfoCenter instellen op het handmatig volgen van de grond.
Draai het contactsleuteltje naar de stand LOPEN.
Note: Start de motor niet.
Voer de pincode voor toegang tot de beveiligde menu’s in, zie Naar beveiligde menu's gaan.
In het InfoCenter gaat u naar het HOOFDMENU.
Druk op de knop omlaag tot de optie MACHINE-INSTELLINGEN - MACHINE SETTINGS gekozen is en druk dan op de selectieknop.
Druk op de knop omlaag tot de optie MANUELE BELUCHTING - MANUAL AERATION is gekozen, en druk dan op de selectieknop (Figuur 113) om het handmatig beluchten op AAN te zetten.

Start de motor.
Belucht de grond met Beluchten met de kop ingesteld op vertraagd zakken of Beluchten met de kop ingesteld op direct zakken.
Note: Als u de motor uitschakelt en dan weer start zal de machine altijd naar automatisch grondvolgen schakelen.
Parkeer de machine op een horizontaal oppervlak, hef de handgreep geheel naar boven tot deze vergrendelt om de parkeerrem in te schakelen, schakel de motor uit, verwijder het contactsleuteltje, en wacht totdat alle bewegende delen tot stilstand zijn gekomen.
Verwijder de kap van de beluchtingskop, zie Verwijderen van kap van de beluchtingskop.
Verwijder de borgpen waarmee diepteaanslag pen en afstandsstukken zijn gemonteerd op de stopbeugel (Figuur 114).


Plaats alle afstandsstukken boven de aanslagbeugel.
Bevestig de diepteaanslag pen en de afstandsstukken op de aanslagbeugel met de borgpen.
Note: U moet alle afstandsstukken plaatsen.
Herhaal stap3 tot 5 aan de andere kant van de machine.
Monteer de kap van de beluchtingskop, zie Monteren van kap van de beluchtingskop.
Met de gewijzigde gewichtsoverdracht is het mogelijk een grasmat te beluchten waarbij de grond zo hard is dat de achterwielen van de grond komen. Hierdoor kan de gatafstand onregelmatig worden.
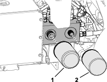
In dat geval kunt u optionele tegengewichtplaten monteren op de asbuis van het achterframe. Elke plaat voegt 28,5 kg toe aan de machine. U kunt maximaal 2 tegengewichtplaten monteren. Zie de Onderdelencatalogus van uw machine voor de onderdeelnummers van het tegengewicht en de bevestigingsmiddelen.
Vereist gereedschap: 15 mm dop en ratel
Important: Laat de motor met een geopend omloopventiel niet langer dan 10 tot 15 seconden lopen.
Parkeer de machine indien mogelijk op een horizontaal oppervlak.
Hef de handgreep geheel naar boven tot deze vergrendelt om de parkeerrem in te schakelen, schakel de motor uit, verwijder het contactsleuteltje, en wacht totdat alle bewegende delen tot stilstand zijn gekomen.
Verwijder de 2 bouten waarmee de opbergbak aan de beugel daarvan is bevestigd (Figuur 115).

Identificeer de kap van de schroef van het omloopventiel, tussen de motor en de hydraulische pomp, zoals in Figuur 116.

Draai het omloopventiel 1-1/2 slag naar links (tegen de klok in) met de 15 mm dop en ratel.
Important: Verdraai het omloopventiel niet meer dan 1-1/2 slag.
Als u de machine moet slepen, doe dit dan aan het bevestigingspunt aan de voorkant (Figuur 117).
Important: Duw/trek de machine niet meer dan 30,5 meter of sneller dan 0,6 km per uur omdat dit schade aan het hydraulische systeem kan veroorzaken.

Zet de handgreep naar beneden om de parkeerrem uit te schakelen voordat u de machine duwt of sleept.
Important: U moet de handgreep naar beneden zetten om de parkeerrem uit te schakelen voordat u de machine verplaatst.
Important: U moet het omloopventiel sluiten om met de machine te rijden. Probeer het tractiesysteem niet in werking te stellen als het omloopventiel is geopend.
Identificeer de schroef van het omloopventiel, tussen de motor en de hydraulische pomp.
Note: De plaats van de kap van de schroef van het omloopventiel is aangegeven in Figuur 118.

Draai het omloopventiel 1-1/2 slag naar rechts (met de klok mee) met de 15 mm dop en ratel.
Note: Draai het omloopventiel niet te vast aan.
Monteer de kap van de schroef van het omloopventiel op de hydraulische pomp met een 15 mm dop.
Monteer de opbergbak op de beugel met de 2 flenskopbouten.
Als de motor tijdens gebruik stopt en de beluchtingskop en tanden in de grond zitten en u de motor niet kunt starten, kies dan voor Heffen van de beluchtingskop met de startmotor of Verwijder de tandhouders uit de armen.
Zet het contactsleuteltje naar de stand LOPEN.
In het InfoCenter gaat u naar het HOOFDMENU.
Druk op de knop omlaag tot de optie ONDERHOUD - SERVICE gekozen is en druk dan op de selectieknop (Figuur 119).

Druk op de knop omlaag tot de optie OMHOOGBRENGEN VOOR ONDERHOUD - SERVICE LIFT gekozen is en druk dan op de selectieknop (Figuur 120).
Note: De optie Omhoogbrengen voor onderhoud - Service Lift verandert naar AAN.

Zet het contactsleuteltje in de START- stand, en laat de startmotor 10 seconden draaien.
Important: Stel de startmotor telkens niet langer dan 10 seconden in werking. Als de tanden nog niet uit de grond zijn gekomen, wacht dan 30 seconden voor de volgende poging. Indien u deze instructies niet opvolgt, kan de startmotor doorbranden.
Note: De beluchtingskop neemt de tanden uit de grond.
Important: De tanden moeten vrij van de grond zijn voordat u de machine kunt verplaatsen.
Open het omloopventiel, zie Omlopen van de hydraulische pomp en verplaatsen van de machine.
Trek/duw de machine naar een nabijgelegen plaats om de onderhoudswerkzaamheden voort te zetten of de machine op een aanhanger te laden.
Important: U mag de machine niet meer dan 30,5 meter of sneller dan 1,6 km per uur trekken/duwen omdat dit schade aan het hydraulische systeem kan veroorzaken.
Verwijder de tandhouders uit de armen.
Open het omloopventiel, zie Omlopen van de hydraulische pomp en verplaatsen van de machine.
Trek/duw de machine naar een nabijgelegen plaats om de onderhoudswerkzaamheden voort te zetten of de machine op een aanhanger te laden.
Important: U mag de machine niet meer dan 30,5 meter of sneller dan 1,6 km per uur trekken/duwen omdat dit schade aan het hydraulische systeem kan veroorzaken.
Neem de bochten heel voorzichtig tijdens het beluchten. Maak nooit een scherpe bocht als de beluchtingskop is ingeschakeld. Plan de beluchtingsroute voordat u de beluchtingskop neerlaat.
Let altijd op wat er komen gaat in de werkrichting. Belucht niet vlak bij gebouwen, hekken/rasters en machines/apparatuur.
Kijk veelvuldig achterom om te controleren of de machine naar behoren werkt en de banen steeds netjes naast elkaar liggen.
Verwijder altijd beschadigde machineonderdelen (zoals gebroken tanden) uit het werkgebied, om te voorkomen dat deze worden opgepikt door maaimachines en andere gazonmachines.
Vervang gebroken tanden; inspecteer en repareer beschadigde tanden die nog kunnen worden gebruikt. Herstel eventuele andere schade aan de machine voordat u met beluchten begint.
Als u wilt beluchten met minder dan de volle breedte van de machine, kunt u tanden verwijderen, maar de tandenkoppen moeten op de armen bevestigd blijven zodat de balans en de werking van de machine niet beïnvloed worden.
Deze machine belucht dieper dan de meester greensbeluchters. Op greens en tees, die zijn aangelegd op de bestaande bodemlaag, kunnen de tanden voor grotere diepte en langere holle pijpen verstopt raken. Dit komt doordat deze bodem harder is zodat er grond blijft zitten in de uiteinden van de tanden. Tanden voor greens/tees, waarbij de grond via de zijkant wordt afgevoerd (side-eject tines) blijven schoner en zijn sneller te reinigen. Dit verschijnsel zal uiteindelijk verdwijnen na herhaaldelijk beluchten en topdressen.
Deze machine is ontworpen om zoveel mogelijk diepte te bieden. In sommige gazonomstandigheden kunnen de beschermvingers en/of de bouten van de beschermvingers echter schade veroorzaken wanneer u belucht op de volledige werkdiepte. Als bij beluchten op de maximaal toegestane diepte (met tanden van elke lengte) na het uitvoeren van de kalibratie van de grondhoogte de bouten van de beschermvingers slepen of het gazon raken, verminder de werkdiepte dan met een stap (¼").
Als de grond te hard is om de gewenste werkdiepte te verkrijgen, bestaat de kans dat de beluchtingskop gaat stuiteren. Dit is te wijten aan de harde ondergrond waarin de tanden proberen binnen te dringen. Los dit probleem op door het volgende te proberen:
belucht niet als de grond te hard of te droog is. U verkrijgt de beste beluchtingsresultaten na een regenbui of nadat u het gazon de vorige dag heeft besproeid.
Gebruik een kop met drie tanden in plaats van een kop met vier tanden of verminder het aantal tanden per arm. Probeer de configuratie van de tanden symmetrisch te houden zodat de armen gelijkmatig worden belast.
Als de bodem compact is, moet u de werkdiepte van de beluchter (diepte-instelling) verminderen, de pluggen schoonmaken, het gazon besproeien en opnieuw beluchten met een grotere werkdiepte.
Bij beluchting van een bodem met een harde ondergrond (bijvoorbeeld grond/zand op een rotsachtige laag) kan de beluchtingskwaliteit te wensen overlaten. Dit is het geval als de werkdiepte groter is dan de bovenlaag en de ondergrond zo hard is dat de tanden deze niet kunnen binnendringen. Als de tanden in contact komen met deze hardere ondergrond, bestaat de kans dat de beluchter omhoogkomt en de bovenkant van de instekingen wordt uitgerekt. Verminder de werkdiepte zodat de tanden niet meer in contact kunnen komen met de harde ondergrond.
De kwaliteit van de gatopening loopt terug als de gaten sleufvormig worden.
Controleer in dit geval de kalibratie van de hoogte van de tanden boven de grond, zie Controleren van de kalibratie van de hoogte van de tanden boven de grond .
Omwille van het ontwerp met dubbele rijen moet de insteekafstand bij de beluchtingskop met minitanden worden ingesteld op 6,3 cm. De rijsnelheid is zeer belangrijk om het uiterlijk van een insteekafstand van 3,2 cm te behouden. Zie Instellen van de gatafstand (tussenruimte) als de insteekafstand iets moet worden gewijzigd.
Bij gebruik van de minitandhouder of grotere massieve tanden is de structuur van de graswortels belangrijk om te voorkomen dat de grasmat wordt beschadigd doordat de wortels worden stuk getrokken. Indien de middelste 2 armen het gras omhoogtrekken of de wortels ernstig worden beschadigd, gaat u als volgt te werk:
Vergroot de insteekafstand
Gebruik kleinere tanden
Verminder de werkdiepte
Verwijder een aantal tanden
De hefbeweging die massieve tanden creëren wanneer ze uit het gras worden getrokken kan de grasmat beschadigen. Bij deze beweging kunnen de wortels stuk worden getrokken als het aantal tanden te groot is of de diameter van de tanden te groot is.
Bij beluchting met langere massieve tanden (bijvoorbeeld met een lengte van 9,5 x 101,6 mm) of naaldpennen, kan de voorkant van de openingen sleufvormig worden of omhoog gaan staan. Om in dit geval weer goede gaten te vormen kunt u het volgende proberen:
Kalibreer de hoogte van de tanden boven de grond, zie Kalibreren van de hoogte van de tanden boven de grond .
Verminder het hoog-stationaire toerental tot 2800 - 2900 tpm.
Note: Omdat tractiesnelheid en de snelheid van de beluchtingskop samen met het motortoerental verhogen of verlagen, wordt de insteekafstand niet beïnvloed.
Als het lagere motortoerental de kwaliteit van de gaten gevormd door langere massieve of naaldvormige tanden niet verbetert, verstel de roto-link demper dan.
Note: In de meeste omstandigheden geeft de fabrieksinstelling de beste resultaten.
Als de voorkanten van de gaten sleufvormig zijn of omhoog staan kan een zwaardere instelling van de roto-link het verdrukken van de gaten verminderen en de kwaliteit van de gaten verhogen.
Als de achterkanten van de gaten sleufvormig zijn of omhoog staan kan een lichtere instelling van de roto-link de kwaliteit van de gaten verhogen.
Note: U moet de instelling van de roto-link demper weer terugstellen als u weer gaat werken met holle tanden of minitanden.
Parkeer de machine op een horizontaal oppervlak, hef de handgreep geheel naar boven tot deze vergrendelt om de parkeerrem in te schakelen, schakel de motor uit, verwijder het contactsleuteltje, en wacht totdat alle bewegende delen tot stilstand zijn gekomen.
Verwijder de kap van de beluchtingskop, zie Verwijderen van kap van de beluchtingskop.
Bevestig de beluchtingskop met de onderhoudsvergrendeling; raadpleeg De beluchtingskop ondersteunen met de onderhoudsvergrendeling.
Note: In de fabriek wordt 1 roto-link afstandsstuk op de roto-link demp-as gemonteerd, en wordt 1 afstandsstuk op de opbergplek gemonteerd, voor elke arm.
Note: Het verstellen van de roto-link dempers maakt het mogelijk de machine op vol toerental (3400 tpm) te laten draaien. Het kan echter nodig zijn te beluchten met een lager toerental om de kwaliteit van de gaten te verbeteren.
Verwijder de 2 flensborgmoeren waarmee roto-link demp-as is bevestigd op het achterframe van de machine (Figuur 121).

Verwijder het afstandsstuk (indien aanwezig op de opbergplek) en geharde ovale onderlegringen.
Draai de 'link' van de demper en de demp-as naar beneden (Figuur 122).

Verplaats het roto-link afstandsstuk om de onderstaande problemen met de vorming van de gaten op te lossen:
Note: Elk afstandsstuk komt overeen met 12,7 mm. Het onderste bumper-afstandsstuk moet op de demp-as gemonteerd blijven.
Als de voorkanten van de gaten sleufvormig zijn of omhoog staan plaats de afstandsstukken dan boven het achterframe, in de opbergpositie.
Als de achterkanten van de gaten sleufvormig zijn of omhoog staan plaats de afstandsstukken dan boven het achterframe, aan beide kanten van de as van de roto-link demper.
Draai de demper link en demp-as naar boven, en steek de tapeinden door de gaten in het achterframe van de machine.
Monteer de demp-as en afstandsstukken op het achterframe met de geharde ovale onderlegringen en borgmoeren (Figuur 123).

Draai de flensborgmoeren aan met 47 tot 61 N·m.
Herhaal stap 1 tot 7 voor de volgende 2 armen.
Berg de onderhoudsvergrendeling op, zie Opbergen van de onderhoudsvergrendeling.
Monteer de kap van de beluchtingskop, zie Monteren van kap van de beluchtingskop.
Voer de procedure voor het kalibreren van de hoogte van de tanden boven de grond uit, zie Kalibreren van de hoogte van de tanden boven de grond .
Transporteer de machine naar een testgebied, en belucht de grasmat om de kwaliteit van de gaten te beoordelen.
Als de gaten beter zijn, herhaal dan stap De machine klaarmaken , Instellen van de roto-link dempers en Monteren van kap van de beluchtingskop om de roto-link dempers van de andere 3 armen in te stellen.
Parkeer de machine op een horizontaal oppervlak, hef de handgreep geheel naar boven tot deze vergrendelt om de parkeerrem in te schakelen, schakel de motor uit, verwijder het contactsleuteltje, en wacht totdat alle bewegende delen tot stilstand zijn gekomen.
Als de machine niet wordt gebruikt moet u de beluchtingskop laten zakken, of de kap vastzetten met de onderhoudsvergrendeling.
Zorg ervoor dat alle onderdelen van de machine in goede staat verkeren en alle bevestigingselementen stevig vastzitten.
Vervang versleten, beschadigde en ontbrekende stickers.
| Onderhoudsinterval | Onderhoudsprocedure |
|---|---|
| Bij elk gebruik of dagelijks |
|
Important: Gebruik geen brak of teruggewonnen water om de machine schoon te maken.
Important: Was de machine nooit met een hogedrukreiniger.
Parkeer de machine op een horizontaal oppervlak, hef de handgreep geheel naar boven tot deze vergrendelt om de parkeerrem in te schakelen, schakel de motor uit, verwijder het contactsleuteltje, en wacht totdat alle bewegende delen tot stilstand zijn gekomen.
Was de machine grondig.
Gebruik een tuinslang zonder spuitmond om te vermijden dat er water achter de afdichtingen terechtkomt en het vet van de lagers wordt verontreinigd.
Gebruik een borstel om aangekoekt materiaal te verwijderen.
Gebruik een mild reinigingsmiddel om de kappen schoon te maken.
Breng na het schoonmaken regelmatig een laagje autowas aan om de glanzende afwerking van de kap te behouden.
Controleer de machine op beschadiging, olielekken en slijtage van de onderdelen en tanden.
Verwijder, reinig en olie de tanden. Spuit een dun laagje olie op de lagers van de beluchtingskop (verbindingen van kruk en demper).
Important: Bevestig de beluchtingskop met de onderhoudsvergrendeling als u de machine voor langer dan een paar dagen stalt.
Er zitten bevestigingspunten op de voorzijde en achterzijde van de machine (Figuur 124, Figuur 125 en Figuur 126).
Note: Gebruik goedgekeurde spanbanden om de machine vast te zetten, zie Specificaties voor het gewicht van de machine.



Deelname aan het wegverkeer zonder richtingaanwijzers, verlichting, reflectoren of een bord met de aanduiding 'Langzaam rijdend voertuig' is gevaarlijk en kan leiden tot ongelukken die lichamelijk letsel veroorzaken.
Gebruik de machine niet op de openbare weg.
Important: Gebruik een oprijplaat van volledige breedte bij het laden van de machine op een aanhanger of vrachtwagen.
Laad de machine op de aanhanger of vrachtwagen (bij voorkeur met de beluchtingskop naar voren).
Hef de handgreep geheel naar boven tot deze vergrendelt om de parkeerrem in te schakelen, schakel de motor uit, verwijder het contactsleuteltje, en wacht totdat alle bewegende delen tot stilstand zijn gekomen.
Bevestig de beluchtingskop met de onderhoudsvergrendeling; raadpleeg De beluchtingskop ondersteunen met de onderhoudsvergrendeling.
Sluit de brandstofafsluitklep; raadpleeg Brandstofafsluitklep.
Zet de machine met touwen, kettingen of banden aan de bevestigingspunten vast op de aanhanger of vrachtwagen Bevestigingspunten.
| Gewicht | 745 kg of 829 kg met 2 optionele gewichten |
| Breedte | Minimaal 130 cm |
| Lengte | Minimaal 267 cm |
| Hoek van hellingbaan | Schuinstand van maximaal 3,5/12 (16°) |
| Laadrichting | Beluchtingskop naar voren (bij voorkeur) |
| Trekvermogen van voertuig | Groter dan het totale gewicht van de aanhanger |
Note: Download het elektrische of hydraulische schema gratis op www.Toro.com; u kunt uw machine zoeken via de link Handleidingen op de hoofdpagina.
Note: Raadpleeg de gebruikershandleiding van de motor voor verdere onderhoudsprocedures.
Note: Bepaal vanuit de normale bedieningspositie de linker- en rechterzijde van de machine.
Parkeer de machine op een horizontaal oppervlak, hef de handgreep geheel naar boven tot deze vergrendelt om de parkeerrem in te schakelen, schakel de motor uit, verwijder het contactsleuteltje, en wacht totdat alle bewegende delen tot stilstand zijn gekomen. Parkeer de machine op een horizontaal oppervlak, hef de handgreep geheel naar boven tot deze vergrendelt om de parkeerrem in te schakelen, schakel de motor uit, verwijder het contactsleuteltje, en wacht totdat alle bewegende delen tot stilstand zijn gekomen. Laat de machine afkoelen voordat u er instellingen of onderhoud aan verricht, of de machine schoonmaakt of stalt.
Verricht onderhoudswerkzaamheden uitsluitend volgens de instructies in deze handleiding. Als u ondersteuning nodig heeft of de machine een grote reparatie behoeft, neem dan contact op met een erkende Toro verdeler.
Zorg ervoor dat alle moeren, bouten en schroeven goed zijn vastgedraaid zodat u veilig met de machine kunt werken.
Voer indien mogelijk geen onderhoudswerkzaamheden uit als de motor draait. Blijf uit de buurt van bewegende onderdelen.
Haal voorzichtig de druk van onderdelen met opgeslagen energie.
Controleer dagelijks of de montagebouten van de tanden nog met het juiste aandraaimoment zijn vastgedraaid.
Zorg ervoor dat alle veiligheidsschermen zijn geplaatst en dat de motorkap goed is bevestigd nadat u onderhoud hebt verricht aan de machine of nadat u deze hebt afgesteld.
| Onderhoudsinterval | Onderhoudsprocedure |
|---|---|
| Na de eerste 8 bedrijfsuren |
|
| Na de eerste 50 bedrijfsuren |
|
| Bij elk gebruik of dagelijks |
|
| Om de 25 bedrijfsuren |
|
| Om de 50 bedrijfsuren |
|
| Om de 100 bedrijfsuren |
|
| Om de 200 bedrijfsuren |
|
| Om de 250 bedrijfsuren |
|
| Om de 400 bedrijfsuren |
|
| Om de 500 bedrijfsuren |
|
| Vóór de stalling |
|
| Jaarlijks |
|
Important: Raadpleeg de gebruikershandleiding van de motor voor verdere onderhoudsprocedures.
Kopieer deze pagina ten behoeve van gebruik bij routinecontroles.
| Gecontroleerd item | Voor week van: | ||||||
|---|---|---|---|---|---|---|---|
| Ma. | Di. | Wo. | Do. | Vr. | Za. | Zo. | |
| Werking van veiligheidssysteem controleren. | |||||||
| Werking van de remmen controleren. | |||||||
| Het motoroliepeil controleren. | |||||||
| Brandstofpeil controleren. | |||||||
| Luchtfilter controleren. | |||||||
| De motor op vuil controleren. | |||||||
| Controleren of motor ongewone geluiden maakt. | |||||||
| Controleren op ongewone geluiden tijdens het gebruik. | |||||||
| Controleer het peil van de hydraulische vloeistof. | |||||||
| Hydraulische slangen en leidingen op schade controleren. | |||||||
| Controleren op lekkages. | |||||||
| Werking van instrumenten controleren. | |||||||
| Conditie van de tanden controleren. | |||||||
| Beschadigde lak bijwerken. | |||||||
Important: Raadpleeg de gebruikershandleiding van de motor voor verdere onderhoudsprocedures.
| Controle uitgevoerd door: | ||
| Item | Datum | Informatie |
| 1 | ||
| 2 | ||
| 3 | ||
| 4 | ||
| 5 | ||
| 6 | ||
| 7 | ||
| 8 | ||
Als u het sleuteltje in het contact laat, bestaat de kans dat iemand de motor per ongeluk start waardoor u en andere omstanders ernstig letsel kunnen oplopen.
Parkeer de machine op een horizontaal oppervlak, hef de handgreep geheel naar boven tot deze vergrendelt om de parkeerrem in te schakelen, schakel de motor uit, verwijder het contactsleuteltje, en wacht totdat alle bewegende delen tot stilstand zijn gekomen.
Important: De bevestigingen op de deksels van deze machine zijn zo ontworpen dat ze op het deksel blijven zitten nadat de bevestiging is losgemaakt. Draai alle bevestigingen op een deksel een paar slagen losser zodat het deksel loszit maar nog wel bevestigd is en draai de bevestigingen daarna pas helemaal los zodat u het deksel kunt verwijderen. Hiermee voorkomt u dat u per ongeluk de bouten van de borgringen losdraait.
Parkeer de machine op een horizontaal oppervlak.
Zet de handgreep geheel naar boven en vergrendel deze om de parkeerrem in te schakelen, zie De handrem inschakelen.
Zet de motor af, verwijder het sleuteltje en wacht totdat alle bewegende onderdelen tot stilstand zijn gekomen voordat u de machine verlaat, zie De motor afzetten.
Laat de machine afkoelen.
Als de machine niet goed wordt ondersteund door blokken of assteunen, bestaat de kans dat de machine in beweging komt of valt, waardoor lichamelijk letsel kan ontstaan.
Als u werktuigen bevestigd, wielen verwisselt of onderhoudswerkzaamheden verricht, moet u de juiste blokken, takels en krikken gebruiken.
Zorg ervoor dat de machine is geparkeerd op een stevig, horizontaal oppervlak zoals een betonnen vloer.
Voordat u de machine opkrikt, moet u werktuigen verwijderen die beletten dat de machine op een veilige en correcte wijze kan worden opgekrikt.
Zorg altijd ervoor dat wielen zijn geblokkeerd of vastgezet. Gebruik assteunen of plaats stevige houten blokken om de opgekrikte machine te ondersteunen.
Maak de machine klaar voor onderhoud, zie De machine klaar maken voor onderhoud.
Blokkeer de achterwielen om te voorkomen dat de machine in beweging komt.
Important: Om te voorkomen dat de voorste wielmotor schade oploopt, mag u deze niet gebruiken als krikpunt.
Plaats de krik veilig onder de steunarm van het voorwiel (Figuur 127).

Krik de voorkant van de machine op van de grond.
Plaats de assteunen of hardhouten blokken onder de voorkant van het frame om de machine te ondersteunen.
Maak de machine klaar voor onderhoud, zie De machine klaar maken voor onderhoud.
Blokkeer het voorwiel om te voorkomen dat de machine in beweging komt.
Important: Om te voorkomen dat de achterste wielmotor schade oploopt, mag u deze NIET gebruiken als krikpunt.
Plaats de krik stevig onder het frameplaat net aan de binnenkant van het achterwiel (Figuur 128).

Note: Als deze beschikbaar is, moet u een takel gebruiken om de achterzijde van de machine te heffen. Gebruik de ogen in de lagerhuizen van de beluchtingskop om de takel te bevestigen (Figuur 129).

Krik (of hef) de achterkant van de machine op van de grond.
Plaats de assteunen of hardhouten blokken onder het frame om de machine te ondersteunen.
Lijn de bevestigingsbeugel van de riemkap uit met de steunbeugel van de kap op het frame van de machine (Figuur 133).

Laat de riemkap zakken (Figuur 134).

Zet vergrendelhandgreep geheel naar beneden om de kap te vergrendelen (Figuur 135).

Als uw machine volgens CE is voorzien van een riempje van de vergrendeling van de riemkap, steek de bout van het riempje dan in het gat in de vergrendeling van de riemkap, en draai de bout aan (Figuur 136).


Als uw machine volgens CE is voorzien van borgingen, maak de bout van de borgplaat dan los zodat de borgplaat vrij komt van de sleuf in de zijkant van de kap van de beluchtingskop (Figuur 138).

Verdraai borgplaat zodat de vergrendeling vrij komt (Figuur 138).
Herhaal stap 1 en 2 aan de andere kant van de kap.
Maak de 4 vergrendelingen van de beluchtingskop los (Figuur 137 en Figuur 139).

Neem de kap van de beluchtingskop van de machine (Figuur 140).

Lijn de kap van de beluchtingskop uit met de machine zoals in Figuur 141.

Maak de 4 vergrendelingen van de beluchtingskop vast (Figuur 142).
Als uw machine volgens CE is voorzien van borgingen, verdraai de borgplaat tot deze is uitgelijnd met de sleuf in de zijkant van de kap van de beluchtingskop (Figuur 143).



Draai de bout van de borgplaat aan (Figuur 143).
Herhaal stap 3 en 4 aan de andere kant van de kap.
| Onderhoudsinterval | Onderhoudsprocedure |
|---|---|
| Om de 500 bedrijfsuren |
|
| Jaarlijks |
|
De machine heeft geen smeernippels waarin vet hoeft te worden gespoten.
Important: Lagers vertonen zelden materiaalgebreken of fabricagefouten. Defecten worden voornamelijk veroorzaakt door vocht of vuil dat via de afdichtingen binnendringt. Lagers die worden gesmeerd dienen regelmatig een onderhoudsbeurt te krijgen om vuil of ander schadelijk materiaal eruit te verwijderen. Gesloten lagers zijn in de fabriek voor het leven gesmeerd met een speciaal smeermiddel en voorzien van een robuuste, ingebouwde afdichting die voorkomt dat er vuil of vocht de lagers binnendringt.
Gesloten lagers hoeven niet te worden gesmeerd en hebben op korte termijn geen onderhoud nodig. Dit beperkt het vereiste routineonderhoud en vermindert de kans op beschadiging van het gazon als gevolg van verontreiniging door vet. Deze gesloten lagers leveren goede prestaties en hebben bij normaal gebruik een lange levensduur, maar het verdient aanbeveling de conditie van de lagers en de afdichtingen te controleren teneinde uitvaltijd te voorkomen. Controleer de lagers elk seizoen en vervang ze indien ze beschadigd of versleten zijn. De lagers moeten soepel functioneren en mogen geen tekenen van beschadiging vertonen zoals oververhitting, lawaai, speling of roestuitslag.
Als gevolg van de werkomstandigheden waaraan deze lagers/afdichtingen blootstaan (zoals zand, chemicaliën voor gazononderhoud, water, schokken, enz.), zijn zij onderhevig aan normale slijtage. Mankementen aan lagers die niet te wijten zijn aan materiaalgebreken of fabricagefouten, vallen niet onder de garantie.
Note: U kunt de levensduur van lagers verkorten door verkeerde reinigingsmethodes te gebruiken. Was de machine niet als deze nog heet is en richt een hogedruk- of hogevolumespuit nooit op de lagers.
Het is normaal dat er uit nieuwe lagers wat vet uit de pakkingen op een nieuwe machine terechtkomt. Dit vet wordt zwart door vermenging met vuil en niet als gevolg van overmatige hitte. Het verdient aanbeveling dit overtollige vet uit de pakkingen na de eerste 8 bedrijfsuren weg te vegen. Er zal altijd een vochtige plek rond de rand van de pakking verschijnen. Dit heeft geen nadelige gevolgen voor de levensduur van het lager, maar het zorgt ervoor dat de rand van de pakking gesmeerd blijft.
U moet de motor afzetten voordat u het oliepeil controleert of het carter bijvult met olie.
Verander nooit de stand van de toerenregelaar van de motor en laat de motor niet te snel draaien.
| Onderhoudsinterval | Onderhoudsprocedure |
|---|---|
| Om de 25 bedrijfsuren |
|
| Om de 100 bedrijfsuren |
|
Maak de machine klaar voor onderhoud, zie De machine klaar maken voor onderhoud.
Maak de omgeving van het luchtfilter schoon om te voorkomen dat er vuil in de motor komt en schade veroorzaakt.
Schroef de knop los en verwijder het luchtfilterdeksel (Figuur 144).

Schuif voorzichtig het schuimfilter van het papierelement (Figuur 144).
Draai de dekselmoer los en verwijder het deksel, afstandsstuk en papierfilter (Figuur 144).
Important: Vervang het schuimelement als het gescheurd of versleten is.
Was het schuimfilter in warm water met vloeibare zeep. Veeg het als het schoon is grondig af.
Droog het element door het in een schone doek te wikkelen en uit te knijpen (niet uitwringen).
Giet 30 tot 60 ml olie op het element (Figuur 145).

Knijp in het filter om de olie te verdelen.
Controleer het filterelement op scheuren, een vettig oppervlak of beschadiging van de rubberen afdichting (Figuur 146).

Important: Reinig het papieren element nooit. Vervang het papierelement als het vuil of beschadigd is.
Important: Laat de motor nooit lopen zonder dat het complete luchtfilter gemonteerd is, anders kan de motor beschadigd raken.
Schuif voorzichtig het schuimfilter van het papierfilter (Figuur 147).

Plaats de luchtreiniger op het onderstuk van de luchtreiniger.
Monteer de kap, het afstandsstuk, en de dekselmoer.
Draai de moer vast met een aandraaimoment van 11 N·m.
Plaats het luchtfilterdeksel en zet het vast met de knop.
Type olie: hoogwaardige motorolie met detergent, API-classificatie SJ of hoger
Olieviscositeit: zie onderstaande tabel.

| Onderhoudsinterval | Onderhoudsprocedure |
|---|---|
| Bij elk gebruik of dagelijks |
|
Het carter van de motor is in de fabriek gevuld met olie; u moet het oliepeil echter controleren voordat en nadat de motor voor de eerste keer is gestart.
Gebruik hoogwaardige motorolie zoals beschreven in Aanbevolen motorolie.
Important: Giet niet te veel olie in de carter.Laat de motor niet draaien als het oliepeil beneden de onderste markering staat.
Note: De beste tijd om de motorolie te controleren is wanneer de motor koud is voordat deze is gestart voor de dag. Als hij al heeft gedraaid, moet u de olie eerst terug laten lopen gedurende tenminste 10 minuten voordat u controleert.
Maak de machine klaar voor onderhoud, zie De machine klaar maken voor onderhoud.
Laat de motor afkoelen.
Reinig de omgeving van de olievuldop en peilstok (Figuur 149).

Verwijder de peilstok, veeg deze schoon. Schuif daarna de peilstok weer helemaal terug.
Haal de peilstok eruit en controleer het oliepeil.
Het oliepeil moet tussen de markeringen 'F' (vol-markering) en 'L' (laag-markering) op de peilstok staan.
Als het oliepeil beneden de laag-markering 'L' staat, verwijdert u de vuldop en vult u de gespecificeerde olie bij totdat het oliepeil de vol-markering 'F' op de peilstok bereikt.
Plaats de vuldop en de peilstok terug.
| Onderhoudsinterval | Onderhoudsprocedure |
|---|---|
| Na de eerste 50 bedrijfsuren |
|
| Om de 100 bedrijfsuren |
|
Carterinhoud: ongeveer 1,9 liter met filter.
Start de motor en laat deze 5 minuten lopen. Warme olie kan beter worden afgetapt.
Parkeer de machine zo dat de aftapkant iets lager staat dan de andere kant zodat alle olie kan weglopen, zet de motor af, hef de handgreep geheel naar boven tot deze vergrendelt om de parkeerrem in te schakelen, en verwijder het sleuteltje.
Plaats een opvangbak onder de olie-aftapplug, en verwijder de plug (Figuur 150).
Note: Laat alle olie weglopen.

Schroef de olie-aftapplug weer in de motor, en de draai de plug vast.
Note: Voer de afgewerkte olie af via een erkend recyclingcentrum.
Plaats een opvangbak onder het filter en verwijder het filter (Figuur 150).
Note: Voer het afgewerkte filter af via een erkend recyclingcentrum.
Veeg het oppervlak van de filteradapter schoon.
Vul nieuwe oliefilter met de gespecificeerde olie tot de onderkant van de schroefdraad.
Laat het filter de olie absorberen gedurende 2 minuten, giet de overtollige olie dan weg.
Smeer een dun laagje nieuwe olie op de pakking van het filter.
Schroef het oliefilter op de filteradapter tot de pakking tegen de filteradapter komt (Figuur 150), draai het filter dan nog een 1/2 slag.

Reinig de omgeving van de olievuldop en peilstok (Figuur 152).

Verwijder de olievuldop en giet langzaam ongeveer 80% van de gespecificeerde hoeveelheid olie door het klepdeksel.
Giet langzaam extra olie bij totdat het oliepeil de F (vol)-markering op de peilstok bereikt, zie Aanbevolen motorolie en Het motoroliepeil controleren.
Important: Giet niet te veel olie in de carter.
Plaats de vuldop en de peilstok terug.
| Onderhoudsinterval | Onderhoudsprocedure |
|---|---|
| Om de 200 bedrijfsuren |
|
Maak de machine klaar voor onderhoud, zie De machine klaar maken voor onderhoud.
Maak de kabels los van de bougies (Figuur 153).

Maak de omgeving van de bougies schoon.
Demonteer de bougies en metalen pakkingen met een bougiesleutel.
Type bougie: Champion RC12YC of gelijkwaardig
Elektrodenafstand: 0,75 mm
Bekijk de binnenkant van de bougies (Figuur 154). Als de isolator lichtbruin of grijs is, werkt de motor naar behoren. Een zwarte laag op de isolator duidt meestal op een vuil luchtfilter.
Important: Bougies nooit schoonmaken. Bougies altijd vervangen bij zwarte laag op de bougie, versleten elektroden, vettige laag op de bougie of scheuren.

Controleer de afstand tussen de centrale elektrode en de massa-elektrode.
Verbuig de massa-elektrode om de juiste afstand in te stellen indien dit nodig is.
Controleer of de elektrodenafstand tussen de centrale elektrode en de massa-elektrode correct is voordat u een bougie monteert. Gebruik een bougiesleutel voor het (de)monteren van de bougies en een voelermaat voor het meten en afstellen van de elektrodenafstand. Monteer nieuwe bougies indien dit nodig is.
Draai de bougies in de bougieopeningen van de motor.
Draai de bougies met een bougiedop en momentsleutel aan tot 27 N∙m.
Plaats de bougiekabels op de bougies (Figuur 155).

| Onderhoudsinterval | Onderhoudsprocedure |
|---|---|
| Bij elk gebruik of dagelijks |
|
Voor elk gebruik moet u het motorscherm controleren en reinigen. Verwijder aangekoekt gras of ander vuil van het luchtinlaatrooster van de motor.
In bepaalde omstandigheden zijn brandstof en brandstofdampen uiterst ontvlambaar en explosief. Brand of explosie van brandstof kan brandwonden of materiële schade veroorzaken.
Vul de brandstoftank in de open lucht wanneer de motor koud is en uit staat. Eventueel gemorste brandstof opnemen.
Vul de brandstoftank niet helemaal. Vul de brandstoftank tot 25 mm vanaf de bovenkant van de tank, niet de vulbuis. Dit geeft de brandstof in de tank ruimte om uit te zetten.
Rook nooit als u met benzine werkt en blijf uit de buurt van open vuur of als de kans bestaat dat benzinedampen door een vonk kunnen ontsteken.
Bewaar de brandstof in schone, veilige en goedgekeurde containers en zorg ervoor dat de dop op zijn plaats blijft.
| Onderhoudsinterval | Onderhoudsprocedure |
|---|---|
| Om de 100 bedrijfsuren |
|
Important: Na verwijdering mag u nooit een vuil filter opnieuw aan de brandstofslang monteren.
Maak de machine klaar voor onderhoud, zie De machine klaar maken voor onderhoud.
Sluit de brandstofklep (Figuur 156).


Druk de uiteinden van de slangklemmen naar elkaar toe en schuif ze weg van het filter.
Trek het filter uit de brandstofslangen.
Lijn het brandstoffilter uit met de pijl wijzend naar de motor, en plaats de brandstofslang over de aansluitingen van het filter.
Plaats de slangklemmen dicht bij het brandstoffilter, en zet de klemmen vast.
Neem eventueel gemorste brandstof op.
Open de brandstofafsluitklep.
In bepaalde omstandigheden is brandstof uiterst ontvlambaar en zeer explosief. Brand of explosie van brandstof kan brandwonden bij u of anderen en materiële schade veroorzaken.
Tap de brandstof af uit de brandstoftank wanneer de motor koud is. Doe dit buiten op een open terrein. Eventueel gemorste brandstof opnemen.
Rook nooit als u benzine aftapt en blijf uit de buurt van open vuur of als de kans bestaat dat benzinedampen door een vonk kunnen ontbranden.
Maak de machine klaar voor onderhoud, zie De machine klaar maken voor onderhoud.
Sluit de brandstofklep (Figuur 157).


Maak de slangklem op het brandstoffilter los en schuif deze over de brandstofslang weg van het brandstoffilter.
Trek de brandstofslang van het brandstoffilter.
Open de brandstofafsluitklep en laat de benzine in een benzinevat of een opvangbak lopen.
Note: Omdat de tank nu toch leeg is, is dit een uitstekend moment om het brandstoffilter te vervangen.
Plaats de brandstof slang over de aansluitingen van het filter.
Plaats de slangklem dicht bij het brandstoffilter, en zet de klem vast.
Koppel de accu af voordat u reparaties aan de machine verricht. Maak eerst de minpool van de accu los en daarna de pluspool. Bevestig eerst de pluspool van de accu en daarna de minpool.
Laad de accu op in een open, goed geventileerde ruimte, uit de buurt van vonken en open vuur. Haal de oplader uit het stopcontact voordat u de accu aan- of loskoppelt.
Draag beschermende kleding en gebruik geïsoleerd gereedschap.
| Onderhoudsinterval | Onderhoudsprocedure |
|---|---|
| Jaarlijks |
|
Houd de bovenkant van de accu goed schoon.
Ontgrendel de deur van de accubehuizing en open deze (Figuur 158).

Reinig de bovenkant van de accu met een borstel gedoopt in een oplossing van ammonia of natriumbicarbonaat.
Important: Verwijder nooit de vuldoppen bij het reinigen.
Spoel het oppervlak van de accu en accubehuizing grondig met schoon water.
Sluit en vergrendel de deur van de accubehuizing.
| Onderhoudsinterval | Onderhoudsprocedure |
|---|---|
| Jaarlijks |
|
Accupolen of metalen gereedschappen kunnen kortsluiting maken met metalen onderdelen van de machine, waardoor vonken kunnen ontstaan. Hierdoor kunnen accugassen tot ontploffing komen en lichamelijk letsel veroorzaken.
Zorg ervoor dat bij het verwijderen of installeren van de accu de accupolen niet in aanraking komen met metalen onderdelen van de machine.
Voorkom dat metalen gereedschappen kortsluiting veroorzaken tussen de accupolen en metalen onderdelen van de machine.
Als accukabels verkeerd worden verbonden, kan dit schade aan de machine en de kabels tot gevolg hebben en vonken veroorzaken. Hierdoor kunnen accugassen tot ontploffing komen en lichamelijk letsel veroorzaken.
Maak altijd eerst de minkabel (zwart) van de accu los voordat u de pluskabel (rood) losmaakt.
Sluit altijd eerst de pluskabel (rood) van de accu aan voordat u de minkabel (zwart) aansluit.
Ontgrendel de deur van de accubehuizing en open deze (Figuur 159).

Controleer of de klemmen van de accukabels stevig vastzitten.
Maak los bevestigingsmateriaal van de klemmen van de accukabels vast.
Controleer de klemmen van de accukabels en de accupolen op corrosie.
Als op de polen corrosie is ontstaan, moet u de minkabel verwijderen.
Verwijder de pluskabel.
Reinig de kabelklemmen en de accupolen.
Sluit de pluskabel van de accu aan.
Sluit de minkabel van de accu aan.
Smeer een dun laagje Grafo 112X-vet (Toro- onderdeelnr. 505-47) op de kabelklemmen en de accupolen.
Sluit en vergrendel de deur van de accubehuizing.
De elektrische installatie is beveiligd door middel van zekeringen. Als een zekering doorbrandt, controleer het betreffende onderdeel en bedrading dan op kortsluiting naar massa.
Ontgrendel de deur van de accubehuizing en open deze (Figuur 160).

Verwijder het deksel van de zekeringhouder (Figuur 161).
Note: De zekering van de ventilator is gemonteerd in de kabel achter de accu (Figuur 162).


Verwijder de doorgebrande zekering.
Plaats nieuwe zekering voor de stroomsterkte aangegeven op de sticker op de zekeringhouder.
Plaats het deksel op de zekeringhouder (of op de zekering in de kabel van de ventilator).
Sluit en vergrendel de deur van de accubehuizing.
| Onderhoudsinterval | Onderhoudsprocedure |
|---|---|
| Om de 50 bedrijfsuren |
|
Maak de machine klaar voor onderhoud, zie De machine klaar maken voor onderhoud.
Controleer of de luchtdruk in alle banden 0,83 bar bedraagt. De bandenspanning kan het beste met koude banden worden gecontroleerd.
Important: Een ongelijke bandenspanning kan leiden tot een onregelmatige werkdiepte.

Het wielgewicht is zeer zwaar, 33 kg.
Wees voorzichtig als u het gewicht verwijderd van het wielstel.
| Onderhoudsinterval | Onderhoudsprocedure |
|---|---|
| Jaarlijks |
|
De aandrijfriemen van de machine hebben een lange levensduur. Door normale blootstelling aan ultraviolette straling, ozon of incidentele blootstelling aan chemische stoffen kan de kwaliteit van het rubber na verloop van tijd verslechteren, waardoor de riemen voortijdig slijten of stukjes van de riem loslaten (b.v. losgelaten of ontbrekende lagen van de riem).
Verwijder de riemkap, zie Verwijderen van de riemkap.
Controleer de hydraulische pomp, tussenas, en krukas riemen (Figuur 164) op beschadiging, slijtage, te grote barsten of grote vervuiling die in de riem is gedrukt.
Note: Vervang de riem(en) indien nodig.

Monteer de riemkap, zie Monteren van de riemkap.
| Onderhoudsinterval | Onderhoudsprocedure |
|---|---|
| Na de eerste 8 bedrijfsuren |
|
Maak de machine klaar voor onderhoud, zie De machine klaar maken voor onderhoud.
Verwijder de riemkap, zie Verwijderen van de riemkap.
Maak de inbusbout met flenskop en de flensborgmoer van de spanpoelie van de riem van de hydraulische pomp los, tot de bout verschuift in de gleuf in de steun van de spanpoelie (Figuur 165).


Klop op de bovenkant van de spanpoelie en laat de spanveer de riemspanning afstellen.
Important: Zet niet meer spanning op de riem dan de spanveer levert, om beschadiging van onderdelen te voorkomen.
Draai de inbusbout met flenskop en de flensborgmoer aan met 37 tot 45 N·m.
Monteer de riemkap, zie Monteren van de riemkap.
Waarschuw onmiddellijk een arts als er hydraulische vloeistof is geïnjecteerd in de huid. Geïnjecteerde vloeistof moet binnen enkele uren operatief worden verwijderd door een arts.
Controleer of alle hydraulische slangen en leidingen in goede staat verkeren en alle hydraulische aansluitingen en fittings stevig vastzitten voordat u druk zet op het hydraulische systeem.
Houd lichaam en handen uit de buurt van kleine lekgaten of spuitmonden waaruit onder hoge druk hydraulische vloeistof ontsnapt.
U kunt lekken in het hydraulische systeem opsporen met behulp van karton of papier.
Hef alle druk in het hydraulische systeem op veilige wijze op, voordat u werkzaamheden gaat verrichten aan het hydraulische systeem.
Ondersteun de beluchtingskop met de onderhoudsvergrendeling, zie De beluchtingskop ondersteunen met de onderhoudsvergrendeling.
Zet de motor af.
Draai het contactsleuteltje naar de stand LOPEN .
In het InfoCenter gaat u naar het HOOFDMENU.
Druk op de knop omlaag tot de optie ONDERHOUD - SERVICE gekozen is en druk dan op de selectieknop (Figuur 166).

Note: De beluchtingskop zakt tot deze geheel door de onderhoudsvergrendeling wordt gedragen.
Druk op de knop omlaag tot de optie OMLAAGBRENGEN VOOR ONDERHOUD - SERVICE LOWER gekozen is en druk dan op de selectieknop (Figuur 167).

Draai het contactsleuteltje naar de stand STOP.
Note: Start de motor en laat deze draaien om de beluchtingskop hydraulisch te heffen, zodat u de onderhoudsvergrendeling kunt opbergen, zie Opbergen van de onderhoudsvergrendeling.
| Onderhoudsinterval | Onderhoudsprocedure |
|---|---|
| Bij elk gebruik of dagelijks |
|
Voor elk gebruik moet u de hydraulische leidingen en slangen controleren op lekkages, losgeraakte aansluitingen, kinken in de slangen, loszittende steunen, slijtage, beschadiging door van weersinvloeden en de inwerking van chemicaliën. Vervang versleten of beschadigde hydraulische leidingen voorafgaand aan gebruik van de machine.
Note: Houd de omgeving van het hydraulische systeem vrij van aangekoekt vuil.
Het reservoir is in de fabriek gevuld met hoogwaardige hydraulische vloeistof. Controleer het peil van de hydraulische vloeistof voordat u de motor voor het eerst start, en vervolgens dagelijks; zie Het motoroliepeil controleren.
Aanbevolen hydraulische vloeistof: Toro PX Extended Life hydraulische vloeistof; verkrijgbaar in emmers van 19 liter of vaten van 208 liter.
Note: Een machine waarin de aanbevolen bijvulvloeistof wordt gebruikt, moet minder vaak bijgevuld worden en het filter moet minder vaak worden vervangen.
Andere hydraulische vloeistoffen: Als de Toro PX Extended Life hydraulische vloeistof niet verkrijgbaar is, kunt u een andere conventionele, petroleumgebaseerde hydraulische vloeistof gebruiken die aan de volgende materiaaleigenschappen en de industrienormen voldoet. Gebruik geen synthetische vloeistof. Vraag uw smeermiddelenleverancier naar een geschikt product.
Note: Toro aanvaardt geen enkele aansprakelijkheid voor schade die wordt veroorzaakt door gebruik van verkeerde vervangende vloeistoffen. Gebruik daarom uitsluitend producten van gerenommeerde fabrikanten die garant staan voor de door hen aanbevolen vloeistoffen.
| Materiaaleigenschappen: | ||
| Viscositeit, ASTM D445 | cSt bij 40 °C 44 tot 48 | |
| Viscositeitsindex ASTM D2270 | 140 of hoger | |
| Stolpunt, ASTM D97 | -37 °C tot -45 °C | |
| Industriespecificaties: | Eaton Vickers 694 (I-286-S, M-2950-S/35VQ25 of M-2952-S) | |
Note: Veel hydraulische vloeistoffen zijn bijna kleurloos, zodat het moeilijk is lekkages op te sporen. Er is een rode kleurstof voor de hydraulische vloeistof verkrijgbaar in flesjes van 20 ml. Eén flesje is voldoende voor 15 tot 22 l hydraulische vloeistof. U kunt deze kleurstof bestellen bij een erkende Toro dealer (onderdeelnr. 44-2500).
Important: Toro Premium synthetische, biologisch afbreekbare hydraulische vloeistof is de enige biologisch afbreekbare vloeistof die door Toro is goedgekeurd. Deze vloeistof is compatibel met de elastomeren die worden gebruikt in hydraulische systemen van Toro, en is geschikt voor een groot aantal temperatuursomstandigheden. Deze vloeistof is compatibel met gangbare minerale olie, maar met het oog op maximale biologische afbreekbaarheid en goede prestaties moet gewone vloeistof grondig uit het hydraulische systeem worden gespoeld. De olie is verkrijgbaar in emmers van 19 liter of vaten van 208 liter bij een erkende Toro verdeler.
| Onderhoudsinterval | Onderhoudsprocedure |
|---|---|
| Bij elk gebruik of dagelijks |
|
Important: Terwijl de beluchtingskop in de hoge stand staat, controleert u het peil van de hydraulische vloeistof voordat de motor voor het eerst wordt gestart, en vervolgens dagelijks.
Het hydraulische reservoir is in de fabriek gevuld met hoogwaardige hydraulische vloeistof.
Maak de machine klaar voor onderhoud, zie De machine klaar maken voor onderhoud.
Verwijder de riemkap, zie Verwijderen van de riemkap.
Reinig het gebied rond de vulbuis en de dop van de hydraulische tank (Figuur 168). Verwijder de dop van de vulbuis.

Verwijder de peilstok uit de vulbuis en veeg deze af met een schone doek. Steek de peilstok in de vulbuis. Verwijder deze daarna en controleer het vloeistofpeil. Het vloeistofpeil moet tot aan de markering op de peilstok staan (Figuur 169).

Als het peil te laag is, vult u genoeg van de gespecificeerde hydraulische vloeistof bij totdat het peil de vol-markering bereikt.
Plaats de peilstok terug in de vulbuis en plaats de dop terug.
Monteer de riemkap, zie Monteren van de riemkap.
| Onderhoudsinterval | Onderhoudsprocedure |
|---|---|
| Om de 200 bedrijfsuren |
|
| Om de 400 bedrijfsuren |
|
Inhoud hydraulisch reservoir: ongeveer 6,6 liter
Important: Gebruik ter vervanging geen filters voor motorolie omdat dit ernstige schade aan het hydraulische systeem kan veroorzaken.
Note: Als u het retourfilter verwijdert, loopt het hele reservoir voor de hydraulische vloeistof leeg.
Maak de machine klaar voor onderhoud, zie De machine klaar maken voor onderhoud.
Plaats een opvangbak onder de filters. Verwijder de oude filters en veeg de pakking van de filteradapter schoon (Figuur 170).

Smeer een dun laagje schone hydraulische vloeistof op de pakking van de nieuwe filters.
Monteer de nieuwe filters op de filteradapters. Draai elk filter rechtsom totdat de pakking contact maakt met de filteradapter. Draai het filter vervolgens nog eens een 1/2 slag.
Vul bij met de gespecificeerde hydraulische vloeistof tot het vloeistofpeil tot aan de vol-markering op de peilstok reikt, zie Specificaties hydraulische vloeistof en Het peil van de hydraulische vloeistof controleren.
Start de motor en laat deze ongeveer 2 minuten lopen om lucht uit het systeem te verwijderen. Zet de motor af, verwijder het sleuteltje en controleer op lekkage van hydraulische vloeistof.
Het peil van de hydraulische vloeistof controleren. Vul indien nodig bij met de gespecificeerde hydraulische vloeistof totdat het peil DE VOL-markering op de peilstok bereikt.
Note: Giet niet te veel vloeistof in het hydraulische reservoir.
Monteer de riemkap, zie Monteren van de riemkap.
| Onderhoudsinterval | Onderhoudsprocedure |
|---|---|
| Na de eerste 8 bedrijfsuren |
|
| Om de 250 bedrijfsuren |
|
Maak de machine klaar voor onderhoud, zie De machine klaar maken voor onderhoud.
Verwijder de kap van de beluchtingskop, zie Verwijderen van kap van de beluchtingskop.
Controleer of het aandraaimoment van de bevestigingen op de beluchtingskop, de handgreep en de wielmoeren juist is. De aanhaalmomenten van de bevestigingsmiddelen staan op de betreffende sticker op het profiel van de beluchtingskop (Figuur 171).

Monteer de kap van de beluchtingskop, zie Monteren van kap van de beluchtingskop.
Maak de machine klaar voor onderhoud, zie De machine klaar maken voor onderhoud.
Bepaal de plaats van de inbusbouten en flensborgmoeren waarmee het zijscherm is gemonteerd op het frame van de beluchtingskop (Figuur 172).

Stel het scherm naar boven of naar beneden tot een afstand van 25 tot 38 mm tussen het scherm en de grond bereikt is.
Draai de inbusbouten en flensborgmoeren aan.
Herhaal stap2 tot 4 aan de andere kant van de machine.
Vervang de beschermvingers als ze beschadigd zijn, of versleten tot een dikte van minder dan 6 mm. Beschadigde beschermvingers kunnen gras meetrekken en kapottrekken.

De timing merktekens op de beluchtingskop worden aangegeven door de ingegoten merktekens op de 3 lagerhuizen.

Doe het volgende voordat u de bestuurdersstoel verlaat:
Parkeer de machine op een horizontaal oppervlak.
Zet de handgreep geheel naar boven en vergrendel deze om de parkeerrem in te schakelen.
Zet de motor uit en verwijder het sleuteltje (indien aanwezig).
Wacht totdat alle bewegende onderdelen tot stilstand zijn gekomen.
Laat de machine afkoelen voordat u er instellingen of onderhoud aan verricht, of de machine schoonmaakt of stalt.
Bewaar de machine en het brandstofvat niet op plaatsen waar open vlammen, vonken of waakvlammen (bv. van een boiler of een ander toestel) aanwezig kunnen zijn.
Bij het opladen produceert de accu gassen die tot ontploffing kunnen komen.
Rook nooit in de buurt van de accu en zorg ervoor dat er geen vonken of vlammen vlakbij de accu komen.
Maak de machine klaar voor onderhoud, zie De machine klaar maken voor onderhoud.
Koppel de bougiekabel af.
Verwijder gras, vuil en vet van de buitenkant van de gehele machine, met name van de motor en het hydraulische systeem. Verwijder vuil en kaf van de buitenkant van de koelribben van de cilinderkop en de ventilatorbehuizing.
Geef het luchtfilter een onderhoudsbeurt, zie Onderhoud van het luchtfilter.
Ververs de motorolie, zie Motorolie verversen en filter vervangen.
Vervang de hydraulische filters en vloeistof, zie Hydraulische vloeistof verversen en filters vervangen.
Controleer de bandenspanning; zie Bandenspanning controleren.
Controleer de conditie van de tanden.
Als u de machine stalt buiten het werkseizoen voer dan de stappen van De machine stallen voor minder dan 30 dagen uit, en tevens:
Controleer alle bouten, schroeven en moeren en draai deze vast. Versleten of beschadigde delen repareren of vervangen.
Reinig en droog de gehele machine. Verwijder de tanden en reinig en smeer ze. Spuit een dun laagje olie op de lagers van de beluchtingskop (verbindingen van kruk en demper).
Important: U kunt het voertuig met een mild reinigingsmiddel en water wassen. Maak de machine niet schoon met een hogedrukreiniger. Gebruik niet te veel water, vooral niet in de buurt van het bedieningspaneel, de motor, de hydraulische pompen en de accu.
Note: Laat de motor van de machine na het wassen 2 tot 5 minuten bij een hoog toerental lopen.
Werk alle krassen en beschadigingen van de lak bij. Bijwerklak is verkrijgbaar bij uw erkende Toro verdeler.
Bevestig de onderhoudsvergrendeling als de machine voor meerdere dagen wordt gestald.
Sla de machine in een schone, droge garage of opslagruimte op. Verwijder het sleuteltje uit het contact en bewaar dit buiten bereik van kinderen of onbevoegde personen.
Dek de machine af om deze te beschermen en schoon te houden.
Voeg een stabilisator/conditioner op aardoliebasis toe aan de brandstof in de tank. Volg de mengvoorschriften van de fabrikant van de stabilisator op. Gebruik nooit stabilizer op alcoholbasis (ethanol of methanol).
Note: Stabilizer/conditioner werkt het best als het met verse brandstof wordt gemengd en altijd wordt gebruikt.
Important: Bewaar brandstof die stabilisator/conditioner bevat niet langer dan aanbevolen door de fabrikant van de stabilisator.
Laat de motor 5 minuten lopen om de stabilisator/conditioner door het brandstofsysteem te verspreiden.
Zet de motor af, laat hem afkoelen en laat de brandstoftank leeglopen, zie Brandstof aftappen uit de brandstoftank.
Start de motor en laat deze lopen tot hij afslaat.
Choke de motor. Start de motor en laat deze lopen totdat de motor niet meer start.
Verwijder de bougies en controleer de toestand ervan, zie Onderhoud van de bougies. Laat de bougies uit de motor en giet twee eetlepels motorolie in elk bougiegat. Gebruik de startmotor om de motor te laten draaien en zo de olie over de cilinderwanden te verspreiden. Plaats de bougies. De bougiekabels niet op de bougies drukken.
Note: Voer brandstof op de juiste manier af; recyclen volgens de lokale voorschriften.
Haal de accuklemmen los van de accupolen en verwijder de accu uit de machine.
Reinig de accu, de klemmen en de polen met behulp van een staalborstel en een oplossing van zuiveringszout (natriumbicarbonaat).
Smeer een dun laagje Grafo 112X-vet (Toro onderdeelnr. 505-47) of vaseline op de kabelklemmen en de accupolen om corrosie te voorkomen.
Laad de accu om de 60 dagen 24 uur lang op om loodsulfatie van de accu te voorkomen. Om te voorkomen dat de accu bevriest, moet deze volledig zijn opgeladen. Het soortelijk gewicht van een volledig opgeladen batterij is 1,265–1,299.
U moet de accu apart opslaan of op de machine plaatsen. De accukabels mogen niet aangesloten zijn op de accu als u deze op de machine laat staan. Sla de accu op in een koele omgeving om te voorkomen dat deze snel ontlaadt.
| Problem | Possible Cause | Corrective Action |
|---|---|---|
| De startmotor slaat niet aan. |
|
|
| De motor start niet, start moeilijk of slaat af. |
|
|
| De motor verliest vermogen. |
|
|
| De motor raakt oververhit. |
|
|
| De machine trilt abnormaal. |
|
|
| De machine drijft niet aan. |
|
|
| Beluchtingskop werkt niet. |
|
|
| De beluchtingskop stuitert tijdens het beluchten. |
|
|
| Bij het insteken en uit de grond trekken worden bosjes gras gevormd of scheurt het gras. |
|
|
| Openingen krijgen opstaande rand bij gebruik van tanden met zijafvoer. |
|
|
| Het gras wordt omhoog/stuk getrokken bij het beluchten. |
|
|
| De voorkant van de openingen is ingedrukt of omhoog geduwd. |
|
|