| Périodicité d'entretien | Procédure d'entretien |
|---|---|
| À chaque utilisation ou une fois par jour |
|
Cette machine autotractée est destinée aux utilisateurs professionnels et temporaires employés à des applications professionnelles. La machine est principalement conçue pour l'aération à grande échelle des pelouses régulièrement entretenues dans les parcs, les terrains de golf, les terrains de sports et les espaces verts professionnels. L'utilisation de ce produit à d'autres fins que celle prévue peut être dangereuse pour vous-même et toute personne à proximité.
Lisez attentivement cette notice pour apprendre comment utiliser et entretenir correctement votre produit, et éviter ainsi de l'endommager ou de vous blesser. Vous êtes responsable de l'utilisation sûre et correcte du produit.
Rendez-vous sur www.Toro.com pour tout document de formation à la sécurité et à l'utilisation des produits, pour tout renseignement concernant un produit ou un accessoire, pour obtenir l'adresse des concessionnaires ou pour enregistrer votre produit.
Pour obtenir des prestations de service, des pièces d'origine Toro ou des renseignements complémentaires, munissez-vous des numéros de modèle et de série du produit et contactez un distributeur Toro agréé. La Figure 1 indique l'emplacement des numéros de modèle et de série sur le produit. Inscrivez les numéros dans l'espace réservé à cet effet.

Le symbole de sécurité (Figure 2) utilisé dans ce manuel et sur la machine identifie d'importants messages de sécurité dont vous devez tenir compte pour éviter des accidents.

Le symbole de sécurité apparaît au-dessus de toute information signalant des actions ou des situations dangereuses. Il est suivi de la mention DANGER, ATTENTION ou PRUDENCE
DANGER signale un danger immédiat qui, s'il n'est pas évité, entraînera obligatoirement des blessures graves ou mortelles.
ATTENTION signale un danger potentiel qui, s'il n'est pas évité, risque d'entraîner des blessures graves ou mortelles.
PRUDENCE signale un danger potentiel qui, s'il n'est pas évité, peut éventuellement entraîner des blessures légères ou modérées.
Ce manuel utilise également deux autres termes pour faire passer des informations essentielles : Important pour attirer l'attention sur des informations d'ordre mécanique spécifiques, et Remarque pour souligner des informations d'ordre général méritant une attention particulière.
Ce produit est conforme à toutes les directives européennes pertinentes. Pour plus de renseignements, reportez-vous à la Déclaration de conformité spécifique du produit fournie séparément.
Un pare-étincelles est proposé en option car certaines régions et certains pays en exigent l'usage sur le moteur de cette machine. Si vous avez besoin d'un pare-étincelles, contactez votre concessionnaire Toro agréé. Les pare-étincelles d'origine Toro sont homologués par le Service des forêts du Ministère de l'Agriculture des États-Unis (USDAFS).
Le manuel du propriétaire du moteur ci-joint est fourni à titre informatif concernant la réglementation de l'Agence américaine pour la protection de l'environnement (EPA) et la réglementation antipollution de l'état de Californie relative aux systèmes antipollution, à leur entretien et à leur garantie. Vous pouvez vous en procurer un nouvel exemplaire en vous adressant au constructeur du moteur.
Si cette machine est équipée d'un système télématique, demandez conseil à votre distributeur Toro agréé pour savoir comment l'activer.
CALIFORNIE
Proposition 65 - Avertissement
Les gaz d'échappement de ce produit contiennent des substances chimiques considérées par l'état de Californie comme susceptibles de provoquer des cancers, des malformations congénitales et autres troubles de la reproduction.
Les bornes de la batterie et accessoires connexes contiennent du plomb et des composés de plomb. L'état de Californie considère ces substances chimiques comme susceptibles de provoquer des cancers et des troubles de la reproduction. Lavez-vous les mains après avoir manipulé la batterie.
L'utilisation de ce produit peut entraîner une exposition à des substances chimiques considérées pas l'état de Californie comme capables de provoquer des cancers, des anomalies congénitales ou d'autres troubles de la reproduction.
Ce produit peut causer des blessures. Respectez toujours toutes les consignes de sécurité pour éviter des blessures graves.
Vous devez lire et comprendre le contenu de ce Manuel de l'utilisateur avant de démarrer le moteur.
Accordez toute votre attention à l'utilisation de la machine. Ne faites rien d'autre qui puisse vous distraire, au risque de causer des dommages corporels ou matériels.
N'approchez pas les mains ou les pieds des composants mobiles de la machine.
N'utilisez pas la machine s'il manque des capots ou d'autres dispositifs de protection, ou s'ils sont endommagés.
N'autorisez personne à s'approcher de la machine pendant qu'elle se déplace.
Ne vous approchez pas de l'ouverture autour des louchets. Tenez personnes et animaux à l'écart de la machine.
N'admettez jamais d'enfants dans le périmètre de travail. N'autorisez jamais les enfants à utiliser la machine.
Garez la machine sur une surface plane et horizontale, relevez complètement et verrouillez le timon pour serrer le frein de stationnement, coupez le moteur, retirez la clé et attendez l'arrêt de toutes les pièces mobiles avant de faire l'entretien, de faire le plein ou de déboucher la machine.
L'usage ou l'entretien incorrect de cette machine
peut occasionner des accidents. Pour réduire les risques d'accidents
et de blessures, respectez les consignes de sécurité
qui suivent. Tenez toujours compte des mises en garde signalées
par le symbole de sécurité (
) et la mention Prudence,
Attention ou Danger. Le non respect de ces instructions peut entraîner
des blessures graves ou mortelles.
![]() |
Des autocollants de sécurité et des instructions bien visibles par l'utilisateur sont placés près de tous les endroits potentiellement dangereux. Remplacez tout autocollant endommagé ou manquant. |
















Note: L'avant de la machine est au niveau du timon ; c'est également la position normale d'utilisation. Les côtés gauche et droit sont déterminés par rapport au sens de déplacement, quand vous tirez la machine derrière vous.
Note: Pour élever la tête d'aération après avoir sorti la machine de la caisse d'expédition, relâchez la barre de commande d'aération et démarrez le moteur ; voir Démarrage du moteur et Levage de la tête d'aération pour plus d'informations.
Pièces nécessaires pour cette opération:
| Roue | 2 |
Note: Si possible, utilisez un pont élévateur pour soulever l'arrière de la machine. Utilisez les œillets des logements de roulements de la tête d'aération comme points de levage (Figure 3)

À l'arrière de la machine, retirez les 4 écrous de roue qui fixent l'arrière de la machine aux supports de la palette d'expédition.
Fixez une roue sur chaque moyeu de roue arrière à l'aide des 4 écrous de roue (Figure 4).

Serrez les écrous de roues à un couple de 61 à 75 N·m.
Répétez les opérations 1 à 3 de l'autre côté de la machine.
Dégonflez tous les pneus à 8,3 bar (12 psi).
Pièces nécessaires pour cette opération:
| Timon | 1 |
| Contre-écrou (½") | 3 |
Insérez les goujons à l'extrémité du timon dans les trous du bras de direction (Figure 5).
Note: Demandez à une autre personne de vous aider à tenir le timon.

Vissez un contre-écrou à embase (½") sur chacun des 3 goujons.
Serrez les contre-écrous à embase à un couple de 91 à 113 N·m.
Relevez le timon et fixez-le en position avec la goupille de verrouillage (Figure 6).

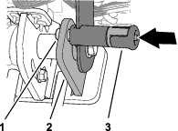
Faites passer la fixation du câble de frein sous le bas du profilé du timon (Figure 7).

Placez la fixation du câble de frein sur l'axe de chape, et fixez-la en place avec la rondelle et la goupille fendue.
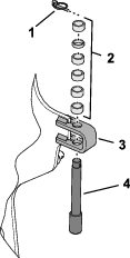
Faites passer le connecteur à 6 broches et le connecteur à 12 broches de la machine dans le passe-câble du profilé du timon (Figure 8).

Branchez le connecteur à 12 broches du faisceau de la machine sur le connecteur à 12 douilles du faisceau du timon (Figure 9).

Branchez le connecteur à 6 broches du faisceau de la machine sur le connecteur à 6 douilles du faisceau du timon.
Insérez la fixation enfichable du faisceau de la machine dans le trou du profilé du timon (Figure 10).

Insérez la fixation enfichable du faisceau de la machine dans le trou du support de guidage.
Fixez le faisceau de la machine sur le profilé du timon en passant un attache-câble dans les fentes du profilé (Figure 11).

Fixez le faisceau de la machine sur le support de guidage en passant un attache-câble dans les fentes du support.
Installez le couvercle du timon en plaçant le petit cran en haut (Figure 12).

Alignez les trous du couvercle et les trous du profilé du timon.
Fixez le couvercle sur le timon à l'aide des 6 vis autotaraudeuses (¼").
Pièces nécessaires pour cette opération:
| Boulon (¼" x 1") | 2 |
| Écrou à embase (5/16") | 2 |
L'électrolyte contient de l'acide sulfurique, un poison mortel qui cause de graves brûlures.
Évitez tout contact avec la peau, les yeux et les vêtements. Portez des lunettes de protection et des gants en caoutchouc.
Retirez, chargez et installez la batterie dans un endroit où vous disposez toujours d'eau propre pour rincer la peau en cas d'accident.
La batterie en charge produit des gaz qui peuvent exploser.
Ne fumez jamais près de la batterie et gardez-la à l'écart des flammes et sources d'étincelles.
Les bornes de la batterie ou les outils en métal peuvent causer des courts-circuits au contact des pièces métalliques de la machine et produire des étincelles. Les étincelles peuvent provoquer l'explosion des gaz de la batterie et vous blesser.
Lors du retrait ou de la mise en place de la batterie, les bornes ne doivent toucher aucune partie métallique de la machine.
Évitez de créer des courts-circuits entre les bornes de la batterie et les parties métalliques de la machine avec des outils en métal.
S'ils sont mal acheminés, les câbles de la batterie peuvent subir des dommages ou endommager la machine et produire des étincelles. Les étincelles peuvent provoquer l'explosion des gaz de la batterie et vous blesser.
Débranchez toujours le câble négatif (noir) de la batterie avant le câble positif (rouge).
Connectez toujours le câble positif (rouge) de la batterie avant le câble négatif (noir).
Déverrouillez et ouvrez la porte du compartiment de la batterie (Figure 13).

Sortez la batterie de son compartiment.
Utilisez un chargeur d'une capacité de 3 à 4 A pour charger la batterie.
Une fois la batterie chargée, débranchez le chargeur du secteur et des bornes de la batterie.
Placez la batterie sur son socle dans le compartiment (Figure 14). Positionnez la batterie de telle sorte que les bornes se trouvent à l'extérieur.

Fixez la batterie sur le fond de son compartiment avec une tige de maintien, 2 tiges en J, 2 rondelles plates et 2 écrous à oreilles .
Fixez le câble positif (rouge) sur la borne positive (+) de la batterie avec un boulon de carrosserie et un écrou.
Placez ensuite le capuchon de caoutchouc sur la borne positive.
Fixez le câble négatif (noir) sur la borne négative (–) de la batterie à l'aide d'un boulon de carrosserie et d'un écrou.
Fermez et verrouillez la porte du compartiment de la batterie.
Pièces nécessaires pour cette opération:
| Gâche | 2 |
| Vis d'assemblage | 2 |
| Rondelle-frein dentée interne | 2 |
Si la machine doit être utilisée dans un pays membre de l'Union Européenne (CE), montez la gâche sur le capot arrière comme suit, en conformité avec la réglementation de la CE.
Déposez le capot arrière.
Fixez une gâche par-dessus le verrou du capot (Figure 15) à l'aide d'un boulon entièrement fileté (2 en tout).

Avec une pince et une clé, vissez une rondelle frein intérieure sur chaque boulon (1 à 2 filets) pour fixer les boulons sur le capot.
Répétez les opérations 2 à 3 de l'autre côté du capot.
Reposez le capot arrière.
Pièces nécessaires pour cette opération:
| Sangle de sécurité | 1 |
| Rivet aveugle | 1 |
| Boulon (¼" x 1") | 1 |
| Contre-écrou (¼") | 1 |
Si vous préparez cette machine de sorte qu'elle soit en conformité avec la réglementation CE, installez le levier de verrouillage du protège-courroies comme suit.
Localisez le trou dans le protège-courroies, à côté de la fente du levier de verrouillage (Figure 16 et Figure 17).

Fixez la sangle de sécurité dans le trou du protège-courroies au moyen d'un rivet aveugle (Figure 17).

Vissez le boulon dans le levier de verrouillage (Figure 18).

Pièces nécessaires pour cette opération:
| Autocollant CE | 1 |
| Autocollant de l'année de production | 1 |
Un vaste choix de porte-louchets, de protège-gazon et de louchets est proposé pour la machine. Voir Montage des protège-gazon, des porte-louchets et des louchets.


Utilisez le verrou (Figure 21) pour bloquer le timon en position levée et pour serrer le frein de stationnement.
Important: Bloquez le timon en position levée chaque fois que vous quittez la position d'utilisation.
La barre de présence de l'utilisateur (Figure 21) permet de confirmer que vous êtes à la position d'utilisation quand la machine se déplace ou quand la tête d'aération est en marche.
Note: Relâcher la barre de présence de l'utilisateur n'entraîne pas l'arrêt du moteur.
Utilisez l'InfoCenter (Figure 21) pour régler le fonctionnement des commandes de la tête d'aération.
Lorsque vous touchez le contacteur de butée (Figure 21), la machine effectue les actions suivantes :
La machine cesse d'avancer.
La tête d'aération se lève et s'arrête de tourner.
Note: Toucher le contacteur de butée n'entraîne pas l'arrêt du moteur. Vous pouvez conduire la machine en marche arrière, mais vous devez alors réarmer le contacteur de butée pour avancer.

Utilisez la commande de transport/aération (Figure 22) pour réguler la vitesse de déplacement maximale de la machine pendant l'aération ou le transport.
La position AéRATION active l'aération et limite la vitesse de déplacement à 4 km maximum.
La position TRANSPORT permet de conduire la machine d'une surface de travail à une autre à la vitesse maximale ou plus lentement.
Note: L'aération est impossible si vous laissez la commande de transport/aération en position TRANSPORT.
Utilisez la commande de déplacement gauche ou droite (Figure 22) pour conduire la machine en marche avant ou arrière.
Utilisez la commande de blocage de vitesse (Figure 22) pour maintenir la vitesse de déplacement de la machine ; cette commande est similaire au régulateur de vitesse d'un véhicule automobile.
La position ENGAGéE bloque la vitesse de déplacement actuelle de la machine.
La position ACTIVéE active le blocage de la vitesse de déplacement.
La position DéSACTIVéE désactive le blocage de la vitesse de déplacement.
Utilisez la commande de blocage de vitesse (Figure 22) pour continuer d'associer la vitesse de déplacement de la machine à l'espacement des trous d'aération.
Position ACTIVéE – active et engage le blocage de la vitesse de déplacement pour continuer d'associer la vitesse de déplacement de la machine à l'espacement des trous d'aération quand vous relâchez la barre de commande d'aération à la fin d'une passe d'aération.
Position DéSACTIVéE – désactive le blocage de la vitesse de déplacement ; la machine cesse alors d'avancer lorsque vous relâchez la barre de commande d'aération.

Utilisez la barre de commande d'aération (Figure 23) pour abaisser et relever la tête d'aération.
Utilisez la commande d'abaissement (Figure 23) pour changer le mode d'abaissement de la tête d'aération pendant l'aération. Les deux modes suivants sont disponibles :
Abaissement immédiat
Abaissement différé

La commande d'accélérateur (Figure 24) permet de réguler le régime moteur :
Poussez la commande d'accélérateur en avant pour augmenter le régime moteur – vers la position HAUT RéGIME.
Poussez la commande d'accélérateur en arrière pour réduire le régime moteur – vers la position BAS RéGIME.
Note: Le régime moteur régule la vitesse de la tête d'aération
Utilisez le starter pour démarrer le moteur à froid (Figure 24).
Le commutateur d'allumage (Figure 24) sert à démarrer et arrêter le moteur. Il a 3 positions :
DéMARRAGE – tournez la clé dans le sens horaire à la position DéMARRAGE pour engager le démarreur.
CONTACT – lorsque le moteur démarre, relâchez la clé qui revient alors automatiquement à la position CONTACT.
ARRêT – tournez la clé dans le sens antihoraire à la position ARRêT pour couper le moteur.
Le compte-tours permet de déterminer le régime moteur (Figure 24).
Utilisez le robinet d'arrivée de carburant pour réguler le débit de carburant en provenance du réservoir (Figure 25).

L'écran de l'InfoCenter (Figure 26) affiche des informations relatives à la machine, comme son état de fonctionnement, ainsi que divers diagnostics et autres renseignements la concernant.

Note: Chaque bouton peut changer de fonction selon les besoins du moment. Chaque bouton est repéré par une icône illustrant sa fonction actuelle.
Utilisez les boutons de navigation pour vous déplacer entre les écrans et les options des menus :
Écran de démarrage : les données de l'état actuel de la machine s'affichent pendant quelques secondes après que la clé est tournée en position CONTACT.
Menu principal : voir Utilisation des menus.
|
SERVICE DUE |
Indique quand un entretien programmé doit être effectué |
|
|
Mode de transport |
|
|
Profondeur des trous |
|
|
Espacement des trous |
|
|
Diamètre des louchets |
|
|
Nombre de louchets par porte-louchets |
|
|
Batterie |
|
|
Compteur horaire |
|
|
Actif/OK |
|
|
Inactif |
|
|
Suivant |
|
|
Écran précédent |
|
|
Menu |
|
|
Augmenter/réduire la valeur |
|
|
Défilement vers le haut/bas |
|
|
Défilement vers la gauche/droite |
|
|
Quitter vers menu |
|
|
|
Pour accéder au menu principal, appuyez sur le bouton de retour en arrière/quitter à partir de n'importe lequel des écrans d'information.
Voir dans les tableaux suivant la description des options disponibles dans les différents menus :
|
Option de menu |
Description |
|---|---|
|
ANOMALIE |
Contient la liste des anomalies récentes de la machine. Voir le Manuel d'entretien ou adressez-vous à votre distributeur Toro agréé pour plus de renseignements sur le menu Anomalies. |
|
ENTRETIEN |
Contient des renseignements sur la machine, comme le nombre d'heures de fonctionnement et d'autres renseignements de ce type. |
|
DIAGNOSTICS |
Énumère les différents états actuels de la machine ; ce menu peut servir à détecter certains problèmes, car il indique rapidement quelles commandes de la machine sont activées ou désactivées. |
|
RéGLAGES |
Permet de saisir le code PIN ou de personnaliser l'écran de l'InfoCenter. |
|
RéGLAGES MACHINE |
Permet de modifier les caractéristiques de fonctionnement et la configuration de la machine. |
|
À PROPOS |
Indique le numéro de modèle, le numéro de série et la version logicielle de votre machine. |
|
Option de menu |
Description |
|---|---|
|
STATISTIQUES |
Énumère les compteurs des données de fonctionnement et des données d'utilisation de la machine, telles que la durée de fonctionnement du moteur, la superficie/le volume/la durée d'aération, la distance parcourue pour l'aération. |
|
HOURS |
Indique le nombre total d'heures de fonctionnement de la machine, du moteur et de la PDF, ainsi que le nombre d'heures de transport et restant avant le prochain entretien. |
|
COUNTS |
Affiche les différents décomptes effectués par la machine. |
|
SERVICE LIFT |
Active ou désactive la levée pour l'entretien. |
|
SERVICE LOWER |
Active ou désactive l'abaissement pour l'entretien. |
|
3WD |
Active la fonction 3RM automatique ou permanente. |
|
GROUND HEIGHT |
Indique si l'étalonnage des capteurs est valide, démarre le processus d'étalonnage et indique la valeur électrique du capteur. |
|
TRACTION PUMP |
Indique si l'étalonnage des capteurs est valide, démarre le processus d'étalonnage et indique la valeur électrique du capteur. |
|
TRACTION INPUT |
Indique si l'étalonnage des capteurs est valide, démarre le processus d'étalonnage et indique la valeur électrique du capteur. |
|
HEIGHT SENSOR |
Indique si l'étalonnage des capteurs est valide, démarre le processus d'étalonnage et indique la valeur électrique du capteur. |
|
|
|
|
Option de menu |
Description |
|---|---|
|
SAISIE DU CODE PIN |
Permet à une personne autorisée possédant le code PIN d'accéder aux menus protégés |
|
RéTROéCLAIRAGE |
Permet de régler la luminosité de l'affichage LCD |
|
LANGUE |
Permet de choisir la langue utilisée dans l'InfoCenter |
|
UNITéS |
Permet de choisir les unités utilisées dans l'InfoCenter (métriques ou impériales) |
|
MODIFIER PIN |
Permet à une personne autorisée possédant le code PIN de modifier celui-ci. |
|
PROTECTION DES RéGLAGES |
Active ou désactive l'obligation de saisir le code PIN pour accéder aux réglages protégés |
|
RETOUR RéGLAGES D'USINE |
Rétablit tous les réglages par défaut |
|
|
|
|
Option de menu |
Description |
|
TRANSPORT MAX |
Permet de modifier la vitesse de déplacement maximale en marche avant ; 6,4 km/h par défaut |
|
AéRATION MANUELLE |
Active ou désactive l'aération manuelle |
|
|
|
|
Option de menu |
Description |
|---|---|
|
Modèle |
Indique le numéro de modèle de la machine |
|
Nº de série |
Indique le numéro de série de la machine |
|
Rév. logiciel |
Indique la version du logiciel du contrôleur principal |
|
Statistiques CAN |
Indique l'état du bus de communication de la machine |
|
Version de l'InfoCenter |
Indique la version du logiciel de l'affichage de l'InfoCenter |
|
|
|
|
Option de menu |
Description |
|---|---|
|
Traction |
Voir le Manuel d'entretien ou adressez-vous à votre distributeur Toro agréé pour plus de renseignements sur le menu Diagnostics. |
|
Aeration |
|
|
Engine |
Les menus protégés ne sont pas affichés par défaut. Ces réglages sont accessibles après saisie du code PIN.
Note: Le code PIN par défaut d'usine de la machine est 0000 ou 1234 ; à la livraison de la machine, le code PIN a pu être changé par le distributeur.Si vous avez changé le code PIN et que vous l'avez oublié, contactez votre distributeur Toro agréé.
Dans le menu PRINCIPAL, naviguez jusqu'au menu RéGLAGES et appuyez sur le bouton de sélection (Figure 27).

Dans le menu RéGLAGES, naviguez jusqu'à SAISIR PIN et appuyez sur le bouton de sélection (Figure 28A).

Pour saisir le code PIN, appuyez sur les boutons de navigation vers le haut/bas jusqu'à ce que le premier chiffre correct s'affiche, puis appuyez sur le bouton de navigation droit pour passer au chiffre suivant (Figure 28B et Figure 28C). Répétez cette procédure jusqu'à ce que le dernier chiffre soit saisi.
Appuyez sur le bouton de sélection (Figure 28D).
Note: Si l'affichage accepte le code PIN et les menus protégés
sont déverrouillés,
s'affiche dans le coin supérieur
droit de l'écran.
Pour masquer les menus protégés, tournez le commutateur d'allumage à la position ARRêT puis à la position CONTACT.
Après avoir saisi le code PIN, accédez au menu RéGLAGES et naviguez jusqu'à l'option PROTECTION DES RéGLAGES .
Pour pouvoir afficher les menus protégés
sans entrer de code PIN, utilisez le bouton de sélection pour
désactiver l'option PROTECTION DES RéGLAGES
.
Pour exiger la saisie du code PIN pour afficher les
menus protégés, utilisez le bouton de sélection
pour activer l'option PROTECTION DES RéGLAGES
, programmez
le code PIN et tournez la clé dans le commutateur d'allumage
en position ARRêT, puis en position CONTACT.

Clignotement rouge – anomalie active
Rouge continu – avis actif
Bleu continu – étalonnage/messages de dialogue
Vert continu – fonctionnement normal
Note: Les spécifications et la conception peuvent faire l'objet de modifications sans préavis.
| Largeur | 127 cm |
| Empattement | 113 cm |
| Voie | 97 cm |
| Largeur d'aération | 122 cm |
| Longueur | 295 cm |
| Hauteur de la tête (levée) | 114 cm |
| Hauteur de la tête (baissée) | 93 cm |
| Hauteur du timon | 154 cm |
| Garde au sol | 12 cm |
| Vitesse en marche avant | 0 à 7,2 km/h |
| Vitesse en marche arrière | 0 à 4 km/h |
| Poids net | 745 kg |
Une sélection d'outils et d'accessoires agréés par Toro est disponible pour augmenter et améliorer les capacités de la machine. Pour obtenir la liste de tous les outils et accessoires agréés, contactez votre concessionnaire-réparateur ou votre distributeur Toro agréé, ou rendez-vous sur www.Toro.com.
Pour obtenir des résultats optimaux, utilisez exclusivement des pièces de rechange et des accessoires d'origine Toro. Les pièces de rechange et outils provenant d'autres constructeurs peuvent être dangereux, et leur utilisation risque d'annuler la garantie de la machine.
Reportez-vous au tableau de configuration des louchets ci-après pour toute information sur la tête d'aération, les protège-gazon et les louchets :
| Description de la tête d'aération | Espacement des louchets | Taille de tige | Nombre de louchets | Type de protège-gazon (nombre) |
|---|---|---|---|---|
| Mini tête d'aération 2x5 | 41 mm | 9,5 mm | 60 | 5 louchets – court (2) |
| 5 louchets – long (1) | ||||
| Mini tête d'aération 1x6 | 32 mm | 9,5 mm | 36 | 6 louchets – court (2) |
| 6 louchets – long (1) | ||||
| Tête à 3 louchets (⅞") | 66 mm | 22,2 mm | 18 | 3 louchets – court (2) |
| 3 louchets – long (1) | ||||
| Tête à 3 louchets (¾") | 66 mm | 19,5 mm | 18 | 3 louchets – court (2) |
| 3 louchets – long (1) | ||||
| Tête à 4 louchets (¾") | 51 mm | 19,5 mm | 24 | 4 louchets – court (2) |
| 4 louchets – long (1) | ||||
| Tête à 5 aiguilles | 41 mm | — | 30 | 5 louchets – court (2) |
| 5 louchets – long (1) |
Note: Les côtés gauche et droit de la machine sont déterminés d'après la position d'utilisation normale.
Ne confiez jamais l'utilisation ou l'entretien de la machine à des enfants ou à des personnes non qualifiées. La réglementation locale peut imposer un âge minimum pour les utilisateurs. Le propriétaire de la machine doit assurer la formation de tous les utilisateurs et mécaniciens.
Familiarisez-vous avec le maniement correct du matériel, les commandes et les symboles de sécurité.
Apprenez à arrêter la machine et le moteur rapidement.
Avant d'utiliser la machine, vérifiez toujours que les louchets sont en bon état. Remplacez les louchets usés ou endommagés.
Inspectez la zone de travail et débarrassez-la de tout objet susceptible d'être heurté par la machine.
Repérez et balisez toutes les lignes électriques et de communications, les composants d'arrosage et autres obstacles se trouvant dans la zone à aérer. Dans la mesure du possible, retirez les éléments présentant un danger, ou faites en mesure de les éviter.
Garez la machine sur une surface plane et horizontale, relevez complètement et verrouillez le timon, serrez le frein de stationnement, coupez le moteur, retirez la clé et attendez l'arrêt complet de toutes les pièces mobiles.
Vérifiez toujours que les commandes de présence de l'utilisateur, les contacteurs de sécurité et les capots de protection sont en place et fonctionnent correctement. N'utilisez pas la machine s'ils ne fonctionnent pas correctement.
Faites preuve de la plus grande prudence quand vous manipulez du carburant, en raison de son inflammabilité et du risque d'explosion des vapeurs qu'il dégage.
Éteignez cigarettes, cigares, pipes et autres sources d'étincelles.
Utilisez exclusivement un bidon à carburant homologué.
N'enlevez pas le bouchon du réservoir de carburant et n'ajoutez pas de carburant pendant que le moteur tourne ou est encore chaud.
N'ajoutez pas de carburant et ne vidangez pas le réservoir dans un local fermé.
Ne rangez pas la machine ni les bidons de carburant à proximité d'une flamme nue, d'une source d'étincelles ou d'une veilleuse, telle celle d'un chauffe-eau ou autre appareil.
Si vous renversez du carburant, ne mettez pas le moteur en marche. Évitez toute source possible d'inflammation jusqu'à dissipation complète des vapeurs de carburant.
| Type | Essence sans plomb |
| Indice d'octane minimum | 87 (USA) ou 91 (octane recherche ; hors USA) |
| Éthanol | Pas plus de 10 % par volume |
| Méthanol | Aucun |
| MTBE (éther méthyltertiobutylique) | Moins de 15 % par volume |
| Huile | Ne pas ajouter au carburant |
Utilisez uniquement du carburant propre et frais (stocké depuis moins d'un mois) provenant d'une source fiable.
Important: Pour réduire les problèmes de démarrage, ajoutez au carburant frais la quantité de stabilisateur/conditionneur indiquée par le fabricant du stabilisateur/conditionneur.
Capacité du réservoir de carburant : 26,5 l
Garez la machine sur une surface plane et horizontale, relevez complètement et verrouillez le timon, serrez le frein de stationnement, coupez le moteur, retirez la clé et attendez l'arrêt complet de toutes les pièces mobiles.
Nettoyez la surface autour du bouchon du réservoir et enlevez le bouchon (Figure 30).

Versez la quantité de carburant nécessaire pour que le niveau se situe entre 6 et 13 mm au-dessous de la base du goulot de remplissage.
Important: L'espace au-dessus doit rester vide pour permettre au carburant de se dilater. Ne remplissez pas complètement le réservoir de carburant.
Revissez solidement le bouchon du réservoir.
Essuyez le carburant éventuellement répandu.
Chaque jour, avant de démarrer la machine, effectuez les procédures décrites à la section .
| Périodicité d'entretien | Procédure d'entretien |
|---|---|
| À chaque utilisation ou une fois par jour |
|
Si le système de sécurité est déconnecté ou endommagé, la machine peut se mettre en marche inopinément et causer des blessures.
Ne modifiez pas abusivement les contacteurs de sécurité.
Vérifiez chaque jour le fonctionnement du système de sécurité et remplacez les contacteurs de sécurité qui sont endommagés avant d'utiliser la machine.
Le système de sécurité interdit le démarrage du moteur si la commande de déplacement n'est pas à la position POINT MORT.
Le système de sécurité interdit le démarrage du moteur tant que la barre de présence de l'utilisateur n'est pas complètement relâchée.
Le système de sécurité interdit le démarrage du moteur tant que la barre de commande de la tête d'aération n'est pas complètement relâchée.
Le système de sécurité lève et arrête la tête d'aération si vous conduisez la machine en marche arrière pendant l'aération ou si vous touchez le contacteur de butée.
Important: Si le système de sécurité ne fonctionne pas de la manière décrite, faites-le immédiatement réviser par un distributeur Toro agréé.
Si la tête d'aération est baissée, procédez comme suit. Si la tête d'aération est levée, passez à la section Essai du système de sécurité du démarreur.
Démarrez le moteur et réglez la commande d'accélérateur à la position BAS RéGIME ; voir Démarrage du moteur.
Baissez le timon (Figure 31).

Appuyez sur l'un des boutons de l'InfoCenter.
Note: La tête d'aération se lève.
Coupez le moteur ; voir Arrêt du moteur.
Si le moteur tourne, arrêtez-le.
Serrez l'une des barres de présence de l'utilisateur contre la poignée du timon et tournez la commande de déplacement (Figure 32) vers l'avant ou l'arrière, puis démarrez le moteur.
Important: Le moteur ne doit pas démarrer.

Relâchez la barre de présence de l'utilisateur, amenez la commande de déplacement à la position POINT MORT et démarrez le moteur.
Serrez l'une des barres de présence de l'utilisateur contre la poignée du timon et tournez le haut de la commande de déplacement vers l'avant (Figure 33).
Note: La machine avance.

Tout en maintenant la commande de déplacement, relâchez la barre de présence de l'utilisateur (Figure 34).
Important: La machine doit cesser d'avancer.

Serrez l'une des barres de présence de l'utilisateur contre la poignée du timon et tournez le haut de la commande de déplacement vers l'avant (Figure 35).
Note: La machine avance.

Tout en maintenant la barre de présence de l'utilisateur et la commande de déplacement, touchez le contacteur de butée (Figure 36).
Important: La machine doit cesser d'avancer.
Note: Le moteur continue de tourner.

Réarmez le contacteur de butée ; voir Réarmement du contacteur de butée.
Effectuez l'une des actions suivantes :
Conduisez la machine jusqu'à une pelouse que vous pouvez aérer sans endommager les louchets ou la surface.
Retirez les louchets.
Serrez l'une des barres de présence de l'utilisateur contre la poignée du timon, tournez le haut de la commande de déplacement vers l'avant, puis serrez la barre de commande d'aération (Figure 37).
Note: La machine avance, la tête d'aération commence à tourner puis s'abaisse.

Tout en maintenant la barre de présence de l'utilisateur et la barre de commande d'aération, tournez le haut de la commande de déplacement en arrière (Figure 38).
Important: La tête d'aération doit se lever et s'arrêter de tourner.
Note: Le moteur continue de tourner.

Amenez la commande de déplacement à la position POINT MORT.
Si vous avez déposé les louchets, reposez-les et étalonnez leur hauteur par rapport au sol ; voir Montage des louchets sur la tête d'aération et Étalonnage de la hauteur des louchets par rapport au sol.
Important: Vous devez étalonner la hauteur des louchets par rapport au sol chaque fois que vous remplacez des louchets longs par des courts ou inversement.
Un vaste choix de porte-louchets, de protège-gazon et de louchets est proposé pour la machine. Choisissez les composants requis en vous reportant au tableau des outils et accessoires.
Levez la tête d'aération et verrouillez-la en position avec le verrou de service ; voir Soutien de la tête d'aération avec le verrou de service.
Garez la machine sur une surface plane et horizontale, relevez complètement et verrouillez le timon, serrez le frein de stationnement, coupez le moteur, retirez la clé et attendez l'arrêt complet de toutes les pièces mobiles.
Note: À la livraison de la machine, les barrettes de fixation des protège-gazon, les rondelles et les écrous à embase sont fixés sur les supports des protège-gazon (Figure 39).
Fixez légèrement les protège-gazon sur les supports à l'aide de 4 barrettes de fixation, 12 contre-écrous à embase (⅜") et 12 rondelles (7/16" x 13/16").
Note: Ne serrez pas les contre-écrous à embase.

Fixez légèrement le serre-louchets sur le porte-louchets (Figure 40) à l'aide de 4 boulons (⅜" x 1½ "). Ne serrez pas les vis.
Note: Les boulons font partie des kits porte-louchets.

Insérez les louchets dans le porte-louchets et le serre-louchets et le serre-louchets (Figure 41).

Serrez les boulons (⅜" x 1½") de fixation des serre-louchets et des louchets à 40,6 N·m.
Répétez les opérations 1 à 3 pour les serre-louchets, les porte-louchets et les louchets restants.
Fixez légèrement le porte-louchets et les louchets sur le bras d'aération nº 2 (Figure 42 et Figure 43) à l'aide de 3 boulons (½" x 1¼").


Serrez les boulons à embase (½" x 1¼") à 102 N·m.
Répétez les opérations 1 et 2 pour le bras d'aération nº 5.
Contrôlez l'alignement des fentes des protège-gazon par rapport aux louchets pour vérifier qu'ils sont bien centrés (Figure 44).
Note: Réglez les protège-gazon selon les besoins.

Serrez les contre-écrous à embase (⅜") qui fixent les 3 barrettes de fixation et les 3 protège-gazon sur les 3 supports de protège-gazon.
Fixez le porte-louchets et les louchets restants sur les porte-louchets nº 1, nº 3, nº 4 et nº 6 à l'aide de 12 boulons (½" x 1¼").
Serrez les boulons à embase (½" x 1¼") à 102 N·m.
Étalonnez la machine en fonction de la hauteur des louchets par rapport au sol ; voir Exécution de l'application d'apprentissage de la hauteur par rapport au sol.
Tournez la clé de contact à la position CONTACT.
Si les flèches ne sont pas visibles dans l'écran du mode TRANSPORT mode ou du mode AéRATION, saisissez le code PIN pour accéder aux menus protégés ; voir Accès aux menus protégés.
Note: L'écran de mode TRANSPORT ou mode AéRATION s'affiche (Figure 45).

Appuyez deux fois sur le bouton vers la droite pour afficher l'écran Calibrating the Tine Ground Height (étalonnage de la hauteur des louchets par rapport au sol) (Figure 46).
Note: Appuyez sur le bouton vers la gauche pour afficher l'écran du mode TRANSPORT ou du mode AéRATION.

Appuyez sur le bouton vers la droite pour afficher l'écran Setting the Hole Depth (réglage de la profondeur des trous) (Figure 47).
Note: Appuyez sur le bouton vers la gauche pour afficher l'écran Teach Ground Height (apprendre la hauteur par rapport au sol).

Appuyez sur le bouton vers la droite pour afficher l'écran Setting the Hole Spacing (réglage de l'espacement des trous) (Figure 48).
Note: Appuyez sur le bouton vers la gauche pour afficher l'écran Setting the Hole Depth (réglage de la profondeur des trous).

Appuyez sur le bouton vers la droite pour afficher l'écran Setting the Tine Diameter (réglage du diamètre des louchets) (Figure 48).
Note: Appuyez sur le bouton vers la gauche pour afficher l'écran Setting the Hole Spacing (réglage de l'espacement des trous).

Appuyez sur le bouton vers la droite pour afficher l'écran Setting the Tine Quantity (réglage du nombre de louchets) (Figure 50).
Note: Appuyez sur le bouton vers la gauche pour afficher l'écran Setting the Tine Diameter (réglage du diamètre des louchets).

Note: Le ProCore 648s est conçu pour offrir des performances d'aération optimales sur une grande variété de types de gazon et de sol, de conditions agronomiques et de types de louchets lorsqu'il est réglé à une profondeur de 7,6 cm. Lorsqu'il est utilisé à des réglages moins profonds, en particulier à des profondeurs inférieures à 5 cm avec des louchets plus petits, il peut causer une plus grande perturbation de la surface.
Assurez-vous que la tête d'aération est levée ; voir Levage de la tête d'aération.
Tournez la clé de contact à la position CONTACT.

Appuyez sur le bouton vers la droite jusqu'à ce que l'écran Setting the Hole Depth (réglage de la profondeur des trous) s'affiche (Figure 51 et Figure 52).
Réglez la profondeur de pénétration des louchets à l'aide des boutons vers le haut et le bas (Figure 52) comme suit :
Appuyez sur le bouton vers le bas pour réduire la profondeur des trous.
Appuyez sur le bouton vers le haut pour augmenter la profondeur des trous.

Appuyez sur le bouton vers la gauche ou la droite pour enregistrer vos réglages et quitter l'écran de réglage de la profondeur de pénétration.
Tournez la clé de contact à la position ARRêT.
Note: Lorsque vous aérez à la profondeur maximale autorisée (quelle que soit la longueur des louchets) après avoir étalonné la hauteur par rapport au sol, si les boulons des protège-gazon touchent ou raclent le gazon, réduisez la profondeur d'un cran (¼ pouce).
Note: Lorsque vous sélectionnez un espacement des trous donné, la machine régule la vitesse de déplacement pour maintenir la distance d'espacement des trous.
Assurez-vous que la tête d'aération est levée ; voir Levage de la tête d'aération.
Tournez la clé de contact à la position CONTACT.

Appuyez sur le bouton vers la droite jusqu'à ce que l'écran Setting the Hole Spacing (réglage de l'espacement des trous) s'affiche (Figure 53 et Figure 54).
Réglez l'espacement des trous (Figure 54) comme suit :
Appuyez sur le bouton vers le bas pour réduire l'espacement des trous.
Appuyez sur le bouton vers le haut pour augmenter l'espacement des trous.

Appuyez sur le bouton vers la gauche ou la droite pour enregistrer vos réglages et quitter l'écran de réglage de l'espacement des trous.
Tournez la clé de contact à la position ARRêT.
Assurez-vous que la tête d'aération est levée ; voir Levage de la tête d'aération.
Tournez la clé de contact à la position CONTACT.

Appuyez sur le bouton vers la droite jusqu'à ce que l'écran Setting the Tine Diameter (réglage du diamètre des louchets) s'affiche (Figure 55 et Figure 56).
Réglez le diamètre des louchets à l'aide des boutons supérieur et inférieur (Figure 56) comme suit :
Appuyez sur le bouton vers le haut pour augmenter le diamètre des louchets.
Appuyez sur le bouton vers le bas pour augmenter le diamètre des louchets.

Appuyez sur le bouton vers la gauche ou la droite pour enregistrer vos réglages et quitter l'écran de réglage du diamètre des louchets.
Tournez la clé de contact à la position ARRêT.
Assurez-vous que la tête d'aération est levée ; voir Levage de la tête d'aération.
Tournez la clé de contact à la position CONTACT.

Appuyez sur le bouton vers la droite jusqu'à ce que l'écran Setting the Tine Quantity (réglage du nombre de louchets) s'affiche (Figure 58).
Réglez le nombre de louchets à l'aide des boutons vers le haut et le bas (Figure 58) comme suit :
Important: Le nombre de louchets correspond au nombre de louchets dans 1 porte-louchets.
Appuyez sur le bouton vers le haut pour augmenter le nombre de louchets.
Appuyez sur le bouton vers le bas pour réduire le nombre de louchets.

Appuyez sur le bouton vers la gauche ou la droite pour enregistrer vos réglages et quitter l'écran de réglage du nombre de louchets.
Tournez la clé de contact à la position ARRêT.
| Périodicité d'entretien | Procédure d'entretien |
|---|---|
| À chaque utilisation ou une fois par jour |
|
Important: Étalonnez la hauteur des louchets par rapport au sol chaque fois que vous changez de type de louchet ou que vous remplacez des louchets usés.
Assurez-vous que la tête d'aération est levée.
Garez la machine sur une surface plane et horizontale, relevez complètement et verrouillez le timon, serrez le frein de stationnement, coupez le moteur, retirez la clé et attendez l'arrêt complet de toutes les pièces mobiles.
Déposez le capot de la tête d'aération ; voir Dépose du capot de la tête d'aération.
Faites tourner la poulie de la tête d'aération (Figure 59) jusqu'à ce que les louchets les plus à l'extérieur soient le plus près du sol (Figure 60).
Important: N'approchez pas les doigts du point d'entrée et de sortie de la courroie de la poulie pour éviter de vous pincer.


Reposez le capot de la tête d'aération ; voir Pose du capot de la tête d'aération.
Tournez la clé de contact à la position CONTACT.
Note: L'écran de mode TRANSPORT ou mode AéRATION s'affiche (Figure 61).

Déplacez le timon afin de voir les louchets les plus à l'extérieur que vous avez positionnés à la section Préparation de la machine.
Appuyez sur le bouton vers la droite jusqu'à ce que l'assistant TEACH GROUND HEIGHT (apprentissage de la hauteur par rapport au sol) s'affiche.
Dans l'écran Teach Ground Height (Figure 62), appuyez sur l'un des boutons au centre.

Dans l'écran PRESS OK TO START TEACH (appuyer sur OK pour lancer l'apprentissage) (Figure 63), appuyez sur le bouton de sélection.

Note: Le message CALIBRATION ENGAGED (étalonnage engagé) s'affiche et la tête d'aération s'abaisse lentement.
Important: Gardez les mains près de l'InfoCenter.
Note: La tête d'aération s'abaissera plus lentement si le liquide hydraulique est froid.
Lorsqu'un louchet touche le sol, appuyez sur le bouton de sélection dans l'écran Lowering Head (abaissement de tête) (Figure 64).
Note: Les louchets doivent seulement toucher le sol ; ils ne doivent pas soulever ou décharger le poids des roues.Si la tête d'aération soulève la machine, la machine ne peut pas étalonner correctement la hauteur par rapport au sol, ce qui produit des trous de la mauvaise profondeur et laisse de l'herbe à l'intérieur.

Note: Le message CALIBRATION COMPLETE (étalonnage terminé) s'affiche et la tête se relève complètement.
Appuyez sur le bouton de retour en arrière pour quitter l'application Teach Ground Height (apprentissage de la hauteur par rapport au sol).
Le propriétaire/l'utilisateur est responsable des accidents pouvant entraîner des dommages corporels ou matériels et peut les prévenir.
Portez une tenue adaptée, y compris une protection oculaire, un pantalon, des chaussures solides à semelle antidérapante et des protecteurs d'oreilles. Attachez les cheveux longs, rentrez ou attachez les vêtements amples, et ne portez pas de bijoux pendants.
N'utilisez pas la machine si vous êtes fatigué, malade ou encore sous l'emprise de l'alcool, de drogues ou de médicaments.
Tenez adultes, enfants et animaux à l'écart de la zone de travail. Ne confiez jamais l'utilisation de la machine à un enfant. Seules les personnes responsables, formées à l'utilisation de la machine, ayant lu et compris les instructions et physiquement aptes sont autorisées à utiliser la machine.
Ne transportez jamais personne sur la machine.
N'utilisez la machine que si la visibilité est bonne pour éviter les trous ou autres dangers cachés.
N'approchez pas les mains ni les pieds des louchets.
Avant de faire marche arrière, vérifiez que la voie est libre juste derrière la machine et sur sa trajectoire.
Arrêtez la machine, coupez le moteur, attendez l'arrêt complet de toutes les pièces mobiles et examinez les louchets si vous heurtez un obstacle ou si la machine vibre de manière inhabituelle. Effectuez toutes les réparations nécessaires avant de réutiliser la machine.
Gardez toujours les pneus gonflés à la pression correcte.
Ralentissez la machine sur les routes et surfaces accidentées.
Les pentes augmentent significativement les risques de perte de contrôle et de retournement de la machine pouvant entraîner des accidents graves, voire mortels. Vous êtes responsable de la sécurité d'utilisation de la machine sur les pentes. L'utilisation de la machine sur une pente, quelle qu'elle soit, demande une attention particulière.
Vous devez évaluer l'état du terrain, l'étudier et le baliser pour déterminer si la pente permet d'utiliser la machine sans risque. Faites toujours preuve de bon sens et de discernement quand vous réalisez cette étude.
Lisez les instructions ci-dessous relatives à l'utilisation de la machine sur les pentes et examinez votre environnement afin de déterminer si les conditions d'utilisation existantes et le site se prêtent à l'utilisation de la machine. Les variations de terrain peuvent modifier le fonctionnement de la machine sur les pentes.
Évitez de démarrer, de vous arrêter ou de tourner sur les pentes. Évitez de changer soudainement de vitesse ou de direction. Tournez lentement et graduellement.
N'utilisez pas la machine si l'adhérence, la direction ou la stabilité peuvent être compromises.
Enlevez ou balisez les obstacles tels que fossés, trous, ornières, bosses, rochers ou autres dangers cachés. L'herbe haute peut masquer les accidents du terrain. Les irrégularités du terrain risquent de provoquer le retournement de la machine.
Tenez compte du fait qu'une perte de l'adhérence peut se produire sur l'herbe humide, en travers des pentes ou dans les descentes. La perte d'adhérence des roues motrices peut faire patiner la machine et entraîner la perte du freinage et de la direction.
Faites preuve de la plus grande prudence lorsque vous utilisez la machine près de fortes dénivellations, de fossés, de berges, d'étendues d'eau ou autres dangers. La machine pourrait se retourner brusquement si une roue passe par-dessus une dénivellation quelconque et se retrouve dans le vide, ou si un bord s'effondre. Établissez une zone de sécurité entre la machine et tout danger potentiel.
Relevez complètement le timon pour serrer le frein de stationnement (Figure 65).

Vérifiez que la goupille de verrouillage du timon dépasse du trou dans la plaque de verrouillage (Figure 66).
Si le frein de stationnement ne se serre pas, la machine peut se déplacer et vous blesser ou blesser d'autres personnes.
Vérifiez que le timon est complètement relevé et se verrouille solidement sur la plaque de verrouillage.

Levez complètement et verrouillez le timon pour serrer le frein de stationnement ; voir Serrage du frein de stationnement.
Utilisez le starter (Figure 70) comme suit :
Avant de démarrer le moteur à froid, placez la commande de starter en position EN SERVICE.
Vous n'aurez pas forcément besoin d'utiliser le starter pour démarrer si le moteur est déjà chaud.

Si le moteur est froid, placez la commande d'accélérateur à la position HAUT RéGIME pour démarrer.
Tournez la clé de contact à la position DéMARRAGE. Relâchez la clé quand le moteur démarre.
Important: N'actionnez pas le démarreur plus de 10 secondes de suite. Si le moteur ne démarre pas, attendez 30 secondes avant de réessayer. Le démarreur risque de griller si vous ne respectez pas ces consignes.
Une fois que le moteur a démarré, poussez progressivement la commande de starter vers la position HORS SERVICE. Si le moteur cale ou hésite, ramenez la commande de starter à la position EN SERVICE pendant quelques secondes. Réglez ensuite la commande d'accélérateur à la position correspondant au régime moteur recherché.
Note: Répétez l'opération si nécessaire.
Les enfants ou les personnes à proximité risquent de se blesser s'ils déplacent ou essayent d'utiliser la machine, lorsque celle-ci est laissée sans surveillance.
Relevez complètement et verrouillez toujours le timon pour serrer le frein de stationnement, coupez le moteur et retirez la clé avant de laisser la machine sans surveillance, ne serait-ce que quelques minutes.
Levez complètement et verrouillez le timon pour serrer le frein de stationnement ; voir Serrage du frein de stationnement.
Placez la commande d'accélérateur (Figure 71) à la position BAS RéGIME.

Faites tourner le moteur au ralenti pendant 60 secondes.
Tournez la clé de contact à la position ARRêT et retirez-la.
Si vous transportez ou remisez la machine, fermez le robinet d'arrivée de carburant (Figure 72).
Important: Fermez le robinet d'arrivée de carburant avant de transporter la machine sur une remorque ou de la remiser. Levez complètement et verrouillez le timon pour serrer le frein de stationnement avant de transporter la machine. Retirez la clé du commutateur d'allumage pour empêcher la pompe à carburant de fonctionner et de décharger la batterie.

Important: Pour utiliser la machine, marchez devant en regardant devant vous ; ne marchez pas à reculons face à la machine.

Utilisez le blocage de la vitesse pour conduire la machine sans avoir à tenir la commande de déplacement.
Note: Vous ne pouvez pas utiliser le blocage de la vitesse quand la machine se déplace en marche arrière.
Le blocage de la vitesse pendant l'aération permet de continuer à conduire la machine à la vitesse d'espacement des trous sélectionnée quand vous arrivez à la fin d'une passe d'aération, de faire demi-tour et d'entamer la passe d'aération suivante sans changer la position de la commande de déplacement.
Note: La fonction de blocage de la vitesse est active en mode Aération quand la tête d'aération est réglée pour le mode Abaissement différé ; elle n'est pas disponible en mode Abaissement immédiat.
Le blocage de la vitesse de déplacement fonctionne comme un régulateur de vitesse automobile.
Placez la commande de transport/aération à la position TRANSPORT (Figure 74).

Placez la commande de blocage de vitesse à la position ACTIVéE.
Conduisez la machine en marche avant à la vitesse de déplacement voulue.
Placez la commande de blocage de vitesse à la position ENGAGéE.
Note: Le blocage de la vitesse de déplacement maintient la vitesse de déplacement actuelle de la machine. Vous pouvez relâcher la commande de déplacement.
Pour désengager la commande de blocage de vitesse, effectuez l'une des opérations suivantes :
Placez la commande de blocage de vitesse à la position DéSACTIVéE.
Tournez le haut de la commande de déplacement vers l'arrière pour faire marche arrière.
Relâchez la barre de présence de l'utilisateur.
Appuyez sur le contacteur de butée.
Note: Le blocage de la vitesse de déplacement n'est pas disponible quand le mode abaissement immédiat est sélectionné.
Placez la commande de transport/aération à la position AéRATION (Figure 75).

Placez la commande de blocage de vitesse à la position ACTIVéE.
Conduisez la machine en marche avant et serrez la barre de commande d'aération.
Note: Le blocage de vitesse de déplacement s'engage et la tête d'aération s'abaisse.
Au bout de la passe d'aération, relâchez la barre de commande d'aération.
Note: La tête d'aération s'élève, mais la machine reste à la vitesse de déplacement qui correspond à l'espacement des trous d'aération
Pour désengager la commande de blocage de vitesse, effectuez l'une des opérations suivantes :
Placez la commande de blocage de vitesse à la position DéSACTIVéE.
Tournez le haut de la commande de déplacement vers l'arrière pour faire marche arrière.
Relâchez la barre de présence de l'utilisateur.
Appuyez sur le contacteur de butée.
Note: Utilisez le mode Transport pour déplacer la machine d'un site de travail à un autre.
Note: La machine se déplace à une vitesse variable réduite chaque fois que la commande de transport/aération est à la position AéRATION.
Démarrez le moteur et placez la commande d'accélérateur à la position HAUT RéGIME ; voir Démarrage du moteur.
Abaissez le timon pour desserrer le frein de stationnement ; voir Desserrage du frein de stationnement.
Appuyez sur le côté gauche de la commande de transport/aération pour la placer à la position TRANSPORT (Figure 76).

Note: L'InfoCenter affiche l'icône de TRANSPORT (Figure 77).

Regardez dans la direction de travail prévue pour vérifier qu'elle est parfaitement dégagée.
Serrez la barre de présence de l'utilisateur contre la poignée droite ou gauche du timon (Figure 76).
Avec le pouce, faites tourner la commande de déplacement gauche ou droite pour conduire la machine comme suit :
Tournez le haut de la commande de déplacement vers l'avant pour faire avancer la machine.
Tournez le haut de la commande de déplacement vers l'arrière pour faire marche arrière.
Note: Tournez la commande de déplacement plus loin pour augmenter la vitesse de déplacement de la machine.
Important: Pour arrêter immédiatement la machine, appuyez sur le contacteur de butée (Figure 78).

Si l'aération est en cours, relâchez la barre de commande d'aération (Figure 79) pour relever la tête d'aération ; voir Levage de la tête d'aération.

Relâchez la commande de déplacement et laissez-la revenir à la position POINT MORT.
Relâchez la barre de présence de l'utilisateur.
Levez complètement et verrouillez le timon pour serrer le frein de stationnement ; voir Serrage du frein de stationnement.
Note: La machine roule à une vitesse variable réduite chaque fois que la tête d'aération est levée.
Démarrez le moteur et placez la commande d'accélérateur à la position HAUT RéGIME ; voir Démarrage du moteur.
Abaissez le timon pour desserrer le frein de stationnement ; voir Desserrage du frein de stationnement.
Appuyez sur le côté droit de la commande de transport/aération pour la placer à la position AéRATION (Figure 80).

L'InfoCenter affiche la profondeur et l'espacement actuels des trous (Figure 81).

Regardez dans la direction de travail prévue pour vérifier qu'elle est parfaitement dégagée.
Serrez la barre de présence de l'utilisateur contre la poignée droite ou gauche du timon (Figure 80).
Avec le pouce, faites tourner le haut de la commande de déplacement gauche ou droite pour conduire la machine en marche avant :
Note: Pendant l'aération, la vitesse de déplacement de la machine correspond à l'espacement des trous que vous avez choisi.
Lorsque le blocage de la vitesse de déplacement est activé, si vous relâchez la barre de commande d'aération sans changer la position de la commande de déplacement, la machine maintient sa vitesse de déplacement, tout comme un régulateur de vitesse automobile.
Si la machine se déplace en marche arrière, l'effet régulateur de vitesse est désengagé et la vitesse de déplacement de la machine devient variable.
Lorsque vous levez la tête d'aération pour faire demi-tour avant la passe suivante, vous pouvez augmenter la vitesse de déplacement en tournant la commande de déplacement plus loin en avant. Lorsque vous ramenez la commande de déplacement à la position POINT MORT, la machine ralentit pour atteindre la vitesse de déplacement correspondant à l'espacement des trous d'aération.
Utilisez la roue avant pour viser le point d'abaissement quand vous aérez en mode Abaissement différé.
Appuyez sur le haut de la commande d'abaissement (Figure 82) pour sélectionner la position ABAISSEMENT DIFFéRé.

Conduisez la machine en marche avant ; voir Conduite de la machine en mode Aération.
Lorsque les roues avant passent le périmètre de la zone d'aération, serrez la barre de commande d'aération gauche ou droite (Figure 83).
Note: La tête d'aération tourne et s'abaisse quand la machine avance et entre dans la zone d'aération déterminée.

Utilisez la roue avant (Figure 84) pour viser le point de levage quand vous aérez en mode Abaissement différé.

Pour lever la tête d'aération, effectuer l'une des opérations suivantes :
Lorsque les roues avant passent le périmètre de la zone d'aération, relâchez la barre de commande d'aération (Figure 85).
Note: La machine retarde le levage de la tête d'aération jusqu'à cette dernière atteigne le point identifié à l'aide de la roue avant et que vous relâchiez la barre de commande d'aération.

Conduisez la machine en marche arrière ; voir Conduite de la machine en marche arrière.
Appuyez sur le bas de la commande d'abaissement (Figure 86) pour sélectionner la position ABAISSEMENT IMMéDIAT.
Note: Le voyant de la commande s'allume.

Conduisez la machine en marche avant ; voir Conduite de la machine en mode Aération.
Serrez la barre de commande d'aération gauche ou droite (Figure 87).
Note: La tête d'aération s'abaisse immédiatement et commence à aérer.

Pour lever la tête d'aération, effectuer l'une des opérations suivantes :
Relâchez la barre de commande d'aération (Figure 88).
Note: La machine relève immédiatement la tête d'aération.

Conduisez la machine en marche arrière ; voir Conduite de la machine en marche arrière.
Si vous avez abaissé la tête d'aération, relâchez la barre de commande d'aération (Figure 89).

Relâchez la commande de déplacement et laissez-la revenir à la position POINT MORT.
Tout en serrant la barre de présence de l'utilisateur contre la poignée du timon, tournez lentement le haut de la commande de déplacement vers l'arrière (Figure 90).

Relâchez la barre de commande de déplacement et attendez qu'elle revienne à la position POINT MORT, puis relâchez la barre de présence de l'utilisateur (Figure 91).

Éloignez-vous du contacteur de butée (Figure 92).
Note: Un ressort dans le contacteur de butée permet de réarmer le contacteur.

Serrez la barre de présence de l'utilisateur contre la poignée droite ou gauche du timon (Figure 93).

Conduisez la machine ; voir Conduite de la machine en mode Transport ou Conduite de la machine en mode Aération.
Utilisez le repère pour aligner les rangs d'aération (Figure 94).

La machine utilise 2 compteurs pour enregistrer la zone aérée et le volume de carottes déplacé. Les informations fournies par ces compteurs permettent d'estimer la quantité de matériau de topdressing à appliquer sur la ou les surfaces aérées.
Le compteur de la Zone 1 (Area 1) n'est pas protégé par un code PIN et doit être réinitialisé par l'utilisateur de la machine.
Note: Si vous enregistrez le compteur de la Zone 1 pour chaque site d'aération, vous pouvez alors estimer la quantité de terre végétale et ce qui doit être livré pour chaque site.
Le compteur Zone 2 (Area 2) est protégé par un code PIN et doit être réinitialisé par le superviseur ou la personne déléguée.
La superficie est indiquée en m2 (SI) ou pi2 (unités impériales).
Le volume de carottes déplacé est indiqué en m3 (SI) ou pi3 (unités impériales).
Lorsque vous observez les compteurs de volume de carottes déplacé, la machine calcule le volume en utilisant le diamètre et le nombre de louchets que vous avez saisis dans l'InfoCenter.
Important: Si le diamètre et/ou le nombre de louchets ne sont pas corrects avant l'aération, l'InfoCenter calcule et affiche des volumes de carottes erronés pour la Zone 1 et la Zone 2. Si le diamètre et/ou le nombre de louchets changent après l'aération, l'InfoCenter change les volumes affichés.
Garez la machine sur une surface plane et horizontale.
Vérifiez que le moteur tourne ou que la clé de contact est à la position CONTACT.
Dans l'InfoCenter, naviguez jusqu'au MENU PRINCIPAL.
Appuyez sur le bouton vers le bas jusqu'à ce que l'option ENTRETIEN soit sélectionnée, puis appuyez sur le bouton de sélection (Figure 95).

Dans l'écran ENTRETIEN, appuyez sur le bouton vers le bas jusqu'à ce que l'option STATISTICS (statistiques) soit sélectionnée, puis appuyez sur le bouton de sélection (Figure 96).

Note: Un compteur AREA (zone) s'affiche dans l'écran STATISTICS.

Dans l'écran STATISTICS (statistiques), appuyez sur le bouton vers le bas jusqu'à ce que l'option AREA 1 (zone 1) soit sélectionnée (Figure 98).

Notez la superficie d'aération et le volume de carottes sur une fiche de travail ; voir l'exemple ci-après.
|
Date |
Terrain (si plusieurs) |
Lieu d'utilisation |
Superficie d'aération |
Volume de carottes |
Appuyez sur le bouton de sélection pour afficher l'écran Reset area and volume (réinitialiser zone et volume).
Dans l'écran RESET AREA AND VOLUME, appuyez sur le bouton de sélection.
Note: L'InfoCenter affiche l'écran Statistics (statistiques) et les compteurs de zone et de volume sont réinitialisés.
Note: Si vous ne réinitialisez pas le compteur Area 1 (zone 1), les compteurs de zone et de volume continuent d'accumuler les données.

Répétez les opérations 1 à 4 au besoin.
Appuyez sur le bouton de retour en arrière pour retourner à l'écran principal.
Note: La réinitialisation des compteurs AREA 2 (zone 2) ne réinitialise pas les compteurs AREA 1 (zone 1).
Saisissez le code PIN pour accéder aux menus protégés ; voir Accès aux menus protégés.
Dans l'écran STATISTICS (statistiques), appuyez sur le bouton vers le bas jusqu'à ce que l'option AREA 2 (zone 1) soit sélectionnée (Figure 100).

Si nécessaire, notez les données de superficie d'aération et de volume de carottes.
Appuyez sur le bouton de sélection pour afficher l'écran Reset area and volume (réinitialiser zone et volume).
Dans l'écran RESET AREA AND VOLUME, appuyez sur le bouton de sélection (Figure 101).
Note: L'InfoCenter affiche l'écran Statistics (statistiques) et les compteurs de zone et de volume sont réinitialisés.
Note: Si vous ne réinitialisez pas le compteur Area 2 (zone 1), les compteurs de zone et de volume continuent d'accumuler les données.

Appuyez sur le bouton de retour en arrière pour retourner à l'écran principal.
Installez le verrou de service avant d'effectuer l'entretien de la tête d'aération ou quand vous remisez la machine pendant plus de deux jours.
Si la tête d'aération est levée mais pas verrouillée, elle risque de s'abaisser inopinément et de vous blesser ou de blesser d'autres personnes.
Pour tout entretien de la tête d'aération, y compris quand vous changez de louchets ou de protège-gazon, utilisez le verrou de service pour la bloquer en position levée.
Levez la tête d'aération.
Garez-la sur une surface plane et horizontale, relevez complètement et verrouillez le timon pour serrer le frein de stationnement, coupez le moteur, retirez la clé et attendez l'arrêt complet de toutes les pièces mobiles.
Déposez le capot de la tête d'aération ; voir Dépose du capot de la tête d'aération.
Retirez la goupille à anneau qui fixe le verrou de service à la plaque latérale (Figure 102).

Faites pivoter le verrou de service en arrière et engagez-le sur la goupille de support de la tête d'aération.
Fixez le verrou sur la goupille de support avec la goupille à anneau.
Si nécessaire, reposez le capot de la tête d'aération ; voir Pose du capot de la tête d'aération.
Garez-la sur une surface plane et horizontale, relevez complètement et verrouillez le timon pour serrer le frein de stationnement, coupez le moteur, retirez la clé et attendez l'arrêt complet de toutes les pièces mobiles.
Déposez la tête d'aération si elle est en place ; voir Dépose du capot de la tête d'aération.
Retirez la goupille à anneau qui fixe le verrou de service à la tête d'aération (Figure 103).

Faites pivoter le verrou de service vers le bas et engagez-le sur la goupille de support de la plaque latérale.
Fixez le verrou sur la goupille de support avec la goupille à anneau.
Reposez le capot de la tête d'aération ; voir Pose du capot de la tête d'aération.
Important: Remplacez un louchet endommagé par un louchet de la même longueur. L'utilisation de louchets de différentes longueur altère l'aspect des trous.
Des louchets de différentes longueur ont un effet négatif sur l'aspect des trous.
Reportez-vous à la Montage des protège-gazon, des porte-louchets et des louchets pour les figures.
Levez la tête d'aération et verrouillez-la en position avec le verrou de service.
Garez la machine sur une surface plane et horizontale, relevez complètement et verrouillez le timon, serrez le frein de stationnement, coupez le moteur, retirez la clé et attendez l'arrêt complet de toutes les pièces mobiles.
Desserrez les boulons du porte-louchets et retirez le ou les louchets usagés.
Insérez le ou les louchets de rechange dans le porte-louchets.
Serrez les boulons du porte-louchets à 40,6 N·m.
Procédez de même pour les autres bras si nécessaire.
Utilisez l'application de rappel de la hauteur par rapport au sol pour vérifier rapidement la hauteur actuelle des louchets par rapport au sol.
L'application baisse la tête jusqu'à la position étalonnée précédemment ; une fois la tête en position, vous pouvez vérifiez la distance de la pointe des louchets par rapport au sol.
Assurez-vous que la tête d'aération est levée.
Garez la machine sur une surface plane et horizontale, relevez complètement et verrouillez le timon, serrez le frein de stationnement, coupez le moteur, retirez la clé et attendez l'arrêt complet de toutes les pièces mobiles.
Déposez le capot de la tête d'aération ; voir Dépose du capot de la tête d'aération.
Faites tourner la poulie de la tête d'aération (Figure 104) jusqu'à ce que les louchets les plus à l'extérieur soient le plus près du sol.
Important: N'approchez pas les doigts du point d'entrée et de sortie de la courroie de la poulie pour éviter de vous pincer.


Reposez le capot de la tête d'aération ; voir Pose du capot de la tête d'aération.
Saisissez le code PIN pour accéder aux menus protégés ; voir Accès aux menus protégés.
Dans l'InfoCenter, naviguez jusqu'au MENU PRINCIPAL.
Appuyez sur le bouton vers le bas jusqu'à ce que l'option ENTRETIEN soit sélectionnée, puis appuyez sur le bouton de sélection (Figure 105).

Appuyez sur le bouton vers le bas de l'InfoCenter pour naviguer jusqu'à l'option GROUND HEIGHT (hauteur par rapport au sol), puis appuyez sur le bouton de sélection.
Appuyez sur le bouton vers le bas de l'InfoCenter pour naviguer jusqu'à l'option RECALL CALIBRATION (rappeler étalonnage), puis appuyez sur le bouton de sélection.
Dans l'écran Recall Ground Height (rappeler hauteur par rapport au sol) (Figure 106), appuyez sur le bouton central de l'InfoCenter.

Dans l'écran Head Will Lower (la tête va s'abaisser) (Figure 107), appuyez sur le bouton de sélection.

Note: Le message Lowering Head (abaissement de la tête) s'affiche et la tête d'aération s'abaisse.
Observez les louchets les plus à l'extérieur pour détecter les erreurs d'étalonnage suivantes.
Si les louchets commencent à s'enfoncer dans le sol – appuyez sur le bouton de sélection (Figure 108) et exécutez l'application TEACH GROUND HEIGHT (apprentissage de la hauteur par rapport au sol) ; voir Exécution de l'application d'apprentissage de la hauteur par rapport au sol.
Si les louchets sont au dessus du sol – appuyez sur le bouton de sélection et exécutez l'application TEACH GROUND HEIGHT (apprentissage de la hauteur par rapport au sol) ; voir Exécution de l'application d'apprentissage de la hauteur par rapport au sol.

Si les louchets les plus à l'extérieur touchent légèrement le sol, appuyez sur le bouton de sélection pour élever la tête d'aération.
La machine transfère le poids du groupe de déplacement à la tête d'aération afin de maintenir la profondeur d'aération dans divers types de sol. Toutefois, si le sol est suffisamment ferme pour empêcher l'aération à la profondeur totale, un transfert de poids supplémentaire de la tête d'aération peut être nécessaire. La machine est réglée à l'usine pour un transfert de poids normal. Pour augmenter la pression vers le bas des ressorts de transfert de poids, procédez comme suit :
La libération soudaine des pattes de tension des ressorts peut entraîner des blessures.
Demandez l'aide d'une autre personne pour régler le ressort de transfert de poids.
Garez la machine sur une surface plane et horizontale, relevez complètement et verrouillez le timon, serrez le frein de stationnement, coupez le moteur, retirez la clé et attendez l'arrêt complet de toutes les pièces mobiles.
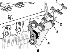
Desserrez le contre-écrou à embase avant et le boulon de carrosserie qui fixent la patte de tension du ressort au support de la tête d'aération (Figure 109).
Note: Ne retirez pas le contre-écrou et le boulon de carrosserie.

Retirez le contre-écrou à embase arrière qui fixe les pattes de support des ressorts au support.
Note: Ne retirez pas le boulon de carrosserie.
Insérez un manche à rochet de ½ pouce ou une barre de levier dans le trou carré de la patte de tension du ressort (Figure 110).

Tournez le manche à rochet ou la barre de levier pour réduire la tension sur le boulon de carrosserie arrière et retirez-le du trou supérieur.
Note: Le trou supérieur correspond au transfert de poids normal.
Faites tourner la patte de tension du ressort jusqu'à ce qu'elle soit en face du trou inférieur du support, puis insérez le boulon de carrosserie dans les trous de la patte et du support.
Note: Le trou inférieur correspond au transfert de poids élevé. Le transfert de poids augmente quand les pattes des ressorts sont tournées vers le haut.
Fixez le boulon de carrosserie sur le support et la patte de tension du ressort avec le contre-écrou à embase.
Serrez les contre-écrous à un couple de 37 à 45 N·m.
Pour optimiser la qualité des trous et les performances de la machine, aérez en utilisant le système de suivi du relief automatique.
Utilisez le suivi du relief manuel uniquement si le capteur de position des louchets est endommagé.
Garez la machine sur une surface plane et horizontale, relevez complètement et verrouillez le timon, serrez le frein de stationnement, coupez le moteur, retirez la clé et attendez l'arrêt complet de toutes les pièces mobiles.
Déposez le capot de la tête d'aération ; voir Dépose du capot de la tête d'aération.
Retirez la goupille à anneau qui fixe la goupille et les entretoises de butée de profondeur au support de butée (Figure 111 et Figure 112).


Placez les entretoises au-dessus ou au-dessous du support de butée pour régler la profondeur d'aération.
Lorsque toutes les entretoises sont en haut du support de butée, la profondeur d'aération est de 11 cm.
Les entretoises épaisses correspondent à des paliers de 19 mm.
Les entretoises minces correspondent à des paliers de 9,5 mm.
Note: Vous devez installer toutes les entretoises quelle que soit leur position.
Fixez la goupille de butée de profondeur et les entretoises sur le support de butée avec la goupille à anneau.
Répétez les opérations 3 à 5 de l'autre côté de la machine.
Important: Veillez à placer les entretoises à la même position au-dessus et au-dessous des supports de butée gauche et droit.
Reposez le capot de la tête d'aération ; voir Pose du capot de la tête d'aération.
Note: Si vous aérez en mode manuel, vous devez programmer le mode de suivi du relief manuel dans l'InfoCenter chaque fois que vous démarrez le moteur.
Tournez la clé de contact en position CONTACT.
Note: Ne mettez pas le moteur en marche.
Saisissez le code PIN pour accéder aux menus protégés ; voir Accès aux menus protégés.
Dans l'InfoCenter, naviguez jusqu'au MENU PRINCIPAL.
Appuyez sur le bouton vers le bas jusqu'à ce que l'option RéGLAGES MACHINE soit sélectionnée, puis appuyez sur le bouton de sélection.
Appuyez sur le bouton vers le bas jusqu'à ce que l'option MANUAL AERATION (aération manuelle) soit sélectionnée, puis appuyez sur le bouton de sélection (Figure 113) pour régler l'aération manuelle sur ON (activée).

Démarrez le moteur.
Pour aérer, reportez-vous à la section Aération en mode Abaissement différé ou Aération en mode Abaissement immédiat.
Note: Lorsque vous coupez et démarrez le moteur, la machine passe par défaut en mode de suivi du relief automatique.
Garez la machine sur une surface plane et horizontale, relevez complètement et verrouillez le timon, serrez le frein de stationnement, coupez le moteur, retirez la clé et attendez l'arrêt complet de toutes les pièces mobiles.
Déposez le capot de la tête d'aération ; voir Dépose du capot de la tête d'aération.
Retirez la goupille à anneau qui fixe la goupille et les entretoises de butée de profondeur au support de butée (Figure 114).


Placez toutes les entretoises au-dessus du support de butée.
Fixez la goupille de butée de profondeur et les entretoises sur le support de butée avec la goupille à anneau.
Note: Vous devez ranger toutes les entretoises.
Répétez les opérations 3 à 5 de l'autre côté de la machine.
Reposez le capot de la tête d'aération ; voir Pose du capot de la tête d'aération.
Après avoir réglé le transfert de poids, vous pouvez aérer un sol suffisamment dur pour que les roues arrière de la machine se soulèvent du sol. Cela peut causer un espacement irrégulier des trous.
Si cela se produit, vous pouvez ajouter des contrepoids sur le tube d'essieu de cadre arrière. Chaque contrepoids ajoute 28,5 kg à la machine. Vous pouvez ajouter jusqu'à 2 contrepoids. Voir dans le Catalogue des pièces de la machine, les numéros de référence des fixations et des contrepoids.
Outils nécessaires : douille de 15 mm et clé à douille
Important: Ne faites pas tourner le moteur avec la vanne de dérivation ouverte plus de 10 à 15 secondes.
Si possible, garez la machine sur une surface plane et horizontale.
Élevez complètement et verrouillez le timon, serrez le frein de stationnement, coupez le moteur, retirez la clé et attendez l'arrêt complet de toutes les pièces mobiles.
Retirez les 2 boulons à embase qui fixent le bac de rangement sur son support (Figure 115).

Localisez le cache de la vis de la vanne de dérivation entre le moteur et la pompe hydraulique, comme montré à la Figure 116.

Avec une douille de 15 mm et une clé à douille, tournez la vanne de dérivation d'un tour et demi dans le sens antihoraire.
Important: Ne tournez pas la vanne de dérivation de plus d'un tour et demi.
Si vous remorquez la machine, utilisez l'anneau d'attache avant pour la tracter (Figure 117).
Important: Ne poussez pas ou ne tirez pas la machine sur plus de 30 m ni à plus de 1,6 km/h pour ne pas endommager les composants hydrauliques.

Baissez le timon pour desserrer le frein de stationnement avant de pousser ou de tirer la machine.
Important: Vous devez baisser le timon pour desserrer le frein de stationnement avant de déplacer la machine.
Important: Vous devez fermer la vanne de dérivation pour conduire la machine. N'essayez pas d'actionner le système de déplacement lorsque la vanne de dérivation est ouverte.
Localisez la vis de la vanne de dérivation entre le moteur et la pompe hydraulique.
Note: L'emplacement du cache de la vis de la vanne de dérivation est indiqué à la Figure 118.

Avec une douille de 15 mm et une clé à douille, tournez la vanne de dérivation d'un tour et demi dans le sens horaire.
Note: Ne serrez pas excessivement la vis de la vanne de dérivation.
Avec une clé de 15 mm, installez le cache de la vis de la vanne de dérivation sur la pompe hydraulique.
Fixez le bac de rangement sur son support à l'aide des 2 boulons à embase.
Si le moteur s'arrête alors que la tête d'aération est baissée et que les louchets sont enfoncés dans le sol, et que vous n'arrivez pas à remettre le moteur en marche, effectuez l'opération Levage de la tête d'aération à l'aide du démarreur ou Dépose des porte-louchets des bras d'aération.
Tournez la clé en position CONTACT.
Dans l'InfoCenter, naviguez jusqu'au MENU PRINCIPAL.
Appuyez sur le bouton vers le bas jusqu'à ce que l'option ENTRETIEN soit sélectionnée, puis appuyez sur le bouton de sélection (Figure 119).

Appuyez sur le bouton vers le bas jusqu'à ce que l'option SERVICE LIFT (levage pour entretien) soit sélectionnée, puis appuyez sur le bouton de sélection (Figure 120).
Note: L'option Service Lift passe à ON (activée).

Tournez la clé à la position DéMARRAGE et actionnez le démarreur pendant 10 secondes.
Important: N'actionnez pas le démarreur plus de 10 secondes de suite. Si les louchets ne sont pas sortis du sol, attendez 30 secondes avant chaque nouvelle tentative. Le démarreur risque de griller si vous ne respectez pas ces consignes.
Note: La tête d'aération lève les louchets hors du sol
Important: Les louchets doivent être complètement sortis du sol avant de déplacer la machine.
Ouvrez la vanne de dérivation ; voir Dérivation de la pompe hydraulique et déplacement de la machine.
Poussez/remorquez la machine sur une faible distance pour continuer l'entretien ou chargez-la sur une remorque.
Important: Ne poussez pas et ne tractez pas la machine sur plus de 30 m ni à plus de 1,6 km/h au risque d'endommager le circuit hydraulique.
Retirez les porte-louchets des bras d'aération.
Ouvrez la vanne de dérivation ; voir Dérivation de la pompe hydraulique et déplacement de la machine.
Poussez/remorquez la machine sur une faible distance pour continuer l'entretien ou chargez-la sur une remorque.
Important: Ne poussez pas et ne tractez pas la machine sur plus de 30 m ni à plus de 1,6 km/h au risque d'endommager le circuit hydraulique.
Prenez des virages très progressifs pendant l'aération. Ne prenez jamais de virages serrés lorsque la tête d'aération est engagée. Planifiez votre itinéraire avant d'abaisser la tête d'aération.
Restez toujours vigilant et observez ce qui se présente sur votre chemin à mesure que vous avancez. Évitez d'aérer près de bâtiments, clôtures et autres équipements.
Regardez fréquemment derrière vous pour vérifier que la machine fonctionne correctement et s'aligne bien sur les passes précédentes.
Dégagez toujours la surface de travail des pièces endommagées (louchets brisés, etc.) pour éviter qu'elles ne soient ramassées par des tondeuses ou d'autres équipements d'entretien des gazons.
Remplacez les louchets brisés, examinez et réparez ceux qui sont réutilisables. Réparez tout autre dommage subi par la machine avant de commencer à travailler.
Si la largeur d'aération est inférieure à la largeur totale de la machine, vous pouvez retirer des louchets, mais les têtes d'aération doivent rester en place sur les bras d'aération pour assurer l'équilibrage et le fonctionnement corrects de la machine.
La machine offre une profondeur d'aération supérieure à celle de la plupart des aérateurs de greens. Sur les greens et les aires de départ d'origine ou modifiés, les louchets plus longs et creux ont parfois des difficultés à éjecter la carotte entière. Cela est dû au fait que la terre d'origine est plus dure et reste collée à l'extrémité du louchet. Les louchets à éjection latérale du fabricant restent propres plus longtemps, ce qui réduit le temps de nettoyage. Ce problème disparaîtra éventuellement si vous suivez des programmes d'aération et de traitement de surface continus.
Cette machine est conçue pour offrir autant de profondeur que possible ; toutefois, dans certaines conditions, les protège-gazon et/ou les boulons des protège-gazon peuvent endommager le gazon pendant l'aération à la profondeur maximale. Lorsque vous aérez à la profondeur maximale autorisée (quelle que soit la longueur des louchets) après avoir étalonné la hauteur par rapport au sol, si les boulons des protège-gazon touchent ou raclent le gazon, réduisez la profondeur d'un cran (¼ pouce).
Si le sol est trop dur pour qu'il soit possible d'obtenir la profondeur d'aération voulue, la tête d'aération peut se mettre à sauter. Cela est dû à la couche dure dans laquelle les louchets tentent de s'enfoncer. Pour remédier à ce problème, essayez les procédures suivantes :
N'essayez pas d'aérer si le sol est trop dur ou trop sec. L'aération est optimale après la pluie ou si vous avez arrosé la pelouse la veille.
Montez une tête à 3 louchets, si vous essayez d'utiliser une tête à 4 louchets, ou réduisez le nombre de louchets par bras d'aération. Efforcez-vous de conserver une configuration des louchets symétrique pour que la charge soit uniformément répartie sur les bras.
Si le sol est très dur, réduisez la profondeur d'aération, nettoyez les carottes, arrosez le gazon et repassez en augmentant la profondeur d'aération.
L'aération de terrains créés sur des sous-sols durs (par ex. terre/sable recouvrant un sol rocailleux) peut dégrader la qualité des trous. Cela se produit lorsque la profondeur d'aération est supérieure à l'épaisseur de la couche artificielle et lorsque le sous-sol est trop dur pour que les louchets y pénètrent. Lorsque les louchets rencontrent le sous-sol dur, l'aérateur peut se soulever, ce qui produit des trous de forme allongée. Il faut alors réduire suffisamment la profondeur d'aération pour éviter d'arriver jusqu'au sous-sol dur.
La qualité des trous à l'entrée des louchets se détériore quand le trou est allongé (vers l'avant).
Si la qualité des trous à l'entrée des louchets se détériore, vérifiez l'étalonnage de la hauteur par rapport au sol ; voir Contrôle de l'étalonnage de la hauteur des louchets par rapport au sol.
La conception à double rangée de la mini tête d'aération nécessite d'espacer les trous de 6,3 cm. La vitesse de déplacement est critique pour maintenir l'espacement de 3,2 cm. Voir Réglage de l'espacement des trous s'il est nécessaire de modifier légèrement l'espacement des trous.
Si vous utilisez la mini tête d'aération ou les grands louchets pleins, la structure des racines est importante pour éviter d'endommager le gazon en arrachant la zone racinaire. Si les 2 bras au centre commencent à soulever l'herbe ou si la zone racinaire est excessivement endommagée, procédez comme suit :
Augmentez l'espacement des trous
Réduisez la taille des louchets
Réduisez la profondeur d'aération
Retirez des louchets
Le soulèvement provoqué par les louchets pleins à leur sortie du sol peut endommager le gazon. Ce soulèvement peut arracher la zone racinaire si les louchets sont trop rapprochés ou si leur diamètre est trop important.
Si vous utilisez des louchets pleins longs (c.-à-d. 1 x 10 cm) ou des louchets de type aiguille, l'avant des trous peut s'allonger ou se remplir d'herbe. Pour retrouver une excellente qualité de trou pour cette configuration, essayez ce qui suit :
Étalonnez la hauteur des louchets par rapport au sol ; voir Étalonnage de la hauteur des louchets par rapport au sol.
Réduisez le ralenti accéléré du moteur entre 2 800 et 2 900 tr/min.
Note: Comme la vitesse de déplacement et la vitesse de la tête d'aération augmentent et baissent avec le régime moteur, l'espacement des trous n'est pas affecté.
Si la baisse du régime moteur n'améliore pas la qualité des trous avec les louchets pleins longs ou les louchets de type aiguille, réglez l'amortisseur Roto-Link.
Note: Dans la plupart des cas, les réglages d'usine sont ceux qui conviennent le mieux.
Si l'avant des trous est allongé ou rempli d'herbe, un réglage plus raide de l'amortisseur Roto-Link permet de résister à la poussée vers l'avant des trous et produit des trous de meilleure qualité.
Si l'arrière des trous est allongé ou rempli d'herbe, un réglage plus souple de l'amortisseur Roto-Link contribue à produire des trous de meilleure qualité.
Note: Vous devez inverser la position de l'amortisseur Roto-Link si vous recommencez à utiliser des louchets creux ou des mini-louchets.
Garez la machine sur une surface plane et horizontale, relevez complètement et verrouillez le timon, serrez le frein de stationnement, coupez le moteur, retirez la clé et attendez l'arrêt complet de toutes les pièces mobiles.
Déposez le capot de la tête d'aération ; voir Dépose du capot de la tête d'aération.
Bloquez la tête d'aération avec le verrou de service ; voir Soutien de la tête d'aération avec le verrou de service.
Note: À l'usine, 1 entretoise Roto-Link est placée sur l'arbre d'amortisseur Roto-Link et 1 entretoise est placée à la position rangée pour chaque bras d'aération.
Note: Le réglage des amortisseurs Roto-Link permet de faire fonctionner la machine à plein régime (3 400 tr/min), mais l'aération devra peut-être se faire à des régimes moteur plus bas pour améliorer la qualité des trous.
Retirez les 2 contre-écrous à embase qui fixent l'arbre d'amortisseur Roto-Link au cadre arrière de la machine (Figure 121).

Retirez l'entretoise (si elle est rangée) et les rondelles ovales trempées.
Tournez la biellette et l'arbre de l'amortisseur vers le bas (Figure 122).

Installez l'entretoise Roto-Link pour remédier aux problèmes de bombage des trous suivants :
Note: Chaque entretoise correspond à 123 mm. L'entretoise de butée inférieure doit rester sur l'arbre de l'amortisseur.
Si l'avant des trous est allongé ou rempli d'herbe, placez les entretoises au-dessus du cadre arrière, à la position rangée.
Si l'arrière des trous est allongé ou rempli d'herbe, placez les deux entretoises au-dessus du cadre arrière, de chaque côté de l'arbre de l'amortisseur Roto-Link.
Tournez la biellette et l'arbre de l'amortisseur vers le haut, et insérez les goujons dans les trous du cadre arrière de la machine.
Fixez l'arbre de l'amortisseur et les entretoises sur le cadre arrière à l'aide des rondelles ovales trempées et des contre-écrous (Figure 123).

Serrez les contre-écrous à embase à un couple de 47 à 61 N·m.
Répétez les opérations 1 à 7 pour les 2 autres bras d'aération.
Rangez le verrou de service ; voir Rangement du verrou de service.
Reposez le capot de la tête d'aération ; voir Pose du capot de la tête d'aération.
Effectuez l'étalonnage de la hauteur des louchets par rapport au sol ; voir Étalonnage de la hauteur des louchets par rapport au sol.
Conduisez la machine sur une surface d'essai et aérez le gazon pour comparer la qualité des trous.
Si la qualité des trous s'est améliorée, répétez les opérations décrites aux sections Préparation de la machine, Réglage des amortisseurs Roto-Link et Pose du capot de la tête d'aération pour régler l'amortisseur Roto-Link sur les 3 autres bras d'aération.
Garez la machine sur une surface plane et horizontale, relevez complètement et verrouillez le timon, serrez le frein de stationnement, coupez le moteur, retirez la clé et attendez l'arrêt complet de toutes les pièces mobiles.
Lorsque vous n'utilisez pas la machine, abaissez la tête d'aération ou bloquez-la en place avec le verrou de service.
Maintenez toutes les pièces de la machine en bon état de marche et toutes les fixations bien serrées.
Remplacez tous les autocollants usés, endommagés ou manquants.
| Périodicité d'entretien | Procédure d'entretien |
|---|---|
| À chaque utilisation ou une fois par jour |
|
Important: Ne nettoyez pas la machine avec de l'eau saumâtre ou recyclée.
Important: N'utilisez pas de nettoyeur haute pression.
Garez la machine sur une surface plane et horizontale, relevez complètement et verrouillez le timon, serrez le frein de stationnement, coupez le moteur, retirez la clé et attendez l'arrêt complet de toutes les pièces mobiles.
Lavez soigneusement la machine.
Utilisez un tuyau d'arrosage sans buse pour éviter d'introduire de l'eau dans les joints et de contaminer la graisse des roulements.
Utilisez une brosse pour enlever la terre agglomérée sur la machine.
Nettoyez les capots avec un détergent doux.
Après avoir nettoyé la machine, appliquez périodiquement une couche de cire automobile pour entretenir le brillant du capot.
Vérifiez si la machine a subi des dommages, présente des fuites d'huile ou si des composants et des louchets sont usés.
Déposez, nettoyez et huilez les louchets. Pulvérisez un fin brouillard d'huile sur les roulements de la tête d'aération (biellettes d'amortisseur et de levier coudé).
Important: Bloquez la tête d'aération avec le verrou de service si vous remisez la machine pendant plus deux jours.
Des points d'attache sont situés à l'avant et à l'arrière de la machine (Figure 124, Figure 125 et Figure 126).
Note: Utilisez des sangles homologuées par le DOT pour arrimer la machine ; voir le poids de la machine sous Caractéristiques techniques.



Il est dangereux de conduire la machine sur la voie publique si elle n'a pas de clignotants, éclairages, réflecteurs ou panneau « véhicule lent ». Vous risquez de provoquer un accident et de vous blesser.
Ne conduisez pas la machine sur la voie publique.
Important: Utilisez des rampes d'une seule pièce pour charger la machine sur une remorque ou un camion.
Chargez la machine sur la remorque ou le camion (tête d'aération vers l'avant de préférence).
Élevez complètement et verrouillez le timon, serrez le frein de stationnement, coupez le moteur, retirez la clé et attendez l'arrêt complet de toutes les pièces mobiles.
Bloquez la tête d'aération avec le verrou de service ; voir Soutien de la tête d'aération avec le verrou de service.
Fermez le robinet d'arrivée de carburant ; voir Robinet d'arrivée de carburant.
Utilisez les points d'attache de la machine pour l'arrimer sur la remorque ou le camion avec des câbles, des chaînes ou des sangles ; voir Points d'attache.
| Poids | 745 kg ou 829 kg avec deux masses optionnelles |
| Largeur | 130 cm minimum |
| Longueur | 267 cm minimum |
| Angle de rampe | Inclinaison 3,5/12 (16°) maximum |
| Sens de la charge | Tête d'aération vers l'avant (de préférence) |
| Capacité de remorquage du véhicule | Supérieure au poids brut de la remorque |
Note: Vous pouvez télécharger un exemplaire gratuit du schéma hydraulique ou électrique en vous rendant sur www.Toro.com et en recherchant votre machine sous le lien Manuels sur la page d'accueil.
Note: Reportez-vous au manuel du propriétaire du moteur pour toutes procédures d'entretien supplémentaires.
Note: Les côtés gauche et droit de la machine sont déterminés d'après la position d'utilisation normale.
Garez la machine sur une surface plane et horizontale, relevez complètement et verrouillez le timon, serrez le frein de stationnement, coupez le moteur, retirez la clé et attendez l'arrêt complet de toutes les pièces mobiles. Laissez refroidir la machine avant de la régler, d'en faire l'entretien, de la nettoyer ou de la remiser.
Effectuez uniquement les opérations d'entretien décrites dans ce manuel. Si la machine nécessite des réparations importantes ou si vous avez besoin d'assistance, contactez un concessionnaire Toro agréé.
Gardez la machine en bon état de marche en resserrant régulièrement les écrous, boulons et vis.
Si possible, n'effectuez aucun entretien quand le moteur est en marche. Ne vous approchez pas des pièces mobiles.
Libérez la pression emmagasinée dans les composants avec précaution.
Vérifiez chaque jour que les boulons de montage des louchets sont serrés au couple spécifié.
Assurez-vous que toutes les protections sont en place et que le capot est fermé et verrouillé après tout entretien ou réglage de la machine.
| Périodicité d'entretien | Procédure d'entretien |
|---|---|
| Après les 8 premières heures de fonctionnement |
|
| Après les 50 premières heures de fonctionnement |
|
| À chaque utilisation ou une fois par jour |
|
| Toutes les 25 heures |
|
| Toutes les 50 heures |
|
| Toutes les 100 heures |
|
| Toutes les 200 heures |
|
| Toutes les 250 heures |
|
| Toutes les 400 heures |
|
| Toutes les 500 heures |
|
| Avant le remisage |
|
| Une fois par an |
|
Important: Reportez-vous au manuel du propriétaire du moteur pour toutes procédures d'entretien supplémentaires.
Copiez cette page pour pouvoir vous en servir régulièrement.
| Entretiens à effectuer | Pour la semaine du : | ||||||
|---|---|---|---|---|---|---|---|
| Lun. | Mar. | Mer. | Jeu. | Ven. | Sam. | Dim. | |
| Vérifiez le fonctionnement du système de sécurité. | |||||||
| Vérifiez le fonctionnement du frein de stationnement. | |||||||
| Contrôlez le niveau d'huile moteur. | |||||||
| Contrôlez le niveau de carburant. | |||||||
| Vérifiez le filtre à air. | |||||||
| Vérifiez la propreté du moteur. | |||||||
| Vérifiez les bruits anormaux en provenance du moteur. | |||||||
| Vérifiez les bruits de fonctionnement anormaux. | |||||||
| Contrôlez le niveau de liquide hydraulique. | |||||||
| Vérifiez l'état des flexibles hydrauliques. | |||||||
| Recherchez des fuites éventuelles. | |||||||
| Vérifiez le fonctionnement des instruments. | |||||||
| Vérifiez l'état des louchets | |||||||
| Retouchez les peintures endommagées. | |||||||
Important: Reportez-vous au manuel du propriétaire du moteur pour toutes procédures d'entretien supplémentaires.
| Contrôle effectué par : | ||
| Point contrôlé | Date | Information |
| 1 | ||
| 2 | ||
| 3 | ||
| 4 | ||
| 5 | ||
| 6 | ||
| 7 | ||
| 8 | ||
Si vous laissez la clé dans le commutateur d'allumage, quelqu'un pourrait mettre le moteur en marche accidentellement et vous blesser gravement, ainsi que toute personne à proximité.
Garez la machine sur une surface plane et horizontale, relevez complètement et verrouillez le timon, serrez le frein de stationnement, coupez le moteur, retirez la clé et attendez l'arrêt complet de toutes les pièces mobiles.
Important: Les fixations des capots de la machine sont conçues pour rester sur le capot après son retrait. Dévissez de quelques tours toutes les fixations de chaque capot de sorte que le capot soit desserré mais reste en place. Dévissez-les ensuite jusqu'à ce que le capot se détache. Vous éviterez ainsi d'arracher les filets des boulons en les retirant des dispositifs de retenue.
Garez la machine sur une surface plane et horizontale.
Levez complètement et verrouillez le timon pour serrer le frein de stationnement ; voir Serrage du frein de stationnement.
Avant de quitter la machine, coupez le moteur, enlevez la clé et attendez l'arrêt complet de tout mouvement ; voir Arrêt du moteur.
Laissez refroidir la machine.
Si la machine n'est pas correctement soutenue par des blocs ou des chandelles, elle risque de bouger ou de tomber et de causer des blessures.
Utilisez les blocs, dispositifs de levage et crics corrects pour changer d'outils, changer des pneus ou effectuer un quelconque entretien.
Amenez la machine sur une surface plane, horizontale et stable, telle un sol en béton.
Avant de soulever la machine, enlevez les outils qui pourraient gêner et rendre cette opération dangereuse.
Vous devez toujours caler ou bloquer les roues. Utilisez des chandelles ou des cales en bois pour soutenir la machine une fois qu'elle est levée.
Préparez la machine pour l'entretien ; voir Préparation de la machine à l'entretien.
Calez les roues arrière pour empêcher la machine de bouger.
Important: Pour éviter d'endommager le moteur de la roue avant, ne l'utilisez pas comme point de levage.
Placez le cric solidement sous le bras de support de la roue avant (Figure 127).

Soulevez l'avant de la machine à l'aide du cric.
Placez les chandelles ou les cales en bois sous l'avant du cadre pour soutenir la machine.
Préparez la machine pour l'entretien ; voir Préparation de la machine à l'entretien.
Calez la roue avant pour empêcher la machine de bouger.
Important: Pour éviter d'endommager le moteur de la roue arrière, ne l'utilisez pas comme point de levage.
Placez le cric solidement sous la plaque du cadre, juste à l'intérieur de la roue arrière (Figure 128).

Note: Si possible, utilisez un pont élévateur pour soulever l'arrière de la machine. Utilisez les œillets des logements de roulements de la tête d'aération comme points de levage (Figure 129)

Soulevez l'arrière de la machine à l'aide du cric (ou du dispositif de levage).
Placez les chandelles ou les cales en bois sous le cadre pour soutenir la machine.
Si la machine est équipée de la sangle de sécurité sur le verrou du protège-courroies (conformité CE), desserrez le boulon de la sangle jusqu'à ce qu'il se sépare du verrou du protège-courroies (Figure 130).

Soulevez le levier du verrou (Figure 131).

Soulevez et déposez le protège-courroies de la machine (Figure 132).

Alignez le support du protège-courroies sur le support de capot du cadre de la machine (Figure 133).

Baissez le protège-courroies (Figure 134).

Abaissez complètement le levier du verrou pour fixer le protège-courroies en place (Figure 135).

Si la machine est équipée de la sangle de sécurité sur le verrou du protège-courroies (conformité CE), insérez le boulon de la sangle dans le trou du verrou du protège-courroies et serrez le boulon (Figure 136).


Si la machine est équipée de verrous CE, desserrez le boulon de la plaque de verrouillage jusqu'à ce qu'elle sorte de la fente dans le côté du capot de la tête d'aération (Figure 138).

Faites pivoter la plaque de verrouillage pour l'écarter du verrou (Figure 138).
Répétez les opérations 1 à 2 de l'autre côté du capot.
Déverrouillez le capot de la tête d'aération aux 4 points de verrouillage (Figure 137 et Figure 139).

Soulevez et déposez le capot de la tête d'aération de la machine (Figure 140).

Placez le capot de la tête d'aération sur la machine, comme montré à la Figure 141.

Verrouillez le capot de la tête d'aération aux 4 points de verrouillage (Figure 142).
Si la machine est équipée de verrous CE, faites pivoter la plaque de verrouillage jusqu'à ce qu'elle soit en face de la fente dans le côté du capot de la tête d'aération (Figure 143).



Serrez le boulon de la plaque de verrouillage (Figure 143).
Répétez les opérations 3 et 4 de l'autre côté du capot.
| Périodicité d'entretien | Procédure d'entretien |
|---|---|
| Toutes les 500 heures |
|
| Une fois par an |
|
La machine ne comporte aucun graisseur devant être lubrifié.
Important: Les roulements souffrent rarement de défauts de matériaux ou de fabrication. Les pannes les plus courantes sont dues à l'humidité et à la contamination qui réussissent à pénétrer les joints de protection. Les roulements graissés doivent être nettoyés régulièrement afin d'éliminer les débris destructeurs. Les roulements étanches sont prégarnis de graisse spéciale et un solide joint intégré empêche les contaminants et l'humidité d'atteindre les éléments rotatifs.
Les roulements étanches ne nécessitent aucun graissage ou entretien à court terme. Cela minimise l'entretien courant nécessaire et réduit les risques de contamination du gazon par la graisse. Ces jeux de roulements étanches offrent d'excellentes performances et une bonne durée de vie dans des conditions normales d'utilisation. Il faut cependant vérifier l'état des roulements et l'intégrité des joints périodiquement pour éviter les pannes inutiles. Examinez les roulements à chaque saison et remplacez-les s'ils sont endommagés ou usés. Les roulements doivent fonctionner en douceur, sans échauffement, silencieusement, sans se desserrer et sans produire de rouille.
En raison des conditions d'utilisation auxquelles ils sont soumis (par ex. sable, produits chimiques d'entretien des gazons, eau, impacts, etc.), les ensembles roulements/joints sont considérés comme des pièces d'usure normales. Les pannes de roulements qui ne sont pas dues à des défauts de matériau ou de fabrication ne sont normalement pas couvertes par la garantie.
Note: Vous pouvez détériorer le roulement en utilisant de mauvaises procédures de lavage. Ne lavez pas la machine quand elle est encore chaude et évitez d'utiliser un jet d'eau puissant et une grande quantité d'eau directement sur les roulements.
Sur les machines neuves, il est fréquent que les roulements neufs évacuent de la graisse par les joints. Cette graisse devient noire en raison de l'accumulation de débris et non d'une surchauffe. Il est recommandé d'essuyer l'excédent de graisse sur les joints après les 8 premières heures de fonctionnement. Le tour de la lèvre du joint peut sembler humide en permanence. Cela n'est pas préjudiciable à la vie utile du roulement et maintient la lèvre du joint lubrifiée.
Coupez le moteur avant de contrôler le niveau d'huile ou d'ajouter de l'huile dans le carter.
Ne modifiez pas le réglage du régulateur et ne faites pas tourner le moteur à un régime excessif.
| Périodicité d'entretien | Procédure d'entretien |
|---|---|
| Toutes les 25 heures |
|
| Toutes les 100 heures |
|
Préparez la machine pour l'entretien ; voir Préparation de la machine à l'entretien.
Nettoyez la surface autour du filtre à air pour éviter que des impuretés n'endommagent le moteur en tombant à l'intérieur.
Dévissez le bouton et déposez le couvercle du filtre à air (Figure 144).

Sortez délicatement le préfiltre en mousse de l'élément en papier (Figure 144).
Dévissez l'écrou du couvercle de protection et déposez le couvercle, l'entretoise et l'élément en papier (Figure 144).
Important: Remplacez l'élément en mousse s'il est usé ou déchiré.
Lavez l'élément en mousse dans de l'eau chaude additionnée de savon liquide, puis rincez-le soigneusement.
Séchez le préfiltre en le pressant dans un chiffon sec (sans le tordre).
Imbibez le préfiltre de 3 à 6 cl d'huile (Figure 145).

Pressez le préfiltre pour bien répartir l'huile.
Vérifiez que l'élément en papier n'est pas déchiré ou couvert d'une pellicule grasse, et que le joint de caoutchouc n'est pas endommagé (Figure 146).

Important: Ne lavez jamais l'élément en papier. Remplacez l'élément en papier s'il est sale ou endommagé.
Important: Pour ne pas endommager le moteur, ne le faites jamais tourner sans le filtre à air complet garni des éléments en mousse et en papier.
Glissez délicatement le préfiltre en mousse sur l'élément en papier (Figure 147).

Posez le filtre à air sur sa base.
Assemblez le couvercle, l'entretoise et l'écrou du couvercle.
Serrez l'écrou à 11 N·m.
Reposez le couvercle du filtre à air et fixez-le en place à l'aide du bouton.
Type d'huile : huile moteur détergente de haute qualité (classe de service API SJ ou mieux)
Viscosité de l'huile : voir le tableau ci-dessous :

| Périodicité d'entretien | Procédure d'entretien |
|---|---|
| À chaque utilisation ou une fois par jour |
|
À la livraison, le carter moteur contient de l'huile ; vérifiez toutefois le niveau d'huile avant et après le premier démarrage du moteur.
Utilisez une huile moteur de qualité comme expliqué sous Spécifications de l'huile moteur.
Important: Ne remplissez pas excessivement le carter d'huile.Ne faites pas tourner le moteur si le niveau d'huile moteur est en dessous du repère minimum.
Note: Le meilleur moment pour vérifier le niveau d'huile moteur est en début de journée, quand le moteur est froid avant sa mise en marche. Si le moteur a déjà tourné, attendez au moins 10 minutes que l'huile retourne dans le carter avant de contrôler le niveau.
Préparez la machine pour l'entretien ; voir Préparation de la machine à l'entretien.
Laissez refroidir le moteur.
Nettoyez la surface autour du bouchon de remplissage et de la jauge d'huile (Figure 149).

Retirez la jauge, essuyez-la sur un chiffon et remettez-la en place en prenant soin de l'enfoncer complètement.
Sortez de nouveau la jauge et vérifiez le niveau d'huile.
Le niveau d'huile moteur doit se situer entre les repères maximum (« F ») et minimum (« L ») sur la jauge.
Si le niveau est en dessous du repère minimum, enlevez le bouchon de remplissage et faites l'appoint d'huile spécifiée jusqu'à ce que le niveau atteigne le repère maximum.
Remettez le bouchon de remplissage et la jauge en place.
| Périodicité d'entretien | Procédure d'entretien |
|---|---|
| Après les 50 premières heures de fonctionnement |
|
| Toutes les 100 heures |
|
Capacité du carter moteur : approximativement 1.9 litre avec le filtre
Démarrez le moteur et laissez-le tourner pendant 5 minutes. Cela permet de réchauffer l'huile qui s'écoule alors plus facilement.
Garez la machine de sorte que le côté de la vidange soit légèrement plus bas que le côté opposé afin de pouvoir vidanger toute l'huile, puis coupez le moteur, relevez et bloquez le timon pour serrer le frein de stationnement et retirez la clé.
Placez un bac de vidange sous le bouchon de vidange et retirez le bouchon (Figure 150).
Note: Vidangez toute l'huile.

Vissez le bouchon de vidange d'huile sur le moteur et serrez-le.
Note: Débarrassez-vous de l'huile usagée dans un centre de recyclage agréé.
Placez un bac de vidange peu profond sous le filtre à huile et enlevez le filtre (Figure 150).
Note: Débarrassez-vous du filtre à huile usagé dans un centre de recyclage agréé.
Essuyez la surface de l'adaptateur du filtre.
Remplissez le filtre à huile neuf jusqu'au bas du filetage avec l'huile spécifiée.
Attendez 2 minutes que le filtre absorbe l'huile, puis videz l'excédent d'huile.
Appliquez une fine couche d'huile neuve sur le joint du filtre.
Vissez le filtre à huile sur l'adaptateur jusqu'à ce que le joint touche l'adaptateur (Figure 150), puis serrez encore le filtre d'un demi tour.

Nettoyez la surface autour du bouchon de remplissage et de la jauge d'huile (Figure 152).

Enlevez le bouchon de remplissage et versez lentement environ 80 % de la quantité d'huile spécifiée dans le couvre-culasse.
Faites l'appoint d'huile avec précaution pour faire monter le niveau jusqu'au repère maximum (F) sur la jauge ; voir Spécifications de l'huile moteur et Contrôle du niveau d'huile moteur.
Important: Ne remplissez pas excessivement le carter d'huile.
Remettez le bouchon de remplissage et la jauge en place.
| Périodicité d'entretien | Procédure d'entretien |
|---|---|
| Toutes les 200 heures |
|
Préparez la machine pour l'entretien ; voir Préparation de la machine à l'entretien.
Débranchez les fils des bougies (Figure 153).

Nettoyez la surface autour des bougies.
À l'aide d'une douille pour bougies, retirez les bougies et les rondelles métalliques.
Type de bougie : Champion RC12YC ou équivalent
Écartement des électrodes : 0,75 mm
Examinez le centre des bougies (Figure 154). Si l'isolateur est recouvert d'un léger dépôt gris ou brun, le moteur fonctionne correctement. S'il est couvert d'un dépôt noir, c'est généralement signe que le filtre à air est encrassé.
Important: Ne nettoyez jamais les bougies. Remplacez toujours les bougie si elles sont recouvertes d'un dépôt noir ou d'une couche grasse, si les électrodes sont usées ou si elles présentent des fissures.

Contrôlez l'écartement entre l'électrode centrale et l'électrode latérale.
Courbez l'électrode latérale si l'écartement est incorrect.
Avant de poser les bougies, vérifiez si l'écartement entre l'électrode centrale et l'électrode latérale est correct. Utilisez une clé à bougies pour déposer et reposer les bougies, et une jauge d'épaisseur pour contrôler et régler l'écartement des électrodes. Remplacez les bougies au besoin.
Vissez les bougies dans les trous prévus sur le moteur.
À l'aide d'une douille pour bougies et d'une clé dynamométrique, serrez les bougies à 27 N·m.
Branchez les fils des bougies (Figure 155).

| Périodicité d'entretien | Procédure d'entretien |
|---|---|
| À chaque utilisation ou une fois par jour |
|
Avant chaque utilisation, contrôlez et nettoyez l'écran du moteur. Enlevez l'herbe, les saletés et tous autres débris éventuellement présents sur la grille d'entrée d'air du moteur.
Dans certaines conditions, le carburant et les vapeurs qu'il dégage sont extrêmement inflammables et explosifs. Un incendie ou une explosion causé(e) par du carburant peut vous brûler, ainsi que d'autres personnes, et causer des dommages matériels.
Faites le plein du réservoir à l'extérieur, dans un endroit bien dégagé, moteur arrêté et froid. Essuyez tout carburant répandu.
Ne remplissez pas complètement le réservoir de carburant. Remplissez le réservoir de carburant jusqu'à 25 mm au-dessous du haut du réservoir, pas du goulot de remplissage. L'espace au-dessus doit rester vide pour permettre au carburant de se dilater.
Ne fumez jamais quand vous manipulez du carburant, et tenez-vous à l'écart des flammes nues et étincelles qui pourraient enflammer les vapeurs de carburant.
Stockez le carburant dans un bidon de sécurité propre et homologué qui doit être maintenu bouché.
| Périodicité d'entretien | Procédure d'entretien |
|---|---|
| Toutes les 100 heures |
|
Important: Ne remontez jamais un filtre sale après l'avoir enlevé de la conduite d'alimentation.
Préparez la machine pour l'entretien ; voir Préparation de la machine à l'entretien.
Fermez le robinet d'arrivée de carburant (Figure 156).


Pincez les extrémités des colliers et éloignez les colliers du filtre.
Détachez le filtre des tuyaux de carburant.
Montez le filtre à carburant en dirigeant la flèche vers le moteur, et branchez le flexible de carburant sur les raccords du filtre.
Rapprochez les colliers de flexible du filtre à carburant et serrez-les.
Essuyez le carburant éventuellement répandu.
Ouvrez le robinet d'arrivée de carburant.
Dans certaines circonstances, le carburant est extrêmement inflammable et hautement explosif. Un incendie ou une explosion causé(e) par du carburant peut vous brûler, ainsi que les personnes se tenant à proximité, et causer des dommages matériels.
Vidangez le réservoir de carburant lorsque le moteur est froid. Travaillez à l'extérieur, dans un endroit dégagé. Essuyez tout carburant répandu.
Ne fumez jamais pendant la vidange du carburant, et tenez-vous à l'écart des flammes nues et des sources d'étincelles susceptibles d'enflammer les vapeurs de carburant.
Préparez la machine pour l'entretien ; voir Préparation de la machine à l'entretien.
Fermez le robinet d'arrivée de carburant (Figure 157).


Desserrez le collier au niveau du filtre à carburant et éloignez-le du filtre en le poussant le long de la conduite de carburant.
Débranchez la conduite de carburant du filtre à carburant.
Ouvrez le robinet d'arrivée de carburant et faites couler le carburant dans un bidon ou un bac de vidange.
Note: Profitez éventuellement de ce que le réservoir est vide pour remplacer le filtre à carburant.
Branchez le tuyau de carburant sur le raccord du filtre.
Rapprochez le collier du filtre à carburant et serrez-le.
Débranchez la batterie avant de réparer la machine. Débranchez toujours la borne négative avant la borne positive. Rebranchez toujours la borne positive avant la borne négative.
Chargez la batterie dans un endroit dégagé et bien aéré, à l'écart des flammes ou sources d'étincelles. Débranchez le chargeur du secteur avant de brancher ou de débrancher la batterie.
Portez des vêtements de protection et utilisez des outils isolés.
| Périodicité d'entretien | Procédure d'entretien |
|---|---|
| Une fois par an |
|
Le dessus de la batterie doit rester propre.
Déverrouillez et ouvrez la porte du compartiment de la batterie (Figure 158).

Nettoyez le dessus de la batterie avec une brosse trempée dans une solution d'ammoniac ou de bicarbonate de soude.
Important: Les bouchons de remplissage doivent rester en place pendant le nettoyage.
Rincez soigneusement la surface de la batterie et de son compartiment avec de l'eau propre.
Fermez et verrouillez la porte du compartiment de la batterie.
| Périodicité d'entretien | Procédure d'entretien |
|---|---|
| Une fois par an |
|
Les bornes de la batterie ou les outils en métal peuvent causer des courts-circuits au contact des pièces métalliques du tracteur et produire des étincelles. Les étincelles peuvent provoquer l'explosion des gaz de la batterie et vous blesser.
Lors du retrait ou de la mise en place de la batterie, les bornes ne doivent toucher aucune partie métallique de la machine.
Évitez de créer des courts-circuits entre les bornes de la batterie et les parties métalliques de la machine avec des outils en métal.
S'ils sont mal acheminés, les câbles de la batterie peuvent subir des dommages ou endommager la machine et produire des étincelles. Les étincelles peuvent provoquer l'explosion des gaz de la batterie et vous blesser.
Débranchez toujours le câble négatif (noir) de la batterie avant le câble positif (rouge).
Connectez toujours le câble positif (rouge) de la batterie avant le câble négatif (noir).
Déverrouillez et ouvrez la porte du compartiment de la batterie (Figure 159).

Vérifiez que les cosses des câbles de la batterie sont bien serrées.
Resserrez les fixations des cosses câbles de la batterie qui en ont besoin.
Vérifiez que les cosses des câbles de batterie et les bornes de la batterie ne sont pas corrodées.
Si les bornes sont corrodées, débranchez le câble négatif de la batterie.
Débranchez le câble positif de la batterie.
Nettoyez les cosses des câbles et les bornes de la batterie
Branchez le câble positif de la batterie.
Branchez le câble négatif de la batterie.
Enduisez les cosses des câbles et les bornes de la batterie de graisse Grafo 112X (Skin-Over) (réf. Toro 505-47).
Fermez et verrouillez la porte du compartiment de la batterie.
Le système électrique est protégé par des fusibles. Si un fusible est ouvert, vérifiez si le composant et le câblage sont en court-circuit à la masse.
Déverrouillez et ouvrez la porte du compartiment de la batterie (Figure 160).

Retirez le couvercle du porte-fusibles (Figure 161).
Note: Le fusible du ventilateur se trouve dans le porte-fusibles en ligne derrière la batterie (Figure 162).


Retirez le fusible défectueux.
Installez un fusible neuf de la même intensité que celle indiquée sur l'autocollant du porte-fusibles.
Placez le couvercle sur le porte-fusibles (ou sur le fusible de ventilateur en ligne).
Fermez et verrouillez la porte du compartiment de la batterie.
| Périodicité d'entretien | Procédure d'entretien |
|---|---|
| Toutes les 50 heures |
|
Préparez la machine pour l'entretien ; voir Préparation de la machine à l'entretien.
Vérifiez que les pneus sont gonflés à 0,83 bar. Contrôlez la pression lorsque les pneus sont froids pour obtenir un résultat plus précis.
Important: Les pneus mal gonflés peuvent compromettre l'uniformité de l'aération.

La masse de roue est très lourde puisqu'elle pèse 33 kg.
Déposez la masse de la roue avec précaution.
| Périodicité d'entretien | Procédure d'entretien |
|---|---|
| Une fois par an |
|
Les courroies d'entraînement de la machine sont durables. Toutefois, l'exposition normale aux rayons UV, à l'ozone ou aux produits chimiques peut finir par détériorer les composants en caoutchouc et par entraîner une usure ou une perte de matériau prématurée (par ex. plis de courroie séparés ou manquants).
Déposez le protège-courroies ; voir Dépose du protège-courroies.
Vérifiez que les courroies de la pompe hydraulique, de l'arbre intermédiaire et du vilebrequin (Figure 164) ne sont pas endommagées, usées, excessivement fissurées ou incrustées de gros débris.
Note: Remplacez les courroies quand cela est nécessaire.

Reposez le protège-courroies ; voir Pose du protège-courroies.
| Périodicité d'entretien | Procédure d'entretien |
|---|---|
| Après les 8 premières heures de fonctionnement |
|
Préparez la machine pour l'entretien ; voir Préparation de la machine à l'entretien.
Déposez le protège-courroies ; voir Dépose du protège-courroies.
Desserrez la vis à embase et le contre-écrou à embase qui fixent la poulie de tension de la courroie de la pompe hydraulique, jusqu'à ce que le boulon se déplace dans la fente du support de la poulie (Figure 165).


Tapotez le dessus de la poulie de tension et laissez le ressort ajuster la tension de la courroie.
Important: N'appliquez pas une tension supérieure à la capacité du ressort, au risque d'endommager les composants.
Serrez la vis à embase et le contre-écrou à embase à un couple de 37 à 45 N·m.
Reposez le protège-courroies ; voir Pose du protège-courroies.
Consultez immédiatement un médecin si du liquide est injecté sous la peau. Toute injection de liquide hydraulique sous la peau doit être éliminée dans les quelques heures qui suivent par une intervention chirurgicale réalisée par un médecin.
Vérifiez l'état de tous les flexibles et conduits de liquide hydraulique, ainsi que le serrage de tous les raccords et branchements avant de mettre le système hydraulique sous pression.
N'approchez pas les mains ni aucune autre partie du corps des fuites en trou d'épingle ou des gicleurs d'où sort du liquide hydraulique sous haute pression.
Utilisez un morceau de papier ou de carton pour détecter les fuites.
Évacuez avec précaution toute la pression du système hydraulique avant toute intervention sur le système.
Soutenez la tête d'aération avec le verrou de service ; voir Soutien de la tête d'aération avec le verrou de service.
Coupez le moteur.
Tournez la clé de contact à la position CONTACT.
Dans l'InfoCenter, naviguez jusqu'au MENU PRINCIPAL.
Appuyez sur le bouton vers le bas jusqu'à ce que l'option ENTRETIEN soit sélectionnée, puis appuyez sur le bouton de sélection (Figure 166).

Note: La tête d'aération s'abaisse jusqu'à ce qu'elle soit entièrement soutenue par le verrou de service.
Appuyez sur le bouton vers le bas jusqu'à ce que l'option SERVICE LOWER (descente pour entretien) soit sélectionnée, puis appuyez sur le bouton de sélection (Figure 167).

Tournez la clé de contact à la position ARRêT.
Note: Démarrez le moteur et laissez-le tourner pour élever la tête d'aération hydrauliquement afin de pouvoir ranger le verrou de service ; voir Rangement du verrou de service.
| Périodicité d'entretien | Procédure d'entretien |
|---|---|
| À chaque utilisation ou une fois par jour |
|
Avant chaque utilisation, vérifiez que les tubes et flexibles hydrauliques ne présentent pas de fuites, ne sont pas pliés, usés, détériorés par les conditions atmosphériques et les produits chimiques, et que les supports de montage et les raccords ne sont pas desserrés. Remplacez les conduites hydrauliques usées ou endommagées avant d'utiliser la machine.
Note: Enlevez régulièrement les débris éventuellement accumulés autour du système hydraulique.
Le réservoir est rempli en usine de liquide hydraulique de haute qualité. Contrôlez néanmoins le niveau du liquide hydraulique avant le tout premier démarrage du moteur, puis tous les jours ; voir Contrôle du niveau d'huile moteur.
Liquide hydraulique recommandé : liquide hydraulique longue durée « Toro PX Extended Life » ; disponible en bidons de 19 litres ou barils de 208 litres.
Note: Si vous utilisez le liquide de remplacement recommandé dans la machine vous n'aurez pas besoin de vidanger le liquide et de remplacer le filtre aussi souvent.
Autres liquides hydrauliques possibles : si vous ne disposez pas de liquide hydraulique longue durée Toro PX, vous pouvez utiliser d'autres liquides hydrauliques classiques à base de pétrole à condition qu'ils soient conformes aux caractéristiques physiques et aux spécifications de l'industrie suivantes. N'utilisez pas de liquide synthétique. Consultez votre distributeur de lubrifiants pour identifier un produit qui convient.
Note: Toro décline toute responsabilité en cas de dommage causé par l'utilisation d'huiles de remplacement inadéquates. Utilisez uniquement des produits provenant de fabricants réputés qui répondent de leur recommandation.
| Propriétés physiques : | ||
| Viscosité, ASTM D445 | 44 à 48 cSt à 40 °C | |
| Indice de viscosité, ASTM D2270 | 140 ou plus | |
| Point d'écoulement, ASTM D97 | -37 à -45 °C | |
| Spécifications de l'industrie : | Eaton Vickers 694 (I-286-S, M-2950-S/35VQ25 ou M-2952-S) | |
Note: De nombreux liquides hydrauliques sont presque incolores, ce qui rend difficile la détection des fuites. Un additif colorant rouge pour liquide hydraulique est disponible en bouteilles de 20 ml. Une bouteille suffit pour 15 à 22 litres de liquide hydraulique. Vous pouvez commander ces bouteilles chez les concessionnaires Toro agréés (réf. 44-2500).
Important: Le liquide hydraulique biodégradable synthétique « Toro Premium Synthetic Bio Hyd Fluid » est le seul liquide biodégradable synthétique agréé par Toro. Il est compatible avec les élastomères utilisés dans les systèmes hydrauliques Toro et convient pour de larges plages de températures. Ce liquide est compatible avec les huiles minérales classiques ; toutefois vous devez rincer soigneusement le système hydraulique pour le débarrasser de l'ancien liquide afin d'optimiser la biodégradabilité et les performances. Cette huile est disponible en bidons de 19 litres ou en barils de 208 litres chez votre distributeur Toro agréé.
| Périodicité d'entretien | Procédure d'entretien |
|---|---|
| À chaque utilisation ou une fois par jour |
|
Important: La tête d'aération étant levée, contrôlez le niveau de liquide hydraulique avant le tout premier démarrage du moteur, et tous les jours par la suite.
Le réservoir hydraulique est rempli en usine de liquide hydraulique de haute qualité.
Préparez la machine pour l'entretien ; voir Préparation de la machine à l'entretien.
Déposez le protège-courroies ; voir Dépose du protège-courroies.
Nettoyez la surface autour du goulot et du bouchon de remplissage du réservoir hydraulique (Figure 168). Enlevez le bouchon du goulot de remplissage

Dévissez la jauge du goulot de remplissage et essuyez-la sur un chiffon propre. Remettez la jauge dans le goulot de remplissage, puis ressortez-la et contrôlez le niveau de liquide. Il doit atteindre le repère sur la jauge (Figure 169).

Si le niveau est trop bas, faites l'appoint de liquide hydraulique spécifié pour atteindre le repère maximum.
Remettez la jauge dans le goulot et revissez le bouchon en place.
Reposez le protège-courroies ; voir Pose du protège-courroies.
| Périodicité d'entretien | Procédure d'entretien |
|---|---|
| Toutes les 200 heures |
|
| Toutes les 400 heures |
|
Capacité du réservoir de carburant : 6,6 l approx
Important: N'utilisez pas de filtres à huile de type automobile au risque d'endommager gravement le système hydraulique.
Note: Le réservoir de liquide se vide complètement quand vous enlevez le filtre de retour.
Préparez la machine pour l'entretien ; voir Préparation de la machine à l'entretien.
Placez un bac de vidange sous le filtre, retirez les filtres usagés et essuyez la surface du joint des adaptateurs (Figure 170).

Appliquez une fine couche de liquide hydraulique sur le joint des filtres de rechange.
Montez les filtres hydrauliques sur les adaptateurs. Tournez chaque filtre dans le sens horaire jusqu'à ce que le joint touche l'adaptateur, puis serrez-le encore d'un demi-tour.
Faites l'appoint de liquide hydraulique spécifié jusqu'à ce que le niveau atteigne le repère maximum sur la jauge ; voir Liquides hydrauliques spécifiés et Contrôle du niveau de liquide hydraulique.
Mettez le moteur en marche et laissez-le tourner 2 minutes pour purger l'air du circuit. Coupez le moteur, enlevez la clé et recherchez d'éventuelles fuites de liquide hydraulique.
Contrôlez le niveau de liquide hydraulique. Au besoin, faites l'appoint de liquide hydraulique spécifié pour faire monter le niveau jusqu'au repère MAXIMUM sur la jauge.
Note: Ne remplissez pas excessivement le réservoir de liquide hydraulique.
Reposez le protège-courroies ; voir Pose du protège-courroies.
| Périodicité d'entretien | Procédure d'entretien |
|---|---|
| Après les 8 premières heures de fonctionnement |
|
| Toutes les 250 heures |
|
Préparez la machine pour l'entretien ; voir Préparation de la machine à l'entretien.
Déposez le capot de la tête d'aération ; voir Dépose du capot de la tête d'aération.
Vérifiez que les fixations de la tête d'aération, les fixations du timon et les écrous de roues sont serrés au couple correct. Les couples de serrage préconisés sont indiqués sur l'autocollant de référence situé sur le profilé du support de la tête d'aération (Figure 171).

Reposez le capot de la tête d'aération ; voir Pose du capot de la tête d'aération.
Préparez la machine pour l'entretien ; voir Préparation de la machine à l'entretien.
Desserrez les vis et les contre-écrous à embase qui fixent le déflecteur latéral au cadre de la tête d'aération (Figure 172).

Montez ou descendez le déflecteur jusqu'à ce qu'il soit de 25 à 38 mm au-dessus du sol.
Resserrez les vis et les contre-écrous à embase.
Répétez les opérations 2 à 4 de l'autre côté de la machine.
Remplacez les protège-gazons s'ils sont brisés ou font moins de 6 mm d'épaisseur. Les protège-gazon brisés peuvent accrocher et arracher l'herbe, et endommager le gazon.

Les repères de calage de la tête d'aération se reconnaissent facilement aux 3 repères moulés sur les logements de roulements.

Avant de quitter la position d'utilisation :
Garez la machine sur une surface plane et horizontale.
Levez complètement et verrouillez le timon pour serrer le frein de stationnement.
Coupez le moteur de la machine et enlevez la clé (selon l'équipement).
Attendez l'arrêt complet de tout mouvement.
Laissez refroidir la machine avant de la régler, d'en faire l'entretien, de la nettoyer ou de la remiser.
Ne rangez pas la machine ni les bidons de carburant à proximité d'une flamme nue, d'une source d'étincelles ou d'une veilleuse, telle celle d'un chauffe-eau ou autre appareil.
La batterie en charge produit des gaz qui peuvent exploser.
Ne fumez jamais près de la batterie et gardez-la à l'écart des flammes et sources d'étincelles.
Préparez la machine pour l'entretien ; voir Préparation de la machine à l'entretien.
Débranchez le fil de la bougie.
Débarrassez l'extérieur de toute la machine, en particulier le moteur et le système hydraulique, des déchets d'herbe, des saletés et de la crasse. Éliminez les saletés et les débris d'herbe sèche pouvant se trouver sur les ailettes de la culasse et le carter de ventilateur.
Faites l'entretien du filtre à air ; voir Entretien du filtre à air.
Vidangez l'huile moteur ; voir Vidange de l'huile moteur et remplacement du filtre à huile.
Vidangez le liquide hydraulique et remplacez les filtres hydrauliques ; voir Vidange du liquide hydraulique et remplacement des filtres.
Contrôlez la pression des pneus ; voir Contrôle de la pression des pneus.
Vérifiez l'état des louchets
Si vous remisez la machine à la fin de la saison, effectuez toutes les opérations de la section Remisage de la machine pendant moins d'un mois et des sections suivantes :
Contrôlez et resserrez tous les boulons, écrous et vis. Réparez ou remplacez toute pièce endommagée ou usée.
Lavez et séchez entièrement la machine. Déposez, nettoyez et huilez les louchets. Pulvérisez un fin brouillard d'huile sur les roulements de la tête d'aération (biellettes d'amortisseur et de vilebrequin).
Important: Vous pouvez laver la machine avec de l'eau et un détergent doux. N'utilisez pas de nettoyeur haute pression. N'utilisez pas trop d'eau, surtout près du panneau de commande, du moteur, des pompes hydrauliques et des moteurs électriques.
Note: Conduisez la machine à plein régime pendant 2 à 5 minutes après l'avoir lavée.
Peignez toutes les surfaces métalliques éraflées ou mises à nu. Une peinture pour retouches est disponible chez les concessionnaires Toro agréés.
Fixez le verrou de service si vous devez remiser la machine plus d'un ou deux jours.
Rangez la machine dans un endroit propre et sec, comme un garage ou une remise. Enlevez la clé du commutateur d'allumage et rangez-la en lieu sûr, hors de la portée des enfants ou des personnes non autorisées.
Couvrez la machine pour la protéger et la garder propre.
Ajoutez un additif stabilisateur/conditionneur à base de pétrole dans le réservoir de carburant. Respectez les proportions spécifiées par le fabricant du stabilisateur. N'utilisez pas de stabilisateur à base d'alcool (éthanol ou méthanol).
Note: L'efficacité des stabilisateurs/conditionneurs est optimale lorsqu'ils sont mélangés à du carburant frais et sont utilisés de manière systématique.
Important: Ne conservez pas le carburant additionné de stabilisateur/conditionneur plus longtemps que recommandé par le fabricant du stabilisateur de carburant.
Faites tourner le moteur 5 minutes pour faire circuler le carburant traité dans tout le circuit d'alimentation.
Coupez le moteur, laissez-le refroidir puis vidangez le réservoir de carburant ; voir Vidange du réservoir de carburant.
Redémarrez le moteur et laissez-le tourner jusqu'à ce qu'il s'arrête.
Actionnez le starter. Démarrez le moteur et faites-le tourner jusqu'à ce qu'il ne veuille plus démarrer.
Déposez les bougies et vérifiez leur état ; voir Entretien des bougies. Versez 2 cuillerées à soupe d'huile moteur dans l'ouverture laissée par chaque bougie. Actionnez le démarreur pour faire tourner le moteur et bien répartir l'huile dans les cylindres. Mettez les bougies en place mais ne branchez pas les fils.
Note: Débarrassez-vous du carburant correctement. Recyclez-le en respectant la réglementation locale.
Débranchez les câbles des bornes de la batterie et déposez la batterie de la machine.
Nettoyez la batterie, les cosses des câbles et les bornes de la batterie avec une brosse métallique et un mélange de bicarbonate de soude.
Pour prévenir la corrosion, enduisez les bornes de la batterie et les cosses des câbles de graisse Grafo 112X (Skin-Over) (réf. Toro 505-47) ou de vaseline.
Rechargez lentement la batterie tous les deux mois pendant 24 heures pour prévenir la sulfatation. Pour protéger la batterie du gel, maintenez-la chargée au maximum. La densité de l'électrolyte d'une batterie chargée au maximum est comprise entre 1,265 et 1,299.
Rangez-la batterie sur une étagère ou remettez-la sur la machine. Ne rebranchez pas les câbles si vous remettez la batterie sur la machine. Rangez-la dans un endroit frais pour éviter qu'elle ne se décharge trop rapidement.
| Problem | Possible Cause | Corrective Action |
|---|---|---|
| Le démarreur ne fonctionne pas. |
|
|
| Le moteur ne démarre pas, démarre difficilement ou cale. |
|
|
| Le moteur perd de la puissance. |
|
|
| Le moteur surchauffe. |
|
|
| Vibrations anormales. |
|
|
| La machine ne se déplace pas. |
|
|
| La tête d'aération ne fonctionne pas. |
|
|
| La tête saute pendant l'aération. |
|
|
| Les trous sont remplis d'herbe ou sont arrachés à l'entrée des louchets. |
|
|
| Présence d'herbe dans les trous avec les louchets à éjection latérale. |
|
|
| Herbe soulevée/déchiquetée pendant l'aération. |
|
|
| Avant des trous déformé ou poussé. |
|
|