| Huoltoväli | Huoltotoimenpide |
|---|---|
| Aina ennen käyttöä tai päivittäin |
|
Tämä kone on kävellen käytettävä, ja se on tarkoitettu ammattimaiseen kaupalliseen käyttöön. Kone on tarkoitettu pääasiassa puistojen, golfkenttien, urheilukenttien ja kaupallisten kiinteistöjen laajojen viheralueiden ilmastukseen. Tuotteen käyttäminen muuhun kuin sen aiottuun käyttötarkoitukseen voi olla vaarallista käyttäjälle ja sivullisille.
Lue nämä tiedot huolellisesti, jotta opit käyttämään ja huoltamaan laitetta asianmukaisesti sekä välttämään tapaturmia ja laitevaurioita. Olet itse vastuussa tuotteen asianmukaisesta ja turvallisesta käytöstä.
Vieraile osoitteessa www.Toro.com, jos tarvitset tuoteturvallisuuteen ja käyttökoulutukseen liittyviä materiaaleja tai tietoja lisävarusteista tai lähimmästä jälleenmyyjästä tai jos haluat rekisteröidä tuotteesi.
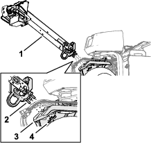
Aina kun tarvitset huoltoa, alkuperäisiä Toro-varaosia tai lisätietoja, ota yhteys valtuutettuun Toro-jälleenmyyjään. Ota tällöin tuotteesi malli- ja sarjanumerot valmiiksi esiin. Kuva 1 näyttää laitteen malli- ja sarjanumeron sijainnin. Kirjoita numerot annettuun tilaan.

Tässä käyttöoppaassa ja koneessa oleva varoitusmerkintä (Kuva 2) ilmaisee tärkeitä turvallisuuteen liittyviä tietoja, joita on noudatettava onnettomuuksien estämiseksi.

Varoitusmerkintä näkyy vaarallisista toimista tai tilanteista varoittavien tietojen yläpuolella, ja sitä seuraa sana HENGENVAARA, VAROITUS tai HUOMIO.
HENGENVAARA tarkoittaa välitöntä vaaratilannetta, joka johtaa kuolemaan tai vakavaan loukkaantumiseen, jos varoitusmerkintää ei noudateta.
VAROITUS tarkoittaa mahdollista vaaratilannetta, joka voi johtaa kuolemaan tai vakavaan loukkaantumiseen, jos varoitusmerkintää ei noudateta.
HUOMIO tarkoittaa mahdollista vaaratilannetta, joka voi aiheuttaa lievän tai kohtalaisen loukkaantumisen, jos varoitusmerkintää ei noudateta.
Lisäksi tässä käyttöoppaassa käytetään kahta seuraavaa termiä tietojen korostamiseksi. Tärkeää kiinnittää huomiota mekaanisiin erikoistietoihin ja Huomautus korostaa erityishuomion ansaitsevia yleistietoja.
Tämä tuote on asianmukaisten eurooppalaisten direktiivien mukainen. Lisätietoja on erillisessä tuotekohtaisessa vaatimustenmukaisuusvakuutuksessa.
Koska joillain alueilla on paikallisia, osavaltiollisia tai liittovaltiollisia säännöksiä, jotka edellyttävät kipinänsammuttimen käyttöä tämän koneen moottorissa, kipinänsammutin on saatavana lisävarusteena. Jos tarvitset kipinänsammuttimen, ota yhteys valtuutettuun Toro-jälleenmyyjään. Aidot Toro-kipinänsammuttimet ovat USDA Forestry Servicen hyväksymiä.
Mukana toimitettavassa moottorin käyttöoppaassa on Yhdysvaltojen ympäristönsuojeluelimeen EPA:han (Environmental Protection Agency) ja Kalifornian päästöjärjestelmien päästöjen valvontasääntöihin sekä kunnossapitoon ja takuuseen liittyviä tietoja. Käyttöoppaita voi tilata moottorin valmistajalta.
Jos koneessa on telematiikkalaite, saat ohjeet laitteen aktivointiin valtuutetulta Toro-jälleenmyyjältä.
KALIFORNIA
Lakiesityksen 65 mukainen varoitus
Tämän tuotteen moottorin tuottamat pakokaasut sisältävät kemikaaleja, jotka Kalifornian osavaltion tietojen mukaan aiheuttavat syöpää, synnynnäisiä epämuodostumia tai muuta lisääntymiseen liittyvää haittaa.
Akun liitännät, navat ja niihin liittyvät lisävarusteet sisältävät lyijyä ja lyijy-yhdisteitä, joiden tiedetään aiheuttavan syöpää ja haittaavan lisääntymistä. Pese kädet, kun olet käsitellyt näitä osia.
Tämän tuotteen käyttäminen voi altistaa kemikaaleille, jotka Kalifornian osavaltion tietojen mukaan aiheuttavat syöpää, synnynnäisiä epämuodostumia tai muuta lisääntymiseen liittyvää haittaa.
Tämä tuote voi aiheuttaa henkilövahingon. Noudata aina kaikkia turvallisuusohjeita, jotta vakavilta loukkaantumisilta vältytään.
Lue ja sisäistä tämän käyttöoppaan sisältö ennen moottorin käynnistämistä.
Koneen käyttö vaatii käyttäjän täyden huomion. Jos käyttäjän huomio keskittyy muualle, saattaa seurata henkilö- tai omaisuusvahinko.
Älä laita käsiä tai jalkoja koneen liikkuvien osien lähelle.
Älä käytä konetta ilman paikallaan olevia ja toimivia suojuksia ja muita suojalaitteita.
Pidä kone etäällä sivullisista sen ollessa liikkeessä.
Pysy etäällä piikkien ympärillä olevasta aukosta. Pidä sivulliset ja lemmikit poissa koneen luota.
Älä päästä lapsia käyttöalueelle. Älä koskaan anna lasten käyttää tätä laitetta.
Pysäköi kone tasaiselle alustalle, kytke seisontajarru nostamalla kahva kokonaan ylös ja lukitsemalla se, sammuta moottori, irrota virta-avain ja odota, että kaikki liikkuvat osat ovat pysähtyneet, ennen kuin huollat konetta, lisäät polttoainetta tai poistat tukoksen.
Laitteen asiaton käyttö tai huolto voi aiheuttaa tapaturman.
Vähennä loukkaantumisriskiä noudattamalla näitä
turvallisuusohjeita ja huomioimalla aina varoitusmerkki
, joka tarkoittaa varoitusta,
vaaraa tai hengenvaaraa – henkilöturvallisuusohjeet. Ohjeiden
noudattamatta jättäminen saattaa johtaa henkilövahinkoon
tai kuolemaan.
![]() |
Turva- ja ohjetarrat on sijoitettu hyvin näkyville paikoille mahdollisten vaara-alueiden lähettyville. Korvaa vioittuneet tai kadonneet tarrat uusilla. |
















Note: Koneen etupää sijaitsee käyttäjän kahvan kohdalla, ja se on normaali käyttäjän sijainti. Vasen ja oikea määritellään kulkusuuntaan nähden käyttäjän kävellessä koneen edellä.
Note: Nosta ilmastusyksikkö koneen laatikosta purkamisen jälkeen vapauttamalla ilmastussanka ja käynnistämällä moottori. Lisätietoja on kohdissa Moottorin käynnistys ja Ilmastusyksikön nosto.
Vaiheeseen tarvittavat osat:
| Rengaskokoonpano | 2 |
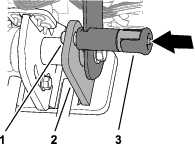
Note: Jos käytettävissä on nostolaite, nosta koneen takapää sillä. Kiinnitä nostolaite ilmastusyksikön laakeripesissä oleviin silmukoihin (Kuva 3).

Irrota koneen takaosan neljä pyöränmutteria, joilla takaosan kuljetusalusta on kiinnitetty kannattimiin.
Kiinnitä molempien takapyörien napaan pyöräkokoonpano neljällä pyöränmutterilla (Kuva 4).

Kiristä pyöränmutterit momenttiin 61–75 N·m.
Toista vaiheet 1–3 koneen toisella puolella.
Tyhjennä renkaat paineeseen 0,83 bar.
Vaiheeseen tarvittavat osat:
| Kahva | 1 |
| Lukkomutteri (½ tuumaa) | 3 |
Aseta kahvan päässä olevat tapit ohjausvarren reikiin (Kuva 5).
Note: Pyydä toista henkilöä pitelemään kahvaa.

Kierrä laippalukkomutteri (½ tuumaa) kuhunkin kolmeen tappiin.
Kiristä laippalukkomutterit (½ tuumaa) momenttiin 91–113 N·m.
Käännä kahva ylös ja kiinnitä se kahvan lukitustapilla (Kuva 6).

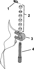
Reititä jarruvaijerin liitin kahvan kanavan alaosan alle (Kuva 7).

Kiinnitä jarruvaijerin liitin liitintappiin aluslaatalla ja sokalla.
Reititä koneen johdinsarjan 6-nastainen liitin ja 12-nastainen liitin kahvan kanavan läpivientisuojuksen läpi (Kuva 8).

Kytke koneen johdinsarjan 12-nastainen liitin kahvan johdinsarjan 12-istukkaiseen liittimeen (Kuva 9).

Kytke koneen johdinsarjan 6-nastainen liitin kahvan johdinsarjan 6-istukkaiseen liittimeen.
Aseta koneen johdinsarjan painettava kiinnitin kahvan kanavan reikään (Kuva 10).

Aseta koneen johdinsarjan painettava kiinnitin ohjainkannattimeen.
Kiinnitä koneen johdinsarja kahvan kanavaan nippusiteellä kanavan reikien läpi (Kuva 11).

Kiinnitä koneen johdinsarja ohjainkannattimeen nippusiteellä kannattimen reikien läpi.
Aseta kahvan suojus niin, että pieni lovi on ylöspäin (Kuva 12).

Kohdista suojuksen reiät kahvan kanavan reikiin.
Kiinnitä suojus kahvaan kuudella itsekierteittävällä ruuvilla (¼ tuumaa).
Vaiheeseen tarvittavat osat:
| Pultti (¼ × 1 tuumaa) | 2 |
| Laippamutteri (5/16 tuumaa) | 2 |
Akkuneste sisältää rikkihappoa, joka on tappava myrkky ja aiheuttaa vakavia syöpymiä.
Älä päästä akkunestettä kosketuksiin ihon, silmien tai vaatteiden kanssa. Käytä suojalaseja ja kumikäsineitä.
Akku on irrotettava, ladattava ja asennettava paikassa, jossa on aina saatavilla puhdasta vettä ihon huuhtelua varten.
Akun latauksen yhteydessä syntyy räjähdysherkkiä kaasuja.
Älä tupakoi akun lähettyvillä. Älä päästä kipinöitä tai liekkejä kosketuksiin akun kanssa.
Akun navat tai metallityökalut voivat aiheuttaa oikosulun koskettaessaan koneen metalliosia, mistä voi seurata kipinöitä. Kipinät voivat saada akun kaasut räjähtämään ja aiheuttaa siten henkilövahingon.
Kun irrotat tai asennat akun, älä anna akun napojen koskettaa koneen metalliosia.
Älä päästä metallityökaluja aiheuttamaan oikosulkua akun napojen ja laitteen metalliosien välille.
Akun kaapeleiden virheellinen asennus voi vahingoittaa laitetta ja kaapeleita aiheuttaen kipinöitä. Kipinät voivat saada akun kaasut räjähtämään ja aiheuttaa siten henkilövahingon.
Irrota aina akun (musta) miinuskaapeli ennen (punaisen) pluskaapelin irrottamista.
Kytke aina akun pluskaapeli (punainen) ennen miinuskaapelia (musta).
Avaa akkutilan luukku (Kuva 13).

Irrota akku akkutilasta.
Lataa akku akkulaturilla, jonka latauskapasiteetti on 3–4 A.
Kun akku on latautunut, irrota laturi virtalähteestä ja akun navoista.
Aseta akku akkutilan alustaan (Kuva 14). Sijoita akku siten, että navat osoittavat ulospäin.

Kiinnitä akku akkutilan pohjaan pidiketangolla, kahdella J-tangolla, kahdella litteällä aluslaatalla ja kahdella siipimutterilla.
Kiinnitä pluskaapeli (punainen) akun plusnapaan (+) lukkopultilla ja mutterilla.
Vedä kumisuojus akun plusnavan päälle.
Kiinnitä akun miinuskaapeli (musta) akun miinusnapaan (–) lukkopultilla ja mutterilla.
Sulje ja lukitse akkutilan luukku.
Vaiheeseen tarvittavat osat:
| Jousilukko | 2 |
| Kantaruuvi | 2 |
| Sisähammastettu varmistuslaatta | 2 |
Jos laitetta aiotaan käyttää Euroopan unionissa (CE), asenna jousilukko takapeltiin seuraavien ohjeiden mukaan, jotta laite olisi CE-määräysten mukainen.
Irrota takapelti.
Kiinnitä jousilukko takapellin salvan (Kuva 15) päälle kantaruuvilla (yhteensä kaksi).

Käytä pihtejä ja jakoavainta ja kierrä sisäpuolen varmistuslaatta kuhunkin pulttiin (1–2 kierrettä) pulttien kiinnittämiseksi takapeltiin.
Toista vaiheet 2–3 takapellin toisella puolella.
Asenna takapelti.
Vaiheeseen tarvittavat osat:
| Naru | 1 |
| Pop-niitti | 1 |
| Pultti (¼ × 1 tuumaa) | 1 |
| Lukkomutteri (¼ tuumaa) | 1 |
Jos kone määritetään CE-vaatimusten mukaiseksi, hihnasuojuksen salvan nivel on asennettava seuraavien ohjeiden mukaisesti.
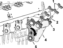
Paikanna hihnasuojuksessa salpavivun vieressä oleva reikä (Kuva 16 ja Kuva 17).

Kiinnitä narukokoonpano hihnasuojuksen reikään pop-niitillä (Kuva 17).

Kierrä pultti salpavipuun (Kuva 18).

Koneeseen on saatavissa laaja valikoima piikkikannattimia, nurmisuojuksia ja piikkejä. Katso kohta Nurmisuojusten, piikkikannattimien ja piikkien asennus.


Kiinnitä kahva yläasentoon ja kytke seisontajarru käyttämällä kahvan lukitustappia (Kuva 21).
Important: Kiinnitä kahva yläasentoon aina, kun poistut käyttäjän paikalta.
Käyttäjän pitosanka (Kuva 21) auttaa varmistamaan, että olet käyttäjän paikalla, kun ajat konetta tai käytät ilmastusyksikköä.
Note: Käyttäjän pitosangan vapauttaminen ei sammuta moottoria.
Käytä tietokeskusta (Kuva 21) ilmastusyksikön hallintalaitteiden toiminnan säätämiseen.
Jos painat pysäytyskytkintä (Kuva 21), kone suorittaa seuraavat toimenpiteet:
Kone lopettaa eteenpäin ajamisen.
Ilmastusyksikkö nousee ja lakkaa käymästä.
Note: Pysäytyskytkimen painaminen ei sammuta moottoria. Voit peruuttaa koneella, mutta pysäytyskytkin on palautettava alkuperäiseen asentoon, jotta voit ajaa eteenpäin.

Kuljetus-/ilmastuskytkimellä (Kuva 22) voit hallita koneen ilmastuksen tai kuljettamisen enimmäisajonopeutta.
ILMASTUS-asento mahdollistaa ilmastuksen ja rajoittaa ajonopeudeksi 4,0 km/h tai alle.
KULJETUS-asento mahdollistaa koneen ajamisen täydellä ajonopeudella tai hitaammin työalueiden välillä.
Note: Koneella ei voi ilmastaa, jos kuljetus-/ilmastuskytkin on KULJETUS-asennossa.
Käytä vasenta tai oikeaa ohjaustankoa (Kuva 22) koneen ajamiseen eteenpäin tai peruuttamiseen.
Käytä nopeuden lukituskytkintä (Kuva 22) koneen ajonopeuden ylläpitämiseen. Tämä vastaa auton vakionopeussäädintä.
KYTKETTY-asento lukitsee koneen senhetkisen ajonopeuden.
PääLLä-asento aktivoi ajonopeuden lukituksen.
POIS-asento poistaa ajonopeuden lukituksen.
Käytä nopeuden lukituskytkintä (Kuva 22) koneen ajonopeuden ylläpitämiseen ilmastusreikien välillä.
PääLLä-asento aktivoi ja kytkee ajonopeuden lukituksen, jotta nopeus pysyy tasaisena ilmastusreikien välillä, kun ilmastussanka vapautetaan ajoväylän päässä.
POIS-asento poistaa ajonopeuden lukituksen, ja kone pysähtyy, kun ilmastussanka vapautetaan.

Kaasuvivulla (Kuva 24) ohjataan moottorin nopeutta:
Moottorin nopeutta lisätään siirtämällä kaasuvipua eteenpäin kohti NOPEA-asentoa.
Moottorin nopeutta vähennetään siirtämällä kaasuvipua taaksepäin kohti HIDAS-asentoa.
Note: Moottorin nopeus säätelee ilmastusyksikön nopeutta.
Käynnistä kylmä moottori käyttämällä rikastinta (Kuva 24).
Sammuta ja käynnistä moottori virtalukosta (Kuva 24). Virtalukossa on kolme asentoa:
KäYNNISTYS – kytke käynnistysmoottori kääntämällä avainta myötäpäivään KäYNNISTYS-asentoon.
KäYNNISSä – kun moottori käynnistyy, vapauta avain, niin se siirtyy automaattisesti KäYNNISSä-asentoon.
PYSäYTYS – sammuta moottori kääntämällä avain vastapäivään PYSäYTYS-asentoon.
Määritä moottorin käyntinopeus käyntinopeusmittarilla (Kuva 24).
Ohjaa polttoaineen virtausta polttoainesäiliöstä polttoaineen sulkuventtiilin avulla (Kuva 25).

Tietokeskuksen näytössä (Kuva 26) on tietoja koneen käyttötilasta, diagnostiikkatietoja ja muita koneeseen liittyviä tietoja.

Note: Kunkin painikkeen käynnistämä toiminto vaihtelee tilanteen mukaan. Jokaisessa painikkeessa näkyy kuvake, joka ilmaisee painikkeen sillä hetkellä käytössä olevan toiminnon.
Navigointipainikkeilla voit selata useita näyttöjä ja valikon kohtia:
Odotusnäyttö: näyttää koneen senhetkiset tiedot muutaman sekunnin ajan, kun virta-avain on käännetty KäYNNISSä-asentoon.
Päävalikko: katso kohta Valikoiden käyttö.
|
SERVICE DUE |
Ilmoittaa, milloin on tehtävä määräaikaishuolto. |
|
|
Kuljetustila |
|
|
Reiän syvyys |
|
|
Reikien etäisyys |
|
|
Piikkien halkaisija |
|
|
Piikkejä kannattimessa |
|
|
Akku |
|
|
Tuntilaskuri |
|
|
Aktiivinen/OK |
|
|
Ei aktiivinen |
|
|
Seuraava |
|
|
Edellinen näyttö |
|
|
Valikko |
|
|
Lisää/vähennä arvoa |
|
|
Vieritä ylös/alas |
|
|
Vieritä vasemmalle/oikealle |
|
|
Poistu valikkoon |
|
|
|
Pääset päävalikkoon painamalla paluu-/poistumispainiketta missä tahansa tietonäytössä.
Valikkojen toiminnot on kuvattu seuraavissa taulukoissa:
|
Valikon kohta |
Kuvaus |
|---|---|
|
VIKA |
Sisältää luettelon koneen viimeaikaisista vioista. Lisätietoja Viat-valikosta saa huolto-oppaasta tai valtuutetulta Toro-jälleenmyyjältä. |
|
HUOLTO |
Sisältää koneeseen liittyviä tietoja, kuten käyttötunnit, laskureita ja muita vastaavia lukuja. |
|
DIAGNOSTIIKKA |
Luettelo koneen tiloista. Sitä voidaan käyttää joidenkin ongelmien vianmääritykseen, koska siitä näkee nopeasti, mitkä koneen ohjaimet ovat käytössä ja mitkä pois käytöstä. |
|
ASETUKSET |
Voit antaa PIN-koodin tai muokata tietokeskuksen näyttöä. |
|
KONEEN ASETUKSET |
Voit muokata koneen käyttöominaisuuksia ja kokoonpanoa. |
|
TIETOJA |
Luettelee koneen mallinumeron, sarjanumeron ja ohjelmiston version. |
|
Valikon kohta |
Kuvaus |
|---|---|
|
STATISTICS (TILASTOT) |
Luettelo koneen käyttötietojen ja toimintatietojen laskureista, kuten moottorin käyttöajasta, ilmastuspinta-alasta/-tilavuudesta/-ajasta tai ilmastusmatkasta. |
|
HOURS (TUNNIT) |
Näyttää kokonaisajan, jonka kone, moottori ja voimanulosotto ovat olleet käytössä, sekä ajan, jonka verran konetta on kuljetettu ja milloin se on huollettava. |
|
COUNTS (LASKURIT) |
Näyttää useita koneen laskurilukemia. |
|
SERVICE LIFT (HUOLTONOSTO) |
Ota huoltonosto käyttöön tai poista se käytöstä. |
|
SERVICE LOWER (HUOLTOLASKU) |
Ota huoltolasku käyttöön tai poista se käytöstä. |
|
3WD (3-PYöRäVETO) |
Ota käyttöön automaattinen kolmipyöräveto tai aina päällä oleva kolmipyöräveto. |
|
GROUND HEIGHT (MAAN KORKEUS) |
Näyttää, ovatko anturin kalibroinnit kelvollisia, aloittaa kalibrointiprosessin ja näyttää anturin sähköisen arvon. |
|
TRACTION PUMP (VETOPUMPPU) |
Näyttää, ovatko anturin kalibroinnit kelvollisia, aloittaa kalibrointiprosessin ja näyttää anturin sähköisen arvon. |
|
TRACTION INPUT (VEDON TULO) |
Näyttää, ovatko anturin kalibroinnit kelvollisia, aloittaa kalibrointiprosessin ja näyttää anturin sähköisen arvon. |
|
HEIGHT SENSOR (KORKEUSANTURI) |
Näyttää, ovatko anturin kalibroinnit kelvollisia, aloittaa kalibrointiprosessin ja näyttää anturin sähköisen arvon. |
|
|
|
|
Valikon kohta |
Kuvaus |
|---|---|
|
ANNA PIN-KOODI |
Sallii käyttäjän, jolla on PIN-koodi, käyttää suojattuja valikoita. |
|
TAUSTAVALO |
LCD-näytön kirkkauden säätö. |
|
KIELI |
Tietokeskuksessa käyttävien kielten hallinta. |
|
YKSIKöT |
Kontrolloi tietokeskuksen yksiköitä (brittiläiset mitat tai metrijärjestelmä). |
|
MUOKKAA PIN-KOODIA |
Sallii käyttäjän, jolla on PIN-koodi, vaihtaa PIN-koodin. |
|
SUOJAA ASETUKSET |
Ottaa käyttöön tai poistaa käytöstä vaatimuksen antaa PIN-koodi suojattujen asetusten käyttöä varten. |
|
OLETUSASETUSTEN NOLLAUS |
Palauta kaikki asetukset oletusasetuksiin. |
|
|
|
|
Valikon kohta |
Kuvaus |
|
MAX TRANSPORT (SUURIN KULJETUS) |
Mahdollistaa enimmäisajonopeuden muuttamisen, oletusnopeus on 6,4 km/h. |
|
MANUAL AERATION (MANUAALINEN ILMASTUS) |
Ottaa käyttöön tai poistaa käytöstä manuaalisen ilmastuksen. |
|
|
|
|
Valikon kohta |
Kuvaus |
|---|---|
|
Model (Malli) |
Näyttää koneen mallinumeron. |
|
SN |
Näyttää koneen sarjanumeron. |
|
S/W Revision (Ohjelmistoversio) |
Näyttää pääohjaimen ohjelmiston version. |
|
CAN Statistics (CAN-tilastot) |
Näyttää koneen tietoliikenneväylän tilan. |
|
InfoCenter Revision (Tietokeskuksen versio) |
Näyttää tietokeskuksen näytön ohjelmiston version |
|
|
|
|
Valikon kohta |
Kuvaus |
|---|---|
|
Traction (Veto) |
Lisätietoja Diagnostiikka-valikon kohteista saa huolto-oppaasta tai valtuutetulta Toro-jälleenmyyjältä. |
|
Aeration (Ilmastus) |
|
|
Engine (Moottori) |
Suojattuja valikoita ei näytetä oletusarvoisesti. Näiden asetusten lukitus avataan antamalla PIN-koodi.
Note: Koneesi oletus-PIN-koodi on joko 0000 tai 1234, mutta jälleenmyyjäsi on saattanut vaihtaa PIN-koodin toimituksen yhteydessä.Jos vaihdoit PIN-koodin ja unohdit uuden koodin, ota yhteys valtuutettuun Toro-jälleenmyyjään.
Siirry PääVALIKOSTA alas ASETUKSET-valikkoon ja paina valintapainiketta (Kuva 27).

Etsi ASETUKSET-valikosta ANNA PIN-KOODI ja paina valintapainiketta (Kuva 28A).

PIN-koodi annetaan painamalla ylös/alas-navigointipainikkeita, kunnes oikea ensimmäinen numero ilmestyy, ja siirtymällä sitten toiseen numeroon painamalla oikeaa navigointipainiketta (Kuva 28B ja Kuva 28C). Toista, kunnes kaikki numerot on annettu.
Paina valintapainiketta (Kuva 28D).
Note: Jos näyttö hyväksyy PIN-koodin ja suojatut valikot
avataan, näytön oikeassa yläkulmassa näkyy
.
Piilota suojatut valikot kääntämällä avainkytkin PYSäYTYS-asentoon ja sitten KäYNNISSä-asentoon.
Kun PIN-koodi on annettu, siirry ASETUKSET-valikkoon ja vieritä alas kohtaan SUOJAA ASETUKSET.
Jos haluat sallia suojattujen valikoiden katselun
PIN-koodia antamatta, vaihda valintapainikkeella SUOJAA
ASETUKSET ‑asetukseksi
(Pois).
Jos haluat edellyttää PIN-koodin antamisen
suojattujen valikoiden katsomista varten, vaihda SUOJAA
ASETUKSET ‑kohta valintapainikkeella
(Päällä)
‑asentoon, aseta PIN-koodi ja käännä avain virtalukossa PYSäYTYS-asentoon ja sitten KäYNNISSä-asentoon.

Vilkkuva punainen – aktiivinen vika
Jatkuva punainen – aktiivinen ilmoitus
Jatkuva sininen – kalibrointi-/valintaikkunaviestejä
Jatkuva vihreä – normaali toiminta
Note: Ominaisuuksia ja rakennetta voidaan muuttaa ilmoittamatta.
| Leveys | 127 cm |
| Akseliväli | 113 cm |
| Pyöräväli | 97 cm |
| Ilmastusleveys | 122 cm |
| Pituus | 295 cm |
| Ilmastusyksikön korkeus (nostettuna) | 114 cm |
| Ilmastusyksikön korkeus (laskettuna) | 93 cm |
| Korkeus, kahva | 154,2 cm |
| Maavara | 12 cm |
| Nopeus eteenpäin | 0–7,2 km/h |
| Peruutusnopeus | 0–4 km/h |
| Nettopaino | 745 kg |
Koneeseen on saatavana valikoima Toron hyväksymiä lisälaitteita ja -varusteita, joiden avulla voidaan parantaa ja laajentaa sen ominaisuuksia. Ota yhteys valtuutettuun huoltoliikkeeseen tai valtuutettuun Toro-jälleenmyyjään tai siirry osoitteeseen www.Toro.com, jossa on luettelo hyväksytyistä lisälaitteista ja -varusteista.
Optimaalinen suorituskyky varmistetaan käyttämällä vain aitoja Toro-varaosia ja -lisävarusteita. Muiden valmistajien varaosat ja lisävarusteet voivat osoittautua vaarallisiksi, ja niiden käyttö voi johtaa tuotteen takuun raukeamiseen.
Lisätietoja piikkipäistä, nurmisuojuksista ja piikeistä on seuraavassa piikkien määritystaulukossa:
| Piikkipäiden kuvaus | Piikkipään välistys | Varren koko | Piikkien määrä | Nurmisuojuksen tyyppi (määrä) |
|---|---|---|---|---|
| 2×5-pikkupiikkinen pää | 41 mm | 9,5 mm | 60 | 5-piikkinen – lyhyt (2) |
| 5-piikkinen – pitkä (1) | ||||
| 1×6-pikkupiikkinen pää | 32 mm | 9,5 mm | 36 | 6-piikkinen – lyhyt (2) |
| 6-piikkinen – pitkä (1) | ||||
| 3-piikkinen pää (â…ž tuumaa) | 66 mm | 22,2 mm | 18 | 3-piikkinen – lyhyt (2) |
| 3-piikkinen – pitkä (1) | ||||
| 3-piikkinen pää (¾ tuumaa) | 66 mm | 19,5 mm | 18 | 3-piikkinen – lyhyt (2) |
| 3-piikkinen – pitkä (1) | ||||
| 4-piikkinen pää (¾ tuumaa) | 51 mm | 19,5 mm | 24 | 4-piikkinen – lyhyt (2) |
| 4-piikkinen – pitkä (1) | ||||
| 5-neulapiikkinen pää | 41 mm | – | 30 | 5-piikkinen – lyhyt (2) |
| 5-piikkinen – pitkä (1) |
Note: Koneen vasen ja oikea puoli määritellään normaalista käyttöasennosta käsin.
Älä anna lasten tai kouluttamattomien henkilöiden käyttää tai huoltaa laitetta. Paikalliset säännökset saattavat asettaa rajoituksia käyttäjän iälle. Omistaja vastaa käyttäjien ja mekaanikkojen koulutuksesta.
Tutustu laitteen turvallisen käytön ohjeisiin, ohjauslaitteisiin ja turvamerkintöihin.
Selvitä, kuinka koneen saa pysäytettyä ja moottorin sammutettua nopeasti.
Tarkasta kone aina ennen käyttöä ja varmista, että piikit ovat hyvässä käyttökunnossa. Vaihda kuluneet tai vahingoittuneet piikit.
Tarkasta koneen käyttöalue ja poista siltä kaikki esineet, joihin kone voi osua.
Etsi ja merkitse kaikki ilmastettavalla alueella olevat sähkö- tai tietoliikennekaapelit, kastelujärjestelmien osat ja muut esteet. Poista vaarat mahdollisuuksien mukaan tai suunnittele, miten voit välttää ne.
Pysäköi kone tasaiselle alustalle, kytke seisontajarru nostamalla kahva kokonaan ylös ja lukitsemalla se, sammuta moottori, irrota virta-avain ja odota, että kaikki liikkuvat osat ovat pysähtyneet.
Tarkista, että käyttäjän pitokytkimet, turvakytkimet ja suojalevyt ovat paikoillaan ja toimivat oikein. Älä käytä konetta, mikäli ne eivät toimi kunnolla.
Käsittele polttoainetta erittäin varovasti. Se on tulenarkaa, ja höyryt räjähtävät herkästi.
Sammuta savukkeet, sikarit, piiput ja muut sytytyslähteet.
Käytä vain hyväksyttyä polttoaineastiaa.
Älä irrota polttoainesäiliön korkkia tai täytä polttoainesäiliötä moottorin ollessa käynnissä tai kuuma.
Älä lisää tai tyhjennä polttoainetta suljetussa tilassa.
Älä säilytä konetta tai polttoainesäiliötä tilassa, jossa on avotuli, kipinöitä tai varmistusliekki (esimerkiksi vedenlämmitin tai muu vastaava laite).
Jos polttoainetta roiskuu, älä yritä käynnistää moottoria. Vältä luomasta minkäänlaisia kipinälähteitä, ennen kuin polttoainehöyryt ovat hälvenneet.
| Tyyppi | Lyijytön bensiini |
| Vähimmäisoktaaniluku | 87 (USA) tai 91 (tutkimusoktaani [RON]; Yhdysvaltojen ulkopuolella) |
| Etanoli | Enintään 10 % tilavuudesta |
| Metanoli | Ei mitään |
| MTBE (metyylitertiääributyylieetteri) | Alle 15 % tilavuudesta |
| Öljy | Älä lisää polttoaineeseen |
Käytä vain puhdasta ja uutta, korkeintaan 30 päivää vanhaa polttoainetta, joka on peräisin luotettavalta toimittajalta.
Important: Vähennä käynnistysongelmia lisäämällä uuteen polttoaineeseen stabilointi-/lisäainetta stabilointi-/lisäaineen valmistajan ohjeiden mukaisesti.
Polttoainesäiliön tilavuus: 26,5 litraa
Pysäköi kone tasaiselle alustalle, kytke seisontajarru nostamalla kahva kokonaan ylös ja lukitsemalla se, sammuta moottori, irrota virta-avain ja odota, että kaikki liikkuvat osat ovat pysähtyneet.
Puhdista polttoainesäiliön korkin ympäristö ja irrota korkki (Kuva 30).

Lisää polttoainetta säiliöön, kunnes pinta on 6–13 mm täyttökaulan alareunan alapuolella.
Important: Säiliöön jäävä tila sallii polttoaineen laajenemisen. Polttoainesäiliötä ei saa täyttää aivan täyteen.
Asenna polttoainesäiliön korkki huolellisesti paikalleen.
Pyyhi läikkynyt polttoaine pois.
Suorita kohdan osassa ”Ennen jokaista käyttökertaa tai päivittäin” mainitut toimet ennen koneen käynnistystä päivittäin.
| Huoltoväli | Huoltotoimenpide |
|---|---|
| Aina ennen käyttöä tai päivittäin |
|
Jos turvajärjestelmän kytkentä on irronnut tai vaurioitunut, kone saattaa toimia odottamattomalla tavalla ja aiheuttaa henkilövahinkoja.
Älä kajoa turvakytkimiin.
Tarkista turvajärjestelmän toimivuus päivittäin ja vaihda mahdolliset vaurioituneet osat ennen koneen käyttämistä.
Turvajärjestelmä estää moottorin käynnistymisen, jos ohjaustanko ei ole VAPAA-asennossa.
Turvajärjestelmä huolehtii siitä, että moottori käynnistyy vain, kun käyttäjän pitosanka on kokonaan vapautettu.
Turvajärjestelmä huolehtii siitä, että moottori käynnistyy vain, kun ilmastusyksikkö on kokonaan vapautettu.
Turvajärjestelmä nostaa ilmastusyksikön ja sammuttaa sen, jos peruutat koneella ilmastuksen aikana tai painat pysäytyskytkintä.
Important: Jos turvajärjestelmä ei toimi kuvatulla tavalla, se on välittömästi korjautettava valtuutetulla Toro-jälleenmyyjällä.
Jos ilmastusyksikkö on laskettu alas, suorita seuraavat vaiheet. Jos ilmastusyksikkö on nostettu ylös, siirry kohtaan Käynnistyksen turvajärjestelmän testaus.
Käynnistä moottori ja aseta moottorin nopeus HIDAS-asentoon. Katso kohta Moottorin käynnistys.
Laske kahva (Kuva 31).

Paina mitä tahansa tietokeskuksen painiketta.
Note: Ilmastusyksikkö nousee.
Sammuta moottori. Katso kohta Moottorin sammutus.
Jos moottori on käynnissä, sammuta se.
Pidä jompaakumpaa käyttäjän pitosankaa kahvaa vasten ja kierrä ohjaustankoa (Kuva 32) eteenpäin tai taaksepäin ja käynnistä moottori.
Important: Moottori ei saa käynnistyä.

Vapauta käyttäjän pitosanka, siirrä ohjaustanko VAPAA-asentoon ja käynnistä moottori.
Pidä jompaakumpaa käyttäjän pitosankaa kahvaa vasten ja kierrä ohjaustankoa eteenpäin (Kuva 33).
Note: Kone ajaa eteenpäin.

Pidä ohjaustanko asennossaan ja vapauta käyttäjän pitosanka (Kuva 34).
Important: Koneen on pysähdyttävä.

Pidä jompaakumpaa käyttäjän pitosankaa kahvaa vasten ja kierrä ohjaustankoa eteenpäin (Kuva 35).
Note: Kone ajaa eteenpäin.

Pidä käyttäjän pitosankaa ja ohjaustankoa painettuna ja paina pysäytyskytkintä (Kuva 36).
Important: Koneen on pysähdyttävä ajamaan eteenpäin.
Note: Moottori pysyy käynnissä.

Palauta pysäytyskytkin alkuperäiseen asentoon kohdan Pysäytyskytkimen palautus alkuperäiseen asentoon mukaisesti.
Suorita jokin seuraavista:
Siirrä kone nurmelle paikkaan, jossa voit ilmastaa vahingoittamatta piikkejä tai nurmikkoa.
Irrota piikit.
Pidä jompaakumpaa käyttäjän pitosankaa kahvaa vasten, kierrä ohjaustankoa eteenpäin ja sulje ilmastussanka (Kuva 37).
Note: Kone ajaa eteenpäin, ilmastusyksikkö on käynnissä ja laskeutuu.

Pidä käyttäjän pitosankaa ja ilmastussankaa painettuna ja kierrä ohjaustankoa taaksepäin (Kuva 38).
Important: Ilmastusyksikön on noustava ja lopetettava käyminen.
Note: Moottori pysyy käynnissä.

Siirrä ohjaustanko VAPAA-asentoon.
Jos piikit on irrotettu, kiinnitä ne ja kalibroi piikkien maan korkeus. Katso kohdat Piikkien maan korkeuden kalibrointi ja Piikkien asennus ilmastusyksikköön.
Important: Piikkien maan korkeus on kalibroitava aina, kun vaihdat koneeseen eripituiset piikit.
Koneeseen on saatavissa laaja valikoima piikkikannattimia, nurmisuojuksia ja piikkejä. Valitse tarvittavat osat lisävarustekaavion mukaan.
Nosta ilmastusyksikkö ja lukitse se paikoilleen suojalukolla. K atso kohta Ilmastusyksikön tukeminen suojalukolla.
Pysäköi kone tasaiselle alustalle, kytke seisontajarru nostamalla kahva kokonaan ylös ja lukitsemalla se, sammuta moottori, irrota virta-avain ja odota, että kaikki liikkuvat osat ovat pysähtyneet.
Note: Nurmisuojuspidikkeet, aluslaatat ja laippalukkomutterit toimitetaan nurmisuojusten kannattimiin kiinnitettyinä (Kuva 39).
Kiinnitä nurmisuojukset löyhästi nurmisuojusten kannattimiin neljällä nurmisuojuspidikkeellä, 12 laippalukkomutterilla (â…œ tuumaa) ja 12 aluslaatalla (7/16 × 13/16 tuumaa).
Note: Älä kiristä laippalukkomuttereita.

Asenna piikkikiristin löyhästi piikkikannattimeen (Kuva 40) neljällä pultilla (â…œ × 1-½ tuumaa). Älä kiristä pultteja.
Note: Pultit ovat piikkikannatinsarjojen osia.

Kiinnitä piikit piikkikannattimeen ja piikkikiristimeen (Kuva 41).

Kiristä piikkikiristimien ja piikkien kiinnityspultit (â…œ × 1-½ tuumaa) momenttiin 40,6 N·m.
Toista vaiheet 1–3 muille piikkikiristimille, piikkikannattimille ja piikeille.
Kiinnitä piikkikannatin ja piikit löyhästi piikkivarteen 2 (Kuva 42 ja Kuva 43) kolmella pultilla (½ × 1-¼ tuumaa).


Kiristä pultit (½ × 1-¼ tuumaa) momenttiin 102 N·m.
Toista vaiheet 1–2 piikkivarrelle 5.
Tarkista, että nurmisuojuksen aukot ovat piikkien kohdalla, jotta piikit on varmasti keskitetty oikein (Kuva 44).
Note: Säädä nurmisuojuksia tarvittaessa.

Kiristä laippalukkomutterit (â…œ tuumaa), joilla kolme nurmisuojuspidikettä ja nurmisuojusta on kiinnitetty kolmeen nurmisuojuksen kannattimeen.
Asenna viimeinen piikkikannatin ja loput piikit piikkikannattimiin 1, 3, 4 ja 6 käyttämällä 12 pulttia (½ × 1-¼ tuumaa).
Kiristä pultit (½ × 1-¼ tuumaa) momenttiin 102 N·m.
Kalibroi kone piikkien maan korkeuden mukaan. Katso kohta Kalibroi maan korkeus -toiminnon käyttö.
Käännä virta-avain AJO-asentoon.
Jos nuolet eivät näy KULJETUSTILA- tai ILMASTUSTILA-näytössä, anna PIN-koodi, jotta voit käyttää suojattuja valikoita. Katso Suojattujen valikoiden käyttö.
Note: KULJETUSTILAN tai ILMASTUSTILAN näyttö avautuu (Kuva 45).

Avaa Calibrating the Tine Ground Height (Piikkien maan korkeuden kalibrointi) ‑näyttö painamalla oikeaa painiketta kaksi kertaa (Kuva 46).
Note: Avaa KULJETUSTILA- tai ILMASTUSTILA-näyttö painamalla vasenta painiketta.

Avaa Setting the Hole Depth (Reiän syvyyden asetus) ‑näyttö painamalla oikeaa painiketta (Kuva 47).
Note: Avaa Teach Ground Height (Kalibroi maan korkeus) ‑näyttö painamalla vasenta painiketta.

Avaa Setting the Hole Spacing (Reikien etäisyyden asetus) ‑näyttö painamalla oikeaa painiketta (Kuva 48).
Note: Avaa Setting the Hole Depth (Reiän syvyyden asetus) ‑näyttö painamalla vasenta painiketta.

Avaa Setting the Tine Diameter (Piikkien halkaisijan asetus) ‑näyttö painamalla oikeaa painiketta (Kuva 48).
Note: Avaa Setting the Hole Spacing (Reikien etäisyyden asetus) ‑näyttö painamalla vasenta painiketta.

Avaa Setting the Tine Quantity (Piikkien määrän asetus) ‑näyttö painamalla oikeaa painiketta (Kuva 50).
Note: Avaa Setting the Tine Diameter (Piikkien halkaisijan asetus) ‑näyttö painamalla vasenta painiketta.

Note: ProCore 648s on suunniteltu tarjoamaan optimaalista ilmastusta useilla erilaisilla ruoho- ja maaperätyypeillä ja piikeillä sekä eri maatalousolosuhteissa, kun syvyydeksi on asetettu 7,6 cm. Kun sitä käytetään matalammilla asetuksilla, erityisesti alle 5 cm:n syvyydellä ja pienemmillä piikeillä, se voi rikkoa pintakerrosta enemmän.
Tarkista, että ilmastusyksikkö on nostettu. Katso kohta Ilmastusyksikön nosto.
Käännä virta-avain AJO-asentoon.

Paina oikeaa painiketta, kunnes Setting the Hole Depth (Reiän syvyyden asetus) ‑näyttö tulee näkyviin (Kuva 51 ja Kuva 52).
Säädä piikkien syvyyttä ylös- ja alas-painikkeilla (Kuva 52) seuraavasti:
Pienennä reiän syvyyttä painamalla alas-painiketta.
Suurenna reiän syvyyttä painamalla ylös-painiketta.

Tallenna asetukset ja poistu syvyyden näytöstä painamalla vasenta tai oikeaa painiketta.
Käännä virta-avain PYSäYTYS-asentoon.
Note: Jos ilmastus suurimmalla sallitulla syvyydellä (minkä tahansa pituisella piikillä) maan korkeuden kalibroinnin suorittamisen jälkeen aiheuttaa nurmisuojuksen pulttien laahaamista tai nurmen koskettamista, vähennä syvyyttä yhdellä pykälällä (6,3 mm).
Note: Kun ilmastusrei’ille valitaan tavoite-etäisyys, kone pitää reikien etäisyyden tasaisena ajonopeutta säätelemällä.
Tarkista, että ilmastusyksikkö on nostettu. Katso kohta Ilmastusyksikön nosto.
Käännä virta-avain AJO-asentoon.

Paina oikeaa painiketta, kunnes Setting the Hole Spacing (Reikien etäisyyden asetus) ‑näyttö tulee näkyviin (Kuva 53 ja Kuva 54).
Säädä reikien etäisyyttä (Kuva 54) seuraavasti:
Pienennä reikien etäisyyttä painamalla alas-painiketta.
Suurenna reikien etäisyyttä painamalla ylös-painiketta.

Tallenna asetukset ja poistu etäisyyden näytöstä painamalla vasenta tai oikeaa painiketta.
Käännä virta-avain PYSäYTYS-asentoon.
Tarkista, että ilmastusyksikkö on nostettu. Katso kohta Ilmastusyksikön nosto.
Käännä virta-avain AJO-asentoon.

Paina oikeaa painiketta, kunnes Setting the Tine Diameter (Piikkien halkaisijan asetus) ‑näyttö tulee näkyviin (Kuva 55 ja Kuva 56).
Säädä piikkien halkaisijaa ylös- ja alas-painikkeilla (Kuva 56) seuraavasti:
Suurenna piikkien halkaisijaa painamalla ylös-painiketta.
Pienennä piikkien halkaisijaa painamalla alas-painiketta.

Tallenna asetukset ja poistu halkaisijan näytöstä painamalla vasenta tai oikeaa painiketta.
Käännä virta-avain PYSäYTYS-asentoon.
Tarkista, että ilmastusyksikkö on nostettu. Katso kohta Ilmastusyksikön nosto.
Käännä virta-avain AJO-asentoon.

Paina oikeaa painiketta, kunnes Setting the Tine Quantity (Piikkien määrän asetus) ‑näyttö tulee näkyviin (Kuva 58).
Säädä piikkien määrää ylös- ja alas-painikkeilla (Kuva 58) seuraavasti:
Important: Piikkien määrä tarkoittaa yhdessä piikkikannattimessa olevien piikkien määrää.
Lisää piikkien määrää painamalla ylös-painiketta.
Vähennä piikkien määrää painamalla alas-painiketta.

Tallenna asetus ja poistu piikkien määrän näytöstä painamalla vasenta tai oikeaa painiketta.
Käännä virta-avain PYSäYTYS-asentoon.
| Huoltoväli | Huoltotoimenpide |
|---|---|
| Aina ennen käyttöä tai päivittäin |
|
Important: Kalibroi piikkien maan korkeus aina, kun vaihdat piikkejä uusiin tai eripituisiin piikkeihin.
Varmista, että coring head on nostettuna.
Pysäköi kone tasaiselle alustalle, kytke seisontajarru nostamalla kahva kokonaan ylös ja lukitsemalla se, sammuta moottori, irrota virta-avain ja odota, että kaikki liikkuvat osat ovat pysähtyneet.
Irrota ilmastusyksikön suojus. Katso kohta Ilmastusyksikön suojuksen irrotus.
Kierrä ilmastusyksikön hihnapyörää (Kuva 59), kunnes uloimmat piikit ovat lähimpänä maata (Kuva 60).
Important: Pidä sormet etäällä kohdista, joissa hihna liittyy hihnapyörään ja irtoaa siitä, jotta sormet eivät jää niiden väliin.


Asenna ilmastusyksikön suojus. Katso kohta Ilmastusyksikön suojuksen asennus.
Käännä virta-avain AJO-asentoon.
Note: KULJETUSTILAN tai ILMASTUSTILAN näyttö avautuu (Kuva 61).

Siirrä kahvaa niin, että näet uloimmat piikit, jotka asetit kohdassa Koneen valmistelu.
Paina oikeaa painiketta, kunnes ohjattu TEACH GROUND HEIGHT (KALIBROI MAAN KORKEUS) ‑toiminto tulee näkyviin.
Teach Ground Height (Kalibroi maan korkeus) ‑näytössä (Kuva 62) paina kumpaa tahansa keskipainiketta.

ALOITA KALIBROINTI PAINAMALLA OK-PAINIKETTA ‑näytössä (Kuva 63) paina valintapainiketta.

Note: CALIBRATION ENGAGED (KALIBROINTI KYTKETTY) ‑viesti tulee näkyviin, ja ilmastusyksikkö laskeutuu hitaasti.
Important: Pidä kätesi tietokeskuksen lähellä.
Note: Ilmastusyksikkö laskeutuu hitaammin, jos hydraulineste on kylmää.
Kun ensimmäinen piikki koskettaa maata, paina Lowering Head (Yksikön lasku) ‑näytössä valintapainiketta (Kuva 64).
Note: Piikkien tulee vain koskettaa maata, ei nostaa painoa pois pyöriltä.Jos ilmastusyksikkö nostaa konetta, kone kalibroi maan korkeuden väärin, mikä johtaa virheelliseen reiän syvyyteen ja ilmastusreiän tukkeutumiseen.

Note: CALIBRATION COMPLETE (KALIBROINTI VALMIS) ‑viesti tulee näkyviin, ja yksikkö nousee kokonaan.
Poistu Teach Ground Height (Kalibroi maan korkeus) ‑sovelluksesta painamalla paluu-painiketta.
Omistaja ja käyttäjä voivat estää loukkaantumisia tai omaisuusvahinkoja aiheuttavat tapaturmat ja ovat siksi vastuussa niistä.
Pukeudu asianmukaisesti. Käytä silmäsuojaimia, pitkiä housuja, tukevia liukastumisen estäviä kenkiä ja kuulosuojaimia. Sido pitkät hiukset ja varmista, etteivät vaatteet roiku. Älä käytä riippuvia koruja.
Älä käytä konetta väsyneenä, sairaana tai alkoholin tai huumausaineiden vaikutuksen alaisena.
Älä päästä sivullisia, lapsia tai lemmikkieläimiä käyttöalueelle. Lapset eivät saa käyttää konetta. Anna vain vastuullisten, koulutettujen, ohjeisiin perehtyneiden ja fyysisesti konetta käyttämään kykenevien aikuisten käyttää konetta.
Koneella ei saa kuljettaa matkustajia.
Käytä konetta vain hyvän näkyvyyden vallitessa, jotta vältät kuopat ja muut piilevät vaarat.
Pidä kädet ja jalat etäällä piikeistä.
Katso taakse ja alas ennen peruuttamista ja varmista, että reitti on vapaa.
Jos kone osuu esteeseen tai tärisee epätavallisesti, pysäytä kone, sammuta moottori ja irrota virta-avain. Odota, että kaikki liikkuvat osat ovat pysähtyneet, ja tarkasta piikit. Suorita tarvittavat korjaukset ennen käytön jatkamista.
Pidä rengaspaineet oikealla tasolla.
Alenna ajonopeutta kuoppaisilla teillä ja alustoilla.
Rinteissä on huomattava koneen hallinnan menettämisen ja kaatumisen vaara. Tällaiset onnettomuudet voivat aiheuttaa vakavan tapaturman tai kuoleman. Käyttäjä on vastuussa turvallisesta käytöstä rinteissä. Koneen käyttö rinteissä edellyttää erityistä huolellisuutta.
Käyttäjän on arvioitava leikkuupaikan olosuhteet ja tarkastettava käyttöpaikka ja määritettävä niiden perusteella, onko rinne turvallinen koneen käyttöön. Tämä tarkastus on tehtävä huolellisesti ja harkiten.
Tutustu seuraaviin ohjeisiin koneen käytöstä rinteissä ja määritä käyttöolosuhteiden perusteella, voidaanko konetta käyttää kyseisellä paikalla ja vallitsevissa olosuhteissa. Maaston muutokset voivat vaikuttaa koneen käyttöön rinteissä.
Vältä koneen käynnistämistä, pysäyttämistä tai kääntämistä rinteissä. Vältä nopeuden tai suunnan äkillistä muuttamista. Käänny hitaasti ja vähän kerrallaan.
Älä käytä konetta olosuhteissa, joissa pito, ohjaus tai vakaus on kyseenalainen.
Poista tai merkitse esteet, kuten ojat, kuopat, urat, töyssyt, kivet tai muut piilevät vaarat. Korkea ruoho voi peittää esteet. Maaston epätasaisuudet voivat kaataa koneen.
Huomaa, että koneen käyttö märässä ruohossa, poikittain rinteissä tai alamäessä saattaa johtaa koneen pidon menettämiseen. Pidon menetys vetopyörissä saattaa aiheuttaa luisumisen ja jarrujen ja ohjauksen hallinnan menetyksen.
Käytä konetta erityisen varovasti pudotusten, ojien, vallien, vesiesteiden tai muiden vaarojen lähellä. Kone voi kaatua yllättäen, jos pyörä menee reunan yli tai jos reuna sortuu. Määritä suoja-alue koneen ja mahdollisen vaaran välille.
Kytke seisontajarru nostamalla kahva kokonaan ylös (Kuva 65).

Varmista, että kahvan lukitustappi ulottuu pidätinlevyn reiän läpi (Kuva 66).
Jos seisontajarru ei kytkeydy, kone voi liikkua ja vahingoittaa sinua tai sivullisia.
Varmista, että kahva on kokonaan nostettuna ja lukittunut tukevasti pidätinlevyyn.

Kytke seisontajarru nostamalla kahva kokonaan ylös ja lukitsemalla se. Katso kohta Seisontajarrun kytkentä.
Käytä rikastinta (Kuva 70) seuraavasti:
Siirrä rikastimen vipu PääLLä-asentoon ennen kylmän moottorin käynnistystä.
Rikastinta ei ehkä tarvita, kun käynnistetään lämmintä tai kuumaa moottoria.

Siirrä kaasuvipu NOPEA-asentoon ennen kylmän moottorin käynnistystä.
Käännä virta-avain KäYNNISTYS-asentoon. Kun moottori käynnistyy, vapauta avain.
Important: Älä käytä käynnistintä kerralla yli 10 sekunnin ajan. Jos moottori ei käynnisty, odota 30 sekunnin ajan käynnistysyritysten välillä. Näiden ohjeiden laiminlyönti saattaa rikkoa käynnistysmoottorin.
Kun moottori käynnistyy, siirrä rikastimen vipu kohti POIS-asentoa. Jos moottori käy epätasaisesti tai sammuu, siirrä rikastin muutamaksi sekunniksi takaisin kohti PääLLä-asentoa. Siirrä kaasuvipu sitten halutulle moottorin nopeudelle.
Note: Toista tarvittaessa.
Lapset ja sivulliset voivat loukkaantua, jos he siirtävät tai yrittävät käyttää konetta sen jäädessä ilman valvontaa.
Kytke seisontajarru nostamalla kahva aina kokonaan ylös, sammuta moottori ja irrota virta-avain, kun jätät koneen ilman valvontaa vaikka vain hetkeksi.
Kytke seisontajarru nostamalla kahva kokonaan ylös ja lukitsemalla se. Katso kohta Seisontajarrun kytkentä.
Siirrä kaasuvipu (Kuva 71) HIDAS-asentoon.

Anna moottorin käydä joutokäyntiä 60 sekunnin ajan.
Käännä virta-avain PYSäYTYS-asentoon ja irrota avain.
Jos kone on kuljetettavana tai varastoituna, sulje polttoaineen sulkuventtiili (Kuva 72).
Important: Sulje polttoaineen sulkuventtiili ennen koneen kuljetusta perävaunulla tai ennen koneen varastointia. Kytke seisontajarru nostamalla kahva kokonaan ylös ja lukitsemalla se ennen koneen kuljetusta. Irrota virta-avain virtalukosta, jotta polttoainepumppu ei käy ja tyhjennä akkua.

Important: Käytä konetta kävellen sen edessä eteenpäin; älä kävele takaperin ja taaksepäin katsoen koneen käytön aikana.

Nopeuden lukituksen avulla konetta voi ajaa ilman, että pitää ohjaustangoa painettuna.
Note: Nopeuden lukitusta ei voi käyttää, kun koneella peruutetaan.
Nopeuden lukituksen avulla koneen voi ilmastuksen aikana kääntää ajoväylän päässä ja jatkaa ajamista reikien etäisyyttä varten valitulla nopeudella tarvitsematta muuttaa ohjaustangon asentoa.
Note: Nopeuden lukitus ilmastustilassa on käytössä, kun ilmastusyksikölle on asetettu viivelaskeutumisen tila. Nopeuden lukitus ei ole käytössä välittömän laskeutumisen tilassa.
Ajonopeuden lukitus toimii kuten auton vakionopeussäädin.
Paina kuljetus-/ilmastuskytkin KULJETUS-asentoon (Kuva 74).

Paina nopeuden lukituksen kytkin PääLLä-asentoon.
Aja konetta eteenpäin halutulla ajonopeudella.
Paina nopeuden lukituksen kytkin KYTKETTY-asentoon.
Note: Ajonopeuden lukitus pitää senhetkisen ajonopeuden. Voit vapauttaa ohjaustangon.
Nopeuden lukituksen voi poistaa käytöstä tekemällä jonkin seuraavista:
Paina nopeuden lukituksen kytkin POIS-asentoon.
Käännä ajo-ohjauksen yläosaa taaksepäin, jotta konetta voidaan ajaa taaksepäin.
Vapauta käyttäjän paikallaolosanka.
Paina pysäytyskytkintä.
Note: Ajonopeuden lukitus ei ole käytössä ilmastettaessa välittömän laskeutumisen tilassa.
Paina kuljetus-/ilmastuskytkin ILMASTUS-asentoon (Kuva 75).

Paina nopeuden lukituksen kytkin PääLLä-asentoon.
Aja koneella eteenpäin ja sulje ilmastussanka.
Note: Ajonopeuden lukitus kytkeytyy ja ilmastusyksikkö laskeutuu.
Vapauta ilmastussanka ajoväylän päässä.
Note: Ilmastusyksikkö nousee, mutta koneen nopeus pysyy ilmastusreikien välille valittuna nopeutena.
Voit ottaa nopeuslukitustoiminnon pois käytöstä seuraavasti:
Paina nopeuden lukituksen kytkin POIS-asentoon.
Käännä ajo-ohjauksen yläosaa taaksepäin, jotta konetta voidaan ajaa taaksepäin.
Vapauta käyttäjän paikallaolosanka.
Paina pysäytyskytkintä.
Note: Käytä kuljetustilaa, kun ajat koneen työalueelta toiselle.
Note: Koneen nopeus on alhaisempi aina, kun kuljetus-/ilmastuskytkin on ILMASTUS-asennossa.
Käynnistä moottori ja aseta kaasuvipu NOPEA-asentoon, katso Moottorin käynnistys.
Vapauta seisontajarru laskemalla kahva. Katso kohta Seisontajarrun vapautus.
Paina kuljetus-/ilmastuskytkimen vasen puoli KULJETUS-asentoon (Kuva 76).

Note: Tietokeskuksessa näkyy KULJETUS-kuvake (Kuva 77).

Katso suunnitellun reitin suuntaan ja varmista, että reitti on vapaa.
Tartu vasempaan tai oikeaan kahvaan ja käyttäjän pitosankaan (Kuva 76) ja purista sankaa kahvaa vasten.
Kierrä peukalolla vasenta tai oikeaa ohjaustankoa koneen ohjaamista varten seuraavasti:
Aja konetta eteenpäin kiertämällä ohjaustankoa eteenpäin.
Käännä ajo-ohjauksen yläosaa taaksepäin, jotta konetta voidaan ajaa taaksepäin.
Note: Ohjaustangon kiertäminen pidemmälle lisää koneen ajonopeutta.
Important: Pysäytä kone välittömästi painamalla pysäytyskytkintä (Kuva 78).

Ilmastettaessa vapauta ilmastussanka (Kuva 79), jolloin ilmastusyksikkö nousee. Katso kohta Ilmastusyksikön nosto.

Vapauta ohjaustanko ja anna sen siirtyä VAPAA-asentoon.
Vapauta käyttäjän pitosanka.
Kytke seisontajarru nostamalla kahva kokonaan ylös ja lukitsemalla se. Katso kohta Seisontajarrun kytkentä.
Note: Kone ajaa alhaisemmalla nopeudella aina, kun ilmastusyksikkö on nostettuna.
Käynnistä moottori ja aseta kaasuvipu NOPEA-asentoon, katso Moottorin käynnistys.
Vapauta seisontajarru laskemalla kahva. Katso kohta Seisontajarrun vapautus.
Paina kuljetus-/ilmastuskytkimen oikea puoli ILMASTUS-asentoon (Kuva 80).

Tietokeskus näyttää senhetkisen reiän syvyyden ja reikien etäisyyden (Kuva 81).

Katso suunnitellun reitin suuntaan ja varmista, että reitti on vapaa.
Tartu vasempaan tai oikeaan kahvaan ja käyttäjän pitosankaan (Kuva 80) ja purista sankaa kahvaa vasten.
Aja konetta eteenpäin kiertämällä peukalolla vasenta tai oikeaa ohjaustankoa.
Note: Ilmastuksen aikana kone ajaa nopeudella, joka vastaa valitsemaasi reikien tavoite-etäisyyttä.
Ajonopeuden lukitusta käytettäessä kone pitää yllä valittua ajonopeutta auton vakionopeussäätimen tapaan, kun ilmastussanka vapautetaan muuttamatta ohjaustangon asentoa.
Koneen peruuttaminen kytkee vakionopeussäädintoiminnon pois käytöstä, jolloin kone ajaa vaihtelevalla nopeudella.
Kun ilmastusyksikkö nostetaan käännettäessä kone uudelle ajoväylälle, ajonopeutta voi lisätä liikuttamalla ohjaustankoa vielä edemmäs. Kun ohjaustanko palautetaan VAPAA-asentoon, kone hidastaa reikien etäisyyden mukaiseen ajonopeuteen.
Tähtää ilmastettaessa viivelaskeutumisen tilassa laskukohtaan eturenkaan avulla.
Paina laskunhallintakytkin (Kuva 82) VIIVELASKU-asentoon.

Aja konetta eteenpäin. Katso kohta Koneen ajaminen ilmastustilassa.
Kun eturengas kulkee ilmastusalueen reunan yli, sulje joko vasemman- tai oikeanpuoleinen ilmastussanka (Kuva 83).
Note: Ilmastusyksikkö käy ja laskeutuu samalla, kun kone ajaa eteenpäin ja ylittää ilmastuksen kohdealueen.

Tähtää viivelaskeutumisen tilassa nostokohtaan eturenkaan avulla (Kuva 84).

Nosta ilmastusyksikkö tekemällä jokin seuraavista:
Kun eturengas kulkee ilmastusalueen reunan yli, vapauta ilmastussanka (Kuva 85).
Note: Kone nostaa ilmastusyksikön, kun ilmastusyksikkö saavuttaa kohdan, johon tähtäsit eturenkaan avulla ja vapauttamalla ilmastussangan.

Peruuta koneella, katso Koneella peruuttaminen.
Paina laskunhallintakytkin (Kuva 86) VäLITöN LASKEUTUMINEN -asentoon.
Note: Kytkimessä oleva merkkivalo syttyy.

Aja konetta eteenpäin. Katso kohta Koneen ajaminen ilmastustilassa.
Sulje joko vasemman- tai oikeanpuoleinen ilmastussanka (Kuva 87).
Note: Ilmastusyksikkö laskeutuu välittömästi ja aloittaa ilmastuksen.

Nosta ydinpää seuraavasti:
Vapauta ilmastussanka (Kuva 88).
Note: Kone nostaa ilmastusyksikön välittömästi.

Peruuta koneella, katso Koneella peruuttaminen.
Vapauta ohjaustanko ja anna sen siirtyä VAPAA-asentoon ja vapauta käyttäjän pitokytkin (Kuva 91).

Siirry poispäin pysäytyskytkimestä (Kuva 92).
Note: Pysäytyskytkimen jousi palauttaa kytkimen alkuperäiseen asentoon.

Tartu vasempaan tai oikeaan kahvaan ja käyttäjän pitosankaan (Kuva 93) ja purista sankaa kahvaa vasten.

Aja konetta, katso Koneen ajaminen kuljetustilassa tai Koneen ajaminen ilmastustilassa.
Käytä linjamerkitsintä ilmastusrivien kohdistamiseen (Kuva 94).

Kone kirjaa ilmastetun pinta-alan ja irrotetun maamassan tilavuuden kahden laskurin avulla. Laskurien tietojen avulla voi arvioida ilmastettavalle nurmialueelle levitettävän materiaalin määrän.
Alue 1 -laskuria ei ole suojattu PIN-koodilla, ja koneen käyttäjä voi nollata sen.
Note: Jos jokainen ilmastusalue kirjataan Alue 1 -laskurilla, sen avulla voi arvioida kunkin alueen vaatiman pintamaan ja levitysmateriaalin.
Alue 2 -laskuri on suojattu PIN-koodilla, ja työalueen valvojan tai muun valtuutetun henkilön on nollattava se.
Ilmastettu alue näytetään mittayksikössä m2 (SI) tai ft2 (brittiläinen).
Irrotetun maamassan tilavuus näytetään mittayksikössä m3 (SI) tai yd3 (brittiläinen).
Kun irrotetun maamassan tilavuuden laskuria tarkastellaan, kone laskee tilavuuden tietokeskukseen syötetyn piikkien halkaisijan ja piikkien määrän mukaan.
Important: Jos piikkien halkaisijan tai piikkien määrän arvo on virheellinen ennen alueen ilmastusta, tietokeskus laskee ja näyttää Alue 1- ja Alue 2 -laskureille virheelliset ilmastustilavuuden arvot. Jos halkaisijan tai määrän arvoa muutetaan ilmastuksen jälkeen, tietokeskus muuttaa tilavuudelle näytettävää arvoa.
Pysäköi kone tasaiselle alustalle.
Varmista, että moottori käy tai että virta-avain on KäYNNISSä-asennossa.
Siirry tietokeskuksessa PääVALIKKOON.
Paina alas-painiketta, kunnes HUOLTO-vaihtoehto on valittuna, ja paina sitten valintapainiketta (Kuva 95).

HUOLTO-näytössä paina alas-painiketta, kunnes STATISTICS (TILASTOT) ‑vaihtoehto on valittuna, ja paina sitten valintapainiketta (Kuva 96).

Note: PINTA-ALA-laskuri näkyy TILASTOT-näytössä.

STATISTICS (TILASTOT) ‑näytössä paina alas-painiketta, kunnes AREA 1 (ALUE 1) ‑vaihtoehto on valittuna (Kuva 98).

Kirjaa ilmastuspinta-ala ja maamassan tilavuus laskentataulukkoon, katso seuraava esimerkki.
|
Päivämäärä |
Työalue (jos useita) |
Sijainti |
Ilmastuspinta-ala |
Ilmastustilavuus |
Näyttöön tulee nollausalue ja äänenvoimakkuusnäyttö painamalla valintapainiketta.
RESET AREA AND VOLUME (NOLLAA PINTA-ALA JA TILAVUUS) ‑näytössä paina valintapainiketta.
Note: Tietokeskus näyttää tilastonäytön, ja pinta-alan ja tilavuuden laskurit nollataan.
Note: Jos Alue 1 -laskuria ei nollata, pinta-alan ja tilavuuden laskurit lisäävät uudet tiedot aiempiin tietoihin.

Toista vaiheet 1–4 tarvittaessa.
Palaa päävalikkoon painamalla paluu-painiketta.
Note: ALUE 2 -laskurien nollaaminen ei nollaa ALUE 1 -laskureita.
Anna PIN-koodi, jos haluat käyttää suojattuja valikoita. Katso Suojattujen valikoiden käyttö.
STATISTICS (TILASTOT) ‑näytössä paina alas-painiketta, kunnes AREA 2 (ALUE 2) ‑vaihtoehto on valittuna (Kuva 100).

Kirjaa ilmastuspinta-alan ja maamassan tilavuuden tiedot tarvittaessa.
Näyttöön tulee nollausalue ja äänenvoimakkuusnäyttö painamalla valintapainiketta.
RESET AREA AND VOLUME (NOLLAA PINTA-ALA JA TILAVUUS) ‑näytössä paina valintapainiketta (Kuva 101).
Note: Tietokeskus näyttää tilastonäytön ja alueen ja äänenvoimakkuuslaskurit nollaan.
Note: Jos Alue 2 -laskuria ei nollata, pinta-alan ja tilavuuden laskurit lisäävät uudet tiedot aiempiin tietoihin.

Palaa päävalikkoon painamalla paluu-painiketta.
Suojalukko on asennettava ennen ilmastusyksikön huoltoa tai koneen varastointia muutamaa päivää pidemmäksi ajaksi.
Jos ilmastusyksikkö on yläasennossa lukitsemattomana, se voi laskeutua yllättäen ja vahingoittaa käyttäjää tai sivullisia.
Varmista ilmastusyksikkö yläasentoon suojalukolla ennen ilmastusyksikön huoltoa, mukaan lukien piikkien tai nurmisuojuksien vaihtoa.
Nosta ilmastusyksikkö.
Pysäköi kone tasaiselle alustalle, kytke seisontajarru nostamalla kahva kokonaan ylös ja lukitsemalla se, sammuta moottori, irrota virta-avain ja odota, että kaikki liikkuvat osat ovat pysähtyneet.
Irrota ilmastusyksikkö. Katso kohta Ilmastusyksikön suojuksen irrotus.
Irrota lukitussokka, jolla suojalukko on kiinnitetty sivulevyyn (Kuva 102).

Käännä suojalukkoa taaksepäin ja aseta se ilmastusyksikön tukitapin kohdalle.
Kiinnitä suojalukko tukitappiin lukitussokalla.
Asenna tarvittaessa ilmastusyksikön suojus, katso Ilmastusyksikön suojuksen asennus.
Pysäköi kone tasaiselle alustalle, kytke seisontajarru nostamalla kahva kokonaan ylös ja lukitsemalla se, sammuta moottori, irrota virta-avain ja odota, että kaikki liikkuvat osat ovat pysähtyneet.
Jos ilmastusyksikön suojus on asennettu, irrota se. Katso kohta Ilmastusyksikön suojuksen irrotus.
Irrota lukitussokka, jolla suojalukko on kiinnitetty ilmastusyksikön tukitappiin (Kuva 103).

Käännä suojalukkoa alaspäin ja aseta se sivulevyn tukitapin kohdalle.
Kiinnitä suojalukko tukitappiin lukitussokalla.
Asenna ilmastusyksikön suojus. Katso kohta Ilmastusyksikön suojuksen asennus.
Important: Vaihda vaurioitunut piikki samanpituiseen piikkiin. Eripituisten piikkien käyttö voi huonontaa ilmastuksen tulosta.
Eripituisten piikkien käyttö vaikuttaa ilmastuksen tulokseen.
Katso kuvat kohdasta Nurmisuojusten, piikkikannattimien ja piikkien asennus.
Nosta ilmastusyksikkö ja lukitse se paikoilleen suojalukolla.
Pysäköi kone tasaiselle alustalle, kytke seisontajarru nostamalla kahva kokonaan ylös ja lukitsemalla se, sammuta moottori, irrota virta-avain ja odota, että kaikki liikkuvat osat ovat pysähtyneet.
Löysää piikkikannattimen pultteja ja irrota vanha piikki.
Asenna uusi piikki piikkikannattimeen.
Kiristä piikkikannattimien pultit momenttiin 40,6 N·m.
Toista menettely lopuille varsille tarvittaessa.
Tarkista kulloinenkin piikkien maan korkeus Recall Ground Height (Palauta maan korkeus) ‑sovelluksesta.
Sovellus siirtää yksikön alas aiemmin kalibroituun asentoon. Kun yksikkö on paikallaan, voit tarkastaa piikkien kärkien etäisyyden maasta.
Varmista, että coring head on nostettuna.
Pysäköi kone tasaiselle alustalle, kytke seisontajarru nostamalla kahva kokonaan ylös ja lukitsemalla se, sammuta moottori, irrota virta-avain ja odota, että kaikki liikkuvat osat ovat pysähtyneet.
Irrota ilmastusyksikön suojus. Katso kohta Ilmastusyksikön suojuksen irrotus.
Kierrä ilmastusyksikön hihnapyörää (Kuva 104), kunnes uloimmat piikit ovat lähimpänä maata.
Important: Pidä sormet poissa alueelta, jolla hihna sulautuu ja lähtee hihnapyörästä, jotta et purista sormiasi.


Asenna ilmastusyksikön suojus. Katso kohta Ilmastusyksikön suojuksen asennus.
Anna PIN-koodi, jos haluat käyttää suojattuja valikoita. Katso Suojattujen valikoiden käyttö.
Siirry tietokeskuksessa PääVALIKKOON.
Paina alas-painiketta, kunnes HUOLTO-vaihtoehto on valittuna, ja paina sitten valintapainiketta (Kuva 105).

Siirry GROUND HEIGHT (MAAN KORKEUS) ‑vaihtoehtoon painamalla tietokeskuksen alas-painiketta ja paina sitten valintapainiketta.
Siirry RECALL CALIBRATION (PALAUTA KALIBROINTI) ‑vaihtoehtoon painamalla tietokeskuksen alas-painiketta ja paina sitten valintapainiketta.
Recall Ground Height (Palauta maan korkeus) ‑näytössä (Kuva 106) paina valintapainiketta.

Head Will Lower (Yksikkö laskeutuu) ‑näytössä (Kuva 107) paina valintapainiketta.

Note: Yksikkö laskeutuu -viesti tulee näyttöön ja ilmastusyksikkö laskeutuu.
Pidä silmällä uloimpia piikkejä seuraavia kalibrointialueen ulkopuolella olevia olosuhteita varten.
Kun piikit alkavat upota maahan, paina valintapainiketta (Kuva 108) ja suorita TEACH GROUND HEIGHT (KALIBROI MAAN KORKEUS) ‑sovellus. Katso Kalibroi maan korkeus -toiminnon käyttö.
Jos piikit ovat maanpinnan yläpuolella, paina valintapainiketta ja suorita TEACH GROUND HEIGHT (KALIBROI MAAN KORKEUS) ‑sovellus. Katso Kalibroi maan korkeus -toiminnon käyttö.

Jos uloimmat piikit koskettavat maata kevyesti, nosta ilmastusyksikkö painamalla valintapainiketta.
Kone siirtää painoa ajoyksiköstä ilmastusyksikköön reikien syvyyden säilyttämiseksi erilaisissa maaperissä. Jos maaperä on kuitenkin niin kovaa, ettei täyttä ilmastussyvyyttä voida saavuttaa, ilmastusyksikkö saattaa edellyttää suurempaa painon siirtoa. Kone on asetettu normaaliin painonsiirtoon tehtaalla. Lisää painonsiirtojousien aikaansaamaa painetta seuraavasti:
Jousilevyjen äkkinäinen vapauttaminen saattaa aiheuttaa tapaturman.
Pyydä apuun toinen henkilö, kun säädät painonsiirtojousta.
Pysäköi kone tasaiselle alustalle, kytke seisontajarru nostamalla kahva kokonaan ylös ja lukitsemalla se, sammuta moottori, irrota virta-avain ja odota, että kaikki liikkuvat osat ovat pysähtyneet.
Löysää etummaista laippalukkomutteria ja lukkopulttia, joilla jousen kiristyslevy on kiinnitetty ilmastusyksikön tukikannattimeen (Kuva 109).
Note: Älä irrota lukkomutteria ja lukkopulttia.

Irrota taaempi laippalukkomutteri, jolla jousen kannattimet on kiinnitetty tukikannattimeen.
Note: Älä irrota lukkopulttia.
Aseta ½ tuuman räikkäavain tai T-väännin jousen kiristyslevyn nelikulmaiseen aukkoon (Kuva 110).

Löysennä taaempaa lukkopulttia räikkäavaimella tai T-vääntimellä ja irrota se ylemmästä aukosta.
Note: Ylempää aukkoa käytetään normaalin painon siirtoasennossa.
Käännä jousen kiristyslevyä, kunnes se on kohdakkain tukikannattimen alemman aukon kanssa, ja työnnä lukkopultti levyn ja kannattimen aukkojen läpi.
Note: Alempaa aukkoa käytetään suuremman painon siirtoasennossa. Jousilevyjen kiertäminen ylöspäin lisää painonsiirtoa.
Kiinnitä lukkopultti tukikannattimeen ja jousen kiristyslevyyn laippalukkomutterilla.
Kiristä lukkomutterit momenttiin 37–45 N·m.
Ilmastamalla automaattisella maaperän myötäilyllä saadaan paras mahdollinen reikien laatu ja koneen suorituskyky.
Käytä manuaalista maaperän myötäilyä vain, jos piikkien asentoanturi on vaurioitunut.
Pysäköi kone tasaiselle alustalle, kytke seisontajarru nostamalla kahva kokonaan ylös ja lukitsemalla se, sammuta moottori, irrota virta-avain ja odota, että kaikki liikkuvat osat ovat pysähtyneet.
Irrota ilmastusyksikön suojus. Katso kohta Ilmastusyksikön suojuksen irrotus.
Irrota lukitussokka, jolla syvyydenrajoittimen pidätin ja välikappale on kiinnitetty pysäyttimeen (Kuva 111 ja Kuva 112).


Aseta välikappaleet pysäyttimen ala- tai yläpuolelle halutun ilmastussyvyyden säätämiseksi.
Kun kaikki välikappaleet ovat pysäyttimen yläpuolella, syvyysasetus on 10,7 cm.
Paksut välikappaleet tarkoittavat 19 mm:n korotusta.
Ohuet välikappaleet tarkoittavat 9,5 mm:n korotusta.
Note: Kaikki välikappaleet on asennettava niiden paikasta riippumatta.
Kiinnitä syvyydenrajoittimen pidätin ja välikappaleet pysäyttimeen lukitussokalla.
Toista vaiheet 3–5 koneen toisella puolella.
Important: Varmista, että välikappaleet ovat vasemman ja oikean pysäyttimen ylä- ja alapuolella samassa kohtaa.
Asenna ilmastusyksikön suojus. Katso kohta Ilmastusyksikön suojuksen asennus.
Note: Manuaalitilassa ilmastettaessa manuaalinen maanpinnan myötäily on asetettava tietokeskuksesta aina, kun moottori käynnistetään.
Käännä virta-avain KäYNNISSä-asentoon.
Note: Älä käynnistä moottoria.
Anna PIN-koodi, jos haluat käyttää suojattuja valikoita. Katso Suojattujen valikoiden käyttö.
Siirry tietokeskuksessa PääVALIKKOON.
Paina alas-painiketta, kunnes KONEEN ASETUKSET ‑vaihtoehto on valittuna, ja paina sitten valintapainiketta.
Paina alas-painiketta, kunnes MANUAL AERATION (MANUAALINEN ILMASTUS) ‑vaihtoehto on valittuna, ja aseta manuaalinen ilmastus Kuva 113Päällä-ASENTOON PAINAMALLA VALINTAPAINIKETTA ().

Käynnistä moottori.
Ilmastustila on joko Ilmastus viivelaskeutumisen tilassa tai Ilmastus välittömän laskeutumisen tilassa.
Note: Kun moottori sammutetaan ja käynnistetään, koneen oletuksena on automaattinen maanpinnan myötäilyn tila.
Pysäköi kone tasaiselle alustalle, kytke seisontajarru nostamalla kahva kokonaan ylös ja lukitsemalla se, sammuta moottori, irrota virta-avain ja odota, että kaikki liikkuvat osat ovat pysähtyneet.
Irrota ilmastusyksikön suojus. Katso kohta Ilmastusyksikön suojuksen irrotus.
Irrota lukitussokka, jolla syvyydenrajoittimen pidätin ja välikappaleet on kiinnitetty pysäytyskannattimeen (Kuva 114).


Aseta kaikki välikappaleet pysäyttimen yläpuolelle.
Kokoa syvyys-pysäytystappi ja välikkeet pysäytyskannattimeen lynch-tapilla.
Note: Kaikki välikappaleet on pakattava näin.
Toista vaiheet 3–5 koneen toisella puolella.
Asenna ilmastusyksikön suojus. Katso kohta Ilmastusyksikön suojuksen asennus.
Kun painonsiirtoa on säädetty, on mahdollista ilmastaa nurmea, joka on niin kovaa, että koneen takarenkaat nousevat ilmaan. Siitä saattaa olla seurauksena epäsäännöllinen reikien etäisyys.
Jos takarenkaat nousevat ilmaan, taaempaan rungon akseliputkeen voidaan lisätä ylimääräisiä painolevyjä. Jokainen painolevy lisää koneen painoon 28,5 kg. Levyjä voidaan lisätä enintään kaksi. Katso koneesi painolevyjen ja kiinnikkeiden osanumerot Osaluettelosta.
Tarvittavat työkalut: 15 mm:n hylsy ja hylsyavain
Important: Käytä moottoria ohitusventtiilin ollessa avoinna korkeintaan 10–15 sekunnin ajan.
Pysäköi kone tasaiselle alustalle, jos mahdollista.
Kytke seisontajarru nostamalla kahva kokonaan ylös ja lukitsemalla se, sammuta moottori, irrota virta-avain ja odota, että kaikki liikkuvat osat ovat pysähtyneet.
Irrota kaksi laippakantapulttia, joilla säilytysastia on kiinnitetty astian kannattimeen (Kuva 115).

Paikanna moottorin ja hydraulipumpun välisen ohitusventtiilin ruuvin peitetulppa kuvan mukaisesti (Kuva 116).

Kierrä ohitusventtiiliä 15 mm:n hylsyllä ja hylsyavaimella vastapäivään 1½ kierrosta.
Important: Kierrä ohitusventtiiliä korkeintaan 1½ kierrosta.
Jos konetta hinataan, se on tehtävä etuosan kiinnityslenkistä (Kuva 117).
Important: Vedä/työnnä konetta korkeintaan 30,5 metriä ja korkeintaan 1,6 kilometrin tuntinopeudella, jotta hydraulijärjestelmän osat eivät vaurioidu.

Vapauta seisontajarru laskemalla kahva ennen koneen työntämistä/vetämistä.
Important: Seisontajarru on vapautettava laskemalla kahva ennen koneen liikuttamista.
Important: Ohitusventtiili on suljettava koneella ajamista varten. Älä yritä käyttää vetojärjestelmää ohitusventtiilin ollessa auki.
Paikanna moottorin ja hydraulipumpun välisen ohitusventtiilin ruuvi.
Note: Ohitusventtiilin ruuvin peitetulpan paikka näkyy kuvassa (Kuva 118).

Kierrä ohitusventtiiliä 15 mm:n hylsyllä ja hylsyavaimella myötäpäivään 1½ kierrosta.
Note: Älä kiristä ohitusventtiilin ruuvia liikaa.
Asenna ohitusventtiilin ruuvin peitetulppa hydraulipumppuun 15 mm:n ruuviavaimella.
Kiinnitä säilytysastia kannattimeen kahdella laippakantapultilla.
Jos moottori sammuu, kun ilmastusyksikkö on laskettuna ja piikit ovat kiinni maassa, eikä moottoria voi käynnistää, suorita joko Ilmastusyksikön nosto käynnistimellä tai Piikkikannattimien irrottaminen varsista.
Käännä virta-avain KäYNNISSä-asentoon.
Siirry tietokeskuksessa PääVALIKKOON.
Paina alas-painiketta, kunnes HUOLTO-vaihtoehto on valittuna, ja paina sitten valintapainiketta (Kuva 119).

Paina alas-painiketta, kunnes SERVICE LIFT (HUOLTONOSTO) ‑vaihtoehto on valittuna, ja paina sitten valintapainiketta (Kuva 120).
Note: Service Lift (Huoltonosto) ‑vaihtoehdon kohdalla tekstiksi vaihtuu PääLLä.

Siirrä avain KäYNNISTYS-asentoon ja käytä käynnistintä 10 sekunnin ajan.
Important: Älä käytä käynnistintä kerralla yli 10 sekunnin ajan. Jos piikit eivät nousseet kokonaan maasta, odota 30 sekunnin ajan käynnistysyritysten välillä. Näiden ohjeiden laiminlyönti saattaa rikkoa käynnistysmoottorin.
Note: Ilmastusyksikkö nostaa piikit maasta.
Important: Piikkien on oltava kokonaan irti maasta, ennen kuin konetta voi liikuttaa.
Avaa ohitusventtiili, katso Hydraulipumpun ohitus ja koneen liikuttaminen.
Työnnä/vedä kone lähellä olevaan paikkaan huoltotoimien jatkamiseksi tai lastaa perävaunuun.
Important: Vedä/työnnä konetta korkeintaan 30,5 metrin matka ja korkeintaan 1,6 kilometrin tuntinopeudella, jotta hydraulijärjestelmä ei vaurioidu.
Irrota piikkikannattimet varsista.
Avaa ohitusventtiili, katso Hydraulipumpun ohitus ja koneen liikuttaminen.
Työnnä/vedä kone lähellä olevaan paikkaan huoltotoimien jatkamiseksi tai lastaa perävaunuun.
Important: Vedä/työnnä konetta korkeintaan 30,5 metrin matka ja korkeintaan 1,6 kilometrin tuntinopeudella, jotta hydraulijärjestelmä ei vaurioidu.
Tee ilmastuksen aikana hitaita käännöksiä. Älä tee teräviä käännöksiä ilmastusyksikön ollessa kytkettynä. Suunnittele ilmastuksen ajoväylä etukäteen, ennen kuin lasket ilmastajan alas.
Tarkkaile aina liikesuuntaa ja siinä mahdollisesti olevia esteitä. Vältä ilmastamista rakennusten, aitojen ja muiden laitteiden vieressä.
Varmista riittävän usein taaksepäin katsomalla, että kone toimii oikein ja että ajolinjan kohdistus edellisiin ajolinjoihin säilyy.
Poista aina alueelta kaikki vaurioituneet koneenosat, kuten rikkoutuneet piikit, jotta ne eivät joudu ruohonleikkureihin tai muihin nurmikonhoitolaitteisiin.
Vaihda rikkoutuneet piikit sekä tarkista ja korjaa vielä käyttökelpoisten piikkien vauriot. Korjaa muut konevauriot ennen käytön aloittamista.
Jos halutaan ilmastaa laitteen normaalia toimintaleveyttä kapeammalla alueella, piikkejä voidaan poistaa. Piikkipäät on kuitenkin jätettävä paikoilleen varsiin, jotta laitteen tasapaino säilyy.
Tämä kone ilmastaa syvemmältä kuin useimmat viheriöilmastajat. Luonnonvaraisilla tai muokatuilla kohotetuilla viheriöillä ja tiiauspaikoilla ilmastusjätteen poistaminen kokonaisuudessaan saattaa olla hankalaa syvyyden ja pitempien, onttojen piikkien takia. Tämä johtuu kovemmasta luonnonvaraisesta maaperästä, joka tarttuu piikin päähän. Viheriöille/tiiauspaikoille tarkoitetut Toron sivupiikit pysyvät puhtaampina, ja niiden puhdistus on nopeampaa. Tämä ongelma häviää lopulta jatkuvan ilmastuksen ja pintalannoituksen myötä.
Tämä kone on suunniteltu tarjoamaan mahdollisimman paljon syvyyttä. Joissakin nurmiolosuhteissa nurmisuojukset ja/tai nurmisuojusten pultit voivat kuitenkin aiheuttaa vaurioita, kun ilmastusta tehdään täyden syvyyden asetuksella. Jos ilmastus suurimmalla sallitulla syvyydellä (minkä tahansa pituisella piikillä) maan korkeuden kalibroinnin suorittamisen jälkeen aiheuttaa nurmisuojuksen pulttien laahaamista tai nurmen koskettamista, vähennä syvyyttä yhdellä pykälällä (6,3 mm).
Jos maaperä on liian kiinteää halutun ilmastussyvyyden saavuttamiseksi, ilmastusyksikkö voi alkaa pomppia. Se johtuu piikkien läpäisylle liian kovasta maaperästä. Ongelmaa voidaan yrittää korjata seuraavasti:
Älä ilmasta nurmea, jos maa on liian kova tai kuiva. Parhaat ilmastustulokset saadaan sateen tai edellispäiväisen nurmen kastelun jälkeen.
Vaihda kolmipiikkiseen päätä, jos olet yrittänyt käyttää nelipiikkistä päätä, tai vähennä piikkien määrää vartta kohden. Pyri pitämään piikkikokoonpano symmetrisenä, jotta varret kuormittuvat tasaisesti.
Jos maaperä on kovaa, vähennä ilmastajan upotussyvyyttä (syvyysasetusta), puhdista ilmastusjätteet, kastele nurmi ja ilmasta se uudelleen käyttämällä syvempää upotussyvyyttä.
Kovan pohjamaan päälle rakennettujen maaperätyyppien (esim. maata/hiekkaa kallioisen maaperän päällä) ilmastus saattaa heikentää reikien laatua. Näin tapahtuu, jos ilmastussyvyys on suurempi kuin päälle rakennetun maan paksuus ja pohjamaa on liian kovaa läpäistäväksi. Kun piikit osuvat kovempaan pohjamaahan, ilmastaja saattaa nousta, jolloin reikien yläosista tulee soikeita. Vähennä ilmastussyvyyttä, jotta piikit eivät yllä kovaan pohjamaahan.
Reikien johtoreunan laatu heikkenee, kun reikä on halkinainen (eteenpäin vedetty).
Jos reikien johtoreunan laatu heikkenee, tarkista piikkien maan korkeuden kalibrointi, katso Piikkien maan korkeuden kalibroinnin tarkistus.
Kaksirivisen mallin vuoksi minipiikkinen ilmastusyksikkö edellyttää, että reikien etäisyydeksi määritetään 6,3 cm. Ajonopeus on ratkaisevassa asemassa, jotta reikien etäisyydeksi saadaan 3,2 cm. Jos reikien etäisyys vaatii hienosäätöä, katso ohjeet kohdasta Reikien etäisyyden asetus.
Käytettäessä minipiikkejä tai isompia umpipiikkejä nurmen juurikko on tärkeässä asemassa, jotta voidaan estää juurivyöhykkeen repeytymisestä aiheutuva nurmen vahingoittuminen. Jos kaksi keskivartta alkavat nostaa nurmea tai jos juurivyöhyke vaurioituu liikaa, toimi seuraavasti:
Lisää reikien etäisyyttä
Käytä pienempiä piikkejä
Vähennä piikkisyvyyttä
Irrota joitain piikkejä.
Umpipiikin nostoliike nurmesta vedettäessä saattaa vaurioittaa nurmea. Tämä nosto saattaa repiä juurivyöhykettä, jos piikkien tiheys tai halkaisija on liian suuri.
Ilmastettaessa pitkillä umpipiikeillä (esim. 1 × 10 cm) tai neulatyyppisillä piikeillä reikien etuosa saattaa haljeta tai tukkeutua. Erinomaisen reikien laadun tätä kokoonpanoa käytettäessä voi saavuttaa seuraavalla tavalla:
Kalibroi piikkien maan korkeus, katso Piikkien maan korkeuden kalibrointi.
Laske moottorin korkein joutokäyntinopeus 2 800 – 2 900 kierrokseen minuutissa.
Note: Reikien etäisyys ei muutu, sillä vetonopeus ja ilmastusyksikön nopeus ovat suhteessa moottorin nopeuteen.
Jos moottorin nopeuden hidastaminen parantaa reikien laatua pitkiä umpipiikkejä tai neulatyyppisiä piikkejä käytettäessä, säädä Roto-Link-vaimenninta.
Note: Useimmissa olosuhteissa tehdasasetus toimii parhaiten.
Jos reiän etuosa halkeaa tai tukkeutuu, jäykempi Roto-Link-asetus auttaa estämään reikien painumista ja parantaa reikien laatua.
Jos reikien takaosa halkeaa tai tukkeutuu, pehmeämpi Roto-Link-asetus parantaa reikien laatua.
Note: Roto-Link-vaimentimet on palautettava ennalleen, jos piikkityypiksi muutetaan uudestaan ilmastustyyppinen piikki tai jokin minipiikeistä.
Pysäköi kone tasaiselle alustalle, kytke seisontajarru nostamalla kahva kokonaan ylös ja lukitsemalla se, sammuta moottori, irrota virta-avain ja odota, että kaikki liikkuvat osat ovat pysähtyneet.
Irrota ilmastusyksikön suojus. Katso kohta Ilmastusyksikön suojuksen irrotus.
Kiinnitä ilmastusyksikkö suojalukolla. Katso kohta Ilmastusyksikön tukeminen suojalukolla.
Note: Tehtaalla Roto-Link-vaimentimen akseliin asetetaan yksi Roto-Link-välikappale ja molempiin varsiin asetetaan yksi välikappale säilytysasentoon.
Note: Roto-Link-vaimentimia säätämällä konetta voi käyttää moottorin täydellä teholla (3 400 kierrosta minuutissa), mutta ilmastettaessa moottorin nopeutta on ehkä hidastettava, jotta reikien laatu paranee.
Irrota kaksi laippalukkomutteria, joilla Roto-Link-vaimentimen akseli on kiinnitetty koneen takarunkoon (Kuva 121).

Irrota välikappale (jos se on säilytysasennossa) ja karkaistut soikeat aluslaatat.
Käännä vaimentimen vartta ja vaimentimen akselia alaspäin (Kuva 122).

Korjaa Roto-Link-välikappaleen sijoittelulla seuraavat reikien laatuheikkoudet:
Note: Kukin välikappale vastaa 12,7 mm:ä. Alempi puskurin välikappale on pidettävä kiinnitettynä vaimentimen akseliin.
Jos reikien etuosa halkeaa tai tukkeutuu, aseta välikappaleet takarungon yläpuolelle säilytysasentoon.
Jos reikien takaosa halkeaa tai tukkeutuu, aseta molemmat välikappaleet takarungon yläpuolelle Roto-Link-vaimentimen akselin kummallekin puolelle.
Käännä vaimentimen vartta ja vaimentimen akselia ylöspäin ja työnnä tapit koneen takarungon reikien läpi.
Kiinnitä vaimentimen akseli ja välikappaleet takarunkoon karkaistuilla soikeilla aluslaatoilla ja lukkomuttereilla (Kuva 123).

Kiristä laippalukkomutterit momenttiin 47–61 N·m.
Toista vaiheet 1–7 kahden seuraavan varren kanssa.
Aseta suojalukko säilytysasentoon. Katso kohta Suojalukon asettaminen säilytysasentoon.
Asenna ilmastusyksikön suojus. Katso kohta Ilmastusyksikön suojuksen asennus.
Suorita piikkien maan korkeuden kalibrointi, katso Piikkien maan korkeuden kalibrointi.
Vie kone testausalueelle, ilmasta nurmea ja vertaa reikien laatua.
Jos reiän laatu parani, toista kohdat Koneen valmistelu, Roto-Link-vaimentimien säätö ja Ilmastusyksikön suojuksen asennus, jotta saat säädettyä kolmen muun varren Roto-Link-vaimenninta.
Pysäköi kone tasaiselle alustalle, kytke seisontajarru nostamalla kahva kokonaan ylös ja lukitsemalla se, sammuta moottori, irrota virta-avain ja odota, että kaikki liikkuvat osat ovat pysähtyneet.
Laske ilmastusyksikkö alas tai lukitse se suojalukolla, kun konetta ei käytetä.
Pidä kaikki koneen osat hyvässä kunnossa ja kaikki kiinnitykset tiukalla.
Vaihda kaikki kuluneet, vaurioituneet tai puuttuvat tarrat.
| Huoltoväli | Huoltotoimenpide |
|---|---|
| Aina ennen käyttöä tai päivittäin |
|
Important: Älä puhdista konetta suolapitoisella tai kierrätetyllä vedellä.
Important: Älä pese konetta painepesurilla.
Pysäköi kone tasaiselle alustalle, kytke seisontajarru nostamalla kahva kokonaan ylös ja lukitsemalla se, sammuta moottori, irrota virta-avain ja odota, että kaikki liikkuvat osat ovat pysähtyneet.
Pese kone huolellisesti.
Käytä puutarhaletkua ilman suutinta, jotta vesi ei pääse tiivisteiden ohi ja heikennä laakerirasvaa.
Poista paakkuuntunut lika harjalla.
Käytä suojusten puhdistamiseen mietoa puhdistusainetta.
Autovahan levittäminen säännöllisesti puhdistuksen jälkeen säilyttää ulkokuoren kiiltävän pinnan.
Tarkista koneen vauriot, öljyvuodot sekä komponenttien ja piikkien kuluminen.
Irrota, puhdista ja öljyä piikit. Sumuta kevyttä öljysumua ilmastusyksikön laakereihin (kammen ja vaimentimen nivelet).
Important: Kiinnitä ilmastusyksikkö suojalukolla, jos kone varastoidaan muutamaa päivää pidemmäksi ajaksi.
Koneen etu- ja takapuolella on kiinnityslenkit (Kuva 124, Kuva 125 ja Kuva 126).
Note: Käytä hyväksyttyjä hihnoja koneen kiinnitykseen. Katso koneen paino kohdastaTekniset tiedot.



Koneen ajaminen kadulla tai tiellä ilman suuntavilkkuja, valoja, heijastavia merkintöjä tai hitaan ajoneuvon merkkiä on vaarallista ja saattaa aiheuttaa henkilövahinkoihin johtavan onnettomuuden.
Älä käytä konetta julkisella tiellä tai kadulla.
Important: Käytä täysleveää ramppia lastatessasi konetta perävaunuun tai lavalle.
Lastaa kone perävaunuun tai lavalle (ilmastusyksikkö ensin – suositus).
Kytke seisontajarru nostamalla kahva kokonaan ylös ja lukitsemalla se, sammuta moottori, irrota virta-avain ja odota, että kaikki liikkuvat osat ovat pysähtyneet.
Kiinnitä ilmastusyksikkö suojalukolla. Katso kohta Ilmastusyksikön tukeminen suojalukolla.
Sulje polttoaineen sulkuventtiili. Katso kohta Polttoaineen sulkuventtiili.
Kiinnitä kone perävaunuun tai lavaan kaapeleilla, ketjuilla tai hihnoilla kiinnityspisteissä. Katso kohta Kiinnityspisteet.
| Paino | 745 kg tai 829 kg kahden lisäpainon kanssa |
| Leveys | Vähintään 130 cm |
| Pituus | Vähintään 267 cm |
| Ramppikulma | Enintään 16 astetta (kaltevuus 3,5/12) |
| Lastaussuunta | Ilmastusyksikkö ensin (suositus) |
| Ajoneuvon vetokapasiteetti | Suurempi kuin perävaunun kokonaispaino |
Note: Kytkentä- ja hydraulikaavion voi tarvittaessa ladata maksuttomasti osoitteesta www.Toro.com etsimällä oman koneen kotisivulla olevasta opaslinkistä.
Note: Lisää huoltotoimenpiteitä on moottorin käyttöoppaassa.
Note: Koneen vasen ja oikea puoli määritellään normaalista käyttöasennosta käsin.
Pysäköi kone tasaiselle alustalle, kytke seisontajarru nostamalla kahva kokonaan ylös ja lukitsemalla se, sammuta moottori, irrota virta-avain ja odota, että kaikki liikkuvat osat ovat pysähtyneet. Koneen on annettava jäähtyä ennen sen säätöä, huoltoa, puhdistusta tai varastointia.
Tee vain tässä käyttöoppaassa kuvattuja huoltotoimia. Jos kone vaatii suurempaa korjausta tai jos tarvitset apua, ota yhteys valtuutettuun Toro-jälleenmyyjään.
Varmista koneen turvallinen käyttökunto tarkistamalla, että mutterit, pultit ja ruuvit on kiristetty huolellisesti.
Jos mahdollista, älä huolla konetta moottorin ollessa käynnissä. Pysy etäällä liikkuvista osista.
Vapauta paine varovasti osista, joihin on varastoitunut energiaa.
Tarkista piikkien kiinnityspulttien kiristysmomentti päivittäin.
Varmista huolto- tai säätötöiden jälkeen, että kaikki suojukset on asennettu takaisin paikoilleen ja että konepelti on tiukasti kiinni.
| Huoltoväli | Huoltotoimenpide |
|---|---|
| 8 ensimmäisen käyttötunnin jälkeen |
|
| 50 ensimmäisen käyttötunnin jälkeen |
|
| Aina ennen käyttöä tai päivittäin |
|
| 25 käyttötunnin välein |
|
| 50 käyttötunnin välein |
|
| 100 käyttötunnin välein |
|
| 200 käyttötunnin välein |
|
| 250 käyttötunnin välein |
|
| 400 käyttötunnin välein |
|
| 500 käyttötunnin välein |
|
| Ennen varastointia |
|
| Vuosittain |
|
Important: Lisää huoltotoimenpiteitä on moottorin käyttöoppaassa.
Ota tästä sivusta kopioita.
| Tarkistettavat kohdat | Viikolle: | ||||||
|---|---|---|---|---|---|---|---|
| Ma | Ti | Ke | To | Pe | La | Su | |
| Tarkista turvajärjestelmän toiminta. | |||||||
| Tarkista seisontajarrun toiminta. | |||||||
| Tarkista moottoriöljyn määrä. | |||||||
| Tarkista polttoaineen määrä. | |||||||
| Tarkista ilmanpuhdistin. | |||||||
| Tarkista, ettei moottorissa ole roskia. | |||||||
| Tarkista, kuuluuko moottorista epätavallisia ääniä. | |||||||
| Tarkista, kuuluuko käytön aikana epätavallisia ääniä. | |||||||
| Tarkista hydraulinesteen määrä. | |||||||
| Tarkista, ettei hydrauliletkuissa ole vaurioita. | |||||||
| Tarkista nestevuodot. | |||||||
| Tarkista mittareiden toiminta. | |||||||
| Tarkista piikkien kunto. | |||||||
| Korjaa maalipinnan vauriot. | |||||||
Important: Lisää huoltotoimenpiteitä on moottorin käyttöoppaassa.
| Tarkastuksen suoritti: | ||
| Vika | Päivämäärä | Huomio |
| 1 | ||
| 2 | ||
| 3 | ||
| 4 | ||
| 5 | ||
| 6 | ||
| 7 | ||
| 8 | ||
Jos jätät avaimen virtalukkoon, joku voi vahingossa käynnistää moottorin ja vahingoittaa vakavasti lähellä olijoita.
Pysäköi kone tasaiselle alustalle, kytke seisontajarru nostamalla kahva kokonaan ylös ja lukitsemalla se, sammuta moottori, irrota virta-avain ja odota, että kaikki liikkuvat osat ovat pysähtyneet.
Important: Tämän koneen suojusten kiinnikkeiden on tarkoitus pysyä kiinni suojuksessa sen irrotuksen jälkeen. Löysää kunkin suojuksen kaikkia kiinnikkeitä muutama kierros niin, että suojus on löysällä mutta kuitenkin yhä paikallaan. Löysää sitten kiinnikkeitä lisää, kunnes suojus irtoaa. Näin vältetään pulttien irtoaminen vahingossa pidikkeistä.
Pysäköi kone tasaiselle alustalle.
Kytke seisontajarru nostamalla kahva kokonaan ylös ja lukitsemalla se. Katso kohta Seisontajarrun kytkentä.
Sammuta moottori, irrota virta-avain ja odota, että kaikki liikkuvat osat ovat pysähtyneet, ennen kuin poistut koneelta. Katso kohta Moottorin sammutus.
Anna koneen jäähtyä.
Jos konetta ei tueta kunnolla puukappaleilla tai tunkeilla, se saattaa liikkua tai pudota, mistä saattaa olla seurauksena henkilövahinko.
Käytä lisälaitteita ja renkaita vaihtaessasi tai muissa huoltotoimenpiteissä tarkoitukseen sopivia pukkeja, nostolaitteita ja tunkkeja.
Varmista, että kone on pysäköity betonilattian kaltaiselle vankalle, tasaiselle pinnalle.
Irrota ennen koneen nostamista kaikki lisälaitteet, jotka saattavat haitata koneen turvallista ja oikeaoppista nostamista.
Kiilaa tai pukita renkaat. Käytä nostetun koneen tukemiseen tunkkeja tai umpipuukappaleita.
Valmistele kone huoltoa varten. Katso kohta Koneen valmistelu huoltoa varten.
Kiilaa takarenkaat, jotta laite ei voi liikkua.
Important: Älä käytä etunapamoottoria nostokohtana, jotta napamoottorit eivät vahingoitu.
Aseta tunkki huolellisesti renkaiden tukivarren alle (Kuva 127).

Nosta koneen etuosa irti maasta.
Aseta rungon etuosan alle pukit tai puiset pölkyt tukemaan konetta.
Valmistele kone huoltoa varten. Katso kohta Koneen valmistelu huoltoa varten.
Kiilaa eturengas, jotta laite ei voi liikkua.
Important: Älä käytä takanapamoottoria nostokohtana, jotta napamoottorit eivät vahingoitu.
Sijoita tunkki oikein aivan takapyörän sisäpuolella olevan runkolaatan alle (Kuva 128).

Note: Jos käytettävissä on nostolaite, nosta koneen takapää sillä. Kiinnitä nostolaite ilmastusyksikön laakeripesissä oleviin silmukoihin (Kuva 129).

Nosta koneen takaosa tunkilla (tai nostolaitteella) irti maasta.
Aseta rungon alle pukit tai puiset pölkyt tukemaan konetta.
Aseta hihnasuojuksen asennuskannatin kohdakkain koneen rungon suojuksen tukikannattimen kanssa (Kuva 133).

Laske hihnasuojus (Kuva 134).

Kiinnitä suojus laskemalla lukituskahva kokonaan alas (Kuva 135).

Jos koneessa on CE-hihnasuojuksen salpanaru, pujota narun pultti kannen salpaan ja kiristä pultti (Kuva 136).


Jos koneessa on CE-jousilukot, löysää lukituslevyn pulttia, kunnes lukituslevy ohittaa ilmastusyksikön sivussa olevan aukon (Kuva 138).

Avaa lukitus kiertämällä lukituslevyä (Kuva 138).
Toista vaiheet 1–2 suojuksen toisella puolella.
Avaa ilmastusyksikön suojuksen kiinnitys neljästä kohtaa (Kuva 137 ja Kuva 139).

Nosta ilmastusyksikön suojus koneesta (Kuva 140).

Kohdista ilmastusyksikön suojus koneeseen kuvan mukaisesti (Kuva 141).

Kiinnitä ilmastusyksikön suojus neljästä kohtaa (Kuva 142).
Jos koneessa on CE-jousilukot, kierrä lukituslevyä, kunnes se on kohdakkain ilmastusyksikön suojuksen sivussa olevan aukon kanssa (Kuva 143).



Kiristä lukituslevyn pultti (Kuva 143).
Toista vaiheet 3 ja 4 koneen toisella puolella.
| Huoltoväli | Huoltotoimenpide |
|---|---|
| 500 käyttötunnin välein |
|
| Vuosittain |
|
Koneessa ei ole voitelua edellyttäviä rasvanippoja.
Important: Laakerien materiaali- ja valmistusvioista johtuvat ongelmat ovat harvinaisia. Yleisimmin viat johtuvat suojatiivisteiden läpi kulkeutuvasta kosteudesta ja liasta. Rasvattavat laakerit on huollettava säännöllisesti, jotta laakeripinnalle ei kerry laakeria vaurioittavia epäpuhtauksia. Kestovoidellut laakerit on aluksi täytettävä erikoisrasvalla. Laakereissa on käytettävä vahvaa sisäistä tiivistettä, joka pitää epäpuhtaudet ja kosteuden pois pyörivistä osista.
Tiivistetyt laakerit eivät tarvitse voitelua tai lyhyen aikavälin huoltoa. Näin minimoidaan tarvittavat rutiinihuollot ja vähennetään rasvan aiheuttamien nurmivaurioiden mahdollisuutta. Nämä tiivistetyt laakerijärjestelmät toimivat hyvin ja pitkään normaalissa käytössä. Laakereiden kunto ja tiivisteiden eheys on kuitenkin tarkistettava aika ajoin seisokkiajan välttämiseksi. Laakerit on tarkastettava kausittain ja vaurioituneet tai kuluneet laakerit on vaihdettava. Laakerien pitäisi toimia hyvin ilman ei-toivottuja ominaisuuksia, kuten kuumentumista, melua, väljyyttä tai ruostumista.
Näiden laakeri-/tiivistesarjojen käyttöolosuhteista (esim. hiekka, nurmikemikaalit, vesi, iskut) johtuen ne ovat normaaleja kuluvia osia. Jos laakereihin tulee vika muusta syystä kuin materiaali- tai valmistusvirheiden takia, ne eivät yleensä ole takuun alaisia.
Note: Laakereiden käyttöikä saattaa lyhentyä väärien pesukäytäntöjen takia. Älä pese konetta sen ollessa vielä kuuma ja vältä laakereiden suihkuttamista korkealla paineella tai suurella määrällä nestettä.
Uusissa koneissa laakereiden tiivisteistä tulee usein hiukan rasvaa. Rasva muuttuu mustaksi, kun siihen kertyy likaa, ei liiallisen kuumuuden vuoksi. Ylimääräinen rasva on hyvä pyyhkiä pois tiivisteistä ensimmäisen kahdeksan käyttötunnin jälkeen. Tiivisteen reunan ympärys voi vaikuttaa olevan aina rasvan kostuttama. Tämä ei heikennä laakerin käyttöikää, vaan pitää tiivisteen reunan voideltuna.
Moottori on sammutettava ennen öljyn tarkistusta tai lisäystä kampikammioon.
Älä muuta kierrosnopeussäätimen nopeutta tai käytä moottoria ylikierroksilla.
| Huoltoväli | Huoltotoimenpide |
|---|---|
| 25 käyttötunnin välein |
|
| 100 käyttötunnin välein |
|
Valmistele kone huoltoa varten. Katso kohta Koneen valmistelu huoltoa varten.
Puhdista ilmanpuhdistimen ympäristö, jotta likaa ei pääse moottoriin aiheuttamaan vahinkoa.
Kierrä nuppi auki ja irrota ilmanpuhdistimen suojus (Kuva 144).

Liu’uta vaahtomuovinen esisuodatin varovasti irti paperipanoksesta (Kuva 144).
Kierrä suojuksen mutteri auki ja irrota suojus, välikappale ja paperisuodatin (Kuva 144).
Important: Vaihda vaahtomuovipanos, jos se on repeytynyt tai kulunut.
Pese vaahtomuovinen esisuodatin nestesaippualla ja lämpimällä vedellä. Kun se on puhdas, huuhtele se huolellisesti.
Kuivaa esisuodatin puristamalla sitä puhtaaseen riepuun (älä väännä).
Levitä esisuodattimen pintaan 3–6 ml öljyä (Kuva 145).

Purista esisuodatinta, jotta öljy leviää.
Tarkista, ettei paperisuodatin ole repeytynyt, ettei siinä ole öljykalvoa ja ettei kumitiiviste ole vaurioitunut (Kuva 146).

Important: Älä koskaan puhdista paperipanosta. Vaihda paperipanos, jos se on likainen tai vaurioitunut.
Important: Moottoria tulee käyttää vain silloin, kun ilmanpuhdistimen vaahtomuovi- ja paperipanokset on kunnolla asennettu, jotta moottori ei pääse vaurioitumaan.
Liu’uta vaahtomuovinen esisuodatin varovasti paperipanokseen (Kuva 147).

Aseta ilmanpuhdistinkokoonpano ilmanpuhdistimen kantaan.
Kokoa suojus, välikappale ja suojuksen mutteri.
Kiristä mutteri momenttiin 11 N·m.
Asenna ilmanpuhdistimen suojus ja kiinnitä se nupilla.
Öljylaatu: laadukas, puhdistava moottoriöljy, API-huoltoluokitus SJ tai korkeampi
Öljyn viskositeetti: katso alla olevasta taulukosta.

| Huoltoväli | Huoltotoimenpide |
|---|---|
| Aina ennen käyttöä tai päivittäin |
|
Moottorin kampikammiossa on toimitettaessa öljyä, mutta öljymäärä on joka tapauksessa tarkistettava sekä ennen ensimmäistä käynnistystä että sen jälkeen.
Käytä laadukasta moottoriöljyä. Katso kohta Moottoriöljyn laatuvaatimukset.
Important: Älä täytä kampikammiota liian täyteen öljyä.Älä käytä moottoria, jos moottoriöljyn taso on alarajan merkin alapuolella.
Note: Paras aika tarkistaa moottoriöljy on moottorin ollessa viileä ennen päivän ensimmäistä käynnistystä. Jos moottori on ollut käynnissä, anna öljyn valua takaisin öljypohjaan ainakin 10 minuutin ajan ennen tarkistusta.
Valmistele kone huoltoa varten. Katso kohta Koneen valmistelu huoltoa varten.
Anna moottorin jäähtyä.
Puhdista öljyntäyttökorkki ja mittatikku (Kuva 149).

Vedä mittatikku ulos, pyyhi se puhtaaksi ja työnnä se kokonaan takaisin paikalleen.
Vedä mittatikku ulos ja tarkista öljymäärä.
Moottoriöljyn tason on oltava mittatikun merkkien F (täynnä) ja L (alhainen) välissä.
Jos öljyn pinta jää merkin L (alhainen) alle, irrota öljyntäyttökorkki ja lisää määritettyä öljyä, kunnes pinta yltää mittatikun merkkiin F (täynnä) saakka.
Asenna öljyntäyttökorkki ja mittatikku.
| Huoltoväli | Huoltotoimenpide |
|---|---|
| 50 ensimmäisen käyttötunnin jälkeen |
|
| 100 käyttötunnin välein |
|
Kampikammion öljytilavuus: noin 1,9 l suodattimen kanssa.
Käynnistä moottori ja anna sen käydä viisi minuuttia. Näin öljy lämpenee ja tulee juoksevammaksi.
Pysäköi kone siten, että valutuspuoli on hieman vastakkaista puolta alempana, jotta kaikki öljy valuu pois, sammuta moottori, kytke seisontajarru nostamalla kahva kokonaan alas ja lukitsemalla se ja irrota virta-avain.
Aseta öljyntyhjennystulpan alle astia ja irrota tulppa (Kuva 150).
Note: Anna kaiken öljyn valua pois.

Kierrä öljyntyhjennystulppa tiukasti kiinni.
Note: Toimita käytetty öljy valtuutetun käsittelylaitoksen hävitettäväksi.
Aseta astia öljynsuodattimen alle ja irrota suodatin (Kuva 150).
Note: Toimita käytetty öljynsuodatin valtuutetun käsittelylaitoksen hävitettäväksi.
Pyyhi suodattimen istukan pinta puhtaaksi.
Täytä uusi öljynsuodatin määritetyllä öljyllä kierteiden alareunaan asti.
Anna öljyn imeytyä suodattimeen kaksi minuuttia ja kaada sitten ylimääräinen öljy pois.
Sivele ohut kerros uutta öljyä suodattimen tiivisteelle.
Kierrä öljynsuodatinta suodattimen istukkaan, kunnes tiiviste koskettaa suodattimen istukkaa (Kuva 150). Kiristä sitten vielä puoli kierrosta.

Puhdista öljyntäyttöaukon korkkia ja mittatikkua ympäröivä alue (Kuva 152).

Irrota öljyntäyttökorkki ja kaada hitaasti noin 80 % määritetystä öljymäärästä venttiilikopan aukkoon.
Lisää öljyä hitaasti mittatikun Full (Täynnä) -merkkiin asti. Katso kohdat Moottoriöljyn laatuvaatimukset ja Moottoriöljyn määrän tarkistus.
Important: Älä täytä kampikammiota liian täyteen öljyä.
Asenna öljyntäyttökorkki ja mittatikku.
| Huoltoväli | Huoltotoimenpide |
|---|---|
| 200 käyttötunnin välein |
|
Valmistele kone huoltoa varten. Katso kohta Koneen valmistelu huoltoa varten.
Vedä sytytystulppien johdot irti (Kuva 153).

Puhdista sytytystulppien ympäristö.
Irrota sekä sytytystulpat että metallitiivisteet sytytystulppahylsyllä.
Sytytystulpan tyyppi: Champion RC12YC tai vastaava
Kärkiväli: 0,75 mm
Tarkastele sytytystulppien keskikohtaa (Kuva 154). Jos näet eristeessä vaaleanruskeata tai harmaata, moottori toimii moitteettomasti. Jos eriste on mustunut, ilmanpuhdistin on yleensä likainen.
Important: Sytytystulppia ei saa koskaan puhdistaa. Sytytystulpat tulee vaihtaa aina, kun eriste on mustunut, kun elektrodit ovat kuluneet tai kun tulpassa on öljykalvo tai murtumia.

Tarkista keski- ja sivuelektrodien kärkiväli.
Taivuta sivuelektrodia, jos kärkiväli ei ole oikea.
Varmista, että keski- ja sivuelektrodien kärkiväli on oikea, ennen kuin asennat kunkin sytytystulpan. Irrota ja asenna sytytystulpat sytytystulpan avaimella. Tarkista ja säädä kärkiväliä kärkivälin työkalulla tai rakotulkilla. Asenna tarvittaessa uudet sytytystulpat.
Kierrä sytytystulpat niiden reikiin moottorissa.
Kiristä sytytystulpat momenttiin 27 N·m sytytystulppahylsyllä ja momenttiavaimella.
Kiinnitä sytytystulppien johdot sytytystulppiin (Kuva 155).

| Huoltoväli | Huoltotoimenpide |
|---|---|
| Aina ennen käyttöä tai päivittäin |
|
Tarkista ja puhdista moottorin säleikkö ennen jokaista käyttökertaa. Poista kaikki kertynyt ruoho, lika ja muut roskat moottorin ilmanottoritilästä.
Tietyissä olosuhteissa polttoaine ja polttoainehöyryt ovat erittäin tulenarkoja ja räjähdysherkkiä. Polttoaineen aiheuttamasta tulipalosta tai räjähdyksestä voi olla seurauksena palovammoja ja omaisuusvahinkoja.
Täytä polttoainesäiliö ulkona avoimessa tilassa moottorin ollessa sammutettu ja jäähtynyt. Pyyhi läikkynyt polttoaine pois.
Polttoainesäiliötä ei saa täyttää aivan täyteen. Lisää polttoainetta polttoainesäiliöön, kunnes pinta on 25 mm säiliön (ei täyttökaulan) yläreunan alapuolella. Säiliöön jäävä tyhjä tila antaa polttoaineen laajentua.
Älä tupakoi polttoainetta käsitellessäsi ja pysy kaukana avotulesta tai paikoista, joissa kipinä voi sytyttää polttoainehöyryt.
Säilytä polttoaine puhtaassa, turvallisuushyväksytyssä säiliössä. Pidä korkki suljettuna.
| Huoltoväli | Huoltotoimenpide |
|---|---|
| 100 käyttötunnin välein |
|
Important: Älä asenna likaista suodatinta, jos se on irrotettu polttoaineputkesta.
Valmistele kone huoltoa varten. Katso kohta Koneen valmistelu huoltoa varten.
Sulje polttoaineen sulkuventtiili (Kuva 156).


Purista letkuliittimien päitä yhteen ja liu’uta niitä poispäin suodattimesta.
Irrota suodatin polttoaineletkuista.
Kohdista polttoainesuodatin niin, että nuoli osoittaa moottoria kohti, ja kiinnitä polttoaineletku suodattimen kiinnikkeiden päälle.
Aseta letkuliittimet lähelle polttoainesuodatinta ja kiristä liitin.
Pyyhi läikkynyt polttoaine pois.
Avaa polttoaineen sulkuventtiili.
Tietyissä oloissa polttoaine on hyvin tulenarkaa ja räjähdysherkkää. Polttoaineen aiheuttama tulipalo tai räjähdys voi aiheuttaa palovammoja ja omaisuusvahinkoja.
Polttoainesäiliön tyhjennys tulee suorittaa silloin, kun moottori on kylmä. Tyhjennys tulee suorittaa ulkona avoimessa tilassa. Pyyhi läikkynyt polttoaine pois.
Polttoainesäiliötä tyhjennettäessä ei saa tupakoida, ja tyhjennys tulee suorittaa kaukana avotulesta tai paikoista, joissa kipinä voi sytyttää polttoainehöyryt.
Valmistele kone huoltoa varten. Katso kohta Koneen valmistelu huoltoa varten.
Sulje polttoaineen sulkuventtiili (Kuva 157).


Löysää polttoainesuodattimen letkuliitintä ja liu’uta se polttoaineletkua pitkin poispäin polttoainesuodattimesta.
Vedä polttoaineletku irti polttoainesuodattimesta.
Avaa polttoaineen sulkuventtiili ja anna polttoaineen valua polttoainekanisteriin tai tyhjennysastiaan.
Note: Uusi polttoainesuodatin kannattaa asentaa nyt, koska polttoainesäiliö on tyhjä.
Asenna polttoaineletku suodattimen kiinnikkeen päälle.
Aseta letkuliitin lähelle polttoainesuodatinta ja kiristä liitin.
Irrota akun kytkennät ennen kuin korjaat konetta. Irrota kaapeli ensin miinusnavasta ja vasta sitten plusnavasta. Kytke ensin plusnavan akkukenkä ja vasta sitten miinusnavan akkukenkä.
Lataa akku avoimessa tilassa, jossa on hyvä ilmanvaihto, kaukana kipinöistä ja avotulesta. Irrota laturin virtajohto ennen kuin kytket laturin akkuun tai irrotat sen akusta.
Käytä suojavaatetusta ja eristettyjä työkaluja.
| Huoltoväli | Huoltotoimenpide |
|---|---|
| Vuosittain |
|
Pidä akun yläpuoli puhtaana.
Avaa akkutilan luukku (Kuva 158).

Pese akun yläosa ammoniakkiin tai ruokasoodaliuokseen kastetulla harjalla.
Important: Älä irrota akun täyttöaukkojen korkkeja puhdistuksen ajaksi.
Huuhtele akun ja akkutilan pinta huolellisesti puhtaalla vedellä.
Sulje ja salpaa akkutilan luukku.
| Huoltoväli | Huoltotoimenpide |
|---|---|
| Vuosittain |
|
Akun navat tai metallityökalut voivat aiheuttaa oikosulun koskettaessaan ajoneuvon metalliosia, mistä voi seurata kipinöitä. Kipinät voivat saada akun kaasut räjähtämään ja aiheuttaa siten henkilövahingon.
Kun irrotat tai asennat akun, älä anna akun napojen koskettaa koneen metalliosia.
Älä päästä metallityökaluja aiheuttamaan oikosulkua akun napojen ja laitteen metalliosien välille.
Akun kaapeleiden virheellinen asennus voi vahingoittaa konetta ja kaapeleita aiheuttaen kipinöitä. Kipinät voivat saada akun kaasut räjähtämään ja aiheuttaa henkilövahingon.
Irrota aina akun (musta) miinuskaapeli ennen (punaisen) pluskaapelin irrottamista.
Kytke aina akun pluskaapeli (punainen) ennen miinuskaapelia (musta).
Avaa akkutilan luukku (Kuva 159).

Tarkista, että akun kaapeleiden pidikkeet ovat kiinni.
Kiristä löysät akun kaapeleiden pidikkeiden kiinnitystarvikkeet.
Tarkista akun kaapeleiden pidikkeet ja akun navat syöpymien varalta.
Jos navat ovat syöpyneet, irrota akun miinuskaapeli.
Irrota akun pluskaapeli.
Puhdista kaapelin pidikkeet ja akun navat.
Kytke akun pluskaapeli.
Kytke akun miinuskaapeli.
Voitele kaapeliliittimet ja akun navat Grafo 112X -suojarasvalla (Toro-osanro 505-47).
Sulje ja salpaa akkutilan luukku.
Sähköjärjestelmä on suojattu sulakkeilla. Jos sulake avautuu, tarkista osa ja johdotus oikosulun varalta maahan.
Avaa akkutilan luukku (Kuva 160).

Irrota sulakerasian suojus (Kuva 161).
Note: Tuulettimen johtosulake sijaitsee akun takana (Kuva 162).


Poista avoin sulake.
Asenna uusi sulake, jonka ampeeriluku vastaa sulakerasian kilvessä ilmoitettua.
Kiinnitä suojus sulakerasiaan (tai tuulettimen johtosulakkeeseen).
Sulje ja lukitse akkutilan luukku.
| Huoltoväli | Huoltotoimenpide |
|---|---|
| 50 käyttötunnin välein |
|
Valmistele kone huoltoa varten. Katso kohta Koneen valmistelu huoltoa varten.
Varmista, että kaikkien renkaiden ilmanpaine on 0,83 bar. Tarkista paine, kun renkaat ovat kylmät, jotta painelukema on mahdollisimman tarkka.
Important: Epätasainen rengaspaine saattaa johtaa epätasaiseen ilmastussyvyyteen.

Pyöräpaino on erittäin raskas, 33 kg.
Ole varovainen irrottaessasi sitä rengaskokoonpanosta.
| Huoltoväli | Huoltotoimenpide |
|---|---|
| Vuosittain |
|
Koneen käyttöhihnat ovat kestäviä. Normaali altistuminen UV-säteilylle ja otsonille tai satunnainen altistuminen kemikaaleille saattaa heikentää kumiseosta ajan mittaan ja johtaa ennenaikaiseen kulumiseen tai materiaalihukkaan (esim. hihnan kerrosten irtoamiseen).
Irrota hihnasuojus. Katso kohta Hihnasuojuksen irrotus.
Tarkista hydraulipumpun, väliakselin ja kampiakselin hihnat (Kuva 164) vaurioiden, kulumisen, halkeamien tai suurien roskien varalta.
Note: Vaihda hihnat tarvittaessa.

Asenna hihnasuojus. Katso kohta Hihnasuojuksen asennus.
| Huoltoväli | Huoltotoimenpide |
|---|---|
| 8 ensimmäisen käyttötunnin jälkeen |
|
Valmistele kone huoltoa varten. Katso kohta Koneen valmistelu huoltoa varten.
Irrota hihnasuojus. Katso kohta Hihnasuojuksen irrotus.
Löysää laippakantaruuvia ja laippalukkomutteria, joilla kiristinpyörä on kiinnitetty hydraulipumpun hihnaan, kunnes pultti liikkuu kiristinpyörän kannattimen reiässä (Kuva 165).


Napauta kiristinpyörän yläosaa ja anna kiristysjousen säätää hihnan kireys.
Important: Älä kiristä hihnaa enempää kuin kiristysjousi antaa myöten, sillä muuten osat saattavat vaurioitua.
Kiristä laippakantaruuvi ja laippalukkomutteri momenttiin 37–45 N·m.
Asenna hihnasuojus. Katso kohta Hihnasuojuksen asennus.
Jos nestettä pääsee ihon alle, hakeudu välittömästi lääkäriin. Lääkärin on poistettava neste kirurgisesti muutaman tunnin sisällä.
Varmista, että kaikki hydrauliletkut ja -putket ovat hyvässä kunnossa ja että kaikki hydrauliliitokset ja -liittimet ovat tiukalla, ennen kuin lisäät hydraulijärjestelmän painetta.
Pidä keho ja kädet kaukana vuotavista rei’istä ja suuttimista, joista suihkuaa korkeapaineista hydraulinestettä.
Etsi hydraulinestevuotoja pahvin tai paperin avulla.
Poista paine varovasti hydraulijärjestelmästä, ennen kuin huollat järjestelmää.
Tue ilmastusyksikkö suojalukolla. Katso kohta Ilmastusyksikön tukeminen suojalukolla.
Sammuta moottori.
Käännä virta-avain KäYNNISSä-asentoon.
Siirry tietokeskuksessa PääVALIKKOON.
Paina alas-painiketta, kunnes HUOLTO-vaihtoehto on valittuna, ja paina sitten valintapainiketta (Kuva 166).

Note: Ilmastusyksikkö laskeutuu, kunnes se on täysin suojalukon tukema.
Paina alas-painiketta, kunnes SERVICE LOWER (HUOLTOLASKU) ‑vaihtoehto on valittuna, ja paina sitten valintapainiketta (Kuva 167).

Käännä virta-avain PYSäYTYS-asentoon.
Note: Nosta ilmastusyksikkö hydraulisesti käynnistämällä moottori ja käyttämällä sitä, jotta suojalukon voi asettaa säilytysasentoon. Katso kohta Suojalukon asettaminen säilytysasentoon.
| Huoltoväli | Huoltotoimenpide |
|---|---|
| Aina ennen käyttöä tai päivittäin |
|
Tarkista ennen jokaista käyttöä, ettei hydrauliletkuissa ja -putkissa ole vuotoja, kulumia, säävahinkoja tai kemiallisia vaurioita ja etteivät letkut ole kiertyneet eivätkä kiinnitykset tai liitännät löystyneet. Vaihda kuluneet tai vaurioituneet hydrauliletkut ennen koneen käyttöä.
Note: Pidä hydraulijärjestelmän ympärillä olevat alueet puhtaina.
Säiliö on täytetty tehtaalla korkealaatuisella hydraulinesteellä. Tarkista hydraulinesteen taso ennen moottorin ensimmäistä käynnistystä ja sen jälkeen päivittäin. Katso kohta Moottoriöljyn määrän tarkistus.
Suositettu hydraulineste: Toro PX Extended Life Hydraulic Fluid, saatavana 19 litran astioissa tai 208 litran tynnyreissä.
Note: Kun koneessa käytetään suosituksen mukaista nestettä, nesteen ja suodattimien vaihtovälit pitenevät.
Vaihtoehtoiset hydraulinesteet: Jos Toro PX Extended Life Hydraulic Fluid -nestettä ei ole saatavana, voidaan käyttää muita tavallisia öljypohjaisia hydraulinesteitä, jotka täyttävät kaikki jäljempänä luetellut vaatimukset (ominaisuudet ja standardit). Älä käytä synteettistä nestettä. Pyydä voiteluaineiden jälleenmyyjältä neuvoja sopivan tuotteen valitsemiseen.
Note: Toro ei vastaa vääränlaisten nesteiden käytöstä aiheutuneista vaurioista, joten käytä vain sellaisten tunnettujen valmistajien tuotteita, joiden luokituksiin voi luottaa.
| Ominaisuudet: | ||
| Viskositeetti, ASTM D445 | cSt / 40 °C 44–48 | |
| Viskositeetti-indeksi, ASTM D2270 | 140 tai korkeampi | |
| Jähmepiste, ASTM D97 | –37 °C–45 °C | |
| Standardit: | Eaton Vickers 694 (I-286-S, M-2950-S/35VQ25 tai M-2952-S) | |
Note: Monet hydraulinesteet ovat lähes värittömiä, mikä vaikeuttaa vuotojen toteamista. Hydraulinesteelle tarkoitettua punaista värilisäainetta on saatavana 20 ml:n pulloissa. Yksi pullo riittää 15–22 litralle hydraulinestettä. Tilaa valtuutetulta Toro-jälleenmyyjältäsi (osanro 44-2500).
Important: Toro Premium Synthetic Biodegradable Hydraulic Fluid on ainoa Toron hyväksymä luonnossa hajoava synteettinen neste. Neste on yhteensopiva Toro-hydraulijärjestelmissä käytettyjen elastomeerien kanssa, ja sitä voidaan käyttää useissa lämpötiloissa. Neste on yhteensopiva perinteisten mineraaliöljyjen kanssa, mutta paras mahdollinen luonnossa hajoavuus ja suorituskyky saavutetaan huuhtelemalla perinteinen neste perusteellisesti pois hydraulijärjestelmästä. Öljyä on saatavana 19 litran astioissa tai 208 litran tynnyreissä valtuutetulta Toro-jälleenmyyjältä.
| Huoltoväli | Huoltotoimenpide |
|---|---|
| Aina ennen käyttöä tai päivittäin |
|
Important: (Tarkista hydraulinesteen määrä ilmastusyksikön ollessa yläasennossa ennen moottorin ensimmäistä käynnistystä ja sen jälkeen päivittäin).
Hydraulisäiliö on täytetty tehtaalla korkealaatuisella hydraulinesteellä.
Valmistele kone huoltoa varten. Katso kohta Koneen valmistelu huoltoa varten.
Irrota hihnasuojus. Katso kohta Hihnasuojuksen irrotus.
Puhdista hydraulisäiliön täyttökaulaa ja korkkia ympäröivä alue (Kuva 168). Irrota korkki täyttökaulasta.

Vedä mittatikku ulos täyttökaulasta ja pyyhi tikku puhtaalla liinalla. Työnnä mittatikku täyttökaulaan, vedä se taas ulos ja tarkista nesteen pinta. Nesteen pinnan on ulotuttava mittatikun merkkiin (Kuva 169).

Jos nestettä on liian vähän, lisää määritettyä hydraulinestettä riittävästi, jotta pinta nousee täynnä-merkkiin saakka.
Työnnä mittatikku takaisin paikoilleen ja sulje täyttökaulan korkki.
Asenna hihnasuojus. Katso kohta Hihnasuojuksen asennus.
| Huoltoväli | Huoltotoimenpide |
|---|---|
| 200 käyttötunnin välein |
|
| 400 käyttötunnin välein |
|
Hydraulisäiliön tilavuus: noin 6,6 l
Important: Älä vaihda tilalle autoissa käytettäviä öljynsuodattimia. Hydraulijärjestelmä saattaa vaurioitua pahoin.
Note: Jos paluusuodatin irrotetaan, koko nestesäiliö tyhjenee.
Valmistele kone huoltoa varten. Katso kohta Koneen valmistelu huoltoa varten.
Aseta suodattimien alle tyhjennysastia, irrota vanhat suodattimet ja pyyhi suodattimien istukan tiivisteen pinta puhtaaksi (Kuva 170).

Sivele ohut kerros puhdasta hydraulinestettä uusien suodattimien tiivisteelle.
Asenna hydraulisuodattimet suodattimien istukoihin. Käännä kutakin suodatinta myötäpäivään, kunnes tiiviste koskettaa suodattimen istukkaa. Kiristä sitten vielä puoli kierrosta.
Lisää määritettyä hydraulinestettä, kunnes nesteen pinta on mittatikun Täynnä-merkin kohdalla. Katso kohdatHydraulinesteen laatuvaatimukset ja Hydraulinesteen määrän tarkistus.
Käynnistä moottori ja anna sen käydä noin kaksi minuuttia, jotta kaikki ilma purkautuu järjestelmästä. Sammuta moottori, irrota virta-avain ja tarkista, että järjestelmässä ei ole hydraulinestevuotoja.
Tarkista hydraulinesteen määrä. Lisää määritettyä hydraulinestettä tarvittaessa, kunnes sen taso ulottuu mittatikun TäYNNä-merkkiin saakka.
Note: Älä täytä hydraulisäiliötä liian täyteen nesteellä.
Asenna hihnasuojus. Katso kohta Hihnasuojuksen asennus.
| Huoltoväli | Huoltotoimenpide |
|---|---|
| 8 ensimmäisen käyttötunnin jälkeen |
|
| 250 käyttötunnin välein |
|
Valmistele kone huoltoa varten. Katso kohta Koneen valmistelu huoltoa varten.
Irrota ilmastusyksikön suojus. Katso kohta Ilmastusyksikön suojuksen irrotus.
Tarkista ilmastusyksikön kiinnikkeiden, kahvan kiinnikkeiden ja pyöränmuttereiden kiristysmomentit. Kiinnikkeiden kireysvaatimukset näkyvät ilmastusyksikön tukikiskossa olevassa pulttien kiristyskilvessä (Kuva 171).

Asenna ilmastusyksikön suojus. Katso kohta Ilmastusyksikön suojuksen asennus.
Valmistele kone huoltoa varten. Katso kohta Koneen valmistelu huoltoa varten.
Löysää kantaruuvit ja laippalukkomutterit, joilla sivusuojus on kiinnitetty ilmastusyksikön runkoon (Kuva 172).

Säädä suojusta ylös- tai alaspäin, kunnes suojus on 25–38 mm:n korkeudella maasta.
Kiristä kantaruuvit ja laippalukkomutterit.
Toista vaiheet 2–4 koneen toisella puolella.
Vaihda nurmisuojukset, jos ne rikkoutuvat tai kuluvat alle 6 mm:n paksuisiksi. Rikkoutuneet nurmisuojukset voivat takertua nurmeen ja repiä sitä ja siten saada aikaan vahinkoa.

Ilmastusyksikön ajoituksen säätömerkit on helppo tunnistaa kolmessa laakeripesässä olevista merkeistä.

Ennen käyttäjän paikalta poistumista:
Pysäköi kone tasaiselle alustalle.
Kytke seisontajarru nostamalla kahva kokonaan ylös ja lukitsemalla se.
Sammuta moottori ja irrota virta-avain (jos on).
Odota, että kaikki liikkuvat osat ovat pysähtyneet.
Koneen on annettava jäähtyä ennen sen säätöä, huoltoa, puhdistusta tai varastointia.
Älä säilytä konetta tai polttoainesäiliötä tilassa, jossa on avotuli, kipinöitä tai varmistusliekki (esimerkiksi vedenlämmitin tai muu vastaava laite).
Akun latauksen yhteydessä syntyy räjähdysherkkiä kaasuja.
Älä tupakoi akun lähettyvillä. Älä päästä kipinöitä tai liekkejä kosketuksiin akun kanssa.
Valmistele kone huoltoa varten. Katso kohta Koneen valmistelu huoltoa varten.
Irrota sytytystulpan johto.
Poista ruoho, lika ja rasva koneen kaikista ulkoisista osista, etenkin moottorista ja hydraulijärjestelmästä. Puhdista lika ja roskat moottorin sylinterinkannen rivoista ja tuulettimen kotelosta.
Huolla ilmanpuhdistin. Katso kohta Ilmanpuhdistimen huolto.
Vaihda moottoriöljy. Katso kohta Moottoriöljyn ja suodattimen vaihto.
Vaihda hydraulisuodattimet ja -neste. Katso kohta Hydraulinesteen ja suodattimien vaihto.
Tarkista rengaspaine. Katso kohta Rengaspaineen tarkistus.
Tarkista piikkien kunto.
Jos varastoit koneen talven yli, suorita kaikki vaiheet kohdassa Koneen varastointi alle 30 päivän ajaksi ja lisäksi kohdissa:
Tarkista ja kiristä kaikki pultit, mutterit ja ruuvit. Korjaa tai vaihda kaikki vaurioituneet tai kuluneet osat.
Pese ja kuivaa koko kone. Irrota, puhdista ja öljyä piikit. Sumuta kevyttä öljysumua ilmastusyksikön laakereihin (kammen ja vaimentimen nivelet).
Important: Kone voidaan pestä miedolla pesuaineella ja vedellä. Älä pese konetta painepesurilla. Älä käytä vettä ylen määrin etenkään ohjauspaneelin, moottorin tai hydraulipumppujen ja -moottorien läheisyydessä.
Note: Käytä konetta korkeimmalla tyhjäkäyntinopeudella 2–5 minuutin ajan pesun jälkeen.
Maalaa kaikki naarmuuntuneet tai paljaat metallipinnat. Maalia on saatavissa valtuutetulta Toro-jälleenmyyjältä.
Kiinnitä suojalukko, jos kone varastoidaan muutamaa päivää pitemmäksi ajaksi.
Varastoi kone puhtaaseen, kuivaan autotalliin tai varastotilaan. Irrota avain virtalukosta ja pidä se lasten ja muiden luvattomien käyttäjien ulottumattomissa.
Peitä kone, jotta se pysyy suojassa ja puhtaana.
Lisää polttoainesäiliöön öljypohjaista stabilointi-/lisäainetta. Noudata stabilointiaineen valmistajan sekoitusohjeita. Älä käytä alkoholipohjaista stabilointiainetta (etanolia tai metanolia).
Note: Stabilointi-/lisäaine toimii tehokkaimmin, kun se sekoitetaan tuoreeseen polttoaineeseen ja kun sitä käytetään aina.
Important: Stabilointiainetta/-lisäainetta sisältävää polttoainetta ei saa säilyttää polttoaineen stabilointiaineen valmistajan suositusta kauempaa.
Käytä moottoria viiden minuutin ajan, jotta lisäainetta sisältävä polttoaine kiertää koko polttoainejärjestelmässä.
Sammuta moottori, anna sen jäähtyä ja tyhjennä polttoainesäiliö. Katso kohta Polttoainesäiliön tyhjennys.
Käynnistä moottori ja anna sen käydä, kunnes se sammuu.
Käytä rikastinta. Käynnistä moottori ja käytä sitä, kunnes se ei käynnisty enää.
Irrota sytytystulpat ja tarkista niiden kunto. Katso kohta Sytytystulppien huolto. Kun sytytystulpat on irrotettu moottorista, kaada kaksi ruokalusikallista moottoriöljyä kunkin sytytystulpan reikään. Käynnistä moottori sähkökäynnistimellä ja kierrätä öljy sylinterien sisään. Asenna sytytystulpat. Älä asenna sytytystulppien johtoja.
Note: Hävitä polttoaine paikallisten asetusten mukaisesti.
Irrota akkuliittimet akun navoista ja irrota akku koneesta.
Puhdista akku, liittimet ja navat teräsharjalla ja ruokasoodaliuoksella.
Voitele kaapeliliittimet ja akun navat Grafo 112X -suojarasvalla (Toron osanro 505-47) tai vaseliinilla ruostumisen ehkäisemiseksi.
Lataa akku hitaasti 60 päivän välein 24 tunnin ajan, jotta akkuun ei muodostu lyijysulfaattia. Varmista, että akku on ladattu täyteen, jotta se ei jäädy. Täysin ladatun akun ominaispaino on 1,265–1,299.
Säilytä akkua hyllyllä tai koneessa. Älä kytke kaapeleita, jos akkua säilytetään koneessa. Varastoi akku viileään tilaan, jotta sen lataus purkautuu mahdollisimman hitaasti.
| Problem | Possible Cause | Corrective Action |
|---|---|---|
| Käynnistysmoottori ei pyöri. |
|
|
| Moottori ei käynnisty, käynnistyy huonosti tai ei pysy käynnissä. |
|
|
| Moottori menettää tehoaan |
|
|
| Moottori ylikuumenee |
|
|
| Epänormaali värinä. |
|
|
| Kone ei liiku. |
|
|
| Ilmastusyksikkö ei liiku. |
|
|
| Ilmastusyksikkö pomppii ilmastuksen aikana |
|
|
| Nurmi tukkeutuu/repeytyy johtoreunasta. |
|
|
| Reiät tukkeutuvat sivupiikkejä käytettäessä. |
|
|
| Nurmen kohoaminen/repeytyminen ilmastuksen aikana |
|
|
| Reiän etureuna on kuoppainen tai painunut kokoon |
|
|