| Bakım Servisi Aralıkları | Bakım Prosedürü |
|---|---|
| Her kullanımdan önce veya günlük |
|
Bu makine yürüyen bir operatör tarafından kumanda edilir ve ticari uygulamalarda görevlendirilen profesyonel operatörler tarafından kullanılmak için tasarlanmıştır. Makine, öncelikle parklar, golf sahaları, spor sahaları ve ticari alanlardaki iyi bakımlı çimlerde geniş alanları havalandırmak için tasarlanmıştır. Bu ürünün kullanım amacı dışında kullanılması size ve çevrenizdekilere zarar verebilir.
Ürünü kullanmayı ve bakımlarını yapmayı öğrenmek ve olası yaralanmalar ile ürünün hasar görmesini önlemek için bu bilgileri dikkatle okuyun. Ürünü doğru ve emniyetli bir şekilde kullanmak sizin sorumluluğunuzdur.
Ürün emniyeti ve kullanımıyla ilgili eğitim materyalleri ile aksesuar bilgilerine erişmek, bayi bulmak veya ürününüzü kaydettirmek için www.Toro.com adresine gidin.
Servise, orijinal Toro parçalarına veya ek bilgiye ihtiyaç duyduğunuz takdirde yetkili bir Toro distribütörüyle iletişim kurun ve ürününüzün model ve seri numaralarını hazır bulundurun. Şekil 1, model ve seri numaralarının ürün üzerindeki yerini belirtir. Bu numaraları ilgili alana yazın.

Bu kılavuzda ve makinede görülen emniyet uyarısı sembolü (Şekil 2), kazaları önlemek için uymanız gereken önemli emniyet mesajlarını belirtir.

Emniyet uyarısı sembolü, sizi güvenli olmayan eylem veya durumlara karşı uyaran bilgilerin üzerinde görünür ve ardından TEHLİKE, UYARI veya DİKKAT kelimesi gelir.
TEHLİKE, önlenmediği takdirde ağır yaralanma veya ölümle sonuçlanacak yakın bir tehlike durumunu belirtir.
UYARI, önlenmediği takdirde ağır yaralanma veya ölümle sonuçlanabilecek potansiyel bir tehlike durumunu belirtir.
DİKKAT, önlenmediği takdirde hafif veya orta seviyeli yaralanmayla sonuçlanabilecek potansiyel bir tehlike durumunu belirtir.
Bu kılavuzda, bilgileri vurgulamak için iki sözcük daha kullanılır. Önemli sözcüğü bazı özel mekanik bilgilere dikkat çeker, Not sözcüğü ise dikkate alınması gereken genel bilgileri vurgular.
Bu ürün, ilgili tüm Avrupa direktiflerine uygundur. Detaylı bilgi için, ayrı olarak verilen ürün Uygunluk Beyanı (DOC) sayfasını inceleyin.
Bazı bölgelerde bu makinenin motorunda bir kıvılcım tutucunun kullanılmasını gerektiren yerel, eyalet veya federal düzenlemeler bulunduğundan, isteğe bağlı olarak bir kıvılcım tutucu mevcuttur. Kıvılcım tutucuya ihtiyacınız varsa yetkili Toro distribütörünüze başvurun. Orijinal Toro kıvılcım tutucular USDA Ormancılık Servisi tarafından onaylanmıştır.
Ekteki motor kullanıcı kılavuzu, ABD Çevre Koruma Ajansı (EPA) ve emisyon sistemleri, bakım ve garanti ile ilgili California Emisyon Kontrol Yönetmeliği hakkında bilgi vermek üzere sunulmuştur. Yedek parçalar motorun üreticisi kanalıyla sipariş edilebilir.
Bu makinede bir telematik cihazı varsa cihazın etkinleştirilmesine ilişkin talimatlar için yetkili Toro distribütörünüzle görüşün.
CALIFORNIA
Öneri 65 Uyarısı
Bu ürünün motor egzozu ve içerdiği bazı maddelerin Kaliforniya Eyaleti tarafından kansere, doğuştan rahatsızlıklara ve başka zararlara neden olduğu kayda geçirilmiştir.
Akü kutup başları, uçları ve ilgili aksesuarlar Kaliforniya Eyaleti tarafından kansere ve başka zararlara neden olan kimyasal maddeler olarak kayda geçirilmiş kurşun ve kurşun bulunduran bileşenler içermektedir. Dokunduktan sonra ellerinizi yıkayın.
Bu ürünün kullanılması, Kaliforniya Eyaleti'nce kansere, doğum kusurlarına ve üreme sorunlarına yol açtığı bilinen kimyasallara maruz kalınmasına neden olabilir.
Bu ürün, yaralanmaya yol açabilir. Ağır yaralanmaları önlemek için, tüm emniyet talimatlarına her zaman uyun.
Motoru çalıştırmadan önce bu Kullanma Kılavuzunu iyice okuyup anlayın.
Makineyi kullanırken tüm dikkatinizi işinize verin. Dikkatinizi dağıtabilecek başka şeylerle ilgilenmeyin, aksi takdirde yaralanma veya maddi hasar meydana gelebilir.
Ellerinizi veya ayaklarınızı, makinenin hareketli parçalarının yakınına koymayın.
Tüm koruyucular ve emniyet aygıtları makinede ve çalışır durumda değilken makineyi çalıştırmayın.
Hareket sırasında makineyi çevredekilerden uzak tutun.
Çatal dişlerinin çevresindeki açıklıktan uzak durun. Etraftaki kişileri ve evcil hayvanları makineden uzak tutun.
Çocukları çalışma alanından uzak tutun. Çocukların makineyi kullanmasına asla izin vermeyin.
Makineye bakım yapmadan, yakıt doldurmadan veya tıkanıklıkları açmadan önce makineyi düz bir yüzeye park edin, park frenini etkinleştirmek için tutma çubuğunu tamamen kaldırıp kilitleyin, motoru kapatın, anahtarı çıkarın ve tüm hareketli parçaların durmasını bekleyin.
Bu makinenin uygunsuz bir şekilde kullanılması
veya uygun bakım işlemlerinin yapılmaması
yaralanmaya yol açabilir. Yaralanma risklerini azaltmak amacıyla
bu emniyet talimatlarına her zaman uyun ve Dikkat, Uyarı
veya Tehlike anlamına gelen emniyet uyarısı sembolüne
çok dikkat edin.
Bu talimatlara uyulmaması yaralanma veya ölümle sonuçlanabilir.
![]() |
Tehlike potansiyeli barındıran tüm noktalara, operatör tarafından kolayca görülebilecek emniyet etiketleri ve talimatları yerleştirilmiştir. Hasar gören veya kaybolan etiketleri yenisiyle değiştirin. |
















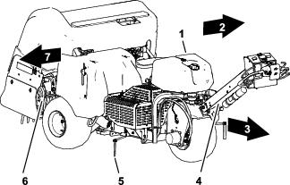
Note: Makinenin ön tarafı operatör kolunun olduğu taraftır ve normal operatör konumu budur. Sol ve sağ, sizinle hareket eden makineyle yürürken geçerli olan hareket yönüyle ilgilidir.
Note: Makinenin kasasını açtıktan sonra delme kafasını yükseltmek için havalandırma manivelasını serbest bırakın ve motoru çalıştırın; daha fazla bilgi için Motorun Çalıştırılması ve Delme Kafasının Yükseltilmesi bölümlerine bakın.
Bu prosedür için gerekli parçalar:
| Tekerlek grubu | 2 |
Note: Makinenin arkasını kaldırmak için bir vinç (varsa) kullanın. Delme kafası yatak yuvalarındaki halkaları birer vinçle kaldırma noktası olarak kullanın (Şekil 3).

Makinenin arkasında, makinenin arkasını nakliye paletinin braketlerine sabitleyen 4 bijon somununu sökün.
Her arka tekerlek göbeğine 4 bijon somunu ile bir tekerlek grubu monte edin (Şekil 4).

Bijon somunlarını 61 ila 75 N∙m torkla sıkın.
1 ila 3 arası adımları makinenin diğer tarafında tekrarlayın.
Tüm lastikleri 83 kPa (12 psi) hava seviyesine kadar söndürün.
Bu prosedür için gerekli parçalar:
| Kol | 1 |
| Kilit somunu (½ inç) | 3 |
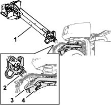
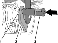
Tutma çubuğunun ucundaki saplamaları direksiyon kolundaki deliklere takın (Şekil 5).
Note: Başka birinin, tutma çubuğunu tutmaya yardımcı olmasını sağlayın.

3 saplamanın her birine bir flanşlı kilit somunu (1/2 inç) takın.
Flanşlı kilit somunlarını 91 ila 113 N∙m torkla sıkın.
Tutma çubuğunu yukarı döndürün ve tutma çubuğu mandal pimi ile sabitleyin (Şekil 6).

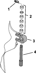
Fren kablosu tertibatını tutma çubuğu kanalının altından geçirin (Şekil 7).

Fren kablosu tertibatını çatal pim üzerine monte edip tertibatı, pim üzerinde rondela ve kopilya ile sabitleyin.
Makine kablo demetinin 6 pimli konnektörünü ve 12 pimli konnektörünü tutma çubuğu kanalındaki lastik halkadan geçirin (Şekil 8).

Makine kablo demetinin 12 pimli konnektörünü tutma çubuğu kablo demetinin 12 soketli konnektörüne takın (Şekil 9).

Makine kablo demetinin 6 pimli konnektörünü tutma çubuğu kablo demetinin 6 soketli konnektörüne takın.
Makine kablo demetinin raptiye tespit vidasını tutma çubuğu kanalındaki deliğe geçirin (Şekil 10).

Makine kablo demetinin raptiye tespit vidasını kılavuz braketteki deliğe geçirin.
Makine kablo demetini kablo bağı ile kanaldaki yuvalardan tutma çubuğu kanalına sabitleyin (Şekil 11).

Makine kablo demetini kablo bağı ile braketteki yuvalardan kılavuz brakete sabitleyin.
Tutma çubuğu kapağındaki küçük çentiği, çentik yukarıda olacak şekilde hizalayın (Şekil 12).

Kapaktaki delikleri tutma çubuğu kanalındaki deliklerle hizalayın.
6 diş açan vidayla (1/4 inç) kapağı tutma çubuğuna sabitleyin.
Bu prosedür için gerekli parçalar:
| Cıvata (1/4 x 1 inç) | 2 |
| Flanşlı somun (5/16 inç) | 2 |
Akü elektroliti, tüketilmesi halinde ölümcül olan ve ağır yanıklara yol açabilen sülfürik asit içerir.
Ciltle, gözlerle ya da giysilerle temastan kaçının. Gözlerinizi korumak için emniyet gözlüğü, ellerinizi korumak içinse kauçuk eldiven takın.
Aküyü, daima cildi yıkamak için temiz su bulunan bir yerde sökün, şarj edin ve takın.
Akünün şarj edilmesi, patlayabilecek gazlar üretir.
Akünün yanında asla sigara içmeyin ve kıvılcımlar ile alevleri aküden uzak tutun.
Akü bağlantı uçları veya metal aletler makinenin metal bileşenleriyle temas edip kısa devre oluşmasına, bu da kıvılcımlar çıkmasına yol açabilir. Kıvılcımlar akü gazlarının patlamasına, bu da yaralanmaya yol açabilir.
Aküyü takarken veya yerinden çıkarırken akü bağlantı uçlarının makinenin hiçbir metal parçasına temas etmemesini sağlayın.
Metal aletlerin, akü bağlantı uçları ile makinenin metal parçaları arasında kısa devreye yol açmasına izin vermeyin.
Akü kablolarının yanlış bağlanması, makinenin ve kabloların kıvılcım çıkarmasına sebep olabilir. Kıvılcımlar akü gazlarının patlamasına, bu da yaralanmaya yol açabilir.
Her zaman, artı (kırmızı) akü kablosunun bağlantısını ayırmadan önce eksi (siyah) akü kablosunun bağlantısını ayırın.
Her zaman, eksi (siyah) akü kablosunu bağlamadan önce artı (kırmızı) akü kablosunu bağlayın.
Akü bölmesi kapağının kilit mandalını açıp kapağı açın (Şekil 13).

Aküyü akü bölmesinden çıkarın.
Aküyü şarj etmek için 3 ila 4 A şarj kapasitesi bulunan bir akü şarj cihazı kullanın.
Akü şarj olduğunda, şarj cihazını elektrik prizinden ve ardından da akü kutup başlarından çıkarın.
Aküyü akü bölmesindeki tepsiye monte edin (Şekil 14). Aküyü, bağlantı uçları dışa doğru hizalanacak şekilde konumlandırın.

Aküyü bölme tabanına bir tespit çubuğu, 2 J çubuk, 2 düz rondela ve 2 kanatlı somun ile sabitleyin.
Artı kabloyu (kırmızı) artı (+) akü bağlantı ucuna bir taşıyıcı cıvata ve somunla sabitleyin.
Kauçuk körüğü artı bağlantı ucunun üzerine kaydırın.
Eksi kabloyu (siyah), bir taşıyıcı cıvata ve somunla akünün eksi (–) bağlantı ucuna sabitleyin.
Akü bölmesi kapağını kapatın ve kilitleyin.
Bu prosedür için gerekli parçalar:
| Mandallı kilit | 2 |
| Yivli cıvata | 2 |
| İç diş kilidi rondelası | 2 |
Bu makineyi Avrupa Birliği'nde (CE) kullanılmak üzere ayarlıyorsanız CE yönetmeliklerine uymak için kaputun mandallı kilidini arka kaputa aşağıda anlatıldığı gibi takın.
Arka kaputu çıkarın.
Kaput mandalının (Şekil 15) üzerine bir yivli cıvatayla (toplam 2 adet) bir mandallı kilit takın.

Bir pense ve anahtar kullanarak her bir cıvataya (1 ila 2 diş) bir iç kilit rondelası geçirip cıvataları kaputa sabitleyin.
2 ila 3 arası adımları kaputun diğer tarafında tekrarlayın.
Arka kaputu takın.
Bu prosedür için gerekli parçalar:
| Kordon | 1 |
| Pop perçin | 1 |
| Cıvata (1/4 x 1 inç) | 1 |
| Kilit somunu (¼ inç) | 1 |
Bu makineyi CE uyumlu olacak şekilde ayarlıyorsanız kayış kapağının mandal bağlantısını aşağıdaki gibi takın.
Kilit mandalı kolu yuvasının yanında, kayış kapağındaki deliği bulun (Şekil 16 ve Şekil 17).

Kordon tertibatını kayış kapağındaki deliğe bir pop perçinle sabitleyin (Şekil 17).

Cıvatayı kilit mandalı koluna (Şekil 18) geçirin.

Makine için birbirinden farklı diş tutucular, çim koruyucular ve dişler mevcuttur. Bkz. Çim Koruyucu, Diş Tutucu ve Dişlerin Takılması.


Tutma çubuğunu yukarı konumda sabitlemek ve park frenini etkinleştirmek için tutma çubuğu mandalını (Şekil 21) kullanın.
Important: Operatör konumundan her çıktığınızda tutma çubuğunu yukarı konumda sabitleyin.
Operatör varlığı manivelası (Şekil 21), makineyi sürerken ya da delme kafasını çalıştırırken operatör konumunda olduğunuzdan emin olmaya yardımcı olur.
Note: Operatör varlığı manivelasının serbest bırakılması motoru kapatmaz.
Delme kafası kontrollerinin nasıl çalışacağını ayarlamak için Bilgi Merkezini (Şekil 21) kullanın.
Çarpma durdurma anahtarına (Şekil 21) temas ederseniz makine şu eylemleri gerçekleştirir:
Makine ileriye doğru sürüşü durdurur.
Delme kafası yükselir ve çalışmayı durdurur.
Note: Çarpma durdurma anahtarına temas edilmesi motoru kapatmaz. Makineyi geri yönde sürebilirsiniz ancak ileri gitmek için çarpma anahtarını sıfırlamanız gerekir.

Havalandırma veya makinenin taşınması sırasında makineyi sürebileceğiniz maksimum hızı kontrol etmek için taşıma/havalandırma anahtarını (Şekil 22) kullanın.
HAVALANDıRMA konumu havalandırmaya olanak tanır ve yer hızını 4,0 km/saat veya daha yavaş olacak şekilde sınırlandırır.
TAşıMA konumu iş sahaları arasında makineyi tam yer hızında veya daha yavaş sürmenize olanak tanır.
Note: Taşıma/havalandırma anahtarı TAşıMA konumundayken havalandırma yapamazsınız.
Makineyi ileri ya da geri sürmek için sol ya da sağ çekiş kontrolünü (Şekil 22) kullanın.
Makineyi sürdüğünüz yer hızını korumak için hız kilidi anahtarını (Şekil 22) kullanın; bu özellik otomobillerdeki hız sabitleyiciye benzer.
ETKINLEşTIR konumu, makinenin sürüldüğü mevcut yer hızını kilitler.
AçıK konumu yer hızı kilidini etkinleştirir.
KAPALı konumu yer hızı kilidini kapatır.
Yer hızını havalandırma deliği aralık oranında tutmak için hız kilidi anahtarını (Şekil 22) kullanın.
AçıK konum—bir havalandırma geçişinin sonunda havalandırma manivelasını serbest bıraktığınızda yer hızını havalandırma deliği aralık oranında tutmak için yer hızı kilidini etkinleştirip devreye alır.
KAPALı konum yer hızı kilidini kapatır—havalandırma manivelasını serbest bıraktığınızda makine ileri gitmeyi durdurur.

Delme kafasını alçaltmak ve yükseltmek için havalandırma manivelasını (Şekil 23) kullanın.
Havalandırma sırasında delme kafasının alçalma durumunu değiştirmek için bırakma kontrol anahtarını (Şekil 23) kullanın, aşağıdaki modları seçebilirsiniz:
Hemen bırakma
Gecikmeli bırakma

Motor devrini ayarlamak için gaz kolunu (Şekil 24) kullanın:
Gaz kolunun HıZLı konuma doğru ileri hareket ettirilmesi motor devrini artırır.
Gaz kolunun YAVAş konuma doğru geri hareket ettirilmesi motor devrini düşürür.
Note: Motor devri delme kafasının hızını düzenler.
Soğuk bir motoru çalıştırırken jigleyi kullanın (Şekil 24).
Motoru çalıştırmak veya kapatmak için kontak anahtarını (Şekil 24) kullanın. Anahtarın 3 konumu vardır:
MARş—Marş motorunu etkinleştirmek için anahtarı saat yönünde MARş konumuna döndürün.
ÇALışTıR—Motor çalışınca anahtarı bırakın; otomatik olarak AçıK konumuna gelecektir.
KAPAT—Motoru kapatmak için anahtarı saatin aksi yönünde KAPAT konumuna döndürün.
Motor devrini belirlemek için takometreyi kullanın (Şekil 24).
Yakıt deposundan gelen yakıtı kontrol etmek için yakıt kısma vanasını kullanın (Şekil 25).

Bilgi Merkezi ekranı (Şekil 26) makinenizle ilgili olarak çalışma durumu, çeşitli arıza teşhis bilgileri ve benzeri gibi farklı türden bilgiler sunar.

Note: Her bir düğmenin amacı, o anda neye ihtiyaç duyulduğuna bağlı olarak değişebilir. Her düğme, o anki işlevini gösteren bir simgeyle işaretlenir.
Farklı ekranlar ve menü öğeleri arasında gezinmek için gezinme düğmelerini kullanın:
Açılış ekranı: anahtarı AçıK konuma getirdikten sonra birkaç saniye için mevcut makine bilgilerini gösterir.
Ana menü: Menülerin Kullanılması bölümüne bakın.
|
SERVİS ZAMANI |
Planlanan servis işleminin yapılması gereken zamanı gösterir |
|
|
Taşıma modu |
|
|
Delik derinliği |
|
|
Delik aralığı |
|
|
Çatal dişi çapı |
|
|
Tutucu başına diş |
|
|
Akü |
|
|
Saat ölçer |
|
|
Etkin/OK |
|
|
Devre dışı |
|
|
Sonraki |
|
|
Önceki ekran |
|
|
Menü |
|
|
Değer artırma/azaltma |
|
|
Yukarı/aşağı kaydırma |
|
|
Sola/sağa kaydırma |
|
|
Menüye çık |
|
|
|
Ana menüye erişmek için bilgi ekranlarından herhangi birindeyken geri/çıkış düğmesine basın.
Menülerdeki seçeneklerin açıklaması için aşağıdaki tabloları inceleyin:
|
Menü Öğesi |
Açıklama |
|---|---|
|
FAULT (Arıza) |
Son makine arızalarının bir listesini içerir. Arızalar menüsü hakkında daha fazla bilgi almak için Servis Kılavuzuna veya yetkili Toro distribütörünüze başvurun. |
|
SERVICE (Servis) |
Makineyle ilgili toplam kullanım saati, sayaçlar ve benzeri diğer değerler gibi bilgiler içerir. |
|
DIAGNOSTICS (Arıza Teşhis) |
Makinenin o anda içinde bulunduğu çeşitli durumları listeler; hangi makine kontrollerinin etkin, hangilerinin kapalı olduğunu size hızlı şekilde gösterdiğinden belli sorunları gidermek için bunu kullanabilirsiniz. |
|
SETTINGS (Ayarlar) |
PIN'i girmenize veya Bilgi Merkezi ekranını özelleştirmenize olanak tanır. |
|
MACHINE SETTINGS (Makine Ayarları) |
Makinenin çalışma özelliklerini ve yapılandırmasını düzenlemenize olanak tanır. |
|
ABOUT (Hakkında) |
Makinenizin model numarasını, seri numarasını ve yazılım sürümünü gösterir. |
|
Menü Öğesi |
Açıklama |
|---|---|
|
STATISTICS (İstatistikler) |
Makine çalışma verileri ve işlem verileri için motor çalışma süresi, havalandırma alanı/hacmi/zamanı, havalandırma hareket mesafesi gibi sayaçları listeler. |
|
SAAT (Hours) |
Makinenin, motorun ve PTO’nun açık olduğu toplam saat sayısının yanı sıra makinenin taşımada geçirdiği toplam saat sayısını ve servis zamanını gösterir. |
|
COUNTS (Sayımlar) |
Makinenin gerçekleştirdiği çeşitli sayımları görüntüler. |
|
SERVICE LIFT (Servis Kaldırma) |
Servis kaldırmayı etkinleştirin veya devre dışı bırakın. |
|
SERVICE LOWER (Servis İndirme) |
Servis indirmeyi etkinleştirin veya devre dışı bırakın. |
|
3WD |
Otomatik 3WD veya daima açık 3WD'yi etkinleştirin. |
|
GROUND HEIGHT |
Sensör kalibrasyonlarının geçerli olup olmadığını gösterir, kalibrasyon işlemini başlatır ve sensörün elektriksel değerini listeler. |
|
TRACTION PUMP |
Sensör kalibrasyonlarının geçerli olup olmadığını gösterir, kalibrasyon işlemini başlatır ve sensörün elektriksel değerini listeler. |
|
TRACTION INPUT |
Sensör kalibrasyonlarının geçerli olup olmadığını gösterir, kalibrasyon işlemini başlatır ve sensörün elektriksel değerini listeler. |
|
YüKSEKLIK SENSöRü |
Sensör kalibrasyonlarının geçerli olup olmadığını gösterir, kalibrasyon işlemini başlatır ve sensörün elektriksel değerini listeler. |
|
|
|
|
Menü Öğesi |
Açıklama |
|---|---|
|
PIN GIR (Enter PIN) |
PIN kodu olan yetkili bir kişinin korumalı menülere erişmesini sağlar |
|
BACKLIGHT (Arka Aydınlatma) |
LCD ekranın parlaklığını kontrol eder. |
|
LANGUAGE (Dil) |
Bilgi Merkezinde kullanılan dili kontrol eder |
|
UNITS (Birimler) |
Bilgi Merkezinde kullanılan birimleri kontrol eder (İngiliz veya metrik) |
|
EDIT PIN |
PIN kodu olan yetkili bir kişinin PIN kodunu değiştirmesini sağlar |
|
PROTECT SETTINGS |
Korumalı ayarlara erişmek için PIN kodu girme gerekliliğini etkinleştirir veya devre dışı bırakır |
|
RESET DEFAULTS |
Tüm ayarları varsayılana çevirir |
|
|
|
|
Menü Öğesi |
Açıklama |
|
MAX TRANSPORT (Maksimum Taşıma) |
Maksimum ileri yer hızını değiştirmenizi sağlar; varsayılan = 6,4 km/saat (4 mil/saat) |
|
MANUAL AERATION |
Manuel havalandırmayı etkinleştirir veya devre dışı bırakır |
|
|
|
|
Menü Öğesi |
Açıklama |
|---|---|
|
Model |
Makinenin model numarasını gösterir |
|
SN |
Makinenin seri numarasını gösterir |
|
Yazılım Versiyonu |
Ana kontrol ünitesinin yazılım versiyonunu gösterir |
|
CAN Statistics (CAN İstatistikleri) |
Makine iletişim veri yolu durumunu gösterir |
|
InfoCenter Revision |
Bilgi Merkezi ekranının yazılım versiyonunu gösterir |
|
|
|
|
Menü Öğesi |
Açıklama |
|---|---|
|
Traction (Çekiş) |
Arıza Teşhis menü öğeleri hakkında daha fazla bilgi almak için Servis Kılavuzuna veya yetkili Toro distribütörünüze başvurun. |
|
Aeration (Havalandırma) |
|
|
Engine (Motor) |
Korumalı menüler varsayılan olarak gösterilmez. Bu ayarların kilidi PIN Kodu girilerek açılır.
Note: Makinenizin fabrika varsayılan PIN kodu 0000 veya 1234'tür; teslimat sırasında distribütörünüz PIN kodunu değiştirmiş olabilir.Parolanızı değiştirdiyseniz ve unuttuysanız, destek almak için yetkili Toro distribütörünüze danışın.
ANA MENüde ekranı aşağıya kaydırarak AYARLAR menüsüne gelin ve seçme düğmesine basın (Şekil 27).

AYARLAR menüsünde PIN GIR seçeneğine gidin ve seçme düğmesine basın (Şekil 28A).

PIN kodunu girmek için doğru birinci hane görüntülenene kadar yukarı/aşağı gezinme düğmelerine basın, ardından sağ gezinme düğmesine basarak bir sonraki haneye geçin (Şekil 28B ve Şekil 28C). Son hane girilene kadar bu adımı tekrarlayın.
Seçme düğmesine basın (Şekil 28D).
Note: Ekran PIN kodunu kabul eder ve korumalı menülerin
kilidi açılırsa, ekranın sağ üst
köşesinde
görüntülenir.
Korumalı menüleri gizlemek için anahtar düğmesini KAPALı konuma ve ardından AçıK konuma çevirin.
PIN kodunu girdikten sonra AYARLAR menüsüne girin ve ekranı aşağı doğru kaydırarak AYARLARı KORU öğesine gidin.
Korumalı menülerin PIN kodu girilmeden
görüntülenmesini sağlamak için seçme
düğmesini kullanarak AYARLARı KORU seçeneğini
(Kapalı) olarak değiştirin.
Korumalı menüleri görüntülemek
için PIN kodu gerekmesini sağlamak üzere seçme
düğmesini kullanarak AYARLARı KORU ayarını
(Açık) olarak değiştirin,
PIN kodunu ayarlayın ve kontaktaki anahtarı KAPALı ve ardından AçıK konuma getirin.

Yanıp sönen kırmızı—aktif arıza
Sabit kırmızı—aktif uyarı
Sabit mavi—kalibrasyon/iletişim mesajları
Sabit yeşil—normal çalışma
Note: Tasarım ve teknik özellikler önceden haber verilmeden değiştirilebilir.
| Genişlik | 127 cm |
| Dingil mesafesi | 113 cm |
| İz genişliği | 97 cm |
| Delme genişliği | 122 cm |
| Uzunluk | 295 cm (116,3 inç) |
| Kafa yüksekliği (yükseltilmiş halde) | 114 cm |
| Kafa yüksekliği (indirilmiş halde) | 93 cm (36,5 inç) |
| Yükseklik, kol | 154,2 cm (60,7 inç) |
| Yerden yükseklik | 12 cm |
| İleri hız | 0 ila 7,2 km/saat (0 ila 4,5 mil/saat) |
| Geri hız | 0 ila 4 km/saat (0 ila 2,5 mil/saat) |
| Net ağırlık | 745 kg (1642 lb) |
Makine işlevlerini artırmak amacıyla makineyle birlikte kullanılabilecek çok sayıda Toro onaylı ek parça ve aksesuar vardır. Onaylanmış tüm ek parça ve aksesuarların bir listesi için Yetkili Toro Bayinize veya distribütörünüze ulaşın ya da www.Toro.com adresine gidin.
Optimum performans sağlamak için yalnızca orijinal Toro yedek parçaları ve aksesuarları kullanın. Başka üreticilerin ürettiği yedek parça ve aksesuarlar tehlike yaratabilir ve bunların kullanılması ürün garantisini geçersiz kılabilir.
Diş kafası, çim koruyucu ve diş bilgileri için aşağıdaki diş yapılandırma tablosuna bakın:
| Diş Kafası Açıklaması | Diş Kafası Aralığı | Sap Boyutu | Diş Miktarı | Çim Koruyucu Tipi (adet) |
|---|---|---|---|---|
| 2x5 Mini Diş Kafası | 41 mm | 9,5 mm | 60 | 5 Diş—kısa (2) |
| 5 Diş-uzun (1) | ||||
| 1x6 Mini Diş Kafası | 32 mm | 9,5 mm | 36 | 6 Diş-kısa (2) |
| 6 Diş-uzun (1) | ||||
| 3 Diş Kafası (7/8 inç) | 66 mm | 22,2 mm | 18 | 3 Diş-kısa (2) |
| 3 Diş-uzun (1) | ||||
| 3 Diş Kafası (3/4 inç) | 66 mm | 19,5 mm | 18 | 3 Diş-kısa (2) |
| 3 Diş-uzun (1) | ||||
| 4 Diş Kafası (3/4 inç) | 51 mm | 19,5 mm | 24 | 4 Diş-kısa (2) |
| 4 Diş-uzun (1) | ||||
| 5 İğneli Diş Kafası | 41 mm | — | 30 | 5 diş—kısa (2) |
| 5 Diş-uzun (1) |
Note: Makinenin sağ ve sol taraflarını, normal çalışma konumuna göre belirleyin.
Çocukların ve eğitimsiz kişilerin makineyi kullanmalarına veya bakım yapmalarına asla izin vermeyin. Yerel yönetmelikler operatör yaşını sınırlandırabilir. Makine sahibi, tüm operatör ve bakım teknisyenlerinin eğitilmesini sağlamakla sorumludur.
Ekipmanın ve operatör kontrollerinin emniyetli bir şekilde kullanılmasını ve emniyet etiketlerinin anlamlarını öğrenin.
Makineyi hızla durdurmayı ve motorunu kapatmayı öğrenin.
Her çalıştırmadan önce, dişlerin iyi çalışır durumda olduğundan emin olmak için makineyi inceleyin. Aşınmış veya hasar görmüş dişleri yenisiyle değiştirin.
Makineyi kullanacağınız alanı inceleyin ve makinenin çarpabileceği tüm nesneleri alandan çıkarın.
Havalandırılacak alandaki tüm elektrik veya iletişim hatlarını, sulama bileşenlerini ve diğer engelleri bulup işaretleyin. Olası tehlikeleri ortadan kaldırın veya bunlardan nasıl kaçınabileceğinizi planlayın.
Makineyi düz bir yüzeye park edin, park frenini etkinleştirmek için tutma çubuğunu tamamen kaldırıp kilitleyin, motoru kapatın, anahtarı çıkarın ve tüm hareketli parçaların durmasını bekleyin.
Operatör varlığı kontrollerinin, emniyet anahtarlarının ve kalkanların takılı ve sorunsuz çalışır duruma olduğunu kontrol edin. Bunlarda sorunlar varsa makineyi çalıştırmayın.
Yakıt elleçlerken son derece dikkatli olun. Yakıt yanıcıdır ve buharı patlayıcıdır.
Sigaraları, puroları, pipoları ve diğer tutuşma kaynaklarını söndürün.
Sadece onaylanmış bir yakıt kabı kullanın.
Motor çalışıyorken veya sıcakken yakıt kapağını çıkarmayın ya da yakıt deposunu doldurmayın.
Kapalı bir yerde yakıt eklemeyin veya boşaltmayın.
Makineyi veya yakıt kabını asla bir su ısıtıcısı veya diğer cihazlarda bulunan tipte açık alev, kıvılcım veya tutuşturma alevlerinin bulunduğu yerlerde depolamayın.
Yakıt dökerseniz motoru çalıştırmayın; yakıt buharları tamamen ortadan kaybolana kadar her tür tutuşma kaynağını önleyin.
| Tip | Kurşunsuz benzin |
| Minimum oktan derecesi | 87 (ABD) veya 91 (seçilebilir oktan ABD dışı) |
| Etanol | Hacmen maksimum %10 |
| Metanol | Hiçbiri |
| MTBE (metil tertier bütil eter) | Hacmen %15'ten az |
| Yağ | Yakıta eklemeyin. |
Sadece güvenilir bir satıcıdan alınmış temiz ve yeni (en fazla 30 günlük) yakıt kullanın.
Important: Marş sorunlarını azaltmak için, temiz yakıtın içine, yakıt stabilizatörü/koşullandırıcı üreticisinin belirttiği gibi yakıt stabilizatörü/koşullandırıcı ekleyin.
Yakıt deposu kapasitesi: 26,5 lt
Makineyi düz bir yüzeye park edin, park frenini etkinleştirmek için tutma çubuğunu tamamen kaldırıp kilitleyin, motoru kapatın, anahtarı çıkarın ve tüm hareketli parçaların durmasını bekleyin.
Yakıt deposu kapağının çevresini temizleyin ve kapağı çıkarın (Şekil 30).

Yakıt deposuna, yakıt seviyesi yakıt dolum boynunun 6 mm ila 13 mm altına gelene kadar yakıt ekleyin.
Important: Depodaki bu alan, yakıtın genleşmesine imkan tanımak içindir. Yakıt deposunu ağzına kadar doldurmayın.
Yakıt deposu kapağını sıkıca takın.
Dökülen yakıtı silerek giderin.
Her gün makineyi çalıştırmadan önce bölümünde belirtilen Her Kullanımda/Her Gün prosedürünü uygulayın.
| Bakım Servisi Aralıkları | Bakım Prosedürü |
|---|---|
| Her kullanımdan önce veya günlük |
|
Emniyet kilidi sisteminin bağlantısı kesilir veya sistem hasar görürse makine beklenmedik biçimde çalışarak yaralanmaya yol açabilir.
Emniyet kilidi anahtarlarını kurcalamayın.
Her gün makineyi çalıştırmadan önce kilit sisteminin çalışıp çalışmadığını kontrol edin ve hasarlı emniyet kilidi parçalarını değiştirin.
Emniyet kilidi sistemi, çekiş kontrolü BOş konumda değilken motorun çalışmasını önler.
Emniyet kilidi sistemi, operatör varlığı manivelası tamamen serbest bırakılmış değilken motorun çalışmasını önler.
Emniyet kilidi sistemi, delme kafası manivelası tamamen serbest bırakılmış değilken motorun çalışmasını önler.
Emniyet kilidi sistemi, havalandırma sırasında makineyi geriye doğru sürerseniz veya çarpma durdurma anahtarına temas ederseniz delme kafasını yükseltip kapatır.
Important: Emniyet kilidi sistemi açıklandığı gibi çalışmıyorsa, onarılması için hemen yetkili bir Toro distribütörüne başvurun.
Delme kafası indirilmiş durumdaysa şu adımları uygulayın. Delme kafası yükseltilmişse Marş Kilidinin Test Edilmesi bölümüne atlayın.
Motoru çalıştırıp motor devrini YAVAş konuma getirin; Motorun Çalıştırılması bölümüne bakın.
Tutma çubuğunu indirin (Şekil 31).

Bilgi Merkezindeki düğmelerden herhangi birine basın.
Note: Delme kafası yükselir.
Motoru kapatın; Motorun Durdurulması bölümüne bakın.
Çalışır durumdaysa motoru kapatın.
Operatör varlığı manivelasını tutma çubuğuna doğru tutup çekiş kontrolünü (Şekil 32) ileriye doğru çevirin veya geriye doğru çevirin ve motoru çalıştırın.
Important: Motor çalışmamalıdır.

Operatör varlığı manivelasını serbest bırakın, çekiş kontrolünü BOş konuma getirin ve motoru çalıştırın.
Operatör varlığı manivelalarından birini tutma çubuğuna doğru tutup çekiş kontrolünün üst kısmını ileriye doğru çevirin (Şekil 33).
Note: Makine ileriye doğru gider.

Çekiş kontrolünü tutarken operatör varlığı manivelasını serbest bırakın (Şekil 34).
Important: Makine ileriye doğru sürüşü durdurmalıdır.

Operatör varlığı manivelalarından birini tutma çubuğuna doğru tutup çekiş kontrolünün üst kısmını ileriye doğru çevirin (Şekil 35).
Note: Makine ileriye doğru gider.

Operatör varlığı manivelasını ve çekiş kontrolünü tutarken çarpma durdurma anahtarına temas edin (Şekil 36).
Important: Makine ileriye doğru sürüşü durdurmalıdır.
Note: Motor çalışır durumda kalır.

Çarpma durdurma anahtarını sıfırlayın; Çarpma Durdurma Anahtarının Sıfırlanması bölümüne bakın.
Şunlardan birini yapın:
Makineyi, çatal dişlerine ya da alana zarar vermeden havalandırma yapabileceğiniz çim bir alana götürün.
Çatal dişlerini çıkarın.
Operatör varlığı manivelalarından birini tutma çubuğuna doğru tutup çekiş kontrolünün üst kısmını ileriye doğru çevirin ve havalandırma manivelasını kapatın (Şekil 37).
Note: Makine ileriye doğru gider, delme kafası çalışır ve alçalır.

Operatör varlığı manivelasını ve havalandırma manivelasını tutarken çekiş kontrolünün üst kısmını geriye doğru çevirin (Şekil 38).
Important: Delme kafası yükselip çalışmayı durdurmalıdır.
Note: Motor çalışır durumda kalır.

Çekiş kontrolünü BOş konuma getirin.
Çatal dişlerini çıkardıysanız onları takın ve çatal dişi zemin yüksekliğini kalibre edin; Dişlerin Delme Kafasına Monte Edilmesi ve Diş Zemin Yüksekliğinin Kalibre Edilmesi bölümlerine bakın.
Important: Uzun dişlerden kısa dişlere veya kısa dişlerden uzun dişlere her geçtiğinizde diş zemin yüksekliğini kalibre etmeniz gerekmektedir.
Makine için birbirinden farklı diş tutucular, çim koruyucular ve dişler mevcuttur. Ataşman ve Aksesuarlar bölümündeki aksesuar şemasına göre gerekli bileşenleri seçin.
Delme kafasını yükseltin ve servis kilit mandalıyla yerine kilitleyin; Delme Kafasının Servis Kilit Mandalıyla Desteklenmesi bölümüne bakın.
Makineyi düz bir yüzeye park edin, park frenini etkinleştirmek için tutma çubuğunu tamamen kaldırıp kilitleyin, motoru kapatın, anahtarı çıkarın ve tüm hareketli parçaların durmasını bekleyin.
Note: Fabrika; çim koruyucu kelepçeleri, rondelaları ve flanşlı kilit somunlarını çim koruyucu braketlere sabitlenmiş olarak gönderir (Şekil 39).
Çim koruyucuları, 4 çim koruyucu kelepçesi ve 12 flanşlı kilit somunu (3/8 inç) ve 12 rondela (7/16 x 13/16 inç) ile çim koruyucu braketlere gevşek şekilde monte edin.
Note: Flanşlı kilit somunlarını sıkmayın.

Çatal dişi kelepçesini diş tutucuya (Şekil 40) 4 cıvatayla (3/8 x 1-1/2 inç) gevşek şekilde monte edin. Cıvataları sıkmayın.
Note: Cıvatalar, diş tutucu kitlerindeki parçalardır.

Dişleri diş tutucuya ve çatal dişi kelepçesine monte edin (Şekil 41).

Çatal dişi kelepçelerini ve dişleri sabitleyerek cıvataları (3/8 x 1-1/2 inç) 40,6 N∙m torkla sıkın.
Diğer çatal dişi kelepçeleri, diş tutucular ve dişler için 1 ila 3 arası adımları tekrarlayın.
Diş tutucuyu ve dişleri diş kolu #2’ye (Şekil 42 ve Şekil 43) 3 cıvatayla (1/2 x 1-1/4 inç) gevşek şekilde monte edin.


Cıvataları (1/2 x 1-1/4 inç) 102 N∙m torkla sıkın.
Diş kolu #5 için 1 ve 2 arası adımları tekrarlayın.
Çim koruyucu yuvalarının dişlerle hizasını kontrol ederek ortalanmış olduklarından emin olun (Şekil 44).
Note: Çim koruyucuları gerektiği gibi ayarlayın.

3 çim koruyucu kelepçesini ve 3 çim koruyucuyu 3 çim koruyucu brakete sabitleyen flanşlı kilit somunlarını (3/8 inç) torkla sıkın.
Kalan diş tutucu ve dişleri #1, #3, #4 ve #6 diş tutuculara 12 cıvatayla (1/2 x 1-1/4 inç) takın.
Cıvataları (1/2 x 1-1/4 inç) 102 N∙m torkla sıkın.
Makineyi diş için zemin yüksekliğine kalibre edin; Zemin Yüksekliğini Öğretme Uygulamasının Çalıştırılması bölümüne bakın.
Kontak anahtarını ÇALışTıR konumuna çevirin.
Oklar TAşıMA modu ekranında veya HAVALANDıRMA modu ekranında görünmüyorsa korumalı menülere erişmek için PIN kodunu girin; Korumalı Menülere Erişim bölümüne bakın.
Note: TAşıMA modu ekranı veya HAVALANDıRMA modu ekranı göstergeleri (Şekil 45).

Diş Zemin Yüksekliğini Kalibre Etme ekranını görüntülemek için sağ düğmeye iki kez basın (Şekil 46).
Note: TAşıMA veya HAVALANDıRMA modu ekranını görüntülemek için sol düğmeye basın.

Delik Derinliğini Ayarlama ekranını görüntülemek için sağ düğmeye basın (Şekil 47).
Note: Zemin Yüksekliğini Öğretme ekranını görüntülemek için sol düğmeye basın.

Delik Aralığını Ayarlama ekranını görüntülemek için sağ düğmeye basın (Şekil 48).
Note: Delik Derinliğini Ayarlama ekranını görüntülemek için sol düğmeye basın.

Diş Çapını Ayarlama ekranını görüntülemek için sağ düğmeye basın (Şekil 48).
Note: Delik Aralığını Ayarlama ekranını görüntülemek için sol düğmeye basın.

Diş Miktarını Ayarlama ekranını görüntülemek için sağ düğmeye basın (Şekil 50).
Note: Diş Çapını Ayarlama ekranını görüntülemek için sol düğmeye basın.

Note: ProCore 648s, 7,6 cm derinliğe ayarlandığında çok çeşitli çim ve toprak türlerinde, farklı tarımsal koşullarda ve farklı çatal dişi stillerinde optimum havalandırma performansı sağlamak üzere tasarlanmıştır. Daha sığ ayarlarda, özellikle 5 cm’den daha az derinliklerde ve daha küçük çatal dişleriyle kullanıldığında, yüzeyde daha fazla bozulmaya neden olabilir.
Delme kafasının yükseltildiğine emin olun; Delme Kafasının Yükseltilmesi bölümüne bakın.
Kontak anahtarını ÇALışTıR konumuna çevirin.

Delik Derinliğini Ayarlama ekranı görüntülenene kadar sağ düğmeye basın (Şekil 51 ve Şekil 52).
Diş derinliğini yukarı ve aşağı düğmelerini kullanarak (Şekil 52) aşağıdaki gibi ayarlayın:
Delik derinliğini azaltmak için aşağı düğmesine basın.
Delik derinliğini artırmak için yukarı düğmesine basın.

Ayarlarınızı kaydedip derinlik ekranından çıkmak için sol veya sağ düğmesine basın.
Kontak anahtarını KAPALı konuma çevirin.
Note: Zemin yüksekliği kalibrasyonunu çalıştırdıktan sonra izin verilen maksimum derinlikte (herhangi bir uzunluktaki dişle) havalandırma yapıyorsanız, çim koruyucu cıvatalar çimi sürükler veya çime temas ederse derinliği bir adım (1/4 inç) azaltın.
Note: Bir hedef delik aralığı oranı seçtiğinizde makine, delik aralığı mesafesini korumak için yer hızını kontrol eder.
Delme kafasının yükseltildiğine emin olun; Delme Kafasının Yükseltilmesi bölümüne bakın.
Kontak anahtarını ÇALışTıR konumuna çevirin.

Delik Aralığını Ayarlama ekranı görüntülenene kadar sağ düğmeye basın (Şekil 53 ve Şekil 54).
Delik aralığını (Şekil 54) aşağıdaki gibi ayarlayın:
Delik aralığını azaltmak için aşağı düğmesine basın.
Delik aralığını artırmak için yukarı düğmesine basın.

Ayarlarınızı kaydedip aralık ekranından çıkmak için sol veya sağ düğmesine basın.
Kontak anahtarını KAPALı konuma çevirin.
Delme kafasının yükseltildiğine emin olun; Delme Kafasının Yükseltilmesi bölümüne bakın.
Kontak anahtarını ÇALışTıR konumuna çevirin.

Diş Çapını Ayarlama ekranı görüntülenene kadar sağ düğmeye basın (Şekil 55 ve Şekil 56).
Diş çapını yukarı ve aşağı düğmelerini kullanarak (Şekil 56) aşağıdaki gibi ayarlayın:
Diş çapını artırmak için yukarı düğmesine basın.
Diş çapını azaltmak için aşağı düğmesine basın.

Ayarlarınızı kaydedip çap ekranından çıkmak için sol veya sağ düğmesine basın.
Kontak anahtarını KAPALı konuma çevirin.
Delme kafasının yükseltildiğine emin olun; Delme Kafasının Yükseltilmesi bölümüne bakın.
Kontak anahtarını ÇALışTıR konumuna çevirin.

Diş Miktarını Ayarlama ekranı görüntülenene kadar sağ düğmeye basın (Şekil 58).
Diş miktarını yukarı ve aşağı düğmelerini kullanarak (Şekil 58) aşağıdaki gibi ayarlayın:
Important: Diş miktarı 1 tutucu için diş sayısıdır.
Diş miktarını artırmak için yukarı düğmesine basın.
Diş miktarını azaltmak için aşağı düğmesine basın.

Ayarınızı kaydedip diş miktarı ekranından çıkmak için sol veya sağ düğmesine basın.
Kontak anahtarını KAPALı konuma çevirin.
| Bakım Servisi Aralıkları | Bakım Prosedürü |
|---|---|
| Her kullanımdan önce veya günlük |
|
Important: Dişleri her değiştirdiğinizde veya yıpranmış dişleri değiştirdiğinizde diş zemin yüksekliğini kalibre edin.
Delme kafasının yükseltildiğine emin olun.
Makineyi düz bir yüzeye park edin, park frenini etkinleştirmek için tutma çubuğunu tamamen kaldırıp kilitleyin, motoru kapatın, anahtarı çıkarın ve tüm hareketli parçaların durmasını bekleyin.
Delme kafası kapağını çıkarın; Delme Kafası Kapağının Çıkarılması bölümüne bakın.
En dıştaki dişler zemine en yakın şekilde hizalanana kadar (Şekil 60) delme kafası kasnağını (Şekil 59) çevirin.
Important: Parmaklarınızın sıkışmaması için parmaklarınızı kayışın kasnakla birleşip ayrıldığı bölgeden uzak tutun.


Delme kafası kapağını takın; Delme Kafası Kapağının Takılması bölümüne bakın.
Kontak anahtarını ÇALışTıR konumuna çevirin.
Note: TAşıMA modu ekranı veya HAVALANDıRMA modu ekranı göstergeleri (Şekil 61).

Tutma çubuğunu, Makinenin Hazırlanması bölümünde konumlandırdığınız en dıştaki dişleri görebilecek şekilde hareket ettirin.
ZEMIN YüKSEKLIğINI ÖğRETME sihirbazı görüntülenene kadar sağ düğmeye basın.
Zemin Yüksekliğini Öğretme ekranında(Şekil 62) ortadaki düğmelerden birine basın.

ÖğRETMEYE BAşLAMAK IçIN OK DüğMESINE BASıN ekranında (Şekil 63) seçme düğmesine basın.

Note: KALIBRASYON ETKINLEşTIRILDI mesajı görüntülenir ve delme kafası yavaşça alçalır.
Important: Elinizi Bilgi Merkezi yakınında tutun.
Note: Hidrolik sıvısı soğuksa delme kafası daha yavaş alçalır.
Dişlerden biri zemine değdiğinde Kafa Alçaltma ekranındaki seçme düğmesine basın (Şekil 64).
Note: Dişler sadece yere değmelidir; lastiklerden ağırlığı kaldırmamalı veya boşaltmamalıdır.Delme kafası makineyi kaldırırsa makine, zemin yüksekliğini yanlış şekilde kalibre ederek yanlış delik derinliğine ve havalandırma deliğinde giriş öbekleşmesine yol açar.

Note: KALIBRASYON BITTI mesajı görüntülenir ve kafa tamamen yükselir.
Zemin Yüksekliğini Öğretme uygulamasından çıkmak için geri düğmesine basın.
Makine sahibi/operatörü, yaralanma veya maddi hasara yol açabilecek kazaları önleyebilir ve önlemekle sorumludur.
Göz koruyucu, uzun pantolon, kaymaz ayakkabı ve kulak koruyucu gibi uygun kişisel koruyucu donanımlar giyin. Uzun saçları arkada bağlayın, bol kıyafetleri dar bir şekilde sabitleyin ve takı takmayın.
Yorgun, hasta veya alkol/ilaç etkisi altındayken makineyi çalıştırmayın.
Çocukları, çevredekileri ve evcil hayvanları çalışma alanından uzak tutun. Çocukların makineyi kullanmasına izin vermeyin. Sadece sorumlu, eğitimli, talimatlar konusunda bilgili ve fiziksel olarak makineyi çalıştırabilir durumda olan kişilere izin verin.
Makinenin üstünde asla yolcu taşımayın.
Çukurlardan ve gizli tehlikelerden uzak durmak için makineyi sadece görüşün iyi olduğu ortamlarda kullanın.
El ve ayaklarınızı çatal dişlerinden uzak tutun.
Geriye doğru gitmeden önce, yolun açık olduğundan emin olmak için arkanıza ve aşağıya bakın.
Makinede anormal bir titreşim olursa makineyi durdurun, motoru kapatın, tüm hareketli parçaların durmasını bekleyin ve çatal dişlerini inceleyin. Çalışmaya devam etmeden önce gerekli tüm onarımları yapın.
Her zaman uygun lastik basıncını koruyun.
Bozuk yol ve zeminlerde ilerleme hızını azaltın.
Yokuşlar araç hakimiyetinin kaybedilmesine ve aracın devrilmesine neden olabilir ve bu da ağır yaralanma veya ölüme yol açabilir. Yokuşlarda güvenli bir şekilde çalışmak sizin sorumluluğunuzdur. Makineyi yokuşlarda kullanırken daha da dikkatli olun.
Eğimin makinenin çalışması açısından güvenli olup olmadığını belirlemek için saha koşullarını değerlendirin ve sahada önceden keşif yapın. Bu incelemeyi yaparken mantıklı düşünün ve doğru kararlar vermeye dikkat edin.
Makineyi yokuşlarda çalıştırmak için aşağıda listelenen yokuş talimatlarını inceleyin ve makineyi o gün ve o alandaki koşullarda çalıştırıp çalıştıramayacağınızı belirlemek için koşulları gözden geçirin. Arazi yapısındaki değişiklikler, makinenin yokuşlarda çalışma şeklinde değişikliğe neden olabilir.
Makineyi eğimlerde çalıştırmayın, durdurmayın veya döndürmeyin. Ani hız veya yön değişiklikleri yapmaktan kaçının. Yavaşça ve kademeli olarak dönüş yapın.
Makineyi, çekişin, manevranın veya stabilitenin olumsuz etkilenebileceği koşullarda kullanmayın.
Hendekler, delikler, tekerlek izleri, tümsekler, kayalar veya diğer gizli tehlikeler gibi engelleri ortadan kaldırın veya işaretleyin. Uzun çimler bazı engelleri gizliyor olabilir. Bozuk zemin, makinenin devrilmesine yol açabilir.
Makineyi ıslak çimde, eğimlerde veya yokuş aşağı kullanmak makinenin çekiş kaybetmesine yol açabilir. Tahrik tekerleklerinde çekiş kaybı yaşanması kaymaya ve manevra ile frenleme kabiliyetinin kaybedilmesine yol açabilir.
Makineyi, yamaçların, hendeklerin, toprak setlerinin, suyun veya diğer tehlikelerin yakınında çok dikkatli kullanın. Tekerleklerden biri güçsüz bir zeminden geçerse veya zemin çökerse makine aniden devrilebilir. Makine ile olası bir tehlike kaynağı arasında emniyetli bir mesafe bırakın.
Park frenini etkinleştirmek için tutma çubuğunu tamamen kaldırın (Şekil 65).

Tutma çubuğu mandal piminin, kilit plakasındaki delikten uzandığına emin olun (Şekil 66).
Park freni etkinleşmezse makine hareket ederek sizi veya çevredekileri yaralayabilir.
Tutma çubuğunun tamamen kalkmış olduğundan ve kilit plakasına güvenli şekilde kilitlendiğinden emin olun.

Tutma çubuğunu tamamen kaldırıp kilitleyerek park frenini etkinleştirin; Park Freninin Etkinleştirilmesi bölümüne bakın.
Jigleyi (Şekil 70) aşağıdaki gibi kullanın:
Soğuk bir motoru çalıştırmadan önce, jigle kolunu AçıK konumuna getirin.
Ilık veya sıcak bir motoru çalıştırırken jigleyi kullanmanız gerekmeyebilir.

Soğuk bir motoru çalıştırmadan önce gaz kolunu HıZLı konumuna getirin.
Kontak anahtarını BAşLAT konumuna çevirin. Motor çalışınca anahtarı bırakın.
Important: Marşı tek seferde 10 saniyeden fazla basılı tutmayın. Motor çalışmazsa, çalıştırma denemeleri arasında 30 saniye bekleyin. Bu talimatlara uyulmaması marş motorunu yakabilir.
Motor çalıştıktan sonra, jigleyi KAPALı konumuna doğru getirin. Motor zor çalışır veya durursa jigleyi birkaç saniyeliğine tekrar AçıK konumuna doğru getirin. Ardından gaz kolunu istenen motor devrine getirin.
Note: Gerektiğinde bu adımı tekrarlayın.
Yanından ayrıldığınız makineyi hareket ettiren veya çalıştırmaya çalışan kişiler ya da çocuklar yaralanabilirler.
Makineyi birkaç dakikalığına bile olsa gözetimsiz bırakacağınız zaman park frenini etkinleştirmek, motoru kapatmak ve anahtarı çıkarmak için mutlaka tutma çubuğunu tamamen kaldırın ve kilitleyin.
Tutma çubuğunu tamamen kaldırıp kilitleyerek park frenini etkinleştirin; Park Freninin Etkinleştirilmesi bölümüne bakın.
Gaz kolunu (Şekil 71) YAVAş konumuna getirin.

Motorun 60 saniye rölantide kalmasına izin verin.
Kontak anahtarını KAPALı konuma getirip anahtarı çıkarın.
Makineyi taşıyor veya depoya kaldırıyorsanız yakıt kısma vanasını kapatın (Şekil 72).
Important: Makineyi bir römorkun üzerinde taşımadan veya depoya kaldırmadan önce yakıt kısma vanasını kapatın. Makineyi taşımadan önce tutma çubuğunu tamamen kaldırıp kilitleyerek park frenini etkinleştirin. Yakıt pompasının çalışarak akünün boşalmasına yol açmasını önlemek için anahtarı kontak anahtarından çıkarın.

Important: Makineyi kullanırken makinenin önünde ileri doğru yürüyün; geriye doğru yürümeyin ve arkanıza bakmayın.

Hız Kilidinin kullanılması makineyi, çekiş kontrolünü tutmanıza gerek kalmadan sürmenizi sağlar.
Note: Makineyi geriye doğru sürerken hız kilidi özelliğini kullanamazsınız.
Havalandırma yaparken hız kilidinin kullanılması bir havalandırma geçişinin sonunda makineyi seçilen delik aralığı hızında sürmeye devam etmenize, makineyi döndürmenize ve çekiş kontrolü konumunu değiştirmeden bir sonraki havalandırma geçişine başlamanıza olanak tanır.
Note: Havalandırma modunda hız kilidi özelliği, delme başlığı gecikmeli bırakma moduna ayarlandığında etkindir; hız kilidi özelliği hemen bırakma modunda kilitlidir.
Yer hızı kilidi otomobillerdeki hız sabitleyici gibi çalışır.
Taşıma/havalandırma anahtarına basarak TAşıMA konumuna getirin (Şekil 74).

Hız kilidi anahtarına basarak AçıK konuma getirin.
Makineyi istenen yer hızıyla ileri doğru sürün.
Hız kilidi anahtarına basarak ETKINLEşTIR konumuna getirin.
Note: Yer hızı kilidi, makinenin sürüldüğü mevcut yer hızını korur. Çekiş kontrolünü serbest bırakabilirsiniz.
Hız kilidi işlemini devre dışı bırakmak için aşağıdakilerden birini yapın:
Hız kilidi anahtarına basarak KAPALı konuma getirin.
Makineyi geriye doğru sürmek için çekiş kontrolünün üst kısmını arkaya doğru çevirin.
Operatör varlığı manivelasını serbest bırakın.
Çarpma durdurma anahtarına basın.
Note: Hemen bırakma modunda havalandırma yaparken yer hızı kilidi kullanılamaz.
Taşıma/havalandırma anahtarına basarak HAVALANDıRMA konumuna getirin (Şekil 75).

Hız kilidi anahtarına basarak AçıK konuma getirin.
Makineyi ileri doğru sürüp havalandırma manivelasını kapatın.
Note: Yer hızı kilidi etkinleşir ve delme kafası alçalır.
Havalandırma geçişinin sonunda havalandırma manivelasını serbest bırakın.
Note: Delme kafası yükselir ancak makine, yer hızını havalandırma delik aralığı oranında korur.
Hız kilidi işlemini devre dışı bırakmak için aşağıdakilerden birini yapın:
Hız kilidi anahtarına basarak KAPALı konuma getirin.
Makineyi geriye doğru sürmek için çekiş kontrolünün üst kısmını arkaya doğru çevirin.
Operatör varlığı manivelasını serbest bırakın.
Çarpma durdurma anahtarına basın.
Note: Makineyi bir iş sahasından diğerine götürürken taşıma modunu kullanın.
Note: Taşıma/havalandırma anahtarı HAVALANDıRMA konumunda olduğunda makine daha düşük bir değişken hızla gider.
Motoru çalıştırıp gaz kontrolünü HıZLı konuma getirin; Motorun Çalıştırılması bölümüne bakın.
Park frenini serbest bırakmak için tutma çubuğunu alçaltın; Park Freninin Serbest Bırakılması bölümüne bakın.
Taşıma/havalandırma anahtarının sol tarafına basarak TAşıMA konumuna getirin (Şekil 76).

Note: Bilgi Merkezinde TAşıMA simgesi görüntülenir (Şekil 77).

Hareket edeceğiniz yöne doğru bakarak önünüzde herhangi bir engel olmadığından emin olun.
Sol veya sağ tutma çubuğunu ve operatör varlığı manivelasını kavrayıp (Şekil 76) manivelayı tutma çubuğuna doğru sıkın.
Makineyi aşağıdaki gibi sürmek için sol veya sağ çekiş kontrolünü başparmağınızla çevirin:
Makineyi ileriye doğru sürmek için çekiş kontrolünün üst kısmını ileriye doğru çevirin.
Makineyi geriye doğru sürmek için çekiş kontrolünün üst kısmını arkaya doğru çevirin.
Note: Çekiş kontrolünün daha fazla çevrilmesi makinenin yer hızını artırır.
Important: Makineyi hemen durdurmak için çarpma durdurma anahtarına basın (Şekil 78).

Havalandırma yapıyorsanız delme kafasını yükseltmek için havalandırma manivelasını (Şekil 79) serbest bırakın; Delme Kafasının Yükseltilmesi bölümüne bakın.

Çekiş kontrolünü serbest bırakın ve BOş konuma geçmesini sağlayın.
Operatör varlığı manivelasını serbest bırakın.
Tutma çubuğunu tamamen kaldırıp kilitleyerek park frenini etkinleştirin; Park Freninin Etkinleştirilmesi bölümüne bakın.
Note: Delme kafası yükseltildiğinde makine daha düşük bir değişken hızla gider.
Motoru çalıştırıp gaz kontrolünü HıZLı konuma getirin; Motorun Çalıştırılması bölümüne bakın.
Park frenini serbest bırakmak için tutma çubuğunu alçaltın; Park Freninin Serbest Bırakılması bölümüne bakın.
Taşıma/havalandırma anahtarının sağ tarafına basarak HAVALANDıRMA konumuna getirin (Şekil 80).

Bilgi Merkezinde mevcut delik derinliği ve delik aralığı görüntülenir (Şekil 81).

Hareket edeceğiniz yöne doğru bakarak önünüzde herhangi bir engel olmadığından emin olun.
Sol veya sağ tutma çubuğunu ve operatör varlığı manivelasını kavrayıp (Şekil 80) manivelayı tutma çubuğuna doğru sıkın.
Makineyi ileriye doğru sürmek için sol veya sağ çekiş kontrolünün üst kısmını başparmağınızla çevirin.
Note: Havalandırma sırasında makine, hedef delik aralığı için seçiminizi karşılayacak bir hızda gider.
Yer hızı kilidini kullanırken havalandırma manivelasının, çekiş kontrolü konumunu değiştirmeden serbest bırakılması, makinenin, yer hızını, bir otomobildeki hız sabitleyici gibi korumasını sağlar.
Makinenin ters yönde sürülmesi hız sabitleyici etkisini devre dışı bırakır ve makinenin değişken yer hızında gitmesine neden olur.
Makineyi başka bir geçiş için döndürmek üzere kafayı kaldırdığınızda, çekiş kontrolünü daha ileri götürerek yer hızını artırabilirsiniz. Çekiş kontrolünü BOş konuma döndürdüğünüzde makineniz hızı havalandırma delik aralığı için gereken yer hızına düşer.
Gecikmeli bırakma modunda havalandırma yaparken bırakma noktasını görmek için ön lastiği kullanın.
Bırakma kontrol anahtarının üst kısmına basarak (Şekil 82) GECIKMELI BıRAKMA konumuna getirin.

Makineyi ileri yönde sürün; Makinenin Havalandırma Modunda Sürülmesi bölümüne bakın.
Ön lastik havalandırma alanının çevresinden geçerken sol veya sağ havalandırma manivelasını kapatın (Şekil 83).
Note: Makine ilerleyerek hedef havalandırma alanını geçerken delme kafası çalışır ve alçalır.

Gecikmeli bırakma modundayken kaldırma noktasını görmek için ön lastiği (Şekil 84) kullanın.

Delme kafasını yükseltmek için aşağıdakilerden birini yapın:
Ön lastik havalandırma alanının çevresinden geçerken havalandırma manivelasını serbest bırakın (Şekil 85).
Note: Makine, delme kafası ön lastiği kullanarak belirlediğiniz hedef noktaya ulaşana ve havalandırma manivelasını serbest bırakana kadar delme kafasını kaldırmayı erteler.

Makineyi ters yönde sürün; Makinenin Ters Yönde Sürülmesi bölümüne bakın.
Bırakma kontrol anahtarının alt kısmına basarak (Şekil 86) HEMEN BıRAKMA konumuna getirin.
Note: Anahtardaki ışık yanar.

Makineyi ileri yönde sürün; Makinenin Havalandırma Modunda Sürülmesi bölümüne bakın.
Sol veya sağ havalandırma manivelasını kapatın (Şekil 87).
Note: Delme kafası hemen alçalarak havalandırmaya başlar.

Delme kafasını yükseltmek için aşağıdakilerden birini yapın:
Havalandırma manivelasını serbest bırakın (Şekil 88).
Note: Makine, delme kafasını hemen kaldırır.

Makineyi ters yönde sürün; Makinenin Ters Yönde Sürülmesi bölümüne bakın.
Çekiş kontrolünü serbest bırakıp BOş konuma geçmesini sağlayın ve operatör varlığı manivelasını serbest bırakın (Şekil 91).

Çarpma durdurma anahtarından uzaklaşın (Şekil 92).
Note: Çarpma durdurma anahtarındaki bir yay, anahtarı sıfırlar.

Sol veya sağ tutma çubuğunu ve operatör varlığı manivelasını kavrayıp (Şekil 93) manivelayı tutma çubuğuna doğru sıkın.

Makineyi sürün, Makinenin Taşıma Modunda Sürülmesi veya Makinenin Havalandırma Modunda Sürülmesi bölümüne bakın.
Havalandırma sıralarını (Şekil 94) hizalamak için çizgi işaretleyiciyi kullanın.

Makine, havalandırılan alanı ve yer değiştiren toprak parçası hacmini kaydetmek için 2 sayaç kullanır. Havalandırılan çim alan(lar)a uygulanacak kumlama miktarını hesaplamak için bu sayaçlardan gelen bilgileri kullanın.
Alan 1 sayacı PIN kodu korumalı değildir ve makine operatörü tarafından sıfırlanması amaçlanmaktadır.
Note: Operatör, her havalandırma sahası için Alan 1 sayacını kaydederse her saha için üst toprak miktarını ve teslimat gerekliliklerini hesaplayabilirsiniz.
Alan 2 sayacı PIN kodu korumalıdır ve süpervizör ya da görevlendirdiği kişi tarafından sıfırlanması amaçlanmaktadır.
Havalandırılan alan, m2 (SI) veya ft2 (İngiliz) ölçü birimlerinde gösterilir.
Yer değiştiren delme hacmi, m3 (SI) veya yd3 (İngiliz) ölçü birimlerinde gösterilir.
Yer değiştiren delme hacmi sayaçlarını görüntülerken makine, hacmi, Bilgi Merkezine girdiğiniz diş çapını ve diş miktarını kullanarak hesaplar.
Important: Sahayı havalandırmadan önce diş çapı ve/veya diş miktarı değer(ler)i yanlışsa Bilgi Merkezi, Alan 1 ve Alan 2 için yanlış parça hacmi değerleri hesaplayacak ve gösterecektir. Havalandırma sonrasında çap ve/veya miktar değerleri değiştirilirse Bilgi Merkezi, görüntülenen hacim değerlerini değiştirecektir.
Makineyi düz bir zemine park edin.
Motorun çalıştığından veya kontak anahtarının ÇALışTıR konumunda olduğundan emin olun.
Bilgi Merkezinde ANA MENüye gidin.
SERVIS seçeneği seçilene kadar aşağı düğmesine basın, ardından seçme düğmesine basın (Şekil 95).

SERVIS ekranında İSTATISTIKLER seçeneği seçilene kadar aşağı düğmesine basın, ardından seçme düğmesine basın (Şekil 96).

Note: İSTATISTIKLER ekranında bir ALAN sayacı görüntülenir.

İSTATISTIKLER ekranında ALAN 1 seçeneği seçilene kadar aşağı düğmesine basın (Şekil 98).

Havalandırma alanını ve toprak parçası hacmini bir çalışma sayfasına kaydedin; aşağıdaki örneğe bakın.
|
Tarih |
Saha (birden fazlaysa) |
Konum |
Havalandırma Alanı |
Parça Hacmi |
Alan ve hacmi sıfırlama ekranını görüntülemek için seçme düğmesine basın.
ALAN VE HACMI SıFıRLAMA EKRANında, seçme düğmesine basın.
Note: Bilgi Merkezinde istatistik ekranı görüntülenir ve alan ve hacim sayaçları 0 değerine döner.
Note: Alan 1 sayacını sıfırlamazsanız alan ve hacim sayaçları veri toplamaya devam eder.

1 ila 4 arası adımları gerektiği gibi tekrarlayın.
Ana menüye dönmek için geri düğmesine basın.
Note: ALAN 2 sayaçlarının sıfırlanması ALAN 1 sayaçlarını sıfırlamaz.
Korumalı menülere erişmek için PIN’i girin; Korumalı Menülere Erişim bölümüne bakın.
İSTATISTIKLER ekranında ALAN 2 seçeneği seçilene kadar aşağı düğmesine basın (Şekil 100).

Gerekirse havalandırma alanı ve toprak parçası hacmi verilerini kaydedin.
Alan ve hacmi sıfırlama ekranını görüntülemek için seçme düğmesine basın.
ALAN VE HACMI SıFıRLAMA EKRANında, seçme düğmesine basın (Şekil 101).
Note: Bilgi Merkezinde istatistik ekranı görüntülenir ve alan ve hacim sayaçları 0 değerine döner.
Note: Alan 2 sayacını sıfırlamazsanız alan ve hacim sayaçları veri toplamaya devam eder.

Ana menüye dönmek için geri düğmesine basın.
Delme kafasına bakım yapmadan önce veya makineyi birkaç günden uzun süreyle depoya kaldıracağınız zaman servis kilit mandalını takın.
Delme kafası yükseltilir ve kilitlenmezse beklenmedik bir şekilde düşebilir ve sizi veya yoldan geçenleri yaralayabilir.
Delme kafasına her servis yaptığınızda (dişlerin veya çim koruyucuların değiştirilmesi dahil), delme kafasını yükseltilmiş konumda sabitlemek için servis kilit mandalını kullanın.
Delme kafasını yükseltin.
Makineyi düz bir yüzeye park edin, park frenini etkinleştirmek için tutma çubuğunu tamamen kaldırıp kilitleyin, motoru kapatın, anahtarı çıkarın ve tüm hareketli parçaların durmasını bekleyin.
Delme kafası kapağını çıkarın; Delme Kafası Kapağının Çıkarılması bölümüne bakın.
Servis kilit mandalını yan plakaya sabitleyen sıkıştırma pimini çıkarın (Şekil 102).

Servis kilit mandalını arkaya doğru döndürün ve delme kafasının destek pimi üzerine hizalayın.
Mandalı sıkıştırma pimiyle destek pimine tutturun.
Gerekirse delme kafası kapağını takın; Delme Kafası Kapağının Takılması bölümüne bakın.
Makineyi düz bir yüzeye park edin, park frenini etkinleştirmek için tutma çubuğunu tamamen kaldırıp kilitleyin, motoru kapatın, anahtarı çıkarın ve tüm hareketli parçaların durmasını bekleyin.
Delme kafası kapağı takılıysa çıkarın; Delme Kafası Kapağının Çıkarılması bölümüne bakın.
Servis kilit mandalını delme kafasının destek pimine sabitleyen sıkıştırma pimini çıkarın (Şekil 103).

Servis kilit mandalını aşağı doğru döndürün ve yan plakanın destek pimi üzerine hizalayın.
Mandalı sıkıştırma pimiyle destek pimine tutturun.
Delme kafası kapağını takın; Delme Kafası Kapağının Takılması bölümüne bakın.
Important: Hasarlı bir dişin aynı uzunlukta bir dişle değiştirilmesi. Farklı diş uzunlukları delik görünümünü olumsuz yönde etkiler.
Farklı diş uzunlukları delik görünümünü etkiler.
Çizimler için bkz. Çim Koruyucu, Diş Tutucu ve Dişlerin Takılması.
Delme kafasını yükseltin ve servis kilit mandalıyla yerine kilitleyin.
Makineyi düz bir yüzeye park edin, park frenini etkinleştirmek için tutma çubuğunu tamamen kaldırıp kilitleyin, motoru kapatın, anahtarı çıkarın ve tüm hareketli parçaların durmasını bekleyin.
Çatal dişi tutucu cıvataları gevşetin ve eski çatal diş(ler)ini sökün.
Yeni çatal diş(ler)ini diş tutucuya yerleştirin.
Çatal dişi tutucu cıvataları 40,6 N∙m torkla sıkın.
Gerekirse bu işlemi diğer kollarda da tekrarlayın.
Mevcut diş zemin yüksekliğini hızla kontrol etmek için zemin yüksekliği geri çağırma uygulamasını kullanın.
Uygulama, kafayı daha önce kalibre edilen konuma getirir; kafa konuma geldikten sonra diş uçlarının zemine olan mesafesini inceleyebilirsiniz.
Delme kafasının yükseltildiğine emin olun.
Makineyi düz bir yüzeye park edin, park frenini etkinleştirmek için tutma çubuğunu tamamen kaldırıp kilitleyin, motoru kapatın, anahtarı çıkarın ve tüm hareketli parçaların durmasını bekleyin.
Delme kafası kapağını çıkarın; Delme Kafası Kapağının Çıkarılması bölümüne bakın.
En dıştaki dişler zemine en yakın şekilde hizalanana kadar delme kafası kasnağını (Şekil 104) çevirin.
Important: Parmaklarınızın sıkışmaması için parmaklarınızı kayışın kasnakla birleşip ayrıldığı bölgeden uzak tutun.


Delme kafası kapağını takın; Delme Kafası Kapağının Takılması bölümüne bakın.
Korumalı menülere erişmek için PIN’i girin; Korumalı Menülere Erişim bölümüne bakın.
Bilgi Merkezinde ANA MENüye gidin.
SERVIS seçeneği seçilene kadar aşağı düğmesine basın, ardından seçme düğmesine basın (Şekil 105).

ZEMIN YüKSEKLIğI seçeneğine gitmek için Bilgi Merkezinde aşağı düğmesine basın, ardından seçme düğmesine basın.
KALIBRASYONU GERI ÇAğıRMA seçeneğine gitmek için Bilgi Merkezinde aşağı düğmesine basın, ardından seçme düğmesine basın.
Zemin Yüksekliği Geri Çağırma ekranında (Şekil 106) seçme düğmesine basın.

Kafa Alçalacaktır ekranında (Şekil 107) seçme düğmesine basın.

Note: Kafa Alçalıyor mesajı görüntülenir ve delme kafası alçalır.
Aşağıdaki kalibrasyon dışı koşullar için en dıştaki dişlere dikkat edin.
Dişler zemine penetre olmaya başlarsa seçme düğmesine basın (Şekil 108) ve ZEMIN YüKSEKLIğINI ÖğRETME uygulamasını çalıştırın; Zemin Yüksekliğini Öğretme Uygulamasının Çalıştırılması bölümüne bakın.
Dişler zeminin üzerindeyse seçme düğmesine basın ve ZEMIN YüKSEKLIğINI ÖğRETME uygulamasını çalıştırın; Zemin Yüksekliğini Öğretme Uygulamasının Çalıştırılması bölümüne bakın.

En dıştaki dişler zemine hafifçe değerse delme kafasını yükseltmek için seçme düğmesine basın.
Makine, çeşitli toprak yapılarında delik derinliğinin korunmasına yardımcı olmak için ağırlığı çekiş ünitesinden delme kafasına aktarır. Bununla birlikte, toprak yapısı tam havalandırma derinliğine izin vermeyecek kadar sağlamsa, delme kafası için ek ağırlık aktarımı gerekebilir. Makine fabrikada normal ağırlık aktarımı için ayarlanmıştır. Ağırlık aktarma yaylarının aşağı basıncını artırmak için şunları yapın:
Yay plakalarının aniden serbest kalması yaralanmaya neden olabilir.
Ağırlık aktarma yayının ayarlanmasına yardımcı olması için başka bir kişinin yardımını alın.
Makineyi düz bir yüzeye park edin, park frenini etkinleştirmek için tutma çubuğunu tamamen kaldırıp kilitleyin, motoru kapatın, anahtarı çıkarın ve tüm hareketli parçaların durmasını bekleyin.
Yaylı gergi plakasını delme kafasının destek braketine sabitleyen ön flanşlı kilit somunu ve taşıyıcı cıvatayı gevşetin (Şekil 109).
Note: Kilit somunu ve taşıyıcı cıvatayı çıkarmayın.

Yaylı braketleri destek braketine sabitleyen arka flanşlı kilit somununu çıkarın.
Note: Taşıyıcı cıvatayı çıkarmayın.
Yaylı gergi plakasındaki kare deliğe 1/2 inçlik bir tahrik cırcırı veya mafsallı lokma kolu yerleştirin (Şekil 110).

Arka taşıyıcı cıvata üzerindeki gerilimi azaltmak için cırcırı veya mafsallı lokma kolunu döndürün ve üst delikten çıkarın.
Note: Üst delik normal ağırlık aktarım konumudur.
Yay gergi plakasını destek braketindeki alt delikle hizalanana kadar döndürün, taşıyıcı cıvatayı plaka ve braketteki deliklerden geçirin.
Note: Alt delik daha yüksek ağırlık aktarım konumudur. Yay plakalarının yukarı doğru döndürülmesi ağırlık aktarımını artırır.
Taşıyıcı cıvatayı destek braketine ve yaylı gergi plakasına flanşlı kilit somunuyla sabitleyin.
Kilit somunlarını 37 ila 45 N∙m torkla sıkın.
Optimum delik kalitesi ve makine performansı için otomatik zemin takip sistemini kullanarak havalandırma yapın.
Manuel zemin takibini yalnızca diş konum sensörü hasarlıysa kullanın.
Makineyi düz bir yüzeye park edin, park frenini etkinleştirmek için tutma çubuğunu tamamen kaldırıp kilitleyin, motoru kapatın, anahtarı çıkarın ve tüm hareketli parçaların durmasını bekleyin.
Delme kafası kapağını çıkarın; Delme Kafası Kapağının Çıkarılması bölümüne bakın.
Derinlik durdurma pimi ve ara parçalarını durdurma braketine sabitleyen sıkıştırma pimini çıkarın (Şekil 111 ve Şekil 112).


Delme derinliğini ayarlamak için ara parçaları durdurma braketinin üstüne veya altına yerleştirin.
Tüm ara parçalar durdurma braketinin en üst kısmında olduğunda derinlik ayarı 10,7 cm'dir.
Kalın ara parçalar 19 mm'lik artışa karşılık gelir.
İnce ara parça 9,5 mm'lik derinlik artışına karşılık gelir.
Note: Konumları fark etmeksizin tüm ara parçaları takmanız gerekmektedir.
Derinlik durdurma pimi ve ara parçaları, sıkıştırma pimi ile durdurma braketine monte edin.
3 ila 5 arası adımları makinenin diğer tarafında tekrarlayın.
Important: Sol ve sağ durdurma braketinin üstündeki ve altındaki ara parça konumunun aynı olduğundan emin olun.
Delme kafası kapağını takın; Delme Kafası Kapağının Takılması bölümüne bakın.
Note: Manuel modda havalandırma yaparsanız motoru her çalıştırdığınızda manuel zemin takibi modu için Bilgi Merkezini ayarlamanız gerekmektedir.
Kontak anahtarını ÇALışTıR konumuna çevirin.
Note: Motoru çalıştırmayın.
Korumalı menülere erişmek için PIN’i girin; Korumalı Menülere Erişim bölümüne bakın.
Bilgi Merkezinde ANA MENüye gidin.
MAKINE AYARLARı seçeneği seçilene kadar aşağı düğmesine basın, ardından seçme düğmesine basın.
MANUEL HAVALANDıRMA seçeneği seçilene kadar aşağı düğmesine basın, ardından manuel havalandırmayı Şekil 113Açık OLARAK AYARLAMAK IçIN SEçME DüğMESINE () basın.

Motoru çalıştırın.
Gecikmeli Bırakma Modunu Kullanarak Havalandırma Veya Hemen Bırakma Modunu Kullanarak Havalandırma yöntemlerinden birini kullanarak havalandırma yapın.
Note: Motoru kapatıp çalıştırdığınızda makine varsayılan olarak otomatik zemin takip moduna döner.
Makineyi düz bir yüzeye park edin, park frenini etkinleştirmek için tutma çubuğunu tamamen kaldırıp kilitleyin, motoru kapatın, anahtarı çıkarın ve tüm hareketli parçaların durmasını bekleyin.
Delme kafası kapağını çıkarın; Delme Kafası Kapağının Çıkarılması bölümüne bakın.
Derinlik durdurma pimi ve ara parçalarını durdurma braketine sabitleyen sıkıştırma pimini çıkarın (Şekil 114).


Tüm ara parçaları durdurma braketinin üstüne konumlandırın.
Derinlik durdurma pimi ve ara parçaları, sıkıştırma pimi ile durdurma braketine monte edin.
Note: Tüm ara parçaları yerleştirmeniz gerekmektedir.
3 ila 5 arası adımları makinenin diğer tarafında tekrarlayın.
Delme kafası kapağını takın; Delme Kafası Kapağının Takılması bölümüne bakın.
Ağırlık aktarımı ayarlanmasıyla, makinenin arka lastiklerinin yerden yükselmesine neden olacak kadar sert çimleri havalandırmak mümkün olur. Bu ise düzensiz delik aralığına neden olabilir.
Böyle bir yükselme durumu meydana gelirse, arka şasi aks borusuna isteğe bağlı karşı ağırlık plakaları ekleyebilirsiniz. Her bir karşı ağırlık plakası makineye 28,5 kg ekler. En fazla 2 plaka ekleyebilirsiniz. Karşı ağırlık ve donanım parça numaraları için makinenizin Parça Kataloğuna bakın.
Gerekli aletler: 15 mm soket ve lokma anahtarı
Important: Baypas valfi açıkken motoru 10 ila 15 saniyeden uzun bir süre çalıştırmayın.
Mümkünse makineyi düz bir zemine park edin.
Park frenini etkinleştirmek için tutma çubuğunu tamamen kaldırıp kilitleyin, motoru kapatın, anahtarı çıkarın ve tüm hareketli parçaların durmasını bekleyin.
Muhafaza kutusunu kutu braketine sabitleyen 2 flanş başlı cıvatayı sökün (Şekil 115).

(Şekil 116) ile gösterildiği gibi, motor ve hidrolik pompa arasındaki baypas valfi vidasının kapağını bulun.

15 mm'lik bir soket ve lokma anahtarı kullanarak baypas valfini saat yönünün tersine 1-1/2 tur döndürün.
Important: Baypas valfini 1-1/2 turdan fazla döndürmeyin.
Makineyi çekecek olursanız ön bağlama halkasını kullanarak çekin (Şekil 117).
Important: Makineyi 0,6 km/s’den daha yüksek bir hızla veya 30,5 m'den daha uzağa çekmeyin/itmeyin, aksi takdirde hidrolik bileşende hasar meydana gelebilir.

Makineyi itmeden/çekmeden önce park frenini devre dışı bırakmak için tutma çubuğunu indirin.
Important: Makineyi hareket ettirmeden önce park frenini devre dışı bırakmak için tutma çubuğunu indirmeniz gerekmektedir.
Important: Makineyi çalıştırmak için baypas valfini kapatmanız gerekir. Baypas valfi açıkken çekiş sistemini çalıştırmaya çalışmayın.
Motor ile hidrolik pompa arasındaki baypas valfi vidasını bulun.
Note: Baypas valfi vidası kapağının konumu Şekil 118 ile gösterilmiştir.

15 mm'lik bir soket ve lokma anahtarı kullanarak baypas valfini saat yönünde 1-1/2 tur döndürün.
Note: Baypas vidasını aşırı sıkmayın.
15 mm'lik bir anahtar kullanarak baypas vidası kapağını hidrolik pompaya takın.
Muhafaza kutusunu 2 flanş başlı cıvata ile kutu braketine takın.
Delme kafası indirilmiş ve dişler toprağa girmiş durumdayken motor durursa ve çalıştıramazsanız Delme Kafasının Marş Kullanılarak Kaldırılması veya Çatal Dişi Tutucuların Kurbağa Kompaktör Kollarından Çıkarılması işlemlerinden birini uygulayın.
Anahtarı ÇALışTıR konumuna getirin.
Bilgi Merkezinde ANA MENüye gidin.
SERVIS seçeneği seçilene kadar aşağı düğmesine basın, ardından seçme düğmesine basın (Şekil 119).

SERVIS KALDıRMA seçeneği seçilene kadar aşağı düğmesine basın, ardından seçme düğmesine basın (Şekil 120).
Note: Servis kaldırma seçeneği AçıK olarak değişir.

Anahtarı BAşLAT konumuna getirin ve marşa 10 saniye basın.
Important: Marşı tek seferde 10 saniyeden fazla basılı tutmayın. Dişler zeminden tamamen çıkmamışsa çalıştırma denemeleri arasında 30 saniyelik bir soğuma süresi bırakın. Bu talimatlara uyulmaması marş motorunu yakabilir.
Note: Delme kafası, dişleri zeminden kaldırır.
Important: Makineyi hareket ettirmeden önce dişler yerden tamamen çıkmalıdır.
Baypas valfini açın; Hidrolik Pompanın Baypas Edilmesi ve Makinenin Hareket Ettirilmesi bölümüne bakın.
Sorun gidermeye devam etmek veya makineyi bir römorka yüklemek için makineyi yakındaki bir yere çekin/itin.
Important: Makineyi 1,6 km/s’den daha yüksek bir hızla veya 30,5 m'den daha uzağa çekmeyin/itmeyin, aksi takdirde hidrolik hasarı meydana gelebilir.
Çatal dişi tutucuları kurbağa kompaktör kollarından çıkarın.
Baypas valfini açın; Hidrolik Pompanın Baypas Edilmesi ve Makinenin Hareket Ettirilmesi bölümüne bakın.
Sorun gidermeye devam etmek veya makineyi bir römorka yüklemek için makineyi yakındaki bir yere çekin/itin.
Important: Makineyi 1,6 km/s’den daha yüksek bir hızla veya 30,5 m'den daha uzağa çekmeyin/itmeyin, aksi takdirde hidrolik hasarı meydana gelebilir.
Havalandırma yaparken oldukça kademeli dönüşler yapın. Delme kafası açıkken asla keskin dönüşler yapmayın. Havalandırma makinesini indirmeden önce havalandırma yolunuzu planlayın.
İleri doğru hareket ederken önünüzde neler bulunduğunu daima bilin. Binaların, çitlerin ve diğer ekipmanların yanında havalandırma yapmaktan kaçının.
Makinenin düzgün çalıştığından ve önceki geçişle düz bir hizalamayı koruduğunuzdan emin olmak için sık sık arkaya bakın.
Çalışma alanındaki tüm hasarlı makine parçalarını (kırık çatal dişleri vb.) giderin, aksi takdirde bunlar çim biçme makineleri veya diğer çim bakım ekipmanı tarafından çekilebilirler.
Kırık çatal dişlerini yenileriyle değiştirin, hâlâ kullanılabilir olanları inceleyin ve varsa hasarlarını giderin. Çalışmaya başlamadan önce makinedeki diğer hasarları giderin.
Makinenin tam genişliğinden daha az bir kısmıyla havalandırma yaparken çatal dişlerini yerinden çıkarabilirsiniz, fakat makinenin dengesini koruyabilmesi ve sorunsuz çalışabilmesi için çatal dişi kafaları kurbağa kompaktör kollarında takılı bırakılmalıdır.
Bu makine, çoğu green havalandırıcıdan daha derin havalandırma yapar. Doğal veya modifiye edilmiş push-up green ve tee'lerde, daha fazla derinlik ve daha uzun delikli çatal dişleri, komple deliğin çıkarılmasında zorluk yaratabilir. Bunun nedeni, çatal dişinin ucuna yapışan daha sert doğal topraktır. Green/tee çatal dişlerini üretici mafsal temizleyicisinin yan tarafından çıkarırsanız çatal dişlerinin temizlenmesi için gereken süre azalır. Sürekli havalandırma ve kumlama programlarıyla ise bu koşulu zamanla ortadan kaldırabilirsiniz.
Bu makine mümkün olduğunca fazla derinlik sağlamak üzere tasarlanmıştır; ancak bazı çim koşullarında, tam derinlik ayarında havalandırma yapıldığında çim koruyucular ve/veya çim koruyucu cıvataları hasara neden olabilir. Zemin yüksekliği kalibrasyonunu çalıştırdıktan sonra izin verilen maksimum derinlikte (herhangi bir uzunluktaki dişle) havalandırma yapıyorsanız, çim koruyucu cıvatalar çimi sürükler veya çime temas ederse derinliği bir adım (1/4 inç) azaltın.
Zemin istenen delme derinliğinin elde edilemeyeceği kadar sağlamsa delme kafası geri tepme yapmaya başlayabilir. Bunun nedeni, çatal dişlerinin penetre olmaya çalıştığı sert tabakadır. Şunları deneyerek bu sorunu giderin:
Zemin çok sert veya kuruysa havalandırma yapmayın. En iyi havalandırma sonuçlarını bir yağmurdan sonra veya bir önceki gün çimleri suladıktan sonra elde edersiniz.
4-çatal dişli kafayı kullanıyorsanız 3-çatal dişli kafaya geçin veya kurbağa kompaktör kolu başına çatal dişi sayısını azaltın. Kurbağa kompaktör kollarına eşit bir miktarda yük bindirmek için simetrik bir çatal dişi konfigürasyonu sağlamaya çalışın.
Toprak çok sertse havalandırıcı penetrasyonunu azaltın (derinlik ayarından), havalandırıcı göbeklerini temizleyin, çimi sulayın ve daha derin bir penetrasyonla tekrar havalandırma yapın.
Sert alt zeminlerin üzerinde bulunan toprak tiplerinin havalandırılması (kayalık zeminlerin üzerinde bulunan toprak/kum) istenmeyen kalitede delikler oluşmasına neden olabilir. Bu durum, havalandırma derinliği biriken topraktan daha büyük ve alt zemine penetre etmek çok zor olduğunda ortaya çıkar. Çatal dişleri bu sert alt zeminle temas edince havalandırıcı yukarı kalkabilir ve bu da deliklerin üst kısmının uzamasına neden olabilir. Havalandırma derinliğini, sert alt zemine penetrasyonu önlemeye yetecek kadar azaltın.
Delik çukurlaşmış (öne doğru çekilmiş) olduğunda giriş deliği kalitesi bozulur.
Giriş deliği kalitesi bozulursa diş zemin yüksekliği kalibrasyonunu kontrol edin, Diş Zemin Yüksekliği Kalibrasyonunun Kontrol Edilmesi bölümüne bakın.
Çift sıralı tasarım nedeniyle, mini çatal dişli delme kafası için delik aralıklarının 6,3 cm olarak ayarlanması gerekir. Yürüyüş hızı, 3,2 cm delik aralığı görünümünün korunmasında kritik öneme sahiptir. Delik aralığınız küçük bir değişiklik yapmayı gerektiriyorsa bkz. Delik Aralığının Ayarlanması.
Mini çatal dişli kafa veya daha büyük bir rijit çatal dişi kullanılıyorsa, çimde kök bölgesinin yırtılmasından kaynaklanabilecek hasarların önlenmesinde çimin kök yapısı önem arz eder. Merkezdeki 2 kol çimi kaldırmaya başlarsa veya kök bölgesinde aşırı hasar varsa şunları yapın:
Delik aralığını artırın
Çatal dişi boyutunu küçültün
Çatal dişi derinliğini azaltın
Çatal dişlerinin bazılarını çıkarın
Rijit çatal dişinin çimden çekildiği zaman oluşturduğu kaldırma hareketi çimin hasar görmesine neden olabilir. Çatal dişlerinin yoğunluğu veya çapı çok yüksekse bu kaldırma hareketi kök bölgesini yırtabilir.
Daha uzun rijit çatal dişleriyle (3/8 x 4 inç uzunluğunda) veya iğneli tip çatal dişleriyle havalandırma yaparken deliklerin önü çukurlaşabilir veya öbekleşebilir. Bu yapılandırmada mükemmel delik kalitesi elde etmek için şunları deneyin:
Diş zemin yüksekliğini kalibre edin; Diş Zemin Yüksekliğinin Kalibre Edilmesi bölümüne bakın.
Motorun yüksek rölanti hızını 2800 ila 2900 devir/dakikaya düşürün.
Note: Çekiş ve delme kafası hızları motor devrine göre arttığı ve azaldığı için delik aralıkları bundan etkilenmez.
Motor hızının düşürülmesi daha uzun rijit veya iğneli tip çatal dişleri için delik kalitesini iyileştirirse roto-link amortisörünü ayarlayın.
Note: Çoğu koşulda en iyi sonucu fabrika ayarı verir.
Deliklerin ön tarafı çukurlaşmış veya öbekleşmişse daha sert bir roto-link ayarı delik itme etkisine karşı koyarak delik kalitesini iyileştirmeye yardımcı olur.
Deliklerin arka tarafı çukurlaşmış veya öbekleşmişse daha yumuşak bir roto-link ayarı delik kalitesini iyileştirmeye yardımcı olur.
Note: Delme tipi bir çatal dişine veya mini çatal dişlerinden birine tekrar dönüş yaparsanız roto-Link amortisörünün konumunu tersine çevirmeniz gerekir.
Makineyi düz bir yüzeye park edin, park frenini etkinleştirmek için tutma çubuğunu tamamen kaldırıp kilitleyin, motoru kapatın, anahtarı çıkarın ve tüm hareketli parçaların durmasını bekleyin.
Delme kafası kapağını çıkarın; Delme Kafası Kapağının Çıkarılması bölümüne bakın.
Delme kafasını servis kilit mandalıyla sabitleyin; bkz. Delme Kafasının Servis Kilit Mandalıyla Desteklenmesi.
Note: Fabrika 1 roto-link ara parçasını roto-link sönümleyici şaftına konumlandırır ve 1 ara parça her kurbağa kompaktör kolu için yerleştirilmiş konumdadır.
Note: Roto-Link amortisörünün ayarlanması makineyi tam motor hızında (3400 devir/dakika) çalıştırmanızı sağlar, ancak delik kalitesini iyileştirmek için daha yavaş motor hızlarında havalandırma yapmanız gerekebilir.
Roto-link sönümleyici şaftını makinenin arka şasisine sabitleyen 2 flanşlı kilit somununu çıkarın (Şekil 121).

Ara parçayı (yerleştirilmiş ise) ve sertleştirilmiş oval rondelaları çıkarın.
Sönümleyici bağlantı parçasını ve sönümleyici şaftını aşağı döndürün (Şekil 122).

Aşağıdaki delik kümeleme koşullarını düzeltmek için roto-link ara parçasını konumlandırın:
Note: Her ara parça 12,7 mm’ye denktir. Alt tampon ara parçası amortisör şaftına takılı kalmalıdır.
Deliklerin ön tarafı çukurlaşmış veya öbekleşmişse—ara parçaları arka şasinin üstüne, yerleştirilmiş şekilde konumlandırın.
Deliklerin arka tarafı çukurlaşmış veya öbekleşmişse—her iki ara parçayı arka şasinin üstüne, roto-link sönümleyici şaftının her bir tarafına konumlandırın.
Sönümleyici bağlantı parçasını ve sönümleyici şaftını yukarı çevirin ve saplamaları makinenin arka şasisindeki deliklerden geçirin.
Sönümleyici şaftını ve ara parçaları sertleştirilmiş oval rondelalar ve kilit somunlarıyla arka şasiye sabitleyin (Şekil 123).

Flanşlı kilit somunlarını 47 ila 61 N∙m torkla sıkın.
Sonraki 2 kurbağa kompaktör kolunda 1 ila 7 arası adımları tekrarlayın.
Servis kilit mandalını yerleştirin; Servis Kilit Mandalının Yerleştirilmesi bölümüne bakın.
Delme kafası kapağını takın; Delme Kafası Kapağının Takılması bölümüne bakın.
Diş zemin yüksekliğini kalibre etme işlemini yapın; Diş Zemin Yüksekliğinin Kalibre Edilmesi bölümüne bakın.
Makineyi bir test alanına götürün ve delik kalitesini karşılaştırmak için çimi havalandırın.
Delik kalitesi iyileşmişse diğer 3 kurbağa kompaktör kolundaki roto-link sönümleyiciyi ayarlamak için Makinenin Hazırlanması, Roto-Link Sönümleyicilerin Ayarlanması ve Delme Kafası Kapağının Takılması bölümlerindeki adımları tekrarlayın.
Makineyi düz bir yüzeye park edin, park frenini etkinleştirmek için tutma çubuğunu tamamen kaldırıp kilitleyin, motoru kapatın, anahtarı çıkarın ve tüm hareketli parçaların durmasını bekleyin.
Makineyi çalıştırmadığınız zaman delme kafasını indirin veya servis kilit mandalıyla sabitleyin.
Makinenin tüm parçalarını sorunsuz çalışır ve tüm donanımları sıkılmış durumda tutun.
Aşınmış, hasarlı veya eksik tüm etiketleri değiştirin.
| Bakım Servisi Aralıkları | Bakım Prosedürü |
|---|---|
| Her kullanımdan önce veya günlük |
|
Important: Makineyi temizlemek için tuzlu veya geri kazanılmış su kullanmayın.
Important: Makineyi basınçlı makinelerle yıkamayın.
Makineyi düz bir yüzeye park edin, park frenini etkinleştirmek için tutma çubuğunu tamamen kaldırıp kilitleyin, motoru kapatın, anahtarı çıkarın ve tüm hareketli parçaların durmasını bekleyin.
Makineyi iyice yıkayın.
Suyun contalardan geçmesini ve yatak gresini kirletmesini önlemek için, nozulu olmayan bir bahçe hortumu kullanın.
Makineye iyice yapışmış malzemeleri çıkarmak için bir fırça kullanın.
Kapakları temizlemek için yumuşak bir deterjan kullanın.
Temizledikten sonra, kapağın parlak yüzeyini korumak için periyodik olarak bir kat balmumlu cila uygulayın.
Makineyi hasara, yağ sızıntılarına ve bileşen veya çatal dişi aşınmasına karşı kontrol edin.
Çatal dişlerini yerinden çıkarın, temizleyin ve yağlayın. Delme kafası yataklarına (krank ve amortisör bağlantıları) hafif yağ buharı püskürtün.
Important: Makineyi birkaç günden fazla depoya kaldıracaksanız, delme kafasını servis kilidi mandalıyla sabitleyin.
Makinenin ön ve arka taraflarında bağlama halkaları bulunur (Şekil 124, Şekil 125 ve Şekil 126).
Note: Makineyi bağlamak için uygun derecelendirmeye sahip, DOT onaylı kayışlar kullanın; makinenin ağırlığı için Özellikler bölümüne bakın.



Makinenin sinyaller, ışıklar, yansıtıcı işaretler veya "yavaş hareket eden araç" uyarı işareti olmadan yollarda veya caddelerde sürülmesi tehlikelidir ve kazalar ile yaralanmalara yol açabilir.
Makineyi açık trafikte veya otoyolda sürmeyin.
Important: Makineyi bir römork veya kamyona yüklemek için tam genişlikte bir rampa kullanın.
Makineyi römorka veya kamyona yükleyin (tercihen, delme kafası ileri bakmalıdır).
Park frenini etkinleştirmek için tutma çubuğunu tamamen kaldırıp kilitleyin, motoru kapatın, anahtarı çıkarın ve tüm hareketli parçaların durmasını bekleyin.
Delme kafasını servis kilit mandalıyla sabitleyin; bkz. Delme Kafasının Servis Kilit Mandalıyla Desteklenmesi.
Yakıt kısma vanasını kapatın; bkz. Yakıt Kısma Vanası.
Zincir, kayış veya kabloları kullanarak makineyi bağlama noktalarından römorka veya kamyona bağlayın; Bağlama Noktaları bölümüne bakın.
| Ağırlık | 745 kg veya 2 adet isteğe bağlı ağırlıkla birlikte 829 kg |
| Genişlik | en az 130 cm |
| Uzunluk | en az 267 cm |
| Rampa Açısı | Maks. 3,5/12 hatve (16 °) |
| Yük Yönü | Delme kafası ileri bakmalıdır (tercihen) |
| Araç Çekme Kapasitesi | Brüt römork ağırlığından (GTW) fazla |
Note: www.Toro.com adresine gidip ana sayfadaki Kılavuzlar bağlantısına tıklayarak elektrik veya hidrolik şemasının ücretsiz bir kopyasını indirebilirsiniz.
Note: Bakım prosedürlerini öğrenmek için motorun kullanma kılavuzuna bakın.
Note: Makinenin sağ ve sol taraflarını, normal çalışma konumuna göre belirleyin.
Makineyi düz bir yüzeye park edin, park frenini etkinleştirmek için tutma çubuğunu tamamen kaldırıp kilitleyin, motoru kapatın, anahtarı çıkarın ve tüm hareketli parçaların durmasını bekleyin. Makineyi ayarlamadan, bakım yapmadan, temizlemeden veya depoya kaldırmadan önce soğumasını bekleyin.
Sadece bu kılavuzda açıklanan bakım talimatlarını uygulayın. Makinede büyük bir onarım yapılması gerekiyorsa veya yardıma ihtiyacınız varsa yetkili bir Toro distribütörüne danışın.
Somunların, cıvataların ve vidaların sıkı olduğunu kontrol ederek makinenin emniyetli çalışma durumunda olduğunu teyit edin.
Mümkünse, motor çalışıyorken bakım işi yapmayın. Hareketli parçalardan uzak durun.
Enerji depolanmış bileşenlerdeki basıncı dikkatle boşaltın.
Çatal dişi montaj cıvatalarını her gün kontrol ederek belirtilen değerlerde sıkıldıklarını teyit edin.
Makinede bakım veya ayar yaptıktan sonra tüm koruyucuların takılı olduğunu ve kaputun sabitlendiğini kontrol edin.
| Bakım Servisi Aralıkları | Bakım Prosedürü |
|---|---|
| İlk 8 saatten sonra |
|
| İlk 50 saatten sonra |
|
| Her kullanımdan önce veya günlük |
|
| Her 25 saatte |
|
| Her 50 saatte |
|
| Her 100 saatte |
|
| Her 200 saatte |
|
| Her 250 saatte |
|
| Her 400 saatte |
|
| Her 500 saatte |
|
| Depolamadan önce |
|
| Yıllık |
|
Important: Bakım prosedürlerini öğrenmek için motorun kullanma kılavuzuna bakın.
Rutin kullanım için bu sayfayı çoğaltın.
| Bakım Kontrol Öğesi | Bakım haftası: | ||||||
|---|---|---|---|---|---|---|---|
| Pzt. | Sal. | Çar. | Per. | Cum. | Cmt. | Paz. | |
| Emniyet kilidinin çalışmasını kontrol edin. | |||||||
| Park freninin çalışmasını kontrol edin. | |||||||
| Motor yağı seviyesini kontrol edin. | |||||||
| Yakıt seviyesini kontrol edin.. | |||||||
| Hava filtresini kontrol edin. | |||||||
| Motorda pislik, yabancı madde vb. olup olmadığını kontrol edin. | |||||||
| Olağan dışı motor sesleri olup olmadığını kontrol edin. | |||||||
| Olağan dışı çalışma sesleri olup olmadığını kontrol edin. | |||||||
| Hidrolik sıvısı seviyesini kontrol edin. | |||||||
| Hidrolik hortumlarını hasara karşı kontrol edin. | |||||||
| Sıvı sızıntıları olup olmadığını kontrol edin. | |||||||
| Göstergenin çalışmasını kontrol edin. | |||||||
| Çatal dişlerinin durumunu kontrol edin. | |||||||
| Hasar görmüş boyalı kısımlara rötuş yapın. | |||||||
Important: Bakım prosedürlerini öğrenmek için motorun kullanma kılavuzuna bakın.
| Kontrolü yapan: | ||
| Öğe | Tarih | Bilgi |
| 1 | ||
| 2 | ||
| 3 | ||
| 4 | ||
| 5 | ||
| 6 | ||
| 7 | ||
| 8 | ||
Kontak anahtarını anahtar yuvasında bırakırsanız yetkisiz bir kişi motoru çalıştırabilir ve sizi ya da çevredekileri ağır yaralayabilir.
Makineyi düz bir yüzeye park edin, park frenini etkinleştirmek için tutma çubuğunu tamamen kaldırıp kilitleyin, motoru kapatın, anahtarı çıkarın ve tüm hareketli parçaların durmasını bekleyin.
Important: Bu makinenin kapaklarındaki sabitleme elemanları, kapak yerinden çıkarıldıktan sonra kapakta kalacak şekilde tasarlanmıştır. Kapağın takılı kalması fakat sıkılmaması için her bir kapaktaki tüm sabitleme elemanlarını birkaç tur gevşetin, ardından da geri dönün ve sabitleme elemanlarını kapak yerinden çıkabilene kadar tekrar gevşetin. Bu, cıvataları yanlışlıkla tespit elemanlarından sıyırıp çıkarmanızı önler.
Makineyi düz bir zemine park edin.
Tutma çubuğunu tamamen kaldırıp kilitleyerek park frenini etkinleştirin; Park Freninin Etkinleştirilmesi bölümüne bakın.
Makineden ayrılmadan önce motoru kapatın, anahtarı çıkarın ve tüm hareketin durmasını bekleyin; Motorun Durdurulması bölümüne bakın.
Makinenin soğumasına izin verin.
Makine takozlarla veya kriko ayaklarıyla gerektiği gibi desteklenmiyorsa hareket edebilir veya düşebilir, bu da yaralanmalara neden olabilir.
Ataşmanları veya lastikleri değiştirirken veya başka bir servis işlemi yaparken doğru takozları, vinçleri ve krikoları kullanın.
Makinenin beton zemin gibi sağlam ve düz bir yüzeye park edildiğinden emin olun.
Makineyi yerden yükseltmeden önce, makinenin güvenli ve düzgün bir şekilde yükseltilmesini engelleyebilecek ataşmanları çıkarın.
Tekerleklerin altına mutlaka takoz yerleştirin. Yerden yükseltilmiş makineyi desteklemek için kriko ayakları veya sert ahşap takozlar kullanın.
Makineyi bakıma hazırlayın; bkz. Makinenin Bakım için Hazırlanması.
Makinenin hareket etmesini önlemek için arka lastiklerin altına takoz yerleştirin.
Important: Tekerlek motorunun hasar görmemesi için, ön tekerlek motorunu krikoyla kaldırma noktası olarak kullanmayın.
Krikoyu ön tekerlek destek kolunun altına güvenli şekilde yerleştirin (Şekil 127).

Makinenin ön tarafını krikoyla yerden kaldırın.
Makineyi desteklemek için kriko ayaklarını veya ahşap takozları şasinin ön kısmının altına yerleştirin.
Makineyi bakıma hazırlayın; bkz. Makinenin Bakım için Hazırlanması.
Makinenin hareket etmesini önlemek için ön lastiğin altına takoz yerleştirin.
Important: Tekerlek motorunun hasar görmemesi için, arka tekerlek motorunu krikoyla kaldırma noktası olarak kullanmayın.
Krikoyu arka tekerleğin içindeki şasi plakasının altına güvenli bir şekilde yerleştirin (Şekil 128).

Note: Makinenin arkasını kaldırmak için bir vinç (varsa) kullanın. Delme kafası yatak yuvalarındaki halkaları birer vinçle kaldırma noktası olarak kullanın (Şekil 129).

Makinenin arka tarafını krikoyla (veya başka bir ekipmanla) yerden kaldırın.
Makineyi desteklemek için kriko ayaklarını veya ahşap takozları şasinin altına yerleştirin.
Kayış kapağının montaj braketini makine şasisinin kapak destek braketiyle hizalandırın (Şekil 133).

Kayış kapağını indirin (Şekil 134).

Kapağı sabitlemek için kilit tutacağını tamamen indirin (Şekil 135).

Makinenizde CE kayış kapağı mandal kordonu varsa kordon cıvatasını kapak mandalındaki deliğe geçirin ve cıvatayı sıkın (Şekil 136).


Makinenizde CE mandallı kilitler varsa kilit plakası, delme kafası kapağının yanındaki yuvadan çıkana kadar kilit plaka cıvatasını gevşetin (Şekil 138).

Kilit plakasını döndürerek mandaldan çıkmasını sağlayın (Şekil 138).
Kapağın diğer tarafında 1 ve 2. adımları tekrarlayın.
Delme kafası kapağının kilit mandalını 4 mandal konumunda açın (Şekil 137 ve Şekil 139).

Delme kafası kapağını makineden kaldırın (Şekil 140).

Delme kafası kapağını makineye Şekil 141 ile gösterildiği gibi hizalayın.

Delme kafası kapağının mandalını 4 mandal konumunda kilitleyin (Şekil 142).
Makinenizde CE mandallı kilitler varsa kilit plakası, delme kafası kapağının yanındaki yuvayla hizalanana kadar kilit plakasını döndürün (Şekil 143).



Kilit plaka cıvatasını sıkın (Şekil 143).
Kapağın diğer tarafında 3 ve 4. adımları tekrarlayın.
| Bakım Servisi Aralıkları | Bakım Prosedürü |
|---|---|
| Her 500 saatte |
|
| Yıllık |
|
Makinede yağlanması gereken gres bağlantı parçaları yoktur.
Important: Yataklar nadiren malzeme ve işçilik kusurlarından ötürü arıza yaparlar. Arızalanmalarının en yaygın nedeni, koruyucu contaları aşabilecek seviyeye kadar ulaşan nem ve kirdir. Gres sürülen yataklara düzenli olarak bakım yapılmalı ve yatak bölgesindeki zararlı kir ve birikintiler giderilmelidir. Contalı yataklara ilk seferinde özel bir gres doldurulmalı ve yuvarlanan elemanlara kirletici ve nem bulaşmaması için sağlam bir entegre conta takılmalıdır.
Contalı yatakların yağlanması veya bunlara kısa aralıklı bakım yapılması gerekmez. Bu sayede, hem gerekli rutin bakımlar en aza indirilir hem de gresin çimi kirletip hasar vermesi riski azaltılır. Bu contalı yatak paketleri normal kullanımda yüksek bir performans ve kullanım ömrü sunacaktır, ancak beklenmedik durma sürelerinin önlenmesi amacıyla yatak durumu ve conta sağlamlığı düzenli olarak kontrol edilmelidir. Yatakları mevsimsel olarak inceleyin ve hasar görmüş veya aşınmışsa yenileriyle değiştirin. Yataklar yüksek ısı, gürültü, gevşeme veya pas izleri gibi olumsuz belirtiler olmaksızın sorunsuz çalışmalıdır.
Bu yatak/conta paketleri, maruz kaldıkları çalışma koşulları (kum, çim kimyasalları, su, darbeler vb.) nedeniyle normal aşınmaya uğrayacak parçalar olarak kabul edilirler. Malzeme ve işçilik kusurları dışındaki nedenlerden ötürü arızalanan yataklar genellikle garanti kapsamına girmez.
Note: Yanlış yıkama prosedürleri kullanarak yatağı olumsuz yönde etkileyebilirsiniz. Makineyi hâlâ sıcakken yıkamayın ve yataklara yüksek basınçlı veya bol miktarda püskürtme yapmaktan kaçının.
Yeni bir makinede yeni yatakların contalardan biraz yağ çıkarması yaygın görülür. Çıkan bu yağ, aşırı ısı nedeniyle değil pislik birikmesi nedeniyle renk olarak siyaha döner. Bu fazla yağı ilk 8 saatten sonra contalardan silerek gidermek iyi bir uygulamadır. Conta dudağının etrafında her zaman ıslak bir bölge varmış gibi görünebilir. Bu durum yatağın ömrü açısından zararlı olmayıp conta dudağının yağlı kalmasını sağlar.
Yağı kontrol etmeden veya kartere yağ eklemeden önce motoru kapatın.
Regülatör ayarlarını değiştirmeyin veya motoru aşırı devirde çalıştırmayın.
| Bakım Servisi Aralıkları | Bakım Prosedürü |
|---|---|
| Her 25 saatte |
|
| Her 100 saatte |
|
Makineyi bakıma hazırlamak için Makinenin Bakım için Hazırlanması bölümüne bakın.
Motora kir girip hasara yol açmasını önlemek için hava filtresinin etrafını temizleyin.
Düğmeyi sökün ve hava filtresi kapağını (Şekil 144) yerinden çıkarın.

Sünger ön filtreyi dikkatle kaydırarak kağıt filtre elemanından çıkarın (Şekil 144).
Kapak somununu sökün ve kapağı, ara parçayı ve kağıt filtreyi yerinden çıkarın (Şekil 144).
Important: Aşınmış veya yırtılmışsa sünger elemanı yenisiyle değiştirin.
Sünger ön filtreyi sıvı sabun ve ılık suyla yıkayın. Temizledikten sonra iyice durulayın.
Ön filtreyi, temiz bir bezin içinde sıkarak (fakat büzüştürmeden) kurutun.
Ön filtrenin üzerine 3 ila 6 cl yağ sürün (Şekil 145).

Yağı dağıtmak için ön filtreyi sıkın.
Kağıt filtreyi yırtılma, yağ tabakası oluşumu ve kauçuk contada hasara karşı kontrol edin (Şekil 146).

Important: Kağıt elemanı asla temizlemeyin. Kirli veya hasarlı bir kağıt elemanı yenisiyle değiştirin.
Important: Motorun hasar görmesini önlemek için, motoru her zaman sünger ve kağıt hava filtresi grubu takılmış olarak çalıştırın.
Sünger ön filtreyi dikkatle kağıt filtrenin üzerine kaydırın (Şekil 147).

Hava filtresi grubunu hava filtresi tabanının üzerine yerleştirin.
Kapak, ara parça ve kapak somununu monte edin.
Somunu 11 N∙m torkla sıkın.
Hava filtresi kapağını takın ve topuzu kullanarak sabitleyin.
Yağ Tipi: Yüksek kaliteli, deterjanlı motor yağı API servis SJ veya üzeri
Yağ viskozitesi: Aşağıdaki tabloya bakın:

| Bakım Servisi Aralıkları | Bakım Prosedürü |
|---|---|
| Her kullanımdan önce veya günlük |
|
Motor, kartere yağ doldurulmuş olarak teslim edilir; bununla birlikte, motor ilk kez çalıştırıldıktan önce ve sonra yağ seviyesini kontrol edin.
Motor Yağı Özellikleri ile açıklandığı gibi yüksek kaliteli motor yağı kullanın.
Important: Kartere aşırı yağ doldurmayın.Motoru; motor yağ seviyesi, “düşük” işaretinin altındayken çalıştırmayın.
Note: Motor yağı seviyesini kontrol etmek için ideal zaman, motorun soğuk olduğu veya o gün motorun henüz çalıştırılmadığı bir zamandır. Motoru çalıştırdıysanız, motor yağı seviyesini kontrol etmeden önce, yağın kartere geri akması için en az 10 dakika bekleyin.
Makineyi bakıma hazırlamak için Makinenin Bakım için Hazırlanması bölümüne bakın.
Motorun soğumasına izin verin.
Yağ dolum kapağı ve yağ çubuğu çevresini temizleyin (Şekil 149).

Yağ çubuğunu çıkarın, silerek temizleyin ve yerine tam oturacak biçimde takın.
Yağ çubuğunu çıkarın ve yağ seviyesini kontrol edin.
Motor yağı seviyesi, yağ çubuğu üzerindeki "F" (dolu) ve "L" (düşük) işaretleri arasında olmalıdır.
Yağ seviyesi "L" (düşük) işaretinin altındaysa yağ dolum kapağını çıkarın ve seviye yağ çubuğundaki "F" (dolu) işaretine gelene kadar belirtilen tipte yağ ekleyin.
Yağ dolum kapağını ve yağ çubuğunu takın.
| Bakım Servisi Aralıkları | Bakım Prosedürü |
|---|---|
| İlk 50 saatten sonra |
|
| Her 100 saatte |
|
Karter Kapasitesi: Filtreyle beraber yaklaşık 1,9 litre.
Motoru çalıştırın ve 5 dakika çalışır halde bekletin. Bu, yağı daha iyi tahliye olacağı şekilde ısıtır.
Yağın tamamen tahliye edilebilmesi için tahliye tarafı karşı taraftan biraz daha alçakta olacak biçimde makineyi park edin, motoru kapatın, park frenini etkinleştirmek için tutma çubuğunu tamamen kaldırıp kilitleyin ve anahtarı çıkarın.
Yağ boşaltma tapasının altına bir boşaltma kabı yerleştirin ve tapayı çıkarın (Şekil 150).
Note: Yağın tamamen boşalmasını sağlayın.

Yağ boşaltma tapasını motora takıp tapayı sıkın.
Note: Eski yağı, sertifikalı bir geri dönüşüm merkezinde bertaraf edin.
Yağ filtresinin altına derin olmayan bir boşaltma kabı yerleştirin ve filtreyi çıkarın (Şekil 150).
Note: Eski yağ filtresini, sertifikalı bir geri dönüşüm merkezinde bertaraf edin.
Filtre adaptörünün yüzeyini silerek temizleyin.
Yeni yağ filtresini dişlerin altına kadar belirtilen yağla doldurun.
Filtrenin yağı emmesi için 2 dakika bekleyin, ardından fazla yağı dökün.
Filtrenin üzerindeki contaya ince bir kat yeni yağ sürün.
Yağ filtresini, conta ile filtre adaptörü birbirine temas edene kadar filtre adaptörüne takın (Şekil 150), ardından filtreyi 1/2 tur daha döndürerek sıkın.

Yağ dolum kapağı ve yağ çubuğu çevresindeki alanı temizleyin (Şekil 152).

Yağ dolum kapağını çıkarın ve belirtilen yağ miktarının yaklaşık %80'ini yavaşça vana kapağından içeri dökün.
Yavaşça ilave yağ ekleyerek yağ seviyesini yağ çubuğundaki F (dolu) seviye işaretine getirin; Motor Yağı Özellikleri ve Motor Yağı Seviyesi Kontrolü bölümlerine bakın.
Important: Kartere aşırı yağ doldurmayın.
Yağ dolum kapağını ve yağ çubuğunu takın.
| Bakım Servisi Aralıkları | Bakım Prosedürü |
|---|---|
| Her 200 saatte |
|
Makineyi bakıma hazırlamak için Makinenin Bakım için Hazırlanması bölümüne bakın.
Telleri çekerek bujilerden çıkarın (Şekil 153).

Bujilerin etrafını temizleyin.
Hem bujileri hem metal contaları çıkarmak için buji lokması kullanın.
Buji lokması tipi: Champion RC12YC veya muadili
Hava Boşluğu: 0,75 mm
Her iki bujinin ortasına bakın (Şekil 154). İzolatörde açık kahverengi veya gri renk görüyorsanız motor sorunsuz çalışıyor demektir. İzolatörün siyahla kaplanmış olması genellikle hava filtresinin kirli olduğunu gösterir.
Important: Bujileri asla temizlemeyin. Üzerinde siyah bir kaplama, aşınmış elektrotlar, ince yağ tabakası veya çatlaklar olan bir bujiyi mutlaka yenisiyle değiştirin.

Orta ve yan elektrotlar arasındaki boşluğu kontrol edin.
Boşluk doğru değilse yan elektrotu bükün.
Her bir bujiyi takmadan önce, orta ve yan elektrotlar arasındaki hava boşluğunun doğru olduğunu kontrol edin. Bujileri söküp takmak için bir buji anahtarı, hava boşluğunu kontrol edip ayarlamak içinse bir boşluk ölçme aleti/sentil kullanın. Gerekiyorsa yeni bujiler takın.
Bujileri motorun buji deliklerine takın.
Bir buji lokması ve tork anahtarı kullanarak bujileri 27 N∙m torkla sıkın.
Buji tellerini bujilere monte edin (Şekil 155).

| Bakım Servisi Aralıkları | Bakım Prosedürü |
|---|---|
| Her kullanımdan önce veya günlük |
|
Her kullanımdan önce, motor filtresini kontrol edip temizleyin. Motor hava emiş filtresindeki çim, kir veya diğer kalıntıları temizleyin.
Yakıt ve yakıt buharları belirli koşullar altında son derece yanıcı ve patlayıcıdır. Yakıttan kaynaklanan bir ateş veya patlama sizi ve başkalarını yakabilir veya maddi zarara yol açabilir.
Yakıt deposunu, açık havada, motor kapalı ve soğukken doldurun. Dökülen yakıtı silerek giderin.
Yakıt deposunu ağzına kadar doldurmayın. Yakıt seviyesi dolum boynunun değil deponun en üst noktasının 25 mm altına ulaşana kadar yakıt deposuna yakıt ekleyin. Depodaki bu hava alanı yakıtın genleşmesine imkan tanır.
Yakıtla çalışırken asla sigara içmeyin ve alevlerden veya kıvılcımların yakıt buharlarını tutuşturabileceği yerlerden uzak durun.
Yakıtı güvenlik onaylı temiz bir kapta saklayın ve kapağı kapalı tutun.
| Bakım Servisi Aralıkları | Bakım Prosedürü |
|---|---|
| Her 100 saatte |
|
Important: Yakıt hattından çıkarılmış kirli bir filtreyi asla takmayın.
Makineyi bakıma hazırlamak için Makinenin Bakım için Hazırlanması bölümüne bakın.
Yakıt kısma vanasını kapatın (Şekil 156).


Hortum kelepçelerinin uçlarını birlikte sıkın ve filtreden uzağa doğru kaydırın.
Filtreyi yakıt hortumlarından çıkarın.
Yakıt filtresini okun motoru işaret edeceği şekilde hizalayın ve yakıt hortumunu filtre bağlantı parçaları üzerine monte edin.
Hortum kelepçelerini yakıt filtresine yakın konumlandırın ve kelepçeyi sıkın.
Dökülen yakıtı silerek giderin.
Yakıt kısma vanasını açın.
Bazı koşullarda, yakıt aşırı derecede yanıcı ve patlayıcıdır. Benzinin yanması veya patlaması sizi ve başkalarını yakabilir, maddi hasar verebilir.
Yakıt deposundaki yakıtı motor soğukken boşaltın. Bu işlemi açık havada yapın. Dökülen yakıtı silerek giderin.
Yakıt boşaltırken asla sigara içmeyin ve alevlerden veya kıvılcımların yakıt buharlarını tutuşturabileceği yerlerden uzak durun.
Makineyi bakıma hazırlamak için Makinenin Bakım için Hazırlanması bölümüne bakın.
Yakıt kısma vanasını kapatın (Şekil 157).


Yakıt filtresindeki hortum kelepçesini gevşetin ve yakıt hattında yukarı doğru kaydırarak yakıt filtresinden uzaklaştırın.
Yakıt hattını çekerek yakıt filtresinden ayırın.
Yakıt kısma vanasını açın ve yakıtın bir yakıt bidonuna veya tahliye tavasına boşalmasına izin verin.
Note: Bu, yakıt deposu boş olduğundan yeni bir yakıt filtresi takmak için en iyi zamandır.
Yakıt hortumunu filtre bağlantı parçası üzerine monte edin.
Hortum kelepçesini yakıt filtresine yakın konumlandırın ve kelepçeyi sıkın.
Makineyi onarmadan önce akü bağlantısını ayırın. İlk önce eksi, ardından da artı ucunu ayırın. İlk önce artı, ardından da eksi ucunu bağlayın.
Aküyü, kıvılcım ve alevlerden uzak, iyi havalandırılan, açık bir ortamda şarj edin. Aküyü bağlamadan veya bağlantısını ayırmadan önce şarj cihazının fişini çekin.
Koruyucu kıyafet giyin ve yalıtımlı aletler kullanın.
| Bakım Servisi Aralıkları | Bakım Prosedürü |
|---|---|
| Yıllık |
|
Akünün üst kısmını temiz tutun.
Akü bölmesi kapağının kilit mandalını açıp kapağı açın (Şekil 158).

Akünün üst kısmını, amonyak veya soda bikarbonat çözeltisine batırılmış bir fırçayla temizleyin.
Important: Temizlik sırasında dolum kapaklarını çıkarmayın.
Akünün ve akü bölmesinin yüzeyini temiz suyla iyice yıkayın.
Akü bölmesi kapağını kapatın ve kilitleyin.
| Bakım Servisi Aralıkları | Bakım Prosedürü |
|---|---|
| Yıllık |
|
Akü bağlantı uçları veya metal aletler çekicinin metal bileşenleriyle temas edip kısa devre oluşmasına, bu da kıvılcımlar çıkmasına yol açabilir. Kıvılcımlar akü gazlarının patlamasına, bu da yaralanmaya yol açabilir.
Aküyü takarken veya yerinden çıkarırken akü bağlantı uçlarının makinenin hiçbir metal parçasına temas etmemesini sağlayın.
Metal aletlerin, akü bağlantı uçları ile makinenin metal parçaları arasında kısa devreye yol açmasına izin vermeyin.
Akü kablolarının yanlış bağlanması makineye ve kablolara hasar vererek kıvılcım çıkmasına sebep olabilir. Kıvılcımlar akü gazlarının patlamasına, bu da yaralanmaya yol açabilir.
Her zaman, artı (kırmızı) akü kablosunun bağlantısını ayırmadan önce eksi (siyah) akü kablosunun bağlantısını ayırın.
Her zaman, eksi (siyah) akü kablosunu bağlamadan önce artı (kırmızı) akü kablosunu bağlayın.
Akü bölmesi kapağının kilit mandalını açıp kapağı açın (Şekil 159).

Akü kablo kelepçelerinin sağlam olduğunu kontrol edin.
Gevşek akü kablo kelepçeleri donanımını sıkın.
Akü kablo kelepçelerini ve akü bağlantı uçlarını korozyon açısından kontrol edin.
Bağlantı uçları aşınmışsa eksi akü kablosunu çıkarın.
Artı akü kablosunu çıkarın.
Kablo kelepçelerini ve akü bağlantı uçlarını temizleyin.
Artı akü kablosunu bağlayın.
Eksi akü kablosunu bağlayın.
Kablo bağlantı uçlarına ve akü başlarına Grafo 112X yüzeysel gres (Toro Parça No. 505-47) sürün.
Akü bölmesi kapağını kapatın ve kilitleyin.
Elektrik sistemi sigortalarla korunmaktadır. Bir sigorta açılırsa, bileşeni ve kablo tesisatını toprağa kısa devre açısından kontrol edin.
Akü bölmesi kapağının kilit mandalını açıp kapağı açın (Şekil 160).

Kapağı sigorta bloğundan çıkarın (Şekil 161).
Note: Fan sigortası akünün arkasında hat üzerinde bulunmaktadır (Şekil 162).


Açık sigortayı çıkarın.
Sigorta bloğu etiketi üzerinde belirtilen nominal amperajda yeni bir sigorta takın.
Kapağı sigorta bloğu üzerine (veya hat üzeri fan sigortası üzerine) monte edin.
Akü bölmesi kapağını kapatın ve kilitleyin.
| Bakım Servisi Aralıkları | Bakım Prosedürü |
|---|---|
| Her 50 saatte |
|
Makineyi bakıma hazırlamak için Makinenin Bakım için Hazırlanması bölümüne bakın.
Tüm lastiklerdeki hava basıncının 83 kPa (12 psi) olduğundan emin olun. Basınç değerini en doğru şekilde ölçmek için lastikleri soğukken kontrol edin.
Important: Eşit olmayan lastik basıncı eşit olmayan delme derinliğine neden olabilir.

Tekerlek çok ağırdır (33 kg).
Tekerleği lastik grubundan çıkarırken dikkatli olun.
| Bakım Servisi Aralıkları | Bakım Prosedürü |
|---|---|
| Yıllık |
|
Makinenin tahrik kayışları dayanıklıdır. Bununla birlikte, normal bir şekilde UV radyasyonuna veya ozona ya da kazara kimyasallara maruz kalması kauçuğu zamanla bozabilir ve erken aşınmaya veya malzeme kaybına (yani kayış katmanlarının ayrılması veya eksilmesi) neden olabilir.
Kayış kapağını çıkarın; Kayış Kapağının Çıkarılması bölümüne bakın.
Hidrolik pompa, avara mil ve krank mili kayışlarını (Şekil 164) hasar, aşınma, aşırı dolgu çatlakları veya büyük gömülü kalıntılar açısından kontrol edin.
Note: Gerektiğinde kayış(lar)ı değiştirin.

Kayış kapağını takın; Kayış Kapağının Takılması bölümüne bakın.
| Bakım Servisi Aralıkları | Bakım Prosedürü |
|---|---|
| İlk 8 saatten sonra |
|
Makineyi bakıma hazırlamak için Makinenin Bakım için Hazırlanması bölümüne bakın.
Kayış kapağını çıkarın; Kayış Kapağının Çıkarılması bölümüne bakın.
Hidrolik pompa kayışı için avara kasnağını sabitleyen flanş başlı kapak vidasını ve flanşlı kilit somununu, cıvata, avara desteğinin yuvasında hareket edene kadar gevşetin (Şekil 165).


Avara kasnağın üst kısmına hafifçe vurun ve gerdirme yayının, kayış gerginliğini ayarlamasına izin verin.
Important: Gerdirme yayının uyguladığından daha fazla kayış gerginliği uygulamayın, aksi takdirde bileşen hasar görebilir.
Flanş başlı kapak vidasını ve flanşlı kilit somununu 37 ila 45 N∙m torkla sıkın.
Kayış kapağını takın; Kayış Kapağının Takılması bölümüne bakın.
Hidrolik sıvısı cildinize nüfuz ederse derhal tıbbi yardım alın. Nüfuz eden hidrolik sıvısı bir doktor tarafından birkaç saat içinde çıkarılmalıdır.
Hidrolik sistemine basınç uygulamadan önce tüm hidrolik sıvısı hortumlarının ve hatlarının iyi durumda, hidrolik bağlantıları ile bağlantı parçalarının ise yeterince sıkı olduğunu kontrol edin.
Vücudunuzu ve ellerinizi, yüksek basınçlı hidrolik sıvısı çıkaran pim deliklerinden veya nozullardan uzak tutun.
Sızan hidrolik sıvılarını temizlemek için bir karton veya kağıt kullanın.
Hidrolik sisteminde herhangi bir iş yapmaya başlamadan önce sistemdeki tüm basıncı emniyetli bir şekilde boşaltın.
Delme kafasını servis kilit mandalıyla destekleyin; Delme Kafasının Servis Kilit Mandalıyla Desteklenmesi bölümüne bakın.
Motoru kapatın.
Kontak anahtarını ÇALışTıR konumuna getirin.
Bilgi Merkezinde ANA MENüye gidin.
SERVIS seçeneği seçilene kadar aşağı düğmesine basın, ardından seçme düğmesine basın (Şekil 166).

Note: Delme kafası, servis kilit mandalı tarafından tamamen desteklenene kadar alçalır.
SERVIS İNDIRME seçeneği seçilene kadar aşağı düğmesine basın, ardından seçme düğmesine basın (Şekil 167).

Anahtarı DURDUR konumuna getirin.
Note: Motoru çalıştırın ve servis kilit mandalını yerleştirebilmek için delme kafasını hidrolik olarak kaldırtın; Servis Kilit Mandalının Yerleştirilmesi bölümüne bakın.
| Bakım Servisi Aralıkları | Bakım Prosedürü |
|---|---|
| Her kullanımdan önce veya günlük |
|
Her kullanımdan önce, hidrolik boru ve hortumları sızıntılara, gevşemiş bağlantı parçalarına, hortumlarda bükülmelere, gevşemiş montaj desteklerine, aşınmaya, hava kaynaklı ya da kimyasal bozulmaya karşı kontrol edin. Makineyi çalıştırmadan önce aşınmış veya hasarlı hidrolik hatları değiştirin.
Note: Hidrolik sisteminin etrafındaki alanları yabancı madde veya kir birikmesine karşı koruyun.
Depo, fabrikada yüksek kaliteli hidrolik sıvısı ile doldurulmuştur. Motoru ilk kez çalıştırmadan önce ve ardından da her gün, hidrolik sıvısı seviyesini kontrol edin; bkz. Motor Yağı Seviyesi Kontrolü.
Tavsiye edilen hidrolik sıvısı: Toro PX Uzun Ömürlü Hidrolik Sıvısı; 19 litrelik kova veya 208 litrelik bidon seçenekleri mevcuttur.
Note: Önerilen yedek sıvıyı kullanan makineler daha az sıvı ve filtre değişimi gerektirir.
Alternatif hidrolik sıvıları: Toro PX Uzun Ömürlü Hidrolik Sıvısı mevcut değilse, aşağıdaki tüm malzeme özellikleri için belirtilen aralıkta yer alan ve endüstri standartlarını karşılayan özelliklere sahip başka bir geleneksel, petrol bazlı hidrolik sıvısı kullanabilirsiniz. Sentetik sıvılar kullanmayın. Uygun ürünü belirlemek için yağlama maddesi distribütörünüze danışın.
Note: Toro, uygun olmayan muadil ürünler kullanılması sonucu ortaya çıkabilecek hasarlarla ilgili hiçbir sorumluluk kabul etmez. Bu nedenle ürünler sadece tavsiyelerinin arkasında durabilecek güvenilir üreticilerin ürünlerini kullanın.
| Malzeme Özellikleri: | ||
| Viskozite, ASTM D445 | 40°C’de 44 ila 48 santistok (cSt) | |
| Viskozite Endeksi ASTM D2270 | 140 veya daha yüksek | |
| Akma Noktası, ASTM D97 | -37°C ila -45°C arası | |
| Endüstriyel Teknik Özellikler: | Eaton Vickers 694 (I-286-S, M-2950-S/35VQ25 veya M-2952-S) | |
Note: Hidrolik sıvılarının büyük bir kısmı renksiz olduğundan, olası sızıntıları tespit edebilmek zordur. Hidrolik sıvıları için, 20 ml şişeler halinde satılan bir kırmızı boya katkısı vardır. 15 ila 22 litre hidrolik sıvısı için bir şişe yeterli olacaktır. Yetkili Toro distribütörünüze 44-2500 parça numarasıyla sipariş edebilirsiniz.
Important: "Toro Premium Synthetic Biodegradable Hydraulic Fluid", Toro'nun onayladığı tek sentetik biyoçözünür sıvıdır. Bu sıvı Toro hidrolik sistemlerinde kullanılan elastomerlerle uyumlu ve geniş bir sıcaklık koşulu aralığına uygundur. Bu sıvı, konvansiyonel madeni yağlarla uyumlu olsa da maksimum biyoçözünürlük ve performans için hidrolik sistemi konvansiyonel sıvıyla tamamen yıkanmalıdır. Yağı, yetkili Toro distribütörünüzden 19 litrelik kova veya 208 litrelik bidonlar halinde temin edebilirsiniz.
| Bakım Servisi Aralıkları | Bakım Prosedürü |
|---|---|
| Her kullanımdan önce veya günlük |
|
Important: Motoru ilk kez çalıştırmadan önce ve ardından da her gün, delme kafası kaldırılmış konumdayken hidrolik sıvısı seviyesini kontrol edin.
Hidrolik deposu fabrikada yüksek kaliteli hidrolik sıvısıyla doldurulur.
Makineyi bakıma hazırlamak için Makinenin Bakım için Hazırlanması bölümüne bakın.
Kayış kapağını çıkarın; Kayış Kapağının Çıkarılması bölümüne bakın.
Dolum boynunun ve hidrolik deposu kapağının çevresini temizleyin (Şekil 168). Dolum boynunun kapağını çıkarın.

Yağ çubuğunu dolum boynundan çıkarın ve temiz bir bezle temizleyin. Yağ çubuğunu doldurma ağzına sokun, ardından çıkarın ve yağ seviyesini kontrol edin. Sıvı seviyesi, yağ çubuğundaki işaretlere kadar olmalıdır (Şekil 169).

Sıvı seviyesi düşükse, Dolu işaretine gelene kadar belirtilen tipte hidrolik sıvısı ekleyin.
Yağ çubuğunu ve kapağı, dolum boynuna takın.
Kayış kapağını takın; Kayış Kapağının Takılması bölümüne bakın.
| Bakım Servisi Aralıkları | Bakım Prosedürü |
|---|---|
| Her 200 saatte |
|
| Her 400 saatte |
|
Hidrolik deposu kapasitesi: yaklaşık 6,6 litre
Important: Otomotiv tipi yağ filtresi kullanmayın, aksi takdirde hidrolik sistemi ağır hasar görebilir.
Note: Geri dönüş filtresi çıkarılınca tüm sıvı deposu boşaltılır.
Makineyi bakıma hazırlamak için Makinenin Bakım için Hazırlanması bölümüne bakın.
Filtrelerin altına bir boşaltma kabı yerleştirin, eski filtreleri çıkarın ve filtre adaptörü conta yüzeyini silerek temizleyin (Şekil 170).

Yeni filtrelerin üzerindeki contaya ince bir kat temiz hidrolik sıvısı sürün.
Hidrolik filtrelerini filtre adaptörlerine takın. Her bir filtreyi, conta ile filtre adaptörü temas edene kadar saat yönünde döndürün, ardından her birini 1/2 tur daha sıkın.
Sıvı seviyesi yağ çubuğundaki Dolu işaretine gelene kadar belirtilen tipte hidrolik sıvısı ekleyin, Hidrolik Sıvısı Teknik Özellikleri ve Hidrolik Sıvısı Seviyesinin Kontrol Edilmesi bölümlerine bakın.
Motoru çalıştırın ve sistemdeki havanın boşaltılması için 2 dakika çalıştırın. Motoru kapatın, anahtarı çıkarın ve hidrolik sıvı sızıntı kontrolü yapın.
Hidrolik sıvısı seviyesini kontrol edin. Gerekiyorsa, sıvı seviyesi yağ çubuğundaki DOLU işaretine gelene kadar belirtilen tipte hidrolik sıvısı ekleyin.
Note: Hidrolik deposunu sıvıyla aşırı doldurmayın.
Kayış kapağını takın; Kayış Kapağının Takılması bölümüne bakın.
| Bakım Servisi Aralıkları | Bakım Prosedürü |
|---|---|
| İlk 8 saatten sonra |
|
| Her 250 saatte |
|
Makineyi bakıma hazırlamak için Makinenin Bakım için Hazırlanması bölümüne bakın.
Delme kafası kapağını çıkarın; Delme Kafası Kapağının Çıkarılması bölümüne bakın.
Uygun torkun korunduğundan emin olmak için delme kafası sabitleme elemanlarını, manevra kolu bağlantı elemanlarını ve tekerlek bijonlarını kontrol edin. Sabitleme elemanı tork gereksinimleri, delme kafası destek kanalında bulunan cıvata tork etiketinde listelenmiştir (Şekil 171).

Delme kafası kapağını takın; Delme Kafası Kapağının Takılması bölümüne bakın.
Makineyi bakıma hazırlamak için Makinenin Bakım için Hazırlanması bölümüne bakın.
Yan kalkanı delme kafası kasasına sabitleyen kapak vidalarını ve flanşlı kilit somunlarını gevşetin (Şekil 172).

Kalkan ile zemin arasında 25 ila 38 mm ölçene kadar kalkanı yukarı veya aşağı ayarlayın.
Kapak vidalarını ve flanşlı kilit somunlarını sıkın.
2 ila 4 arası adımları makinenin diğer tarafında tekrarlayın.
Çim koruyucular kırılmış veya 6 mm'den daha düşük bir kalınlıkta aşınmış ise yenileriyle değiştirin. Kırılmış çim koruyucular çimleri yakalayıp parçalayarak hasara yol açabilir.

Delme kafası zamanlama işaretleri, 3 yatak yuvasındaki döküm işaretlerle kolayca tanımlanır.

Operatör konumundan ayrılmadan önce şunları yapın:
Makineyi düz bir zemine park edin.
Tutma çubuğunu tamamen kaldırıp kilitleyerek park frenini etkinleştirin.
Motoru kapatın ve anahtarı çıkarın (varsa).
Tüm hareketin durmasını bekleyin.
Makineyi ayarlamadan, bakım yapmadan, temizlemeden veya depoya kaldırmadan önce soğumasını bekleyin.
Makineyi veya yakıt kabını asla bir su ısıtıcısı veya diğer cihazlarda bulunan tipte açık alev, kıvılcım veya tutuşturma alevlerinin bulunduğu yerlerde depolamayın.
Akünün şarj edilmesi, patlayabilecek gazlar üretir.
Akünün yanında asla sigara içmeyin ve kıvılcımlar ile alevleri aküden uzak tutun.
Makineyi bakıma hazırlamak için Makinenin Bakım için Hazırlanması bölümüne bakın.
Buji telini sökün.
Başta motor ve hidrolik sistemi olmak üzere, makinenin dış parçalarındaki çim kalıntılarını, kiri ve yabancı maddeleri giderin. Motor silindir kapağı kanatlarının ve fan muhafazasının dış kısmındaki kir ve yabancı maddeleri giderin.
Hava temizleyiciye bakım yapın; bkz. Hava Filtresi Bakımı.
Motor yağını değiştirin; bkz. Motor Yağı ve Filtresinin Değiştirilmesi.
Hidrolik filtre ve sıvılarını değiştirin; bkz. Hidrolik Sıvısının ve Filtrelerinin Değiştirilmesi.
Lastik hava basıncını kontrol edin; bkz. Lastik Hava Basıncının Kontrol Edilmesi.
Çatal dişlerinin durumunu kontrol edin.
Makineyi mevsimlik olarak depoya kaldırıyorsanız Makinenin 30 günden daha az Depolanması bölümündeki tüm adımları ve aşağıdakileri uygulayın:
Tüm cıvata, somun ve vidaları kontrol edip sıkın. Hasarlı veya aşınmış parçaları onarın ya da yenisiyle değiştirin.
Tüm makineyi yıkayın ve kurutun. Çatal dişlerini yerinden çıkarın, temizleyin ve yağlayın. Delme kafası yataklarına (krank ve amortisör bağlantıları) hafif yağ buharı püskürtün.
Important: Makineyi, yumuşak bir deterjan ve suyla yıkayabilirsiniz. Makineyi basınçlı makinelerle yıkamayın. Özellikle kumanda panelinin, motorun, hidrolik pompalarının ve motorların yakınında aşırı su kullanmayın.
Note: Makineyi yıkadıktan sonra motoru 2 ila 5 dakika yüksek rölantide çalıştırın.
Çizilmiş veya çıplak metal tüm yüzeyleri boyayın. Boyayı, yetkili Toro distribütörünüzden alabilirsiniz.
Makine birkaç günden uzun süre depoya kaldırılacaksa servis kilidi mandalını sıkın.
Makineyi temiz ve kuru bir garajda veya depoda saklayın. Anahtarı kontak yuvasından çıkarın ve çocukların veya diğer yetkisiz kişilerin ulaşamayacağı bir yerde muhafaza edin.
Makineyi korumak ve temiz tutmak için üzerini örtün.
Depodaki yakıta petrol bazlı yakıt stabilizatörü/koşullandırıcı ekleyin. Stabilizatör üreticisinin belirttiği karıştırma talimatlarını uygulayın. Alkol bazlı stabilizatör (etanol veya metanol) kullanmayın.
Note: Yakıt stabilizatörü/koşullandırıcı en çok temiz yakıtla karıştırıldığında ve sürekli kullanıldığında etkilidir.
Important: Stabilizatör/koşullandırıcı içeren yakıtı, yakıt stabilizatörü üreticisinin tavsiye ettiğinden daha uzun bir süre boyunca depolamayın.
Koşullandırılan yakıtı tüm yakıt sistemine dağıtmak için motoru 5 dakika çalıştırın.
Motoru durdurun, soğumasını bekleyin ve yakıt deposunu boşaltın; bkz. Yakıt Deposunun Boşaltılması.
Motoru çalıştırın ve durana kadar çalışmaya bırakın.
Motoru boğun. Motoru çalıştırın ve tekrar çalışmayana kadar çalışmaya bırakın.
Bujileri çıkarın ve durumlarını kontrol edin; bkz. Bujilere Bakım Yapılması. Bujiler motordan çıkarılmış haldeyken her bir buji deliğine 2 yemek kaşığı motor yağı dökün. Motora marş vermek için marş motorunu kullanın ve yağı silindirin içinde dağıtın. Bujileri takın. Telleri bujilerin üzerine takmayın.
Note: Yakıtı düzgün bir şekilde bertaraf edin. Yerel yönetmeliklere uygun bir şekilde geri dönüştürün.
Akü bağlantı uçlarını akü kutup başlarından ayırın ve aküyü makineden çıkarın.
Aküyü, terminalleri ve bağlantı uçlarını bir tel fırça ve kabartma tozu çözeltisiyle temizleyin.
Korozyonu önlemek için kablo bağlantı uçlarına ve akü başlarına Grafo 112X yüzeysel gres (Toro Parça No. 505-47) veya vazelin sürün.
Aküde kurşun sülfat oluşumunu önlemek için aküyü 60 günde bir 24 saat boyunca yavaşça tekrar şarj edin. Akünün donmasını önlemek için tam şarjlı olduğundan emin olun. Tam şarjlı bir akünün özgül ağırlığı 1,265 ila 1,299'dur.
Aküyü, rafta veya makinenin üzerinde depolayın. Makinenin üzerinde depolayacaksanız kablolarını takmayın. Akü şarjının hızla bitmesini önlemek için aküyü serin bir yerde muhafaza edin.
| Problem | Possible Cause | Corrective Action |
|---|---|---|
| Marş motoru marş vermiyor. |
|
|
| Motor marş alamıyor, zor marş alıyor veya çalışmaya devam edemiyor. |
|
|
| Motor güç kaybediyor. |
|
|
| Motor hararet yapıyor. |
|
|
| Anormal titreşim var. |
|
|
| Makine hareket ettirilemiyor. |
|
|
| Delme kafası tahrik sağlamıyor. |
|
|
| Havalandırma işlemi sırasında delme kafası geri tepiyor. |
|
|
| Çim girişte öbekleşiyor/parçalanıyor. |
|
|
| Yandan çıkarmalı çatal dişleri kullanılınca delikte öbekleşme oluyor. |
|
|
| Havalandırma sırasında çim kalkıyor/kopuyor. |
|
|
| Deliğin ön kısmı çukurlaşıyor veya bastırılıyor. |
|
|