| 维护间隔时间 | 维护程序 |
|---|---|
| 在每次使用之前或每日 |
|
本机器由步行操作员控制,并需由商业应用领域雇用的专业操作员进行操作。本机器主要为了在公园、高尔夫球场、运动场及商业用地保养得很好的草坪上进行大面积打孔而设计。将本产品用于指定用途以外的其他目的可能会对您和旁观者造成危害。
请仔细阅读本手册,了解如何正确操作及维护您的产品,避免人身伤害和产品损坏。正确并安全地操作本产品是您的责任.
可访问 www.Toro.com,获取产品安全和操作培训材料、附件信息,查找代理商或注册产品。
当您需要关于维修保养、Toro 真品零件或其他方面的信息时,请联系 Toro 授权经销商,并准备好有关您的产品的型号和序列号等资料。图 1显示了产品上型号和序列号的位置。将型号、序列号写在提供的空白处。

本手册和机器上所示的安全警告标志(图 2)用于标识为防止事故而必须遵守的重要安全信息。

安全警报标志出现在提醒不安全的操作或情况的信息上方,后跟单词危险、警告或小心。
危险表示非常紧急的危险情况,如果无法避免,会导致死亡或重伤。
警告表示潜在危险情况,如果无法避免,可能导致死亡或重伤。
小心表示潜在危险情况,如果无法避免,可能导致轻微或中度伤害。
本手册使用其他两个词语来突出信息。重要事项唤起人们对特殊机械信息的注意,而注意则强调值得特别关注的一般信息。
此产品遵循欧盟所有相关指令,详情请参阅另外提供的、特定产品的合格证明(DOC)单页。
因为在某些地区,当地、州或联邦法规规定,本机器的发动机必须使用火花消除器,因此已经作为选件提供了火花消除器。如果您需要火花消除器,请联系 Toro 授权经销商。Toro 真品火花消除器已经过美国农业部林务局批准。
随附的发动机用户手册介绍了美国环境保护局 (EPA) 和加州排放管制法中有关排放系统、维护和保修的信息。更换产品可通过发动机制造商订购。
如果机器配备有远程信息处理装置,请咨询您的 Toro 授权经销商,了解有关激活该装置的说明。
加利福尼亚州
第65号提案中警告称:
本产品的发动机排出的废气含有加利福尼亚州已知的能致癌、致出生缺陷或损害生殖系统的化学物质。
加利福尼亚州认为电池接柱、接头以及相关配件含铅或铅混合物、化合物,会引发癌症和造成生殖损害。用后请务必洗手。
使用此产品可能导致接触加利福尼亚州已知的能致癌、致出生缺陷或损害生殖系统的化学物质。
本产品可能导致人身伤害。请始终遵循所有安全说明,避免严重的人身伤害。
在启动发动机之前,请首先阅读并理解本操作员手册的内容。
操作机器时应全神贯注。不要从事任何引起分心的活动;否则,可能会造成人身伤害或财产损失。
切勿将手脚放在机器的活动组件附近。
请仅在所有防护装置和其他安全装置到位且可在机器上正常工作的情况下才操作机器。
机器移动时让旁观者和宠物远离机器。
远离打孔针周围的开口。让旁观者和宠物远离机器。
让儿童远离操作区。切勿让儿童操作机器。
在维修、给机器加油或清除机器堵塞之前,应将机器停放在水平地面上,完全抬起和锁住手把以接合手刹、关闭发动机、拔下钥匙,并等待所有活动件完全停止。
不当使用或维护本机器可能导致人身伤害。若要减少潜在伤害,请遵循这些安全说明并始终注意安全警告标志
,即小心、警告或危险等个人安全指示。不遵循这些说明可能导致人身伤害甚至死亡事故。
![]() |
任何潜在危险区附近均贴有操作员清晰可见的安全标贴和说明。更换受损或丢失的标贴。 |
















Note: 机器前部位于操作员手柄处,且是正常操作员位置。当您在机器前方行走时,左右与行走方向有关。
Note: 要在将机器拆箱后升起打孔头,应松开打孔把手并启动发动机;请参阅启动发动机和升起打孔头了解更多信息。
此程序中需要的物件:
| 螺栓(¼ x 1英寸) | 2 |
| 凸缘螺母(5/16 英寸) | 2 |
电池电解液含有硫酸,这是致命的有毒物质且可能导致严重灼伤。
避免接触皮肤、眼睛或衣物。佩戴护目镜保护眼睛,佩戴橡胶手套保护双手。
始终在有清水可供冲洗皮肤的地方拆卸电池、为电池充电和安装电池。
给电池充电时会产生可爆炸的气体。
切勿在电池附近吸烟,而且附近不能有火花和明火。
电池端子或金属工具可能会与机器金属部件发生短路并产生火花。火花可引发电池气体爆炸,从而造成人身伤害。
拆下或安装电池时,切勿让电池端子接触到机器的任何金属部件。
切勿让金属工具短接电池端子和机器的金属部件。
电池接线不准确会损坏机器、而且接线之间会产生火花。火花可引发电池气体爆炸,从而造成人身伤害。
应始终先断开负极(黑色)电池线,然后才能断开正极(红色)接线。
应始终先连接正极(红色)电池线,然后才能连接负极(黑色)接线。
打开闩锁并打开电池盒门(图 13)。

从电池盒中取出电池。
使用 3~4A 充电容量的电池充电器为电池充电。
电池充满电之后、把充电器从插座和电瓶电极上断开。
将电池装入电池盒内的座盘(图 14)。调整电池位置,使端子向外。

用压紧装置杆、2 个 J 形杆、2 个扁平垫圈及 2 个蝶形螺帽将电池固定到电池盒底座。
用托架螺栓和螺母将正极接线(红色)固定到正极 (+) 电池端子。
将橡皮套滑动到正极端子上。
用托架螺栓和螺母将负极接线(黑色)固定到电池负极 (-) 端子。
关闭并用闩锁锁定电池盒门。
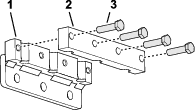
此程序中需要的物件:
| 闩锁 | 2 |
| 带头螺栓 | 2 |
| 内齿锁紧垫圈 | 2 |
如果您是为了在欧盟 (CE) 使用而设置本机器,请按照如下所示将机罩闩锁安装到后机罩上,以遵守 CE 法规。
拆下后机罩。
用带头螺栓(共 2 个)将闩锁盖安装到机罩闩锁上(图 15)。

用钳子和扳手将内锁定垫圈拧到各个螺栓(1~2 个螺纹)上以将螺栓固定到机罩上。
在机罩的另一侧重复步骤 2至 3。
安装后机罩。
有各种各样的打孔针夹头、护草板和打孔针可供机器使用。请参阅安装护草板、打孔针夹头和打孔针。


使用手把闩锁(图 21)将手把固定至向上位置,并接合手刹。
Important: 在离开操作员位置时,始终将手把固定至向上位置。
操作员到位把手(图 21)可帮助确保您在驾驶机器或运行打孔头时处于操作员位置。
Note: 松开操作员到位把手不会关闭发动机。
使用 InfoCenter 信息中心(图 21)可调整打孔头控制装置的工作方式。
如果您接触到止动块开关(图 21),机器将执行下列操作:
机器停止向前行驶。
打孔头升起并停止运转。
Note: 接触到止动块开关不会关闭发动机。可以以后退档驾驶机器,但必须将止动块开关重置为向前行驶。

使用行驶/打孔开关(图 22)可在打孔或行驶时控制驾驶机器的最高速度。
打孔位置可进行打孔并将地面行驶速度限定为最大 4.0km/h。
行驶位置可以在不同工作现场之间以最高的地面行驶速度驾驶机器。
Note: 在行驶位置时,您无法使用行驶/打孔开关进行打孔。
使用左或右牵引控制装置(图 22)向前或向后驾驶机器。
使用速度锁开关(图 22)保持驾驶机器的地面行驶速度;与汽车的巡航控制类似。
接合位置可锁定机器当前的地面行驶速度。
打开位置可激活地面行驶速度锁。
关闭位置可关闭地面行驶速度锁。
使用速度锁开关(图 22)可按照打孔间距速度保持地面行驶速度。
打开位置——在一趟打孔作业结束时松开打孔把手,可激活并接合地面行驶速度锁,按照打孔间距速度保持地面行驶速度。
关闭位置可在松开打孔把手时关闭地面行驶速度锁——机器停止前进。
InfoCenter 信息中心显示屏(图 26)可显示与您的机器有关的信息、例如机器的操作状态、各种诊断信息及其他信息。

Note: 每个按钮的用途可能因当时需要的功能而异。每个按钮都会带有图标标签,显示其当前功能。
使用导航按钮可浏览多个屏幕和菜单项:
启动屏幕:将钥匙移至开启位置后,在几秒钟的时间里显示当前机器信息。
主菜单:请参阅 使用菜单。
|
到期维护 |
在应执行预定维护时显示 |
|
|
行驶模式 |
|
|
孔深 |
|
|
打孔间距 |
|
|
打孔针直径 |
|
|
每个夹头上的打孔针数量 |
|
|
电池 |
|
|
小时表 |
|
|
活动/确定 |
|
|
不活跃 |
|
|
下一步 |
|
|
上一屏 |
|
|
菜单 |
|
|
增加/降低值 |
|
|
向上/向下滚动 |
|
|
向左/向右滚动 |
|
|
退出至菜单 |
|
|
|
要访问主菜单,请在任意信息屏幕上按返回/退出按钮。
请参阅下表,了解菜单提供的各个选项:
|
菜单项目 |
描述 |
|---|---|
|
故障 |
包含近期机器故障的列表。请参阅维护手册或咨询您的 Toro 授权经销商,了解有关故障菜单的更多信息。 |
|
SERVICE(维护) |
包含与机器有关的信息,例如使用时间、计数器及其他类似数字。 |
|
DIAGNOSTICS(诊断) |
列出机器目前的各种状态;您可以使用此菜单排除某些问题,因为它会迅速地告诉您哪些机器控制装置是开启状态,哪些是关闭状态。 |
|
SETTINGS(设置) |
允许您输入 PIN 码或自定义 InfoCenter 信息中心显示屏。 |
|
MACHINE SETTINGS(机器设置) |
允许您修改机器的操作特性和配置。 |
|
ABOUT(关于) |
列出了机器型号、序列号和软件版本。 |
|
菜单项目 |
描述 |
|---|---|
|
统计 |
列出机器运行数据和操作数据的计数器,如发动机运行时间、打孔面积/体积/时间、打孔行程距离。 |
|
HOURS(小时数) |
可显示机器、发动机和 PTO 运转的总小时数,以及机器已经行驶和到期维护的小时数。 |
|
COUNTS(计数) |
可显示机器已经历的各种计数。 |
|
SERVICE LIFT(提升维修) |
启用或禁用提升维修。 |
|
SERVICE LOWER(降低维修) |
启用或禁用降低维修。 |
|
3 轮驱动(3WD) |
启用自动 3WD 或始终开启 3WD。 |
|
GROUND HEIGHT(离地高度) |
可表明传感器校准是否有效、开始校准流程并列出传感器的电值。 |
|
TRACTION PUMP(牵引泵) |
可表明传感器校准是否有效、开始校准流程并列出传感器的电值。 |
|
TRACTION INPUT(牵引输入) |
可表明传感器校准是否有效、开始校准流程并列出传感器的电值。 |
|
HEIGHT SENSOR(高度传感器) |
可表明传感器校准是否有效、开始校准流程并列出传感器的电值。 |
|
|
|
|
菜单项目 |
描述 |
|---|---|
|
ENTER PIN(输入 PIN) |
允许获得授权的人员使用 PIN 码访问受保护菜单 |
|
BACKLIGHT(背光) |
控制 LCD 显示屏的亮度 |
|
LANGUAGE(语言) |
控制 InfoCenter 信息中心上使用的语言。 |
|
UNITS(单位) |
控制 InfoCenter 信息中心上使用的单位(英制或公制) |
|
EDIT PIN(编辑 PIN) |
允许获得授权的人员使用 PIN 码更改 PIN 码。 |
|
PROTECT SETTINGS(保护设置) |
启用或禁用需要输入 PIN 码才能访问受保护设置的要求。 |
|
RESET DEFAULTS(重置为默认值) |
将所有设置恢复到默认设置 |
|
|
|
|
菜单项目 |
描述 |
|
MAX TRANSPORT(最大行驶速度) |
允许您更改最大前进地面行驶速度;默认值为 6.4km/h |
|
MANUAL AERATION(手动打孔) |
启用或禁用手动打孔。 |
|
|
|
|
菜单项目 |
描述 |
|---|---|
|
Model(型号) |
列出了机器的型号 |
|
SN |
列出了机器的序列号 |
|
软件版本 |
列出了主控制器的软件版本 |
|
CAN 统计 |
列出了机器通信总线的状态 |
|
InfoCenter Revision(InfoCenter 信息中心版本) |
列出了 InfoCenter 信息中心的软件版本 |
|
|
|
|
菜单项目 |
描述 |
|---|---|
|
Traction(牵引) |
请参阅维护手册或咨询您的 Toro 授权经销商,了解有关诊断菜单项的更多信息。 |
|
打孔 |
|
|
发动机 |
默认情况下不显示受保护的菜单。这些设置通过输入 PIN 码解锁。
Note: 机器的出厂默认 PIN 码为 0000 或 1234。在交货时,您的经销商可能已更改 PIN 码。 如果您更改了 PIN 码并忘记了改后的代码,请联系您的 Toro 授权经销商寻求帮助。
输入 PIN 码后,进入SETTINGS(设置)菜单,向下滚动至PROTECT SETTINGS(保护设置)。
要想在无需输入 PIN 码的情况下查看受保护菜单,请使用选择按钮将保护设置(PROTECT
SETTINGS)更改为
(关闭)。
要使用 PIN 码查看受保护菜单,请使用选择按钮将保护设置更改为
(打开),设置
PIN 码,将点火开关的钥匙转至关闭位置,然后再转至打开位置。

闪烁红色 — 故障
呈红色亮起 — 提醒
呈蓝色亮起 — 校准/对话消息
呈绿色亮起 — 运行正常
Note: 规格与设计如有变更,恕不另行通知。
| 宽度 | 127cm |
| 轴距 | 113cm |
| 轮距 | 97cm |
| 打孔深度 | 122cm |
| 长度 | 295cm |
| 打孔头高度(已升起) | 114cm |
| 打孔头高度(已降下) | 93cm |
| 高度(手柄) | 154.2cm |
| 离地高度 | 12cm |
| 前进速度 | 0~7.2km/h |
| 后退速度 | 0~4km/h |
| 净重 | 745 kg |
Toro 批准的一系列附件和配件可与机器一同使用,以提升和扩大其能力。请联系您的授权服务代理商或 Toro 授权经销商,或访问 www.Toro.com,获取所有经批准附件和配件的清单。
为确保最佳性能,请仅使用 Toro 真品更换件和附件。其他制造商制造的更换件和附件可能引发危险、而且使用非真品可能使产品保修失效。
请参阅以下打孔针配置表,了解打孔针头、护草板和打孔针信息:
| 打孔针头描述 | 打孔针夹头间距 | 安装尺寸 | 打孔针数量 | 护草板类型(数量) |
|---|---|---|---|---|
| 2x5 迷你打孔针头 | 41mm | 9.5mm | 60 | 5-打孔针——短(2) |
| 5-打孔针——长(1) | ||||
| 1x6 迷你打孔针头 | 32mm | 9.5mm | 36 | 6-打孔针——短(2) |
| 6-打孔针——长(1) | ||||
| 3 打孔针头(⅞ 英寸) | 66mm | 22.2mm | 18 | 3-打孔针——短(2) |
| 3-打孔针——长(1) | ||||
| 3 打孔针头(¾ 英寸) | 66mm | 19.5mm | 18 | 3-打孔针——短(2) |
| 3-打孔针——长(1) | ||||
| 4 打孔针头(¾ 英寸) | 51mm | 19.5mm | 24 | 4-打孔针——短(2) |
| 4-打孔针——长(1) | ||||
| 5 针形打孔针夹头 | 41mm | — | 30 | 5-打孔针——短(2) |
| 5-打孔针——长(1) |
Note: 请根据正常操作位置来判定机器的左侧和右侧。
切勿让儿童或未接受过培训的人员操作或维修机器。当地法规可能对操作员的年龄有所限制。产品所有人负责培训所有操作员和机械师。
熟悉设备的安全操作、操作员控制装置和安全标识。
了解如何快速停止机器和关闭发动机。
操作之前,始终要先行检查机器,确保打孔针处于良好工作状况。更换磨损或损坏的打孔针。
检查计划使用机器的区域,清除可能被机器撞到的所有物体。
找到并标记待打孔区域的所有电气或通信线路、喷灌组件以及其他障碍物。清除危险(如可能)或计划如何避开它们。
将机器停放在水平地面上,完全抬起和锁住手把以接合手刹、关闭发动机、拔下钥匙,并等待所有活动件完全停止。
检查操作员到位控制装置、安全开关和挡板是否已安装,以及功能是否正常。如果机器运行不正常,切勿进行操作。
处理燃油时要格外小心。燃油极度易燃,产生的蒸汽会发生爆炸。
应熄灭所有香烟、雪茄、烟斗及其他火源。
仅使用经批准的燃料容器。
在发动机运行或较热时,切勿拆下油箱盖或向油箱加油。
切勿在密闭的空间添加或排放燃油。
切勿将机器或燃油容器存放在有明火、火花或常明火的地方,例如热水器或其他电器上。
如果燃油溢出,切勿尝试启动发动机;避免形成任何火源,直到燃油蒸汽完全消散。
| 类型 | 无铅汽油 |
| 最小辛烷值 | 87(美国)或 91(研究法辛烷;美国以外) |
| 乙醇 | 按体积计不超过 10% |
| 甲醇 | 无 |
| MTBE(甲基叔丁基醚) | 按体积计少于 15% |
| 机油 | 切勿添加到燃油中 |
仅使用来自信誉良好来源的清洁、新鲜(不超过 30 天)燃料。
Important: 要减少启动问题,请按照燃油稳定剂/调节剂制造商的说明,将燃油稳定剂/调节剂添加到新鲜的燃油中。
油箱容量:26.5L
将机器停放在水平地面上,完全抬起和锁住手把以接合手刹、关闭发动机、拔下钥匙,并等待所有活动件完全停止。
清理燃油箱盖附近的区域,然后将其卸下(图 30)。

燃油油位最高只能加到油箱加油颈底部以下 6mm~13mm 处。
Important: 油箱中留出的这部分空间是为了预防燃油发生膨胀。切勿将油箱完全加满。
牢牢盖上燃油箱盖。
擦干净溅出的燃油。
每天启动机器之前,请执行中列明的每次使用/每天程序。
| 维护间隔时间 | 维护程序 |
|---|---|
| 在每次使用之前或每日 |
|
如果安全联锁系统断开或损坏,机器可能意外操作,造成人身伤害。
切勿随意改动联锁开关设置。
每日均应检查联锁系统的操作,更换任何损坏的安全联锁零件,然后再操作机器。
安全联锁系统用于防止发动机启动,除非牵引控制装置位于空档位置。
安全联锁系统用于防止发动机启动,除非已完全松开操作员到位把手。
安全联锁系统用于防止发动机启动,除非已完全松开打孔头把手。
如果在打孔的同时向后驾驶机器或接触到止动块开关,安全联锁系统将升起并关闭打孔头。
Important: 如果安全联锁系统未能按所述正常工作,应立即让获得授权的 Toro 经销商进行修理。
如果发动机正在运行,请关闭发动机。
抓住手把的任一操作员到位把手并向前旋转牵引控制装置(图 32)或者向后旋转牵引控制装置,然后启动发动机。
Important: 发动机不应启动。

执行以下任一操作:
将机器移动至可以在不损坏打孔针或草坪的情况下进行打孔的草皮区域。
卸下打孔针。
抓住手把的任一操作员到位把手并向前旋转牵引控制装置的顶部,然后握住打孔把手(图 37)。
Note: 机器应向前行驶,打孔头应运转并降低。

在抓住操作员到位把手和打孔把手的同时,向后旋转牵引控制装置的顶部(图 38)。
Important: 打孔头应升起并停止运转。
Note: 发动机保持运行。

将牵引控制装置移至 空档 位置。
如果已经卸下了打孔针,则应安装打孔针并校准打孔针的离地高度;请参阅 将打孔针组装到打孔头上和 校准打孔针离地高度。
Important: 每当将较长的打孔针更换为较短的打孔针,或者将较短的打孔针更换为较长的打孔针时,均应校准打孔针离地高度。
有各种各样的打孔针夹头、护草板和打孔针可供机器使用。根据“附件和配件”中的附件图选择所需的组件。
升起打孔头并用检修闩锁将其固定到位;请参阅 使用检修闩锁支撑打孔头。
将机器停放在水平地面上,完全抬起和锁住手把以接合手刹、关闭发动机、拔下钥匙,并等待所有活动件完全停止。
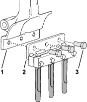
Note: 出厂时附带的护草板夹具、垫圈和凸缘锁紧螺母固定到护草板支架(图 39)。
用 4 个护草板夹具、12 个凸缘锁紧螺母(3/8 英寸)和 12 个垫圈(7/16 x 13/16 英寸)将护草板松松地组装到护草板支架上。
Note: 切勿将凸缘锁紧螺母拧紧。

用 3 个螺栓(1/2 x 1-1/4 英寸)将打孔针夹头和打孔针松松地组装到 2 号打孔针臂(图 42和 图 43)。


上紧螺栓(1/2 x 1-1/4 英寸)扭矩至 102 N∙m。
对 5 号打孔针臂重复步骤 1和 2。
检查护草板槽是否与打孔针对齐,确保它们位于中间位置(图 44)。
Note: 根据需要调节护草板。

上紧将 3 个护草板夹具和 3 个护草板固定至 3 个护草板支架的凸缘锁紧螺母(3/8 英寸)的扭矩。
用 12 个螺栓(1/2 x 1-1/4 英寸)将剩余打孔针夹头和打孔针安装至 1 号、3 号、4 号和 6 号打孔针夹头。
上紧螺栓(1/2 x 1-1/4 英寸)扭矩至 102 N∙m。
校准机器的打孔针离地高度;请参阅 运行“设置离地高度应用程序”。
将点火钥匙旋转至运行位置。
如果箭头没有显示在TRANSPORT(行驶)模式屏幕或AERATE(打孔)模式屏幕上,请输入 PIN 码以访问受保护的菜单;请参阅访问受保护菜单。
Note: 将显示行驶模式屏幕或打孔模式屏幕(图 45)。

按右侧按钮两次可显示“校准打孔针离地高度”屏幕(图 46)。
Note: 按左侧按钮可显示行驶或打孔模式屏幕。

按右侧按钮可显示“设置孔深”屏幕(图 47)。
Note: 按左侧按钮可显示“设置离地高度”屏幕。

按右侧按钮可显示“设置打孔间距”屏幕(图 48)。
Note: 按左侧按钮可显示“设置孔深”屏幕。

按右侧按钮可显示“设置打孔针直径”屏幕(图 48)。
Note: 按左侧按钮可显示“设置打孔间距”屏幕。

按右侧按钮可显示“设置打孔针数量”屏幕(图 50)。
Note: 按左侧按钮可显示“设置打孔针直径”屏幕。

Note: ProCore 648s 的设计旨在当深度设定为 7.6 厘米时,在各种草和土壤类型、农艺条件和打孔针样式下提供最佳打孔性能。当在较浅的设置中使用时,特别是使用较小的打孔针在小于 5 厘米的深度下打孔时,可能会造成更大的表面破坏。
| 维护间隔时间 | 维护程序 |
|---|---|
| 在每次使用之前或每日 |
|
Important: 每次更换打孔针或更换磨损的打孔针时,均应校准打孔针离地高度。
将点火钥匙旋转至运行位置。
Note: 将显示行驶模式屏幕或打孔模式屏幕(图 61)。

移动手把,以便能够看见在 准备机器中调整的最外边的打孔针。
按右侧按钮,直至 设置离地高度 向导显示。
在“设置离地高度”屏幕(图 62)上,按中间任一按钮。

在“按确认以开始设置”屏幕(图 63)上,按选择按钮。

Note: 将显示 进行校准 消息,打孔头会缓慢降低。
Important: 将手放在 InfoCenter 信息中心附近。
Note: 液压油温度较低时,打孔头下降速度更慢。
当任何打孔针接触到地面时,按“降低打孔头”屏幕上的选择按钮(图 64)。
Note: 打孔针只应接触到地面,不应从轮胎上抬起或卸下重量。如果打孔头抬起了机器,则机器会错误校准离地高度,导致不准确的孔深和打孔的入口漏草。

Note: 校准完成 消息显示,打孔头完全升起。
按返回按钮可退出“设置离地高度”应用程序。
所有者/操作员应防止发生可能导致人身伤害或财产损害的事故,并对此承担责任。
穿戴适当的服装,包括护目镜、长裤、结实的防滑鞋和听力保护用具。扎好长发、固定好宽松的衣服且不要佩戴松散的珠宝首饰。
在疲劳、生病或受酒精或药物影响时,切勿操作机器。
让旁观者、儿童和宠物远离操作区。切勿让儿童操作机器。仅允许负责任、受过培训、熟悉操作说明、身体有能力的人员操作机器。
切勿在机器上运载乘客。
仅在光线良好的情况下操作机器,以避免坑洞和潜在危险。
确保您的手脚远离打孔针。
后退之前观察后面和下面的情况,确定道路无阻碍。
机器撞击物体或内部出现异常振动后,应停止机器,关闭发动机并拔下点火钥匙,等待所有活动件停止,并检查打孔针。恢复操作之前请执行所有必需的修理。
始终维持适当的轮胎压力。
在崎岖不平的地形和表面上操作时请降低牵引速度。
斜坡是引发失控和翻倒事故的主要因素,这些意外可能导致严重的人身伤害甚至死亡事故。您负责斜坡的安全操作。在任何斜坡上操作机器都需要特别小心。
评估现场情况,包括考察现场,以确定斜坡是否可以安全操作机器。执行此类考察时应始终使用常识和良好的判断力。
请参阅以下列出的在斜坡上操作机器的说明以及机器的正常运行条件,以确定是否可以在当天的现场条件下操作机器。地形的变化可能导致机器坡度操作的变化。
在斜坡上操作机器时避免启动、停止或转向。避免突然改变速度或方向。要缓慢和逐渐转向。
切勿在牵引、转向或稳定性有问题的任何情况下操作机器。
应移除或标记障碍物,如沟渠、孔洞、车辙、凸起、岩石或其他隐患。高草可能会隐藏有障碍物。崎岖不平的地形可能导致机器翻倒。
请注意,在湿草地、斜坡或下坡上操作机器可能会导致机器失去牵引力。驱动轮失去牵引力可能会导致打滑以及丧失制动和转向能力。
在靠近陡降处、沟渠、河堤、水障碍物或其他危险处操作时需要特别谨慎。如果车轮行驶到边缘上或边缘塌陷,机器可能会突然翻倒。应在机器与任何危险之间建立一个安全区域。
完全升起并将手把锁定可接合手刹;请参阅 接合手刹。
按照如下方式使用阻风门(图 70):
启动冷却的发动机之前,请将阻风门控制杆移至打开位置。
当启动未冷却或热发动机时,可能不需要使用阻风门。

发动机冷启动前,将油门杆移动到快速位置。
将点火钥匙旋转至 启动 位置。发动机启动时,松开钥匙。
Important: 接合启动马达一次不要超过 10 秒钟。如果发动机未能启动,请先冷却 30 秒钟,然后再次尝试启动。不遵守这些说明可能烧坏启动马达。
发动机启动之后,请将阻风门移向关闭位置。如果发动机难以启动或熄火,请将阻风门移回到打开位置几秒钟。然后将油门杆移至所需的发动机转速。
Note: 必要时重复此步骤。
Important: 操作机器时应面向前在机器前面行走,不要面向后倒退行走。

使用速度锁可在无需抓住牵引控制装置的情况下驾驶机器。
Note: 机器后退时不能使用速度锁功能。
在打孔的同时使用速度锁可以按照所选定的打孔间距速度、在每趟打孔作业结束时持续驾驶机器、调转机器并在无需更改牵引控制装置位置的情况下开始下一趟打孔作业。
Note: 在打孔头被设定为延迟下降模式时,可激活打孔模式下的速度锁功能;在即时下降模式下,会锁定速度锁功能。
地面行驶速度锁的操作与汽车巡航控制相似。
将行驶/打孔开关按至行驶位置(图 74)。

将速度锁开关按至打开位置。
以所需的地面行驶速度向前驾驶机器。
将速度锁开关按至接合位置。
Note: 地面行驶速度锁可保持机器当前的地面行驶速度。可以松开牵引控制装置。
要解除速度锁操作,可执行以下任一操作:
将速度锁开关按至关闭位置。
向后旋转牵引控制装置的顶部可让机器后退。
松开操作员到位把手
按止动块开关。
Note: 在即时下降模式下打孔时,地面行驶速度锁不可用。
将行驶/打孔开关按至打孔位置(图 75)。

将速度锁开关按至打开位置。
向前驾驶机器,握住打孔把手。
Note: 地面行驶速度锁接合,打孔头升起。
在每趟打孔作业结束时,松开打孔把手。
Note: 打孔头升起,但机器会按照打孔间距速度保持地面行驶速度。
要解除速度锁操作,可执行以下任一操作:
将速度锁开关按至关闭位置。
向后旋转牵引控制装置的顶部可让机器后退。
松开操作员到位把手
按止动块开关。
Note: 在不同工作现场之间移动机器时应使用行驶模式。
Note: 在行驶/打孔开关处于打孔位置时,机器可随时以低速行驶。
Note: 在打孔头升起时,机器可随时以低速行驶。
启动发动机并将油门控制杆移至快速位置;请参阅 启动发动机。
降低手把,以松开手刹;请参阅 松开手刹。
将行驶/打孔开关的右侧按至打孔位置(图 80)。

InfoCenter 信息中心可显示当前孔深和打孔间距(图 81)。

查看规划路径的方向,确保它是明显的。
握住左侧或右侧手把和操作员到位把手(图 80),将把手向手柄挤靠。
用拇指旋转左侧或右侧牵引控制装置的顶部可让机器前进。
Note: 在打孔期间,机器以针对目标打孔间距选定的速度行驶。
在使用地面行驶速度锁时,在不更改牵引控制装置位置的情况下松开打孔把手会使得机器保持地面行驶速度,就像汽车的巡航控制一样。
以后退档驾驶机器会解除巡航控制效果,并促使机器以可变地面行驶速度行驶。
当升起打孔头以调转机器进行又一趟作业时,可以将牵引控制装置进一步前移,加快地面行驶速度。当您将牵引控制装置恢复至空档位置时,机器会减慢至打孔间距所需的地面行驶速度。
在延迟下降模式下打孔时,使用前轮胎来观察下降点。
将牵引控制开关的顶部(图 82)按至 延迟下降 位置。

向前驾驶机器;请参阅 在行驶模式下驾驶机器。
在前轮胎滚过打孔区域的周边时,握住左侧或右侧打孔把手(图 83)。
Note: 当机器向前移动穿过目标打孔区域时,打孔头会运转并降低。

将牵引控制开关的底部(图 86)按至 即时下降 位置。
Note: 开关上的指示灯将亮起。

向前驾驶机器;请参阅 在行驶模式下驾驶机器。
握住左侧或右侧打孔把手(图 87)。
Note: 打孔头将立即降低并开始打孔。

松开牵引控制装置,让其移动至空档位置,松开操作员到位把手(图 91)。

远离止动块开关(图 92)。
Note: 止动块开关中的弹簧可重置该开关。

握住左侧或右侧手把和操作员到位把手(图 93),将把手向手柄挤靠。

驾驶机器;请参阅 在行驶模式下驾驶机器或 在行驶模式下驾驶机器。
使用对齐标尺对齐打孔行(图 94)。

机器使用 2 个计数器来记录已打孔的面积以及分散的土芯体积。使用这些计数器的信息可估计要施用到已打孔草皮区域的铺沙量。
区域 1 计数器不受 PIN 码保护,指定由机器操作员进行重置。
Note: 如果操作员记录各打孔现场的区域 1 计数器,则可以估计各现场的表层土体积和交付要求。
区域 2 计数器受 PIN 码保护,指定由主管或其代表进行重置。
已打孔的面积会以平方米(m2)(国际单位制)或平方英尺(ft2)(英制)计量单位进行显示。
已分散的土芯体积会以立方米(m3)(国际单位制)或立方码(yd3)(英制)计量单位进行显示。
在查看已分散的土芯体积计数器时,机器会使用您在 InfoCenter 信息中心中输入的打孔针直径和打孔针数量计算体积。
Important: 如果在现场进行打孔作业前的打孔针直径和/或打孔针数量值不正确,则 InfoCenter 信息中心会计算并显示区域 1 和区域 2 的错误土芯体积值。如果在打孔后更改了打孔针直径和/或数量值,则 InfoCenter 信息中心会更换所显示的体积值。
在 STATISTICS(统计)屏幕上按向下按钮,直至 AREA 1(区域 1)选项被选定(图 98)。

在工作表中记录打孔面积和土芯体积;请参阅随后的示例。
|
日期 |
球场(如果有多个) |
位置 |
打孔面积 |
土芯体积 |
按选择按钮可显示“重置面积和体积”屏幕。
在 重置面积和体积屏幕上按选择按钮。
Note: InfoCenter 信息中心会显示统计屏幕,面积和体积计数器被重置为零。
Note: 如果没有重置区域 1 计数器,则面积和体积计数器将继续积累数据。

根据需要重复步骤 1至 4。
按返回按钮,返回至主菜单。
Important: 用相同长度的打孔针更换受损的打孔针。不同的打孔针长度会对孔外观产生不利影响。
不同的打孔针长度会影响孔外观。
请参阅安装护草板、打孔针夹头和打孔针,查阅说明。
升起打孔头并用检修闩锁将其固定到位。
将机器停放在水平地面上,完全抬起和锁住手把以接合手刹、关闭发动机、拔下钥匙,并等待所有活动件完全停止。
旋松打孔针夹头螺栓,然后拆下旧打孔针。
将新打孔针插入打孔针夹头。
上紧打孔针夹头螺栓扭矩至 40.6N·m。
需要时对剩下的打孔针臂重复此程序。
使用离地高度调用应用程序迅速检查当前打孔针离地高度。
该应用程序可将打孔头向下移动至先前校准的位置;打孔头就位后,你可以检查打孔针尖距地面的距离。
输入 PIN 码可访问受保护的菜单;请参阅 访问受保护菜单。
在 InfoCenter 信息中心内,导航至 MAIN MENU(主菜单)。
按向下按钮,直至 SERVICE(维护)选项被选定,然后按选择按钮(图 105)。

按 InfoCenter 信息中心上的向下按钮可导航至离地高度选项,然后按选择按钮。
按 InfoCenter 信息中心上的向下按钮可导航至调用校准选项,然后按选择按钮。
在“离地高度调用”屏幕(图 106)上,按选择按钮。

在“打孔头将下降”屏幕(图 107)上,按选择按钮。

Note: 将显示“降低打孔头”消息,打孔头会降低。
观察最外边的打孔针,了解以下校准失效情况。
如果打孔针开始穿透地面 — 按选择按钮(图 108)并运行设置离地高度应用程序;请参阅运行“设置离地高度应用程序”。
如果打孔针高于地面 — 按选择按钮并运行设置离地高度应用程序;请参阅运行“设置离地高度应用程序”。

如果最外边的打孔针轻触地面,按选择按钮可升起打孔头。
机器将重量由主机转移到打孔头,帮助在不同土壤结构中都保持稳定的孔深。然而,如果因土壤结构过于紧固而无法实现完整打孔深度,则打孔头可能需要额外的重量转移。机器在出厂时按正常的重量转移进行设置。要增加重量转移弹簧的下压力,请按照以下方式进行:
突然松开弹簧板可能会造成人身伤害。
调节重量转移弹簧时需要获得其他人的帮助。
将机器停放在水平地面上,完全抬起和锁住手把以接合手刹、关闭发动机、拔下钥匙,并等待所有活动件完全停止。
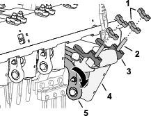
旋松将弹簧张力板固定至打孔头支撑托架的前凸缘锁紧螺母和托架螺栓(图 109)。
Note: 切勿拆下锁紧螺母和托架螺栓。

拆下将弹簧支架固定至支撑托架的后凸缘锁紧螺母。
Note: 切勿拆下托架螺栓。
将一个 13mm 的驱动棘轮或呆套筒扳手插入弹簧张力板上的方孔(图 110)。

旋转棘轮或呆套筒扳手可解除后托架螺栓上的张紧力,并将其从上孔上拆下。
Note: 上孔为正常重量转移位置。
旋转弹簧张力板,直至其与支撑托架中的下孔对准,将托架螺栓插入并穿过弹簧张力板和托架中的孔。
Note: 下孔为更高的重量转移位置。向上旋转弹簧板可增大重量转移。
用凸缘锁紧螺母将托架螺栓固定至支撑托架和弹簧张力板。
上紧锁紧螺母扭矩至 37~45N·m。
为确保最佳的孔质量和机器性能,应使用自动地形跟随系统进行打孔。
仅在打孔针位置传感器受损的情况下才使用手动地形跟随装置。
将机器停放在水平地面上,完全抬起和锁住手把以接合手刹、关闭发动机、拔下钥匙,并等待所有活动件完全停止。
拆下打孔头盖板;请参阅拆下打孔头盖板。
拆下将限深销和隔片固定至限位支架的保险销(图 111和 图 112)。


将隔片放到限位支架的上方或下方可调节打孔深度。
所有隔片都放在限位支架顶部时,深度设定值为 10.7cm。
厚隔片可增加 19mm 深度。
薄隔片可增加 9.5mm 深度。
Note: 必须安装所有隔片,无论其位置如何。
用保险销将限深销和隔片组装至限位支架。
在机器的另一侧重复步骤 3至 5。
Important: 确保左、右限位支架上方和下方的隔片位置相同。
安装打孔头盖板;请参阅安装打孔头盖板。
Note: 如果要在手动模式下打孔,则每次在启动发动机时,必须将 InfoCenter 信息中心设置为手动地形跟随装置模式。
将点火钥匙旋转至运行位置。
Note: 不要启动发动机。
输入 PIN 码可访问受保护的菜单;请参阅 访问受保护菜单。
在 InfoCenter 信息中心内,导航至 MAIN MENU(主菜单)。
按向下按钮,直至 MACHINE SETTINGS(机器设置)选项被选定,然后按选择按钮。
按向下按钮,直至MANUAL AERATION(手动打孔)选项被选定,然后按选择按钮(图 113)将手动打孔设置为打开。

启动发动机。
使用使用延迟下降模式打孔或使用即时下降模式打孔打孔。
Note: 关闭发动机并再次启动时,机器会默认为自动地形跟随装置模式。
在对重量转移进行调节后,在足够坚硬的草皮地面上打孔时,重量转移可能会导致机器将后轮胎提离地面。这可能导致打孔间距不均匀。
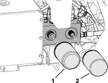
如果发生这种提升,可以向后机架轴管上添加可选的配重板。每个配重板可使机器的重量增加 28.5kg。最多可以添加 2 个配重板。请参阅机器零件目录,获取配重块和五金件编号。
所需工具: 15mm 套筒和套筒扳手
Important: 旁通阀打开的情况下操作发动机不要超过 10~15 秒钟。
如果可能,始终将机器停在水平地面上。
完全抬起和锁住手把以接合手刹、关闭发动机、拔下钥匙,并等待所有活动件完全停止。
拆下将储物箱固定至储物箱支架的 2 个凸缘头螺栓(图 115)。

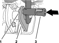
如(图 116)所示,找到发动机与液压泵之间旁通阀螺丝的盖子。

使用 15mm 套筒和套筒扳手逆时针旋转旁通阀 1-1/2 圈。
Important: 旋转旁通阀不要超过 1-1/2 圈。
如果要拖曳机器,应使用前部栓系环进行牵引(图 117)。
Important: 推/拉机器的距离不要超过 30.5m,或者速度不得超过 0.6km/h,否则液压组件可能会受损。

推/拉机器之前应降低手把以松开手刹。
Important: 移动机器之前必须降低手把以松开手刹。
Important: 必须关闭旁通阀才能驾驶机器。切勿试图在旁通阀打开的情况下操作牵引系统。
找到发动机与液压泵之间的旁通阀螺丝。
Note: 旁通阀螺丝的盖子的位置如图 118所示。

使用 15mm 套筒和套筒扳手顺时针旋转旁通阀 1-1/2 圈。
Note: 旁通阀螺丝不要旋得太紧。
使用 15mm 扳手将旁通阀螺丝盖子安装到液压泵上。
用 2 个凸缘头螺栓将储物箱安装到储物箱支架上。
如果发动机在打孔头降低且打孔针插入土壤时停止运行,且无法重新启动,请执行 使用启动马达升起打孔头或 从打孔臂上卸下打孔针夹头。
将钥匙旋移动至运行位置。
在 InfoCenter 信息中心内,导航至 MAIN MENU(主菜单)。
按向下按钮,直至 SERVICE(维护)选项被选定,然后按选择按钮(图 119)。

按向下按钮,直至 SERVICE LIFT(提升维修)选项被选定,然后按选择按钮(图 120)。
Note: 提升维修选项将变为打开。

将钥匙移动至启动位置,转动启动马达 10 秒钟。
Important: 接合启动马达一次不要超过 10 秒钟。如果打孔针未能离开地面,请先冷却 30 秒钟,然后再次尝试。不遵守这些说明可能烧坏启动马达。
Note: 打孔头会将打孔针抬离地面。
Important: 在移动机器前,打孔针将完全离开地面。
打开旁通阀;请参阅 分流液压泵并移动机器。
将机器拉/推到可继续检修或装载到拖车上的附近地点。
Important: 拉/推机器的距离不要超过 30.5m 且速度不得超过 1.6km/h,否则液压组件可能会受损。
从打孔臂上卸下打孔针夹头。
打开旁通阀;请参阅 分流液压泵并移动机器。
将机器拉/推到可继续检修或装载到拖车上的附近地点。
Important: 拉/推机器的距离不要超过 30.5m 且速度不得超过 1.6km/h,否则液压组件可能会受损。
打孔时每次转弯都要缓慢进行。千万不要在打孔头接合的情况下进行急转弯。放低打孔机之前要先计划您的打孔路径。
始终要清楚前进的方向上都有什么。避免在靠近建筑物、围墙或其他设备的地方打孔。
经常向后观看,确保机器运行正常,且与先前的打孔路径对准。
务必将所有受损的机器零件(如损坏的打孔针等)清除出打孔区,防止它们被剪草机或其他草坪维护设备捡起。
更换损坏的打孔针,检查并修正那些仍然可用的打孔针。开始操作之前要先修理机器的任何其他损坏。
当不是以机器的全宽进行打孔作业时,可以将部分打孔针取下,但打孔针头仍应安装在打孔臂上,确保机器保持适当的平衡和正常运行。
本机器比大多数果岭打孔机打的孔都要深。在天然的或经过改造的堆积果岭或发球台上,较深的打孔深度,较长的空心打孔针,可能难以排出完整土芯。这是由于更坚硬的自然土壤卡在打孔针端部所造成的。制造商的侧弹果岭/发球台打孔针可保持清洁,并缩短清洁打孔针所需的时间。这一情况可通过持续打孔和铺沙程序最终杜绝。
本机器的设计旨在提供尽可能大的深度。但是,在某些草坪条件下,当以完全深度设定值打孔时,护草板和/或护草板螺栓可能会造成损坏。如果在运行离地高度校准后,以允许的最大深度进行打孔(任意长度的打孔针)时,护草板螺栓拖地或接触到草坪,则将深度减小一级(¼ 英寸)。
如果地面过于坚硬,难以获得理想的打孔深度,可能导致打孔头不断跳跃。这是打孔针尝试穿透粘土层所致。这种状况可尝试通过以下方法来解决:
如果地面过于坚硬或干燥,请不要打孔。下雨后或前一天给草坪浇水,可实现最好的打孔效果。
如果之前使用的是 4 打孔针夹头,请尝试换成 3 打孔针夹头,或者减少每个打孔臂上的打孔针数量。尽量保持对称性的打孔针配置,让打孔臂保持均匀负载。
如果地面被压得过实,应减少打孔的穿透深度(深度设定值),清理掉土芯,浇灌草皮,然后以更深的穿透深度再次打孔。
在硬质底土上铺设的土壤类型(即将土壤/沙子置于岩石类土壤上)打孔可能造成打孔质量不理想。当打孔深度深于铺设的土壤,并且 底土过于坚硬难以穿透时,就会发生这种情况。当打孔针接触到这种更加坚硬的底土时,打孔机可能被升起,并导致孔的顶部被拉长。减小打孔深度足以避免进入坚硬的底土。
如果孔被拉出槽缝(向前拉动),则进入打孔质量会受到破坏。
如果进入打孔质量受到破坏,应检查打孔针离地高度校准,请参阅 检查打孔针离地高度校准。
由于采用双排设计,迷你打孔针打孔头需要将打孔间矩设置为 6.3cm。要保持 3.2cm 的打孔间矩外观,地面速度十分重要。如果您的打孔间矩需要进行微小改变,请参阅设置打孔间距。
在使用迷你打孔针夹头或较大的实心打孔针时,由于根区可能会被撕裂,草皮根部结构对于防止草坪受损就至关重要。如果中间两个打孔臂开始提起草皮或对根区的损害过于剧烈,请按照以下方式操作:
增加打孔间距
减小打孔针尺寸
减小打孔针深度
去掉部分打孔针
实心打孔针从草皮拉出时的提升动作可能会导致草坪受损。如果打孔针过密或直径过大,这种提升就可能撕裂根区。
当使用较长的实心打孔针(即 1 x 10cm 长)或针形打孔针打孔时,孔的前部可能被拉出槽缝或形成簇状。要利用此配置重新获得出色的打孔质量,可尝试以下方法:
校准打孔针离地高度;请参阅 校准打孔针离地高度。
将发动机高怠速减慢至 2800~2900rpm。
Note: 由于牵引和打孔头速度与发动机转速一起增加和降低,因此打孔间距不受影响。
如果放慢发动机转速无法改善较长实心打孔针或针形打孔针的打孔质量,应调节 Roto-Link 阻尼器。
Note: 在大多数情况下,出厂设置的效果会更好。
如果孔的前部被拉出槽缝或形成簇状,那么更硬的 Roto-Link 设置有助于抵抗这类孔挤压,改善孔的质量。
如果孔的后部被拉出槽缝或形成簇状,那么更软的 Roto-Link 设置有助于改善孔的质量。
Note: 如果换回空心打孔针或任何迷你打孔针,则必须恢复 Roto-Link 阻尼器的位置。
将机器停放在水平地面上,完全抬起和锁住手把以接合手刹、关闭发动机、拔下钥匙,并等待所有活动件完全停止。
拆下打孔头盖板;请参阅拆下打孔头盖板。
用检修闩锁固定打孔头;请参阅使用检修闩锁支撑打孔头。
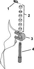
Note: 出厂时将 1 个 Roto-Link 隔片放在 Roto-Link 阻尼器轴上,将 1 个隔片放在各打孔臂的存放位置。
Note: 调节 Roto-Link 阻尼器可让您在发动机全速运转(3400 rpm)的情况下操作机器,但要想改善打孔质量,您可能需要以较低的发动机转速打孔。
拆下将 Roto-Link 阻尼器轴固定至机器后机架的 2 个凸缘锁紧螺母(图 121)。

拆下隔片(如果已装)和硬化椭圆形垫圈。
向下旋转阻尼器联杆和阻尼器轴(图 122)。

调整 Roto-Link 隔片的位置,以纠正以下打孔堆土情况:
Note: 每个隔片相当于 12.7mm。低阻尼器隔片必须始终组装在阻尼器轴上。
如果孔的前部被拉出槽缝或形成簇状——将隔片放在后机架上,位于存放位置。
如果孔的后部被拉出槽缝或形成簇状——将两个隔片放在后机架上,位于 Roto-Link 阻尼器轴的两侧。
向上旋转阻尼器联杆和阻尼器轴,并将螺栓插入并穿过机器后机架中的孔。
用硬化椭圆形垫圈和锁紧螺母将阻尼器轴和隔片固定至后机架(图 123)。

上紧凸缘锁紧螺母扭矩至 47~61N·m。
在接下来的 2 个打孔臂上重复步骤 1至 7。
执行校准打孔针离地高度程序;请参阅校准打孔针离地高度。
将机器带到测试区并在草皮上打孔,以比较打孔质量。
如果打孔质量有所改善,则重复 准备机器、调节 Roto-Link 阻尼器 和 安装打孔头盖板 中的步骤,在其他 3 个打孔臂上调节 Roto-Link 阻尼器。
将机器停放在水平地面上,完全抬起和锁住手把以接合手刹、关闭发动机、拔下钥匙,并等待所有活动件完全停止。
在不运行机器时,应降低打孔头或使用检修闩锁进行固定。
确保机器的所有零件都处于良好工作状况,保持所有紧固件拧紧。
更换所有磨损、损坏或缺失的标贴。
| 维护间隔时间 | 维护程序 |
|---|---|
| 在每次使用之前或每日 |
|
Important: 切勿使用咸水或再生水清洁机器。
Important: 切勿用加压水清洗机器。
将机器停放在水平地面上,完全抬起和锁住手把以接合手刹、关闭发动机、拔下钥匙,并等待所有活动件完全停止。
彻底清洗机器。
使用不带嘴的喷水软管,避免迫使水通过密封件并污染轴承润滑脂。
使用刷子清除结块的材料。
使用温和的清洁剂清洁盖子。
清洁之后,请定期涂抹汽车蜡,让盖子保持光泽。
检查机器是否存在损坏、漏油、组件及打孔针磨损情况。
卸掉打孔针,清洁并上油。在打孔头轴承(曲轴和阻尼器联杆)上喷一薄层油雾。
Important: 如果长时间存放机器,请用检修闩锁固定打孔头。
在没有转向信号灯、照明、反光标记或车辆慢行符号的街道或公路上驾驶机器是非常危险的,可能发生事故,导致人身伤害。
切勿在公共街道或道路上操作机器。
Important: 将机器装入拖车或卡车时,请使用全宽坡道。
将机器装入拖车或卡车(打孔头向前——首选)。
完全抬起和锁住手把以接合手刹、关闭发动机、拔下钥匙,并等待所有活动件完全停止。
用检修闩锁固定打孔头;请参阅使用检修闩锁支撑打孔头。
关闭燃切断油阀;请参阅燃油切断阀。
在栓系点,用电缆、链条或箍带将机器固定在拖车或卡车上;请参阅栓系点
| 重量 | 745kg 或 829kg(带 2 个可选配重块) |
| 宽度 | 130cm(至少) |
| 长度 | 267cm(至少) |
| 坡道角度 | 16°(最大) |
| 装载方向 | 打孔头向前(首选) |
| 车辆牵引能力 | 大于拖车总重(GVW) |
Note: 您可以访问 www.Toro.com,并从主页上的“手册”链接搜索您的机器,下载免费的电路图或液压系统示意图。
Note: 请参阅您的发动机用户手册,了解更多维护程序。
Note: 请根据正常操作位置来判定机器的左侧和右侧。
将机器停放在水平地面上,完全抬起和锁住手把以接合手刹、关闭发动机、拔下钥匙,并等待所有活动件完全停止。等待机器冷却,然后再进行调整、维修、清洁或存放。
只可进行本手册中描述的相关维护工作。如果机器需要大修或您需要帮助,请联系 Toro 授权经销商。
确保旋紧螺母、螺栓和螺丝,使机器处于安全操作状态。
如果可能,切勿在发动机运行时执行维护。远离活动件。
小心释放储能组件中的压力。
每天检查打孔针安装螺栓,确保它们按规格拧紧。
维护或调节机器之后,确保安装所有防护装置并固定机罩。
| 维护间隔时间 | 维护程序 |
|---|---|
| 初次使用8小时后 |
|
| 初次使用50小时后 |
|
| 在每次使用之前或每日 |
|
| 每25个小时 |
|
| 每50个小时 |
|
| 每100个小时 |
|
| 每200个小时 |
|
| 每250个小时 |
|
| 每400个小时 |
|
| 每500个小时 |
|
| 在存放之前 |
|
| 每年一次 |
|
Important: 请参阅您的发动机用户手册,了解更多维护程序。
复印本页以供日常使用。
| 维护检查项 | 第____周: | ||||||
|---|---|---|---|---|---|---|---|
| 周一 | 周二 | 周三 | 周四 | 周五 | 周六 | 周日 | |
| 检查安全联锁操作。 | |||||||
| 检查刹车工作情况。 | |||||||
| 检查机油油位。 | |||||||
| 检查燃油油位。 | |||||||
| 检查空气滤清器。 | |||||||
| 检查机油是否有杂物。 | |||||||
| 检查发动机是否有异常噪音。 | |||||||
| 检查是否有异常的操作噪音。 | |||||||
| 检查液压油油位。 | |||||||
| 检查液压软管是否受损。 | |||||||
| 检查漏液情况。 | |||||||
| 检查仪表工作情况 | |||||||
| 检查打孔针的状况。 | |||||||
| 为掉漆部分补漆。 | |||||||
Important: 请参阅您的发动机用户手册,了解更多维护程序。
| 检查人员: | ||
| 项目 | 日期 | 情况 |
| 1 | ||
| 2 | ||
| 3 | ||
| 4 | ||
| 5 | ||
| 6 | ||
| 7 | ||
| 8 | ||
如果将钥匙留在点火开关上,可能会有人无意中启动发动机,对您或其他旁观者造成严重伤害。
将机器停放在水平地面上,完全抬起和锁住手把以接合手刹、关闭发动机、拔下钥匙,并等待所有活动件完全停止。
Important: 本机器护罩上的紧固件可在拆卸后依然保留在护罩上。将各个护罩上的所有紧固件都拧松几圈,这样护罩虽然松开但仍与机器相连,然后进一步拧松各紧固件,直到护罩完全松脱。这样可以防止螺栓与卡环意外脱离。
如果机器未使用挡块或顶车架正确支撑,可能会移动或翻到,从而导致人身伤害。
当更换附件、轮胎或进行其他维修时,请使用正确的木楔、起重机和千斤顶。
确保机器停放在坚实、平整的地面上,例如水泥地面。
在提升机器之前,应卸除可能影响安全和正确提升机器的任何附件。
始终用木楔或挡块堵住车轮。使用顶车架或实木块支撑顶起的机器。
| 维护间隔时间 | 维护程序 |
|---|---|
| 每500个小时 |
|
| 每年一次 |
|
机器没有必须进行润滑的黄油嘴。
Important: 轴承几乎不会因为材料或工艺的缺陷而失效。最常见的故障原因就是湿气和污染穿透保护密封。打黄油的轴承需要进行定期维护,才能将有害杂物从轴承区域吹出。密封轴承依赖最初添加的专用润滑脂和坚固的整体密封件,以防止污染物和湿气影响滚动元件。
密封轴承不需要润滑或短期维护。这可以最大程度地减少日常维护需求,并降低因润滑脂污染而导致草坪受损的可能性。这些密封轴承包在正常使用下具有良好的性能和长期寿命,应定期检查轴承状况和密封完整性,以免造成停机时间。每个季度检查一次轴承,如果损坏或磨损,请予以更换。轴承应该顺畅运行,而不会产生诸如高温、噪音、松动或生锈渗漏等不利特性。
由于这些轴承/密封件包面临各种操作状况(如沙子、草坪化学品、水、撞击等),它们被视为正常磨损件。轴承因非材料或工艺缺陷原因导致的故障通常不包含在保修范围内。
Note: 不当冲洗程序可能对轴承造成不利影响。切勿冲洗未冷却的机器,避免将高压或大容量喷雾喷到轴承上。
新轴承将部分润滑脂吹出到新机器的密封件上是常见现象。这种排出的润滑脂会因为沾染杂物而使颜色变黑,而不是因为过热。在最初 8 个小时后将这种多余的润滑脂从密封件上擦除是一个好的做法。密封唇周围的区域可能看起来总是潮湿的。这不会影响轴承的寿命,并可以保持密封唇润滑。
检查油位或向曲轴箱加油之前,必须关闭发动机。
切勿改变调速器速度或超速运行发动机。
| 维护间隔时间 | 维护程序 |
|---|---|
| 每25个小时 |
|
| 每100个小时 |
|
Important: 为防止发动机受到损坏、请始终在安装有完整的泡沫和纸质空气滤清器总成的情况下操作发动机。
小心将泡沫预滤器滑到纸质过滤器上(图 147)。

将空气滤清器总成放到空气滤清器基座上。
组装护罩、隔片和护罩螺母。
上紧螺母扭矩至 11N·m。
安装空气滤清器盖,并使用旋钮进行固定。
机油类型:优质去污机油(API 服务等级 SJ 或更高)
油粘度:参阅下表:

| 维护间隔时间 | 维护程序 |
|---|---|
| 在每次使用之前或每日 |
|
发货时发动机的曲轴箱内带有机油;但是,在首次启动发动机前后仍应检查机油油位。
按照机油规格所述使用高质量机油。
Important: 切勿向曲轴箱添加过多的机油。机油油位低于低油量标记时不要运行发动机。
Note: 检查机油的最佳时间是发动机冷却时、在开始一天的工作前。如果发动机已经运行,请让机油回流到油底壳,至少等待 10 分钟再开始检查。
| 维护间隔时间 | 维护程序 |
|---|---|
| 初次使用50小时后 |
|
| 每100个小时 |
|
曲轴箱容量:带机油滤芯约为 1.9L。
启动发动机并运行 5 分钟。这样可使机油变热,更易排出。
停下机器,让排放侧略低于另一侧,确保机油完全排出,关闭发动机,完全抬起和锁住手把以接合手刹,然后拔出钥匙。
在排油塞下放置一个盘子并取下排油塞(图 150)。
Note: 让油完全排干。

将排油赛拧入发动机并拧紧排油塞。
Note: 在经过认证的回收中心丢弃废油。
| 维护间隔时间 | 维护程序 |
|---|---|
| 每200个小时 |
|
火花塞类型: Champion RC12YC 或同类产品
气隙:0.75mm
查看两个火花塞的中心(图 154)。如果您看到绝缘体上有浅棕色或浅灰色涂层、说明发动机运行正常。如果绝缘体上的涂层为黑色、则通常意味着空气滤清器已变脏。
Important: 切勿清洁火花塞。当火花塞出现黑色涂层、磨损的电极、油膜或开裂时,务必予以更换。

检查中心电极与侧电极之间的空隙。
如果空隙不正确,请弯转侧电极。
确保中心电极与侧电极之间的气隙设置是正确的,然后再安装火花塞。使用火花塞扳手拆下并安装火花塞,使用气隙工具/测隙规检查并调整气隙。必要时安装新的火花塞。
将火花塞拧入发动机火花塞孔。
使用火花塞套筒和扭矩扳手上紧火花塞扭矩至 27N∙m。
将火花塞电线组装到火花塞上(图 155)。

| 维护间隔时间 | 维护程序 |
|---|---|
| 在每次使用之前或每日 |
|
每次使用之前,都应检查并清洁发动机滤网。清除发动机进气滤网上积聚的任何草屑、灰尘或其他杂物。
在特定条件下,燃油和燃油蒸气极为易燃易爆。燃油起火或爆炸会灼伤您和他人,而且还会造成财产损失。
请在发动机关闭并已冷却的状况下,在室外的开阔区域添加燃油。擦干净溢出的燃油。
切勿将油箱完全加满。燃油油位最高只能加到油箱顶部(而非加油颈底部)以下 25mm 处。油箱中留出的这部分空间是为了预防燃油发生膨胀。
处理燃油时切勿吸烟,而且要远离明火或火花可能点燃燃油烟气的场所。
将燃油存放在已获得安全认可的清洁容器内,并盖上盖子。
维修机器之前先断开电池的连接。首先断开负极端子,然后断开正极端子。首先连接正极端子,然后连接负极端子。
在通风良好的开阔地为电池充电,远离火花和明火。连接电池或断开电池连接之前,拔出充电器。
穿上防护服并使用绝缘工具。
| 维护间隔时间 | 维护程序 |
|---|---|
| 每年一次 |
|
保持电池顶部洁净。
打开闩锁并打开电池盒门(图 158)。

用蘸有苏打溶液(含氨或碳酸氢盐)的刷子清洁电池顶部。
Important: 清洁时切勿取下加液盖。
用清水彻底冲洗电池和电池盒的表面。
关闭并用闩锁锁定电池盒门。
| 维护间隔时间 | 维护程序 |
|---|---|
| 每年一次 |
|
电池端子或金属工具可能会与主机金属部件发生短路并产生火花。火花可引发电池气体爆炸,从而造成人身伤害。
拆下或安装电池时,切勿让电池端子接触到机器的任何金属部件。
切勿让金属工具短接电池端子和机器的金属部件。
电池接线不准确会损坏机器,而且接线之间会产生火花。火花可引发电池气体爆炸,从而造成人身伤害。
应始终先断开负极(黑色)电池线,然后才能断开正极(红色)接线。
应始终先连接正极(红色)电池线,然后才能连接负极(黑色)接线。
打开闩锁并打开电池盒门(图 159)。

检查电池接线夹是否稳固。
紧固松动的电池接线夹五金件。
检查电池接线夹和电池端子是否腐蚀。
如果端子被腐蚀,请卸掉负极电池接线。
卸掉正极电池接线。
清洁线夹和电池端子。
连接正极电池接线。
连接负极电池接线。
为接线端子和电池电极涂抹 Grafo 112X 表面润滑脂(Toro 零件号:505-47)。
关闭并用闩锁锁定电池盒门。
| 维护间隔时间 | 维护程序 |
|---|---|
| 每50个小时 |
|
准备机器进行维护;请参阅准备机器进行维护。
检查并确保所有轮胎的气压是 0.83bar。在轮胎冷却后检查轮胎,获得最准确的压力读数。
Important: 胎压不均可能导致打孔深度不均。

车轮配重非常重,为 33kg。
从轮胎总成上拆下车轮配重时,要小心谨慎。
如果液体穿透皮肤,请立即就医。如果液压油渗透皮肤,必须在几个小时内由医生进行手术治疗。
在对液压系统施加压力之前,请确保所有液压油软管和管路均处于良好状态、且所有液压连接和接头均紧固到位。
请确保身体和双手远离喷射高压液压油的针孔泄漏点或喷嘴。
使用纸板或纸张找出液压泄漏点。
在对液压系统执行任何工作之前,请先安全释放液压系统中的所有压力。
用检修闩锁支撑打孔头;请参阅使用检修闩锁支撑打孔头。
关闭发动机。
将点火钥匙开关移至运行位置。
在 InfoCenter 信息中心内,导航至 MAIN MENU(主菜单)。
按向下按钮,直至 SERVICE(维护)选项被选定,然后按选择按钮(图 166)。

Note: 打孔头降低,直至其完全由检修闩锁支撑。
按向下按钮,直至 SERVICE LOWER(降低维修)选项被选定,然后按选择按钮(图 167)。

将钥匙旋移动至停止位置。
Note: 启动和运行发动机以通过液压方式升起打孔头,这样可以收起检修闩锁;请参阅收起检修闩锁。
| 维护间隔时间 | 维护程序 |
|---|---|
| 在每次使用之前或每日 |
|
在每次使用之前,检查液压管和软管是否有泄漏、接头松开、软管扭结、支撑架松脱、磨损、日久老化或化学变质。更换磨损或损坏的液压管线,然后再操作机器。
Note: 确保液压系统周围的区域没有杂质堆积。
液压油箱在出厂时已添加高品质液压油。首次启动发动机之前请先检查液压油的液位,之后每天都要检查;请参阅检查机油油位。
建议液压油:Toro PX 延长寿命液压油;提供 19 L 桶装或 208 L 圆桶装。
Note: 使用建议更换液压油的机器无需频繁的液压油和过滤器更换。
备选液压油:如果无法获得 Toro PX 延长寿命液压油,可使用其规格符合所有以下所有材料性能和行业标准的另一种常规石油基液压油来代替。切勿使用合成油。请咨询您的润滑剂经销商,帮您确定一款合格产品。
Note: 对于因使用不当替代产品而造成的损坏,Toro 将不承担任何责任,因此,请仅使用信誉好的制造商的产品,他们会对其产品提供支持。
| 材料属性: | ||
| 粘度、ASTM D445 | cSt @ 40 ℃ 44~48 | |
| 粘度指数 ASTM D2270 | 140 或更高 | |
| 倾点,ASTM D97 | -37 °C~-45 °C | |
| 行业规格: | Eaton Vickers 694(I-286-S、M-2950-S/35VQ25 或 M-2952-S) | |
Note: 许多液压油都是几乎无色的,所以很难找出泄漏点。我们提供 20 ml 瓶装的人造红色染色添加剂,可添加到液压油中。一瓶足够添加到 15~22 L 的液压油中。订购零件号为 44-2500,可从 Toro 授权经销商处购买。
Important: Toro 优质合成、可生物降解液压油是 Toro 认可的唯一一种合成可生物降解液压油。此液压油与 Toro 液压系统中使用的橡胶部件相配,适合各种温度条件。此液压油与常规矿物油相兼容,但为了实现最佳的生物降解能力和最佳性能,应彻底冲洗液压系统中的常规液压油。Toro 授权经销商为这种液压油提供两种容量包装:19L 桶装或 208L 圆桶。
| 维护间隔时间 | 维护程序 |
|---|---|
| 在每次使用之前或每日 |
|
Important: 在打孔头位于升起位置的情况下,首次启动发动机之前请先检查液压油的油位,之后每天启动之前均需检查。
液压油箱在出厂时已添加高品质液压油。
| 维护间隔时间 | 维护程序 |
|---|---|
| 每200个小时 |
|
| 每400个小时 |
|
液压油箱容量:约 6.6L
Important: 切勿换上汽车用机油滤芯,否则可能对液压系统造成严重损坏。
Note: 拆下回流滤清器将排空整个油箱。
如果护草板断裂或磨损到厚度小于 6mm,请予以更换。断裂的护草板可能夹住并撕裂草皮,造成损坏。

打孔头正时标记可通过 3 个轴承壳体上的铸造标记轻松加以辨认。

离开操作员位置之前,请执行以下操作:
将机器停在水平地面上。
完全升起并将手把锁定可接合手刹。
关闭发动机并拔下钥匙(如配备)。
等待所有移动完全停止。
等待机器冷却,然后再进行调整、维修、清洁或存放。
切勿将机器或燃油容器存放在有明火、火花或常明火的地方,例如热水器或其他电器上。
如果要长期存放机器,应执行 存放机器少于 30 天中的所有步骤以及下列程序:
检查并旋紧所有螺栓、螺母和螺钉。修理或更换已损坏或磨损的任何部件。
清洗并干燥整台机器。卸掉打孔针,清洁并上油。在打孔头轴承(曲轴和阻尼器联杆)上喷一薄层油雾。
Important: 可使用温和的清洁剂和水来清洗机器。切勿用压力清洗机器。避免过量用水,特别是在控制台、发动机、液压泵和马达附近。
Note: 冲洗之后以高怠速运行机器 2 至 5 分钟。
为所有受损或裸露的金属表面上漆。油漆可从您的 Toro 授权经销商处购买。
长时间存放机器时应固定检修闩锁。
将机器存放在清洁、干燥的车库或存储区内。拔下点火开关的钥匙、并放在儿童或其他未授权用户拿不到的地方。
盖上机器,保护并使其保持清洁。
为油箱中的燃油添加石油基质稳定剂/调节剂。遵循稳定剂制造商提供的混合说明。切勿使用含酒精的稳定剂(乙醇或甲醇)。
Note: 燃油稳定剂/调节剂应始终与新鲜燃油混合使用,这样才能发挥最大效用。
Important: 含有稳定剂/调节剂的燃油存放时间不得超过燃油稳定剂制造商建议的期限。
运行发动机,通过燃油系统分散调节燃油(5 分钟)。
关闭发动机,让发动机冷却,然后排空油箱;请参阅排干油箱。
启动并运行发动机,直至其自动停止。
拉发动机阻风门。启动和运行发动机,直到其不再启动。
取出火花塞并检查它们的状况;请参阅维护火花塞。将火花塞从发动机取出后,将两汤匙机油注入各个火花塞孔。现在使用启动马达转动发动机,将机油分布至汽缸内部各处。安装火花塞。切勿将电线连接到火花塞上。
Note: 正确处置燃油。根据当地规定进行回收。
从电池电极上卸下电池端子,并从机器中取出电池。
用钢丝刷和小苏打溶液清洁电池、极柱和电极。
为电缆端子和电池电极涂抹上 Grafo 112X 表面润滑脂(Toro 零件号:505-47)或凡士林,防止腐蚀。
每 60 天给电池缓慢充电 24 小时,防止电池的铅硫酸化。为了防止电池冻结、请确保它已充满电。充满电的电池比重为 1.265~1.299。
将电池存放在货架或机器上。如果要将电池存放在机器内,请断开接线。将电池存放在凉爽的环境中,以免电池中的电量快速损耗。
| Problem | Possible Cause | Corrective Action |
|---|---|---|
| 启动马达不转。 |
|
|
| 发动机不启动、启动困难或无法保持运行状态. |
|
|
| 发动机失去动力。 |
|
|
| 发动机过热。 |
|
|
| 出现异常振动。 |
|
|
| 机器不行驶。 |
|
|
| 打孔头不启动。 |
|
|
| 打孔时,打孔头反弹。 |
|
|
| 进入时,草坪出现漏草/裂缝。 |
|
|
| 使用侧排土打孔针时,打孔处拉草。 |
|
|
| 打孔时,草坪被提起或撕裂。 |
|
|
| 孔的前方凹陷或被挤压。 |
|
|