| Wartungsintervall | Wartungsmaßnahmen |
|---|---|
| Bei jeder Verwendung oder täglich |
|
Diese Maschine ist eine handgeführte Maschine und sollte nur von geschulten Lohnarbeitern in gewerblichen Anwendungen eingesetzt werden. Die Maschine ist hauptsächlich für die Aerifizierung von großflächigen und gepflegten Grünflächen in Parkanlagen, auf Golfplätzen, Sportplätzen und öffentlichen Anlagen gedacht. Der zweckfremde Einsatz dieser Maschine kann für Sie und Unbeteiligte gefährlich sein.
Lesen Sie diese Informationen sorgfältig durch, um sich mit dem ordnungsgemäßen Einsatz und der Wartung des Geräts vertraut zu machen und Verletzungen und eine Beschädigung des Geräts zu vermeiden. Sie tragen die Verantwortung für einen ordnungsgemäßen und sicheren Einsatz des Geräts.
Besuchen Sie Toro.com, hinsichtlich Produktsicherheit und Schulungsunterlagen, Zubehörinformationen, Standort eines Händlers, oder Registrierung des Produkts.
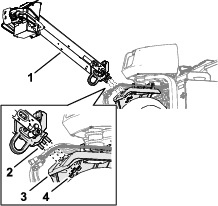
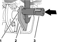
Wenden Sie sich an Ihren Vertragshändler, wenn Sie eine Serviceleistung, Toro-Originalersatzteile oder weitere Informationen benötigen. Haben Sie dafür die Modell- und Seriennummer der Maschine griffbereit. In Bild 1 ist angegeben, wo an dem Produkt die Modell- und die Seriennummer angebracht sind. Tragen Sie hier die Modell- und Seriennummern des Geräts ein.

Dieses Sicherheitswarnsymbol (Bild 2) in diesem Handbuch und an der Maschine kennzeichnet wichtige Sicherheitshinweise , die Sie beachten müssen, um Unfälle zu vermeiden.

Das Sicherheitssymbol wird oberhalb von Informationen angezeigt, die Sie vor unsicheren Handlungen oder Situationen warnen, gefolgt von dem Wort GEFAHR, WARNUNG oder VORSICHT.
GEFAHR: bezeichnet eine unmittelbar drohende Gefahr. Wenn sie nicht gemieden wird, sind Tod oder schwerste Verletzungen die Folge.
WARNUNG: bezeichnet eine möglicherweise drohende Gefahr. Wenn sie nicht gemieden wird, können Tod oder schwerste Verletzungen die Folge sein.
VORSICHT: bezeichnet eine möglicherweise drohende Gefahr. Wenn sie nicht gemieden wird, können leichte oder geringfügige Verletzungen die Folge sein.
In dieser Anleitung werden zwei weitere Begriffe zur Hervorhebung von Informationen verwendet. Wichtig weist auf spezielle mechanische Informationen hin, und Hinweis hebt allgemeine Informationen hervor, die Ihre besondere Beachtung verdienen.
Dieses Produkt erfüllt alle relevanten europäischen Richtlinien; weitere Details finden Sie in der produktspezifischen Konformitätserklärung (DOC).
Da Sie in einigen Regionen aufgrund von Gemeinde-, Landes- oder Bundesvorschriften einen Funkenfänger an der Auspuffanlage verwenden müssen, wird er als Option angeboten. Wenn Sie einen Funkenfänger benötigen, wenden Sie sich an den offiziellen Toro-Vertragshändler. Originalfunkenfänger von Toro sind von USDA Forestry Service zugelassen.
Die beiliegende Motoranleitung enthält Angaben zu den Emissionsbestimmungen der US Environmental Protection Agency (EPA) und den Kontrollvorschriften von Kalifornien zu Emissionsanlagen, der Wartung und Garantie. Sie können einen Ersatz beim Motorhersteller anfordern.
Wenn diese Maschine mit einem Telematikgerät ausgestattet ist, wenden Sie sich an Ihren Toro Vertragshändler, um Anweisungen zur Aktivierung des Geräts zu erhalten.
KALIFORNIEN
Warnung zu Proposition 65
Die Motorauspuffgase dieses Produkts enthalten Chemikalien wirken laut den Behörden des Staates Kalifornien krebserregend, verursaschen Geburtsschäden oder andere Defekte des Reproduktionssystems.
Batteriepole, -klemmen und -zubehör enthalten Blei und Bleibestandteile. Dies sind Chemikalien, die laut den Behörden des Staates Kalifornien krebserregend sind und zu Erbschäden führen können. Waschen Sie sich nach dem Umgang mit diesen Materialien die Hände.
Bei Verwendung dieses Produkts sind Sie ggf. Chemikalien ausgesetzt, die laut den Behörden des Staates Kalifornien krebserregend wirken, Geburtsschäden oder andere Defekte des Reproduktionssystems verursachen.
Dieses Produkt kann Verletzungen verursachen. Befolgen Sie zum Vermeiden von schweren Verletzungen immer alle Sicherheitshinweise.
Lesen und verstehen Sie vor dem Anlassen des Motors den Inhalt dieser Bedienungsanleitung.
Konzentrieren Sie sich immer bei der Verwendung des Fahrzeugs. Tun Sie nichts, was Sie ablenken könnte, sonst können Verletzungen oder Sachschäden auftreten.
Halten Sie Hände und Füße von beweglichen Teilen fern.
Bedienen Sie die Maschine niemals, wenn nicht alle Schutzvorrichtungen und Abdeckungen angebracht und funktionstüchtig sind.
Halten Sie Unbeteiligte in einem sicheren Abstand zur Maschine, wenn sie bewegt wird.
Halten Sie sich von der Öffnung um die Tines herum fern. Halten Sie Unbeteiligte und Haustiere während des Betriebs von der Maschine fern.
Halten Sie Kinder aus dem Arbeitsbereich fern. Die Maschine darf niemals von Kindern betrieben werden.
Parken Sie die Maschine auf einer ebenen Fläche, heben und arretieren Sie den Führungsholm, um die Feststellbremse zu aktivieren, stellen Sie den Motor ab, ziehen Sie den Schlüssel ab und warten Sie, bis alle beweglichen Teile zum Stillstand gekommen sind, bevor Sie Wartungsarbeiten an der Maschine durchführen, Kraftstoff nachtanken oder Verstopfungen beseitigen.
Der unsachgemäße Einsatz oder die falsche Wartung
dieser Maschine kann zu Verletzungen führen. Befolgen Sie zur
Verringerung des Verletzungsrisikos diese Sicherheitshinweise und
beachten Sie das Warnsymbol
mit der Bedeutung Achtung, Warnung oder Gefahr
– Sicherheitsrisiko. Wenn diese Hinweise nicht beachtet werden,
kann es zu schweren bis tödlichen Verletzungen kommen.
![]() |
Die Sicherheits- und Bedienungsaufkleber sind für den Bediener gut sichtbar und befinden sich in der Nähe der möglichen Gefahrenbereiche. Tauschen Sie beschädigte oder verloren gegangene Aufkleber aus. |
















Note: An der Vorderseite der Maschine befindet sich der Bedienerhebel, dies ist die normale Bedienerposition. Links und rechts sind im Verhältnis zur Fahrrichtung, wenn Sie mit der Maschine hinter Ihnen gehen.
Note: Um den Aerifizierkopf nach dem Auspacken der Maschine anzuheben, lösen Sie den Aerifizierbügel und starten Sie den Motor; weitere Informationen finden Sie unter Anlassen des Motors und Anheben des Aerifizierkopfs .
Für diesen Arbeitsschritt erforderliche Teile:
| Räder | 2 |
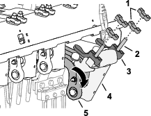
Note: Wenn möglich, verwenden Sie Hebezeug, um die Rückseite der Maschine anzuheben. Verwenden Sie die Ösen in den Lagergehäusen des Aerifizierkopfs als Anschlagpunkte für Hebezeuge (Bild 3).

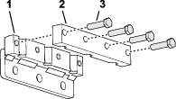
Entfernen Sie am Heck der Maschine die vier Radmuttern, mit denen das Heck der Maschine an den Halterungen der Transportpalette befestigt ist.
Montieren Sie an jeder Hinterradnabe ein Rad mit den vier Radmuttern (Bild 4).

Ziehen Sie die Radmuttern mit 61-75 N·m an.
Wiederholen Sie die Schritte 1 bis 3 an der anderen Seite der Maschine.
Pumpen Sie alle Reifen auf 0,83 bar auf.
Für diesen Arbeitsschritt erforderliche Teile:
| Griff | 1 |
| Sicherungsmutter (½") | 3 |
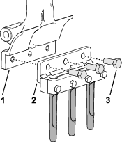
Stecken Sie die Bolzen am Ende des Lenkers in die Löcher im Lenkarm (Bild 5).
Note: Lassen Sie sich von einer anderen Person beim Halten des Lenkers helfen.

Schrauben Sie eine Sicherungsbundmutter (½") auf jeden der drei Bolzen.
Ziehen Sie die Sicherungsbundmuttern bis auf ein Drehmoment von 91 bis 113 N∙m an.
Drehen Sie den Lenker nach oben und arretieren Sie ihn mit dem Lenkerverriegelungsstift (Bild 6).

Führen Sie den Anschluss des Bremszugs unterhalb der Unterseite des Lenkerkanals (Bild 7).

Befestigen Sie den Anschluss des Bremszugs am Gabelkopfbolzen und sichern Sie ihn mit der Unterlegscheibe und dem Splint am Bolzen.
Führen Sie den 6-poligen Stecker und den 12-poligen Stecker des Maschinenkabelbaums durch die Tülle im Lenkerkanal (Bild 8).

Stecken Sie den 12-poligen Stecker des Maschinenkabelbaums in den 12-poligen Stecker des Lenkerkabelbaums (Bild 9).

Stecken Sie den 6-poligen Stecker des Maschinenkabelbaums in den 6-poligen Stecker des Lenkerkabelbaums.
Stecken Sie den Einsteckanker des Maschinenkabelbaums in das Loch im Lenkerkanal (Bild 10).

Stecken Sie den Einsteckanker des Maschinenkabelbaums in das Loch der Führungshalterung.
Befestigen Sie den Maschinenkabelbaum mit einem Kabelbinder durch die Schlitze im Lenkerkanal (Bild 11).

Befestigen Sie den Maschinenkabelbaum mit einem Kabelbinder durch die Schlitze an der Führungshalterung.
Richten Sie die kleine Kerbe in der Lenkerabdeckung mit der Kerbe nach oben aus (Bild 12).

Fluchten Sie die Löcher in der Abdeckung mit den Löchern im Lenkerkanal aus.
Befestigen Sie die Abdeckung mit den sechs Blechschrauben (¼“) am Lenker.
Für diesen Arbeitsschritt erforderliche Teile:
| Schraube (¼" x 1") | 2 |
| Bundmutter (5/16") | 2 |
Die Batterieflüssigkeit enthält Schwefelsäure, die tödlich wirken und starke chemische Verbrennungen verursachen kann.
Vermeiden Sie den Kontakt mit der Haut, mit Augen und Kleidungsstücken. Tragen Sie eine Schutzbrille, um Ihre Augen zu schützen sowie Gummihandschuhe, um Ihre Hände zu schützen.
Nehmen Sie die Batterie heraus, laden Sie sie auf und installieren Sie sie an einem Ort, an dem sauberes Wasser zum Spülen der Haut jederzeit zur Verfügung steht.
Beim Laden der Batterie werden Gase erzeugt, die explodieren können.
Rauchen Sie nie in der Nähe der Batterie und halten Sie Funken und offenes Feuer von der Batterie fern.
Batteriepole und Metallwerkzeuge können an metallischen Teilen Kurzschlüsse verursachen und Funken erzeugen. Funken können zum Explodieren der Batteriegase führen, was Verletzungen zur Folge haben kann.
Vermeiden Sie, wenn Sie eine Batterie ein- oder ausbauen, dass die Batteriepole mit metallischen Maschinenteilen in Berührung kommen.
Vermeiden Sie Kurzschlüsse zwischen metallischen Werkzeugen, den Batteriepolen und metallischen Maschinenteilen.
Das unsachgemäße Verlegen der Batteriekabel kann zu Schäden an der Maschine und den Kabeln führen und Funken erzeugen. Funken können zum Explodieren der Batteriegase führen, was Verletzungen zur Folge haben kann.
Klemmen Sie immer das Minuskabel (schwarz) ab, bevor Sie das Pluskabel (rot) abklemmen.
Klemmen Sie immer zuerst das (rote) Pluskabel an, bevor Sie das (schwarze) Minuskabel anklemmen.
Entriegeln und öffnen Sie die Klappe des Batteriefachs (Bild 13).

Nehmen Sie die Batterie aus dem Batteriefach heraus.
Verwenden Sie zum Laden der Batterie ein Ladegerät mit einer Ladekapazität von 3 bis 4 A.
Ziehen Sie, wenn die Batterie voll geladen ist, den Netzstecker des Ladegeräts und klemmen dieses von den Batteriepolen ab.
Setzen Sie die Batterie in das Batteriefach ein (Bild 14). Setzen Sie die Batterie so ein, dass die Pole nach außen gerichtet sind.

Befestigen Sie die Batterie mit der Befestigungsstange, zwei J-Stangen, zwei Flachscheiben und zwei Flügelmuttern im Batteriefach.
Schließen Sie das Pluskabel (rot) mit einer Schlossschraube und Mutter am Pluspol (+) der Batterie an.
Ziehen Sie die Gummimuffe über den Pluspol.
Schließen Sie das Minuskabel (schwarz) mit einer Schlossschraube und Mutter am Minuspol (–) der Batterie an.
Schließen und verriegeln Sie die Klappe des Batteriefachs.
Für diesen Arbeitsschritt erforderliche Teile:
| Sperrriegel | 2 |
| Gewindeschraube | 2 |
| Interne Zahnsicherungsscheibe | 2 |
Wenn Sie die Maschine für eine Verwendung in der Europäischen Union (CE) einrichten, befestigen Sie die Heckhaube wie folgt, um die CE-Vorschriften einzuhalten.
Bauen Sie die Heckhaube aus.
Befestigen Sie den Sperrriegel mit einer Blechschraube (zwei insgesamt) über die Haubenriegel (Bild 15).

Schrauben Sie eine interne Sicherungsscheibe mit einer Zange oder einem Schraubenschlüssel auf jede Schraube (ein bis zwei Gewindeumdrehungen), um die Schrauben an der Haube zu sichern.
Wiederholen Sie die Schritte 2 und 3 auf der anderen Seite der Haube.
Bauen Sie die Heckhaube ein.
Für diesen Arbeitsschritt erforderliche Teile:
| Gurt | 1 |
| Blindniete | 1 |
| Schraube (¼" x 1") | 1 |
| Sicherungsmutter (¼") | 1 |
Wenn Sie die Maschine für die Einhaltung der CE-Vorschriften einrichten, Montieren Sie das Gurtschloss der Riemenabdeckung wie folgt.
Ermitteln Sie das Loch in der Riemenabdeckung neben dem Schlitz für die Hebelklinke (Bild 16 und Bild 17).

Befestigen Sie den Gurt mit einer Blindniete im Loch in der Riemenabdeckung (Bild 17).

Schrauben Sie die Schraube in die Hebelklinke (Bild 18).

Für diesen Arbeitsschritt erforderliche Teile:
| CE-Aufkleber | 1 |
| Herstellungsjahr-Aufkleber | 1 |
Für die Maschine wird ein breites Angebot an Tines-Halter, Rasenschutzvorrichtungen und Tines angeboten. Siehe Einbau der Rasenschutzvorrichtungen, Tines-Haltern und Tines.


Verwenden Sie die Verriegelung des Lenkers (Bild 21), um den Lenker in der oberen Stellung zu arretieren und die Feststellbremse zu aktivieren.
Important: Sichern Sie den Lenker in der oberen Stellung, wenn Sie die Bedienposition verlassen.
Der Schaltbügel (Bild 21) sorgt dafür, dass Sie sich in der Bedienerposition befinden, während Sie die Maschine fahren oder den Aerifizierungskopf betreiben.
Note: Durch das Lösen des Schaltbügels wird der Motor nicht abgeschaltet.
Verwenden Sie das InfoCenter (Bild 21), um Einstellungen am Aerifizierungskopf vorzunehmen.
Wenn der Anschlagschalter ausgelöst wird (Bild 21), führt die Maschine folgende Aktionen aus:
Die Maschine fährt nicht mehr vorwärts.
Der Aerifizierkopf wird angehoben und stoppt.
Note: Durch Berühren des Anschlagschalters wird der Motor nicht abgeschaltet. Sie können die Maschine im Rückwärtsgang fahren, aber Sie müssen den Anschlagschalter zurücksetzen, um wieder vorwärts zu fahren.

Verwenden Sie den Transport-/Aerifizierungsschalter (Bild 22), um die maximale Geschwindigkeit zu kontrollieren, mit der Sie die Maschine beim Aerifizieren oder Transportieren fahren können.
Die Stellung AERATION schaltet den Aerifizierbetrieb ein und begrenzt die Fahrgeschwindigkeit auf 4,0 km/h oder langsamer.
Die Stellung TRANSPORT ermöglicht es, die Maschine mit voller Geschwindigkeit oder langsamer zwischen den Einsatzorten zu fahren.
Note: Sie können den Aerifizierbetrieb nicht starten, wenn der Transport-/Aerifizierungsschalter in der Stellung TRANSPORT steht.
Benutzen Sie den linken oder rechten Fahrantriebshebel (Bild 22), um die Maschine vorwärts oder rückwärts zu fahren.
Verwenden Sie den Geschwindigkeitssperrschalter (Bild 22), um die Fahrgeschwindigkeit beizubehalten, mit der Sie die Maschine fahren; ähnlich wie bei einem Tempomat in einem Auto.
Die Stellung ENGAGE sperrt die aktuelle Fahrgeschwindigkeit, mit der die Maschine fährt.
In der Stellung ON wird die Fahrgeschwindigkeitssperre aktiviert.
Die Stellung OFF schaltet die Fahrgeschwindigkeitssperre aus.
Verwenden Sie den Schalter für die Fahrgeschwindigkeitssperre (Bild 22), um die Fahrgeschwindigkeit bei der Abstandsrate der Aerifizierungslöcher zu halten.
Die ON-Stellung aktiviert und kuppelt die Fahrgeschwindigkeitssperre ein, um die Fahrgeschwindigkeit auf dem Lochabstand zu halten, wenn Sie den Aerifizierbügel am Ende eines Aerifizierungsdurchgangs loslassen.
Die OFF-Stellung schaltet die Fahrgeschwindigkeitssperre aus - die Maschine fährt nicht mehr vorwärts, wenn Sie den Aerifizierbügel loslassen.

Verwenden Sie den Aerifizierbügel (Bild 23), um den Aerifizierkopf abzusenken und anzuheben.
Mit dem Absenkschalter (Bild 23) können Sie die Art und Weise ändern, wie sich der Aerifizierkopf beim Aerifizieren absenkt. Sie können zwischen folgenden Modi wählen:
Sofortiges Absenkens
Verzögertes Absenken

Verwenden Sie den Gasbedienungshebel (Bild 24), um die Motordrehzahl zu steuern:
Wenn Sie den Gasbedienungshebel nach vorne bewegen, erhöht sich die Motordrehzahl - in Richtung der SCHNELL-Stellung.
Wenn Sie den Gasbedienungshebel nach hinten bewegen, verringert sich die Motordrehzahl - in Richtung der LANGSAM-Stellung.
Note: Die Motordrehzahl steuert auch die Geschwindigkeit des Aerifizierkopf.
Verwenden Sie den Choke, wenn Sie einen kalten Motor anlassen (Bild 24).
Mit der Zündung lassen Sie den Motor an und stellen ihn ab (Bild 24). Der Schalter hat 3 Positionen:
START—Drehen Sie den Zündschlüssel nach rechts in die START-Stellung, um den Anlasser zu aktivieren.
BETRIEB—Lassen Sie den Schlüssel los, wenn der Motor anspringt. Der Schlüssel geht automatisch in die EIN-Stellung.
AUS—Drehen Sie den Schlüssel gegen den Uhrzeigersinn in die Stellung AUS, um den Motor abzuschalten.
Verwenden einem Drehzahlmesser, um die Motordrehzahl abzulesen (Bild 24).
Verwenden Sie den Kraftstoffhahn, um den Kraftstoff vom Kraftstofftank zu kontrollieren (Bild 25).

Das InfoCenter-Display (Bild 26) zeigt Informationen über Ihre Maschine an, zum Beispiel Betriebszustand, unterschiedliche Diagnose- und andere Maschineninformationen.

Note: Der Zweck jeder Taste hängt von den aktuellen Erfordernissen ab. Jede Taste ist mit einem Symbol beschriftet, das die aktuelle Funktion anzeigt.
Verwenden Sie die Navigationstasten, um zwischen mehreren Bildschirmen und Menüoptionen zu navigieren:
Begrüßungsbildschirm: zeigt die aktuellen Maschineninformationen einige Sekunden lang an, nachdem Sie den Schlüssel in die Position ON (EIN) gebracht haben.
Hauptmenü: siehe Verwendung der Menüs.
|
SERVICE DUE |
Gibt an, dass geplante Wartungsarbeiten fällig sind. |
|
|
Transportbetrieb |
|
|
Lochtiefe |
|
|
Lochabstand |
|
|
Tinesdurchmesser |
|
|
Tines pro Halter |
|
|
Batterie |
|
|
Betriebsstundenzähler |
|
|
Aktiv/OK |
|
|
Inaktiv |
|
|
Weiter |
|
|
Taste Vorheriger Bildschirm“ |
|
|
Menü |
|
|
Wert erhöhen/verringern |
|
|
Nach oben/unten blättern |
|
|
Nach links/rechts blättern |
|
|
Zum Menü zurückkehren |
|
|
|
Um auf das Hauptmenü zuzugreifen, drücken Sie die Taste Zurück/Exit, während Sie sich auf einem der Informationsbildschirme befinden.
In den folgenden Tabellen finden Sie eine Beschreibung der in den Menüs verfügbaren Optionen.
|
Menüelement |
Beschreibung |
|---|---|
|
FAULT [Fehler] |
Enthält eine Liste der letzten Maschinendefekte. Weitere Informationen zum Fehlermenü finden Sie in der Wartungsanleitung oder bei Ihrem autorisierten Toro-Vertragshändler. |
|
SERVICE [Wartung] |
Enthält Informationen zur Maschine, u. a. Betriebsstundenzähler und ähnliche Angaben. |
|
DIAGNOSTICS [Diagnosen] |
Listet verschiedene Zustände auf, welche die Maschine momentan aufweist. Diese Angaben sind bei der Problembehebung nützlich, da Sie sofort sehen, welche Bedienelemente der Maschine ein- oder ausgeschaltet sind. |
|
SETTINGS [Einstellungen] |
Ermöglicht die Eingabe der PIN oder die Anpassung der InfoCenter-Anzeige. |
|
MACHINE SETTINGS[Maschineneinstellungen] |
Ermöglicht die Änderung der Betriebseigenschaften und der Konfiguration der Maschine. |
|
ABOUT [Info] |
Listet die Modellnummer, Seriennummer und Softwareversion der Maschine auf. |
|
Menüelement |
Beschreibung |
|---|---|
|
STATISTICS [Statistik] |
Listet Zähler für Maschinenlaufdaten und Betriebsdaten auf, wie z. B. Motorbetriebsdauer, Aerifizierungsfläche/-volumen/-zeit, Aerifizierungsstrecke. |
|
HOURS [Stunden] |
Zeigt die Gesamtbetriebsstunden der Maschine, des Motors und der Zapfwelle an, sowie die Transportstunden der Maschine und fälligen Kundendienst. |
|
COUNTS [Zähler] |
Zeigt die verschiedenen Zähler der Maschine an, die Ereignisse erfassen. |
|
SERVICE LIFT [Anheben in Wartungsstellung] |
Anheben in Wartungsstellung aktivieren oder deaktivieren. |
|
SERVICE LOWER [Absenken aus Wartungsstellung] |
Absenken aus Wartungsstellung aktivieren oder deaktivieren. |
|
3WD |
Aktivieren des automatischen 3WD oder des immer eingeschalteten 3WD. |
|
GROUND HEIGHT |
Zeigt an, ob die Sensorkalibrierungen gültig sind, startet den Kalibrierungsvorgang und listet den elektrischen Wert des Sensors auf. |
|
TRACTION PUMP |
Zeigt an, ob die Sensorkalibrierungen gültig sind, startet den Kalibrierungsvorgang und listet den elektrischen Wert des Sensors auf. |
|
TRACTION INPUT |
Zeigt an, ob die Sensorkalibrierungen gültig sind, startet den Kalibrierungsvorgang und listet den elektrischen Wert des Sensors auf. |
|
HEIGHT SENSOR |
Zeigt an, ob die Sensorkalibrierungen gültig sind, startet den Kalibrierungsvorgang und listet den elektrischen Wert des Sensors auf. |
|
|
|
|
Menüelement |
Beschreibung |
|---|---|
|
ENTER PIN [PIN eingeben] |
Ermöglicht einer berechtigten Person mit dem PIN-Code auf die geschützten Menüs zuzugreifen. |
|
HINTERGRUNDBELEUCHTUNG |
Steuert die Helligkeit des LCD-Displays |
|
LANGUAGE [Sprache] |
Steuert die auf dem InfoCenter verwendete Sprache |
|
UNITS [Maßeinheiten] |
Stellt die auf dem InfoCenter verwendeten Maßeinheiten ein (imperial oder metrisch) |
|
EDIT PIN |
Ermöglicht einer berechtigten Person mit dem PIN-Code, den PIN-Code zu ändern |
|
PROTECT SETTINGS |
Aktiviert oder deaktiviert die Anforderung der PIN-Code-Eingabe für den Zugriff auf geschützte Einstellungen |
|
RESET DEFAULTS |
Setzt alle Einstellungen auf die Standardeinstellungen zurück |
|
|
|
|
Menüelement |
Beschreibung |
|
MAX. TRANSPORT [Max. Fahrgeschwindigkeit ] |
Ermöglicht die Änderung der maximalen Fahrgeschwindigkeit – Standardwert = 6,4 km/h |
|
MANUAL AERATION |
Aktiviert oder deaktiviert die manuelle Aerifizierung |
|
|
|
|
Menüelement |
Beschreibung |
|---|---|
|
Model |
Listet die Modellnummer der Maschine auf |
|
SN |
Listet die Seriennummer der Maschine auf |
|
S/W Revision |
Listet die Softwarerevision des Hauptsteuergeräts auf |
|
CAN Statistics |
Listet den Status des Maschinenkommunikationsbusses auf |
|
InfoCenter Revision |
Listet die Softwarerevision der InfoCenter-Anzeige |
|
|
|
|
Menüelement |
Beschreibung |
|---|---|
|
Traction [Antrieb] |
Weitere Informationen zu den Menüpunkten im Diagnose-Menü finden Sie in der Wartungsanleitung oder bei Ihrem autorisierten Toro-Händler. |
|
Aeration [Aerifizierung] |
|
|
Engine [Motor] |
Geschützte Menüs werden standardmäßig nicht angezeigt. Diese Einstellungen werden durch Eingabe des PIN-Codes freigeschaltet.
Note: Der werkseitige Standard-PIN-Code für Ihre Maschine lautet entweder 0000 oder 1234. Zum Zeitpunkt der Auslieferung hat Ihr Händler den PIN-Code möglicherweise geändert.Wenn Sie den PIN-Code geändert und vergessen haben, wenden Sie sich an den offiziellen Toro-Vertragshändler.
Blättern Sie vom HAUPTMENü zum Menü EINSTELLUNGEN und drücken Sie die Auswahltaste (Bild 27).

In EINSTELLUNGEN bis zu PIN EINGEBEN blättern und die Auswahltaste drücken (Bild 28A).

Drücken Sie für die Eingabe des PIN-Codes die Navigationstasten nach oben“ / nach unten“, bis die korrekte erste Ziffer angezeigt wird. Drücken Sie dann die Navigationstaste nach rechts“, um auf die nächste Ziffer zu gehen (Bild 28B und Bild 28C). Wiederholen Sie diesen Schritt, bis die letzte Ziffer eingegeben ist.
Drücken Sie die Auswahltaste (Bild 28D).
Note: Wenn das Display den PIN-Code akzeptiert und die geschützten
Menüs entsperrt sind, wird in der oberen rechten Ecke des Bildschirms
angezeigt.
Um die geschützten Menüs auszublenden, drehen Sie das Zündschloss in die AUS-Stellung und dann in die EIN-Stellung.
Öffnen Sie nach Eingabe des PIN-Codes das Menü EINSTELLUNGEN, und blättern Sie nach unten zu EINSTELLUNGEN SCHüTZEN .
Damit die geschützten Menüs ohne Eingabe
eines PIN-Codes angezeigt werden können, ändern Sie mit
der Auswahltaste die EINSTELLUNGEN SCHüTZEN auf
(Aus).
Um den PIN-Code für die Anzeige der geschützten
Menüs anzufordern, verwenden Sie die Auswahltaste, um die EINSTELLUNGEN SCHüTZEN auf
(Ein) zu ändern, stellen
Sie den PIN-Code ein und drehen Sie dann den Zündschlüssel
in die Stellung AUS und anschließend
wieder auf EIN.

Rot blinkend – aktiver Fehler
Leuchtet rot – aktive Empfehlung
Leuchtet blau – Kalibrierungs-/Dialogmeldungen
Leuchtet grün – normaler Betrieb
Note: Technische und konstruktive Änderungen vorbehalten.
| Breite | 127 cm |
| Radstand | 113 cm |
| Spurbreite | 97 cm |
| Aerifizierbreite | 122 cm |
| Länge | 295 cm |
| Kopfhöhe (angehoben) | 114 cm |
| Kopfhöhe (abgesenkt) | 93 cm |
| Höhe, Griff | 154,2 cm |
| Bodenfreiheit | 12 cm |
| Vorwärtsfahrgeschwindigkeit | 0 bis 7,2 km/h |
| Rückwärtsfahrgeschwindigkeit | 0 bis 4 km/h |
| Nettogewicht | 745 kg |
Ein Sortiment an Originalanbaugeräten und -zubehör von Toro wird für dieses Fahrzeug angeboten, um den Funktionsumfang des Geräts zu erhöhen und zu erweitern. Wenden Sie sich an Ihren offiziellen Toro-Vertragshändler oder navigieren Sie auf www.Toro.com für eine Liste der zugelassenen Anbaugeräte und des Zubehörs.
Um eine optimale Leistung zu gewährleisten, verwenden Sie nur Original Ersatzteile und Zubehör von Toro. Ersatzteile und Zubehör anderer Hersteller können gefährlich sein und eine Verwendung könnte die Garantie ungültig machen.
Konsultieren Sie untenstehende Konfigurationstabelle für Tines-Aufnahme, Rasenschutzvorrichtung und Tines-Informationen:
| Beschreibung der Tines-Aufnahme | Abstand der Tines-Aufnahmen | Schaftgröße | Anzahl der Tines | Ausführung der Rasenschutzvorrichtung (Menge) |
|---|---|---|---|---|
| 2x5 Mini-Tines-Aufnahme | 41 mm | 9,5 mm | 60 | 5-Tines—kurz (2) |
| 5-Tines—lang (1) | ||||
| 1x6 Mini-Tines-Aufnahme | 32 mm | 9,5 mm | 36 | 6-Tines—kurz (2) |
| 6-Tines—lang (1) | ||||
| 3 Tines-Aufnahme (⅞") | 66 mm | 22,2 mm | 18 | 3-Tines—kurz (2) |
| 3-Tines—lang (1) | ||||
| 3 Tines-Aufnahme (¾") | 66 mm | 19,5 mm | 18 | 3-Tines—kurz (2) |
| 3-Tines—lang (1) | ||||
| 4 Tines-Aufnahme (¾") | 51 mm | 19,5 mm | 24 | 4-Tines—kurz (2) |
| 4-Tines—lang (1) | ||||
| 5 Nadeltines-Aufnahme | 41 mm | — | 30 | 5-Tines—kurz (2) |
| 5-Tines—lang (1) |
Note: Bestimmen Sie die linke und rechte Seite der Maschine anhand der normalen Sitz- und Bedienposition.
Kinder oder nicht geschulte Personen dürfen die Maschine weder verwenden noch warten. Örtliche Vorschriften bestimmen u. U. das Mindestalter von Benutzern. Der Besitzer ist für die Schulung aller Bediener und Mechaniker verantwortlich.
Machen Sie sich mit dem sicheren Betrieb der Maschine sowie den Bedienelementen und Sicherheitssymbolen vertraut.
Sie müssen wissen, wie Sie die Maschine schnell anhalten und den Motor abstellen können.
Überprüfen Sie die Maschine vor jedem Einsatz, um sicherzustellen, dass die Tines funktionsfähig sind. Tauschen Sie abgenutzte oder beschädigte Tines aus.
Prüfen Sie den geplanten Einsatzbereich und entfernen Sie alle Objekte, die die Maschine berühren könnte.
Ermitteln und markieren Sie alle Strom- oder Kommunikationsleitungen, Teile der Beregnungsanlage und andere Hindernisse im Bereich, den Sie aerifizieren. Entfernen Sie die Gefahren (falls möglich) oder planen Sie deren Vermeidung.
Parken Sie die Maschine auf einer ebenen Fläche, heben und arretieren Sie den Führungsholm, um die Feststellbremse zu aktivieren, stellen Sie den Motor ab, ziehen Sie den Schlüssel ab und warten Sie, bis alle beweglichen Teile zum Stillstand gekommen sind.
Prüfen Sie, ob alle elektronischen Sicherheiten, Sicherheitsschalter und Schutzbleche montiert und funktionsfähig sind. Nehmen Sie die Maschine nur in Betrieb, wenn sie richtig funktioniert.
Seien Sie besonders vorsichtig beim Umgang mit Kraftstoff. Kraftstoff ist brennbar und die Dämpfe sind explosiv.
Machen Sie alle Zigaretten, Zigarren, Pfeifen und andere Zündquellen aus.
Verwenden Sie nur einen vorschriftsmäßigen Benzinkanister.
Entfernen Sie nie den Tankdeckel oder füllen den Kraftstofftank, wenn der Motor läuft oder heiß ist.
Füllen Sie Kraftstoff nicht in einem geschlossenen Raum auf oder lassen ihn ab.
Lagern Sie die Maschine oder den Benzinkanister nie an Orten mit offener Flamme, Funken oder Zündflamme, z. B. Warmwasserbereiter, oder anderen Geräten.
Versuchen Sie niemals, bei Kraftstoffverschüttungen den Motor anzulassen. Vermeiden Sie Zündquellen, bis die Verschüttung verdunstet ist.
| Typ | Bleifreies Benzin |
| Minimale Oktanzahl | 87 (US) oder 91 (Oktanzahl ermitteln; außerhalb der USA) |
| Ethanol | Nicht über 10 % Volumenprozent |
| Methanol | Keine |
| MTBE (Methyl-tertiär-Butylether) | Weniger als 15 % Volumenprozent |
| Öl | Vermischen Sie nie Kraftstoff mit Öl |
Verwenden Sie nur sauberen, frischen Kraftstoff (höchstens 30 Tage alt) von einem namhaften Hersteller/Quelle.
Important: Geben Sie die Menge des Kraftstoffstabilisators bzw. -konditionierers in den frischen Kraftstoff, wie vom Hersteller des Kraftstoffstabilisators vorgeschrieben, um Startprobleme zu vermeiden.
Kraftstofftank-Fassungsvermögen: 26,5 Liter.
Parken Sie die Maschine auf einer ebenen Fläche, heben und arretieren Sie den Führungsholm, um die Feststellbremse zu aktivieren, stellen Sie den Motor ab, ziehen Sie den Schlüssel ab und warten Sie, bis alle beweglichen Teile zum Stillstand gekommen sind.
Reinigen Sie den Bereich um den Tankdeckel und nehmen Sie den Deckel ab (Bild 30).

Füllen Sie Kraftstoff in den Tank, bis der Füllstand 6 mm bis 13 mm unterhalb der Unterkante am Füllstutzen liegt.
Important: In diesem Bereich des Tanks kann sich der Kraftstoff ausdehnen. Füllen Sie den Kraftstofftank nicht ganz auf.
Bringen Sie den Tankdeckel sicher an.
Wischen Sie verschütteten Kraftstoff auf.
Führen Sie täglich vor dem Start der Maschine die folgende Prüfroutine gemäß durch:
| Wartungsintervall | Wartungsmaßnahmen |
|---|---|
| Bei jeder Verwendung oder täglich |
|
Wenn die Sicherheitsschalter abgeklemmt oder beschädigt sind, setzt sich die Maschine möglicherweise von alleine in Bewegung, was Verletzungen verursachen kann.
An den Sicherheitsschaltern dürfen keine Veränderungen vorgenommen werden.
Prüfen Sie die Funktion der Sicherheitsschalter täglich und tauschen Sie alle defekten Sicherheitsschalter vor dem Verwenden der Maschine aus.
Die Sicherheitsschalter verhindern das Starten des Motors, wenn der Antriebsbügel nicht in der NEUTRAL-Stellung ist.
Der Sicherheitsschalter verhindert, dass der Motor startet, solange der Schaltbügel nicht vollständig betätigt ist.
Die Sicherheitsschalter verhindern das Starten des Motors, wenn der Aerifizierkopf nicht vollständig ausgekuppelt ist.
Der Sicherheitsschalter hebt den Aerifizierkopf an und schaltet ihn ab, wenn Sie die Maschine beim Aerifizieren rückwärts fahren oder den Anschlagschalter berühren.
Important: Wenn das Sicherheitsverriegelungssystem nicht wie beschrieben funktioniert, lassen Sie es sofort von einem autorisierten Toro-Händler reparieren.
Wenn der Aerifizierkopf abgesenkt ist, führen Sie die folgenden Schritte durch. Wenn der Aerifizierkopf angehoben ist, fahren Sie mit Prüfen des Anlasser-Sicherheitsschalters fort.
Starten Sie den Motor und stellen Sie die Motordrehzahl auf die SLOW-Stellung, siehe Anlassen des Motors.
Senken Sie den Lenker ab (Bild 31).

Drücken Sie eine beliebige Taste auf dem InfoCenter
Note: Der Aerifizierungskopf hebt sich.
Stellen Sie den Motor ab, siehe Abstellen des Motors.
Wenn der Motor läuft, stellen Sie ihn ab.
Halten Sie einen der beiden Schaltbügel am Lenker und drehen Sie den Fahrantriebshebel (Bild 32) nach vorne oder nach hinten, und lassen Sie den Motor an.
Important: Der Motor darf nicht starten.

Lassen Sie den Schaltbügel los, stellen Sie den Fahrantriebshebel in die NEUTRAL-Stellung und starten Sie den Motor.
Halten Sie einen der beiden Schaltbügel am Lenker fest und drehen Sie den oberen Teil des Fahrantriebshebels nach vorne (Bild 33).
Note: Die Maschine fährt vorwärts.

Halten Sie die Fahrantriebshebel und lassen Sie den Schaltbügel los (Bild 34).
Important: Die Maschine muss stoppen und darf nicht mehr weiterfahren.

Halten Sie einen der beiden Schaltbügel am Lenker fest und drehen Sie den oberen Teil des Fahrantriebshebels nach vorne (Bild 35).
Note: Die Maschine fährt vorwärts.

Halten Sie den Schaltbügel und den Fahrantriebshebel betätigt und betätigen Sie den Anschlagschalter (Bild 36).
Important: Die Maschine muss stoppen und darf nicht mehr weiterfahren.
Note: Der Motor läuft weiter.

Anschlagschalter zurücksetzen, siehe Zurücksetzen des Anschlagschalters.
Führen Sie einen der folgenden Schritte aus:
Stellen Sie die Maschine auf eine Rasenfläche, auf der Sie aerifizieren können, ohne die Tines oder die Fläche zu beschädigen.
Entfernen Sie die Tines.
Halten Sie einen der beiden Schaltbügel gegen den Lenker, drehen Sie den oberen Teil des Fahrantriebshebels nach vorne und schließen Sie den Aerifizierbügel (Bild 37).
Note: Die Maschine fährt vorwärts, der Aerifizierkopf läuft und senkt sich ab.

Halten Sie den Schaltbügel und den Aerifizierbügel fest und drehen Sie den oberen Teil des Fahrantriebshebels nach hinten (Bild 38).
Important: Der Aerifizierkopf muss angehoben werden und stoppen.
Note: Der Motor läuft weiter.

Stellen Sie den Fahrantriebshebel in die NEUTRAL-Stellung.
Wenn Sie die Tines entfernt haben, montieren Sie sie diese und kalibrieren Sie die Bodenhöhe der Tines, siehe Einbau der Tines am Aerifizierkopf und Kalibrierung der Bodenhöhe der Tines.
Important: Sie müssen die Bodenhöhe der Tines jedes Mal kalibrieren, wenn Sie von längeren zu kürzeren Tines oder von kürzeren zu längeren Tines wechseln.
Für die Maschine wird ein breites Angebot an Tines-Halter, Rasenschutzvorrichtungen und Tines angeboten. Wählen Sie die gewünschten Komponenten in der Anbaugeräte- und Zubehörtabelle aus.
Heben Sie den Aerifizierkopf an und arretieren Sie ihn in dieser Stellung mit dem Wartungsriegel, siehe Stützen des Aerifizierkopfs mit dem Wartungsriegel..
Parken Sie die Maschine auf einer ebenen Fläche, heben und arretieren Sie den Führungsholm, um die Feststellbremse zu aktivieren, stellen Sie den Motor ab, ziehen Sie den Schlüssel ab und warten Sie, bis alle beweglichen Teile zum Stillstand gekommen sind.
Note: Werkseitig werden Rasenschutzklammern, Unterlegscheiben und Sicherungsbundmuttern geliefert, die an den Rasenschutzhalterungen befestigt sind (Bild 39).
Montieren Sie die Rasenschutzvorrichtungen mit vier Rasenschutzklammern und 12 Sicherungsbundmuttern (⅜") und 12 Unterlegscheiben (7/16“ x 13/16“) lose an den Rasenschutzhalterungen.
Note: Ziehen Sie die Sicherungsbundmuttern noch nicht fest.

Befestigen Sie Tines-Klemme mit vier Schrauben (⅜“ x 1½“) lose an jedem Tines-Halter (Bild 40). Ziehen Sie die Schrauben nicht fest.
Note: Die Schrauben liegen dem Tines-Halter bei.

Montieren Sie die Tines in den Tines-Halter und die Tines-Klemme (Bild 41).

Ziehen Sie die Schrauben (⅜" x 1½"), mit denen die Tines-Klemmen und Tines befestigt sind, auf ein Drehmoment von 40,6 N∙m an.
Wiederholen Sie die Schritte 1 bis 3 für die anderen Tines-Klemmen, Tines-Halter und Tines.
Befestigen Sie den Tines-Halter und die Tines mit drei Schrauben (½" x 1¼") lose am Tines-Arm Nr. 2 (Bild 42 und Bild 43).


Ziehen Sie die Schrauben (½" x 1¼") mit einem Drehmoment von 102 N∙m an.
Wiederholen Sie die Schritte 1 und 2 für den Tines-Arm Nr. 5.
Prüfen Sie, ob die Schlitze der Rasenschutzvorrichtungen mittig zu den Tines ausgerichtet sind (Bild 44).
Note: Stellen Sie die Rasenschutzvorrichtungen bei Bedarf ein.

Ziehen Sie die Bundsicherungsmuttern (⅜") an, mit denen die drei Rasenschutzklammern und die drei Rasenschutzvorrichtungen an den drei Rasenschutzhalterungen befestigt sind.
Montieren Sie den verbleibenden Tines-Halter und die Tines mit 12 Schrauben (½" x 1¼") an den Tines-Haltern Nr. 1, 3, 4 und 6.
Ziehen Sie die Schrauben (½" x 1¼") mit einem Drehmoment von 102 N∙m an.
Kalibrieren Sie die Maschine auf die Höhe der Tines über dem Boden, siehe Ausführen der Anwendung Teach Ground Height [Bodenhöhe einlernen].
Drehen Sie den Zündschlüssel in die RUN-Stellung.
Wenn die Pfeile auf dem Bildschirm TRANSPORTBETRIEB oder dem Bildschirm AERIFIZIERUNGSBETRIEB nicht angezeigt werden, geben Sie den PIN-Code ein, um auf geschützte Menüs zuzugreifen; siehe Zugreifen auf die geschützten Menüs.
Note: Der Bildschirm für den TRANSPORTBETRIEB oder der Bildschirm für den AERIFIZIERBETRIEB wird angezeigt (Bild 45).

Drücken Sie die Taste nach rechts“ zweimal, um den Bildschirm Kalibrierung der Tines-Höhe über dem Boden“ anzuzeigen (Bild 46).
Note: Drücken Sie die Taste nach links“, um den Bildschirm TRANSPORTBETRIEB oder AERIFIZIERUNGSBETRIEB anzuzeigen.

Drücken Sie die Taste nach rechts“, um den Bildschirm Einstellen der Lochtiefe“ anzuzeigen (Bild 47).
Note: Drücken Sie die Taste nach links“, um den Bildschirm Bodenhöhe einlernen“ anzuzeigen.

Drücken Sie die Taste nach rechts“, um den Bildschirm Einstellen des Lochabstands“ anzuzeigen (Bild 48).
Note: Drücken Sie die Taste nach links“, um den Bildschirm Einstellen der Lochtiefe“ anzuzeigen.

Drücken Sie die Taste nach rechts“, um den Bildschirm Einstellen des Tines-Durchmessers“ anzuzeigen (Bild 48).
Note: Drücken Sie die Taste nach links“, um den Bildschirm Einstellen des Lochabstands“ anzuzeigen.

Drücken Sie die Taste nach rechts“, um den Bildschirm "Einstellen der Anzahl der Tines“ anzuzeigen (Bild 50).
Note: Drücken Sie die Taste nach links“, um den Bildschirm Einstellen des Tines-Durchmessers“ anzuzeigen.

Note: Der ProCore 648s wurde entwickelt, um bei einer Tiefe von 7,6 cm eine optimale Aerifizierleistung für eine Vielzahl von Gras- und Bodentypen, agronomischen Bedingungen und Tinestypen zu erzielen. Bei flacheren Einstellungen, insbesondere bei Tiefen von weniger als 5 cm mit kleineren Tines, kann es zu größeren Oberflächenstörungen kommen.
Stellen Sie sicher, dass der Aerifizierungskopf angehoben ist, siehe Anheben des Aerifizierkopfs.
Drehen Sie den Zündschlüssel in die RUN-Stellung.

Drücken Sie die Taste nach rechts“, bis der Bildschirm Einstellen der Lochtiefe“ angezeigt wird (Bild 51 und Bild 52).
Stellen Sie die Tinestiefe mit den Tasten nach oben“ und nach unten“ (Bild 52) wie folgt ein:
Drücken Sie die Taste nach unten“, um die Lochtiefe zu verringern.
Drücken Sie die Taste nach oben“, um die Lochtiefe zu erhöhen.

Drücken Sie die Taste nach links“ oder nach rechts“, um Ihre Einstellung zu speichern und den Bildschirm für die Tiefeneinstellung zu verlassen.
Drehen Sie den Zündschlüssel auf die AUS-Stellung.
Note: Wird nach der Kalibrierung der Bodenhöhe mit der maximal zulässigen Tiefe (mit einer beliebigen Tineslänge) aerifiziert und die Schrauben der Rasenschutzvorrichtung schleifen oder den Rasen berühren, reduzieren Sie die Tiefe um eine Stufe (6,3 mm).
Note: Wenn Sie einen Sollwert für den Lochabstand auswählen, steuert die Maschine die Fahrgeschwindigkeit, um den Lochabstand einzuhalten.
Stellen Sie sicher, dass der Aerifizierungskopf angehoben ist, siehe Anheben des Aerifizierkopfs.
Drehen Sie den Zündschlüssel in die RUN-Stellung.

Drücken Sie die Taste nach rechts“, bis der Bildschirm Einstellen des Lochabstands“ angezeigt wird (Bild 53 und Bild 54).
Stellen Sie den Lochabstand (Bild 54) wie folgt ein:
Drücken Sie die Taste nach unten“, um den Lochabstand zu verringern.
Drücken Sie die Taste nach oben“, um den Lochabstand zu erhöhen.

Drücken Sie die Taste nach links“ oder nach rechts“, um Ihre Einstellung zu speichern und den Bildschirm für die Abstandseinstellung zu verlassen.
Drehen Sie den Zündschlüssel auf die AUS-Stellung.
Stellen Sie sicher, dass der Aerifizierungskopf angehoben ist, siehe Anheben des Aerifizierkopfs.
Drehen Sie den Zündschlüssel in die RUN-Stellung.

Drücken Sie die Taste nach rechts“, bis der Bildschirm Einstellen des Tines-Durchmessers“ angezeigt wird (Bild 55 und Bild 56).
Stellen Sie den Tinesdurchmesser mit den Tasten nach oben“ und nach unten“ (Bild 56) wie folgt ein:
Drücken Sie die Taste nach oben“, um den Tines-Durchmesser zu vergrößern.
Drücken Sie die Taste nach unten“, um den Tines-Durchmesser zu verringern.

Drücken Sie die Taste nach links“ oder nach rechts“, um Ihre Einstellung zu speichern und den Bildschirm für die Durchmessereinstellung zu verlassen.
Drehen Sie den Zündschlüssel auf die AUS-Stellung.
Stellen Sie sicher, dass der Aerifizierungskopf angehoben ist, siehe Anheben des Aerifizierkopfs.
Drehen Sie den Zündschlüssel in die RUN-Stellung.

Drücken Sie die Taste nach rechts“, bis der Bildschirm zum Einstellen der Anzahl der Tines“ angezeigt wird (Bild 58).
Stellen Sie die Anzahl der Tines mit den Tasten nach oben“ und nach unten“ (Bild 58) wie folgt ein:
Important: Die Anzahl ist die Anzahl der Tines für einen Halter.
Drücken Sie die Taste nach oben“, um die Anzahl der Tines zu erhöhen.
Drücken Sie die Taste nach unten“, um die Anzahl der Tines zu verringern.

Drücken Sie die Taste nach links“ oder nach rechts“, um Ihre Einstellung zu speichern und den Bildschirm für die Anzahleinstellung zu verlassen.
Drehen Sie den Zündschlüssel auf die AUS-Stellung.
| Wartungsintervall | Wartungsmaßnahmen |
|---|---|
| Bei jeder Verwendung oder täglich |
|
Important: Kalibrieren Sie die Bodenhöhe der Tines jedes Mal, wenn Sie die Tines wechseln oder verschlissene Tines ersetzen.
Stellen Sie sicher, dass der Aerifizierungskopf angehoben ist.
Parken Sie die Maschine auf einer ebenen Fläche, heben und arretieren Sie den Führungsholm, um die Feststellbremse zu aktivieren, stellen Sie den Motor ab, ziehen Sie den Schlüssel ab und warten Sie, bis alle beweglichen Teile zum Stillstand gekommen sind.
Entfernen Sie die Abdeckung des Aerifizierkopfs, siehe Entfernen der Abdeckung des Aerifizierkopfs.
Drehen Sie die Riemenscheibe des Aerifizierkopfs (Bild 59), bis die äußersten Tines am nächsten zum Boden ausgerichtet sind (Bild 60).
Important: Halten Sie Ihre Finger aus dem Bereich fern, in dem der Riemen zusammenläuft und die Riemenscheibe verlässt, damit Sie Ihre Finger nicht einklemmen.


Montieren Sie die Abdeckung des Aerifizierkopfs, siehe Anbringen der Abdeckung des Aerifizierkopfs.
Drehen Sie den Zündschlüssel in die RUN-Stellung.
Note: Der Bildschirm für den TRANSPORTBETRIEB oder der Bildschirm für den AERIFIZIERBETRIEB wird angezeigt (Bild 61).

Bewegen Sie den Lenker so, dass Sie die äußersten Tines sehen können, die Sie in Vorbereiten der Maschine positioniert haben.
Drücken Sie die Taste nach rechts“, bis der Assistent BODENHöHE EINLERNEN angezeigt wird.
Drücken Sie auf dem Bildschirm Bodenhöhe einlernen“ (Bild 62) eine der mittleren Tasten.

Drücken Sie auf dem Bildschirm OK DRüCKEN, UM MIT DEM EINLERNEN ZU BEGINNEN (Bild 63) die Auswahltaste.

Note: Die Meldung KALIBRIERUNG AKTIVIERT wird angezeigt und der Aerifizierkopf senkt sich langsam ab.
Important: Bleiben Sie in der Nähe des InfoCenters.
Note: Der Aerifizierkopf senkt sich langsamer ab, wenn das Hydrauliköl kalt ist.
Wenn ein Tines den Boden berührt, drücken Sie die Auswahltaste auf dem Bildschirm Aerifizierkopf absenken“ (Bild 64).
Note: Die Tines sollten nur den Boden berühren und das Gewicht der Maschine nicht von den Reifen heben oder entlasten.Wenn der Aerifizierkopf die Maschine anhebt, kalibriert die Maschine die Bodenhöhe falsch, was zu einer ungenauen Lochtiefe und einer Verschmutzung des Aerifizierlochs führt.

Note: Die Meldung KALIBRIERUNG ABGESCHLOSSEN wird angezeigt und der Aerifizierkopf wird vollständig angehoben.
Drücken Sie die Zurück-Taste, um die Anwendung Bodenhöhe einlernen“ zu beenden.
Der Besitzer bzw. Bediener ist für Unfälle oder Verletzungen von Dritten sowie Sachschäden verantwortlich und kann diese verhindern.
Tragen Sie geeignete Kleidung, u. a. eine Schutzbrille, lange Hosen, rutschfeste Arbeitsschuhe und einen Gehörschutz. Binden Sie lange Haare hinten zusammen, tragen keine losen Kleidungsstücke und keinen losen Schmuck.
Setzen Sie die Maschine nicht ein, wenn Sie müde oder krank sind, oder unter Alkohol- oder Drogeneinfluss stehen.
Halten Sie Unbeteiligte, Kinder und Haustiere aus dem Arbeitsbereich fern. Das Fahrzeug darf niemals von Kindern betrieben werden. Lassen Sie nur Menschen die Maschine bedienen, die verantwortlich, geschult, mit den Anweisungen vertraut und physisch dazu in der Lage sind.
Lassen Sie auf der Maschine keine anderen Personen mitfahren.
Setzen Sie die Maschine nur bei guten Sichtverhältnissen ein, um Löcher sowie andere verborgene Gefahren zu vermeiden.
Berühren Sie die Tines nicht mit den Händen und Füßen.
Schauen Sie hinter sich und nach unten, um vor dem Rückwärtsfahren sicherzustellen, dass der Weg frei ist.
Halten Sie die Maschine an, stellen Sie den Motor ab, ziehen Sie den Schlüssel ab, warten Sie, bis alle beweglichen Teile zum Stillstand gekommen sind, und prüfen Sie die Tines, wenn sie ein Objekt berührt haben oder ungewöhnliche Vibrationen auftreten. Führen Sie alle erforderlichen Reparaturen durch, ehe Sie die Maschine wieder in Gebrauch nehmen.
Achten Sie immer auf den richtigen Reifendruck.
Reduzieren Sie auf unebenen Straßen und Oberflächen die Fahrgeschwindigkeit.
Hanglagen sind eine wesentliche Ursache für den Verlust der Kontrolle und Umkippunfälle, die zu schweren ggf. tödlichen Verletzungen führen können. Sie sind für den sicheren Einsatz an Hanglagen verantwortlich. Das Einsetzen der Maschine an jeder Hanglage erfordert große Vorsicht.
Evaluieren Sie das Gelände, einschließlich einer Ortsbegehung, um zu ermitteln, ob die Maschine sicher auf der Hanglage eingesetzt werden kann. Setzen Sie immer gesunden Menschenverstand ein, wenn Sie diese Ortsbegehung durchführen.
Prüfen Sie die unten aufgeführten Anweisungen für den Einsatz der Maschine auf Hanglagen und die Bedingungen und ermitteln Sie, ob die Maschine in den Bedingungen an diesem Tag und an diesem Ort eingesetzt werden kann. Veränderungen im Gelände können zu einer Veränderung in der Neigung für den Betrieb der Maschine führen.
Vermeiden Sie das Anfahren, Anhalten oder Wenden der Maschine an Hanglagen. Vermeiden Sie plötzliche Geschwindigkeits- oder Richtungsänderungen. Wenden Sie möglichst langsam und vorsichtig.
Benutzern Sie die Maschine niemals unter Bedingungen, bei der die Bodenhaftung, das Lenkverhalten oder die Stabilität des Fahrzeugs gefährdet werden.
Entfernen oder Kennzeichnen Sie Hindernisse, wie beispielsweise Gräben, Löcher, Rillen, Bodenwellen, Steine oder andere verborgene Objekte. Hohes Gras kann Hindernisse verdecken. Die Maschine könnte sich in unebenem Terrain überschlagen.
Beim Arbeiten auf nassem Gras, Überqueren von steilen Hanglagen oder beim Fahren hangabwärts kann die Maschine die Bodenhaftung verlieren. Wenn die Antriebsräder die Bodenhaftung verlieren, kann die Maschine rutschen und zu einem Verlust der Bremsleistung und Lenkung führen.
Gehen Sie beim Einsatz der Maschine in der Nähe von Abhängen, Gräben, Böschungen, Gewässern oder anderen Gefahrenstellen besonders vorsichtig vor. Die Maschine kann sich plötzlich überschlagen, wenn ein Rad über den Rand fährt oder die Böschung nachgibt. Halten Sie stets einen Sicherheitsabstand von der Maschine zur Gefahrenstelle ein.
Heben Sie den Lenker vollständig an, um die Feststellbremse zu aktivieren (Bild 65).

Achten Sie darauf, dass der Lenkerverriegelungsstift durch das Loch in der Rastplatte ragt (Bild 66).
Wenn die Feststellbremse nicht greift, kann sich die Maschine bewegen und Sie oder Unbeteiligte verletzen.
Vergewissern Sie sich, dass der Lenker vollständig angehoben ist und sicher an der Rastplatte einrastet.

Heben Sie den Lenker vollständig an und arretieren Sie ihn. Aktivieren Sie die Feststellbremse, siehe Aktivieren der Feststellbremse.
Verwenden Sie den Choke (Bild 70) folgendermaßen:
Schieben Sie den Chokehebel in die EIN-Stellung, bevor Sie einen kalten Motor anlassen.
Beim Starten eines warmen oder heißen Motors brauchen Sie den Choke nicht zu verwenden.

Stellen Sie vor dem Anlassen eines kalten Motors den Gasbedienungshebel in die SCHNELL-Stellung.
Drehen Sie den Zündschlüssel auf die START-Stellung. Lassen Sie den Schlüssel los, wenn der Motor anspringt.
Important: Lassen Sie den Anlasser niemals länger als 10 Sekunden lang ununterbrochen drehen. Wenn der Motor nicht anspringt, lassen Sie den Anlasser 30 Sekunden lang abkühlen, bevor Sie erneut versuchen, den Motor anzulassen. Das Nichtbefolgen dieser Vorschrift kann zum Durchbrennen des Anlassers führen.
Schieben Sie den Choke in die AUS-Stellung, nachdem der Motor angesprungen ist. Wenn der Motor aussetzt oder unregelmäßig läuft, stellen Sie den Choke für ein paar Sekunden wieder in die EIN-Stellung. Stellen Sie den Gasbedienungshebel dann in die gewünschte Motordrehzahl.
Note: Wiederholen Sie diesen Schritt nach Bedarf.
Kinder und Unbeteiligte können verletzt werden, wenn sie die unbeaufsichtigt zurückgelassene Maschine bewegen oder einsetzen.
Heben Sie den Lenker immer vollständig an und verriegeln Sie ihn, um die Feststellbremse zu aktivieren, stellen Sie den Motor ab und ziehen Sie den Schlüssel ab, wenn Sie die Maschine unbeaufsichtigt lassen, auch wenn es nur für ein paar Minuten ist.
Heben Sie den Lenker vollständig an und arretieren Sie ihn, um die Feststellbremse zu aktivieren, siehe Aktivieren der Feststellbremse.
Stellen Sie den Gasbedienungshebel (Bild 71) auf die LANGSAM-Stellung.

Lassen Sie den Motor 60 Sekunden lang im Leerlauf laufen.
Stellen Sie den Zündschlüssel in die AUS-Stellung und ziehen Sie ihn ab.
Wenn Sie die Maschine transportieren oder aufbewahren, schließen Sie den Kraftstoffhahn (Bild 72).
Important: Schließen Sie das Kraftstoffhahn, bevor Sie die Maschine auf einem Anhänger transportieren oder aufbewahren. Heben Sie den Lenker vollständig an und arretieren Sie ihn, um die Feststellbremse zu aktivieren, bevor Sie die Maschine transportieren. Ziehen Sie den Schlüssel aus dem Zündschloss ab, um den Betrieb der Kraftstoffpumpe und das Entladen der Batterie zu verhindern.

Important: Laufen Sie bei der Verwendung der Maschine vor die Maschine in Vorwärtsrichtung, blicken oder laufen Sie nicht nach hinten, wenn Sie die Maschine bedienen.

Wenn Sie die Geschwindigkeitssperre verwenden, können Sie die Maschine fahren, ohne den Fahrantriebshebel halten zu müssen.
Note: Sie können die Geschwindigkeitssperre nicht verwenden, wenn Sie die Maschine rückwärts fahren.
Wenn Sie die Geschwindigkeitssperre während des Aerifizierens verwenden, können Sie die Maschine am Ende eines Aerifizierdurchgangs mit der gewählten Lochabstandsgeschwindigkeit weiterfahren, die Maschine wenden und den nächsten Aerifizierdurchgang beginnen, ohne die Stellung der Fahrantriebshebel zu ändern.
Note: Die Geschwindigkeitssperre im Aerifizierbetrieb ist aktiv, wenn der Aerifizierkopf auf verzögertes Absenken eingestellt ist; bei sofortigem Absenken ist die Geschwindigkeitssperre gesperrt.
Die Fahrgeschwindigkeitssperre funktioniert wie ein Tempomat im Auto.
Schalten Sie den Transport-/Aerifizierungsschalter in die TRANSPORT -Stellung (Bild 74).

Drücken Sie den Schalter der Geschwindigkeitssperre in die ON-Stellung.
Fahren Sie Maschine mit der gewünschten Fahrgeschwindigkeit vorwärts.
Drücken Sie den Schalter der Geschwindigkeitssperre in die EINKUPPELN-Stellung.
Note: Die Fahrgeschwindigkeitssperre behält die aktuelle Fahrgeschwindigkeit der Maschine bei. Sie können den Fahrantriebshebel loslassen.
Um die Geschwindigkeitssperre aufzuheben, führen Sie einen der folgenden Schritte aus:
Drücken Sie den Schalter der Geschwindigkeitssperre in die OFF-Stellung.
Drehen Sie den oberen Teil der Fahrantriebshebel nach hinten, um die Maschine rückwärts zu fahren.
Lassen Sie den Schaltbügel los.
Drücken Sie den Anschlagschalter.
Note: Die Fahrgeschwindigkeitssperre ist beim Aerifizieren mit sofortigem Absenken nicht verfügbar.
Drücken Sie den Transport-/Aerifizierungsschalter in die AERIFIZIEREN-Stellung (Bild 75).

Drücken Sie den Schalter der Geschwindigkeitssperre in die ON-Stellung.
Fahren Sie die Maschine vorwärts und schließen Sie den Aerifizierbügel.
Note: Die Fahrgeschwindigkeitssperre rastet ein, und der Aerifizierkopf senkt sich.
Lassen Sie am Ende des Aerifizierdurchgangs den Aerifizierbügel los.
Note: Der Aerifizierkopf hebt sich, aber die Maschine hält die Fahrgeschwindigkeit mit dem Aerifizierlochabstand ein.
Um die Geschwindigkeitssperre aufzuheben, führen Sie einen der folgenden Schritte aus:
Drücken Sie den Schalter der Geschwindigkeitssperre in die OFF-Stellung.
Drehen Sie den oberen Teil der Fahrantriebshebel nach hinten, um die Maschine rückwärts zu fahren.
Lassen Sie den Schaltbügel los.
Drücken Sie den Anschlagschalter.
Note: Verwenden Sie den Transportbetrieb, wenn Sie die Maschine zwischen verschiedenen Einsatzorten transportieren.
Note: Die Maschine fährt mit einer reduzierten, variablen Geschwindigkeit, wenn der Transport-/Aerifizierschalter in der AERIFIZIER-Stellung steht.
Lassen Sie den Motor an und schieben Sie den Gashebel in die FAST-Stellung, siehe Anlassen des Motors.
Senken Sie den Lenker ab, um die Feststellbremse zu lösen, siehe Lösen der Feststellbremse.
Drücken Sie die linke Seite des Transport-/Aerifizierschalters auf die TRANSPORT-Stellung (Bild 76).

Note: Im InfoCenter wird das Symbol TRANSPORT angezeigt (Bild 77).

Schauen Sie in die Richtung des geplanten Durchgangs und stellen Sie sicher, dass er frei ist.
Fassen Sie den linken oder rechten Lenker und den Schaltbügel (Bild 76), und drücken Sie den Schaltbügel an den Lenker.
Drehen Sie mit dem Daumen den linken oder rechten Fahrantriebshebel, um die Maschine wie folgt zu fahren:
Drehen Sie den oberen Teil des Fahrantriebshebels nach vorne, um die Maschine vorwärts zu fahren.
Drehen Sie den oberen Teil des Fahrantriebshebels nach hinten, um die Maschine rückwärts zu fahren.
Note: Das Weiterdrehen des Fahrantriebshebels erhöht die Fahrgeschwindigkeit der Maschine.
Important: Um die Maschine sofort anzuhalten, betätigen Sie den Anschlagschalter (Bild 78).

Wenn Sie während des Aerifizierens den Aerifizierbügel los (Bild 79), um den Aerifizierkopf anzuheben, siehe Anheben des Aerifizierkopfs.

Lassen Sie den Fahrantriebshebel los und lassen Sie ihn in die NEUTRAL-Stellungen zurückfallen.
Lassen Sie den Schaltbügel los.
Heben Sie den Lenker vollständig an und arretieren Sie ihn, um die Feststellbremse zu aktivieren, siehe Aktivieren der Feststellbremse.
Note: Die Maschine fährt mit reduzierter, variabler Geschwindigkeit, wenn der Aerifizierkopf angehoben wird.
Lassen Sie den Motor an und schieben Sie den Gashebel in die FAST-Stellung, siehe Anlassen des Motors.
Senken Sie den Lenker ab, um die Feststellbremse zu lösen, siehe Lösen der Feststellbremse.
Drücken Sie die rechte Seite des Transport-/Aerifizierschalters in die AERIFIZIEREN-Stellung (Bild 80).

Das InfoCenter zeigt die aktuelle Lochtiefe und den Lochabstand an (Bild 81).

Schauen Sie in die Richtung des geplanten Durchgangs und stellen Sie sicher, dass er frei ist.
Fassen Sie den linken oder rechten Lenker und den Schaltbügel (Bild 80), und drücken Sie den Schaltbügel an den Lenker.
Drehen Sie mit dem Daumen den oberen Teil des linken oder rechten Fahrantriebshebels, um die Maschine vorwärts zu bewegen.
Note: Während des Aerifizierbetriebs fährt die Maschine mit einer Geschwindigkeit, die dem von Ihnen gewählten Sollwerts des Lochabstands entspricht.
Bei Verwendung der Fahrgeschwindigkeitssperre bewirkt das Loslassen des Aerifizierbügels ohne Änderung der Stellung der Fahrantriebshebel, dass die Maschine die Fahrgeschwindigkeit beibehält, ähnlich wie ein Tempomat bei einem Auto.
Wenn Sie die Maschine in umgekehrter Richtung fahren, wird der Tempomat deaktiviert und die Maschine fährt mit variabler Geschwindigkeit.
Wenn Sie den Aerifizierkopf anheben, um die Maschine für einen weiteren Durchgang zu wenden, können Sie die Fahrgeschwindigkeit erhöhen, indem Sie die Fahrantriebshebel weiter nach vorne bewegen. Wenn Sie die Fahrantriebshebel in die NEUTRAL-Stellung zurückstellen, verlangsamt sich die Maschine auf die erforderliche Fahrgeschwindigkeit für den eingestellten Lochabstand der Aerifizierung.
Verwenden Sie den Vorderreifen, um den Absenkpunkt beim Aerifizieren im Betrieb mit verzögertem Absenken anzuvisieren.
Drücken Sie den oberen Teil des Absenkschalters (Bild 82) in die VERZöGERTES ABSENKEN-Stellung.

Fahren Sie die Maschine in Vorwärtsrichtung, siehe Fahren der Maschine im Aerifizierbetrieb.
Wenn der Vorderreifen über den Rand des Aerifizierbereichs rollt, schließen Sie entweder den linken oder rechten Aerifizierbügel (Bild 83).
Note: Der Aerifizierkopf läuft und senkt sich, während sich die Maschine vorwärts bewegt und den anvisierten Aerifizierbereich durchquert.

Benutzen Sie den Vorderreifen (Bild 84), um den Hebepunkt im Betrieb mit verzögertem Absenken anzuvisieren.

Führen Sie einen der folgenden Schritte aus, um den Aerifizierkopf anzuheben:
Wenn der Vorderreifen über den Rand des Aerifizierbereichs rollt, lösen Sie den Aerifizierbügel (Bild 85).
Note: Die Maschine verzögert das Anheben des Aerifizierkopfs, bis der Aerifizierkopf den Zielpunkt erreicht, die Sie mit dem Vorderrad identifiziert und den Aerifizierbügel gelöst haben.

Fahren Sie die Maschine in Rückwärtsrichtung, siehe Maschine rückwärts fahren.
Drücken Sie den unteren Teil des Absenkschalters (Bild 86) in die SOFORTIGES ABSENKEN-Stellung.
Note: Die Lampe im Schalter leuchtet auf.

Fahren Sie die Maschine in Vorwärtsrichtung, siehe Fahren der Maschine im Aerifizierbetrieb.
Schließen Sie entweder den linken oder rechten Aerifizierbügel (Bild 87).
Note: Der Aerifizierkopf senkt sich sofort und beginnt mit dem Aerifizieren.

Führen Sie einen der folgenden Schritte aus, um den Aerifizierkopf anzuheben:
Lassen Sie den Aerifizierbügel los (Bild 88).
Note: Die Maschine hebt den Aerifizierkopf sofort an.

Fahren Sie die Maschine in Rückwärtsrichtung, siehe Maschine rückwärts fahren.
Lassen Sie den Fahrantriebshebel los und lassen Sie ihn in die NEUTRAL-Stellung fallen, und lassen Sie den Schaltbügel los (Bild 91).

Entfernen Sie sich vom Anschlagschalter (Bild 92).
Note: Eine Feder im Anschlagschalter setzt den Schalter zurück.

Fassen Sie den linken oder rechten Lenker und den Schaltbügel (Bild 93), und drücken Sie den Schaltbügel an den Lenker.

Fahren Sie die Maschine, siehe Fahren der Maschine im Transportbetrieb oder Fahren der Maschine im Aerifizierbetrieb.
Richten Sie mit der Linienmarkierung die Aerifizierreihen aus (Bild 94).

Die Maschine verwendet zwei Zähler, um die aerifizierte Fläche und das verdrängte Bodenkernvolumen zu erfassen. Verwenden Sie die Informationen aus diesen Zählern, um die Menge der auf die aerifizierten Rasenfläche(n) aufzubringenden Nachdüngung zu schätzen.
Der Zähler für die Fläche 1 ist nicht durch einen PIN-Code geschützt und kann vom Maschinenbediener zurückgesetzt werden.
Note: Wenn der Betreiber den Zähler der Fläche 1 für jeden Aerifizierstandort aufzeichnet, können Sie die Menge des Mutterbodens und den Bedarf für jeden Standort schätzen.
Der Zähler für die Fläche 2 ist durch einen PIN-Code geschützt und kann von Vorgesetzten oder ihrem Beauftragten zurückgesetzt werden.
Die aerifizierte Fläche wird in den Maßeinheiten m2 (SI) oder ft2 (imperial) angezeigt.
Das verdrängte Bohrvolumen wird in den Maßeinheiten m3 (SI) oder yd3 (imperial) angezeigt.
Bei der Anzeige der Zähler für das verdrängte Bohrvolumen berechnet die Maschine das Volumen anhand des Tinesdurchmessers und der im InfoCenter eingegebenen Anzahl der Tines.
Important: Wenn der Tinesdurchmesser und/oder die Anzahl der Tines vor dem Aerifizieren der Fläche nicht korrekt sind, berechnet das InfoCenter falsche Volumenwerte der Kerne für die Fläche 1 und 2 und zeigt diese an. Wenn der Durchmesser und/oder die Mengenwerte nach dem Aerifizieren geändert werden, ändert das InfoCenter die angezeigten Volumenwerte.
Stellen Sie die Maschine auf einer ebenen Fläche ab.
Vergewissern Sie sich, dass der Motor läuft oder der Zündschlüssel in der RUN-Stellung steht.
Rufen Sie im InfoCenter das HAUPTMENü auf.
Drücken Sie die Taste nach unten“, bis die Option SERVICE ausgewählt ist, und drücken Sie dann die Auswahltaste (Bild 95).

Drücken Sie auf dem Bildschirm SERVICE die Taste nach unten“ bis die Option STATISTICS [Statistik] ausgewählt ist, und drücken Sie dann die Auswahltaste (Bild 96).

Note: Ein FLäCHENzähler wird auf dem Bildschirm STATISTIK angezeigt.

Drücken Sie im Bildschirm STATISTIK die Taste nach unten“, bis die Option BEREICH 1 ausgewählt ist (Bild 98).

Halten Sie die Aerifizierfläche und das Volumen des Bodenkerns in einem Arbeitsblatt fest, siehe das folgende Beispiel.
|
Datum |
Kurs (falls mehrere) |
Ort |
Aerifizierfläche |
Kernvolumen |
Drücken Sie die Auswahltaste, um den Bildschirm zum Zurücksetzen der Flächen- und den Volumenzähler anzuzeigen.
Drücken Sie im Bildschirm FLäCHE UND VOLUMEN ZURüCKSETZEN die Auswahltaste.
Note: Das InfoCenter zeigt den Statistikbildschirm an, und die Flächen- und Volumenzähler werden auf 0 zurückgesetzt.
Note: Wenn Sie den Zähler für Fläche 1 nicht zurücksetzen, werden die Zähler für Fläche und Volumen weiterhin Daten sammeln.

Wiederholen Sie die Schritte 1 bis 4 bei Bedarf.
Drücken Sie die Zurück-Taste, um zum Hauptmenü zurückzukehren.
Note: Das Zurücksetzen der Zähler der FLäCHE 2 setzt die Zähler der FLäCHE 1 nicht zurück.
Geben Sie den PIN-Code ein, um auf geschützte Menüs zuzugreifen, siehe Zugreifen auf die geschützten Menüs.
Drücken Sie im Bildschirm STATISTIK die Taste nach unten“, bis die Option BEREICH 2 ausgewählt ist (Bild 100).

Erfassen Sie bei Bedarf die Daten zur Aerifizierfläche und zum Volumen des Bodenkerns.
Drücken Sie die Auswahltaste, um den Bildschirm zum Zurücksetzen der Flächen- und den Volumenzähler anzuzeigen.
Drücken Sie im Bildschirm FLäCHE UND VOLUMEN ZURüCKSETZEN die Auswahltaste (Bild 101).
Note: Das InfoCenter zeigt den Statistikbildschirm an, und die Flächen- und Volumenzähler werden auf 0 zurückgesetzt.
Note: Wenn Sie den Zähler für Fläche 2 nicht zurücksetzen, werden die Zähler für Fläche und Volumen weiterhin Daten sammeln.

Drücken Sie die Zurück-Taste, um zum Hauptmenü zurückzukehren.
Bringen Sie die Wartungsriegel an, bevor Sie Wartungsarbeiten am Aerifizierkopf durchführen oder wenn Sie die Maschine länger als ein paar Tage nicht benutzen.
Wenn der Aerifizierkopf angehoben und nicht verriegelt ist, kann er sich unerwartet absenken und Sie oder andere Anwesende verletzen.
Verwenden Sie den Wartungsriegel jedes Mal, wenn der Aerifizierkopf gewartet wird, einschließlich einem Wechsel der Tines oder Rasenschutzvorrichtungen, um den Aerifizierkopf in der angehobenen Position zu verriegeln.
Heben Sie den Aerifizierkopf an.
Parken Sie die Maschine auf einer ebenen Fläche, heben und arretieren Sie den Lenker, um die Feststellbremse zu aktivieren, stellen Sie den Motor ab, ziehen Sie den Schlüssel ab und warten Sie, bis alle beweglichen Teile zum Stillstand gekommen sind.
Entfernen Sie die Abdeckung des Aerifizierkopfs, siehe Entfernen der Abdeckung des Aerifizierkopfs.
Entfernen Sie den Klappstecker, mit dem der Wartungsriegel an der Seitenplatte befestigt ist (Bild 102).

Drehen Sie den Wartungsriegel nach hinten und richten Sie ihn über dem Stützstift des Aerifizierkopfs aus.
Sichern Sie den Riegel mit dem Klappstecker am Stützstift.
Bringen Sie bei Bedarf die Abdeckung des Aerifizierkopfs an, siehe Anbringen der Abdeckung des Aerifizierkopfs.
Parken Sie die Maschine auf einer ebenen Fläche, heben und arretieren Sie den Lenker, um die Feststellbremse zu aktivieren, stellen Sie den Motor ab, ziehen Sie den Schlüssel ab und warten Sie, bis alle beweglichen Teile zum Stillstand gekommen sind.
Wenn die Abdeckung des Aerifizierkopfs montiert ist, entfernen Sie diese, siehe Entfernen der Abdeckung des Aerifizierkopfs.
Entfernen Sie den Klappstecker, mit dem der Wartungsriegel am Stützstift des Aerifizierkopfs befestigt ist (Bild 103).

Drehen Sie den Wartungsriegel nach unten und richten Sie ihn über dem Stützstift des Seitenplatte aus.
Sichern Sie den Riegel mit dem Klappstecker am Stützstift.
Montieren Sie die Abdeckung des Aerifizierkopfs, siehe Anbringen der Abdeckung des Aerifizierkopfs.
Important: Ersetzen eines beschädigten Tines durch einen Tines der gleichen Länge. Unterschiedliche Tineslängen wirken sich negativ auf das Erscheinungsbild der Löcher aus.
Unterschiedliche Tineslängen beeinflussen das Erscheinungsbild der Löcher.
Siehe Einbau der Rasenschutzvorrichtungen, Tines-Haltern und Tines für Abbildungen.
Heben Sie den Aerifizierkopf an und arretieren Sie ihn in dieser Stellung mit dem Wartungsriegel.
Parken Sie die Maschine auf einer ebenen Fläche, heben und arretieren Sie den Führungsholm, um die Feststellbremse zu aktivieren, stellen Sie den Motor ab, ziehen Sie den Schlüssel ab und warten Sie, bis alle beweglichen Teile zum Stillstand gekommen sind.
Lösen Sie die Halteschrauben des Tines-Halters und entfernen Sie die alten Tines.
Setzen Sie die neuen Tines in den Tines-Halter ein.
Ziehen Sie die Schrauben der Tines-Halter auf ein Drehmoment von 40,6 N∙m an.
Wiederholen Sie diese Schritte bei Bedarf an den restlichen Armen.
Verwenden Sie die Anwendung zum Abrufen der Bodenhöhe, um die aktuelle Bodenhöhe der Tines schnell zu überprüfen.
Die Anwendung bewegt den Kopf in die zuvor kalibrierte Position. Sobald der Kopf in Position ist, können Sie den Abstand der Tines-Spitzen vom Boden überprüfen.
Stellen Sie sicher, dass der Aerifizierungskopf angehoben ist.
Parken Sie die Maschine auf einer ebenen Fläche, heben und arretieren Sie den Führungsholm, um die Feststellbremse zu aktivieren, stellen Sie den Motor ab, ziehen Sie den Schlüssel ab und warten Sie, bis alle beweglichen Teile zum Stillstand gekommen sind.
Entfernen Sie die Abdeckung des Aerifizierkopfs, siehe Entfernen der Abdeckung des Aerifizierkopfs.
Drehen Sie die Riemenscheibe des Aerifizierkopfs (Bild 104), bis die äußersten Tines am nächsten zum Boden ausgerichtet sind.
Important: Halten Sie Ihre Finger aus dem Bereich fern, in dem der Riemen zusammenläuft und die Riemenscheibe verlässt, damit Sie Ihre Finger nicht einklemmen.


Montieren Sie die Abdeckung des Aerifizierkopfs, siehe Anbringen der Abdeckung des Aerifizierkopfs.
Geben Sie den PIN-Code ein, um auf geschützte Menüs zuzugreifen, siehe Zugreifen auf die geschützten Menüs.
Rufen Sie im InfoCenter das MAIN MENU [Hauptmenü] auf.
Drücken Sie die Taste nach unten“, bis die Option SERVICE ausgewählt ist, und drücken Sie dann die Auswahltaste (Bild 105).

Drücken Sie die Taste nach unten“ auf dem InfoCenter, um zur Option GROUND HEIGHT [Bodenhöhe] zu navigieren, und drücken Sie dann die Auswahltaste.
Drücken Sie auf dem InfoCenter die Taste nach unten“, um zur Option KALIBRIERUNG ABRUFEN [Recall Calibration] zu navigieren, und drücken Sie dann die Auswahltaste.
Drücken Sie auf dem Bildschirm Bodenhöhe abrufen“ (Bild 106) die Auswahltaste.

Drücken Sie auf dem Bildschirm Aerifizierkopf wird abgesenkt“ (Bild 107) die Auswahltaste.

Note: Die Meldung Aerifizierkopf absenken wird angezeigt und der Aerifizierkopf senkt sich ab.
Achten Sie bei den äußersten Tines auf die folgenden Bedingungen, wenn sie nicht kalibriert sind.
Wenn die Tines beginnen, in den Boden einzudringen – drücken Sie die Auswahltaste (Bild 108) und führen Sie die Anwendung BODENHöHE EINLERNEN aus, sieheAusführen der Anwendung Teach Ground Height [Bodenhöhe einlernen].
Die Tines befinden sich über dem Boden – drücken Sie die Auswahltaste und führen Sie die Anwendung BODENHöHE EINLERNEN aus, siehe Ausführen der Anwendung Teach Ground Height [Bodenhöhe einlernen].

Wenn die äußersten Tines den Boden leicht berühren, drücken Sie die Auswahltaste, um den Aerifizierkopf anzuheben.
Die Maschine verlagert das Gewicht von der Zugmaschine zum Aerifizierkopf, um die Lochtiefe bei verschiedenen Bodenstrukturen beizubehalten. Wenn die Bodenstruktur so fest ist, dass eine vollständige Aerifiziertiefe nicht möglich ist, ist möglicherweise eine zusätzliche Gewichtsübertragung auf dem Aerifizierkopf notwendig. Die Maschine ist werksseitig auf normale Gewichtsverlagerung eingestellt. Wenn Sie den Haftdruck der Gewichtsverlagerungsfedern erhöhen möchten, gehen Sie wie folgt vor:
Ein plötzliches Loslassen der Federplatten kann Verletzungen verursachen.
Führen Sie die Einstellung der Gewichtsverlagerungsfeder immer mit einer anderen Person aus.
Parken Sie die Maschine auf einer ebenen Fläche, heben und arretieren Sie den Führungsholm, um die Feststellbremse zu aktivieren, stellen Sie den Motor ab, ziehen Sie den Schlüssel ab und warten Sie, bis alle beweglichen Teile zum Stillstand gekommen sind.
Lösen Sie die vordere Sicherungsbundmutter und Schlossschraube, mit denen die Federspannplatte an der Halterung des Aerifizierkopfs befestigt ist (Bild 109).
Note: Die Sicherungsbundmutter und Schlossschraube nicht entfernen.

Entfernen Sie die Sicherungsmutter des hinteren Flansches, mit der die Federhalterungen an der Halterung befestigt sind.
Note: Entfernen Sie die Schlossschraube nicht.
Setzen Sie einen 1/2"-Schlüssel oder ein Brecheisen in das rechteckige Loch in der Federspannplatte ein (Bild 110).

Drehen Sie die Ratsche oder das Brecheisen, um die hintere Schlossschraube zu entspannen und entfernen Sie sie aus der oberen Bohrung.
Note: Die obere Bohrung ist die normale Gewichtsverlagerungsposition.
Drehen Sie die Federspannplatte, bis sie mit der unteren Bohrung in der Halterung fluchtet, und führen Sie die Schlossschraube durch die Bohrungen in der Platte und der Halterung.
Note: Die untere Bohrung ist die Position der höheren Gewichtsverlagerung. Wenn Sie die Federplatten nach oben drehen, wird die Gewichtsverlagerung erhöht.
Befestigen Sie die Schlossschraube mit der Sicherungsbundmutter an der Halterung und der Federspannplatte.
Ziehen Sie die Muttern bis auf 37-45 N∙m an.
Aerifizieren Sie mit dem automatischen Bodenfolgesystem, um eine optimale Lochqualität und Maschinenleistung zu erzielen.
Verwenden Sie das manuelle Folgen der Bodenkontur nur, wenn der Positionssensor der Tines beschädigt ist.
Parken Sie die Maschine auf einer ebenen Fläche, heben und arretieren Sie den Führungsholm, um die Feststellbremse zu aktivieren, stellen Sie den Motor ab, ziehen Sie den Schlüssel ab und warten Sie, bis alle beweglichen Teile zum Stillstand gekommen sind.
Entfernen Sie die Abdeckung des Aerifizierkopfs, siehe Entfernen der Abdeckung des Aerifizierkopfs.
Entfernen Sie den Klappstecker, mit dem der Tiefenanschlagstift und die Distanzstücke an der Anschlaghalterung befestigt sind (Bild 111 und Bild 112).


Positionieren Sie die Distanzstücke oberhalb oder unterhalb der Anschlaghalterung, um die Aerifiziertiefe einzustellen.
Wenn sich alle Distanzstücke oben auf der Anschlaghalterung befinden, beträgt die eingestellte Aerifiziertiefe 10,7 cm.
Die dicken Distanzstücke entsprechen 19 mm Schritten.
Dünne Distanzstücke entsprechen Erhöhungen von 9,5 mm.
Note: Sie müssen alle Distanzstücke einbauen, unabhängig von ihrer Position.
Montieren Sie den Tiefenanschlag-Stift und die Distanzstücke mit dem Klappstecker an der Anschlaghalterung.
Wiederholen Sie die Schritte 3 bis 5 an der anderen Seite der Maschine.
Important: Vergewissern Sie sich, dass die Position der Distanzstücke über und unter den linken und rechten Anschlaghalterungen identisch ist.
Montieren Sie die Abdeckung des Aerifizierkopfs, siehe Anbringen der Abdeckung des Aerifizierkopfs.
Note: Wenn Sie im manuellen Betrieb aerifizieren, müssen Sie das InfoCenter bei jedem Motorstart auf das manuelle Folgen der Bodenkontur einstellen.
Drehen Sie den Zündschlüssel in die RUN-Stellung.
Note: Lassen Sie den Motor nicht an.
Geben Sie den PIN-Code ein, um auf geschützte Menüs zuzugreifen, siehe Zugreifen auf die geschützten Menüs.
Rufen Sie im InfoCenter das MAIN MENU [Hauptmenü] auf.
Drücken Sie die Taste nach unten“, bis die Option MACHINE SETTINGS [Maschineneinstellungen] ausgewählt ist, und drücken Sie dann die Auswahltaste.
Drücken Sie die Taste nach unten“, bis die Option MANUAL AERATION [Manuelles Aerifizieren] ausgewählt ist, und drücken Sie die Auswahltaste (Bild 113), um das manuelle Aerifizieren auf EIN einzustellen.

Lassen Sie den Motor an.
Aerifizieren Sie mit Aerifizieren im Betrieb mit verzögertem Absenken oder der Aerifizieren im Betrieb mit sofortigem Absenken.
Note: Wenn Sie den Motor abstellen und erneut starten, schaltet die Maschine automatisch in die Betriebsart zum Folgen der Bodenkontur um.
Parken Sie die Maschine auf einer ebenen Fläche, heben und arretieren Sie den Führungsholm, um die Feststellbremse zu aktivieren, stellen Sie den Motor ab, ziehen Sie den Schlüssel ab und warten Sie, bis alle beweglichen Teile zum Stillstand gekommen sind.
Entfernen Sie die Abdeckung des Aerifizierkopfs, siehe Entfernen der Abdeckung des Aerifizierkopfs.
Entfernen Sie den Klappstecker, mit dem der Tiefenanschlagstift und die Distanzstücke an der Anschlaghalterung befestigt sind (Bild 114).


Positionieren Sie alle Distanzstücke über der Anschlaghalterung.
Montieren Sie den Tiefenanschlag-Stift und die Distanzstücke mit dem Klappstecker an der Anschlaghalterung.
Note: Sie müssen alle Distanzstücke verstauen.
Wiederholen Sie die Schritte 3 bis 5 an der anderen Seite der Maschine.
Montieren Sie die Abdeckung des Aerifizierkopfs, siehe Anbringen der Abdeckung des Aerifizierkopfs.
Mit der eingestellten Gewichtsverlagerung ist es möglich, Rasenflächen zu aerifizieren, die so hart sind, dass die Hinterräder der Maschine vom Boden abheben. Dies kann zu einem unregelmäßigen Lochabstand führen.
In diesem Fall können Sie optionale Gegengewichtsplatten am Achsrohr des Hinterrahmens anbringen. Jede Gegengewichtsplatte erhöht das Gewicht der Maschine um 28,5 kg. Sie können bis zu 2 Platten hinzufügen. Die Bestellnummern für das Gegengewicht und die Befestigungselemente finden Sie im Teilekatalog Ihrer Maschine.
Erforderliche Werkzeuge: 15-mm-Steckschlüssel und Ratsche
Important: Wenn das Sicherheitsventil geöffnet ist, lassen Sie den Motor nicht länger als 10 bis 15 Sekunden laufen.
Wenn möglich, stellen Sie die Maschine auf eine ebene Fläche.
Heben und arretieren Sie den Lenker, um die Feststellbremse zu aktivieren, stellen Sie den Motor ab, ziehen Sie den Schlüssel ab und warten Sie, bis alle beweglichen Teile zum Stillstand gekommen sind.
Entfernen Sie die beiden Bundkopfschrauben, mit denen die Aufbewahrungsbox an der Boxhalterung befestigt ist (Bild 115).

Suchen Sie die Abdeckung der Schraube des Sicherheitsventils zwischen Motor und Hydraulikpumpe, wie in Bild 116 dargestellt.

Drehen Sie das Sicherheitsventil mit einem 15-mm-Steckschlüssel 1½ Umdrehungen gegen den Uhrzeigersinn.
Important: Drehen Sie das Sicherheitsventil höchstens um 1½ Umdrehungen.
Wenn Sie die Maschine abschleppen, schleppen Sie sie an der vorderen Vergurtungsstelle (Bild 117).
Important: Schieben bzw. ziehen Sie die Maschine nicht weiter als 30,5 m oder schneller als 1,6 km/h, da sonst Schäden an der hydraulischen Komponente auftreten können.

Senken Sie den Lenker ab, um die Feststellbremse zu lösen, bevor Sie die Maschine schieben/schleppen.
Important: Sie müssen den Lenker absenken, um die Feststellbremse zu lösen, bevor Sie die Maschine bewegen.
Important: Sie müssen das Sicherheitsventil schließen, um die Maschine zu fahren. Versuchen Sie nicht, das Fahrantriebssystem bei geöffnetem Sicherheitsventil einzusetzen.
Suchen Sie die Schraube des Sicherheitsventils zwischen dem Motor und der Hydraulikpumpe.
Note: Die Lage der Abdeckung für die Schraube des Sicherheitsventils ist unter Bild 118dargestellt.

Drehen Sie das Sicherheitsventil mit einem 15-mm-Steckschlüssel 1½ Umdrehungen im Uhrzeigersinn.
Note: Schrauben Sie das Sicherheitsventil nicht zu fest zu.
Verwenden Sie einen 15-mm-Schlüssel, um die Abdeckung der Schraube des Sicherheitsventils auf der Hydraulikpumpe zu installieren.
Befestigen Sie die Aufbewahrungsbox mit den beiden Bundkopfschrauben an der Boxhalterung.
Wenn der Motor aufhört zu laufen, während der Aerifizierkopf abgesenkt ist und die Tines im Boden stecken, und Sie den Motor nicht starten können, führen Sie entweder Anheben des Aerifizierkopfs mit dem Anlasser oder Entfernen der Tines-Halter von den Stampferarmen aus.
Stellen Sie den Zündschlüssel in die RUN-Stellung.
Rufen Sie im InfoCenter das MAIN MENU [Hauptmenü] auf.
Drücken Sie die Taste nach unten“, bis die Option SERVICE ausgewählt ist, und drücken Sie dann die Auswahltaste (Bild 119).

Drücken Sie die Taste nach unten“, bis die Option SERVICE LIFT ausgewählt ist, und drücken Sie dann die Auswahltaste (Bild 120).
Note: Die Option Anheben in Wartungsstellung“ ändert sich zu EIN.

Bringen Sie den Zündschlüssel in die START-Stellung und betätigen Sie den Anlasser 10 Sekunden lang.
Important: Lassen Sie den Anlasser niemals länger als 10 Sekunden lang ununterbrochen drehen. Wenn die Tines nicht aus dem Boden gezogen werden, lassen Sie den Anlasser 30 Sekunden lang abkühlen, bevor Sie erneut versuchen, den Motor anzulassen. Das Nichtbefolgen dieser Vorschrift kann zum Durchbrennen des Anlassers führen.
Note: Der Aerifizierkopf hebt die Tines vom Boden ab.
Important: Die Tines müssen den Boden vollständig verlassen, bevor die Maschine bewegt werden kann.
Öffnen Sie das Sicherheitsventil, siehe Umgehen der Hydraulikpumpe und Bewegen der Maschine.
Schieben bzw. ziehen Sie die Maschine an eine in der Nähe gelegene Stelle, um die Wartungsarbeiten fortzusetzen oder das Gerät auf einen Anhänger zu verladen.
Important: Schieben bzw. ziehen Sie die Maschine nicht weiter als 30,5 m und nicht schneller als 1,6 km/h, da sonst Schäden an der hydraulischen Komponente auftreten können.
Nehmen Sie die Tines-Halter von den Stampfarmen.
Öffnen Sie das Sicherheitsventil, siehe Umgehen der Hydraulikpumpe und Bewegen der Maschine.
Schieben bzw. ziehen Sie die Maschine an eine in der Nähe gelegene Stelle, um die Wartungsarbeiten fortzusetzen oder das Gerät auf einen Anhänger zu verladen.
Important: Schieben bzw. ziehen Sie die Maschine nicht weiter als 30,5 m und nicht schneller als 1,6 km/h, da sonst Schäden an der hydraulischen Komponente auftreten können.
Wenden Sie beim Aerifizieren vorsichtig und in großzügigen Bögen. Vermeiden Sie scharfes Wenden, wenn der Aerifizierkopf eingekuppelt ist. Planen Sie den Aerifizierweg, bevor Sie den Aerifizierer absenken.
Achten Sie immer darauf, welche Hindernisse in der Richtung der Vorwärtsfahrt liegen. Vermeiden Sie Aerifizierarbeiten in der Nähe von Gebäuden, Zäunen und anderen Geräten.
Schauen Sie regelmäßig nach hinten, um sicherzustellen, dass die Maschine einwandfrei funktioniert und auf einer Linie mit dem vorangegangenen Arbeitsgang ist.
Räumen Sie den Arbeitsbereich immer von allen defekten Maschinenteilen, wie z. B. zerbrochene Tines usw. frei, damit diese nicht von einem Rasenmäher oder anderen Rasenpflegemaschinen aufgenommen werden.
Ersetzen Sie zerbrochene Tines, prüfen Sie alle noch brauchbaren und reparieren diese, wo es möglich ist. Reparieren Sie sämtliche Maschinendefekte vor der erneuten Inbetriebnahme.
Wenn Sie nicht mit der ganzen Breite der Maschine aerifizieren, können die Tines entfernt werden; die Tines-Aufnahmen sollte jedoch an den Stampfarmen bleiben, um ein richtiges Gleichgewicht und einen ordnungsgemäßen Betrieb der Maschine zu gewährleisten.
Diese Maschine aerifiziert tiefer als die meisten Aerifizierer für Grüns. Auf nativen oder modifizierten aufsteigenden Grüns und Abschlägen kann die größere Tiefe und die längeren hohlen Tines Probleme beim Auswurf des ganzen Tines verursachen. Dies liegt am härteren nativen Boden, der am Ende der Tine kleben bleibt. Tines mit Seitenauswurf vom Hersteller bleiben sauberer und reduzieren die Zeit, die zum Reinigen der Tines erforderlich ist. Sie werden diesen Zustand letztendlich durch regelmäßige Aerifizierung und Oberflächendüngerprogramme beseitigen.
Diese Maschine ist so konstruiert, dass sie so viel Arbeitstiefe wie möglich bietet. Bei manchen Rasenbedingungen können jedoch die Rasenschutzvorrichtungen und/oder die Schrauben der Rasenschutzvorrichtungen Schäden verursachen wenn mit der vollen Tiefeneinstellung aerifiziert wird. Wird nach der Kalibrierung der Bodenhöhe mit der maximal zulässigen Tiefe (mit einer beliebigen Tineslänge) aerifiziert und die Schrauben der Rasenschutzvorrichtung schleifen oder den Rasen berühren, reduzieren Sie die Tiefe um eine Stufe (6,3 mm).
Wenn der Boden zu fest ist, um die gewünschte Aerifiziertiefe zu erzielen, kann der Aerifizierkopf einen Springrhythmus entwickeln. Dies liegt an der harten Oberfläche, in die die Tines einzudringen versuchen. Beheben Sie diesen Zustand folgendermaßen:
Vermeiden Sie den Einsatz des Aerifizierers in zu hartem oder zu trockenem Gelände. Die besten Aerifizierergebnisse erhalten Sie nach Regenfällen oder wenn Sie den Rasen am Vortag bewässert haben.
Verwenden Sie einen Kopf mit drei Tines, wenn Sie bis jetzt einen Kopf mit vier Tines verwendet haben. Sie können auch die Anzahl der Tines pro Stampfarm verringern. Sie sollten eine symmetrische Tines-Konfiguration beibehalten, um die Stampfarme gleichmäßig zu belasten.
Wenn der Boden sehr verdichtet ist, die Aerifizier-Einstechtiefe (Tiefeneinstellung) verringern, entfernen Sie die Kerne, bewässern Sie die Grünfläche und aerifizieren Sie mit einer größeren Tiefe.
Die Aerifizierung von Bodentypen, die sich auf harten Unterschichten angelagert haben (z. B. Boden bzw. Sand über felsigem Boden) kann eine unerwünschte Lochqualität ergeben. Dies tritt auf, wenn die Aerifiziertiefe größer als der abgelagerte Boden ist, und die Unterschichten zu hart zum Eindringen sind. Wenn die Tines härtere Unterschichten berühren, kann sich der Aerifizierer anheben, und die Oberseite der Löcher wird verlängert. Reduzieren Sie die Aerifiziertiefe, um ein Eindringen in die harten Unterschichten zu vermeiden.
Die Qualität des Eintrittslochs verschlechtert sich, wenn das Loch geschlitzt (nach vorne gezogen) wird.
Wenn sich die Qualität des Eintrittslochs verschlechtert, überprüfen Sie die Kalibrierung der Bodenhöhe der Tines, siehe Prüfen der Kalibrierung der Bodenhöhe der Tines.
Aufgrund der Doppelreihenausführung muss der Lochabstand für den Mini-Tines-Aerifizierkopf auf 6,3 cm eingestellt werden. Die Fahrgeschwindigkeit ist sehr wichtig, wenn Sie einen Lochabstand von 3,2 cm erzielen möchten. Wenn der Lochabstand geringfügig geändert werden muss, siehe Einstellen des Lochabstands.
Wenn Sie die Mini-Tines-Aufnahme oder den größeren Massiv-Tine verwenden, ist die Struktur der Grasnarbe sehr wichtig, um eine Beschädigung des Rasens durch Ziehen an der Grasnarbe zu vermeiden. Wenn die mittleren zwei Arme ein ausgeprägtes Anheben des Rasens oder eine Beschädigung der Grasnarbe verursachen, gehen Sie wie folgt vor:
Erhöhen Sie den Lochabstand
Verringern Sie die Tines-Größe
Verringern Sie die Tines-Tiefe
Entfernen Sie einige Tines
Die Hebewirkung, die die Fest-Tines erzeugen, wenn sie aus der Grasnarbe gezogen werden, kann die Grasnarbe beschädigen. Dieses Anheben kann die Grasnarbe zerreißen, wenn die Dichte der Tines oder der Durchmesser der Tines zu hoch ist.
Wenn Sie mit längeren Massiv-Tines (z. B. ⅜" x 4" lang) oder Nadel-Tines aerifizieren, können die Löcher vorne geschlitzt oder gebüschelt werden. Um bei dieser Konfiguration eine hervorragende Lochqualität zu erzielen, versuchen Sie Folgendes:
Kalibrieren der Bodenhöhe der Tines, siehe Kalibrierung der Bodenhöhe der Tines.
Verringern Sie die hohe Leerlaufdrehzahl des Motors auf 2800 bis 2900 U/min.
Note: Da die Fahr- und Aerifizierkopfgeschwindigkeit zusammen mit der Motordrehzahl ansteigt und sinkt, hat dies keine Auswirkungen auf den Lochabstand.
Wenn die Reduktion der Motordrehzahl die Lochqualität für die längeren Fest- oder Nadel-Tines verbessert, stellen Sie den Roto-Link-Dämpfer ein.
Note: Unter den meisten Bedingungen funktioniert die Werkseinstellung am besten.
Wenn die Vorderseite der Löcher geschlitzt oder büschelförmig ist, hilft eine steifere Einstellung des Roto-Links, den Druck auf die Löcher zu verringern und die Qualität der Löcher zu verbessern.
Wenn die Rückseite der Löcher geschlitzt oder büschelig ist, hilft eine weichere Einstellung des Roto-Links, die Qualität der Löcher zu verbessern.
Note: Sie müssen die Position des Roto-Link-Dämpfers umkehren, wenn Sie wieder zu einem Aerifizier-Tines oder einem der Mini-Tines umrüsten.
Parken Sie die Maschine auf einer ebenen Fläche, heben und arretieren Sie den Führungsholm, um die Feststellbremse zu aktivieren, stellen Sie den Motor ab, ziehen Sie den Schlüssel ab und warten Sie, bis alle beweglichen Teile zum Stillstand gekommen sind.
Entfernen Sie die Abdeckung des Aerifizierkopfs, siehe Entfernen der Abdeckung des Aerifizierkopfs.
Sichern Sie den Aerifizierkopf mit dem Wartungsriegel; siehe Stützen des Aerifizierkopfs mit dem Wartungsriegel..
Note: Werksseitig befindet sich ein Distanzstück an der Dämpferwelle und ein Distanzstück in der Verstauposition für jeden Stampferarm.
Note: Durch die Einstellung der Roto-Link-Dämpfer können Sie die Maschine bei voller Motordrehzahl (3400 U/min) betreiben, müssen aber möglicherweise bei niedrigeren Motordrehzahlen aerifizieren, um die Lochqualität zu verbessern.
Entfernen Sie die beiden Sicherungsbundmuttern, mit denen die Roto-Link-Dämpferwelle am hinteren Rahmen der Maschine befestigt ist (Bild 121).

Entfernen Sie das Distanzstück (falls verstaut) und die gehärteten ovalen Unterlegscheiben.
Drehen Sie das Dämpfergelenk und die Dämpferwelle nach unten (Bild 122).

Positionieren Sie das Roto-Link-Distanzstück, um die folgenden Bedingungen für die Lochbildung zu korrigieren:
Note: Jedes Distanzstück entspricht 12,7 mm. Das untere Anschlagdistanzstück muss an der Dämpferwelle montiert bleiben.
Wenn die Vorderseite der Löcher geschlitzt oder gebüschelt ist, positionieren Sie die Distanzstücke über dem hinteren Rahmen in der verstauten Position.
Wenn die Rückseite der Löcher geschlitzt oder gebüschelt ist, positionieren Sie beide Distanzstücke oberhalb des hinteren Rahmens auf beiden Seiten der Welle des Roto-Link-Dämpfers.
Drehen Sie das Dämpfergelenk und die Dämpferwelle nach oben und stecken Sie die Bolzen durch die Löcher im hinteren Rahmen der Maschine.
Befestigen Sie die Dämpferwelle und die Distanzstücke mit den gehärteten ovalen Unterlegscheiben und Sicherungsmuttern am hinteren Rahmen (Bild 123).

Ziehen Sie die Sicherungsbundmuttern auf ein Drehmoment von 47 bis 61 N∙m an.
Wiederholen Sie die Schritte 1 bis 7 an den nächsten beiden Stampferarmen.
Verstauen Sie den Wartungsriegel, siehe Verstauen des Wartungsriegels.
Montieren Sie die Abdeckung des Aerifizierkopfs, siehe Anbringen der Abdeckung des Aerifizierkopfs.
Führen Sie das Verfahren zur Kalibrierung der Bodenhöhe der Tines durch, siehe Kalibrierung der Bodenhöhe der Tines.
Bringen Sie die Maschine zu einer Probefläche und aerifizieren Sie die Grünfläche, um vergleichen Sie die Lochqualität.
Wenn sich die Lochqualität verbessert hat, wiederholen Sie die Schritte unter Vorbereiten der Maschine, Einstellen der Roto-Link Dämpfungselementeund Anbringen der Abdeckung des Aerifizierkopfs, um den Roto-Link-Dämpfer an den anderen drei Stamfperarmen einzustellen.
Parken Sie die Maschine auf einer ebenen Fläche, heben und arretieren Sie den Führungsholm, um die Feststellbremse zu aktivieren, stellen Sie den Motor ab, ziehen Sie den Schlüssel ab und warten Sie, bis alle beweglichen Teile zum Stillstand gekommen sind.
Senken Sie den Aerifizierkopf ab oder sichern Sie ihn mit dem Wartungsriegel, wenn Sie die Maschine nicht benutzen.
Halten Sie alle Teile der Maschine in gutem Betriebszustand und alle Befestigungen angezogen.
Ersetzen Sie alle abgenutzten oder fehlenden Aufkleber.
| Wartungsintervall | Wartungsmaßnahmen |
|---|---|
| Bei jeder Verwendung oder täglich |
|
Important: Verwenden Sie zur Reinigung der Maschine kein Brack- oder wiederaufbereitetes Wasser.
Important: Waschen Sie die Maschine nicht mit einem Hochdruckreiniger.
Parken Sie die Maschine auf einer ebenen Fläche, heben und arretieren Sie den Führungsholm, um die Feststellbremse zu aktivieren, stellen Sie den Motor ab, ziehen Sie den Schlüssel ab und warten Sie, bis alle beweglichen Teile zum Stillstand gekommen sind.
Waschen Sie die Maschine gründlich.
Verwenden Sie einen Gartenschlauch ohne Düse, um zu verhindern, dass Wasser hinter die Dichtungen gelangt und das Lagerfett verunreinigt.
Festgebackenes Material können Sie mit einer Bürste entfernen.
Reinigen Sie die Abdeckungen mit mildem Spülmittel.
Tragen Sie nach der Reinigung regelmäßig eine Schicht Autowachs auf, um die glänzende Oberfläche der Verkleidung zu erhalten.
Prüfen Sie die Maschine auf Defekte, Öldichtheit sowie Abnutzung von Bauteilen und Tines.
Nehmen Sie die Tines ab, reinigen sie und schmieren sie ein. Sprühen Sie die Lager des Aerifizierkopfs leicht mit Öl ein (Antriebs- und Stoßdämpferlenker).
Important: Sichern Sie den Aerifizierkopf mit dem Wartungsriegel, wenn Sie die Maschine länger als ein paar Tage abstellen.
An der Vorder- und Rückseite der Maschine befinden sich Zurrpunkte (Bild 124, Bild 125 und Bild 126).
Note: Verwenden Sie zum Vergurten der Maschine ordnungsgemäß zugelassene Gurte; das Gewicht der Maschine finden Sie unter Technische Daten .



Das Fahren der Maschine auf Straßen und Wegen ohne Blinker, Lampen, Reflektormarkierungen oder einen Aufkleber für langsame Fahrzeuge ist gefährlich und kann zu Unfällen mit Verletzungsgefahr führen.
Fahren Sie die Maschine nicht auf einer öffentlichen Straße oder einem öffentlichen Fahrweg.
Important: Verwenden Sie Rampen über die ganze Breite für das Verladen der Maschine auf einen Anhänger oder Pritschenwagen.
Laden Sie die Maschine auf einen Anhänger oder Lastwagen (nach Möglichkeit mit dem Aerifizierkopf nach vorne).
Heben und arretieren Sie den Lenker, um die Feststellbremse zu aktivieren, stellen Sie den Motor ab, ziehen Sie den Schlüssel ab und warten Sie, bis alle beweglichen Teile zum Stillstand gekommen sind.
Sichern Sie den Aerifizierkopf mit dem Wartungsriegel; siehe Stützen des Aerifizierkopfs mit dem Wartungsriegel..
Schließen Sie den Kraftstoffhahn; siehe Kraftstoffhahn.
Sichern Sie die Maschine an den Zurrpunkten mit Seilen, Ketten oder Gurten auf dem Anhänger oder LKW, siehe Zurrpunkte.
| Gewicht | 745 kg oder 829 kg mit zwei optionalen Ballasten |
| Breite | 130 cm, Minimum |
| Länge | 267 cm, Minimum |
| Rampenwinkel | Neigung von höchstens 3,5/12 (16°) |
| Laderichtung | Aerifizierkopf nach vorne (empfohlen) |
| Fahrzeugschleppkapazität | Höher als Bruttoanhängergewicht |
Note: Laden Sie ein kostenfreies Exemplar des elektrischen oder hydraulischen Schaltbilds von www.Toro.com herunter und suchen Sie Ihre Maschine vom Link für die Bedienungsanleitungen auf der Homepage.
Note: Weitere Informationen zu Wartungsarbeiten finden Sie in der Motorbedienungsanleitung.
Note: Bestimmen Sie die linke und rechte Seite der Maschine anhand der normalen Sitz- und Bedienposition.
Parken Sie die Maschine auf einer ebenen Fläche, heben und arretieren Sie den Führungsholm, um die Feststellbremse zu aktivieren, stellen Sie den Motor ab, ziehen Sie den Schlüssel ab und warten Sie, bis alle beweglichen Teile zum Stillstand gekommen sind. Lassen die Maschine abkühlen, bevor Sie sie einstellen, warten, reinigen, oder einlagern.
Führen Sie nur die in dieser Anleitung beschriebenen Wartungsarbeiten durch. Wenden Sie sich für große Reparaturen der Maschine oder Unterstützung an ihren offiziellen Toro Vertragshändler.
Stellen Sie sicher, dass sich die Maschine jederzeit in einem einwandfreien Betriebszustand befindet, indem Sie Muttern und Schrauben festgezogen halten.
Führen Sie Wartungsarbeiten möglichst nicht bei laufendem Motor durch. Fassen Sie keine beweglichen Teile an.
Lassen Sie den Druck aus Maschinenteilen mit gespeicherter Energie vorsichtig ab.
Prüfen Sie die Befestigungsschrauben der Tines täglich, um sicherzustellen, dass sie richtig angezogen sind.
Stellen Sie nach der Wartung oder Einstellung der Maschine sicher, dass alle Schutzvorrichtungen montiert sind und die Motorhaube geschlossen ist.
| Wartungsintervall | Wartungsmaßnahmen |
|---|---|
| Nach acht Betriebsstunden |
|
| Nach 50 Betriebsstunden |
|
| Bei jeder Verwendung oder täglich |
|
| Alle 25 Betriebsstunden |
|
| Alle 50 Betriebsstunden |
|
| Alle 100 Betriebsstunden |
|
| Alle 200 Betriebsstunden |
|
| Alle 250 Betriebsstunden |
|
| Alle 400 Betriebsstunden |
|
| Alle 500 Betriebsstunden |
|
| Vor der Einlagerung |
|
| Jährlich |
|
Important: Weitere Informationen zu Wartungsarbeiten finden Sie in der Motorbedienungsanleitung.
Kopieren Sie diese Seite für regelmäßige Verwendung.
| Wartungsprüfpunkt | Für KW: | ||||||
|---|---|---|---|---|---|---|---|
| Mo | Di | Mi | Do | Fr | Sa | So | |
| Prüfen Sie die Funktion der Sicherheitsschalter. | |||||||
| Prüfen Sie die Funktion der Feststellbremse. | |||||||
| Prüfen Sie den Motorölstand. | |||||||
| Prüfen Sie den Kraftstoffstand. | |||||||
| Überprüfen Sie den Luftfilter. | |||||||
| Prüfen Sie den Motor auf Fremdkörper. | |||||||
| Stellen Sie fest, ob der Motor abnormale Geräusche von sich gibt. | |||||||
| Achten Sie auf ungewöhnliche Betriebsgeräusche. | |||||||
| Prüfen Sie den Stand des Hydrauliköls. | |||||||
| Prüfen Sie die Hydraulikschläuche auf Defekte. | |||||||
| Prüfen Sie die Dichtheit. | |||||||
| Prüfen Sie die Funktion der Instrumente. | |||||||
| Prüfen Sie den Zustand der Tines. | |||||||
| Bessern Sie alle Lackschäden aus. | |||||||
Important: Weitere Informationen zu Wartungsarbeiten finden Sie in der Motorbedienungsanleitung.
| Inspiziert durch: | ||
| Punkt | Datum | Informationen |
| 1 | ||
| 2 | ||
| 3 | ||
| 4 | ||
| 5 | ||
| 6 | ||
| 7 | ||
| 8 | ||
Wenn Sie den Zündschlüssel im Zündschalter stecken lassen, könnte eine andere Person den Motor versehentlich anlassen und Sie und Unbeteiligte schwer verletzen.
Parken Sie die Maschine auf einer ebenen Fläche, heben und arretieren Sie den Führungsholm, um die Feststellbremse zu aktivieren, stellen Sie den Motor ab, ziehen Sie den Schlüssel ab und warten Sie, bis alle beweglichen Teile zum Stillstand gekommen sind.
Important: Die Befestigungen an den Abdeckungen dieser Maschine bleiben nach dem Entfernen an der Abdeckung. Lösen Sie alle Befestigungen an jeder Abdeckung um ein paar Umdrehungen, sodass die Abdeckungen lose aber noch verbunden sind; lösen Sie dann alle Befestigungen, bis die Abdeckung nicht mehr befestigt ist. Dies verhindert, dass die Schrauben aus Versehen aus den Haltern herausgeschraubt werden.
Stellen Sie das Fahrzeug auf einer ebenen Fläche ab.
Heben Sie den Lenker vollständig an und arretieren Sie ihn, um die Feststellbremse zu aktivieren, siehe Aktivieren der Feststellbremse.
Stellen Sie vor dem Verlassen der Maschine den Motor ab, ziehen Sie den Schlüssel ab und warten Sie, bis alle Bewegungen zum Stillstand gekommen sind, siehe Abstellen des Motors.
Lassen Sie die Maschine abkühlen.
Wenn die Maschine nicht richtig mit Blöcken Achsständern abgestützt ist, kann sie sich bewegen oder umfallen und Verletzungen verursachen.
Verwenden Sie beim Wechseln von Anbaugeräten, Reifen oder Ausführen anderer Wartungsarbeiten die richtigen Blöcke, Flaschenzüge und Wagenheber.
Stellen Sie sicher, dass die Maschine auf einer festen, ebenen Fläche, z. B. einem Betonboden, abgestellt ist.
Nehmen Sie vor dem Anheben der Maschine alle Anbaugeräte ab, die beim sicheren und richtigen Anheben der Maschine im Weg sein könnten.
Blockieren Sie die Räder. Stützen Sie die Maschine mit Achsständern oder Holzblöcke ab.
Bereiten Sie die Maschine für die Wartung vor; siehe Vorbereiten des Fahrzeugs für die Wartung.
Blockieren Sie den Hinterreifen, um ein Bewegen der Maschine zu vermeiden.
Important: Verwenden Sie den vorderen Radmotor nichtals Hebestelle, um eine Beschädigung des Radmotors zu vermeiden.
Stellen Sie den Wagenheber sicher unter den Tragarm des Vorderrads (Bild 127).

Bocken Sie die Maschine vorne auf.
Stellen Sie die Achsständer oder Holzblöcke vorne unter den Rahmen, um die Maschine abzustützen.
Bereiten Sie die Maschine für die Wartung vor; siehe Vorbereiten des Fahrzeugs für die Wartung.
Blockieren Sie den Vorderreifen, um ein Bewegen der Maschine zu vermeiden.
Important: Verwenden Sie den hinteren Radmotor nichtals Stützpunkt, um eine Beschädigung des Radmotors zu vermeiden.
Stellen Sie den Ständer sicher unter die Rahmenplatte, sodass er sich gerade innen im Hinterrad befindet (Bild 128).

Note: Wenn möglich, verwenden Sie Hebezeug, um die Rückseite der Maschine anzuheben. Verwenden Sie die Ösen in den Lagergehäusen des Aerifizierkopfs als Anschlagpunkte für Hebezeuge (Bild 129).

Bocken Sie die Maschine hinten auf oder heben Sie sie an.
Stellen Sie die Achsständer oder Holzblöcke unter den Rahmen, um die Maschine abzustützen.
Richten Sie die Halterung der Riemenabdeckung an der Abdeckungshalterung am Maschinenrahmen aus (Bild 133).

Senken Sie die Riemenabdeckung ab (Bild 134).

Senken Sie den Verriegelungsgriff vollständig ab, um die Abdeckung zu sichern (Bild 135).

Wenn Ihre Maschine mit einem CE-Gurtschloss der Riemenabdeckung ausgestattet ist, setzen Sie die Schraube des Gurtschlosses in das Loch des Schlosses ein und ziehen Sie die Schraube fest (Bild 136).


Wenn Ihre Maschine mit CE-Riegelhaken ausgestattet ist, lösen Sie die Schraube der Sicherungsplatte, bis die Sicherungsplatte den Schlitz an der Seite der Abdeckung des Aerifizierkopfs freigibt (Bild 138).

Drehen Sie die Sicherungsplatte, um den Riegel freizugeben (Bild 138).
Wiederholen Sie 1 und 2 auf der anderen Seite der Abdeckung.
Entriegeln Sie die Abdeckung des Aerifizierkopfs an den vier Verriegelungspunkten (Bild 137 und Bild 139).

Heben Sie die Abdeckung des Aerifizierkopfs von der Maschine ab (Bild 140).

Richten Sie die Abdeckung des Aerifizierkopfs, wie in Bild 141 dargestellt, an der Maschine aus.

Verriegeln Sie die Abdeckung des Aerifizierkopfs an den vier Verriegelungspunkten (Bild 142).
Wenn Ihre Maschine mit CE-Riegelhaken ausgestattet ist, drehen Sie die Sicherungsplatte, bis sie mit dem Schlitz an der Seite der Abdeckung des Aerifizierkopfs fluchtet (Bild 143).



Ziehen Sie die Schraube der Sicherungsplatte an (Bild 143).
Wiederholen Sie die Schritte 3 und 4 auf der anderen Seite der Abdeckung.
| Wartungsintervall | Wartungsmaßnahmen |
|---|---|
| Alle 500 Betriebsstunden |
|
| Jährlich |
|
Der Aerifizierer hat keine Schmiernippel, die eingefettet werden müssen.
Important: Lager fallen fast nie aufgrund von Material- oder Verarbeitungsfehlern aus. Der Ausfall ist meistens auf Feuchtigkeit und Verunreinigung zurückzuführen, die durch die Dichtungen eingedrungen sind. Lager, die eingefettet sind, müssen regelmäßig gewartet werden, um schädliche Rückstände aus dem Lagerbereich zu entfernen. Abgedichtete Lager verlassen sich auf das anfänglich eingefüllte Spezialschmiermittel und eine robuste interne Dichtung, mit denen Verunreinigungen und Feuchtigkeit von den Rollelementen ferngehalten werden.
Die abgedichteten Lager müssen nicht geschmiert oder kurzfristig gewartet werden. Dies verringert die erforderlichen Routinewartungsarbeiten und das Potenzial für eine Beschädigung der Grünfläche aufgrund von Schmiermittelkontamination. Diese abgedichteten Lager weisen unter normalen Einsatzbedingungen eine gute Leistung und lange Haltbarkeit auf. Sie sollten jedoch den Zustand der Lager und die Integrität der Dichtungen regelmäßig prüfen, um Ausfallzeiten zu vermeiden. Prüfen Sie die Lager regelmäßig und ersetzen Sie beschädigte oder abgenutzte. Lager sollten gleichmäßig laufen, ohne negative Merkmale, wie z. B. Wärmeentwicklung, Geräusche, Lockerung oder Rostaustritt.
Aufgrund der Einsatzbedingungen, denen diese Lager bzw. Dichtungen ausgesetzt sind, (z. B. Sand, Rasenchemikalien, Wasser, Aufpralle usw.) werden diese Teile als normale Abnutzungsteile angesehen. Lager, die aus einem anderen Grund, außer Material und Verarbeitungsschäden, ausfallen, sind normalerweise nicht von der Garantie abgedeckt.
Note: Sie können die Funktionsfähigkeit der Lager beeinträchtigen, wenn Sie die Maschine nicht sachgemäß waschen. Waschen Sie die Maschine nicht, wenn sie heiß ist, und vermeiden Sie einen direkten Kontakt der Lager mit Druckluftreinigern.
Bei einer neuen Maschine ist es normal, dass an den neuen Lagern etwas Fett an den Dichtungen austritt. Dieses ausgetretene Fett wird aufgrund von Verschmutzungen und nicht übermäßiger Hitze schwarz. Sie sollten das überschüssige Fett nach den ersten acht Stunden von den Dichtungen abwischen. Um die Dichtungslippe scheint immer ein nasser Bereich zu sein. Dies hat im Allgemeinen keine Auswirkung auf die Nutzungsdauer des Lagers und hält die Dichtungslippe geschmiert.
Stellen Sie den Motor grundsätzlich vor dem Prüfen des Ölstands oder Auffüllen des Kurbelgehäuses mit Öl ab.
Ändern Sie nicht die Geschwindigkeit des Drehzahlreglers und überdrehen Sie den Motor.
| Wartungsintervall | Wartungsmaßnahmen |
|---|---|
| Alle 25 Betriebsstunden |
|
| Alle 100 Betriebsstunden |
|
Bereiten Sie die Maschine für die Wartung vor, siehe Vorbereiten des Fahrzeugs für die Wartung.
Reinigen Sie den Bereich um den Luftfilter, um zu verhindern, dass Schmutz in den Motor gelangt und Schäden verursacht.
Schrauben Sie das Handrad ab und entfernen Sie die Luftfilterabdeckung (Bild 144).

Schieben Sie den Schaumvorfilter vorsichtig vom Papiereinsatz herunter (Bild 144).
Schrauben Sie die Abdeckungsmutter ab und nehmen Sie die Abdeckung und den Papiereinsatz ab (Bild 144).
Important: Tauschen Sie den Schaumeinsatz aus, wenn er beschädigt oder angerissen ist.
Waschen Sie den Schaumvorfilter mit Flüssigseife und warmem Wasser. Spülen Sie den sauberen Filter gründlich ab.
Drücken Sie den Vorfilter zum Trocknen in einem sauberen Lappen aus (nicht wringen).
Tragen Sie 3 bis 6 cl des Öls auf den Vorfilter auf (Bild 145).

Drücken Sie den Vorfilter, um das Öl zu verteilen.
Untersuchen Sie den Papierfilter auf Risse, einen öligen Film und Schäden an der Gummidichtung (Bild 146).

Important: Reinigen Sie den Papiereinsatz nie. Ersetzen Sie den Papiereinsatz, wenn er schmutzig oder beschädigt ist.
Important: Lassen Sie den Motor zur Vermeidung von Motorschäden nie ohne eingesetzten Schaum- und Papierluftfilter laufen.
Schieben Sie den Schaumvorfilter vorsichtig auf den Papierfilter (Bild 147).

Setzen Sie die Luftfilterbaugruppe auf das Luftfilterunterteil.
Montieren Sie den Abdeckung, das Distanzstück und die Abdeckungsmutter.
Ziehen Sie die Mutter auf 11 N∙m an.
Bringen Sie die Luftfilterabdeckung an und befestigen Sie diese mit dem Knopf
Ölsorte: Hochwertiges waschaktives Motoröl, API-Klassifikation SJ oder hochwertiger.
Ölviskosität: Beachten Sie die nachfolgende Tabelle:

| Wartungsintervall | Wartungsmaßnahmen |
|---|---|
| Bei jeder Verwendung oder täglich |
|
Werkseitig wird Öl in das Kurbelgehäuse des Motors gefüllt. Prüfen Sie jedoch den Ölstand vor und nach dem ersten Anlassen des Motors.
Verwenden Sie eine Qualitätsölsorte, wie in Motorölsortebeschrieben.
Important: Füllen Sie nicht zu viel Motoröl in das Kurbelgehäuse ein.Lassen Sie den Motor nicht laufen, wenn der Motorölstand unter der unteren Markierung liegt.
Note: Der Stand des Motoröls sollte am besten bei kaltem Motor vor dem täglichen Anlassen geprüft werden. Wenn der Motor gelaufen ist, lassen Sie das Öl für 10 Minuten in die Wanne zurücklaufen, bevor Sie den Ölstand prüfen.
Bereiten Sie die Maschine für die Wartung vor, siehe Vorbereiten des Fahrzeugs für die Wartung.
Lassen Sie den Motor abkühlen.
Reinigen Sie den Bereich um den Öleinfüllstutzendeckel und den Peilstab (Bild 149).

Nehmen Sie den Peilstab heraus und wischen Sie ihn ab. Stecken Sie ihn dann wieder vollständig ein.
Nehmen Sie den Peilstab heraus und prüfen Sie den Ölstand.
Der Füllstand des Motoröls sollte sich zwischen den beiden Markierungen F“ (Voll) und L“ (Niedrig) am Peilstab befinden.
Wenn der Ölfüllstand unter der L“-Markierung liegt, nehmen Sie den Deckel der Öleinfüllöffnung ab und gießen Sie genug Öl ein, um den Ölfüllstand bis zur F“ Voll-Markierung am Peilstab anzuheben.
Setzen Sie den Öleinfüllstutzendeckel und den Peilstab ein.
| Wartungsintervall | Wartungsmaßnahmen |
|---|---|
| Nach 50 Betriebsstunden |
|
| Alle 100 Betriebsstunden |
|
Fassungsvermögen des Kurbelgehäuses: ca. 1,9 l (mit Filter).
Lassen Sie den Motor an und lassen Sie ihn fünf Minuten lang laufen. Dadurch wird das Öl erwärmt und läuft besser ab.
Stellen Sie die Maschine so ab, dass die Ablassseite etwas tiefer liegt als die gegenüberliegende Seite, um sicherzustellen, dass das Öl vollständig abläuft. Stellen Sie den Motor ab, heben Sie den Lenker vollständig an und verriegeln Sie ihn, um die Feststellbremse zu aktivieren und ziehen Sie den Schlüssel ab.
Stellen Sie eine Auffangwanne unter die Ölablassschraube und entfernen Sie die Schraube (Bild 150).
Note: Lassen Sie das Öl vollständig ablaufen.

Schrauben Sie die Ölablassschraube in den Motor und ziehen Sie diese fest.
Note: Entsorgen das Altöl bei einem zugelassenen Recyclingcenter.
Stellen Sie eine Auffangwanne unter den Filter und entfernen Sie den Filter (Bild 150).
Note: Entsorgen den gebrauchten Ölfilter bei einem zugelassenen Recyclingcenter.
Wischen Sie die Kontaktfläche des Filteradapters sauber.
Füllen Sie den neuen Ölfilter bis zum Boden des Gewindes mit dem angegebenen Öl.
Lassen Sie den Filter das Öl zwei Minuten lang aufsaugen und gießen Sie dann das überschüssige Öl ab.
Ölen Sie die Dichtung am Ersatzfilter leicht mit frischem Öl ein.
Schrauben Sie den Ölfilter in den Filteradapter ein, bis die Dichtung den Filteradapter berührt (Bild 150). Ziehen Sie dann den Filter um eine weitere halbe Umdrehung fester.

Reinigen Sie den Bereich um den Öleinfüllstutzendeckel und den Peilstab (Bild 152).

Entfernen Sie den Ölfülldeckel und gießen Sie ungefähr 80 % der angegebenen Ölmenge langsam in die Ventilabdeckung hinein.
Gießen Sie langsam weiteres Öl ein, um den Ölfüllstand an die F“ (Voll)-Markierung am Peilstab anzuheben, siehe Motorölsorte und Prüfen des Motorölstands.
Important: Füllen Sie nicht zu viel Motoröl in das Kurbelgehäuse ein.
Setzen Sie den Öleinfüllstutzendeckel und den Peilstab ein.
| Wartungsintervall | Wartungsmaßnahmen |
|---|---|
| Alle 200 Betriebsstunden |
|
Bereiten Sie die Maschine für die Wartung vor, siehe Vorbereiten des Fahrzeugs für die Wartung.
Ziehen Sie die Kabel von den Zündkerzen ab (Bild 153).

Reinigen Sie den Bereich um die Zündkerzen herum.
Verwenden Sie einen Zündkerzenschlüssel, um beide Zündkerzen und Metalldichtungen zu entfernen.
Zündkerzentyp: Champion RC12YC oder gleichwertig
Elektrodenabstand: 0,75 mm
Sehen Sie sich die Mitte der Zündkerzen an (Bild 154). Wenn der Kerzenstein hellbraun oder grau ist, ist der Motor richtig eingestellt. Eine schwarze Schicht am Kerzenstein weist normalerweise auf einen schmutzigen Luftfilter hin.
Important: Reinigen Sie die Zündkerzen nie. Tauschen Sie die Zündkerzen immer aus, wenn sie eine schwarze Beschichtung, abgenutzte Elektroden, einen öligen Film oder Sprünge aufweisen.

Prüfen Sie den Abstand zwischen der mittleren und den seitlichen Elektroden.
Biegen Sie die seitliche Elektrode zurecht, wenn der Abstand nicht stimmt.
Achten Sie darauf, dass der Abstand zwischen der mittleren und der seitlichen Elektrode korrekt ist, bevor Sie die einzelnen Kerzen eindrehen. Verwenden Sie für den Aus- und Einbau der Zündkerze einen Zündkerzenschlüssel und für das Prüfen und Einstellen des Elektrodenabstands eine Fühlerlehre. Setzen Sie bei Bedarf neue Zündkerzen ein.
Schrauben Sie die Zündkerzen in die Zündkerzenlöcher des Motors.
Verwenden Sie einen Zündkerzenstecker und einen Drehmomentschlüssel, um die Zündkerzen auf ein Drehmoment von 27 N∙m anzuziehen.
Stecken Sie die Zündkerzenstecker auf die Zündkerzen (Bild 155).

| Wartungsintervall | Wartungsmaßnahmen |
|---|---|
| Bei jeder Verwendung oder täglich |
|
Prüfen und reinigen Sie das Motorgitter vor der Verwendung. Entfernen Sie Schnittgut, Schmutz und andere Rückstände vom Ansauggitter des Motors.
Unter gewissen Bedingungen sind Kraftstoff und -dünste äußerst brennbar und explosiv. Feuer und Explosionen durch Kraftstoff können Sie und Unbeteiligte verletzen und Sachschäden verursachen.
Betanken Sie die Maschine nur im Freien, wenn der Motor abgeschaltet und kalt ist. Wischen Sie verschütteten Kraftstoff auf.
Befüllen Sie den Kraftstofftank nicht ganz auf. Tanken Sie nur bis zu einer Höhe von 25 mm unterhalb der Unterseite des Füllstutzens. Der verbleibende Raum im Tank ist für die Ausdehnung des Kraftstoffes erforderlich.
Rauchen Sie nie beim Umgang mit Kraftstoff und halten einen Abstand zu offenen Flammen und Bereichen, in denen Kraftstoffdämpfe durch Funken entzündet werden könnten.
Lagern Sie Kraftstoff in einem sauberen, zulässigen Kanister und halten den Deckel aufgeschraubt.
| Wartungsintervall | Wartungsmaßnahmen |
|---|---|
| Alle 100 Betriebsstunden |
|
Important: Bringen Sie niemals einen schmutzigen Filter wieder an, nachdem Sie ihn von der Kraftstoffleitung entfernt haben.
Bereiten Sie die Maschine für die Wartung vor, siehe Vorbereiten des Fahrzeugs für die Wartung.
Schließen Sie den Kraftstoffhahn (Bild 156).


Drücken Sie die Enden der Schlauchklemmen zusammen und schieben Sie sie vom Filter weg.
Nehmen Sie den Filter von den Kraftstoffschläuchen ab.
Richten Sie den Kraftstofffilter so aus, dass der Pfeil zum Motor zeigt, und setzen Sie den Kraftstoffschlauch auf die Filteranschlüsse.
Bringen Sie die Schlauchklemme in der Nähe des Kraftstofffilters an und ziehen Sie die Klemme fest.
Wischen Sie verschütteten Kraftstoff auf.
Öffnen Sie den Kraftstoffhahn.
Unter bestimmten Bedingungen ist Kraftstoff extrem leicht entflammbar und hochexplosiv. Feuer und Explosionen durch Kraftstoff können Verbrennungen und Sachschäden verursachen.
Lassen Sie den Kraftstoff aus dem Kraftstofftank ab, wenn der Motor kalt ist. Tun Sie das im Freien auf einem freien Platz. Wischen Sie verschütteten Kraftstoff auf.
Rauchen Sie beim Ablassen von Kraftstoff nie und halten diesen von offenen Flammen und aus Bereichen fern, in denen Benzindämpfe durch Funken entzündet werden könnten.
Bereiten Sie die Maschine für die Wartung vor, siehe Vorbereiten des Fahrzeugs für die Wartung.
Schließen Sie den Kraftstoffhahn (Bild 157).


Lockern Sie die Schlauchklemme am Kraftstofffilter und schieben Sie sie entlang der Kraftstoffleitung vom Kraftstofffilter weg.
Ziehen Sie die Kraftstoffleitung vom Kraftstofffilter ab.
Öffnen Sie den Kraftstoffhahn und lassen den Kraftstoff in einen Kanister oder eine Auffangwanne ablaufen.
Note: Jetzt ist der beste Zeitpunkt für das Einsetzen eines neuen Kraftstofffilters, weil der Kraftstofftank leer ist.
Montieren Sie den Kraftstoffschlauch über den Filteranschluss.
Bringen Sie die Schlauchschelle in der Nähe des Kraftstofffilters an und ziehen Sie die Schelle fest.
Klemmen Sie vor dem Durchführen von Reparaturen an der Maschine die Batterie ab. Klemmen Sie immer zuerst die Minusklemme und dann die Plusklemme ab. Schließen Sie immer zuerst den Pluspol und dann den Minuspol an.
Laden Sie die Batterie in offenen, gut gelüfteten Bereichen und nicht in der Nähe von Funken und offenem Feuer. Stecken Sie das Ladegerät aus, ehe Sie die Batterie anschließen oder abklemmen.
Tragen Sie Schutzkleidung und verwenden Sie isoliertes Werkzeug.
| Wartungsintervall | Wartungsmaßnahmen |
|---|---|
| Jährlich |
|
Halten Sie die Oberseite der Batterie sauber.
Entriegeln und öffnen Sie die Klappe des Batteriefachs (Bild 158).

Reinigen Sie die Oberseite der Batterie mit einer in Ammoniak oder Natronlauge getauchten Bürste.
Important: Entfernen Sie während der Reinigung die Verschlussdeckel nicht.
Spülen Sie die Oberfläche der Batterie und des Batteriefachs gründlich mit sauberem Wasser ab.
Schließen und verriegeln Sie die Klappe des Batteriefachs.
| Wartungsintervall | Wartungsmaßnahmen |
|---|---|
| Jährlich |
|
Batteriepole und Metallwerkzeuge können an metallischen Traktorteilen Kurzschlüsse verursachen und Funken erzeugen. Funken können zum Explodieren der Batteriegase führen, was Verletzungen zur Folge haben kann.
Vermeiden Sie, wenn Sie eine Batterie ein- oder ausbauen, dass die Batteriepole mit metallischen Maschinenteilen in Berührung kommen.
Vermeiden Sie Kurzschlüsse zwischen metallischen Werkzeugen, den Batteriepolen und metallischen Maschinenteilen.
Das unsachgemäße Verlegen der Batteriekabel kann zu Schäden an der Maschine führen, und die Kabel können Funken erzeugen. Funken können zum Explodieren der Batteriegase führen, was Verletzungen zur Folge haben kann.
Klemmen Sie immer das Minuskabel (schwarz) ab, bevor Sie das Pluskabel (rot) abklemmen.
Klemmen Sie immer zuerst das (rote) Pluskabel an, bevor Sie das (schwarze) Minuskabel anklemmen.
Entriegeln und öffnen Sie die Klappe des Batteriefachs (Bild 159).

Stellen Sie sicher, dass die Batterieklemmen sicher sitzen.
Ziehen Sie die Schrauben loser Batterieklemmen fest.
Prüfen Sie die Batterieklemmen und Batteriepole auf Korrosion.
Wenn die Klemmen korrodiert sind, das Minuskabel der Batterie entfernen.
Dann das Pluskabel der Batterie abklemmen.
Reinigen Sie die Kabelklemmen und Batteriepole.
Schließen Sie das Pluskabel der Batterie an.
Schließen Sie das Minuskabel der Batterie an.
Überziehen Sie die Batterieklemmen und -pole mit Grafo 112X-Schmierfett (Toro-Teilenummer 505-47).
Schließen und verriegeln Sie die Klappe des Batteriefachs.
Die elektrische Anlage wird durch Sicherungen geschützt. Wenn eine Sicherung auslöst, prüfen Sie das Bauteil und die Verdrahtung auf einen Kurzschluss zu Erde.
Entriegeln und öffnen Sie die Klappe des Batteriefachs (Bild 160).

Nehmen Sie die Abdeckung vom Sicherungskasten ab (Bild 161).
Note: Die Sicherung des Gebläses befindet sich in der Leitung hinter der Batterie (Bild 162).


Entfernen Sie die defekte Sicherung.
Setzen Sie eine neue Sicherung mit der auf dem Aufkleber am Sicherungskasten angegebenen Amperezahl ein.
Bringen Sie die Abdeckung auf den Sicherungskasten an (oder auf die Leitungssicherung des Gebläses).
Schließen und verriegeln Sie die Klappe des Batteriefachs.
| Wartungsintervall | Wartungsmaßnahmen |
|---|---|
| Alle 50 Betriebsstunden |
|
Bereiten Sie die Maschine für die Wartung vor, siehe Vorbereiten des Fahrzeugs für die Wartung.
Prüfen Sie, ob der Reifendruck in allen Reifen 0,83 bar ist. Prüfen Sie den Reifendruck am kalten Reifen, um einen möglichst genauen Wert zu erhalten.
Important: Ein unterschiedlicher Reifendruck kann zu einer ungleichmäßigen Aerifiziertiefe führen.

Das Radgewicht ist sehr schwer, 33 kg.
Passen Sie beim Entfernen des Gewichts von den Reifen auf.
| Wartungsintervall | Wartungsmaßnahmen |
|---|---|
| Jährlich |
|
Die Antriebsriemen der Maschine sind langlebig. Da die Riemen jedoch UV-Strahlung, Ozon oder versehentlich Chemikalien ausgesetzt sind, kann das Gummi im Laufe der Zeit beschädigt werden und zu einem Abnutzen oder einem Materialverlust (z. B. Ausbrechen oder fehlenden Riemenlagen) führen.
Entfernen Sie die Riemenabdeckungen, siehe Entfernen der Riemenabdeckung.
Untersuchen Sie die Riemen der Hydraulikpumpe, der Hubwelle und der Kurbelwelle (Bild 164) auf Schäden, Verschleiß, übermäßige Risse oder große eingedrückte Fremdkörper.
Note: Ersetzen Sie den/die Riemen bei Bedarf.

Setzen Sie die Riemenabdeckung auf, siehe Einbauen der Riemenabdeckung.
| Wartungsintervall | Wartungsmaßnahmen |
|---|---|
| Nach acht Betriebsstunden |
|
Bereiten Sie die Maschine für die Wartung vor, siehe Vorbereiten des Fahrzeugs für die Wartung.
Entfernen Sie die Riemenabdeckungen, siehe Entfernen der Riemenabdeckung.
Lösen Sie die Bundkopfschraube und die Sicherungsbundmutter, mit der die Spanscheibe der Hydraulikpumpe befestigt ist, bis sich die Schraube im Schlitz der Spannscheibenstütze bewegt (Bild 165).


Klopfen Sie oben auf die Spannscheibe und lassen Sie die Spannungsfeder die Riemenspannung einstellen.
Important: Spannen Sie den Riemen nicht stärker, als es die Spannfeder zulässt, da dies zu Schäden an den Bauteilen führen kann.
Ziehen Sie die Bundkopfschrauben und Sicherungsbundmuttern bis auf ein Drehmoment von 37 bis 45 N∙m an.
Setzen Sie die Riemenabdeckung auf, siehe Einbauen der Riemenabdeckung.
Suchen Sie beim Einspritzen unter die Haut sofort einen Arzt auf. In die Haut eingedrungene Flüssigkeit muss sie innerhalb weniger Stunden von einem Arzt entfernt werden.
Stellen Sie sicher, dass alle Hydraulikschläuche und -leitungen in gutem Zustand sind, und dass alle Hydraulikverbindungen und -anschlussstücke fest angezogen sind, bevor Sie die Hydraulikanlage unter Druck setzen.
Halten Sie Ihren Körper und Ihre Hände von Nadellöchern und Düsen fern, aus denen Hydrauliköl unter hohem Druck ausgestoßen wird.
Gehen Sie hydraulischen Undichtheiten nur mit Pappe oder Papier nach.
Lassen Sie den Druck in der Hydraulikanlage auf eine sichere Art und Weise ab, bevor Sie irgendwelche Arbeiten an der Anlage durchführen.
Stützen Sie den Aerifizierkopf mit dem Wartungsriegel ab, siehe Stützen des Aerifizierkopfs mit dem Wartungsriegel..
Stellen Sie den Motor ab.
Stellen Sie den Zündschalter in die RUN-Stellung.
Rufen Sie im InfoCenter das MAIN MENU [Hauptmenü] auf.
Drücken Sie die Taste nach unten“, bis die Option SERVICE ausgewählt ist, und drücken Sie dann die Auswahltaste (Bild 166).

Note: Der Aerifizierkopf senkt sich ab, bis er vollständig vom Wartungsriegel abgestützt wird.
Drücken Sie die Taste nach unten“, bis die Option SERVICE LOWER [Absenken aus Wartungsstellung] ausgewählt ist, und drücken Sie dann die Auswahltaste (Bild 167).

Stellen Sie den Zündschlüssel in die STOP-Stellung.
Note: Starten Sie den Motor und lassen Sie ihn laufen, um den Aerifizierkopf hydraulisch anzuheben, damit Sie den Wartungsriegel verstauen können, siehe Verstauen des Wartungsriegels.
| Wartungsintervall | Wartungsmaßnahmen |
|---|---|
| Bei jeder Verwendung oder täglich |
|
Prüfen vor jeder Verwendung die Hydraulikschläuche und -leitungen auf Dichtheit, lockere Anschlussstücke, Knicke, lockere Halteteile, Verschleiß, witterungsbedingten oder chemischen Verschleiß. Ersetzen Sie verschlissene oder beschädigte Hydraulikleitungen, bevor Sie die Maschine in Betrieb nehmen.
Note: Halten Sie die Bereiche um die Hydraulikanlage frei von Schmutzablagerungen.
Der Behälter wird im Werk mit hochwertigem Hydrauliköl gefüllt. Prüfen Sie den Stand des Hydrauliköls vor dem ersten Anlassen des Motors und dann täglich; siehe Prüfen des Motorölstands.
Empfohlenes Hydrauliköl: Toro PX Extended Life Hydraulic Fluid; erhältlich in 19-l-Eimern oder 208-l-Fässern.
Note: An einer Maschine, die mit dem empfohlenen Ersatzhydrauliköl befüllt wird, muss weniger häufig ein Öl- oder Filterwechsel durchgeführt werden.
Ersatzölsorten: Wenn das Toro PX Extended Life Hydraulic Fluid nicht erhältlich ist, können Sie andere handelsübliche, auf Erdöl basierende, Hydraulikflüssigkeiten verwenden, dessen Spezifikationen für alle folgenden Materialeigenschaften im aufgeführten Bereich liegen und die Industrienormen erfüllen. Kein synthetisches Öl verwenden. Wenden Sie sich an den Ölhändler, um einen entsprechenden Ersatz zu finden.
Note: Toro haftet nicht für Schäden, die aus einer unsachgemäßen Substitution entstehen. Verwenden Sie also nur Erzeugnisse namhafter Hersteller, die für die Qualität ihrer Produkte garantieren.
| Materialeigenschaften: | ||
| Viskosität, ASTM D445 | cSt @ 40 °C, 44 bis 48 | |
| Viskositätsindex ASTM D2270 | 140 oder höher | |
| Stockpunkt, ASTM D97 | -34 °C bis -45 °C | |
| Branchenspezifikationen: | Eaton Vickers 694 (I-286-S, M-2950-S/35VQ25 oder M-2952-S) | |
Note: Viele Hydraulikölsorten sind fast farblos, was das Erkennen von undichten Stellen erschwert. Als Beimischmittel für das Hydrauliköl können Sie ein rotes Färbmittel in 20-ml-Flaschen kaufen. Eine Flasche reicht für 15-22 l Hydrauliköl. Sie können es unter der Teilenummer 44-2500 über Ihren Toro-Vertragshändler beziehen.
Important: Das synthetische und biologisch abbaubare Hydrauliköl Toro Premium ist das einzige von Toro zugelassene synthetische biologisch abbaubare Hydrauliköl. Dieses Öl ist mit den Elastomeren kompatibel, die in den Hydraulikanlagen von Toro verwendet werden, und eignet sich für viele Klimata. Dieses Öl ist mit konventionellen Mineralölen kompatibel. Sie sollten die Hydraulikanlage jedoch gründlich spülen, um das konventionelle Öl zu entfernen, um die beste biologische Abbaubarkeit und Leistung zu erhalten. Das Öl ist in Behältern mit 19 L oder Fässern mit 208 L bei Ihrem Toro-Vertragshändler erhältlich.
| Wartungsintervall | Wartungsmaßnahmen |
|---|---|
| Bei jeder Verwendung oder täglich |
|
Important: Überprüfen Sie bei angehobenem Aerifizierkopf vor dem ersten Start des Motors und danach täglich den Hydraulikölstand.
Der Hydraulikölbehälter wird im Werk mit hochwertigem Hydrauliköl gefüllt.
Bereiten Sie die Maschine für die Wartung vor, siehe Vorbereiten des Fahrzeugs für die Wartung.
Entfernen Sie die Riemenabdeckungen, siehe Entfernen der Riemenabdeckung.
Reinigen Sie den Bereich um den Einfüllstutzen und den Deckel des Hydraulikbehälters (Bild 168). Drehen Sie den Deckel vom Einfüllstutzen ab.

Entfernen Sie den Peilstab aus dem Füllstutzen und wischen ihn mit einem sauberen Lappen ab. Stecken Sie den Peilstab in den Einfüllstutzen und ziehen ihn dann heraus, um den Ölstand zu prüfen. Der Ölstand sollte an der Markierung am Peilstab liegen (Bild 169).

Wenn der Ölstand zu niedrig ist, gießen Sie das vorgegebene Hydrauliköl in den Einfüllstutzen, bis der Ölstand die Voll-Markierung erreicht.
Führen Sie den Peilstab in den Füllstutzen ein.
Setzen Sie die Riemenabdeckung auf, siehe Einbauen der Riemenabdeckung.
| Wartungsintervall | Wartungsmaßnahmen |
|---|---|
| Alle 200 Betriebsstunden |
|
| Alle 400 Betriebsstunden |
|
Fassungsvermögen des Hydraulikölbehälters: ca. 6,6 L
Important: Verwenden Sie nie einen KFZ-Ölfilter, sonst können schwere Schäden der Hydraulikanlage entstehen.
Note: Beim Entfernen des Rücklauffilters wird der ganze Ölbehälter entleert.
Bereiten Sie die Maschine für die Wartung vor, siehe Vorbereiten des Fahrzeugs für die Wartung.
Stellen Sie eine Auffangwanne unter den Filter, bauen Sie den alten Filter aus und wischen Sie die Dichtungsfläche des Filterstutzens sauber (Bild 170).

Tragen Sie eine dünne Schicht des angegebenen Hydrauliköls auf die Dichtung des neuen Hydraulikölfilters.
Montieren Sie die Hydraulikölfilter auf die Filteradapter. Drehen Sie jeden Filter nach rechts, bis die Dichtung den Filteradapter berührt. Ziehen Sie dann jeden Filter um eine weitere halbe Umdrehung fester.
Füllen Sie das angegebene Hydrauliköl ein, bis der Ölstand die Voll-Markierung am Peilstab erreicht hat, siehe Hydrauliköl – technische Angaben und Prüfen des Hydraulikölstands.
Starten Sie den Motor und lassen Sie ihn zwei Minuten lang laufen, um die Hydraulikanlage zu entlüften. Stellen Sie den Motor ab, ziehen Sie den Schlüssel ab und prüfen Sie die Maschine auf Undichtigkeiten an der Hydraulikanlage.
Prüfen Sie den Hydraulikölstand. Füllen Sie bei Bedarf das angegebene Hydrauliköl nach, um den Füllstand bis zur VOLL-Markierung am Peilstab anzuheben.
Note: Überfüllen Sie den Hydraulikbehälter nicht.
Setzen Sie die Riemenabdeckung auf, siehe Einbauen der Riemenabdeckung.
| Wartungsintervall | Wartungsmaßnahmen |
|---|---|
| Nach acht Betriebsstunden |
|
| Alle 250 Betriebsstunden |
|
Bereiten Sie die Maschine für die Wartung vor, siehe Vorbereiten des Fahrzeugs für die Wartung.
Entfernen Sie die Abdeckung des Aerifizierkopfs, siehe Entfernen der Abdeckung des Aerifizierkopfs.
Prüfen Sie die Befestigungen des Aerifizierkopfs, des Griffs und der Radmuttern und stellen Sie sicher, dass der richtige Drehmoment beibehalten wird. Die Anforderungen an das Anzugsdrehmoment der Befestigungselemente sind auf dem Aufkleber mit dem Anzugsdrehmoment der Schrauben aufgeführt, der sich auf dem Trägerkanal des Aerifizierkopfs befindet (Bild 171).

Montieren Sie die Abdeckung des Aerifizierkopfs, siehe Anbringen der Abdeckung des Aerifizierkopfs.
Bereiten Sie die Maschine für die Wartung vor, siehe Vorbereiten des Fahrzeugs für die Wartung.
Lösen Sie die Kopfschrauben und Sicherungsbundmuttern, mit denen die Seitenabdeckung am Aerifizierkopfrahmen befestigt ist (Bild 172).

Stellen Sie das Schutzblech nach oben oder unten ein, bis Sie einen Abstand von 25 bis 38 mm zwischen dem Schutzblech und dem Boden messen.
Ziehen Sie die Kopfschraube und die Sicherungsbundmutter fest.
Wiederholen Sie die Schritte 2 bis 4 an der anderen Seite der Maschine.
Die Rasenschutzvorrichtungen sollten ersetzt werden, wenn sie beschädigt oder auf weniger als 6 mm Dicke abgenutzt sind. Beschädigte Rasenschutzvorrichtungen können sich in der Grasnarbe verfangen und diese einreißen und beschädigen.

Die Synchronisierungsmarkierungen des Aerifizierkopfs sind leicht an den Markierungen an den drei Lagergehäusen zu erkennen.

Bevor Sie den Fahrerstand verlassen, gehen Sie wie folgt vor:
Stellen Sie die Maschine auf einer ebenen Fläche ab.
Heben Sie den Lenker vollständig an und verriegeln Sie ihn, um die Feststellbremse zu aktivieren.
Stellen Sie den Motor ab und ziehen Sie den Zündschlüssel ab (sofern vorhanden).
Warten Sie, bis alle beweglichen Teile zum Stillstand gekommen sind.
Lassen das Fahrzeug abkühlen, bevor Sie es einstellen, warten, reinigen, oder einlagern.
Lagern Sie die Maschine oder den Benzinkanister nie an Orten mit offener Flamme, Funken oder Zündflamme, z. B. Warmwasserbereiter, oder anderen Geräten.
Beim Laden der Batterie werden Gase erzeugt, die explodieren können.
Rauchen Sie nie in der Nähe der Batterie und halten Sie Funken und offenes Feuer von der Batterie fern.
Bereiten Sie die Maschine für die Wartung vor, siehe Vorbereiten des Fahrzeugs für die Wartung.
Ziehen Sie den Zündkerzenstecker ab.
Entfernen Sie Schnittgut und Schmutz von den äußeren Teilen der Maschine, insbesondere vom Motor und der Hydraulikanlage. Entfernen Sie Schmutz und Rückstände außen an den Zylinderkopfrippen des Motors und am Gebläsegehäuse.
Warten Sie den Luftfilter, siehe Warten des Luftfilters.
Wechseln Sie das Motoröl, siehe (Wechseln des Motoröls und -filters).
Wechseln Sie den Hydraulikfilter und das -öl, siehe Wechseln des Hydrauliköls und des -filters.
Prüfen Sie den Reifendruck, siehe Prüfen des Reifendrucks.
Prüfen Sie den Zustand der Tines.
Wenn Sie die Maschine für die Saison einlagern, führen Sie alle Schritte unter Aufbewahren der Maschine für weniger als 30 Tage und die folgenden durch:
Prüfen Sie alle Muttern und Schrauben und ziehen diese bei Bedarf an. Reparieren Sie alle beschädigten und defekten Teile oder tauschen diese aus.
Reinigen und trocken Sie die ganze Maschine. Entfernen Sie die Tines und reinigen und ölen sie. Sprühen Sie die Lager des Aerifizierkopfs leicht mit Öl ein (Antriebs- und Stoßdämpferlenker).
Important: Sie können die Maschine mit einem milden Reinigungsmittel und Wasser waschen. Reinigen Sie die Maschine nicht mit einem Hochdruckreiniger. Vermeiden Sie den Einsatz von zu viel Wasser, insbesondere in der Nähe des Bedienfelds, des Motors, der Hydraulikpumpen und -motoren.
Note: Lassen Sie die Maschine nach dem Waschen mit hoher Drehzahl für 2 bis 5 Minuten laufen.
Bessern Sie alle zerkratzten oder abgeblätterten Metallflächen aus. Lack erhalten Sie von Ihrem Toro-Vertragshändler.
Befestigen Sie den Wartungsriegel, wenn Sie die Maschine für mehrere Tage einlagern.
Lagern Sie die Maschine in einer sauberen, trockenen Garage oder an einem anderen geeigneten Ort ein. Ziehen Sie den Schlüssel aus dem Zündschalter ab und bewahren Sie ihn sicher auf, außerhalb der Reichweite von Kindern und anderen unbefugten Personen.
Decken Sie die Maschine ab, damit sie geschützt ist und nicht verstaubt.
Geben Sie einen Stabilisator bzw. Konditioniermittel auf Mineralölbasis dem Benzin im Tank zu. Befolgen Sie dabei die Mischanweisungen des Herstellers des Stabilisators. Verwenden Sie keinen Stabilisator auf Alkoholbasis (Ethanol oder Methanol).
Note: Ein Kraftstoffstabilisator wirkt am effektivsten, wenn er frischem Kraftstoff beigemischt und immer verwendet wird.
Important: Lagern Sie Kraftstoff mit Kraftstoffstabilisator nicht länger, als der Hersteller des Kraftstoffstabilisator empfiehlt.
Lassen Sie den Motor für fünf Minuten laufen, um den stabilisierten Kraftstoff in der Kraftstoffanlage zu verteilen.
Stellen Sie den Motor ab und lassen ihn abkühlen; lassen Sie den Kraftstoff aus dem Tank ablaufen, siehe Entleeren des Kraftstofftanks.
Starten Sie den Motor und lassen ihn laufen, bis er abstellt.
Starten Sie den Motor mit Choke. Starten Sie den Motor und lassen ihn laufen, bis er nicht mehr anspringt.
Entfernen und prüfen Sie die Zündkerzen, siehe Warten der Zündkerzen. Gießen Sie bei entfernten Zündkerzen zwei Esslöffel Motoröl in die Zündkerzenöffnung. Lassen Sie dann den Motor mit dem Elektrostarter an, um das Öl im Zylinder zu verteilen. Setzen Sie die Zündkerzen wieder ein. Setzen Sie den Zündkerzen nicht den Stecker auf.
Note: Entsorgen Sie den Kraftstoff ordnungsgemäß und wiederverwenden ihn entsprechend den geltenden Vorschriften.
Schließen Sie die Batteriepole ab und nehmen Sie die Batterie aus der Maschine.
Reinigen Sie die Batterie, -klemmen und -pole mit einer Drahtbürste und Natronlauge.
Überziehen Sie die Kabelklemmen und Batteriepole mit Grafo 112X-Fett (Toro-Bestellnummer 505-47) oder mit Vaseline, um einer Korrosion vorzubeugen.
Laden Sie die Batterie alle 60 Tage 24 Stunden lang langsam auf, um einer Bleisulfation der Batterie vorzubeugen. Stellen Sie sicher, um einem Einfrieren der Batterie vorzubeugen, dass sie voll aufgeladen ist. Das spezifische Gewicht einer voll geladenen Batterie liegt zwischen 1,265 und 1,299.
Lagern Sie sie entweder auf einem Regal oder auf der Maschine. Wenn Sie die Batterie in der Maschine lagern, lassen Sie die Kabel abgeklemmt. Lagern Sie die Batterie an einem kühlen Ort, um ein zu schnelles Entladen der Batterie zu vermeiden.
| Problem | Possible Cause | Corrective Action |
|---|---|---|
| Der Anlasser läuft nicht. |
|
|
| Der Motor springt nicht an, kann nur schwer angelassen werden, oder stellt ab. |
|
|
| Der Motor verliert an Leistung. |
|
|
| Der Motor wird zu heiß. |
|
|
| Es kommt zu ungewöhnlichen Vibrationen. |
|
|
| Die Maschine fährt nicht. |
|
|
| Aerifizierkopf wird nicht angetrieben. |
|
|
| Der Kopf springt beim Aerifizieren. |
|
|
| Die Grasnarbe büschelt/reißt beim Eintritt. |
|
|
| Herausreisen des Rasens bei Seitenauswurf-Tines. |
|
|
| Der Rasen wird beim Aerifizieren angehoben bzw. abgerissen. |
|
|
| Das Loch ist vorne verzogen oder eingedrückt. |
|
|