| ระยะการซ่อมบำรุง | ขั้นตอนการบำรุงรักษา |
|---|---|
| ก่อนการใช้งานแต่ละครั้งหรือทุกวัน |
|
อุปกรณ์นี้ควบคุมโดยการเดินลากและออกแบบมาสำหรับผู้ให้บริการมืออาชีพที่ต้องการนำไปใช้งานเชิงพาณิชย์ เหมาะสำหรับการเติมอากาศพื้นที่ขนาดใหญ่ในสนามที่ได้รับการดูแลรักษาเป็นอย่างดีในสวนสาธารณะ สนามกอล์ฟ สนามกีฬา และพื้นที่เชิงพาณิชย์เป็นหลัก การใช้งานผลิตภัณฑ์นี้นอกเหนือจากวัตถุประสงค์ที่กำหนดไว้อาจเป็นอันตรายต่อคุณและคนรอบข้างได้
กรุณาอ่านเอกสารนี้อย่างละเอียดเพื่อศึกษาวิธีควบคุมและบำรุงรักษาผลิตภัณฑ์อย่างเหมาะสม และเพื่อหลีกเลี่ยงการบาดเจ็บและความเสียหายต่อผลิตภัณฑ์ คุณมีหน้าที่ใช้งานผลิตภัณฑ์อย่างถูกต้องและปลอดภัย
โปรดเข้าไปที่เว็บไซต์ www.Toro.com เพื่อดูเอกสารความปลอดภัยของผลิตภัณฑ์และเอกสารฝึกอบรมการใช้งาน ข้อมูลอุปกรณ์เสริม ความช่วยเหลือเพื่อค้นหาตัวแทนจำหน่าย หรือลงทะเบียนผลิตภัณฑ์
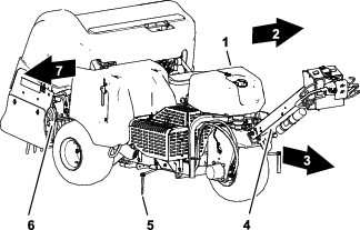
หากคุณต้องการซ่อมบำรุง อะไหล่แท้ของ Toro หรือข้อมูลเพิ่มเติม โปรดติดต่อตัวแทนบริการที่ได้รับอนุญาตของ Toro และเตรียมหมายเลขรุ่นและหมายเลขซีเรียลของผลิตภัณฑ์ไว้ให้พร้อม รูป 1 หาตำแหน่งของหมายเลขรุ่นและหมายเลขซีเรียลบนผลิตภัณฑ์ จดบันทึกหมายเลขในช่องว่างที่กำหนดให้

สัญลักษณ์เตือนอันตราย (รูป 2) ในคู่มือฉบับนี้และบนตัวเครื่องจัดทำขึ้นมาเพื่อระบุข้อความเตือนด้านความปลอดภัยที่สำคัญที่คุณจะต้องปฏิบัติตามเพื่อป้องกันอุบัติเหตุ

สัญลักษณ์เตือนอันตรายปรากฏอยู่เหนือข้อมูลที่เตือนเกี่ยวกับการกระทำหรือสถานการณ์ที่ไม่ปลอดภัย และตามด้วยคำว่าอันตรายคำเตือน หรือข้อควรระวัง
อันตราย ให้ข้อมูลเกี่ยวกับสถานการณ์ที่เป็นอันตรายอย่างชัดเจน หากไม่หลีกเลี่ยง จะส่งผลให้เสียชีวิตหรือบาดเจ็บร้ายแรง
คำเตือน ให้ข้อมูลเกี่ยวกับสถานการณ์ที่อาจเป็นอันตราย หากไม่หลีกเลี่ยง อาจส่งผลให้เสียชีวิตหรือบาดเจ็บร้ายแรง
ข้อควรระวัง ให้ข้อมูลเกี่ยวกับสถานการณ์ที่อาจเป็นอันตราย หากไม่หลีกเลี่ยง อาจส่งผลให้ได้รับบาดเจ็บเล็กน้อยหรือปานกลาง
คู่มือฉบับนี้ใช้คำอีกสองคำในการเน้นข้อมูล สำคัญ เพื่อให้คุณใส่ใจศึกษาข้อมูลพิเศษเกี่ยวกับกลไกและ หมายเหตุ เพื่อเน้นข้อมูลทั่วไปที่ควรให้ความสนใจเป็นพิเศษ
ผลิตภัณฑ์นี้ได้มาตรฐานตามคำสั่งยุโรปทั้งหมดที่เกี่ยวข้อง หากต้องการรายละเอียดเพิ่มเติม โปรดดูเอกสารรับรองมาตรฐาน (DOC) เฉพาะของผลิตภัณฑ์แยกต่างหาก
เนื่องจากบางพื้นที่มีกฎระเบียบของท้องถิ่น รัฐ หรือรัฐบาลกลางที่กำหนดให้เครื่องยนต์ของอุปกรณ์นี้ต้องติดตั้งเครื่องดักสะเก็ดไฟ เราจึงมีเครื่องดักสะเก็ดไฟจำหน่ายเป็นอุปกรณ์เสริมด้วย หากคุณต้องการเครื่องดักสะเก็ดไฟ โปรดติดต่อตัวแทนจำหน่ายของ Toro ที่ได้รับอนุญาต เครื่องดักสะเก็ดไฟของแท้จาก Toro ผ่านการอนุมัติจาก USDA Forestry Service
คู่มือเจ้าของเครื่องยนต์ที่แนบมาจัดทำขึ้นมาเพื่อให้ข้อมูลเกี่ยวกับหน่วยงานคุ้มครองสิ่งแวดล้อม (EPA) ของสหรัฐอเมริกาและกฎหมายของรัฐแคลิฟอร์เนียว่าด้วยการควบคุมการปล่อยมลพิษของระบบไอเสีย การบำรุงรักษา และการรับประกัน อะไหล่ทดแทนสามารถสั่งซื้อได้จากผู้ผลิตเครื่องยนต์
หากอุปกรณ์ติดตั้งมาพร้อมกับระบบเทเลเมติกส์ โปรดติดต่อตัวแทนจำหน่ายที่ได้รับอนุญาตของ Toro เพื่อขอคำแนะนำในการเปิดใช้งานระบบดังกล่าว
แคลิฟอร์เนีย
คำเตือนข้อเสนอ 65
ไอเสียเครื่องยนต์จากผลิตภัณฑ์นี้มีสารเคมีที่รัฐแคลิฟอร์เนียทราบว่าเป็นสาเหตุการเกิดโรคมะเร็ง ความพิการแต่กำเนิด หรืออันตรายต่อระบบสืบพันธุ์อื่นๆ
แท่นแบตเตอรี่ ขั้วแบตเตอรี่ และส่วนประกอบที่เกี่ยวข้องมีตะกั่วและสารประกอบตะกั่วเป็นส่วนผสม ซึ่งเป็นสารเคมีที่รัฐแคลิฟอร์เนียทราบว่าเป็นสาเหตุการเกิดโรคมะเร็ง และเป็นอันตรายต่อระบบสืบพันธุ์ ล้างมือหลังจากหยิบจับ
การใช้ผลิตภัณฑ์นี้อาจทำให้ต้องสัมผัสกับสารเคมีที่รัฐแคลิฟอร์เนียทราบว่าเป็นสาเหตุการเกิดโรคมะเร็ง ความพิการแต่กำเนิด หรืออันตรายต่อระบบสืบพันธุ์อื่นๆ
ผลิตภัณฑ์นี้อาจทำให้คนบาดเจ็บได้ ดังนั้น ปฏิบัติตามคำแนะนำด้านความปลอดภัยทั้งหมดอยู่เสมอเพื่อหลีกเลี่ยงการบาดเจ็บร้ายแรง
อ่านและทำความเข้าใจเนื้อหาของคู่มือผู้ใช้ฉบับนี้ก่อนจะสตาร์ทเครื่อง
โปรดมีสมาธิขณะควบคุมเครื่องจักร อย่าทำกิจกรรมที่ทำให้เสียสมาธิ มิฉะนั้นอาจส่งผลให้เกิดการบาดเจ็บหรือเกิดความเสียหายต่อทรัพย์สินได้
อย่านำมือหรือเท้าเข้าใกล้ชิ้นส่วนเคลื่อนไหวของเครื่องจักร
หากไม่ได้ติดตั้งแผงกั้นและอุปกรณ์นิรภัยอื่นๆ ทั้งหมดบนอุปกรณ์ หรือแผงกั้นและอุปกรณ์นิรภัยทำงานผิดปกติ กรุณาอย่าใช้อุปกรณ์
กันคนโดยรอบออกห่างจากอุปกรณ์ขณะเคลื่อนที่
อย่าเข้าใกล้ช่องเปิดรอบๆ เดือยเจาะ กันคนโดยรอบและสัตว์เลี้ยงออกห่างจากอุปกรณ์
กันเด็กๆ ออกจากพื้นที่ทำงาน ห้ามเด็กใช้งานอุปกรณ์โดยเด็ดขาด
จอดอุปกรณ์บนพื้นราบ ดันแฮนด์ควบคุมขึ้นจนสุดแล้วใส่สลักเพื่อเข้าเบรกจอด ดับเครื่องยนต์รถลากพ่วง ดึงกุญแจออก และรอให้การเคลื่อนไหวหยุดนิ่งก่อนการซ่อมบำรุงหรือแก้ไขจุดอุดตันในอุปกรณ์
การใช้งานหรือบำรุงรักษาอย่างไม่ถูกต้องอาจส่งผลให้เกิดการบาดเจ็บขึ้นได้
เพื่อลดโอกาสที่จะเกิดการบาดเจ็บ ให้ปฏิบัติตามคำแนะนำด้านความปลอดภัยและสังเกตสัญลักษณ์เตือนอันตราย
ได้แก่ ข้อควรระวัง คำเตือน
หรืออันตราย ซึ่งเป็นคำแนะนำเพื่อความปลอดภัยส่วนบุคคล การไม่ปฏิบัติตามคำแนะนำเหล่านี้อาจส่งผลให้บาดเจ็บหรือเสียชีวิตได้
![]() |
ป้ายและคำแนะนำด้านความปลอดภัยมองเห็นได้ชัดเจน และติดอยู่ใกล้กับบริเวณที่มีโอกาสเกิดอันตราย เปลี่ยนสติกเกอร์ที่เสียหายหรือหายไป |
















Note: ด้านหน้าของอุปกรณ์อยู่ตรงมือจับของผู้ใช้งานและเป็นตำแหน่งใช้งานตามปกติ ด้านซ้ายและด้านขวาขึ้นอยู่กับทิศทางในการใช้งานอุปกรณ์ เนื่องจากคุณจะต้องเดินลากอุปกรณ์ตามหลัง
Note: หลังจากนำอุปกรณ์ออกจากลังขนส่ง หากต้องการยกหัวเดือยขึ้น ให้ปล่อยคันเติมอากาศและสตาร์ทเครื่องยนต์ โปรดดูข้อมูลเพิ่มเติมจากหัวข้อการสตาร์ทเครื่องยนต์ และการยกหัวเดือยขึ้น
ชิ้นส่วนที่ต้องใช้สำหรับขั้นตอนนี้:
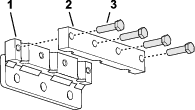
| ชุดล้อ | 2 |
Note: ยกด้านท้ายของอุปกรณ์โดยใช้ตัวยก ถ้ามี ใช้ห่วงที่อยู่บนตัวเรือนแบริ่งหัวเดือยเป็นจุดต่อพ่วงตัวยก (รูป 3)

ถอดน็อตล้อ 4 ตัวที่ด้านท้ายอุปกรณ์ ซึ่งทำหน้าที่ยึดท้ายอุปกรณ์เข้ากับโครงยึดของพาเลทขนส่ง
ประกอบชุดล้อเข้ากับดุมล้อหลังแต่ละดุมโดยใช้น็อตล้อ 4 ตัวที่ถอดออกมา (รูป 4)

ขันน็อตล้อจนได้แรงบิด 61 ถึง 75 นิวตันเมตร (45 ถึง 55 ฟุตปอนด์)
ทำซ้ำขั้นตอนที่ 1 ถึง 3 ที่อีกด้านหนึ่งของอุปกรณ์
ปล่อยลมออกล้อจากทุกล้อจนเหลือแรงดัน 83 กิโลปาสคาล (12 ปอนด์ต่อตร.นิ้ว)
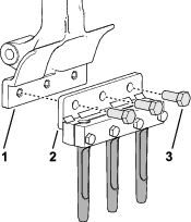
ชิ้นส่วนที่ต้องใช้สำหรับขั้นตอนนี้:
| ด้ามจับ | 1 |
| น็อตล็อก (1/2 นิ้ว) | 3 |
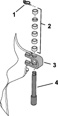
สอดข้อต่อสายเบรกเข้าไปใต้ปล่องแฮนด์ควบคุม (รูป 7)

ประกอบข้อต่อสายเบรกเข้ากับหมุดเคลวิส จากนั้นยึดข้อต่อเข้ากับหมุดด้วยแหวนและปิ๊นตัวอาร์
ดึงขั้วต่อ 6 ขาและขั้วต่อ 12 ขาของชุดสายไฟอุปกรณ์ลอดผ่านห่วงที่อยู่ในปล่องแฮนด์ควบคุม (รูป 8)

เสียบขั้วต่อ 12 ขาของชุดสายไฟอุปกรณ์เข้ากับขั้วต่อตัวเมีย 12 รูบนชุดสายไฟของแฮนด์ควบคุม (รูป 9)

เสียบขั้วต่อ 6 ขาของชุดสายไฟอุปกรณ์เข้ากับขั้วต่อตัวเมีย 6 รูของชุดสายไฟของแฮนด์ควบคุม
สอดพุกแบบกดเข้าของชุดสายไฟอุปกรณ์ลงไปในรูบนปล่องแฮนด์ควบคุม (รูป 10)

สอดพุกแบบกดเข้าของชุดสายไฟอุปกรณ์ลงไปในรูบนโครงยึดนำทาง
ยึดชุดสายไฟอุปกรณ์เข้ากับปล่องแฮนด์ควบคุมโดยใช้สายรัดร้อยเข้ากับรูบนปล่องแฮนด์ควบคุม (รูป 11)

ยึดชุดสายไฟอุปกรณ์เข้ากับโครงยึดนำทางโดยการใช้สายรัดร้อยเข้ากับรูบนโครงยึด
จัดตำแหน่งให้ร่องขนาดเล็กบนฝาแฮนด์ควบคุมตรงกับสลัก (รูป 12)

จัดตำแหน่งให้รูบนฝาครอบตรงกับรูบนปล่องแฮนด์ควบคุม
ยึดฝาครอบเข้ากับแฮนด์ควบคุมโดยใช้สกรูขึ้นรูปเกลียว 6 ตัว (1/4 นิ้ว)
ชิ้นส่วนที่ต้องใช้สำหรับขั้นตอนนี้:
| สลักเกลียว (1/4 x 1 นิ้ว) | 2 |
| น็อตมีบ่า (5/16 นิ้ว) | 2 |
น้ำอิเล็กโทรไลต์ในแบตเตอรี่ประกอบด้วยกรดซัลฟูริก ซึ่งเป็นอันตรายถึงชีวิตได้หากรับประทาน หรือทำให้เป็นแผลไหม้รุนแรง
หลีกเลี่ยงไม่ให้สัมผัสกับผิวหนัง ดวงตา หรือเสื้อผ้า สวมใส่แว่นนิรภัยเพื่อป้องกันดวงตาและสวมถุงมือยางเพื่อปกป้องมือ
ก่อนจะถอด ชาร์จ และติดตั้งแบตเตอรี่ ควรเตรียมน้ำสะอาดไว้ใกล้ๆ เสมอเพื่อล้างผิวหนัง
ขั้นตอนการชาร์จแบตเตอรี่ทำให้เกิดก๊าซที่อาจระเบิดได้
ห้ามสูบบุหรี่ใกล้แบตเตอรี่และอย่านำประกายไฟและเปลวไฟเข้าใกล้แบตเตอรี่โดยเด็ดขาด
ขั้วแบตเตอรี่หรือเครื่องมือโลหะอาจลัดวงจรกับส่วนประกอบรถที่เป็นโลหะ และทำให้เกิดประกายไฟได้ ประกายไฟอาจทำให้แบตเตอรี่ปล่อยก๊าซที่ทำให้ระเบิด ส่งผลให้เกิดการบาดเจ็บขึ้นได้
เมื่อถอดหรือติดตั้งแบตเตอรี่ อย่าให้ขั้วแบตเตอรี่สัมผัสกับส่วนโลหะของอุปกรณ์
อย่าให้เครื่องมือโลหะลัดวงจรระหว่างขั้วแบตเตอรี่สัมผัสกับส่วนโลหะของอุปกรณ์
การเดินสายไฟแบตเตอรี่ไม่ถูกต้องอาจทำให้อุปกรณ์และสายไฟเสียหาย โดยทำให้เกิดประกายไฟ ประกายไฟอาจทำให้แบตเตอรี่ปล่อยก๊าซที่ทำให้ระเบิด ส่งผลให้เกิดการบาดเจ็บขึ้นได้
ถอดสายไฟแบตเตอรี่ขั้วลบ (สีดำ) ก่อนถอดสายไฟแบตเตอรี่ขั้วบวก (สีแดง) เสมอ
ต่อสายไฟแบตเตอรี่ขั้วบวก (สีแดง) ก่อนต่อสายไฟขั้วลบ (สีดำ) เสมอ
ปลดสลักและเปิดฝาช่องวางแบตเตอรี่ออก (รูป 13)

ยกแบตเตอรี่ออกจากช่องวางแบตเตอรี่
ใช้เครื่องชาร์จแบตเตอรี่ที่ชาร์จได้เร็ว 3-4 แอมป์
เมื่อชาร์จแบตเตอรี่แล้ว ถอดเครื่องชาร์จออกจากเต้ารับไฟฟ้าและเสาแบตเตอรี่
วางแบตเตอรี่ลงบนถาดในช่องวางแบตเตอรี่ (รูป 14) วางแบตเตอรี่โดยให้ขั้วแบตเตอรี่หันออกด้านนอก

ยึดแบตเตอรี่เข้ากับฐานของช่องวาง โดยใช้ก้านกดยึด 1 อัน ก้านยึดปลายงอ 2 อัน แหวนเรียบ 2 อัน และน็อตหางปลา 2 ตัว
ต่อสายไฟขั้วบวก (สีแดง) เข้ากับขั้วบวก (+) ของแบตเตอรี่ด้วยสลักเกลียวหัวมนและน็อตอย่างละตัว
เลื่อนบูทยางครอบขั้วบวกเอาไว้
ต่อสายไฟขั้วลบ (สีดำ) เข้ากับขั้วลบ (–) ของแบตเตอรี่ด้วยสลักเกลียวและน็อตอย่างละตัว
ปิดและใส่สลักฝาช่องวางแบตเตอรี่
ชิ้นส่วนที่ต้องใช้สำหรับขั้นตอนนี้:
| สลักล็อก | 2 |
| สลักเกลียวปล่อย | 2 |
| แหวนจักรใน | 2 |
หากคุณกำลังเตรียมอุปกรณ์นี้เพื่อใช้งานในสหภาพยุโรป (CE) ให้ติดตั้งสลักล็อกฝาครอบด้านท้ายบนฝาครอบด้านท้ายตามขั้นตอนต่อไปนี้เพื่อปฏิบัติตามกฎระเบียบ CE
ถอดฝาครอบด้านท้ายออก
ติดตั้งสลักล็อกไว้เหนือสลักฝาครอบ (รูป 15) ด้วยสลักเกลียวปล่อย (ทั้งหมด 2 ตัว)

ใช้คีมและประแจขันแหวนจักรในลงบนสลักเกลียวแต่ละตัว (1 หรือ 2 เกลียว) เพื่อยึดสลักเข้ากับฝาครอบ
ทำซ้ำขั้นตอนที่ 2 ถึง 3 ที่อีกด้านหนึ่งของฝาครอบ
ติดตั้งฝาครอบด้านท้าย
ชิ้นส่วนที่ต้องใช้สำหรับขั้นตอนนี้:
| เหล็กแลนยาร์ด | 1 |
| หมุดรีเวท | 1 |
| สลักเกลียว (1/4 x 1 นิ้ว) | 1 |
| น็อตล็อก (1/4 นิ้ว) | 1 |
หากคุณกำลังเตรียมอุปกรณ์ให้เป็นไปตามมาตรฐาน CE ให้ติดตั้งสลักกลอนของฝาครอบสายพานตามขั้นตอนต่อไปนี้
มองหารูบนฝาครอบสายพานที่อยู่ถัดจากช่องสำหรับคันสลัก (รูป 16 และ รูป 17)

ยึดชุดเหล็กแลนยาร์ดเข้ากับรูบนฝาครอบสายพานด้วยหมุดรีเวท (รูป 17)

ขันสลักเกลียวเข้ากับคันสลัก (รูป 18)

แผงยึดเดือยเจาะ แผงป้องกันสนาม และเดือยเจาะสำหรับใช้งานร่วมกับอุปกรณ์มีหลายแบบให้เลือก โปรดดู การติดตั้งแผงป้องกันสนาม แผงยึดเดือยเจาะ และเดือยเจาะ


ใช้สลักแฮนด์ควบคุม (รูป 21) ยึดแฮนด์ควบคุมไว้ในตำแหน่งตั้งขึ้น แล้วเข้าเบรกจอด
Important: คุณสามารถยึดแฮนด์ควบคุมไว้ในตำแหน่งตั้งขึ้นได้ทุกเมื่อที่ออกจากตำแหน่งใช้งาน
คันควบคุมแบบตรวจจับผู้ใช้งาน (รูป 21) ช่วยให้แน่ใจว่าคุณอยู่ในตำแหน่งใช้งานขณะขับอุปกรณ์หรือใช้งานหัวเดือย
Note: การปล่อยคันควบคุมแบบตรวจจับผู้ใช้งานจะทำให้เครื่องยนต์ดับ
ใช้ InfoCenter (รูป 21) เพื่อปรับการทำงานของระบบควบคุมหัวเดือย
หากคุณกดสวิตช์หยุด (รูป 21) การทำงานของอุปกรณ์จะเปลี่ยนไปดังต่อไปนี้
อุปกรณ์จะหยุดเดินหน้า
หัวเดือยควรจะยกขึ้นและหยุดทำงาน
Note: การกดสวิตช์หยุดจะไม่เป็นการดับเครื่องยนต์ คุณสามารถขับอุปกรณ์ถอยหลังได้ แต่ต้องรีเซ็ตสวิตช์หยุดก่อนจึงจะขับอุปกรณ์เดินหน้าได้

ใช้สวิตช์ขับเคลื่อน/เติมอากาศ (รูป 22) เพื่อควบคุมความเร็วสูงสุดในการขับอุปกรณ์ระหว่างการเติมอากาศหรือเคลื่อนย้ายอุปกรณ์
ตำแหน่ง เติมอากาศ ใช้สำหรับเติมอากาศและจำกัดความเร็วขับเคลื่อนบนพื้นไว้ไม่เกิน 4.0 กม./ชม. (2.5 ไมล์ต่อชม.)
ตำแหน่ง ขับเคลื่อน ช่วยให้คุณสามารถขับอุปกรณ์ด้วยความเร็วสูงสุดหรือน้อยกว่าเพื่อเคลื่อนย้ายอุปกรณ์ระหว่างสนามแต่ละแห่ง
Note: คุณจะไม่สามารถเติมอากาศได้ หากสวิตช์ขับเคลื่อน/เติมอากาศอยู่ในตำแหน่ง ขับเคลื่อน
ใช้ส่วนควบคุมการขับเคลื่อนด้านซ้ายหรือด้านขวา (รูป 22) เพื่อขับอุปกรณ์เดินหน้าหรือถอยหลัง
ใช้สวิตช์ล็อกความเร็ว (รูป 22) เพื่อคงความเร็วในการขับเคลื่อนของอุปกรณ์บนพื้น ซึ่งจะมีลักษณะการทำงานคล้ายกับระบบควบคุมความเร็วอัตโนมัติในรถยนต์
เมื่อสวิตช์อยู่ในตำแหน่ง ใช้งาน ระบบจะล็อกความเร็วขับเคลื่อนบนพื้นของอุปกรณ์ในปัจจุบันเอาไว้ขณะขับอุปกรณ์
เมื่อสวิตช์อยู่ในตำแหน่ง เปิด ระบบจะเปิดใช้ฟังก์ชันล็อกความเร็วขับเคลื่อนบนพื้น
เมื่อสวิตช์อยู่ในตำแหน่ง ปิด ระบบจะปิดใช้ฟังก์ชันล็อกความเร็วขับเคลื่อนบนพื้น
ใช้สวิตช์ล็อกความเร็ว (รูป 22) เพื่อคงความเร็วในการขับเคลื่อนอุปกรณ์ตามอัตราการเว้นระยะห่างระหว่างหลุมเจาะเติมอากาศ
เมื่อสวิตช์อยู่ในตำแหน่ง เปิด ระบบจะเปิดใช้ฟังก์ชันล็อกความเร็วขับเคลื่อนบนพื้น เพื่อคงความเร็วในการขับเคลื่อนบนพื้นตามอัตราการเว้นระยะห่างระหว่างหลุมเจาะเติมอากาศเมื่อปล่อยคันเติมอากาศหลังจากเติมอากาศมาจนสุดแนว
เมื่อสวิตช์อยู่ในตำแหน่ง ปิด ระบบจะปิดฟังก์ชันล็อกความเร็วขับเคลื่อนบนพื้น และอุปกรณ์จะหยุดเดินหน้าเมื่อคุณปล่อยคันเติมอากาศ

ใช้คันโยกลิ้นเร่ง (รูป 24) ควบคุมความเร็วเครื่องยนต์
การดันคันโยกลิ้นเร่งไปด้านหน้าจะเป็นการเพิ่มความเร็วเครื่องยนต์—ดันไปยังตำแหน่ง เร็ว
การดันคันโยกลิ้นเร่งไปด้านหลังจะเป็นการลดความเร็วเครื่องยนต์—ดันไปยังตำแหน่ง ช้า
Note: ความเร็วเครื่องยนต์จะเป็นตัวกำหนดความเร็วของเดือยเจาะ
ใช้โช้คเมื่อสตาร์ทเครื่องยนต์เย็น (รูป 24)
ใช้สวิตช์สตาร์ท (รูป 24) เพื่อสตาร์ทและดับเครื่องยนต์ สวิตช์ประกอบด้วยย 3 ตำแหน่ง:
สตาร์ท—บิดกุญแจตามเข็มนาฬิกาไปยังตำแหน่ง สตาร์ท เพื่อทำให้มอเตอร์สตาร์ททำงาน
ทำงาน—เมื่อเครื่องยนต์สตาร์ท ให้ปล่อยกุญแจ จากนั้นกุญแจจะเคลื่อนไปยังตำแหน่ง เปิดโดยอัตโนมัติ
ปิด—บิดกุญแจทวนเข็มนาฬิกาไปที่ตำแหน่ง ปิดเพื่อดับเครื่องยนต์
ใช้มาตรอัตรารอบเพื่อกำหนดความเร็วเครื่องยนต์ (รูป 24)
ใช้วาล์วตัดการจ่ายเชื้อเพลิงในการควบคุมการจ่ายเชื้อเพลิงจากถังน้ำมัน (รูป 25)

จอแสดงผล InfoCenter (รูป 26) แสดงข้อมูลเกี่ยวกับอุปกรณ์ เช่น สถานะการทำงาน การวินิจฉัยต่างๆ และข้อมูลอื่นๆ เกี่ยวกับอุปกรณ์

Note: วัตถุประสงค์ของแต่ละปุ่มอาจเปลี่ยนแปลงไปขึ้นอยู่กับความจำเป็นในขณะนั้น แต่ละปุ่มมีไอคอนแสดงฟังก์ชันการทำงานในขณะนั้น
ใช้ปุ่มทิศทางเพื่อไปยังหน้าจอต่างๆ และรายการเมนู:
หน้าจอเริ่มต้น: หลังจากที่คุณบิดกุญแจไปยังตำแหน่งเปิด ระบบจะแสดงข้อมูลปัจจุบันของอุปกรณ์ครู่หนึ่ง
เมนูหลัก: โปรดดู การใช้งานเมนู
|
SERVICE DUE (ถึงกำหนดซ่อมบำรุง) |
แสดงว่าถึงเวลาซ่อมบำรุงตามกำหนดแล้ว |
|
|
โหมดขับเคลื่อน |
|
|
ความลึกหลุมเจาะ |
|
|
ระยะห่างระหว่างหลุมเจาะ |
|
|
เส้นผ่านศูนย์กลางของเดือยเจาะ |
|
|
จำนวนเดือยเจาะต่อแผงยึด |
|
|
แบตเตอรี่ |
|
|
มิเตอร์นับชั่วโมง |
|
|
ใช้งานอยู่/ตกลง |
|
|
ไม่ได้ใช้งาน |
|
|
ถัดไป |
|
|
หน้าจอก่อนหน้า |
|
|
เมนู |
|
|
เพิ่ม/ลดค่า |
|
|
เลื่อนขึ้น/ลง |
|
|
เลื่อนซ้าย/ขวา |
|
|
ออกเพื่อไปยังเมนู |
|
|
|
หากต้องการเข้าสู่เมนูหลัก ให้กดปุ่มย้อนกลับ/ออก ขณะอยู่ในหน้าข้อมูลใดก็ได้
โปรดดูคำอธิบายตัวเลือกต่างๆ ในเมนูจากตารางด้านล่าง
|
รายการเมนู |
คำอธิบาย |
|---|---|
|
FAULT (ความขัดข้อง) |
แสดงรายการความขัดข้องล่าสุดของอุปกรณ์ หากต้องการข้อมูลเพิ่มเติมเกี่ยวกับเมนูความขัดข้อง โปรดดูคู่มือซ่อมบำรุงหรือติดต่อตัวแทนจำหน่ายที่ได้รับอนุญาตของ Toro |
|
SERVICE (ซ่อมบำรุง) |
แสดงข้อมูลเกี่ยวกับอุปกรณ์ เช่น จำนวนชั่วโมงที่ใช้งาน ตัวนับ และตัวเลขอื่นๆ ที่คล้ายกัน |
|
DIAGNOSTICS (การวินิจฉัย) |
แสดงรายการสถานะล่าสุดของอุปกรณ์ คุณสามารถใช้เมนูนี้แก้ไขปัญหาบางอย่างได้ เนื่องจากในเมนูจะสรุปให้คุณทราบว่าระบบควบคุมอุปกรณ์ส่วนใดบ้างที่ยังทำงานอยู่และส่วนใดบ้างที่ไม่ทำงาน |
|
SETTINGS (การตั้งค่า) |
ให้คุณป้อน PIN หรือปรับแต่งหน้าจอ InfoCenter |
|
MACHINE SETTINGS (การตั้งค่าอุปกรณ์) |
ให้คุณปรับเปลี่ยนลักษณะการทำงานและการกำหนดค่าของอุปกรณ์ |
|
ABOUT (เกี่ยวกับ) |
แสดงหมายเลขรุ่น หมายเลขประจำเครื่อง และเวอร์ชันซอฟต์แวร์ของอุปกรณ์ |
|
รายการเมนู |
คำอธิบาย |
|---|---|
|
STATISTICS (ข้อมูลสถิติ) |
แสดงตัวนับที่ให้ข้อมูลการทำงานของอุปกรณ์และการใช้งานอุปกรณ์ เช่น เวลาทำงานของเครื่องยนต์ พื้นที่/ปริมาตร/ระยะเวลาในการเติมอากาศ ระยะทางเติมอากาศ |
|
HOURS (ชั่วโมง) |
แสดงจำนวนชั่วโมงทั้งหมดที่อุปกรณ์ เครื่องยนต์ และ PTO ทำงาน รวมถึงจำนวนชั่วโมงที่มีการขับเคลื่อนอุปกรณ์ และกำหนดการซ่อมบำรุง |
|
COUNTS (ข้อมูลตัวเลข) |
แสดงตัวเลขต่าง ๆ ที่เกี่ยวข้องกับอุปกรณ์ |
|
SERVICE LIFT (ยกเพื่อซ่อมบำรุง) |
เปิดหรือปิดการยกเพื่อซ่อมบำรุง |
|
SERVICE LOWER (หย่อนลงเพื่อซ่อมบำรุง) |
เปิดหรือปิดการหย่อนอุปกรณ์ลงเพื่อซ่อมบำรุง |
|
3WD (ขับเคลื่อน 3 ล้อ) |
เปิดการขับเคลื่อน 3 ล้ออัตโนมัติ หรือเปิดการขับเคลื่อน 3 ล้อตลอดเวลา |
|
GROUND HEIGHT (ความสูงจากพื้นดิน) |
แสดงว่าการปรับเทียบเซนเซอร์นั้นถูกต้องหรือไม่ เริ่มต้นขั้นตอนการปรับเทียบ และแสดงค่าทางไฟฟ้าของเซนเซอร์ |
|
TRACTION PUMP (ปั๊มระบบขับเคลื่อน) |
แสดงว่าการปรับเทียบเซนเซอร์นั้นถูกต้องหรือไม่ เริ่มต้นขั้นตอนการปรับเทียบ และแสดงค่าทางไฟฟ้าของเซนเซอร์ |
|
TRACTION INPUT (อินพุตระบบขับเคลื่อน) |
แสดงว่าการปรับเทียบเซนเซอร์นั้นถูกต้องหรือไม่ เริ่มต้นขั้นตอนการปรับเทียบ และแสดงค่าทางไฟฟ้าของเซนเซอร์ |
|
HEIGHT SENSOR (เซนเซอร์ความสูง) |
แสดงว่าการปรับเทียบเซนเซอร์นั้นถูกต้องหรือไม่ เริ่มต้นขั้นตอนการปรับเทียบ และแสดงค่าทางไฟฟ้าของเซนเซอร์ |
|
|
|
|
รายการเมนู |
คำอธิบาย |
|---|---|
|
ENTER PIN (ป้อน PIN) |
ผู้ที่ได้รับอนุญาตจะต้องป้อนรหัส PIN ที่ถูกต้องเพื่อเข้าถึงเมนูที่ได้รับการป้องกัน |
|
BACKLIGHT (ความสว่างของหน้าจอ) |
ควบคุมความสว่างของหน้าจอแสดงผลแอลซีดี |
|
LANGUAGE (ภาษา) |
ควบคุมภาษาที่ใช้บน InfoCenter |
|
UNITS (หน่วยวัด) |
ควบคุมหน่วยวัดที่ใช้บน InfoCenter (หน่วยวัดแบบอังกฤษหรือแบบเมตริก) |
|
EDIT PIN (แก้ไข PIN) |
ผู้ที่ได้รับอนุญาตจะต้องป้อนรหัส PIN ที่ถูกต้องเพื่อเปลี่ยนรหัส PIN |
|
PROTECT SETTINGS (ป้องกันการตั้งค่า) |
เปิดหรือปิดข้อกำหนดให้ป้อนรหัส PIN เพื่อเข้าถึงการตั้งค่าที่ได้รับการป้องกันเอาไว้ |
|
RESET DEFAULTS (รีเซ็ตค่าเริ่มต้น) |
เปลี่ยนการตั้งค่าทั้งหมดกลับคืนเป็นค่าเริ่มต้น |
|
|
|
|
รายการเมนู |
คำอธิบาย |
|
MAX TRANSPORT (ความเร็วขับเคลื่อนสูงสุด) |
ใช้เปลี่ยนความเร็วขับเคลื่อนบนพื้นสูงสุดสำหรับการเดินหน้า ค่าเริ่มต้น = 6.4 กม./ชม. (4 ไมล์ต่อชม.) |
|
MANUAL AERATION (การเติมอากาศแบบแมนวล) |
เปิดหรือปิดการเติมอากาศแบบแมนวล |
|
|
|
|
รายการเมนู |
คำอธิบาย |
|---|---|
|
Model (รุ่น) |
แสดงหมายเลขรุ่นของอุปกรณ์ |
|
SN (หมายเลขซีเรียล) |
แสดงหมายเลขซีเรียลของอุปกรณ์ |
|
S/W Rev (เวอร์ชันซอฟต์แวร์) |
แสดงเวอร์ชันซอฟต์แวร์ของระบบควบคุมอุปกรณ์ |
|
CAN Statistics (ข้อมูลสถิติ CAN) |
แสดงสถานะบัสการสื่อสารของอุปกรณ์ |
|
InfoCenter Revision (เวอร์ชัน InfoCenter) |
แสดงรายการเวอร์ชันซอฟต์แวร์ของหน้าจอ InfoCenter |
|
|
|
|
รายการเมนู |
คำอธิบาย |
|---|---|
|
Traction (การขับเคลื่อน) |
หากต้องการข้อมูลเพิ่มเติมเกี่ยวกับรายการเมนูการวินิจฉัย โปรดดูคู่มือซ่อมบำรุงหรือติดต่อตัวแทนจำหน่ายที่ได้รับอนุญาตของ Toro |
|
Aeration (การเติมอากาศ) |
|
|
เครื่องยนต์ |
เมนูที่ได้รับการป้องกันจะถูกซ่อนไว้ตามค่าเริ่มต้น หากต้องการปลดล็อกการตั้งค่าเหล่านี้ ให้ป้อนรหัส PIN
Note: รหัส PIN เริ่มต้นของอุปกรณ์ที่ตั้งค่ามาจากโรงงานคือ 0000 หรือ 1234 ตัวแทนจำหน่ายอาจจะเปลี่ยนรหัส PIN ตอนที่ส่งมอบอุปกรณ์หากคุณเปลี่ยนรหัส PIN ดังกล่าวและลืมรหัส โปรดติดต่อขอความช่วยเหลือจากตัวแทนจำหน่ายของ Toro ที่ได้รับอนุญาต
จากเมนูหลัก เลื่อนลงมายังเมนูการตั้งค่า และกดปุ่มเลือก (รูป 27)

ในการตั้งค่า เลื่อนไปยังป้อน PIN จากนั้นกดปุ่มเลือก (รูป 28A)

ป้อนรหัส PIN โดยกดปุ่มขึ้น/ลง จนกว่าเลขหลักแรกที่ถูกต้องจะปรากฏ จากนั้นกดปุ่มขวาเพื่อเลื่อนไปหลักถัดไป (รูป 28B และ รูป 28C) ทำซ้ำขั้นตอนนี้จนกระทั่งป้อนตัวเลขหลักสุดท้าย
กดปุ่มเลือก (รูป 28D)
Note: หากหน้าจอยอมรับรหัส PIN และปลดล็อกเมนูที่ได้รับการป้องกันสำเร็จ
คำว่า
จะปรากฏขึ้นที่มุมขวาบนของหน้าจอ
หากต้องการซ่อนเมนูที่ได้รับการป้องกัน ให้บิดสวิตช์กุญแจไปยังตำแหน่งปิด ตามด้วยตำแหน่งเปิด
เมื่อป้อนรหัส PIN เสร็จแล้ว เข้าสู่เมนูการตั้งค่า แล้วเลื่อนลงมายังป้องกันการตั้งค่า
หากต้องการดูเมนูที่ได้รับการป้องกันโดยไม่ต้องป้อนรหัส
PIN ให้ใช้ปุ่มเลือกเพื่อเปลี่ยนการป้องกันการตั้งค่าเป็น
(ปิด)
หากต้องการดูเมนูที่ได้รับการป้องกันโดยที่ต้องป้อนรหัส
PIN ให้ใช้ปุ่มเลือกเพื่อเปลี่ยนการป้องกันการตั้งค่าเป็น
(เปิด)
แล้วตั้งค่ารหัส PIN จากนั้นบิดกุญแจในสวิตช์สตาร์ทไปที่ตำแหน่ง ปิด ตามด้วยตำแหน่ง เปิด

ไฟสีแดงกะพริบ—เกิดความขัดข้อง
ไฟสีแดงสว่าง—มีคำแนะนำ
ไฟสีน้ำเงินสว่าง—ข้อความเกี่ยวกับการปรับเทียบ/ข้อความโต้ตอบ
ไฟสีเขียวสว่าง—การทำงานตามปกติ
Note: ข้อมูลจำเพาะและการออกแบบอาจมีการเปลี่ยนแปลงโดยไม่ต้องแจ้งให้ทราบ
| ความกว้าง | 127 ซม. (50.1 นิ้ว) |
| ฐานล้อ | 113 ซม. (44.5 นิ้ว) |
| ความกว้างช่วงล้อ | 97 ซม. (38.3 นิ้ว) |
| ความกว้างในการเจาะ | 122 ซม. (48 นิ้ว) |
| ความยาว | 295 ซม. (116.3 นิ้ว) |
| ความสูงของส่วนหัว (ยกขึ้น) | 114 ซม. (45 นิ้ว) |
| ความสูงของส่วนหัว (ยกลง) | 93 ซม. (36.5 นิ้ว) |
| ความสูง มือจับ | 154.2 ซม. (60.7 นิ้ว) |
| ความสูงจากพื้น | 12 ซม. (4.8 นิ้ว) |
| ความเร็วเดินหน้า | 0 ถึง 7.2 กม./ชม. (0 ถึง 4.5 ไมล์ต่อชม.) |
| ความเร็วถอยหลัง | 0 ถึง 4 กม./ชม. (0 ถึง 2.5 ไมล์ต่อชม.) |
| น้ำหนักสุทธิ | 745 กก. (1,642 ปอนด์) |
เราจัดจำหน่ายอุปกรณ์ต่อพ่วงและอุปกรณ์เสริมที่ Toro รับรองมากมายสำหรับใช้กับอุปกรณ์ เพื่อเสริมประสิทธิภาพและขยายความสามารถ โปรดติดต่อตัวแทนบริการหรือตัวแทนจำหน่ายของ Toro ที่ได้รับอนุญาต หรือเข้าไปที่ www.Toro.com เพื่อดูรายการอุปกรณ์ต่อพ่วงและอุปกรณ์เสริมที่รับรองทั้งหมด
ใช้อะไหล่และอุปกรณ์เสริมของแท้จาก Toro เท่านั้นเพื่อให้อุปกรณ์ทำงานด้วยประสิทธิภาพสูงสุด อะไหล่ทดแทนและอุปกรณ์เสริมที่ผลิตโดยผู้ผลิตรายอื่นอาจเป็นอันตราย และการใช้งานดังกล่าวอาจทำให้การรับประกันผลิตภัณฑ์เป็นโมฆะ
โปรดไปที่ตารางรูปแบบการใช้งานเดือยเจาะด้านล่างเพื่อดูข้อมูลเกี่ยวกับหัวเดือย แผงป้องกันสนาม และเดือยเจาะ
| คำอธิบายหัวเดือย | ระยะห่างหัวเดือย | ขนาดก้าน | จำนวนเดือยเจาะ | ชนิดแผงป้องกันสนาม (จำนวน) |
|---|---|---|---|---|
| หัวเดือยขนาดเล็ก 2x5 | 41 มม. (1.60 นิ้ว) | 9.5 มม. (3/8 นิ้ว) | 60 | 5 เดือยเจาะ—สั้น (2) |
| 5 เดือยเจาะ—ยาว (1) | ||||
| หัวเดือยขนาดเล็ก 1x6 | 32 มม. (1.25 นิ้ว) | 9.5 มม. (3/8 นิ้ว) | 36 | 6 เดือยเจาะ—สั้น (2) |
| 6 เดือยเจาะ—ยาว (1) | ||||
| 3 หัวเดือย (7/8 นิ้ว) | 66 มม. (2.60 นิ้ว) | 22.2 มม. (7/8 นิ้ว) | 18 | 3 เดือยเจาะ—สั้น (2) |
| 3 เดือยเจาะ—ยาว (1) | ||||
| 3 หัวเดือย (3/4 นิ้ว) | 66 มม. (2.60 นิ้ว) | 19.5 มม. (3/4 นิ้ว) | 18 | 3 เดือยเจาะ—สั้น (2) |
| 3 เดือยเจาะ—ยาว (1) | ||||
| 4 หัวเดือย (3/4 นิ้ว) | 51 มม. (2.00 นิ้ว) | 19.5 มม. (3/4 นิ้ว) | 24 | 4 เดือยเจาะ—สั้น (2) |
| 4 เดือยเจาะ—ยาว (1) | ||||
| 5 หัวเดือยแบบเข็ม | 41 มม. (1.60 นิ้ว) | — | 30 | 5 เดือยเจาะ—สั้น (2) |
| 5 เดือยเจาะ—ยาว (1) |
Note: ดูด้านซ้ายและขวาของอุปกรณ์จากตำแหน่งปกติในการควบคุมอุปกรณ์
ห้ามมิให้เด็กหรือผู้ที่ไม่ผ่านการฝึกอบรมใช้งานหรือซ่อมบำรุงอุปกรณ์โดยเด็ดขาด กฎหมายท้องถิ่นอาจจำกัดอายุของผู้ขับขี่ เจ้าของเป็นผู้รับผิดชอบในการจัดการฝึกอบรมให้กับผู้ควบคุมและช่างซ่อมบำรุง
ทำความคุ้นเคยกับการใช้งานอุปกรณ์อย่างปลอดภัย ระบบควบคุมของผู้ขับขี่ และป้ายความปลอดภัย
เรียนรู้วิธีหยุดและดับเครื่องยนต์อย่างรวดเร็ว
ก่อนการใช้งาน ควรตรวจสอบอุปกรณ์ทุกครั้งเพื่อให้แน่ใจว่าเดือยเจาะอยู่ในสภาพพร้อมใช้งาน และเปลี่ยนเดือยเจาะที่สึกหรอหรือชำรุด
ตรวจสอบบริเวณที่คุณวางแผนว่าจะใช้อุปกรณ์ และเคลื่อนย้ายวัตถุทั้งหมดที่อุปกรณ์อาจชนได้
มองหาและทำเครื่องหมายตำแหน่งของสายไฟและสายเคเบิลของระบบสื่อสารทั้งหมด วัสดุอุปกรณ์ระบบจ่ายน้ำ และสิ่งกีดขวางอื่นๆ ในบริเวณที่จะเติมอากาศ นำสิ่งที่อาจเป็นอันตรายออก ถ้าทำได้ หรือวางแผนวิธีหลีกเลี่ยง
จอดอุปกรณ์บนพื้นราบ ดันแฮนด์ควบคุมขึ้นจนสุดแล้วใส่สลักเพื่อเข้าเบรกจอด ดับเครื่องยนต์รถลากพ่วง ดึงกุญแจออก และรอให้การเคลื่อนไหวหยุดนิ่ง
ตรวจสอบว่าส่วนควบคุมตรวจจับผู้ปฏิบัติงาน สวิตช์ความปลอดภัย และแผงกั้นทั้งหมดมีติดตั้งไว้และทำงานถูกต้อง ใช้งานเฉพาะอุปกรณ์ที่ทำงานได้อย่างถูกต้องเท่านั้น
โปรดใช้ความระมัดระวังอย่างยิ่งเมื่อจัดการกับน้ำมัน น้ำมันเป็นวัตถุติดไฟได้และละอองน้ำมันอาจระเบิดได้
ดับบุหรี่ ซิการ์ ไปป์ และแหล่งจุดไฟอื่นๆ ให้หมด
ใช้เฉพาะภาชนะบรรจุน้ำมันที่ผ่านการรับรองเท่านั้น
อย่าเปิดฝาถังเชื้อเพลิงหรือเติมน้ำมันเชื้อเพลิงในขณะที่เครื่องยนต์กำลังทำงานหรือร้อนอยู่
อย่าเติมหรือระบายน้ำมันในพื้นที่อับ
อย่าจัดเก็บอุปกรณ์หรือภาชนะบรรจุน้ำมันในที่ที่มีเปลวไฟ ประกายไฟ หรือไฟนำร่อง เช่น บนเครื่องทำน้ำร้อน หรือเครื่องใช้ไฟฟ้าอื่นๆ
หากน้ำมันหก อย่าพยายามสตาร์ทเครื่องยนต์ หลีกเลี่ยงการสร้างแหล่งจุดไฟจนกว่าละอองน้ำมันจะระเหยไป
| ประเภท | น้ำมันเบนซินไร้สารตะกั่ว |
| ค่าออกเทนขั้นต่ำ | 87 (สหรัฐอเมริกา) หรือ 91 (ค่าออกเทนโดยวิธีวิจัย, นอกสหรัฐอเมริกา) |
| เอทานอล | ไม่เกิน 10% โดยปริมาตร |
| เมทานอล | ไม่มี |
| MTBE (เมทิลเทอร์เทียรีบิวทิลอีเทอร์) | น้อยกว่า 15% โดยปริมาตร |
| น้ำมัน | อย่าเติมลงในเชื้อเพลิง |
ใช้น้ำมันเชื้อเพลิงที่สะอาดและใหม่ (อายุไม่เกิน 30 วัน) จากแหล่งที่มีชื่อเสียงเท่านั้น
Important: เพื่อลดปัญหาในการสตาร์ท เติมสารคงสภาพ/สารปรับสภาพเชื้อเพลิงลงในเชื้อเพลิงใหม่ตามที่แนะนำโดยผู้ผลิตสารคงสภาพ/สารปรับสภาพ
ความจุถังน้ำมัน: 26.5 ลิตร (7 แกลลอนสหรัฐ)
จอดอุปกรณ์บนพื้นราบ ดันแฮนด์ควบคุมขึ้นจนสุดแล้วใส่สลักเพื่อเข้าเบรกจอด ดับเครื่องยนต์รถลากพ่วง ดึงกุญแจออก และรอให้การเคลื่อนไหวหยุดนิ่ง
ทำความสะอาดรอบๆ ฝาถังน้ำมัน และเปิดออกมา (รูป 30)

เติมน้ำมันลงในถังจนกระทั่งระดับน้ำมันอยู่ใต้ช่องเติมเชื้อเพลิง 6 มม. ถึง 13 มม. (1/4 ถึง 1/2 นิ้ว)
Important: พื้นที่ในถังนี้เผื่อไว้ให้น้ำมันเชื้อเพลิงขยายตัว อย่าเติมน้ำมันมากเกินไป
ปิดฝาถังน้ำมันให้แน่น
เช็ดน้ำมันที่หก
ก่อนสตาร์ตเครื่องยนต์แต่ละวัน ให้ทำตามขั้นตอนการใช้แต่ละครั้ง/ขั้นตอนประจำตัวที่ระบุใน
| ระยะการซ่อมบำรุง | ขั้นตอนการบำรุงรักษา |
|---|---|
| ก่อนการใช้งานแต่ละครั้งหรือทุกวัน |
|
หากสวิตช์อินเตอร์ล็อกนิรภัยขาดหรือชำรุด อุปกรณ์อาจทำงานผิดปกติ ทำให้เกิดการบาดเจ็บขึ้นได้
อย่าแก้ไขดัดแปลงสวิตช์อินเตอร์ล็อก
ตรวจสอบการทำงานของระบบอินเตอร์ล็อกเป็นประจำทุกวัน และเปลี่ยนอะไหล่ของสวิตช์อินเตอร์ล็อกที่เสียหายก่อนการใช้งานอุปกรณ์
ระบบอินเตอร์ล็อกนิรภัยป้องกันไม่ให้เครื่องยนต์สตาร์ท ยกเว้นกรณีที่ส่วนควบคุมการขับเคลื่อนอยู่ในตำแหน่ง เกียร์ว่าง
ระบบอินเทอร์ล็อกนิรภัยจะป้องกันไม่ให้เครื่องยนต์สตาร์ท ยกเว้นในกรณีที่คันควบคุมแบบตรวจจับผู้ใช้งานถูกปล่อยจนสุด
ระบบอินเทอร์ล็อกนิรภัยจะป้องกันไม่ให้เครื่องยนต์สตาร์ท ยกเว้นในกรณีที่คันควบคุมหัวเดือยถูกปล่อยจนสุด
ระบบอินเทอร์ล็อกนิรภัยจะยกหัวเดือยขึ้นและปิดการทำงานของหัวเดือย หากคุณขับอุปกรณ์ถอยหลังขณะเติมอากาศหรือกดสวิตช์หยุด
Important: หากระบบอินเตอร์ล็อกนิรภัยไม่ทำงานตามที่อธิบายไว้ ควรเรียกตัวแทนจำหน่ายของ Toro ที่ได้รับอนุญาตมาซ่อมแซมระบบอินเตอร์ล็อกนิรภัยทันที
หากหัวเดือยอยู่ในตำแหน่งยกลง ให้ทำตามขั้นตอนต่อไปนี้ หากหัวเดือยอยู่ในตำแหน่งยกขึ้น ข้ามไปที่หัวข้อการทดสอบอินเตอร์ล็อกของสตาร์ทเตอร์
สตาร์ทเครื่องยนต์และตั้งค่าความเร็วเครื่องยนต์ให้อยู่ในตำแหน่ง ช้า โปรดดู การสตาร์ทเครื่องยนต์
ลดระดับแฮนด์ควบคุมลงมา (รูป 31)

กดปุ่มใดก็ได้บน InfoCenter
Note: หัวเดือยจะยกขึ้น
ดับเครื่องยนต์ โปรดดู การดับเครื่องยนต์
หากเครื่องยนต์เดินอยู่ ให้ดับเครื่องยนต์
บีบคันควบคุมแบบตรวจจับผู้ใช้งานเข้ากับแฮนด์ควบคุม และหมุนส่วนควบคุมการขับเคลื่อน (รูป 32) ไปด้านหน้าหรือด้านหลัง แล้วสตาร์ทเครื่องยนต์
Important: เครื่องยนต์จะต้องไม่สตาร์ท

ปล่อยคันควบคุมแบบตรวจจับผู้ใช้งาน เลื่อนส่วนควบคุมการขับเคลื่อนไปยังตำแหน่ง เกียร์ว่าง จากนั้นสตาร์ทเครื่องยนต์
บีบคันควบคุมแบบตรวจจับผู้ใช้งานเข้ากับแฮนด์ควบคุม แล้วหมุนด้านบนของส่วนควบคุมการขับเคลื่อนไปด้านหน้า (รูป 33)
Note: อุปกรณ์จะเดินหน้า

ปล่อยคันควบคุมแบบตรวจจับผู้ใช้งานในขณะที่ยังจับส่วนควบคุมการขับเคลื่อน (รูป 34)
Important: อุปกรณ์จะต้องหยุดเดินหน้า

บีบคันควบคุมแบบตรวจจับผู้ใช้งานเข้ากับแฮนด์ควบคุม แล้วหมุนด้านบนของส่วนควบคุมการขับเคลื่อนไปด้านหน้า (รูป 35)
Note: อุปกรณ์จะเดินหน้า

กดสวิตช์หยุดในขณะที่ยังจับคันควบคุมแบบตรวจจับผู้ใช้งานและส่วนควบคุมการขับเคลื่อนเอาไว้อยู่ (รูป 36)
Important: อุปกรณ์จะต้องหยุดเดินหน้า
Note: เครื่องยนต์ยังคงทำงาน

รีเซ็ตสวิตช์หยุด โปรดดู การรีเซ็ตสวิตช์หยุด
ดำเนินการอย่างใดอย่างหนึ่งดังต่อไปนี้
ขับอุปกรณ์ไปบนสนามหญ้าบริเวณที่คุณสามารถเจาะเติมอากาศได้โดยไม่ทำให้เดือยเจาะหรือบริเวณนั้นเสียหาย
ถอดเดือยเจาะออก
บีบคันควบคุมแบบตรวจจับผู้ใช้งานเข้ากับแฮนด์ควบคุม หมุนด้านบนของส่วนควบคุมการขับเคลื่อนไปด้านหน้า จากนั้นบีบคันเติมอากาศ (รูป 37)
Note: อุปกรณ์จะเดินหน้า หัวเดือยจะทำงานและลดระดับลงมา

ระหว่างที่บีบคันควบคุมแบบตรวจจับผู้ใช้งานเข้ากับคันเติมอากาศ ให้หมุนด้านบนของส่วนควบคุมการขับเคลื่อนไปด้านหลัง (รูป 38)
Important: หัวเดือยควรจะต้องยกขึ้นและหยุดทำงาน
Note: เครื่องยนต์ยังคงทำงาน

ดันส่วนควบคุมการขับเคลื่อนไปที่ตำแหน่ง เกียร์ว่าง
หากคุณถอดเดือยเจาะออกมาส่วนควบคุมการขับเคลื่อน ให้ติดตั้งเดือยเจาะและทำการปรับเทียบความสูงจากพื้นดินของเดือยเจาะ โปรดดู การประกอบเดือยเจาะเข้ากับหัวเดือย และ การปรับเทียบความสูงจากพื้นดินของเดือยเจาะ
Important: ทุกครั้งที่เปลี่ยนจากเดือยเจาะแบบยาวมาใช้เดือยเจาะที่สั้นลง คุณต้องปรับเทียบความสูงจากพื้นดินของเดือยเจาะเสมอ
แผงยึดเดือยเจาะ แผงป้องกันสนาม และเดือยเจาะสำหรับใช้งานร่วมกับอุปกรณ์มีหลายแบบให้เลือก เลือกองค์ประกอบที่จำเป็นตามตารางอุปกรณ์เสริมในหัวข้ออุปกรณ์ต่อพ่วงและอุปกรณ์เสริม
ยกหัวเดือยขึ้นและล็อคไว้ในตำแหน่งด้วยสลักซ่อมบำรุง โปรดดู การหนุนหัวเดือยด้วยสลักซ่อมบำรุง
จอดอุปกรณ์บนพื้นราบ ดันแฮนด์ควบคุมขึ้นจนสุดแล้วใส่สลักเพื่อเข้าเบรกจอด ดับเครื่องยนต์รถลากพ่วง ดึงกุญแจออก และรอให้การเคลื่อนไหวหยุดนิ่ง
Note: ตัวหนีบแผงป้องกันสนาม แหวน และน็อตล็อกมีบ่าติดตั้งอยู่บนโครงยึดแผงป้องกันสนามมาแล้วจากโรงงาน (รูป 39)
ประกอบแผงป้องกันสนามเข้ากับโครงยึดแผงป้องกันสนามไว้อย่างหลวมๆ ด้วยตัวหนีบแผงป้องกันสนาม 4 ตัว และน็อตล็อกมีบ่า 12 ตัว (3/8 นิ้ว) และแหวน 12 อัน (7/16 x 13/16 นิ้ว)
Note: อย่าเพิ่งขันน็อตล็อกมีบ่าจนแน่น

ประกอบตัวหนีบเดือยเจาะเข้ากับแผงยึดเดือยเจาะไว้อย่างหลวมๆ (รูป 40) ด้วยสลักเกลียว (3/8 x 1 1/2 นิ้ว) 4 ตัว อย่าเพิ่งขันสลักเกลียวจนแน่น
Note: สลักเกลียวเป็นชิ้นส่วนที่รวมอยู่ในชุดแผงยึดเดือยเจาะ

ประกอบเดือยเจาะเข้ากับแผงยึดเดือยเจาะและตัวหนีบเดือยเจาะ (รูป 41)

ขันสลักเกลียว (3/8 x 1 1/2 นิ้ว) ที่ทำหน้าที่ยึดตัวหนีบเดือยเจาะและเดือยเจาะจนได้แรงบิด 40.6 นิวตันเมตร (30 ฟุตปอนด์)
ทำซ้ำขั้นตอนที่ 1 ถึง 3 สำหรับตัวหนีบเดือยเจาะ แผงยึดเดือยเจาะ และเดือยเจาะที่เหลือ
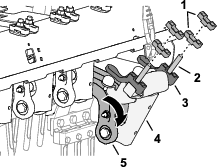
ประกอบแผงยึดเดือยเจาะและเดือยเจาะเข้ากับแขนเดือยเจาะหมายเลข 2 (รูป 42 และ รูป 43) ด้วยสลักเกลียว (1/2 x 1 1/4 นิ้ว) 3 ตัว


ขันสลักเกลียว (1/2 x 1 1/4 นิ้ว) จนได้แรงบิด 102 นิวตันเมตร (75 ฟุตปอนด์)
ทำซ้ำขั้นตอนที่ 1 และ 2 สำหรับแขนเดือยเจาะหมายเลข 5
ตรวจสอบให้ตำแหน่งเดือยเจาะอยู่กลางร่องของแผงป้องกันสนาม (รูป 44)
Note: ปรับแผงป้องกันสนามตามที่จำเป็น

ขันน็อตล็อกมีบ่า (3/8 นิ้ว) ที่ใช้ยึดตัวหนีบแผงป้องกันสนาม 3 ตัวและแผงป้องกันสนาม 3 แผง เข้ากับโครงยึดแผงป้องกันสนามทั้ง 3 โครง
ติดตั้งแผงยึดเดือยเจาะและเดือยเจาะที่เหลือเข้ากับแขนเดือยเจาะหมายเลข 1, 3, 4 และ 6 ด้วยสลักเกลียว (1/2 x 1 1/4 นิ้ว) 12 ตัว
ขันสลักเกลียว (1/2 x 1 1/4 นิ้ว) จนได้แรงบิด 102 นิวตันเมตร (75 ฟุตปอนด์)
ปรับเทียบอุปกรณ์เพื่อตรวจสอบความสูงจากพื้นดินของเดือยเจาะ โปรดดู การเปิดใช้งานแอปพลิเคชันกำหนดความสูงจากพื้นดิน
บิดกุญแจสตาร์ทไปที่ตำแหน่ง ทำงาน
หากลูกศรไม่ปรากฏบนหน้าจอในโหมดขับเคลื่อน หรือหน้าจอในโหมดเติมอากาศ ให้ป้อนรหัส PIN เพื่อเข้าสู่เมนูที่ได้รับการป้องกัน โปรดดู การเข้าถึงเมนูที่ได้รับการป้องกัน
Note: หน้าจอโหมดขับเคลื่อนหรือหน้าจอโหมดเติมอากาศจะปรากฏขึ้นมา (รูป 45)

กดปุ่มขวาสองครั้งเพื่อแสดงหน้าจอการปรับเทียบความสูงจากพื้นดินของเดือยเจาะ (รูป 46)
Note: กดปุ่มซ้ายเพื่อแสดงหน้าจอโหมดขับเคลื่อนหรือโหมดเติมอากาศ

กดปุ่มขวาเพื่อแสดงหน้าจอการตั้งค่าความลึกหลุมเจาะ (รูป 47)
Note: กดปุ่มซ้ายเพื่อแสดงหน้าจอกำหนดความสูงจากพื้นดิน

กดปุ่มขวาเพื่อแสดงหน้าจอการตั้งค่าระยะห่างระหว่างหลุมเจาะ (รูป 48)
Note: กดปุ่มซ้ายเพื่อแสดงหน้าจอการตั้งค่าความลึกหลุมเจาะ

กดปุ่มขวาเพื่อแสดงหน้าจอการตั้งค่าเส้นผ่านศูนย์กลางของเดือยเจาะ (รูป 48)
Note: กดปุ่มซ้ายเพื่อแสดงหน้าจอการตั้งค่าระยะห่างระหว่างหลุมเจาะ

กดปุ่มขวาเพื่อแสดงหน้าจอการตั้งค่าจำนวนเดือยเจาะ (รูป 50)
Note: กดปุ่มซ้ายเพื่อแสดงหน้าจอการตั้งค่าเส้นผ่านศูนย์กลางของเดือยเจาะ

Note: ProCore 648s ออกแบบมาเพื่อมอบประสิทธิภาพสูงสุดในการเจาะเติมอากาศ สามารถใช้งานได้กับหญ้าและดินหลายชนิด ครอบคลุมทั้งสภาพทางการเกษตรและรูปแบบเดือยเจาะที่หลากหลาย เมื่อปรับตั้งความลึกที่ 7.6 เซนติเมตร (3 นิ้ว) แต่หากใช้งานในระดับความลึกที่ตื้นกว่านี้ โดยเฉพาะน้อยกว่า 5 เซนติเมตร (2 นิ้ว) ร่วมกับเดือยเจาะขนาดเล็ก อาจทำให้พื้นผิวถูกรบกวนมากขึ้น
ตรวจสอบว่าหัวเดือยอยู่ในตำแหน่งยกขึ้น โปรดดู การยกหัวเดือยขึ้น
บิดกุญแจสตาร์ทไปที่ตำแหน่ง ทำงาน

กดปุ่มขวาจนกว่าหน้าจอการตั้งค่าความลึกหลุมเจาะจะแสดงขึ้นมา (รูป 51 และ รูป 52)
ปรับความลึกของเดือยเจาะโดยใช้ลูกศรขึ้นและลง (รูป 52) ดังต่อไปนี้
กดปุ่มลงเพื่อลดความลึกหลุมเจาะ
กดปุ่มขึ้นเพื่อเพิ่มความลึกหลุมเจาะ

กดปุ่มซ้ายหรือขวาเพื่อบันทึกการตั้งค่าและออกจากหน้าจอความลึกหลุมเจาะ
บิดกุญแจสตาร์ทไปที่ตำแหน่ง ปิด
Note: หากเจาะเติมอากาศด้วยความลึกสูงสุด (ไม่ว่าจะใช้เดือยเจาะความยาวเท่าใด) หลังจากปรับเทียบความสูงจากพื้นของเดือยเจาะ แล้วพบว่าสลักเกลียวบนแผงป้องกันสนามครูดหรือสัมผัสกับพื้นสนาม ให้ลดความลึกลงมาขั้นหนึ่ง (¼ นิ้ว)
Note: เมื่อคุณเลือกอัตราการเว้นระยะห่างหลุมเจาะที่ต้องการ อุปกรณ์จะควบคุมความเร็วขับเคลื่อนบนพื้นเอาไว้เพื่อคงระยะห่างระหว่างหลุมเจาะให้สม่ำเสมอ
ตรวจสอบว่าหัวเดือยอยู่ในตำแหน่งยกขึ้น โปรดดู การยกหัวเดือยขึ้น
บิดกุญแจสตาร์ทไปที่ตำแหน่ง ทำงาน

กดปุ่มขวาจนกว่าหน้าจอการตั้งค่าระยะห่างระหว่างหลุมเจาะจะแสดงขึ้นมา (รูป 53 และ รูป 54)
ปรับระยะห่างระหว่างหลุมเจาะ (รูป 54) ตามขั้นตอนต่อไปนี้
กดปุ่มลงเพื่อลดระยะห่างระหว่างหลุมเจาะ
กดปุ่มขึ้นเพื่อเพิ่มระยะห่างระหว่างหลุมเจาะ

กดปุ่มซ้ายหรือขวาเพื่อบันทึกการตั้งค่าและออกจากหน้าจอระยะห่างระหว่างหลุมเจาะ
บิดกุญแจสตาร์ทไปที่ตำแหน่ง ปิด
ตรวจสอบว่าหัวเดือยอยู่ในตำแหน่งยกขึ้น โปรดดู การยกหัวเดือยขึ้น
บิดกุญแจสตาร์ทไปที่ตำแหน่ง ทำงาน

กดปุ่มขวาจนกว่าหน้าจอการตั้งค่าการตั้งค่าเส้นผ่านศูนย์กลางของเดือยเจาะจะแสดงขึ้นมา (รูป 55 และ รูป 56)
ปรับขนาดเส้นผ่านศูนย์กลางของเดือยเจาะโดยใช้ลูกศรขึ้นและลง (รูป 56) ดังต่อไปนี้
กดปุ่มขึ้นเพื่อเพิ่มขนาดเส้นผ่านศูนย์กลางของเดือยเจาะ
กดปุ่มลงเพื่อลดขนาดเส้นผ่านศูนย์กลางของเดือยเจาะ

กดปุ่มซ้ายหรือขวาเพื่อบันทึกการตั้งค่าและออกจากหน้าจอเส้นผ่านศูนย์กลางของเดือยเจาะ
บิดกุญแจสตาร์ทไปที่ตำแหน่ง ปิด
ตรวจสอบว่าหัวเดือยอยู่ในตำแหน่งยกขึ้น โปรดดู การยกหัวเดือยขึ้น
บิดกุญแจสตาร์ทไปที่ตำแหน่ง ทำงาน

กดปุ่มขวาจนกว่าหน้าจอการตั้งค่าจำนวนเดือยเจาะจะแสดงขึ้นมา (รูป 58)
ปรับจำนวนเดือยเจาะโดยใช้ลูกศรขึ้นและลง (รูป 58) ดังต่อไปนี้
Important: จำนวนเดือยเจาะคือจำนวนของเดือยบนแผงยึดเดือยเจาะแต่ละแผง
กดปุ่มขึ้นเพื่อเพิ่มจำนวนเดือยเจาะ
กดปุ่มลงเพื่อลดจำนวนเดือยเจาะ

กดปุ่มซ้ายหรือขวาเพื่อบันทึกการตั้งค่าและออกจากหน้าจอจำนวนเดือยเจาะ
บิดกุญแจสตาร์ทไปที่ตำแหน่ง ปิด
| ระยะการซ่อมบำรุง | ขั้นตอนการบำรุงรักษา |
|---|---|
| ก่อนการใช้งานแต่ละครั้งหรือทุกวัน |
|
Important: ปรับเทียบความสูงจากพื้นดินของเดือยเจาะก่อนทุกครั้งที่เปลี่ยนขนาดเดือยเจาะหรือเปลี่ยนเดือยเจาะที่เสียหาย
ตรวจสอบว่าหัวเดือยอยู่ในตำแหน่งยกขึ้น
จอดอุปกรณ์บนพื้นราบ ดันแฮนด์ควบคุมขึ้นจนสุดแล้วใส่สลักเพื่อเข้าเบรกจอด ดับเครื่องยนต์รถลากพ่วง ดึงกุญแจออก และรอให้การเคลื่อนไหวหยุดนิ่ง
ถอดฝาครอบหัวเดือย โปรดดู การถอดฝาครอบหัวเดือย
หมุนรอกหัวเดือย (รูป 59) จนกระทั่งเดือยเจาะด้านนอกสุดอยู่ชิดกับพื้นมากที่สุด (รูป 60)
Important: ระวังอย่าแหย่นิ้วเข้าไปใกล้บริเวณที่สายพานเลื่อนมาชิดและถอยห่างจากรอกเพื่อป้องกันไม่ให้นิ้วถูกหนีบ


ติดตั้งฝาครอบหัวเดือย โปรดดู การติดตั้งฝาครอบหัวเดือย
บิดกุญแจสตาร์ทไปที่ตำแหน่ง ทำงาน
Note: หน้าจอโหมดขับเคลื่อนหรือหน้าจอโหมดเติมอากาศจะปรากฏขึ้นมา (รูป 61)

ขยับแฮนด์ควบคุมจนกระทั่งคุณมองเห็นเดือยเจาะด้านนอกสุดที่คุณจัดตำแหน่งไว้แล้วในขั้นตอน การเตรียมอุปกรณ์
กดปุ่มขวาจนกว่าหน้าต่าง กำหนดความสูงจากพื้นดิน จะแสดงขึ้นมา
เมื่อระบบแสดงหน้าจอกำหนดความสูงจากพื้นดิน (รูป 62) ให้กดปุ่มกลางปุ่มใดก็ได้

เมื่อระบบแสดงหน้าจอ กด OK เพื่อเริ่มกำหนด (รูป 63) ให้กดปุ่มเลือก

Note: ข้อความ CALIBRATION ENGAGED (ดำเนินการปรับเทียบ) จะปรากฏขึ้นมาและหัวเดือยจะค่อยๆ ลดระดับลง
Important: วางมือไว้ใกล้ๆ InfoCenter
Note: หัวเดือยจะขยับลงช้ากว่าปกติหากน้ำมันไฮดรอลิกเย็น
เมื่อเห็นว่าเดือยเจาะอันใดอันหนึ่งสัมผัสกับพื้น ให้กดปุ่มเลือกขณะที่ระบบแสดงหน้าจอลดระดับหัวเดือย (รูป 64)
Note: เดือยเจาะควรจะสัมผัสกับพื้นเท่านั้น โดยที่ไม่ยกขึ้นหรือถ่ายน้ำหนักมาจากล้อหากหัวเดือยทำให้อุปกรณ์ยกขึ้น แสดงว่าอุปกรณ์ปรับเทียบความสูงจากพื้นไม่ถูกต้อง ส่งผลให้ความลึกหลุมเจาะไม่ถูกต้องและทำให้เกิดการครูดตอนที่ทำการเจาะ

Note: ข้อความ CALIBRATION COMPLETE (ปรับเทียบเสร็จสมบูรณ์) จะปรากฏขึ้นมาและหัวเดือยจะยกขึ้นจนสุด
กดปุ่มย้อนกลับเพื่อออกจากหน้าจอกำหนดความสูงจากพื้นดิน
เจ้าของ/ผู้ควบคุมสามารถป้องกันอุบัติเหตุได้ และยังเป็นผู้รับผิดชอบอุบัติเหตุที่อาจส่งผลให้เกิดการบาดเจ็บหรือความเสียหายต่อทรัพย์สินด้วย
สวมใส่เสื้อผ้าที่เหมาะสม รวมถึงอุปกรณ์ป้องกันดวงตา กางเกงขายาว รองเท้ากันลื่นที่แน่นหนา และอุปกรณ์ป้องกันการได้ยิน ถ้าผมยาวให้มัดไปข้างหลังและอย่าสวมใส่เสื้อผ้าหลวมหรือเครื่องประดับที่ยาวย้วย
อย่าใช้งานอุปกรณ์ขณะป่วย เหนื่อยล้า หรืออยู่ภายใต้ฤทธิ์ของแอลกอฮอล์หรือยาเสพติด
กันคนโดยรอบ เด็กๆ และสัตว์เลี้ยงออกจากพื้นที่ทำงาน ห้ามเด็กใช้งานอุปกรณ์โดยเด็ดขาด ผู้ที่ใช้งานอุปกรณ์ได้จะต้องเป็นบุคคลที่มีหน้าที่รับผิดชอบ ผ่านการฝึกอบรมมาเป็นอย่างดี คุ้นเคยกับคำแนะนำการใช้งาน และมีสมรรถภาพร่างกายพร้อมเท่านั้น
อย่าขนส่งผู้โดยสารบนอุปกรณ์
ใช้งานอุปกรณ์เฉพาะเมื่อมีทัศนวิสัยที่ดี เพื่อหลีกเลี่ยงหลุมบ่อหรืออันตรายที่มองไม่เห็นซ่อนอยู่
ดูแลให้มือและเท้าออกห่างจากเดือยเจาะ
มองไปข้างหลังและมองลงด้านล่างก่อนถอยอุปกรณ์ เพื่อให้แน่ใจว่าเส้นทางโล่ง
หยุดอุปกรณ์ ดับเครื่องยนต์ ดึงกุญแจออก รอให้ชิ้นส่วนเคลื่อนไหวทั้งหมดหยุดนิ่ง และตรวจสอบเดือยเจาะหลังจากชนวัตถุ หรือตรวจดูว่าอุปกรณ์สั่นผิดปกติหรือไม่ ซ่อมแซมความเสียหายทั้งหมดก่อนกลับไปใช้งานต่อ
ดูแลให้แรงดันล้ออยู่ในระดับที่เหมาะสมเสมอ
ลดความเร็วขณะขับเคลื่อนบนถนนหรือพื้นผิวที่ขรุขระ
ทางลาดเป็นปัจจัยสำคัญที่ทำให้เกิดการสูญเสียการควบคุมและอุบัติเหตุพลิกคว่ำ ซึ่งส่งผลให้เกิดการบาดเจ็บร้ายแรงและการเสียชีวิตได้ คุณต้องดูแลรับผิดชอบความปลอดภัยในการใช้งานอุปกรณ์บนพื้นลาดเอียง การใช้งานอุปกรณ์บนพื้นลาดเอียงต้องใช้ความระมัดระวังมากยิ่งขึ้น
ประเมินสภาพสถานที่เพื่อพิจารณาว่าทางลาดปลอดภัยสำหรับการใช้งานอุปกรณ์หรือไม่ รวมทั้งสำรวจสถานที่ ใช้เหตุและผลและวิจารณญาณที่ดีขณะสำรวจ
ตรวจสอบคำแนะนำสำหรับการใช้งานอุปกรณ์บนทางลาดด้านล่าง และตรวจสอบสภาพพื้นที่อีกครั้งเพื่อพิจารณาว่าคุณสามารถใช้งานอุปกรณ์ในบริเวณดังกล่าวในสภาวะการทำงานของวันนั้นได้หรือไม่ สภาพเส้นทางที่เปลี่ยนแปลงไปอาจจะส่งผลต่อการทำงานของอุปกรณ์บนพื้นลาดได้
หลีกเลี่ยงการสตาร์ท จอด หรือเลี้ยวอุปกรณ์บนทางลาด หลีกเลี่ยงการเปลี่ยนความเร็วหรือทิศทางกะทันหัน ควรหักเลี้ยวช้า ๆ อย่างค่อยเป็นค่อยไป
อย่าใช้งานอุปกรณ์ในสภาวะที่แรงยึดเกาะ การเลี้ยว หรือความเสถียรของอุปกรณ์ไม่แน่นอน
เคลื่อนย้ายหรือทำสัญลักษณ์สิ่งกีดขวาง เช่น หลุมบ่อ แอ่ง เนิน หิน หรืออันตรายอื่นๆ ที่ซ่อนอยู่ เพราะหญ้าสูงอาจทำให้มองไม่เห็นสิ่งกีดขวาง ทางที่ไม่ราบเรียบอาจทำให้อุปกรณ์พลิกคว่ำได้
การใช้งานบนหญ้าเปียก บนพื้นลาด หรือบนเนิน อาจส่งผลให้อุปกรณ์สูญเสียการควบคุมได้ ล้อขับที่สูญเสียแรงลาก อาจส่งผลให้เกิดการไถล และไม่สามารถเบรกหรือเลี้ยวได้
ใช้ความระมัดระวังเป็นพิเศษเมื่อใช้งานอุปกรณ์ใกล้ทางชัน คลอง ทำนบ อันตรายจากน้ำ หรืออันตรายอื่นๆ อุปกรณ์อาจพลิกคว่ำฉับพลันได้ หากล้อเกยข้ามขอบทางหรือขอบทางพังทลาย ดังนั้นควรกำหนดพื้นที่ปลอดภัยระหว่างอุปกรณ์กับอันตรายใด ๆ เตรียมไว้
ยกแฮนด์ควบคุมขึ้นจนสุดและใส่สลักเอาไว้ จากนั้นเข้าเบรกจอด โปรดดู การดึงเบรกมือ
ใช้โช้ค (รูป 70) ตามคำแนะนำต่อไปนี้
ก่อนสตาร์ทเครื่องยนต์เย็น ให้เลื่อนคันโยกส่วนควบคุมโช้คไปยังตำแหน่ง เปิด
เมื่อสตาร์ทเครื่องยนต์แบบอุ่นหรือร้อน คุณไม่จำเป็นต้องใช้โช้คก็ได้

ดันคันโยกลิ้นเร่งไปที่ตำแหน่ง เร็ว ก่อนสตาร์ทเครื่องยนต์เย็น
บิดกุญแจสตาร์ทไปที่ตำแหน่ง สตาร์ท หลังจากเครื่องยนต์สตาร์ทแล้ว ให้ปล่อยกุญแจ
Important: ห้ามสตาร์ทเครื่องนานเกิน 10 วินาทีในแต่ละครั้ง หากเครื่องยนต์สตาร์ทไม่ติด ควรรอให้เครื่องยนต์เย็นลงสัก 30 วินาทีก่อนสตาร์ทใหม่ การไม่ปฏิบัติตามคำแนะนำเหล่านี้อาจทำให้มอเตอร์สตาร์ทไหม้ได้
หลังจากสตาร์ทเครื่องยนต์แล้ว ดันส่วนควบคุมโช้คไปที่ตำแหน่ง ปิด หากเครื่องยนต์ดับหรือสตาร์ทติดยาก ให้ดันโช้คกลับมาที่ตำแหน่ง เปิด สักสองสามวินาที จากนั้นดันคันโยกลิ้นเร่งไปยังความเร็วเครื่องยนต์ที่ต้องการ
Note: ทำซ้ำขั้นตอนนี้ตามที่จำเป็น
เด็กๆ หรือผู้ที่อยู่รอบข้างอาจได้รับบาดเจ็บหากพยายามจะขยับหรือใช้งานอุปกรณ์ที่จอดทิ้งไว้โดยไม่มีผู้ดูแล
ยกแฮนด์ควบคุมขึ้นจนสุดและใส่สลักเข้าเบรกจอด ดับเครื่องยนต์ และดึงกุญแจออกทุกครั้งที่ทิ้งอุปกรณ์ไว้โดยไม่มีผู้ดูแล แม้ว่าจะเพียงไม่นานก็ตาม
ยกแฮนด์ควบคุมขึ้นจนสุดและใส่สลักเอาไว้เพื่อเข้าเบรกจอด โปรดดู การดึงเบรกมือ
ปรับคันโยกลิ้นเร่ง (รูป 71) ไปยังตำแหน่ง ช้า

ปล่อยให้เครื่องยนต์เดินรอบเบา 60 วินาที
บิดกุญแจสตาร์ทไปยังตำแหน่ง ปิดและดึงกุญแจออก
หากคุณจะเคลื่อนย้ายหรือจัดเก็บอุปกรณ์ ต้องปิดวาล์วตัดการจ่ายเชื้อเพลิงเสมอ (รูป 72)
Important: ปิดวาล์วตัดการจ่ายเชื้อเพลิงก่อนเคลื่อนย้ายอุปกรณ์ด้วยรถลากพ่วงหรือจัดเก็บอุปกรณ์ ยกแฮนด์ควบคุมขึ้นจนสุด ใส่สลัก และเข้าเบรกจอดก่อนจะเคลื่อนย้ายอุปกรณ์ ดึงกุญแจออกจากสวิตช์สตาร์ทเพื่อป้องกันไม่ให้ปั๊มเชื้อเพลิงทำงาน ซึ่งจะทำให้แบตเตอรี่ปล่อยประจุออกมา

Important: ใช้งานอุปกรณ์โดยเดินด้านหน้าและลากอุปกรณ์ตามหลัง อย่าเดินหันหลังขณะใช้งานอุปกรณ์

การใช้ล็อกความเร็วจะช่วยให้คุณสามารถขับอุปกรณ์โดยไม่ต้องจับส่วนควบคุมการขับเคลื่อน
Note: คุณจะไม่สามารถใช้ล็อกความเร็วได้ขณะขับอุปกรณ์ถอยหลัง
การใช้ล็อกความเร็วขณะเติมอากาศจะช่วยให้คุณสามารถขับอุปกรณ์ด้วยความเร็วสำหรับการเว้นระยะห่างระหว่างหลุมเจาะที่เลือกไว้เมื่อเติมอากาศมาจนสุดแนว ต้องเลี้ยวอุปกรณ์ และเริ่มการเติมอากาศแนวถัดไป โดยที่ไม่ต้องเปลี่ยนตำแหน่งของส่วนควบคุมการขับเคลื่อน
Note: ฟีเจอร์ล็อกความเร็วในโหมดเติมอากาศจะเปิดทำงานเมื่อหัวเดือยอยู่ในโหมดหย่อนช้า และจะถูกล็อกไว้เมื่อหัวเดือยอยู่ในโหมดหย่อนเร็ว
ล็อกความเร็วขับเคลื่อนบนพื้นทำงานคล้ายกับระบบควบคุมความเร็วอัตโนมัติในรถยนต์
กดสวิตช์ขับเคลื่อน/เติมอากาศไปยังตำแหน่ง ขับเคลื่อน (รูป 74)

กดสวิตช์ล็อกความเร็วไปยังตำแหน่ง เปิด
ขับอุปกรณ์ไปข้างหน้าด้วยความเร็วขับเคลื่อนบนพื้นที่ต้องการ
กดสวิตช์ล็อกความเร็วไปยังตำแหน่ง ใช้งาน
Note: สวิตช์ล็อกความเร็วขับเคลื่อนบนพื้นจะคงความเร็วขับเคลื่อนบนพื้นของอุปกรณ์ในปัจจุบันเอาไว้เท่าเดิมขณะขับอุปกรณ์ โดยคุณจะสามารถปลดส่วนควบคุมการขับเคลื่อนได้
ดำเนินการอย่างใดอย่างหนึ่งต่อไปนี้เพื่อปลดการทำงานของล็อกความเร็ว
กดสวิตช์ล็อกความเร็วไปยังตำแหน่ง ปิด
หมุนด้านบนของส่วนควบคุมการขับเคลื่อนมาด้านหลังเพื่อขับอุปกรณ์ถอยหลัง
ปล่อยคันควบคุมแบบตรวจจับผู้ใช้งาน
กดสวิตช์หยุด
Note: ฟีเจอร์ล็อกความเร็วขับเคลื่อนบนพื้นจะไม่สามารถใช้งานได้หากเติมอากาศในโหมดหย่อนเร็ว
กดสวิตช์ขับเคลื่อน/เติมอากาศไปยังตำแหน่ง เติมอากาศ (รูป 75)

กดสวิตช์ล็อกความเร็วไปยังตำแหน่ง เปิด
ขับอุปกรณ์ไปข้างหน้าและบีบคันเติมอากาศ
Note: ล็อกความเร็วขับเคลื่อนบนพื้นจะทำงานและหัวเดือยจะหย่อนลงมา
เมื่อเติมอากาศมาจนสุดแนวแล้ว ให้ปล่อยคันเติมอากาศ
Note: หัวเดือยจะยกขึ้น แต่อุปกรณ์จะยังคงใช้ความเร็วขับเคลื่อนบนพื้น ณ อัตราการเว้นระยะห่างหลุมเจาะเติมอากาศที่เลือก
ดำเนินการอย่างใดอย่างหนึ่งต่อไปนี้เพื่อปลดการทำงานของล็อกความเร็ว
กดสวิตช์ล็อกความเร็วไปยังตำแหน่ง ปิด
หมุนด้านบนของส่วนควบคุมการขับเคลื่อนมาด้านหลังเพื่อขับอุปกรณ์ถอยหลัง
ปล่อยคันควบคุมแบบตรวจจับผู้ใช้งาน
กดสวิตช์หยุด
Note: ใช้โหมดขับเคลื่อนเมื่อต้องเคลื่อนย้ายอุปกรณ์ระหว่างไซต์งาน
Note: เมื่อใดก็ตามที่สวิตช์ขับเคลื่อน/เติมอากาศอยู่ในตำแหน่ง เติมอากาศ อุปกรณ์จะเคลื่อนที่ด้วยความเร็วแปรผันลดลง
สตาร์ทเครื่องยนต์และปรับคันโยกลิ้นเร่งให้อยู่ในตำแหน่ง เร็ว โปรดดู การสตาร์ทเครื่องยนต์
ลดระดับแฮนด์ควบคุมลงมาเพื่อปลดเบรกจอด โปรดดู การปลดเบรกจอด
กดด้านซ้ายของสวิตช์ขับเคลื่อน/เติมอากาศเพื่อปรับไปยังตำแหน่ง ขับเคลื่อน (รูป 76)

Note: คันโยกลิ้นเร่งจะแสดงไอคอนขับเคลื่อน ขึ้นมา (รูป 77)

ตรวจสอบเส้นทางที่วางแผนว่าจะใช้งานอุปกรณ์เพื่อให้แน่ใจว่าปราศจากอุปสรรคกีดขวาง
จับแฮนด์ควบคุมด้านซ้ายหรือด้านขวาและคันควบคุมแบบตรวจจับผู้ใช้งาน (รูป 76) จากนั้นบีบคันควบคุมเข้าหาแฮนด์
ใช้นิ้วโป้งหมุนส่วนควบคุมการขับเคลื่อนด้านซ้ายหรือด้านขวาเพื่อขับอุปกรณ์ดังต่อไปนี้
หมุนด้านบนของส่วนควบคุมการขับเคลื่อนไปด้านหน้าเพื่อขับอุปกรณ์ไปข้างหน้า
หมุนด้านบนของส่วนควบคุมการขับเคลื่อนมาด้านหลังเพื่อขับอุปกรณ์ถอยหลัง
Note: เมื่อหมุนส่วนควบคุมขับเคลื่อนมากขึ้น ก็จะยิ่งเพิ่มความเร็วขับเคลื่อนบนพื้นของอุปกรณ์
Important: กดสวิตช์หยุด (รูป 78) เมื่อต้องการจอดอุปกรณ์อย่างกะทันหัน

หากกำลังเติมอากาศ ปล่อยคันเติมอากาศ (รูป 79) เพื่อยกหัวเดือยขึ้น โปรดดู การยกหัวเดือยขึ้น

ปลดส่วนควบคุมการขับเคลื่อนให้ขยับมาอยู่ในตำแหน่ง เกียร์ว่าง
ปล่อยคันควบคุมแบบตรวจจับผู้ใช้งาน
ยกแฮนด์ควบคุมขึ้นจนสุดและใส่สลักเอาไว้เพื่อเข้าเบรกจอด โปรดดู การดึงเบรกมือ
Note: เมื่อใดก็ตามที่หัวเดือยยกขึ้น อุปกรณ์จะเคลื่อนที่ด้วยความเร็วแปรผันลดลง
สตาร์ทเครื่องยนต์และปรับคันโยกลิ้นเร่งให้อยู่ในตำแหน่ง เร็ว โปรดดู การสตาร์ทเครื่องยนต์
ลดระดับแฮนด์ควบคุมลงมาเพื่อปลดเบรกจอด โปรดดู การปลดเบรกจอด
กดด้านขวาของสวิตช์ขับเคลื่อน/เติมอากาศเพื่อปรับไปยังตำแหน่ง เติมอากาศ (รูป 80)

InfoCenter จะแสดงความลึกหลุมเจาะและระยะห่างระหว่างหลุมเจาะที่ใช้อยู่ในปัจจุบัน (รูป 81)

ตรวจสอบเส้นทางที่วางแผนว่าจะใช้งานอุปกรณ์เพื่อให้แน่ใจว่าปราศจากอุปสรรคกีดขวาง
จับแฮนด์ควบคุมด้านซ้ายหรือด้านขวาและคันควบคุมแบบตรวจจับผู้ใช้งาน (รูป 80) จากนั้นบีบคันควบคุมเข้าหาแฮนด์
ใช้นิ้วโป้งหมุนด้านบนของส่วนควบคุมการขับเคลื่อนทางด้านซ้ายหรือด้านขวาเพื่อขับอุปกรณ์ไปข้างหน้า
Note: ระหว่างที่เติมอากาศ อุปกรณ์จะเคลื่อนที่ด้วยความเร็วที่เหมาะกับการเว้นระยะห่างระหว่างหลุมเจาะที่คุณเลือกไว้
เมื่อใช้ล็อกความเร็วขับเคลื่อนบนพื้น การปล่อยคันเติมอากาศโดยที่ไม่เปลี่ยนตำแหน่งของส่วนควบคุมการขับเคลื่อนจะทำให้อุปกรณ์ยังคงใช้ความเร็วขับเคลื่อนบนพื้น ซึ่งการทำงานก็จะเหมือนกับระบบควบคุมความเร็วอัตโนมัติในรถยนต์
การขับอุปกรณ์ถอยหลังจะปลดการทำงานแบบระบบควบคุมความเร็วอัตโนมัติ และอุปกรณ์จะหันมาขับเคลื่อนด้วยความเร็วขับเคลื่อนบนพื้นแบบแปรผัน
เมื่อคุณยกหัวเดือยขึ้นเพื่อที่จะเลี้ยวอุปกรณ์และเตรียมเติมอากาศแถวถัดไป คุณสามารถเพิ่มความเร็วขับเคลื่อนบนพื้นได้โดยการปรับส่วนควบคุมการขับเคลื่อนไปข้างหน้าเพิ่มขึ้นอีก เมื่อปรับส่วนควบคุมการขับเคลื่อนมายังตำแหน่ง เกียร์ว่าง อุปกรณ์จะชะลอความเร็วลงและใช้ความเร็วขับเคลื่อนบนพื้นที่เหมาะกับการเว้นระยะห่างระหว่างหลุมเจาะ
เมื่อเติมอากาศในโหมดหย่อนช้า แนะนำให้ใช้ล้อหน้ามาช่วยหาจุดหย่อนหัวเดือย
กดส่วนบนของสวิตช์ควบคุมการหย่อนหัวเดือย (รูป 82) เพื่อปรับสวิตช์ไปยังตำแหน่ง หย่อนช้า

ขับอุปกรณ์เดินหน้า โปรดดู การขับอุปกรณ์ในโหมดเติมอากาศ
บีบคันเติมอากาศด้านซ้ายหรือด้านขวาเมื่อล้อหน้าของอุปกรณ์เคลื่อนมาทับขอบนอกของบริเวณที่เจาะเติมอากาศ (รูป 83)
Note: หัวเดือยจะทำงานและหย่อนลงมาเมื่ออุปกรณ์เดินหน้าและเคลื่อนที่ผ่านบริเวณเติมอากาศที่เป็นเป้าหมาย

เมื่อเติมอากาศในโหมดหย่อนช้า แนะนำให้ใช้ล้อหน้า (รูป 84) มาช่วยหาจุดหย่อนหัวเดือย

ดำเนินการอย่างใดอย่างหนึ่งต่อไปนี้เพื่อยกหัวเดือยขึ้น
ปล่อยคันเติมอากาศเมื่อล้อหน้าของอุปกรณ์เคลื่อนมาทับขอบนอกของบริเวณที่เจาะเติมอากาศ (รูป 85)
Note: อุปกรณ์จะชะลอความเร็วในการยกหัวเดือยลงจนกว่าหัวเดือยจะเคลื่อนมาจนถึงบริเวณเป้าหมายที่คุณใช้ล้อหน้าช่วยหาตำแหน่งและมีการปล่อยคันเติมอากาศ

ขับอุปกรณ์ถอยหลัง โปรดดู การขับอุปกรณ์ถอยหลัง
กดส่วนล่างของสวิตช์ควบคุมการหย่อนหัวเดือย (รูป 86) เพื่อปรับสวิตช์ไปยังตำแหน่ง หย่อนเร็ว
Note: ไฟบนสวิตช์จะสว่างขึ้น

ขับอุปกรณ์เดินหน้า โปรดดู การขับอุปกรณ์ในโหมดเติมอากาศ
บีบคันเติมอากาศด้านซ้ายหรือด้านขวา (รูป 87)
Note: หัวเดือยจะหย่อนลงมาทันทีและเริ่มการเจาะเติมอากาศ

ดำเนินการอย่างใดอย่างหนึ่งต่อไปนี้เพื่อยกหัวเดือยขึ้น
ปล่อยคันเติมอากาศ (รูป 88)
Note: อุปกรณ์จะยกหัวเดือยขึ้นทันที

ขับอุปกรณ์ถอยหลัง โปรดดู การขับอุปกรณ์ถอยหลัง
ปลดส่วนควบคุมการขับเคลื่อนให้ขยับมาอยู่ในตำแหน่ง เกียร์ว่าง จากนั้นปล่อยคันควบคุมแบบตรวจจับผู้ใช้งาน (รูป 91)

ยกมือออกจากสวิตช์หยุด (รูป 92)
Note: สปริงภายในสวิตช์หยุดจะรีเซ็ตสวิตช์

จับแฮนด์ควบคุมด้านซ้ายหรือด้านขวาและคันควบคุมแบบตรวจจับผู้ใช้งาน (รูป 93) จากนั้นบีบคันควบคุมเข้าหาแฮนด์

ขับอุปกรณ์ โปรดดู การขับอุปกรณ์ในโหมดขับเคลื่อน หรือ การขับอุปกรณ์ในโหมดเติมอากาศ
จัดแนวการเติมอากาศโดยใช้ตัวช่วยจัดแนว (รูป 94)

อุปกรณ์มีตัวนับ 2 ส่วน ซึ่งบันทึกข้อมูลพื้นที่เติมอากาศและปริมาตรแกนดินที่เจาะออกมา คุณสามารถใช้ข้อมูลจากตัวนับเหล่านี้มาคำนวณหาปริมาณทรายโดยประมาณที่จะนำมาโรยในสนามที่เจาะเติมอากาศ
ตัวนับ “พื้นที่ 1” ไม่ได้ใส่รหัส PIN ไว้ ทำให้ผู้ใช้อุปกรณ์สามารถรีเซ็ตค่าเองได้
Note: หากผู้ใช้บันทึกข้อมูลของตัวนับ "พื้นที่ 1” เอาไว้ คุณจะสามารถคำนวณหาปริมาณทรายที่จะใช้โรยสนามโดยประมาณ รวมถึงข้อกำหนดการทำงานสำหรับไซต์งานแต่ละแห่งได้
ตัวนับ “พื้นที่ 2” ใส่รหัส PIN ปกป้องเอาไว้ และต้องให้หัวหน้างานหรือผู้ที่ได้รับมอบหมายเป็นคนรีเซ็ต
พื้นที่เติมอากาศจะแสดงหน่วยเป็นตารางเมตร (SI) หรือตารางฟุต (แบบอังกฤษ)
ปริมาตรของแกนดินจะแสดงเป็นหน่วยลูกบาศก์เมตร (SI) หรือลูกบาศก์หลา (แบบอังกฤษ)
เมื่อคุณเรียกดูปริมาตรแกนดิน อุปกรณ์จะคำนวณปริมาตรโดยอาศัยข้อมูลขนาดเส้นผ่านศูนย์กลางของเดือยเจาะและจำนวนเดือยเจาะที่คุณป้อนใน InfoCenter
Important: ดังนั้น หากค่าของเส้นผ่านศูนย์กลางของเดือยเจาะและ/หรือจำนวนเดือยเจาะไม่ถูกต้องก่อนการเติมอากาศ InfoCenter ก็จะคำนวณและแสดงค่าปริมาตรแกนดินสำหรับพื้นที่ 1 และพื้นที่ 2 ไม่ถูกต้องเช่นกัน หากค่าของเส้นผ่านศูนย์กลางและ/หรือจำนวนเดือยเจาะมีการเปลี่ยนแปลงระหว่างการเติมอากาศ InfoCenter ก็จะเปลี่ยนค่าปริมาตรที่แสดงด้วยเช่นกัน
จอดอุปกรณ์บนพื้นราบ
ตรวจสอบว่าเครื่องยนต์ทำงานอยู่หรือกุญแจสตาร์ทอยูในตำแหน่ง ทำงาน
เข้าไปที่ เมนูหลัก ใน InfoCenter
กดปุ่มลงจนกว่าระบบจะเลือกตัวเลือกซ่อมบำรุง จากนั้นกดปุ่มเลือก (รูป 95)

เมื่อเข้ามาในหน้าจอ ซ่อมบำรุง ให้กดปุ่มลงจนกว่าระบบจะเลือกตัวเลือก ข้อมูลสถิติ จากนั้นกดปุ่มเลือก (รูป 96)

Note: ตัวนับ พื้นที่ จะปรากฏขึ้นบนหน้าจอ ข้อมูลสถิติ

เมื่ออยู่ในหน้าจอ ข้อมูลสถิติ ให้กดปุ่มลงจนกว่าระบบจะเลือกตัวเลือก พื้นที่ 1 (รูป 98)

บันทึกข้อมูลพื้นที่เติมอากาศและปริมาตรแกนดินลงในแผ่นงาน โปรดดูตัวอย่างด้านล่าง
|
วันที่ |
สนาม (หากทำงานในสนามหลายแห่ง) |
ตำแหน่งที่ตั้ง |
พื้นที่เติมอากาศ |
ปริมาตรแกนดิน |
กดปุ่มเลือกเพื่อแสดงหน้าจอรีเซ็ตพื้นที่และปริมาตร
เมื่ออยู่ในหน้าจอ รีเซ็ตพื้นที่และปริมาตร กดปุ่มเลือก
Note: InfoCenter จะแสดงหน้าจอข้อมูลสถิติ โดยตัวนับพื้นที่และปริมาตรจะรีเซ็ตเป็น 0
Note: หากคุณไม่รีเซ็ตตัวนับ พื้นที่ 1 ตัวนับพื้นที่และปริมาตรจะสะสมข้อมูลไปเรื่อยๆ

ทำซ้ำขั้นตอน 1 ถึง 4 ตามความจำเป็น
กดปุ่มย้อนกลับเพื่อกลับไปยังเมนูหลัก
Note: การรีเซ็ตตัวนับ พื้นที่ 2 จะไม่ทำให้ตัวนับ พื้นที่ 1 ถูกรีเซ็ตไปด้วย
ป้อนรหัส PIN เพื่อเข้าถึงเมนูที่ได้รับการป้องกัน โปรดดู การเข้าถึงเมนูที่ได้รับการป้องกัน
เมื่ออยู่ในหน้าจอ ข้อมูลสถิติ ให้กดปุ่มลงจนกว่าระบบจะเลือกตัวเลือก พื้นที่ 2 (รูป 100)

บันทึกข้อมูลพื้นที่เติมอากาศและปริมาตรแกนดิน หากจำเป็น
กดปุ่มเลือกเพื่อแสดงหน้าจอรีเซ็ตพื้นที่และปริมาตร
เมื่ออยู่ในหน้าจอ รีเซ็ตพื้นที่และปริมาตร กดปุ่มเลือก (รูป 101)
Note: InfoCenter จะแสดงหน้าจอข้อมูลสถิติ โดยตัวนับจำนวนพื้นที่และปริมาตรจะรีเซ็ตเป็น 0
Note: หากคุณไม่รีเซ็ตตัวนับ พื้นที่ 2 ตัวนับพื้นที่และปริมาตรจะสะสมข้อมูลไปเรื่อยๆ

กดปุ่มย้อนกลับเพื่อกลับไปยังเมนูหลัก
ใส่สลักซ่อมบำรุงก่อนจะทำการบำรุงรักษาหัวเดือย หรือเมื่อต้องจัดเก็บอุปกรณ์ไว้นานกว่าสองหรือสามวัน
หากยกหัวเดือยขึ้นโดยไม่ได้ใส่สลักยึดไว้ หัวเดือยอาจจะตกลงมาอย่างกะทันหัน ทำให้คุณหรือผู้ที่อยู่รอบข้างบาดเจ็บได้
เมื่อคุณต้องซ่อมบำรุงหัวเดือย รวมถึงตอนเปลี่ยนเดือยเจาะหรือแผงป้องกันสนาม ควรใช้สลักซ่อมบำรุงยึดหัวเดือยไว้ในตำแหน่งยกขึ้น
ยกหัวเดือยขึ้น
จอดอุปกรณ์บนพื้นราบ ดันแฮนด์ควบคุมขึ้นจนสุดแล้วใส่สลักเพื่อเข้าเบรกจอด ดับเครื่องยนต์รถลากพ่วง ดึงกุญแจออก และรอให้การเคลื่อนไหวหยุดนิ่ง
ถอดฝาครอบหัวเดือย โปรดดู การถอดฝาครอบหัวเดือย
ถอดหมุดสลักที่ยึดสลักซ่อมบำรุงเข้ากับแผงข้าง (รูป 102)

หมุนสลักซ่อมบำรุงไปทางด้านหลังให้ครอบลงบนหมุดหนุนของหัวเดือย
ยึดสลักเข้ากับหมุดหนุนโดยใช้หมุดสลัก
ติดตั้งฝาครอบหัวเดือย ถ้าจำเป็น โปรดดู การติดตั้งฝาครอบหัวเดือย
จอดอุปกรณ์บนพื้นราบ ดันแฮนด์ควบคุมขึ้นจนสุดแล้วใส่สลักเพื่อเข้าเบรกจอด ดับเครื่องยนต์รถลากพ่วง ดึงกุญแจออก และรอให้การเคลื่อนไหวหยุดนิ่ง
หากฝาครอบหัวเดือยปิดอยู่ ให้ถอดออก โปรดดู การถอดฝาครอบหัวเดือย
ถอดหมุดสลักที่ยึดสลักซ่อมบำรุงเข้ากับหมุดหนุนของหัวเดือยออก (รูป 103)

หมุนสลักซ่อมบำรุงลงด้านล่างให้ครอบลงบนหมุดหนุนของแผงข้าง
ยึดสลักเข้ากับหมุดหนุนโดยใช้หมุดสลัก
ติดตั้งฝาครอบหัวเดือย โปรดดู การติดตั้งฝาครอบหัวเดือย
Important: การเปลี่ยนเดือยเจาะที่เสียหายเป็นเดือยเจาะที่มีความยาวเท่าเดิม การใช้เดือยเจาะที่มีความยาวไม่เท่ากันจะส่งผลเสียต่อความสวยงามของหลุมเจาะ
การใช้เดือยเจาะที่มีความยาวไม่เท่ากันจะส่งผลต่อความสวยงามของหลุมเจาะ
โปรดดูภาพประกอบใน การติดตั้งแผงป้องกันสนาม แผงยึดเดือยเจาะ และเดือยเจาะ
ยกหัวเดือยขึ้นและล็อกไว้ในตำแหน่งด้วยสลักซ่อมบำรุง
จอดอุปกรณ์บนพื้นราบ ดันแฮนด์ควบคุมขึ้นจนสุดแล้วใส่สลักเพื่อเข้าเบรกจอด ดับเครื่องยนต์รถลากพ่วง ดึงกุญแจออก และรอให้การเคลื่อนไหวหยุดนิ่ง
คลายสลักเกลียวของแผงยึดเดือยเจาะ แล้วถอดเดือยเจาะอันเก่าออก
ใส่เดือยเจาะอันใหม่เข้าไปในแผงยึดเดือยเจาะ
ขันสลักเกลียวของแผงยึดเดือยเจาะจนได้แรงบิด 40.6 นิวตันเมตร (30 ปอนด์)
ทำซ้ำขั้นตอนนี้กับแขนส่วนที่เหลือตามความจำเป็น
เช็คความสูงจากพื้นดินของเดือยเจาะอย่างรวดเร็วโดยใช้แอปพลิเคชันเรียกดูความสูงจากพื้นดิน
แอปพลิเคชันดังกล่าวจะเลื่อนหัวเดือยลงไปยังตำแหน่งที่เคยปรับเทียบไว้ก่อนหน้านี้ หลังจากนั้น คุณจะสามารถตรวจสอบระยะห่างระหว่างปลายเดือยเจาะกับพื้นดินได้
ตรวจสอบว่าหัวเดือยอยู่ในตำแหน่งยกขึ้น
จอดอุปกรณ์บนพื้นราบ ดันแฮนด์ควบคุมขึ้นจนสุดแล้วใส่สลักเพื่อเข้าเบรกจอด ดับเครื่องยนต์รถลากพ่วง ดึงกุญแจออก และรอให้การเคลื่อนไหวหยุดนิ่ง
ถอดฝาครอบหัวเดือย โปรดดู การถอดฝาครอบหัวเดือย
หมุนรอกหัวเดือย (รูป 104) จนกระทั่งเดือยเจาะด้านนอกสุดอยู่ชิดกับพื้นมากที่สุด
Important: ระวังอย่าแหย่นิ้วเข้าไปใกล้บริเวณที่สายพานเลื่อนมาชิดและถอยห่างจากรอกเพื่อป้องกันไม่ให้นิ้วถูกหนีบ


ติดตั้งฝาครอบหัวเดือย โปรดดู การติดตั้งฝาครอบหัวเดือย
ป้อนรหัส PIN เพื่อเข้าถึงเมนูที่ได้รับการป้องกัน โปรดดู การเข้าถึงเมนูที่ได้รับการป้องกัน
เข้าไปที่ เมนูหลัก ใน InfoCenter
กดปุ่มลงจนกว่าระบบจะเลือกตัวเลือกซ่อมบำรุง จากนั้นกดปุ่มเลือก (รูป 105)

กดปุ่มลงของ InfoCenter เพื่อไปยังตัวเลือก ความสูงจากพื้นดิน จากนั้นกดปุ่มเลือก
กดปุ่มลงของ InfoCenter เพื่อไปยังตัวเลือก เรียกดูการปรับเทียบ จากนั้นกดปุ่มเลือก
เมื่อระบบแสดงหน้าจอเรียกดูความสูงจากพื้นดิน (รูป 106) ให้กดปุ่มเลือก

เมื่อระบบแสดงหน้าจอหัวเดือยจะหย่อนลง (รูป 107) ให้กดปุ่มเลือก

Note: ข้อความ Lowering Head (กำลังหย่อนหัวเดือย) จะปรากฏขึ้นมา และหัวเดือยจะค่อยๆ ลดระดับลง
คอยสังเกตเดือยเจาะด้านนอกสุดตามเงื่อนไขการปรับเทียบดังต่อไปนี้
เดือยเจาะเริ่มเจาะพื้น—กดปุ่มเลือก (รูป 108) และเปิดแอปพลิเคชันกำหนดความสูงจากพื้นดิน โปรดดู การเปิดใช้งานแอปพลิเคชันกำหนดความสูงจากพื้นดิน
เดือยเจาะอยู่เหนือพื้น—กดปุ่มเลือกและเปิดแอปพลิเคชันกำหนดความสูงจากพื้นดิน โปรดดู การเปิดใช้งานแอปพลิเคชันกำหนดความสูงจากพื้นดิน

เมื่อเห็นว่าเดือยเจาะด้านนอกสุดสัมผัสกับพื้นเบาๆ ให้กดปุ่มเลือกเพื่อยกหัวเดือยขึ้น
อุปกรณ์จะถ่ายโอนน้ำหนักจากรถลากพ่วงไปยังหัวเดือยเพื่อช่วยในการรักษาระดับความลึกของรูเจาะในดินที่มีโครงสร้างแตกต่างกันไป อย่างไรก็ตาม หากดินแข็งมากจนไม่สามารถเจาะเติมอากาศได้เต็มความลึกที่กำหนด หัวเดือยอาจต้องใช้การถ่ายโอนน้ำหนักเพิ่มเติม อุปกรณ์ถูกตั้งค่ามาจากโรงงานให้ถ่ายโอนน้ำหนักตามปกติ หากต้องการเพิ่มแรงกดของสปริงถ่ายโอนน้ำหนัก ให้ทำตามขั้นตอนต่อไปนี้:
การปลดแผงสปริงอย่างกะทันหันอาจทำให้บาดเจ็บได้
ควรขอให้คนอื่นช่วยปรับสปริงถ่ายโอนน้ำหนัก
จอดอุปกรณ์บนพื้นราบ ดันแฮนด์ควบคุมขึ้นจนสุดแล้วใส่สลักเพื่อเข้าเบรกจอด ดับเครื่องยนต์รถลากพ่วง ดึงกุญแจออก และรอให้การเคลื่อนไหวหยุดนิ่ง
คลายน็อตล็อกมีบ่าด้านหน้าและสลักเกลียวหัวมนที่ยึดแผงสปริงเข้ากับโครงรองรับของหัวเดือย (รูป 109)
Note: ไม่ต้องถอดน็อตล็อกและสลักเกลียวหัวมนออกมา

ถอดน็อตล็อกมีบ่าด้านหลังที่ยึดโครงสปริงเข้ากับโครงรองรับ
Note: ไม่ต้องถอดสลักเกลียวหัวมนออกมา
สอดประแจไดรฟ์แรเช็ทหรือเบรกเกอร์บาร์ขนาด 1/2 นิ้วลงในช่องสี่เหลี่ยมบนแผงสปริง (รูป 110)

หมุนประแจแรเช็ทหรือเบรกเกอร์บาร์เพื่อคลายแรงดึงบนสลักเกลียวหัวมนด้านหลัง จากนั้นถอดสลักเกลียวออกจากรูบน
Note: รูบนคือตำแหน่งถ่ายโอนน้ำหนักปกติ
หมุนแผงสปริงจนกระทั่งแผงอยู่ในแนวเดียวกันกับรูล่างบนโครงรองรับ สอดสลักเกลียวหัวมนเข้าไปในรูบนแผงสปริงและโครงยึด
Note: รูล่างคือตำแหน่งถ่ายโอนน้ำหนักมากขึ้น การหมุนแผงสปริงขึ้นด้านบนจะเป็นการเพิ่มการถ่ายโอนน้ำหนัก
ใช้น็อตล็อกมีบ่ายึดสลักเกลียวหัวมนเข้ากับโครงรองรับและแผงสปริง
ขันน็อตล็อกจนได้แรงบิด 37 ถึง 45 นิวตันเมตร (27 ถึง 33 ฟุตปอนด์)
เราแนะนำให้ทำการเติมอากาศโดยใช้ระบบติดตามระดับพื้นแบบอัตโนมัติ เพื่อให้หลุมเจาะออกมามีคุณภาพดีที่สุดและอุปกรณ์ทำงานได้อย่างเต็มสมรรถนะ
ควรใช้ระบบติดตามระดับพื้นแบบแมนวลเฉพาะในกรณีที่เซนเซอร์ตำแหน่งเดือยเจาะชำรุดเสียหายเท่านั้น
จอดอุปกรณ์บนพื้นราบ ดันแฮนด์ควบคุมขึ้นจนสุดแล้วใส่สลักเพื่อเข้าเบรกจอด ดับเครื่องยนต์รถลากพ่วง ดึงกุญแจออก และรอให้การเคลื่อนไหวหยุดนิ่ง
ถอดฝาครอบหัวเดือย โปรดดู การถอดฝาครอบหัวเดือย
ถอดหมุดสลักที่ใช้ยึดหมุดกำหนดความลึกและตัวคั่นเข้ากับหูยึด (รูป 111 และ รูป 112)


ปรับความลึกในการเจาะโดยการวางตัวคั่นไว้ด้านบนหรือด้านล่างหูยึด
หากวางตัวคั่นทั้งหมดไว้ด้านบนของหูยึด ค่าความลึกจะเท่ากับ 10.7 ซม. (4 1/4 นิ้ว)
ตัวคั่นแบบหนาจะเพิ่มความลึกได้ 19 มม. (3/4 นิ้ว)
ตัวคั่นแบบบางจะเพิ่มความลึกได้ 9.5 มม. (3/8 นิ้ว)
Note: คุณต้องติดตั้งตัวคั่นทั้งหมด ไม่ว่าจะวางไว้ตำแหน่งไหนก็ตาม
ใช้หมุดสลักประกอบหมุดกำหนดความลึกและตัวคั่นเข้ากับหูยึด
ทำซ้ำขั้นตอนที่ 3 ถึง 5 ที่อีกด้านหนึ่งของอุปกรณ์
Important: ตรวจสอบว่าตำแหน่งของตัวคั่นด้านบนและด้านล่างหูยึดเหมือนกันทั้งด้านซ้ายและด้านขวา
ติดตั้งฝาครอบหัวเดือย โปรดดู การติดตั้งฝาครอบหัวเดือย
Note: หากคุณเติมอากาศด้วยโหมดแมนวล คุณต้องตั้งค่า InfoCenter ให้กับโหมดติดตามระดับพื้นแบบแมนวลทุกครั้งที่สตาร์ทเครื่องยนต์
บิดกุญแจสตาร์ทไปที่ตำแหน่ง ทำงาน
Note: อย่าเพิ่งสตาร์ทเครื่องยนต์
ป้อนรหัส PIN เพื่อเข้าถึงเมนูที่ได้รับการป้องกัน โปรดดู การเข้าถึงเมนูที่ได้รับการป้องกัน
เข้าไปที่ เมนูหลัก ใน InfoCenter
กดปุ่มลงจนกว่าระบบจะเลือกตัวเลือก การตั้งค่าอุปกรณ์ จากนั้นกดปุ่มเลือก
กดปุ่มลงจนกว่าระบบจะเลือกตัวเลือก การเติมอากาศแบบแมนวล จากนั้นกดปุ่มเลือก (รูป 113) เพื่อตั้งค่าการเติมอากาศแบบแมนวลเป็น เปิด

สตาร์ทเครื่องยนต์
เติมอากาศโดยใช้ การเติมอากาศโดยใช้โหมดหย่อนช้า หรือ การเติมอากาศโดยใช้โหมดหย่อนเร็ว
Note: เมื่อคุณดับเครื่องยนต์และสตาร์ทอุปกรณ์อีกครั้ง อุปกรณ์จะกลับมาใช้โหมดติดตามระดับพื้นแบบอัตโนมัติตามค่าเริ่มต้น
จอดอุปกรณ์บนพื้นราบ ดันแฮนด์ควบคุมขึ้นจนสุดแล้วใส่สลักเพื่อเข้าเบรกจอด ดับเครื่องยนต์รถลากพ่วง ดึงกุญแจออก และรอให้การเคลื่อนไหวหยุดนิ่ง
ถอดฝาครอบหัวเดือย โปรดดู การถอดฝาครอบหัวเดือย
ถอดหมุดสลักที่ใช้ยึดหมุดกำหนดความลึกและตัวคั่นเข้ากับโครงยึด (รูป 114)


วางตัวคั่นทั้งหมดไว้ด้านบนหูยึด
ใช้หมุดสลักประกอบหมุดกำหนดความลึกและตัวคั่นเข้ากับหูยึด
Note: คุณต้องจัดเก็บตัวคั่นทั้งหมด
ทำซ้ำขั้นตอนที่ 3 ถึง 5 ที่อีกด้านหนึ่งของอุปกรณ์
ติดตั้งฝาครอบหัวเดือย โปรดดู การติดตั้งฝาครอบหัวเดือย
หลังจากปรับการถ่ายโอนน้ำหนัก การเติมอากาศบริเวณที่มีดินแข็งมากอาจทำให้ล้อหลังของอุปกรณ์ยกขึ้นจากพื้นได้ ส่งผลให้ระยะห่างระหว่างรูเจาะไม่สม่ำเสมอกัน
หากอุปกรณ์ยกตัวในลักษณะนี้ คุณสามารถติดตั้งแผ่นถ่วงน้ำหนักบนท่อเพลาของโครงด้านหลังเพิ่มได้ แผ่นถ่วงน้ำหนักละแผ่นจะเพิ่มน้ำหนักให้กับอุปกรณ์ 28.5 กก. (63 ปอนด์) โดยคุณจะติดตั้งแผ่นน้ำหนักได้ไม่เกิน 2 แผ่น โปรดดูหมายเลขชิ้นส่วนของแผ่นถ่วงน้ำหนักและอุปกรณ์ต่างๆ ในแคตตาล็อกชิ้นส่วนของอุปกรณ์
เครื่องมือที่จำเป็น: ประแจบล็อกและบล็อกขนาด 15 มม.
Important: ห้ามใช้งานอุปกรณ์ขณะเปิดวาล์วบายพาสนานกว่า 10 ถึง 15 วินาที
จอดอุปกรณ์บนพื้นราบเสมอ ถ้าเป็นไปได้
ดันแฮนด์ควบคุมขึ้นจนสุดแล้วใส่สลักเพื่อเข้าเบรกจอด ดับเครื่องยนต์รถลากพ่วง ดึงกุญแจออก และรอให้การเคลื่อนไหวหยุดนิ่ง
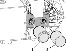
ถอดสลักเกลียวติดจาน 2 ตัวที่ยึดถังเก็บเข้ากับโครงยึดถัง (รูป 115)

มองหาฝาครอบสกรูวาล์วบายพาสที่อยู่ระหว่างเครื่องยนต์กับปั๊มไฮดรอลิกดังแสดงใน รูป 116

ใช้ประแจบล็อกและบล็อกขนาด 15 มม. หมุนวาล์วบายพาสทวนเข็มนาฬิกา 1 1/2 รอบ
Important: อย่าหมุนวาล์วบายพาสมากกว่า 1 1/2 รอบ
หากต้องลากจูงอุปกรณ์ ควรใช้ห่วงผูกยึดที่อยู่ด้านหน้า (รูป 117)
Important: ห้ามเข็น/ลากจูงอุปกรณ์เป็นระยะทางเกินกว่า 30.5 ม. (100 ฟุต) หรือเร็วกว่า 0.6 กม./ชม. (1 ไมล์/ชม.) เพราะอาจทำให้ส่วนประกอบของระบบไฮดรอลิกเสียหายได้

ลดระดับแฮนด์ควบคุมลงมาเพื่อปลดเบรกจอดก่อนจะเข็น/ลากอุปกรณ์
Important: คุณต้องลดระดับแฮนด์ควบคุมลงมาเพื่อปลดเบรกจอดก่อนจะเคลื่อนย้ายอุปกรณ์
Important: คุณต้องปิดวาล์วบายพาสก่อนเพื่อขับเคลื่อนอุปกรณ์ อย่าพยายามใช้งานระบบขับเคลื่อนขณะที่วาล์วบายพาสเปิดอยู่
หาตำแหน่งสกรูของวาล์วบายพาสที่อยู่ระหว่างเครื่องยนต์กับปั๊มไฮดรอลิก
Note: ตำแหน่งของฝาครอบสกรูวาล์วบายพาส ดูได้ใน รูป 118

ใช้ประแจบล็อกและบล็อกขนาด 15 มม. หมุนวาล์วบายพาสตามเข็มนาฬิกา 1 1/2 รอบ
Note: อย่าขันสกรูบายพาสแน่นเกินไป
ใช้ประแจขนาด 15 มม. ติดตั้งฝาครอบสกรูบายพาสบนปั๊มไฮดรอลิก
ติดตั้งถังเก็บเข้ากับโครงยึดถังโดยใช้สลักเกลียวโดยใช้สลักเกลียวติดจาน 2 ตัว
หากเครื่องยนต์หยุดทำงานในขณะที่หัวเดือยอยู่ในตำแหน่งยกลงและเดือยเจาะอยู่ในดิน และสตาร์ทเครื่องยนต์ไม่ติด ให้ทำตามขั้นตอนการยกหัวเดือยโดยใช้สตาร์ทเตอร์ หรือ การถอดแผงยึดเดือยเจาะออกจากแขนเจาะ อย่างใดอย่างหนึ่ง
บิดกุญแจไปที่ตำแหน่ง ทำงาน
เข้าไปที่ เมนูหลัก ใน InfoCenter
กดปุ่มลงจนกว่าระบบจะเลือกตัวเลือกซ่อมบำรุง จากนั้นกดปุ่มเลือก (รูป 119)

กดปุ่มลงจนกว่าระบบจะเลือกตัวเลือกยกเพื่อซ่อมบำรุง จากนั้นกดปุ่มเลือก (รูป 120)
Note: ตัวเลือกยกเพื่อซ่อมบำรุงจะเปลี่ยนมาเป็น เปิด

บิดกุญแจไปที่ตำแหน่ง สตาร์ท และกระตุกสตาร์ทเตอร์เป็นเวลา 10 นาที
Important: ห้ามสตาร์ทเครื่องนานเกิน 10 วินาทีในแต่ละครั้ง หากเดือยเจาะยังไม่ยกขึ้นจากพื้น ควรรอให้เครื่องยนต์เย็นลงสัก 30 วินาทีก่อนสตาร์ทใหม่ การไม่ปฏิบัติตามคำแนะนำเหล่านี้อาจทำให้มอเตอร์สตาร์ทไหม้ได้
Note: หัวเดือยจะยกเดือยเจาะขึ้นมาจากพื้น
Important: เดือยเจาะต้องยกขึ้นมาอยู่เหนือพื้น จึงจะเคลื่อนอุปกรณ์ได้
เปิดวาล์วบายพาส โปรดดู การบายพาสปั๊มไฮดรอลิกและการเคลื่อนย้ายอุปกรณ์
ลากจูง/เข็นอุปกรณ์ไปยังบริเวณใกล้ๆ เพื่อซ่อมบำรุงหรือบรรทุกขึ้นรถลากพ่วงต่อไป
Important: ห้ามลากจูง/เข็นอุปกรณ์เป็นระยะทางเกินกว่า 30.5 ม. (100 ฟุต) หรือเร็วกว่า 1.6 กม./ชม. (1 ไมล์/ชม.) เพราะอาจทำให้ระบบไฮดรอลิกเสียหายได้
ถอดแผงยึดเดือยเจาะออกจากแขนเจาะ
เปิดวาล์วบายพาส โปรดดู การบายพาสปั๊มไฮดรอลิกและการเคลื่อนย้ายอุปกรณ์
ลากจูง/เข็นอุปกรณ์ไปยังบริเวณใกล้ๆ เพื่อซ่อมบำรุงหรือบรรทุกขึ้นรถลากพ่วงต่อไป
Important: ห้ามลากจูง/เข็นอุปกรณ์เป็นระยะทางเกินกว่า 30.5 ม. (100 ฟุต) หรือเร็วกว่า 1.6 กม./ชม. (1 ไมล์/ชม.) เพราะอาจทำให้ระบบไฮดรอลิกเสียหายได้
ระหว่างเติมอากาศ ให้ค่อยๆ เลี้ยวอุปกรณ์ ห้ามเลี้ยวหักศอกขณะกำลังใช้งานหัวเดือยอย่างเด็ดขาด วางแผนเส้นทางเติมอากาศให้เรียบร้อยก่อนลดระดับเครื่องเติมอากาศลงมา
คอยสังเกตอยู่ตลอดเวลาว่าทิศทางด้านหน้ามีสิ่งใดอยู่บ้าง ไม่ควรเจาะเติมอากาศใกล้กับอาคาร รั้ว และอุปกรณ์อื่นๆ
มองไปด้านหลังบ่อยๆ เพื่อตรวจสอบว่าอุปกรณ์ทำงานได้ตามปกติ และคุณยังอยู่ในแนวการเติมอากาศก่อนหน้า
กำจัดชิ้นส่วนอุปกรณ์ที่เสียหายออกจากพื้นที่ทำงานให้หมด เช่น เดือยเจาะที่แตกหัก ฯลฯ เพื่อป้องกันไม่ให้กระทบกับเครื่องตัดหญ้าหรืออุปกรณ์บำรุงรักษาสนามชนิดอื่นๆ
เปลี่ยนเดือยเจาะที่แตกหักเป็นอันใหม่ ตรวจสอบและซ่อมแซมความเสียหายของอันที่ยังใช้งานได้ รวมทั้งซ่อมความเสียหายอื่นๆ ของอุปกรณ์ก่อนเริ่มใช้งาน
เมื่อเติมอากาศแบบไม่เต็มความกว้างของอุปกรณ์ คุณสามารถถอดเดือยเจาะออก แต่ควรเก็บหัวเดือยเอาไว้บนแขนเจาะเพื่อรักษาสมดุลและทำให้อุปกรณ์ทำงานได้ตามปกติ
อุปกรณ์นี้เจาะรูเติมอากาศได้ลึกกว่าเครื่องเติมอากาศสนามกรีนส่วนใหญ่ แต่สำหรับสนามกรีนและแท่นทีเก่าหรือที่ยกระดับใหม่ ซึ่งต้องเจาะลึกกว่าและใช้เดือยเจาะกลวงที่ยาวกว่า การดันแกนดินออกมาทั้งหมดอาจจะทำได้ยาก เพราะดินเดิมจะแข็งกว่าและติดอยู่กับปลายของเดือยเจาะ ในกรณีแบบนี้ เดือยเจาะแบบดันแกนดินออกด้านข้างสำหรับสนามกรีน/แท่นทีจากผู้ผลิตจะคงความสะอาดได้นานกว่า และช่วยลดเวลาในการทำความสะอาดเดือยเจาะได้เป็นอย่างดี การเติมอากาศและโรยทรายอย่างต่อเนื่องจะสามารถลดความแข็งของดินได้ในที่สุด
อุปกรณ์นี้ออกแบบมาให้เจาะดินได้ลึกที่สุดเท่าที่เป็นไปได้ แต่ในสภาพสนามบางแบบ แผงป้องกันสนามและ/หรือสลักเกลียวของแผงป้องกันสนามอาจจะทำให้สนามเสียหายได้เมื่อตั้งค่าการเติมอากาศด้วยความลึกสูงสุด หากเจาะเติมอากาศด้วยความลึกสูงสุด (ไม่ว่าจะใช้เดือยเจาะความยาวเท่าใด) หลังจากปรับเทียบความสูงจากพื้นของเดือยเจาะ แล้วพบว่าสลักเกลียวบนแผงป้องกันสนามครูดหรือสัมผัสกับพื้นสนาม ให้ลดความลึกลงมาขั้นหนึ่ง (¼ นิ้ว)
หากดินแข็งเกินไปจนไม่สามารถเจาะดินได้ตามความลึกที่ต้องการ หัวเดือยอาจจะกระเด้งกระดอนเป็นระยะๆ เพราะเดือยพยายามจะเจาะผ่านชั้นดินดานลงไป แนะนำให้แก้ไขโดยพยายามทำตามขั้นตอนต่อไปนี้
อย่าเพิ่งเติมอากาศหากดินแข็งหรือแห้งเกินไป ควรรอหลังจากฝนตกหรือรดน้ำสนามหนึ่งวัน เพื่อให้ได้ผลลัพธ์ที่ดีที่สุด
เปลี่ยนมาใช้หัวแบบ 3 เดือยเจาะ หากได้พยายามใช้หัวแบบ 4 เดือยเจาะแล้ว หรือลดจำนวนเดือยเจาะต่อแขนเจาะลง พยายามติดตั้งเดือยเจาะเป็นรูปแบบที่สมมาตรกันเพื่อกระจายน้ำหนักไปยังแขนเจาะเท่าๆ กัน
หากดินอัดแน่นและแข็งมาก ควรลดระดับการเจาะเติมอากาศลง (ค่าความลึก) กำจัดแกนดินออกจากสนาม รดน้ำสนาม แล้วค่อยเติมอากาศอีกครั้งโดยใช้ความลึกมากขึ้น
การเติมอากาศดินประเภทต่างๆ ที่อยู่บนดินชั้นล่าง (กล่าวคือเป็นดิน/ทรายที่ปกคลุมอยู่บนดินที่เต็มไปด้วยหิน) อาจทำให้คุณภาพหลุมไม่เป็นไปตามต้องการ เหตุการณ์แบบนี้เกิดขึ้นเมื่อเจาะเติมอากาศลงไปลึกกว่าระดับดินชั้นบน และดินชั้นล่างแข็งเกินจนเจาะไม่ได้ เมื่อเดือยเจาะสัมผัสกับดินชั้นล่างที่แข็งกว่า อุปกรณ์เติมอากาศอาจจะยกขึ้น และส่งผลให้ด้านบนของรูเจาะยาวกว่าเดิม ดังนั้น ควรปรับลดความลึกในการเติมอากาศอย่างเพียงพอ เพื่อป้องกันการเจาะไปจนถึงชั้นดินแข็งที่อยู่ด้านล่าง
คุณภาพการเจาะจะลดลงเมื่อรูเจาะลากเป็นทางยาว (ลากไปด้านหน้า)
หากสังเกตเห็นว่าคุณภาพการเจาะลดลง ให้เช็คการปรับเทียบความสูงจากพื้นของเดือยเจาะ โปรดดู การตรวจสอบการปรับเทียบความสูงจากพื้นดินของเดือยเจาะ
เนื่องจากออกแบบมาให้เป็นสองแถว หัวเดือยขนาดเล็กจึงต้องตั้งค่าระยะห่างรูเจาะไว้ที่ 6.3 มม. (2 1/2 นิ้ว) นอกจากนี้ ความเร็วในการขับเคลื่อนบนพื้นยังสำคัญอย่างมากต่อลักษณะของการเว้นระยะห่างระหว่างรูเจาะ 3.2 มม. (1 1/4 นิ้ว) ด้วย โปรดดู การตั้งค่าระยะห่างระหว่างหลุมเจาะ หากระยะห่างของรูเจาะเปลี่ยนแปลงไปเล็กน้อย
เมื่อใช้หัวเดือยขนาดเล็กหรือเดือยเจาะแบบตันขนาดใหญ่ โครงสร้างรากของสนามหญ้าเป็นปัจจัยสำคัญที่จะป้องกันไม่ให้สนามเสียหายเนื่องจากชั้นรากฉีกขาด หาก 2 แขนตรงกลางเริ่มจะดันหญ้าขึ้นมาหรือทำให้ชั้นรากเสียหายมากเกินไป ให้ดำเนินการต่อไปนี้
เพิ่มระยะห่างของรูเจาะ
ลดขนาดเดือยเจาะลง
ลดความลึกของเดือยเจาะลง
ถอดเดือยเจาะบางส่วนออก
การยกตัวตอนที่เดือยเจาะแบบตันถูกดึงขึ้นมาจากสนาม อาจทำให้สนามเสียหายได้ โดยอาจจะทำให้ชั้นรากฉีกขาดหากความหนาแน่นหรือเส้นผ่านศูนย์กลางของเดือยเจาะสูงเกินไป
เมื่อเติมอากาศด้วยเดือยเจาะแบบตันที่ยาวขึ้น (กล่าวคือยาว 3/8 x 4 นิ้ว) หรือเดือยเจาะแบบเข็ม ปากรูเจาะอาจจะลากเป็นทางยาวหรือครูดไปกับสนาม หากต้องการให้รูเจาะกลับมามีคุณภาพดีเหมือนเดิมเมื่อใช้เดือยเจาะรูปแบบนี้ แนะนำให้ทำตามขั้นตอนต่อไปนี้
ปรับเทียบความสูงจากพื้นดินของเดือยเจาะ โปรดดู การปรับเทียบความสูงจากพื้นดินของเดือยเจาะ
ชะลอความเร็วเดินรอบเบาสูงของเครื่องยนต์เหลือ 2800 ถึง 2900 รอบต่อนาที
Note: เนื่องจากความเร็วในการขับเคลื่อนและความเร็วของหัวเดือยจะเพิ่มขึ้นและลดลงตามความเร็วของเครื่องยนต์ ดังนั้นระยะห่างของรูเจาะจะไม่ได้รับผลกระทบแต่อย่างใด
หากชะลอความเร็วเครื่องยนต์ลงแล้ว แต่คุณภาพของรูเจาะยังไม่ดีขึ้นเมื่อใช้เดือยเจาะแบบตันที่ยาวขึ้นหรือเดือยเจาะแบบเข็ม ให้ปรับแดมป์เปอร์ Roto-Link
Note: การตั้งค่าเริ่มต้นจากโรงงานมักจะให้ผลดีที่สุดในกรณีส่วนใหญ่
หากด้านหน้าของปากรูเจาะลากเป็นทางยาวหรือครูดไปกับสนาม การตั้งค่า Roto-Link ให้แข็งขึ้นจะช่วยลดการดันรูเจาะและเพิ่มคุณภาพของรูเจาะได้
หากด้านหลังของปากรูเจาะลากเป็นทางยาวหรือครูดไปกับสนาม การตั้งค่า Roto-Link ให้นิ่มลงจะช่วยเพิ่มคุณภาพของรูเจาะได้
Note: หากต้องการเปลี่ยนกลับมาใช้เดือยเจาะแกนหรือเดือยเจาะขนาดเล็ก คุณต้องกลับตำแหน่งของแดมป์เปอร์ Roto-Link
จอดอุปกรณ์บนพื้นราบ ดันแฮนด์ควบคุมขึ้นจนสุดแล้วใส่สลักเพื่อเข้าเบรกจอด ดับเครื่องยนต์รถลากพ่วง ดึงกุญแจออก และรอให้การเคลื่อนไหวหยุดนิ่ง
ถอดฝาครอบหัวเดือย โปรดดู การถอดฝาครอบหัวเดือย
ใช้สลักซ่อมบำรุงยึดหัวเดือยเอาไว้ โปรดดู การหนุนหัวเดือยด้วยสลักซ่อมบำรุง
Note: โรงงานจะวางตัวคั่น Roto-Link 1 ตัวไว้ที่เพลาแดมป์เปอร์ Roto-Link และวางตัวคั่น 1 ตัวไว้ในตำแหน่งจัดเก็บของแขนเจาะแต่ละแขน
Note: การปรับแดมป์เปอร์ Roto-Link จะช่วยให้คุณขับเคลื่อนอุปกรณ์ด้วยความเร็วเครื่องยนต์สูงสุด (3,400 รอบต่อนาที) แต่คุณอาจจะต้องเติมอากาศด้วยความเร็วเครื่องยนต์ช้าลงเพื่อเพิ่มคุณภาพของรูเจาะ
ถอดน็อตล็อกมีบ่า 2 ตัวที่ยึดเพลาแดมเปอร์ Roto-Link เข้ากับโครงด้านหลังของอุปกรณ์ (รูป 121)

ถอดตัวคั่น (ที่อยู่ในตำแหน่งจัดเก็บ) และแหวนวงรีออกมาออกมา
หมุนข้อต่อลิงก์ของแดมเปอร์และเพลาแดมเปอร์ลงมา (รูป 122)

วางตัวคั่น Roro-Link เพื่อแก้ไขปัญหารูเจาะดังต่อไปนี้
Note: ตัวคั่นแต่ละตัวเทียบเท่า 12.7 ซม. (1/2 นิ้ว) ตัวคั่นบัมเปอร์ด้านล่างต้องอยู่บนเพลาแดมเปอร์เสมอ
หากด้านหน้าของปากรูเจาะลากเป็นทางยาวหรือครูดไปกับสนาม—วางตัวคั่นเหนือโครงด้านหลังในตำแหน่งจัดเก็บ
หากด้านหลังของปากรูเจาะลากเป็นทางยาวหรือครูดไปกับสนาม—วางตัวคั่นทั้งสองอันไว้เหนือโครงด้านหลัง ทั้งสองด้านของเพลาแดมเปอร์ Roto-Link
หมุนข้อต่อลิงก์ของแดมเปอร์และเพลาแดมเปอร์ขึ้น จากนั้นสอดเดือยเข้ากับรูบนโครงด้านหลังของอุปกรณ์
ใช้แหวนวงรีและน็อตล็อกยึดเพลาแดมเปอร์และตัวคั่นเข้ากับโครงด้านหลัง (รูป 123)

ขันน็อตล็อกมีบ่าจนได้แรงบิด 47 ถึง 61 นิวตันเมตร (35 ถึง 45 ฟุตปอนด์)
ทำซ้ำขั้นตอน 1 ถึง 7 กับแขนเจาะ 2 แขนถัดไป
เก็บสลักซ่อมบำรุง โปรดดู การเก็บสลักซ่อมบำรุง
ติดตั้งฝาครอบหัวเดือย โปรดดู การติดตั้งฝาครอบหัวเดือย
ดำเนินการตามขั้นตอนการปรับเทียบความสูงจากพื้นดินของเดือยเจาะ โปรดดู การปรับเทียบความสูงจากพื้นดินของเดือยเจาะ
เคลื่อนย้ายอุปกรณ์ไปยังบริเวณทดลองใช้งาน แล้วเติมอากาศในสนามเพื่อเปรียบเทียบคุณภาพรูเจาะ
หากคุณภาพรูเจาะดีขึ้นแล้ว ให้ทำซ้ำขั้นตอน การเตรียมอุปกรณ์, การปรับแดมป์เปอร์ Roto-Link และ การติดตั้งฝาครอบหัวเดือย เพื่อปรับแดมเปอร์ Roto-Link กับแขนเจาะอีก 3 แขนที่เหลือ
จอดอุปกรณ์บนพื้นราบ ดันแฮนด์ควบคุมขึ้นจนสุดแล้วใส่สลักเพื่อเข้าเบรกจอด ดับเครื่องยนต์รถลากพ่วง ดึงกุญแจออก และรอให้การเคลื่อนไหวหยุดนิ่ง
เมื่อไม่ใช้อุปกรณ์ ควรลดระดับหัวเดือยลงมาหรือยึดหัวเดือยด้วยสลักซ่อมบำรุง
ดูแลรักษาให้ชิ้นส่วนทั้งหมดของอุปกรณ์มีสภาพดีและทำงานได้ตามปกติ และขันชิ้นส่วนทั้งหมดให้แน่นหนา
เปลี่ยนป้ายที่สึกหรอ ชำรุด หรือหายไป
| ระยะการซ่อมบำรุง | ขั้นตอนการบำรุงรักษา |
|---|---|
| ก่อนการใช้งานแต่ละครั้งหรือทุกวัน |
|
Important: อย่าใช้น้ำกร่อยหรือน้ำหมุนเวียนล้างรถ
Important: อย่าใช้น้ำแรงดันในการล้างอุปกรณ์
จอดอุปกรณ์บนพื้นราบ ดันแฮนด์ควบคุมขึ้นจนสุดแล้วใส่สลักเพื่อเข้าเบรกจอด ดับเครื่องยนต์รถลากพ่วง ดึงกุญแจออก และรอให้การเคลื่อนไหวหยุดนิ่ง
ล้างอุปกรณ์อย่างทั่วถึง
ใช้สายยางที่ไม่มีหัวฉีดเพื่อป้องกันไม่ให้น้ำไหลผ่านซีลเข้าไปปนเปื้อนจาระบีบนแบริ่ง
ใช้แปรงขจัดสิ่งสกปรกสะสมออก
ทำความสะอาดฝาครอบโดยใช้สารทำความสะอาดที่มีฤทธิ์อ่อน
หลังทำความสะอาดเสร็จ ให้เคลือบด้วยแว็กซ์สำหรับยานยนต์เป็นประจำเพื่อให้ฝาครอบมันวาวอยู่เสมอ
ตรวจสภาพอุปกรณ์เพื่อหาความเสียหาย น้ำมันรั่ว รวมทั้งส่วนประกอบและเดือยเจาะที่สึกหรอ
ถอดเดือยเจาะออก ทำความสะอาด และเคลือบน้ำมัน พ่นละอองน้ำมันบางๆ บนแบริ่งหัวเจาะ (ก้านโยงข้อเหวี่ยงและแดมเปอร์)
Important: หากจัดเก็บอุปกรณ์ไว้นานกว่าสองหรือสามวัน ให้ใช้สลักซ่อมบำรุงยึดหัวเดือยไว้
ห่วงผูกยึดอยู่ตรงด้านหน้าและด้านหลังของอุปกรณ์ (รูป 124รูป 125 และ รูป 126)
Note: ผูกโยงอุปกรณ์ด้วยสายผูกยึดที่ผ่านการรับรองจาก DOT และมีระดับความแข็งแรงที่เหมาะสม โปรดดูน้ำหนักของอุปกรณ์ใน ข้อมูลจำเพาะ



การขับอุปกรณ์บนถนนหรือเส้นทางโดยไม่มีไฟเลี้ยว ไฟส่องสว่าง เครื่องหมายสะท้อนแสง หรือป้ายรถเคลื่อนที่ช้านั้นเป็นอันตราย อาจก่อให้เกิดอุบัติเหตุและการบาดเจ็บได้
ห้ามขับอุปกรณ์นี้บนถนนหรือทางสาธารณะ
Important: ใช้ทางลาดแบบเต็มความกว้างเพื่อย้ายอุปกรณ์ขึ้นรถพ่วงหรือรถบรรทุก
บรรทุกอุปกรณ์ขึ้นรถพ่วงหรือรถบรรทุก (แนะนำให้หัวเดือยอยู่ด้านหน้า)
ดันแฮนด์ควบคุมขึ้นจนสุดแล้วใส่สลักเพื่อเข้าเบรกจอด ดับเครื่องยนต์รถลากพ่วง ดึงกุญแจออก และรอให้การเคลื่อนไหวหยุดนิ่ง
ใช้สลักซ่อมบำรุงยึดหัวเดือยเอาไว้ โปรดดู การหนุนหัวเดือยด้วยสลักซ่อมบำรุง
ปิดวาล์วจัดการจ่ายเชื้อเพลิง โปรดดู วาล์วตัดการจ่ายเชื้อเพลิง.
ผูกอุปกรณ์เข้ากับรถพ่วงหรือรถบรรทุกด้วยสายเคเบิล สายโซ่ หรือสายผูกยึด โดยใช้จุดผูกยึดบนอุปกรณ์ โปรดดู จุดผูกยึด
| น้ำหนัก | 745 กก. (1,642 ปอนด์) หรือ 829 กก. (1,827 ปอนด์) โดยมีน้ำหนัก 2 ระดับให้เลือก |
| ความกว้าง | ขั้นต่ำ 130 ซม. (51 นิ้ว) |
| ความยาว | ขั้นต่ำ 267 ซม. (105 นิ้ว) |
| มุมทางลาด | ความชันไม่เกิน 3.5/12 (16°) |
| ทิศทางการบรรทุก | หัวเดือยอยู่ด้านหน้า (แนะนำ) |
| น้ำหนักลากจูงของยานพาหนะ | มากกว่าน้ำหนักรวมสูงสุดของรถพ่วง (GTW) |
Note: ดาวน์โหลดสำเนาผังไฟฟ้าหรือระบบไฮดรอลิกได้ฟรี โดยเข้าไปที่ www.Toro.com แล้วค้นหารุ่นรถของคุณจากลิงก์คู่มือในหน้าหลัก
Note: ดูขั้นตอนการบำรุงรักษาเพิ่มเติมได้จากคู่มือสำหรับเจ้าของเครื่องยนต์
Note: ดูด้านซ้ายและขวาของอุปกรณ์จากตำแหน่งปกติในการควบคุมอุปกรณ์
จอดอุปกรณ์บนพื้นราบ ดันแฮนด์ควบคุมขึ้นจนสุดแล้วใส่สลักเพื่อเข้าเบรกจอด ดับเครื่องยนต์รถลากพ่วง ดึงกุญแจออก และรอให้การเคลื่อนไหวหยุดนิ่ง รอให้เครื่องยนต์เย็นลงก่อนปรับ ซ่อมบำรุง ทำความสะอาด หรือจัดเก็บรถ
ทำตามคำแนะนำการบำรุงรักษาที่อธิบายไว้ในคู่มือฉบับนี้เท่านั้น หากอุปกรณ์ต้องได้รับการซ่อมแซมครั้งใหญ่ หรือคุณต้องการความช่วยเหลือ โปรดติดต่อตัวแทนจำหน่าย Toro ที่ได้รับอนุญาต
ตรวจสอบให้แน่ใจว่าอุปกรณ์มีสภาพการทำงานที่ปลอดภัย โดยการขันน็อต สลักเกลียว และสกรูให้แน่นหนา
หากเป็นไปได้ อย่าบำรุงรักษาในขณะที่เครื่องยนต์กำลังทำงาน อยู่ห่างจากชิ้นส่วนเคลื่อนไหว
ค่อยๆ ปล่อยแรงดันจากส่วนประกอบที่มีพลังงานสะสมเก็บไว้
ตรวจสอบสลักเกลียวยึดเดือยเจาะเป็นประจำทุกวัน เพื่อให้แน่ใจว่าขันแน่นตามข้อกำหนดแล้ว
ติดตั้งแผงกั้นทั้งหมดให้เข้าที่ และปิดกระโปรงอุปกรณ์ให้แน่นหนาหลังจากบำรุงรักษาหรือปรับอุปกรณ์แล้ว
| ระยะการซ่อมบำรุง | ขั้นตอนการบำรุงรักษา |
|---|---|
| หลังจาก 8 ชั่วโมงแรก |
|
| หลังจาก 50 ชั่วโมงแรก |
|
| ก่อนการใช้งานแต่ละครั้งหรือทุกวัน |
|
| ทุก 25 ชั่วโมง |
|
| ทุก 50 ชั่วโมง |
|
| ทุก 100 ชั่วโมง |
|
| ทุก 200 ชั่วโมง |
|
| ทุก 250 ชั่วโมง |
|
| ทุก 400 ชั่วโมง |
|
| ทุก 500 ชั่วโมง |
|
| ก่อนจัดเก็บ |
|
| ทุกปี |
|
Important: ดูขั้นตอนการบำรุงรักษาเพิ่มเติมได้จากคู่มือสำหรับเจ้าของเครื่องยนต์
ถ่ายสำเนาหน้านี้ไว้เพื่อนำไปใช้งานเป็นประจำ
| รายการตรวจสอบสำหรับการบำรุงรักษา | สำหรับสัปดาห์: | ||||||
|---|---|---|---|---|---|---|---|
| จ. | อ. | พ. | พฤ. | ศ. | ส. | อา. | |
| ตรวจสอบการทำงานของสวิตช์อินเตอร์ล็อกนิรภัย | |||||||
| ตรวจสอบการทำงานของเบรก | |||||||
| ตรวจสอบระดับน้ำมันเครื่อง | |||||||
| ตรวจสอบระดับน้ำมัน | |||||||
| ตรวจสอบระบบกรองอากาศ | |||||||
| ตรวจสอบเศษสิ่งต่างๆ บนเครื่องยนต์ | |||||||
| ตรวจสอบเสียงเครื่องยนต์ที่ผิดปกติ | |||||||
| ตรวจสอบเสียงการทำงานที่ผิดปกติ | |||||||
| ตรวจสอบระดับน้ำมันไฮดรอลิก | |||||||
| ตรวจสอบท่ออ่อนไฮดรอลิกเพื่อดูความเสียหาย | |||||||
| ตรวจสอบน้ำยารั่วไหล | |||||||
| ตรวจสอบการทำงานของแผงหน้าปัด | |||||||
| ตรวจสอบสภาพเดือยเจาะ | |||||||
| ทำสีที่ชำรุด | |||||||
Important: ดูขั้นตอนการบำรุงรักษาเพิ่มเติมได้จากคู่มือสำหรับเจ้าของเครื่องยนต์
| ตรวจสอบโดย: | ||
| รายการ | วันที่ | ข้อมูล |
| 1 | ||
| 2 | ||
| 3 | ||
| 4 | ||
| 5 | ||
| 6 | ||
| 7 | ||
| 8 | ||
หากคุณเสียบกุญแจทิ้งไว้ อาจมีคนสตาร์ทเครื่องยนต์โดยไม่ตั้งใจและทำให้คุณหรือคนที่อยู่รอบข้างบาดเจ็บได้
จอดอุปกรณ์บนพื้นราบ ดันแฮนด์ควบคุมขึ้นจนสุดแล้วใส่สลักเพื่อเข้าเบรกจอด ดับเครื่องยนต์รถลากพ่วง ดึงกุญแจออก และรอให้การเคลื่อนไหวหยุดนิ่ง
Important: ตัวยึดบนฝาครอบอุปกรณ์รุ่นนี้ออกแบบมาให้ยังอยู่บนฝาครอบหลังจากถอดออก คลายตัวยึดทั้งหมดบนฝาครอบแต่ละอันสองสามรอบ เพื่อคลายฝาครอบออก แต่ยังคงยึดอยู่ จากนั้นกลับไปคลายตัวยึดต่อจนฝาครอบหลุดออก วิธีนี้ป้องกันไม่ให้คุณดึงสลักเกลียวออกมาจากที่ยึดโดยไม่ได้ตั้งใจ
จอดรถบนพื้นราบ
ยกแฮนด์ควบคุมขึ้นจนสุดและใส่สลักเอาไว้เพื่อเข้าเบรกจอด โปรดดู การดึงเบรกมือ
ดับเครื่องยนต์ ดึงกุญแจออก และรอให้การเคลื่อนไหวทั้งหมดหยุดนิ่งก่อนจะออกจากอุปกรณ์ โปรดดู การดับเครื่องยนต์
ปล่อยให้อุปกรณ์เย็นลง
หากไม่ได้ขัดอุปกรณ์ไว้อย่างเหมาะสมโดยใช้บล็อกหรือแม่แรง อุปกรณ์อาจจะขยับหรือตกลงมา และเป็นสาเหตุให้บาดเจ็บได้
เมื่อต้องเปลี่ยนอุปกรณ์ต่อพ่วง ล้อ หรือทำงานซ่อมบำรุงอื่นๆ ให้ใช้บล็อก เครื่องยก และแม่แรงที่ถูกต้อง
จอดอุปกรณ์บนพื้นราบที่มั่นคงแข็งแรง เช่น พื้นคอนกรีต
ก่อนยกอุปกรณ์ ให้ถอดอุปกรณ์ต่อพ่วงที่อาจทำให้ไม่ปลอดภัยออก และยกอุปกรณ์ขึ้นอย่างถูกต้อง
ขัดหรือบล็อกล้อไว้เสมอ ใช้ขาตั้งแม่แรงหรือบล็อกไม้มาพยุงรับน้ำหนักของอุปกรณ์ที่ถูกยก
เตรียมอุปกรณ์ให้พร้อมสำหรับการบำรุงรักษา โปรดดู การเตรียมรถสำหรับการบำรุงรักษา
ขัดล้อหลังเอาไว้เพื่อป้องกันไม่ให้อุปกรณ์ขยับ
Important: ห้ามใช้มอเตอร์ล้อหน้าเป็นจุดขึ้นแม่แรง เพราะอาจทำให้มอเตอร์ล้อเสียหายได้
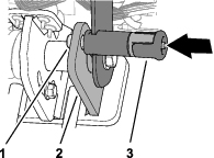
วางแม่แรงไว้ใต้แขนพยุงล้อด้านหน้า (รูป 127)

ยกด้านหน้าอุปกรณ์ขึ้นจากพื้น
วางขาตั้งแม่แรงหรือบล็อกไม้แข็งไว้ใต้ส่วนหน้าของโครงอุปกรณ์เพื่อพยุงน้ำหนักของอุปกรณ์
เตรียมอุปกรณ์ให้พร้อมสำหรับการบำรุงรักษา โปรดดู การเตรียมรถสำหรับการบำรุงรักษา
ขัดล้อหน้าเอาไว้เพื่อป้องกันไม่ให้อุปกรณ์ขยับ
Important: ห้ามใช้มอเตอร์ล้อหลังเป็นจุดขึ้นแม่แรง เพราะอาจทำให้มอเตอร์ล้อเสียหายได้
วางแม่แรงให้มั่นคงใต้แผ่นโครงภายในล้อหลัง (รูป 128)

Note: ยกด้านท้ายของอุปกรณ์โดยใช้ตัวยก ถ้ามี ใช้ห่วงที่อยู่บนตัวเรือนแบริ่งหัวเดือยเป็นจุดต่อพ่วงตัวยก (รูป 129)

ยกด้านหน้าอุปกรณ์ขึ้นจากพื้น
วางขาตั้งแม่แรงหรือบล็อกไม้แข็งไว้ใต้โครงอุปกรณ์เพื่อพยุงน้ำหนักของอุปกรณ์
วางโครงยึดฝาครอบสายพานให้ตรงกับโครงรองรับฝาครอบที่อยู่บนโครงอุปกรณ์ (รูป 133)

วางฝาครอบสายพานลง (รูป 134)

ดันมือจับสลักไปด้านล่างจนสุดเพื่อยึดฝาครอบไว้ (รูป 135)

หากอุปกรณ์ของคุณติดตั้งเหล็กแลนยาร์ดบนฝาครอบสายพานตามมาตรฐาน CE ให้ขันสลักเกลียวของเหล็กแลนยาร์ดลงในรูบนสลักฝาครอบ แล้วขันสลักเกลียวให้แน่น (รูป 136)


หากอุปกรณ์ของคุณติดตั้งกลอนสลักตามมาตรฐาน CE ให้คลายสลักเกลียวของกลอนจนกระทั่งกลอนหลุดออกมาจากร่องด้านข้างฝาครอบหัวเดือย (รูป 138)

หมุนกลอนเพื่อปลดสลัก (รูป 138)
ทำซ้ำขั้นตอนที่ 1 และ 2 ที่อีกด้านหนึ่งของฝาครอบ
ปลดสลักฝาครอบหัวเดือยทั้ง 4 ตำแหน่ง (รูป 137 และ รูป 139)

ยกฝาครอบหัวเดือยออกจากอุปกรณ์ (รูป 140)

วางฝาครอบหัวเดือยลงบนอุปกรณ์ ดังแสดงใน รูป 141

ใส่สลักฝาครอบหัวเดือยทั้ง 4 ตำแหน่ง (รูป 142)
หากอุปกรณ์ของคุณติดตั้งกลอนสลักตามมาตรฐาน CE หมุนกลอนจนกระทั่งกลอนอยู่ในแนวเดียวกันกับร่องด้านข้างฝาครอบหัวเดือย (รูป 143)



ขันสลักเกลียวบนกลอนให้แน่น (รูป 143)
ทำซ้ำขั้นตอนที่ 3 และ 4 ที่อีกด้านหนึ่งของฝาครอบ
| ระยะการซ่อมบำรุง | ขั้นตอนการบำรุงรักษา |
|---|---|
| ทุก 500 ชั่วโมง |
|
| ทุกปี |
|
อุปกรณ์ไม่มีจุดอัดจาระบีที่ต้องหล่อลื่น
Important: แบริ่งเสียส่วนใหญ่ไม่ใช่เพราะความบกพร่องของวัสดุหรือการผลิต แต่สาเหตุที่พบบ่อยที่สุดคือความชื้นและการปนเปื้อนที่ซึมผ่านซีลป้องกันเข้ามา แบริ่งที่ต้องหล่อลื่นด้วยจาระบีต้องบำรุงรักษาเป็นประจำเพื่อกำจัดเศษวัสดุที่เป็นอันตรายออกจากบริเวณแบริ่ง ส่วนแบริ่งแบบซีลจะอัดจาระบีชนิดพิเศษมาเรียบร้อยแล้ว อีกทั้งซีลในตัวยังมีความแข็งแรงทนทานและช่วยป้องกันไม่ให้สิ่งปนเปื้อนและความชื้นเล็ดลอดเข้าไปในส่วนลูกกลิ้งได้
แบริ่งแบบซีลไม่จำเป็นต้องอัดจาระบีหรือบำรุงรักษาในระยะสั้น จึงช่วยลดภาระในการซ่อมบำรุงที่ต้องทำเป็นประจำ รวมทั้งลดโอกาสที่จะสนามเสียหายจากการปนเปื้อนจาระบีด้วย ชุดแบริ่งแบบซีลเหล่านี้มีประสิทธิภาพและอายุการใช้งานเป็นเลิศในสภาพการใช้งานตามปกติ อย่างไรก็ตาม ควรตรวจสภาพของแบริ่งและความสมบูรณ์ของซีลเป็นระยะๆ เพื่อหลีกเลี่ยงสถานการณ์ที่ทำให้คุณใช้อุปกรณ์ไม่ได้ โดยควรตรวจสภาพของแบริ่งทุกฤดูกาลและเปลี่ยนใหม่ หากพบว่าเสียหายหรือสึกหรอ แบริ่งควรทำงานได้อย่างราบรื่นโดยไม่เกิดลักษณะบ่งชี้ความเสียหาย เช่น ความร้อนสูง เสียงรบกวน หลวม หรือมีสนิม
เนื่องจากสภาพแวดล้อมการทำงานแบบต่างๆ ที่มีการนำแบริ่งไปใช้งาน (เช่น ทราย สารเคมีในสนาม น้ำ แรงกระแทก) ทำให้แบริ่งถือเป็นชิ้นส่วนที่เกิดการสึกหรอได้ตามปกติ ดังนั้น ปกติแล้วแบริ่งที่ไม่สามารถใช้งานได้ด้วยสาเหตุอื่นใดนอกเหนือจากความบกพร่องด้านวัสดุและฝีมือการผลิต จะไม่ได้รับความคุ้มครองภายใต้การรับประกัน
Note: การล้างอุปกรณ์อย่างไม่ถูกต้องอาจจะส่งผลเสียต่อแบริ่งได้ ดังนั้น ห้ามล้างอุปกรณ์ขณะที่ยังร้อน และหลีกเลี่ยงการฉีดพ่นด้วยแรงดันสูงหรือปริมาณมากที่แบริ่ง
แบริ่งใหม่จะขับจาระบีบางส่วนออกมาจากซีลเมื่อติดตั้งบนอุปกรณ์ ซึ่งเป็นเรื่องปกติ จาระบีดังกล่าวจะเปลี่ยนเป็นสีดำเนื่องจากเศษสิ่งสกปรกต่างๆ ไม่ใช่เพราะความร้อนสูงเกินไป แนะนำให้เช็ดจาระบีส่วนเกินออกจากซีลหลังจากใช้งาน 8 ชั่วโมงแรก บริเวณรอบๆ ปากซีลอาจจะเปียกอยู่ตลอดเวลา นี่ไม่ส่งผลเสียต่ออายุการใช้งานของแบริ่งและช่วยให้ปากซีลหล่อลื่นอยู่ตลอดเวลา
ดับเครื่องยนต์ก่อนตรวจสอบระดับน้ำมันหรือเติมน้ำมันลงในห้องข้อเหวี่ยง
อย่าเปลี่ยนความเร็วของตัวควบคุมความเร็วหรือเร่งรอบเครื่องมากเกินไป
| ระยะการซ่อมบำรุง | ขั้นตอนการบำรุงรักษา |
|---|---|
| ทุก 25 ชั่วโมง |
|
| ทุก 100 ชั่วโมง |
|
เตรียมอุปกรณ์ให้พร้อมสำหรับการบำรุงรักษา โปรดดู การเตรียมรถสำหรับการบำรุงรักษา
ทำความสะอาดรอบๆ ระบบกรองอากาศเพื่อป้องกันไม่ให้ฝุ่นตกลงไปในเครื่องยนต์และอาจก่อให้เกิดความเสียหาย
ถอดสกรูและถอดฝาครอบกรองอากาศออก (รูป 144)

ค่อยๆ เลื่อนไส้กรองโฟมขั้นต้นออกจากไส้กรองกระดาษอย่างระมัดระวัง (รูป 144)
ถอดน็อตฝาครอบ จากนั้นถอดฝาครอบ ตัวคั่น และไส้กรองกระดาษออกมา (รูป 144)
Important: เปลี่ยนไส้กรองโฟมที่ฉีกขาดหรือสึกหรอ
ล้างไส้กรองโฟมขั้นต้นด้วยสบู่เหลวและน้ำอุ่น ตอนทำความสะอาด ควรล้างให้หมดจด
นำผ้าสะอาดมาห่อไส้กรองขั้นต้นและบีบน้ำออก (แต่อย่าบิด)
เทน้ำมัน 3 ถึง 6 ซล. (1 ถึง 2 ออนซ์) ลงบนไส้กรองขั้นต้น (รูป 145)

บีบไส้กรองขั้นต้นเพื่อให้น้ำมันกระจายทั่ว
ตรวจสอบหารอยฉีกขาด ฟิล์มมันวาว หรือความเสียหายที่ซีลยางของไส้กรองกระดาษ (รูป 146)

Important: ห้ามทำความสะอาดไส้กรองกระดาษเด็ดขาด เปลี่ยนไส้กรองกระดาษที่สกปรกหรือเสียหาย
Important: เพื่อป้องกันเครื่องยนต์เสียหาย ควรใช้งานเครื่องยนต์ที่ชุดกรองอากาศติดตั้งทั้งไส้กรองโฟมและกระดาษไว้อย่างสมบูรณ์
ค่อยๆ เลื่อนไส้กรองโฟมขั้นต้นลงไปบนไส้กรองกระดาษอย่างระมัดระวัง (รูป 147)

วางชุดกรองอากาศลงบนฐานชุดกรองอากาศ
ประกอบฝาครอบ ตัวคั่น และน็อตฝาครอบ
ขันน็อตจนได้แรงบิด 11 นิวตันเมตร (95 นิ้วปอนด์)
ใส่ฝาครอบชุดกรองอากาศและยึดด้วยน็อต
ประเภทน้ำมัน: น้ำมันชะล้างคุณภาพสูง มาตรฐาน API Service SJ ขึ้นไป
ความหนืดน้ำมัน: โปรดดูตารางด้านล่าง

| ระยะการซ่อมบำรุง | ขั้นตอนการบำรุงรักษา |
|---|---|
| ก่อนการใช้งานแต่ละครั้งหรือทุกวัน |
|
เครื่องยนต์เติมน้ำมันในห้องข้อเหวี่ยงมาให้แล้วจากโรงงาน แต่ควรตรวจสอบระดับน้ำมันก่อนและหลังสตาร์ทเครื่องยนต์ครั้งแรก
ใช้น้ำมันเครื่องคุณภาพสูงตามรายละเอียดใน ข้อมูลจำเพาะของน้ำมันเครื่อง
Important: อย่าเติมน้ำมันในห้องข้อเหวี่ยงมากเกินไปอย่าเดินเครื่องยนต์ หากระดับน้ำมันเครื่องต่ำกว่าขีดล่าง
Note: เวลาที่เหมาะที่สุดในการตรวจสอบน้ำมันเครื่องคือเมื่อเครื่องยนต์เย็น ก่อนที่จะสตาร์ทอุปกรณ์เป็นครั้งแรกของวัน หากเครื่องยนต์ทำงานไปแล้ว รอให้น้ำมันเครื่องไหลกลับเข้าไปสู่อ่างน้ำมันเครื่องอย่างน้อย 10 นาทีก่อนที่จะตรวจสอบ
เตรียมอุปกรณ์ให้พร้อมสำหรับการบำรุงรักษา โปรดดู การเตรียมรถสำหรับการบำรุงรักษา
ปล่อยให้เครื่องยนต์เย็นลง
ทำความสะอาดบริเวณรอบๆ ฝาเติมน้ำมันและก้านวัด (รูป 149)

ดึงก้านวัดออก เช็ดให้สะอาด และใส่ก้านวัดกลับเข้าไปจนสุด
ดึงก้านวัดออกและตรวจสอบระดับน้ำมันเครื่อง
ระดับน้ำมันเครื่องควรอยู่ระหว่างขีดเต็ม "F" กับขีดล่าง "L" บนก้านวัด
หากระดับน้ำมันอยู่ต่ำกว่าขีดล่าง "L" ให้เปิดฝาเติมน้ำมัน และเติมน้ำมันที่กำหนดจนกว่าน้ำมันจะถึงขีดเต็ม "F" บนก้านวัด
ปิดฝาเติมน้ำมันและก้านวัดกลับเข้าที่
| ระยะการซ่อมบำรุง | ขั้นตอนการบำรุงรักษา |
|---|---|
| หลังจาก 50 ชั่วโมงแรก |
|
| ทุก 100 ชั่วโมง |
|
ความจุห้องข้อเหวี่ยง: ประมาณ 1.9 ลิตร (2.0 ควอร์ต) พร้อมตัวกรอง
สตาร์ทเครื่องยนต์และปล่อยให้เครื่องยนต์ทำงาน 5 นาที เพื่อให้น้ำมันอุ่นและระบายได้ดีขึ้น
จอดอุปกรณ์ให้ฝั่งที่ต้องการระบายน้ำมันอยู่ต่ำกว่าอีกฝั่งหนึ่งเล็กน้อยเพื่อให้น้ำมันระบายออกมาจนหมด จากนั้นดับเครื่องยนต์ ยกแฮนด์ควบคุมขึ้นจนสุดและใส่สลักเพื่อเข้าเบรกจอด และดึงกุญแจออก
วางอ่างระบายใต้จุกระบายน้ำมัน จากนั้นถอดจุกระบายออก (รูป 150)
Note: ปล่อยให้น้ำมันระบายออกมาจนหมด

ปิดจุกระบายน้ำมันกลับเข้าที่และขันให้แน่น
Note: ทิ้งน้ำมันใช้แล้วที่ศูนย์รีไซเคิลที่ได้รับการรับรอง
วางอ่างระบายก้นตื้นใต้ตัวกรองน้ำมันและถอดตัวกรองออก (รูป 150)
Note: ทิ้งน้ำมันใช้แล้วที่ศูนย์รีไซเคิลที่ได้รับการรับรอง
เช็ดผิวของอะแดปเตอร์ตัวกรองให้สะอาด
เติมน้ำมันที่ระบุในตัวกรองน้ำมันอันใหม่จนระดับน้ำมันขึ้นมาถึงด้านล่างของเกลียว
ปล่อยให้ตัวกรองซึมซับน้ำมันเป็นเวลา 2 นาที จากนั้นเทน้ำมันส่วนเกินออก
ทาน้ำมันใหม่เป็นชั้นบางๆ ที่ปะเก็นยางบนตัวกรอง
หมุนตัวกรองน้ำมันลงในอะแดปเตอร์ตัวกรองจนกว่าปะเก็นจะสัมผัสกับแผ่นยึด (รูป 150) จากนั้นขันตัวกรองเพิ่มอีก 1/2 รอบ

ทำความสะอาดบริเวณรอบๆ ฝาเติมน้ำมันและก้านวัด (รูป 152)

ถอดฝาเติมน้ำมันออก และค่อยๆ เทน้ำมัน 80% ของปริมาณน้ำมันที่กำหนดผ่านฝาครอบวาล์ว
ค่อยๆ เติมน้ำมันเพิ่มเพื่อให้ถึงขีด F (เต็ม) บนก้านวัด โปรดดู ข้อมูลจำเพาะของน้ำมันเครื่อง และ การตรวจสอบระดับน้ำมันเครื่อง
Important: อย่าเติมน้ำมันในห้องข้อเหวี่ยงมากเกินไป
ปิดฝาเติมน้ำมันและก้านวัดกลับเข้าที่
| ระยะการซ่อมบำรุง | ขั้นตอนการบำรุงรักษา |
|---|---|
| ทุก 200 ชั่วโมง |
|
เตรียมอุปกรณ์ให้พร้อมสำหรับการบำรุงรักษา โปรดดู การเตรียมรถสำหรับการบำรุงรักษา
ดึงสายไฟออกจากหัวเทียน (รูป 153)

ทำความสะอาดรอบๆ หัวเทียน
ใช้บล็อกถอดหัวเทียนถอดหัวเทียนทั้งสองอันและปะเก็นโลหะ
ประเภทหัวเทียน: Champion RC12YC หรือหัวเทียนที่เทียบเท่า
ระยะห่างเขี้ยว: 0.75 มม. (0.03 นิ้ว)
ดูที่ตรงกลางของหัวเทียนทั้งสองตัว (รูป 154) หากคุณเห็นจุดสีน้ำตาลหรือสีเทาบนฉนวน แสดงว่าเครื่องยนต์ทำงานถูกต้อง คราบสีดำบนฉนวนมักแสดงว่าระบบกรองอากาศสกปรก
Important: ห้ามทำความสะอาดหัวเทียน เปลี่ยนหัวเทียนเสมอเมื่อเห็นคราบสีดำ เขี้ยวหัวเทียนสึกหรอ และฟิล์มน้ำมัน หรือรอยแตก

ตรวจสอบช่องว่างระหว่างตรงกลางกับเขี้ยวหัวเทียน
งอเขี้ยวหัวเทียน หากช่องว่างไม่ถูกต้อง
ตรวจสอบว่าระยะห่างเขี้ยวระหว่างตรงกลางกับเขี้ยวหัวเทียนถูกต้องก่อนจะติดตั้งหัวเทียนแต่ละตัว ใช้ประแจหัวเทียนในการถอดและติดตั้งหัวเทียน และเครื่องมือวัดช่องว่าง/ฟีลเลอร์เกจเพื่อตรวจสอบและปรับระยะห่างเขี้ยว ติดตั้งหัวเทียนอันใหม่ ถ้าจำเป็น
หมุนหัวเทียนเข้าในรูหัวเทียนของเครื่องยนต์
ใช้ประแจบล็อกถอดหัวเทียนและประแจวัดแรงบิดขันหัวเทียนจนได้แรงบิด 27 นิวตันเมตร (20 ฟุตปอนด์)
ต่อสายหัวเทียนเข้าไปบนหัวเทียน (รูป 155)

| ระยะการซ่อมบำรุง | ขั้นตอนการบำรุงรักษา |
|---|---|
| ก่อนการใช้งานแต่ละครั้งหรือทุกวัน |
|
ตรวจสอบและทำความสะอาดแผงตะแกรงเครื่องยนต์ก่อนใช้งานแต่ละครั้ง นำเศษหญ้า ฝุ่นละออง หรือเศษสิ่งสกปรกอื่นๆ ออกจากตะแกรงระบบอากาศเข้าของเครื่องยนต์
น้ำมันเชื้อเพลิงและไอน้ำมันจะติดไฟง่ายและเกิดการระเบิดได้ง่ายในบางสภาวะ เพลิงไหม้และการระเบิดที่เกิดจากเชื้อเพลิงอาจทำให้คุณและผู้อื่นได้รับบาดเจ็บ รวมถึงทำให้ทรัพย์สินเสียหายได้
เติมเชื้อเพลิงนอกอาคารในพื้นที่โล่งขณะที่เครื่องยนต์ยังเย็นอยู่และไม่ได้ติดเครื่องอยู่ เช็ดน้ำมันที่หกออกมา
อย่าเติมน้ำมันมากเกินไป เติมน้ำมันลงในถังจนกระทั่งระดับน้ำมันอยู่ต่ำกว่าด้านบนของถัง (ไม่ใช่ช่องเติมเชื้อเพลิง) 25 มม. (1 นิ้ว) พื้นที่ว่างในถังนี้เผื่อไว้ให้น้ำมันเชื้อเพลิงขยายตัว
อย่าสูบบุหรี่ขณะจัดการเชื้อเพลิง และอยู่ให้ห่างจากเปลวไฟหรือบริเวณที่ประกายไฟอาจทำให้ไอเชื้อเพลิงติดไฟได้
จัดเก็บน้ำมันเชื้อเพลิงในภาชนะสะอาดที่ผ่านการรับรองด้านความปลอดภัย และปิดฝาเข้าที่
| ระยะการซ่อมบำรุง | ขั้นตอนการบำรุงรักษา |
|---|---|
| ทุก 100 ชั่วโมง |
|
Important: อย่าติดตั้งตัวกรองที่สกปรกหลังจากถอดออกจากท่อเชื้อเพลิง
เตรียมอุปกรณ์ให้พร้อมสำหรับการบำรุงรักษา โปรดดู การเตรียมรถสำหรับการบำรุงรักษา
ปิดวาล์วจัดการจ่ายเชื้อเพลิง (รูป 156)


บีบปลายทั้งสองด้านของข้อรัดท่ออ่อนเข้าด้วยกันและเลื่อนออกห่างจากตัวกรอง
ถอดตัวกรองออกจากท่อเชื้อเพลิง
วางตัวกรองเชื้อเพลิงให้ลูกศรที่ชี้ไปทางเครื่องยนต์ จากนั้นประกอบท่อเชื้อเพลิงเข้ากับข้อต่อตัวกรอง
สวมข้อรัดท่ออ่อนใกล้กับตัวกรองเชื้อเพลิง แล้วขันข้อรัดให้แน่น
เช็ดน้ำมันที่หก
เปิดวาล์วจัดการจ่ายเชื้อเพลิง
ในบางสภาวะ น้ำมันเชื้อเพลิงอาจติดไฟและเกิดการระเบิดได้ง่ายมาก เพลิงไหม้และการระเบิดที่เกิดจากเชื้อเพลิงอาจทำให้คุณและผู้อื่นได้รับบาดเจ็บ รวมถึงทำให้ทรัพย์สินเสียหายได้
ระบายน้ำมันออกจากถังน้ำมันขณะที่เครื่องยนต์เย็น ขั้นตอนนี้ต้องทำกลางแจ้งในพื้นที่โล่ง เช็ดน้ำมันที่หกออกมา
อย่าสูบบุหรี่ขณะระบายน้ำมันเชื้อเพลิง และอยู่ให้ห่างจากเปลวไฟหรือบริเวณที่ประกายไฟอาจทำให้ไอเชื้อเพลิงติดไฟได้
เตรียมอุปกรณ์ให้พร้อมสำหรับการบำรุงรักษา โปรดดู การเตรียมรถสำหรับการบำรุงรักษา
ปิดวาล์วจัดการจ่ายเชื้อเพลิง (รูป 157)


คลายข้อรัดท่ออ่อนที่ตัวกรองเชื้อเพลิง จากนั้นเลื่อนขึ้นไปตามท่อเชื้อเพลิงให้ออกห่างจากตัวกรองเชื้อเพลิง
ถอดท่อเชื้อเพลิงออกจากตัวกรองเชื้อเพลิง
เปิดวาล์วจัดการจ่ายเชื้อเพลิง และระบายเชื้อเพลิงลงถังหรืออ่างระบาย
Note: ตอนนี้เป็นเวลาที่เหมาะกับการติดตั้งตัวกรองเชื้อเพลิงอันใหม่ที่สุดเพราะถังน้ำมันว่างเปล่า
ประกอบท่อเชื้อเพลิงเข้ากับข้อต่อตัวกรอง
สวมข้อรัดท่ออ่อนใกล้กับตัวกรองเชื้อเพลิง แล้วขันข้อรัดให้แน่น
ตัดการเชื่อมต่อแบตเตอรี่ก่อนซ่อมบำรุงอุปกรณ์ ถอดขั้วลบออกก่อน ตามด้วยขั้วบวก ต่อขั้วบวกก่อน ตามด้วยขั้วลบ
ชาร์จแบตเตอรี่ในพื้นที่เปิดโล่งที่ระบายอากาศได้ดี ห่างจากประกายไฟและเปลวไฟ ถอดปลั๊กเครื่องชาร์จก่อนต่อหรือตัดการเชื่อมต่อแบตเตอรี่
สวมใส่ชุดป้องกันและใช้เครื่องมือมีฉนวน
| ระยะการซ่อมบำรุง | ขั้นตอนการบำรุงรักษา |
|---|---|
| ทุกปี |
|
รักษาความสะอาดส่วนบนของแบตเตอรี่
ปลดสลักและเปิดฝาช่องวางแบตเตอรี่ออก (รูป 158)

ทำความสะอาดส่วนบนของแบตเตอรี่ด้วยแปรงจุ่มน้ำผสมแอมโมเนียหรือผสมโซดาไบคาร์บอเนต
Important: อย่าเปิดฝาเติมขณะทำความสะอาด
ล้างพื้นผิวของแบตเตอรี่และช่องวางแบตเตอรี่ให้หมดจดด้วยน้ำสะอาด
ปิดและใส่สลักฝาช่องวางแบตเตอรี่
| ระยะการซ่อมบำรุง | ขั้นตอนการบำรุงรักษา |
|---|---|
| ทุกปี |
|
ขั้วแบตเตอรี่หรือเครื่องมือโลหะอาจลัดวงจรกับส่วนประกอบรถลากพ่วงที่เป็นโลหะ และทำให้เกิดประกายไฟได้ ประกายไฟอาจทำให้แบตเตอรี่ปล่อยก๊าซที่ทำให้ระเบิด ส่งผลให้เกิดการบาดเจ็บขึ้นได้
เมื่อถอดหรือติดตั้งแบตเตอรี่ อย่าให้ขั้วแบตเตอรี่สัมผัสกับส่วนโลหะของอุปกรณ์
อย่าให้เครื่องมือโลหะลัดวงจรระหว่างขั้วแบตเตอรี่สัมผัสกับส่วนโลหะของอุปกรณ์
การเดินสายไฟแบตเตอรี่ไม่ถูกต้องอาจทำให้อุปกรณ์และสายไฟเสียหาย โดยทำให้เกิดประกายไฟ ประกายไฟอาจทำให้แบตเตอรี่ปล่อยก๊าซที่ทำให้ระเบิด ส่งผลให้เกิดการบาดเจ็บขึ้นได้
ถอดสายไฟแบตเตอรี่ขั้วลบ (สีดำ) ก่อนถอดสายไฟแบตเตอรี่ขั้วบวก (สีแดง) เสมอ
ต่อสายไฟแบตเตอรี่ขั้วบวก (สีแดง) ก่อนต่อสายไฟขั้วลบ (สีดำ) เสมอ
ปลดสลักและเปิดฝาช่องวางแบตเตอรี่ออก (รูป 159)

ตรวจสอบว่าข้อรัดสายไฟแบตเตอรี่แน่นหนาดีแล้ว
หากพบว่าข้อรัดสายไฟแบตเตอรี่หลวม ควรขันให้แน่น
ตรวจสอบสนิมบนข้อรัดสายไฟแบตเตอรี่และขั้วแบตเตอรี่
หากขั้วแบตเตอรี่เป็นสนิม ถอดสายไฟแบตเตอรี่ขั้วลบออก
ถอดสายไฟแบตเตอรี่ขั้วบวก
ทำความสะอาดข้อรัดสายไฟและขั้วแบตเตอรี่
ต่อสายไฟแบตเตอรี่ขั้วบวก
ต่อสายไฟแบตเตอรี่ขั้วลบ
เคลือบขั้วสายไฟและเสาแบตเตอรี่ด้วยน้ำยาเคลือบ Grafo 112X (หมายเลขอะไหล่ Toro 505-47)
ปิดและใส่สลักฝาช่องวางแบตเตอรี่
ระบบไฟฟ้าได้รับการปกป้องโดยฟิวส์ หากฟิวส์ขาด ตรวจสอบช่องวางแบตเตอรี่และสายไฟเพื่อหาการลัดวงจรไปยังพื้นดิน
| ระยะการซ่อมบำรุง | ขั้นตอนการบำรุงรักษา |
|---|---|
| ทุก 50 ชั่วโมง |
|
เตรียมอุปกรณ์ให้พร้อมสำหรับการบำรุงรักษา โปรดดู การเตรียมรถสำหรับการบำรุงรักษา
ตรวจเช็คให้แน่ใจว่าทุกล้อมีแรงดันลม 0.83 บาร์ (12 ปอนด์ต่อตร.นิ้ว) ตรวจสอบแรงดันลมยางตอนล้อเย็น เพื่อให้อ่านค่าแรงดันลมยางได้เที่ยงตรงที่สุด
Important: หากแรงดันลมไม่เท่ากัน อาจทำให้ความลึกในการเจาะไม่สม่ำเสมอกัน

ล้อมีน้ำหนักมากและหนักถึง 33 กก. (73 ปอนด์)
ใช้ความระมัดระวังขณะถอดล้อออกจากชุดล้อ
| ระยะการซ่อมบำรุง | ขั้นตอนการบำรุงรักษา |
|---|---|
| ทุกปี |
|
สายพานขับบนอุปกรณ์มีความแข็งแรงทนทาน แต่เมื่อสัมผัสกับรังสียูวีจากการใช้งานตามปกติ โอโซน หรือสัมผัสกับสารเคมีโดยไม่ได้ตั้งใจ ก็อาจทำให้ส่วนประกอบที่เป็นยางเสื่อมสภาพได้เมื่อเวลาผ่านไป และทำให้สึกหรอหรือสึกกร่อนก่อนเวลาอันควร (กล่าวคือสายพานแยกชั้นหรือชั้นหลุดลอก)
ถอดฝาครอบสายพาน โปรดดู การถอดฝาครอบสายพาน
ตรวจสอบสายพานของปั๊มไฮดรอลิก เพลาแม่แรง และห้องข้อเหวี่ยง (รูป 164) เพื่อดูว่าสายพานเสียหาย สึกหรอ แตก หรือมีเศษวัสดุขนาดใหญ่ฝังติดบนสายพานหรือไม่
Note: เปลี่ยนสายพานใหม่ ถ้าจำเป็น

ติดตั้งฝาครอบสายพาน โปรดดู การติดตั้งฝาครอบสายพาน
| ระยะการซ่อมบำรุง | ขั้นตอนการบำรุงรักษา |
|---|---|
| หลังจาก 8 ชั่วโมงแรก |
|
เตรียมอุปกรณ์ให้พร้อมสำหรับการบำรุงรักษา โปรดดู การเตรียมรถสำหรับการบำรุงรักษา
ถอดฝาครอบสายพาน โปรดดู การถอดฝาครอบสายพาน
คลายสกรูหัวจมมีบ่าและน็อตล็อกมีบ่าที่ยึดลูกรอกรองสายพานของสายพานปั๊มไฮดรอลิก จนกระทั่งสลักเกลียวเลื่อนเข้าไปในร่องบนส่วนรองรับลูกรอก (รูป 165)


แตะที่ด้านบนของลูกรอกรองสายพานและให้สปริงดึงเป็นตัวปรับความตึงของสายพาน
Important: ห้ามเพิ่มแรงตึงของสายพานเกินกว่าแรงตึงที่ได้จากสปริงดึง เพราะอาจทำให้ส่วนประกอบเสียหายได้
ขันสกรูหัวจมมีบ่าและน็อตล็อกมีบ่าจนได้แรงบิด 37 ถึง 45 นิวตันเมตร (27 ถึง 33 ฟุตปอนด์)
ติดตั้งฝาครอบสายพาน โปรดดู การติดตั้งฝาครอบสายพาน
ไปพบแพทย์ทันทีหากโดนน้ำมันฉีดใส่ผิวหนัง น้ำมันที่ฉีดโดนร่างกายจะต้องให้แพทย์ผ่าตัดออกภายในสองถึงสามชั่วโมง
ตรวจสอบให้แน่ใจว่าท่ออ่อนน้ำมันไฮดรอลิกและท่อระบบมีสภาพดี และข้อต่อและการเชื่อมต่อระบบไฮดรอลิกทั้งหมดแน่นหนาก่อนจ่ายแรงดันเข้าไปในระบบไฮดรอลิก
ดูแลให้มือและร่างกายออกห่างจากจุดรั่วรูเข็มหรือหัวฉีดที่ฉีดน้ำมันไฮดรอลิกแรงดันสูง
ใช้กระดาษลังหรือกระดาษหาจุดรั่วของระบบไฮดรอลิก
ระบายแรงดันทั้งหมดในระบบไฮดรอลิกอย่างปลอดภัยก่อนจะทำงานใดๆ กับระบบไฮดรอลิก
ใช้สลักซ่อมบำรุงรองรับหัวเดือยเอาไว้ โปรดดู การหนุนหัวเดือยด้วยสลักซ่อมบำรุง
ดับเครื่องยนต์
บิดกุญแจสตาร์ทไปที่ตำแหน่ง ทำงาน
เข้าไปที่ เมนูหลัก ใน InfoCenter
กดปุ่มลงจนกว่าระบบจะเลือกตัวเลือกซ่อมบำรุง จากนั้นกดปุ่มเลือก (รูป 166)

Note: หัวเดือยจะหย่อนลงมาจนกระทั่งสลักซ่อมบำรุงรองรับน้ำหนักของหัวเดือยทั้งเอาไว้
กดปุ่มลงจนกว่าระบบจะเลือกตัวเลือกหย่อนลงเพื่อซ่อมบำรุง จากนั้นกดปุ่มเลือก (รูป 167)

บิดกุญแจไปที่ตำแหน่ง หยุด
Note: สตาร์ทเครื่องยนต์และเดินเครื่องเพื่อยกหัวเดือยขึ้นมาด้วยระบบไฮดรอลิก หลังจากนั้นคุณจะเห็นสลักซ่อมบำรุง โปรดดู การเก็บสลักซ่อมบำรุง
| ระยะการซ่อมบำรุง | ขั้นตอนการบำรุงรักษา |
|---|---|
| ก่อนการใช้งานแต่ละครั้งหรือทุกวัน |
|
ก่อนใช้งานแต่ละครั้ง ให้ตรวจสอบท่อและสายไฮดรอลิกเพื่อเช็คการรั่วไหล ข้อต่อหลวม สายหักงอ โครงยึดหลวม การสึกหรอ การเสื่อมสภาพจากสภาพอากาศหรือสารเคมี หากพบท่อไฮดรอลิกเสียหายหรือสึกหรอ ควรเปลี่ยนใหม่ก่อนใช้งานอุปกรณ์
Note: รักษาความสะอาดรอบๆ ระบบไฮดรอลิกไม่ให้มีสิ่งสกปรกสะสม
ถังน้ำมันเติมน้ำมันไฮดรอลิกคุณภาพสูงมาแล้วจากโรงงาน ตรวจสอบระดับน้ำมันไฮดรอลิกก่อนสตาร์ทเครื่องยนต์ครั้งแรก และทุกวันหลังจากนั้น โปรดดู การตรวจสอบระดับน้ำมันเครื่อง
น้ำมันไฮดรอลิกที่แนะนำ: น้ำมันไฮดรอลิกชนิดยืดอายุการใช้งาน Toro PX มีจัดจำหน่ายแบบถัง 19 ลิตร (5 แกลลอนสหรัฐฯ) หรือถัง 208 ลิตร (55 แกลลอนสหรัฐฯ)
Note: รถที่ใช้น้ำมันเปลี่ยนทดแทนที่แนะนำไม่จำเป็นต้องเปลี่ยนน้ำมันและตัวกรองบ่อยๆ เหมือนกับการใช้น้ำมันเปลี่ยนทดแทนแบบอื่น
น้ำมันไฮดรอลิกทางเลือก: หากไม่มีน้ำมันไฮดรอลิกชนิดยืดอายุการใช้งาน Toro PX จัดจำหน่าย คุณสามารถใช้น้ำมันไฮดรอลิกชนิดปิโตรเลียมทั่วไปที่มีข้อมูลจำเพาะตรงกับช่วงที่ระบุไว้สำหรับคุณสมบัติวัสดุต่อไปนี้ทั้งหมดและได้ตามมาตรฐานอุตสาหกรรม อย่าใช้น้ำมันสังเคราะห์ ปรึกษาตัวแทนจำหน่ายน้ำมันหล่อลื่นเพื่อค้นหาผลิตภัณฑ์ที่เหมาะสม
Note: Toro ไม่รับผิดชอบความเสียหายจากการใช้น้ำมันเปลี่ยนทดแทนที่ไม่เหมาะสม ดังนั้นควรใช้ผลิตภัณฑ์จากผู้ผลิตที่มีชื่อเสียงน่าเชื่อถือเท่านั้น
| คุณสมบัติวัสดุ: | ||
| ความหนืด, ASTM D445 | cSt ที่ 40°C (104°F) 44 ถึง 48 | |
| ดัชนีความหนืด ASTM D2270 | 140 ขึ้นไป | |
| จุดไหลเท, ASTM D97 | -37°C ถึง -45°C (-34°F ถึง -49°F) | |
| ข้อมูลจำเพาะของอุตสาหกรรม: | Eaton Vickers 694 (I-286-S, M-2950-S/35VQ25 หรือ M-2952-S) | |
Note: น้ำมันไฮดรอลิกส่วนใหญ่เกือบจะไม่มีสี ทำให้การมองหาจุดรั่วได้ยาก สีย้อมน้ำมันไฮดรอลิกสีแดงมีจัดจำหน่ายเป็นขวดขนาด 20 มล. ซึ่งขวดหนึ่งก็เพียงพอแล้วสำหรับน้ำมันไฮดรอลิก 15 ถึง 22 ลิตร สามารถแจ้งหมายเลขสั่งซื้ออะไหล่ 44-2500 กับตัวแทนจำหน่าย Toro ที่ได้รับอนุญาต
Important: น้ำมันไฮดรอลิกสังเคราะห์แบบพรีเมียมชนิดย่อยสลายได้ทางชีวภาพของ Toro คือน้ำมันไฮดรอลิกสังเคราะห์ชนิดย่อยสลายได้ทางชีวภาพตัวเดียวที่ Toro ให้การรับรอง ผลิตภัณฑ์นี้เข้ากันได้กับอีลาสโตเมอร์ที่ใช้ในระบบไฮดรอลิกของ Toro และเหมาะกับสภาวะอุณหภูมิหลากหลาย นอกจากนี้ยังเข้ากันได้กับน้ำมันแร่แบบดั้งเดิม แต่เพื่อสมรรถนะและประสิทธิภาพสูงสุดในการย่อยสลายทางชีวภาพ ควรล้างระบบไฮดรอลิกให้สะอาดหมดจดด้วยน้ำมันไฮดรอลิกแบบดั้งเดิม ผลิตภัณฑ์มีจัดจำหน่ายแบบถัง 19 ลิตร (5 แกลลอนสหรัฐฯ) หรือถัง 208 ลิตร (55 แกลลอนสหรัฐฯ) โดยหาซื้อได้จากตัวแทนจำหน่ายของ Toro ที่ได้รับอนุญาต
| ระยะการซ่อมบำรุง | ขั้นตอนการบำรุงรักษา |
|---|---|
| ก่อนการใช้งานแต่ละครั้งหรือทุกวัน |
|
Important: ยกหัวเดือยขึ้นให้อยู่ในตำแหน่งยก และตรวจสอบระดับน้ำมันไฮดรอลิกก่อนการสตาร์ทเครื่องยนต์ครั้งแรก และทุกวันหลังจากนั้น
ถังน้ำมันไฮดรอลิกเติมน้ำมันไฮดรอลิกคุณภาพสูงมาแล้วจากโรงงาน
เตรียมอุปกรณ์ให้พร้อมสำหรับการบำรุงรักษา โปรดดู การเตรียมรถสำหรับการบำรุงรักษา
ถอดฝาครอบสายพาน โปรดดู การถอดฝาครอบสายพาน
ทำความสะอาดบริเวณรอบช่องเติมและฝาของถังไฮดรอลิก (รูป 168) เปิดฝาออกจากช่องเติม

ดึงก้านวัดออกจากช่องเติมและเช็ดด้วยผ้าขี้ริ้วสะอาด สอดก้านวัดลงในช่องเติม จากนั้นดึงออกมาเพื่อดูระดับน้ำมัน ระดับน้ำมันต้องไม่เกินกว่าระดับของขีดเครื่องหมายบนก้านวัด (รูป 169)

หากน้ำมันเหลือน้อย เติมน้ำมันไฮดรอลิกที่กำหนดพอให้ระดับถึงขีดเต็ม
ใส่ก้านวัดเข้าที่และปิดฝาช่องเติม
ติดตั้งฝาครอบสายพาน โปรดดู การติดตั้งฝาครอบสายพาน
| ระยะการซ่อมบำรุง | ขั้นตอนการบำรุงรักษา |
|---|---|
| ทุก 200 ชั่วโมง |
|
| ทุก 400 ชั่วโมง |
|
ความจุอ่างน้ำมันไฮดรอลิก: ประมาณ 6.6 ลิตร (1.75 แกลลอนสหรัฐ)
Important: ห้ามเปลี่ยนตัวกรองน้ำมันยานยนต์เป็นตัวกรองแบบอื่น มิฉะนั้นอาจทำให้ระบบไฮดรอลิกเสียหายอย่างรุนแรง
Note: การถอดตัวกรองขากลับจะเป็นการระบายของเหลวทั้งหมดในอ่างน้ำมันออกมา
เตรียมอุปกรณ์ให้พร้อมสำหรับการบำรุงรักษา โปรดดู การเตรียมรถสำหรับการบำรุงรักษา
วางอ่างระบายไว้ใต้ตัวกรอง จากนั้นถอดตัวกรองอันเก่าออก และเช็ดผิวของปะเก็นอะแดปเตอร์ตัวกรองให้สะอาด (รูป 170)

ทาน้ำมันไฮดรอลิกที่สะอาดเป็นชั้นบางๆ ที่ปะเก็นของตัวกรองอันใหม่
ติดตั้งตัวกรองน้ำมันไฮดรอลิกลงบนอะแดปเตอร์ตัวกรอง หมุนตัวกรองน้ำมันแต่ละตัวตามเข็มนาฬิกาจนกว่าปะเก็นจะสัมผัสกับอะแดปเตอร์ตัวกรอง จากนั้นขันเพิ่มอีก 1/2 รอบ
เติมน้ำมันไฮดรอลิกที่กำหนดจนกระทั่งระดับน้ำมันถึงขีดเต็มบนก้านวัด โปรดดู ข้อมูลจำเพาะน้ำมันไฮดรอลิก และ การตรวจสอบระดับน้ำมันไฮดรอลิก
สตาร์ทเครื่องยนต์ และปล่อยให้เครื่องยนต์ทำงาน 2 นาทีเพื่อไล่อากาศออกจากระบบ ดับเครื่องยนต์ ดึงกุญแจออก และตรวจสอบการรั่วไหลของน้ำมันไฮดรอลิก
ตรวจสอบระดับน้ำมันไฮดรอลิก เติมน้ำมันไฮดรอลิกที่กำหนดจนกระทั่งระดับน้ำมันถึงขีดเต็มบนก้านวัด ถ้าจำเป็น
Note: อย่าเติมน้ำมันไฮดรอลิกลงในอ่างน้ำมันมากเกินไป
ติดตั้งฝาครอบสายพาน โปรดดู การติดตั้งฝาครอบสายพาน
| ระยะการซ่อมบำรุง | ขั้นตอนการบำรุงรักษา |
|---|---|
| หลังจาก 8 ชั่วโมงแรก |
|
| ทุก 250 ชั่วโมง |
|
เตรียมอุปกรณ์ให้พร้อมสำหรับการบำรุงรักษา โปรดดู การเตรียมรถสำหรับการบำรุงรักษา
ถอดฝาครอบหัวเดือย โปรดดู การถอดฝาครอบหัวเดือย
ตรวจสอบตัวยึดหัวเดือย ตัวยึดด้ามจับคันไถ และน็อตล็อกของล้อให้แน่ใจว่ามีแรงบิดที่เหมาะสม ข้อกำหนดเกี่ยวกับแรงบิดของตัวยึดมีระบุอยู่บนป้ายแรงบิดของตัวยึดที่อยู่บนรางรองรับหัวเดือย (รูป 171)

ติดตั้งฝาครอบหัวเดือย โปรดดู การติดตั้งฝาครอบหัวเดือย
เตรียมอุปกรณ์ให้พร้อมสำหรับการบำรุงรักษา โปรดดู การเตรียมรถสำหรับการบำรุงรักษา
คลายสกรูหัวจมและน็อตล็อกมีบ่าที่ยึดแผ่นกั้นด้านข้างเข้ากับโครงหัวเดือย (รูป 172)

ปรับแผ่นกั้นขึ้นหรือลงจนกระทั่งวัดระยะห่างระหว่างแผ่นกั้นกับพื้นได้ 25 ถึง 38 มม. (1 ถึง 1.5 นิ้ว)
ขันสกรูหัวจมและน็อตล็อกมีบ่าให้แน่น
ทำซ้ำขั้นตอนที่ 2 ถึง 4 ที่อีกด้านหนึ่งของอุปกรณ์
เปลี่ยนแผงป้องกันสนามหากพบว่าแผงแตกหักหรือสึกหรอจนมีความหนาไม่ถึง 6 มม. (1/4 นิ้ว) แผงป้องกันสนามที่แตกหักอาจจะครูดและทำให้สนามหญ้าฉีกขาดเสียหาย

เครื่องหมายกำหนดเวลาทำงานของหัวเดือยสังเกตได้ง่ายๆ จากเครื่องหมายบนตัวเรือนแบริ่งทั้ง 3 ตัว

ก่อนลุกจากตำแหน่งคนขับ ให้ปฏิบัติตามดังนี้:
จอดอุปกรณ์บนพื้นราบ
ยกแฮนด์ควบคุมขึ้นจนสุดและใส่สลักเอาไว้เพื่อเข้าเบรกจอด
ดับเครื่องยนต์และดึงกุญแจออก (ถ้าเสียบอยู่)
รอให้การเคลื่อนไหวหยุดนิ่ง
รอให้เครื่องยนต์เย็นลงก่อนปรับ ซ่อมบำรุง ทำความสะอาด หรือจัดเก็บรถ
อย่าจัดเก็บอุปกรณ์หรือภาชนะบรรจุน้ำมันในที่ที่มีเปลวไฟ ประกายไฟ หรือไฟนำร่อง เช่น บนเครื่องทำน้ำร้อน หรือเครื่องใช้ไฟฟ้าอื่นๆ
ขั้นตอนการชาร์จแบตเตอรี่ทำให้เกิดก๊าซที่อาจระเบิดได้
ห้ามสูบบุหรี่ใกล้แบตเตอรี่และอย่านำประกายไฟและเปลวไฟเข้าใกล้แบตเตอรี่โดยเด็ดขาด
เตรียมอุปกรณ์ให้พร้อมสำหรับการบำรุงรักษา โปรดดู การเตรียมรถสำหรับการบำรุงรักษา
ถอดสายไฟหัวเทียน
กำจัดหญ้า ดิน และสิ่งสกปรกออกจากชิ้นส่วนภายนอกของเครื่องจักรทั้งหมด โดยเฉพาะเครื่องยนต์และระบบไฮดรอลิก ทำความสะอาดฝุ่นและเศษสิ่งสกปรกออกจากด้านนอกครีบหัวกระบอกสูบของเครื่องยนต์และตัวเรือนเครื่องเป่าด้วย
ซ่อมบำรุงระบบกรองอากาศ โปรดดู การซ่อมบำรุงระบบกรองอากาศ
เปลี่ยนน้ำมันเครื่อง โปรดดู การเปลี่ยนน้ำมันเครื่องและตัวกรองน้ำมันเครื่อง
เปลี่ยนตัวกรองน้ำมันไฮดรอลิกและน้ำมันไฮดรอลิก โปรดดู การเปลี่ยนน้ำมันไฮดรอลิกและตัวกรอง
ตรวจสอบแรงดันลมยาง โปรดดู การตรวจสอบแรงดันลมยาง
ตรวจสอบสภาพเดือยเจาะ
หากคุณจัดเก็บอุปกรณ์หลังจากหมดฤดูกาล ทำตามขั้นตอนทั้งหมดใน การจัดเก็บอุปกรณ์นาน 30 วันขึ้นไป และดำเนินการดังต่อไปนี้
ตรวจสอบและขันสลัก น็อต และสกรูทั้งหมด ซ่อมแซมหรือเปลี่ยนชิ้นส่วนที่ชำรุดเสียหายหรือสึกหรอ
ล้างและเช็ดอุปกรณ์ทั้งเครื่องให้แห้ง ถอดเดือยเจาะออกมาทำความสะอาดและเคลือบน้ำมัน พ่นละอองน้ำมันบางๆ บนแบริ่งหัวเจาะ (ก้านโยงข้อเหวี่ยงและแดมเปอร์)
Important: คุณสามารถล้างอุปกรณ์ด้วยน้ำยาทำความสะอาดอ่อนๆ และน้ำ ห้ามล้างอุปกรณ์ด้วยน้ำแรงดันสูง หลีกเลี่ยงการใช้น้ำมากเกินไป โดยเฉพาะอย่างยิ่งบริเวณใกล้กับแผงควบคุม เครื่องยนต์ ปั๊มไฮดรอลิก และมอเตอร์
Note: ปล่อยให้เครื่องยนต์ทำงานด้วยการเดินรอบสูง 2 ถึง 5 นาทีหลังล้าง
ซ่อมสีรอยขีดข่วนและพื้นผิวที่เปิดถึงโลหะทั้งหมด สีสามารถซื้อได้จากตัวแทนจำหน่าย Toro ที่ได้รับอนุญาต
ใส่สลักซ่อมบำรุง หากต้องจัดเก็บอุปกรณ์ไว้นานกว่าสองหรือสามวัน
จัดเก็บอุปกรณ์ในโรงรถหรือพื้นที่จัดเก็บที่แห้งและสะอาด ดึงกุญแจออกจากสวิตช์สตาร์ทเครื่องยนต์และเก็บให้ห่างจากมือเด็กหรือผู้ใช้อื่นๆ ที่ไม่ได้รับอนุญาต
คลุมอุปกรณ์เพื่อป้องกันและรักษาความสะอาด
เติมสารคงสภาพ/ปรับสภาพชนิดปิโตรเลียมลงในเชื้อเพลิงในถัง ทำตามขั้นตอนการผสมของผู้ผลิตสารคงสภาพ อย่าใช้สารคงสภาพชนิดแอลกอฮอล์ (เอทานอลหรือเมทานอล)
Note: สารคงสภาพ/ปรับสภาพเชื้อเพลิงมีประสิทธิภาพสูงสุดเมื่อผสมกับเชื้อเพลิงใหม่และใช้ตลอดเวลา
Important: อย่าจัดเก็บเชื้อเพลิงที่ผสมสารคงสภาพ/ปรับสภาพไว้นานว่าระยะเวลาที่ผู้ผลิตสารคงสภาพเชื้อเพลิงแนะนำ
ปล่อยให้เครื่องยนต์ทำงาน 5 นาที เพื่อให้จ่ายเชื้อเพลิงที่ผสมสารคงสภาพกระจายไปทั่วระบบเชื้อเพลิง
ดับเครื่องยนต์ ปล่อยให้เครื่องยนต์เย็น ระบายน้ำมันออกจากถังน้ำมัน โปรดดู การระบายถังเชื้อเพลิง
สตาร์ทเครื่องยนต์ และปล่อยไว้จนเครื่องยนต์ดับไปเอง
โช้คเครื่องยนต์ สตาร์ทและปล่อยให้เครื่องยนต์ทำงานจนกว่าจะไม่สตาร์ทอีก
ถอดหัวเทียนออกมาตรวจสอบสภาพ โปรดดู การซ่อมบำรุงหัวเทียน หลังจากถอดหัวเทียนออกจากเครื่องยนต์ เทน้ำมันเครื่อง 2 ช้อนโต๊ะลงในรูหัวเทียนแต่ละรู จากนั้น ใช้สตาร์ทเตอร์เพื่อกระตุกสตาร์ทเครื่องยนต์และกระจายน้ำมันภายในกระบอกสูบ ใส่หัวเทียน อย่าติดตั้งสายไฟบนหัวเทียน
Note: ทิ้งเชื้อเพลิงด้วยวิธีที่ถูกต้อง และนำไปรีไซเคิลตามกฎหมายท้องถิ่น
ถอดขั้วแบตเตอรี่จากเสาแบตเตอรี่และยกแบตเตอรี่ออกจากอุปกรณ์
ทำความสะอาดแบตเตอรี่ ขั้ว และเสาด้วยแปรงลวดและส่วนผสมเบกกิ้งโซดา
เคลือบขั้วสายไฟและเสาแบตเตอรี่ด้วยจาระบีแบบสกินโอเวอร์ Grafo 112X (หมายเลขชิ้นส่วน Toro 505-47) หรือปิโตรเลียมเจลลี่เพื่อป้องกันการสึกกร่อน
ชาร์จแบตเตอรี่อย่างช้าๆ ทุก 60 วันนาน 24 ชั่วโมงเพื่อป้องกันไม่ให้แบตเตอรี่เกิดตะกั่วซัลเฟต เพื่อป้องกันไม่ให้แบตเตอรี่เย็นจัด ควรชาร์จแบตเตอรี่จนเต็ม ความถ่วงจำเพาะของแบตเตอรี่ที่ชาร์จเต็มคือ 1.265 ถึง 1.299
เก็บแบตเตอรี่บนชั้นหรือในอุปกรณ์ หากเก็บไว้ในอุปกรณ์ ให้ถอดสายไฟออก จัดเก็บแบตเตอรี่ในสถานที่เย็น เพื่อไม่ให้ประจุไฟฟ้าในแบตเตอรี่คลายเร็ว
| Problem | Possible Cause | Corrective Action |
|---|---|---|
| สตาร์ทเตอร์ไม่สตาร์ท |
|
|
| เครื่องยนต์ไม่สตาร์ท สตาร์ทติดยาก หรือสตาร์ทแล้วดับ |
|
|
| เครื่องยนต์สูญเสียกำลัง |
|
|
| เครื่องยนต์มีความร้อนสูงเกิน |
|
|
| มีการสั่นผิดปกติ |
|
|
| อุปกรณ์ไม่ขยับ |
|
|
| หัวเดือยไม่ทำงาน |
|
|
| หัวเด้งออกระหว่างเติมอากาศ |
|
|
| สนามถูกครูด/ฉีกขาดตอนเจาะเข้า |
|
|
| รูเจาะเป็นรอยยาวเมื่อใช้เดือยเจาะแบบดันแกนดินออกด้านข้าง |
|
|
| พื้นสนามยกขึ้้น/ฉีกขาดขณะเติมอากาศ |
|
|
| ด้านหน้าของรูเจาะนูนขึ้นมาหรือบุ๋มลงไป |
|
|