| Intervalo de assistência | Procedimento de manutenção |
|---|---|
| Em todas as utilizações ou diariamente |
|
Um operador apeado controla esta máquina, que se destina a ser utilizada por operadores contratados profissionais em aplicações comerciais. A máquina foi principalmente concebida para arejamento de grandes áreas, em relvados bem mantidos em parques, campos de golfe, campos desportivos e áreas comerciais. Se a máquina for utilizada com qualquer outro propósito, poderá pôr em perigo o utilizador ou outras pessoas.
Leia estas informações com atenção para saber como operar e realizar a manutenção adequada do produto, além de evitar lesões e danos ao produto. A utilização correta e segura do produto é da exclusiva responsabilidade do utilizador.
Aceda a www.Toro.com para obter materiais de formação sobre segurança e operação de produtos, informações sobre acessórios, ajuda para localizar um representante ou para registar o seu produto.
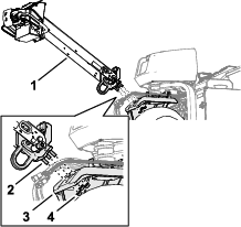
Sempre que necessitar de assistência, de peças genuínas Toro ou de informações adicionais, entre em contacto com um distribuidor autorizado da Toro, indicando os números de modelo e de série do produto. Figura 1 identifica a localização dos números de série e de modelo do produto. Escreva os números no espaço fornecido.

O símbolo de alerta de segurança (Figura 2) mostrado neste manual e na máquina identifica mensagens de segurança importantes que têm de ser seguidas para evitar acidentes.

O símbolo de alerta de segurança aparece acima de informações que o alertam para operações ou situações perigosas e é seguido da palavra DANGER (PERIGO), WARNING (AVISO), ou CAUTION (CUIDADO).
DANGER indica uma situação de risco iminente que, se não for evitada, irá resultar em morte ou ferimento grave.
WARNING indica uma situação de risco potencial que, se não for evitada, pode resultar em morte ou ferimento grave.
CAUTION indica uma situação de risco potencial que, se não for evitada, poderá resultar em ferimento leve ou moderado.
Neste manual são ainda utilizados dois termos para identificar informações importantes. A palavra Importante chama a atenção para informações mecânicas específicas e a palavra Observação destaca informações gerais que merecem atenção especial.
Este produto cumpre todas as diretivas europeias relevantes. Para mais informações, consulte a folha de Declaração de conformidade (DOC) em separado, específica do produto.
Como em algumas áreas existem regulamentos locais, estatais ou federais que exigem que no motor desta máquina seja utilizado uma proteção contra chamas, esta está disponível como opção. Se necessitar de uma proteção contra chamas, contacte o seu distribuidor autorizado Toro. As proteções contra chamas genuínas da Toro são aprovadas pelo Serviço Florestal USDA.
O Manual do proprietário do motor é fornecido para informações acerca do sistema de emissões, manutenção e garantia da US Environmental Protection Agency (EPA) e regulamento de controlo de emissões da Califórnia. A substituição pode ser solicitada através do fabricante do motor.
Se esta máquina estiver equipada com um dispositivo de telemática; consulte o seu distribuidor autorizado da Toro para obter as instruções para ativar este dispositivo.
CALIFÓRNIA
Proposição 65 Aviso
É do conhecimento do Estado da Califórnia que os gases de escape deste motor contêm químicos que podem provocar cancro, defeitos congénitos ou outros problemas reprodutivos.
Os pólos, terminais e restantes acessórios da bateria contêm chumbo e derivados de chumbo; é do conhecimento do Estado da Califórnia que estes químicos podem provocar cancro e problemas reprodutivos. Lave as mãos após a utilização.
É do conhecimento do Estado da Califórnia que a utilização deste produto pode causar exposição a químicos que podem provocar cancro, defeitos congénitos ou outros problemas reprodutivos.
Este produto pode causar ferimentos pessoais. Respeite sempre todas as instruções de segurança, de modo a evitar ferimentos pessoais graves.
Leia e compreenda o conteúdo deste Manual do utilizador antes de ligar o motor.
Enquanto utilizar a máquina, esteja permanentemente atento. Não se envolva em nenhuma atividade que dê azo a distrações, caso contrário poderão ocorrer ferimentos ou danos materiais.
Não coloque as mãos ou os pés perto de componentes em movimento da máquina.
Não opere a máquina sem que todos os resguardos e outros dispositivos protetores de segurança estejam instalados e a funcionar.
Mantenha a máquina a uma distância segura de pessoas quando estiver em movimento.
Mantenha a abertura à volta dos dentes limpa. Mantenha pessoas e animais domésticos longe da máquina.
Mantenha as crianças afastadas da área de operação. Nunca permita que crianças utilizem a máquina.
Estacione a máquina numa superfície nivelada, levante totalmente e tranque a barra de ligação para engatar o travão de estacionamento, desligue o motor, retire a chave e espere que todas as peças em movimento parem antes da manutenção, abastecimento ou desobstrução da máquina.
O uso e manutenção impróprios desta máquina
podem resultar em ferimentos. Para reduzir o risco de lesões,
respeite estas instruções de segurança e preste
sempre atenção ao símbolo de alerta de segurança
, que indica: Cuidado, Aviso
ou Perigo — instruções de segurança pessoal.
O não cumprimento destas instruções pode resultar
em ferimentos pessoais ou mesmo em morte.
![]() |
Os autocolantes de segurança e de instruções são facilmente visíveis e situam-se próximo das zonas de potencial perigo. Substitua todos os autocolantes danificados ou em falta. |
















Note: A dianteira da máquina encontra-se na pega do operador e é a posição normal do operador. Os lados esquerdo e direito são em relação à direção de avanço à medida que avança com a máquina atrás de si.
Note: Para levantar a cabeça de perfuração depois de desembalar a máquina, liberte a pega de arejamento e ligue o motor; consulte as secções Arranque do motor e Levantar a cabeça de perfuração para mais informações.
Peças necessárias para este passo:
| Conjunto da roda | 2 |
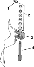
Note: Se disponível, utilize um gancho para levantar a traseira da máquina. Utilize os olhais das caixas de rolamentos da cabeça de perfuração como pontos de ligação da talha (Figura 3).

Na traseira da máquina, remova as 4 porcas de roda que prendem a traseira da máquina aos suportes da palete de envio.
Monte um conjunto de roda em cada cubo das rodas traseiras com as 4 porcas de roda (Figura 4).

Aperte as porcas das rodas com 61 a 75 N·m.
Repita os passos 1 a 3 no outro lado da máquina.
Encha todos os pneus com uma pressão de 0,83 bar.
Peças necessárias para este passo:
| Barra | 1 |
| Porca de bloqueio (½ pol.) | 3 |
Insira as cavilhas na extremidade da barra de ligação nos orifícios do braço de direção (Figura 5).
Note: Solicite a ajuda de outra pessoa para segurar a barra de ligação.

Aperte uma porca de bloqueio flangeada (½ pol.) em cada uma das 3 cavilhas.
Aperte as porcas de bloqueio com uma força de 91 a 113 N∙m.
Rode a barra de ligação para cima e prenda-a com um pino do trinco da barra de ligação (Figura 6).

Encaminhe o acessório do cabo do travão por baixo da parte inferior do canal da barra de ligação (Figura 7).

Monte o acessório do cabo do travão no passador de forquilha, e prenda o acessório com a anilha e o perno de gancho.
Encaminhe o conector de 6 pinos e o conector de 12 pinos da cablagem da máquina através do ilhó do canal da barra de ligação (Figura 8).

Ligue o conector de 12 pinos da cablagem da máquina na tomada de 12 pinos da cablagem da barra de ligação (Figura 9).

Ligue o conector de 6 pinos da cablagem da máquina na tomada de 6 pinos da cablagem da barra de ligação.
Insira a âncora do tipo “push-in” da cablagem da máquina no orifício do canal da barra de ligação (Figura 10).

Insira a âncora do tipo “push-in” da cablagem da máquina no orifício do suporte guia.
Prenda a cablagem da máquina no canal da barra de ligação com uma braçadeira através das ranhuras do canal (Figura 11).

Prenda a cablagem da máquina no suporte guia com uma braçadeira através das ranhuras do suporte.
Alinhe o pequeno entalhe da cobertura da barra de ligação com o entalhe acima (Figura 12).

Alinhe os orifícios da cobertura com os orifícios do canal da barra de ligação.
Prenda a cobertura na barra de ligação com os 6 parafusos autorroscante (¼ pol.).
Peças necessárias para este passo:
| Parafuso (¼ pol. x 1 pol.) | 2 |
| Porca flangeada (5/16 pol.) | 2 |
A solução eletrolítica das baterias contém ácido sulfúrico, substância extremamente tóxica e que pode provocar queimaduras graves.
Evite qualquer contacto com a pele, olhos e roupas. Utilize óculos de proteção para proteger os olhos e luvas de borracha para proteger as mãos.
Remova, carregue e instale a bateria apenas em locais onde exista água limpa para lavar as mãos.
O carregamento da bateria gera gases que podem provocar explosões.
Nunca fume perto da bateria e mantenha-a afastada de faíscas e chamas.
Os terminais da bateria e as ferramentas de metal podem provocar curto-circuitos noutros componentes metálicos da máquina, produzindo faíscas. As faíscas podem provocar uma explosão dos gases da bateria, resultando em acidentes pessoais.
Quando retirar ou montar a bateria, não toque com os terminais da bateria noutras peças metálicas do veículo.
Deverá evitar quaisquer curto-circuitos entre os terminais da bateria e as peças metálicas do veículo.
A ligação incorreta dos cabos da bateria poderá danificar o veículo e os cabos, produzindo faíscas. As faíscas podem provocar uma explosão dos gases da bateria, resultando em acidentes pessoais.
Desligue sempre o cabo negativo (preto) antes de desligar o cabo positivo (vermelho).
Ligue sempre o cabo positivo (vermelho) antes de ligar o cabo negativo (preto).
Destranque e abra a porta do compartimento da bateria (Figura 13).

Retire a bateria do compartimento da bateria.
Utilize um carregamento de baterias com capacidade de carregamento de 3 a 4 A para carregar a bateria.
Quando a bateria estiver carregada, desligue o carregador da tomada elétrica e dos pólos da bateria.
Coloque a bateria no tabuleiro do compartimento da bateria (Figura 14). Posicione a bateria de forma a que os terminais fiquem alinhados para o exterior.

Fixe a bateria à base do compartimento com uma haste de fixação, 2 hastes em J, 2 anilhas planas e 2 porcas borboleta.
Prenda o cabo positivo (vermelho) ao terminal positivo (+) da bateria com um parafuso de carroçaria e uma porca.
Deslize a proteção de borracha sobre o terminal positivo.
Prenda o cabo negativo (preto) ao terminal negativo (-) da bateria com um parafuso da carroçaria e uma porca.
Feche e tranque a porta do compartimento da bateria.
Peças necessárias para este passo:
| Bloqueio do trinco | 2 |
| Parafuso de cabeça hexagonal | 2 |
| Anilha de bloqueio de dentes internos | 2 |
Se estiver a configurar esta máquina para utilização na União Europeia (CE), instale bloqueio do trinco do capot no capot traseiro da seguinte forma para estar em conformidade com os regulamentos CE.
Remova o capot traseiro.
Instale o bloqueio do fecho sobre o trinco do capot (Figura 15) com um parafuso de cabeça hexagonal (dois no total).

Utilize um alicate e uma chave para apertar uma anilha de bloqueio interna em cada parafuso (1 a 2 roscagens) para prender os parafusos ao capot.
Repita os passos 2 a 3 no outro lado do capot.
Instale o capot traseiro.
Peças necessárias para este passo:
| Cordão | 1 |
| Rebite cego | 1 |
| Parafuso (¼ pol. x 1 pol.) | 1 |
| Porca de bloqueio (¼ pol.) | 1 |
Se estiver a configurar esta máquina para estar em conformidade com os regulamentos CE, instale o cordão de fecho da cobertura da correia da seguinte forma:
Localize o orifício na cobertura da correia junto da ranhura para a alavanca de bloqueio (Figura 16 e Figura 17).

Prenda o conjunto do cordão ao orifício da cobertura da correia com um rebite cego (Figura 17).

Aperte o parafuso na alavanca de bloqueio (Figura 18).

Peças necessárias para este passo:
| Autocolante CE | 1 |
| Aplicar o autocolante do ano de fabrico | 1 |
Está disponível uma vasta gama de suportes de dentes, protetores de relva e dentes para a máquina. Consulte Instalação dos protetor de relva, suportes dos dentes e dentes.


Utilize a barra de ligação (Figura 21) para prender a barra de ligação na posição ascendente e para engatar o travão de estacionamento.
Important: Prenda a barra de ligação na posição ascendente sempre que sair da posição do operador.
A pega de presença do operador (Figura 21) ajuda a garantir que está na posição do operador quando conduz a máquina ou utiliza a cabeça de perfuração.
Note: Libertar a pega de presença do operador não desliga o motor.
Utilize o InfoCenter (Figura 21) para ajustar a forma como a cabeça de perfuração controla o trabalho.
Se tocar no interruptor de paragem de emergência (Figura 21), a máquina executa as seguintes ações:
A máquina para de avançar.
A cabeça de perfuração sobe e para de funcionar.
Note: Tocar no interruptor de paragem de emergência não desliga a máquina. Pode conduzir a máquina em marcha-atrás, mas tem de reiniciar o interruptor de segurança para conduzir para a frente.

Utilize o interruptor de transporte/arejamento (Figura 22) para controlar a velocidade máxima a que pode conduzir a máquina enquanto areja ou transporta a máquina.
A posição AERATION permite arejar e limita a velocidade de deslocamento a 4 km/h ou menos.
A posição TRANSPORT permite conduzir a máquina à velocidade máxima de deslocamento ou menos entre diferentes zonas de trabalho.
Note: Não pode arejar com o interruptor de transporte/arejamento na posição TRANSPORT.
Utilize os comandos da tração esquerdo ou direito (Figura 22) para conduzir a máquina para a frente ou para trás.
Utilize o interruptor de bloqueio da velocidade (Figura 22) para manter a velocidade de deslocamento da máquina; semelhante ao controlo de cruzeiro num automóvel.
A posição ENGAGE bloqueia a velocidade de deslocamento atual a que a máquina está a ser conduzida.
A posição ON ativa o bloqueio da velocidade de deslocamento.
A posição OFF desativa o bloqueio da velocidade de deslocamento.
Utilize o interruptor de bloqueio da velocidade (Figura 22) para manter a velocidade de deslocamento ao ritmo do espaçamento entre furos de arejamento.
A posição ON ativa e engata o bloqueio de velocidade de deslocamento para manter a velocidade de deslocamento ao ritmo do espaçamento dos furos de arejamento quando liberta a pega de arejamento no fim de uma passagem de arejamento.
A posição OFF desliga o bloqueio de velocidade no solo – a máquina para de avançar quando liberta a pega de arejamento.

Utilize a pega de arejamento (Figura 23) para descer e levantar a cabeça de perfuração.
Utilize o interruptor de controlo da descida (Figura 23) para alterar a forma como a cabeça de perfuração desce quando areja. Pode selecionar os seguintes modos:
Descida imediata
Descida com atraso

Utilize a alavanca do acelerador (Figura 24) para controlar a velocidade do motor:
Mover a alavanca do acelerador para a frente aumenta a velocidade do motor – na direção da posição FAST.
Mover a alavanca do acelerador para trás diminui a velocidade do motor – na direção da posição SLOW.
Note: A velocidade do motor regula a velocidade da cabeça de perfuração.
Utilize o ar quando ligar um motor frio (Figura 24).
Utilize o interruptor de ignição (Figura 24) para ligar e desligar o motor. O interruptor tem 3 posições:
START – rode a chave no sentido horário para a posição START para ativar o motor de arranque.
RUN – quando o motor arrancar, solte a chave e ela passa automaticamente para a posição ON.
OFF – rode a chave no sentido contrário ao dos ponteiros do relógio para a posição OFF para desligar o motor.
Utilize o tacómetro para definir a velocidade do motor (Figura 24).
Utilize a válvula de corte de combustível para controlar o combustível que vem do depósito de combustível (Figura 25).

O ecrã InfoCenter (Figura 26) mostra informações sobre sua máquina, como o estado de funcionamento, vários diagnósticos e outras informações sobre a máquina.

Note: O objetivo de cada botão pode mudar, dependendo do que é requerido no momento. Cada botão tem a indicação de um ícone apresentando a função atual.
Utilize os botões de navegação para navegar entre os vários ecrãs e os itens do menu:
Ecrã inicial: mostra as informações atuais da máquina durante alguns segundos após mover a chave para a posição ON.
Menu principal: consulte a secção Utilização dos menus.
|
SERVICE DUE |
Indica quando deve ser efetuada a manutenção programada |
|
|
Modo de transporte |
|
|
Profundidade do furo |
|
|
Espaçamento entre furos |
|
|
Diâmetro dos dentes |
|
|
Dentes por suporte |
|
|
Bateria |
|
|
Contador de horas |
|
|
Ativo/OK |
|
|
Inativo |
|
|
Seguinte |
|
|
Ecrã anterior |
|
|
Menu |
|
|
Aumentar/diminuir valor |
|
|
Deslizar para cima/baixo |
|
|
Deslizar para a esquerda/direita |
|
|
Sair para o menu |
|
|
|
Para aceder ao menu principal, prima o botão de retroceder/sair em qualquer ecrã de informações.
Consulte as tabelas seguintes para obter uma descrição das opções disponíveis dos menus:
|
Item do menu |
Descrição |
|---|---|
|
AVARIAS |
Contém uma lista de avarias recentes da máquina. Consulte o Manual de manutenção ou o seu distribuidor autorizado da Toro para mais informações acerca deste menu. |
|
MANUTENçãO |
Contém informações sobre a máquina, como as horas de utilização e outros números semelhantes. |
|
DIAGNóSTICOS |
Indica vários estados que a máquina tem atualmente; pode utilizar este menu para resolver alguns problemas, uma vez que lhe mostra a lista de comandos da máquina ligados e desligados. |
|
DEFINIçõES |
Permite-lhe introduzir o PIN ou personalizar o ecrã InfoCenter. |
|
DEFINIçõES DA MáQUINA |
Permite-lhe alterar as características de funcionamento e configuração da máquina. |
|
ACERCA |
Indica o número do modelo, número de série e versão de software da sua máquina. |
|
Item do menu |
Descrição |
|---|---|
|
STATISTICS |
Lista contadores para dados de funcionamento e operação da máquina, como tempo de funcionamento do motor, área/volume/tempo de arejamento, distância de deslocação em arejamento. |
|
HOURS |
Exibe o número total de horas em que a máquina, o motor e a tomada de força estiveram a funcionar, bem como o número de horas em que a máquina foi transportada e foram efetuadas tarefas de manutenção. |
|
COUNTS |
Exibe o número de contagens efetuadas pela máquina. |
|
SERVICE LIFT |
Ativa ou desativa a funcionalidade de service lift. |
|
SERVICE LOWER |
Ativa ou desativa a funcionalidade de service lower. |
|
3WD |
Ativa a tração às 3 rodas automática ou permanência da tração às 3 rodas. |
|
GROUND HEIGHT |
Indica se as calibragens do sensor são válidas, inicia o processo de calibragem e indica o valor elétrico do sensor. |
|
TRACTION PUMP |
Indica se as calibragens do sensor são válidas, inicia o processo de calibragem e indica o valor elétrico do sensor. |
|
TRACTION INPUT |
Indica se as calibragens do sensor são válidas, inicia o processo de calibragem e indica o valor elétrico do sensor. |
|
HEIGHT SENSOR |
Indica se as calibragens do sensor são válidas, inicia o processo de calibragem e indica o valor elétrico do sensor. |
|
|
|
|
Item do menu |
Descrição |
|---|---|
|
INTRODUZIR PIN |
Permite que uma pessoa autorizada com o código PIN aceda aos menus protegidos. |
|
RETROILUMINAçãO |
Controla o brilho do ecrã LCD. |
|
IDIOMA |
Controla o idioma utilizado no InfoCenter. |
|
UNIDADES |
Controla as unidades do InfoCenter (sistema imperial ou métrico). |
|
EDITAR PIN |
Permite que uma pessoa autorizada com o código PIN altere o código PIN. |
|
PROTEGER DEFINIçõES |
Ativa ou desativa os requisitos de um código PIN para aceder às definições protegidas. |
|
REPOR AS PREDEFINIçõES |
Repõe todas as definições. |
|
|
|
|
Item do menu |
Descrição |
|
MAX TRANSPORT |
Permite-lhe alterar a velocidade de deslocamento máxima; velocidade predefinida: 6,4 km/h. |
|
MANUAL AERATION |
Ativa ou desativa o arejamento manual. |
|
|
|
|
Item do menu |
Descrição |
|---|---|
|
Model |
Indica o número do modelo da máquina. |
|
SN |
Indica o número de série da máquina. |
|
S/W Revision |
Indica a revisão de software do controlador principal. |
|
CAN Statistics |
Indica o estado do barramento de comunicação da máquina. |
|
InfoCenter Revision |
Indica a revisão do software do ecrã InfoCenter. |
|
|
|
|
Item do menu |
Descrição |
|---|---|
|
Traction |
Consulte o Manual de manutenção ou o seu distribuidor autorizado da Toro para mais informações acerca deste menu. |
|
Aeration |
|
|
Engine |
Os menus protegidos não são mostrados por defeito. Estas definições são desbloqueadas introduzindo o código PIN.
Note: O código PIN de fábrica para a sua máquina é 0000 ou 1234; no momento da entrega, o seu distribuidor pode ter alterado o seu código PIN.Se tiver alterado o PIN e se se esquecer do mesmo, contacte o seu distribuidor autorizado da Toro para obter apoio.
A partir do MENU PRINCIPAL, percorra até ao menu DEFINIçõES e prima o botão de seleção (Figura 27).

No menu DEFINIçõES, percorra até INTRODUZIR PIN e prima o botão de seleção (Figura 28A).

Para introduzir o PIN, prima os botões de navegação cima/baixo até surgir o primeiro dígito correto e depois prima o botão de navegação direito para avançar para o próximo dígito (Figura 28B e Figura 28C). Repita este passo até introduzir o último dígito.
Prima o botão de seleção (Figura 28D).
Note: Se o InfoCenter aceitar o PIN e o menu protegido tiver sido
desbloqueado, o símbolo
é apresentado no canto superior direito
do ecrã.
Para ocultar os menus protegidos, rode o interruptor da chave para a posição OFF e depois para a posição ON.
Uma vez introduzido o PIN, clique no menu DEFINIçõES e percorra até o menu PROTEGER DEFINIçõES.
Para permitir que os menus protegidos sejam visto
sem introduzir um código PIN, utilize o botão de seleção
para alterar PROTEGER DEFINIçõES para
(Off).
Para exigir o código PIN para visualizar os
menus protegidos, utilize o botão de seleção
para alterar PROTEGER DEFINIçõES para
(On),
defina o código PIN, e rode a chave da ignição
para a posição OFF e depois
para a posição ON.

Vermelho intermitente – avaria ativa;
Vermelho opaco – aconselhamento ativo;
Azul opaco – mensagens de calibragem/diálogo;
Verde opaco – funcionamento normal.
Note: As especificações e o desenho do produto estão sujeitos a alterações sem aviso prévio.
| Largura | 127 cm |
| Distância entre eixos | 113 cm |
| Largura do rasto | 97 cm |
| Largura de perfuração | 122 cm |
| Comprimento | 295 cm |
| Altura da cabeça (levantada) | 114 cm |
| Altura da cabeça (baixada) | 93 cm |
| Altura, barra | 154,2 cm |
| Altura em relação ao solo | 12 cm |
| Velocidade em avanço | 0 a 7,2 km/h |
| Velocidade em marcha-atrás | 0 a 4 km/h |
| Peso líquido | 745 kg |
Está disponível uma seleção de engates e acessórios aprovados pela Toro para utilização com a máquina, para melhorar e expandir as suas capacidades. Contacte o seu representante ou distribuidor de assistência autorizado ou vá a www.Toro.com para obter uma lista de todos os engates e acessórios aprovados.
Para assegurar um desempenho ideal, utilize apenas peças de substituição e acessórios genuínos Toro. A utilização de peças sobressalentes e acessórios produzidos por outros fabricantes pode ser perigosa e pode utilizar um espaço vazio na garantia do produto.
Consulte a seguinte tabela de configuração dos dentes para obter informações sobre a cabeça de dentes, o protetor de relva e os dentes.
| Descrição da cabeça de dentes | Espaçamento da cabeça de dentes | Tamanho da haste | Quantidade de dentes | Tipo de protetor de relva (quantidade) |
|---|---|---|---|---|
| Cabeça com 2x5 pequenos dentes | 41 mm | 9,5 mm | 60 | 5 dentes – curto (2) |
| 5 dentes – comprido (1) | ||||
| Cabeça com 1x6 pequenos dentes | 32 mm | 9,5 mm | 36 | 6 dentes – curto (2) |
| 6 dentes – comprido (1) | ||||
| Cabeça com 3 dentes (⅞ pol.) | 66 mm | 22,2 mm | 18 | 3 dentes – curto (2) |
| 3 dentes – comprido (1) | ||||
| Cabeça com 3 dentes (¾ pol.) | 66 mm | 19,5 mm | 18 | 3 dentes – curto (2) |
| 3 dentes – comprido (1) | ||||
| Cabeça com 4 dentes (¾ pol.) | 51 mm | 19,5 mm | 24 | 4 dentes – curto (2) |
| 4 dentes – comprido (1) | ||||
| Cabeça com 5 dentes agulha | 41 mm | – | 30 | 5 dentes – curto (2) |
| 5 dentes – comprido (1) |
Note: Determine os lados direito e esquerdo da máquina a partir da posição normal de utilização.
Nunca permita que crianças ou pessoal não qualificado utilizem ou procedam à assistência técnica da máquina. Os regulamentos locais podem determinar restrições relativamente à idade do utilizador. A formação de todos os operadores e mecânicos é da responsabilidade do proprietário.
Familiarize-se com o funcionamento seguro do equipamento, com os controlos do utilizador e com os sinais de segurança.
Saiba como parar a máquina e desligar o motor rapidamente.
Antes da operação, inspecione sempre a máquina para assegurar que os dentes estão em boas condições. Substitua os dentes gastos ou danificados.
Inspecione a área na qual tenciona utilizar a máquina e remova todos os objetos em que a máquina possa embater.
Localize e marque todas as linhas elétricas ou de comunicações, componentes de rega e outras obstruções elétricas na área a arejar. Retire os perigos, se possível, ou planeie como evitá-los.
Estacione a máquina numa superfície nivelada, levante totalmente e tranque a barra de ligação para engatar o travão de estacionamento, desligue o motor, retire a chave e espere que todas as peças em movimento parem.
Verifique se os comandos de presença do utilizador, os interruptores de segurança e os resguardos estão corretamente montados e a funcionar corretamente. Não utilize a máquina se estes componentes não estiverem a funcionar corretamente.
Tenha muito cuidado quando manusear combustível. Este combustível é inflamável e os seus vapores são explosivos.
Apague todos os cigarros, charutos, cachimbos e outras fontes de ignição.
Utilize apenas um recipiente para combustível aprovado.
Não retire o tampão do depósito nem encha o depósito enquanto o motor se encontrar em funcionamento ou estiver quente.
Nunca adicione nem drene combustível num espaço fechado.
Não guarde a máquina ou o recipiente de combustível onde uma fonte de fogo, faísca ou luz piloto, como junto de uma caldeira ou outros eletrodomésticos.
Em caso de derrame de combustível, não tente ligar o motor; evite criar qualquer fonte de ignição até os vapores do combustível se terem dissipado.
| Tipo | Gasolina sem chumbo |
| Classificação mínima de octanas | 87 (EUA) ou 91 (pesquisa de octanas; fora dos EUA) |
| Etanol | Não superior a 10% de volume |
| Metanol | Nenhuma |
| MTBE (éter-metil-tercio-butílico) | Inferior a 15% de volume |
| Óleo | Não adicione ao combustível |
Utilize apenas combustível limpo e fresco (com menos de 30 dias) de uma origem fiável.
Important: Para reduzir os problemas de arranque, adicione estabilizador/condicionador de combustível ao combustível novo conforme indicado pelo fabricante do estabilizador/condicionador do combustível.
Capacidade total do depósito: 26,5 litros.
Estacione a máquina numa superfície nivelada, levante totalmente e tranque a barra de ligação para engatar o travão de estacionamento, desligue o motor, retire a chave e espere que todas as peças em movimento parem.
Limpe a zona em redor do tampão do depósito de combustível e retire-a (Figura 30).

Adicione combustível ao depósito de combustível, até que o nível se encontre entre 6 a 13 mm abaixo da extremidade inferior do tubo de enchimento.
Important: Este espaço no depósito irá permitir que o combustível se expanda. Não encha completamente o depósito de combustível.
Coloque a tampa do depósito de combustível de forma segura.
Remova todo o combustível derramado.
Antes de ligar a máquina diariamente, efetue os procedimentos Antes de cada utilização/diariamente indicados em
| Intervalo de assistência | Procedimento de manutenção |
|---|---|
| Em todas as utilizações ou diariamente |
|
Se o sistema de bloqueio de segurança se encontrarem desligados ou danificados, a máquina poderá arrancar inesperadamente e provocar lesões.
Não modifique os interruptores de segurança.
Verifique o funcionamento do sistema de bloqueio de segurança diariamente e substitua todos os interruptores de bloqueio de segurança danificados antes de utilizar a máquina.
O sistema de bloqueio de segurança evita o arranque do motor, exceto se o comando de tração estiver na posição de NEUTRAL (ponto-morto).
O sistema de bloqueio de segurança evita o arranque do motor, exceto se a pega de presença do operador estiver totalmente solta.
O sistema de bloqueio de segurança evita o arranque do motor, exceto se a pega da cabeça de perfuração estiver totalmente solta.
O sistema de bloqueio de segurança levanta a cabeça de perfuração e desliga-a caso conduza a máquina para trás enquanto areja ou quando toca no interruptor de paragem de emergência.
Important: Se o sistema de bloqueio de segurança não funcionar conforme descrito, peça a um distribuidor autorizado da Toro para o reparar imediatamente.
Se a cabeça de perfuração estiver baixa, execute os seguintes passos. Se a cabeça de perfuração estiver levantada, avance para a secção Teste do bloqueio de arranque.
Ligue o motor e coloque a velocidade do motor na posição SLOW; consulte a secção Arranque do motor.
Baixe a barra de ligação (Figura 31).

Prima qualquer um dos botões do InfoCenter.
Note: A cabeça de perfuração levanta.
Desligue o motor; consulte Desligação do motor.
Se o motor estiver a trabalhar, desligue-o.
Aperte uma das pegas de presença do operador da barra de ligação e rode o comando da tração (Figura 32) para a frente ou rode-o para trás, e ligue o motor.
Important: O motor não deve arrancar.

Solte a pega de presença do operador, desloque o comando da tração para a posição NEUTRAL e ligue o motor.
Aperte uma das pegas de presença do operador da barra de ligação e rode a parte superior do comando da tração para a frente (Figura 33).
Note: A máquina avança para a frente.

Enquanto aperta o comando da tração, solte a pega de presença do operador (Figura 34).
Important: A máquina tem de parar de avançar.

Aperte uma das pegas de presença do operador da barra de ligação e rode a parte superior do comando da tração para a frente (Figura 35).
Note: A máquina avança para a frente.

Enquanto aperta a pega de presença do operador e o comando da tração, toque no interruptor de paragem de emergência (Figura 36).
Important: A máquina tem de parar de avançar.
Note: O motor continua a trabalhar.

Reponha o interruptor de paragem de emergência; consulte a secção Reconfiguração do interruptor de paragem de emergência.
Execute um dos passos seguintes:
Desloque a máquina para uma zona de relvado onde possa arejar sem danificar os dentes ou a área.
Retire os dentes.
Aperte uma das pegas de presença do operador da barra de ligação, rode a parte superior do comando da tração para a frente e aperte a pega de arejamento (Figura 37).
Note: A máquina avança para a frente, a cabeça de perfuração trabalha e desce.

Enquanto aperta a pega de presença do operador e a pega de arejamento, rode a parte superior do comando da tração para trás (Figura 38).
Important: A cabeça de perfuração tem de levantar e parar de funcionar.
Note: O motor continua a trabalhar.

Desloque o comando da tração para a posição NEUTRAL (ponto-morto).
Se removeu os dentes, instale-os e calibre a altura em relação ao solo dos dentes; consulte as secções Montagem dos dentes na cabeça de perfuração e Calibragem da altura dos dentes em relação ao solo.
Important: Deve calibrar a altura em relação ao solo dos dentes sempre que trocar de dentes mais longos para dentes mais curtos ou vice-versa.
Está disponível uma vasta gama de suportes de dentes, protetores de relva e dentes para a máquina. Escolha os componentes necessários através da tabela de acessórios em Atrelados e acessórios.
Suba a cabeça de perfuração e bloqueie-a nessa posição com o trinco de segurança; consulte a secção Sustentar a cabeça de perfuração com o trinco de segurança.
Estacione a máquina numa superfície nivelada, levante totalmente e tranque a barra de ligação para engatar o travão de estacionamento, desligue o motor, retire a chave e espere que todas as peças em movimento parem.
Note: A fábrica envia barras de fixação dos protetores de relva, anilhas e porcas de bloqueio flangeadas nos suportes dos protetores de relva de (Figura 39).
Monte, sem apertar totalmente, os protetores de relva nos suportes dos protetores de relva com 4 barras de fixação dos protetores de relva e 12 porcas de bloqueio flangeadas (⅜ pol.) e 12 anilhas (7/16 pol. x 13/16 pol.).
Note: Não aperte as porcas de bloqueio flangeadas.

Monte, sem apertar totalmente, a barra de fixação dos dentes ao suporte de dentes (Figura 40) com 4 parafusos (⅜ ol. x 1½ pol.). Não aperte os parafusos.
Note: Os parafusos são peças dos kits de suportes de dentes.

Monte os dentes no suporte de dentes e na barra de fixação dos dentes (Figura 41).

Aperte os parafusos (⅜ pol. x 1½ pol.) que prendem as barras de fixação dos dentes e os dentes com 40,6 N∙m.
Repita os passos 1 a 3 para as outras barra de fixação dos dentes, suportes de dentes e dentes.
Monte, sem apertar totalmente, o suporte de dentes e os dentes no braço de dentes n.º 2 (Figura 42 e Figura 43) com 3 parafusos (½ pol. x 1¼ pol.).


Aperte os parafusos (½ pol. x 1¼ pol. com 102 N·m.
Repita os passos 1 a 2 para o braço de dentes n.º 5.
Verifique o alinhamento das ranhuras dos protetores de relva para garantir que estão centradas (Figura 44).
Note: Ajuste os protetores de relva conforme necessárias.

Aperte as porcas de bloqueio flangeadas (⅜ pol.) que prendem as 3 barras de fixação dos protetores de relva e os 3 protetores de relva nos 3 suportes dos protetores de relva.
Instale o suporte de dentes e os dentes restantes aos suportes de dentes n.º 1, n.º 3, n.º 4 e n.º 6 com 12 parafusos (½ pol. x 1¼ pol.).
Aperte os parafusos (½ pol. x 1¼ pol. com 102 N·m.
Calibre a altura dos dentes da máquina em relação ao solo; consulte a secção Executar a aplicação Teach Ground Height.
Rode a chave para a posição RUN (funcionamento).
Se as setas não aparecerem nos ecrãs dos modos TRANSPORT ou AERATE, introduza o código PIN para aceder aos menus protegidos; consulte a secção Acesso aos menus protegidos.
Note: Os ecrãs dos modos TRANSPORT ou AERATE aparecem (Figura 45).

Prima o botão direito duas vezes para mostrar o ecrã que permite calibrar a altura dos dentes em relação ao solo (Figura 46).
Note: Prima o botão esquerdo para mostrar os ecrãs dos modos TRANSPORT ou AERATE.

Prima o botão direito para mostrar o ecrã que permite configurar a profundidade dos furos (Figura 47).
Note: Prima o botão esquerdo para mostrar o ecrã Teach Ground Height

Prima o botão direito para mostrar o ecrã que permite configurar o espaçamento entre furos (Figura 48).
Note: Prima o botão esquerdo para mostrar o ecrã que permite configurar a profundidade dos furos.

Prima o botão direito para mostrar o ecrã que permite configurar o diâmetro dos dentes (Figura 48).
Note: Prima o botão esquerdo para mostrar o ecrã que permite configurar o espaçamento entre furos.

Prima o botão direito para mostrar o ecrã que permite configurar a quantidade de dentes (Figura 50).
Note: Prima o botão esquerdo para mostrar o ecrã que permite configurar o diâmetro dos dentes.

Note: O ProCore 648s foi concebido para proporcionar um desempenho de arejamento numa ampla variedade de tipos de relva e solo, condições agronómicas e estilos de dentes quando definidos a uma profundidade de 7,6 cm. Quanto utilizado em configurações menos profundas, em particular a profundidades inferiores a 5 cm com dentes mais pequenos, pode causar uma maior perturbação da superfície.
Se a cabeça de perfuração estiver levantada; consulte a secção Levantar a cabeça de perfuração.
Rode a chave para a posição RUN (funcionamento).

Prima o botão direito até ser mostrado o ecrã que permite configurar a profundidade dos furos (Figura 51 e Figura 52).
Ajuste a profundidade dos dentes com os botões cima/baixo (Figura 52) conforme indicado a seguir:
Prima o botão baixo para diminuir a profundidade dos furos.
Prima o botão cima para aumentar a profundidade dos furos.

Prima os botões esquerda ou direita para guardar as suas configurações e sair do ecrã de configuração da profundidade.
Rode a chave para a posição OFF.
Note: Se arejar à profundidade máxima permitida (com qualquer comprimento de dentes) após executar a calibração da altura em relação ao solo, e os parafusos do resguardo da relva arrastarem ou tocarem na relva, reduza a profundidade num incremento (¼ pol.).
Note: Quando seleciona uma taxa de espaçamento entre furos, a máquina controla a velocidade de deslocamento para manter a distância entre furos.
Se a cabeça de perfuração estiver levantada; consulte a secção Levantar a cabeça de perfuração.
Rode a chave para a posição RUN (funcionamento).

Prima o botão direito até ser mostrado o ecrã que permite configurar a profundidade dos furos (Figura 53 e Figura 54).
Ajuste o espaçamento entre furos (Figura 54) conforme indicado a seguir:
Prima o botão baixo para diminuir o espaçamento entre furos.
Prima o botão cima para aumentar o espaçamento entre furos.

Prima os botões esquerda ou direita para guardar as suas configurações e sair do ecrã de configuração do espaçamento entre furos.
Rode a chave para a posição OFF.
Se a cabeça de perfuração estiver levantada; consulte a secção Levantar a cabeça de perfuração.
Rode a chave para a posição RUN (funcionamento).

Prima o botão direito até ser mostrado o ecrã que permite configurar o diâmetro do dentes (Figura 55 e Figura 56).
Ajuste o diâmetro dos dentes com os botões cima/baixo (Figura 56) conforme indicado a seguir:
Prima o botão cima para aumentar o diâmetro dos dentes.
Prima o botão baixo para diminuir o diâmetro dos dentes.

Prima os botões esquerda ou direita para guardar as suas configurações e sair do ecrã de configuração do diâmetro dos dentes.
Rode a chave para a posição OFF.
Se a cabeça de perfuração estiver levantada; consulte a secção Levantar a cabeça de perfuração.
Rode a chave para a posição RUN (funcionamento).

Prima o botão direito até ser mostrado o ecrã que permite configurar a quantidade de dentes (Figura 58).
Ajuste a quantidade de dentes com os botões cima/baixo (Figura 58) conforme indicado a seguir:
Important: A quantidade de dentes corresponde ao número de dentes para 1 suporte.
Prima o botão cima para aumentar a quantidade de dentes.
Prima o botão baixo para diminuir a quantidade de dentes.

Prima os botões esquerda ou direita para guardar as suas configurações e sair do ecrã de configuração da quantidade de dentes.
Rode a chave para a posição OFF.
| Intervalo de assistência | Procedimento de manutenção |
|---|---|
| Em todas as utilizações ou diariamente |
|
Important: Calibre a altura dos dentes em relação ao solo sempre que trocar os dentes ou substituir dentes gastos.
Certifique-se de que a cabeça de perfuração está levantada.
Estacione a máquina numa superfície nivelada, levante totalmente e tranque a barra de ligação para engatar o travão de estacionamento, desligue o motor, retire a chave e espere que todas as peças em movimento parem.
Retire a cobertura da cabeça de perfuração; consulte a secção Remoção da cobertura da cabeça de perfuração.
Rode a polia da cabeça de perfuração (Figura 59) até que os dentes mais exteriores estejam alinhados mais próximos do solo (Figura 60).
Important: Mantenha os seus dedos afastados da área em que a correia se funde e sai da polia para não magoar os dedos.


Instale a cobertura da cabeça de perfuração; consulte a secção Instalação da cobertura da cabeça de perfuração.
Rode a chave para a posição RUN (funcionamento).
Note: Os ecrãs dos modos TRANSPORT ou AERATE aparecem (Figura 61).

Desloque a barra de ligação de forma a que consiga ver os dentes mais exteriores que posicionou em Preparação da máquina.
Prima o botão direito até que o assistente TEACH GROUND HEIGHT apareça.
No ecrã Teach Ground Height (Figura 62), depois prima um dos botões centrais.

No ecrã PRESS OK TO START TEACH (Figura 63), prima o botão de seleção.

Note: Aparecerá a mensagem CALIBRATION ENGAGED (calibragem iniciada), e a cabeça de perfuração baixa lentamente.
Important: Mantenha a sua mão junto do InfoCenter.
Note: A cabeça de perfuração baixa lentamente se o fluido hidráulico estiver frio.
Quando algum dente tocar no solo, prima o botão de seleção no ecrã Lowering Head (a baixar cabeça) (Figura 64).
Note: Os dentes só devem tocar no solo, e não devem levantar ou descarregar o peso dos pneus.Se a cabeça de perfuração levantar a máquina, a máquina calibra a altura em relação ao solo incorretamente, resultando em profundidades dos furos imprecisas e criando tufos nos furos de arejamento.

Note: Exibe a mensagem CALIBRATION COMPLETE (calibragem concluída) e a cabeça levanta totalmente.
Prima o botão retroceder para sair da aplicação Teach Ground Height.
O proprietário/utilizador pode evitar e é responsável por acidentes que possam causar ferimentos a pessoas ou danos a propriedades.
Utilize vestuário adequado, incluindo proteção ocular, calças compridas, calçado resistente anti-derrapante e proteção para os ouvidos. Prenda cabelo comprido, prenda vestuário solto e não utilize joias pendentes.
Não utilize a máquina se estiver cansado, doente ou sob o efeito de álcool ou drogas.
Mantenha as pessoas, as crianças e os animais de estimação afastados da área de operação. Não permita que crianças utilizem o veículo. Permita que apenas pessoas que são responsáveis, formadas, familiarizadas com as instruções e fisicamente capazes operem a máquina.
Nunca transporte passageiros na máquina.
Utilize a máquina apenas quando tiver boa visibilidade para evitar buracos e outros perigos não visíveis.
Mantenha as mãos e pés afastados dos dentes.
Antes de recuar, olhe para trás e para baixo de modo a evitar acidentes.
Pare a máquina, desligue o motor, retire a chave, aguarde que todas as partes móveis parem e inspecione os dentes depois de ter atingido qualquer objeto ou na eventualidade de sentir vibrações estranhas na máquina. Efetue todas as reparações necessárias antes de retomar o funcionamento.
Mantenha sempre a pressão adequada nos pneus.
Reduza a velocidade de tração em vias e superfícies com piso irregular.
Os declives são um dos principais fatores que contribuem para a perda de controlo e acidentes de capotamento que podem resultar em ferimentos graves ou morte. É responsável pela operação segura em declives. Operar a máquina em qualquer declive requer cuidado adicional.
Avalie as condições do local para determinar se o declive é seguro para a operação da máquina, incluindo a análise do sítio. Utilize sempre o bom senso e o seu julgamento ao realizar esta inspeção.
Reveja as instruções de declives indicadas em seguida para operar a máquina em declives e analisar as condições em que a máquina vai ser operada para determinar se pode operar a máquina nas condições desse dia e desse local. As alterações no terreno podem originar uma alteração na operação em declive para a máquina.
Evite arrancar, parar ou virar a máquina em declives. Não faça alterações súbitas na velocidade ou direção. Faça as curvas lenta e gradualmente.
Não opere a máquina em qualquer condição em que a tração, direção ou estabilidade estiver em causa.
Remova ou assinale obstruções como valas, depressões, raízes, elevações, pedras ou outros perigos escondidos. A relva alta pode ocultar obstáculos. O terreno desnivelado poderia fazer tombar a máquina.
Esteja atento a que operar a máquina em relva molhada, em declives ou em descidas pode causar a perda de tração da máquina. A perda de tração das rodas pode causar deslizamento e uma perda dos travões e direção.
Tenha muito cuidado ao conduzir a máquina perto de depressões, valas, aterros, zonas perigosas com água ou outros perigos. A máquina poderá capotar repentinamente se uma roda resvalar ou se o piso ceder. Estabeleça uma área de segurança entre a máquina e qualquer perigo.
Levante a barra de ligação totalmente para engatar o travão de estacionamento (Figura 65).

Certifique-se de que o pino do trinco da barra de ligação se estende através do furo na placa de detenção (Figura 66).
Se o travão de estacionamento não engatar, a máquina pode mover-se e ferir o operador ou outras pessoas presentes.
Certifique-se de que a barra de ligação está totalmente levantada e prende-se firmemente à placa de detenção.

Levante e tranque totalmente a barra de ligação para engatar o travão de estacionamento; consulte a secção Engate do travão de estacionamento.
Utilize o ar (Figura 70)da seguinte forma:
Antes de ligar o motor frio, desloque a alavanca de controlo do ar para a posição ON.
Quando ligar um motor morno ou quente, poderá não precisar de utilizar o ar.

Desloque a alavanca do acelerador para a posição FAST antes de arrancar o motor a frio.
Rode a chave da ignição para a posição START. Quando o motor arrancar solte a chave.
Important: Não ative o motor de arranque durante mais de 10 segundos de cada vez. Se o motor não arrancar, permita um período de arrefecimento de 30 segundos entre tentativas. O incumprimento destas instruções pode queimar o motor de arranque.
Depois de o motor arrancar, desloque a alavanca do ar para a posição OFF. Se o motor funcionar mal ou parar, volte a colocar a alavanca do ar na posição ON durante alguns segundos. Depois, desloque a alavanca do acelerador para a velocidade desejada.
Note: Repita este passo conforme necessário.
Crianças ou pessoas que se encontrem nas proximidades podem ficar feridas, se moverem ou tentarem utilizar a máquina enquanto esta estiver sem vigilância.
Levante e prenda sempre totalmente a barra de ligação para engatar o travão de estacionamento, desligar o motor, e remover a chave quando abandona a máquina, mesmo que seja durante minutos.
Levante e tranque totalmente a barra de ligação para engatar o travão de estacionamento; consulte a secção Engate do travão de estacionamento.
Desloque a alavanca do acelerador (Figura 71) para a posição SLOW.

Mantenha o motor nesta velocidade durante 60 segundos.
Rode a chave na ignição para a posição DESLIGAR e retire a chave.
Se estiver a transportar ou armazenar a máquina, feche a válvula de corte de combustível (Figura 72).
Important: Feche a válvula de bloqueio do combustível antes de transportar a máquina num atrelado ou armazenar a máquina. Levante e tranque totalmente a barra de ligação para engatar o travão de estacionamento antes de transportar a máquina. Remova a chave do interruptor da ignição para evitar que a bomba de combustível se ligue e cause uma descarga da bateria.

Important: Caminhe à frente da máquina, voltado para a frente, ao utilizar a máquina, não ande nem olhe para trás ao utilizar a máquina.

Utilizar o bloqueio de velocidade permite-lhe conduzir a máquina sem ter de recorrer ao comando da tração.
Note: Não pode utilizar a funcionalidade de bloqueio de velocidade enquanto conduz a máquina para trás.
Utilizar o bloqueio de velocidade enquanto areja permite-lhe continuar a conduzir a máquina à velocidade de velocidade entre furos selecionada no fim de uma passagem de arejamento, virar a máquina e continuar a próxima passagem de arejamento sem alterar a posição do comando da tração.
Note: A funcionalidade de bloqueio de velocidade no modo de arejamento está ativa quando a cabeça de perfuração está configurada no modo de descida com atraso; a funcionalidade de bloqueio de velocidade está bloqueada no modo de descida imediata.
O bloqueio da velocidade de deslocamento funciona como o controlo de cruzeiro de um automóvel.
Coloque o interruptor de transporte/arejamento na posição TRANSPORTE (Figura 74).

Coloque o interruptor do bloqueio de velocidade na posição ON.
Conduza a máquina para a frente na velocidade de deslocamento desejada.
Coloque o interruptor de bloqueio da velocidade na posição ENGAGE.
Note: O bloqueio de velocidade de deslocamento mantém a velocidade de deslocamento atual a que a máquina está a ser conduzida. Pode soltar o comando da tração.
Para desengatar a utilização do bloqueio de velocidade, efetua um dos passos seguintes:
Coloque o interruptor de bloqueio da velocidade na posição OFF.
Rode a parte superior do comando da tração para trás para conduzir a máquina para trás.
Solte a pega de presença do operador.
Prima o interruptor de paragem de emergência.
Note: O bloqueio de velocidade de deslocamento está indisponível quando areja no modo de descida imediata.
Coloque o interruptor de transporte/arejamento na posição AERATE (Figura 75).

Coloque o interruptor do bloqueio de velocidade na posição ON.
Conduza a máquina para a frente e aperte a pega de arejamento.
Note: O bloqueio de velocidade de deslocamento engata, e a cabeça de perfuração baixa.
No fim da passagem de arejamento, solte a pega de arejamento.
Note: A cabeça de perfuração levanta, mas a máquina mantém a velocidade de deslocamento ao ritmo do espaçamento entre furos de arejamento.
Para desengatar a utilização do bloqueio de velocidade, efetua um dos passos seguintes:
Coloque o interruptor de bloqueio da velocidade na posição OFF.
Rode a parte superior do comando da tração para trás para conduzir a máquina para trás.
Solte a pega de presença do operador.
Prima o interruptor de paragem de emergência.
Note: Utilize o modo de transporte quando deslocar a máquina entre diferentes zonas de trabalho.
Note: A máquina é conduzida a uma velocidade variável reduzida sempre que o interruptor de transporte/arejamento está na posição AERATION.
Ponha o motor a funcionar e coloque o comando do acelerador na posição FAST; consulte a secção Arranque do motor.
Levante a barra de ligação para desengatar o travão de estacionamento; consulte a secção Soltar o travão de estacionamento.
Coloque o lado esquerdo do interruptor de transporte/arejamento na posição TRANSPORT (Figura 76).

Note: O InfoCenter exibe o ícone TRANSPORT (Figura 77).

Olhe na direção do percurso planeado para se certificar que está desimpedido.
Agarre a barra de ligação do lado esquerdo ou direito e a pega de presença do operador (Figura 76), e aperte a pega da barra.
Com o seu polegar, rode o comando da tração esquerdo ou direito para conduzir a máquina da seguinte forma:
Rode a parte superior do comando da tração para a frente para conduzir a máquina para a frente.
Rode a parte superior do comando da tração para trás para conduzir a máquina para trás.
Note: Rodar o comando da tração mais para a frente aumenta a velocidade de deslocamento da máquina.
Important: Para parar a máquina imediatamente prima o interruptor de paragem de emergência (Figura 78).

Se estiver a arejar, solte a pega de arejamento (Figura 79) para levantar a cabeça de perfuração; consulte a secção Levantar a cabeça de perfuração.

Solte o comando da tração, e permita que este se desloque para a posição NEUTRAL (ponto-morto).
Solte a pega de presença do operador.
Levante e tranque totalmente a barra de ligação para engatar o travão de estacionamento; consulte a secção Engate do travão de estacionamento.
Note: A máquina é conduzida a uma velocidade variável reduzida sempre que cabeça de perfuração é levantada.
Ponha o motor a funcionar e coloque o comando do acelerador na posição FAST; consulte a secção Arranque do motor.
Levante a barra de ligação para desengatar o travão de estacionamento; consulte a secção Soltar o travão de estacionamento.
Coloque o lado direito do interruptor de transporte/arejamento na posição AERATE (Figura 80).

O InfoCenter exibe a profundidade dos furos e o espaçamento entre furos atuais (Figura 81).

Olhe na direção do percurso planeado para se certificar que está desimpedido.
Agarre a barra de ligação do lado esquerdo ou direito e a pega de presença do operador (Figura 80), e aperte a pega da barra.
Com o seu polegar, rode a parte superior do comando da tração esquerdo ou direito para conduzir a máquina para a frente.
Note: Durante o arejamento a máquina é conduzida a uma velocidade que corresponde ao espaçamento entre furos selecionado.
Quando utilizar o bloqueio de velocidade de deslocamento, soltar a pega de arejamento sem alterar a posição do comando da tração faz com que a máquina mantenha a velocidade de deslocamento, como o controlo de cruzeiro de um automóvel.
Conduzir a máquina em marcha-atrás desengata o efeito do controlo de cruzeiro, e faz com que a máquina seja conduzida a uma velocidade de deslocamento variável.
Quando levanta a cabeça para virar a máquina para efetuar outra passagem, pode aumentar a velocidade de deslocamento deslocando o comando da tração mais para a frente. Quando coloca novamente o comando da tração na posição NEUTRAL (ponto-morto), a máquina abranda para a velocidade de deslocamento exigida para o espaçamento entre furos de arejamento.
Utilize o pneu frontal para ver o ponto de descida quando arejar no modo de descida com atraso.
Prima a parte superior do interruptor de controlo da descida (Figura 82) para a posição DROP-DELAY (descida com atraso).

Conduza a máquina para a frente; consulte a secção Condução da máquina no modo de arejamento.
Conforme os pneus frontais rodam ao longo do perímetro da área de arejamento, aperte a pega de arejamento esquerda ou direita (Figura 83).
Note: A cabeça de perfuração liga e desce conforme a máquina avança ao longo da área de arejamento.

Utilize o pneu frontal (Figura 84) para ver o ponto de subida quando estiver no modo de descida com atraso.

Para levantar a cabeça de perfuração, efetue um dos passos seguintes:
Conforme os pneus frontais rodam ao longo do perímetro da área de arejamento, solte a pega de arejamento (Figura 85).
Note: A máquina atrasa o levantamento da cabeça de perfuração até a cabeça de perfuração alcançar o lugar pretendido identificado por si com o pneu frontal e até soltar a pega de arejamento.

Conduza a máquina em marcha-atrás; consulte a secção Condução da máquina em marcha-atrás.
Prima a parte inferior do interruptor de controlo da descida (Figura 86) para a posição IMMEDIATE-DROP (descida imediata).
Note: A luz do interruptor acende.

Conduza a máquina para a frente; consulte a secção Condução da máquina no modo de arejamento.
Aperte a pega de arejamento esquerda ou direita (Figura 87).
Note: A cabeça de perfuração desce imediatamente e começa a arejar.

Para levantar a cabeça de perfuração, efetue um dos passos seguintes:
Solte a pega de arejamento (Figura 88).
Note: A máquina levanta a cabeça de perfuração imediatamente.

Conduza a máquina em marcha-atrás; consulte a secção Condução da máquina em marcha-atrás.
Se baixar a cabeça de perfuração, liberte a pega de arejamento (Figura 89).

Solte o comando da tração e permita que este se desloque para a posição NEUTRAL (ponto-morto).
Enquanto aperta a pega de presença do operador da barra de ligação, rode lentamente a parte superior do comando da tração para trás (Figura 90).

Solte o comando da tração e permita que este se desloque para a posição NEUTRAL (ponto-morto) (Figura 91).

Afaste-se do interruptor de paragem de emergência (Figura 92).
Note: Uma mola do interruptor de paragem de emergência reconfigura o interruptor.

Agarre a barra de ligação do lado esquerdo ou direito e a pega de presença do operador (Figura 93), e aperte a pega da barra.

Conduza a máquina, consulte as secções Condução da máquina no modo de transporte e Condução da máquina no modo de arejamento.
Utilize o marcador de linhas para alinhas as filas de arejamento (Figura 94).

A máquina utiliza 2 contadores para registar a área arejada e o volume perfurado do solo. Utilize os dados destes contadores para calcular a quantidade de adubo a aplicar na(s) área(s) arejada(s):
O contador da Area 1 não é protegido por um código PIN, e destina-se a ser reiniciado pelo operador da máquina.
Note: Se o operador registar o contador da Area 1 para cada zona de arejamento, pode calcular o montante de terra vegetal e entregar as exigências de cada zona.
O contador da Area 2 é protegido por um código PIN, e destina-se a ser reiniciado pelo supervisor ou o seu delegado.
A área arejada é exibida nas unidades m2 (SI) ou ft2 (sistema inglês).
O volume perfurado do solo é exibido nas unidades m3 (SI) ou yd3 (sistema inglês).
Quando visualiza os contadores de volume perfurado do solo, a máquina calcula o volume utilizando o diâmetro dos dentes e a quantidade de dentes introduzida no InfoCenter.
Important: Se o(s) valor(es) do diâmetro e/ou quantidade dos dentes estiver(em) incorreto(s) antes de arejar a zona, o InfoCenter calculará e exibirá valores incorretos de volume perfurado para os campos Area 1 e Area 2. Se o(s) valor(es) do diâmetro e/ou quantidade dos dentes for(em) alterado(s) após o arejamento, o InfoCenter irá alterar os valores de volume exibidos.
Estacione a máquina numa superfície nivelada.
Certifique-se de que o motor está a trabalhar ou a chave de ignição está na posição RUN.
No InfoCenter, navegue até ao MENU PRINCIPAL.
Prima o botão baixo até a opção MANUTENçãO estar selecionada, depois prima o botão de seleção (Figura 95).

No ecrã MANUTENçãO, prima o botão baixo até a opção STATISTICS estar selecionada, depois prima o botão de seleção (Figura 96).

Note: Será exibido um contador AREA no ecrã STATISTICS.

No ecrã STATISTICS, prima o botão baixo até a opção AREA 1 estar selecionada (Figura 98).

Registe a área de arejamento e o volume de solo numa folha de cálculo; consulte o exemplo a seguir.
|
Date |
Course (if multiple) |
Localition |
Aeration Area |
Core Volume |
Prima o botão de seleção para avançar para os ecrãs de redefinição de área e volume.
No ecrã RESET AREA AND VOLUME, prima o botão de seleção.
Note: O InfoCenter exibe o ecrã de estatísticas, e os contadores de área e volume são redefinidos para 0.
Note: Se não reiniciar o contador da Area 1, os contadores de área e volume continuarão a acumular dados.

Repita os passos 1 a 4 conforme necessário.
Prima o botão botão de retroceder para regressar ao menu principal.
Note: Redefinir os contadores da AREA 2 não redefine os contadores da AREA 1.
Introduza o PIN para aceder aos menus protegidos; consulte a secção Acesso aos menus protegidos.
No ecrã STATISTICS, prima o botão baixo até a opção AREA 2 estar selecionada (Figura 100).

Se necessário, registe os dados da área de arejamento e do volume de solo perfurado.
Prima o botão de seleção para avançar para os ecrãs de redefinição de área e volume.
No ecrã RESET AREA AND VOLUME, prima o botão de seleção (Figura 101).
Note: O InfoCenter exibe o ecrã de estatísticas, e os contadores de área e volume são redefinidos para 0.
Note: Se não reiniciar o contador da Area 2, os contadores de área e volume continuarão a acumular dados.

Prima o botão botão de retroceder para regressar ao menu principal.
Instale o trinco de segurança antes de efetuar a manutenção da cabeça de perfuração ou quando guardar a máquina durante mais de alguns dias.
Se a cabeça de perfuração estiver levantada e não trancada, pode baixar inesperadamente e feri-lo a si ou a quem estiver por perto.
Sempre que proceder à reparação da cabeça de perfuração, incluindo mudança de dentes ou de protetor de relva, utilize o trinco de segurança para prender a cabeça de perfuração na posição levantada.
Suba a cabeça de perfuração.
Estacione a máquina numa superfície nivelada, levante totalmente e tranque a barra de ligação para engatar o travão de estacionamento, desligue o motor, retire a chave e espere que todas as peças em movimento parem.
Retire a cobertura da cabeça de perfuração; consulte a secção Remoção da cobertura da cabeça de perfuração.
Retire o pino de segurança que prende o trinco de segurança à placa lateral (Figura 102).

Rode o trinco de segurança para trás e alinhe-o por cima do pino de apoio da cabeça de perfuração.
Prenda o trinco ao pino de apoio com o pino de segurança.
Se necessário, instale a cobertura da cabeça de perfuração; consulte a secção Instalação da cobertura da cabeça de perfuração.
Estacione a máquina numa superfície nivelada, levante totalmente e tranque a barra de ligação para engatar o travão de estacionamento, desligue o motor, retire a chave e espere que todas as peças em movimento parem.
Se a cobertura da cabeça de perfuração estiver instalada, remova-a; consulte a secçãoRemoção da cobertura da cabeça de perfuração.
Remova o pino de segurança que prende o trinco de segurança ao pino de apoio da cabeça de perfuração (Figura 103).

Rode o trinco de segurança para baixo e alinhe-o por cima do pino de apoio da placa lateral.
Prenda o trinco ao pino de apoio com o pino de segurança.
Instale a cobertura da cabeça de perfuração; consulte a secção Instalação da cobertura da cabeça de perfuração.
Important: Substitua um dente danificado por um dente com o mesmo comprimento. Dentes com comprimentos diferentes afetam a aparência dos furos negativamente.
Dentes com comprimentos diferentes afetam a aparência dos furos.
Consulte Instalação dos protetor de relva, suportes dos dentes e dentes para ver as ilustrações.
Suba a cabeça de perfuração e bloqueie-a nessa posição com o trinco de segurança.
Estacione a máquina numa superfície nivelada, levante totalmente e tranque a barra de ligação para engatar o travão de estacionamento, desligue o motor, retire a chave e espere que todas as peças em movimento parem.
Desaperte os parafusos do suporte e remova o(s) dente(s) antigo(s).
Introduza o(s) dente(s) novo(s) no suporte de dentes.
Aperte os parafusos do suporte de dentes com 40,6 N·m.
Se necessário, repita este procedimento nos restantes braços.
Utilize a aplicação para verificar rapidamente a altura dos dentes em relação ao solo.
A aplicação desloca a cabeça para baixo para a posição de calibragem anterior; uma vez a cabeça na devia posição, poderá inspecionar a distância entre a ponta dos dentes e o solo.
Certifique-se de que a cabeça de perfuração está levantada.
Estacione a máquina numa superfície nivelada, levante totalmente e tranque a barra de ligação para engatar o travão de estacionamento, desligue o motor, retire a chave e espere que todas as peças em movimento parem.
Retire a cobertura da cabeça de perfuração; consulte a secção Remoção da cobertura da cabeça de perfuração.
Rode a polia da cabeça de perfuração (Figura 104) até que os dentes mais exteriores estejam alinhados mais próximos do solo.
Important: Mantenha os seus dedos afastados da área em que a correia se funde e sai da polia para não magoar os dedos.


Instale a cobertura da cabeça de perfuração; consulte a secção Instalação da cobertura da cabeça de perfuração.
Introduza o PIN para aceder aos menus protegidos; consulte a secção Acesso aos menus protegidos.
No InfoCenter, navegue até ao MENU PRINCIPAL.
Prima o botão baixo até a opção MANUTENçãO estar selecionada, depois prima o botão de seleção (Figura 105).

Prima o botão baixo no InfoCenter para navegar até à opção GROUND HEIGHT, e depois prima o botão de seleção.
Prima o botão baixo no InfoCenter para navegar até à opção RECALL CALIBRATION, e depois prima o botão de seleção.
No ecrã Recall Ground Height (Figura 106), prima o botão de seleção.

No ecrã Head Will Lower (Figura 107), prima o botão de seleção.

Note: Aparecerá a mensagem Lowering Head (a baixar cabeça) e a cabeça de perfuração baixa lentamente.
Observe os dentes mais exteriores enquanto às seguintes condições de não-calibragem.
Se os dentes começarem a penetrar no solo – prima o botão de seleção (Figura 108) e execute a aplicação TEACH GROUND HEIGHT; consulte a secção Executar a aplicação Teach Ground Height.
Se os dentes estiverem acima do solo – prima o botão de seleção e execute a aplicação TEACH GROUND HEIGHT; consulte a secção Executar a aplicação Teach Ground Height.

Se os dentes mais exteriores tocarem ligeiramente no solo, prima o botão de seleção para levantar a cabeça de perfuração.
A máquina transfere peso da unidade de tração para a cabeça de perfuração para ajudar a manter a profundidade do orifício em vários tipos de solo. No entanto, se a estrutura do solo for suficientemente firme para não permitir a profundidade de arejamento total, a cabeça de perfuração pode precisar de transferência de peso adicional. A máquina está configurada de fábrica para uma transferência de peso normal. Para aumentar a pressão descendente das molas de transferência de peso, faça o seguinte:
A libertação repentina de placas das molas pode provocar acidentes pessoais.
Peça ajuda a outra pessoa para ajustar as molas de transferência de peso.
Estacione a máquina numa superfície nivelada, levante totalmente e tranque a barra de ligação para engatar o travão de estacionamento, desligue o motor, retire a chave e espere que todas as peças em movimento parem.
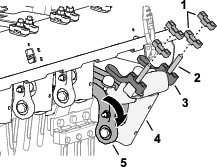
Desaperte a porca de bloqueio e o parafuso de carroçaria frontais para prender a placa da mola tensora ao suporte de apoio da cabeça de perfuração (Figura 109).
Note: Não remova a porca de bloqueio nem o parafuso de carroçaria.

Remova a porca de bloqueio flangeada que prende o suporte das mola e o suporte de apoio.
Note: Não remova o parafuso de carroçaria.
Insira uma lingueta ou braço de força de ½ pol. no orifício quadrado da placa da mola tensora (Figura 110).

Rode a lingueta ou braço de força para libertar a tensão sobre o parafusos de carroçaria traseiro e remova-o do orifício superior.
Note: O orifício superior corresponde à transferência normal de peso.
Rode a placa da mola tensora até ficar alinhada com o orifício inferior do suporte de apoio, insira o parafuso de carroçaria através dos orifícios da placa e do suporte.
Note: O orifício inferior corresponde à posição de transferência de peso superior. Rodar as placas das molas para cima aumenta a transferência de peso.
Prenda o parafusos de carroçaria ao suporte de apoio e à placa da mola tensora com uma porca de bloqueio flangeada.
Aperte as porcas de bloqueio com uma força de 37 a 45 N m.
Para um desempenho da máquina e de qualidade de furos otimizados, areje utilizando o sistema de seguimento do solo automático.
Utilize apenas o seguimento do solo manual se o sensor de posição dos dentes estiver danificado.
Estacione a máquina numa superfície nivelada, levante totalmente e tranque a barra de ligação para engatar o travão de estacionamento, desligue o motor, retire a chave e espere que todas as peças em movimento parem.
Retire a cobertura da cabeça de perfuração; consulte a secção Remoção da cobertura da cabeça de perfuração.
Remova o pino de segurança que prende o pino de limite de profundidade e os espaçadores ao suporte angular (Figura 111 e Figura 112).


Posicione os espaçadores acima ou abaixo do suporte angular para ajustar a profundidade de perfuração.
Com todos os espaçadores na parte superior do suporte angular, a configuração da profundidade é de 10,7 cm.
Os espaçadores mais grossos equivalem a incrementos de 19 mm de profundidade.
Os espaçadores mais finos equivalem a incrementos de 9,5 mm de profundidade.
Note: Deve instalar todos os espaçadores, independentemente das suas posições.
Monte o pino de limite de profundidade e os espaçadores no suporte angular com o pino de segurança.
Repita os passos 3 a 5 no outro lado da máquina.
Important: Certifique-se de que a localização do espaçador acima e abaixo dos suportes angulares esquerdo e direito são idênticos.
Instale a cobertura da cabeça de perfuração; consulte a secção Instalação da cobertura da cabeça de perfuração.
Note: Se arejar no modo manual, tem de configurar o InfoCenter para o modo de seguimento do solo manual cada vez que ligar a máquina.
Rode a chave de ignição para a posição RUN.
Note: Não ligue o motor.
Introduza o PIN para aceder aos menus protegidos; consulte a secção Acesso aos menus protegidos.
No InfoCenter, navegue até ao MENU PRINCIPAL.
Prima o botão baixo até a opção DEFINIçõES DA MáQUINA estar selecionada, depois prima o botão de seleção.
Prima o botão baixo até a opção MANUAL AERATION estar selecionada, depois prima o botão de seleção (Figura 113) para ligar o arejamento manual, com a opção ON.

Ligue o motor.
Areje recorrendo às secções Arejar com o modo descida com atraso ou Arejar com o modo descida imediata.
Note: Quando desliga e liga a máquina, a máquina redefine o modo de seguimento do solo automático como modo padrão.
Estacione a máquina numa superfície nivelada, levante totalmente e tranque a barra de ligação para engatar o travão de estacionamento, desligue o motor, retire a chave e espere que todas as peças em movimento parem.
Retire a cobertura da cabeça de perfuração; consulte a secção Remoção da cobertura da cabeça de perfuração.
Remova o pino de segurança que prende o pino de limite de profundidade e os espaçadores ao suporte angular (Figura 114).


Posicione todos os espaçadores acima do suporte angular.
Monte o pino de limite de profundidade e os espaçadores no suporte angular com o pino de segurança.
Note: Deve guardar todos os espaçadores.
Repita os passos 3 a 5 no outro lado da máquina.
Instale a cobertura da cabeça de perfuração; consulte a secção Instalação da cobertura da cabeça de perfuração.
Com a transferência de peso ajustada, é possível arejar a relva que é suficientemente dura para fazer a máquina levantar os pneus traseiros do solo. Esta operação pode originar intervalos irregulares entre os furos.
Se a máquina levantar, pode adicionar placas de contrapeso adicional no tubo do eixo da estrutura traseira. Cada placa de contrapeso adiciona 28,5 kg à máquina. Pode adicionar até 2 placas. Consulte o Parts Catalog da sua máquina para consultar os números dos contrapesos e das ferragens.
Ferramentas necessárias: chave de 15 cm e um chave de caixa
Important: Não coloque o motor a trabalhar com a válvula de derivação aberta durante mais de 10 a 15 segundos.
Se possível, estacione a máquina numa superfície nivelada.
Levante totalmente e tranque a barra de ligação para engatar o travão de estacionamento, desligue o motor, retire a chave e espere que todas as peças em movimento parem.
Retire os 2 parafusos de cabeça flangeada que prendem a caixa de armazenamento ao suporte da caixa (Figura 115).

Localize a tampa do parafuso da válvula de purga entre o motor e a bomba hidráulica, conforme mostrado na Figura 116.

Utilize uma chave de 15 mm e uma chave de caixa para rodar a válvula de purga no sentido contrário ao dos ponteiros do relógios 1-1/2 voltas.
Important: Não rode a válvula de purga mais do que 1-1/2 voltas.
Se atrelar a máquina, puxe-a utilizando o aro de amarração frontal (Figura 117).
Important: Não empurre/puxe a máquina mais do que 30,5 m ou a uma velocidade superior a 0,6 km/h porque pode danificar os componentes hidráulicos.

Baixe a barra de ligação para desengatar o travão de estacionamento antes de empurrar/puxar a máquina.
Important: Tem de baixar a barra de ligação para desengatar o travão de estacionamento antes de deslocar a máquina.
Important: Tem de fechar a válvula de purga para conduzir a máquina. Não tente operar o sistema de tração com a válvula de purga aberta.
Localize o parafuso da válvula de purga entre o motor e a bomba hidráulica.
Note: A localização da tampa do parafuso da válvula de purga é mostrada na Figura 118.

Utilize uma chave de 15 mm e uma chave de caixa para rodar a válvula de purga no sentido horário 1-1/2 voltas.
Note: Não aperte excessivamente o parafuso da válvula de purga.
Utilize uma chave de 15 mm para instalar a tampa do parafuso da válvula de purga na bomba hidráulica.
Instale a caixa de armazenamento no suporte da caixa com 2 parafusos de cabeça flangeada.
Se o motor parar de funcionar enquanto a cabeça de perfuração está baixa e os dentes engatados no solo, e não conseguir ligar o motor, execute Levantamento da cabeça de perfuração com o arranque ou Remoção dos suportes de dentes dos braços.
Rode a chave para a posição RUN.
No InfoCenter, navegue até ao MENU PRINCIPAL.
Prima o botão baixo até a opção MANUTENçãO estar selecionada, depois prima o botão de seleção (Figura 119).

Prima o botão baixo até a opção SERVICE LIFT estar selecionada, depois prima o botão de seleção (Figura 120).
Note: A opção Service Lift muda para ON.

Mova a chave para a posição START e dê à chave durante 10 segundos.
Important: Não ative o motor de arranque durante mais de 10 segundos de cada vez. Se os dentes não se soltarem do solo, permita um período de arrefecimento de 30 segundos entre cada tentativa. O incumprimento destas instruções pode queimar o motor de arranque.
Note: A cabeça de perfuração levanta os dentes do solo.
Important: Os dentes soltam-se completamente do solo antes de deslocar a máquina.
Abra a válvula de purga; consulte a secção Contorno da bomba hidráulica e deslocamento da máquina.
Empurre/puxe a máquina para um local próximo, onde possa continuar com a assistência técnica, ou coloque-a num atrelado.
Important: Não puxe/empurre a máquina mais do que 30,5 m nem a uma velocidade superior a 1,6 km/h porque pode danificar os componentes hidráulicos.
Remoção dos suportes de dentes dos braços.
Abra a válvula de purga; consulte a secção Contorno da bomba hidráulica e deslocamento da máquina.
Empurre/puxe a máquina para um local próximo, onde possa continuar com a assistência técnica, ou coloque-a num atrelado.
Important: Não puxe/empurre a máquina mais do que 30,5 m nem a uma velocidade superior a 1,6 km/h porque pode danificar os componentes hidráulicos.
Descreva muito gradualmente as curvas ao efetuar a aeração. Nunca efetue curvas pronunciadas com a cabeça de perfuração acionada. Planeie o percurso de arejamento antes de baixar o arejador.
Esteja sempre ciente daquilo que se encontra na direção do percurso de avanço. Evite arejar junto a edifícios, vedações e outros equipamentos.
Olhe frequentemente para trás para se certificar de que a máquina funciona devidamente e mantém o alinhamento com a passagem anterior.
Remova sempre da área todas as peças da máquina danificadas, tais como dentes partidos, etc., para evitar que estes possam ser apanhados pelos cortadores de relva ou por outro equipamento de tratamento de relva.
Substitua os dentes partidos, inspecione e corrija danos nos que ainda forem utilizáveis. Repare quaisquer outros danos da máquina antes de voltar a utilizá-la.
Quando efetuar o arejamento com menos do que a largura total da máquina, pode retirar dentes, mas as cabeças de dentes devem permanecer instaladas nos braços para assegurar o equilíbrio e o funcionamento adequados da máquina.
A máquina faz o arejamento em maior profundidade do que a maioria dos arejadores de greens. Em greens e tees de origem ou modificados, uma maior profundidade e os dentes mais compridos podem dificultar a ejeção do caroço completo. Isto deve-se ao facto de o terreno de origem ser mais duro e ficar agarrado à ponta do dente. Os dentes de ejeção lateral para greens/tees do fabricante mantêm-se mais limpos e reduzem o tempo necessário para limpeza dos dentes. Acaba por eliminar este problema com o arejamento continuado e com programas de sementeiras.
A máquina foi concebida para proporcionar o máximo de profundidade possível. Contudo, de acordo com as condições de alguns relvados, os protetores de relva e/ou os parafusos dos protetores de relva podem causar danos quando arejar com a profundidade máxima permitida. Se arejar à profundidade máxima permitida (com qualquer comprimento de dentes) após executar a calibração da altura em relação ao solo, e os parafusos do resguardo da relva arrastarem ou tocarem na relva, reduza a profundidade num incremento (¼ pol.).
Se o terreno for demasiado duro para obter a profundidade dos furos desejada, a cabeça de perfuração pode “oscilar”. Isto deve-se ao facto de os dentes estarem a tentar penetrar na camada rígida. Corrija esta condição tentando o seguinte:
Não efetue a aeração se o solo for muito duro ou estiver muito seco. Obtém os melhores resultados de arejamento depois de chover ou de regar o relvado no dia anterior.
Mude para uma cabeça de 3 dentes, se estiver a utilizar uma cabeça de 4 dentes, ou reduza o número de dentes por braço. Tente manter uma configuração simétrica das pontas, para colocar corretamente os braços.
Se o solo estiver duro, reduza a penetração do arejador (definição dos dentes), limpe os caroços, regue o relvado e volte a repetir o arejamento com uma penetração mais profunda.
O arejamento do solo assente em subsolos duros (ou seja, solo/areia assente em solo rochoso) pode resultar em furos de má qualidade. Isto ocorre quando a profundidade de arejamento é superior à camada de solo, sendo o subsolo demasiado duro para penetrar. Se as pontas de arejamento entrarem em contacto com um subsolo mais duro, o arejador pode elevar-se e alongar a superfície dos furos. Reduza a profundidade de arejamento o suficiente para os dentes não penetrarem no subsolo duro.
A qualidade dos furos de entrada deterioram-se quando o furo é alargado (puxado para a frente)
Se a qualidade dos furos de entrada estiver a deteriorar-se, verifique a calibragem da altura dos dentes em relação ao solo, consulte a secção Verificação da calibragem da altura dos dentes em relação ao solo.
Devido ao design de fila dupla, a cabeça de perfuração com pequenos dentes necessita que o espaçamento entre os furos seja definido para 6,3 cm. A velocidade é fundamental para manter a aparência do intervalo entre furos de 3,2 cm. Consulte Configuração do espaçamento entre furos se necessitar de alterar ligeiramente o valor do intervalo.
Quer utilize a cabeça de pequenos dentes, quer utilize dentes maiores e mais rígidos, é importante que a relva tenha uma boa estrutura radicular para não rasgar as raízes, o que danificaria a própria relva. Se os dois braços centrais começarem a levantar a relva ou a danificar demasiado as raízes, faça o seguinte:
Aumente o intervalo entre furos
Utilize dentes mais pequenos
Diminua a profundidade dos dentes
Retire alguns dos dentes
A ação de levantar que os dentes sólidos criam quando são puxados da relva pode causar danos na relva. Esta ação pode rasgar as raízes, se a densidade dos dentes ou o respetivo diâmetro for demasiado elevado(a).
Quando fizer o arejamento com dentes sólidos mais longos (ou seja, com comprimento de 3/8 pol. x 4 pol.) ou dentes tipo agulha, a parte da frente dos furos pode ficar com fendas ou com tufos. Para reobter a qualidade dos furos excelente para esta configuração, tente os seguinte:
Calibre a altura dos dentes em relação ao solo; consulte a secção Calibragem da altura dos dentes em relação ao solo.
Reduza a velocidade do motor ao ralenti de 2800 para 2900 rpm.
Note: Como as velocidades da tração e da cabeça de perfuração aumentam e diminuem juntamente com a velocidade do motor, o espaçamento entre furos não é afetado.
Se abrandar a velocidade do motor melhorar a qualidade dos furos para os dentes sólidos mais compridos ou do tipo agulha, ajuste o amortecedor Roto-Link.
Note: Na maioria dos casos, a configuração de fábrica é a melhor.
Se a parte frontal dos furos estiver alargada ou tufada, a configuração do Roto-Link mais rígida ajuda a resistir ao "empurrões dos furos" e a melhorar a qualidade dos furos.
Se a parte traseira dos furos estiver alargada ou tufada, a configuração do Roto-Link mais suave ajuda a melhorar a qualidade dos furos.
Note: Tem de inverter a posição do amortecedor Roto-Link se voltar para dentes estilo perfuração ou qualquer um dos pequenos dentes.
Estacione a máquina numa superfície nivelada, levante totalmente e tranque a barra de ligação para engatar o travão de estacionamento, desligue o motor, retire a chave e espere que todas as peças em movimento parem.
Retire a cobertura da cabeça de perfuração; consulte a secção Remoção da cobertura da cabeça de perfuração.
Prenda a cabeça de perfuração com o trinco de segurança; consulte Sustentar a cabeça de perfuração com o trinco de segurança.
Note: A fábrica posiciona um espaçador Roto-Link no eixo do amortecedor Roto-Link e um espaçador na posição de armazenamento para cada braço.
Note: Ajustar os amortecedores Roto-Link permite-lhe operar a máquina na velocidade máximo (3400 rpm). Contudo, poderá ter de arejar a uma velocidade menor para melhorar a qualidade dos furos.
Remova as 2 porcas de bloqueio flangeadas que prende o eixo do amortecedor Roto-Link à estrutura traseira da máquina (Figura 121).

Remova o espaçador (se armazenado) e as anilhas ovais temperadas).
Rode o elo do amortecedor e o eixo do amortecedor para baixo (Figura 122).

Posicione o espaçador Roto-Link para corrigir as seguintes condições de amontoamento de furos:
Note: Cada espaçador equivale a 12,7 mm (½ pol). O espaçador do para-choques inferior tem de permanecer montado ao eixo do amortecedor.
Se a parte frontal dos furos estiver alargada ou tufada – posicione os espaçadores acima da estrutura traseira, na posição armazenada.
Se a parte de trás dos furos estiver alargada ou tufada – posicione ambos os espaçadores por cima da estrutura traseira, em ambos os lados do eixo do amortecedor Roto-Link.
Rode o elo do amortecedor e o eixo do amortecedor para cima, e insira as camilhas através dos orifícios da estrutura traseira da máquina.
Prenda o eixo e os espaçadores do amortecedor à estrutura traseira com as anilhas ovais temperadas e as porcas de bloqueio (Figura 123).

Aperte as porcas de bloqueio com 47 a 61 N∙m.
Repita os passos 1 a 7 nos 2 braços seguintes.
Armazene o trinco de segurança; consulte a secção Armazenamento do trinco de segurança.
Instale a cobertura da cabeça de perfuração; consulte a secção Instalação da cobertura da cabeça de perfuração.
Efetue o procedimento da calibragem da altura dos dentes em relação ao solo; consulte a secção Calibragem da altura dos dentes em relação ao solo.
Leve a máquina para uma área de teste, e areje a relva para comparar a qualidades dos furos.
Se a qualidade tiver melhorado, repita os passos da secção Preparação da máquina, Ajuste dos amortecedores Roto-Linke Instalação da cobertura da cabeça de perfuração para ajustar o amortecedor Roto-Link nos 3 outros braços.
Estacione a máquina numa superfície nivelada, levante totalmente e tranque a barra de ligação para engatar o travão de estacionamento, desligue o motor, retire a chave e espere que todas as peças em movimento parem.
Baixe ou prenda a cabeça de perfuração com o trinco de segurança quando não estiver a utilizar a máquina.
Mantenha todas as peças da máquina em boas condições de trabalho e as partes corretamente apertadas.
Substitua todos os autocolantes desgastados, danificados ou em falta.
| Intervalo de assistência | Procedimento de manutenção |
|---|---|
| Em todas as utilizações ou diariamente |
|
Important: Não utilize água salobra ou recuperada para limpar a máquina.
Important: Não lave a máquina com sistemas de lavagem de pressão.
Estacione a máquina numa superfície nivelada, levante totalmente e tranque a barra de ligação para engatar o travão de estacionamento, desligue o motor, retire a chave e espere que todas as peças em movimento parem.
Lave cuidadosamente a máquina.
Utilize uma mangueira sem bico para evitar forçar a entrada de água pelos vedantes e contaminar o lubrificante dos rolamentos.
Utilize uma escova para retirar material encrustado.
Utilize um detergente suave para limpar as tampas.
Depois de limpar, aplique um revestimento de cera auto periodicamente para manter o acabamento brilhante da cobertura.
Inspecione a máquina para ver se está danificada, se tem fugas de óleo ou se há desgaste dos componentes e dos dentes.
Retire, limpe e lubrifique as pontas. Pulverize um pouco de óleo nos rolamentos da cabeça de perfuração (manivela e cabos de suspensão).
Important: Prenda a cabeça de perfuração com o trinco de segurança, se armazenar a máquina durante mais do que alguns dias.
Existem aros de amarração localizados nos lados frontais e traseiros da máquina (Figura 124, Figura 125 e Figura 126).
Note: Utilize cintas aprovadas pela DOT para amarrar a máquina; consulte a secção Especificações para consultar o peso da máquina.



Conduzir a máquina na via pública sem sinais de viragem, luzes, sinais refletores ou um símbolo a indicar veículo lento é perigoso e pode provocar acidentes pessoais.
Não utilize a máquina na via pública.
Important: Utilize rampas de largura total para carregar a máquina para um atrelado ou camião.
Carregue a máquina para um atrelado ou camião (cabeça de perfuração para a frente - preferível).
Levante totalmente e tranque a barra de ligação para engatar o travão de estacionamento, desligue o motor, retire a chave e espere que todas as peças em movimento parem.
Prenda a cabeça de perfuração com o trinco de segurança; consulte Sustentar a cabeça de perfuração com o trinco de segurança.
Feche a válvula de corte de combustível; consulte Válvula de bloqueio de combustível.
Nos pontos de amarração, amarre a máquina ao atrelado ou camião com cabos, correntes ou cintas; consulte a secção Pontos de amarração.
| Peso | 745 kg ou 829 kg com dois pesos opcionais |
| Largura | 130 cm no mínimo |
| Comprimento | 267 cm no mínimo |
| Ângulo do declive | Inclinação 3,5/12 (16°) máximo |
| Orientação da carga | Cabeça de perfuração para a frente (preferível) |
| Capacidade de reboque do veículo | Superior ao peso bruto do atrelado (PBA) |
Note: Transfira uma cópia gratuita dos esquemas elétricos ou hidráulicos visitando www.Toro.com e procurando a sua máquina a partir da hiperligação de manuais na página inicial.
Note: Para informações detalhadas sobre os procedimentos de manutenção adicionais, consulte o Manual do utilizador do motor.
Note: Determine os lados direito e esquerdo da máquina a partir da posição normal de utilização.
Estacione a máquina numa superfície nivelada, levante totalmente e tranque a barra de ligação para engatar o travão de estacionamento, desligue o motor, retire a chave e espere que todas as peças em movimento parem. Deixe a máquina arrefecer antes de ajustar, fazer manutenção, limpar ou armazenar.
Execute apenas as instruções de manutenção constantes deste manual. Se a máquina necessita de reparações de vulto ou se alguma vez necessitar de assistência, contacte um distribuidor autorizado da Toro.
Certifique-se de que a máquina se encontra em condições seguras de operação, mantendo as porcas e os parafusos apertados.
Se possível, não faça manutenção com o motor em funcionamento. Mantenha-se longe das peças móveis.
Cuidadosamente, liberte a pressão dos componentes com energia acumulada.
Verifique diariamente os parafusos de fixação dos dentes para assegurar que estes se encontram apertados ao binário especificado.
Certifique-se de que todos os resguardos estão montados e de que o capot está fechado com segurança, depois de efetuar operações de manutenção ou de ajuste da máquina.
| Intervalo de assistência | Procedimento de manutenção |
|---|---|
| Após as pimeiras 8 horas |
|
| Após as pimeiras 50 horas |
|
| Em todas as utilizações ou diariamente |
|
| A cada 25 horas |
|
| A cada 50 horas |
|
| A cada 100 horas |
|
| A cada 200 horas |
|
| A cada 250 horas |
|
| A cada 400 horas |
|
| A cada 500 horas |
|
| Antes do armazenamento |
|
| Anualmente |
|
Important: Para informações detalhadas sobre os procedimentos de manutenção adicionais, consulte o Manual do utilizador do motor.
Copie esta página para uma utilização de rotina.
| Verificações de manutenção | Para a semana de: | ||||||
|---|---|---|---|---|---|---|---|
| 2ª | Ter. | Qua. | Qui. | Sex. | Sáb. | Dom. | |
| Verifique o funcionamento dos interruptores de segurança. | |||||||
| Verifique o funcionamento do travão de estacionamento. | |||||||
| Verifique o nível de óleo do motor. | |||||||
| Verifique o nível de combustível. | |||||||
| Verifique o filtro de ar. | |||||||
| Verifique se o motor tem detritos. | |||||||
| Verifique os ruídos estranhos do motor. | |||||||
| Verifique os ruídos de funcionamento estranhos. | |||||||
| Verificação do fluido hidráulico. | |||||||
| Verifique que os tubos hidráulicos se encontram danificados. | |||||||
| Verifique se há fuga de fluidos. | |||||||
| Verifique o funcionamento do painel de instrumentos. | |||||||
| Verifique o estado dos dentes. | |||||||
| Retoque a pintura danificada. | |||||||
Important: Para informações detalhadas sobre os procedimentos de manutenção adicionais, consulte o Manual do utilizador do motor.
| Inspeção executada por: | ||
| Item | Data | Informação |
| 1 | ||
| 2 | ||
| 3 | ||
| 4 | ||
| 5 | ||
| 6 | ||
| 7 | ||
| 8 | ||
Se deixar a chave na ignição, alguém pode ligar acidentalmente o motor e feri-lo a si ou às pessoas que se encontrarem próximo da máquina.
Estacione a máquina numa superfície nivelada, levante totalmente e tranque a barra de ligação para engatar o travão de estacionamento, desligue o motor, retire a chave e espere que todas as peças em movimento parem.
Important: Os parafusos e porcas das coberturas desta máquina foram concebidos para permanecer na cobertura após remoção. Desaperte algumas voltas todos os parafusos de cada cobertura de forma a que a cobertura fique solta, mas ainda presa e depois desaperte-os até que a cobertura saia completamente. Isto evita que perca acidentalmente os parafusos dos fixadores.
Estacione a máquina numa superfície nivelada.
Levante e tranque totalmente a barra de ligação para engatar o travão de estacionamento; consulte a secção Engate do travão de estacionamento.
Desligue o motor, retire a chave e espere que todas as peças móveis parem antes de abandonar a máquina; consulte a secção Desligação do motor.
Deixe que a máquina arrefeça.
Se a máquina não estiver apoiada corretamente em blocos ou macacos, pode mover-se ou cair e ferir alguém.
Quanto trocar de atrelados, pneus ou efetuar outro tipo de manutenção, utilize os blocos, talhas ou macacos adequados.
Verifique se a máquina está estacionada numa superfície estável e resistente, como um chão de betão.
Antes de levantar a máquina, remova todos os atrelados que possam prejudicar uma elevação segura e correta da máquina.
Coloque calços ou bloqueie sempre as rodas. Utilize macacos ou blocos de madeira resistentes para apoiar a máquina suspensa.
Prepare a máquina para manutenção; consulte Preparação da máquina para manutenção.
Calce os pneus traseiros para evitar que a máquina se mova.
Important: Para evitar danificar o motor da roda, não utilize o motor de roda dianteiro como ponto de elevação.
Posicione bem o macaco debaixo do braço de apoio da roda frontal (Figura 127).

Levante a parte da frente da máquina do chão.
Coloque os apoios ou blocos de madeira resistente por baixo da parte da frente do chassis, para apoiar a máquina.
Prepare a máquina para manutenção; consulte Preparação da máquina para manutenção.
Calce o pneu da frente para evitar que a máquina se mova.
Important: Para evitar danificar o motor da roda, não utilize o motor de roda traseiro como ponto de elevação.
Coloque bem o apoio debaixo da chama do chassis, dentro da roda traseira (Figura 128).

Note: Se disponível, utilize uma talha para levantar a traseira da máquina. Utilize os olhais das caixas de rolamentos da cabeça de perfuração como pontos de ligação da talha (Figura 129).

Levante (ou suspenda) a traseira da máquina do chão.
Coloque os apoios ou blocos de madeira resistente por baixo do chassis para apoiar a máquina.
Alinhe o suporte de montagem da cobertura da correia com o suporte de apoio da cobertura da estrutura da máquina (Figura 133).

Baixe a cobertura da correia (Figura 134).

Baixe totalmente a pega do trinco para prender a cobertura (Figura 135).

Se a tua máquina tiver um cordão de fecho da cobertura da correia CE, enrosque o parafuso do cordão no orifício do trinco da cobertura e aperte o parafuso (Figura 136).


Se a sua máquina tiver trincos CE, desaperte o parafuso da placa de fixação até a placa de fixação libertar a ranhura na lateral da cobertura da cabeça de perfuração (Figura 138).

Rode a placa de fixação para libertar o trinco (Figura 138).
Repita os passos 1 e 2 para o outro lado da cobertura.
Destranque a cobertura da cabeça de perfuração nas 4 localizações (Figura 137 e Figura 139).

Levante a cobertura da cabeça de perfuração da máquina (Figura 140).

Alinhe a cobertura da cabeça de perfuração na máquina, conforme mostrado na Figura 141.

Tranque a cobertura da cabeça de perfuração nas 4 localizações (Figura 142).
Se a sua máquina tiver trincos CE, rode a placa de fixação até alinhá-la com a ranhura na lateral da cobertura da cabeça de perfuração (Figura 143).



Aperte o parafuso da placa de fixação (Figura 143).
Repita os passos 3 e 4 para o outro lado da cobertura.
| Intervalo de assistência | Procedimento de manutenção |
|---|---|
| A cada 500 horas |
|
| Anualmente |
|
A máquina não tem bocais de lubrificação que tenham de ser lubrificados.
Important: Os rolamentos raramente falham devido a defeitos de material ou fabrico. A razão mais frequente das falhas é a humidade e sujidade que penetram na vedação de proteção. Os rolamentos que têm de ser lubrificados precisam de uma manutenção regular para purgar os detritos prejudiciais para fora da zona dos rolamentos. Os rolamentos pré-lubrificados blindados têm uma massa lubrificante especial e uma blindagem integral resistente que impede que a sujidade e a humidade se acumulem nos elementos rolantes.
Os rolamentos pré-lubrificados não requerem lubrificação ou manutenção a curto prazo. Isto minimiza a necessidade de uma assistência de rotina e reduz os danos potenciais da relva provocados pela sujidade na massa lubrificante. Estes rolamentos vedados pré-lubrificados proporcionam um bom desempenho e uma longa duração em condições de utilização normais, mas deve verificar periodicamente as condições dos rolamentos e se a vedação está intacta para evitar os tempos de paragem. Inspecione os rolamentos sazonalmente e substitua-os se estiverem danificados ou gastos. Os rolamentos devem funcionar suavemente sem apresentarem caraterísticas prejudiciais, como sobreaquecimento, ruído, folgas ou ferrugem.
Devido às condições de funcionamento a que estes rolamentos pré-lubrificados vedados estão sujeitos (por exemplo, areia, produtos químicos para relva, água, impactos, etc.), são considerados elementos normais de desgaste. Os rolamentos que falhem devido a fatores que não sejam defeitos de material ou de fabrico não são, normalmente, abrangidos pela garantia.
Note: Pode afetar negativamente o rolamento se utilizar procedimentos de lavagem incorretos. Não lave a máquina enquanto estiver quente e evite sprays de alta pressão ou de grande volume nos rolamentos.
Não é invulgar que os rolamentos novos deitem alguma massa lubrificante para fora dos vedantes numa máquina nova. Esta massa lubrificante que sai fica preta devido à acumulação de resíduos e não ao calor excessivo. É aconselhável limpar esta massa em excesso dos vedantes passadas as primeiras 8 horas. Pode parecer que há sempre uma área molhada em volta do rebordo vedante. Isto não prejudica a vida do rolamento e mantém o rebordo vedante lubrificado.
Desligue o motor antes de verificar ou adicionar óleo no cárter.
Não altere os valores do regulador nem acelere o motor excessivamente.
| Intervalo de assistência | Procedimento de manutenção |
|---|---|
| A cada 25 horas |
|
| A cada 100 horas |
|
Prepare a máquina para manutenção; consulte a secção Preparação da máquina para manutenção.
Para evitar qualquer dano, limpe à volta do filtro de ar para impedir a entrada de impurezas para o interior do motor.
Desaperte o botão e retire a cobertura do filtro de ar (Figura 144).

Faça deslizar cuidadosamente o filtro prévio de esponja do elemento de papel (Figura 144).
Desaperte a porca da cobertura e retire a cobertura, o espaçador e o filtro de papel (Figura 144).
Important: Substitua o filtro de esponja se estiver rasgado ou usado.
Lave o filtro prévio de esponja com sabão líquido e água morna. Quando limpar, passe bem por água.
Seque o filtro prévio apertando-o dentro de um pano limpo (sem torcer).
Coloque 3 a 6 cl de óleo no filtro prévio (Figura 145).

Aperte o filtro prévio para distribuir o óleo.
Verifique se o filtro de papel tem rasgões, película de óleo ou o vedante de borracha danificado (Figura 146).

Important: Nunca limpe o filtro de papel. Substitua o filtro de papel se estiver sujo ou danificado.
Important: Para não danificar o motor, só deve ligar o motor quando toda a estrutura de filtragem estiver montada.
Faça deslizar cuidadosamente o filtro prévio de esponja para o filtro de papel (Figura 147).

Coloque o conjunto do filtro do ar na base do filtro do ar.
Monte a cobertura, o espaçador e a porca da cobertura.
Aperte as porcas com 11 N·m.
Instale a cobertura do filtro de ar e fixe-a com o botão.
Tipo de óleo: óleo detergente do motor de elevada qualidade (API, SJ ou superior)
Viscosidade do óleo: consulte a tabela seguinte:

| Intervalo de assistência | Procedimento de manutenção |
|---|---|
| Em todas as utilizações ou diariamente |
|
O motor já é enviado com óleo no cárter; no entanto, verifique o nível de óleo antes e depois de ligar o motor pela primeira vez.
Utilize óleo de motor de alta qualidade, conforme descrito em Especificação do óleo do motor.
Important: Não encha demasiado o cárter com óleo.Não ligue o motor com o nível de óleo abaixo da marca mínima.
Note: A melhor altura para verificar o nível de óleo do motor será quando o motor estiver frio antes do dia de trabalho começar. Se já tiver funcionado, espere 10 minutos até o óleo voltar para o reservatório e verifique depois.
Prepare a máquina para manutenção; consulte a secção Preparação da máquina para manutenção.
Deixe arrefecer o motor.
Limpe à volta da tampa de enchimento de óleo e a vareta (Figura 149).

Retire a vareta, limpe-a e volte a colocá-la até ser completamente introduzida.
Retire a vareta e verifique o nível de óleo.
O nível de óleo do motor deve estar entre as marcas “F” (cheio) e “L” (baixo) na vareta.
Se o nível de óleo se encontrar abaixo da marca “L” (baixo) da vareta, retire a tampa de enchimento do óleo e adicione o óleo especificado até que o nível atinja a marca “F” (cheio).
Instale a tampa de enchimento e a vareta.
| Intervalo de assistência | Procedimento de manutenção |
|---|---|
| Após as pimeiras 50 horas |
|
| A cada 100 horas |
|
Capacidade do cárter: aproximadamente 1,9 l com o filtro.
Ligue o motor e deixe-o a funcionar durante cinco minutos. Desta forma, o óleo aquece e flui melhor.
Estacione a máquina de forma a que o lado de drenagem fique ligeiramente abaixo ao lado oposto para assegurar que o óleo é completamente drenado, desligue o motor, levante totalmente e tranque a barra de ligação para engatar o travão de estacionamento e retire a chave da ignição.
Coloque um recipiente por baixo do tampão de escoamento do óleo, e remova o tampão (Figura 150).
Note: Permita que o óleo drene completamente.

Enrosque o tampão de escoamento do óleo no motor, e aperte o tampão.
Note: O óleo usado deve ser descartado num centro de reciclagem certificado.
Coloque um recipiente raso debaixo do filtro e retire o filtro (Figura 150).
Note: Elimine o filtro de óleo usado num centro de reciclagem certificado.
Limpe a superfície do adaptador do filtro.
Encha o novo filtro de óleo até ao fundo da rosca com o óleo especificado.
Permita que o filtro absorva o óleo durante 2 minutos, depois remova o excesso de óleo.
Aplique uma fina camada de óleo na junta do filtro.
Enrosque o filtro no adaptador do filtro até que a junta entre em contacto com o adaptador do filtro (Figura 150), e depois aperte o filtro com ½ volta.

Limpe a zona à volta da tampa de enchimento de óleo e a vareta (Figura 152).

Retire a tampa de enchimento e coloque lentamente cerca de 80% da quantidade de óleo especificada através da cobertura da válvula.
Adicione lentamente óleo suficiente para elevar o nível de óleo até à marca F (cheio) da vareta; consulte as secções Especificação do óleo do motor e Verificação do nível de óleo do motor.
Important: Não encha demasiado o cárter com óleo.
Instale a tampa de enchimento e a vareta.
| Intervalo de assistência | Procedimento de manutenção |
|---|---|
| A cada 200 horas |
|
Prepare a máquina para manutenção; consulte a secção Preparação da máquina para manutenção.
Puxe os cabos das velas (Figura 153).

Limpe em torno das velas.
Utilize uma chave para velas de ignição para remover ambas as vela de ignição e as juntas de metal.
Tipo de vela de ignição: Champion RC12YC ou equivalente
Folga: 0,75 mm
Veja a parte central de ambas as velas de ignição (Figura 154). Se verificar uma cobertura castanha ou cinzenta no isolante, o motor está a funcionar corretamente. Uma cobertura preta no isolante indica que o filtro de ar está sujo.
Important: Nunca limpe as velas. Substitua sempre as velas que tiverem uma cobertura preta, os elétrodos gastos, uma película de óleo ou apresentarem fissuras.

Verifique a folta entre os elétrodos centrais e laterais.
Dobre o elétrodo lateral se a folga não estiver correta.
Antes de montar cada vela de ignição, certifique-se de que foi aplicada a folga correta entre os elétrodos central e lateral. Utilize uma chave de velas para retirar e montar as velas de ignição e um calibre de lâminas para verificar e ajustar as folgas. Instale novas velas de ignição, se necessário.
Enrosque as velas de ignição nos orifícios das velas de ignição do motor.
Utilize uma chave para velas de ignição e aperte as velas com 27 N∙m.
Monte os fios das velas da ignição nas velas (Figura 155).

| Intervalo de assistência | Procedimento de manutenção |
|---|---|
| Em todas as utilizações ou diariamente |
|
Antes de cada utilização, verifique e limpe o painel do motor. Remova qualquer acumulação de relva, sujidade e outros detritos do painel de admissão de ar do motor.
Em determinadas condições, o combustível e respetivos gases podem tornar-se altamente inflamáveis e explosivos. Um incêndio ou explosão de combustível poderá provocar queimaduras e danos materiais.
Encha o depósito de combustível no exterior, num espaço aberto, quando o motor estiver desligado e frio. Limpe todo o combustível derramado.
Não encha completamente o depósito de combustível. Adicione combustível ao depósito de combustível até que o nível se encontre 2,5 cm abaixo do topo do depósito e não do tubo de enchimento. Este espaço no depósito permite a expansão do combustível.
Nunca fume quando estiver a manusear combustível e mantenha-se afastado do fogo ou faíscas que possam inflamar os vapores de combustível.
Guarde o combustível num recipiente limpo e seguro e mantenha-o sempre bem fechado.
| Intervalo de assistência | Procedimento de manutenção |
|---|---|
| A cada 100 horas |
|
Important: Nunca instale um filtro sujo, se for retirado do tubo de combustível.
Prepare a máquina para manutenção; consulte a secção Preparação da máquina para manutenção.
Feche a válvula de corte de combustível (Figura 156).


Aperte as pontas das braçadeiras de tubos juntas e afaste-as do filtro.
Retire o filtro dos tubos de combustível.
Alinhe o filtro de combustível com a seta que aponta para o motor, e monte o tubo de combustível por cima das uniões do filtro.
Posicione as braçadeiras de tubos junto do filtro de combustível, e aperte a braçadeira.
Remova todo o combustível derramado.
Abra a válvula de corte de combustível.
Em determinadas circunstâncias, o combustível é extremamente inflamável e explosivo. Um incêndio ou explosão provocado(a) por combustível pode resultar em queimaduras e danos materiais.
Retire o combustível do depósito de combustível quando o motor estiver frio. Faça-o ao ar livre e num espaço aberto. Limpe todo o combustível derramado.
Nunca fume quando estiver a drenar combustível e mantenha-se afastado do fogo ou faíscas que possam inflamar os vapores de combustível.
Prepare a máquina para manutenção; consulte a secção Preparação da máquina para manutenção.
Feche a válvula de corte de combustível (Figura 157).


Desaperte a braçadeira de tubos no filtro de combustível e deslize-o para cima do tubo de combustível, afastando-o do filtro.
Puxe o tubo do combustível do filtro do combustível.
Abra a válvula de corte do combustível e deixe o combustível escoar para um recipiente de combustível ou um recipiente de escoamento.
Note: Como o depósito está vazio, esta é a melhor altura para instalar um filtro de combustível novo.
Monte o tubo de combustível por cima da união do filtro.
Posicione a braçadeira de tubos junto do filtro de combustível, e aperte a braçadeira.
Desligue a bateria antes de reparar a máquina. Desligue o terminal negativo em primeiro lugar e o terminal positivo no final. Ligue o positivo em primeiro lugar e o terminal negativo no final.
Carregue a bateria num espaço aberto e bem ventilado, longe de faíscas e chamas. Retire a ficha do carregador da tomada antes de o ligar ou desligar da bateria.
Utilize roupas adequadas e ferramentas com isolamento.
| Intervalo de assistência | Procedimento de manutenção |
|---|---|
| Anualmente |
|
Mantenha limpa a zona superior da bateria.
Destranque e abra a porta do compartimento da bateria (Figura 158).

Limpe a zona superior da bateria com uma escova molhada em amónia ou numa solução de bicarbonato de sódio.
Important: Não retire as tampas de enchimento durante a limpeza.
Limpe bem a superfície da bateria e o compartimento da bateria com água limpa.
Feche e tranque a porta do compartimento da bateria.
| Intervalo de assistência | Procedimento de manutenção |
|---|---|
| Anualmente |
|
Os terminais da bateria e as ferramentas de metal podem provocar curto-circuitos com outros componentes da máquina, produzindo faíscas. As faíscas podem provocar uma explosão dos gases da bateria, resultando em acidentes pessoais.
Quando retirar ou montar a bateria, não toque com os terminais da bateria noutras peças metálicas do veículo.
Deverá evitar quaisquer curto-circuitos entre os terminais da bateria e as peças metálicas do veículo.
A ligação incorreta dos cabos da bateria poderá danificar o veículo e os cabos, produzindo faíscas. As faíscas podem provocar uma explosão dos gases da bateria, resultando em acidentes pessoais.
Desligue sempre o cabo negativo (preto) antes de desligar o cabo positivo (vermelho).
Ligue sempre o cabo positivo (vermelho) antes de ligar o cabo negativo (preto).
Destranque e abra a porta do compartimento da bateria (Figura 159).

Verifique se os grampos dos cabos da bateria estão bem presos.
Aperte as fixações dos grampos dos cabos da bateria que estejam soltas.
Verifique os grampos dos cabos da bateria e terminais da bateria em termos de corrosão.
Se os terminais estiverem corroídos, retire o cabo negativo da bateria.
Retire o cabo positivo da bateria.
Limpe os grampos dos cabos e os terminais da bateria.
Ligue o cabo positivo da bateria.
Ligue o cabo negativo da bateria.
Cubra os terminais do cabo e os bornes da bateria com lubrificante Grafo 112X (peça Toro n.º 505-47).
Feche e tranque a porta do compartimento da bateria.
O sistema elétrico está protegido por fusíveis. Se um fusível abrir, verifique o componente e os fios para um curto-circuito à terra.
Destranque e abra a porta do compartimento da bateria (Figura 160).

Retire a cobertura da caixa de fusíveis (Figura 161).
Note: O fusível da ventoinha está alinhado por trás da bateria (Figura 162).


Retire o fusível aberto.
Instale um novo fusível com a amperagem indicada no autocolante do bloco de fusíveis.
Monte a cobertura no bloco de fusíveis (ou no fusível da ventoinha alinhado).
Feche e tranque a porta do compartimento da bateria.
| Intervalo de assistência | Procedimento de manutenção |
|---|---|
| A cada 50 horas |
|
Prepare a máquina para manutenção; consulte a secção Preparação da máquina para manutenção.
Verifique que a pressão de ar nos pneus é de 0,83 bar. Verifique os pneus quando estiverem frios, para obter uma leitura exata da pressão.
Important: Se a pressão não for idêntica em todos os pneus, a profundidade dos furos pode ser irregular.

O peso da roda é muito pesado, 33 kg.
Tenha cuidado quando a retirar do conjunto do pneu.
| Intervalo de assistência | Procedimento de manutenção |
|---|---|
| Anualmente |
|
As correias da transmissão da máquina são resistentes. No entanto, a exposição normal aos raios UV, o ozono ou a exposição acidental a químicos pode deteriorar, com o tempo, a borracha e provocar o desgaste prematuro ou a perda de material (folhas da correia separadas ou em falta).
Retire a cobertura da correia; consulte Retirar a cobertura da correia.
Inspecione as correias da bomba hidráulica, do contraeixo e da cambota (Figura 164) enquanto a danos, desgaste, fissuras ou grandes detritos.
Note: Substitua a(s) correia(s) conforme necessário.

Instale a cobertura da correia; consulte Instalação da cobertura da correia.
| Intervalo de assistência | Procedimento de manutenção |
|---|---|
| Após as pimeiras 8 horas |
|
Prepare a máquina para manutenção; consulte a secção Preparação da máquina para manutenção.
Retire a cobertura da correia; consulte Retirar a cobertura da correia.
Desaperte o parafuso de cabeça flangeada e a porca de bloqueio flangeada que prendem a polia da correia da bomba hidráulica, até que o parafuso se desloque para a ranhura do suporte da polia (Figura 165)


Bata no topo da polia intermédia e deixe que a respetiva mola tensora ajuste a tensão da correia.
Important: Não aplique mais tensão na correia do que a aplicada pela mola tensora, uma vez que pode danificar os componentes.
Aperte o parafuso de cabeça flangeada e a porca de bloqueio flangeada com 37 a 45 N∙m.
Instale a cobertura da correia; consulte Instalação da cobertura da correia.
Em caso de penetração do fluido na pele, consulte imediatamente um médico. O fluido injetado tem de ser cirurgicamente retirado por um médico no prazo de algumas horas.
Certifique-se de que todos os tubos e tubos hidráulicos se encontram bem apertados e em bom estado de conservação antes de colocar o sistema sob pressão.
Mantenha o seu corpo e mãos longe de fugas ou bicos que projetem fluido hidráulico sob pressão.
Utilize um pedaço de cartão ou papel para encontrar fugas do fluido hidráulico.
Elimine com segurança toda a pressão do sistema hidráulico antes de executar qualquer procedimento neste sistema.
Apoie a cabeça de perfuração com o trinco de segurança; consulte a secção Sustentar a cabeça de perfuração com o trinco de segurança.
Desligue o motor.
Mova o interruptor da ignição para a posição RUN.
No InfoCenter, navegue até ao MENU PRINCIPAL.
Prima o botão para baixo até a opção MANUTENçãO estar selecionada, depois prima o botão de seleção (Figura 166).

Note: A cabeça de perfuração baixa até ficar totalmente apoiada pelo trinco de segurança.
Prima o botão para baixo até a opção SERVICE LOWER estar selecionada, depois prima o botão de seleção (Figura 167).

Rode a chave para a posição STOP.
Note: Ligue o motor e deixe-o a trabalhar para levantar a cabeça de perfuração hidraulicamente, de forma a que possa armazenar o trinco de segurança; consulte a secção Armazenamento do trinco de segurança.
| Intervalo de assistência | Procedimento de manutenção |
|---|---|
| Em todas as utilizações ou diariamente |
|
Antes de cada utilização, verifique os tubos e as mangueiras do sistema hidráulico, prestando especial atenção a fugas, suportes soltos, tubos dobrados, juntas soltas, desgaste e danos provocados pelas condições atmosféricas ou por agentes químicos. Substitua tubos hidráulicos danificados ou gastos antes de utilizar a máquina.
Note: Mantenha as áreas em torno do sistema hidráulico sem acumulação de detritos.
O reservatório é enchido na fábrica com fluido hidráulico de grande qualidade. Verifique o nível de fluido hidráulico antes de ligar o motor pela primeira vez e diariamente a partir daí; consulte a Verificação do nível de óleo do motor.
Fluido hidráulico recomendado: Fluido hidráulico Toro PX Extended Life (disponível em recipientes de 19 litros ou tambores de 208 litros).
Note: Uma máquina que utilize o fluido de substituição recomendado requer substituições de fluido e filtro menos frequentes.
Fluidos hidráulicos alternativos: Se o Fluido hidráulico Toro PX Extended Life não estiver disponível, pode utilizar outros fluidos hidráulicos convencionais à base de petróleo, desde que as respetivas especificações cumpram os intervalos indicados de todas as propriedades seguintes dos materiais e que cumpram as normas industriais. Não utilize fluido sintético. Consulte o seu distribuidor de lubrificantes para identificar um produto satisfatório.
Note: A Toro não assume a responsabilidade por danos causados devido ao uso de substitutos inadequados, pelo que recomendamos a utilização exclusiva de produtos de fabricantes com boa reputação no mercado.
| Propriedades do material: | ||
| Viscosidade, ASTM D445 | cSt a 40°C 44 a 48 | |
| Índice de viscosidade ASTM D2270 | 140 ou superior | |
| Ponto de escoamento, ASTM D97 | -37°C a -45°C | |
| Especificações industriais: | Eaton Vickers 694 (I-286-S, M-2950-S/35VQ25 ou M-2952-S) | |
Note: A maioria dos fluidos são incolores, o que dificulta a deteção de fugas. Encontra-se à sua disposição um aditivo vermelho para o fluido hidráulico, em recipientes de 20 ml. Um recipiente é suficiente para 15 a 22 litros de fluido hidráulico. Poderá encomendar a peça N.º 44-2500 ao seu distribuidor Toro.
Important: Fluido hidráulico biodegradável sintético Toro Premium é o único fluido biodegradável sintético aprovado pela Toro. Este fluido é compatível com os elastómeros utilizados nos sistemas hidráulicos da Toro e é adequado a uma vasta gama de condições térmicas. Este fluido é compatível com óleos minerais convencionais, mas para um desempenho e biodegradabilidade máximos deve remover totalmente o fluido convencional do sistema hidráulico. O óleo está disponível em recipientes de 19 litros ou tambores de 208 litros junto do seu distribuidor autorizado Toro.
| Intervalo de assistência | Procedimento de manutenção |
|---|---|
| Em todas as utilizações ou diariamente |
|
Important: Com a sua cabeça de perfuração na posição levantada, verifique o nível de fluido hidráulico antes de ligar o motor pela primeira vez e, após isso, verifique diariamente.
O reservatório hidráulico vem cheio de fábrica com fluido hidráulico de elevada qualidade.
Prepare a máquina para manutenção; consulte a secção Preparação da máquina para manutenção.
Retire a cobertura da correia; consulte Retirar a cobertura da correia.
Limpe a zona em redor do tubo de enchimento e da tampa do depósito hidráulico (Figura 168). Retire a tampa do tubo de enchimento.

Retire a vareta do tubo de enchimento e limpe-a com um pano limpo. Introduza a vareta no tubo de enchimento, retire-a e verifique o nível do fluido. O nível de fluido deverá encontrar-se entre as marcas da vareta (Figura 169).

Se o nível estiver baixo, junte o fluido hidráulico especificado para o nível subir até à marca Cheio.
Volte a colocar a tampa e a vareta no tubo de enchimento.
Instale a cobertura da correia; consulte Instalação da cobertura da correia.
| Intervalo de assistência | Procedimento de manutenção |
|---|---|
| A cada 200 horas |
|
| A cada 400 horas |
|
Capacidade do reservatório hidráulico: aproximadamente 6,6l.
Important: Não substitua o filtro de óleo da máquina, pois pode danificar gravemente o sistema hidráulico.
Note: Retirar o filtro de retorno drena todo o reservatório do fluido.
Prepare a máquina para manutenção; consulte a secção Preparação da máquina para manutenção.
Coloque um recipiente de escoamento debaixo dos filtros, retire os filtros velhos e limpe a superfície da junta do adaptador do filtro (Figura 170).

Aplique uma fina camada de fluido hidráulico limpo na junta de borracha dos filtros de substituição.
Coloque o filtro hidráulico nos adaptadores do filtro. Rode cada filtro no sentido dos ponteiros do relógio até que a junta toque no adaptador de cada filtro e, em seguida, aperte o filtro mais 1/2 volta.
Adicione o fluido hidráulico especificado até o nível do fluido se encontrar na marca Cheio na vareta; consulte as secções Especificações do fluido hidráulico e Verificação do nível de fluido hidráulico.
Ligue o motor e deixe-o funcionar durante dois minutos para eliminar o ar do sistema. Desligue o motor, retire a chave e verifique se há fugas hidráulicas.
Verifique o nível do fluido hidráulico. Adicione o fluido hidráulico especificado para o nível subir até à marca FULL (cheio) da vareta, se necessário.
Note: Não encha demasiado o reservatório hidráulico com fluido.
Instale a cobertura da correia; consulte Instalação da cobertura da correia.
| Intervalo de assistência | Procedimento de manutenção |
|---|---|
| Após as pimeiras 8 horas |
|
| A cada 250 horas |
|
Prepare a máquina para manutenção; consulte a secção Preparação da máquina para manutenção.
Retire a cobertura da cabeça de perfuração; consulte a secção Remoção da cobertura da cabeça de perfuração.
Verifique as fixações da cabeça de perfuração, as fixações do manípulo do escarificador e as porcas de roda para assegurar um aperto adequado. Os requisitos de aperto dos fixadores estão listados no autocolante de aperto de parafusos localizado no canal de apoio da cabeça de perfuração (Figura 171).

Instale a cobertura da cabeça de perfuração; consulte a secção Instalação da cobertura da cabeça de perfuração.
Prepare a máquina para manutenção; consulte a secção Preparação da máquina para manutenção.
Desaperte os parafusos e porcas de bloqueio flangeadas que prendem o resguardo lateral à estrutura da cabeça de perfuração (Figura 172).

Ajuste o resguardo para cima ou para baixo até medir 25 a 38 mm entre o resguardo e o solo.
Aperte os parafusos e as porcas de bloqueio flangeadas.
Repita os passos 2 a 4 no outro lado da máquina.
Substitua os protetores quebrados ou gastos com menos de 6 mm de espessura. Os protetores de relva quebrados podem prender e rasgar a relva, provocando danos.

As marcas de tempo da cabeça de perfuração são facilmente identificáveis pelas marcas das 3 caixas de rolamentos.

Antes de sair da posição de operador, faça o seguinte:
Estacione a máquina numa superfície nivelada.
Levante e tranque totalmente a barra de ligação para engatar o travão de estacionamento.
Desligue o motor e retire a chave (se equipada).
Aguarde que todo o movimento pare.
Deixe a máquina arrefecer antes de ajustar, fazer manutenção, limpar ou armazenar.
Não guarde a máquina ou o recipiente de combustível onde uma fonte de fogo, faísca ou luz piloto, como junto de uma caldeira ou outros eletrodomésticos.
O carregamento da bateria gera gases que podem provocar explosões.
Nunca fume perto da bateria e mantenha-a afastada de faíscas e chamas.
Prepare a máquina para manutenção; consulte a secção Preparação da máquina para manutenção.
Desligue o fio da vela.
Retire relva, sujidade e fuligem das partes exteriores da máquina, especialmente do motor e do sistema hidráulico. Limpe a sujidade de toda a máquina, incluindo a parte exterior das aletas da cabeça do cilindro e o revestimento da turbina.
Efetue a manutenção do filtro de ar; consulte Manutenção do filtro de ar.
Substitua o óleo do motor; consulte Substituição do óleo e do filtro do motor.
Substitua os filtros e fluido hidráulico; consulte Substituição do óleo e dos filtros hidráulicos.
Verifique a pressão dos pneus; consulte Verificação da pressão dos pneus.
Verifique o estado dos dentes.
Se armazenar a máquina durante uma estação, efetue os passos em Armazenamento da máquina por períodos inferiores a 30 dias e o seguinte:
Verifique e aperte todos os pernos, porcas e parafusos. Repare ou substitua qualquer peça danificada ou gasta.
Lave e seque toda a máquina. Retire os dentes e limpe-os e lubrifique-os. Pulverize um pouco de óleo nos rolamentos da cabeça de perfuração (manivela e cabos de suspensão).
Important: Pode lavar a máquina com água e um detergente suave. Não lave a máquina com sistemas de lavagem de pressão. Evite a utilização excessiva de água, especialmente próximo da zona do painel de controlo, bombas e motores.
Note: Coloque a máquina a funcionar com o motor ao ralenti alto durante 2 a 5 minutos após a lavagem.
Pinte todas as superfícies de metal arranhadas ou descascadas. O serviço de pintura está disponível no seu distribuidor autorizado Toro.
Fixe o trinco de segurança quando quiser guardar a máquina por mais de dois dias.
Guarde a máquina numa garagem ou armazém limpo e seco. Retire a chave da ignição e guarde-a fora do alcance das crianças ou de utilizadores não autorizados.
Tape a máquina para a proteger e mantê-la limpa.
Adicione ao depósito um estabilizador/condicionador de combustível com base de petróleo. Siga as instruções de mistura do fabricante do estabilizador. Não utilize um estabilizador com base de álcool (etanol ou metanol).
Note: O estabilizador/condicionador de combustível é mais eficaz quando é misturado com combustível novo e é sempre utilizado.
Important: Não guarde combustível que contenha estabilizador/condicionador durante mais tempo do que o indicado pelo fabricante do estabilizador de combustível.
Ligue o motor para distribuir o combustível condicionado pelo sistema de combustível durante 5 minutos.
Desligue o motor, deixe-o arrefecer e, em seguida, drene o depósito de combustível; consulte Esvaziamento do depósito de combustível.
Ligue o motor e deixe-o trabalhar até parar.
Afogue o motor. Ligue o motor e deixe-o trabalhar até não ligar.
Retire as velas e verifique o seu estado; consulte Manutenção das velas incandescentes. Depois de retirar as velas de ignição do motor, coloque duas colheres de óleo nos orifícios das velas. Utilize o motor de arranque para fazer trabalhar o motor e distribuir o óleo pelo interior do cilindro. Coloque as velas. Não coloque os cabos nas velas de ignição.
Note: Elimine devidamente o combustível; recicle-o em conformidade com os códigos locais.
Retire os terminais da bateria dos pólos da bateria e retire a bateria da máquina.
Limpe bateria, terminais e pólos com uma escova de arame e uma solução de bicarbonato de sódio.
Cubra os terminais do cabo e os pólos da bateria com lubrificante Grafo 112X (peça Toro n.º 505-47) ou vaselina para evitar qualquer corrosão.
Carregue a bateria lentamente durante 24 horas, de 2 em 2 meses, para evitar a sulfatização do chumbo da bateria. Para evitar que a bateria congele, certifique-se de que esta se encontra completamente carregada. A gravidade específica de uma bateria totalmente carregada é de 1.265 a 1.299.
Guarde a bateria num local seguro ou na própria máquina. Se optar por guardá-la na máquina, não ligue os cabos. Guarde-a num local fresco para evitar que a carga se deteriore mais rapidamente.
| Problem | Possible Cause | Corrective Action |
|---|---|---|
| O arranque elétrico não dá sinal. |
|
|
| O motor não arranca, o arranque é difícil ou não fica a trabalhar. |
|
|
| O motor perde potência. |
|
|
| Sobreaquecimento do motor. |
|
|
| Há vibração anormal. |
|
|
| A máquina não anda. |
|
|
| A cabeça de perfuração não funciona. |
|
|
| A cabeça oscila durante o arejamento. |
|
|
| A relva aglomera-se/é arrancada à entrada. |
|
|
| Existe aglomeração no orifício com pontas de ejeção lateral. |
|
|
| A relva é levantada/arrancada durante o arejamento. |
|
|
| A parte da frente do furo fica ondulada ou é empurrada. |
|
|