Wartung
Prüfen des Sicherheitsgurtes
| Wartungsintervall | Wartungsmaßnahmen |
|---|---|
| Bei jeder Verwendung oder täglich |
|
Prüfen Sie den Sicherheitsgurt auf Zeichen von Abnutzung und Risse und prüfen Sie auch den Rücklauf und die Schnalle. Ersetzen Sie einen beschädigten Sicherheitsgurt.
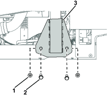
Prüfen des Überrollschutzes (ROPS)
| Wartungsintervall | Wartungsmaßnahmen |
|---|---|
| Bei jeder Verwendung oder täglich |
|
Prüfen Sie den Überrollschutz visuell auf lose oder fehlende Befestigungselemente oder andere mögliche Probleme. Ziehen Sie die Befestigungselemente an oder beheben Sie das Problem vor dem Betrieb.














