Underhåll
Kontrollera säkerhetsbältet
| Underhållsintervall | Underhållsförfarande |
|---|---|
| Varje användning eller dagligen |
|
Se över säkerhetsbältet för att se om det är slitet eller trasigt och för att kontrollera att enheten och spännet fungerar som de ska. Byt ut säkerhetsbältet om det är skadat.
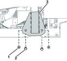
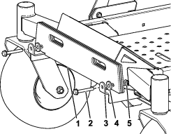
Kontrollera vältskyddet
| Underhållsintervall | Underhållsförfarande |
|---|---|
| Varje användning eller dagligen |
|
Gör en visuell inspektion av vältskydden för att se om det finns några lösa fästelement eller andra eventuella problem. Dra åt fästelementet eller åtgärda problemet innan du påbörjar arbetet.














