Техническое обслуживание
Проверка ремня безопасности
| Периодичность технического обслуживания | Порядок технического обслуживания |
|---|---|
| Перед каждым использованием или ежедневно |
|
Проверьте ремень безопасности на отсутствие износа и порезов, а также правильность работы устройства выдвижения и пряжки. Замените ремень безопасности в случае его повреждения.
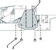
Проверка системы защиты при опрокидывании (ROPS)
| Периодичность технического обслуживания | Порядок технического обслуживания |
|---|---|
| Перед каждым использованием или ежедневно |
|
Произведите внешний осмотр системы ROPS на наличие ослабленных крепежных деталей или других возможных неисправностей. Затяните крепежные детали или устраните неисправность до начала работы.














