Manutenção
Verificação do cinto de segurança
| Intervalo de assistência | Procedimento de manutenção |
|---|---|
| Em todas as utilizações ou diariamente |
|
Inspecione o cinto de segurança para verificar qualquer desgaste, cortes e funcionamento adequado do retrator e da fivela. Substitua o cinto de segurança se estiver danificado.
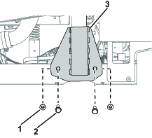
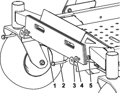
Verificação do sistema de proteção anticapotamento (ROPS)
| Intervalo de assistência | Procedimento de manutenção |
|---|---|
| Em todas as utilizações ou diariamente |
|
Inspecione visualmente o ROPS para detetar ferragens soltas ou qualquer outro possível problema. Aperte as ferragens ou corrija o problema antes de operar a máquina.














