Kit racleur

Trancheuses

Autocollants

 
CALIFORNIE
 
Proposition 65
 
L'utilisation de ce produit peut entraîner l'exposition à des substances chimiques considérées par l'état de Californie comme susceptibles de provoquer des cancers, des malformations congénitales et autres troubles de la reproduction.
 
Attention
Le racleur coulisse dans son cadre et peut causer de graves blessures ou vous sectionner les doigts.
N'approchez pas les mains des pièces mobiles et portez des gants de cuir pour manipuler le racleur.
 
Attention
Les pièces mobiles peuvent causer des blessures.
  • N'approchez jamais les mains, les doigts ou les vêtements des pièces mobiles.
  • N'essayez jamais de manipuler l'accessoire quand le moteur tourne.
 

Autocollants de sécurité et d'instruction

Image
Des autocollants de sécurité et des instructions bien visibles par l'opérateur sont placés près de tous les endroits potentiellement dangereux. Remplacez tout autocollant endommagé ou manquant.
Autocollant : 115-1497
Graphic
s_decal115-1497
  1.  Risque d'écrasement des mains ou des pieds n'autorisez personne à s'approcher de la machine; ne vous approchez pas des pièces mobiles.
Autocollant : 133-8061
Graphic
s_decal133-8061

Installation

Montage de la lame profileuse

  1. Garez la machine sur une surface plane et horizontale, serrez le frein de stationnement et abaissez le flèche.
  2. Coupez le moteur et retirez la clé.
  3. Si la rallonge de la barre de sécurité est montée, déposez-la du longeron de sécurité.
    Rallonge de barre de sécurité pour flèche de 91 cm (3 pi) représentée.
    Graphic
    G569916s
    1.  Boulon (½ po x 3 po) (2)
    2.  Écrou (½ po) (2)
    3.  Rallonge de la barre de sécurité
  4. Si nécessaire, montez la barre d'extension de la lame profileuse (fournie avec la flèche) par dessus l'extrémité du longeron de sécurité et fixez-la en place à l'aide des 2 boulons et contre-écrous.
    Remarque : Avec certaines configurations de flèche et chaîne, une extension peut être nécessaire pour le longeron de sécurité afin que la lame profileuse ne touche pas la chaîne ou les dents d'excavation. Pour plus de renseignements, contactez votre dépositaire-réparateur agréé.
    Barre d'extension de lame profileuse pour flèche de 91 cm (3 pi) représentée.
    Graphic
    G244620s
    1.  Boulon (½ po x 3 po) (2)
    2.  Écrou (½ po) (2)
    3.  Barre d'extension de lame profileuse
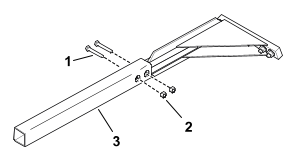
  5. Montez la lame profileuse sur le longeron de sécurité ou la rallonge la lame profileuse, et fixez-la en place à l'aide de 2 boulons et contre-écrous.
    Graphic
    G572859
    1.  Lame profileuse
    2.  Boulon
    3.  Longeron de sécurité de la trancheuse
    4.  Contre-écrou

Utilisation

Transport du racleur

Avant de transporter la trancheuse équipée du racleur, procédez comme suit :
  1. Garez la machine sur une surface plane et horizontale, serrez le frein de stationnement et abaissez le flèche.
  2. Coupez le moteur et retirez la clé.
  3. Retirez la goupille à anneau et l'axe de chape qui sont rangés dans la barre du racleur.
    Graphic
    G572858
    1.  Axe de chape
    2.  Coulisse de racleur
    3.  Goupille à anneau
    4.  Ranger l'axe de chape et la goupille à anneau ici quand ils ne servent pas
  4. Faites coulisser le racleur aussi loin que possible en arrière.
  5. Insérez l'axe de chape dans la coulisse du racleur et la barre, et fixez-le en place avec la goupille à anneau.

Remplacement de la lame racleuse

La lame racleuse qui est montée sur le racleur doit correspondre à la largeur de la chaîne de la trancheuse.
  1. Retirez les 2 boulons et les 2 écrous de fixation de la lame racleuse existante, et montez la nouvelle lame à sa place.
    Remarque : Les lames racleuses sont légèrement plus étroites que les chaînes avec lesquelles elles doivent être associées. Par exemple, la lame racleuse de 15 cm (6 po) mesure en fait 14 cm (5½ po) de largeur, mais elle est prévue pour une chaîne de trancheuse de 15 cm (6 po).
    Graphic
    G382820s
    1.  Contre-écrou
    2.  Coulisse de racleur
    3.  Lame racleuse
    4.  Boulon