Kit de rascador
Zanjadoras
Instrucciones de instalación
Seguridad
Pegatinas de seguridad e instrucciones
 |
Las calcomanías de seguridad
e instrucciones están a la vista del operador y están ubicadas
cerca de cualquier zona de peligro
potencial. Sustituya cualquier calcomanía que esté
dañada o que falte. |
Instalación
Instalación del rascador
-
Aparque la
máquina en una superficie nivelada, ponga el freno de estacionamiento
y baje la espada.
-
Apague el
motor y retire la llave.
-
Si está
instalada, retire la extensión de la barra de seguridad del conjunto
de la barra de seguridad.
Extensión
de la barra de seguridad para la espada de 91 cm (3') ilustrada.
G569916s
- Perno – ½" × 3" (2)
- Tuerca – ½" (2)
- Extensión
de la barra de seguridad
-
Si es necesario,
instale la barra de extensión del rascador (suministrada con
la espada) sobre el extremo de la barra de seguridad
y sujétela usando los 2 pernos y contratuercas.
Nota: Con algunas configuraciones de espada y cadena, es necesario instalar
una extensión en la barra de seguridad para evitar que
el rascador toque la cadena o los dientes
excavadores. Póngase en contacto con su Servicio Técnico
Autorizado si desea más información.
Barra de extensión
del rascador para la espada de 91 cm (3') ilustrada.
G244620s
- Perno – ½" × 3" (2)
- Tuerca – ½" (2)
- Barra
de extensión del rascador
-
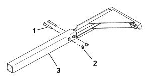
Instale el
rascador sobre la barra de seguridad o la extensión de la barra
del rascador y fíjelo usando 2 pernos y contratuercas.
G572859
- Rascador
- Perno
- Barra
de seguridad de la zanjadora
- Contratuerca
Operación
Transporte del rascador
Antes de transportar la zanjadora
con el rascador montado, complete el procedimiento siguiente:
-
Aparque la
máquina en una superficie nivelada, ponga el freno de estacionamiento
y baje la espada.
-
Apague el
motor y retire la llave.
-
Retire el
pasador de seguridad y el pasador de horquilla de la barra del rascador.
G572858
- Pasador
de horquilla
- Armazón
del rascador
- Pasador
de seguridad
- Guarde
aquí el pasador de horquilla y el pasador de seguridad cuando
no se estén usando.
-
Mueva el
rascador todo lo posible hacia atrás.
-
Instale el
pasador de horquilla por el armazón y la barra del rascador,
y sujételo con el pasador de seguridad.
Sustitución de la pala del
rascador
La pala instalada en el rascador
debe corresponder a la anchura de la cadena de la zanjadora.
-
Retire los
2 pernos y las 2 tuercas que sujetan la pala e instale la pala nueva
en su lugar.
Nota: Las palas son algo más estrechas que las cadenas con las que
deben emparejarse. Por ejemplo, la pala de 15.2 cm (6") mide
realmente 14.0 cm (5½") de
ancho, pero debe utilizarse con la cadena de 15.2 cm (6").
G382820s
- Contratuerca
- Armazón
del rascador
- Pala
del rascador
- Perno