| Interval servisa održavanja | Postupak održavanja |
|---|---|
| Nakon svake uporabe |
|
Ova kosilica s rotacijskim noževima namijenjena je profesionalnim rukovateljima. Prvenstveno je namijenjena košenju trave na dobro održavanim travnjacima na stambenim ili komercijalnim parcelama. Za njega se upotrebljavaju litij-ionski akumulatori Flex-Force Power System® 60 V. Akumulatori se pune isključivo upotrebom sustava Flex-Force™ akumulatora Flex-Force™ 60 V. Upotreba ovih proizvoda u bilo koju drugu svrhu osim one za koju su namijenjeni može biti opasna za vas i prolaznike.
Pažljivo pročitajte ove informacije kako biste naučili ispravno upravljati uređajem i održavati ga te kako biste izbjegli tjelesne ozljede i oštećenja uređaja. Odgovorni ste za ispravno i sigurno upravljanje uređajem.
Na internetskoj stranici www.Toro.com možete dobiti više informacija, uključujući sigurnosne savjete, materijale za obuku rukovatelja, informacije o dodatnoj opremi, pomoć pri nalaženju distributera ili možete registrirati uređaj.
Ako vam je potreban servis, originalni dijelovi proizvođača Toro ili dodatne informacije, obratite se ovlaštenom distributeru tvrtke Toro ili službi za korisnike tvrtke Toro te pripremite broj modela i serijski broj svojeg proizvoda. Slika 1 prikazuje lokaciju broja modela i serijskog broja na uređaju. Upišite brojeve na za to predviđeno mjesto.

Upišite model proizvoda i serijski broj u prostor u nastavku:
U ovom priručniku i na uređaju nalazi se simbol sigurnosnog upozorenja (Slika 2) radi prepoznavanja važnih sigurnosnih poruka kojih se morate pridržavati kako biste spriječili nesreće.

Simbol sigurnosnog upozorenja pojavljuje se iznad informacija koje vas upozoravaju na opasne radnje ili situacije te nakon njega slijedi riječ OPASNOST, UPOZORENJE ili OPREZ.
OPASNOST označava neposredno opasnu situaciju koja će, ako se ne spriječi, sigurno dovesti do teških ozljeda ili smrti.
UPOZORENJE označava potencijalno opasnu situaciju koja bi, ako se ne spriječi, mogla dovesti do teških ozljeda ili smrti.
OPREZ označava potencijalno opasnu situaciju koja, ako se ne spriječi, može dovesti do lakših ili umjerenih ozljeda.
U priručniku se informacije ističu još dvjema riječima. Riječ Važno upućuje na posebne mehaničke informacije, a riječ Napomena na opće informacije na koje treba obratiti posebnu pažnju.
Nemojte neovlašteno mijenjati ili deaktivirati sigurnosne uređaje kojima je prozračivač opremljen i redovito provjeravajte funkcioniraju li ispravno. Nemojte podešavati ili neovlašteno mijenjati regulator brzine motora jer mogu nastati opasni uvjeti u kojima može doći do tjelesnih ozljeda.
Ovaj je uređaj u skladu sa svim relevantnim direktivama EU-a. Za više detalja pogledajte zasebnu izjavu o sukladnosti (DOC) za ovaj uređaj.
KALIFORNIJA
Upozorenje prema kalifornijskom zakonu Proposition 65
Kabel za napajanje ovog proizvoda sadržava olovo, kemikaliju za koju je Savezna država Kalifornija utvrdila da uzrokuje rak ili druge posljedice štetne za reproduktivno zdravlje. Operite ruke nakon rukovanja.
Uporabom ovog proizvoda možete biti izloženi kemikalijama za koje je Savezna država Kalifornija utvrdila da uzrokuju rak, urođene mane ili druge posljedice štetne za reproduktivno zdravlje.
Pročitajte sva sigurnosna upozorenja, upute, ilustracije i specifikacije koje ste dobili uz ovaj električni alat. Nepridržavanje svih uputa navedenih u nastavku može dovesti do strujnog udara, požara i/ili teških ozljeda.
Spremite sva upozorenja i upute za ubuduće.
Pojam električni alat” u upozorenjima odnosi se na vaš električni alat s mrežnim napajanjem (pomoću kabela) ili na akumulatorski električni alat (bez kabela).
Sigurnost radnog prostora
Radni prostor održavajte čistim i dobro osvijetljenim. U neurednim i neosvijetljenim prostorima lako može doći do nezgode.
Nemojte upotrebljavati električne alate u eksplozivnim atmosferama, na primjer u prisutnosti zapaljivih tekućina, plinova ili prašine. Električni alati stvaraju iskre koje mogu zapaliti prašinu ili pare.
Djecu i prolaznike držite podalje od mjesta na kojem upotrebljavate električni alat. Gubitak pažnje može uzrokovati gubitak kontrole.
Električna sigurnost
Utikači električnog alata moraju odgovarati utičnici. Nikada nemojte vršiti izmjene na utikaču. Nemojte upotrebljavati strujne adaptere na električnom alatu koji ima uzemljenje. Neizmijenjeni utikači i odgovarajuće utičnice smanjuju rizik od strujnog udara.
Izbjegavajte kontakt s uzemljenim površinama, kao što su cijevi, radijatori, štednjaci i hladnjaci. Opasnost od strujnog udara veća je ako je vaše tijelo uzemljeno.
Nemojte izlagati električne alate kiši ili vlažnim uvjetima. Prodiranje vode u električni alat povećat će rizik od strujnog udara.
Nemojte nepropisno upotrebljavati kabel. Kabel nikada nemojte upotrebljavati za prenošenje ili povlačenje električnog alata te ga nemojte povlačiti za isključivanje električnog alata. Kabel držite podalje od izvora topline, ulja, oštrih rubova ili pokretnih dijelova. Oštećeni ili zapetljani kabeli povećavaju rizik od strujnog udara.
Kad električni alat upotrebljavate na otvorenom prostoru, upotrebljavajte produžni kabel koji je primjeren za rad na otvorenom. Upotreba produžnog kabela koji je primjeren za rad na otvorenom smanjuje rizik od strujnog udara.
Ako ne možete izbjeći upotrebu električnog alata na vlažnom mjestu, upotrijebite strujni izvor sa zaštitnom sklopkom diferencijalne struje (RCD). Upotreba zaštitne sklopke diferencijalne struje smanjuje rizik od strujnog udara.
Osobna zaštita
Budite oprezni, gledajte što radite i razumno prosuđujte dok upotrebljavate uređaj. Nemojte upotrebljavati električni alat ako ste umorni ili pod utjecajem droga, alkohola ili lijekova. Trenutak nepažnje tijekom upotrebe električnih alata može dovesti do ozbiljnih tjelesnih ozljeda.
Nosite osobnu zaštitnu opremu. Uvijek nosite zaštitu za oči. Upotreba zaštitne opreme, kao što je maska za zaštitu od prašine, zaštitne cipele s protukliznim potplatom, zaštitna kaciga ili zaštita za sluh, u odgovarajućim uvjetima smanjit će tjelesne ozljede.
Spriječite nenamjerno uključivanje. Provjerite je li prekidač u položaju OFF (isključeno) prije spajanja alata na izvor napajanja i/ili na akumulator te prije podizanja ili prenošenja alata. Prenošenje električnih alata s prstom na prekidaču ili aktivacija alata koji ima uključeni prekidač može izazvati nezgodu.
Uklonite sve klinove ili ključeve za podešavanje prije uključivanja električnog alata. Ako ključ ili klin ostanu pričvršćeni za rotirajući dio električnog alata, može doći do tjelesne ozljede.
Nemojte se naginjati. Uvijek držite dobro uporište i ravnotežu. To omogućuje bolje upravljanje električnim alatom u neočekivanim situacijama.
Budite prikladno odjeveni. Nemojte nositi široku odjeću ili nakit. Kosu i odjeću držite podalje od pomičnih dijelova. Široka odjeća, nakit ili duga kosa mogu zapeti u pomične dijelove.
Ako uređaji imaju mogućnost spajanja priključaka za izvlačenje i skupljanje prašine, pobrinite se da oni budu priključeni i da se upotrebljavaju na odgovarajući način. Skupljanje prašine može smanjiti opasnosti povezane s prašinom.
Nemojte da vas znanje stečeno čestom upotrebom alata navede na pretjeranu samouvjerenost i zanemarivanje pravila za sigurnu upotrebu alata. Neoprezna radnja može u sekundi uzrokovati tešku ozljedu.
Uporaba i održavanje električnog alata
Nemojte preopterećivati električni alat. Upotrijebite alat koji je prikladan za vašu primjenu. Prikladan električni alat odradit će posao bolje i sigurnije ako radi brzinom za koju je projektiran.
Nemojte upotrebljavati električni alat ako ga prekidačem ne možete uključiti ili isključiti. Bilo koji električni alat kojim se ne može upravljati prekidačem opasan je i mora se popraviti.
Prije bilo kakvih podešavanja, promjene dodatne opreme ili skladištenja isključite utikač iz izvora napajanja i/ili uklonite akumulator iz električnog alata ako ga se može ukloniti. Takve preventivne sigurnosne mjere smanjuju rizik od slučajnog uključivanja električnog alata.
Električne alate koji se ne koriste skladištite izvan dohvata djece i nemojte dozvoliti da ih osobe koje nisu upoznate s električnim alatima ili ovim uputama upotrebljavaju. Električni alati su opasni u rukama korisnika koji ih ne znaju upotrebljavati.
Održavajte električne alate i dodatnu opremu. Provjeravajte ima li na uređaju pomičnih dijelova koji su olabavljeni ili zapinju, slomljenih dijelova i postoji li bilo koje stanje koje može utjecati na rad uređaja. Ako je električni alat oštećen, popravite ga prije upotrebe. Do mnogih nezgoda dolazi zbog lošeg održavanja električnih alata.
Alate za rezanje održavajte oštrima i čistima. Ako se alati za rezanje pravilno održavaju i oštre, manje je vjerojatno da će zapinjati i lakše je njima upravljati.
Električni alat, dodatnu opremu, dijelove alata itd. upotrebljavajte u skladu s ovim uputama, uzimajući u obzir radne uvjete i vrstu posla koji će se obavljati. Upotreba električnog alata za radnje za koje nije predviđen može dovesti do opasnih situacija.
Ručke i površine za hvatanje održavajte suhima, čistima i bez tragova ulja i maziva. Skliske ručke i površine za hvatanje nisu sigurne za upotrebu i upravljanje uređajem u neočekivanim situacijama.
Upotreba i održavanje alata s akumulatorom
Akumulator punite isključivo punjačem koji je odredio proizvođač. Punjač koji je predviđen za punjenje jedne vrste akumulatora može u slučaju upotrebe s drugim akumulatorom predstavljati rizik od požara.
Električne alate upotrebljavajte isključivo s akumulatorima koji su za njih namijenjeni. Upotreba bilo kojeg drugog akumulatora može stvoriti rizik od ozljede ili požara.
Kad se akumulator ne upotrebljava, držite ga podalje od metalnih predmeta, kao što su spajalice, kovanice, ključevi, čavli, vijci ili drugi sitni metalni predmeti koji bi mogli stvoriti spoj između dva terminala. Kratko spajanje terminala akumulatora može uzrokovati opekline ili požar.
U nepovoljnim uvjetima može doći do istjecanja tekućine iz akumulatora; izbjegavajte dodir s tom tekućinom. Ako slučajno dođete u dodir s tom tekućinom, to mjesto isperite vodom. Ako tekućina dođe u dodir s očima, potražite dodatnu liječničku pomoć. Tekućina istisnuta iz akumulatora može izazvati iritaciju ili opekline.
Nemojte upotrebljavati akumulator ili uređaj koji je oštećen ili na kojemu su vršene izmjene. Oštećeni ili izmijenjeni akumulatori mogu nepravilno raditi i uzrokovati požar, eksploziju ili rizik od ozljede.
Akumulator ili uređaj nemojte izlagati vatri ili previsokim temperaturama. Izlaganje temperaturama vatre višim od 130 °C može dovesti do eksplozije.
Slijedite sve upute za punjenje i nemojte puniti akumulator ili uređaj na temperaturama koje nisu u rasponu navedenom u uputama. Nepravilno punjenje ili punjenje na temperaturama izvan navedenog raspona može oštetiti akumulator i povećati rizik od požara.
Servis
Svoj uređaj servisirajte kod kvalificiranog tehničara koji upotrebljava isključivo originalne zamjenske dijelove. Tako će se očuvati sigurnost električnog alata.
Nikad nemojte servisirati oštećene akumulatore. Akumulatore bi trebali servisirati isključivo proizvođač ili ovlašteni serviseri.
Nemojte upotrebljavati kosilicu na kiši ili u vlažnim uvjetima. To može povećati rizik od strujnog udara.
Kosilicu nemojte upotrebljavati u lošim vremenskim uvjetima, posebno ako postoji opasnost od munja. To smanjuje rizik od udara groma.
Temeljito provjerite ima li divljih životinja na području na kojem ćete koristiti kosilicu. Rad kosilice može ozlijediti divlje životinje.
Temeljito pregledajte predviđeno područje rada kosilice i uklonite kamenje, grane, žice, kosti i ostale strane predmete. Odbačeni predmeti mogu uzrokovati tjelesne ozljede.
Prije upotrebe kosilice uvijek provjerite jesu li noževi i sklop rezača istrošeni ili oštećeni. Istrošeni ili oštećeni dijelovi povećavaju rizik od ozljede.
Redovito provjeravajte stanje hvatača trave kako biste uočili znakove trošenja ili oštećenja. Istrošeni ili oštećeni dijelovi hvatača trave povećavaju rizik od tjelesne ozljede.
Moraju biti postavljeni štitnici. Štitnici moraju biti funkcionalni i ispravno postavljeni. Labav, oštećen ili nefunkcionalan štitnik može uzrokovati tjelesne ozljede.
Pazite da na ulazima zraka nema ostataka prljavštine. Začepljeni ulazi zraka i ostaci mogu uzrokovati pregrijavanje ili rizik od požara.
Dok upravljate kosilicom uvijek nosite zaštitnu obuću otpornu na proklizavanje. Nemojte upravljati kosilicom bosi ili u otvorenim sandalama. Tako smanjujete rizik od ozljede stopala uzrokovane kontaktom s pomičnim nožem.
Uvijek nosite duge hlače dok upotrebljavate kosilicu. Ako koža nije zaštićena, povećava se vjerojatnost ozljede odbačenim predmetima.
Nemojte upotrebljavati kosilicu kad je trava mokra. Hodajte, nikada nemojte trčati. Tako smanjujete rizik od sklizanja i padanja, koji mogu uzrokovati tjelesne ozljede.
Nemojte upravljati kosilicom na suviše strmim padinama. Tako smanjujete rizik od gubitka kontrole, sklizanja i padanja, koji mogu uzrokovati tjelesne ozljede.
Kad radite na padini, uvijek se držite stabilno i uvijek kosite poprijeko, a ne uzbrdo ili nizbrdo, te budite vrlo oprezni pri mijenjanju smjera. Tako smanjujete rizik od gubitka kontrole, sklizanja i padanja, koji mogu uzrokovati tjelesne ozljede.
Budite posebno oprezni pri kretanju unatrag ili povlačenju kosilice prema sebi. Uvijek obraćajte pozornost na okolinu. Tako smanjujete rizik od spoticanja tijekom rada.
Nemojte dirati noževe ili druge opasne pomične dijelove ako su još u pokretu. Tako smanjujete rizik od ozljede pomičnim dijelovima.
Prilikom uklanjanja zaglavljenog materijala ili čišćenja kosilice, provjerite jesu li svi prekidači isključeni i je li akumulator odspojen. Neočekivano pokretanje kosilice može uzrokovati teške tjelesne ozljede.
Obuka
Rukovatelj uređajem odgovoran je za eventualne nezgode ili opasnosti za druge i njihovu imovinu.
Nemojte dopustiti djeci da upotrebljavaju ili da se igraju uređajem, akumulatorom ili punjačem. Dobna granica za rukovatelje može biti ograničena lokalnim propisima.
Osobama koje imaju tjelesna, osjetilna ili mentalna ograničenja ili koje nemaju iskustva i znanja za upotrebu uređaja nemojte dopustiti da upotrebljavaju uređaj, akumulator ili punjač, osim ako ste im dali upute za sigurnu upotrebu ili ako ih nadgledate i ako razumiju potencijalne opasnosti.
Prije upotrebe akumulatora i punjača pročitajte sve upute i oznake upozorenja istaknute na njima.
Priprema
Zamijenite sve oštećene ili nečitljive naljepnice.
Upotrebljavajte isključivo akumulator koji je odobrio Toro. Ako upotrebljavate druge dodatke i priključke, može se povećati rizik od ozljede i požara.
Uključivanje punjača akumulatora u utičnicu neispravnog napona može uzrokovati požar ili strujni udar. Za druge načine povezivanja upotrijebite adapter za utičnice odgovarajuće konfiguracije ako je to potrebno.
Nemojte upotrebljavati oštećeni akumulator, akumulator na kojem su vršene izmjene ili punjač koji pokazuje nepravilnosti u radu jer može doći do požara, eksplozije ili ozljede.
Ako je kabel za napajanje punjača oštećen, obratite se ovlaštenom serviseru radi zamjene.
Nemojte upotrebljavati akumulatore koji nisu punjivi.
Akumulator punite isključivo s pomoću punjača koji je odredio Toro. Punjač koji je predviđen za punjenje jedne vrste akumulatora može u slučaju upotrebe s drugim akumulatorom predstavljati rizik od požara.
Punite akumulator isključivo u dobro prozračenom prostoru.
Akumulator i punjač nemojte izlagati vatri ili temperaturama višim od 68 °C.
Slijedite sve upute za punjenje i ne punite akumulator na temperaturama koje su izvan raspona navedenog u uputama. U suprotnom možete oštetiti akumulator i povećati rizik od požara.
Rad
Ne približavajte se otvorima izbacivača.
Deaktivirajte samohodni pogon (ako ga ima) prije pokretanja uređaja.
Spriječite slučajno pokretanje – Prije nego što spojite akumulator i rukujete uređajem, provjerite je li gumb za električno pokretanje izvađen iz paljenja.
Prije servisiranja ili čišćenja uređaja zaustavite uređaj, izvadite gumb za električno pokretanje, izvadite akumulator iz uređaja i pričekajte da se svi pomični dijelovi zaustave.
Kad uređaj ostavljate bez nadzora ili mijenjate dodatnu opremu, iz uređaja uklonite akumulator i gumb za električno pokretanje.
Materijal koji se izbacuje nemojte usmjeravati prema drugim osobama. Izbjegavajte izbacivanje materijala prema zidovima ili preprekama. Materijal bi se mogao odbiti prema vama. Zaustavite nož/noževe kad prelazite preko šljunčanih površina.
Pazite na rupe, brazde, neravnine, kamenje i druge skrivene predmete. Na neravnom terenu možete izgubiti ravnotežu ili stabilnost.
Ako uređaj udari o predmet ili počne vibrirati, odmah ga isključite, izvadite gumb za električno pokretanje, uklonite akumulator i pričekajte da se svi pomični dijelovi zaustave prije nego što provjerite je li došlo do oštećenja. Izvršite sve potrebne popravke prije nastavljanja s radom.
Zaustavite uređaj i izvadite gumb za električno pokretanje prije ukrcavanja uređaja radi prijevoza.
U nepovoljnim uvjetima može doći do istjecanja tekućine iz akumulatora. Izbjegavajte dodir s tom tekućinom. Ako slučajno dođete u dodir s tekućinom, isperite vodom. Ako tekućina dođe u dodir s očima, potražite liječničku pomoć. Tekućina iz akumulatora može izazvati iritaciju ili opekline.
Održavanje i skladištenje
Prije servisiranja ili čišćenja uređaja zaustavite uređaj, izvadite gumb za električno pokretanje, izvadite akumulator iz uređaja i pričekajte da se svi pomični dijelovi zaustave.
Ne pokušavajte popravljati uređaj na način koji nije u skladu s uputama. Neka servisiranje uređaja obavi ovlašteni serviser koristeći se identičnim zamjenskim dijelovima.
Naoštrite tupi nož s obje strane kako biste održali ravnotežu. Očistite nož i provjerite je li uravnotežen.
Tijekom servisiranja noža imajte na umu da se može pomaknuti iako je napajanje isključeno.
Za najbolje rezultate upotrebljavajte isključivo originalne zamjenske dijelove i dodatnu opremu tvrtke Toro. Drugi zamjenski dijelovi i dodatni pribor mogu biti opasni, a njihova upotreba može poništiti jamstvo.
Održavajte uređaj – Održavajte oštrice oštrima i čistima za najbolje rezultate i najsigurniji rad. Ručke neka budu suhe, čiste i bez tragova ulja i maziva. Štitnici moraju biti postavljeni i funkcionalni. Održavajte noževe oštrima. Upotrebljavajte isključivo identične zamjenske noževe.
Ako nije drugačije navedeno u uputama, neka popravak ili zamjenu oštećenih dijelova i štitnika obavi ovlašteni serviser.
Kad se akumulator ne upotrebljava, držite ga podalje od metalnih predmeta kao što su spajalice, kovanice, ključevi, čavli i vijci koji bi mogli stvoriti spoj između dva terminala. Kratko spajanje terminala akumulatora može uzrokovati opekline ili požar.
Često provjeravajte jesu li pričvrsni vijci noža i motora dobro zategnuti.
OPREZ – Nepropisno postupanje s akumulatorom predstavlja rizik od požara i kemijskih opeklina. Nemojte rastavljati akumulator. Nemojte zagrijavati akumulator na temperature više od 68 °C ili ga spaljivati. Akumulator zamijenite isključivo originalnim akumulatorom tvrtke Toro. Upotreba drugog tipa akumulatora može uzrokovati požar ili eksploziju. Akumulatore do upotrebe držite izvan dohvata djece i u originalnom pakiranju.
Akumulator nemojte zbrinjavati paljenjem u vatri. Ćelija može eksplodirati. Informirajte se o mogućim posebnim lokalnim propisima za zbrinjavanje.
![]() |
Sigurnosne naljepnice i upute lako su vidljive korisniku i nalaze se blizu svih područja potencijalne opasnosti. Zamijenite sve naljepnice koje su oštećene ili otpale. |
|
Simbol akumulatora ili punjača |
Objašnjenje |
![]() |
Pročitajte Upute za upotrebu. |
![]() ![]() |
Obratite se lokalnim vlastima, odnosno ovlaštenom serviseru ili distributeru za više informacija o odgovornom recikliranju akumulatora. |






Important: Akumulator kod kupnje nije potpuno napunjen. Prije prve upotrebe uređaja pročitajte Punjenje akumulatora.
Dijelovi potrebni za ovaj postupak:
| Dijelovi za postavljanje (ne isporučuju se s uređajem) | 2 |
Ako želite, punjač akumulatora možete sigurno pričvrstiti na zid koristeći se rupama na poleđini punjača.
Punjač montirajte u zatvorenom prostoru (primjerice u garaži ili na nekom drugom suhom mjestu), blizu strujne utičnice i izvan dohvata djece.
Pogledajte Slika 3 za pomoć pri montaži punjača.
Punjač stavite na pravilno postavljene nosače kako bi punjač čvrsto stajao (nosači nisu priloženi).

Uslijed nepravilnog sklapanja i rasklapanja ručke može doći do oštećenja kabela i opasnih radnih uvjeta.
Nemojte oštetiti kabel(e) tijekom sklapanja ili rasklapanja ručke.
Provjerite je(su) li kabel(i) postavljen(i) s vanjske strane ručke.
Ako se kabel ošteti, obratite se ovlaštenom serviseru.
Important: Držite ručku pri aktiviranju blokada ručke kako biste izbjegli zaglavljivanje šaka.






| Model | 81875 | ||
| Kapacitet akumulatora | 7,5 Ah | ||
| 405 Wh | |||
|
Oznaka proizvođača akumulatora = maksimalni napon 60 V i nominalni napon 54 V. Stvarni napon razlikuje se ovisno o opterećenju. |
|||
| Model | 81802 | |
| Vrsta | Punjač litij-ionskog akumulatora 60 V MAX | |
| Ulaz | 100 do 240 V AC ~2,0 A 50/60 Hz | |
| Izlaz | 60 V DC 2,0 A MAX |
|
| Punite/čuvajte akumulator na | 5 °C do 40 °C* |
| Upotrebljavajte akumulator na | –30 °C do 49 °C* |
| Upotrebljavajte uređaj na | 0 °C do 49 °C* |
*Trajanje punjenja produžuje se ako akumulator punite na temperaturama izvan tog raspona.
Uređaj, akumulator i punjač čuvajte u zatvorenom, čistom i suhom prostoru.
Dostupan je niz priključaka i dodatne opreme za poboljšavanje i proširivanje mogućnosti uređaja koje je odobrila tvrtka Toro. Obratite se ovlaštenom serviseru ili distributeru tvrtke Toro ili posjetite stranicu www.Toro.com za popis svih odobrenih priključaka i dodatne opreme.
Kako biste osigurali optimalnu učinkovitost i daljnju primjenjivost certifikata o sigurnosti uređaja, upotrebljavajte samo originalne zamjenske dijelove i dodatnu opremu tvrtke Toro. Upotreba zamjenskih dijelova i dodatne opreme drugih proizvođača može biti opasna.
Note: Odredite lijevu i desnu stranu uređaja s uobičajenog vozačevog položaja.
Important: Koristite akumulator isključivo u dozvoljenom rasponu temperatura; pogledajte Specifikacije.
Pazite da na ventilima akumulatora nema prašine i drugih ostataka.
Podignite poklopac odjeljka akumulatora (A na Slika 10).
Poravnajte udubljenje na akumulatoru sa zupcima na uređaju pa umetnite akumulator u odjeljak dok ne sjedne na mjesto (B na Slika 10).
Zatvorite poklopac odjeljka akumulatora (C na Slika 10).
Note: Ako se poklopac odjeljka akumulatora ne može do kraja zatvoriti, akumulator nije dobro postavljen.

Ručku možete podići ili spustiti u položaj koji vam odgovara.
Okrenite blokadu ručke, pomaknite ručku u jedan od dvaju položaja te zaključajte ručku u tom položaju (Slika 11).

Pri podešavanju visine košnje vaše ruke mogu doći u dodir s nožem u pokretu, što može uzrokovati teške ozljede.
Isključite motor, izvadite akumulator i pričekajte da se svi pomični dijelovi zaustave prije podešavanja visine košnje.
Pri podešavanju visine košnje ne posežite prstima ispod kućišta.
Podesite visinu košnje po želji. Postavite sve kotače na istu visinu košnje (Slika 12).

Provjerite je li postavljen akumulator; pogledajte Postavljanje akumulatora.
Note: Ako se poklopac odjeljka akumulatora ne može do kraja zatvoriti, akumulator nije dobro postavljen.
Umetnite gumb za električno pokretanje u prekidač za električno pokretanje (Slika 13, A).
Stisnite polugu za upravljanje noževima i držite je uz ručku (B na Slika 13).
Pritisnite gumb za električno pokretanje i držite ga dok se motor ne pokrene (C na Slika 13).

Za upravljanje samohodnim pogonom jednostavno hodajte držeći rukama gornju ručku i s laktovima sa strane, a uređaj će automatski ići u korak s vama (Slika 14).

Note: Ako se uređaj ne kreće slobodno unatrag nakon pokretanja samohodnog pogona, prestanite hodati, držite ruke na mjestu i dopustite uređaju da se kreće nekoliko centimetara prema naprijed kako bi se deaktivirao pogon kotača. Možete pokušati i posegnuti ispod gornje ručke do metalne ručke i gurnuti uređaj nekoliko centimetara prema naprijed. Ako se uređaj i dalje ne kreće slobodno unatrag, obratite se ovlaštenom serviseru.
Ovaj uređaj ima 2 postavke brzine: AUTO (automatska) i MAX (maksimalna).
U položaju AUTO brzina noža automatski se podešava radi veće učinkovitosti; detektiraju se promjene u uvjetima košnje i brzina noža po potrebi se povećava kako bi se održala kvaliteta košnje.
U položaju MAX nož se cijelo vrijeme kreće na najvišoj brzini.
Okrenite gumb za električno pokretanje u prekidaču električnog pokretača u jedan od tih položaja kako biste podesili brzinu noža (Slika 15).

Otpustite polugu za upravljanje noževima (A na Slika 16).
Izvadite gumb za električno pokretanje iz prekidača za električno pokretanje (B na Slika 16).
Izvadite akumulator; pogledajte Vađenje akumulatora iz uređaja.
Note: Uvijek izvadite akumulator kad ne upotrebljavate uređaj.

Podignite poklopac odjeljka akumulatora.
Pritisnite zasun kako biste otpustili akumulator i izvadili ga.
Zatvorite poklopac odjeljka akumulatora.
Uređaj se isporučuje spreman za recikliranje pokošene trave i lišća na travnjaku.
Important: Provjerite je li stražnji čep čvrsto postavljen. Da biste čvrsto postavili čep, podignite stražnji usmjerivač (Slika 17, A) i čvrsto pritisnite čep prema dolje tako da sjedne na mjesto (Slika 17, B).

Note: Da biste otpustili stražnji čep, okrenite ručicu na čepu udesno (Slika 18).
Upotrijebite vreću za travu kada skupljate pokošenu travu i lišće s travnjaka.
Note: Uređaj se isporučuje s postavljenim osnovnim nožem za dulje razdoblje korištenja i s priloženim opcionalnim naprednim nožem za poboljšano skupljanje otkosa i veću učinkovitost košnje. Prije skupljanja otkosa postavite napredni nož; pogledajte Zamjena noža.
Isključite uređaj i pričekajte da se svi pomični dijelovi zaustave; pogledajte Isključivanje uređaja.
Uklonite akumulator iz uređaja; pogledajte Vađenje akumulatora iz uređaja.
Podignite i otklopite stražnji usmjerivač (Slika 18, A).
Uklonite čep stražnjeg izbacivača tako da palcem pritisnete zasun i povučete čep kako biste ga izvadili iz uređaja (Slika 18, B i C).
Postavite krajeve šipke vreće u utore na bazi ručke i ljuljajte vreću naprijed – natrag kako biste provjerili jesu li krajevi šipke sjeli u utore (Slika 18, D).
Spustite stražnji usmjerivač dok se ne nasloni na vreću za travu.

Uređaj može baciti pokošenu travu i druge predmete kroz otvor u kućištu. Predmeti koji su bačeni dovoljnom silom mogu teško ozlijediti ili usmrtiti vas ili prolaznike.
Nikad nemojte ukloniti vreću za travu i pokrenuti uređaj ako nije postavljen čep izbacivača.
Nikad nemojte otvarati stražnji usmjerivač dok uređaj radi.
Pregledajte područje na kojem namjeravate upotrebljavati uređaj i uklonite sve predmete koje bi uređaj mogao odbaciti.
Izbjegavajte udaranje tvrdih predmeta nožem. Nikad nemojte namjerno kositi preko bilo kojeg predmeta.
Ako uređaj udari o predmet ili počne vibrirati, odmah ga isključite, pričekajte da se svi pomični dijelovi zaustave, uklonite akumulator i provjerite je li došlo do oštećenja.
Za najbolje rezultate postavite novi nož tvrtke Toro prije početka sezone košnje ili po potrebi.
Režite samo približno trećinu vlati trave odjednom. Za bolju kvalitetu košnje, skupljanja i dulje vrijeme rada, kosite travu na višoj visini košnje.
Nemojte rezati ispod 51 mm osim ako je trava rijetka ili ako kosite u kasnu jesen kada trava počinje rasti sporije.
Pri košenju trave dulje od 15 cm kosite na najvišoj postavci visine košnje i hodajte sporije; zatim ponovno kosite na nižoj postavci za što bolji izgled travnjaka. Ako je trava preduga, uređaj bi se mogao začepiti i tako uzrokovati zatajenje motora.
Mokra trava i lišće obično se formiraju u nakupine u dvorištu i mogu uzrokovati začepljenje uređaja ili zatajenje motora. Izbjegavajte košnju u mokrim uvjetima.
Obratite pozornost na moguću opasnost od požara u vrlo suhim uvjetima, pratite sva lokalna upozorenja za požare i osigurajte da u stroju nema suhe trave i ostataka lišća.
Mijenjajte smjer košnje. Tako se raspršuje pokošena trava i potiče ravnomjerna gnojidba.
Ako niste zadovoljni konačnim izgledom travnjaka, pratite jednu ili više sljedećih uputa:
Zamijenite nož ili ga dajte naoštriti.
Sporije hodajte tijekom košenja.
Podignite visinu košnje na uređaju.
Češće kosite travu.
Preklapajte područja košnje umjesto da u svakom navratu kosite jedno područje.
Nakon košenja travnjaka, provjerite je li pola travnjaka vidljivo kroz pokrov pokošenog lišća. Možda ćete morati više od jednom prijeći preko lišća.
Ako je na travnjaku više od 13 cm lišća, kosite na višoj postavci visine košnje i potom ponovno na željenoj visini košnje.
Usporite brzinu košnje ako uređaj dovoljno ne usitnjava lišće.
Important: Akumulator kod kupnje nije potpuno napunjen. Prije prve upotrebe uređaja, stavite akumulator u punjač i punite ga dok LED indikator ne pokazuje da je akumulator u potpunosti napunjen. Pročitajte sve sigurnosne upute.
Important: Punite akumulator isključivo u dozvoljenom rasponu temperatura; pogledajte Specifikacije.
Note: U bilo kojem trenutku možete pritisnuti indikator napunjenosti akumulatora kako bi se prikazao trenutačni status napunjenosti (LED indikator).
Pazite da na ventilima i terminalima akumulatora i punjaču nema prašine i drugih ostataka.

Poravnajte udubljenje na akumulatoru (Slika 19) sa zupcima na punjaču.
Gurnite akumulator u punjač dok ne sjedne na mjesto (Slika 19).
Da biste izvadili akumulator, povucite ga u suprotnom smjeru iz punjača.
U tablici u nastavku pogledajte što znači svjetlo LED indikatora na punjaču.
| Simbol punjača | Svjetlo indikatora | Značenje |
![]() | Treperi zeleno | Akumulator se puni |
![]() | Zeleno | Akumulator je pun |
![]() | Crveno | Akumulator i/ili punjač nije u dozvoljenom rasponu temperature |
![]() | Treperi crveno | Greška punjenja akumulatora* |
| Isključeno | Akumulator nije umetnut |
*Pogledajte za više informacija.
Important: Akumulator se na kratko vrijeme između upotreba može ostaviti u punjaču.Ako akumulator nećete upotrebljavati dulje vrijeme, izvadite ga iz punjača; pogledajte Prije skladištenja.
| Interval servisa održavanja | Postupak održavanja |
|---|---|
| Nakon svake uporabe |
|
Uređaj može izbaciti materijal ispod uređaja.
Nosite zaštitu za oči.
Ostanite u položaju rukovatelja (iza ručke) dok je motor u pogonu.
Ne dopuštajte prolaznicima da uđu u područje rada.
Da biste postigli najbolje rezultate, čišćenje uređaja obavite neposredno nakon košnje.
Spustite uređaj na najnižu visinu košnje. Pogledajte Podešavanje visine košnje.
Ako je vreća za travu postavljena, uklonite je; pogledajte Uklanjanje vreće za travu.
Premjestite uređaj na betoniranu ravnu površinu.
Isperite područje ispod stražnjih vrata (ako je primjenjivo) na kojem otkos prelazi s donje strane uređaja u vreću za travu.
Dok motor i nož rade, usmjerite mlaz vode ispred stražnjeg desnog kotača (Slika 20).

Kad se prestane ispirati otkos, isključite vodu i uređaj premjestite na suhu površinu.
Pokrenite motor i pustite da radi nekoliko minuta kako bi se donja strana uređaja osušila.
Isključite motor i pričekajte da se ohladi.
Postavite uređaj u okomiti položaj za skladištenje; pogledajte Skladištenje uređaja u okomitom položaju za skladištenje.
Isperite otkos s donje strane uređaja.
Uslijed nepravilnog sklapanja i rasklapanja ručke može doći do oštećenja kabela i opasnih radnih uvjeta.
Nemojte oštetiti kabel(e) tijekom sklapanja ili rasklapanja ručke.
Provjerite je(su) li kabel(i) postavljen(i) s vanjske strane ručke.
Ako se kabel ošteti, obratite se ovlaštenom serviseru.
Izvadite gumb za električno pokretanje (Slika 21).

Držite ručku pri otpuštanju blokada ručke kako biste izbjegli zaglavljivanje šaka.
Otpustite blokade ručke dok ne budete mogli slobodno pomicati gornju ručku.
Sklopite ručku prema naprijed u krajnji prednji položaj kako prikazuje Slika 22.
Important: Pri sklapanju ručke postavite kabele s vanjske strane blokada ručke.

Kako biste rasklopili ručku, pogledajte Rasklapanje ručke.
Tijekom sezone košnje ili izvan nje možete skladištiti uređaj u okomitom položaju kako biste smanjili prostor koji zauzima.
Skladištenjem uređaja u okomitom položaju izlaže se donja strana uređaja.
Izvadite akumulator i gumb za električno pokretanje prije skladištenja uređaja u okomitom položaju.
Nemojte prevoziti uređaj u okomitom položaju za skladištenje.
Nemojte pokretati uređaj u okomitom položaju za skladištenje.
Pobrinite se da visina košnje uređaja bude postavljena na 92 mm ili niže. Ako nije, spustite je; pogledajte Podešavanje visine košnje.
Otpustite blokade ručke (Slika 23).

Sklopite ručku u krajnji prednji položaj (Slika 23).
Important: Pri sklapanju ručke postavite kabele s vanjske strane okretnih gumba.
Aktivirajte blokade ručke.
Podignite prednji dio uređaja s pomoću ručke i premjestite ga u prostor za skladištenje (Slika 24).

Prije održavanja ili čišćenja uređaja izvadite gumb za električno pokretanje i akumulator.
Prije podešavanja, servisiranja, čišćenja ili skladištenja uređaja obavezno isključite uređaj, pričekajte da se svi pomični dijelovi zaustave i pustite da se uređaj ohladi.
Upotrebljavajte samo zamjenske dijelove i dodatnu opremu koje preporučuje proizvođač.
Redovito pregledavajte i održavajte uređaj. Popravke uređaja smije izvoditi samo ovlašteni serviser.
Note: Odredite lijevu i desnu stranu uređaja s uobičajenog vozačevog položaja.
| Interval servisa održavanja | Postupak održavanja |
|---|---|
| Nakon svake uporabe |
|
| Godišnje |
|
| Interval servisa održavanja | Postupak održavanja |
|---|---|
| Godišnje |
|
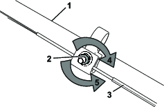
Important: Za ispravno postavljanje noža potreban je moment-ključ. Ako nemate moment-ključ ili se ne usudite sami izvršiti postupak, obratite se ovlaštenom serviseru.
Ako je nož oštećen ili napuknut, odmah ga zamijenite. Ako je oštrica noža tupa ili neravna, dajte ga naoštriti i uravnotežiti ili ga zamijenite.
Tijekom servisiranja noža nož se može pomaknuti iako je napajanje isključeno. Nož je oštar. Ako ga dotaknete, može doći do teških tjelesnih ozljeda.
Držite ruke i noge podalje od noža u pokretu.
Tijekom servisiranja noža nosite rukavice.
Uklonite gumb za električno pokretanje i akumulator iz uređaja.
Držite nož stabilnim s pomoću drvenog bloka (Slika 25).
Uklonite nož, osim dijelova za postavljanje (Slika 25).

Postavite nove nož i sve dijelove za postavljanje (Slika 26).

Important: Postavite zaobljene krajeve noža prema gore tako da su usmjereni prema kućištu uređaja.
S pomoću moment-ključa pritegnite vijak noža na 88 Nm.
Kad god postavite novi kabel za samohodni pogon ili samohodni pogon nije podešen, podesite samohodni pogon.
Okrenite maticu za podešavanje u smjeru suprotnom od kazaljki na satu kako biste smanjili napetost kabela (Slika 27).

Podesite napetost kabela (Slika 27) tako da ga povučete unatrag ili gurnete prema naprijed i držite u tom položaju.
Note: Gurnite kabel prema motoru kako biste povećali vučni pogon; povucite kabel dalje od motora kako biste smanjili vučni pogon.
Okrenite maticu za podešavanje u smjeru kazaljki na satu kako biste povećali napetost kabela.
Note: Čvrsto pritegnite maticu s pomoću ključa.
Important: Nakon što izvadite akumulator, terminale prekrijte čvrstom ljepljivom trakom. Ne pokušavajte onesposobiti ili rastaviti akumulator ili izvaditi bilo koju njegovu komponentu.
Obratite se lokalnim vlastima ili ovlaštenom serviseru za više informacija o odgovornom recikliranju akumulatora.
Important: Čuvajte uređaj, akumulator i punjač isključivo u dozvoljenom rasponu temperatura; pogledajte Specifikacije.
Important: Ako spremate akumulator nakon zimske sezone, napunite ga tako da 2 ili 3 LED indikatora svijetle zeleno. Ne spremajte potpuno napunjen ili potpuno prazan akumulator. Kad opet budete htjeli upotrijebiti uređaj, punite akumulator dok lijevi indikator na punjaču ne bude zelen ili dok sva 4 LED indikatora na akumulatoru ne svijetle zeleno.
Odspojite uređaj od napajanja (odnosno izvadite akumulator i gumb za električno pokretanje) i provjerite jesu li tijekom upotrebe nastala oštećenja.
Uređaj ili punjač nemojte spremati s priključenim akumulatorom.
Sa uređaja uklonite sve strane predmete.
Dok ih ne upotrebljavate, skladištite uređaj, gumb za električno pokretanje, akumulator i punjač izvan dohvata djece.
Uređaj, akumulator i punjač držite podalje od nagrizajućih tvari kao što su vrtne kemikalije i soli za odleđivanje.
Da biste smanjili rizik od teških tjelesnih ozljeda, akumulator nemojte čuvati na otvorenom ili u vozilu.
Uređaj, akumulator i punjač čuvajte u zatvorenom, čistom i suhom prostoru.
Slijedite isključivo korake opisane u ovim uputama. Ako ne možete sami riješiti problem, sve ostale provjere, održavanje i popravke mora obaviti ovlašteni servisni centar ili stručnjak sličnih kvalifikacija.
| Problem | Possible Cause | Corrective Action |
|---|---|---|
| Uređaj se ne može pokrenuti. |
|
|
| Uređaj ne radi ili dolazi do prekida u radu. |
|
|
| Uređaj ne postiže punu snagu. |
|
|
| Akumulator se brzo prazni. |
|
|
| Punjač ne radi. |
|
|
| Samohodni pogon ne radi. |
|
|
| Svjetlo LED indikatora na punjaču svijetli crveno. |
|
|
| Svjetlo LED indikatora na punjaču treperi crveno. |
|
|
| Iz uređaja se čuje zvučni signal. |
|
|
| Kvaliteta košnje je smanjena ili nezadovoljavajuća. |
|
|
| Skupljanje je smanjeno ili nezadovoljavajuće. |
|
|
| Uređaj neujednačeno kosi. |
|
|
| Uređaj vibrira. |
|
|