| Intervali servisnega vzdrževanja | Postopek vzdrževanja |
|---|---|
| Po vsaki uporabi |
|
Ta stroj je samohodna kosilnica z rotacijskimi rezili, namenjena profesionalnim in komercialnim uporabnikom. Stroj je primarno zasnovan za košnjo trave na dobro vzdrževanih tratah v stanovanjskih naseljih in na poslovnih zemljiščih. Zasnovan je za uporabo s 60-voltnimi litij-ionskimi akumulatorji Flex-Force Power System®. Ti akumulatorji so zasnovani samo za polnjenje s polnilniki za 60-voltne litij-ionske baterije. Uporaba teh izdelkov za nepredvidene namene je lahko nevarna za vas in navzoče osebe.
Podrobno preberite te informacije, da se seznanite s pravilnim upravljanjem in vzdrževanjem ter preprečite telesne poškodbe in poškodbe stroja. Za pravilno in varno upravljanje izdelka ste odgovorni sami.
Če potrebujete več informacij, vključno z nasveti glede varnosti, gradivom za usposabljanje za uporabo, podatki o dodatni opremi in pomočjo pri iskanju prodajalca oziroma želite registrirati izdelek, obiščite spletno mesto www.Toro.com.
Če potrebujete servisne storitve, originalne dele Toro ali dodatne informacije, se obrnite na pooblaščenega servisnega zastopnika oziroma službo za pomoč strankam družbe Toro, pri čemer predhodno pripravite številko modela in serijsko številko izdelka. Diagram 1 označuje mesto številke modela in serijske številke na izdelku. Številke vpišite v ustrezna polja.

Serijsko številko in oznako modela zapišite v spodnje okence:
Znak varnostnega opozorila (Diagram 2) tako v tem priročniku kot tudi na stroju označuje pomembna varnostna opozorila, ki jih morate upoštevati, da preprečite nesreče.

Ta znak varnostnega opozorila je nad opozorili, ki opozarjajo na nevarno ravnanje ali okoliščine, sledi pa mu beseda NEVARNOST, OPOZORILO ali SVARILO.
NEVARNOST označuje neposredno nevarnost, ki bo privedla do smrti ali hudih telesnih poškodb, če je ne preprečite.
OPOZORILO označuje morebitno nevarnost, ki lahko privede do smrti ali hudih telesnih poškodb, če je ne preprečite.
SVARILO označuje neposredno nevarnost, ki bi lahko privedla do lažjih ali zmernih telesnih poškodb, če je ne preprečite.
Za poudarjanje informacij sta v tem priročniku uporabljeni še dve drugi besedi. Pomembno opozarja na posebne tehnične informacije, medtem ko Opomba označuje informacije, ki jih morate posebej pozorno prebrati.
Ne posegajte v varnostne naprave stroja in jih ne onemogočajte. Redno preverjajte njihovo pravilno delovanje. Ne posegajte v krmiljenje hitrosti motorja in ga ne poskušajte prilagajati. To lahko povzroči nevarno delovanje, ki lahko privede do telesnih poškodb.
Ta izdelek je skladen z vsemi ustreznimi evropskimi direktivami. Podrobnosti so na voljo v ločeni izjavi o skladnosti (DOC) za ta izdelek.
KALIFORNIJA
Problem 65 Opozorilo
Napajalni kabel tega izdelka vsebuje svinec, kemično snov, ki je s strani države Kalifornija prepoznana kot škodljiva za reprodukcijo in povzročiteljica napak pri rojstvu. Po končanih delih si umijte roke.
Z uporabo tega izdelka boste morda izpostavljeni kemikalijam, za katere je Zvezna država Kalifornija ugotovila, da povzročajo raka, prirojene napake ali škodo reproduktivnim organom.
Preberite vsa varnostna opozorila, navodila, ilustracije in specifikacije, priložene temu električnemu orodju. Če ne upoštevate vseh spodaj navedenih navodil, lahko povzročite električni udar, požar in/ali hude telesne poškodbe.
Vsa opozorila in navodila shranite za kasnejšo uporabo.
Izraz »električno orodje« v opozorilih se nanaša na električno orodje, ki se napaja iz električnega omrežja (žično), ali električno orodje, ki se napaja iz akumulatorja (brezžično).
Varnost na delovnem območju
Delovno območje naj bo čisto in dobro osvetljeno. Natrpana in temna območja so nevarna za nesreče.
Električnih orodij ne uporabljajte v okoljih, kjer je nevarnost eksplozije zaradi vnetljivih tekočin, plinov ali prahu. Električna orodja ustvarjajo iskre, ki lahko vžgejo prah ali hlape.
Poskrbite, da se otroci in druge navzoče osebe ne bodo približevali med uporabo orodja. Zaradi odvračanja pozornosti lahko izgubite nadzor nad orodjem.
Električna varnost
Vtič električnega orodja mora ustrezati vtičnici. V nobenem primeru ne spreminjajte vtiča na kakršen koli način. Z ozemljenimi električnimi orodji ne uporabljajte nobenih adapterskih vtičev. Tveganje električnega udara je manjše, če uporabljate nespremenjen vtič in ustrezno vtičnico.
Izogibajte se telesnemu stiku z ozemljenimi površinami, kot so cevi, radiatorji, štedilniki in hladilniki. Če je vaše telo ozemljeno, je nevarnost električnega udara večja.
Električnega orodja ne izpostavljajte dežju ali vlagi. Vdor vode v električno orodje poveča nevarnost električnega udara.
S kablom ravnajte previdno. Kabla nikoli ne uporabljajte za prenašanje, vlečenje ali odklop električnega orodja. Kabel zaščitite pred toploto, oljem, ostrimi robovi in gibljivimi deli. Poškodovan ali zapleten kabel poveča nevarnost električnega udara.
Pri uporabi električnega orodja na prostem uporabite podaljšek, ki je primeren za uporabo na prostem. Uporaba kabla, primernega za uporabo na prostem, zmanjša nevarnost električnega udara.
Če se ne morete izogniti uporabi električnega orodja na vlažnem mestu, uporabite napajanje, zaščiteno z odklopnim stikalom na preostali tok (FID). Uporaba stikala FID zmanjša nevarnost električnega udara.
Osebna zaščita
Ostanite pozorni – pazite, kaj delate, in pri uporabi električnega orodja uporabljajte zdravo pamet. Ne uporabljajte električnega orodja, če ste bolni, utrujeni ali pod vplivom alkohola oziroma drog. Trenutek nepozornosti med upravljanjem električnega orodja lahko povzroči hude telesne poškodbe.
Uporabljajte osebno zaščitno opremo. Vedno uporabljajte zaščitna očala. Zaščitna oprema, kot so maska proti prahu, nedrseči varnostni čevlji, zaščitna čelada ali zaščita sluha, ki se uporablja v ustreznih pogojih, bo zmanjšala možnosti za telesne poškodbe.
Preprečite nenameren zagon. Pred priključitvijo na vir napajanja in/ali akumulatorsko baterijo, dvigovanjem ali prenašanjem orodja se prepričajte, da je stikalo v položaju za izklop. Če pri prenašanju električnega orodja držite prst na stikalu ali če električno orodje priklopite v vir napajanja, ko je stikalo orodja vklopljeno, lahko pride do nesreče.
Pred vklopom električnega orodja odstranite ključ za nastavitev orodja. Ključ, ki ostane pritrjen na vrtljivi del električnega orodja, lahko povzroči telesne poškodbe.
Ne iztegujte se predaleč. Ves čas stojte trdno na tleh in pazite na ravnotežje. To omogoča boljši nadzor nad električnim orodjem, če se zgodi kaj nepričakovanega.
Ustrezno se oblecite. Ne nosite ohlapnih oblačil ali nakita. Z lasmi in oblačili se ne približujte premikajočim se delom. Ohlapna oblačila, nakit in dolgi lasje se lahko zataknejo v premikajoče se dele.
Če so na voljo naprave za priključitev naprav za odsesavanje in zbiranje prahu, jih priključite in pravilno uporabljajte. Uporaba naprav za zbiranje prahu lahko zmanjša nevarnosti, povezane s prahom.
Četudi pogosto uporabljate orodje, ne postanite samozadovoljni in ne zanemarite načel varne uporabe orodij. Neprevidno dejanje lahko le v delcu sekunde povzroči hude poškodbe.
Uporaba in skrb za električno orodje
Električnega orodja ne poskušajte uporabljati na silo. Za delo, ki ga izvajate, uporabljajte ustrezno električno orodje. Ustrezno električno orodje bo delo opravilo bolje in varneje pri hitrosti, za katero je bilo zasnovano.
Ne uporabljajte električnega orodja, če stikalo za vklop in izklop ne deluje. Če električnega orodja ni mogoče upravljati s stikalom, je nevarno in ga je treba popraviti.
Pred vsakim spreminjanjem nastavitev, menjavo nastavkov ali shranjevanjem električnega orodja iztaknite vtič iz vira napajanja in/ali z električnega orodja odstranite akumulator, če je ta snemljiv. Takšni preventivni varnostni ukrepi zmanjšujejo nevarnost nenamernega zagona električnega orodja.
Električno orodje, ki ga ne uporabljajte, hranite zunaj dosega otrok, in ne dovolite, da bi električno orodje uporabljale osebe, ki niso seznanjene z uporabo električnega orodja ali s temi navodili. V rokah neusposobljenih uporabnikov so električna orodja nevarna.
Orodje in nastavke redno vzdržujte. Preverite, ali so premični deli električnega orodja pravilno poravnani in pritrjeni ter da kateri od delov ni okvarjen ali da kako drugače ne ovira pravilnega delovanja orodja. Če je električno orodje poškodovano, ga pred ponovno uporabo popravite. Nepravilno vzdrževano orodje je pogosto vzrok nesreč.
Rezila naj bodo vedno ostra in čista. Pravilno vzdrževano rezalno orodje z ostrimi rezili se redkeje zatakne in ga je lažje nadzorovati.
Električno orodje, dodatno opremo, nastavke itd. uporabljajte v skladu s temi navodili, ob upoštevanju delovnih pogojev in dela, ki ga izvajate. Uporaba električnega orodja za drugačna opravila od predvidenih lahko povzroči nevarnost.
Ročaji in oprijemalne površine naj bodo čisti, suhi ter brez olja in masti. Spolzki ročaji in oprijemalne površine ne omogočajo varnega rokovanja z orodjem in nadzora v nepričakovanih situacijah.
Uporaba in skrb za akumulatorsko orodje
Akumulator polnite samo s polnilnikom, ki ga je določil proizvajalec. Polnilnik, ki je primeren za en tip akumulatorja, lahko povzroči nevarnost požara, če ga uporabljate z drugim akumulatorjem.
Električno orodje uporabljajte izključno z izrecno navedenimi akumulatorji. Uporaba drugih vrst akumulatorjev lahko povzroči nevarnost telesnih poškodb ali požara.
Kadar akumulatorja ne uporabljate, pazite, da v njegovi bližini ne bo kovinskih predmetov, kot so sponke, kovanci, ključi, žeblji in vijaki oziroma drugi manjši kovinski predmeti, ki bi lahko ustvarili stik med poloma. Kratki stik polov akumulatorja lahko povzroči opekline ali požar.
Če orodje nepravilno uporabljate, lahko iz akumulatorja priteče tekočina. Ne dotikajte se je. Če se je ponesreči dotaknete, mesto izperite z vodo. Če tekočina pride v stik z očmi, poiščite zdravniško pomoč. Tekočina, ki izteče iz akumulatorja, lahko povzroči draženje ali opekline.
Ne uporabljajte akumulatorja ali orodja, če sta poškodovana ali spremenjena. Uporaba poškodovanega ali spremenjenega akumulatorja lahko privede do nepredvidljivega delovanja, ki lahko povzroči požar, eksplozijo ali nevarnost telesne poškodbe.
Akumulatorja in orodja ne izpostavljajte ognju ali previsoki temperaturi. Izpostavljenost temperaturi ognja nad 130 °C lahko povzroči eksplozijo.
Upoštevajte navodila za polnjenje in ne polnite akumulatorja zunaj temperaturnega razpona, navedenega v navodilih. Nepravilno polnjenje ali polnjenje pri temperaturi zunaj navedenega razpona lahko poškoduje akumulator in poveča nevarnost požara.
Servisiranje
Električno orodje naj servisira usposobljen serviser, ki uporablja samo enake nadomestne dele. Tako boste zagotovili varno delovanje električnega orodja.
Poškodovanega akumulatorja ne servisirajte. Servisiranje akumulatorja lahko izvede samo proizvajalec ali pooblaščeni serviser.
Kosilnice ne upravljajte na dežju ali v vlažnih pogojih. V takih pogojih je nevarnost električnega udara večja.
Kosilnice ne uporabljajte v slabih vremenskih razmerah, zlasti če obstaja nevarnost udara strele. To zmanjša tveganje, da bi v vas udarila strela.
Temeljito preglejte območje, na katerem boste uporabljali kosilnico, da na njem ni prostoživečih živali. Med uporabo kosilnice se lahko prostoživeče živali poškodujejo.
Temeljito preglejte območje, kjer boste kosilnico uporabili, ter odstranite vse kamenje, veje, žice, kosti in druge trdne predmete. Takšni predmeti lahko ob izmetu povzročijo telesne poškodbe.
Pred uporabo kosilnico vedno preglejte ter se prepričajte, da rezila, vijaki rezil in rezalni sklop niso obrabljeni ali poškodovani. Obrabljeni ali poškodovani deli povečujejo nevarnost poškodb.
Redno pregledujte zbiralnik trave za obrabo ali poškodbe. Obrabljen ali poškodovan zbiralnik trave povečuje nevarnost poškodb.
Varovala morajo biti ves čas nameščena. Varovala morajo biti brezhibna in pravilno nameščena. Ohlapno, poškodovano ali nepravilno delujoče varovalo lahko povzroči telesne poškodbe.
Iz vseh dovodov hladilnega zraka odstranite drobir. Zamašeni dovodi zraka in drobir lahko povzročijo pregrevanje ali nevarnost požara.
Med uporabo kosilnice vedno nosite nedrsečo zaščitno obutev. Kosilnice ne smete upravljati bosi ali obuti v odprte sandale. To zmanjša možnost poškodb stopal zaradi stika s premikajočim se rezilom.
Med uporabo kosilnice vedno nosite dolge hlače. Nezakrita koža je bolj izpostavljena poškodbam zaradi izvrženih predmetov.
Kosilnice ne upravljajte v dežju ali na mokri travi. Hodite, nikoli ne tecite. Tako zmanjšate tveganje za zdrs in padec, kar bi lahko povzročilo telesne poškodbe.
Kosilnice ne uporabljajte na pretirano strmih pobočjih. Tako zmanjšate tveganje izgube nadzora, zdrsa in padca, kar bi lahko povzročilo telesne poškodbe.
Pri delu na pobočjih se vedno prepričajte, da trdno stojite na nogah, vedno delajte počez po pobočju, nikoli navzgor ali navzdol, in bodite zelo previdni pri spreminjanju smeri. Tako zmanjšate tveganje izgube nadzora, zdrsa in padca, kar bi lahko povzročilo telesne poškodbe.
Pri vzvratnem premikanju ali vlečenju kosilnice proti sebi bodite zelo previdni. Vedno bodite pozorni na svojo okolico. Tako zmanjšate tveganje spotikanja med upravljanjem.
Ne dotikajte se rezil in drugih nevarnih premikajočih se delov, dokler se premikajo. Tako zmanjšate nevarnost poškodb zaradi premikajočih se delov.
Pri odstranjevanju zataknjenega materiala ali čiščenju kosilnice se prepričajte, da so vsa stikala za napajanje izklopljena in da je akumulator odklopljen. Nepričakovan vklop kosilnice lahko povzroči hude telesne poškodbe.
Usposabljanje
Upravljavec stroja je odgovoren za vse nesreče ali nevarnosti, ki jih povzroči drugim osebam ali lastnini drugih oseb.
Ne dovolite otrokom, da bi uporabljali stroj, akumulator ali polnilnik oziroma da bi se igrali z njimi. Lokalni predpisi lahko omejujejo starost upravljavca.
Ljudje z zmanjšanimi fizičnimi, senzoričnimi ali mentalnimi zmožnostmi oziroma brez izkušenj in znanja ne smejo uporabljati stroja, akumulatorja ali polnilnika, razen če prejmejo navodila za varno uporabo ali so med uporabo pod nadzorom in razumejo nevarnosti pri uporabi.
Pred uporabo akumulatorja in polnilnika preberite vsa navodila in previdnostne oznake na teh izdelkih.
Priprava
Zamenjajte vse poškodovane in nečitljive oznake.
Uporabljajte samo akumulator, ki ga je določilo podjetje Toro. Uporaba druge dodatne opreme in priključkov lahko poveča nevarnost poškodb in požara.
Priklop polnilnika v vtičnico, ki nima ustrezne napetosti, lahko povzroči požar ali električni udar. Za drugačen priklop po potrebi uporabite adapter vtiča ustrezne konfiguracije za električno vtičnico.
Ne uporabljajte poškodovanega ali spremenjenega akumulatorja ali polnilnika, saj lahko pride do nepredvidljivega delovanja, ki lahko povzroči požar, eksplozijo ali nevarnost poškodbe.
Če je napajalni kabel polnilnika poškodovan, se obrnite na pooblaščenega serviserja, da ga zamenja.
Ne uporabljajte akumulatorjev, ki niso namenjeni polnjenju.
Akumulator polnite samo s polnilnikom, ki ga je določilo podjetje Toro. Polnilnik, ki je primeren za en tip akumulatorja, lahko povzroči nevarnost požara, če ga uporabljate z drugim akumulatorjem.
Akumulator polnite samo v dobro prezračevanem prostoru.
Akumulatorja ali polnilnika ne izpostavljajte ognju ali temperaturi nad 68 °C.
Upoštevajte navodila za polnjenje in ne polnite akumulatorja izven temperaturnega razpona, navedenega v navodilih. V nasprotnem primeru lahko pride do poškodbe akumulatorja in večje nevarnosti požara.
Upravljanje
Ne približujte se izmetnim odprtinam.
Pred zagonom stroja izklopite samohodni pogon (če je vgrajen).
Preprečite nenamerni zagon – prepričajte se, da je električni gumb za zagon odstranjen iz vžiga, preden priklopite akumulator in delate s strojem.
Zaustavite stroj, odstranite električni gumb za zagon, odstranite akumulator iz stroja in počakajte, da se vsi premikajoči se deli zaustavijo, preden izvajate servisiranje ali čiščenje stroja.
Odstranite akumulator in električni gumb za zagon iz stroja, če ga pustite brez nadzora ali pred zamenjavo dodatne opreme.
Izvrženega materiala ne usmerjajte proti ljudem. Pazite, da izmet ne bo usmerjen v zid ali oviro, saj bi se lahko trdi predmeti odbili nazaj proti vam. Pri prečkanju makadamskih površin zaustavite vrtenje rezil.
Bodite pozorni na luknje, kolesnice, grbine, skale ali druge skrite ovire. Na neravnem terenu lahko izgubite ravnotežje ali pa vam zdrsne in padete.
Če stroj zadane predmet ali se začne tresti, takoj zaustavite stroj, odstranite električni gumb za zagon in akumulator ter počakajte, da se vsi premikajoči se deli ustavijo, preden pregledate stroj glede poškodb. Pred nadaljevanjem uporabe opravite vsa potrebna popravila.
Zaustavite stroj in odstranite električni gumb za zagon, preden naložite stroj za prevoz.
Pri neustreznih pogojih uporabe lahko iz akumulatorja brizga tekočina. Izogibajte se stiku z njo. V primeru nenamernega stika s tekočino sperite tekočino z vodo. Če tekočina pride v stik z očmi, poiščite zdravniško pomoč. Tekočina, ki je izvržena iz akumulatorja, lahko povzroči draženje ali opekline.
Vzdrževanje in shranjevanje
Zaustavite stroj, odstranite električni gumb za zagon, odstranite akumulator iz stroja in počakajte, da se vsi premikajoči se deli zaustavijo, preden izvajate servisiranje ali čiščenje stroja.
Ne poskušajte popravljati stroja, razen kot je navedeno v navodilih. Servis stroja naj izvede pooblaščen serviser z originalnimi nadomestnimi deli.
Topo rezilo nabrusite na obeh straneh, da ohranite ravnovesje. Očistite rezilo in se prepričajte, da je uravnovešeno.
Pri servisiranju rezila morate upoštevati, da se rezilo še vedno lahko premika, čeprav je napajanje izklopljeno.
Za kar najboljše delovanje uporabljajte samo originalne nadomestne dele in dodatno opremo Toro. Uporaba drugih nadomestnih delov in dodatne opreme je lahko nevarna in lahko privede do izničenja garancije.
Redno vzdržujte stroj – redno brusite in čistite rezila, da zagotovite najboljše in najvarnejše delovanje. Ročaji naj bodo čisti, suhi ter brez olja in masti. Varovala naj bodo nameščena in brezhibna. Rezila naj bodo ostra. Uporabljajte samo identična nadomestna rezila.
Če ni drugače navedeno v navodilih, naj poškodovano varovalo ali del zamenja pooblaščeni serviser.
Če akumulatorja ne uporabljate, pazite, da v njegovi bližini ne bo kovinskih predmetov, kot so sponke, kovanci, ključi, žeblji ali vijaki, ki bi lahko ustvarili stik med poloma. Kratki stik polov akumulatorja lahko povzroči opekline ali požar.
Redno preverjajte, ali so pritrdilni vijaki rezil in motorja pravilno zategnjeni.
POZOR – nepravilno ravnanje z akumulatorjem lahko povzroči nevarnost požara ali kemičnih opeklin. Akumulatorja ne razstavljajte. Akumulatorja ne segrevajte nad 68 °C in ga ne sežigajte. Akumulator zamenjajte samo z originalnim akumulatorjem Toro. Uporaba drugega akumulatorja lahko povzroči požar ali eksplozijo. Akumulatorji morajo biti izven dosega otrok in v originalni embalaži, dokler jih ne uporabljate.
Akumulatorja ne vrzite v ogenj. Celica lahko eksplodira. Upoštevajte lokalne predpise glede posebnih navodil za odstranjevanje.
![]() |
Varnostne nalepke in nalepke z navodili so nameščene v bližini vseh potencialno nevarnih predelov in dobro vidne upravljavcu. Poškodovane in manjkajoče varnostne nalepke nadomestite z novimi. |
|
Simbol baterije ali polnilnika |
Razlaga |
![]() |
Preberite Priročnik za upravljanje. |
![]() ![]() |
Obrnite se na občino ali svojega pooblaščenega serviserja ali distributerja za več informacij o odgovornem recikliranju akumulatorja. |






Important: Akumulator ob nakupu ni povsem napolnjen. Pred prvim zagonom stroja glejte Polnjenje akumulatorja.
Deli potrebni za ta postopek:
| Vijaki in matice za pritrditev (niso priloženi) | 2 |
Po potrebi namestite polnilnik neposredno na zid z odprtinami za montažo na zid na zadnji strani polnilnika.
Namestite ga v zaprtem prostoru (npr. v garaži ali podobnem suhem prostoru) blizu vtičnice in zunaj dosega otrok.
Glejte Diagram 3 za pomoč pri namestitvi polnilnika.
Polnilnik potisnite na ustrezne vijake za montažo (niso priloženi).

Če nepravilno sklopite ali razklopite ročaj, lahko poškodujete kable in povzročite nevarno delovanje.
Pri sklapljanju in razklapljanju ročaja pazite, da ne poškodujete kablov.
Kabel napeljite po zunanji strani ročaja.
Če poškodujete kabel, se obrnite na pooblaščeni servis.
Important: Pri zapenjanju zapahov ročaja držite za ročaj, da si ne bi priščipnili prstov.






| Model | 81875 | ||
| Kapaciteta akumulatorja | 7,5 Ah | ||
| 405 Wh | |||
|
Napetost po podatkih proizvajalca akumulatorja = največja 60 V in nazivna 54 V Dejanska napetost je odvisna od obremenitve. |
|||
| Model | 81802 | |
| Tip | Litij-ionski akumulator z NAJVEČJO napetostjo 60 V | |
| Vhod | Izmenični tok od 100 do 240 V ~2,0 A, 50/60 Hz | |
| Izhod | Enosmerni tok z NAJVEČ
60 V, 2,0 A |
|
| Akumulator polnite/hranite pri | 5 °C do 40 °C* |
| Akumulator uporabljajte pri | –30 °C do 49 °C* |
| Stroj uporabljajte pri | 0 °C do 49 °C* |
*Čas polnjenja se bo podaljšal, če akumulatorja ne polnite v tem temperaturnem razponu.
Stroj, akumulator in polnilnik shranite v zaprtem, suhem prostoru.
Toro ponuja širok nabor odobrenih delovnih priključkov in dodatne opreme, s katerimi lahko povečate in razširite zmogljivosti stroja. Za seznam odobrenih priključkov in dodatne opreme se obrnite na pooblaščenega serviserja ali pooblaščenega distributerja strojev Toro oziroma obiščite www.Toro.com.
Če želite zagotoviti optimalno delovanje in ohraniti veljavnost varnostnega certifikata stroja, uporabljajte izključno originalne nadomestne dele in dodatno opremo Toro. Nadomestni deli in dodatna oprema drugih proizvajalcev so lahko nevarni.
Note: Ugotovite, katera stran je leva in katera desna, gledano s položaja za upravljanje stroja.
Important: Akumulator uporabljajte le pri temperaturi znotraj ustreznega razpona, glejte Specifikacije.
Prepričajte se, da v prezračevalnih režah akumulatorja ni prahu in smeti.
Dvignite pokrov ohišja akumulatorja (A na Diagram 10).
Poravnajte odprtino v akumulatorju z jezičkom na stroju in potisnite akumulator v ohišje, da se zaskoči (B na Diagram 10).
Zaprite pokrov ohišja akumulatorja (C na Diagram 10).
Note: Če se pokrov ohišja akumulatorja ne zapre popolnoma, akumulator ni pravilno nameščen.

Ročaj lahko dvignete oziroma spustite na položaj, ki vam najbolj ustreza.
Zavrtite zapah ročaja in ročaj premaknite na enega od 2 položajev, nato pa ga znova pritrdite (Diagram 11).

Pri nastavljanju višine košnje bi lahko vaše dlani prišle v stik z vrtečimi se rezili, kar bi lahko privedlo do hudih poškodb.
Ugasnite motor, odstranite akumulator in počakajte, da se vsi premikajoči se deli ustavijo, preden prilagodite višino košnje.
Pri nastavljanju višine košnje ne segajte s prsti pod ohišje.
Nastavite višino košnje po želji. Vsa kolesa nastavite na isto višino košnje (Diagram 12).

Preverite, ali je akumulator pravilno nameščen v stroju – glejte Namestitev akumulatorja.
Note: Če se pokrov ohišja akumulatorja ne zapre popolnoma, akumulator ni pravilno nameščen.
Vstavite električni gumb za zagon v električno stikalo za zagon (A na Diagram 13).
Stisnite krmilni vzvod rezil kosilnice in ga pridržite ob ročaju (B na Diagram 13).
Pritisnite električni gumb za zagon in ga držite toliko časa, da se motor zažene (C na Diagram 13).

Če želite uporabljati samohodni pogon, preprosto z rokama držite zgornji ročaj tako, da imate komolca ob telesu, in stroj se bo samodejno premikal skupaj z vami (Diagram 14).

Note: Če pri uporabi samohodnega pogona stroja ni mogoče neovirano premikati nazaj, se ustavite, roke držite pri miru in počakajte, da se stroj zapelje nekaj centimetrov naprej, da se samohodni pogon izklopi. Lahko primete tudi za kovinski ročaj, ki je neposredno pod zgornjim ročajem, in stroj potisnete za nekaj centimetrov naprej. Če stroja ni mogoče neovirano premikati nazaj, se obrnite na pooblaščenega serviserja.
Stroj ima dve nastavitvi hitrosti rezil: AUTO (SAMODEJNA) in MAX (NAJVIšJA).
Če je ročica nastavljena na položaj AUTO (SAMODEJNA), se hitrost rezil samodejno prilagaja tako, da se zagotovi največja učinkovitost; stroj zaznava spremembe v razmerah košnje in samodejno poveča hitrost, da zagotovi ohranjanje kakovosti rezanja.
Če je ročica nastavljena na položaj MAX (NAJVIšJA), stroj ves čas deluje pri najvišji hitrosti.
Za nastavitev želene hitrosti rezil gumb za električni zagon v stikalu za električni zagon obrnite v želeni položaj (Diagram 15).

Sprostite krmilni vzvod rezil kosilnice (A na Diagram 16).
Odstranite gumb za električni zagon iz stikala za električni zagon (B na Diagram 16).
Odstranite akumulator, glejte Odstranjevanje akumulatorja iz stroja.
Note: Kadar stroja ne uporabljate, odstranite akumulator.

Dvignite pokrov ohišja akumulatorja.
Pritisnite zatič akumulatorja, da sprostite akumulator in ga odstranite.
Zaprite pokrov ohišja akumulatorja.
Stroj je tovarniško opremljen za recikliranje trave in razrezanega listja na travnato površino.
Important: Prepričajte se, da je zadnji čep pritrjen. Za pritrditev čepa dvignite zadnji usmerjevalnik (A na Diagram 17) in čep močno potisnite navzdol, da se zaskoči (B na Diagram 17).

Note: Za sprostitev zadnjega čepa, obrnite vzvod na čepu v desno (Diagram 18).
Če želite zbrati pokošeno travo in razrezano listje, uporabite vrečo za travo.
Note: Privzeto je ta stroj opremljen z ekonomičnim rezilom za daljši čas delovanja; na voljo je tudi dodatno, bolj zmogljivo rezilo za učinkovitejše zbiranje in boljše delovanje. Pred zbiranjem trave v vreče namestite bolj zmogljivo rezilo; glejte Zamenjava rezila.
Zaustavite stroj in počakajte, da se vsi premikajoči se deli ustavijo; glejte Zaustavitev stroja.
Odstranite akumulator iz stroja; glejte Odstranjevanje akumulatorja iz stroja.
Dvignite zadnji usmerjevalnik in ga pustite dvignjenega (A na Diagram 18).
Odstranite zaporo zadnjega tako, da zapah pritisnete s palcem in zaporo povlečete iz stroja (B in C na Diagram 18).
Konca palic nosilca vreče vstavite v odprtini v podnožju ročaja ter z zibanjem vreče naprej in nazaj preverite, ali sta potisnjena do dna odprtin (D na Diagram 18).
Spustite zadnji usmerjevalnik do točke, kjer se nasloni na vrečo za travo.

Stroj lahko izmetava pokošeno travo in druge predmete skozi odprtino v ohišju stroja. Predmeti, ki jih stroj izvrže z zadostno silo, lahko povzročijo telesne poškodbe ali smrt upravljavca ali navzočih oseb.
Če odstranite vrečo za travo, nikoli ne zaženite stroja, ne da bi prej namestili zaporo izmetne odprtine.
Ne odpirajte zadnjega usmerjevalnika, kadar stroj deluje.
Preverite območje, kjer boste uporabljali stroj, in odstranite vse predmete, ki jih lahko stroj izvrže.
Pazite, da rezilo ne bo udarjalo v trde predmete. Nikoli ne kosite tako, da bi kosilnico zapeljali čez kakršen koli predmet.
Če stroj zadene ob predmet ali se začne tresti, nemudoma zaustavite stroj, počakajte, da se vsi premikajoči se deli ustavijo in odstranite akumulator iz stroja, nato pa preglejte, ali je stroj poškodovan.
Za najboljše delovanje pred začetkom nove kosilne sezone oziroma po potrebi namestite novo rezilo Toro.
V enem prehodu pokosite največ ⅓ višine trave. Za čim boljšo kakovost košnje, čim daljšo življenjsko dobo in učinkovito zbiranje v vreče kosite travo s čim višjo nastavitvijo višine.
No kosite nižje od 51 mm, razen če je trava zelo redka oziroma če kosite jeseni, ko trava ne raste več tako hitro.
Če kosite travo, ki je višja od 15 cm, kosite z najvišjo nastavitvijo višine in hodite počasi; nato travo pokosite še pri nižji nastavitvi, da dosežete želeni videz trate. Če je trava previsoka, se lahko stroj zamaši in povzroči zaustavitev motorja.
Mokra trava in listje lahko povzročita zamašitev stroja oziroma zaustavitev motorja. Ne kosite mokre trave.
V zelo suhih razmerah bodite posebej previdni zaradi nevarnosti požara. Upoštevajte lokalne protipožarne ukrepe in stroja ne približujte suhim ostankov trave in listja.
Spreminjajte smer košnje. Tako lahko enakomerneje razpršite pokošeno travo in zagotovite boljšo pognojitev.
Če videz pokošene trate ni po pričakovanjih, poskusite nekaj od naslednjega:
Zamenjajte rezilo ali ga dajte nabrusiti.
Med košnjo hodite počasneje.
Nastavite višjo višino košnje.
Kosite bolj pogosto.
Kosite tako, da se bodo prehodi delno prekrivali, namesto da ob vsakem prehodu s celim strojem zajemate travo.
Po košnji mora biti vsaj pol trave vidne nad plastjo odpadlega listja. Morda boste morali narediti več kot en prehod čez odpadlo listje.
Če je plast listja na zelenici debelejša od 13 cm, najprej nastavite višjo višino košnje, nato pa jo ponovite še z želeno višino.
Če stroj listja ne razreže, kot bi ga moral, se premikajte počasneje.
Important: Akumulator ob nakupu ni povsem napolnjen. Pred prvo uporabo stroja akumulator priključite na polnilnik in ga polnite, dokler zaslon LED ne kaže, da je povsem napolnjen. Preberite vse varnostne ukrepe.
Important: Akumulator polnite le pri temperaturi znotraj ustreznega razpona, glejte Specifikacije.
Note: Kadar koli lahko pritisnete gumb za prikaz napolnjenosti na akumulatorju, da s svetlečimi diodami prikažete napolnjenost.
Iz prezračevalnih rež akumulatorja in polov akumulatorja redno čistite prah in smeti.

Poravnajte odprtino v akumulatorju (Diagram 19) z jezičkom na polnilniku.
Potisnite akumulator v polnilnik, dokler se povsem ne zaskoči (Diagram 19).
Akumulator odstranite tako, da ga povlečete iz polnilnika.
V spodnji preglednici je razlaga svetlečih diod indikatorja polnilnika.
| Simbol polnilnika | Indikatorska lučka | Pomen |
![]() | Utripa zeleno | Akumulator se polni |
![]() | Sveti zeleno | Akumulator je napolnjen |
![]() | Sveti rdeče | Akumulator in/ali polnilnik je pod ali nad ustreznim temperaturnim razponom |
![]() | Utripa rdeče | Napaka pri polnjenju akumulatorja* |
| Izklopljena | Akumulator ni vstavljen |
*Glejte za več informacij.
Important: Akumulator lahko krajši čas pustite v polnilniku, kadar ga uporabljate.Če akumulatorja dlje časa ne boste uporabljali, ga odstranite iz polnilnika, glejte Pred skladiščenjem.
| Intervali servisnega vzdrževanja | Postopek vzdrževanja |
|---|---|
| Po vsaki uporabi |
|
Iz spodnjega dela stroja lahko izvrže pokošeni material.
Nosite zaščitna očala.
Dokler motor teče, bodite ves čas na upravljavčevem položaju (za ročajem).
Nikomur ne dovolite v območje, na katerem delate.
Čiščenje bo najbolj učinkovito, če ga izvedete takoj, ko končate košnjo.
Stroj nastavite na najnižjo višino košnje. Glejte Nastavitev višine košnje.
Če je vreča za travo nameščena, jo odstranite; glejte Odstranjevanje vreče za travo.
Premaknite stroj na tlakovano ravno površino.
Operite predel pod zadnjimi vratci (če so nameščena), kjer pokošena trava prehaja s spodnjega dela stroja v vrečo za travo.
Pri delujočem motorju in vklopljenem rezilu vodni curek usmerite v del pred desnim zadnjim kolesom (Diagram 20).

Ko v vodi, ki priteče iz stroja, ni več ostankov trave, zaprite vodo in stroj prestavite na suho mesto.
Zaženite motor in ga pustite teči nekaj časa, da se spodnja stran stroja osuši.
Ugasnite motor in počakajte, da se ohladi.
Stroj postavite v pokončni položaj za shranjevanje; glejte Shranjevanje stroja v pokončnem položaju.
Operite ostanke trave s spodnjega dela stroja.
Če nepravilno sklopite ali razklopite ročaj, lahko poškodujete kable in povzročite nevarno delovanje.
Pri sklapljanju in razklapljanju ročaja pazite, da ne poškodujete kablov.
Kabel napeljite po zunanji strani ročaja.
Če poškodujete kabel, se obrnite na pooblaščeni servis.
Odstranite gumb za električni zagon (Diagram 21).

Pri odpenjanju zapahov ročaja držite za ročaj, da si ne bi priščipnili prstov.
Sprostite zapah, tako da boste lahko prosto premikali zgornji ročaj.
Ročaj sklopite v skrajni sprednji položaj, ki je prikazan na Diagram 22.
Important: Med sklapljanjem ročaja speljite kable po zunanji strani zapahov ročaja.

Za razklopljenje ročaja glejte Razklopljenje ročaja.
V sezoni košnje in po njej lahko stroj shranjujete v pokončnem položaju, da zasede čim man prostora.
V pokončnem položaju za shranjevanje je dno stroja izpostavljeno.
Preden stroj premaknete v pokončni položaj za shranjevanje, odstranite akumulator in gumb za električni zagon.
Stroja ne prevažajte v pokončnem položaju.
Stroja ne poskušajte zagnati v pokončnem položaju.
Višino košnje nastavite na 92 mm ali manj. Če ni, jo ustrezno nastavite, glejte Nastavitev višine košnje.
Sprostite zapaha ročaja (Diagram 23).

Ročaj sklopite v skrajni sprednji položaj (Diagram 23).
Important: Med sklapljanjem ročaja speljite kable po zunanji strani ročnih vijakov ročaja.
Zapahnite zapaha ročaja.
S pomočjo ročaja dvignite sprednji del stroja in stroj prestavite, na mesto, kamor ga želite pospraviti (Diagram 24).

Pred vzdrževalnimi deli in čiščenjem stroja odstranite gumb za električni zagon in akumulator.
Pred nastavljanjem, servisiranjem, čiščenjem in skladiščenjem stroja vedno ugasnite motor ter počakajte, da se vsi premikajoči se deli ustavijo in da se stroj ohladi.
Uporabljajte samo nadomestne dele in dodatno opremo, ki jih priporoča proizvajalec.
Redno preverjajte in pregledujte stroj. Stroj naj popravlja izključno pooblaščeni serviser.
Note: Ugotovite, katera stran stroja je leva in katera desna, gledano z običajnega položaja za upravljanje stroja.
| Intervali servisnega vzdrževanja | Postopek vzdrževanja |
|---|---|
| Po vsaki uporabi |
|
| Letno |
|
| Intervali servisnega vzdrževanja | Postopek vzdrževanja |
|---|---|
| Letno |
|
Important: Za pravilno namestitev rezila potrebujete momentni ključ. Če nimate momentnega ključa ali ne želite sami izvesti tega postopka, se obrnite na pooblaščenega serviserja.
Če je rezilo poškodovano ali razpokano, ga nemudoma zamenjajte. Če je rezilo topo ali skrhano, ga dajte nabrusiti in uravnovesiti ali pa ga zamenjajte.
Pri servisiranju rezila se rezilo še vedno lahko premika, čeprav je napajanje izklopljeno. Rezilo kosilnice je ostro; če se ga dotaknete se lahko hudo poškodujete.
Rok in nog ne približujte premikajočemu se rezilu.
Med servisiranjem rezila nosite rokavice.
Odstranite gumb za električni zagon in akumulator s stroja.
Rezilo podprite z leseno klado (Diagram 25).
Odstranite rezilo, spravite vse pritrdilne elemente (Diagram 25).

Namestite novo rezilo in vse pritrdilne elemente (Diagram 26).

Important: Ukrivljena dela rezila morata biti usmerjena navzgor proti ohišju stroja.
Z momentnim ključem zategnite vijak rezila z zateznim momentom 88 N·m.
Samohodni pogon je treba nastaviti vedno po zamenjavi kabla samohodnega pogona oziroma če je samohodni pogon nepravilno nastavljen.
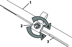
Nastavitveno matico obrnite v levo, da sprostite kabel (Diagram 27).

Preverite napetost kabla (Diagram 27), tako da ga povlečete nazaj ali potisnete naprej in zadržite v tem položaju.
Note: Če želite povečati moč pogona koles, kabel potisnite proti motorju, če želite zmanjšati moč, kabel povlecite stran od motorja.
Nastavitveno matico zavrtite v desno, da jo privijete in pritrdite kabel.
Note: Matico čvrsto privijte s ključem.
Important: Ko akumulator odstranite, pole prekrijte z močnim lepilnim trakom. Akumulatorja ne poskušajte uničiti ali razstaviti in ne odstranjujte njegovih komponent.
Obrnite se na občino ali pooblaščenega serviserja za več informacij o odgovornem recikliranju akumulatorja.
Important: Stroj, akumulator in polnilnik shranjujte le pri temperaturi znotraj ustreznega razpona; glejte Specifikacije.
Important: Če shranjujete akumulator po koncu sezone, ga napolnite, dokler na njem ne svetijo 2 ali 3 svetleče diode. Ne shranjujte povsem napolnjenega ali povsem izpraznjenega akumulatorja. Ko boste znova uporabljali stroj, napolnite akumulator, tako da bo leva indikatorska lučka na polnilniku zasvetila zeleno oziroma bodo vse 4 diode na akumulatorju svetile zeleno.
Po uporabi odklopite napajanje stroja (tj. odstranite akumulator in gumb za električni zagon) in preverite morebitne poškodbe.
Stroja ali polnilnika ne shranjujte z nameščenim akumulatorjem.
Z izdelka odstranite vse smeti.
Kadar stroja ne uporabljate, shranite stroj, gumb za električni zagon, akumulator in polnilnik zunaj dosega otrok.
Stroj, akumulator in polnilnik shranjujte stran od korozivnih sredstev, kot so kemikalije za vrt in sol za posipanje.
Za zmanjšanje tveganja hudih poškodb akumulatorja ne shranjujte na prostem ali v vozilih.
Stroj, akumulator in polnilnik shranite v zaprtem, suhem prostoru.
Izvedite samo korake, opisane v teh navodilih. Če težav ne morete odpraviti sami, mora vse nadaljnje preglede, vzdrževanje in popravila izvesti pooblaščen servisni center ali kvalificiran strokovnjak.
| Problem | Possible Cause | Corrective Action |
|---|---|---|
| Stroja ni mogoče zagnati. |
|
|
| Stroj se ne zažene ali deluje s prekinitvami. |
|
|
| Stroj ne doseže polne moči. |
|
|
| Akumulator hitro izgublja naboj. |
|
|
| Polnilnik akumulatorja ne deluje. |
|
|
| Samohodni pogon stroja ne deluje pravilno. |
|
|
| Svetleča dioda indikatorja polnilnika sveti rdeče. |
|
|
| Svetleča dioda indikatorja polnilnika utripa rdeče. |
|
|
| Stroj piska. |
|
|
| Slabša ali nezadovoljiva kakovost rezanja. |
|
|
| Slabša ali nezadovoljiva kakovost zbiranja v vreče. |
|
|
| Stroj neenakomerno kosi. |
|
|
| Stroj se trese. |
|
|