| Vedlikeholdsintervall | Vedlikeholdsprosedyre |
|---|---|
| Etter hver bruk |
|
Denne gressklipperen er en skyvemodell med roterende kniver og er beregnet på bruk av profesjonelle, innleide operatører. Den er hovedsakelig beregnet på å klippe gress på godt vedlikeholdte plener på private eller kommersielle eiendommer. Den er utformet for bruk med Flex-Force Power System® 60 V litiumionbatteripakker. Disse batteripakkene er utformet for å kun lades av Flex-Force™ 60 V litiumionbatteriladere. Hvis du bruker disse produktene til andre formål enn de er beregnet på, kan du utsette deg selv eller andre for fare.
Les denne håndboken nøye, slik at du lærer å bruke og vedlikeholde produktet på riktig måte og unngår person- eller produktskade. Du har ansvar for å bruke produktet på en riktig og sikker måte.
Gå til www.Toro.com for mer informasjon, inkludert sikkerhetstips, opplæringsmateriale og informasjon om tilbehør, hjelp til å finne en forhandler eller for å registrere produktet ditt.
Hvis maskinen må repareres eller du trenger originale Toro-deler eller mer informasjon, kan du kontakte et autorisert Toro-forhandlerverksted eller Toros avdeling for kundeservice. Ha modell- og serienumre for hånden når du tar kontakt. Figur 1 viser hvor på produktet modell- og serienumrene er plassert. Skriv inn numrene i de tomme feltene.

Noter produktets modell- og serienummer nedenfor:
Dette sikkerhetsvarselssymbolet (Figur 2) som vises i denne håndboken og på maskinen, identifiserer viktige sikkerhetsmeldinger som du må følge for å unngå ulykker.

Sikkerhetsvarselssymbolet vises over informasjon som varsler deg om usikre handlinger eller situasjoner, og følges av ordet FARE, ADVARSEL eller FORSIKTIG.
FARE indikerer en overhengende faresituasjon som, hvis den ikke unngås, vil resultere i død eller alvorlig personskade.
ADVARSEL indikerer en potensielt farlig situasjon som, hvis den ikke unngås, kan resultere i død eller alvorlig personskade.
FORSIKTIG indikerer en potensielt farlig situasjon som, hvis den ikke unngås, kan føre til mindre eller moderat personskade.
Denne brukerhåndboken bruker i tillegg to ord til for å utheve informasjon. Viktig gjør oppmerksom på spesiell mekanisk informasjon og Obs henviser til generell informasjon som det er verdt å huske på.
Sikkerhetsanordninger på maskinen skal ikke tukles med eller deaktiveres, og riktig drift må sjekkes regelmessig. Ikke prøv å justere eller tukle med motorhastighetskontrollen, da dette kan utgjøre en usikker driftstilstand, som kan føre til personskader.
Dette produktet er i samsvar med alle relevante europeiske direktiver. Se eget samsvarserklæringsskjema for produktet for detaljert informasjon.
CALIFORNIA
Proposition 65-advarsel
Staten California kjenner til at strømledningen til dette produktet inneholder bly, et kjemikalie som kan forårsake fosterskader eller skade forplantningsevnen på andre måter. Vask hendene etter håndtering.
Bruk av dette produktet kan forårsake eksponering for kjemikalier som staten California vet forårsaker kreft, fødselsdefekter eller annen forplantningsskade.
Les alle sikkerhetsadvarsler, instruksjoner, illustrasjoner og spesifikasjoner som følger med dette elektroverktøyet. Manglende overholdelse av alle instruksjoner oppført nedenfor kan føre til elektrisk støt, brann og/eller alvorlig personskade.
Ta vare på alle advarsler og instruksjoner for fremtidig referanse.
Begrepet «elektroverktøy» i advarslene henviser til ditt nettdrevne (med ledning) elektroverktøy eller batteridrevne (trådløse) elektroverktøy.
Sikkerhet for arbeidsområdet
Hold arbeidsområdet rent og godt belyst. Rotete eller mørke områder øker risikoen for ulykker.
Ikke bruk elektroverktøy i eksplosive atmosfærer, for eksempel i nærheten av brennbare væsker, gasser eller støv. Elektroverktøy skaper gnister, som kan antenne støv eller damp.
Hold barn og tilskuere på avstand ved bruk av elektroverktøy. Distraksjoner kan føre til at du mister kontrollen.
Sikkerhet for elektrisk system
Plugger for elektroverktøy må samsvare med uttaket. Du må aldri modifisere pluggen på noen måte. Ikke bruk adapterplugger med jordede elektroverktøy. Umodifiserte plugger og samsvarende uttak reduserer risikoen for elektrisk støt.
Unngå kroppskontakt med jordede overflater, for eksempel rør, radiatorer, stekeovner og kjøleskap. Det er en økt risiko for elektrisk støt hvis kroppen din er jordet.
Ikke utsett elektroverktøyet for regn eller våte forhold. Vann som trenger inn i elektroverktøy, øker risikoen for elektrisk støt.
Ikke bruk kabelen på feil måte. Aldri bruk ledningen til å bære, trekke eller koble fra elektroverktøyet. Hold ledningen unna varme, olje, skarpe kanter og bevegelige deler. Skadede eller viklede ledninger øker risikoen for elektrisk støt.
Når du bruker et elektroverktøy utendørs, må du bruke en skjøteledning som er egnet for utendørsbruk. En ledning som er egnet for utendørsbruk, reduserer risikoen for elektrisk støt.
Hvis du ikke kan unngå å bruke et elektroverktøy på et fuktig sted, må du bruke en tilførsel beskyttet med en startstrømsenhet (RCD). En RCD reduserer risikoen for elektrisk støt.
Personlig sikkerhet
Vær oppmerksom, følg med på hva du gjør og bruk sunn fornuft når du bruker et elektroverktøy. Ikke bruk et elektroverktøy når du er trett eller påvirket av rusmidler, alkohol eller medisiner. Et uoppmerksomt øyeblikk ved bruk av elektroverktøy kan føre til alvorlige personskader.
Bruk personlig verneutstyr. Bruk alltid vernebriller. Verneutstyr, for eksempel støvmaske, sklisikre vernesko, vernehjelm eller hørselvern, som brukes i passende forhold, reduserer muligheten for personskader.
Unngå utilsiktet start. Påse at bryteren er i AV-stillingen før du kobler til en strømkilde og/eller batteripakken, plukker opp eller bærer verktøyet. Hvis du bærer elektroverktøy med fingeren på bryteren eller aktiverer elektroverktøy som har bryteren på, økes risikoen for ulykker.
Fjern eventuelle justeringsnøkler eller skrunøkler før du slår på elektroverktøyet. En skrunøkkel eller en nøkkel som fremdeles er festet til en roterende del av elektroverktøyet, kan føre til personskader.
Ikke strekk deg for langt. Hold riktig fotfeste og balanse til enhver tid. Dette gjør at du har bedre kontroll over elektroverktøyet i uforutsette situasjoner.
Ha på egnet tøy. Ikke bruk løse plagg eller smykker. Hold håret og klærne unna bevegelige deler. Løse klær, smykker eller langt hår kan sette seg fast i bevegelige deler.
Hvis det finnes enheter for tilkobling av støvutsuging og oppsamling, påse at disse er tilkoblet og korrekt brukt. Bruk av støvsamler kan redusere støvrelaterte farer.
Pass på at hyppig bruk av verktøyet ikke gjør at du blir uforsiktig og ignorerer prinsippene for trygg verktøybruk. Én uforsiktig handling kan forårsake alvorlig personskade i løpet av brøkdelen av et sekund.
Bruk og pleie av elektroverktøy
Ikke bruk makt på elektroverktøyet. Bruk korrekt elektroverktøy for bruksområdet ditt. Korrekt elektroverktøy gjør jobben bedre og sikrere ved hastigheten som det ble konstruert for.
Ikke bruk elektroverktøyet hvis bryteren ikke slår det på og av. Alle elektroverktøy som ikke kan styres med bryteren, er farlige og må repareres.
Koble pluggen fra strømkilden og/eller fjern batteripakken (hvis den kan tas ut) fra elektroverktøyet før du foretar justeringer på, bytter tilbehør på eller oppbevarer elektroverktøy. Slike forebyggende sikkerhetstiltak reduserer risikoen for å starte elektroverktøyet ved et uhell.
Oppbevar elektroverktøy som ikke er i bruk, utilgjengelig for barn, og ikke la personer som ikke vet hvordan man bruker elektroverktøyet eller som ikke har lest disse instruksjonene, bruke elektroverktøyet. Elektroverktøy er farlige når de brukes av uopplærte brukere.
Vedlikehold elektroverktøy og tilbehør. Kontroller om det er feiljustering eller opphenging av bevegelige deler, ødelagte deler eller andre forhold som kan påvirke driften av elektroverktøyet. Hvis elektroverktøyet er skadet, må det repareres før bruk. Mange ulykker skyldes dårlig vedlikeholdte elektroverktøy.
Hold klippeverktøy skarpe og rene. Forsvarlig vedlikeholdte klippeverktøy med skarpe knivegger har mindre sannsynlighet for å henge seg opp og er enklere å kontrollere.
Bruk elektroverktøyet, tilbehøret, verktøydelene osv. i samsvar med disse instruksjonene, og ta hensyn til arbeidsforholdene og arbeidet som skal utføres. Bruk av elektroverktøyet for annet enn det er tiltenkt for, kan resultere i en farlig situasjon.
Hold håndtak og gripeoverflater tørre, rene og frie for olje og fett. Glatte håndtak og gripeoverflater gir utrygg håndtering og dårlig kontroll over verktøyet i uventede situasjoner.
Bruk og pleie av batteri
Lad kun med laderen spesifisert av produsenten. En lader som er egnet for én type batteripakke, kan medføre en risiko for brann hvis den brukes med en annen batteripakke.
Bruk elektroverktøy kun med spesielt angitte batteripakker. Bruk av andre batteripakker kan medføre en risiko for personskade og brann.
Når batteripakken ikke er i bruk, må den holdes borte fra andre metallgjenstander, for eksempel binders, mynter, nøkler, spiker, skruer eller andre små metallgjenstander som kan danne en forbindelse fra én klemme til en annen. Hvis batteriklemmene kortsluttes, kan det forårsake brannsår eller brann.
Hvis batteriet utsettes for hardhendt bruk, kan væske sprute fra batteriet. Unngå kontakt med væsken. Hvis kontakt skjer ved et uhell, skyll med vann. Hvis du får væske i øynene, må du også søke legehjelp. Væske som sprutes fra batteriet, kan forårsake irritasjon eller brannskader.
Ikke bruk en batteripakke eller et verktøy som er skadet eller modifisert. Skadede eller modifiserte batterier kan ha uventet adferd, som fører til brann, eksplosjon eller risiko for personskade.
Ikke utsett en batteripakke eller et verktøy for brann eller overdrevne temperaturer. Eksponering for branntemperatur over 130 °C kan forårsake eksplosjon.
Følg alle instruksjoner for lading, og ikke lad eller oppbevar batteripakken eller verktøyet ved andre temperaturer enn de som er angitt i instruksjonene. Feil lading eller temperaturer utenfor det angitte området kan skade batteriet og øke risikoen for brann.
Service
Få en kvalifisert person til å utføre service på elektroverktøyet ditt med kun identiske erstatningsdeler. Dette sikrer at sikkerheten til elektroverktøyet opprettholdes.
Utfør aldri service på skadede batteripakker. Service av batteripakker skal kun utføres av produsenten eller autoriserte forhandlerverksted.
Ikke bruk gressklipperen i regn eller våte forhold. Dette kan øke risikoen for elektrisk støt.
Ikke bruk gressklipperen i dårlige værforhold, spesielt hvis det er fare for lyn. Dette reduserer risikoen for å bli truffet av lynet.
Kontroller at det ikke er noe dyreliv i området du skal bruke gressklipperen på. Dyreliv kan bli skadet av gressklipperen under drift.
Foreta en grundig inspeksjon der maskinen skal brukes og fjern alle steiner, pinner, ståltråd, bein og andre gjenstander. Kastede gjenstander kan forårsake personskader.
Før du bruker gressklipperen, må du alltid sjekke at kniven og knivenheten er fri for skader og slitasje. Slitte eller skadde deler øker risikoen for skader.
Kontroller gressoppsamleren regelmessig og se etter skader eller slitasje. En slitt eller skadet gressoppsamler kan øke risikoen for personskader.
Hold verneplatene på plass. Vernet må være i god stand og korrekt montert. Et vern som er løst, skadet eller ikke fungerer som det skal, kan føre til personskade.
Hold alle kjøleluftinntak fri for rusk. Blokkerte luftinntak og rusk kan føre til overoppheting eller brannfare.
Når du bruker gressklipperen, må du alltid ha på sklisikkert og beskyttende fottøy. Ikke bruk gressklipperen uten sko eller med åpne sandaler. Dette reduserer muligheten for skade på føttene som skyldes kontakt med kniven i bevegelse.
Bruk alltid langbukser når du bruker gressklipperen. Eksponert hud øker sannsynligheten for skade fra kastede gjenstander.
Ikke bruk gressklipperen i vått gress. Gå, ikke løp. Dette reduserer risikoen for skli og fall, som igjen kan føre til personskade.
Ikke bruk gressklipperen i overdrevent bratte skråninger. Dette reduserer risikoen for tap av kontroll, skli og fall, som igjen kan føre til personskade.
Når du arbeider i skråninger, må du alltid sørge for at du har godt fotfeste, alltid arbeide på tvers av skråningen og ikke opp eller ned, og utvise ekstrem forsiktighet når du skifter retning. Dette reduserer risikoen for tap av kontroll, skli og fall, som igjen kan føre til personskade.
Vær svært forsiktig når du rygger eller trekker gressklipperen mot deg. Vær alltid oppmerksom på omgivelsene. Dette reduserer risikoen for snubling under bruk.
Ikke berør knivblader og andre farlige bevegelige deler mens de fremdeles er i bevegelse. Dette reduserer risikoen for personskade fra bevegelige deler.
Før du fjerner fastkjørt materiale eller rengjør gressklipperen, må du slå av alle strømbrytere og koble fra batteripakken. Uventet drift av gressklipperen kan føre til alvorlig personskade.
Opplæring
Operatøren av maskinen er ansvarlig for eventuelle ulykker eller farer som involverer andre eller eiendommen deres.
Ikke la barn bruke eller leke med maskinen, batteripakken eller batteriladeren. Lokale bestemmelser kan sette aldersgrense for bruk av maskinen.
Ikke la personer med reduserte fysiske, sensoriske eller mentale evner, eller mangel på erfaring og kunnskap, bruke maskinen, batteripakken eller batteriladeren, med mindre de er under tilsyn eller har fått instruksjon i sikker bruk av laderen og forstår farene som er involvert ved å bruke den.
Før du bruker batteripakken og batteriladeren, må du lese alle instruksjonene og sikkerhetsmerkene på produktene.
Forberedelser
Bytt ut eventuelle skadede eller uleselige etiketter.
Bruk bare batteripakken som er angitt av Toro. Bruk av annet utstyr og tilbehør kan føre til økt fare for skader og brann.
Tilkobling av batteriladeren til en stikkontakt som ikke har korrekt spenning, kan forårsake brann eller elektrisk støt. Ved kobling til andre typer strømforsyninger kan en pluggadapter for riktig strømuttak benyttes ved behov.
Ikke bruk en ødelagt eller modifisert batteripakke eller batterilader, disse kan ha uventet atferd som fører til brann, eksplosjon eller risiko for personskade.
Hvis batteripakkens strømkabel er skadet, må du ta kontakt med et autorisert forhandlerverksted for å få en ny kabel.
Ikke bruk ikke-oppladbare batterier.
Lad kun batteripakken med batteriladeren som er spesifisert av Toro. En lader som er egnet for én type batteripakke, kan medføre en risiko for brann hvis den brukes med en annen batteripakke.
Lad batteripakken på et godt ventilert område.
Ikke utsett en batteripakke eller batterilader for brann eller temperaturer over 68 °C.
Følg alle instruksjoner for lading, og ikke lad eller oppbevar batteripakken ved andre temperaturer enn områdene som er angitt i instruksjonene. Ellers kan du skade batteripakken og øke risikoen for brann.
Bruk
Hold deg unna alle utmatingsåpninger.
Koble fra selvdrift (hvis aktuelt) før du starter maskinen.
Unngå utilsiktet start – påse at den elektriske startknappen er fjernet fra tenningen før du kobler til batteripakken og flytter på maskinen.
Stopp maskinen, fjern den elektriske startknappen, fjern batteripakken fra maskinen og vent til alle bevegelser stopper før du vedlikeholder eller rengjør maskinen.
Ta ut batteripakken og den elektriske startknappen fra maskinen når du forlater den uten tilsyn, eller før du skifter tilbehør.
Ikke la materiale kastes ut direkte mot noen. Unngå å la materiale kastes ut mot en vegg eller en hindring, da det kan sprette tilbake og treffe deg. Stopp kniven(e) når du krysser grusbelagte overflater.
Vær oppmerksom på hull, steiner eller andre skjulte objekter. Ujevnt terreng kan føre til at du mister balansen eller fotfeste.
Hvis maskinen treffer et objekt eller begynner å vibrere, må du umiddelbart slå av maskinen, fjerne den elektriske startknappen, fjerne batteripakken og vente til all bevegelse stopper før du kontrollerer om maskinen er skadet. Utfør alle nødvendige reparasjoner før du bruker maskinen igjen.
Stans maskinen og fjern elektrisk start-knappen før du laster maskinen for transport.
Under tøffe forhold kan batteripakken utskille væske. Unngå kontakt med væsken. Hvis du ved et uhell kommer i kontakt med væsken, skyll med vann. Hvis væsken kommer i kontakt med øynene, må du søke medisinsk hjelp. Væske som skilles ut fra batteriet, kan forårsake irritasjon eller brannskader.
Vedlikehold og oppbevaring
Stopp maskinen, fjern den elektriske startknappen, fjern batteripakken fra maskinen og vent til alle bevegelser stopper før du vedlikeholder eller rengjør maskinen.
Ikke prøv å reparere maskinen annet enn som angitt i instruksjonene. Service av maskinen må utføres av et autorisert forhandlerverksted med identiske erstatningsdeler.
Slip sløve kniver på begge sidene for å sørge for balanse. Rengjør kniven og påse at den er balansert.
Når du utfører service på kniven, må du være obs på at kniven kan bevege seg selv om strømkilden er slått av.
Bruk utelukkende originale reservedeler og tilbehør fra Toro for beste mulige ytelse. Reservedeler og tilbehør som er laget av andre produsenter, kan være farlige, og bruk av dem kan derfor føre til at garantien blir ugyldig.
Vedlikehold maskinen – hold knivene skarpe og rene for så gode og trygge brukstilstander som mulig. Hold håndtakene tørre, rene og frie for olje og fett. Hold verneplatene på plass og i orden. Hold knivene skarpe. Bruk kun identiske erstatningskniver.
Med mindre annet er angitt i instruksjonene, må skadede vern og deler byttes ut hos et autorisert forhandlerverksted.
Når batteripakken ikke er i bruk, hold den borte fra metallgjenstander som binders, mynter, nøkler, spiker og skruer som kan danne en forbindelse fra en klemme til en annen. Hvis batteriklemmene kortslutter, kan det forårsake brannskader eller brann.
Kontroller at kniv- og motormonteringsboltene er strammet til med jevne mellomrom.
FORSIKTIG – En batteripakke som håndteres feil kan utgjøre en risiko for brann eller kjemiske brannskader. Ikke demonter batteripakken. Ikke varm batteripakken til over 68 °C eller avhend den ved å brenne den. Erstatt batteripakken med kun en original Toro-batteripakke. Bruk av en annen type batteripakke kan forårsake brann eller eksplosjon. Hold batteripakker utilgjengelig for barn og i den opprinnelige emballasjen til du er klar til bruke dem.
Ikke avhend batteriet ved å brenne det. Cellen kan eksplodere. Sjekk lokale forskrifter for mulige spesielle avhendingsinstruksjoner.
![]() |
Sikkerhetsmerker og -instruksjoner er lett synlige for føreren og er plassert i nærheten av alle områder som representerer en potensiell fare. Bytt ut alle merker som er ødelagte eller mangler. |
|
Symbol for batteri eller lader |
Forklaring |
![]() |
Les brukerhåndboken. |
![]() ![]() |
Ta kontakt med lokale myndigheter eller et autorisert forhandlerverksted eller forhandler hvis du vil ha mer informasjon om hvordan du kan resirkulere batteriet på en forsvarlig måte. |






Important: Batteripakken er ikke fulladet når den kjøpes. Før du bruker maskinen for første gang, må du lese Lade batteripakken.
Deler som er nødvendige for dette trinnet:
| Monter maskinvare (ikke inkludert) | 2 |
Hvis du ønsker, kan du montere batteriladeren sikkert på en vegg ved bruk av nøkkelhullene for veggmontering på baksiden av laderen.
Monter den innendørs (for eksempel i en garasje eller et annet tørt sted), nær et strømuttak og utilgjengelig for barn.
Se Figur 3 for hjelp med å montere laderen.
Skyv laderen over de korrekt plasserte monteringsdelene for å feste laderen på plass (monteringsdelene er ikke inkludert).

Hvis man folder sammen eller ut håndtaket på feil måte, kan dette føre til skade på ledningene, noe som igjen kan utgjøre en usikker driftstilstand.
Pass på at du ikke skader ledningen(e) når du folder sammen eller ut håndtaket.
Kontroller at ledningen(e) ledes på utsiden av håndtaket.
Hvis en ledning blir skadet, kontakter du et autorisert forhandlerverksted.
Important: Hold håndtaket mens du aktiverer håndtakslåsene for å unngå at du klemmer hendene.






| Modell | 81875 | ||
| Batteripakkekapasitet | 7,5 Ah | ||
| 405 Wh | |||
|
Batteriprodusentens klassifisering = 60 V maksimum og 54 V nominell. Faktisk spenning varierer med last. |
|||
| Modell | 81802 | |
| Type | 60 V MAX-litiumionbatterilader | |
| Inngang | 100 til 240 V AC ~ 2,0 A 50/60 Hz | |
| Effekt | 60 V DC 2,0 A MAKS. |
|
| Lad/oppbevar batteripakken ved | 5 °C til 40 °C* |
| Bruk batteripakken ved | -30 °C til 49 °C* |
| Bruk maskinen ved | 0 °C til 49 °C* |
*Ladetiden øker hvis du ikke lader batteriet innenfor dette området.
Oppbevar maskinen, batteripakken og batteriladeren i et lukket rent og tørt område.
Et utvalg av Toro-godkjent tilbehør som kan brukes sammen med maskinen for å forbedre og utvide dens funksjoner er tilgjengelig. Ta kontakt med din autoriserte serviceforhandler eller autoriserte Toro-forhandler, eller gå til www.Toro.com for å få en liste over godkjent tilbehør og utstyr.
For å oppnå optimal ytelse og holde maskinen i sikkerhetsgodkjent stand må du bare bruke originale Toro-reservedeler og -tilbehør. Det kan være farlig å bruke reservedeler og tilleggsutstyr som er laget av andre produsenter.
Note: Angi hva som er høyre og venstre side på maskinen ved å stå i normal arbeidsstilling.
Important: Bruk batteripakken kun i temperaturer som er innenfor riktig område. Se Spesifikasjoner.
Påse at ventilene på batteriene er frie for støv og rusk.
Løft opp lokket på batterirommet (A i Figur 10).
Innrett kammeret i batteripakken med koblingsarmen på laderen og skyv batteripakken inn i rommet til det låses på plass (B i Figur 10).
Lukk lokket på batterirommet (C i Figur 10).
Note: Hvis lokket på batterirommet ikke lukkes helt, er ikke batteriet fullstendig installert.

Du kan heve eller senke håndtaket til en stilling som er komfortabel for deg.
Roter håndtakslåsen, beveg håndtaket til én av to posisjoner, og lås håndtaket i posisjon (Figur 11).

Når du justerer klippehøyden, kan hendene dine berøre en kniv som er i bevegelse, noe som kan gi alvorlig personskade.
Slå av motoren, fjern batteriet og vent til alle bevegelige deler har stanset før du justerer klippehøyden.
Ikke plasser fingrene under huset når du justerer klippehøyden.
Juster klippehøyden som ønsket. Still alle hjulene til samme klippehøyde (Figur 12).

Påse at batteripakken er installert i maskinen. Se Monter batteripakken.
Note: Hvis lokket på batterirommet ikke lukkes helt, er ikke batteriet fullstendig montert.
Sett inn elektrisk start-knappen i den elektriske startbryteren (A i Figur 13).
Klem inn knivkontrollbøylen og hold den mot håndtaket (B i Figur 13).
Trykk på elektrisk start-knappen, og hold den nede til motoren starter (C i Figur 13).

For å bruke selvdriften, gå bare fremover med hendene plassert på det øvre håndtaket og albuene ved siden, og maskinen vil automatisk holde samme fart som deg (Figur 14).

Note: Hvis maskinen ikke ruller uhindret bakover etter selvdrift, slutt å gå, hold hendene på plass og la maskinen rulle noen centimeter frem for å deaktivere hjuldriften. Du kan også prøve å gripe rett under det øvre håndtaket på metallhåndtaket og skyve gressklipperen frem noen centimeter. Hvis maskinen fremdeles ikke ruller lett bakover, kontakt en autorisert serviceforhandler.
Denne maskinen har to knivhastighetsinnstillinger: AUTO og MAX.
Når den settes til AUTO-posisjonen, justeres knivhastigheten automatisk for større effektivitet. Det oppdages endringer i klippeforhold, og knivhastigheten øker når det er nødvendig for å opprettholde klippekvaliteten.
Når den er satt til MAX-posisjonen, forblir knivhastigheten på høyeste hastighet til enhver tid.
Vri den elektriske start-knappen i den elektriske startbryteren til en av posisjonene for å justere innstillingen for knivhastighet (Figur 15).

Slipp knivkontrollbøylen (A i Figur 16).
Fjern elektrisk start-knappen fra den elektriske starteren (B i Figur 16).
Fjern batteripakken. Se Fjern batteripakken fra maskinen.
Note: Når du ikke bruker maskinen, må du ta ut batteripakken.

Løft opp lokket på batterirommet.
Trykk på batteripakkelåsen for å frigjøre batteripakken og ta ut batteripakken.
Lukk lokket på batterirommet.
Maskinen leveres klar til å resirkulere gress- og løvrester tilbake i plenen.
Important: Kontroller at den bakre pluggen er låst på plass. Du låser pluggen ved å heve den bakre avlederen (A i Figur 17) og skyve pluggen godt ned til den knepper på plass (B av Figur 17).

Note: For å låse opp den bakre pluggen roterer du spaken på pluggen mot høyre (Figur 18).
Bruk gressposen når du vil samle opp gress- og løvrester fra plenen.
Note: Som standard er denne maskinen utstyrt med en økonomikniv for forbedret kjøretid. Den inkluderer også en valgfri ytelseskniv for forbedret oppsamling og ytelse. Monter ytelseskniven før du samler opp. Se Skifte ut kniven.
Slå av maskinen, og vent til alle bevegelige deler har stanset. Se Slå av maskinen.
Fjern batteripakken fra maskinen. Se Fjern batteripakken fra maskinen.
Løft og hold oppe den bakre avlederen (A av Figur 18).
Fjern den bakre utslippspluggen ved å trykke inn låsen med tommelen og trekke pluggen ut av maskinen (B og C av Figur 18).
Monter posestangen i hakkene på bunnen av håndtaket, og vugg posen frem og tilbake for å sjekke at stangen sitter godt på bunnen av begge hakkene. Se (D av Figur 18).
Senk den bakre avlederen til den hviler på gressposen.

Maskinen kan slynge ut gress og andre gjenstander gjennom åpninger i gressklipperhuset. Gjenstander som slynges ut med nok kraft, kan påføre både deg og andre i nærheten alvorlige eller dødelige skader.
Ikke fjern gressposen og start maskinen uten at utslippspluggen er montert på maskinen.
Ikke lukk opp den bakre avlederen på maskinen mens den er på.
Undersøk området der du skal bruke maskinen, og fjern alle gjenstander som kan slynges ut av maskinen.
La ikke kniven treffe harde gjenstander. Klipp aldri over en gjenstand med overlegg.
Hvis maskinen treffer en gjenstand eller begynner å vibrere, må du slå av maskinen med en gang, vente til alle bevegelige deler har stoppet og fjerne batteripakken fra maskinen, før du undersøker maskinen for skade.
For best mulig resultat kan du montere en ny Toro-kniv før klippesesongen begynner eller ved behov.
Klipp kun av ca. en tredjedel av gresstrået av gangen. For bedre klippekvalitet, kjøretid og gressoppsamling klipper du gresset i en høyere klippehøyde.
Ikke klipp lavere enn innstillingen på 51 mm med mindre gresset er glissent eller det er sent på høsten og gresset vokser saktere.
Når du klipper gress som er mer enn 15 cm høyt, klipp først på den høyeste klippehøydeinnstillingen og ved lavere hastighet, og klipp så en gang til på en lavere innstilling for å oppnå best mulig utseende på gressplenen. Hvis gresset er for langt, kan det føre til at maskinen tilstoppes eller at motoren stanser.
Vått gress og løv har en tendens til å klumpe seg på bakken og kan føre til at maskinen tilstoppes eller at motoren stanser. Unngå klipping i våte forhold.
Vær oppmerksom på brannfare ved svært tørre forhold, følg alle lokale brannvarsler og hold maskinen fri for tørt gress og løvrester.
Veksle klipperetningen. På denne måten spres gress- og løvrestene jevnere på plenen.
Hvis den ferdig klipte gressplenen ikke ser bra ut, kan du prøve én gang til og gjøre følgende:
Skift ut kniven eller bryn den.
Gå saktere mens du klipper.
Hev klippehøydeinnstillingen på maskinen.
Klipp gresset oftere.
Overlapp skårganger i stedet for å klippe en hel skårgang hver gang.
Når du har klippet plenen, kontroller at halvparten av gresset vises gjennom lavet med klippet løv. Det kan være nødvendig å gå over løvet mer enn én gang.
Hvis det er mer enn 13 cm med løv på plenen, bruk en høyere klippehøyde og deretter i ønsket klippehøyde.
Reduser klippehastigheten hvis maskinen ikke klipper løvene fint nok.
Important: Batteripakken er ikke fulladet når du kjøper den. Før du bruker verktøyet for første gang, plasser batteripakken i laderen og lad den til LED-skjermen indikerer at batteripakken er fulladet. Les alle sikkerhetsforanstaltninger.
Important: Lad batteripakken kun i temperaturer som er innenfor riktig område. Se Spesifikasjoner.
Note: Du kan når som helst trykke på indikatorknappen for batteriladning på batteripakken for å vise gjeldende ladning (LED-indikatorer).
Påse at ventilene og ladeterminalene på batteripakken og laderen er frie for støv og rusk.

Innrett kammeret i batteripakken (Figur 19) med koblingsarmen på laderen.
Skyv batteripakken inn i laderen til den sitter helt fast (Figur 19).
For å fjerne batteripakken skyver du batteriet bakover ut av laderen.
Se følgende tabell for å tolke LED-indikatorlampen på batteriladeren.
| Ladesymbol | Indikatorlampe | Indikerer |
![]() | Blinker grønt | Batteripakken lader |
![]() | Grønn | Batteripakken er ladet |
![]() | Rød | Batteripakken og/eller batteriladeren er over eller under det passende temperaturområdet |
![]() | Blinker rødt | Feil ved lading av batteripakke* |
| Av | Ingen batteripakke er satt inn |
*Se for mer informasjon.
Important: Batteripakken kan stå på laderen i korte perioder mellom bruk.Hvis batteripakken ikke skal brukes over lengre perioder, må du fjerne batteripakken fra laderen. Se Før lagring.
| Vedlikeholdsintervall | Vedlikeholdsprosedyre |
|---|---|
| Etter hver bruk |
|
Maskinen kan løsne materiale fra maskinens underside.
Bruk vernebriller.
Forbli i operatørstilling (bak håndtaket) mens motoren går.
Pass på at det ikke er andre personer i området.
For best mulig resultat, rengjør maskinen med en gang etter at du er ferdig med klippe gresset.
Senk maskinen til laveste klippehøydeinnstilling. Se Justere klippehøyden.
Hvis gressposen er montert, fjerner du den. Se Fjerne gressposen.
Flytt maskinen til en jevn, belagt overflate.
Vask området under bakluken (hvis utstyrt), der det klippede gresset går fra undersiden av maskinen til gressposen.
Mens motoren går og kniven er aktivert, rett en vannstråle foran høyre bakhjul (Figur 20).

Når det ikke kommer ut flere gressrester, stopp vannet og flytt maskinen til et tørt område.
Start motoren og la den gå i et par minutter for å tørke maskinens underside.
Slå av motoren, og vent til den er nedkjølt.
Plasser håndtaket i vertikal stilling. Se Oppbevare maskinen i vertikal oppbevaringsstilling.
Vask bort gressrestene fra undersiden av maskinen.
Hvis man folder sammen eller ut håndtaket på feil måte, kan dette føre til skade på ledningene, noe som igjen kan utgjøre en usikker driftstilstand.
Pass på at du ikke skader ledningen(e) når du folder sammen eller ut håndtaket.
Kontroller at ledningen(e) ledes på utsiden av håndtaket.
Hvis en ledning blir skadet, kontakter du et autorisert forhandlerverksted.
Fjern den elektriske start-knappen (Figur 21).

Hold håndtaket mens du deaktiverer håndtakslåsene for å unngå at du klemmer hendene.
Løsne håndtakslåsene til du kan flytte det øvre håndtaket fritt.
Fold håndtaket fram til helt fremste stilling som vist i Figur 22.
Important: Før ledningene på utsiden av håndtakslåsene når du folder sammen håndtaket.

Fold ut håndtaket. Se Folde ut håndtaket.
Du kan oppbevare maskinen i vertikal stilling i eller utenom klippesesongen for å bruke minst mulig oppbevaringsplass.
Den vertikale oppbevaringsstillingen blottstiller undersiden av maskinen.
Fjern batteripakken og den elektriske start-knappen før du flytter maskinen til den vertikale oppbevaringsstillingen.
Ikke transporter maskinen i vertikal oppbevaringsstilling.
Ikke forsøk å starte maskinen mens den er i vertikal oppbevaringsstilling.
Påse at klippehøydeinnstillingen på maskinen er 92 mm eller lavere. Hvis den ikke er det, må den senkes. Se Justere klippehøyden.
Deaktiver håndtakslåsene (Figur 23).

Fold håndtaket helt fram (Figur 23).
Important: Før ledningene på utsiden av håndtaksknottene når du folder sammen håndtaket.
Aktiver håndtakslåsene.
Hev den fremre delen av maskinen ved hjelp av håndtaket, og flytt den til en oppbevaringsplass (Figur 24).

Fjern den elektriske start-knappen og batteripakken fra maskinen før du utfører vedlikehold eller rengjør maskinen.
Slå av maskinen, vent til alle bevegelige deler har stoppet og la maskinen kjøle seg ned før du justerer, utfører service på, rengjør eller setter maskinen til oppbevaring.
Bruk bare produsentens anbefalte reservedeler og tilbehør.
Inspiser og vedlikehold maskinen regelmessig. Maskinen skal kun repareres hos autoriserte forhandlerverksteder.
Note: Angi hva som er høyre og venstre side på maskinen ved å stå i normal arbeidsstilling.
| Vedlikeholdsintervall | Vedlikeholdsprosedyre |
|---|---|
| Etter hver bruk |
|
| Årlig |
|
| Vedlikeholdsintervall | Vedlikeholdsprosedyre |
|---|---|
| Årlig |
|
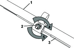
Important: Du trenger en momentnøkkel for å montere kniven korrekt. Hvis du ikke har en momentnøkkel, eller ikke føler deg kompetent til å utføre prosedyren, kontakt en autorisert serviceforhandler.
Hvis kniven er skadet eller sprukket, må den skiftes ut omgående. Hvis kniveggen er sløv eller har hakk, skal den brynes og balanseres eller skiftes ut.
Når du utfører service på kniven, kan kniven bevege seg selv om strømkilden er slått av. Kniven er skarp, kontakt med kniven kan føre til personskader.
Hold hender og føtter unna en kniv i bevegelse.
Bruk hansker når du utfører service på kniven.
Fjern den elektriske start-knappen og batteripakken fra maskinen.
Bruk en treblokk til å holde kniven fast (Figur 25).
Fjern kniven, behold alle monteringsdeler (Figur 25).

Monter den nye kniven og alle monteringsdeler (Figur 26).

Important: Plasser knivens bueformede ender slik at de er vendt mot maskinhuset.
Stram knivbolten med en momentnøkkel til 88 Nm.
Når du monterer en ny selvdriftskabel eller hvis selvdriftsdrevet er feiljustert, juster selvdriften.
Skru justeringsmutteren mot klokken for å løsne kabeljusteringen (Figur 27).

Juster strammingen på kabelen (Figur 27) ved å trekke den utover eller skyve den forover, og holde den stillingen.
Note: Skyv kabelen mot motoren for å øke friksjonen, og trekk kabelen bort fra motoren for senke friksjonen.
Skru justeringsmutteren med klokken for å stramme kabeljusteringen.
Note: Stram mutteren med en pipenøkkel eller skrunøkkel.
Important: Når du fjerner batteripakken, dekk polene på batteripakken med kraftig teip. Ikke forsøk å ødelegge eller demontere batteripakken eller fjerne noen av komponentene.
Ta kontakt med lokale myndigheter eller et autorisert forhandlerverksted hvis du vil ha mer informasjon om hvordan du kan resirkulere batteriet på en forsvarlig måte.
Important: Oppbevar maskinen, batteripakken og laderen kun i temperaturer som er innenfor riktig område. Se Spesifikasjoner.
Important: Hvis du skal oppbevare batteripakken i lavsesongen, må du lade den opp til to eller tre LED-indikatorer lyser grønt på batteriet. Ikke oppbevar et fulladet eller helt utladet batteri. Når du vil bruke maskinen igjen, lader du batteripakken til den venstre indikatorlampen på laderen blir grønn eller alle fire LED-indikatorene på batteriet blir grønne.
Koble produktet fra strømforsyningen (dvs. fjern batteripakken og elektrisk start-knappen), og kontroller det for skade etter bruk.
Ikke oppbevar maskinen eller laderen med batteripakken installert.
Fjern alle fremmedlegemer fra produktet.
Oppbevar maskinen, den elektriske start-knappen, batteripakken og batteriladeren utilgjengelig for barn når de ikke er i bruk.
Hold maskinen, batteripakken og batteriladeren borte fra korroderende midler som hagekjemikalier og avisingssalter.
For å redusere risikoen for alvorlig personskade må du ikke oppbevare batteripakken utendørs eller i kjøretøy.
Oppbevar maskinen, batteripakken og batteriladeren i et lukket rent og tørt område.
Utfør kun trinnene beskrevet i disse instruksjonene. Alt ytterligere inspeksjons-, vedlikeholds- og reparasjonsarbeid må utføres av et autorisert serviceverksted eller en tilsvarende kvalifisert spesialist hvis du ikke kan løse problemet selv.
| Problem | Possible Cause | Corrective Action |
|---|---|---|
| Maskinen starter ikke. |
|
|
| Maskinen går ikke eller går ikke uten avbrudd. |
|
|
| Maskinen oppnår ikke full effekt. |
|
|
| Batteripakken lades raskt ut. |
|
|
| Batteriladeren fungerer ikke. |
|
|
| Maskinen er ikke selvdrivende. |
|
|
| LED-indikatorlampen på batteriladeren lyser rødt. |
|
|
| LED-indikatorlampen på batteriladeren blinker rødt. |
|
|
| Maskinen produserer en pipelyd. |
|
|
| Klippekvaliteten er blitt dårligere eller ikke god nok. |
|
|
| Gressoppsamlingen er redusert eller utilfredsstillende. |
|
|
| Maskinen klipper ujevnt. |
|
|
| Maskinen vibrerer. |
|
|