| Интервал сервисног одржавања | Поступак одржавања |
|---|---|
| Након сваке употребе |
|
Ova gurajuća kosilica sa rotacionim sečivom je namenjena za upotrebu od strane stručnog, unajmljenog operatera. Prevashodno je projektovana za košenje trave na dobro održavanim travnjacima stambenih ili poslovnih objekata. Dizajnirana je da koristi Flex-Force Power System® 60V litijum-jonske akumulatore. Ovi akumulatori su dizajnirani da se pune samo Flex-Force™ punjačima 60 V litijum-jonskih akumulatora. Korišćenje ovih proizvoda za namene za koje nisu predviđeni može da bude opasno po vas i posmatrače.
Pažljivo pročitajte ove informacije da biste naučili kako da pravilno koristite i održavate svoj uređaj i kako da izbegnete povrede i oštećenje proizvoda. Pravilno i bezbedno rukovanje proizvodom je vaša odgovornost.
Posetite www.Toro.com za više informacija, uključujući savete u vezi sa bezbednošću, materijale za obuku, informacije o dodatnoj opremi, pomoć u pronalaženju prodavca ili da biste registrovali svoj proizvod.
Kad god vam je potreban servis, originalni Toro delovi ili dodatne informacije, obratite se ovlašćenom Toro distributeru ili Toro korisničkoj službi i pripremite broj modela i serijski broj vašeg proizvoda. Слика 1 pokazuje lokaciju modela i serijskog broja na proizvodu. Zapišite brojeve u za to predviđenom prostoru.

Zapišite broj modela i serijski broj proizvoda u prostoru u nastavku:
Simbol za bezbednosno upozorenje (Слика 2) prikazan u ovom priručniku i na mašini označava važne bezbednosne poruke koje morate da pratite da biste izbegli nezgode.

Ovaj simbol za bezbednosno upozorenje se pojavljuje iznad informacija koje vas upozoravaju na radnje ili situacije koje nisu bezbedne i prati ga reč OPASNOST, UPOZORENJE ili OPREZ.
OPASNOST označava neminovnu opasnu situaciju koja će, ukoliko se ne izbegne, dovesti do teške povrede ili smrtnog slučaja.
UPOZORENJE označava potencijalno opasnu situaciju koja bi mogla, ukoliko se ne izbegne, dovesti do teške povrede ili smrtnog slučaja.
OPREZ označava potencijalno opasnu situaciju koja može, ukoliko se ne izbegne, dovesti do manje ili umereno teške povrede.
Ovaj priručnik koristi druge dve reči za isticanje informacija. Važno skreće pažnju na posebne mehaničke informacije, a Napomena naglašava opšte informacije koje zaslužuju posebnu pažnju.
Nemojte vršiti neovlašćene izmene ili onemogućavati sigurnosne uređaje na mašini i redovno proveravajte njihovu ispravnost. Ne pokušavajte da podešavate ili menjate kontrolu brzine motora; time možete dovesti do nebezbednih radnih uslova, a time i do telesne povrede.
Ovaj proizvod je usaglašen sa svim relevantnim evropskim direktivama; za detalje pogledajte odvojeni list deklaracije o usaglašenosti (DOC) za određeni proizvod.
КАЛИФОРНИЈА
Предлог 65 Упозорење
У савезној држави Калифорнија познато је да кабл за напајање овог производа садржи олово, које изазива оштећења плода и репродуктивне проблеме. Оперите руке након руковања.
У савезној држави Калифорнија познато је да употреба овог производа може довести до излагања хемикалијама које изазивају карцином, оштећења плода и друге репродуктивне проблеме.
Pročitajte sva bezbednosna upozorenja, uputstva, ilustracije i specifikacije koji su obezbeđeni za ovaj električni alat. Nepoštovanje svih dole navedenih uputstava može dovesti do strujnog udara, požara i/ili teških telesnih povreda.
Sva upozorenja i uputstva sačuvajte za ubuduće.
Termin električni alat” u upozorenjima se odnosi na električni alat koji radi na struju (sa kablom) ili alat koji radi na akumulator (bežični).
Bezbednost radnog prostora
Održavajte radni prostor čistim i dobro osvetljenim. Neuredni ili tamni prostori pogoduju nezgodama.
Ne koristite električne alate u eksplozivnoj atmosferi, kao što je prisustvo zapaljivih tečnosti, gasova ili prašine. Električni alati stvaraju varnice koje mogu zapaliti prašinu ili isparenja.
Vodite računa da deca i posmatrači budu na bezbednom rastojanju dok koristite električni alat. Ometanja mogu izazvati gubitak kontrole.
Bezbednost električnih sistema
Utikači električnog alata moraju da odgovaraju utičnicama. Nemojte nikada ni na koji način vršiti izmene na utikaču. Nemojte koristiti adaptere za utikače sa uzemljenim električnim alatima. Utikači na kojima nisu vršene izmene i odgovarajuće utičnice smanjuju rizik od električnog udara.
Izbegavajte telesni kontakt sa uzemljenim površinama, poput cevi, radijatora, šporeta i frižidera. Postoji veći rizik od električnog udara ako je vaše telo uzemljeno.
Ne izlažite električne alate kiši niti vlažnim uslovima. Prodor vode u električni alat će povećati rizik od strujnog udara.
Nemojte zloupotrebljavati kabl. Nemojte nikada koristiti kabl za nošenje, povlačenje ili isključivanje električnog alata iz utičnice. Kabl držite podalje od toplote, ulja, oštrih ivica ili pokretnih delova. Oštećeni ili zamršeni kablovi povećavaju rizik od električnog udara.
Kada električne alate koristite na otvorenom prostoru, koristite produžni kabl koji je predviđen za upotrebu na otvorenom. Korišćenje kabla koji je predviđen za upotrebu na otvorenom smanjuje rizik od električnog udara.
Ako ne možete da izbegnete korišćenje električnog alata na vlažnoj lokaciji, koristite napajanje zaštićeno uređajem diferencijalne struje (FID sklopka). Korišćenje FID sklopke smanjuje rizik od električnog udara.
Lična bezbednost
Budite oprezni, pazite šta radite i vodite se zdravim razumom pri korišćenju električnog alata. Nemojte koristiti električni alat kada ste umorni ili pod uticajem opijata, alkohola ili lekova. Trenutak nepažnje pri rukovanju električnim alatom može dovesti do teške telesne povrede.
Koristite ličnu zaštitnu opremu. Uvek nosite zaštitu za oči. Korišćenje zaštitne opreme poput maske za prašinu, neklizajućih zaštitnih cipela, kacige ili zaštite sluha u odgovarajućim uslovima smanjuje mogućnost telesnih povreda.
Sprečite slučajno pokretanje. Pre povezivanja sa izvorom napajanja i/ili akumulatorom, podizanja ili nošenja alata, proverite da li je prekidač u isključenom položaju. Nošenje električnih alata tako da vam prst bude na prekidaču ili povezivanje električnih alata na izvor napajanja dok je prekidač uključen je preduslov za nezgode.
Pre uključivanja električnog alata, uklonite sve ključeve za podešavanje. Ukoliko ključ ostane pričvršćen za rotirajući deo električnog alata, može doći do telesne povrede.
Ne posežite preko alata. Sve vreme vodite računa da imate dobro uporište i ravnotežu. To omogućava bolju kontrolu nad električnim alatom u neočekivanim situacijama.
Obucite se adekvatno. Nemojte nositi široku odeću niti nakit. Držite kosu i odeću podalje od pokretnih delova. Pokretni delovi mogu da zakače široku odeću, nakit ili dugu kosu.
Ako su obezbeđeni uređaji za povezivanje postrojenja za usisavanje i prikupljanje prašine, postarajte se da budu povezani i da se pravilno koriste. Korišćenje postrojenja za prikupljanje prašine može da smanji opasnosti u vezi sa prašinom.
Ne dopustite da se opustite usled poznavanja alata stečenog čestim korišćenjem i da zanemarite bezbednosne principe za alat. Nepažljivo rukovanje može u deliću sekunde da dovede do teških povreda.
Korišćenje i održavanje električnog alata
Ne koristite silu pri upotrebi električnog alata. Koristite električni alat koji je predviđen za primenu koja vam je potrebna. Odgovarajući električni alat će posao obaviti bolje i bezbednije, brzinom za koju je projektovan.
Nemojte koristiti električni alat ukoliko ga prekidač ne uključuje i isključuje. Svi električni alati koji se ne mogu kontrolisati pomoću prekidača su opasni i moraju biti popravljeni.
Pre vršenja bilo kakvih podešavanja, menjanja dodatne opreme ili odlaganja električnog alata, iskopčajte utikač iz izvora napajanja i/ili uklonite akumulator sa električnog alata, ako je moguće odvojiti. Takve preventivne bezbednosne mere smanjuju rizik od slučajnog pokretanja električnog alata.
Električni alat koji se ne koristi čuvajte van domašaja dece i ne dozvolite osobama koje nisu upoznate sa električnim alatom ili ovim uputstvima da ga koriste. Električni alat je opasan u rukama neobučenih korisnika.
Održavajte električni alat i dodatnu opremu. Proverite da li je došlo do neusklađenosti ili sputavanja pokretnih delova, lomljenja delova ili bilo kog drugog stanja koje može da utiče na rad električnog alata. Ako je električni alat oštećen, popravite ga pre upotrebe. Mnoge nezgode su izazvane loše održavanim električnim alatom.
Održavajte alate za sečenje oštrim i čistim. Alati za sečenje koji se pravilno održavaju i imaju oštra sečiva će manje verovatno zapinjati i mogu lakše da se kontrolišu.
Koristite električni alat, dodatnu opremu, bitove za alat itd. u skladu sa ovim uputstvima, uzimajući u obzir radne uslove i posao koji treba obaviti. Korišćenje električnog alata za radnje za koje nije predviđen može dovesti do opasne situacije.
Vodite računa da drške i površine za prihvat budu suve, čiste i da na njima nema ulja i maziva. Klizave drške i površine za prihvat onemogućavaju bezbedno rukovanje i kontrolu nad alatom u neočekivanim situacijama.
Korišćenje i održavanje akumulatorskog alata
Za punjenje koristite samo punjač koji je predvideo proizvođač. Punjač koji je prikladan za jedan tip akumulatora može da dovede do rizika od požara ako se koristi sa drugim akumulatorom.
Koristite električne alate samo sa posebno predviđenim akumulatorima. Korišćenje bilo kog drugog akumulatora može dovesti do rizika od povrede ili požara.
Kada se akumulator ne koristi, držite ga podalje od metalnih predmeta, poput spajalica, novčića, ključeva, eksera, vijaka ili drugih malih metalnih predmeta koji mogu da naprave spoj između dva terminala. Kratak spoj terminala akumulatora može da izazove opekotine ili požar.
U uslovima zloupotrebe, može doći do ispuštanja tečnosti iz akumulatora; izbegavajte da dođete u dodir s njom. Ukoliko dođe do slučajnog kontakta, isperite vodom. Ako tečnost dospe u oči, potražite i lekarsku pomoć. Tečnost ispuštena iz akumulatora može da izazove iritacije ili opekotine.
Nemojte koristiti akumulator niti alat koji je oštećen ili izmenjen. Oštećeni ili izmenjeni akumulatori mogu da budu nepredvidljivi i tako da dovedu do požara, eksplozije ili rizika od povrede.
Ne izlažite akumulator niti alat plamenu niti prekomernoj temperaturi. Izlaganje plamenu ili temperaturama preko 130 °C može izazvati eksploziju.
Pridržavajte se svih uputstava za punjenje i nemojte puniti akumulator niti alat van temperaturnog opsega navedenog u uputstvima. Nepravilno punjenje ili punjenje na temperaturama van navedenog opsega može da ošteti akumulator i poveća opasnost od požara.
Servisiranje
Neka vaš električni alat servisira samo ovlašćeni serviser uz korišćenje isključivo identičnih zamenskih delova. Time ćete obezbediti održavanje bezbednosti električnog alata.
Nemojte nikada servisirati oštećeni akumulator. Servis akumulatora treba da obavljaju samo proizvođač ili ovlašćeni serviseri.
Ne koristite kosilicu za travu po kiši ili vlažnim uslovima. Ovo može povećati rizik od strujnog udara.
Ne koristite kosilicu za travu u lošim vremenskim uslovima, posebno kada postoji rizik od groma. Ovo smanjuje rizik od udara groma.
Temeljno pregledajte područje gde će se kosilica za travu koristiti u potrazi za divljim životinjama. Kosilica za travu može tokom rada da povredi divlje životinje.
Temeljno pregledajte područje gde će se kosilica za travu koristiti i uklonite sve kamenje, štapove, žice, kosti i druge strane predmete. Izbačeni predmeti mogu izazvati telesne povrede.
Pre upotrebe kosilice za travu, uvek vizuelno proverite da li su sečivo i sklop sečiva istrošeni ili oštećeni. Istrošeni ili oštećeni delovi povećavaju rizik od povreda.
Često proveravajte sakupljač trave da li je istrošen ili oštećen. Istrošen ili oštećen sakupljač trave može povećati rizik od telesnih povreda.
Držite štitnike na svom mestu. Štitnici moraju biti ispravni i pravilno montirani. Štitnik koji je labav, oštećen ili ne funkcioniše ispravno može dovesti do telesnih povreda.
Pazite da svi ulazi vazduha za hlađenje budu čisti i bez otpadaka. Blokirani ulazi za vazduh i ostaci mogu dovesti do pregrevanja ili rizika od požara.
Tokom rukovanja kosilicom za travu, uvek nosite neklizajuću i zaštitnu obuću. Ne rukujte kosilicom za travu bosi ili u otvorenim sandalama. Ovo smanjuje mogućnost povrede stopala usled kontakta sa pokretnim sečivom.
Tokom rukovanja kosilicom za travu, uvek nosite duge pantalone. Izložena koža povećava verovatnoću povrede od izbačenih predmeta.
Ne rukujte kosilicom za travu u mokroj travi. Hodajte, nikada ne trčite. Ovo smanjuje rizik od klizanja i pada koji može dovesti do telesnih povreda.
Ne rukujte kosilicom za travu na preterano strmim padinama. Ovo smanjuje rizik od gubitka kontrole, klizanja i pada koji može dovesti do telesnih povreda.
Kada radite na nagibima, uvek pazite gde stajete, uvek radite popreko duž površine nagibe; nikada uz ili niz, i budite naročito pažljivi pri promeni pravca. Ovo smanjuje rizik od gubitka kontrole, klizanja i pada koji može dovesti do telesnih povreda.
Budite izuzetno oprezni kada se krećete unazad ili vučete kosilicu za travu ka sebi. Uvek imajte na umu svoje okruženje. Ovo smanjuje rizik od saplitanja tokom rada.
Ne dodirujte sečiva i druge opasne pokretne delove dok se još kreću. Ovo smanjuje rizik od povreda od pokretnih delova.
Prilikom čišćenja zaglavljenog materijala ili čišćenja kosilice za travu, postarajte se da su svi prekidači za napajanje isključeni i da je akumulator isključen. Neočekivani rad kosilice za travu može dovesti do teških telesnih povreda.
Obuka
Operater mašine je odgovoran za sve nesreće ili opasnosti koje pretrpe druga lica ili njihova imovina.
Nemojte dozvoliti deci da koriste niti da se igraju mašinom, akumulatorom ili punjačem; lokalni propisi mogu da ograniče starost operatera.
Nemojte dozvoliti ljudima sa smanjenim fizičkim, senzornim ili mentalnim sposobnostima ni ljudima bez iskustva i znanja da koriste mašinu, akumulator ili punjač ako im nisu obezbeđena uputstva ili nadzor za bezbedno korišćenje i razumevanje opasnosti povezanih sa njihovim korišćenjem.
Pre korišćenja akumulatora i punjača pročitajte sva uputstva i oznake upozorenja na tim proizvodima.
Priprema
Zamenite sve oštećene ili nečitke nalepnice.
Koristite samo akumulator koji je predvidela kompanija Toro. Korišćenje druge dodatne opreme i priključaka bi moglo da poveća rizik od povrede i požara.
Uključivanje punjača u utičnicu koja nema odgovarajući napon može da izazove požar ili strujni udar. Za drugu vrstu veze koristite adapter za utikač priključka odgovarajuće konfiguracije za utičnicu.
Nemojte koristiti oštećeni ili izmenjeni akumulator ili punjač, jer mogu da se ponašaju nepredvidljivo i da izazovu požar, eksploziju ili rizik od povrede.
Ako je kabl za napajanje punjača oštećen, obratite se ovlašćenom serviseru kako biste ga zamenili.
Nemojte koristiti akumulatore koji nisu punjivi.
Za punjenje akumulatora koristite samo punjač koji je predvidela kompanija Toro. Punjač pogodan za jedan tip akumulatora može stvoriti rizik od požara kada se koristi sa drugim akumulatorom.
Punite akumulator samo u dobro provetrenom prostoru.
Nemojte izlagati akumulator ni punjač plamenu ili temperaturama iznad 68 °C.
Pridržavajte se svih uputstava za punjenje i nemojte puniti akumulator van temperaturnog opsega navedenog u uputstvima. U protivnom biste mogli da oštetite akumulator i povećate rizik od požara.
Rad
Držite se dalje od svih otvora za pražnjenje.
Pre pokretanja mašine deaktivirajte pogon samohodnog kretanja (ako je deo opreme).
Sprečite slučajno pokretanje – proverite da je dugme za elektrostart uklonjeno iz paljenja pre nego što povežete akumulator i rukujete mašinom.
Zaustavite mašinu, uklonite dugme za električno pokretanje, uklonite akumulator iz mašine i sačekajte da se svi pokreti zaustave pre servisiranja ili čišćenja mašine.
Uklonite akumulator i dugme za elektrostart sa mašine kad god je ostavljate bez nadzora ili pre nego što menjate dodatnu opremu.
Nemojte usmeravati materijal za pražnjenje ka bilo kome. Izbegavajte pražnjenje materijala uz zid ili prepreku; materijal bi mogao da se odbije ka vama. Zaustavite sečivo(a) kada prelazite šljunkovite površine.
Pazite na rupe, brazde, izbočine, kamenje ili druge skrivene predmete. Neravan teren može da dovede do toga da izgubite ravnotežu ili uporište.
Ako mašina udari u neki predmet ili počne da vibrira, odmah isključite mašinu, uklonite dugme za elektrostart, uklonite akumulator i sačekajte da se svako kretanje zaustavi pre nego što pregledate mašinu u potrazi za oštećenjem. Obavite sve potrebne popravke pre nego što nastavite sa radom.
Zaustavite mašinu i uklonite dugme za elektrostart pre utovarivanja mašine radi transporta.
U uslovima zloupotrebe, može doći do ispuštanja tečnosti iz akumulatora; izbegavajte da dođete u dodir sa njom. Ako slučajno dođete u dodir sa tečnošću, isperite vodom. Ako tečnost dođe u dodir sa vašim očima, potražite lekarsku pomoć. Tečnost ispuštena iz akumulatora može da izazove iritaciju ili opekotine.
Održavanje i skladištenje
Zaustavite mašinu, uklonite dugme za električno pokretanje, uklonite akumulator iz mašine i sačekajte da se svi pokreti zaustave pre servisiranja ili čišćenja mašine.
Nemojte pokušavati da popravite mašinu drugačije nego kako je navedeno u uputstvima. Pozovite ovlašćenog servisera da izvrši servisiranje mašine uz korišćenje identičnih zamenskih delova.
Tupo sečivo naoštrite sa obe strane da biste održali ravnotežu. Očistite sečivo i pobrinite se da bude izbalansirano.
Kada servisirate sečivo, imajte na umu da sečivo i dalje može da se pomera čak i ako je izvor napajanja isključen.
Za najbolje performanse, koristite samo originalne zamenske delove i dodatnu opremu kompanije Toro. Drugi zamenski delovi i dodatna oprema mogu biti opasni i njihovo korišćenje može da poništi garanciju za proizvod.
Održavajte mašinu – za najbezbednije performanse održavajte oštrice oštrim i čistim. Vodite računa da ručke budu suve, čiste i da na njima nema ulja i maziva. Držite štitnike na mestu i u ispravnom stanju. Održavajte sečiva oštrim. Koristite isključivo identična zamenska sečiva.
Ako nije navedeno u uputstvima, pozovite ovlašćenog servisera da popravi ili zameni oštećeni štitnik ili deo.
Kada se akumulator ne koristi, držite ga dalje od metalnih predmeta kao što su spajalice, novčići, ključevi, ekseri i zavrtnji koji mogu uspostaviti vezu između terminala. Kratak spoj terminala akumulatora može da izazove opekotine ili požar.
Često proveravajte pritegnutost zavrtnjeva za montiranje sečiva i motora.
OPREZ – Zloupotrebljen akumulator može predstavljati rizik od požara ili hemijskih opekotina. Nemojte rasklapati akumulator. Nemojte zagrevati akumulator iznad 68 °C niti ga spaljivati. Zamenite akumulator isključivo originalnim akumulatorom kompanije Toro; korišćenje druge vrste akumulatora može dovesti do požara ili eksplozije. Držite akumulatore van domašaja dece i u originalnom pakovanju dok ne budete spremni da ih koristite.
Nemojte odlagati akumulator bacanjem u vatru. Ćelija bi mogla da eksplodira. Proverite da li lokalni propisi navode specijalna uputstva za odlaganje.
![]() |
Bezbednosne nalepnice i uputstva su lako vidljivi operateru i nalaze se u blizini svake oblasti sa potencijalnom opasnošću. Zamenite svaku nalepnicu koja je oštećena ili nedostaje. |
|
Simbol akumulatora ili punjača |
Objašnjenje |
![]() |
Pročitajte priručnik za operatera. |
![]() ![]() |
Obratite se lokalnoj opštini ili ovlašćenom serviseru ili distributeru za više informacija o tome kako da odgovorno reciklirate akumulator. |






Important: U trenutku kupovine, akumulator nije u potpunosti napunjen. Pre korišćenja mašine po prvi put, pogledajte Punjenje akumulatora.
Делови потребни за овај поступак:
| Oprema za montiranje (nije isporučeno) | 2 |
Po želji možete montirati punjač na zid uz pomoć rupa u obliku ključaonice na poleđini punjača koje služe za postavljanje na zid.
Montirajte ga u zatvorenom prostoru (kao što je garaža ili drugo suvo mesto), blizu utičnice za struju, a van domašaja dece.
Pogledajte Слика 3 za pomoć kod montaže punjača.
Prevucite punjač preko zavrtanja postavljenih na odgovarajuća mesta kako biste ga pričvrstili (zavrtnji se ne isporučuju uz proizvod).

Nepravilno sklapanje ili rasklapanje ručke može da ošteti kablove i time izazove opasne radne uslove.
Nemojte oštetiti kabl(ove) prilikom sklapanja ili rasklapanja ručke.
Proverite da li su kabl(ovi) izvedeni na spoljašnjoj strani ručke.
Ako je kabl oštećen, obratite se ovlašćenom serviseru.
Important: Držite ručku dok aktivirate blokade ručke kako biste izbegli prikleštenje šaka.






| Model | 81875 | ||
| Kapacitet akumulatora | 7,5 amper-časova | ||
| 405 vat-časova | |||
|
Procena proizvođača akumulatora = 60 V maksimalno i 54 V nominalno. Stvarni napon varira sa opterećenjem. |
|||
| Model | 81802 | |
| Vrsta | 60 V maks. punjač za litijum-jonske akumulatore | |
| Ulaz | 100 do 240 V AC ~2,0 A 50/60 Hz | |
| Izlaz | 60 V DC 2,0 A MAKS. |
|
| Punite/skladištite akumulator pri temperaturi od | 5 °C do 40 °C* |
| Koristite akumulator pri temperaturi od | –30 °C do 49 °C* |
| Koristite mašinu pri temperaturi od | 0° C do 49 °C* |
*Vreme punjenja će se produžiti ako ne punite akumulator unutar ovog opsega.
Skladištite mašinu, akumulator i punjač u zatvorenom, čistom i suvom prostoru.
Radi poboljšanja i proširenja mogućnosti mašine, za korišćenje sa njom je dostupan izbor dodatne opreme i priključaka koje je odobrila kompanija Toro. Za listu odobrene dodatne opreme i priključaka obratite se ovlašćenom serviseru ili ovlašćenom distributeru kompanije Toro ili posetite www.Toro.com.
Da biste obezbedili optimalne performanse i produžetak bezbednosne sertifikacije mašine, koristite samo originalne zamenske delove i dodatnu opremu kompanije Toro. Zamenski delovi i dodatna oprema koje proizvode drugi proizvođači mogu da budu opasni.
Note: Utvrdite levu i desnu stranu mašine iz uobičajenog položaja operatera.
Important: Koristite akumulator samo pri temperaturama unutar odgovarajućeg opsega; pogledajte Спецификације.
Proverite da u ventilacionim otvorima na akumulatoru nema prašine i otpadaka.
Podignite poklopac odeljka za akumulator (A na Слика 10).
Poravnajte udubljenje na akumulatoru sa jezičkom na mašini i spustite akumulator u odeljak za akumulator dok se ne zaustavi na mestu (B na Слика 10).
Zatvorite poklopac odeljka za akumulator (C na Слика 10).
Note: Ako se poklopac odeljka za akumulator ne zatvara u potpunosti, akumulator nije postavljen do kraja.

Ručku možete podići ili spustiti u položaj koji vam je udoban.
Rotirajte bravu ručke, pomerite ručku u 1 od 2 položaja i blokirajte ručku u položaj (Слика 11).

Podešavanje visine košenja bi moglo dovesti do kontakta vaših šaka sa pokretnim sečivom i time do teške povrede.
Pre podešavanja visine košenja isključite motor, uklonite akumulator i sačekajte da se svi pokretni delovi zaustave.
Nemojte stavljati prste ispod kućišta kada podešavate visinu košenja.
Podesite visinu košenja po želji. Postavite sve točkove na istu visinu košenja (Слика 12).

Proverite da je akumulator postavljen u mašinu; pogledajte Postavljanje akumulatora.
Note: Ako se poklopac odeljka za akumulator ne zatvara u potpunosti, baterija nije postavljena do kraja.
Umetnite dugme za elektrostart u prekidač elektrostartera (A na Слика 13).
Pritisnite prečku za kontrolu sečiva i držite je uz ručku (B na Слика 13).
Pritisnite dugme za elektrostart i držite ga pritisnutim dok se motor ne pokrene (C na Слика 13).

Za korišćenje samohodnog pogona, jednostavno hodajte sa rukama na gornjoj ručki i laktovima sa strane i mašina će automatski držati korak sa vama (Слика 14).

Note: Ako se mašina ne okreće slobodno unazad nakon samopokretanja, prestanite hodati, držite ruke na mestu i pustite da se mašina okrene nekoliko centimetara unapred da bi se deaktivirao pogonski točak. Takođe možete pokušati dohvatiti metalnu ručku neposredno ispod gornje ručke i gurnuti mašinu unapred nekoliko centimetara. Ako se mašina i dalje ne okreće lako unazad, obratite se ovlašćenom serviseru.
Ova mašina ima 2 postavke brzine sečiva: AUTO (Automatski) i MAX (Maksimalno).
Kada je postavljena u položaj AUTO (Automatski), brzina oštrice se automatski podešava za veću efikasnost; otkrivaju se promene u uslovima košenja i brzina sečiva se povećava kada je to neophodno za održavanje kvaliteta košenja.
Kada je postavljena u položaj MAX (Maksimalno), brzina sečiva je sve vreme u najvećoj brzini.
Okrenite dugme za elektrostart u prekidaču elektrostartera da biste odredili postavku brzine oštrice (Слика 15).

Otpustite prečku za kontrolu sečiva (A na Слика 16).
Uklonite dugme za elektrostart iz prekidača elektrostartera (B na Слика 16).
Uklonite akumulator; pogledajte Uklanjanje akumulatora iz mašine.
Note: Uvek uklonite akumulator kad ne koristite mašinu.

Podignite poklopac odeljka za akumulator.
Pritisnite zasun akumulatora kako biste oslobodili akumulator i uklonili ga.
Zatvorite poklopac odeljka za akumulator.
Vaša mašina se fabrički isporučuje spremna za recikliranje pokošene trave i lišća na travnjaku.
Important: Proverite da li je zadnji čep fiksiran. Da biste fiksirali čep, podignite zadnji usmerivač (A na Слика 17) i čvrsto pritisnite čep nadole tako da legne na mesto (B na Слика 17).

Note: Da biste oslobodili zadnji čep, okrenite ručku na čepu udesno (Слика 18).
Koristite vreću za travu kada želite skupljati pokošenu travu i lišće sa travnjaka.
Note: Ova mašina je podrazumevano opremljena ekonomičnim sečivom za duže vreme rada; takođe uključuje opciono sečivo za performanse koje pruža poboljšano sakupljanje u vreću i performanse. Pre sakupljanja u vreću, instalirajte sečivo za performanse; pogledajte Zamena sečiva.
Isključite mašinu i sačekajte da se svi pokretni delovi zaustave; pogledajte Isključivanje mašine.
Uklonite akumulator iz mašine; pogledajte Uklanjanje akumulatora iz mašine.
Podignite i držite nagore zadnji usmerivač (A na Слика 18).
Uklonite čep za zadnje pražnjenje tako što ćete palcem gurnuti bravu i izvući čep iz mašine (B i C na Слика 18).
Postavite krajeve šipke vreće u ureze na dnu ručke i ljuljajte vreću napred-nazad da biste obezbedili da se krajevi šipke vreće postave na dno oba ureza (D na Слика 18).
Spustite zadnji usmerivač dok se ne nasloni uz vreću za travu.

Mašina može baciti pokošenu travu i druge predmete kroz otvor u kućištu mašine. Predmeti izbačeni dovoljno jako mogu da izazovu tešku telesnu povredu ili smrtni ishod vas ili posmatrača.
Nikada nemojte ukloniti vreću za travu a zatim pokrenuti mašinu bez postavljenog čepa za pražnjenje na mašini.
Nikada nemojte otvarati zadnji usmerivač na mašini dok mašina radi.
Pregledajte prostor na kom ćete koristiti mašinu i uklonite sve predmete koje bi mašina mogla odbaciti.
Izbegavajte udaranje tvrdih predmeta sečivom. Nikada nemojte namerno kositi preko bilo kog predmeta.
Ako mašina udari u predmet ili počne da vibrira, odmah isključite mašinu, sačekajte da se svi pokretni delovi zaustave, uklonite akumulator iz mašine i pregledajte mašinu radi oštećenja.
Za najbolje rezultate postavite novo sečivo kompanije Toro pre početka sezone košenja ili kada je to potrebno.
Odsecajte samo trećinu vlati trave odjednom. Za poboljšan kvalitet košenja, vreme trajanja i sakupljanje pokošene trave, kosite travu na većoj visini.
Ne skraćujete ispod 51 mm osim ako je trava proređena ili ako je kasna jesen kada trava sporije raste.
Prilikom košenja trave više od 15 cm, pokosite na najvećoj postavci visine košenja i hodajte sporije; zatim ponovo pokosite na nižoj postavci za što bolji izgled travnjaka. Ako je trava previsoka, mašina može da se začepi i tako izazove zastoj motora.
Mokra trava i lišće obično formiraju grumen u dvorištu i mogu izazvati začepljenje mašine ili zastoj motora. Izbegavajte košenje u vlažnim uslovima.
Imajte u vidu moguću opasnost od požara u vrlo suvim uslovima, pratite sva lokalna upozorenja za požare i održavajte mašinu bez otpadaka suve trave i lišća.
Naizmenično menjajte smer košenja. To pomaže u rasipanju pokošene trave preko travnjaka radi ravnomernog đubrenja.
Ako niste zadovoljni konačnim izgledom travnjaka, pokušajte jedno ili više od sledećih uputstava:
Zamenite sečivo ili ga naoštrite.
Hodajte sporijim tempom tokom košenja.
Podignite visinu košenja na mašini.
Češće kosite travu.
Preklapajte područja otkosa umesto da kosite puni otkos pri svakom prolazu.
Nakon košenja travnjaka, proverite da li je pola travnjaka vidljivo kroz poklopac pokošenog lišća. Možda ćete morati da više od jednom pređete preko lišća.
Ako je na travnjaku više od 13 cm lišća, kosite na većoj postavci visine košenja, a zatim ponovo na željenoj visini košenja.
Usporite brzinu košenja ako mašina dovoljno ne usitnjava lišće.
Important: Akumulator nije u potpunosti napunjen u trenutku kupovine. Pre nego što koristite alatku po prvi put, stavite akumulator u punjač i punite ga dok LED displej ne bude pokazao da je akumulator u potpunosti napunjen. Pročitajte sve bezbednosne mere opreza.
Important: Punite akumulator samo pri temperaturama unutar odgovarajućeg opsega; pogledajte Спецификације.
Note: U svakom trenutku možete pritisnuti dugme indikatora napunjenosti akumulatora na akumulatoru kako biste prikazali trenutnu napunjenost (LED indikatori).
Postarajte se da na otvorima za ventilaciju i terminalima za punjenje na akumulatoru i punjaču nema prašine i ostataka.

Poravnajte udubljenje u akumulatoru (Слика 19) sa jezičkom na punjaču.
Uvucite akumulator u punjač dok se ne smesti do kraja (Слика 19).
Da biste izvadili akumulator, izvucite ga unazad iz punjača.
Pogledajte sledeću tabelu radi tumačenja LED lampica indikatora na punjaču.
| Simbol punjača | Indikatorska lampica | Označava |
![]() | Zeleno trepćuće | Akumulator se puni |
![]() | Zeleno | Akumulator je napunjen |
![]() | Crveno | Akumulator i/ili punjač su iznad ili ispod odgovarajućeg temperaturnog opsega |
![]() | Crveno trepćuće | Greška kod punjenja akumulatora* |
| Isključeno | Akumulator nije umetnut |
*Pogledajte za više informacija.
Important: Akumulator se može ostaviti na punjaču na kratke periode između upotreba.Ako se akumulator neće koristiti duže vreme, uklonite akumulator sa punjača; pogledajte Пре складиштења.
| Интервал сервисног одржавања | Поступак одржавања |
|---|---|
| Након сваке употребе |
|
Mašina može da izbaci materijal ispod mašine.
Nosite zaštitu za oči.
Ostanite u radnom položaju (iza ručke) dok motor radi.
Ne dozvolite da u blizini bude posmatrača.
Za najbolje rezultate, očistite mašinu ubrzo nakon što završite košenje.
Spustite mašinu na najnižu postavku visine košenja. Pogledajte Podešavanje visine košenja.
Ako je vreća za travu montirana, uklonite je; pogledajte Uklanjanje vreće za travu.
Premestite mašinu na popločanu ravnu površinu.
Isperite područje ispod zadnjih vratanaca (ako je primenljivo) gde pokošena trava prelazi sa donje strane mašine u vreću za travu.
Uz uključen motor i aktivirano sečivo, prskajte mlaz vode ispred zadnjeg desnog točka (Слика 20).

Kada ostaci pokošene trave više ne izlaze, zaustavite vodu i premestite mašinu na suvo mesto.
Pokrenite motor i ostavite ga da radi nekoliko minuta kako bi se osušila donja strana mašine.
Isključite motor i ostavite ga da se ohladi.
Postavite mašinu u vertikalan položaj za skladištenje; pogledajte Skladištenje mašine u vertikalnom položaju za skladištenje.
Isperite ostatke pokošene trave sa donje strane mašine.
Nepravilno sklapanje ili rasklapanje ručke može da ošteti kablove i time izazove opasne radne uslove.
Nemojte oštetiti kabl(ove) prilikom sklapanja ili rasklapanja ručke.
Proverite da li su kabl(ovi) izvedeni na spoljašnjoj strani ručke.
Ako je kabl oštećen, obratite se ovlašćenom serviseru.
Uklonite dugme za elektrostart (Слика 21).

Držite ručku dok deaktivirate blokade ručke kako biste izbegli prikleštenje šaka.
Deaktivirajte blokade ručke dok ne budete mogli slobodno da pomerate gornju ručku.
Sklopite ručku unapred do krajnjeg prednjeg položaja kao što je prikazano na Слика 22.
Important: Provucite kablove ka spoljnoj strani blokada ručke dok sklapate ručku.

Za rasklapanje ručke, pogledajte Rasklapanje ručke.
Tokom sezone košenja ili van sezone možete mašinu skladištiti u vertikalnom položaju kako biste smanjili prostor koji zauzima.
Položaj za vertikalno skladištenje izlaže donju stranu mašine.
Uklonite akumulator i dugme za elektrostart pre nego što mašinu prebacite u položaj za vertikalno skladištenje.
Nemojte transportovati mašinu u vertikalnom položaju za skladištenje.
Ne pokušavajte da pokrenete mašinu u vertikalnom položaju za skladištenje.
Pobrinite se da visina košenja na mašini bude postavljena na 92 mm ili niže. Ako nije, spustite je; pogledajte Podešavanje visine košenja.
Deaktivirajte blokade ručke (Слика 23).

Sklopite ručku u krajnji prednji položaj (Слика 23).
Important: Provucite kablove ka spoljnoj strani zavrtnjeva ručke dok sklapate ručku.
Aktivirajte blokade ručke.
Podignite prednji deo mašine pomoću ručke i premestite je u prostor za skladištenje (Слика 24).

Uklonite dugme za elektrostart i akumulator iz mašine pre izvođenja radova održavanja ili čišćenja mašine.
Pre podešavanja, servisiranja, čišćenja ili odlaganja mašine, uvek isključite mašinu, sačekajte da se svi pokretni delovi zaustave i sačekajte da se mašina ohladi.
Koristite isključivo zamenske delove i pribor koje preporučuje proizvođač.
Redovno proveravajte i održavajte mašinu. Neka mašinu popravlja samo ovlašćeni serviser.
Note: Utvrdite levu i desnu stranu mašine iz uobičajenog položaja operatera.
| Интервал сервисног одржавања | Поступак одржавања |
|---|---|
| Након сваке употребе |
|
| Годишње |
|
| Интервал сервисног одржавања | Поступак одржавања |
|---|---|
| Годишње |
|
Important: Za pravilno postavljanje sečiva potreban je moment-ključ. Ako nemate moment-ključ ili se ne usuđujete da sami obavite ovaj postupak, obratite se ovlašćenom serviseru.
Ako je sečivo oštećeno ili napuklo, odmah ga zamenite. Ako je oštrica tupa ili zarezana, naoštrite je i izbalansirajte ili je zamenite.
Kada servisirate sečivo, ono i dalje može da se pomera čak i ako je izvor napajanja isključen. Sečivo je oštro; dodirivanje sečiva može dovesti do teške telesne povrede.
Držite šake i stopala podalje od pokretnog sečiva.
Nosite rukavice kada servisirate sečivo.
Uklonite dugme za elektrostart i akumulator iz mašine.
Upotrebite drveni blok da držite sečivo stabilnim (Слика 25).
Uklonite sečivo uz čuvanje svih delova za postavljanje (Слика 25).

Postavite novo sečivo i sve delove za postavljanje (Слика 26).

Important: Postavite zaobljene krajeve sečiva tako da budu usmereni nagore ka kućištu mašine.
Pomoću moment-ključa zategnite zavrtanj za sečivo na 88 N∙m.
Svaki put kada postavite novi kabl za samohodni pogon ili samohodni pogon nije podešen, podesite samohodni pogon.
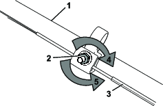
Okrenite navrtku za podešavanje u smeru suprotnom od kretanja kazaljke na satu da biste smanjili zategnutost kabla (Слика 27).

Podesite zategnutost kabla (Слика 27) tako što ćete ga povući unazad ili gurnuti unapred i držati u tom položaju.
Note: Gurnite kabl ka motoru kako biste povećali gas; povucite kabl dalje od motora kako biste smanjili gas.
Okrenite navrtku za podešavanje u smeru kretanja kazaljke na satu da biste povećali zategnutost kabla.
Note: Čvrsto zategnite navrtku pomoću nasadnog ključa ili ključa.
Important: Nakon uklanjanja, pokrijte terminale akumulatora lepljivom trakom predviđenom za teške uslove rada. Nemojte pokušavati da uništite ili rasklopite akumulator, niti da skinete bilo koji od njegovih delova.
Obratite se lokalnoj opštini ili ovlašćenom serviseru ili distributeru za više informacija o tome kako da odgovorno reciklirate akumulator.
Important: Skladištite mašinu, akumulator i punjač samo pri temperaturama unutar odgovarajućeg opsega; pogledajte Спецификације.
Important: Ako se spremate da uskladištite akumulator za vansezonu, napunite ga dok 2 ili 3 LED indikatora na akumulatoru ne zasvetle zeleno. Nemojte skladištiti potpuno napunjen ni potpuno prazan akumulator. Kada budete spremni da ponovo koristite mašinu, punite akumulator sve dok leva lampica indikatora na punjaču ne zasvetli zeleno ili dok sva 4 LED indikatora ne zasvetle zeleno na akumulatoru.
Isključite proizvod sa napajanja (tj. uklonite akumulator i dugme za elektrostart) i proverite da li ima oštećenja nakon upotrebe.
Nemojte skladištiti mašinu ili punjač sa montiranim akumulatorom.
Očistite sve strane materije sa proizvoda.
Kada nisu u upotrebi, skladištite mašinu, dugme za elektrostart, akumulator i punjač van domašaja dece.
Držite mašinu, akumulator i punjač dalje od korozivnih supstanci, kao što su baštenske hemikalije i soli za uklanjanje leda.
Kako biste smanjili rizik od teške telesne povrede, nemojte skladištiti akumulator napolju niti u vozilima.
Skladištite mašinu, akumulator i punjač u zatvorenom, čistom i suvom prostoru.
Izvršavajte samo korake koji su opisani u ovim uputstvima. Sve dalje inspekcije, održavanja i popravke mora da izvrši ovlašćeni servisni centar ili stručnjak sličnih kvalifikacija ako ne uspete problem da rešite sami.
| Problem | Possible Cause | Corrective Action |
|---|---|---|
| Mašina neće da se pokrene. |
|
|
| Mašina ne radi ili ne radi kontinuirano. |
|
|
| Mašina ne dostiže punu snagu. |
|
|
| Akumulator se brzo prazni. |
|
|
| Punjač akumulatora ne radi. |
|
|
| Samohodni pogon mašine ne radi. |
|
|
| LED lampica indikatora na punjaču svetli crveno. |
|
|
| LED lampica indikatora na punjaču trepće crveno. |
|
|
| Mašina ispušta zvuke upozorenja. |
|
|
| Kvalitet košenja trave je smanjen ili nezadovoljavajuć. |
|
|
| Prikupljanje je smanjeno ili je nezadovoljavajuće. |
|
|
| Mašina kosi neravnomerno. |
|
|
| Mašina vibrira. |
|
|