| Interval de întreţinere şi service | Procedură de întreţinere |
|---|---|
| După fiecare folosinţă |
|
Această mașină de tuns iarba cu lamă rotativă, condusă manual din spate este proiectată pentru a fi utilizată de operatori profesioniști, angajați. Mașina a fost proiectată în primul rând pentru tăierea ierbii de pe gazoane bine întreținute ale proprietăților rezidențiale și comerciale. Este proiectată pentru a utiliza acumulatori litiu-ion Flex-Force Power System® 60 V. Acești acumulatori sunt proiectați pentru a fi încărcați doar cu încărcătoarele de acumulatori litiu-ion Flex-Force™ de 60 V. Utilizarea acestor produse în alte scopuri decât cele intenționate poate fi periculoasă pentru dumneavoastră și pentru alte persoane.
Citiți cu atenție aceste informații pentru a învăța despre modul corespunzător de utilizare și întreținere a produsului și pentru a evita rănirea personală și deteriorarea produsului. Aveţi responsabilitatea de a utiliza produsul în mod corespunzător şi sigur.
Vizitați site-ul www.Toro.com pentru mai multe informații, inclusiv informații privind siguranța produsului și materiale de instruire , informații privind accesoriile, ajutor la căutarea unui distribuitor sau pentru înregistrarea produsului.
De fiecare dată când aveţi nevoie de service, piese originale Toro sau informaţii suplimentare, contactaţi un distibuitor autorizat Toro sau departamentul Servicii clienţi Toro şi pregătiţi numerele de model sau de serie ale produsului. Figura 1 indică locația numărului de model sau de serie pe produs. Scrieți numerele în spațiul furnizat.

Scrieți modelul și numerele de serie în spațiul de mai jos:
Simbolul de alertă de siguranță (Figura 2) prezent în acest manual și pe mașină identifică mesajele de siguranță importante pe care trebuie să le respectați pentru a evita accidentele.

Simbolul de alertă de siguranță apare deasupra informațiilor care vă atenționează cu privire la acțiuni sau situații nesigure și este urmat de cuvântul PERICOL, AVERTISMENT sau ATENȚIE.
PERICOL indică o situație periculoasă iminentă care, dacă nu este evitată, va duce la deces sau vătămare gravă.
AVERTISMENT indică o situație potențial periculoasă care, dacă nu este evitată, poate duce la deces sau vătămare gravă.
ATENȚIE indică o situație potențial periculoasă care, dacă nu este evitată, poate duce la vătămări ușoare sau moderate.
Acest manual utilizează două alte cuvinte pentru a evidenția informațiile. Important atrage atenția asupra informațiilor mecanice speciale și Notă accentuează informațiile generale care necesită atenție specială.
Nu modificați și nu dezactivați dispozitivele de siguranță ale mașinii și verificați periodic funcționarea corectă a acestora. Nu încercați să reglați sau să modificați controlul turației motorului; acest lucru poate cauza o stare de funcționare nesigură, ducând la vătămări corporale.
Acest produs respectă toate directivele europene relevante; pentru detalii, vă rugăm consultați Declarația de conformitate (DOC) separată specifică produsului.
CALIFORNIA
Propunere 65 Avertismente
Cablul de alimentare al acestui produs conţine plumb, o substanţă chimică cunoscută în Statul California ca substanţă care cauzează defecte de naştere sau alte daune ale sistemului reproductiv. Spălaţi-vă mâinile după utilizare.
Utilizarea acestui produs poate cauza expunerea la substanţe chimice cunoscute în Statul California ca substanţe care cauzează cancerul, defectele de naştere sau afecţiuni ale sistemului reproductiv.
Citiți toate avertismentele, instrucțiunile, ilustrațiile și specificațiile de siguranță furnizate cu această unealtă electrică. Nerespectarea instrucțiunilor enumerate mai jos poate duce la producerea de electrocutări, incendii și/sau vătămări grave.
Păstrați toate avertismentele și instrucțiunile pentru consultări ulterioare.
Termenul unealtă electrică” din cadrul avertismentelor se referă la unealta electrică cu alimentare de la rețea (cu cablu) sau la unealta electrică cu acumulator (fără cablu).
Siguranța în zona de lucru
Păstrați zona de lucru curată și bine iluminată. Zonele dezordonate sau întunecoase promovează accidentele.
Nu utilizați uneltele electrice în medii explozive, precum în prezența lichidelor, gazelor sau prafului inflamabile. Uneltele electrice emit scântei care pot aprinde praful sau vaporii.
Țineți copiii și alte persoane la distanță în timp ce utilizați o unealtă electrică. Distragerea atenției poate duce la pierderea controlului.
Siguranță electrică
Fișele uneltelor electrice trebuie să corespundă prizei. Nu modificați niciodată fișa, în niciun fel. Nu folosiți fișe cu adaptor cu uneltele electrice (cu împământare) legate la masă. Fișele nemodificate și prizele corespunzătoare vor reduce riscul de electrocutare.
Evitați contactul fizic cu suprafețele împământate sau legate la masă, precum conductele, radiatoarele, plitele și frigiderele. Riscul de electrocutare este mai mare în cazul în care corpul dumneavoastră este legat la masă sau împământat.
Nu expuneți uneltele electrice la condiții de ploaie sau umiditate. Pătrunderea apei în unealta electrică va crește riscul de electrocutare.
Nu bruscați cablul. Nu folosiți niciodată cablul pentru a transporta, trage sau deconecta unealta electrică de la priză. Țineți cablul departe de căldură, ulei, margini ascuțite sau piese mobile. Cablurile deteriorate sau încurcate sporesc riscul de electrocutare.
În timpul utilizării unei unelte electrice în exterior, folosiți un cablu prelungitor adecvat pentru utilizarea în exterior. Folosirea unui prelungitor adecvat pentru utilizarea în exterior reduce riscul de electrocutare.
Dacă nu se poate evita utilizarea unei unelte electrice într-un mediu umed, folosiți o sursă de alimentare protejată de un dispozitiv de curent rezidual (RCD). Utilizarea unui RCD (dispozitiv de curent rezidual) reduce riscul de electrocutare.
Siguranță personală
Fiți vigilent, acordați atenție activității și folosiți-vă simțul practic atunci când operați unealta electrică. Nu utilizați o unealtă electrică dacă sunteți obosit sau sub influența drogurilor, a alcoolului sau a medicamentelor. Un moment de neglijență în timpul utilizării uneltelor electrice poate duce la vătămări corporale grave.
Purtați echipament individual de protecție. Purtați întotdeauna protecție pentru ochi. Echipamentele de protecție, precum masca împotriva prafului, încălțămintea de protecție antiderapantă, casca de protecție sau căștile pentru protecția auzului, folosite în circumstanțe adecvate, vor reduce riscul de vătămare corporală.
Preveniți pornirea neintenționată. Asigurați-vă că acest comutator este în poziția OPRIRE înainte de conectarea la sursa de alimentare și/sau acumulator, de ridicarea sau de transportarea uneltei. Transportarea uneltelor electrice cu degetul pe comutator sau punerea sub tensiune a uneltelor electrice care au comutatorul în poziția pornită promovează accidentele.
Îndepărtați orice cheie de reglare sau cheie fixă înainte de a porni unealta electrică. O cheie lăsată atașată de o piesă rotativă a unei unelte electrice poate cauza vătămări corporale.
Nu încercați să lucrați în zone prea îndepărtate. Mențineți-vă stabilitatea și echilibrul în orice moment. Acest lucru asigură mai mult control asupra uneltei electrice în situații neașteptate.
Îmbrăcați-vă corespunzător. Nu purtați îmbrăcăminte largă sau bijuterii. Țineți părul și îmbrăcămintea la distanță de piesele mobile. Îmbrăcămintea largă, bijuteriile sau părul lung se pot prinde în piesele mobile.
Dacă sunt disponibile dispozitive pentru extragerea prafului și dispozitive de colectare, asigurați-vă că acestea sunt conectate și utilizate corespunzător. Folosirea unui dispozitiv de colectare a prafului poate diminua pericolele legate de praf.
Nu permiteți ca familiarizarea rezultată din utilizarea frecventă a uneltelor să ducă la încredere exagerată și ignorarea principiilor de siguranță privind uneltele. O acțiune neglijentă poate cauza o vătămare gravă într-o fracțiune de secundă.
Utilizarea și întreținerea uneltei electrice
Nu forțați unealta electrică. Utilizați unealta electrică adecvată pentru aplicația dumneavoastră. Unealta electrică adecvată va lucra mai bine și mai sigur la capacitatea pentru care a fost proiectată.
Nu folosiți unealta electrică în cazul în care comutatorul nu o pornește și oprește. Orice unealtă electrică ce nu poate fi controlată cu ajutorul comutatorului este periculoasă și trebuie reparată.
Deconectați fișa de la sursa de alimentare și/sau îndepărtați acumulatorul, dacă este demontabil, de la unealta electrică înainte de a realiza orice reglaje, de a schimba accesoriile sau de a depozita uneltele electrice. Aceste măsuri de siguranță preventive reduc riscul de pornire accidentală a uneltei electrice.
Depozitați uneltele electrice inactive în locuri care nu sunt la îndemâna copiilor și nu permiteți persoanelor nefamiliarizate cu unealta electrică sau cu aceste instrucțiuni să folosească unealta în cauză. Uneltele electrice sunt periculoase dacă sunt folosite de utilizatori neinstruiți.
Întrețineți uneltele electrice și accesoriile. Verificați dacă piesele mobile nu sunt aliniate corespunzător sau dacă sunt blocate, verificați dacă există piese rupte, precum și orice alte condiții care ar putea afecta operarea uneltei electrice. Dacă este deteriorată, unealta electrică trebuie reparată înainte de utilizare. Multe accidente sunt cauzate de unelte electrice întreținute necorespunzător.
Mențineți uneltele de tăiere ascuțite și curate. Uneltele de tăiere întreținute corespunzător, cu margini de tăiere ascuțite, au mai puține șanse de a se bloca și sunt mai ușor de controlat.
Folosiți unealta electrică, accesoriile și capetele etc., conform acestor instrucțiuni, având în vedere condițiile de lucru și activitatea care trebuie efectuată. Utilizarea uneltelor electrice în scopuri diferite de cele preconizate poate duce la situații periculoase.
Mențineți mânerele și suprafețele de prindere uscate, curate și fără urme de ulei și lubrifiant. Mânerele și suprafețele de prindere alunecoase nu permit manipularea și controlul în siguranță al uneltei în situații neașteptate.
Utilizarea și întreținerea uneltei cu acumulator
Folosiți numai încărcătorul indicat de producător pentru reîncărcare. Un încărcător adecvat pentru un tip de acumulator poate crea risc de incendiu dacă este utilizat cu un alt acumulator.
Folosiți uneltele electrice doar cu acumulatorii indicați. Utilizarea oricăror alți acumulatori poate crea un risc de vătămare sau incendiu.
Atunci când nu utilizați acumulatorul, țineți-l departe de alte obiecte metalice, precum agrafe pentru hârtie, monede, chei, cuie, șuruburi sau alte obiecte metalice de mici dimensiuni, care pot realiza o conexiune între borne. Scurtcircuitarea bornelor acumulatorului poate provoca arsuri sau un incendiu.
În condiții de utilizare abuzivă, se poate scurge lichid din acumulator; evitați contactul. Dacă intrați în contact accidental, spălați cu apă. Dacă lichidul intră în contact cu ochii, solicitați asistență medicală. Lichidul scurs din acumulator poate cauza iritații sau arsuri.
Nu folosiți un acumulator sau o unealtă deteriorată sau modificată. Acumulatorii deteriorați sau modificați pot avea un comportament imprevizibil, care poate duce la incendiu, explozie sau risc de vătămare.
Nu expuneți un acumulator sau o unealtă la foc sau temperaturi excesive. Expunerea la foc sau la temperaturi de peste 130 °C poate cauza o explozie.
Urmați toate instrucțiunile de încărcare și nu încărcați acumulatorul sau unealta în afara intervalului de temperatură specificat în instrucțiuni. Încărcarea neadecvată sau la temperaturi în afara intervalului specificat poate deteriora acumulatorul și spori riscul de incendiu.
Service
Asigurați-vă că unealta electrică este reparată de o persoană calificată, exclusiv cu piese de schimb identice. Acest lucru va asigura menținerea siguranței uneltei electrice.
Nu efectuați niciodată lucrări de service pentru acumulatorii deteriorați. Lucrările de service pentru acumulatori trebuie realizate doar de producător sau de furnizori de servicii autorizați.
Nu utilizați mașina de tuns iarba în condiții de ploaie sau umiditate. Acest lucru poate spori riscul de electrocutare.
Nu folosiți mașina de tuns iarba în condiții meteo nefavorabile, în special când există riscul producerii de descărcări electrice. Acest lucru diminuează riscul de a fi lovit de fulger.
Inspectați bine zona în care mașina de tuns iarba urmează să fie utilizată cu privire la prezența animalelor sălbatice. Animalele sălbatice pot fi vătămate de mașina de tuns iarba în timpul funcționării acesteia.
Inspectați bine zona în care va fi utilizată mașina de tuns iarba și îndepărtați toate pietrele, bețele, cablurile, oasele și orice alte obiecte străine. Obiectele proiectate pot cauza vătămări corporale.
Înainte de a utiliza mașina de tuns iarba, inspectați-o mereu vizual pentru a vă asigura că lama și ansamblul lamei nu sunt uzate sau deteriorate. Piesele uzate sau deteriorate cresc riscul de vătămare.
Verificați frecvent dispozitivul de adunat iarbă în privința uzurii sau deteriorării. Un colector de iarbă uzat sau deteriorat poate crește riscul de vătămare corporală.
Mențineți toate protecțiile montate. Protecțiile trebuie să fie în stare bună de funcționare și să fie corect montate. O protecție slăbită, deteriorată sau care nu funcționează corect poate duce la vătămare corporală.
Mențineți toate racordurile de intrare a aerului de răcire curate. Racordurile de intrare a aerului blocate și reziduurile pot duce la supraîncălzire sau risc de incendiu.
În timpul utilizării mașinii de tuns iarba, purtați întotdeauna încălțăminte antiderapantă și de protecție. Nu utilizați mașina de tuns iarba în picioarele goale sau dacă purtați sandale deschise. Acest lucru reduce riscul de vătămare a picioarelor prin contactul cu lama aflată în mișcare.
În timpul utilizării mașinii de tuns iarba, purtați întotdeauna pantaloni lungi. Pielea expusă crește riscul de vătămare din cauza obiectelor proiectate.
Nu utilizați mașina de tuns iarba pe iarbă umedă. Mergeți; nu alergați niciodată. Acest lucru reduce riscul de alunecare și cădere care poate duce la vătămare corporală.
Nu utilizați mașina de tuns iarba pe pante excesiv de abrupte. Acest lucru reduce riscul de pierdere a controlului, alunecare și cădere, care poate duce la vătămare corporală.
Atunci când efectuați lucrări pe terenuri în pantă, aveți grijă întotdeauna când pășiți, lucrați întotdeauna de-a lungul pantei, niciodată în sus sau în jos și acordați foarte mare atenție la schimbarea direcției. Acest lucru reduce riscul de pierdere a controlului, alunecare și cădere, care poate duce la vătămare corporală.
Acordați foarte mare atenție atunci când vă deplasați cu spatele sau când trageți mașina de tuns iarba spre dumneavoastră. Acordați întotdeauna atenție împrejurimilor. Acest lucru reduce riscul de alunecare în timpul utilizării.
Nu atingeți lamele și alte piese mobile periculoase în timp ce acestea sunt în mișcare. Acest lucru reduce riscul de vătămare din cauza pieselor mobile.
Când curățați materialul blocat sau curățați mașina de tuns iarba, asigurați-vă că toate comutatoarele de alimentare sunt oprite și că acumulatorul este deconectat. Pornirea neașteptată a mașinii de tuns iarba poate duce la vătămare corporală gravă.
Instruire
Operatorul mașinii este responsabil pentru orice accidente suferite sau pericole la care au fost expuse alte persoane și bunurile acestora.
Nu permiteți copiilor să utilizeze sau să se joace cu mașina, acumulatorul sau încărcătorul; reglementările locale pot impune o limită de vârstă pentru operator.
Nu permiteți persoanelor cu capacități fizice, senzoriale sau mentale reduse sau fără experiență și cunoștințe să utilizeze mașina, acumulatorul sau încărcătorul, cu excepția cazului în care primesc instrucțiuni sau supraveghere privind utilizarea acesteia în condiții de siguranță și înțeleg pericolele implicate în timpul utilizării mașinii.
Înainte să utilizați acumulatorul și încărcătorul, citiți toate instrucțiunile și marcajele de atenționare de pe aceste produse.
Pregătire
Înlocuiți orice etichete deteriorate sau ilizibile.
Folosiți doar acumulatorul specificat de Toro. Utilizarea altor accesorii sau dispozitive de atașare poate crește riscul de vătămare sau de incendiu.
Conectarea încărcătorului într-o priză care nu are tensiunea adecvată poate provoca un incendiu sau electrocutare. Pentru un mod diferit de conectare, utilizați un adaptor cu configurația potrivită pentru priza electrică dacă este necesar.
Nu utilizați un acumulator sau încărcător deteriorat sau modificat, care poate avea un comportament imprevizibil care ar putea avea drept urmare un incendiu, o explozie sau poate crea risc de vătămare.
În cazul în care cablul de alimentare al încărcătorului este deteriorat, contactați un centru de service autorizat pentru a-l înlocui.
Nu utilizați baterii care nu pot fi reîncărcate.
Încărcați acumulatorul doar cu încărcătorul specificat de Toro. Un încărcător adecvat pentru un tip de acumulator poate constitui risc de incendiu dacă este utilizat cu un alt acumulator.
Încărcați acumulatorul doar într-o zonă bine aerisită.
Nu expuneți acumulatorul sau încărcătorul la foc sau temperaturi mai mari de 68 °C.
Urmați toate instrucțiunile de încărcare și nu încărcați acumulatorul în afara intervalului de temperatură specificat în instrucțiuni. În caz contrar, puteți deteriora acumulatorul și crește riscul de incendiu.
Operare
Stați la distanță de orice gură de descărcare.
Înainte de a porni mașina, dezactivați propulsia automată (dacă mașina este echipată cu această funcție).
Preveniți pornirea neintenționată – Asigurați-vă că butonul de pornire electrică este îndepărtat din contact, înainte de a conecta acumulatorul și de a manipula mașina.
Opriți mașina, îndepărtați butonul de pornire electrică, îndepărtați acumulatorul din mașină și așteptați ca toate mișcările să se oprească înainte de a efectua lucrări de service sau a curăța mașina.
Îndepărtați acumulatorul și butonul de pornire electrică de la mașină ori de câte ori lăsați mașina nesupravegheată sau înainte de a înlocui accesoriile.
Nu direcționați materialul evacuat spre nicio persoană. Evitați evacuarea materialul spre un perete sau obstacol; materialul poate ricoșa spre dumneavoastră. Opriți lama (lamele) atunci când vă deplasați pe suprafețe acoperite cu pietriș.
Aveți grijă la gropi, șanțuri, denivelări, pietre sau alte obiecte ascunse. Terenul denivelat vă poate face să vă pierdeți echilibrul sau stabilitatea.
Dacă mașina lovește un obiect sau începe să vibreze, opriți imediat mașina, îndepărtați butonul de pornire electrică, îndepărtați acumulatorul și așteptați ca toate mișcările să înceteze, înainte de a inspecta dacă mașina este deteriorată. Efectuați reparațiile necesare înainte de a o utiliza din nou.
Opriți mașina și îndepărtați butonul de pornire electrică, înainte de încărcarea mașinii pentru transport.
În condiții de utilizare abuzivă, din acumulator se poate scurge lichid; evitați contactul. Dacă intrați accidental în contact cu lichidul, spălați cu apă zona afectată. Dacă lichidul intră în contact cu ochii, apelați la un medic. Lichidul scurs din acumulator poate cauza iritații sau arsuri.
Întreținerea și depozitarea
Opriți mașina, îndepărtați butonul de pornire electrică, îndepărtați acumulatorul din mașină și așteptați ca toate mișcările să se oprească înainte de a efectua lucrări de service sau a curăța mașina.
Nu încercați să reparați mașina altfel decât este prevăzut în instrucțiuni. Solicitați unui centru de service autorizat să efectueze lucrări de service asupra mașinii, folosind piese de schimb identice.
Ascuțiți o lamă tocită pe ambele părți, pentru a păstra echilibrul. Curățați lama și asigurați-vă că este echilibrată.
Atunci când efectuați lucrări de service asupra lamei, asigurați-vă că lama se poate deplasa, chiar dacă sursa de alimentare a fost oprită.
Pentru a beneficia de cele mai ridicate performanțe, cumpărați doar piese de schimb și accesorii originale Toro. Piesele de schimb și accesoriile altor producători pot fi periculoase și pot anula garanția produsului.
Întrețineți utilajul – mențineți marginile de tăiere ascuțite și curate pentru cele mai bune performanțe maxime în siguranță. Mențineți mânerele uscate, curate și fără urme de ulei și lubrifiant. Lăsați toate protecțiile montate și asigurați-vă că funcționează corespunzător. Mențineți lamele ascuțite. Folosiți doar lame de schimb identice.
Dacă nu este indicat altfel în instrucțiuni, solicitați unui centru de service autorizat să repare sau să înlocuiască o protecție sau o piesă defectă.
Atunci când nu utilizați acumulatorul, țineți-l departe de obiecte metalice precum agrafe pentru hârtie, monede, chei, cuie și șuruburi care pot realiza o conexiune între borne. Scurtcircuitarea bornelor acumulatorului poate provoca arsuri sau un incendiu.
Verificați frecvent ca lama și șuruburile de montare ale motorului să fie strânse corespunzător.
ATENȚIE – un acumulator manipulat necorespunzător poate prezenta un risc de incendiu sau de arsuri chimice. Nu dezasamblați acumulatorul. Nu încălziți acumulatorul la temperaturi de peste 68 °C și nu îi dați foc. Înlocuiți acumulatorul doar cu un acumulator original Toro; folosirea unui alt tip de acumulator poate provoca un incendiu sau o explozie. Nu lăsați acumulatorii la îndemâna copiilor și păstrați acumulatorii în ambalajele originale, până când sunteți gata să îi folosiți.
Nu eliminați acumulatorii aruncându-i în foc. Celula poate exploda. Verificați reglementările locale pentru eventuale instrucțiuni speciale de eliminare.
![]() |
Instrucțiunile și autocolantele cu informații privind siguranța sunt ușor vizibile pentru operator și sunt amplasate lângă orice zonă cu potențial risc. Înlocuiți orice autocolant care este deteriorat sau lipsește. |
|
Simbolul acumulatorului sau al încărcătorului |
Explicație |
![]() |
Citiți Manualul operatorului. |
![]() ![]() |
Contactați autoritățile locale sau distribuitorul ori centrul de service autorizat, pentru mai multe informații privind modul de reciclare responsabilă a acumulatorului. |






Important: La momentul achiziției, acumulatorul nu este încărcat integral. Înainte de a utiliza mașina pentru prima dată, consultați Încărcarea acumulatorului.
Piese solicitate pentru această procedură:
| Elemente de montare (nu sunt incluse) | 2 |
Dacă doriți, montați încărcătorul în siguranță pe un perete, folosind orificiile pentru montarea pe perete, cu formă de gaură de cheie, amplasate pe spatele încărcătorului.
Montați încărcătorul la interior (cum ar fi într-un garaj sau într-un alt loc uscat), în apropierea unei prize, dar fără a fi la îndemâna copiilor.
Consultați Figura 3 pentru asistență privind montarea încărcătorului.
Glisați încărcătorul pe elementele de montare amplasate în mod corespunzător, pentru a fixa încărcătorul (elementele de montare nu sunt incluse).

Plierea sau desfășurarea incorectă a mânerului poate deteriora cablurile, ducând la condiții de utilizare nesigure.
Nu deteriorați cablul/cablurile în timpul plierii sau desfășurării mânerului.
Cablul/cablurile trebuie să se afle în afara mânerului.
Dacă un cablu este deteriorat, contactaţi un centru de service autorizat.
Important: Țineți mânerul în timp ce cuplați închizătoarele sale pentru a evita prinderea mâinilor.






| Model | 81875 | ||
| Capacitate acumulator | 7,5 Ah | ||
| 405 Wh | |||
|
Clasificare producător acumulator = 60 V tensiune maximă și 54 V tensiune nominală. Tensiunea efectivă variază în funcție de sarcină. |
|||
| Model | 81802 | |
| Tip | Încărcător de baterie litiu-ion 60 V MAX | |
| Intrare | 100 până la 240 V c.a. ~2,0 A 50/60Hz | |
| Ieșire | 60 V c.c. 2,0A MAX |
|
| Încărcați/depozitați acumulatorul la temperaturi cuprinse între | 5 °C și 40 °C* |
| Folosiți acumulatorul la temperaturi cuprinse între | -30 °C și 49 °C* |
| Folosiți mașina la temperaturi cuprinse între | 0 °C și 49 °C* |
*Timpul de încărcare va crește dacă nu încărcați acumulatorul în acest interval.
Depozitați mașina, acumulatorul și încărcătorul într-o zonă curată, uscată și închisă.
Pentru extinderea și îmbunătățirea performanțelor mașinii este disponibilă o gamă de dispozitive de atașare și accesorii aprobate de Toro. Pentru lista dispozitivelor de atașare și a accesoriilor aprobate, contactați centrul de service local sau un distribuitor Toro autorizat sau accesați www.Toro.com.
Pentru performanțe optime și utilizarea în siguranță a mașinii, utilizați exclusiv piese de schimb și accesorii originale Toro. Piesele de schimb și accesoriile fabricate de alți producători pot fi periculoase.
Note: Determinaţi partea stângă şi dreaptă a maşinii din poziţia de operare normală.
Important: Folosiți acumulatorul doar la temperaturi care se încadrează în intervalul corespunzător; consultați Specificaţii.
Asigurați-vă că în orificiile de ventilație ale acumulatorului nu există praf și resturi.
Ridicați capacul compartimentului pentru acumulator (A din Figura 10).
Aliniați canalul acumulatorului cu limba de pe mașină și glisați acumulatorul în compartiment până când se fixează prin blocare (B din Figura 10).
Închideți capacul compartimentului pentru acumulator (C din Figura 10).
Note: În cazul în care compartimentul acumulatorului nu se închide complet, acumulatorul nu este corect instalat.

Puteți ridica sau coborî mânerul într-o poziție confortabilă pentru dumneavoastră.
Rotiți închizătorul de mâner, deplasați mânerul în pozițiile 1 - 2 și blocați mânerul în poziție (Figura 11).

Reglarea înălțimii de tăiere vă poate aduce mâinile în contact cu o lamă aflată în mișcare, cauzând vătămări grave.
Înainte de a regla înălțimea de tăiere opriți motorul, îndepărtați acumulatorul și așteptați până ce se opresc toate piesele mobile.
Nu introduceți degetele sub carcasă în timp ce reglați înălțimea de tăiere.
Reglați înălțimea de tăiere conform preferințelor. Setați toate roțile la aceeași înălțime de tăiere (Figura 12).

Asigurați-vă că acumulatorul este instalat în mașină; consultați Montarea acumulatorului.
Note: În cazul în care compartimentul acumulatorului nu se închide complet, acumulatorul nu este corect instalat.
Introduceți butonul de pornire electrică în comutatorul de pornire electrică (A din Figura 13).
Strângeți bara de comandă pentru lamă și țineți-o strânsă spre mâner (B din Figura 13).
Apăsați butonul de pornire electrică și mențineți-l apăsat până când pornește motorul (C din Figura 13).

Pentru a opera propulsia automată, mergeți pur și simplu cu mâinile pe mânerul superior și coatele în lateral, iar aparatul va ține automat pasul cu dumneavoastră (Figura 14).

Note: Dacă mașina nu rulează liber în spate după propulsia automată, opriți deplasarea, țineți-vă mâinile în poziție și permiteți mașinii să ruleze cu câțiva centimetri (inch) în față pentru a decupla tracțiunea. De asemenea, puteți încerca să ajungeți chiar sub mânerul superior la mânerul metalic și să împingeți mașina în față cu câțiva centimetri (inch). Dacă mașina continuă să nu ruleze în spate cu ușurință, contactați un centru de service autorizat.
Această mașină are 2 setări pentru viteza lamelor: AUTO și MAX.
Când este setată poziția AUTO, viteza lamelor se reglează automat pentru o eficiență sporită; se detectează schimbările condițiilor de tăiere, iar viteza lamelor crește atunci când este necesar, pentru a menține calitatea tăierii.
Când este setată poziția MAX, viteza lamelor rămâne permanent la cea mai mare viteză.
Răsuciți butonul de pornire electrică în comutatorul de pornire electrică până la oricare poziție pentru a stabili setarea pentru viteza lamelor (Figura 15).

Eliberați bara de comandă pentru lamă (A din Figura 16).
Îndepărtați butonul de pornire electrică de la comutatorul de pornire electrică (B din Figura 16).
Îndepărtați acumulatorul; consultați Îndepărtarea acumulatorului din mașină.
Note: Oricând nu utilizați mașina, îndepărtați acumulatorul.

Ridicați capacul compartimentului pentru acumulator.
Apăsați clichetul acumulatorului pentru a elibera acumulatorul și pentru a-l îndepărta.
Închideți capacul compartimentului pentru acumulator.
Mașina dumneavoastră este pregătită din fabrică să recicleze resturile de iarbă și de frunze înapoi în gazon.
Important: Asigurați-vă că capacul din spate este fixat în poziție. Pentru a bloca capacul, ridicați deflectorul spate (A din Figura 17) și împingeți ferm capacul în jos până când se fixează în poziție (B din Figura 17).

Note: Pentru a debloca capacul, rotiți maneta de pe capac la dreapta (Figura 18).
Folosiți sacul pentru iarbă atunci când doriți să colectați resturile de iarbă și de frunze de pe gazon.
Note: În mod implicit, această mașină este echipată cu o lamă economică pentru un timp de funcționare îmbunătățit; de asemenea, include o lamă opțională de performanță pentru colectare și performanță îmbunătățită. Înainte de colectare, montați lama de performanță, consultați Înlocuirea lamei.
Opriți mașina și așteptați până la oprirea tuturor pieselor mobile; consultați Oprirea mașinii.
Demontați acumulatorul de la mașină; consultați Îndepărtarea acumulatorului din mașină.
Ridicați și mențineți ridicat deflectorul spate (A din Figura 18).
Îndepărtați capacul evacuării posterioare prin împingerea înăuntru cu degetul a clichetului și îndepărtarea capacului de pe mașină (B și C din Figura 18).
Instalați capetele tijei sacului în canelurile de la baza mânerului și deplasați sacul înainte și înapoi, pentru a vă asigura că ați fixat capetele tijei sacului pe părțile inferioare ale celor două caneluri (D din Figura 18).
Coborâți deflectorul spate până se sprijină pe sacul pentru iarbă.

Mașina poate proiecta resturile de iarbă și alte obiecte printr-o deschizătură de pe carcasa mașinii. Obiectele proiectate cu suficientă forță pot provoca vătămări corporale grave sau decesul dumneavoastră sau trecătorilor.
Nu îndepărtați niciodată sacul pentru iarbă pentru ca apoi să porniți mașina, fără a instala capacul evacuării pe mașină.
Nu deschideți niciodată deflectorul spate al mașinii atunci când mașina este în funcțiune.
Inspectați zona în care veți utiliza mașina și îndepărtați toate obiectele pe care mașina le-ar putea proiecta.
Evitați lovirea obiectelor solide cu lama. Nu tundeți iarba trecând în mod voluntar peste obiecte.
Dacă mașina se lovește de un obiect sau începe să vibreze, opriți mașina imediat, așteptați până toate piesele mobile se opresc, îndepărtați acumulatorul din mașină și verificați dacă mașina este deteriorată.
Pentru cele mai bune performanțe, instalați o lamă Toro nouă înainte de a începe sezonul de tuns iarba sau atunci când este necesar.
Tăiați aproximativ o treime din firul de iarbă. Pentru calitate a tăierii, timp de funcționare și colectare îmbunătățite, tăiați iarba la o înălţime de tăiere mai mare.
Nu tăiați mai jos de 51 mm, cu excepția cazului în care iarba este mai rară sau este toamnă târzie, când creșterea ierbii începe să încetinească.
Atunci când tăiați iarba cu o înălțime de peste 15 cm, tăiați mai întâi la cea mai ridicată setare a înălțimii de tăiere și la o viteză mai mică; apoi tăiați din nou la o înălțime de tăiere mai mică pentru ca gazonul să aibă cel mai bun aspect. Dacă iarba este prea lungă, mașina se poate bloca, ceea ce poate duce la calarea motorului.
Iarba și frunzele ude au tendința de a se aduna în curte și pot cauza blocarea mașinii sau calarea motorului. Evitați să tundeți iarba în condiții umede.
Fiți atenți la potențialul risc de incendiu în condiții foarte uscate, respectați toate avertismentele autorităților locale privind incendiile și preveniți pătrunderea ierbii uscate și a resturilor de frunze în mașină.
Alternați direcția de tăiere. Acest lucru ajută la dispersarea resturilor pe gazon, pentru o fertilizare uniformă.
Dacă aspectul final al gazonului este nesatisfăcător, încercați una sau mai multe din următoarele recomandări:
Înlocuiți lama sau ascuțiți-o.
Deplasați-vă mai încet în timp ce tăiați iarba.
Ridicați înălțimea de tăiere a mașinii dumneavoastră.
Tăiați iarba mai frecvent.
Suprapuneți zonele de tăiere în loc să tăiați iarba dintr-o zonă completă cu fiecare trecere.
După tunderea gazonului, asigurați-vă că jumătate din gazon se vede prin stratul de frunze tăiate. Poate fi nevoie să efectuați mai multe treceri peste frunze.
Dacă pe gazon există un strat de frunze mai mare de 13 cm, tăiați iarba la o înălțime de tăiere mai mare și apoi tăiați iarba din nou la înălțimea de tăiere dorită.
Reduceți viteza de tăiere dacă mașina nu taie frunzele suficient de fin.
Important: La momentul achiziției, acumulatorul nu este încărcat integral. Înainte de a utiliza mașina pentru prima dată, amplasați acumulatorul în încărcător și încărcați-l până când afișajul LED indică faptul că acumulatorul este complet încărcat. Citiți toate precauțiile privind siguranța.
Important: Încărcați acumulatorul doar la temperaturi care se încadrează în intervalul corespunzător; consultați Specificaţii.
Note: În orice moment, apăsați butonul care indică nivelul de încărcare a acumulatorului de pe acumulator, pentru a afișa nivelul actual de încărcare (indicatoare LED).
Asigurați-vă că orificiile și bornele de încărcare de la nivelul acumulatorului și încărcătorului nu prezintă praf sau reziduuri.

Aliniați canalul acumulatorului (Figura 19) cu limba încărcătorului.
Glisați acumulatorul în încărcător până când este fixat corespunzător (Figura 19).
Pentru a îndepărta acumulatorul, glisați acumulatorul înapoi, afară din încărcător.
Consultați următorul tabel pentru a interpreta indicatorul luminos LED de pe încărcător.
| Simbol încărcător | Indicator luminos | Indică |
![]() | Verde intermitent | Acumulatorul se încarcă |
![]() | Verde | Acumulatorul este încărcat |
![]() | Roșu | Acumulatorul și/sau încărcătorul au o temperatură mai mare sau mai mică decât intervalul de temperatură corespunzător |
![]() | Roșu intermitent | Eroare la încărcarea acumulatorului* |
| Oprit | Acumulatorul nu este introdus |
*Consultați pentru mai multe informații.
Important: Acumulatorul poate fi lăsat în încărcător pentru perioade scurte de timp între utilizări.Dacă acumulatorul nu va fi utilizat pentru perioade lungi, îndepărtați acumulatorul din încărcător; consultați Înainte de depozitare.
| Interval de întreţinere şi service | Procedură de întreţinere |
|---|---|
| După fiecare folosinţă |
|
Mașina poate disloca material de sub ea.
Purtați protecție pentru ochi.
Stați în poziția de operare (în spatele mânerului) în timp ce funcționează motorul.
Nu permiteți trecătorilor să se afle în zonă.
Pentru rezultate optime, curățați mașina în scurt timp după ce ați terminat de tuns iarba.
Coborâți mașina la cea mai mică înălțime de tăiere a mașinii. Consultați Reglarea înălţimii de tăiere.
Dacă sacul pentru iarbă este montat, îndepărtați-l; consultați Îndepărtarea sacului pentru iarbă.
Deplasați mașina pe o suprafață pavată, uniformă.
Spălați zona de sub ușa din spate (dacă se aplică), pe unde este evacuată iarba tăiată, din partea inferioară a mașinii până la sacul pentru iarbă.
Cu motorul pornit și lama cuplată, direcționați un jet de apă în fața roții dreapta, spate (Figura 20).

Când nu mai este evacuată iarbă tăiată, opriți apa și mutați mașina într-o zonă uscată.
Lăsați motorul să funcționeze timp de câteva minute pentru a usca partea inferioară a mașinii.
Opriți motorul și permiteți-i să se răcească.
Setați mașina în poziția pliată verticală; consultați Depozitarea maşinii în Poziția pliată verticală.
Spălați resturile de iarbă de sub mașină.
Plierea sau desfășurarea incorectă a mânerului poate deteriora cablurile, ducând la condiții de utilizare nesigure.
Nu deteriorați cablul/cablurile în timpul plierii sau desfășurării mânerului.
Cablul/cablurile trebuie să se afle în afara mânerului.
Dacă un cablu este deteriorat, contactaţi un centru de service autorizat.
Îndepărtați butonul de pornire electrică (Figura 21).

Țineți mânerul în timp ce decuplați închizătoarele sale pentru a evita prinderea mâinilor.
Decuplați închizătoarele mânerului până ce puteți mișca mânerul superior liber.
Pliați mânerul în față, către poziția înainte completă, așa cum este ilustrat în Figura 22.
Important: Poziționați cablurile în exteriorul închizătoarelor mânerului, pe măsură ce pliați mânerul.

Pentru a desfășura mânerul, consultați Desfăşurarea mânerului.
În timpul sezonului de tuns iarba sau în extrasezon, puteți depozita mașina în poziție verticală pentru a reduce spațiul de depozitare.
Poziția pliată vertical expune partea inferioară a mașinii.
Îndepărtați acumulatorul și butonul de pornire electrică înainte de a mișca mașina în poziția pliată vertical.
Nu transportați mașina în poziție pliată vertical.
Nu încercați să porniți mașina în poziție pliată vertical.
Asigurați-vă că setarea înălțimii de tăiere a mașinii este de 92 mm sau mai mică. Dacă nu este, reduceți înălțimea; consultați Reglarea înălţimii de tăiere.
Decuplați închizătoarele mânerului (Figura 23).

Pliați mânerul complet în față (Figura 23).
Important: Poziționați cablurile în exteriorul butoanelor de mâner pe măsură ce pliați mânerul.
Cuplați închizătoarele mânerului.
Ridicați partea frontală a mașinii cu ajutorul mânerului și mutați-o într-un spațiu de depozitare (Figura 24).

Îndepărtați butonul de pornire electrică și acumulatorul de pe mașină înainte de a realiza operațiuni de întreținere sau curățare a mașinii.
Opriți mașina, așteptați oprirea tuturor pieselor mobile și lăsați mașina să se răcească înainte de reglarea, efectuarea lucrărilor de service, curățarea sau depozitarea mașinii.
Folosiți numai piesele de schimb și accesoriile recomandate de producător.
Verificați și realizați operațiuni de întreținere a mașinii periodic. Reparați mașina numai la un centru de service autorizat.
Note: Determinați partea stângă și dreaptă a mașinii din poziția de operare normală.
| Interval de întreţinere şi service | Procedură de întreţinere |
|---|---|
| După fiecare folosinţă |
|
| Anual |
|
| Interval de întreţinere şi service | Procedură de întreţinere |
|---|---|
| Anual |
|
Important: Pentru a instala lama corect veți avea nevoie de o cheie. Dacă nu dețineți o cheie sau considerați că nu puteți realiza această procedură, contactaţi un centru de service autorizat.
Dacă lama este deteriorată sau fisurată, înlocuiți-o imediat. Dacă marginea lamei este tocită sau prezintă crestături, ascuțiți-o și echilibrați-o sau înlocuiți-o.
Atunci când efectuați lucrări de service asupra lamei, lama se poate deplasa, chiar dacă sursa de alimentare a fost oprită. Lama este ascuțită; contactul cu lama poate rezulta în vătămări corporale grave.
Țineți mâinile și picioarele la distanță de lama în mișcare.
Purtați mănuși în timpul lucrărilor de service asupra lamei.
Îndepărtați butonul de pornire electrică și acumulatorul de pe mașină.
Folosiți o bucată de lemn pentru a menține lama stabilă (Figura 25).
Îndepărtați lama, păstrând toate elementele de montare (Figura 25).

Instalați lama nouă și toate elementele de montare (Figura 26).

Important: Amplasați capetele curbate ale lamei cu fața în sus, spre carcasa mașinii.
Folosiți o cheie dinamometrică pentru a strânge șurubul lamei la un cuplu de 88 N∙m.
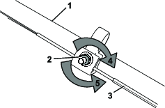
Oricând instalați un nou cablu al unității de propulsie automată sau dacă unitatea de propulsie automată nu mai este reglată, reglați cablul unității de propulsie automată.
Rotiți piulița de reglare în sens invers acelor de ceasornic pentru a slăbi cablul (Figura 27).

Ajustați tensionarea cablului (Figura 27) trăgându-l în spate sau în față și menținând poziția.
Note: Împingeți cablul spre motor pentru a mări tracțiunea; trageți cablul de la motor pentru a reduce tracțiunea.
Rotiți piulița de reglare în sensul acelor de ceasornic pentru a strânge.
Note: Strângeți ferm piulița cu o cheie.
Important: După îndepărtare, acoperiți bornele acumulatorului cu bandă adezivă de mare rezistență. Nu încercați să distrugeți sau să dezasamblați acumulatorul sau să îndepărtați oricare dintre componentele sale.
Contactați autoritățile locale sau distribuitorul ori centrul de service autorizat, pentru mai multe informații privind modul de reciclare responsabilă a acumulatorului.
Important: Depozitați mașina, acumulatorul și încărcătorul doar la temperaturi care se încadrează în intervalul corespunzător; consultați Specificaţii.
Important: Dacă depozitați acumulatorul în afara sezonului de tuns iarba, încărcați-l până ce 2–3 indicatoare LED de pe acumulator devin verzi. Nu depozitați un acumulator încărcat sau descărcat complet. Atunci când sunteți pregătit să utilizați mașina din nou, încărcați acumulatorul până când indicatorul luminos din partea stângă a încărcătorului devine verde sau până când toate cele 4 indicatoare LED de pe acumulator devin verzi.
Deconectați produsul de la sursa de alimentare (adică îndepărtați acumulatorul și butonul de pornire electrică) și verificați dacă există defecțiuni în urma utilizării.
Nu depozitați mașina sau încărcătorul cu acumulatorul montat.
Curățați toate materiile străine de pe produs.
Când nu sunt utilizate, depozitați mașina, butonul de pornire electrică, acumulatorul și încărcătorul în locuri care nu sunt la îndemâna copiilor.
Țineți mașina, acumulatorul și încărcătorul departe de agenți corozivi, cum ar fi substanțe chimice folosite în grădină sau săruri pentru dezghețare.
Pentru a reduce riscul vătămării corporale grave, nu depozitați acumulatorul în aer liber sau în autovehicule.
Depozitați mașina, acumulatorul și încărcătorul într-o zonă curată, uscată și închisă.
Efectuați doar pașii descriși în aceste instrucțiuni. Dacă nu puteți soluționa problema pe cont propriu, toate lucrările suplimentare de inspecție, întreținere și reparații trebuie efectuate de un centru de service autorizat sau de un specialist cu calificări similare.
| Problem | Possible Cause | Corrective Action |
|---|---|---|
| Mașina nu pornește. |
|
|
| Mașina nu funcționează sau nu funcționează continuu. |
|
|
| Mașina nu atinge capacitatea maximă. |
|
|
| Acumulatorul își pierde rapid din nivelul de încărcare. |
|
|
| Încărcătorul nu funcționează. |
|
|
| Propulsia automată a mașinii nu funcționează. |
|
|
| Indicatorul luminos LED de pe încărcător este roșu. |
|
|
| Indicatorul luminos LED de pe încărcător se aprinde roșu intermitent. |
|
|
| Mașina emite un sunet tip bip. |
|
|
| Calitatea tăierii este scăzută sau nesatisfăcătoare. |
|
|
| Colectarea este redusă sau nesatisfăcătoare. |
|
|
| Mașina taie neuniform. |
|
|
| Mașina vibrează. |
|
|