| Intervalo de assistência | Procedimento de manutenção |
|---|---|
| Após cada utilização |
|
Este cortador de relva com lâmina rotativa e com operador apeado destina-se a ser utilizado por operadores profissionais contratados. Foi, principalmente, concebido para cortar a relva em parques bem mantidos em propriedades residenciais ou comerciais. Foi concebido para utilizar as baterias de iões de lítio Flex-Force Power System®. Estas baterias foram concebidas para serem carregadas apenas por carregadores de baterias de iões de lítio de 60 V Flex-Force™ . Se estas máquinas forem utilizadas para um fim diferente da sua utilização prevista, poderá pôr em perigo o utilizador e outras pessoas.
Leia estas informações cuidadosamente para saber como utilizar e efetuar a manutenção do produto de forma adequada, bem como evitar ferimentos e danos no produto. A utilização correta e segura do produto é da exclusiva responsabilidade do utilizador.
Vá a www.Toro.com para obter mais informações, incluindo dicas de segurança, materiais de formação, informações sobre acessórios, ajuda a encontrar um representante ou a registar o seu produto.
Sempre que necessitar de assistência, peças genuínas Toro ou informações adicionais, entre em contacto com um representante autorizado da Toro ou com o serviço de assistência da Toro, indicando os números de modelo e de série do produto. Figura 1 identifica a localização dos números de série e de modelo no produto. Escreva os números no espaço disponível.

Escreva os números de modelo e de série do produto nos espaços em baixo:
O símbolo de alerta de segurança (Figura 2) mostrado neste manual e na máquina identifica mensagens de segurança importantes que têm de ser seguidas para evitar acidentes.

O símbolo de alerta de segurança surge acima de informações que o alertam para ações ou situações inseguras e será seguido pela palavra PERIGO, AVISO ou CUIDADO.
PERIGO indica uma situação de risco eminente que, se não for evitada, irá resultar em morte ou ferimento grave.
AVISO indica uma situação de risco potencial que, se não for evitada, pode resultar em morte ou ferimento grave.
CUIDADO indica uma situação de risco potencial que, se não for evitada, poderá resultar em ferimento leve ou moderado.
Neste manual são ainda utilizados dois termos para identificar informações importantes. Importante identifica informações especiais de ordem mecânica e Nota sublinha informações gerais que requerem especial atenção.
Não modifique nem desative dispositivos de segurança na máquina e verifique regularmente se estão a funcionar corretamente. Não tente ajustar nem modificar o controlo de velocidade do motor; ao fazê-lo, pode dar origem a condições pouco seguras, que podem resultar em ferimentos pessoais.
Este produto cumpre todas as diretivas europeias relevantes. Para mais informações, consulte a folha de Declaração de conformidade (DOC) em separado, específica do produto.
CALIFÓRNIA
Proposição 65 Aviso
É do conhecimento do Estado da Califórnia que o cabo de alimentação deste produto contém chumbo, químico que pode provocar defeitos congénitos ou outros problemas reprodutivos. Lave as mãos após a utilização.
É do conhecimento do Estado da Califórnia que a utilização deste produto pode causar exposição a químicos que podem provocar cancro, defeitos congénitos ou outros problemas reprodutivos.
Leia todos os avisos, instruções, ilustrações e especificações fornecidos com esta ferramenta elétrica. O não cumprimento de todas as instruções indicadas abaixo pode resultar em choque elétrico, incêndio e/ou ferimentos graves.
Guarde todos os avisos e instruções para referência futura.
O termo "ferramenta elétrica” nos avisos refere-se à sua ferramenta elétrica (com fios) ou à sua ferramenta alimentada por bateria (sem fios).
Segurança da área de trabalho
Mantenha a área de trabalho limpa e bem iluminada. Áreas desorganizadas ou escuras são propícias a acidentes.
Não utilize máquinas elétricas em atmosferas explosivas como, por exemplo, na presença de líquidos, gases ou poeiras inflamáveis. As ferramentas elétricas criam faíscas que podem inflamar a poeira ou os fumos.
Mantenha as crianças e outras pessoas presentes afastadas enquanto utiliza a máquina elétrica. As distrações podem causar a perda de controlo.
Segurança elétrica
A(s) ficha(s) da ferramenta elétrica deve(m) corresponder à tomada. Nunca modifique uma ficha de forma alguma. Não utilize quaisquer adaptadores com ferramentas elétricas com ligação à terra. A utilização de fichas não modificadas e de tomadas adequadas reduz o risco de choques elétricos.
Evite contacto corporal com superfícies com ligação à terra, tais como canos, radiadores, fogões e frigoríficos. Existe um risco acrescido de choque elétrico se o seu corpo estiver com ligação à terra.
Não deixe ferramentas elétricas à chuva ou sob condições húmidas. A entrada de água numa ferramenta elétrica aumenta o risco de choque elétrico.
Não esforce o cabo. Nunca utilize o cabo para carregar, puxar ou desligar da tomada. Mantenha o cabo afastado do calor, óleos, extremidades afiadas ou peças em movimento. Os cabos danificados ou emaranhados aumentam o risco de choque elétrico.
Quando utilizar uma ferramenta elétrica ao ar livre, utilize um cabo de extensão adequado para utilização ao ar livre. A utilização de um cabo adequado para o ar livre reduz o risco de choque elétrico.
Se não for possível evitar a utilização de uma ferramenta elétrica num local húmido, utilize uma fonte de alimentação protegida com um disjuntor diferencial. A utilização de um disjuntor diferencial reduz o risco de choque elétrico.
Segurança pessoal
Esteja alerta. Observe o que está a fazer e utilize o bom senso ao utilizar a máquina. Não utilize uma ferramenta elétrica quando estiver cansado ou sob a influência de drogas, álcool ou medicação. Um momento de falta de atenção enquanto utiliza a ferramenta elétrica pode resultar em ferimentos graves.
Utilize equipamento de proteção pessoal. Utilize sempre proteção ocular. A utilização de equipamento de proteção como, por exemplo, máscara antipó, calçado de segurança antiderrapante, capacete de segurança ou proteção auricular em situações adequadas reduz o risco de ferimentos.
Prevenção de arranque involuntário. Certifique-se de que o interruptor está na posição OFF (desligar) antes de ligar a fonte de alimentação e/ou a bateria, pegar ou transportar a ferramenta. Transportar ferramentas elétricas com o seu dedo no interruptor ou carregar ferramentas elétricas com o interruptor ligado propicia acidentes.
Retire quaisquer chaves da ferramenta elétrica antes de a ligar. Uma chave deixada numa peça móvel da ferramenta elétrica pode causar ferimentos pessoais.
Não ultrapasse os limites. Mantenha sempre o equilíbrio e a estabilidade. Isto fará com que tenha um melhor controlo sobre a ferramenta elétrica em situações inesperadas.
Vista-se de forma adequada. Não use roupas largas nem joalharia. Mantenha o seu cabelo e roupas afastados de peças em movimento. As roupas largas, joalharia ou cabelos compridos podem ficar presos em peças em movimento.
Se forem fornecidos dispositivos de recolha e armazenamento de poeiras, certifique-se de que estão encaixados e são utilizados corretamente. A utilização de dispositivos de recolha de poeiras pode reduzir riscos relacionados com poeiras.
Não deixe que o facto de estar familiarizado com a utilização da máquina permita que se torne complacente e ignore os princípios de segurança da ferramenta. Um comportamento descuidado pode causar ferimentos graves numa fração de segundo.
Utilização e segurança da ferramenta elétrica
Não force a ferramenta elétrica. Utilize a ferramenta elétrica correta para a sua aplicação. A ferramenta elétrica correta fará o trabalho melhor e de forma mais segura ao ritmo para o qual foi concebida.
Não utilize a ferramenta elétrica se o interruptor não a ligar e desligar. Qualquer ferramenta elétrica que não possa ser controlada com o interruptor é perigosa e deve ser reparada.
Desligue a ficha da fonte de alimentação e/ou remova a bateria (se amovível) da ferramenta elétrica antes de efetuar quaisquer ajustes, trocar de acessórios ou armazenar a ferramenta elétrica. Estas medidas de segurança preventivas reduzem o risco de ligar a ferramenta elétrica acidentalmente.
Guarde as ferramentas elétricas inativas fora do alcance das crianças e não permita que pessoas não familiarizadas com a ferramenta elétrica ou com estas instruções utilizem a ferramenta elétrica. As ferramentas elétricas são perigosas nas mãos de utilizadores sem formação.
Manutenção de ferramentas elétricas e acessórios. Verifique se as peças móveis estão desalinhadas ou encravadas, se existem peças partidas e quaisquer outras condições que possam afetar a utilização da ferramenta elétrica. Se estiver danificada, mande reparar a ferramenta elétrica antes de a utilizar. Muitos acidentes são causados devido a uma manutenção deficiente da ferramenta elétrica.
Mantenha as ferramentas cortantes afiadas e limpas. A manutenção adequada de ferramentas cortantes, mantendo-as afiadas, reduz o risco de encravamento e facilita o controlo das ferramentas.
Utilize a ferramenta elétrica, os acessórios, as brocas, etc. de acordo com estas instruções, tendo em conta as condições de trabalho e o trabalho a ser efetuado. A utilização da ferramenta elétrica para utilizações diferentes das previstas pode resultar em situações perigosas.
Mantenha as pegas e as superfícies de agarrar secas, limpas e sem óleo ou lubrificante. As pegas e superfícies de agarras escorregadias não permitem uma utilização e controlo seguros da ferramenta em situações inesperadas.
Utilização e segurança da ferramenta alimentada por bateria
Recarregue a bateria apenas com o carregador indicado pelo fabricante. Um carregador adequado a um tipo de bateria pode criar um risco de incêndio quando usado com outra bateria.
Utilize ferramentas elétricas apenas com as baterias indicadas. A utilização de outras baterias pode criar um risco de incêndio e ferimentos.
Quando a bateria não estiver a ser utilizada, mantenha-a afastada de outros objetos de metal como, por exemplo, clipes de papel, moedas, chaves, pregos e outros objetos de metal pequenos que possam fazer uma ligação entre um terminal e o outro. O curto-circuito dos terminais da bateria pode causar queimaduras ou incêndio.
Sob condições abusivas, a bateria pode ejetar liquido; evite o contacto. Se, acidentalmente, ocorrer contacto, lave com água. Se o líquido entrar em contacto com os olhos, procure ajuda médica. O líquido ejetado da bateria pode causar irritação ou queimaduras.
Não utilize uma bateria ou ferramenta danificada ou modificada. As baterias danificadas ou modificadas podem apresentar comportamentos imprevisíveis, resultando em incêndios, explosões ou risco de ferimentos.
Não exponha uma bateria ou ferramenta ao fogo ou temperaturas excessivas. A exposição a temperaturas acima dos 130°C pode causar uma explosão.
Siga todas as instruções de carregamento e não carregue a bateria ou ferramenta fora do intervalo de temperaturas indicado nas instruções. Carregar a bateria incorretamente ou a temperaturas fora do intervalo indicado pode danificar a bateria e aumentar o risco de incêndio.
Manutenção
A manutenção da sua ferramenta elétrica deve ser efetuada por um profissional qualificado, utilizando apenas peças de substituição idênticas. Isto garantirá que a segurança da ferramenta elétrica é mantida.
Nunca efetue a manutenção de baterias danificadas. A manutenção de baterias deve ser efetuada apenas pelo fabricante ou por distribuidores autorizados.
Não utilize o cortador de relva em condições húmidas ou à chuva. Isto aumenta o risco de choque elétrico.
Não utilize o cortador de relva em condições atmosféricas adversas, especialmente quando existe o risco de trovoada. Isto diminui o risco de ser atingido por um raio.
Inspecione minuciosamente a área onde o cortador de relva vai ser utilizado para detetar a presença de vida selvagem. Os animais selvagens podem ser feridos pelo cortador de relva durante a sua utilização.
Examine minuciosamente a área onde irá utilizar o cortador de relva e remova pedras, paus, arames, ossos e qualquer outro objeto estranho. Os objetos projetados podem causar ferimentos.
Antes de utilizar o cortador de relva, inspecione sempre a lâmina e o conjunto da lâmina para verificar se nada se encontra desgastado ou danificado. Peças desgastadas ou danificadas aumentam o risco de ferimentos.
Verifique frequentemente o nível de desgaste ou deterioração do depósito de recolha de relva. Um depósito de recolha de relva desgastado ou danificado pode aumentar o risco de ferimentos pessoais.
Mantenha as proteções no devido lugar. As proteções devem estar em condições de funcionamento e montadas de forma adequada. Uma proteção solta, danificada ou que não funcione corretamente pode causar danos pessoais.
Mantenha todas as entradas de ar de arrefecimento limpas, sem detritos. As entradas de ar bloqueadas, bem como os detritos, podem causar sobreaquecimento ou risco de incêndio.
Enquanto opera o cortador de relva, utilize sempre calçado de segurança antiderrapante. Não utilize o cortador de relva descalço ou com sandálias. Isto reduz a probabilidade de ferimentos nos pés a partir do contacto com uma lâmina em movimento.
Utilize sempre calças compridas quando utilizar o cortador de relva. A pele exposta aumenta a probabilidade de ferimentos causados por objetos projetados.
Não utilize o cortador de relva em relva húmida. Ande, nunca corra. Isto reduz o risco de escorregar e cair, o que pode causar ferimentos.
Não opere o cortador de relva em declives muito inclinados. Isto reduz o risco de perda de controlo, e de escorregar e cair, o que pode causar ferimentos.
Quando trabalhar em declives, certifique-se sempre de que está equilibrado, trabalhe sempre ao longo da superfície dos declives, nunca para cima ou para baixo e seja extremamente cauteloso quando mudar de direção. Isto reduz o risco de perda de controlo, e de escorregar e cair, o que pode causar ferimentos.
Tenha muito cuidado ao fazer marcha-atrás ou ao empurrar o cortador de relva na sua direção. Esteja sempre atento ao ambiente que o rodeia. Isto reduz o risco de tropeçar quando utiliza o cortador de relva.
Não toque nas lâminas nem noutras peças móveis perigosas quando ainda estiverem em movimento. Isto reduz o risco de ferimentos causados pelas peças em movimento.
Quando limpar material encravado ou o cortador de relva, certifique-se de que todos os interruptores e a bateria estão desligados. Um arranque inesperado do cortador de relva pode causar ferimentos graves.
Formação
O operador da máquina é responsável por quaisquer acidentes ou riscos que ocorram aos outros ou à sua propriedade.
Não permita que crianças utilizem ou brinquem com a máquina, bateria ou carregador da bateria; os regulamentos locais podem restringir a idade do operador.
Não permita que pessoas com capacidades físicas, sensoriais ou mentais reduzidas ou sem experiência e conhecimento utilizem a máquina, bateria ou carregador da bateria, a não ser que recebam instruções ou supervisão sobre como a utilizar em segurança e que conheçam os riscos envolvidos durante a sua utilização.
Antes da utilização da bateria e do carregador da bateria, leia todas as instruções e sinais de prudência sobre estes produtos.
Preparação
Substitua qualquer autocolante danificado ou ilegível.
Utilize apenas a bateria indicada pela Toro. Utilizar outros acessórios pode aumentar o risco de ferimentos e incêndio.
Ligar o carregador da bateria a uma tomada que não seja de tensão correta pode causar um incêndio ou choque elétrico. Para um tipo de ligação diferente, utilize um adaptador de tomada com a configuração correta da se necessário.
Não utilize uma bateria ou carregador danificado ou alterado, o que pode apresentar um comportamento imprevisível dando origem a incêndio, explosão ou risco de ferimento.
Se o cabo de alimentação do carregador da bateria estiver danificado, contacte um representante de assistência autorizado para o substituir.
Não utilize baterias não recarregáveis.
Carregue a bateria apenas no carregador indicado pela Toro. Um carregador adequado a um tipo de bateria pode criar um risco de incêndio quando usado com outra bateria.
Carregue a bateria apenas numa área bem ventilada.
Não exponha uma bateria ou carregador de baterias ao fogo ou a temperaturas superiores a 68°C.
Siga todas as instruções de carregamento e não carregue a bateria fora do intervalo de temperaturas indicado nas instruções. Caso contrário, pode danificar a bateria e aumentar o risco de incêndio.
Funcionamento
Mantenha-se afastado de qualquer abertura de descarga.
Desengate a transmissão autopropulsora (se instalada) antes de ligar a máquina.
Evite o arranque acidental – certifique-se de que o botão de arranque elétrico é removido da ignição antes de ligar a bateria e manusear a máquina.
Pare a máquina, remova o botão de arranque elétrico, remova a bateria da máquina e aguarde que todas as peças em movimento parem antes de prestar assistência ou limpar a máquina.
Remova a bateria e o botão de arranque elétrico da máquina sempre que se afastar dela ou antes de substituir acessórios.
Não direcione o material de descarga para ninguém. Evite descarregar o material contra uma parede ou obstrução, uma vez que o material pode fazer ricochete em direção do operador. Pare a(s) lâmina(s) quando atravessar superfícies de gravilha.
Esteja atento a buracos, carreiras, elevações, pedras ou outros objetos ocultos. O terreno desnivelado pode fazer com que perca o equilíbrio ou a posição.
Se a máquina atingir um objeto ou começar a vibrar, pare imediatamente a máquina, retire o botão de arranque elétrico, retire a bateria, espere que todas as peças móveis parem antes de inspecionar a máquina para ver se está danificada. Efetue todas as reparações necessárias antes de retomar o funcionamento.
Pare a máquina e remova o botão de arranque elétrico antes de carregar a máquina para transporte.
Em condições abusivas, a bateria pode ejetar líquido; evite o contacto. Se acidentalmente entrar em contacto com o líquido, lave com água. Se o líquido entrar em contacto com os olhos, procure ajuda médica. O líquido ejetado da bateria pode causar irritação ou queimaduras.
Manutenção e armazenamento
Pare a máquina, remova o botão de arranque elétrico, remova a bateria da máquina e aguarde que todas as peças em movimento parem antes de prestar assistência ou limpar a máquina.
Não tente reparar a máquina, excepto se indicado nas instruções. Peça a um representante de assistência autorizado para realizar a assistência na máquina utilizando peças de substituição idênticas.
Afie uma lâmina romba em ambos os lados para manter o equilíbrio. Limpe a lâmina e certifique-se de que está equilibrada.
Ao prestar assistência à lâmina, tenha cuidado que a lâmina se pode mover mesmo com a alimentação desligada.
Para o desempenho ideal, utilize apenas peças de substituição e acessórios genuínos Toro. As peças de substituição e acessórios de outros fabricantes podem ser perigosos e essa utilização anula a garantia.
Mantenha a máquina – mantenha as extremidades de corte afiadas e limpas para um desempenho melhor e mais seguro. Mantenha as pegas secas, limpas e sem óleo ou lubrificante. Mantenha os resguardos instalados e em correto funcionamento. Mantenha as lâminas afiadas. Utilize apenas lâminas de substituição idênticas.
Exceto se indicado nas instruções, peça a um representante de assistência autorizado para reparar ou substituir um resguardo ou peça danificado.
Quando a bateria não estiver a ser utilizada, mantenha-a afastada de objetos de metal como, por exemplo, clipes de papel, moedas, chaves, pregos e parafusos que possam fazer uma ligação entre um terminal e o outro. O curto circuito dos terminais da bateria pode causar queimaduras ou incêndio.
Verifique frequentemente o aperto dos parafusos de montagem da lâmina e do motor.
CUIDADO – uma bateria tratada indevidamente pode apresentar um risco de incêndio ou queimadura química. Não desmonte a bateria. Não aqueça a bateria a mais de 68°C nem a queime. Substitua a bateria apenas por uma bateria Toro genuína; utilizar outro tipo de bateria pode causar um incêndio ou uma explosão. Mantenha as baterias fora do alcance das crianças e na embalagem original até que esteja pronto para as utilizar.
Não deite fora a bateria para um fogo. A célula pode explodir. Consulte os códigos locais acerca de possíveis instruções especiais de eliminação.
![]() |
Os autocolantes de segurança e de instruções são facilmente visíveis e situam-se próximo das zonas de potencial perigo. Substitua todos os autocolantes danificados ou perdidos. |
|
Símbolo de bateria ou carregador |
Explicação |
![]() |
Leia o Manual do utilizador. |
![]() ![]() |
Contacte o município local ou o seu distribuidor autorizado da Toro para mais informações sobre como reciclar de forma responsável a bateria. |






Important: A bateria não está totalmente carregada quando a adquire. Antes de utilizar a máquina pela primeira vez, consulte Carregamento da bateria.
Peças necessárias para este passo:
| Ferragens de montagem (não incluídas) | 2 |
Se desejar, monte o carregador de forma segura numa parede utilizando os orifícios de montagem na parede na parte posterior do carregador.
Monte-o no interior (como, por exemplo, uma garagem ou outro local seco), perto de uma tomada elétrica e fora do alcance das crianças.
Consulte Figura 3 para obter ajuda para a montagem do carregador.
Deslize o carregador sobre as ferragens devidamente posicionadas para prender o carregador no sítio (ferragens não incluídas).

Dobrar ou desdobrar a pega inadequadamente pode danificar os cabos criando uma condição de funcionamento insegura.
Não danifique o(s) cabo(s) quando estiver a dobrar ou a desdobrar a pega.
Certifique-se de que o(s) cabo(s) está(ão) encaminhado(s) para o exterior da pega.
Se um cabo estiver danificado, contacte um distribuidor autorizado.
Important: Segure na pega enquanto engata os bloqueios da pega para evitar entalar as mãos.






| Modelo | 81875 | ||
| Capacidade da bateria | 7,5 Ah | ||
| 405 Wh | |||
|
Classificação do fabricante da bateria = 60 V máximo e 54 V nominal. A tensão real varia com a carga. |
|||
| Modelo | 81802 | |
| Tipo | Carregador de baterias de iões de lítio 60 V MAX | |
| Entrada | 100 a 240 V CA ~2,0 A 50/60 Hz | |
| Saída | 60 V CC 2,0 A MAX |
|
| Carregue/guarde a bateria a | 5°C a 40°C* |
| Utilize a bateria a | -30°C a 49°C* |
| Utilize a máquina a | 0°C a 49°C* |
*Os tempos de carregamento aumentam se não carregar a bateria dentro deste intervalo.
Guarde a máquina, bateria e carregador da bateria numa área limpa e seca.
Está disponível uma seleção de acessórios aprovados pela Toro para utilização com a máquina, para melhorar e expandir as suas capacidades. Contacte o seu representante de assistência autorizado ou distribuidor Toro autorizado ou vá a www.Toro.com para obter uma lista de todos os acessórios aprovados.
Para assegurar o desempenho ideal e certificação de segurança continuada da máquina, utilize sempre peças de substituição e acessórios genuínos Toro. A utilização de peças de substituição e acessórios fabricados por outros fabricantes pode ser perigosa.
Note: Determine os lados direito e esquerdo da máquina a partir da posição normal de utilização.
Important: Utilize a bateria apenas em temperaturas que estejam dentro do intervalo adequado; consulte Especificações.
Certifique-se de que as ventilações da bateria estão sem qualquer sujidade ou detrito.
Eleve a tampa do compartimento da bateria (A de Figura 10).
Alinhe a cavidade da bateria com o ressalto na máquina e deslize a bateria para o compartimento até que encaixe no sítio (B de Figura 10).
Feche a tampa do compartimento da bateria (C de Figura 10).
Note: Se a tampa do compartimento da bateria não fechar completamente, a bateria não está totalmente instalada.

Pode levantar ou descer a pega para a uma posição mais confortável.
Rode o bloqueio da pega, mova-a para as posições 1 ou 2 e bloqueie a pega na posição (Figura 11).

Ajustar a altura de corte pode fazer com que as mãos toquem na lâmina em movimento, provocando ferimentos graves.
Desligue o motor, retire a bateria e aguarde que todas as peças em movimento parem antes de ajustar a altura de corte.
Não coloque os dedos por baixo da caixa quando está a ajustar a altura de corte.
Ajuste a altura de corte conforme desejado. Coloque as rodas à mesma altura de corte (Figura 12).

Certifique-se de que a bateria está instalada na máquina; consulte Instalação da bateria.
Note: Se a tampa do compartimento da bateria não fechar completamente, a bateria não está totalmente instalada.
Insira o botão de arranque elétrico no interruptor de arranque elétrico (A de Figura 13).
Insira a barra de controlo da lâmina e segure-a contra a pega (B de Figura 13).
Pressione o botão de arranque elétrico e mantenha-o pressionado até que o motor arranque (C de Figura 13).

Para operar a transmissão autopropulsora, basta caminhar com as mãos na pega superior e os cotovelos de lado e o cortador começará automaticamente a andar à sua velocidade (Figura 14).

Note: Se a máquina não se deslocar livremente para trás depois da autopropulsão, pare de caminhar, mantenha as mãos imóveis e permita que a máquina se desloque alguns centímetros para a frente para desengatar a transmissão das rodas. Também pode utilizar a pega metálica debaixo da pega superior para empurrar a máquina alguns centímetros para a frente. Se a máquina continuar sem deslocar-se facilmente para trás, contacte um representante de assistência autorizado.
Esta máquina possui duas configurações de velocidade da lâmina: AUTO e MAX.
Quando configurada para a posição AUTO, a velocidade da lâmina é ajustada automaticamente para maior eficácia; são detetadas alterações nas condições de corte e a velocidade da lâmina aumenta quando necessário para manter a qualidade do corte.
Quando configurada para a posição MAX, a velocidade da lâmina permanece sempre na velocidade mais elevada.
Rode o botão de arranque elétrico no interruptor de arranque elétrico para qualquer posição para ajustar a configuração de velocidade da lâmina (Figura 15).

Liberte a barra de controlo da lâmina (A de Figura 16).
Remova o botão de arranque elétrico do interruptor de arranque elétrico (B de Figura 16).
Retire a bateria, consulte Remoção da bateria da máquina.
Note: Sempre que não utilizar a máquina, retire a bateria.

Eleve a tampa do compartimento da bateria.
Pressione o trinco da bateria para libertar a bateria e remover a bateria.
Feche a tampa do compartimento da bateria.
O seu cortador é entregue de fábrica pronto para reciclar a relva e as aparas de relva de forma a serem novamente colocadas no relvado.
Important: Certifique-se de que o tampão traseiro está trancado no lugar. Para bloquear o tampão, levante o defletor traseiro (A de Figura 17) e empurre firmemente o tampão para baixo até encaixar no lugar (B de Figura 17).

Note: Para desbloquear o tampão traseiro, rode a alavanca do tampão para a direita (Figura 18).
Utilize o saco de relva quando quiser recolher as aparas de relva e de folhas do relvado.
Note: Por defeito, esta máquina está equipada com uma lâmina económica para um melhor tempo de funcionamento; inclui também uma lâmina de desempenho opcional para uma melhor recolha em sacos e desempenho. Antes da recolha em sacos, instale a lâmina de desempenho; consulte a Substituição da lâmina.
Desligue o motor e espere que todas as peças em movimento parem; consulte a Desligar a máquina.
Retire a bateria da máquina; consulte a Remoção da bateria da máquina.
Faça subir e mantenha elevado o defletor traseiro (A da Figura 18).
Retire o bujão de descarga traseira empurrando o trinco para baixo com o polegar e retirando o bujão da máquina (B e C de Figura 18).
Instale as extremidades da barra do saco nas ranhuras na base da pega e abane o saco para a frente e para trás para assegurar que as extremidades estão encaixadas na parte inferior de ambas as ranhuras (D de Figura 18).
Desça o defletor traseiro até que apoie no saco de relva.

A máquina pode projetar aparas de relva e outros objetos através de uma abertura na estrutura. Os objetos projetados com força suficiente podem causar ferimentos graves ou morte ao operador ou pessoas na área.
Nunca retire o saco de relva nem arranque a máquina sem instalar primeiro o bujão de descarga.
Nunca abra o defletor traseiro quando a máquina estiver ligada.
Inspecione a área em que vai utilizar a máquina e remova todos os objetos que a máquina possa projetar.
Evite atingir objetos sólidos com a lâmina. Nunca corte a relva deliberadamente por cima de um objeto.
Se a máquina atingir um objeto ou começar a vibrar, pare imediatamente o motor, espere que todas as peças móveis parem, retire a bateria da máquina, e inspecione a máquina para ver se está danificada.
Para um melhor desempenho, instale uma lâmina Toro nova antes de começar a estação de corte ou quando necessário.
Corte apenas cerca de um terço da lâmina de relva de cada vez. Para melhor qualidade de corte, tempos de funcionamento e recolha da relva, corte a relva a uma altura de corte superior.
Não corte abaixo da regulação de 51 mm, a menos que a relva seja escassa ou quando se está no fim do outono e a relva começa a crescer mais devagar.
Quanto estiver a cortar relva com mais de 15 cm de altura, corte com a regulação de corte mais alta e caminhe devagar; em seguida volte a cortar com a regulação mais baixa para que o relvado fique com um aspeto óptimo. Se a relva estiver demasiado comprida, a máquina pode encravar e fazer com que o motor vá abaixo.
A relva e as folhas molhadas tendem a acumular-se no jardim e podem fazer com a máquina encrave e o motor vá abaixo. Evite cortar em condições de humidade.
Tenha em atenção o perigo de incêndio em condições muito secas, siga todos os avisos locais de incêndio e mantenha a máquina sem relva seca e detritos.
Alterne a direção de corte. Isto ajuda a dispersar as aparas pelo relvado para uma fertilização uniforme.
Se, depois de cortar, o aspeto do relvado não for satisfatório, tente fazer o seguinte:
Substitua a lâmina ou mande afiá-la.
Caminhe mais devagar quando estiver a cortar.
Aumente a altura de corte na máquina.
Corte a relva com mais frequência.
Sobreponha as filas de corte em vez de cortar uma fila inteira em cada passagem.
Depois de cortar o relvado certifique-se de que metade do relvado se vê através da cobertura de folhas cortadas. Pode ter que passar mais de que uma vez por cima das folhas.
Se houver mais de 13 cm de folhas no relvado, corte a uma altura de corte superior e, em seguida, na altura de corte desejada.
Reduza a velocidade de corte se a máquina não cortar as folhas suficientemente finas.
Important: A bateria não está totalmente carregada quando a adquire. Antes de utilizar a ferramenta pela primeira vez, coloque a bateria no carregador e carregue-a até que o indicador LED indique que a bateria está totalmente carregada. Leia todas as precauções de segurança.
Important: Carregue a bateria apenas em temperaturas que estejam dentro do intervalo adequado; consulte Especificações.
Note: A qualquer altura, pressione o botão do indicador de carga da bateria na bateria para visualizar a carga atual (indicadores LED).
Certifique-se de que as ventilações da(s) bateria(s) e os terminais de carregamento da(s) bateria(s) e o carregador estão sem qualquer sujidade ou detritos.

Alinhe a cavidade na bateria (Figura 19) com o ressalto no carregador.
Deslize a bateria para o carregador até que fique totalmente encaixada (Figura 19).
Para remover a bateria, deslize a bateria para trás e para fora do carregador.
Consulte a tabela seguinte para interpretar a luz indicadora LED no carregador da bateria.
| Símbolo de carregador | Luz indicadora | Indica |
![]() | Verde a piscar | A bateria está a carregar |
![]() | Verde | A bateria está carregada |
![]() | Vermelho | A bateria e/ou carregador está acima ou abaixo do intervalo de temperatura indicado |
![]() | Vermelho a piscar | Falha de carga da bateria* |
| Desligar | Nenhuma bateria inserida |
*Consulte para mais informações.
Important: A bateria pode ser deixada no carregador por curtos períodos entre utilizações.Se não for utilizar a bateria durante longos períodos, retire a bateria do carregador; consulte a secção Antes do armazenamento.
| Intervalo de assistência | Procedimento de manutenção |
|---|---|
| Após cada utilização |
|
A máquina pode deslocar material de debaixo da máquina.
Proteja devidamente os olhos.
Mantenha-se na posição de operação (atrás da pega) quando o motor estiver a trabalhar.
Não autorize a presença de pessoas na área.
Para obter melhores resultados, limpe o cortador logo após ter concluído o corte.
Desça a máquina para a definição da altura de corte mais baixa. Consulte Ajuste da altura de corte.
Se o saco de relva estiver instalado, retire-o; consulte a Remoção do saco de relva.
Desloque a máquina para uma superfície plana e pavimentada.
Lave a área sob a porta traseira (caso se aplique) onde as aparas passam da parte de baixo da máquina para o saco de relva.
Com o motor a funcionar e a lâmina engatada, deixe correr água em frente da roda traseira direita (Figura 20).

Quando não saírem mais aparas, pare a água e desloque o cortador para uma área seca.
Ligue e deixe o motor a funcionar durante alguns minutos para secar a parte de baixo da máquina.
Desligue o motor e aguarde que arrefeça.
Regule a máquina para a posição de armazenamento vertical; consulte Armazenar a máquina na posição de armazenamento vertical.
Lave todas as aparas debaixo da máquina.
Dobrar ou desdobrar a pega inadequadamente pode danificar os cabos criando uma condição de funcionamento insegura.
Não danifique o(s) cabo(s) quando estiver a dobrar ou a desdobrar a pega.
Certifique-se de que o(s) cabo(s) está(ão) encaminhado(s) para o exterior da pega.
Se um cabo estiver danificado, contacte um distribuidor autorizado.
Remova o botão de arranque elétrico (Figura 21).

Segure na pega enquanto desengata os bloqueios da pega para evitar entalar as mãos.
Desengate os bloqueios da pega até conseguir mover a pega superior livremente.
Dobre a pega para a frente ou para a posição totalmente para a frente como se mostra na Figura 22.
Important: Encaminhe os cabos para o exterior dos bloqueios da pega ao dobrar a pega.

Desdobrar a pega; consulte Desdobramento da pega.
Durante a temporada de corte ou na época de inatividade, pode guardar a sua máquina na posição vertical para minimizar o espaço de armazenamento.
A posição de armazenamento vertical expõe o fundo da máquina.
Remova a bateria e o botão de arranque elétrico antes de mover a máquina para a posição de armazenamento vertical.
Não transporte a máquina na posição de armazenamento vertical.
Não tente ligar a máquina na posição de armazenamento vertical.
Certifique-se de que a configuração da altura de corte na máquina é de 92 mm ou inferior. Se não for, baixe-a; consulte Ajuste da altura de corte.
Desengate os bloqueios da pega (Figura 23).

Dobre a pega totalmente para a frente (Figura 23).
Important: Encaminhe os cabos para ao lado exterior dos manípulos da pega ao dobrar a pega.
Engate os bloqueios da pega.
Eleve a frente da máquina pela pega e mova-a para o local de armazenamento (Figura 24).

Remova o botão de arranque elétrico e a bateria da máquina antes de fazer a manutenção ou limpar a máquina.
Desligue sempre a máquina, aguarde que todas as partes móveis parem e deixe a máquina arrefecer antes de a ajustar, lhe fazer a manutenção, limpar ou armazenar.
Utilize apenas peças de substituição e acessórios recomendados pelo fabricante.
Inspecione e faça a manutenção da máquina com regularidade. Deve mandar reparar a máquina apenas num representante de assistência autorizado.
Note: Determine os lados direito e esquerdo da máquina a partir da posição normal de utilização.
| Intervalo de assistência | Procedimento de manutenção |
|---|---|
| Após cada utilização |
|
| Anualmente |
|
| Intervalo de assistência | Procedimento de manutenção |
|---|---|
| Anualmente |
|
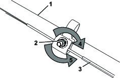
Important: Precisará de uma chave de aperto para instalar a lâmina de forma adequada. Se não tiver uma chave de aperto ou se não se sentir à vontade para executar este procedimento, contacte um revendedor autorizado.
Se a lâmina estiver danificada ou rachada, substitua-a imediatamente. Se a extremidade da lâmina estiver embotada ou com falhas, mande-a afiar ou equilibrar ou substitua-a.
Ao prestar assistência à lâmina, a lâmina pode mover-se mesmo com a alimentação desligada. A lâmina é afiada; tocar na lâmina pode ter como resultado ferimentos pessoais graves.
Mantenha as mãos e os pés longe da lâmina em movimento.
Use luvas quando efetuar a manutenção da lâmina.
Remova o botão de arranque elétrico e a bateria da máquina.
Utilize um bloco de madeira para manter a lâmina segura (Figura 25).
Retire a lâmina guardando todo o equipamento de montagem (Figura 25).

Instale lâmina nova e todo o equipamento de montagem (Figura 26).

Important: Coloque as extremidades em curva da lâmina viradas para cima de forma a apontarem em direção à caixa do cortador.
Utilize uma chave de aperto para apertar o parafuso da lâmina com 88 N·m.
Sempre que instalar um novo cabo autopropulsor ou se a transmissão autopropulsora estiver desajustada, ajuste a transmissão autopropulsora.
Rode a porca de ajuste no sentido contrário ao dos ponteiros do relógio para folgar o ajuste do cabo (Figura 27).

Ajuste a tensão do cabo (Figura 27) puxando-o para trás ou empurrando-o para a frente e mantendo a posição.
Note: Empurre o cabo em direção ao motor para aumentar a tração. Puxe o cabo para longe do motor para diminuir a tração.
Rode a porca de ajuste no sentido dos ponteiros do relógio para apertar o ajuste do cabo.
Note: Aperte a porca firmemente com uma chave.
Important: Na remoção, cubra os terminais da bateria com fita adesiva forte Não tente destruir nem desmontar a bateria nem remover qualquer dos seus componentes.
Contacte o município local ou o distribuidor Toro autorizado para mais informações sobre como reciclar de forma responsável a bateria.
Important: Guarde a máquina, bateria e carregador apenas em temperaturas que estejam dentro do intervalo adequado; consulte Especificações.
Important: Se estiver a guardar a bateria para a época de inatividade, carregue-a até 2 ou 3 indicadores LED ficarem acesos a verde na bateria. Não guarde uma bateria totalmente carregada ou totalmente descarregada. Quando estiver pronto para utilizar novamente a máquina, carregue a bateria até que o indicador restante acenda a verde no carregador ou todos os quatro indicadores LED acendam a verde na bateria.
Desligue o produto da fonte de alimentação (ou seja, retire a bateria e botão de arranque elétrico) e verifique se existem danos após a utilização.
Não guarde a máquina nem o carregador com a bateria instalada.
Limpe todos os materiais estranhos do produto.
Quando não estiver a ser utilizada, guarde a máquina, botão de arranque elétrico, bateria e carregador da bateria fora do alcance das crianças.
Mantenha a máquina, bateria e carregador da bateria afastados de agentes corrosivos, por exemplo, produtos químicos de jardim e sais para derreter gelo.
Para reduzir o risco de ferimentos pessoais graves, não guarde a bateria no exterior ou dentro de veículos.
Guarde a máquina, bateria e carregador da bateria numa área limpa e seca.
Realize apenas os passos descritos nestas instruções. Todas os trabalhos de inspeção, manutenção e reparação têm de ser realizados por um centro de assistência autorizado ou um especialista igualmente qualificado se não conseguir resolver o problema.
| Problem | Possible Cause | Corrective Action |
|---|---|---|
| A máquina não carrega. |
|
|
| A máquina não trabalha ou não trabalha de forma contínua. |
|
|
| A máquina não atinge a potência máxima. |
|
|
| A bateria perde a carga muito rapidamente. |
|
|
| O carregador da bateria não está a funcionar. |
|
|
| A máquina não faz autopropulsão. |
|
|
| A luz indicadora LED no carregador da bateria está vermelha. |
|
|
| A luz indicadora LED no carregador da bateria está a piscar a vermelho. |
|
|
| A máquina produz apitos. |
|
|
| A qualidade de corte diminuiu ou não é satisfatória. |
|
|
| A recolha de relva diminuiu ou não é satisfatória. |
|
|
| A máquina corta de forma irregular. |
|
|
| A máquina vibra. |
|
|