| Częstotliwość serwisowania | Procedura konserwacji |
|---|---|
| Po każdym zastosowaniu |
|
Ta pchana kosiarka z obrotowymi ostrzami jest przeznaczona do użytku przez profesjonalnych operatorów. Została zaprojektowana przede wszystkim do koszenia trawy na dobrze utrzymanych trawnikach prywatnych lub publicznych. Maszyna jest zaprojektowana do eksploatacji z akumulatorami litowo-jonowymi Flex-Force Power System® 60 V. Akumulatory mogą być ładowane wyłącznie ładowarką Flex-Force™ 60 V do akumulatorów litowo-jonowych. Używanie tych produktów w celach niezgodnych z ich przeznaczeniem może okazać się niebezpieczne dla operatora i osób postronnych.
Przeczytaj uważnie poniższe informacje, aby poznać zasady właściwej obsługi i konserwacji urządzenia, nie uszkodzić go i uniknąć obrażeń ciała. Odpowiedzialność za prawidłowe i bezpieczne użytkowanie produktu spoczywa na Tobie.
Odwiedź www.Toro.com, aby uzyskać więcej informacji, w tym wskazówki dotyczące bezpieczeństwa, materiały szkoleniowe, informacje na temat akcesoriów oraz pomoc w znalezieniu autoryzowanego sprzedawcy lub rejestracji produktu.
Aby skorzystać z serwisu, zakupić oryginalne części firmy Toro lub uzyskać dodatkowe informacje, należy skontaktować się z autoryzowanym dystrybutorem firmy Toro lub biurem obsługi klienta firmy Toro. Prosimy o przygotowanie numeru modelu i numeru seryjnego produktu. Rysunek 1 przedstawia położenie numeru modelu i numeru seryjnego na produkcie. Zapisz numery w przewidzianym na to miejscu.

W miejscu poniżej wpisz model produktu i numery seryjne:
Ten symbol ostrzegawczy (Rysunek 2) występuje zarówno w instrukcji, jak i na maszynie. Wskazuje on ważne informacje dotyczące zasad bezpieczeństwa, których należy przestrzegać, aby uniknąć wypadków.

Symbol ostrzegawczy pojawia się nad informacjami ostrzegającymi o niebezpiecznych działaniach lub sytuacjach, przed słowem NIEBEZPIECZEŃSTWO, OSTRZEŻENIE lub UWAGA.
NIEBEZPIECZEŃSTWO: wskazuje na sytuację bezpośredniego zagrożenia, która, jeśli się jej nie zapobiegnie, doprowadzi do śmierci lub poważnych obrażeń ciała.
OSTRZEŻENIE: wskazuje na sytuację potencjalnego zagrożenia, która, jeżeli się jej nie zapobiegnie, może doprowadzić do śmierci lub poważnych obrażeń ciała.
UWAGA: wskazuje na sytuację potencjalnego zagrożenia, która, jeżeli się jej nie zapobiegnie, może doprowadzić do niewielkich lub średnich obrażeń ciała.
W niniejszej instrukcji występują dwa słowa podkreślające wagę informacji. Ważne wskazuje na szczególnie istotne informacje techniczne, a Uwaga podkreśla informacje ogólne wymagające uwagi.
Nie wolno ingerować w zabezpieczenia maszyny ani wyłączać ich. Należy regularnie sprawdzać poprawność ich działania. Nie wolno podejmować prób regulacji lub manipulacji przy elementach sterujących prędkością obrotową silnika. Może to spowodować wystąpienie niebezpiecznego stanu, prowadzącego do obrażeń ciała.
Opisywane urządzenie jest zgodne ze wszystkimi obowiązującymi dyrektywami Unii Europejskiej; szczegółowe informacje są zamieszczone w osobnym dokumencie odpowiedniej deklaracji zgodności.
KALIFORNIA
Propozycja 65 ostrzeżenie
Przewod zasilający tego urządzenia zawiera ołów, substancję chemiczną uznaną przez stan Kalifornia za powodująca uszkodzenia płodu i inne zaburzenia rozrodu. Myj ręce po kontakcie z nimi.
Użycie tego produktu może skutkować narażeniem się na działanie związków chemicznych uznanych w Stanie Kalifornia za wywołujące raka, uszkodzenia płodu lub działające szkodliwie dla rozrodczości.
Należy zapoznać się ze wszystkimi ostrzeżeniami, instrukcjami, ilustracjami i wymaganiami dotyczącymi bezpieczeństwa dostarczanymi wraz z tym narzędziem elektrycznym. Niezastosowanie się do wszelkich poniższych instrukcji może doprowadzić do porażenia prądem, powstania pożaru i/lub poważnych obrażeń ciała.
Zachowaj wszelkie ostrzeżenia i instrukcje do użycia w przyszłości.
We wszystkich poniższych ostrzeżeniach określenie narzędzie elektryczne” odnosi się do narzędzi elektrycznych zasilanych z sieci elektrycznej (przewodowo) lub zasilanych z akumulatora (bezprzewodowo).
Bezpieczeństwo w strefie wykonywania pracy
Strefa wykonywania pracy powinna być czysta i dobrze oświetlona. Nieporządek lub słabe oświetlenie w strefie pracy zwiększają ryzyko wypadków.
Nie używaj narzędzi elektrycznych w obszarach zagrożonych wybuchem, na przykład w pobliżu łatwopalnych cieczy, gazów lub pyłów. Narzędzia elektryczne generują iskry, które mogą spowodować zapłon pyłu lub oparów.
Dzieci i osoby postronne nie mogą zbliżać się do strefy pracy narzędzia elektrycznego. Rozproszenie uwagi może spowodować utratę kontroli nad urządzeniem.
Bezpieczna praca z urządzeniami elektrycznymi
Wtyczki narzędzi elektrycznych muszą być odpowiednie do gniazdka. Wtyczek nie wolno w żaden sposób modyfikować. Podczas pracy z narzędziami elektrycznymi wymagającymi gniazdka z uziemieniem nie wolno stosować adapterów. Niezmodyfikowane wtyczki i pasujące gniazda zmniejszają ryzyko porażenia prądem elektrycznym.
Unikaj kontaktu ciała z uziemionymi powierzchniami, takimi jak rury, grzejniki, kuchenki i lodówki. W przypadku kontaktu ciała z uziemionym urządzeniem występuje podwyższone ryzyko porażenia prądem.
Nie wystawiaj narzędzi elektrycznych na działanie deszczu lub wilgoci. Dostająca się do wnętrza narzędzia elektrycznego woda zwiększy ryzyko porażenia prądem elektrycznym.
Z przewodem należy obchodzić się ostrożnie. Nigdy nie używaj przewodu do przenoszenia, pociągania ani odłączania narzędzia elektrycznego od gniazdka. Przewód trzymaj z dala od ciepła, oleju, ostrych krawędzi oraz ruchomych części. Uszkodzone lub zaplątane przewody zwiększają ryzyko porażenia prądem elektrycznym.
Podczas używania narzędzia elektrycznego na zewnątrz należy korzystać z przedłużacza odpowiedniego do użytku na zewnątrz pomieszczeń. Zastosowanie przewodu odpowiedniego do zastosowań zewnętrznych zmniejsza ryzyko porażenia prądem elektrycznym.
W przypadku, gdy nie można uniknąć pracy narzędziem elektrycznym w wilgotnym miejscu, należy korzystać ze źródła prądu z zabezpieczeniem różnicowo-prądowym (RCD). Użycie bezpiecznika typu RCD zmniejsza ryzyko porażenia prądem elektrycznym.
Bezpieczeństwo osobiste
Podczas pracy z użyciem narzędzia elektrycznego zachowaj czujność, zwracaj uwagę na to, co robisz i kieruj się zdrowym rozsądkiem. Nie używaj narzędzia elektrycznego, gdy jesteś zmęczony lub pod wpływem środków odurzających, alkoholu lub leków. Chwila nieuwagi podczas użytkowania narzędzia elektrycznego może doprowadzić do wypadku z poważnymi obrażeniami ciała.
Stosuj środki ochrony indywidualnej. Zawsze pracuj w okularach ochronnych. Sprzęt ochronny, taki jak maska przeciwpyłowa, bezpieczne obuwie z podeszwą przeciwpoślizgową, sztywny kask lub ochronniki słuchu używane w odpowiednich warunkach, ograniczają ryzyko obrażeń ciała.
Zapobiegaj przypadkowemu uruchomieniu. Przed podłączeniem narzędzia do źródła zasilania i/lub akumulatora oraz przed jego podniesieniem lub przenoszeniem upewnij się, że wyłącznik jest w pozycji wyłączenia (OFF). Przenoszenie narzędzi elektrycznych z palcem na przełączniku zasilania lub podłączanie do zasilania narzędzi elektrycznych, w których przełącznik jest w pozycji włączenia (ON) grozi wypadkiem.
Przed uruchomieniem narzędzia elektrycznego wyjmuj przyrząd lub klucz regulacyjny. Przyrząd lub klucz regulacyjny umieszczony w obracającej się części narzędzia elektrycznego może spowodować obrażenia ciała.
Nie sięgaj zbyt daleko narzędziem. Zawsze utrzymuj stabilną postawę i równowagę. W ten sposób masz lepszą kontrolę nad narzędziem elektrycznym w niespodziewanych sytuacjach.
Noś odpowiednią odzież. Nie używaj luźnej odzieży ani biżuterii. Włosy i odzież operatora muszą znajdować się w bezpiecznej odległości od części ruchomych. Luźna odzież, biżuteria lub długie włosy mogą zostać pochwycone przez ruchome części.
Jeżeli urządzenia są wyposażone w złącza do odciągu lub zbierania pyłu, dopilnuj ich prawidłowego podłączenia i używania we właściwy sposób. Korzystanie z instalacji do zbierania pyłu pozwala ograniczyć zagrożenia stwarzane przez unoszący się pył.
Nie dopuszczaj do sytuacji, w których rutyna wynikająca z częstego używania narzędzi skłania do zbytniej pewności siebie i lekceważenia zasad bezpieczeństwa pracy z narzędziami elektrycznymi. Nieuważne działanie może w ciągu ułamka sekundy spowodować poważne obrażenia.
Używanie narzędzi elektrycznych i dbanie o ich stan techniczny
Nie przeciążaj narzędzia elektrycznego. Używaj narzędzia elektrycznego odpowiedniego do danego zastosowania. Odpowiednie narzędzie elektryczne wykona zadanie lepiej i bezpieczniej oraz w tempie, do jakiego zostało zaprojektowane.
Nie używaj narzędzia elektrycznego z niedziałającym lub nieprawidłowo działającym wyłącznikiem. Narzędzie elektryczne, którego nie można kontrolować wyłącznikiem, jest niebezpieczne i wymaga naprawy.
Przed przystąpieniem do jakichkolwiek regulacji, wymiany akcesoriów lub przechowywania odłącz wtyczkę od źródła zasilania lub odłącz/wymontuj akumulator, jeżeli konstrukcja narzędzia elektrycznego na to pozwala. Takie środki ostrożności ograniczają ryzyko przypadkowego uruchomienia narzędzia elektrycznego.
Przechowuj nieużywane narzędzie elektryczne poza zasięgiem dzieci i nie pozwalaj na używanie narzędzia elektrycznego osobom z nim nieobeznanym lub które nie zapoznały się z instrukcją obsługi. Narzędzia elektryczne stanowią zagrożenia w rękach nieprzeszkolonych użytkowników.
Utrzymuj narzędzia elektryczne i akcesoria w dobrym stanie technicznym. Sprawdź, czy ruchome elementy są właściwie ustawione i czy nie blokują się nawzajem. Zwróć uwagę na uszkodzone elementy lub inny ich stan mogący mieć wpływ na działanie narzędzia elektrycznego. Uszkodzone narzędzi elektryczne należy naprawić przed użyciem. Przyczyną wielu wypadków jest niewłaściwy stan techniczny narzędzi elektrycznych.
Pilnuj, aby narzędzia do cięcia były ostre i czyste. Właściwie konserwowane narzędzia o naostrzonych krawędziach tnących rzadziej się blokują i są łatwiejsze do kontrolowania.
Używaj narzędzia elektrycznego, akcesoriów i elementów tnących itp. zgodnie z niniejszą instrukcją, uwzględniając warunki robocze oraz planowaną pracę. Używanie narzędzia elektrycznego niezgodnie z jego przeznaczeniem może doprowadzić do niebezpiecznych sytuacji.
Uchwyty i inne powierzchnie chwytania utrzymuj w stanie suchym, czystym i wolnym od oleju i smarów. Śliskie uchwyty i powierzchnie do chwytania utrudniają bezpieczną obsługę i sterowanie narzędziem w nieoczekiwanych sytuacjach.
Używanie i konserwacja narzędzi akumulatorowych
Do ładowania należy używać wyłącznie ładowarki wskazanej przez producenta. Używanie ładowarki przeznaczonej do akumulatorów konkretnego typu do ładowania innych akumulatorów grozi pożarem.
Używaj narzędzi elektrycznych tylko z przeznaczonymi do nich akumulatorami. Używanie innych akumulatorów grozi zranieniem i pożarem.
Gdy akumulator nie jest używany, trzymaj go z dala od metalowych przedmiotów, takich jak spinacze do papieru, monety, klucze, gwoździe, wkręty lub inne metalowe przedmioty mogące spowodować zwarcie między biegunami. Zwarcie biegunów akumulatora może spowodować poparzenia lub pożar.
Przy nieprawidłowym użytkowaniu akumulatora może się z niego wydostać ciecz. Należy unikać kontaktu z tą cieczą. W razie kontaktu narażone miejsce należy spłukać wodą. W razie kontaktu z oczami należy uzyskać pomoc medyczną. Ciecz wydostająca się z akumulatora może powodować podrażnienie lub poparzenie.
Nie należy używać uszkodzonego lub zmodyfikowanego akumulatora ani narzędzia. Uszkodzone lub zmodyfikowane akumulatory mogą działać się w sposób nieprzewidziany i spowodować pożar, wybuch lub ryzyko obrażeń.
Nie narażać akumulatora lub narzędzia na działanie ognia lub nadmiernej temperatury. Wystawienie ich na działanie temperatury powyżej 130°C grozi wybuchem.
Postępuj zgodnie z wszystkimi instrukcjami ładowania i unikaj ładowania akumulatora lub narzędzia, gdy temperatura przekracza zakres podany w instrukcjach. Nieprawidłowe ładowanie lub ładowanie w temperaturach poza określonym zakresem może uszkodzić akumulator i zwiększyć ryzyko pożaru.
Serwis
Serwisowanie narzędzia elektrycznego zlecaj wykwalifikowanemu serwisantowi, który korzysta wyłącznie z części zamiennych identycznych z oryginalnymi. W ten sposób zagwarantujesz utrzymanie bezpieczeństwa narzędzia elektrycznego.
Nigdy nie serwisuj uszkodzonych akumulatorów. Serwis akumulatorów powinien być prowadzony wyłącznie przez producenta lub autoryzowane punkty serwisowe.
Nie używaj kosiarki na stromych terenach pochyłych. Praca w takich warunkach zwiększa ryzyko porażenia prądem elektrycznym.
Kosiarki nie należy używać w złych warunkach pogodowych, zwłaszcza gdy istnieje ryzyko uderzenia pioruna. Zmniejszy to ryzyko uderzenia pioruna w operatora.
Dokładnie sprawdź obszar pod kątem występowania dzikich zwierząt, na którym kosiarka będzie używana. Pracująca kosiarka może wyrządzić szkody w faunie i florze.
Dokładnie sprawdź obszar, na którym będziesz używać kosiarki, i usuń wszystkie kamienie, patyki, przewody, kości i inne przedmioty. Wyrzucone przedmioty mogą spowodować obrażenia ciała.
Przed użyciem kosiarki sprawdź wzrokowo czy noże i zespoły noży nie są zużyte lub uszkodzone. Zużyte lub uszkodzone części zwiększają ryzyko obrażeń ciała.
Sprawdzaj często, czy pojemnik na trawę nie uległ zużyciu ani uszkodzeniu. Zużyty lub uszkodzony pojemnik na trawę zwiększa ryzyko obrażeń ciała.
Dopilnuj, aby osłony znajdowały się na swoim miejscu. Osłony muszą być sprawne i prawidłowo zamontowane. Luźna, uszkodzona lub nieprawidłowo działająca osłona grozi obrażeniami ciała.
Utrzymuj drożność wlotów powietrza chłodzącego. Zablokowane wloty powietrza i obecność zanieczyszczeń grozi przegrzaniem lub pożarem.
Podczas obsługi kosiarki należy nosić pełne obuwie z antypoślizgową podeszwą. Nie obsługuj kosiarki bez obuwia lub w sandałach z odkrytymi palcami. W ten sposób zmniejszysz ryzyko urazów stopy w przypadku kontaktu z wirującym nożem.
Podczas obsługi kosiarki należy mieć na sobie długie spodnie. Nieosłonięta skóra jest bardziej narażona na obrażenia ciała spowodowane przez wyrzucone przedmioty.
Nie pracuj kosiarką na mokrej trawie. Poruszaj się spokojnym krokiem — nie biegaj. W ten sposób ograniczysz ryzyko poślizgnięcia się i upadku, które grozi obrażeniami ciała.
Nie używaj kosiarki na bardzo stromych zboczach. W ten sposób ograniczysz ryzyko utraty kontroli, poślizgnięcia się i upadku, które grozi obrażeniami ciała.
Pracując na pochyłym terenie, zawsze stawiaj stopy w poprzek pochyłości i zachowaj szczególną ostrożność przy zmianie kierunku. W ten sposób ograniczysz ryzyko utraty kontroli, poślizgnięcia się i upadku, które grozi obrażeniami ciała.
Zachowaj szczególną ostrożność podczas odwracania lub ciągnięcia kosiarki ku sobie. Zawsze zwracaj uwagę na otoczenie. W ten sposób ograniczysz ryzyko potknięcia się podczas obsługi maszyny.
Nie dotykaj noży ani innych niebezpiecznych części ruchomych, jeśli nie są całkowicie zatrzymane. Ograniczy to ryzyko urazu spowodowanego przez poruszające się części.
Przed usunięciem zablokowanego materiału lub czyszczeniem kosiarki przestaw wszystkie wyłączniki do położenia wyłączone” i odłącz akumulator. Niespodziewane uruchomienie kosiarki może spowodować poważne obrażenia ciała.
Szkolenie
Operator maszyny odpowiada za wszelkie wypadki lub zagrożenia dotyczące innych osób lub ich mienia.
Nie wolno zezwalać dzieciom na korzystanie lub zabawę maszyną, akumulatorami lub ładowarką akumulatorów; lokalne przepisy prawa mogą ograniczać wiek operatora.
Nie wolno zezwalać, aby z maszyny, akumulatorów lub ładowarki akumulatorów korzystały osoby o obniżonych zdolnościach fizycznych, sensorycznych lub umysłowych, lub osoby nie posiadające doświadczenia ani wiedzy w zakresie jej użytkowania, chyba że zostaną one poinstruowane lub użytkowanie będzie się odbywać pod nadzorem osoby dbającej o bezpieczeństwo użytkowania oraz rozumiejącej zagrożenia mogące wystąpić podczas użytkowania.
Przed użyciem akumulatora i ładowarki akumulatorów należy zapoznać się ze wszystkimi instrukcjami i oznaczeniami ostrzegawczymi umieszczonymi na tych produktach.
Przygotowanie
Wymień uszkodzone lub nieczytelne etykiety.
Stosuj jedynie akumulatory zalecane przez firmę Toro. Stosowanie innych akcesoriów i osprzętu może zwiększyć ryzyko obrażeń ciała i pożaru.
Podłączenie ładowarki do gniazdka o niewłaściwym napięciu może spowodować pożar lub porażenie prądem. W celu podłączenia do gniazdka innego typu należy użyć odpowiedniego adaptera.
Nie używaj akumulatora lub ładowarki, jeżeli zostały uszkodzone lub zmodyfikowane. Mogą one działać w sposób nieprzewidziany i spowodować pożar, wybuch lub ryzyko obrażeń.
W przypadku uszkodzenia przewodu zasilającego ładowarki skontaktuj się z przedstawicielem autoryzowanego serwisu w celu jego wymiany.
Nie używaj baterii jednorazowego użytku.
Do ładowania akumulatorów stosuj wyłącznie ładowarkę zalecaną przez firmę Toro. Ładowarka przeznaczona do jednego typu akumulatorów może przy użyciu z innym rodzajem akumulatora stwarzać ryzyko pożaru.
Akumulator należy ładować wyłącznie w dobrze wentylowanym miejscu.
Nie wystawiaj akumulatora ani ładowarki na działanie ognia lub temperatur wyższych niż 68°C.
Postępuj zgodnie ze wszystkimi instrukcjami ładowania i unikaj ładowania akumulatora, gdy temperatura przekracza zakres podany w instrukcjach. W przeciwnym razie może dojść do uszkodzenia akumulatora i zagrożenia powstaniem pożaru.
Obsługa
Nie zbliżaj się do wyrzutnika.
Przed uruchomieniem maszyny odłącz napęd trybu samojezdnego (jeżeli występuje na wyposażeniu).
Zapobieganie niezamierzonemu uruchomieniu — upewnij się, że przycisk rozruchu elektrycznego został wyjęty ze stacyjki przed podłączeniem akumulatora i obsługą maszyny.
Przed przystąpieniem do obsługi technicznej lub czyszczenia maszyny zatrzymaj ją, wyjmij przycisk rozrusznika elektrycznego, wyjmij akumulator z maszyny i odczekaj, aż wszystkie części ruchome się zatrzymają.
Zawsze wyjmuj akumulator i przycisk rozrusznika elektrycznego z maszyny, gdy pozostawiasz ją bez nadzoru oraz przed wymianą osprzętu.
Nie wolno kierować wyrzucanego materiału w kierunku żadnej osoby. Unikaj wyrzucania materiału na ściany lub przeszkody — może się on odbić w Twoją stronę. Przekraczając powierzchnie pokryte żwirem zatrzymaj noże.
Uważaj na dziury, koleiny, garby, kamienie lub inne ukryte obiekty. Nierówne podłoże może spowodować utratę równowagi lub oparcia dla stóp.
Jeśli maszyna uderzy w jakiś przedmiot lub zacznie wibrować, natychmiast wyłącz maszynę, wyjmij przycisk rozrusznika elektrycznego, wyjmij akumulator i odczekaj, aż wszystkie części ruchome się zatrzymają. Następnie sprawdź, czy maszyna nie jest uszkodzona. Przed kontynuowaniem pracy przeprowadź wszystkie niezbędne naprawy.
Zatrzymaj maszynę i wyjmij przycisk rozrusznika elektrycznego przed załadowaniem maszyny na pojazd w celu jej przewiezienia.
Przy nieprawidłowym użytkowaniu akumulatora może się z niego wydostać ciecz. Należy unikać kontaktu z tą cieczą. W razie przypadkowego kontaktu z tą cieczą należy ją spłukać wodą. W razie kontaktu cieczy z oczami należy zwrócić się o pomoc lekarską. Ciecz wydostająca się z akumulatora może powodować podrażnienie lub poparzenie.
Konserwacja i przechowywanie
Przed przystąpieniem do obsługi technicznej lub czyszczenia maszyny zatrzymaj ją, wyjmij przycisk rozrusznika elektrycznego, wyjmij akumulator z maszyny i odczekaj, aż wszystkie części ruchome się zatrzymają.
Nie wolno podejmować prób naprawy maszyny inaczej niż zgodnie z instrukcją. W celu przeprowadzenia czynności serwisowych przedstawiciel autoryzowanego serwisu powinien stosować identyczne części zamienne.
Dla zachowania poprawnego wyważenia należy ostrzyć obydwa ostrza stępionego noża. Wyczyść nóż i upewnij się, że jest dobrze wyważony.
Przystępując do konserwacji noża, pamiętaj, że może się on obracać nawet wtedy, gdy zasilanie jest wyłączone.
Dla uzyskania najlepszych osiągów stosuj tylko oryginalne części zamienne i akcesoria firmy Toro. Inne części zamienne i akcesoria mogą stwarzać zagrożenie dla bezpieczeństwa. Korzystanie z nich może spowodować utratę gwarancji maszyny.
Dbaj o dobry stan maszyny — utrzymuj ostrość krawędzi tnących i czyść je, aby maszyna pracowała wydajnie i bezpiecznie. Dbaj, aby uchwyty były suche, czyste i wolne od olejów i smarów. Dopilnuj, aby osłony znajdowały się na swoim miejscu i były sprawne. Noże powinny być zawsze dobrze naostrzone. Stosuj wyłącznie identyczne noże zamienne.
Jeżeli w instrukcji nie określono inaczej, naprawę lub wymianę uszkodzonej osłony lub części zleć przedstawicielowi autoryzowanego serwisu.
Gdy akumulator nie jest używany, trzymaj go z dala od metalowych przedmiotów, takich jak spinacze do papieru, monety, klucze, gwoździe i wkręty, gdyż mogłyby one spowodować zwarcie między biegunami. Zwarcie biegunów akumulatora może spowodować poparzenia lub pożar.
Często sprawdzaj, czy śruby mocujące nóż i silnik są dokręcone.
UWAGA — niewłaściwe obchodzenie się z akumulatorem grozi pożarem lub poparzeniem substancjami chemicznymi. Nie demontuj akumulatora. Nie wystawiaj akumulatora na działanie temperatury powyżej 68°C i nie wrzucaj go do ognia. Wymieniaj akumulator tylko na oryginalny akumulator marki Toro. Użycie akumulatora innego producenta może spowodować pożar lub wybuch. Trzymaj akumulatory poza zasięgiem dzieci i przechowuj je w oryginalnym opakowaniu do momentu, gdy będziesz gotowy do ich użycia.
Nie wrzucaj akumulatorów do ognia. Ogniwo może wybuchnąć. Sprawdź, czy lokalne przepisy nie przewidują specjalnych instrukcji utylizacji.
![]() |
Etykiety dotyczące bezpieczeństwa oraz instrukcje są wyraźnie widoczne dla operatora i znajdują się w pobliżu wszystkich miejsc potencjalnego zagrożenia. Uszkodzone i brakujące etykiety należy wymienić. |
|
Symbol akumulatora lub ładowarki |
Znaczenie |
![]() |
Przeczytaj Instrukcję obsługi. |
![]() ![]() |
Aby uzyskać szczegółowe informacje o właściwym sposobie utylizacji akumulatora, skontaktuj się z lokalnym samorządem lub autoryzowanym serwisem. |






Important: Po zakupie akumulator nie jest w pełni naładowany. Przed pierwszym użyciem maszyny patrz Ładowanie akumulatora.
Części potrzebne do tej procedury:
| Osprzęt mocujący (nie jest dołączony) | 2 |
W razie potrzeby ładowarkę można przymocować do ściany, wykorzystując otwory do montażu naściennego z tyłu ładowarki.
Ładowarkę należy zamontować wewnątrz pomieszczenia (np. w garażu lub innym suchym pomieszczeniu) w pobliżu gniazda zasilania oraz w miejscu niedostępnym dla dzieci.
Informacje pomocne przy montażu ładowarki — patrz Rysunek 3.
Nasuń ładowarkę na odpowiednio ustawione elementy montażowe i zamocuj ją pewnie na swoim miejscu (elementy montażowe nie są dołączane w zestawie).

Nieprawidłowe złożenie lub rozłożenie uchwytu może spowodować uszkodzenie linek skutkujące wystąpieniem niebezpiecznych warunków eksploatacji.
Podczas rozkładania lub składania uchwytu uważaj, aby nie uszkodzić linek.
Upewnij się, że linki są ułożone na zewnątrz uchwytu.
W przypadku uszkodzenia linki skontaktuj się z przedstawicielem autoryzowanego serwisu.
Important: Przy załączaniu blokad uchwytu trzymaj uchwyt, aby nie dopuścić do pochwycenia dłoni.






| Model | 81875 | ||
| Pojemność akumulatora | 7,5 Ah | ||
| 405 Wh | |||
|
Parametry znamionowe według producenta akumulatora: napięcie maksymalne 60 V i znamionowe 54 V. Rzeczywiste napięcie zmienia się zależnie od obciążenia. |
|||
| Model | 81802 | |
| Typ | Ładowarka do akumulatorów litowo-jonowych o maksymalnym napięciu 60 V | |
| Wejście | Od 100 do 240 V AC, ok. 2,0 A 50/60 Hz | |
| Wyjście | 60 V DC MAKS. 2,0 A |
|
| Ładuj/przechowuj akumulator w temperaturze | Od 5°C do 40°C* |
| Korzystaj z akumulatora w temperaturze | Od -30°C do 49°C* |
| Korzystaj z maszyny w temperaturze | Od 0°C do 49°C* |
*Czas ładowania wydłuża się, jeżeli podczas ładowania akumulatora panuje inna temperatura.
Maszynę, akumulator i ładowarkę należy przechowywać w czystym i suchym pomieszczeniu.
Dostępna jest gama osprzętu i akcesoriów zatwierdzonych przez firmę Toro, przeznaczonych do stosowania z urządzeniem i zwiększających jego możliwości. Skontaktuj się z przedstawicielem autoryzowanego serwisu, dystrybutorem lub wejdź na stronę www.Toro.com, aby uzyskać listę zatwierdzonego osprzętu i akcesoriów.
Dla zagwarantowania wydajnej i bezpiecznej pracy maszyny należy stosować wyłącznie części zamienne/akcesoria zalecane przez firmę Toro. Części zamienne i akcesoria innych producentów mogą być niebezpieczne.
Note: Określ lewą i prawą stronę maszyny ze standardowego stanowiska operatora.
Important: Akumulator należy eksploatować jedynie w dopuszczalnym zakresie temperatur; patrz Specyfikacje.
Dopilnuj, aby otwory wentylacyjne akumulatora nie były zatkane przez pył lub brud.
Otwórz pokrywę komory akumulatora (Rysunek 10, A).
Ustaw wycięcie w akumulatorze równo z wypustem na maszynie i wsuń akumulator do komory tak, aby zablokował się na swoim miejscu (Rysunek 10, B).
Zamknij pokrywę komory akumulatora (Rysunek 10, C).
Note: Jeżeli nie można całkowicie zamknąć pokrywy komory akumulatora, akumulator nie jest wsunięty do końca.

Aby uzyskać najwygodniejsze położenie uchwytu, można go podnosić lub opuszczać.
Przekręć blokadę uchwytu, ustaw uchwyt w jednym z 2 położeń, a następnie zablokuj uchwyt w tej pozycji (Rysunek 11).

Podczas regulacji wysokości koszenia Twoje dłonie mogą mieć kontakt z poruszającym się ostrzem, co może doprowadzić do poważnych obrażeń.
Przed przystąpieniem do regulacji wysokości koszenia wyłącz silnik, wyjmij akumulator i odczekaj, aż wszystkie części ruchome się zatrzymają.
Regulując wysokość koszenia, nie wkładaj palców pod obudowę.
Wyreguluj odpowiednio wysokość koszenia. Ustaw wszystkie cztery koła na takiej samej wysokości koszenia (Rysunek 12).

Upewnij się, że akumulator jest zainstalowany w maszynie, patrz Montaż akumulatora.
Note: Jeżeli nie można całkowicie zamknąć pokrywy komory akumulatora, akumulator nie jest wsunięty do końca.
Wsuń przycisk rozrusznika elektrycznego do stacyjki elektrycznej (A na Rysunek 13).
Przyciągnij dźwignię sterującą ostrzem do uchwytu i przytrzymaj w tej pozycji (B na Rysunek 13).
Naciśnij przycisk rozrusznika elektrycznego i przytrzymaj go do momentu uruchomienia silnika (C na Rysunek 13).

Aby użyć napędu trybu samobieżnego, wystarczy iść, z łokciami przy bokach, uchwyciwszy rękoma górny uchwyt; maszyna automatycznie dostosuje prędkość do operatora (Rysunek 14).

Note: Jeżeli urządzenie nie cofa się swobodnie po skorzystaniu z trybu samobieżnego, zatrzymaj się z rękami nieruchomo i pozwól kosiarce przejechać kilka centymetrów do przodu, aby zwolnić napęd kół. Możesz również sięgnąć pod górny uchwyt, chwytając metalową rączkę, i przesunąć maszynę do przodu o kilka centymetrów. Jeśli urządzenia dalej nie jeździ z łatwością do tyłu, skontaktuj się z autoryzowanym serwisem.
Ta maszyna ma dwa ustawienia prędkości noży: AUTO (prędkość automatyczna) oraz MAX (prędkość maksymalna).
Po ustawieniu przełącznika w pozycji AUTO prędkość obrotowa ostrza jest regulowana automatycznie pod kątem wyższej wydajności. Wykrywane są zmiany w warunkach koszenia i prędkość ostrza jest zwiększana, gdy jest to niezbędne dla utrzymania jakości koszenia.
Po ustawieniu przełącznika w pozycji MAX ostrze zawsze pracuje z najwyższą prędkością obrotową.
Przekręć przycisk rozrusznika elektrycznego w stacyjce elektrycznej do jednej z pozycji w celu wybrania ustawienia szybkości pracy ostrza (Rysunek 15).

Zwolnij dźwignię sterującą nożami (A na Rysunek 16).
Wyjmij przycisk rozrusznika elektrycznego ze stacyjki elektrycznej (B na Rysunek 16).
Wyjmij akumulator; patrz Wyjmowanie akumulatora z maszyny.
Note: Wyjmuj akumulator zawsze wtedy, gdy nie używasz maszyny.

Otwórz pokrywę komory akumulatora.
Naciśnij zatrzask akumulatora, aby zwolnić akumulator, a następnie wyjmij akumulator.
Zamknij pokrywę komory akumulatora.
Urządzenie jest fabrycznie przystosowane do recyklingu ścinków trawy i liści oraz kierowania ich z powrotem na trawnik.
Important: Sprawdź, czy tylna zaślepka jest zamocowana na miejscu. Aby zamontować zaślepkę: podnieś deflektor tylny (A na Rysunek 17) i zdecydowanym ruchem wepchnij zaślepkę, aż zablokuje się ona za zaczepami (B na Rysunek 17).

Note: Aby odblokować zaślepkę, obróć dźwignię na zaślepce w prawo (Rysunek 18).
Aby pozbierać pokos i ścinki liści z trawnika, użyj worka na trawę.
Note: Niniejsza maszyna jest domyślnie wyposażona w ekonomiczne ostrze pozwalające na dłuższy czas pracy; zawiera także opcjonalne wysokowydajne ostrze, które zapewnia lepsze pakowanie pokosu i wydajność. Przed pakowaniem pokosu w worki zamontuj wysokowydajne ostrze; patrz Wymiana ostrza.
Wyłącz maszynę i zaczekaj, aż wszystkie ruchome części się zatrzymają, patrz Wyłączanie maszyny.
Zdemontuj akumulator z maszyny; patrz Wyjmowanie akumulatora z maszyny.
Podnieś i przytrzymaj w górze tylny deflektor (A na Rysunek 18).
Zdemontuj zaślepkę wyrzutu do tyłu, popychając kciukiem zatrzask w dół i wyciągając zaślepkę z maszyny (B i C na Rysunek 18).
Zamontuj końce drążka worka w wycięciach na podstawie dźwigni i poruszaj workiem do tyłu i przodu, aby sprawdzić, czy drążek jest osadzony na dole obu wycięć (D na Rysunek 18).
Opuść tylny deflektor tak, aby spoczął na worku na trawę.

Maszyna może wyrzucać ścinki trawy lub inne przedmioty przez otwór w obudowie. Obiekty wyrzucone ze znaczną siłą mogą spowodować poważne obrażenia ciała lub śmierć operatora lub osób postronnych.
Nie uruchamiaj maszyny bez zaślepki wyrzutu zainstalowanej na kosiarce z wyjętym workiem na trawę.
Zabrania się otwierania tylnego deflektora kosiarki przy pracującej maszynie.
Sprawdź obszar, w którym zamierzasz używać maszyny, i usuń wszelkie obiekty, które mogłyby zostać podrzucone przez maszynę.
Unikaj uderzania ostrzem w lite obiekty. Nigdy nie koś celowo nad żadnym obiektem.
Jeśli maszyna uderzy w jakiś przedmiot lub wpadnie w wibracje, natychmiast wyłącz maszynę, odczekaj, aż wszystkie części ruchome się zatrzymają, wyjmij akumulator, a następnie sprawdź maszynę pod kątem uszkodzeń.
Aby uzyskać najlepszą wydajność, przez rozpoczęciem sezonu koszenia lub w razie potrzeby zamontuj nowe ostrze Toro.
Ścinaj za jednym razem tylko około jednej trzeciej źdźbła trawy. Chcąc uzyskać najwyższą jakość koszenia i wydłużyć czas pracy oraz workowania koś trawę na wyższym ustawieniu wysokości koszenia.
Nie koś przy ustawieniu wysokości niższym od 51 mm, z wyjątkiem sytuacji, gdy trawa jest rzadka lub koszenie odbywa się późną jesienią, kiedy wzrost jest spowolniony.
Kosząc trawę o wysokości powyżej 15 cm pracuj przy najwyższym ustawieniu wysokości koszenia i poruszaj się wolniej. Następnie koś przy niższym ustawieniu, aby uzyskać najlepszy wygląd trawy. Jeżeli trawa jest za długa, urządzenie może się zablokować, co spowoduje zgaśnięcie silnika.
Mokre liście i trawa w ogródku mają tendencję do zbijania się w bryły i mogą powodować zablokowanie maszyny lub utknięcie silnika. Unikaj koszenia mokrej trawy.
Pamiętaj, że gdy jest bardzo sucho, wzrasta zagrożenie pożarowe. Zwracaj uwagę na lokalne ostrzeżenia o zagrożeniu pożarowym. Maszyna musi się znajdować z dala od suchych liści i trawy.
Zmieniaj kierunek koszenia. Ułatwia to rozrzucanie ścinków na trawniku, zapewniając równomierne użyźnienie.
Jeśli wygląd trawnika po zakończeniu koszenia jest niezadowalający, spróbuj zastosować co najmniej jedną z następujących metod:
Wymień ostrze lub zleć jego naostrzenie.
Podczas koszenia przemieszczaj się wolniej.
Zwiększ wysokość koszenia maszyny.
Koś trawę częściej.
Nakładaj pokosy na siebie zamiast kosić jeden pokos za każdym przejazdem.
Po skoszeniu trawy sprawdź, czy trawnik jest częściowo widoczny spod pokrywy ściętych liści. Może być konieczne wykonanie więcej niż jednego przejazdu nad liśćmi.
Jeśli na trawniku znajduje się więcej niż 13 cm liści, wykonaj koszenie z ustawioną wyższą wysokością koszenia, po czym powtórz koszenie na pożądanej wysokości koszenia.
Jeśli maszyna nie tnie liści wystarczająco drobno, zmniejsz prędkość koszenia.
Important: Po zakupie akumulator nie jest w pełni naładowany. Przed pierwszym użyciem maszyny podłącz akumulator do ładowarki i ładuj go, aż wskaźnik LED wskaże całkowite naładowanie akumulatora. Przeczytaj wszystkie zalecenia dotyczące bezpieczeństwa.
Important: Ładuj akumulator tylko w temperaturze z odpowiedniego zakresu; patrz Specyfikacje.
Note: W dowolnym momencie możesz nacisnąć przycisk stanu naładowania akumulatora, aby wyświetlić aktualny poziom naładowania (diody kontrolne LED).
Dopilnuj, aby otwory wentylacyjne oraz styki akumulatora i ładowarki nie były zatkane przez pył lub brud.

Ustaw wgłębienie w akumulatorze (Rysunek 19) równo z wypustką na ładowarce.
Wsuń akumulator na ładowarkę, aby zaskoczył na swoje miejsce (Rysunek 19).
Aby wyjąć akumulator, wysuń go z ładowarki.
Poniższa tabela zawiera objaśnienie stanów wskaźnika LED na ładowarce.
| Symbol ładowarki | Lampka kontrolna | Znaczenie |
![]() | Miga na zielono | Trwa ładowanie akumulatora. |
![]() | Zielona | Akumulator jest naładowany. |
![]() | Czerwona | Temperatura akumulatora i/lub ładowarki jest poza dopuszczalnym zakresem. |
![]() | Miga na czerwono | Usterka przy ładowaniu akumulatora* |
| Zgaszona | Akumulator nie jest podłączony. |
* Więcej informacji podano w punkcie .
Important: Akumulator można pozostawić na ładowarce na krótki czas między kolejnymi użyciami.Jeżeli akumulator nie będzie używany przez dłuższy czas, zdejmij go z ładowarki; patrz Przed składowaniem.
| Częstotliwość serwisowania | Procedura konserwacji |
|---|---|
| Po każdym zastosowaniu |
|
Maszyna może wyrzucać materiał spod obudowy.
Noś osłonę oczu.
Gdy silnik jest uruchomiony, należy pozostawać w pozycji roboczej (za uchwytem).
Nie dopuszczaj do obszaru pracy osób postronnych.
Najlepsze rezultaty daje mycie maszyny tuż po zakończeniu koszenia.
Opuść maszynę do najniższej wysokości koszenia. Patrz Regulacja wysokości cięcia.
Jeśli zamontowany jest worek na trawę, zdemontuj go; patrz Demontaż worka na trawę.
Ustaw urządzenie na płaskiej poziomej utwardzonej nawierzchni.
Umyj wodą obszar za tylną pokrywą (jeżeli występuje), w miejscu, gdzie ścinki trawy przemieszczają się ze spodniej strony maszyny do worka na trawę.
Przy pracującym silniku i załączonym ostrzu skieruj strumień wody na przód prawego tylnego koła (Rysunek 20).

Gdy ścinki przestaną się wydobywać, przerwij podawanie wody i przestaw maszynę w suche miejsce.
Uruchom silnik i pozostaw go na kilka minut, aby osuszyć spód maszyny.
Zatrzymaj silnik i zaczekaj, aż ostygnie.
Ustaw maszynę w pozycji pionowej, patrz Przechowywanie maszyny w pozycji pionowej.
Opłucz maszynę od spodu ze ścinków trawy.
Nieprawidłowe złożenie lub rozłożenie uchwytu może spowodować uszkodzenie linek skutkujące wystąpieniem niebezpiecznych warunków eksploatacji.
Podczas rozkładania lub składania uchwytu uważaj, aby nie uszkodzić linek.
Upewnij się, że linki są ułożone na zewnątrz uchwytu.
W przypadku uszkodzenia linki skontaktuj się z przedstawicielem autoryzowanego serwisu.
Wyjmij przycisk rozrusznika elektrycznego (Rysunek 21).

Przy rozłączaniu blokad uchwytu trzymaj uchwyt, aby nie dopuścić do pochwycenia dłoni.
Zwolnij blokady uchwytu, aż górny uchwyt da się swobodnie poruszać.
Złóż uchwyt do przodu, ustawiając go w pozycji całkowitego wychylenia do przodu, w sposób pokazany na Rysunek 22.
Important: Podczas składania uchwytu poprowadź linki na zewnątrz uchwytu.

Aby rozłożyć uchwyt, patrz Rozkładanie uchwytu.
W trakcie sezonu koszenia lub poza nim maszynę można przechowywać w pozycji pionowej, aby zmniejszyć powierzchnię zajętej przestrzeni.
Pozycja złożona umożliwiająca pionowe ustawienie maszyny odsłania dół maszyny.
Zdemontuj akumulator i przycisk rozrusznika elektrycznego przed ustawieniem maszyny w pozycji złożonej umożliwiającej pionowe ustawienie.
Nie należy transportować maszyny w pozycji pionowej.
Nie wolno próbować uruchomić maszyny w pozycji pionowej.
Upewnij się, że w maszynie ustawiona jest wysokość koszenia 92 mm lub niższa. W przeciwnym razie należy ją zmniejszyć, patrz Regulacja wysokości cięcia.
Zwolnij blokady uchwytu (Rysunek 23).

Złóż uchwyt całkowicie do przodu (Rysunek 23).
Important: Podczas składania uchwytu poprowadź linki na zewnątrz uchwytu.
Załącz blokady uchwytu.
Unieś przód maszyny za uchwyt i przenieś do miejsca przechowywania (Rysunek 24).

Wyjmij przycisk rozrusznika elektrycznego i akumulator z maszyny przed rozpoczęciem konserwacji lub czyszczenia maszyny.
Przed przystąpieniem do regulacji, serwisowania, czyszczenia lub przed przechowywaniem sprzętu należy zawsze wyłączyć maszynę i zaczekać, aż wszystkie elementy ruchome się zatrzymają, a maszyna ostygnie.
Stosuj tylko zalecane przez producenta części zamienne i akcesoria.
Regularnie przeprowadzaj przeglądy i konserwację maszyny. Naprawy maszyny zlecaj wyłącznie przedstawicielowi autoryzowanego serwisu.
Note: Określ lewą i prawą stronę maszyny ze standardowego stanowiska operatora.
| Częstotliwość serwisowania | Procedura konserwacji |
|---|---|
| Po każdym zastosowaniu |
|
| Co rok |
|
| Częstotliwość serwisowania | Procedura konserwacji |
|---|---|
| Co rok |
|
Important: Aby prawidłowo zainstalować ostrze, należy użyć klucza dynamometrycznego. Jeżeli nie posiadasz klucza dynamometrycznego lub nie masz pewności, jak wykonać tę procedurę, skontaktuj się z przedstawicielem autoryzowanego serwisu.
Jeżeli ostrze zostanie uszkodzone lub pęknie, należy je natychmiast wymienić. Jeżeli krawędź ostrza jest stępiona lub wyszczerbiona, zleć jego naostrzenie i wyważenie albo wymień je.
Ostrze może zostać wprawione w ruch podczas konserwacji ostrza nawet wtedy, gdy zasilanie jest wyłączone. Nóż jest ostry; kontakt z nim może doprowadzić do poważnych obrażeń ciała.
Ręce i nogi operatora muszą znajdować się w bezpiecznej odległości od poruszającego się noża.
Podczas serwisowania noża należy stosować rękawice ochronne.
Wyjmij przycisk rozrusznika elektrycznego i akumulator z maszyny.
Aby unieruchomić ostrze, należy użyć kawałka drewna (Rysunek 25).
Zdemontuj ostrze, zachowując wszystkie elementy mocujące (Rysunek 25).

Zamontuj nowe ostrze i cały osprzęt mocujący (Rysunek 26).

Important: Ustaw zakrzywione końce ostrza w kierunku obudowy maszyny.
Za pomocą klucza dynamometrycznego dokręć śrubę ostrza z momentem 88 N·m.
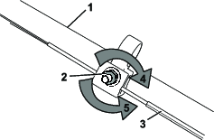
Zawsze po zamontowaniu nowej linki napędu samobieżnego lub jeśli napęd samobieżny jest rozregulowany należy przeprowadzić regulację linki napędu samobieżnego.
Obróć nakrętkę regulacyjną w lewo, aby poluzować mocowanie linki (Rysunek 27).

Wyreguluj naprężenie linki (Rysunek 27) pociągając ją do tyłu lub popychając do przodu i przytrzymując w tym położeniu.
Note: Popchnij linkę w kierunku do silnika, aby zwiększyć moc napędu, lub pociągnij linkę w kierunku od silnika, aby zmniejszyć moc napędu.
Obróć nakrętkę regulacyjną w prawo, aby dokręcić mocowanie linki.
Note: Mocno dokręć nakrętkę z wykorzystaniem klucza.
Important: Po zdemontowaniu zabezpiecz zaciski akumulatora wytrzymałą taśmą klejącą. Nie wolno podejmować prób uszkodzenia ani demontażu akumulatora ani demontować żadnych jego części.
Aby uzyskać szczegółowe informacje o właściwym sposobie utylizacji akumulatora, skontaktuj się z lokalnym samorządem lub autoryzowanym serwisem.
Important: Przechowuj maszynę, akumulator i ładowarkę tylko w temperaturze z dopuszczalnego zakresu; patrz Specyfikacje.
Important: Jeśli planujesz przechowywać akumulator przez okres poza sezonem (gdy nie jest używany), naładuj akumulator do momentu, gdy na akumulatorze zaświecą się na zielono dwie lub trzy diody LED. Nie przechowuj całkowicie naładowanego ani całkowicie rozładowanego akumulatora. Przed ponownym użyciem maszyny naładuj akumulator do momentu, gdy lewa lampka na ładowarce zaświeci się na zielono lub gdy wszystkie cztery lampki na akumulatorze zaświecą się na zielono.
Po użyciu odłącz produkt od zasilania (tzn. odłącz akumulator i wyjmij przycisk rozrusznika elektrycznego) i sprawdź, czy nie został uszkodzony.
Nie przechowuj maszyny lub ładowarki z zainstalowanym lub podłączonym akumulatorem.
Oczyść produkt z wszelkich substancji obcych.
Kiedy nie korzystasz z maszyny, przechowują ją wraz z przyciskiem rozrusznika elektrycznego, akumulatorem i ładowarką w miejscu niedostępnym dla dzieci.
Trzymaj maszynę, akumulator i ładowarkę z dala od środków żrących, takich jak chemia ogrodowa i sól drogowa.
Aby zmniejszyć ryzyko poważnych obrażeń ciała, nie przechowuj akumulatora na zewnątrz pomieszczeń ani w pojazdach.
Maszynę, akumulator i ładowarkę należy przechowywać w czystym i suchym pomieszczeniu.
Wykonuj jedynie czynności opisane w niniejszej instrukcji. Jeżeli samodzielnie nie możesz rozwiązać problemu, dalsze czynności kontrolne, konserwacyjne i naprawcze mogą być wykonywane jedynie przez przedstawiciela autoryzowanego serwisu lub specjalistę o podobnych kwalifikacjach.
| Problem | Possible Cause | Corrective Action |
|---|---|---|
| Maszyna nie można uruchomić. |
|
|
| Maszyna nie daje się uruchomić lub nie pracuje w sposób ciągły. |
|
|
| Maszyna nie osiąga pełnej mocy. |
|
|
| Akumulator szybko się rozładowuje. |
|
|
| Ładowarka akumulatora nie działa. |
|
|
| Maszyna nie włącza trybu samobieżnego. |
|
|
| Lampka kontrolna LED na ładowarce świeci się na czerwono. |
|
|
| Lampka kontrolna LED na ładowarce miga na czerwono. |
|
|
| Z maszyny wydobywa się brzęczący dźwięk. |
|
|
| Jakość cięcia spadła lub jest niezadowalająca. |
|
|
| Jakość workowania spadła lub jest niezadowalająca. |
|
|
| Koszenie jest nierówne. |
|
|
| Występują drgania maszyny. |
|
|