| Onderhoudsinterval | Onderhoudsprocedure |
|---|---|
| Na elk gebruik |
|
Deze loopmaaier met draaiende messen is bedoeld voor professioneel gebruik. De machine is voornamelijk ontworpen voor het maaien van gras op goed onderhouden particuliere of commerciële gazons. Ze is ontworpen om Flex-Force Power System® 60 V lithiumionaccupacks te gebruiken. Deze accupacks mogen alleen worden opgeladen met Flex-Force™ 60 V lithiumionacculaders. Deze producten gebruiken voor andere doeleinden dan het bedoelde gebruik kan voor u of voor omstanders gevaarlijk zijn.
Lees deze informatie zorgvuldig door, zodat u weet hoe u de machine op de juiste wijze moet gebruiken en onderhouden en om letsel en schade aan de machine te voorkomen. U bent verantwoordelijk voor het juiste en veilige gebruik van de machine.
Ga naar www.toro.com voor meer informatie, inclusief veiligheidstips, instructiemateriaal, informatie over accessoires, hulp bij het vinden van een dealer of om uw product te registreren.
Als u service, originele Toro onderdelen of aanvullende informatie nodig hebt, kunt u contact opnemen met een erkende Toro distributeur of met de klantenservice van Toro. U dient hierbij altijd het modelnummer en het serienummer van het product te vermelden. De locatie van het plaatje met het modelnummer en het serienummer van het product is aangegeven op Figuur 1. U kunt de nummers noteren in de ruimte hieronder.

U kunt het modelnummer en het serienummer noteren in de ruimte hieronder:
Het waarschuwingssymbool (Figuur 2) in deze handleiding en op de machine geeft belangrijke veiligheidsinformatie aan die u moet opvolgen om ongelukken te voorkomen.

Het waarschuwingssymbool staat boven informatie die u waarschuwt voor onveilige acties of situaties en wordt gevolgd door het woord GEVAAR, WAARSCHUWING, of VOORZICHTIG.
GEVAAR: een direct gevaarlijke situatie die, als deze niet wordt voorkomen, altijd zal leiden tot de dood of ernstig letsel.
WAARSCHUWING: een mogelijk gevaarlijke situatie die, als deze niet wordt voorkomen, kan leiden tot de dood of ernstig letsel.
VOORZICHTIG: een mogelijk gevaarlijke situatie die, als deze niet wordt voorkomen, kan leiden tot licht of middelmatig letsel.
Er worden in deze handleiding nog twee woorden gebruikt om uw aandacht op bijzondere informatie te vestigen. Belangrijk attendeert u op bijzondere technische informatie en Opmerking duidt algemene informatie aan die bijzondere aandacht verdient.
Gelieve niet te knoeien met de veiligheidsvoorzieningen of deze uit te schakelen. Controleer ook regelmatig dat deze nog werken. Probeer het afgesteld motortoerental niet te veranderen, anders kan er een onveilige situatie ontstaan waardoor u letsel kunt oplopen.
Dit product voldoet aan alle relevante Europese richtlijnen; zie voor details de aparte productspecifieke conformiteitsverklaring.
CALIFORNIË
Proposition 65 Waarschuwing
Het netsnoer van dit product bevat lood, een stof waarvan bekend is dat deze kanker, geboorteafwijkingen of andere schade aan de voortplantingsorganen kan veroorzaken. Was altijd uw handen nadat u met deze onderdelen in aanraking bent geweest.
Gebruik van dit product kan leiden tot blootstelling aan chemische stoffen waarvan de Staat Californië weet dat ze kanker, geboorteafwijkingen en andere schade aan het voortplantingssysteem veroorzaken.
Lees alle veiligheidswaarschuwingen, instructies, afbeeldingen en specificaties die werden meegeleverd met dit elektrisch gereedschap. Als u nalaat om alle hieronder genoemde instructies op te volgen, kan dit leiden tot elektrische schokken, brand en/of ernstig letsel.
Bewaar alle waarschuwingen en voorschriften zodat u deze later nog kunt raadplegen.
De term 'elektrisch gereedschap' in de waarschuwingen verwijst naar uw elektrisch apparaat met elektriciteitskabel of met accu (draadloos).
Veiligheid van het werkgebied
Zorg ervoor dat het werkgebied schoon en goed verlicht is. Rommelige of donkere omgevingen lokken ongevallen uit.
Gebruik geen elektrisch gereedschap in omgevingen waar ontploffingsgevaar heerst, bijvoorbeeld in de buurt van ontvlambare vloeistoffen, gassen of stof. Elektrisch gereedschap produceert vonken die het stof of de dampen kunnen doen ontvlammen.
Hou kinderen en omstanders uit de buurt wanneer u elektrisch gereedschap gebruikt. Afleiding kan ervoor zorgen dat u de controle verliest.
Elektrische veiligheid
Stekkers van elektrisch gereedschap moeten passen in het stopcontact. Pas de stekker nooit aan. Gebruik geen verloopstekkers in combinatie met geaard elektrisch gereedschap. Onbewerkte stekkers en passende stopcontacten verkleinen het risico op elektrische schokken.
Vermijd contact tussen uw lichaam en geaarde oppervlakken zoals buizen, radiatoren, fornuizen en koelkasten. Er is meer kans op elektrische schokken als uw lichaam geaard is.
Stel elektrisch gereedschap niet bloot aan regen of natte omgevingen. Water dat elektrisch gereedschap binnendringt, verhoogt het risico op elektrische schokken.
Wees voorzichtig met het snoer. Gebruik het snoer nooit om het elektrisch gereedschap te dragen, trekken of uit het stopcontact te halen. Hou het snoer uit de buurt van hitte, olie, scherpe randen en bewegende onderdelen. Beschadigde of verwarde snoeren verhogen het risico op elektrische schokken.
Als u elektrisch gereedschap buiten gebruikt, gebruik dan een verlengsnoer dat geschikt is voor buitengebruik. Een snoer gebruiken dat geschikt is voor buitengebruik verkleint de kans op elektrische schokken.
Als gebruik van elektrisch gereedschap in een vochtige omgeving noodzakelijk is, gebruik dan een stroomvoorziening die beveiligd is met een aardlekschakelaar. Gebruik van een aardlekschakelaar verkleint het risico op elektrische schokken.
Persoonlijke veiligheid
Blijf alert, let op wat u doet en gebruik uw gezond verstand wanneer u de machine gebruikt. Gebruik geen elektrisch gereedschap als u moe bent of onder de invloed van drugs, alcohol of medicijnen verkeert. Een moment van onoplettendheid tijdens het gebruik van elektrisch gereedschap kan ernstig lichamelijk letsel tot gevolg hebben.
Gebruik persoonlijke beschermingsmiddelen. Draag altijd oogbescherming. Beschermingsmiddelen zoals een stofmasker, veiligheidsschoenen met antislipzool, veiligheidshelm of gehoorbescherming zullen bij juist gebruik het risico op lichamelijk letsel verkleinen.
Voorkom dat u het gereedschap ongewild inschakelt. Zorg ervoor dat de schakelaar in de UIT-stand staat voordat u het gereedschap aansluit op het elektriciteitsnet en/of het accupack, of voordat u het gereedschap vastneemt of draagt.Elektrisch gereedschap dragen met uw vinger op de schakelaar, of elektrisch gereedschap in werking stellen terwijl de schakelaar aan staat, lokt ongevallen uit.
Verwijder stelsleutels en moersleutels voordat u het elektrische gereedschap inschakelt. Een moer- of stelsleutel laten zitten op een draaiend deel van het elektrisch gereedschap kan tot lichamelijk letsel leiden.
Reik niet te ver. Zorg dat u te allen tijde stevig en evenwichtig staat. Zo hebt u meer controle over het elektrisch gereedschap als zich onverwachte situaties voordoen.
Draag geschikte kleding. Draag geen losse kleding of juwelen. Hou uw haar en kleren uit de buurt van bewegende onderdelen. Losse kleding, juwelen en lang haar kunnen gegrepen worden door bewegende onderdelen.
Als er toestellen voorzien worden voor de aansluiting van stofafzuiging- en stofopvangvoorzieningen, zorg dan dat deze aangesloten zijn en correct worden gebruikt. Gebruik van stofopvang kan risico's veroorzaakt door stof verkleinen.
Als u vaak met hetzelfde gereedschap werkt en ermee vertrouwd raakt, bestaat het gevaar dat u er minder oplettend mee omgaat en de veiligheidsrichtlijnen niet meer naleeft. Let hiervoor op! Een nonchalante actie kan binnen een fractie van een seconde ernstig letsel veroorzaken.
Gebruik van en zorg voor elektrisch gereedschap
Belast het elektrisch gereedschap niet te zwaar. Gebruik het juiste elektrisch gereedschap voor het werk dat u wilt verrichten. Het juiste elektrische gereedschap doet het werk beter, veiliger en in het tempo waarvoor het bedoeld is.
Gebruik het elektrisch gereedschap niet als u het niet aan en uit kunt schakelen met de schakelaar. Elektrisch gereedschap dat niet kan worden bediend met de schakelaar is gevaarlijk en moet worden hersteld.
Koppel de stekker los van de stroomvoorziening en/of verwijder het accupack van het elektrisch gereedschap, indien dit verwijderbaar is, voordat u aanpassingen maakt, accessoires verandert of het elektrisch gereedschap stalt. Zulke preventieve veiligheidsmaatregelen verkleinen de kans dat u het elektrisch gereedschap per ongeluk inschakelt.
Bewaar elektrisch gereedschap dat niet wordt gebruikt buiten het bereik van kinderen, en voorkom dat personen die het elektrisch gereedschap of deze voorschriften niet kennen het elektrisch gereedschap gebruiken. Elektrisch gereedschap is gevaarlijk in de handen van gebruikers die niet de nodige training hebben genoten.
Onderhoud elektrisch gereedschap en accessoires. Controleer op slechte uitlijning of vastlopen van bewegende onderdelen, defecte onderdelen en andere omstandigheden die de werking van het elektrisch gereedschap nadelig kunnen beïnvloeden. In geval van schade dient u het elektrisch gereedschap te laten herstellen voordat u het weer in gebruik neemt. Veel ongelukken zijn te wijten aan slecht onderhoud van elektrisch gereedschap.
Hou maaimachines scherp en schoon. Goed onderhouden maaimachines met scherpe snijranden lopen minder gemakkelijk vast en zijn eenvoudiger te bedienen.
Gebruik elektrisch gereedschap, accessoires, opzetwerktuigen enz. in overeenstemming met deze instructies, rekening houdend met de werkomstandigheden en het uit te voeren werk. Gebruik van het elektrisch gereedschap voor andere doeleinden dan die waarvoor het bedoeld is, kan aanleiding geven tot een gevaarlijke situatie.
Hou de handgrepen en aanraakoppervlakken droog, schoon en vrij van olie en vet. Als de handgrepen en aanraakoppervlakken glibberig zijn, kunt u niet veilig omgaan met het gereedschap en kunt u het niet beheersen in onverwachte omstandigheden.
Gebruik van en zorg voor gereedschap met accu
Alleen herladen met de door de fabrikant aanbevolen lader. Een lader die geschikt is voor het ene type accupack kan in combinatie met een ander accupack voor brandgevaar zorgen.
Gebruik elektrisch gereedschap alleen met specifiek daartoe bestemde accu’s. Gebruik van andere accupacks kan lichamelijk letsel en brand veroorzaken.
Als het accupack niet wordt gebruikt, hou het dan uit de buurt van metalen voorwerpen zoals paperclips, muntjes, sleutels, nagels, schroeven en andere kleine metalen objecten die een brug kunnen vormen tussen de polen. Kortsluiting tussen de accupolen kan brandwonden en brand veroorzaken.
Bij verkeerd gebruik kan vloeistof uit de accu lekken; vermijd contact hiermee. Als u er per ongeluk toch in aanraking mee komt, spoel dan met water. Als de vloeistof in uw ogen terechtkomt, vraag dan bijkomend om medische bijstand. Vloeistof die uit de accu wordt geworpen, kan irritatie van de huid of brandwonden veroorzaken.
Gebruik geen accupack of gereedschap dat beschadigd of aangepast is. Beschadigde of aangepaste accu’s kunnen onverwacht gedrag vertonen, wat kan leiden tot brand, explosie of lichamelijk letsel.
Stel een accupack of gereedschap niet bloot aan brand of een buitensporige temperatuur. Blootstelling aan brand of een temperatuur boven 130 °C kan een explosie veroorzaken.
Volg alle instructies aangaande het laden en laad het accupack of het gereedschap niet op buiten het temperatuurbereik dat wordt gespecificeerd in de instructies. Als u het accupack of het gereedschap niet juist oplaadt of met temperaturen buiten het gespecificeerde bereik, dan kan dit de accu beschadigen en het risico op brand verhogen.
Onderhoud
Laat uw elektrisch gereedschap nazien door een erkende hersteller die alleen identieke vervangonderdelen gebruikt. Dit waarborgt veilig gebruik van het elektrisch gereedschap.
Voer nooit onderhoudswerkzaamheden uit aan beschadigde accupacks. Onderhoud van de accupacks mag enkel worden uitgevoerd door de fabrikant of erkende dienstverleners.
Gebruik de gazonmaaier niet in regen of in natte omgevingen. Als u dit toch doet, vergroot u het risico op elektrische schokken.
Gebruik de gazonmaaier niet in slechte weersomstandigheden, vooral wanneer er een kans is op bliksem. Dit verhoogt de kans dat u getroffen wordt door bliksem.
Ga zorgvuldig na of er dieren aanwezig zijn op de plek waar u de gazonmaaier gaat gebruiken. Wilde dieren kunnen gewond raken door de gazonmaaier tijdens het werk.
Inspecteer eerst grondig het terrein waar u de gazonmaaier wilt gebruiken, en verwijder alle stenen, takken, draden, botten of andere vreemde voorwerpen. Uitgeworpen objecten kunnen ernstig lichamelijk letsel veroorzaken.
Voordat u de gazonmaaier gebruikt, moet u altijd de messen en de meseenheid controleren op sporen van slijtage of beschadiging. Versleten of beschadigde onderdelen vergroten het risico op letsel.
Controleer de grasvanger regelmatig op slijtage en mankementen. Een versleten of beschadigde grasvanger kan het risico op lichamelijk letsel vergroten.
Zorg ervoor dat alle schermen op hun plaats zitten. De schermen moeten in goede staat verkeren en goed gemonteerd zijn. Een scherm dat los zit, beschadigd is of niet juist werkt, kan lichamelijk letsel tot gevolg hebben.
Houd de inlaat voor de koellucht vrij van vuil. Geblokkeerde luchtinlaten en vuil kunnen leiden tot brand of oververhitting.
Draag tijdens het werken met de gazonmaaier altijd beschermende antislipschoenen. Draag geen schoenen met open tenen en loop niet op blote voeten wanneer u de gazonmaaier gebruikt. Dit vermindert de kans op letsel aan de voeten door aanraking met het bewegende maaimes.
Draag altijd een lange broek wanneer u de gazonmaaier gebruikt. Onbedekte huid vergroot de kans op letsel door uitgeworpen voorwerpen.
Gebruik de gazonmaaier niet in nat gras. Wandelen, nooit rennen. Dit verkleint het risico op slippen en vallen, wat kan leiden tot lichamelijk letsel.
Gebruik de gazonmaaier niet op extreem steile hellingen. Dit verkleint het risico op verlies van controle, slippen en vallen, wat kan leiden tot lichamelijk letsel.
Zorg er bij het werken op hellingen altijd voor dat u stevig staat, maai altijd dwars op de helling, nooit omhoog en omlaag en ga zeer zorgvuldig te werk als u van richting verandert. Dit verkleint het risico op verlies van controle, slippen en vallen, wat kan leiden tot lichamelijk letsel.
Ga zeer voorzichtig te werk als u de maaier omkeert of naar u toetrekt. Let altijd op uw omgeving. Dit vermindert het risico op struikelen tijdens het werk.
Raak messen en andere gevaarlijke bewegende onderdelen niet aan terwijl deze nog bewegen. Dit verkleint het risico op letsel door bewegende onderdelen.
Zorg ervoor dat alle voedingsschakelaars uitgezet zijn en dat het accupack is losgekoppeld wanneer u vastgelopen materiaal verwijdert of de gazonmaaier schoonmaakt. Onverwacht gebruik van de gazonmaaier kan leiden tot ernstig lichamelijk letsel.
Training
De bestuurder van de machine is verantwoordelijk voor ongevallen of schade aan andere personen of hun eigendommen.
Laat kinderen niet spelen met de machine, het accupack of de acculader of laat hen deze niet gebruiken; plaatselijke voorschriften kunnen nadere eisen stellen aan de leeftijd van degene die met het toestel werkt.
Laat mensen met beperkte fysieke, sensorische of geestelijke capaciteiten of zonder ervaring en kennis de machine, het accupack of de acculader niet gebruiken tenzij er toezicht wordt gehouden of aanwijzingen worden gegeven over hoe deze veilig kunnen worden gebruikt en ze de gevaren begrijpen die inherent zijn aan het gebruik ervan.
Lees alle instructies en waarschuwingen op deze producten voordat u het accupack en de acculader gebruikt.
Vóór ingebruikname
Vervang beschadigde of onleesbare labels.
Gebruik enkel het accupack dat door Toro wordt gespecificeerd. Indien u andere accessoires en werktuigen gebruikt, kan dit het risico op letsel en brand verhogen.
Het aansluiten van de acculader op een stopcontact met een ongeschikte spanning kan leiden tot brand of een elektrische schok. Gebruik bij een afwijkend stopcontact indien nodig een adapterstekker van het juiste type.
Gebruik geen beschadigd of aangepast accupack of beschadigde of aangepaste acculader. Deze kunnen onverwacht gedrag vertonen, wat kan leiden tot brand, explosie of lichamelijk letsel.
Als het stroomsnoer van de acculader beschadigd is, neem dan contact op met een erkende servicedealer om het te vervangen.
Gebruik geen niet-oplaadbare batterijen.
Laad het accupack enkel op met de acculader die door Toro is gespecificeerd. Een lader die geschikt is voor het ene type accupack kan in combinatie met een ander accupack voor brandgevaar zorgen.
Laad het accupack alleen op in een goed verluchte ruimte.
Stel het accupack of de acculader niet bloot aan een brand of aan temperaturen hoger dan 68 °C.
Volg alle instructies aangaande het laden en laad het accupack niet op buiten het temperatuurbereik dat wordt gespecificeerd in de instructies. Anders kunt u het accupack beschadigen en het risico op brand verhogen.
Bediening
Blijf altijd uit de buurt van afvoeropeningen.
Schakel de zelfaandrijving uit (indien aanwezig) voordat u de machine start.
Voorkom dat u de machine ongewild start – Zorg ervoor dat de elektrische startknop is verwijderd van de ontsteking voordat u het accupack aansluit en de machine hanteert.
Stop de machine, verwijder de elektrische startknop, verwijder het accupack van de machine en wacht totdat alle bewegende onderdelen tot stilstand zijn gekomen voordat u de machine schoonmaakt of er servicewerkzaamheden aan verricht.
Verwijder het accupack en de elektrische startknop uit de machine wanneer u deze onbeheerd achterlaat of voordat u de accessoires wisselt.
Het materiaal dat afgevoerd wordt niet naar iemand richten. Voorkom het afvoeren van materiaal tegen een muur of afscherming; het materiaal kan naar u terugketsen. Zet het mes/de messen stil bij het oversteken van grindoppervlakken.
Kijk uit voor gaten, geulen, hobbels, stenen of andere verborgen objecten. Op oneffen terrein kunt u uw evenwicht verliezen of wegglijden.
Als de machine een voorwerp raakt of begint te trillen, schakel de machine dan onmiddellijk uit, verwijder de elektrische startknop, verwijder het accupack en wacht totdat alle bewegende onderdelen tot stilstand zijn gekomen voordat u de machine controleert op beschadiging. Voer alle noodzakelijke reparaties uit voordat u de machine weer in gebruik neemt.
Stop de machine en verwijder de elektrische startknop voordat u de machine laadt voor transport.
Bij verkeerd gebruik kan vloeistof uit het accupack lekken; vermijd contact hiermee. Als u per ongeluk in contact komt met de vloeistof, moet u spoelen met water. Als de vloeistof in uw ogen terechtkomt, moet u naar een arts gaan. Vloeistof die uit de accu ontsnapt, kan irritatie van de huid of brandwonden veroorzaken.
Onderhoud en opslag
Stop de machine, verwijder de elektrische startknop, verwijder het accupack van de machine en wacht totdat alle bewegende onderdelen tot stilstand zijn gekomen voordat u de machine schoonmaakt of er servicewerkzaamheden aan verricht.
Probeer de machine niet te herstellen behalve als dit aangegeven is in de instructies. Laat een erkende servicedealer servicewerkzaamheden uitvoeren aan de machine en zorg ervoor dat hij/zij identieke vervangingsonderdelen gebruikt.
Slijp een bot mes aan beide zijden om de balans te behouden. Maak het mes schoon en controleer of het uitgebalanceerd is.
Wanneer u servicewerkzaamheden uitvoert aan het mes, moet u zich ervan bewust zijn dat het mes nog kan worden bewogen zelfs wanneer de stroomaansluiting is losgekoppeld.
Gebruik alleen originele vervangingsonderdelen en accessoires van Toro voor de beste prestaties. Gebruik nooit andere vervangingsonderdelen en accessoires, omdat dit gevaarlijk kan zijn. Dit kan ertoe leiden dat de garantie op het product komt te vervallen.
Onderhoud de machine – Houd snijranden scherp en schoon voor de beste en veiligste prestaties. Houd handgrepen droog, schoon en vrij van olie en smeervet. Laat de beveiligingen zitten en zorg dat ze naar behoren werken. Houd de messen scherp. Gebruik enkel identieke vervangingsmessen.
Tenzij anders aangegeven in de instructies moet u een erkende servicedealer een beschadigde beschermkap of beschadigd onderdeel laten herstellen of vervangen.
Als het accupack niet wordt gebruikt, hou het dan uit de buurt van metalen voorwerpen zoals paperclips, muntjes, sleutels, nagels en schroeven die een brug kunnen vormen tussen de polen. Kortsluiting tussen de accupolen kan brandwonden en brand veroorzaken.
Controleer regelmatig of het mes en de montagebouten van de motor stevig vastzitten.
OPGELET – Een verkeerd behandeld accupack kan brand of chemische brandwonden veroorzaken. Demonteer het accupack niet. Verhit het accupack niet boven 68 °C en verbrand deze niet. Vervang het accupack alleen door een origineel Toro accupack, het gebruik van een ander accupack kan leiden tot brand of een explosie. Hou accupacks buiten het bereik van kinderen en in de originele verpakking totdat u ze gaat gebruiken.
De accu niet verbranden. De cel kan ontploffen. Controleer of er plaatselijke voorschriften gelden om de accu af te voeren.
![]() |
Veiligheidsstickers en veiligheidsinstructies zijn gemakkelijk zichtbaar voor de bestuurder en bevinden zich bij plaatsen waar gevaar kan ontstaan. Vervang alle beschadigde of ontbrekende stickers. |
|
Symbool op accu of lader |
Verklaring |
![]() |
Lees de Gebruikershandleiding. |
![]() ![]() |
Neem contact op met de lokale overheid of uw erkende servicedealer of distributeur voor meer informatie over hoe u de accu op een verantwoorde manier kunt recyclen. |






Important: Het accupack is niet volledig opgeladen bij aankoop. Raadpleeg Het accupack opladen voordat u de machine voor de eerste keer gebruikt.
Benodigde onderdelen voor deze stap:
| Bevestigingselementen (niet meegeleverd) | 2 |
Indien gewenst, kunt u de acculader veilig aan een muur hangen met de gaten voor muurbevestiging achteraan de lader.
Monteer de lader binnen (zoals een garage of andere droge plek) in de buurt van een stroomaansluiting en buiten het bereik van kinderen.
Raadpleeg Figuur 3 voor hulp bij het monteren van de lader.
Schuif de lader over de bevestigingsmiddelen om de lader op te hangen (bevestigingsmiddelen niet meegeleverd).

Als de handgreep verkeerd wordt in- en uitgeklapt, kunnen de kabels schade oplopen, waardoor de machine niet veilig kan worden gebruikt.
Beschadig de kabel(s) niet bij het in- en uitklappen van de handgreep.
Verzeker dat kabel(s) langs de buitenkant van de handgreep lopen.
Indien een kabel is beschadigd, moet u contact opnemen met een erkende servicedealer.
Important: Houd de handgreep vast terwijl u de handgreepvergrendelingen vastzet om te voorkomen dat uw handen gekneld raken.






| Model | 81875 | ||
| Capaciteit van accupack | 7,5 Ah | ||
| 405 Wh | |||
|
Door fabrikant bepaald voltage = 60 V maximaal en 54 V nominaal. Werkelijk voltage afhankelijk van de belasting. |
|||
| Type | 81802 | |
| Type | 60 V MAX lithium-ion acculader | |
| Input | 100 tot 240V AC ~2,0A 50/60Hz | |
| Output | 60 V DC 2,0 A MAX |
|
| Laad/bewaar het accupack bij een temperatuur van | 5 °C tot 40 °C* |
| Gebruik het accupack bij een temperatuur van | -30 °C tot 49 °C* |
| Gebruik de machine bij een temperatuur van | 0 °C tot 49 °C* |
* De oplaadtijd zal langer in beslag nemen als u het accupack niet binnen dit bereik oplaadt.
Sla de machine, het accupack en de acculader op in een afgesloten schone, droge ruimte.
Een selectie van door Toro goedgekeurde werktuigen en accessoires is verkrijgbaar voor gebruik met de machine om de mogelijkheden daarvan te verbeteren en uit te breiden. Neem contact op met een erkende servicedealer of een erkende Toro distributeur of bezoek www.Toro.com voor een lijst van alle goedgekeurde werktuigen en accessoires.
Om de beste prestaties te verkrijgen en ervoor te zorgen dat de veiligheidscertificaten van de machine blijven gelden, moet u ter vervanging altijd originele onderdelen en accessoires van Toro aanschaffen. Vervangende onderdelen en accessoires van andere fabrikanten kunnen tot gevaar leiden.
Note: Bepaal vanuit de normale bestuurderspositie de linker- en rechterzijde van de machine.
Important: Gebruik het accupack alleen bij temperaturen die binnen het gepaste temperatuurbereik liggen; zie Specificaties.
Zorg ervoor dat er geen stof of vuil ligt op de openingen in de accu.
Til het deksel van het accucompartiment op (A van Figuur 10).
Lijn de holte in het accupack uit met de koppeling op de machine en schuif het accupack in het compartiment tot het vastklikt (B van Figuur 10).
Sluit het deksel van het accucompartiment (C van Figuur 10).
Note: Als het deksel van het accucompartiment niet volledig sluit, is de accu niet volledig gemonteerd.

U kunt de handgreep hoger of lager zetten in een stand die u comfortabel vindt.
Draai aan de handgreepvergrendeling, verplaats de handgreep naar één van de twee standen en vergrendel de handgreep (Figuur 11).

Bij het instellen van de maaihoogte kunnen uw handen een bewegend mes raken. Dit kan ernstig lichamelijk letsel veroorzaken.
Zet de motor af, verwijder de accu en wacht totdat alle bewegende onderdelen tot stilstand zijn gekomen voordat u de maaihoogte afstelt.
Plaats uw vingers niet onder de maaikast als u de maaihoogte instelt.
Zet de maaihoogte op de gewenste stand. Stel alle wielen op dezelfde maaihoogte in (Figuur 12).

Zorg ervoor dat het accupack is gemonteerd in de machine; zie Het accupack monteren.
Note: Als het deksel van het accucompartiment niet volledig sluit, is de accu niet volledig gemonteerd.
Zet de knop voor elektrische start in de elektrische startschakelaar (A in Figuur 13).
Knijp de bedieningsstang in en houd deze tegen de handgreep (B van Figuur 13).
Druk op de elektrische startknop en houd deze ingedrukt tot de motor start (C van Figuur 13).

Om de zelfaandrijving te activeren, loopt u eenvoudig vooruit met uw handen op het bovenste deel van de handgreep en uw ellebogen naast uw lichaam; de maaimachine richt zich automatisch naar uw loopsnelheid (Figuur 14).

Note: Als de maaimachine niet vrij naar achteren rolt na het inschakelen van de zelfaandrijving, sta dan stil, houd uw handen bij de handgreep en laat de maaimachine een paar centimeter naar voren rollen om het aandrijfsysteem uit te schakelen. U kunt ook de metalen handgreep aanraken die zich net onder de bovenste handgreep bevindt en de machine een paar centimeter naar voren duwen. Als de maaimachine nog steeds niet naar achteren wil rollen, moet u contact opnemen met een erkende Service Dealer.
Deze machine heeft 2 instellingen voor het mestoerental: AUTO en MAX.
Wanneer het mestoerental is ingesteld op de stand AUTO, wordt het automatisch afgesteld voor een grotere efficiëntie. Wijzigingen in de maaiomstandigheden worden gedetecteerd en het mestoerental verhoogt wanneer dit nodig is om een goede maaikwaliteit te behouden.
Wanneer het mestoerental is ingesteld op de stand MAX, blijft het mestoerental altijd op het hoogste toerental.
Zet elektrische startknop in de elektrische startschakelaar op de gewenste stand om het mestoerental te kiezen (Figuur 15).

Laat de bedieningsstang van het maaimes los (A van Figuur 16).
Verwijder de elektrische startknop uit de elektrische startschakelaar (B in Figuur 16).
Verwijder het accupack; zie Het accupack uit de machine verwijderen.
Note: Wanneer u de machine niet gebruikt, moet u steeds het accupack verwijderen.

Til het deksel van het accucompartiment op.
Druk op de accupackvergrendeling om het accupack los te maken en verwijder het accupack.
Sluit het deksel van het accucompartiment.
De machine kan maaisel en bladafval over het gazon verspreiden (recycling).
Important: Controleer of de achterste afsluiter op zijn plaats is vergrendeld. Om de afsluiter te vergrendelen tilt u de achteruitworpgeleider (A in Figuur 17) op en drukt u de afsluiter met kracht naar beneden tot deze inklikt (B in Figuur 17).

Note: Om de achterste afsluiter te ontgrendelen, draait u de hendel op de afsluiter naar rechts (Figuur 18).
Gebruik de grasvanger als u maaisel en bladafval wilt verzamelen.
Note: De machine is standaard uitgerust met een Economy maaimes voor een langere looptijd, er is ook een optioneel Performance maaimes voor betere prestaties en opvang van het gras. Monteer het Performance maaimes voordat u de grasvanger gebruikt, zie Het maaimes vervangen.
Zet de machine uit en wacht totdat alle bewegende onderdelen tot stilstand gekomen zijn, zie De machine uitschakelen.
Verwijder het accupack van de machine, zie Het accupack uit de machine verwijderen.
Zet de grasgeleider aan de achterzijde omhoog en houd hem in deze stand (A van Figuur 18).
Verwijder de afsluiter van de achterafvoer door de vergrendeling met uw duim in te drukken en de afsluiter uit de machine te trekken (B en C van Figuur 18).
Breng de uiteinden van de grasvangerstang aan in de inkepingen onderaan de handgreep en schud de grasvanger heen en weer om zeker te zijn dat de stang helemaal in de beide inkepingen zit (D van Figuur 18).
Laat de afvoergeleider aan de achterzijde zakken tot deze op de grasvanger ligt.

De machine kan maaisel en andere voorwerpen uitwerpen door een opening in de behuizing van de machine. Voorwerpen die met genoeg kracht worden weggeslingerd kunnen ernstig of zelfs dodelijk letsel toebrengen aan u of aan omstanders.
Neem de grasvanger nooit weg als u van plan bent de machine te starten zonder dat de afvoerafsluiter op de machine gemonteerd is.
Open nooit de afvoergeleider aan de achterzijde van de machine terwijl de machine nog draait.
Schakel de machine uit en wacht totdat alle bewegende onderdelen tot stilstand gekomen zijn.
Breng de afvoergeleider aan de achterzijde omhoog.
Neem de grasvangerstang uit de inkepingen onderaan de handgreep (A van Figuur 18).
Monteer de afvoerafsluiter (B van Figuur 18).
Breng de afvoergeleider aan de achterzijde omlaag (C van Figuur 18).
Controleer het werkgebied en verwijder alle voorwerpen die de machine zou kunnen uitwerpen.
Zorg ervoor dat het mes geen vaste voorwerpen raakt. Maai nooit met opzet over voorwerpen.
Als de maaimachine een voorwerp raakt en begint te trillen, moet u meteen de machine afzetten, wachten totdat alle bewegende onderdelen tot stilstand zijn gekomen, de accu verwijderen en de maaimachine op beschadigingen controleren.
De beste resultaten krijgt u door een nieuw Toro mes te monteren voordat het maaiseizoen begint of wanneer dit nodig is.
U moet telkens niet meer dan ongeveer een derde van de lengte van het gras afmaaien. Maai het gras met een hogere maaihoogte voor een betere maaikwaliteit, een betere gangtijd en betere opvang van het maaisel.
Maai niet met een stand lager dan 51 mm, tenzij de grasmat dun is, of als het laat in het najaar is wanneer het gras langzamer begint te groeien.
Als u gras wilt maaien dat langer dan 15 cm is, moet u maaien op de maximale maaihoogte en met een langzamere loopsnelheid. Vervolgens gaat u maaien op een lagere maaihoogte om het gazon een zo fraai mogelijk uiterlijk te geven. Als het gras te hoog is, kan de machine verstopt raken en de motor afslaan.
Nat gras en natte bladeren gaan aankoeken, waardoor de machine verstopt kan raken of de motor kan vastlopen. Gebruik de machine niet in vochtige omstandigheden.
Wees bedacht op het risico van brand in zeer droge omstandigheden; neem alle plaatselijke brandwaarschuwingen in acht en houd de machine vrij van droog gras en bladafval.
Maai steeds in wisselende richtingen. Hierdoor wordt het maaisel beter over het gazon verstrooid, zodat het gazon gelijkmatig wordt bemest.
Als u met het uiterlijk van het voltooide gazon niet tevreden bent, probeer dan een of meer van de volgende stappen:
Vervang het maaimes of laat het slijpen.
Loop langzamer tijdens het maaien.
Stel de maaimachine in op een hogere maaihoogte.
Maai het gras vaker.
Laat de maaibanen overlappen in plaats van steeds een volledig nieuwe baan te maaien.
Na het maaien moet altijd 50% van het gazon zichtbaar blijven door de bladerlaag. Dit kan een of meerdere rondgangen over de bladeren vereisen.
Als er een laag bladeren van meer dan 13 cm op het gazon ligt, moet u eerst met een hogere maaihoogte werken en vervolgens nogmaals maaien op de gewenste hoogte.
Als de maaimachine de bladeren niet fijn genoeg maakt, is het beter om wat langzamer te maaien.
Important: Het accupack is niet volledig opgeladen bij aankoop. Voordat u het gereedschap voor het eerst gebruikt, plaatst u het accupack in de lader en laat u het opladen tot het leddisplay aangeeft dat het accupack volledig opgeladen is. Lees alle veiligheidsrichtlijnen.
Important: Laad het accupack alleen op bij temperaturen die binnen het gepaste temperatuurbereik liggen; zie Specificaties.
Note: U kunt altijd drukken op de knop van het accuspanningslampje op het accupack om de huidige lading weer te geven (led-lampjes).
Zorg ervoor dat er geen stof of vuil ligt op de openingen en oplaadterminals in het/de accupack(s) en oplader.

Lijn de holte in het accupack (Figuur 19) uit met de koppeling op de lader.
Schuif het accupack in de lader tot het volledig op zijn plaats zit (Figuur 19).
Om het accupack te verwijderen, schuift u de accu naar achteren uit de lader.
De volgende tabel geeft aan wat de toestand van het ledlampje op de acculader betekent.
| Ladersymbool | Indicatielampje | Betekenis |
![]() | Groen, knipperend | Accu wordt geladen |
![]() | Groen | Accu is geladen |
![]() | Rood | Het accupack en/of de acculader zijn/is boven of onder het geschikte temperatuurbereik |
![]() | Rood, knipperend | Laadstoring van accupack* |
| Uit | Geen accupack ingebracht |
*Raadpleeg voor meer informatie.
Important: Gaat u een machine met korte tussenperiodes verschillende keren gebruiken, dan kunt u het accupack in de lader laten zitten.Als u het accupack lange tijd niet gaat gebruiken, haal het accupack dan uit de lader; zie Vóór de stalling.
| Onderhoudsinterval | Onderhoudsprocedure |
|---|---|
| Na elk gebruik |
|
Er kan materiaal losraken dat zit vastgekoekt aan de onderkant van de maaimachine.
Draag oogbescherming.
Blijf in de bedieningspositie (achter de handgreep) als de motor loopt.
Houd omstanders uit de buurt.
Om de beste resultaten te verkrijgen, dient u de machine te reinigen zodra u klaar bent met maaien.
Zet de machine in de laagste maaistand. Zie De maaihoogte instellen.
Verwijder de grasvanger als deze gemonteerd is, zie De grasvanger verwijderen.
Plaats de machine op een verhard horizontaal oppervlak.
Reinig het gebied onder de achterklep (indien van toepassing) waar het maaisel van de onderzijde van de machine naar de grasvanger gaat.
Terwijl de motor draait en het maaimes ingeschakeld is, spuit u een straal water voor het rechter achterwiel (Figuur 20).

Als er geen maaisel meer onder vandaan komt, draait u de kraan dicht en brengt u de machine naar een droge plaats.
Start de motor en laat deze een paar minuten lopen om de onderzijde van de machine te drogen.
Schakel de motor uit en laat deze afkoelen.
Zet de machine in de verticale stand; zie De machine in verticale stand opslaan .
Spoel het maaisel weg aan de onderkant van de machine.
Als de handgreep verkeerd wordt in- en uitgeklapt, kunnen de kabels schade oplopen, waardoor de machine niet veilig kan worden gebruikt.
Beschadig de kabel(s) niet bij het in- en uitklappen van de handgreep.
Verzeker dat kabel(s) langs de buitenkant van de handgreep lopen.
Indien een kabel is beschadigd, moet u contact opnemen met een erkende servicedealer.
Verwijder de elektrische startknop (Figuur 21).

Houd de handgreep vast terwijl u de handgreepvergrendelingen loszet om te voorkomen dat uw handen gekneld raken.
Draai de handgreepvergrendelingen los totdat u het bovenste deel van de handgreep vrij kunt bewegen.
Klap de handgreep naar voren naar de geheel voorwaartse stand zoals in Figuur 22.
Important: Leid de kabels naar de buitenzijde van de handgreepvergrendelingen terwijl u de handgreep beweegt.

Om de handgreep uit te vouwen, zie De duwboom uitklappen.
Gedurende het maaiseizoen of daarbuiten kunt u de machine in verticale stand opslaan zodat deze minder ruimte inneemt.
In de stand voor verticale opslag is de onderkant van de van de machine zichtbaar.
Verwijder het accupack en de elektrische startknop voordat u de machine in de stand voor verticale opslag zet.
Transporteer de machine niet in de stand voor verticale opslag.
Probeer de machine niet te starten in de stand voor verticale opslag.
Zorg ervoor dat de maaihoogte van de machine is ingesteld op 92 mm of lager. Als dit niet het geval is, stel ze dan lager in; zie De maaihoogte instellen.
Zet de handgreepvergrendelingen los (Figuur 23).

Vouw de handgreep geheel naar voren (Figuur 23).
Important: Leid de kabels naar de buitenzijde van de handgreepknoppen terwijl u de handgreep beweegt.
Zet de handgreepvergrendelingen vast.
Til de voorkant van de machine op met de duwboom en berg de machine op (Figuur 24).

Verwijder de elektrische startknop en het accupack uit de machine voordat u onderhoudswerkzaamheden verricht aan de machine of deze schoonmaakt.
Zet de machine altijd af, wacht totdat alle bewegende onderdelen tot stilstand zijn gekomen en laat de machine afkoelen voordat u de machine afstelt, reinigt, stalt of er onderhoudswerkzaamheden aan verricht.
Gebruik alleen de vervangonderdelen en accessoires die de fabrikant aanbeveelt.
Voer regelmatig controles en onderhoudswerkzaamheden uit aan de machine. Laat de machine alleen herstellen door een erkende servicedealer.
Note: Bepaal vanuit de normale bestuurderspositie de linker- en rechterzijde van de machine.
| Onderhoudsinterval | Onderhoudsprocedure |
|---|---|
| Na elk gebruik |
|
| Jaarlijks |
|
| Onderhoudsinterval | Onderhoudsprocedure |
|---|---|
| Jaarlijks |
|
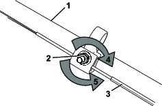
Important: U hebt een momentsleutel nodig om het mes op correcte wijze te monteren. Als u geen momentsleutel hebt of niet goed weet hoe u de montage moet uitvoeren, kunt u contact opnemen met een erkende servicedealer.
Een beschadigd of gescheurd mes moet direct worden vervangen. Als de snijrand bot is of bramen vertoont, moet u het mes laten slijpen en balanceren of het mes vervangen.
Wanneer u onderhoud uitvoert aan het mes kan het mes bewegen zelfs als de stroombron is uitgeschakeld. Het maaimes is scherp, contact met het maaimes kan ernstig lichamelijk letsel veroorzaken.
Hou uw handen en voeten uit de buurt van een bewegend maaimes.
Gebruik handschoenen als u het mes monteert.
Verwijder de elektrische startknop en het accupack uit de machine.
Gebruik een blok hout om het mes stil te houden (Figuur 25).
Verwijder het mes en bewaar alle bevestigingselementen (Figuur 25).

Monteer het nieuwe mes en alle bevestigingselementen (Figuur 26).

Important: De gebogen uiteinden van het mes moeten naar boven, naar de behuizing van de machine wijzen.
Gebruik een momentsleutel om de mesbout vast te draaien met een torsie van 88 N·m.
Wanneer u een nieuwe kabel voor de zelfaandrijving monteert of de zelfaandrijving ontregeld is, moet u de zelfaandrijving afstellen.
Draai de stelmoer linksom om het afstelmechanisme van de kabel los te zetten (Figuur 27).

Stel de kabelspanning af (Figuur 27) door de kabel naar achteren of naar voren te bewegen en hem in deze positie te houden.
Note: Duw de kabel naar de motor om de tractie te verhogen; trek de kabel weg van de motor om de tractie te verkleinen.
Draai de stelmoer rechtsom om de afstelling van de kabel te borgen.
Note: Draai de moer stevig vast met een dopsleutel of een moersleutel.
Important: Neem het accupack van het gereedschap en bedek de contacten met stevig plakband. Probeer niet om het accupack te vernietigen of te demonteren, of onderdelen ervan te verwijderen.
Neem contact op met uw plaatselijke gemeente of uw erkende onderhoudsmonteur voor meer informatie over hoe u de accu op een verantwoorde manier kunt recyclen.
Important: Sla de machine, het accupack en de lader alleen op bij temperaturen die binnen het gepaste temperatuurbereik liggen; zie Specificaties.
Important: Als u het accupack opslaat na het sneeuwseizoen, laad het dan op tot er 2 of 3 led-lampjes op de accu groen worden. Berg een volledig opgeladen of volledige lege accu niet op. Wanneer u de machine weer nodig hebt, laadt u het accupack op totdat het led-lampje links op de lader groen oplicht of alle 4 de led-lampjes op de accu groen oplichten.
Koppel het product los van de voedingsbron (d.w.z. verwijder het accupack en de elektrische startknop) en controleer op beschadiging na gebruik.
Sla de machine of de lader niet op terwijl het accupack gemonteerd is.
Verwijder al het vuil van het product.
Wanneer de machine niet wordt gebruikt, moet u de machine, de elektrische startknop, het accupack en de acculader opbergen buiten het bereik van kinderen.
Houd de machine, het accupack en de acculader uit de buurt van bijtende producten, zoals tuinchemicaliën en strooizout.
Om het risico op ernstig lichamelijk letsel te verkleinen mag u het accupack niet buiten of in een voertuig stallen.
Sla de machine, het accupack en de acculader op in een afgesloten schone, droge ruimte.
Voer alleen de stappen uit die zijn omschreven in deze instructies. Alle bijkomende controles, onderhouds- en herstelwerkzaamheden moeten worden uitgevoerd door een erkend servicecentrum of een gelijkaardig gekwalificeerde specialist als u het probleem niet zelf kunt oplossen.
| Problem | Possible Cause | Corrective Action |
|---|---|---|
| De machine start niet. |
|
|
| De machine loopt niet of niet continu. |
|
|
| De machine kan niet op volle kracht draaien. |
|
|
| Het accupack verliest snel de lading. |
|
|
| De acculader werkt niet. |
|
|
| De zelfaandrijving van de maaimachine werkt niet. |
|
|
| Het led-lampje op de acculader is rood. |
|
|
| Het ledlampje op de acculader knippert rood. |
|
|
| De machine maakt een piepend geluid. |
|
|
| De maaikwaliteit neemt af of is onbevredigend. |
|
|
| Het opvangen van het maaisel neemt af of is onbevredigend. |
|
|
| De machine maait ongelijkmatig. |
|
|
| De machine trilt. |
|
|