| Wartungsintervall | Wartungsmaßnahmen |
|---|---|
| Nach jeder Verwendung |
|
Dieser handgeführte Rasenmäher mit Sichelmessern sollte von geschulten Lohnarbeitern verwendet werden. Er ist hauptsächlich für das Mähen von Gras auf gepflegten Grünflächen in privaten oder öffentlichen Anlagen gedacht. Er ist für die Verwendung von Flex-Force Power System® 60V Lithium-Ionen-Akkus ausgelegt. Diese Akkupacks sind so ausgelegt, dass sie nur mit dem Flex-Force™ 60V Lithium-Ionen-Akkuladegeräte geladen werden können. Der zweckfremde Einsatz dieser Produkte kann für Sie und Unbeteiligte gefährlich sein.
Lesen Sie diese Informationen sorgfältig durch, um sich mit dem ordnungsgemäßen Einsatz und der Wartung des Geräts vertraut zu machen und Verletzungen und eine Beschädigung des Geräts zu vermeiden. Sie tragen die Verantwortung für einen ordnungsgemäßen und sicheren Einsatz des Geräts.
Besuchen Sie www.toro.com hinsichtlich Sicherheitstipps, Schulungsunterlagen, Zubehörinformationen, Standort eines Händlers oder Registrierung des Produkts.
Wenden Sie sich grundsätzlich an den Toro Vertragshändler oder Kundendienst, wenn Sie eine Serviceleistung, Toro Originalersatzteile oder weitere Informationen benötigen. Haben Sie dafür die Modell- und Seriennummern der Maschine griffbereit. In Bild 1 ist angegeben, wo an dem Produkt die Modell- und die Seriennummer angebracht sind. Tragen Sie hier die Modell- und Seriennummern des Geräts ein.

Tragen Sie die Modell- und Seriennummern des Produkts unten ein:
Dieses Sicherheitswarnsymbol (Bild 2) in diesem Handbuch und an der Maschine weißt auf wichtige Sicherheitshinweise hin, die Sie beachten müssen, um Unfälle zu vermeiden.

Das Sicherheitswarnsymbol wird über Information dargestellt, die Sie vor unsicheren Handlungen oder Situationen warnen, gefolgt von dem Wort GEFAHR, WARNUNG oder VORSICHT.
GEFAHR bezeichnet eine unmittelbar drohende Gefahr. Wenn sie nicht gemieden wird, sind Tod oder schwerste Verletzungen die Folge.
WARNUNG bezeichnet eine möglicherweise drohende Gefahr. Wenn sie nicht gemieden wird, können Tod oder schwerste Verletzungen die Folge sein.
VORSICHT bezeichnet eine möglicherweise drohende Gefahr. Wenn sie nicht gemieden wird, können leichte oder geringfügige Verletzungen die Folge sein.
In dieser Anleitung werden zwei weitere Begriffe zur Hervorhebung von Informationen verwendet. Wichtig weist auf spezielle mechanische Informationen hin, und Hinweis hebt allgemeine Informationen hervor, die Ihre besondere Beachtung verdienen.
Manipulieren oder deaktivieren Sie keine Sicherheitsvorrichtungen an der Maschine und prüfen Sie die einwandfreie Funktion in regelmäßigen Abständen. Modifizieren oder manipulieren Sie nicht die Bedienelemente für die Motordrehzahl, da dies zu unsicheren Einsatzbedingungen und Verletzungen führen kann.
Dieses Produkt erfüllt alle relevanten europäischen Richtlinien; weitere Details finden Sie in der produktspezifischen Konformitätserklärung (DOC).
KALIFORNIEN
Warnung zu Proposition 65
Das Stromkabel dieses Produkts enthält Blei, eine Chemikalie, die laut den Behörden des Staates Kalifornien Geburtsschäden oder andere Defekte des Reproduktionssystems verursacht. Waschen Sie sich nach dem Umgang mit diesen Materialien die Hände.
Bei Verwendung dieses Produkts sind Sie ggf. Chemikalien ausgesetzt, die laut den Behörden des Staates Kalifornien krebserregend wirken, Geburtsschäden oder andere Defekte des Reproduktionssystems verursachen.
Lesen Sie alle diesem Elektrowerkzeug beiliegenden Sicherheitshinweise, Anweisungen, Abbildungen und technischen Daten. Die Nichtbeachtung aller unten aufgeführten Anweisungen kann zu einem Stromschlag, Brand und/oder schweren Verletzungen führen.
Bewahren Sie alle Sicherheitshinweise und Anweisungen zum späteren Nachschlagen auf.
Der Begriff Elektrowerkzeug“ in den Sicherheitshinweisen bezieht sich auf Ihr über einen Stromanschluss (mit Stromkabel) oder mit einem Akku (kabellos) betriebenes Werkzeug.
Sicherheit im Arbeitsbereich
Der Arbeitsbereich muss sauber und gut beleuchtet sein. Unordentliche oder dunkle Bereiche erhöhen die Unfallgefahr.
Arbeiten Sie mit dem Elektrowerkzeug nicht in explosionsgefährdeter Umgebung, z. B. in der Nähe von brennbaren Flüssigkeiten, Gasen oder Staub. Elektrowerkzeuge erzeugen Funken, die den Staub oder die Dämpfe entzünden können.
Halten Sie Kinder und andere Personen während der Benutzung des Elektrowerkzeugs fern. Ablenkungen können zu einem Verlust der Kontrolle führen.
Elektrische Sicherheit
Der Anschlussstecker des Elektrowerkzeuges muss in die Steckdose passen. Der Stecker darf in keiner Weise verändert werden. Verwenden Sie keine Adapterstecker gemeinsam mit schutzgeerdeten Elektrowerkzeugen. Unveränderte Stecker und passende Steckdosen reduzieren das Risiko eines Stromschlags.
Vermeiden Sie Körperkontakt mit geerdeten Oberflächen wie von Rohren, Heizungen, Herden und Kühlschränken. Es besteht ein erhöhtes Risiko eines Stromschlags, wenn Ihr Körper geerdet ist.
Halten Sie Elektrowerkzeuge von Regen oder Nässe fern. Das Eindringen von Wasser in ein Elektrowerkzeug erhöht das Risiko eines elektrischen Schlages.
Ein Fehlgebrauch des Netzkabels für andere Zwecke ist untersagt. Das Kabel niemals zum Tragen, Ziehen oder Ausstecken des Elektrowerkzeugs verwenden. Halten Sie das Kabel von Hitze, Öl, scharfen Kanten oder beweglichen Teilen fern. Beschädigte oder verwickelte Kabel erhöhen das Risiko eines Stromschlags.
Verwenden Sie beim Betrieb des Elektrowerkzeugs im Freien ein für den Außenbereich geeignetes Verlängerungskabel. Die Verwendung eines für den Außenbereich geeigneten Kabels verringert die Gefahr eines Stromschlags.
Wenn der Betrieb des Elektrowerkzeugs in feuchter Umgebung unvermeidlich ist, verwenden Sie eine durch einen Fehlerstromschutzschalter (RCD) geschützte Stromversorgung. Die Verwendung eines Fehlerstromschutzschalters reduziert die Gefahr eines Stromschlags.
Persönliche Sicherheit
Seien Sie wachsam, achten Sie auf das, was Sie tun und lassen Sie bei der Benutzung des Elektrowerkzeugs gesunden Menschenverstand walten. Verwenden Sie das Elektrowerkzeug nicht, wenn Sie müde sind oder unter dem Einfluss von Drogen, Alkohol oder Medikamenten stehen. Ein Moment der Unachtsamkeit bei der Bedienung von Elektrowerkzeugen kann zu schweren Körperverletzungen führen.
Benutzen Sie persönliche Schutzausrüstung. Tragen Sie immer eine Schutzbrille. Das Tragen von Schutzausrüstung wie Staubmaske, rutschfesten Sicherheitsschuhen, Schutzhelm oder Gehörschutz unter entsprechenden Bedingungen reduziert die Gefahr von Körperverletzungen.
Vermeiden Sie eine unbeabsichtigte Inbetriebnahme. Vergewissern Sie sich, dass das Werkzeug ausgeschaltet ist, bevor Sie es an die Stromquelle und/oder den Akku anschließen oder es in die Hand nehmen oder tragen. Das Tragen von Elektrowerkzeugen mit Ihrem Finger am Schalter bzw. von an die Stromversorgung angeschlossenen Elektrowerkzeugen bei eingeschaltetem Schalter erhöht die Unfallgefahr.
Ziehen Sie vor dem Einschalten des Elektrowerkzeugs alle Einstellwerkzeuge oder Schraubenschlüssel ab. Ein an einem rotierenden Teil des Elektrowerkzeugs zurückgelassener Schlüssel kann zu Verletzungen führen.
Strecken Sie sich nicht zu stark. Verlieren Sie nicht den Halt und behalten Sie zu jeder Zeit das Gleichgewicht. Sie haben dann in unerwarteten Situationen eine bessere Kontrolle über das Elektrowerkzeug.
Tragen Sie geeignete Kleidung. Tragen Sie keine weiten Kleidungsstücke oder Schmuck. Halten Sie Ihr Haar und Ihre Kleidung von beweglichen Teilen fern. Lockere Kleidung, Schmuck oder lange Haare können sich in beweglichen Teilen verfangen.
Wenn Vorrichtungen für den Anschluss von Staubabsaug- und -auffangsystemen vorhanden sind, vergewissern Sie sich, dass diese angeschlossen sind und ordnungsgemäß verwendet werden. Die Verwendung einer Staubabsaugung kann staubbedingte Gefahren verringern.
Lassen Sie nicht zu, dass Sie aufgrund der Gewohnheit, die Sie durch den häufigen Gebrauch von Werkzeugen erlangt haben, selbstgefällig werden und die Grundsätze der Werkzeugsicherheit ignorieren. Eine unvorsichtige Handlung kann im Bruchteil einer Sekunde zu schweren Verletzungen führen.
Verwendung und Pflege des Elektrowerkzeugs
Üben Sie keine Gewalt auf das Elektrowerkzeug aus. Verwenden Sie das richtige Elektrowerkzeug für Ihre Anwendung. Mit dem passenden Elektrowerkzeug arbeiten Sie besser und sicherer im angegebenen Leistungsbereich.
Verwenden Sie das Elektrowerkzeug nicht, wenn der Ein- und Ausschalter nicht funktioniert. Ein Elektrowerkzeug, das sich nicht mehr ein- oder ausschalten lässt, ist gefährlich und muss repariert werden.
Ziehen Sie den Stecker aus der Steckdose und/oder entfernen Sie ggf. den Akku aus dem Elektrowerkzeug, bevor Sie Einstellungen vornehmen, Zubehörteile wechseln oder das Elektrowerkzeug lagern. Solche vorbeugenden Sicherheitsmaßnahmen verringern das Risiko einer unbeabsichtigten Inbetriebnahme des Elektrowerkzeugs.
Unbenutzte Elektrowerkzeuge außerhalb der Reichweite von Kindern aufbewahren und nicht von Personen bedienen lassen, die mit dem Elektrowerkzeug oder dieser Anleitung nicht vertraut sind. Elektrowerkzeuge sind in den Händen von ungeschulten Benutzern gefährlich.
Halten Sie Elektrowerkzeuge und Zubehör instand. Prüfen Sie, ob bewegliche Teile falsch ausgerichtet sind oder klemmen, ob Teile gebrochen sind oder ob andere Bedingungen vorliegen, die den Betrieb des Elektrowerkzeugs beeinträchtigen könnten. Bei Beschädigungen muss das Elektrowerkzeug vor der Verwendung repariert werden. Viele Unfälle haben ihre Ursache in schlecht gewarteten Elektrowerkzeugen.
Halten Sie Schneidwerkzeuge scharf und sauber. Ordnungsgemäß gewartete Schneidwerkzeuge mit scharfen Schneidkanten verklemmen sich seltener und sind leichter zu kontrollieren.
Verwenden Sie das Elektrowerkzeug, das Zubehör, die Werkzeugaufsätze usw. gemäß dieser Anleitung und unter Berücksichtigung der Arbeitsbedingungen und der auszuführenden Arbeiten. Die Verwendung des Elektrowerkzeugs für andere als die vorgesehenen Arbeiten kann zu einer gefährlichen Situation führen.
Halten Sie Griffe und Griffflächen trocken, sauber und öl- und fettfrei. Rutschige Griffe und Griffflächen verhindern eine sichere Handhabung und Kontrolle des Werkzeugs in unerwarteten Situationen.
Verwendung und Pflege des Akku-Werkzeugs
Zum Aufladen nur das vom Hersteller angegebene Ladegerät verwenden. Ein für einen Akkutyp geeignetes Ladegerät kann bei Verwendung eines anderen Akkutyps eine Brandgefahr darstellen.
Verwenden Sie Elektrowerkzeuge nur mit den speziell dafür vorgesehenen Akkus. Bei der Verwendung anderer Akkus besteht Verletzungs- und Brandgefahr.
Halten Sie den Akku bei Nichtgebrauch von anderen Metallgegenständen wie Büroklammern, Münzen, Schlüsseln, Nägeln, Schrauben oder anderen kleinen Metallgegenständen fern, die eine Verbindung von einem Anschluss zum anderen herstellen können. Ein Kurzschluss zwischen den Akkukontakten kann Verbrennungen oder Feuer zur Folge haben.
Unter ungünstigen Bedingungen kann Flüssigkeit aus der Batterie austreten; vermeiden Sie den Kontakt. Bei versehentlichem Kontakt mit Wasser abspülen. Wenn Flüssigkeit in die Augen gelangt, suchen Sie zusätzlich einen Arzt auf. Die aus dem Akku austretende Flüssigkeit kann zu Reizungen oder Verbrennungen führen.
Verwenden Sie keine beschädigten oder modifizierten Akkus oder Werkzeuge. Beschädigte oder modifizierte Akkus können ein unvorhersehbares Verhalten zeigen, das zu Feuer, Explosion oder Verletzungsgefahr führen kann.
Setzen Sie einen Akku oder ein Werkzeug keinem Feuer oder übermäßigen Temperaturen aus. Die Exposition gegenüber Feuer oder Temperaturen über 130°C (265°F) kann zu einer Explosion führen.
Befolgen Sie alle Anweisungen zum Aufladen und laden Sie den Akku oder das Werkzeug nicht außerhalb des in den Anweisungen angegebenen Temperaturbereichs. Unsachgemäßes Aufladen oder Laden bei Temperaturen außerhalb des angegebenen Bereichs kann den Akku beschädigen und die Brandgefahr erhöhen.
Wartung
Lassen Sie Ihr Elektrowerkzeug nur von qualifiziertem Fachpersonal warten, das nur original Ersatzteile verwendet. Damit wird gewährleistet, dass die Sicherheit des Elektrowerkzeugs erhalten bleibt.
Warten Sie niemals beschädigte Akkus. Sämtliche Wartung von Akkus sollte nur vom Hersteller oder von autorisierten Dienstleistern durchgeführt werden.
Den Rasenmäher nicht bei Regen oder Nässe betreiben. Dies kann das Risiko eines Stromschlags erhöhen.
Den Rasenmäher nicht bei schlechtem Wetter benutzen, insbesondere dann nicht, wenn die Gefahr eines Gewitters besteht. Dadurch wird das Risiko eines Blitzschlags reduziert.
Untersuchen Sie den Bereich, in dem der Rasenmäher eingesetzt werden soll, gründlich auf Wildtiere. Wildtiere können durch den arbeitenden Rasenmäher verletzt werden.
Inspizieren Sie den Bereich, in dem der Rasenmäher eingesetzt werden soll, gründlich und entfernen Sie Steine, Stöcke, Drähte, Knochen und andere Fremdkörper. Herumgeschleuderte Objekte können zu Verletzungen führen.
Führen Sie vor dem Einsatz des Rasenmähers immer eine Sichtprüfung durch, um sicherzustellen, dass das Messer und die Messerbaugruppe nicht abgenutzt oder beschädigt sind. Abgenutzte oder beschädigte Teile erhöhen das Risiko von Verletzungen.
Prüfen Sie den Fangkorb regelmäßig auf Verschleiß und Abnutzung. Ein abgenutzter oder beschädigter Fangkorb kann die Verletzungsgefahr erhöhen.
Halten Sie die Schutzvorrichtungen in Position. Die Schutzvorrichtungen müssen einwandfrei funktionieren und ordnungsgemäß angebracht sein. Eine lose, beschädigte oder nicht richtig funktionierende Schutzvorrichtung kann zu Verletzungen führen.
Halten Sie alle Kühllufteinlässe frei von Verunreinigungen. Blockierte Lufteinlässe und Verunreinigungen können zu Überhitzung oder Brandgefahr führen.
Tragen Sie beim Betrieb des Rasenmähers stets rutschfestes und schützendes Schuhwerk. Bedienen Sie den Rasenmäher niemals barfuß oder mit offenen Sandalen. Auf diese Weise wird die Gefahr von Fußverletzungen durch Kontakt mit dem sich bewegenden Messer verringert.
Tragen Sie bei der Bedienung des Rasenmähers immer lange Hosen. Freiliegende Haut erhöht die Wahrscheinlichkeit von Verletzungen durch aufgeschleuderte Objekte.
Den Rasenmäher nicht in feuchtem Gras betreiben. Gehen Sie immer; rennen Sie nie. Dadurch wird die Gefahr des Ausrutschens und Fallens und damit des Verletzens verringert.
Betreiben Sie den Rasenmäher nicht an übermäßig steilen Hängen. Dadurch wird die Gefahr des Kontrollverlusts, des Ausrutschens und des Fallens und damit des Verletzens verringert.
Achten Sie bei Arbeiten an Hängen immer auf einen sicheren Stand, arbeiten Sie immer quer zum Hang, niemals bergauf oder bergab, und seien Sie bei Richtungswechseln äußerst vorsichtig. Dadurch wird die Gefahr des Kontrollverlusts, des Ausrutschens und des Fallens und damit des Verletzens verringert.
Gehen Sie mit größter Vorsicht vor, wenn Sie rückwärts gehen oder den Rasenmäher in Ihre Richtung ziehen. Achten Sie immer auf Ihre Umgebung. Dies verringert das Risiko, während des Betriebs zu stolpern.
Greifen Sie nicht in die Messer und andere gefährliche, sich bewegende Teile, während diese noch in Bewegung sind. Dadurch wird die Verletzungsgefahr durch bewegliche Teile verringert.
Stellen Sie vor dem Beseitigen von eingeklemmtem Material oder dem Reinigen des Rasenmähers sicher, dass alle Stromschalter ausgeschaltet sind und der Akku abgeklemmt wurde. Eine unerwartete Inbetriebnahme des Rasenmähers kann zu schweren Verletzungen führen.
Schulung
Der Bediener der Maschine ist für alle Unfälle oder Gefahren für Dritte und deren Eigentum verantwortlich.
Lassen Sie Kinder nicht mit der Maschine, dem Akkupack oder dem Akkuladegerät spielen; das Mindestalter von Benutzern ist möglicherweise von örtlichen Vorschriften vorgegeben.
Lassen Sie keine Personen mit eingeschränkten physischen, sensorischen oder mentalen Fähigkeiten oder Personen ohne Erfahrung und Kenntnisse die Maschine, den Akkupack oder das Akkuladegerät verwenden, außer sie wurden ausreichend in Bezug auf die sichere Verwendung und die mit der Verwendung zusammenhängenden Gefahren unterwiesen und arbeiten unter Aufsicht.
Vor der Verwendung des Akkupacks und des Akkuladegeräts alle Anweisungen und Warnaufkleber auf diesen Produkten lesen.
Vorbereitung
Ersetzen Sie alle beschädigten oder unleserlichen Aufkleber.
Verwenden Sie nur einen von Toro angegebenen Akkupack. Die Verwendung von anderem Zubehör oder Anbaugeräten kann ein Verletzungs- oder Brandrisiko bergen.
Das Einstecken des Akkuladegeräts in eine Steckdose, die nicht die richtige Spannung aufweist, kann zu einem Brand oder Stromschlag führen. Bei einem anderen Anschlussdesign müssen Sie bei Bedarf einen Adapter für den Anbaugerätstecker verwenden, der richtig für die entsprechende Steckdose konfiguriert ist.
Verwenden Sie keine beschädigten oder veränderten Akkupacks oder Akkuladegeräte, da sie sich unerwartet verhalten und Brand, Explosion oder Verletzungen verursachen können.
Wenn das Stromkabel des Akkuladegeräts beschädigt ist, treten Sie für Ersatz mit einem Vertragshändler in Kontakt.
Verwenden Sie keine nicht aufladbaren Akkus.
Laden Sie den Akkupack nur mit einem von Toro angegebenen Akkuladegerät. Ein für einen Akkutyp geeignetes Ladegerät kann bei Verwendung eines anderen Akkutyps eine Brandgefahr darstellen.
Laden Sie den Akkupack nur in einem gut belüfteten Bereich auf.
Setzen Sie einem Akkupack oder ein Akkuladegerät keinem Feuer oder Temperaturen von über 68 °C aus.
Befolgen Sie alle Anweisungen zum Aufladen und laden Sie den Akkupack nicht außerhalb des in der Anweisung angegeben Temperaturbereichs. Andernfalls kann der Akku beschädigt werden und die Brandgefahr steigen.
Betrieb
Bleiben Sie immer von den Auswurföffnungen fern.
Kuppeln Sie den Selbstantrieb aus (falls vorhanden), bevor Sie die Maschine einschalten.
Verhindern Sie unbeabsichtigtes Starten: Stellen Sie sicher, dass der Elektrostarttaster aus der Zündung entfernt ist, bevor Sie den Akkupack einsetzen und die Maschine benutzen.
Halten Sie die Maschine an, entfernen Sie den Elektrostarttaster, entfernen Sie den Akkupack aus der Maschine und warten Sie, bis alle beweglichen Teile zum Stillstand gekommen sind, bevor Sie die Maschine warten oder reinigen.
Entfernen Sie den Akkupack und den Elektrostarttaster aus der Maschine, wenn Sie sie unbeaufsichtigt lassen oder bevor Sie Zubehör wechseln.
Werfen Sie das Schnittgut nicht gegen Personen aus. Vermeiden Sie, Material gegen eine Wand oder ein Hindernis auszuwerfen, da das Material auf Sie zurückprallen kann. Stellen Sie das/die Messer ab, wenn Sie eine Kiesoberflächen überqueren.
Achten Sie auf Löcher, Rillen, Bodenwellen, Steine oder andere verborgene Objekte. Unebenes Gelände kann dazu führen, dass Sie das Gleichgewicht oder den Halt verlieren.
Wenn die Maschine einen Gegenstand trifft oder anfängt zu vibrieren, stellen Sie sofort die Maschine ab, entfernen Sie den Elektrostarttaster, entfernen Sie den Akkupack und warten Sie, bis alle beweglichen Teile zum Stillstand gekommen sind, bevor Sie die Maschine auf Schäden untersuchen. Führen Sie alle erforderlichen Reparaturen durch, ehe Sie die Maschine wieder in Gebrauch nehmen.
Halten Sie die Maschine an und entfernen Sie den Elektrostarttaster, bevor Sie die Maschine zum Transport aufladen.
Unter missbräuchlichen Bedingungen kann Flüssigkeit aus dem Akkupack austreten. Vermeiden Sie Kontakt. Wenn Sie die Flüssigkeit versehentlich berühren, mit Wasser spülen. Wenn die Flüssigkeit in Ihre Augen gelangt, suchen Sie einen Arzt auf. Vom Akku ausgestoßene Flüssigkeit kann zu Hautreizungen oder Verbrennungen führen.
Wartung und Lagerung
Halten Sie die Maschine an, entfernen Sie den Elektrostarttaster, entfernen Sie den Akkupack aus der Maschine und warten Sie, bis alle beweglichen Teile zum Stillstand gekommen sind, bevor Sie die Maschine warten oder reinigen.
Versuchen Sie nicht, die Maschine zu reparieren, außer in dem in den Anweisungen angegebenen Maße. Lassen Sie die Maschine durch einen Vertragshändler mit identischen Ersatzteilen instand setzen.
Schärfen Sie ein stumpfes Messer von beiden Seiten, um das Gleichgewicht zu erhalten. Reinigen Sie das Messer und stellen Sie sicher, dass es in Balance ist.
Beim Warten des Messers darauf achten, dass sich das Messer auch bei getrennter Stromversorgung noch bewegen kann.
Um eine bestmögliche Leistung sicherzustellen, verwenden Sie nur Originalersatzteile und -zubehörteile von Toro. Andere Ersatz- und Zubehörteile können gefährlich sein und eine Verwendung könnte die Garantie ungültig machen.
Warten Sie die Maschine: Halten Sie die Schnittkanten scharf und sauber, um eine bestmögliche und sichere Leistung zu gewährleisten. Halten Sie die Holme trocken, sauber und öl- und fettfrei. Lassen Sie die Schutzvorrichtungen in funktionierendem Zustand dort, wo sie hingehören. Halten Sie die Messer scharf. Verwenden Sie nur identische Messer.
Solange in den Anweisungen nicht anders angegeben, lassen Sie beschädigte Schutzvorrichtungen und Teile nur von einem autorisierten Vertragshändler reparieren bzw. austauschen.
Halten Sie den Akku bei Nichtgebrauch von Metallobjekten fern, z. B. Briefklammern, Münzen, Schlüssel, Nägel, Schrauben, die eine Verbindung von einem Pol zu einem anderen herstellen können. Ein Kurzschließen der Akkupole kann zu Verbrennungen oder einem Brand führen.
Prüfen Sie das Messer und die Motorbefestigungsschrauben regelmäßig auf Festigkeit.
ACHTUNG: ein falsch gehandhabtes Akkupack kann ein Brandrisiko darstellen oder Verätzungen verursachen. Demontieren Sie den Akkupack nicht. Erwärmen Sie den Akkupack nicht über 68 °C und verbrennen Sie ihn nicht. Ersetzen Sie den Akkupack nur durch ein Originalakkupack von Toro. Die Verwendung eines anderen Akkupacktyps kann zu einem Brand oder einer Explosion führen. Halten Sie Akkupacks von Kindern fern und bewahren sie in der Originalverpackung auf, bis Sie sie verwenden.
Entsorgen Sie den Akku nicht durch Verbrennen. Die Zellen können explodieren. Prüfen Sie vor Ort geltende Gesetze in Bezug auf mögliche spezielle Anweisungen zur Entsorgung.
![]() |
Die Sicherheits- und Anweisungsaufkleber sind gut sichtbar; sie befinden sich in der Nähe der möglichen Gefahrenbereiche. Tauschen Sie beschädigte oder verloren gegangene Aufkleber aus. |
|
Akku- oder Ladegerät-Symbol |
Erläuterung |
![]() |
Lesen Sie die Bedienungsanleitung. |
![]() ![]() |
Informationen zum verantwortungsvollen Recyceln des Akkus erhalten Sie bei Ihrer örtlichen Verwaltung oder einem offiziellen Vertragshändler oder Vertriebshändler. |






Important: Der Akkupack ist beim Kauf nicht vollständig aufgeladen. Bevor Sie die Maschine zum ersten Mal verwenden, siehe Aufladen des Akkupacks.
Für diesen Arbeitsschritt erforderliche Teile:
| Befestigungsmaterial (nicht enthalten) | 2 |
Sie können bei Bedarf das Ladegerät mit den Aussparungen zur Wandmontage auf der Rückseite des Ladegeräts an der Wand befestigen.
Befestigen Sie es im Innenbereich (wie z. B. in einer Garage oder an einem anderen trockenen Ort) in der Nähe einer Steckdose und außerhalb der Reichweite von Kindern.
In Bild 3 finden Sie Hinweise zum Befestigen des Ladegeräts.
Schieben Sie das Ladegerät über die richtig angebrachten Befestigungen, um das Ladegerät zu befestigen (Befestigungen liegen nicht bei).

Wenn Sie den Holm falsch auf- oder zusammenklappen, können Sie die Kabel beschädigen und den sicheren Geräteeinsatz gefährden.
Beschädigen Sie beim Auf- oder Zusammenklappen des Holms nicht die Kabel.
Stellen Sie sicher, dass die Kabel zur Außenseite des Holms verlegt sind.
Wenden Sie sich bei einem beschädigten Kabel an einen offiziellen Vertragshändler.
Important: Halten Sie den Holm fest, während Sie die Holmarretierung einrasten, um ein Quetschen der Hände zu vermeiden.






| Modell | 81875 | ||
| Akkupackleistung | 7,5 Ah | ||
| 405 Wh | |||
|
Akkuherstellerangabe = Max. 60 Volt und 54 Volt nominal. Tatsächliche Spannung hängt von der Last ab. |
|||
| Modell | 81802 | |
| Typ | 60 Volt MAX, Lithium-Ionen-Akkuladegerät | |
| Eingabe | 100 bis 240V AC ~2,0A 50/60Hz | |
| Ausgabe | 60V DC 2,0A MAX |
|
| Aufladen/Lagern des Akkupacks bei | 5 °C bis 40 °C* |
| Verwendung des Akkus bei | -30 °C bis 49 °C |
| Verwendung der Maschine bei | 0 °C bis 49 °C* |
*Die Ladezeit wird verlängert, wenn Sie den Akkupack nicht in diesem Bereich aufladen.
Lagern Sie die Maschine, den Akkupack und das Akkuladegerät an einem sauberen und trockenen Ort.
Ein Sortiment an Originalanbaugeräten und -zubehör von Toro wird für diese Maschine angeboten, um den Funktionsumfang des Geräts zu erhöhen und zu erweitern. Wenden Sie sich an einen autorisierten Servicehändler oder einen autorisierten Toro-Vertragshändler oder navigieren Sie zu www.Toro.com für eine Liste der zugelassenen Anbaugeräte und des Zubehörs.
Verwenden Sie, um die optimale Leistung und Sicherheit zu gewährleisten, nur Originalersatzteile und -zubehörteile von Toro. Verwenden Sie nie Ersatzteile und Zubehör anderer Hersteller; diese könnten sich eventuell als gefährlich erweisen.
Note: Bestimmen Sie die linke und rechte Seite der Maschine anhand der üblichen Einsatzposition.
Important: Verwenden Sie den Akkupack nur bei Temperaturen im angemessenen Bereich, siehe Technische Daten.
Stellen Sie sicher, dass sich in den Belüftungsöffnungen des Akkus kein Staub oder Schmutz befindet.
Öffnen Sie den Deckel des Akkukastens (A in Bild 10).
Richten Sie die Vertiefung im Akkupack mit der Nase an der Maschine aus und schieben Sie den Akkupack in den Kasten, bis er in seiner Position einrastet (B in Bild 10).
Schließen Sie den Deckel des Akkukastens (C in Bild 10).
Note: Wenn sich der Akkufachdeckel nicht vollständig schließt, ist der Akkupack nicht vollständig eingesetzt.

Sie können den Holm auf eine für Sie passende Höhe anheben oder absenken.
Drehen Sie die Holmarretierung, stellen Sie den Holm in eine der beiden Stellungen und stellen Sie ihn fest (Bild 11).

Beim Einstellen der Schnitthöhe können Ihre Hände mit einem sich drehenden Mähmesser in Kontakt geraten, was schwere Verletzungen zur Folge haben kann.
Schalten Sie vor dem Einstellen der Schnitthöhe den Motor ab, entfernen Sie die Akku und warten Sie, bis alle beweglichen Teile zum Stillstand gekommen sind.
Führen Sie Ihre Finger beim Einstellen der Schnitthöhe nie unter das Mähwerk.
Stellen Sie die Schnitthöhe ein. Stellen Sie alle Räder auf die gleiche Schnitthöhe ein (Bild 12).

Vergewissern Sie sich, dass der Akkupack in der Maschine ist; siehe Einsetzen des Akkupacks.
Note: Wenn sich der Akkufachdeckel nicht vollständig schließt, ist der Akkupack nicht vollständig eingesetzt.
Stecken Sie den Elektrostarttaster in den Elektrostartschalter (A in Bild 13).
Drücken Sie den Schaltbügel und halten Sie ihn gegen den Holm (B in Bild 13).
Halten Sie den Elektrostarttaster gedrückt, bis der Motor startet (C in Bild 13).

Um den Selbstantrieb zu benutzen, gehen Sie einfach vorwärts und halten Sie dabei Ihre Hände am oberen Bügel und Ihre Ellbogen an Ihren Seiten; die Maschine hält automatisch mit Ihnen Schritt (Bild 14).

Note: Wenn die Maschine nicht ungehindert nach dem Selbstantrieb rückwärts rollt, gehen Sie nicht weiter, lassen Sie die Hände am Bügel und lassen Sie die Maschine ein paar Zentimeter vorwärts rollen, um den Radantrieb auszukuppeln. Sie können auch unter dem oberen Holm den Metallbügel anfassen und die Maschine ein paar Zentimeter nach vorne schieben. Wenn die Maschine immer noch nicht ungehindert rückwärts rollt, wenden Sie sich an den offiziellen Vertragshändler.
Diese Maschine verfügt über 2 Messerdrehzahleinstellungen: AUTO und MAX.
In der AUTO-Stellung wird die Messerdrehzahl automatisch für eine höhere Effizienz angepasst; Änderungen der Schnittbedingungen werden erkannt und die Messerdrehzahl erhöht sich, wenn dies zur Aufrechterhaltung der Schnittqualität notwendig ist.
In die MAX-Stellung bleibt die Messerdrehzahl immer auf der höchsten Drehzahl.
Drehen Sie den elektrischen Startknopf auf eine der beiden Stellungen, um die Einstellung der Messerdrehzahl anzupassen (Bild 15).

Lassen Sie den Schaltbügel los (A in Bild 16).
Entfernen Sie den Elektrostarttaster aus dem Elektrostarschalter (B in Bild 16).
Entfernen Sie den Akkupack, siehe Entfernen des Akkupacks aus der Maschine.
Note: Entnehmen Sie den Akkupack jedes Mal, wenn Sie die Maschine nicht verwenden.

Öffnen Sie den Deckel des Akkukastens.
Drücken Sie den Akkuriegel, um den Akkupack zu lösen und ziehen Sie den Akkupack heraus.
Schließen Sie den Deckel des Akkukastens.
Der Rasenmäher ist werksseitig auf das Recyceln von Schnittgut und Laub eingestellt.
Important: Stellen Sie sicher, dass die Heckauswurfklappe arretiert ist. Zum Arretieren der Klappe: heben Sie das hintere Ablenkblech (A in Bild 17) an, drücken Sie die Klappe fest ein, bis sie einrastet (B in Bild 17).

Note: Drehen Sie den Hebel an der Klappe nach rechts, um die Klappe zu lösen (Bild 18).
Verwenden Sie den Fangkorb, wenn Sie Schnittgut und Laub im Fangkorb sammeln möchten.
Note: Standardmäßig ist diese Maschine mit einem Economy-Messer ausgestattet, um die Laufzeit zu verlängern; optional ist auch ein Hochleistungsmesser erhältlich, um den Grasfang und die Leistung zu verbessern. Installieren Sie vor dem Aufsammeln des Schnittguts das Hochleistungsmesser, siehe Auswechseln des Messers.
Stellen Sie die Maschine ab und warten, bis alle sich bewegenden Teile zum Stillstand gekommen sind, siehe Abstellen der Maschine.
Entfernen Sie den Akku aus der Maschine, siehe Entfernen des Akkupacks aus der Maschine.
Heben Sie das hintere Ablenkblech an und halten Sie es hoch (A in Bild 18).
Drücken Sie zum Entfernen der Heckauswurfklappe mit dem Daumen auf den Riegel und ziehen die Klappe aus der Maschine (B und C in Bild 18).
Setzen Sie die Enden der Fangkorbstange in die Kerben an der Unterseite des Holms ein und bewegen den Fangkorb nach vorne und hinten, um sicherzustellen, dass die Enden der Stange richtig in den Kerben sitzen (D in Bild 18).
Senken Sie das Heckablenkblech ab, bis es auf dem Fangkorb aufliegt.

Die Maschine kann Schnittgut und andere Gegenstände durch eine Öffnung im Maschinengehäuse herausschleudern. Gegenstände, die mit ausreichender Wucht herausgeschleudert werden, können sie und Unbeteiligte schwer oder sogar tödlich verletzen.
Nehmen Sie nie den Fangkorb ab und lassen dann die Maschine an, wenn die Heckauswurfklappe nicht eingesetzt ist.
Öffnen Sie das Heckablenkblech der Maschine nie bei laufender Maschine.
Schalten Sie die Maschine ab und warten Sie, bis alle beweglichen Teile zum Stillstand gekommen sind.
Heben Sie das Heckablenkblech an.
Nehmen Sie die Fangkorbstange am Fangkorb aus den Kerben an der Unterseite des Griffs (A von Bild 18).
Setzen Sie die Heckauswurfklappe ein (B in Bild 18).
Senken Sie das hintere Ablenkblech ab (C in Bild 18).
Prüfen Sie den Arbeitsbereich gründlich und entfernen Sie alle Objekte, die von der Maschine aufgeschleudert werden könnten.
Vermeiden Sie, dass das Messer auf Fremdkörper aufprallt. Mähen Sie nie absichtlich über irgendwelchen Gegenständen.
Stellen Sie den Maschine sofort ab, wenn der Mäher auf einen Gegenstand aufprallt oder anfängt zu vibrieren, warten Sie, bis alle beweglichen Teile zum Stillstand gekommen sind, entfernen Sie den Akku und untersuchen Sie die Maschine auf eventuelle Beschädigungen.
Um die beste Leistung zu erzielen, installieren Sie ein neues Toro Messer vor Beginn der Mähsaison oder bei Bedarf.
Mähen Sie immer nur ein Drittel des Grashalms in einem Durchgang. Zur Verbesserung der Schnittqualität, der Laufzeit und dem Auffangen des Schnittguts, schneiden Sie das Gras in einer höheren Schnitthöhe.
Mähen Sie nicht unter einer Einstellung von 51 mm, wenn das Gras sehr fein wächst, oder im Spätherbst, wenn das Graswachstum nachlässt.
Stellen Sie beim ersten Durchgang die Schnitthöhe auf die höchste Einstellung und gehen langsamer, wenn Sie Gras mähen, das länger als 15 cm ist. Mähen Sie dann noch einmal mit einer niedrigeren Einstellung, um dem Rasen das gewünschte Schnittbild zu geben. Wenn das Gras zu lang ist, kann die Maschine verstopfen und der Motor kann abdrosseln.
Nasses Gras und Laub neigen zum Verklumpen im Garten und können ein Verstopfen der Maschine und ein Abdrosseln des Motors verursachen. Vermeiden Sie Mäharbeiten bei nassen Umgebungsbedingungen.
In sehr trockenen Bedingungen besteht eine Brandgefahr. Halten Sie alle lokalen Brandgefahrwarnungen ein und entfernen Sie trockenes Gras und Laub von der Maschine.
Wechseln Sie häufig die Mährichtung. Dadurch verteilt sich das Schnittgut besser auf der Rasenfläche und bewirkt ein effektiveres Düngen.
Probieren Sie bei einem unbefriedigenden Schnittbild des Rasens eine der folgenden Abhilfen aus:
Wechseln Sie das Messer aus oder lassen Sie es schärfen.
Gehen Sie beim Mähen langsamer.
Heben Sie die Schnitthöhe der Maschine an.
Mähen Sie häufiger.
Lassen Sie die Bahnen überlappen, anstelle bei jedem Gang eine neue Bahn zu mähen.
Stellen Sie nach dem Mähen sicher, dass die Hälfte des Rasens durch die Schnittgutdecke sichtbar ist. Dabei müssen Sie unter Umständen mehrmals über das Laub mähen.
Wenn eine Laubdecke von mehr als 13 cm auf dem Rasen liegt, mähen Sie mit einer höheren Schnitthöhe und dann mit der gewünschten Schnitthöhe.
Mähen Sie langsamer, wenn die Maschine das Laub nicht fein genug häckselt.
Important: Der Akkupack ist beim Kauf nicht vollständig aufgeladen. Bevor Sie die Maschine zum ersten Mal verwenden, setzen Sie den Akkupack in das Ladegerät ein und laden es auf, bis die LED-Anzeige angibt, dass der Akkupack ganz aufgeladen ist. Lesen Sie alle Sicherheitsanweisungen.
Important: Laden Sie den Akkupack nur bei Temperaturen im angemessenen Bereich, siehe Technische Daten.
Note: Drücken Sie bei Bedarf die Taste für die Akkuladeanzeige auf dem Akkupack, um den aktuellen Ladestand anzuzeigen (LED-Anzeigen).
Stellen Sie sicher, dass die Belüftungsöffnungen und die Ladeanschlüssen am Akku und am Ladegerät frei von Staub und Schmutz sind.

Fluchten Sie das Loch im Akkupack (Bild 19) mit der Zunge am Ladegerät aus.
Schieben Sie den Akkupack in das Ladegerät, bis es einrastet (Bild 19).
Schieben Sie zum Herausnehmen des Akkupacks den Akkupack nach hinten aus dem Ladegerät.
In der folgenden Tabelle finden Sie eine Beschreibung der LED-Anzeigeleuchten auf dem Akkuladegerät.
| Ladegerät-Symbol | Kontrollleuchte | Anzeige |
![]() | Grün blinkend | Akkupack wird aufgeladen |
![]() | Grün | Akkupack ist aufgeladen |
![]() | Rot | Der Akkupack und/oder Akkuladegerät ist nicht im geeigneten Temperaturbereich |
![]() | Rot blinkend | Akkupack Ladefehler* |
| Aus | Kein Akkupack eingeführt |
* Weitere Informationen finden Sie unter .
Important: Der Akku kann zwischen den Einsätzen für kurze Zeiträume auf dem Ladegerät belassen werden.Wenn der Akku für längere Zeit nicht benutzt wird, nehmen Sie den/die Akku(s) aus dem Ladegerät; siehe Vor der Einlagerung.
| Wartungsintervall | Wartungsmaßnahmen |
|---|---|
| Nach jeder Verwendung |
|
Die Maschine kann Ablagerungen unter der Maschine lockern.
Tragen Sie eine Schutzbrille.
Bleiben Sie in der Einsatzstellung (hinter dem Holm) wenn der Maschine läuft.
Halten Sie Unbeteiligte vom Bereich fern.
Um die besten Ergebnisse zu erzielen, reinigen Sie die Maschine sobald Sie mit dem Mähen fertig sind.
Senken Sie die Maschine auf die niedrigste Schnitthöhe ab. Siehe Einstellen der Schnitthöhe.
Nehmen Sie ggf. den Fangkorb ab, siehe Entfernen des Grasfangkorbs.
Stellen Sie die Maschine auf eine befestigte Fläche.
Reinigen Sie den Bereich unter der Heckklappe (falls zutreffend) an der Stelle, an der das Schnittgut von der Unterseite der Maschine in den Fangkorb befördert wird.
Lassen Sie den Motor bei eingekuppeltem Messer laufen und sprühen Sie einen Wasserstrahl vor das rechte Hinterrad (Bild 20).

Stellen Sie das Wasser ab, wenn kein Schnittgut mehr herausgespült wird, und schieben Sie den Rasenmäher auf einen trockenen Bereich.
Starten Sie die Maschine und lassen Sie ihn für ein paar Minuten laufen, um die Unterseite der Maschine auszutrocknen.
Stellen Sie die Maschine ab und warten, bis sie sich abgekühlt hat.
Stellen Sie die Maschine in die aufrechte Lagerstellung, siehe Lagern der Maschine in der aufrechten Lagerstellung.
Spülen Sie das Schnittgut von der Maschinenunterseite heraus.
Wenn Sie den Holm falsch auf- oder zusammenklappen, können Sie die Kabel beschädigen und den sicheren Geräteeinsatz gefährden.
Beschädigen Sie beim Auf- oder Zusammenklappen des Holms nicht die Kabel.
Stellen Sie sicher, dass die Kabel zur Außenseite des Holms verlegt sind.
Wenden Sie sich bei einem beschädigten Kabel an einen offiziellen Vertragshändler.
Entfernen Sie den Taster für Elektrostart (Bild 21).

Halten Sie den Holm fest, während Sie die Holmarretierung einrasten, um eine Quetschung der Hände zu vermeiden.
Lösen Sie die Holmarretierungen, bis Sie den oberen Holm ungehindert bewegen können.
Klappen Sie den Holm nach vorne entweder in die ganz nach vorne geklappte Stellung, wie in Bild 22 dargestellt.
Important: Verlegen Sie die Kabel an der Außenseite der Holmarretierungen, während Sie den Holm zusammenklappen.

Zum Aufklappen des Holms siehe Aufklappen des Holms.
In der Mähsaison oder außerhalb der Saison können Sie die Maschine in der aufrechten Stellung lagern, um Lagerplatz zu sparen.
In der aufrechten Lagerstellung ist der Boden der Maschine frei.
Entfernen Sie den Akku und den Elektrostartknopf, bevor Sie die Maschine in die aufrechte Lagerstellung bringen.
Transportieren Sie die Maschine nicht in der aufrechten Lagerstellung.
Versuchen Sie nicht, die Maschine in der aufrechten Lagerstellung anzulassen.
Stellen Sie sicher, dass die Schnitthöhe an der Maschine auf 92 mm oder niedriger eingestellt ist. Andernfalls, stellen Sie diese ein, siehe Einstellen der Schnitthöhe.
Lösen Sie die Holmarretierung (Bild 23).

Klappen Sie den Holm ganz nach vorne (Bild 23).
Important: Verlegen Sie beim Zusammenklappen des Holms die Kabel an der Außenseite der Holmhandräder.
Aktivieren Sie die Holmarretierungen.
Heben Sie die Vorderseite der Maschine am Holm an und stellen sie in den Lagerplatz (Bild 24).

Entfernen Sie den Elektrostarttaster und den Akkupack aus der Maschine, bevor Sie die Maschine warten oder reinigen.
Stellen Sie die Maschine ab und warten Sie, bis alle beweglichen Teile zum Stillstand gekommen sind. Lassen Sie die Maschine abkühlen, bevor Sie diese einstellen, reinigen, verstauen, oder reparieren.
Verwenden Sie nur die vom Hersteller empfohlenen Ersatz- und Zubehörteile.
Prüfen und warten Sie die Maschine regelmäßig. Lassen Sie die Maschine von einem offiziellen Vertragshändler reparieren.
Note: Bestimmen Sie die linke und rechte Seite der Maschine anhand der üblichen Einsatzposition.
| Wartungsintervall | Wartungsmaßnahmen |
|---|---|
| Nach jeder Verwendung |
|
| Jährlich |
|
| Wartungsintervall | Wartungsmaßnahmen |
|---|---|
| Jährlich |
|
Important: Sie benötigen für den richtigen Einbau des Messers einen Drehmomentschlüssel. Wenn Sie keinen Drehmomentschlüssel haben oder diese Arbeit nicht ausführen möchten, wenden Sie sich an einen offiziellen Vertragshändler.
Wechseln Sie das Messer sofort aus, wenn es beschädigt oder gerissen ist. Schärfen Sie die Messerkante, wenn sie stumpf ist oder Einkerbungen aufweist. Wechseln Sie ggf. das Messer aus.
Beim Warten des Messers kann sich das Messer auch bei getrennter Stromversorgung noch bewegen. Das Messer ist scharf; ein Kontakt kann zu schweren Verletzungen führen.
Halten Sie Ihre Hände und Füße von einem beweglichen Messer fern.
Tragen Sie Handschuhe, wenn Sie das Messer warten.
Entfernen Sie den Elektrostarttaster und den Akkupack aus der Maschine.
Stabilisieren Sie das Messer mit einem Holzblock (Bild 25).
Nehmen Sie das Messer ab und bewahren Sie alle Befestigungsschrauben auf (Bild 25).

Setzen Sie das neue Messer und alle Schrauben auf (Bild 26).

Important: Das gebogene Ende des Messers sollte nach oben zum Mähwerkgehäuse zeigen.
Ziehen Sie die Messerschraube mit einem Drehmomentschlüssel auf 88 N·m an.
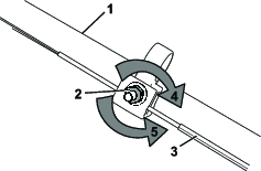
Beim Einbau eines Selbstantriebsseils oder bei einer falschen Einstellung des Selbstantriebs müssen Sie den Selbstantrieb einstellen.
Drehen Sie die Einstellmutter nach links, um die Seileinstellung zu lösen (Bild 27).

Stellen Sie die Spannung des Seils (Bild 27) ein, indem Sie ihn zurückziehen oder nach vorne drücken und dann in dieser Stellung arretieren.
Note: Drücken Sie das Seil zum Motor, um den Antrieb zu erhöhen; ziehen Sie das Seil vom Motor weg, um den Antrieb zu verringern.
Drehen Sie die Mutter nach rechts, um die Seileinstellung anzuziehen.
Note: Ziehen Sie die Mutter mit einem Steckschlüssel oder Schraubenschlüssel fest an.
Important: Decken Sie die Pole des Akkupacks nach dem Ausbau mit extra starkem Klebeband ab. Versuchen Sie nicht, den Akkupack zu zerstören oder auseinanderzubauen oder Teile zu entfernen.
Informationen zum verantwortungsvollen Recyceln des Akkus erhalten Sie bei Ihrer örtlichen Stadtverwaltung, Abfallwirtschaftsamt oder Ihrem autorisierten Vertragshändler.
Important: Lagern Sie die Maschine, den Akkupack und das Ladegerät nur bei Temperaturen im angemessenen Bereich, siehe Technische Daten.
Important: Wenn Sie den Akkupack für die Nebensaison aufbewahren, laden Sie ihn soweit auf, bis 2 oder 3 LED-Anzeigebalken auf dem Akku grün leuchten. Lagern Sie ein ganz aufgeladenes oder ganz leeres Akku nicht ein. Wenn Sie die Maschine wieder verwenden möchten, laden Sie den Akkupack auf, bis die linke Anzeigeleuchte am Ladegerät grün leuchtet oder alle vier LED-Anzeigen am Akku grün leuchten.
Trennen Sie die Maschine von der Stromversorgung (d. h. entfernen Sie den Akkupack und den elektrischen Startknopf) und prüfen Sie die Maschine nach der Verwendung auf Schäden.
Bewahren Sie die Maschine oder das Ladegerät mit eingebautem Akkupack auf.
Entfernen Sie alle Fremdkörper vom Produkt.
Lagern Sie die Maschine, den Elektrostarttaster, den Akkupack und das Ladegerät außerhalb der Reichweite von Kindern.
Bewahren Sie die Maschine, den Akkupack und das Akkuladegerät nicht zusammen mit Ätzmitteln auf, wie z. B. Gartenchemikalien und Enteisungssalzen.
Um die Gefahr schwerer Verletzungen zu minimieren, lagern Sie den Akkupack nicht außerhalb oder innerhalb von Fahrzeugen.
Lagern Sie das Gerät, den Akkupack und das Akkuladegerät an einem sauberen und trockenen Ort.
Führen Sie nur die in dieser Anleitung beschriebenen Schritte aus. Alle weiteren Prüfungen, Wartungsarbeiten und Reparaturen müssen von einem offiziellen Kundendienstzentrum oder einem ähnlich qualifizierten Fachmann ausgeführt werden, wenn Sie das Problem nicht selbst beheben können.
| Problem | Possible Cause | Corrective Action |
|---|---|---|
| Die Maschine startet nicht. |
|
|
| Die Maschine läuft nicht oder nicht durchgehend. |
|
|
| Die Maschine erreicht seine Höchstleistung nicht. |
|
|
| Der Akkupack entlädt sehr schnell. |
|
|
| Das Ladegerät funktioniert nicht. |
|
|
| Der Selbstantrieb der Maschine funktioniert nicht. |
|
|
| Die LED-Anzeigeleuchte am Ladegerät leuchtet rot. |
|
|
| Die LED-Anzeigeleuchte am Ladegerät blinkt rot. |
|
|
| Die Maschine gibt einen Signalton aus. |
|
|
| Die Schnittqualität ist schlechter bzw. nicht zufriedenstellend. |
|
|
| Das Grassammelvermögen hat sich verschlechtert bzw. ist nicht zufriedenstellend. |
|
|
| Die Maschine schneidet ungleichmäßig. |
|
|
| Die Maschine weist Vibrationen auf. |
|
|