| Intervalo de mantenimiento y servicio | Procedimiento de mantenimiento |
|---|---|
| Después de cada uso |
|
Esta segadora manual de cuchillas rotativas está diseñada para que la utilicen operadores profesionales contratados. Está diseñada principalmente para segar césped bien mantenido en zonas verdes residenciales o comerciales. Se ha diseñado para utilizarse con las baterías de iones de litio Flex-Force Power System® 60 V Estas baterías se han diseñado para cargarse únicamente con cargadores de baterías de iones de litio Flex-Force™ 60 V. El uso de estos productos para propósitos diferentes a los previstos puede ser peligroso para usted y para otras personas.
Lea este manual detenidamente para aprender a utilizar y mantener correctamente su producto, así como para evitar lesiones y daños al producto. Usted es el responsable de operar el producto de forma correcta y segura.
Visite www.Toro.com para obtener más información, incluidos consejos de seguridad, materiales de formación, información sobre accesorios, ayuda para encontrar a un distribuidor o para registrar su producto.
Cuando necesite asistencia técnica, piezas genuinas Toro o información adicional, póngase en contacto con un distribuidor Toro autorizado o con el servicio de Asistencia al Cliente Toro, y tenga a mano los números de modelo y serie de su producto. Figura 1 identifica la ubicación en el producto de los números de modelo y de serie. Escriba los números en el espacio provisto.

Anote a continuación los números de modelo y de serie de su producto:
El símbolo de alerta de seguridad (Figura 2) aparece tanto en este manual como en la máquina para identificar mensajes de seguridad importantes que deben seguirse con el fin de evitar accidentes.

El símbolo de alerta de seguridad aparece encima de información que le avisa de situaciones o acciones no seguras e irá seguido del término PELIGRO, ADVERTENCIA, o PRECAUCIÓN.
PELIGRO indica una situación peligrosa inminente que, si no se evita, provocará la muerte o lesiones graves.
ADVERTENCIA indica una situación potencialmente peligrosa que, si no se evita, podría producir la muerte o lesiones graves.
PRECAUCIÓN indica una situación potencialmente peligrosa que, si no se evita, puede producir lesiones menores o moderadas.
Este manual utiliza dos palabras más para resaltar información. Importante llama la atención sobre información mecánica especial, y Nota resalta información general que merece una atención especial.
No manipule ni desactive los dispositivos de seguridad de la máquina, y compruebe su funcionamiento regularmente. No intente ajustar ni manipular el control de velocidad del motor; si lo hace, puede crear condiciones inseguras que pueden provocar lesiones personales.
Este producto cumple todas las directivas europeas aplicables; si desea más detalles, consulte la Declaración de Conformidad (Declaration of Conformity – DOC) de cada producto.
CALIFORNIA
Advertencia de la Propuesta 65
El cable eléctrico de este producto contiene plomo, que el Estado de California sabe que causa defectos congénitos u otros peligros para la reproducción. Lávese las manos después de manejar el material.
El uso de este producto puede provocar la exposición a sustancias químicas que el Estado de California considera causantes de cáncer, defectos congénitos u otros trastornos del sistema reproductor.
Lea todas las advertencias de seguridad, instrucciones, ilustraciones y especificaciones proporcionadas con esta herramienta eléctrica. En caso de no seguir todas las instrucciones indicadas a continuación, se pueden producir descargas eléctricas, incendios y/o lesiones graves.
Guarde todas las advertencias e instrucciones para poder consultarlas en el futuro.
El término “herramienta eléctrica” que aparece en las advertencias se refiere siempre a una herramienta accionada por el suministro eléctrico de la red (con cable) o una herramienta eléctrica accionada por batería (inalámbrica).
Seguridad de la zona de trabajo
Mantenga la zona de trabajo limpia y bien iluminada. Las zonas desordenadas u oscuras son proclives a accidentes.
No utilice herramientas eléctricas en atmósferas explosivas como, por ejemplo, en presencia de líquidos inflamables, gases o polvo. Las herramientas eléctricas generan chispas que pueden inflamar el polvo o los vapores.
Mantenga alejados a los niños y a otras personas mientras utiliza una herramienta eléctrica. Las distracciones pueden hacer que pierda el control.
Seguridad eléctrica
El enchufe de la herramienta eléctrica debe ser del tipo correcto para la toma de corriente. No modifique nunca el enchufe de ningún modo. No utilice enchufes adaptadores con una herramienta eléctrica con toma de tierra. Los enchufes sin modificar y las tomas correspondientes reducirán el riesgo de descarga eléctrica.
Evite el contacto del cuerpo con superficies conectadas a tierra, como conductos, radiadores, cocinas y frigoríficos. Hay un mayor riesgo de descarga eléctrica si el cuerpo está conectado a tierra.
No exponga las herramientas eléctricas a la lluvia o a condiciones húmedas. Si entra agua en una herramienta eléctrica, el riesgo de descarga eléctrica aumentará.
No maltrate el cable. No utilice el cable nunca para transportar, arrastrar o desenchufar la herramienta eléctrica. Mantenga el cable alejado del calor, de aceite, de bordes cortantes y de piezas móviles. Los cables dañados o enredados aumentan el riesgo de descarga eléctrica.
Si utiliza la herramienta eléctrica en el exterior, utilice un cable alargador adecuado para el uso en exteriores. El uso de un cable apto para exteriores reduce el riesgo de descarga eléctrica.
Si no es posible evitar el uso de la herramienta eléctrica en un lugar húmedo, utilice un suministro eléctrico protegido por un dispositivo de corriente residual (interruptor diferencial). El uso de un dispositivo de corriente residual reduce el riesgo de descarga eléctrica.
Seguridad personal
Manténgase alerta, esté atento a lo que está haciendo y aplique el sentido común mientras utiliza una herramienta eléctrica. No utilice una herramienta eléctrica si está cansado o bajo el efecto de drogas, alcohol o medicamentos. Una breve falta de atención mientras utiliza herramientas eléctricas podría provocar lesiones personales graves.
Utilice equipos de protección personal. Lleve siempre protección ocular. El uso de equipos de protección personal como mascarillas, calzado de seguridad antideslizante, casco o protección auditiva en condiciones apropiadas, reducirá el riesgo de sufrir lesiones personales.
Evite el arranque no intencionado de la máquina. Asegúrese de que el interruptor esté en la posición de apagado antes de conectar la herramienta a la toma de corriente y/o a la batería y antes de levantar o transportar la herramienta. Transportar las herramientas eléctricas con el dedo en el interruptor o enchufar herramientas con el interruptor activado aumenta el riesgo de sufrir accidentes.
Retire cualquier llave de ajuste antes de encender la herramienta eléctrica. Si se deja una llave insertada en una parte rotativa de la herramienta eléctrica puede dar lugar a lesiones personales.
No se estire demasiado. Pise firme y mantenga el equilibrio en todo momento. Esto permite tener un mayor control de la herramienta eléctrica en situaciones imprevistas.
Lleve ropa adecuada. No lleve prendas o joyas sueltas. Mantenga el pelo y la ropa alejados de las piezas móviles. La ropa suelta, las joyas o el pelo largo pueden quedar atrapados en las piezas móviles.
Si existen dispositivos para la conexión de sistemas de recogida y extracción de polvo, asegúrese de conectarlos y usarlos correctamente. El uso de sistemas de extracción de polvo puede reducir los peligros relacionados con el polvo.
No deje que la familiaridad adquirida con el uso frecuente de las herramientas le haga confiarse demasiado y pasar por alto los principios de seguridad de las herramientas. Un descuido puede producir lesiones graves en una fracción de segundo.
Uso y cuidado de las herramientas eléctricas
No fuerce la herramienta eléctrica. Utilice la herramienta eléctrica adecuada para el trabajo que debe realizarse. La herramienta eléctrica correcta realizará el trabajo mejor y con mayor seguridad a la velocidad para la que se ha diseñado.
No utilice la herramienta eléctrica si con el interruptor no se enciende ni se apaga. Cualquier herramienta eléctrica que no pueda controlarse con el interruptor es peligrosa y debe repararse.
Desconecte el enchufe del suministro eléctrico y/o extraiga la batería de la herramienta eléctrica, si es extraíble, antes de realizar cualquier ajuste, cambiar de accesorio o guardar herramientas eléctricas. Estas medidas de seguridad preventivas reducen el riesgo de un arranque accidental de la herramienta eléctrica.
Si no las está usando, guarde las herramientas eléctricas fuera del alcance de los niños y no permita que las utilicen personas no familiarizadas con ellas o con estas instrucciones de uso. Las herramientas eléctricas son peligrosas en manos de usuarios inexpertos.
Mantenga debidamente las herramientas eléctricas y los accesorios. Compruebe que las piezas móviles estén correctamente alineadas y que se mueven libremente sin agarrotarse, que no haya piezas rotas y que no existan otras circunstancias que puedan afectar al uso de la herramienta eléctrica. Si existen daños, haga reparar la herramienta eléctrica antes de usarla. Muchos accidentes se producen por herramientas eléctricas con un mantenimiento deficiente.
Mantenga las herramientas de corte afiladas y limpias. Las herramientas de corte mantenidas debidamente con bordes afilados tienen menos posibilidades de agarrotarse y son más fáciles de controlar.
Utilice la herramienta eléctrica, los accesorios, las brocas, etc., según lo indicado en estas instrucciones, teniendo en cuenta las condiciones de trabajo y la tarea que deba realizarse. El uso de la herramienta eléctrica para operaciones diferentes de las previstas podría dar lugar a una situación de peligro.
Mantenga los manillares y las superficies de agarre secos, limpios y libres de aceite y grasa. Un manillar o una superficie de agarre resbaladiza no permite manejar y controlar la máquina con seguridad en situaciones imprevistas.
Uso y cuidado de las herramientas con batería
Recargue la batería únicamente con el cargador especificado por el fabricante. Un cargador diseñado para un tipo de batería puede suponer un riesgo de incendio si se utiliza con otra batería.
Utilice herramientas eléctricas únicamente con las baterías específicas indicadas. El uso de otras baterías puede crear un riesgo de incendio y lesiones.
Cuando la batería no esté en uso, manténgala alejada de otros objetos metálicos como, por ejemplo, clips, monedas, llaves, clavos, tornillos u otros objetos metálicos pequeños que podrían hacer una conexión entre un terminal y otro. Un cortocircuito entre los terminales de la batería puede causar quemaduras o un incendio.
En condiciones abusivas, la batería puede expulsar líquido; evite el contacto con el mismo. En caso de un contacto accidental, lave la zona con abundante agua. Si el líquido entra en contacto con los ojos, busque también ayuda médica. El líquido expulsado de la batería puede causar irritación o quemaduras.
No utilice una batería o una herramienta dañada o modificada. Las baterías dañadas o modificadas podrían mostrar un comportamiento impredecible que puede provocar incendio, explosión o riesgo de lesiones.
No exponga una batería o una herramienta al fuego o a temperaturas excesivas. La exposición al fuego o a temperaturas superiores a los 130 °C puede causar una explosión.
Siga todas las instrucciones de carga y no cargue la batería o la herramienta si la temperatura está fuera del intervalo especificado en las instrucciones. Cargar la batería o la herramienta de forma incorrecta o a temperaturas que estén fuera del intervalo especificado puede dañar la batería y aumentar el riesgo de incendio.
Mantenimiento
El mantenimiento y las reparaciones de la herramienta eléctrica debe realizarlos un técnico de reparaciones debidamente cualificado y utilizando únicamente piezas de repuesto idénticas. Solo de esta manera se garantiza el mantenimiento de la seguridad de la herramienta eléctrica.
No repare nunca baterías dañadas. El mantenimiento de las baterías solo debe realizarlo el fabricante o un servicio técnico autorizado.
No utilice la segadora con lluvia o en condiciones húmedas. Esto puede aumentar el riesgo de descarga eléctrica.
No utilice la segadora en condiciones meteorológicas adversas, especialmente si hay riesgo de rayos. Esto reduce el riesgo de que le alcance un rayo.
Inspeccione detenidamente el área en la que va a utilizar la segadora por si hay fauna en dicha zona. El uso de la segadora puede lesionar a la fauna existente.
Inspeccione detenidamente la zona en la que va a utilizar la segadora y retire cualquier piedra, palo, alambre, huesos u otros objetos extraños. Los objetos arrojados pueden producir lesiones personales.
Antes de usar la segadora, inspeccione siempre visualmente que la cuchilla y el conjunto de cuchillas no estén desgastados o dañados. Las piezas desgastadas o dañadas aumentan el riesgo de sufrir lesiones.
Inspeccione con frecuencia el recogedor de hierba por si existe desgaste o deterioro. Un recogedor de hierba desgastado o dañado puede aumentar el riesgo de sufrir lesiones personales.
Mantenga colocados los protectores. Los protectores deben estar en buen estado de funcionamiento y estar montados correctamente. Un protector suelto, dañado o que no funcione correctamente puede producir lesiones personales.
Mantenga todas las entradas de aire de refrigeración libres de residuos. Las entradas de aire bloqueadas y los residuos pueden producir un sobrecalentamiento o suponer riesgo de incendio.
Mientras utilice la segadora, lleve siempre calzado de protección antideslizante. No haga funcionar la segadora estando descalzo, o llevando sandalias. Así reduce la posibilidad de sufrir lesiones en los pies por el contacto con la cuchilla en movimiento.
Al utilizar la segadora, lleve siempre pantalones largos. La piel expuesta aumenta la posibilidad de sufrir lesiones por objetos arrojados.
No utilice la segadora en hierba húmeda. Camine, nunca corra. Así reduce el riesgo de tropezar y caer, lo que puede producir lesiones personales.
No utilice la segadora en pendientes excesivamente pronunciadas. Así reduce el riesgo perder el control, tropezar y caer, lo que puede producir lesiones personales.
Al trabajar en pendientes, asegúrese siempre de pisar debidamente, trabaje siempre de lado a lado, nunca de arriba a abajo, y extreme la precaución al cambiar de dirección. Así reduce el riesgo perder el control, tropezar y caer, lo que puede producir lesiones personales.
Extreme las precauciones al ir hacia atrás o tirar de la segadora hacia usted. Esté siempre atento a su entorno. Esto reduce el riesgo de tropiezos durante el funcionamiento.
No toque las cuchillas ni otras piezas peligrosas mientras estén en movimiento. Así se reduce el riesgo de sufrir lesiones por piezas móviles.
Antes de eliminar material atascado o limpiar la segadora, asegúrese de que todos los interruptores de corriente estén desconectados y de que la batería se haya desconectado. El funcionamiento inesperado de la segadora puede provocar lesiones personales graves.
Formación
El operador de la máquina es responsable de cualquier accidente o peligro que afecte a otras personas o a su propiedad.
No deje que los niños utilicen o jueguen con la máquina, la batería o el cargador de la batería; la normativa local puede restringir la edad del operador.
No permita que personas con capacidad física, sensorial o mental reducida, o sin experiencia y conocimientos, utilicen la máquina, la batería o el cargador de la batería a menos que reciban instrucciones o supervisión sobre su uso seguro y comprendan los peligros que conlleva su uso.
Antes de utilizar la batería y el cargador de la batería, lea todas las instrucciones y símbolos de advertencia de estos productos.
Preparación
Sustituya cualquier pegatina que esté dañada o ilegible.
Utilice únicamente la batería especificada por Toro. El uso de otros accesorios puede aumentar el riesgo de incendio y lesiones.
Si se enchufa el cargador de batería en una toma que no sea del voltaje adecuado, puede producirse un incendio o una descarga eléctrica. En el caso de un estilo diferente de conexión, utilice un adaptador de enchufe del tipo correcto, si es necesario.
No utilice la batería o el cargador de la batería si están dañados o modificados, porque podrían mostrar un comportamiento impredecible con resultado de incendio, explosión o riesgo de lesiones.
Si el cable de alimentación del cargador de la batería está dañado, póngase en contacto con un Servicio Técnico Autorizado para cambiarlo.
No utilice baterías no recargables.
Cargue la batería únicamente con el cargador de batería especificado por Toro. Un cargador diseñado para un tipo determinado de batería puede crear un riesgo de incendio si se utiliza con otra batería.
Cargue la batería únicamente en una zona bien ventilada.
No exponga la batería o el cargador al fuego o a temperaturas superiores a 68 °C.
Siga todas las instrucciones de carga y no cargue la batería si la temperatura está fuera del intervalo especificado en las instrucciones. De lo contrario, podría dañar la batería y aumentar el riesgo de incendio.
Funcionamiento
No se acerque a los orificios de descarga.
Desengrane la transmisión autopropulsada (si está instalada) antes de arrancar la máquina.
Evite el arranque accidental – asegúrese de que el botón de arranque eléctrico se retira del encendido antes de conectar la batería y manejar la máquina.
Detenga la máquina, retire el botón de arranque eléctrico, retire la batería de la máquina y espere a que se detenga todo movimiento antes de revisar o de limpiar la máquina.
Retire la batería y el botón de arranque eléctrico de la máquina antes de dejarla desatendida o antes de cambiar de accesorio.
No dirija el material de descarga hacia una persona. Evite la descarga de material contra una pared u obstrucción, ya que el material podría rebotar hacia usted. Pare la cuchilla o las cuchillas al cruzar superficies de grava.
Esté alerta a agujeros, surcos, montículos, rocas u otros objetos ocultos. El terreno irregular podría hacer que pierda el equilibrio.
Si la máquina golpea un objeto o empieza a vibrar, apague inmediatamente la máquina, retire el botón de arranque eléctrico, retire la batería y espere a que se detenga todo movimiento antes de examinar la máquina en busca de daños. Haga todas las reparaciones necesarias antes de volver a utilizar la máquina.
Pare la máquina y retire el botón de arranque eléctrico antes de cargar la máquina para el transporte.
En condiciones abusivas, la batería puede expulsar líquido; evite el contacto. En caso de un contacto accidental con el líquido, enjuague con agua. Si el líquido entra en contacto con sus ojos, busque ayuda médica. El líquido expulsado de la batería puede causar irritación o quemaduras.
Mantenimiento y almacenamiento
Detenga la máquina, retire el botón de arranque eléctrico, retire la batería de la máquina y espere a que se detenga todo movimiento antes de revisar o de limpiar la máquina.
No intente reparar la máquina, salvo con arreglo a lo indicado en las instrucciones. Haga que un Servicio Técnico Autorizado realice el mantenimiento de la máquina usando piezas de repuesto idénticas.
Afile una cuchilla roma en ambos lados para mantener el equilibrio. Limpie la cuchilla y asegúrese de que está equilibrada.
Al realizar el mantenimiento de la cuchilla, sepa que la cuchilla puede moverse incluso si la fuente de alimentación está apagada.
Para obtener el mejor rendimiento, utilice solamente piezas y accesorios genuinos de Toro. Otros accesorios y piezas de repuesto podrían ser peligrosos, y dicho uso podría invalidar la garantía del producto.
Mantenga la máquina correctamente – mantenga los filos de corte afilados y limpios para obtener el mejor rendimiento y la mayor seguridad. Mantenga los manillares secos, limpios y libres de aceite y grasa. Mantenga los protectores colocados y en buen estado de funcionamiento. Mantenga las cuchillas afiladas. Utilice únicamente cuchillas de repuesto idénticas.
A menos que se indique lo contrario en las instrucciones, haga que un Servicio Técnico Autorizado repare o sustituya cualquier protector o componente dañado.
Cuando la batería no esté en uso, manténgala alejada de objetos metálicos como, por ejemplo, clips, monedas, llaves, clavos y tornillos que podrían hacer una conexión entre un terminal y otro. Un cortocircuito entre los terminales de la batería puede causar quemaduras o un incendio.
Compruebe frecuentemente que los pernos de montaje de la cuchilla y del motor están bien apretados.
PRECAUCIÓN – Una batería utilizada de forma incorrecta puede presentar riesgo de incendio o de quemadura química. No desmonte la batería. No caliente la batería a más de 68 °C ni la incinere. Sustituya la batería únicamente con una batería Toro genuina; el uso de otro tipo de batería podría provocar un incendio o una explosión. Mantenga las baterías fuera del alcance de los niños y en el embalaje original hasta su uso.
No tire la batería usada al fuego. La celda puede explosionar. Compruebe si la normativa local contiene alguna instrucción especial sobre la eliminación de las baterías.
![]() |
Las calcomanías e instrucciones de seguridad están a la vista del operador y están ubicadas cerca de cualquier zona de peligro potencial. Sustituya cualquier calcomanía que esté dañada o que falte. |
|
Símbolo de cargador o batería |
Explicación |
![]() |
Lea el Manual del operador. |
![]() ![]() |
Póngase en contacto con las autoridades municipales o con el Servicio Técnico Autorizado o el distribuidor si desea obtener más información sobre cómo reciclar la batería de forma responsable. |






Important: En el momento de la compra la batería no está totalmente cargada. Antes de utilizar la máquina por primera vez, consulte Carga de la batería.
Piezas necesarias en este paso:
| Fijaciones de montaje (no incluidas) | 2 |
Si lo desea, monte el cargador de la batería firmemente en la pared utilizando los orificios de montaje en pared en la parte trasera del cargador.
Móntelo en un espacio interior (tal como un garaje u otro lugar seco), cerca de una toma de corriente y fuera del alcance de los niños.
Consulte la Figura 3 para obtener asistencia sobre el montaje del cargador.
Coloque el cargador sobre las fijaciones correctamente posicionadas para fijarlo en su lugar (fijaciones no incluidas).

Si pliega o despliega el manillar de forma incorrecta, pueden dañarse los cables, creando unas condiciones de operación inseguras.
No dañe el/los cable(s) al plegar o desplegar el manillar.
Asegúrese de colocar el/los cable(s) en el exterior del manillar.
Si un cable está dañado, póngase en contacto con el Servicio Técnico Autorizado.
Important: Sostenga el manillar al accionar los bloqueos del manillar para evitar atraparse las manos.






| Modelo | 81875 | ||
| Capacidad de la batería | 7,5 Ah | ||
| 405 Wh | |||
|
Voltaje según el fabricante de la batería = 60 V máximo y 54 V nominal. El voltaje real depende de la carga. |
|||
| Modelo | 81802 | |
| Tipo | Cargador de baterías de iones de litio 60 V MAX | |
| Entrada | 100 a 240 V CA ~2,0 A 50/60 Hz | |
| Salida | 60 V CC 2,0 A MÁX. |
|
| Cargue/guarde la batería a | 5 °C a 40 °C * |
| Utilice la batería a | -30 °C a 49 °C * |
| Utilice la máquina a | 0 °C a 49 °C * |
*El tiempo de carga será mayor si la temperatura no está dentro de este intervalo durante la carga.
Guarde la máquina, la batería y el cargador en un lugar cerrado, limpio y seco.
Está disponible una selección de aperos y accesorios homologados por Toro que se pueden utilizar con la máquina a fin de potenciar y aumentar sus prestaciones. Póngase en contacto con su Servicio Técnico Autorizado o con su distribuidor autorizado Toro, o visite www.Toro.com para obtener una lista de todos los aperos y accesorios homologados.
Para asegurar un rendimiento óptimo y mantener la certificación de seguridad de la máquina, utilice solamente piezas y accesorios genuinos Toro. Las piezas de repuesto y los accesorios de otros fabricantes podrían ser peligrosos.
Note: Los lados derecho e izquierdo de la máquina se determinan desde la posición normal del operador.
Important: Utilice la batería solo a temperaturas que estén dentro del intervalo apropiado; consulte Especificaciones.
Compruebe que los orificios de ventilación de la batería están libres de polvo y residuos.
Levante la tapa del compartimento de la batería (Figura 10, A).
Alinee el hueco de la batería con la lengüeta de la máquina, e introduzca la batería en el compartimento hasta que se enganche en su sitio (Figura 10, B).
Cierre la tapa del compartimento de la batería (Figura 10, C).
Note: Si la tapa del compartimento de la batería no se cierra por completo, la batería no está correctamente instalada.

Usted puede elevar o bajar el manillar hasta una posición que le sea cómoda.
Gire el bloqueo del manillar, mueva el manillar a una de las dos posiciones posibles y bloquee el manillar en esa posición (Figura 11).

Al ajustar la altura de corte, podría tocar una cuchilla en movimiento con las manos, lo que podría causarle graves lesiones.
Apague el motor, retire la batería, y espere a que se detengan todas las piezas en movimiento antes de ajustar la altura de corte.
No ponga los dedos debajo de la carcasa al ajustar la altura de corte.
Ajuste la altura de corte según desee. Ajuste todas las ruedas a la misma altura de corte (Figura 12).

Asegúrese de que la batería está instalada en la máquina; consulte Instalación de la batería.
Note: Si la tapa del compartimento de la batería no se cierra por completo, la batería no está correctamente instalada.
Introduzca el botón de arranque eléctrico en el interruptor de arranque eléctrico (Figura 13, A).
Apriete la barra de control de la cuchilla contra el manillar (Figura 13, B).
Pulse el botón de arranque eléctrico y manténgalo pulsado hasta que el motor arranque (Figura 13, C).

Para activar el sistema de autopropulsión, simplemente camine con las manos sobre el manillar superior y los codos junto al cuerpo, y la máquina mantendrá automáticamente su misma velocidad (Figura 14).

Note: Si la máquina no rueda libremente hacia atrás después de usar la autopropulsión, deténgase, deje las manos en su sitio, y deje que la máquina ruede unos centímetros hacia adelante para desengranar la transmisión de las ruedas. También puede intentar poner la mano sobre el manillar metálico situado justo debajo del manillar superior y empujar la máquina hacia adelante unos centímetros/pulgadas. Si la máquina no rueda fácilmente hacia atrás, póngase en contacto con el Servicio Técnico Autorizado.
Esta máquina tiene dos ajustes de velocidad de la cuchilla: AUTO y MAX.
Cuando se ajusta a la posición AUTO, la velocidad de la cuchilla se ajusta automáticamente para mejorar la eficacia; se detecta cualquier cambio en las condiciones de corte y se aumenta la velocidad de la cuchilla en caso de necesidad para mantener la calidad de corte.
En la posición MAX, se mantiene la velocidad máxima de la cuchilla en todo momento.
Gire el botón de arranque eléctrico en el interruptor de arranque eléctrico a cualquiera de las dos posiciones para establecer el ajuste de velocidad de la cuchilla (Figura 15).

Suelte la barra de control de la cuchilla (Figura 16, A).
Retire el botón de arranque eléctrico del interruptor de arranque eléctrico (Figura 16, B).
Retire la batería; consulte Cómo retirar la batería de la máquina.
Note: Cuando no vaya a usar la máquina, retire la batería.

Levante la tapa del compartimento de la batería.
Presione el cierre de la batería para liberar la batería, y retire la batería.
Cierre la tapa del compartimento de la batería.
Su máquina viene preparada de fábrica para reciclar, es decir, para picar los recortes de hierba y hojas y devolverlos al césped.
Important: Asegúrese de que el tapón trasero está bloqueado en su sitio. Para bloquear el tapón, eleve el deflector trasero. (Figura 17, A) y presione firmemente hasta que encaje en su lugar (Figura 17, B).

Note: Para desbloquear el tapón trasero, gire la palanca del tapón a la derecha (Figura 18).
Utilice el recogedor si desea recoger los recortes de hierba y las hojas del césped.
Note: De forma predeterminada, esta máquina está equipada con una cuchilla económica para mejorar el tiempo de funcionamiento; además, incluye una cuchilla opcional de alto rendimiento para mejorar el ensacado y el rendimiento. Antes del ensacado, instale la cuchilla de alto rendimiento; consulte Cambio de la cuchilla.
Apague la máquina y espere a que se detengan todas las piezas en movimiento; consulte Apagado de la máquina.
Retire la batería de la máquina; consulte Cómo retirar la batería de la máquina.
Levante y sujete el deflector trasero (Figura 18, A).
Retire el tapón de descarga trasera presionando el enganche hacia dentro con el dedo pulgar y extrayendo el tapón de la máquina (Figura 18, B y C).
Inserte los extremos de la varilla de la bolsa en las muescas de la base del manillar, y mueva la bolsa hacia adelante y hacía atrás para verificar que los extremos de la varilla están asentados en el fondo de cada muesca (Figura 18, D).
Baje el deflector trasero hasta que descanse sobre el recogedor.

La máquina puede arrojar recortes de hierba y otros objetos por cualquier hueco que haya en la carcasa de la máquina. Los objetos arrojados con suficiente fuerza podrían causar lesiones personales graves o la muerte a usted o a otras personas.
Después de retirar la bolsa de recogida, no arranque nunca la máquina sin tener instalado en la máquina el tapón de descarga.
No abra nunca el deflector trasero de la máquina con la máquina en marcha.
Inspeccione la zona en la que va a utilizar la máquina y retire cualquier objeto que pudiera ser arrojado por la máquina.
Evite golpear objetos sólidos con la cuchilla. No siegue nunca por encima de objeto alguno.
Si la máquina golpea un objeto o empieza a vibrar, apáguela inmediatamente, espere a que se detengan todas las piezas en movimiento, retire la batería e inspeccione la máquina en busca de daños.
Para obtener el mejor rendimiento, instale una cuchilla nueva Toro antes de que empiece la temporada de siega, o cuando sea necesario.
Corte solamente un tercio de la hoja de hierba cada vez. Para mejorar la calidad de corte, la autonomía y el ensacado, siegue a una altura de corte mayor.
No corte con un ajuste inferior a 51 mm a menos que la hierba sea escasa, o a finales del otoño cuando el ritmo de crecimiento de la hierba empieza a decaer.
Cuando corte hierba de más de 15 cm de alto, siegue primero usando la altura de corte más alta y camine despacio, luego siegue de nuevo a una altura menor para obtener el mejor aspecto del césped. Si la hierba es demasiado larga, puede atascar la máquina y hacer que se cale el motor.
La hierba mojada y las hojas mojadas tienden a pegarse al suelo, y pueden atascar la máquina o hacer que se cale el motor. Evite segar en condiciones húmedas.
Esté atento al posible riesgo de incendio en condiciones muy secas, siga todas las advertencias locales para casos de incendio y mantenga la máquina libre de hierba seca y residuos de hojas.
Alterne la dirección de corte. Esto ayuda a dispersar los recortes en todo el césped, dando una fertilización más homogénea.
Si el aspecto final del césped no es satisfactorio, pruebe con una o más de las técnicas siguientes:
Cambiar la cuchilla o mandarla a afilar.
Caminar más despacio mientras siega.
Elevar la altura de corte de la máquina.
Cortar el césped con más frecuencia.
Solapar los pasillos de corte en lugar de cortar un pasillo completo en cada pasada.
Después de segar el césped, asegúrese de que la mitad del césped se ve a través de la cobertura de hojas cortadas. Es posible que tenga que hacer más de una pasada por encima de las hojas.
Si hay más de 13 cm de hojas en el césped, siegue a una altura de corte más alta y después vuelva a segar a la altura de corte que desee.
Siegue más despacio si la máquina no corta las hojas suficientemente finas.
Important: En el momento de la compra la batería no está totalmente cargada. Antes de usar la herramienta por primera vez, coloque la batería en el cargador y cárguela hasta que el indicador LED indique que la batería está completamente cargada. Lea todas las precauciones de seguridad.
Important: Cargue la batería solo a temperaturas que estén dentro del intervalo apropiado; consulte Especificaciones.
Note: En cualquier momento, presione el botón del indicador de carga de la batería de la batería para mostrar la carga actual (indicadores LED).
Compruebe que los orificios de ventilación y los terminales de carga de la batería y el cargador no presentan polvo ni residuos.

Alinee el hueco de la batería (Figura 19) con la lengüeta del cargador.
Introduzca la batería en el cargador hasta que esté completamente asentada (Figura 19).
Para retirar la batería, deslice la batería hacia atrás para sacarla del cargador.
Consulte la tabla siguiente para interpretar el indicador LED del cargador de la batería.
| Símbolo de cargador | Luz indicadora | Indica |
![]() | Verde intermitente | La batería se está cargando |
![]() | Verde | La batería está cargada |
![]() | Roja | La batería y/o el cargador de la batería está(n) por encima o por debajo del intervalo de temperatura adecuado |
![]() | Rojo intermitente | Fallo de carga de la batería* |
| Desconectado | No hay batería insertada |
*Consulte si desea más información.
Important: La batería puede dejarse conectada al cargador durante periodos cortos entre usos.Si la batería no se va a utilizar durante periodos más largos, retire la batería del cargador; consulte Antes del almacenamiento.
| Intervalo de mantenimiento y servicio | Procedimiento de mantenimiento |
|---|---|
| Después de cada uso |
|
Puede soltarse material de debajo de la máquina.
Lleve protección ocular.
Permanezca en la posición de operación (detrás del manillar) cuando el motor está en marcha.
No permita la presencia de otras personas en la zona.
Para obtener resultados óptimos, limpie la máquina inmediatamente después de terminar la siega.
Baje la máquina a la altura de corte más baja. Consulte Ajuste de la altura de corte.
Si el recogedor está instalado, retírelo; consulte Retirada del recogedor.
Lleve la máquina a una superficie plana pavimentada.
Lave la zona que está debajo de la puerta trasera (en su caso), por donde pasan los recortes en su camino desde la parte inferior de la máquina hasta la bolsa de recogida.
Con el motor en marcha y la cuchilla engranada, dirija un chorro de agua por delante de la rueda trasera derecha (Figura 20).

Cuando ya no salgan más recortes, cierre el grifo del agua y mueva la máquina a una zona seca.
Arranque el motor y hágalo funcionar durante unos minutos para que se seque la parte inferior de la máquina.
Apague el motor y deje que se enfríe.
Ponga la máquina en la posición de almacenamiento vertical; consulte Almacenamiento de la máquina en la posición vertical.
Elimine los recortes de hierba de debajo de la máquina con agua.
Si pliega o despliega el manillar de forma incorrecta, pueden dañarse los cables, creando unas condiciones de operación inseguras.
No dañe el/los cable(s) al plegar o desplegar el manillar.
Asegúrese de colocar el/los cable(s) en el exterior del manillar.
Si un cable está dañado, póngase en contacto con el Servicio Técnico Autorizado.
Retire el botón de arranque eléctrico (Figura 21).

Sostenga el manillar al desengranar los bloqueos del manillar para evitar atraparse las manos.
Abra las palancas de bloqueo del manillar hasta que pueda mover libremente la sección superior del manillar.
Pliegue el manillar hacia adelante del todo, como se indica en la Figura 22.
Important: Asegúrese de que los cables quedan por fuera de las palancas de bloqueo del manillar al plegar la sección superior.

Para desplegar el manillar, consulte Cómo desplegar el manillar.
Durante la temporada de siega, o en la temporada de inactividad, puede almacenar la máquina en posición vertical para minimizar el espacio ocupado.
La posición de almacenamiento en vertical expone la parte inferior de la máquina.
Retire la batería y el botón de arranque eléctrico antes de colocar la máquina en posición de almacenamiento en vertical.
No transporte la máquina en la posición de almacenamiento vertical.
No intente arrancar la máquina en la posición de almacenamiento vertical.
Asegúrese de que la altura de corte de la máquina está ajustada a 92 mm o menos. Si no es así, bájela; consulte Ajuste de la altura de corte.
Abra las palancas de bloqueo del manillar (Figura 23).

Pliegue el manillar completamente hacia adelante (Figura 23).
Important: Asegúrese de que los cables quedan por fuera de los pomos del manillar al plegar la sección superior.
Cierre las palancas de bloqueo del manillar.
Levante la parte delantera de la máquina con el manillar y llévela al lugar de almacenamiento (Figura 24).

Retire el botón de arranque eléctrico y la batería de la máquina antes de realizar tareas de mantenimiento o limpieza en la máquina.
Apague siempre la máquina, espere a que se detengan todas las piezas en movimiento y deje que la máquina se enfríe antes de ajustarla, repararla, limpiarla o guardarla.
Utilice únicamente piezas de repuesto y accesorios recomendados por el fabricante.
Inspeccione y revise la máquina de forma regular. La máquina debe ser reparada únicamente por un Servicio Técnico Autorizado.
Note: Los lados derecho e izquierdo de la máquina se determinan desde la posición normal del operador.
| Intervalo de mantenimiento y servicio | Procedimiento de mantenimiento |
|---|---|
| Después de cada uso |
|
| Cada año |
|
| Intervalo de mantenimiento y servicio | Procedimiento de mantenimiento |
|---|---|
| Cada año |
|
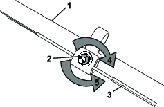
Important: Usted necesitará una llave dinamométrica para instalar la cuchilla correctamente. Si no dispone de una llave dinamométrica o prefiere no realizar este procedimiento, póngase en contacto con el Servicio Técnico Autorizado.
Si la cuchilla está dañada o agrietada, sustitúyala inmediatamente. Si el filo de la cuchilla está romo o mellado, mande a afilar la cuchilla o cámbiela.
Al realizar el mantenimiento de la cuchilla, esta puede moverse incluso si la fuente de alimentación está apagada. La cuchilla está muy afilada; cualquier contacto con la cuchilla puede causar lesiones personales graves.
Mantenga las manos y los pies alejados de una cuchilla en movimiento.
Lleve guantes al realizar el mantenimiento de la cuchilla.
Retire el botón de arranque eléctrico y la batería de la máquina.
Utilice un bloque de madera para inmovilizar la cuchilla (Figura 25).
Retire la cuchilla, conservando todos los herrajes de montaje (Figura 25).

Instale la cuchilla nueva y todos los herrajes de montaje (Figura 26).

Important: Coloque la cuchilla con los extremos curvos hacia arriba, hacia la carcasa de la máquina.
Utilice una llave dinamométrica para apretar el perno de la cuchilla a 88 N·m.
Cada vez que instale un cable de la transmisión autopropulsada nuevo, o si la transmisión autopropulsada está mal ajustada, ajuste la transmisión autopropulsada.
Gire la tuerca de ajuste en sentido antihorario para aflojar el cable (Figura 27).

Ajuste la tensión del cable (Figura 27) tirando del mismo hacia atrás o empujándolo hacia adelante, y manténgalo en esa posición.
Note: Empuje el cable hacia el motor para aumentar la tracción; tire del cable, alejándolo del motor, para reducir la tracción.
Gire la tuerca de ajuste en sentido horario para apretar el ajuste de los cables.
Note: Apriete con firmeza la tuerca con un conector hembra o una llave.
Important: Después de retirarla, cubra los terminales de la batería con cinta adhesiva de servicio pesado. No intente destruir o desmontar la batería ni intente retirar cualquiera de los componentes de la misma.
Póngase en contacto con las autoridades municipales o con su Servicio Técnico Autorizado Toro si desea más información sobre cómo reciclar la batería de forma responsable.
Important: Almacene la máquina, la batería y el cargador solo a temperaturas que estén dentro del intervalo apropiado; consulte Especificaciones.
Important: Si va a almacenar la batería hasta la temporada siguiente, cárguela hasta que 2 o 3 de los indicadores LED de la batería cambien a verde. No almacene la batería completamente cargada ni completamente descargada. Antes de volver a usar la máquina, cargue la batería hasta que se vuelva verde el indicador izquierdo del cargador, o hasta que los 4 indicadores LED de la batería se vuelvan verdes.
Desconecte el producto del suministro de energía (es decir, retire la batería y el botón de arranque eléctrico) y compruebe si hay daños después del uso.
No almacene la máquina o el cargador con la batería instalada.
Limpie cualquier material extraño del producto.
Cuando no se estén utilizando, almacene la máquina, el botón de arranque eléctrico, la batería y el cargador de la batería fuera del alcance de los niños.
Mantenga la máquina, la batería y el cargador de la batería alejados de agentes corrosivos como productos químicos de jardín o sal para deshielo.
Para reducir el riesgo de lesiones personales graves, no almacene la batería en el exterior o en un vehículo.
Guarde la máquina, la batería y el cargador en un lugar cerrado, limpio y seco.
Realice solo los pasos descritos en estas instrucciones. Cualquier otro trabajo de inspección, mantenimiento o reparación debe ser realizado por un Servicio Técnico Autorizado o por un especialista autorizado si no puede solucionar el problema usted mismo.
| Problem | Possible Cause | Corrective Action |
|---|---|---|
| La máquina no arranca. |
|
|
| La máquina no funciona o no funciona de forma continua. |
|
|
| La máquina no alcanza la máxima potencia. |
|
|
| La batería se descarga rápidamente. |
|
|
| El cargador de la batería no funciona. |
|
|
| La máquina no avanza con el sistema de autopropulsión. |
|
|
| El indicador LED del cargador de la batería está rojo. |
|
|
| El indicador LED del cargador de la batería parpadea en rojo. |
|
|
| La máquina produce un pitido. |
|
|
| La calidad de corte es reducida o insatisfactoria. |
|
|
| El ensacado es deficiente o insatisfactorio. |
|
|
| La máquina corta de forma desigual. |
|
|
| La máquina vibra. |
|
|