| Vedligeholdelsesintervaller | Vedligeholdelsesprocedure |
|---|---|
| Efter hver anvendelse |
|
Denne håndplæneklipper med roterende skæreknive er beregnet til brug af professionelle, ansatte operatører. Den er primært beregnet til klipning af græs på velholdte plæner på private eller kommercielle ejendomme. Den er designet til at bruge Flex-Force Power System® 60 V litium-ion-batteripakker. Disse batteripakker er beregnet til kun at blive opladet af Flex-Force™ 60 V litium-ion-batteriopladere. Brug af disse produkter til andre end de tiltænkte formål kan udsætte dig selv og omkringstående for fare.
Læs denne vejledning omhyggeligt, så du kan lære at betjene og vedligeholde produktet korrekt samt undgå person- og produktskade. Det er dit ansvar at betjene produktet korrekt og sikkert.
Besøg www.Toro.com for at få flere oplysninger, herunder sikkerhedstip, undervisningsmaterialer, oplysninger om tilbehør, hjælp til at finde en forhandler eller for at registrere dit produkt.
Når du har brug for service, originale Toro-dele eller yderligere oplysninger, bedes du kontakte en autoriseret Toro-forhandler eller Toros kundeservice samt have produktets model- og serienummer parat. Figur 1 angiver, hvor model- og serienummeret er placeret på produktet. Skriv numrene, hvor der er gjort plads til dette.

Skriv produktets model- og serienummer på linjerne herunder:
Advarselssymbolet (Figur 2), der vises i denne betjeningsvejledning og på maskinen, identificerer vigtige sikkerhedsmeddelelser, som du skal følge for at forhindre ulykker.

Advarselssymbolet vises over oplysninger, der advarer dig om farlige handlinger eller situationer og efterfølges af ordet FARE, ADVARSEL eller FORSIGTIG.
FARE angiver en overhængende farlig situation, som, hvis den ikke undgås, vil medføre dødsfald eller alvorlig personskade.
ADVARSEL angiver en potentielt farlig situation, som, hvis den ikke undgås, kan medføre dødsfald eller alvorlig personskade.
FORSIGTIG angiver en potentielt farlig situation, som, hvis den ikke undgås, kan medføre mindre eller moderat personskade.
Denne betjeningsvejledning bruger yderligere to ord til at fremhæve oplysninger. Vigtigt henleder opmærksomheden på særlige mekaniske oplysninger, og Bemærk angiver generel information, som det er værd at lægge særligt mærke til.
Lav ikke om på og deaktiver ikke sikkerhedsanordninger på maskinen, og kontroller regelmæssigt, at de fungerer korrekt. Forsøg ikke at justere eller lave om på motorhastighedsstyringen, da dette kan føre til en usikker driftstilstand og medføre personskader.
Dette produkt overholder alle relevante EU-direktiver. Yderligere oplysninger fås på den separate produktspecifikke overensstemmelseserklæring.
CALIFORNIEN
Advarsel i henhold til erklæring nr. 65
Netledningen på dette produkt indeholder bly, der ifølge staten Californien forårsager medfødte defekter eller andre forplantningsskader. Vask hænder efter håndtering.
Brug af dette produkt kan medføre eksponering over for kemikalier, der ifølge staten Californien er kræftfremkaldende og giver medfødte defekter eller andre forplantningsskader.
Læs alle sikkerhedsadvarsler, anvisninger, illustrationer og specifikationer, der følger med dette elværktøj. Manglende overholdelse af alle nedenstående anvisninger kan resultere i elektrisk stød, brand og/eller alvorlig personskade.
Gem alle advarsler og anvisninger til senere brug.
Betegnelsen "elværktøj" i advarslerne henviser til dit strømførende elværktøj (med kabel) eller dit batteridrevne (kabelfri) værktøj.
Sikkerhed på arbejdsområdet
Sørg for, at arbejdsområdet er ryddeligt og godt belyst. Ulykker kan lettere ske i rodede eller mørke områder.
Brug ikke elværktøj i eksplosive atmosfærer, som f.eks. i nærheden af brændbare væsker, gasser eller støv. Elværktøj danner gnister, som kan antænde støv eller dampe.
Hold børn og omkringstående væk under betjening af et elværktøj.Distraktioner kan medføre, at du mister kontrollen.
Elsikkerhed
Elværktøjsstikkene skal passe til stikkontakten. Et stik må aldrig ændres på nogen måde. Brug ikke adapterstik med jordet (jordforbundet) elværktøj. Ikke-modificerede stik og matchende stikkontakter reducerer risikoen for elektrisk stød.
Undgå kropskontakt med jordede eller jordforbundne overflader, som f.eks. rør, radiatorer, komfurer og køleskabe. Der er en øget risiko for elektrisk stød, hvis din krop er jordet eller jordforbundet.
Udsæt ikke elværktøj for regn eller våde forhold. Vand, der trænger ind i et elværktøj, øger risikoen for elektrisk stød.
Undlad at bruge ledningen forkert. Brug aldrig ledningen til at bære, trække eller frakoble elværktøjet. Hold ledningen på afstand af varme, olie, skarpe kanter eller bevægelige dele. Beskadigede eller sammenfiltrede ledninger øger risikoen for elektrisk stød.
Brug en forlængerledning, der er egnet til udendørs brug, når du anvender et elværktøj udendørs. Anvendelse af en ledning, der er egnet til udendørs brug, reducerer risikoen for elektrisk stød.
Hvis anvendelse af et elværktøj på et fugtigt sted ikke kan undgås, skal der anvendes en fejlstrømsafbryderbeskyttet strømforsyning. Brug af en fejlstrømsafbryder reducerer risikoen for elektrisk stød.
Personlig sikkerhed
Vær agtpågivende, hold øje med, hvad du foretager dig, og brug sund fornuft, når du betjener et elværktøj. Brug ikke et elværktøj, mens du er træt eller har indtaget alkohol, stoffer eller medicin. Et øjebliks uopmærksomhed under betjening af elværktøj kan resultere i alvorlig personskade.
Brug personlige værnemidler. Bær altid beskyttelsesbriller. Værnemidler, som f.eks. støvmaske, skridsikre sikkerhedssko, beskyttelseshjelm eller høreværn, der bruges ved passende forhold, reducerer personskader.
Undgå utilsigtet start. Sørg for, at kontakten er på positionen OFF (fra), før der tilsluttes strømkilde og/eller batteripakke, og når værktøjet løftes eller flyttes. Der kan ske ulykker, hvis du går rundt med elværktøjer med fingeren på kontakten, eller du tænder for strømmen, når kontakten er slået til.
Fjern evt. justeringsskruer eller -nøgler, inden du tænder for elværktøjet. En skruenøgle eller en skrue, der er fastgjort til en roterende del af elværktøjet, kan medføre personskade.
Undgå at strække dig for meget. Sørg for altid at have ordentligt fodfæste og balance. Dette giver bedre kontrol over elværktøjet i uventede situationer.
Vær iklædt korrekt beklædning. Bær ikke løst tøj eller smykker. Hold hår og tøj væk fra bevægelige dele. Løstsiddende tøj, smykker eller langt hår kan blive fanget i bevægelige dele.
Hvis der medfølger enheder til tilslutning af støvopsugnings- og -opsamlingsfaciliteter, skal det sikres, at disse tilsluttes og anvendes korrekt. Brug af støvopsamling kan reducere støvrelaterede farer.
Ignorer ikke værktøjets sikkerhedsprincipper, selvom du er vant til at arbejde med værktøjet. En skødesløs handling kan forårsage alvorlig personskade inden for en brøkdel af et sekund.
Brug og vedligeholdelse af elværktøj
Brug ikke unødigt mange kræfter til at betjene elværktøjet. Brug det korrekte elværktøj til din anvendelse. Det korrekte elværktøj vil gøre arbejdet bedre og sikrere ved den effekt, som det er konstrueret til.
Brug ikke elværktøjet, hvis kontakten ikke tænder eller slukker for det. Elværktøj, der ikke kan kontrolleres med kontakten, er farligt og skal repareres.
Frakobl strømkildens stik, og/eller fjern batteripakken fra elværktøjet, hvis den kan tages ud, inden du foretager justeringer, skifter tilbehør eller pakker elværktøjet væk. Sådanne forebyggende sikkerhedsforanstaltninger reducerer risikoen for utilsigtet start af elværktøjet.
Opbevar elværktøj, der ikke er i brug, utilgængeligt for børn, og lad ikke personer, som ikke er fortrolige med elværktøjet eller disse anvisninger, bruge elværktøjet. Elværktøj er farligt i hænderne på uerfarne brugere.
Vedligehold elværktøj og tilbehør. Kontrollér, om nogen bevægelige dele sidder skævt eller fast, om nogen dele er gået i stykker, eller om der er andre forhold, som kan forhindre elværktøjet i at fungere. Hvis elværktøjet er beskadiget, skal det repareres før brug. Mange ulykker forårsages af dårligt vedligeholdte elværktøjer.
Hold skæreværktøjer skarpe og rene. Korrekt vedligeholdte skæreværktøjer med skarpe skær er mindre tilbøjelige til at sidde fast og er nemmere at kontrollere.
Brug elværktøjet, tilbehør, drejestål/bits osv. i overensstemmelse med disse anvisninger, idet der tages højde for arbejdsforholdene og det arbejde, der skal udføres. Brug af elværktøjet til andre anvendelser end dem, der er tiltænkt, kan resultere i en farlig situation.
Hold håndtag og greb tørre, rene og fri for olie og fedt. Glatte håndtag og greb giver ikke mulighed for sikker håndtering og kontrol af værktøjet i uventede situationer.
Brug og vedligeholdelse af batteridrevet værktøj
Genoplad kun værktøjet med den oplader, der er angivet af producenten. En oplader, der er egnet til én type batteripakke, kan forårsage brandfare, når den bruges sammen med en anden batteripakke.
Brug kun elværktøjer med batteripakker, der er konstrueret til formålet. Brug af andre batteripakker kan medføre risiko for personskade og brand.
Når batteripakken ikke er i brug, skal den holdes væk fra andre metalgenstande, f.eks. papirclips, mønter, nøgler, søm, skruer eller andre små metalgenstande, der kan slutte en pol til en anden. Kortslutning af batteripolerne kan forårsage forbrændinger eller brand.
Under voldsomme forhold kan væsken lække fra batteriet. Undgå i så fald kontakt. Skyl med vand, hvis der opstår kontakt ved et uheld. Søg også lægehjælp, hvis væsken kommer i kontakt med øjnene. Væske, der lækker fra batteriet, kan forårsage irritation eller forbrændinger.
Brug ikke en batteripakke eller et værktøj, der er beskadiget eller modificeret. Beskadigede eller modificerede batterier kan opføre sig uforudsigeligt og medføre brand, eksplosion eller risiko for personskade.
Udsæt ikke en batteripakke eller et værktøj for åben ild eller høje temperaturer.Udsættelse for brandtemperaturer på over 130 °C kan medføre eksplosion.
Følg alle opladningsanvisninger, og undlad at oplade batteripakken eller værktøjet uden for det temperaturområde, der er angivet i anvisningerne. Forkert opladning eller opladning ved temperaturer uden for det angivne område kan beskadige batteriet og øge risikoen for brand.
Service
Få dit elværktøj vedligeholdt af en kvalificeret reparationstekniker, der kun bruger identiske reservedele. Dette sikrer elværktøjets fortsatte brugssikkerhed.
Vedligehold aldrig beskadigede batteripakker. Vedligeholdelse af batteripakker må kun udføres af producenten eller de autoriserede serviceudbydere.
Brug ikke plæneklipperen i regn eller våde forhold.Dette kan øge risikoen for elektrisk stød.
Brug ikke plæneklipperen under dårlige vejrforhold, især når der er risiko for lynnedslag. Dette reducerer risikoen for at blive ramt af lynet.
Inspicer omhyggeligt området, hvor plæneklipperen skal bruges, for dyreliv.Dyr kan blive kvæstet af plæneklipperen, når den er i drift.
Undersøg nøje området, hvor udstyret skal anvendes, og fjern alle sten, pinde, ledninger, ben og andre fremmedlegemer. Udslyngede genstande kan forårsage personskade.
Før brug af plæneklipperen skal du altid se efter, om skærekniven og skæreknivenheden er slidte eller beskadigede. Slidte eller beskadigede dele øger risikoen for personskade.
Efterse jævnligt græsfanget for slid eller skader.En slidt eller beskadiget græsopsamler kan øge risikoen for personskade.
Sørg for, at afskærmningerne er på plads. Afskærmninger skal være funktionsdygtige og være korrekt monteret. En afskærmning, som er løs, beskadiget eller ikke fungerer korrekt, kan medføre personskade.
Sørg for, at alle køleluftindtagene er fri for snavs. Blokerede luftindtag og snavs kan medføre overophedning eller risiko for brand.
Bær altid skridsikkert og beskyttende fodtøj under betjening af plæneklipperen. Betjen ikke plæneklipperen, når du går med bare fødder eller med åbne sandaler. Dette reducerer risikoen for fodskader som følge af kontakt med den bevægelige skærekniv.
Når du bruger plæneklipperen, skal du altid have lange bukser på. Blotlagt hud øger risikoen for skader forårsaget af udslyngede genstande.
Undlad at betjene plæneklipperen i vådt græs. Gå, løb aldrig. Dette reducerer risikoen for at glide eller falde, hvilket kan medføre personskade.
Betjen ikke maskinen på meget stejle skråninger. Dette reducerer risikoen for at miste kontrollen, glide eller falde, hvilket kan medføre personskade.
Når du arbejder på skråninger, skal du altid være sikker på dit fodfæste, altid arbejde på tværs af skråningerne, aldrig op og ned, og være meget forsigtig, når du skifter retning. Dette reducerer risikoen for at miste kontrollen, glide eller falde, hvilket kan medføre personskade.
Vær yderst forsigtig, når du bakker eller trækker plæneklipperen hen imod dig selv. Vær altid opmærksom på dine omgivelser.Dette reducerer risikoen for at snuble under drift.
Rør ikke ved skæreknive og andre farlige bevægelige dele, mens de stadig er i bevægelse. Dette reducerer risikoen for personskade fra bevægelige dele.
Sluk alle afbrydere, og kobl batteripakken fra, før du fjerner fastsiddende materiale eller rengør plæneklipperen. Uventet igangsætning af plæneklipperen kan medføre alvorlig personskade.
Instruktion
Maskinens operatør er ansvarlig for eventuelle ulykker eller farer, der måtte ramme andre mennesker eller disses ejendom.
Lad ikke børn anvende eller lege med maskinen, batteripakken eller batteriopladeren. Vær opmærksom på, at lokale forskrifter kan angive en mindstealder for operatøren.
Tillad ikke, at personer med nedsatte fysiske, sensoriske eller mentale evner eller personer uden relevant erfaring eller kendskab anvender maskinen, batteriet eller batteriopladeren, medmindre de modtager undervisning eller vejledning i sikker brug af produktet og forstår de farer, der er forbundet med brugen heraf.
Før du tager batteripakken og batteriopladeren i brug, skal du læse samtlige anvisninger og advarselsmærker på disse produkter.
Forberedelser
Udskift beskadigede eller ulæselige mærkater.
Brug kun den batteripakke, der er specificeret af Toro. Brug af andet tilbehør og andre redskaber kan øge risikoen for personskade og brand.
Tilslutning af batteriopladeren til en stikkontakt, der ikke har den korrekte spænding, kan forårsage brand eller elektrisk stød. Vil du bruge en anden tilslutningstype, skal du anvende en tilslutningsstikadapter med den korrekte konfiguration til stikkontakten, hvis det er nødvendigt.
Brug ikke en beskadiget eller modificeret batteripakke eller batterioplader, der kan udvise uforudsigelig adfærd, som kan medføre brand, eksplosion eller risiko for personskade.
Hvis batteriopladerens netledning er beskadiget, skal du kontakte en autoriseret serviceforhandler med henblik på udskiftning.
Der må ikke anvendes ikke-genopladelige batterier.
Batteripakken må udelukkende oplades med den batterioplader, der er angivet af Toro. En oplader, der passer til én type batteripakke, kan skabe brandfare, når den bruges sammen med en anden batteripakke.
Batteripakken må udelukkende oplades i et område med god ventilation.
Udsæt ikke en batteripakke eller en batterioplader for ild eller temperaturer på over 68 °C.
Følg alle opladningsanvisninger, og undlad at oplade batteripakken uden for det temperaturområde, der er angivet i anvisningerne. I modsat fald kan du beskadige batteripakken og øge risikoen for brand.
Betjening
Hold afstand til udblæsningsåbninger.
Deaktiver selvkørselsdrevet (hvis udstyret hermed), før du starter maskinen.
Undgå utilsigtet start – sørg for, at den elektriske startknap er taget ud af tændingen inden tilslutning af batteripakken og håndtering af maskinen.
Stop maskinen, tag den elektriske startknap ud, fjern batteripakken fra maskinen, og vent på, at al bevægelse standser, inden du efterser eller rengør maskinen.
Fjern batteripakken og den elektriske startknap fra maskinen, når du efterlader den uden opsyn, eller før du skifter tilbehør.
Undgå at rette udkastet materiale mod omkringstående personer. Undgå at udkaste materiale mod en mur eller en forhindring. Materialet kan rikochettere tilbage mod dig. Stop kniven(e) på grusbelagte overflader.
Hold udkig efter huller, hjulspor, bump, sten eller andre skjulte genstande. Ujævnt terræn kan medføre, at du mister balance eller fodfæste.
Hvis maskinen rammer en genstand eller begynder at ryste, skal du straks slukke for motoren, tage den elektriske startknap ud, fjerne batteripakken og vente på, at al bevægelse standser, før du efterser maskinen for skader. Foretag alle nødvendige reparationer, inden driften genoptages.
Stop maskinen, og tag den elektriske startknap ud, inden du læsser maskinen med henblik på bugsering.
Ved fejlagtig anvendelse eller ugunstige forhold kan batteripakken sprøjte væske ud – undgå kontakt med denne væske. Hvis du kommer i kontakt med væsken ved et uheld, skal du skylle med vand. Søg lægehjælp, hvis du får væsken i øjnene. Væske, der lækker fra batteripakken, kan forårsage irritation eller forbrændinger.
Vedligeholdelse og opmagasinering
Stop maskinen, tag den elektriske startknap ud, fjern batteripakken fra maskinen, og vent på, at al bevægelse standser, inden du efterser eller rengør maskinen.
Forsøg ikke at reparere maskinen på andre måder, end hvad der er angivet i anvisningerne. Få en autoriseret serviceforhandler til at reparere maskinen ved hjælp af identiske reservedele.
Sløve skæreknive skal slibes på begge sider for at opretholde balancen. Rengør skærekniven, og sørg for, at den er afbalanceret.
Når du efterser skærekniven, skal du være opmærksom på, at den kan blive ved med at bevæge sig, selvom strømkilden er deaktiveret.
For at sikre bedst mulig ydeevne må der kun anvendes originale Toro-reservedele og -tilbehør. Det kan være farligt at anvende andre reservedele og andet tilbehør, og brug heraf kan ugyldiggøre garantien.
Vedligehold maskinen – hold skærekanter skarpe og rene for at opnå den bedste ydeevne og største sikkerhed. Sørg for, at håndtagene holdes tørre, rene og fri for olie og fedt. Sørg for, at afskærmningerne er på plads og i god driftsmæssig stand. Hold skæreknivene skarpe. Brug kun identiske reserveskæreknive.
Medmindre andet er angivet i anvisningerne, skal du få en autoriseret serviceforhandler til at reparere eller udskifte en beskadiget afskærmning eller del.
Når batteripakken ikke er i brug, skal den holdes væk fra metalgenstande såsom papirclips, mønter, nøgler, søm og skruer, der kan oprette en forbindelse fra én pol til en anden. Kortslutning af batteripolerne kan forårsage forbrændinger eller brand.
Kontroller hyppigt, at skæreknivenes og motorens monteringsbolte er tilstrækkeligt stramme.
FORSIGTIG – En forkert håndteret batteripakke kan udgøre en risiko for brand eller kemiske forbrændinger. Batteripakken må ikke skilles ad. Batteripakken må ikke udsættes for temperaturer over 68 °C eller antændes. Batteripakken må udelukkende udskiftes med en original Toro-batteripakke. Brug af en anden type batteripakke kan forårsage brand eller eksplosion. Opbevar batteripakkerne utilgængeligt for børn og i den originale emballage, indtil du er klar til at bruge dem.
Batteriet må ikke destrueres ved forbrænding. Cellen kan eksplodere. Rådfør dig med lokale reglementer for at finde ud af, om der gælder særlige anvisninger for bortskaffelse af batterier.
![]() |
Sikkerheds- og instruktionsmærkaterne kan nemt ses af operatøren, og er placeret tæt på potentielle risikoområder. Beskadigede eller bortkomne mærkater skal udskiftes. |
|
Batteri- eller opladersymbol |
Forklaring |
![]() |
Læs betjeningsvejledningen. |
![]() ![]() |
Kontakt din lokale kommune, din autoriserede serviceforhandler eller lokale distributør for at få flere oplysninger om, hvordan batteriet på ansvarlig vis kan genbruges. |






Important: Batteripakken leveres ikke fuldt opladet. Se Opladning af batteripakken, før maskinen tages i brug første gang.
Dele, der skal bruges til dette trin:
| Fastgørelsesanordninger (medfølger ikke) | 2 |
Hvis du ønsker det, kan batteriopladeren monteres forsvarligt på en væg ved hjælp af nøglehullerne til vægmontering på opladerens bagside.
Monter den indendørs (f.eks. i en garage eller på et andet tørt sted) i nærheden af en stikkontakt og utilgængeligt for børn.
Se Figur 3 for at få hjælp til at montere opladeren.
Skub opladeren hen over de korrekt anbragte fastgørelsesanordninger for at montere opladeren forsvarligt (fastgørelsesanordninger medfølger ikke).

Hvis håndtaget ikke sammenfoldes og udfoldes korrekt, kan kablerne blive beskadiget, hvilket gør, at det ikke er sikkert at betjene plæneklipperen.
Pas på ikke at beskadige kablet/kablerne, når du folder håndtaget sammen eller folder det ud.
Sørg for, at kablet/kablerne føres uden om håndtagets yderside.
Hvis et kabel bliver beskadiget, bedes du kontakte en autoriseret serviceforhandler.
Important: Hold håndtaget, mens du indkobler håndtagslåsene, for at undgå at klemme hænderne.






| Model | 81875 | ||
| Batteripakkens kapacitet | 7,5 Ah | ||
| 405 Wh | |||
|
Batteriproducentens mærkedata: maksimum på 60 V og nominel værdi på 54 V. Den faktiske spænding varierer afhængigt af belastning. |
|||
| Model | 81802 | |
| Type | 60 V MAX-litium-ion-batterioplader | |
| Indgang | 100 til 240 V AC ~2.0 A 50/60 Hz | |
| Udgang | 60 V DC 2.0 A MAX |
|
| Oplad/opbevar batteripakken ved | 5 °C til 40 °C* |
| Anvend batteripakken ved | -30 °C til 49 °C* |
| Anvend maskinen ved | 0 °C til 49 °C* |
* Opladningstiden øges, hvis du ikke oplader batteripakken inden for dette område.
Opbevar maskinen, batteripakken og batteriopladeren på et lukket, rent og tørt område.
Der kan fås en række forskelligt Toro-godkendt redskaber og tilbehør til brug sammen med maskinen, som gør den bedre og mere alsidig. Kontakt en autoriseret serviceforhandler eller autoriseret Toro-forhandler, eller gå ind på www.Toro.com for at få en fortegnelse over alle godkendte redskaber og alt godkendt tilbehør.
Brug kun originale Toro-reservedele og tilbehør for at sikre optimal ydelse og sikre, at maskinen fortsat overholder sikkerhedscertificeringen. Reservedele og tilbehør fremstillet af andre producenter kan være farlige.
Note: Maskinens venstre og højre side er som set fra den normale betjeningsposition.
Important: Brug kun batteripakken ved temperaturer, der ligger inden for det tilladte område. Se Specifikationer.
Sørg for, at ventilationshullerne på batteriet er frie for støv og snavs.
Løft dækslet til batterirummet (A i Figur 10).
Ret fordybningen i batteripakken ind efter tungen på maskinen, og skub batteripakken ind i rummet, indtil den låses fast (B i Figur 10).
Luk dækslet til batterirummet (C i Figur 10).
Note: Hvis dækslet til batterirummet ikke kan lukkes helt, er batteriet ikke monteret korrekt.

Du kan hæve eller sænke håndtaget, så det står i en position, der er behagelig for dig.
Drej håndtagslåsen, sæt håndtaget i en af de to positioner, og lås håndtaget på plads (Figur 11).

Når du justerer klippehøjden, kan dine hænder komme i kontakt med en skærekniv i bevægelse, og dette kan medføre alvorlige personskader.
Sluk motoren, tag batteriet ud, og vent, til alle bevægelige dele er standset, før du justerer klippehøjden.
Sæt ikke hænderne ind under plæneklipperhuset, når du justerer klippehøjden.
Juster klippehøjden som ønsket. Indstil alle hjul til samme klippehøjde (Figur 12).

Sørg for, at batteripakken er monteret i maskinen. Se Montering af batteripakken.
Note: Hvis dækslet til batterirummet ikke kan lukkes helt, er batteriet ikke monteret korrekt.
Sæt den elektriske startknap ind i den elektriske startkontakt (A i Figur 13).
Tryk på bøjlen til skæreknivenes kraftudtag, og hold den mod håndtaget (B i Figur 13).
Tryk på den elektriske startknap, og hold den nede, indtil motoren starter (C i Figur 13).

Du betjener selvkørselsdrevet ved ganske enkelt at gå med hænderne på det øverste håndtag og albuerne langs siden af kroppen. Så holder maskinen automatisk trit med dig (Figur 14).

Note: Hvis maskinen ikke ruller frit tilbage efter selvkørende fremdrift, skal du holde op med at gå, holde hænderne, hvor de er, og lade maskinen rulle nogle få centimeter frem for at udkoble hjultrækket. Du kan også prøve at række ned lige under det øverste håndtag til metalhåndtaget og skubbe maskinen nogle få centimeter fremad. Hvis maskinen stadig ikke ruller frit tilbage, skal du kontakte en autoriseret serviceforhandler.
Denne maskine har 2 indstillinger til skæreknivshastighed: AUTO (automatisk) og MAX (maksimum).
Når skæreknivshastigheden er indstillet til positionen AUTO, justeres den automatisk for at opnå større effektivitet. Ændringer i klippeforholdene registreres, og skæreknivshastigheden øges efter behov for at opretholde klippekvaliteten.
Når skæreknivshastigheden er indstillet til positionen MAX, fastholdes den ved maksimal hastighed.
Drej den elektriske startknap i den elektriske startkontakt til en af positionerne for at justere knivhastighedsindstillingen (Figur 15).

Slip bøjlen til skæreknivenes kraftudtag (A i Figur 16).
Fjern den elektriske startknap fra den elektriske startkontakt (B i Figur 16).
Fjern batteripakken. Se Fjernelse af batteripakken fra maskinen.
Note: Fjern batteripakken, når du ikke bruger maskinen.

Løft dækslet til batterirummet.
Tryk på batteripakkens lås for at frigøre batteripakken, og tag batteripakken ud.
Luk dækslet til batterirummet.
Maskinen er fra fabrikken klar til at findele græs- eller bladafklippet, så det forsvinder ned i plænen igen.
Important: Kontrollér, at bagdækslet er låst på plads. For at låse dækslet skal du hæve den bageste deflektor (A i Figur 17) og skubbe dækslet godt ned, indtil det klikker på plads (B i Figur 17).

Note: Bagdækslet oplåses ved at dreje grebet på dækslet mod højre (Figur 18).
Brug græsopsamleren, når du ønsker at opsamle græs- og bladafklippet fra plænen.
Note: Denne maskine er som standard udstyret med en økonomiskærekniv for forbedret kørselstid. Den inkluderer også en valgfri kvalitetsskærekniv til forbedret opsamling og ydeevne. Monter skærekniven før opsamling. Se Udskiftning af skærekniven.
Sluk maskinen, og vent, til alle bevægelige dele er standset. Se Slukning af maskinen.
Fjern batteripakken fra maskinen. Se Fjernelse af batteripakken fra maskinen.
Løft den bageste deflektor, og hold den oppe (A i Figur 18).
Fjern bagudblæsningsproppen ved at trykke låsen ind med tommelfingeren og trække proppen ud af maskinen (B og C i Figur 18).
Fastgør posestangens ender i hakkerne i bunden af håndtaget, og rok posen frem og tilbage for at sikre, at enderne er på plads i bunden af begge hakker (D i Figur 18).
Sænk den bageste deflektor, indtil den hviler på græsposen.

Maskinen kan kaste afklippet græs og andre genstande gennem en åbning i maskinens hus. Genstande, der kastes med tilstrækkelig stor kraft, kan forårsage alvorlige personskader eller død for dig eller omkringstående.
Fjern aldrig græsposen for derefter at starte maskinen, uden at udblæsningsproppen er monteret på maskinen.
Åbn aldrig den bageste deflektor på maskinen, når maskinen kører.
Efterse området, hvor maskinen skal bruges, og fjern alle objekter, som maskinen kan risikere at udslynge.
Undgå at ramme faste genstande med skærekniven. Klip aldrig med vilje hen over en genstand.
Hvis maskinen rammer en genstand eller begynder at ryste, skal du straks slukke maskinen, vente, indtil alle bevægelige dele standser, fjerne batteripakken og efterse maskinen for skader.
Monter en ny Toro-skærekniv før klippesæsonens start eller efter behov for at opnå den bedst mulige ydeevne.
Klip kun ca. en tredjedel af græsstråets længde af ad gangen. Klip græsset ved en højere klippehøjde for at forbedre klippekvaliteten, køretiden og opsamlingen.
Klip ikke under indstillingen 51 mm, medmindre græsset er tyndt, eller det er sent på efteråret, hvor græsset begynder at vokse langsommere.
Når du klipper græs, der er over 15 cm højt, skal du anvende den højeste klippehøjdeindstilling og gå langsommere. Klip derefter græsset igen ved en lavere indstilling, så plænen kommer til at se smukkest ud. Hvis græsset er for højt, kan maskinen blive tilstoppet, og det kan medføre, at motoren sætter ud.
Vådt græs og blade har en tendens til at klumpe sig sammen i haven og kan forårsage, at maskinen tilstoppes, eller at motoren sætter ud. Undgå at klippe ved våde forhold.
Vær opmærksom på den mulige brandfare, når det er meget tørt. Følg alle lokale brandadvarsler, og hold maskinen fri for tørt græs og bladaffald.
Skift klipperetning. Dette medvirker til at sprede det afklippede græs ud over hele plænen, så den gødes jævnt.
Hvis den færdigklippede plæne ikke ser tilfredsstillende ud, kan du forsøge en eller flere af følgende ting:
Udskift skærekniven, eller få den slebet.
Gå langsommere, når du slår græs.
Hæv klippehøjden på maskinen.
Slå græsset hyppigere.
Lad klippebanerne overlappe i stedet for at klippe en fuld bane for hver omgang.
Når du har klippet plænen, skal du sikre dig, at halvdelen af plænen kan ses gennem det øverste dække af findelte blade. Du er muligvis nødt til at køre hen over bladene mere end én gang.
Hvis der er mere end 13 cm blade på plænen, skal du klippe med en højere klippehøjde og derefter igen med den ønskede klippehøjde.
Sæt klippehastigheden ned, hvis maskinen ikke klipper bladene fint nok.
Important: Batteripakken leveres ikke fuldt opladet. Før du tager værktøjet i brug første gang, skal du anbringe batteripakken i opladeren og oplade den, indtil LED-displayet viser, at batteripakken er fuldt opladet. Læs alle sikkerhedsforanstaltninger.
Important: Oplad kun batteriet ved temperaturer, der ligger inden for det tilladte område. Se Specifikationer.
Note: Du kan når som helst trykke på opladningsindikatorknappen på batteripakken for at se den aktuelle ladestatus (LED-indikatorer).
Sørg for, at ventilationshullerne og opladningsterminalerne på batteriet og opladeren er frie for støv og snavs.

Ret fordybningen i batteripakken (Figur 19) ind efter tungen på opladeren.
Skub batteripakken ind i opladeren, indtil den sidder helt på plads (Figur 19).
Hvis du vil fjerne batteriet, skal du skubbe batteriet baglæns ud af opladeren.
Se følgende tabel for at aflæse LED-kontrollampen på batteriopladeren.
| Opladersymbol | Kontrollampe | Angiver |
![]() | Blinker grønt | Batteripakken oplades |
![]() | Grøn | Batteripakken er opladet |
![]() | Rød | Batteripakken og/eller batteriopladeren befinder sig over eller under det tilladte temperaturområde |
![]() | Blinker rødt | Opladningsfejl i batteripakke* |
| Fra | Der er ikke isat nogen batteripakke |
*Se for at få flere oplysninger.
Important: Batteripakken kan efterlades på opladeren i kort tid mellem brug.Hvis batteripakken ikke skal bruges i længere tid, skal du fjerne batteripakken fra opladeren. Se Før opbevaring.
| Vedligeholdelsesintervaller | Vedligeholdelsesprocedure |
|---|---|
| Efter hver anvendelse |
|
Maskinen kan løsgøre materiale, der sidder fast på dens underside.
Bær beskyttelsesbriller.
Hold dig i betjeningspositionen (bag håndtaget), når motoren kører.
Lad ikke andre personer komme ind på klippeområdet.
Rengør maskinen, når du er færdig med at slå græs, for at opnå det bedste resultat.
Sænk maskinen til den laveste klippehøjdeindstilling. Se Justering af klippehøjden.
Hvis græsposen er monteret, skal den fjernes. Se Afmontering af græsposen.
Kør maskinen hen på en asfalteret, jævn overflade.
Skyl området under bagdøren (hvis relevant), hvor afklippet flyttes fra undersiden af maskinen til græsposen.
Mens motoren kører, og skærekniven kører, skal du sprøjte en vandstråle ind foran det højre baghjul (Figur 20).

Når der ikke kommer mere afklip ud, skal du lukke for vandet og flytte maskinen til et tørt sted.
Start motoren, og lad den køre i nogle minutter for at tørre undersiden af maskinen.
Sluk motoren, og lad den køle af.
Indstil maskinen i den lodrette opbevaringsposition. Se Opbevaring af maskinen i den lodrette opbevaringsposition.
Vask det afklippede græs under maskinen af.
Hvis håndtaget ikke sammenfoldes og udfoldes korrekt, kan kablerne blive beskadiget, hvilket gør, at det ikke er sikkert at betjene plæneklipperen.
Pas på ikke at beskadige kablet/kablerne, når du folder håndtaget sammen eller folder det ud.
Sørg for, at kablet/kablerne føres uden om håndtagets yderside.
Hvis et kabel bliver beskadiget, bedes du kontakte en autoriseret serviceforhandler.
Tag den elektriske startknap ud (Figur 21).

Hold håndtaget, mens du udkobler håndtagslåsene, for at undgå at klemme dine hænder.
Udkobl håndtagslåsene, indtil du kan flytte det øverste håndtag frit.
Fold håndtaget fremad enten til den helt fremadrettede position som vist i Figur 22.
Important: Før kablerne til ydersiden af håndtagslåsene, idet du folder håndtaget.

Se Udfoldning af håndtaget for at folde håndtaget ud.
I løbet af sæsonen eller uden for sæsonen kan du opbevare maskinen i den lodrette position for at bruge mindst mulig opbevaringsplads.
Den lodrette opbevaringsposition blotlægger maskinens bund.
Fjern batteripakken og den elektriske startknap, før du flytter maskinen til den lodrette opbevaringsposition.
Maskinen må ikke transporteres i den lodrette opbevaringsposition.
Forsøg ikke at starte maskinen i den lodrette opbevaringsposition.
Sørg for at maskinens klippehøjde er indstillet til 92 mm eller derunder. Hvis dette ikke er tilfældet, skal den sænkes. Se Justering af klippehøjden.
Udkobl håndtagslåsene (Figur 23).

Fold håndtaget helt fremad (Figur 23).
Important: Før kablerne om på ydersiden af håndtagsknapperne, når du folder håndtaget.
Indkobl håndtagslåsene.
Løft fronten af maskinen op i håndtaget, og flyt den hen på en opbevaringsplads (Figur 24).

Fjern den elektriske startknap og batteripakken fra maskinen inden vedligeholdelse eller rengøring af maskinen.
Sluk altid motoren, vent, til alle bevægelige dele er standset, og lad maskinen køle af før justering, eftersyn og rengøring af maskinen, eller inden den stilles til opbevaring.
Anvend udelukkende producentens anbefalede reservedele og tilbehør.
Efterse og vedligehold maskinen regelmæssigt. Maskinen må kun repareres af en autoriseret serviceforhandler.
Note: Maskinens venstre og højre side er som set fra den normale betjeningsposition.
| Vedligeholdelsesintervaller | Vedligeholdelsesprocedure |
|---|---|
| Efter hver anvendelse |
|
| Årlig |
|
| Vedligeholdelsesintervaller | Vedligeholdelsesprocedure |
|---|---|
| Årlig |
|
Important: Du skal bruge en momentnøgle for at kunne montere kniven korrekt. Hvis du ikke har en momentnøgle eller ikke føler dig tryg ved at udføre dette arbejde, kan du kontakte en autoriseret serviceforhandler.
Hvis kniven beskadiges eller revner, skal den straks udskiftes. Hvis skæreknivens skær bliver sløvt eller får hakker, skal den slibes og afbalanceres eller udskiftes.
Når du efterser skærekniven, kan skærekniven blive ved med at bevæge sig, også selvom strømkilden er slukket. Skærekniven er skarp. Berøring af skærekniven kan medføre alvorlig personskade.
Hold hænder og fødder væk fra en skærekniv i bevægelse.
Bær handsker, når du udfører service på kniven.
Fjern den elektriske startknap og batteripakken fra maskinen.
Brug en træklods til at holde skærekniven fast (Figur 25).
Afmonter kniven, men gem alle monteringsbolte og -møtrikker (Figur 25).

Monter den nye kniv og alle monteringsboltene og -møtrikkerne (Figur 26).

Important: Placer skæreknivens krumme ender, så de peger opad mod maskinens hus.
Brug en momentnøgle til at tilspænde skæreknivsbolten til 88 Nm.
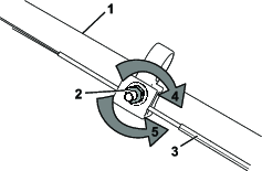
Når du monterer et nyt selvkørselsdrevkabel, eller hvis selvkørselsdrevet kommer ud af justering, skal du justere selvkørselsdrevet.
Drej justermøtrikken mod uret for at løsne kabeljusteringen (Figur 27).

Juster stramningen på kablet (Figur 27) ved at trække det tilbage eller skubbe det frem og holde den position.
Note: Skub kablet mod motoren for at øge traktionen, og træk kablet væk fra motoren for at mindske traktionen.
Drej justermøtrikken med uret for at stramme kabeljusteringen.
Note: Stram møtrikken godt til med en topnøgle eller en skruenøgle.
Important: Når du har fjernet batteripakken fra maskinen, skal du dække batteripakkens poler med kraftigt klæbebånd. Forsøg ikke at ødelægge eller skille batteripakken ad eller fjerne nogle af komponenterne.
Kontakt din lokale kommune eller din autoriserede serviceforhandler for at få flere oplysninger om, hvordan batteriet på ansvarlig vis kan genbruges.
Important: Maskinen, batteripakken og opladeren må kun opbevares ved temperaturer, der ligger inden for det hensigtsmæssige område. Se Specifikationer.
Important: Hvis du lægger batteripakken til opmagasinering uden for sæsonen, skal du oplade den, indtil 2 eller 3 LED-indikatorer på batteriet lyser grønt. Opbevar ikke fuldt opladede eller helt flade batterier. Når maskinen atter skal tages i brug, skal du oplade batteriet, indtil opladerens venstre kontrollampe lyser grønt, eller alle 4 LED-kontrollamper på batteriet lyser grønt.
Kobl produktet fra strømforsyningen (dvs. fjern batteripakken og den elektriske startknap), og se efter, om der er skader efter brug.
Opbevar ikke maskinen eller opladeren med batteripakken monteret.
Rengør produktet for alle eventuelle fremmedlegemer.
Når de ikke er i brug, skal maskinen, den elektriske startknap, batteripakken og batteriopladeren opbevares utilgængeligt for børn.
Hold maskinen, batteripakken og batteriopladeren væk fra ætsende midler såsom havekemikalier og vejsalt.
For at reducere risikoen for alvorlig personskade må batteripakken ikke opbevares uden for eller i køretøjer.
Opbevar maskinen, batteripakken og batteriopladeren på et lukket, rent og tørt område.
Udfør kun de trin, der beskrives i disse anvisninger. Al yderligere eftersyn, vedligeholdelse og reparationsarbejde skal udføres af et autoriseret servicecenter eller en specialist med tilsvarende kvalifikationer, hvis du ikke selv kan løse problemet.
| Problem | Possible Cause | Corrective Action |
|---|---|---|
| Maskinen starter ikke. |
|
|
| Maskinen kører ikke eller kører ikke kontinuerligt. |
|
|
| Maskinen opnår ikke fuld effekt. |
|
|
| Batteripakken aflades hurtigt. |
|
|
| Batteriopladeren fungerer ikke. |
|
|
| Maskinens selvkørselsfunktion virker ikke. |
|
|
| LED-kontrollampen på batteriopladeren lyser rødt. |
|
|
| LED-kontrollampen på batteriopladeren blinker rødt. |
|
|
| Maskinen udsender en bippende lyd. |
|
|
| Klippekvaliteten er forværret eller utilstrækkelig. |
|
|
| Opsamlingen er forværret eller utilstrækkelig. |
|
|
| Maskinen klipper ujævnt. |
|
|
| Maskinen vibrerer. |
|
|