![]() |
| CALIFORNIA |
| Proposition 65-advarsel |
| Dette produktet inneholder et kjemikalie eller kjemikalier som delstaten California vet forårsaker kreft, fødselsdefekter eller forplantningsskade. |
| Innenlands: Denne enheten samsvarer med FCC-regler
avsnitt 15. Maskinen kan brukes under følgende to forutsetninger:
(1) Denne enheten skal ikke
forårsake skadelig interferens, og (2) denne enheten må
kunne tåle eventuell interferens den utsettes for, inkludert
interferens som kan forårsake
uønsket innvirkning på driften.
|
| FCC ID: 2AJYU-8PYA007, TFB-1004 Denne enheten inneholder lisensfrie
sendere/mottagere som oppfyller Innovation, Science and Economic Development
Canadas lisensfrie RSS(er).
Driften er underlagt følgende to betingelser: (1) Denne enheten
kan ikke forårsake interferens. (2) Denne enheten
skal ikke forårsake interferens,
inkludert interferens som kan forårsake uønsket innvirkning
på driften av enheten.
IC: 23761-8PYA008, 5969A-1004 |
| Australia
|
New Zealand |
![]() |
![]() |
| Japan
|
|
![]() |
![]() |
Advarsel | |
| Viktig |
| Modellnummer: |
Serienummer: |

![]() |
Fare | |
![]() |
Advarsel | |
![]() |
Forsiktig | |





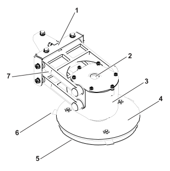
, antifriksjonsskiven
og knivbladene
omtales samlet som «klippeskiven».
|
Strømbryteren er plassert
under dekselet på venstre bakside av roboten.
Skyv
strømbryteren til høyre (til PÅ-stillingen) for å sette
roboten i drift. Skyv strømbryteren til venstre
(til AV-stillingen)
for lengre tomgangstid eller vinterlagring.
|
![]() |
Strømbryteren er plassert
under dekselet på høyre bakside av roboten. Skyv strømbryteren opp (til PÅ-stillingen) for å sette
roboten i drift. Skyv strømbryteren ned (til AV-stillingen) for lengre tomgangstid
eller vinterlagring. |



er lett synlig, plassert på
toppen av roboten. Hvis du trykker på denne knappen, slutter
roboten å bevege seg og klippe. Stoppknappen
fungerer også som et lokk, som når det løftes, gir
tilgang til robotens kontrollbrukergrensesnitt. En instruksjon
må utstedes ved hjelp av dette kontrollgrensesnittet
for å starte roboten på nytt.





| Grønn – blinker
|
Ledningen fungerer normalt. |
| Rød – blinker
|
Registrerer ingen perifer ledning.
Ledningen kan ha blitt kuttet eller er for lang.
|
| Rød – lyser uavbrutt
|
Dette indikerer et problem. Ledningen
kan være for kort (mindre enn 200 m), eller det kan være
et problem med elektronikken.
|
| Modell
|
500S/SL
|
500
|
300
|
|---|---|---|---|
| Maksimalt arbeidsområde [m2]
|
75 000 m2 |
75 000 m2 |
45 000 m2 |
| Anbefalt arbeidsområde [m2]
|
55 000 m2 |
55 000 m2 |
35 000 m2 |
| Klippebredde [mm] |
1033 mm
|
1033 mm
|
633 mm
|
| Arbeidshastighet [km/t] |
3,6 km/t
|
3,6 km/t
|
2,8 km/t
|
| Maksimal helling [%] |
45 % (24 °) |
30 % (17 °) |
35 % (19.5 °) |
| Modell
|
500SL, 500S, 500
|
300
|
|---|---|---|
| Antall klippehoder |
5
|
3
|
| Antall skjærekniver |
15
|
9
|
| Minimum klippehøyde (standard
skive / skive i lav høyde)
|
20 mm / 15 mm |
20 mm / 15 mm |
| Maksimal klippehøyde (standard
skive / skive i lav høyde)
|
100 mm / 90 mm |
100 mm / 90 mm |
| Justering av klippehoder |
Elektronisk
|
Elektronisk
|
| Maksimalt støynivå (målt
ved 5 m) |
52 dB(A)
|
52 db(A)
|
| Modell
|
500SL, 500S, 500
|
300
|
|---|---|---|
| Type
|
LIFePo4
|
LIFePo4
|
| Nominell spenning [V] |
25,6 V
|
25,6 V
|
| Nominell kapasitet [Ah] |
19,0 Ah
|
19,0 Ah
|
| Energi [Wh]
|
486,4 Wh
|
486,4 Wh
|
| Arbeidstemperaturområde |
-5 °C og +60 °C |
-5 °C og +60 °C |
| Gjennomsnittlig klippetid [min] |
110
|
280
|
| Gjennomsnittlig tid til fulladet
[min] |
90
|
90
|
| Modell
|
500SL, 500S, 500
|
300
|
|---|---|---|
| Vekt [kg]
|
71 kg
|
52 kg
|
| Lengde [mm]
|
1110 mm
|
1002 mm
|
| Bredde [mm]
|
1278 mm
|
1044 mm
|
| Høyde [mm]
|
515 mm
|
466 mm
|
| Modell
|
500SL, 500S, 500
|
300
|
|---|---|---|
| PIN-kode for sikkerhet |
Ja
|
Ja
|
| GPS-posisjon
|
RTK
|
RTK
|
| Robotstyring via server og app. |
Standard
|
Standard
|
| Modell
|
500SL, 500S, 500
|
300
|
|---|---|---|
| Sonardeteksjon av hindringer |
Flere
|
Flere
|
| Gå tilbake til stasjonen
via GPS |
Ja
|
Ja
|
| Type gressklipping |
Mønstret
|
Mønstret
|
| Flere startsoner
|
Ja
|
Ja
|
| Flere felt (valgfritt) |
Ja
|
Ja
|
| Flere roboter/stasjoner |
Nei
|
Nei
|
| Sonarer for oppdagelse av hindringer |
5
|
5
|
| Støtdemper for kollisjon |
1
|
1
|
| Sensorer for heving/senking foran |
2
|
2
|
| Bakre løftesensorer |
2
|
2
|
| Sensorer for påkjørsel
bak |
2
|
2
|
| Velte-/vippesensor |
1
|
1
|
| Klippehodeavledere |
2 (1 ett hvert ytre klippehode) |
Ingen
|



velger du Innstillinger-menyen > Grense.








Handlinger
Innstillinger
Tjenesteinnstillinger| Kommando/parameter |
Rute
|
|---|---|
| Aktiveringskode
|
Tjenesteinnstillinger > Enhet |
| APN
|
Tjenesteinnstillinger > Enhet
> Enhetsinformasjon |
| Oppstartslasterversjon |
Tjenesteinnstillinger > Enhet
> Systemversjon |
| Grense
|
Handlinger
|
| Grense
|
Innstillinger
|
| Hjerneversjon
|
Tjenesteinnstillinger > Enhet
> Systemversjon |
| Brems på tomgang |
Tjenesteinnstillinger > Operasjoner |
| Endre PIN-kode
|
Tjenesteinnstillinger > Sikkerhet
> PIN-kode |
| Lad og forbli
|
Handlinger
|
| Klippehoder
|
Innstillinger
|
| Klippehøyde
|
Innstillinger
|
| Datoformat
|
Tjenesteinnstillinger > Regionale
parametere |
| Enhetsinformasjon |
Tjenesteinnstillinger > Enhet |
| Rediger områdeprosent |
Tjenesteinnstillinger > Operasjoner |
| Aktiver PIN-kode
|
Tjenesteinnstillinger > Sikkerhet
> PIN-kode |
| Start opplading
|
Handlinger
|
| IP-adresse
|
Tjenesteinnstillinger > Tilkoblinger |
| Språk
|
Tjenesteinnstillinger > Regionale
parametere |
| Breddegrad
|
Tjenesteinnstillinger > Enhet
> Enhetsinformasjon |
| Lengdegrad
|
Tjenesteinnstillinger > Enhet
> Enhetsinformasjon |
| MAC-adresse
|
Tjenesteinnstillinger > Enhet
> Enhetsinformasjon |
| Maks. korte sykluser tillatt |
Tjenesteinnstillinger > Operasjoner |
| Min. temp.
|
Tjenesteinnstillinger > Operasjoner |
| Modus
|
Tjenesteinnstillinger > Tilkoblinger |
| Klipp gress
|
Handlinger
|
| Klipp gresset etter lading |
Handlinger
|
| Klipp gresset nå |
Handlinger
|
| PIN-kode
|
Tjenesteinnstillinger > Sikkerhet |
| Robotnavn
|
Tjenesteinnstillinger > Enhet |
| Timeplan
|
Innstillinger
|
| Søk etter nettverk |
Tjenesteinnstillinger > Tilkoblinger |
| Serienummer
|
Tjenesteinnstillinger > Enhet
> Enhetsinformasjon |
| Programvareversjon |
Tjenesteinnstillinger > Enhet
> Systemversjon |
| SSID
|
Tjenesteinnstillinger > Tilkoblinger |
| Forbli på stasjonen etter
lading |
Handlinger
|
| Systemlåsing |
Innstillinger
|
| Systemversjon
|
Tjenesteinnstillinger > Enhet |
| Tidssone
|
Tjenesteinnstillinger > Regionale
parametere |
| Enhetssystem
|
Tjenesteinnstillinger > Regionale
parametere |
| Versjon
|
Tjenesteinnstillinger > Enhet
> Systemversjon |
| Synlige satellitter |
Tjenesteinnstillinger > Enhet
> Enhetsinformasjon |


| Viktig |

.
opp- og ned
-pilene for å
utheve ønsket kommando, eller trykk på talltasten som vises
foran kommandoen.
.

.
og ned
for å utheve
klippehøyde, og trykk deretter på
. En skjerm som den nedenfor vises. I eksemplet nedenfor er det to
kolonner for hver dag fordi to områder har blitt definert.
Dette viser gjeldende tidsplan, der
de hvite blokkene representerer tiden da roboten skal operere i et
område.
.
.
.
.
.
å aktivere
den definerte økten.
å gå
tilbake til områdeplanleggingsskjermen vist ovenfor.
for å merke av knappen PÅ
for å sikre at roboten følger den programmerte planen. Når
den ikke er valgt, ignorerer roboten
tidsplanen og jobber kontinuerlig.| Viktig |
.

.
å gå
tilbake til oversikten over tidsplanen.
.
.
for å fjerne merket på
knappen.
.
opp- og nedpilene
for å markere
Klippehoder, og trykk deretter på
. Følgende skjermbilde vises.

.
for å gå
tilbake til hovedmenyen.
.
og ned-
pilene for å
utheve Grense, og trykk deretter på
. Et skjermbilde vises med en liste over konfigurerte arbeidsområder.
.
for å gå
tilbake til hovedmenyen.
.
opp- og nedpilene
for å markere
Klippehøyde, og trykk deretter på
.

for å stille inn ny høyde.
for å gå
tilbake til hovedmenyen.

for å gå
tilbake til hovedmenyen.
noen sekunder.
og venstre
piltast for å
endre kontrasten.
og nedpilene
for å utheve
Automatisk temperaturjustering. Når dette alternativet er valgt
PÅ, justeres LCD-kontrasten automatisk i henhold
til omgivelsestemperaturen. Trykk for
å merke av
eller fjerne merket for dette alternativet.
å gå
ut av denne menyen.

.
og velger Aktiver nettverk.
. Følgende
operasjoner er tilgjengelige:
.
.
.
.
.
.
.
for å velge det.
.
å akseptere
det nye navnet.
å gå
tilbake til hovedmenyen.
.
.
.
,
til å bla gjennom listen.| Vedlikeholdsintervall |
Vedlikeholdsprosedyre |
|---|---|
| For hver bruk eller daglig |
|
| Hver 40. time |
|
| Hver 6. måned |
|
| Årlig eller før lagring |
|
![]() |
Advarsel | |

| Viktig |
| Viktig |
| Viktig |


![]() |
Roboten oppfyller europeiske standarder. |
![]() |
Resirkuler: Avfall fra elektrisk
og elektronisk utstyr er underlagt selektiv innsamling. Resirkuler
roboten i henhold til gjeldende standarder. |
| Ikoner på batteriet |
|
![]() |
Sørg for at du er kjent med
dokumentasjonen før du håndterer og bruker batteriet. |
![]() |
Du må ikke la batteriet komme
i kontakt med vann. |
![]() |
Forsiktig – Vær forsiktig når du
håndterer og bruker batteriet. Du må ikke klemme, varme
opp, brenne, kortslutte, demontere eller senke
det ned i væske. Fare for lekkasje eller sprekk. Du
må ikke lade under 0 °C. Bruk kun laderen som er spesifisert
i brukerhåndboken. |
![]() |
Resirkuler batteriet. Se brukerhåndboken
for instruksjoner om resirkulering av batterier.
|
![]() |
Angir batteripolariteten. |
| APN
|
Tilgangspunktnavn (GSM) |
| BMS
|
Batteristyringssystem |
| LFP
|
Jernholdig litiumfosfor |
| UWB
|
Ultravidvinkelbånd |
| CPU
|
Sentral behandlingsenhet |
| GPS
|
Globalt posisjoneringssystem |
| AP
|
Tilgangspunkt (wifi) |
| RTK
|
Kinematikk i sanntid |
| GNSS
|
Globalt satellittsystem for navigasjon |
| Poe
|
Strøm over Ethernet |
| RTCM
|
Radio Technical Commission for
Maritime Services (en sanntids GNSS dataoverføringsstandard) |


