Note: Este kit debe instalarse junto con el Modelo 41712 o el Modelo 41713
El sistema de fumigación GeoLink es un accesorio para un vehículo de fumigación de césped Multi Pro de Toro, y está diseñado para ser usado por operadores profesionales contratados en aplicaciones comerciales. Está diseñado principalmente para fumigar en césped bien mantenido en parques, campos de golf, campos deportivos y zonas verdes comerciales El uso de este producto para otros propósitos que los previstos podría ser peligroso para usted y para otras personas.
Lea detenidamente esta información para aprender a utilizar y a mantener el producto correctamente, y para evitar lesiones y daños al producto. Usted es responsable de utilizar el producto de forma correcta y segura.
Visite www.toro.com para buscar materiales de seguridad del producto y de capacitación de operadores; información sobre accesorios; para localizar un distribuidor; o para registrar su producto.
Cuando necesite asistencia técnica, piezas genuinas Toro o información adicional, póngase en contacto con un Servicio Técnico Autorizado o con Atención al cliente de Toro, y tenga a mano los números de modelo y serie de su producto. La Figura 1 identifica la ubicación de los números de serie y de modelo en el producto. Escriba los números en el espacio provisto.
Important: Con su dispositivo móvil, puede escanear el código QR (en su caso) de la placa del número de serie para acceder a información sobre el producto, la garantía y las piezas.

Este manual identifica peligros potenciales y contiene mensajes de seguridad identificados por el símbolo de alerta de seguridad (Figura 2), que señala un peligro que puede causar lesiones graves o la muerte si usted no sigue las precauciones recomendadas.

Este manual utiliza 2 palabras para resaltar información. Importante llama la atención sobre información mecánica especial, y Nota resalta información general que merece una atención especial.
Las sustancias químicas utilizadas en el sistema de fumigación pueden ser peligrosas y tóxicas para usted y para otras personas, animales, plantas, tierra y otros elementos.
Lea cuidadosamente y observe las indicaciones de todas las etiquetas de advertencia y Fichas de Datos de Seguridad de Materiales (FDSM) respecto a todos los productos químicos utilizados, y protéjase siguiendo las instrucciones del fabricante de los mismos. Por ejemplo, utilice Equipos de Protección Individual (EPI) incluyendo protección para la cara y los ojos, guantes y otros equipos para prevenir el contacto con un producto químico.
Puede haber más de un producto químico; debe evaluarse la información sobre cada uno de los productos.
¡Niéguese a utilizar o trabajar con el fumigador si esta información no está disponible!
Antes de trabajar con un sistema de fumigación, asegúrese de que el sistema ha sido sometido a un triple enjuague y neutralización con arreglo a las recomendaciones de los fabricantes de los productos químicos, y que todas las válvulas han sido abiertas y cerradas 3 veces.
Compruebe que hay un suministro adecuado de agua limpia y jabón en las inmediaciones, y lávese inmediatamente para eliminar cualquier producto químico que entre en contacto con usted.
![]() |
Las pegatinas de seguridad e instrucciones están a la vista del operador y están ubicadas cerca de cualquier zona de peligro potencial. Sustituya cualquier pegatina que esté dañada o que falte. |




Consulte el Manual del operador de su máquina.
Aparque la máquina en una superficie nivelada y ponga el freno de estacionamiento.
Extienda las secciones de brazo izquierda y derecha a la posición horizontal.
Apague el motor, retire la llave y desconecte la batería.
Limpie el fumigador.
Important: Debe vaciar completamente el depósito de fumigación antes de instalar el Kit de acabado del Sistema de fumigación GeoLink.
Desconecte el conector hembra de 2 vías del arnés de cables de la máquina que está conectado al conector del interruptor del asiento.

Retire la chaveta que sujeta la varilla de sujeción al soporte en la parte inferior de la chapa del asiento.

Retire las 2 chavetas que fijan el soporte de pivote de la chapa del asiento a los soportes del chasis.


Retire los 2 pasadores de giro que sujetan el asiento y la chapa del asiento al chasis.
Levante el asiento y la chapa del asiento y retírelos de la máquina.

Gire hacia arriba las palancas de los cierres del panel de acceso del motor.

Levante el panel de acceso del motor y retírelo de la máquina.
Retire y deseche las 2 grapas que sujetan el guardabarros delantero izquierdo al perfil inferior del ROPS.

Retire los 3 pernos (5/16" × 1") y 3 arandelas (5/16") que sujetan el guardabarros al bastidor de la máquina.

Retire el guardabarros de la máquina.
Retire las 6 grapas y 5 arandelas (9/16" × ½") que sujetan el panel interior del guardabarros al bastidor de la máquina.

Retire el panel interior del guardabarros de la máquina.

Repita los pasos 1 a 5 con el guardabarros y el panel interior del guardabarros del otro lado de la máquina.
Note: Si se dañan las grapas al retirarlas, sustitúyalas con la Pieza Toro N.º 117-2382.
Retire los 2 tornillos (5/16" × 1") y las 2 arandelas (5/16") que sujetan la tapa inferior de la consola y la tapa del extremo de la consola a la máquina, y retire las tapas.


Retire el tornillo (5/16" × 1") y la arandela (5/16") que sujetan el guardabarros delantero derecho al suelo de la plataforma.

Retire con cuidado las 2 grapas que sujetan el guardabarros delantero derecho al perfil de montaje de la barra antivuelco.


Retire el tornillo (5/16" × 1") y la arandela (5/16") que sujetan el guardabarros delantero derecho al soporte del travesaño.

Retire el guardabarros delantero derecho de la máquina.
Retire las 6 grapas y las 5 arandelas (9/16" × ½") que sujetan el panel interior del guardabarros a los tubos superior derecho e inferior derecho del bastidor.

Retire el panel interior del guardabarros de la máquina.
Note: Guarde el guardabarros delantero derecho, el panel interior del guardabarros, los tornillos, las arandelas y las grapas intactas.Sustituya las grapas dañadas con la Pieza Toro N.º 117-2382.
Desconecte los 2 conectores hembra de 2 vías del arnés de cables de la máquina de los conectores de 2 pines de los faros derecho e izquierdo.

Retire y guarde las 9 grapas que sujetan el capó al panel de instrumentos y al bastidor de la máquina.

Retire el capó de la máquina y deséchelo.
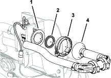
Presione el anillo del acoplamiento del tubo en el tapón extremo de la válvula de sección del brazo derecha.

Tire del tubo del sensor de presión del indicador del salpicadero para sacarlo del acoplamiento del tubo.
Desconecte los conectores hembra de 3 vías marcados LEFT SPRAY VALVE, CENTER SPRAY VALVE y RIGHT SPRAY VALVE del arnés de cables de la máquina de los conectores de 3 pines de los actuadores de las 3 válvulas de fumigación.

Desconecte el conector hembra de 4 vías del arnés de cables de la máquina marcado RATE VALVE del conector de 4 pines del actuador de la válvula de caudal.

Desconecte el conector hembra de 3 vías del arnés de cables de la máquina marcado MASTER SPRAY VALVE del conector de 3 pines del actuador de la válvula de fumigación maestra.
En la sección de brazo exterior, retire la abrazadera que sujeta la manguera al acoplamiento en T dentado.

Retire la manguera del conector en T.
Retire el extremo libre de la manguera de la abrazadera en R.
Repita los pasos 1 a 3 con la manguera de suministro de la otra sección de fumigación exterior.
Debajo de la sección de brazo central, retire la abrazadera que sujeta la manguera de suministro de la sección de fumigación central al acoplamiento en T dentado.

Retire y guarde las horquillas de retención que sujetan los acoplamientos rápidos de las mangueras de suministro izquierda, central y derecha de los acoplamientos rápidos de las válvulas de sección (Figura 24).

Retire y deseche las mangueras de suministro de las secciones izquierda, central y derecha de los acoplamientos rápidos de las válvulas de sección, y retire las mangueras de la máquina.
Retire las mangueras de los orificios de extensión de los cilindros de elevación derecho e izquierdo.

Retire y deseche las mangueras de los puntos siguientes:
Orificios C1, C2, C3 y C4 del distribuidor de los cilindros de elevación
Orificios de retracción y extensión de los cilindros de elevación derecho e izquierdo.
Note: A menos que se indique lo contrario, guarde todas las fijaciones que retire.
Utilice un equipo de izado de la capacidad especificada para sujetar la sección de fumigación exterior.
Retire el pasador y la chaveta que sujetan el extremo de la varilla del cilindro de elevación al soporte de giro.

Retire la contratuerca con arandela prensada (5/16") y el perno con arandela prensada (5/16" × ¾") que sujeta el pasador de giro al soporte de los cilindros.

Retire el pasador de giro y el cilindro de elevación de la máquina.
Capacidad del equipo de izado: 46 kg (100 libras)
El izado de máquinas y accesorios pesados de forma incorrecta podría causar lesiones graves o incluso la muerte.
Para levantar máquinas y accesorios pesados, utilice equipos de izado, como cadenas y correas, con capacidad suficiente para sostener el peso del equipo.
Note: A menos que se indique lo contrario, guarde todas las fijaciones que retire; se utilizarán esas fijaciones para instalar la extensión del brazo central.
Retire el perno con arandela prensada (5/16" × 1") y la contratuerca con arandela prensada (5/16") que sujetan el pasador de giro al soporte de giro.

Retire el pasador de giro del soporte de giro de la sección de brazo central y del acoplamiento de giro de la sección de brazo exterior.
Separe la sección de brazo exterior de la sección de fumigación central y retire la sección exterior de la máquina.
Retire y deseche los 2 casquillos con brida de nylon del acoplamiento de giro de la sección de fumigación exterior.
Repita los pasos 1 a 3 de Retirada de los cilindros de elevación con la sección de brazo exterior del otro lado de la máquina.
Repita los pasos 1 a 4 de esta sección con la sección de brazo exterior del otro lado de la máquina.
Retire las 2 contratuercas con arandela prensada (5/16") y los 2 pernos con arandela prensada (5/16" × 1") que sujetan el soporte del distribuidor de elevación al soporte de los cilindros, y separe el distribuidor y su soporte del soporte de los cilindros.

Sujete el distribuidor de elevación al soporte de las válvulas con un trozo de cuerda.
Capacidad del equipo de izado: 41 kg (90 libras)
Sujete la sección de brazo central con un equipo de izado de la capacidad especificada.

Retire y guarde los 4 pernos con arandela prensada (⅜" x 1¼") y las 4 contratuercas con arandela prensada (⅜") que sujetan la sección de brazo central a los soportes.

Eleve la sección de brazo central y retírela de la máquina.
Piezas necesarias en este paso:
| Perno con arandela prensada (⅜" x 1") | 2 |
| Contratuercas prensadas (⅜") | 2 |
| Extensión del brazo central | 1 |
| Soporte de los cilindros (ancho) | 1 |
| Pletina de unión (ancha) | 1 |
| Perno de cuello cuadrado (½" × 1¼") | 4 |
| Contratuerca con arandela prensada (½") | 4 |
En la sección de brazo central, retire y guarde la contratuerca con arandela prensada que sujeta la torreta al soporte.


Retire el tornillo de acero inoxidable (N.º 12 × 1¼") que sujeta la abrazadera superior y el conector de manguera de dentado simple o doble (¾") al cuerpo de la torreta, y separe el conector de manguera dentado y la manguera de la boquilla.
Note: El perno de cabeza hexagonal (5/16" × ¾" – acero inoxidable) se separará de la abrazadera superior al abrirse la abrazadera; guarde el perno para la instalación.

Retire la torreta de la sección de brazo central.
Repita los pasos 1 a 2 con las otras 2 torretas.
Retire las mangueras (¾" D.I.), los conectores dentados, las abrazaderas y el acoplamiento en T dentado de la sección de brazo central.
Note: Ya no necesitará la manguera, los conectores dentados, las abrazaderas y el acoplamiento en T; guarde todas las demás piezas.
Retire los 2 pernos con arandela prensada (⅜" x 1") y las 2 contratuercas (⅜") que sujetan las pestañas verticales de los tramos de celosía izquierdo y derecho.

Retire los 2 pernos con arandela prensada (½" × 1¼") y las 2 contratuercas (½") que sujetan el soporte de los cilindros estrecho, los tramos de celosía izquierdo y derecho y la pletina de unión estrecha.

Note: Guarde los pernos con arandela prensada, los pernos de cuello cuadrado y las contratuercas. Ya no necesitará el soporte de los cilindros estrecho y la pletina de unión estrecha.
Separe los tramo de celosía izquierdo y derecho.
Sujete provisionalmente la extensión del brazo central al tramo de celosía con los 2 pernos con arandela prensada (⅜" × 1") y las 2 contratuercas con arandela prensada (⅜") que se retiraron anteriormente.

Sujete provisionalmente la extensión del brazo central al otro tramo de celosía con los 2 pernos con arandela prensada (⅜" × 1") y las 2 contratuercas con arandela prensada (⅜").
Inserte la pletina de unión en el tramo de celosía y alinee el orificio de la pletina con los orificios situados en la línea central de los tramos de celosía y de la extensión del brazo.

Ensamble el soporte de los cilindros, los tramos de celosía, la extensión del brazo central y la pletina de unión con 6 pernos de cuello cuadrado (½" × 1¼") y 6 contratuercas con arandela prensada (½").
Note: 2 de los pernos de cuello cuadrado y las contratuercas están entre las piezas que se retiraron anteriormente.
Apriete los pernos con arandela prensada y las contratuercas con arandela prensada de ⅜" a 37–45 N∙m (27–33 pies-libra).
Apriete las contratuercas con arandela prensada de ½" a 91–113 N∙m (67–83 pies-libra).
Piezas necesarias en este paso:
| Torreta | 2 |
| Manguera (válvula de fumigación 5 o 6) | 2 |
| Contratuerca con arandela prensada (5/16") | 2 |
Utilizando un equipo de izado, eleve la nueva sección de brazo central a una altura de trabajo cómoda.
Retire el tornillo de acero inoxidable que sujeta la abrazadera superior al collarín.

Localice el orificio en el lateral del conector dentado simple, al final de la manguera de 25 cm (10") (válvula 5 o 6) de la sección de brazo central.

Alinee el tubo de trasvase del collarín de una torreta con el orificio situado en el lateral del conector dentado simple (½").
Cierre la abrazadera superior alrededor del conector de manguera dentado y sujete la mitad de la abrazadera y el cuerpo de la boquilla de fumigación con el tornillo de acero inoxidable (N.º 12" × 1¼"); apriete el tornillo de acero inoxidable a 14-18 N∙m (20-25 pulgadas-libra).
Important: No apriete demasiado el tornillo de acero inoxidable.
Note: Asegúrese de que el perno de cabeza hexagonal (5/16" × ¾") está asentado en el hueco de la abrazadera superior al cerrar la abrazadera.
Repita los pasos 3 a 5 con los conectores dentados simples de los demás conjuntos de manguera (válvula de fumigación 5 o 6) de la sección de brazo central.
Enrute la manguera de 13 mm (10") y la torreta entre los tirantes del tramo de celosía exterior.

Enrute la manguera y la torreta por encima del tirante y hacia fuera hasta llegar al soporte de la boquilla exterior.
Sujete provisionalmente la torreta al soporte con el perno de cabeza hexagonal (5/16" × ¾") y una contratuerca con arandela prensada (5/16").

Enrute la otra manguera de 13 mm (10") y la torreta entre los tirantes del tramo de celosía exterior.
Enrute la manguera y la torreta por encima del tirante y hacia dentro hasta llegar al soporte de la torreta interior.
Sujete provisionalmente la torreta al soporte con un perno de cabeza hexagonal (5/16" × ¾") y una contratuerca con arandela prensada (5/16").
Apriete la contratuerca con arandela prensada a 1978–2542 N∙cm (175–225 pulgadas-libra).
Enrute la manguera y el acoplamiento dentado de 13 mm × 810 mm (½" × 32") por el lado de la sección de fumigación central que tiene los soportes izquierdo y derecho.
Repita los pasos 1 a 8 con la otra manguera y la otra torreta del otro tramo de celosía exterior.
Piezas necesarias en este paso:
| Tapón (acoplamiento rápido) | 3 |
| Horquilla de retención | 3 |
Retire la horquilla de retención pequeña que sujeta el acoplamiento rápido de la manguera de desvío al acoplamiento rápido de la válvula de desvío de sección derecha.

Retire y guarde la horquilla de retención grande que sujeta el acoplamiento dentado de 90° del extremo inferior de la manguera de desvío al conector pasamuros del depósito de fumigación.

Retire y deseche la manguera de desvío de la máquina.
Retire las 3 horquillas de retención que sujetan los 3 actuadores de válvula a las válvulas de sección izquierda, central y derecha.

Retire los actuadores de válvula de las válvulas de sección izquierda, central y derecha.
Retire la horquilla de retención que sujeta el tapón al acoplamiento rápido de la válvula de desvío, y retire y deseche el tapón.

Retire las 3 horquillas de retención que sujetan las 3 válvulas de desvío a las válvulas de sección la izquierda, central y derecha.

Levante las válvulas de desvío de las válvulas de sección.
Gire las válvulas de desvío 180° y móntelas en los acoplamientos rápidos de las válvulas de sección.
Sujete las 3 válvulas de desvío a las válvulas de sección con las 3 horquillas de retención que se retiraron anteriormente.
Instale el tapón en el acoplamiento rápido de la válvula de desvío.

Sujete el tapón al acoplamiento rápido hembra con la horquilla de retención que se retiró anteriormente.
Monte los 3 actuadores de válvula en las válvulas de sección izquierda, central y derecha con las horquillas de retención que se retiraron anteriormente.
Retire y deseche los 2 pernos con arandela prensada (¼" x ¾") y 2 contratuercas (¼") que sujetan la válvula de sección del brazo izquierdo al soporte del distribuidor.

Retire los 2 pernos con arandela prensada (¼" x ¾") y 2 contratuercas (¼") que sujetan la válvula de sección del brazo derecho al soporte del distribuidor.
Retire la abrazadera de brida (40-64 mm (1-9/16"-2½")) y la junta ((25" x 35 mm (1" x 1⅜")) que fijan la brida de la válvula de sección izquierda al adaptador.
Note: Guarde los 2 pernos con arandela prensada, las 2 contratuercas, la brida de fijación y la junta.

Retire las 3 válvulas de sección de la máquina.
Retire las pegatinas de los actuadores de las 3 válvulas de sección.

Retire y guarde la abrazadera de brida de 51 mm (2") y la junta de 38 mm (1½") que sujetan la brida del adaptador a la brida del caudalímetro.

Piezas necesarias en este paso:
| Soporte del caudalímetro | 1 |
| Sección de abrazadera | 4 |
| Perno (¼" x 4½") | 4 |
| Contratuercas prensadas (¼") | 4 |
Desconecte el conector hembra de 3 vías del arnés de cables de la máquina marcado FLOW METER del conector de 3 pines del caudalímetro.

Retire las 2 grapas del arnés de cables de la máquina de la pestaña inferior del panel de las válvulas de sección.
Retire los 4 tornillos con arandela prensada (5/16" x ¾") que sujetan el panel de las válvulas de sección del soporte de las válvulas, y retire el panel de las válvulas de la máquina.
Note: Guarde los 4 tornillos con arandela prensada; ya no necesitará el panel de las válvulas de sección.

Alinee los orificios del soporte del caudalímetro con los orificios del soporte de las válvulas.

Monte el soporte del caudalímetro en el soporte de las válvulas con los 4 tornillos con arandela prensada que se retiraron anteriormente, y apriete los tornillos a 1978-2542 N·cm (175 a 225 pulgadas-libra).
Monte las dos mitades de la abrazadera al soporte del caudalímetro con 2 pernos (¼" x 4½") y 2 tuercas con arandela prensada (¼").

Apriete los pernos y las tuercas a 1017–1243 N∙cm (90–110 pulgadas-libra).
Piezas necesarias en este paso:
| Arnés trasero | 1 |


Enrute las ramas de 84 cm (33"), 60 cm (23½") y 66 cm (26") del arnés de cables trasero por el lado izquierdo de la máquina junto al arnés de cables de la máquina.


Enrute las ramas de 84 cm (33"), 60 cm (23½") y 66 cm (26") del arnés trasero hacia adelante por el perfil izquierdo del bastidor.



Enrute las ramas de 84 cm (33"), 60 cm (23½") y 66 cm (26") del arnés de fumigación trasero junto al arnés de cables de la máquina, por fuera del conjunto del freno de estacionamiento.

Enrute las ramas de 84 cm (33"), 60 cm (23½") y 66 cm (26") del arnés trasero a través del tubo de sujeción del amortiguador.

Sujete el arnés trasero al arnés de cables de la máquina.
En la parte trasera de la máquina, enrute la rama de 89 cm (35") del arnés de cables hacia adelante, por delante del distribuidor de elevación, y a la derecha del caudalímetro.

Enrute la rama de 102 cm (40") del arnés de cables por detrás del distribuidor de elevación y hacia la derecha.
Conecte el conector de 3 pines de la rama de 89 cm (35") del arnés trasero marcado LEFT SPRAY al conector hembra de 3 vías del arnés de cables de la máquina marcado LEFT SPRAY VALVE.

Conecte los conectores de 3 pines del arnés trasero marcado CENTER SPRAY al conector hembra de 3 vías del arnés de cables de la máquina marcado CENTER SPRAY VALVE.
Conecte el conector de 3 pines del arnés trasero marcado RIGHT SPRAY al conector hembra de 3 vías del arnés de cables de la máquina marcado RIGHT SPRAY VALVE.
Introduzca la grapa del arnés de fumigación trasero en el orificio de la pestaña del soporte del caudalímetro.
Conecte el conector hembra de 3 vías de la rama de 89 cm (35") del arnés trasero marcado FLOW METER al conector de 3 pines del caudalímetro.

Conecte el conector de 3 pines de la rama de 89 cm (35") del arnés trasero marcado MASTER VALVE al conector hembra de 3 vías del arnés de cables de la máquina marcado MASTER SPRAY VALVE.

Conecte el conector de 3 pines del actuador de la válvula de fumigación maestra al conector hembra de 3 vías de la rama de 89 cm (35") del arnés trasero marcado MASTER VALVE.
Conecte el conector de 4 pines del actuador de la válvula de caudal al conector hembra de 4 vías de la rama de 89 cm (35") del arnés trasero marcado RATE VALVE.

Piezas necesarias en este paso:
| Conector dentado recto (1" x 2") | 1 |
| Abrazadera (¾"–1½") | 3 |
| Manguera (1" x 5¾") | 1 |
| Distribuidor | 1 |
| Manguera (1" × 16") | 1 |
Conecte la manguera (1" x 5¾") en el acoplamiento dentado recto (1" x 2") con una abrazadera (¾" a 1½"), y apriete la abrazadera a mano.

Conecte el otro extremo de la manguera (1" x 5¾") al acoplamiento dentado del distribuidor con una abrazadera, y apriete la abrazadera a mano.
Conecte la manguera (1" x 16") al otro acoplamiento dentado del distribuidor con una abrazadera, y apriete la abrazadera a mano.
Conecte el conector dentado recto (1" x 2") a la brida del caudalímetro con la junta de 38 mm (1½") y la abrazadera de brida de 51 mm (2").

Apriete la abrazadera de brida a mano.
Piezas necesarias en este paso:
| Conjunto de manguera de desvío | 1 |
| Válvula de cierre | 1 |
Alinee el conjunto de manguera de desvío con el depósito.


Sujete el acoplamiento dentado de 90° al conector pasamuros del depósito con una horquilla de retención.
Capacidad del equipo de izado: 55 kg (120 libras)
Usando un equipo de izado con la capacidad de izado especificada, eleve la sección de brazo central y alinee la sección de brazo con los orificios de los soportes.

Monte la sección de brazo central en los soportes con los 4 pernos con arandela prensada (⅜" × 1¼") y las 4 contratuercas con arandela prensada (⅜").
Apriete los pernos y las tuercas a 37–45 N∙m (27–33 pies-libra).
Desate el distribuidor de elevación de la escuadra de montaje de las válvulas.
Alinee los orificios del soporte del distribuidor de elevación con los orificios del soporte de los cilindros.

Monte el soporte al soporte de los cilindros con los 2 pernos con arandela prensada (5/16" x 1") y una contratuerca con arandela prensada (5/16").
Apriete los pernos y las tuercas a 1978–2542 N∙cm (175–225 pulgadas-libra).
Piezas necesarias en este paso:
| Conjunto de soporte y válvulas | 1 |
| Controlador de caudal/sección | 1 |
| Imán | 4 |
| Perno (N.º 8) | 4 |
| Arandela plana | 4 |
| Contratuerca (N.º 8) | 4 |
| Tapón (acoplamiento rápido) | 2 |
| Pernos con arandela prensada (5/16" × ¾") | 8 |
| Contratuercas prensadas (5/16") | 8 |
| Abrazadera | 1 |
| Grapa (brida) | 1 |
| Grapa (anclaje del conector) | 3 |
Sujete los imanes al controlador usando 4 pernos (N.º 8), 4 arandelas y 4 contratuercas (N.º 8).

Coloque el controlador sobre el soporte de las válvulas.

Monte las 3 válvulas de sección en la brida de la válvula 7 del conjunto de válvulas de fumigación con la abrazadera de brida y la junta.
Important: Las válvulas de sección izquierda, central y derecha se identifican en el sistema de fumigación GeoLink de la manera siguiente: válvula de sección izquierda – boquilla 8, válvula de la sección central – boquilla 9, y válvula de sección derecha – boquilla 10.

Sujete el conector hembra del acoplamiento rápido de la válvula de desvío de la válvula de sección 8 al acoplamiento rápido de la válvula de desvío de la válvula de sección 7 con la horquilla de retención que se retiró anteriormente.

Monte la válvula de boquilla 10 en el soporte de las válvulas con los 2 pernos con arandela prensada (¼" x ¾") y las 2 contratuercas (¼") que se retiraron anteriormente.


Apriete los pernos con arandela prensada y las contratuercas a 1017-1243 N∙m (90-120 pulgadas-libra).
Capacidad del equipo de izado: 23 kg (50 libras)
Usando un equipo de izado con la capacidad especificada, eleve el conjunto de soporte de las válvulas y válvulas de sección y alinéelo sobre la sección de brazo central.

Alinee los orificios del soporte de montaje del soporte de las válvulas con los orificios del tramo de celosía de la sección de brazo central.

Monte el soporte de las válvulas en el tramo de celosía con 4 pernos (5/16" x ¾") y 4 contratuercas con arandela prensada (5/16").

Repita los pasos 2 a 3 con el otro soporte de montaje del soporte de las válvulas en el otro tramo de celosía.
Apriete los pernos con arandela prensada y las contratuercas prensadas a 1978–2542 N·cm (175–225 pulgadas-libra).
Conecte la manguera (1" × 16") al acoplamiento con brida de 90° (1").

Sujete la manguera al conector con brida con una abrazadera.
Inserte la brida/grapa en el orificio de la parte superior del soporte de las válvulas.
Sujete la brida/grapa alrededor de la manguera (1" x 16").
Retire las horquillas de retención de los conectores hembra de los acoplamientos rápidos.
Conecte el acoplamiento rápido de la manguera de desvío al acoplamiento rápido de la válvula de desvío de la válvula de sección 10.

Sujete los acoplamientos rápidos de la manguera de desvío y la válvula de desvío con la horquilla de retención.
Repita los pasos 1 a 3 con los acoplamientos rápidos de la válvula de sección 1.
Inserte las grapas de los conectores eléctricos de los actuadores de válvula en los orificios del soporte de las válvulas.

Conecte el conector hembra de 3 vías de la rama de 89 cm (35") del arnés trasero marcado NOZZLE VALVE 1 en el conector de 3 pines del actuador de válvula de la izquierda (posición 1).
Note: Las posiciones 1 a 10 de los actuadores de válvula están dispuestos de izquierda a derecha, visto desde detrás de la máquina.

Conecte el conector hembra de 3 vías de la rama de 89 cm (35") del arnés trasero marcado NOZZLE VALVE 2 en el conector de 3 pines del actuador de la válvula (posición 2).
Conecte los demás conectores hembra de 3 vías de la rama de 89 cm (35") del arnés trasero a los conectores de 3 pines de los actuadores de las válvulas.
Note: Asegúrese de que los conectores hembra de 3 vías están conectados a los actuadores de válvula correspondientes.
Inserte el conector hembra de 3 vías de la rama de 61 cm (24") del arnés trasero marcado PRESSURE TRANSDUCER GREEN WEDGE en el conector de 3 pines del transductor de presión.

Inserte el conector hembra de 40 vías de la rama de 102 cm (40") del arnés trasero en el conector de 40 pines del controlador de fumigación del ASC 10.

Enrosque a mano el tornillo moleteado del conector hembra de 40 vías en el conector ASC 10.
Inserte el conector hembra de 4 vías del arnés trasero marcado TO ASC 10 en el conector de 4 pines del controlador de fumigación ASC 10.

Piezas necesarias en este paso:
| Manguera hidráulica (¼" × 24¾") | 4 |
Alinee el extremo fijo del cilindro de elevación con el orificio de 16 mm (⅝") del soporte de los cilindros.
Note: Asegúrese de que los orificios de extensión y retracción del cilindro están alineados.

Sujete el cilindro al soporte de los cilindros con el pasador de giro, el perno con arandela prensada y una tuerca de arandela prensada.
Apriete el perno y la tuerca a 1978–2542 N·cm (175–225 pulgadas-libra).
Repita los pasos 1 a 3 con el otro cilindro de elevación en el otro lado del soporte de los cilindros.
Conecte provisionalmente una manguera hidráulica nueva (¼" x 24¾") entre el orificio de extensión del cilindro de elevación del brazo izquierdo y el orificio C3 del distribuidor de elevación de los brazos.

Conecte provisionalmente una manguera hidráulica nueva (¼" x 24¾") entre el orificio de retracción del cilindro de elevación del brazo izquierdo y el orificio C4 del distribuidor de elevación de los brazos.
Conecte provisionalmente una manguera hidráulica nueva (¼" x 24¾") entre el orificio de extensión del cilindro de elevación del brazo derecho y el orificio C1 del distribuidor de elevación de los brazos.

Conecte provisionalmente una manguera hidráulica nueva (¼" x 24¾") entre el orificio de retracción del cilindro de elevación del brazo derecho y el orificio C2 del distribuidor de elevación de los brazos.
Apriete los acoplamientos de los orificios de extensión y retracción de los cilindros de elevación a 21–26 N∙m (15–19 pies-libra).
Apriete las tuercas giratorias de las mangueras del distribuidor de elevación de los brazos a 24–30 N∙m (17–22 pies-libra).
Piezas necesarias en este paso:
| Casquillo con brida de nylon | 4 |
| Conjunto de manguera de suministro 188 cm (74") | 1 |
| Conjunto de manguera de suministro 234 cm (92") | 1 |
| Conjunto de manguera de suministro 279 cm (110") | 1 |
Corte la manguera entre 2 torretas.

Retire la contratuerca con arandela prensada (5/16") que sujeta la torreta al soporte de la torreta.
Repita los pasos con las otras 3 torretas.
Note: Guarde la contratuerca con arandela prensada y las torretas.
Note: Deseche las mangueras, las abrazaderas y el acoplamiento en T.
Repita los pasos con la otra sección de brazo exterior.
Retire los tornillos de acero inoxidable (N.º 12 × 1¼") que sujetan las mitades superiores de las abrazaderas y los conectores de manguera de dentado simple o doble (¾") al cuerpo de cada boquilla de fumigación, y retire los conectores de manguera dentado.
Note: El perno de cabeza hexagonal (5/16" × ¾" – acero inoxidable) se separará de la abrazadera superior al abrirse la abrazadera; guarde el perno para la instalación.

Capacidad del equipo de izado: 46 kg (100 libras)
Usando un equipo de izado de la capacidad especificada, eleve el brazo exterior.
Inserte un casquillo con brida de nylon en el orificio de 31.8 mm (1¼") de cada lado del acoplamiento de giro.

Alinee los casquillos del acoplamiento de giro con los orificios de las pestañas del soporte de giro situado en el extremo de la sección de brazo central.

Monte el acoplamiento de giro en el soporte de giro con el pasador de giro, el perno con arandela prensada (5/16" × 1") y la contratuerca con arandela prensada (5/16").
Apriete el perno y la tuerca a 1978–2542 N∙cm (175–225 pulgadas-libra).
Alinee la rótula del cilindro de elevación con el orificio de 25 mm (1") del brazo del acoplamiento de giro.

Sujete el cilindro de elevación al acoplamiento de giro con el pasador y la chaveta.
Repita los pasos 1 a 7 en la sección de brazo exterior del otro lado de la máquina.
Piezas necesarias en este paso:
| Manguera de suministro 279 cm (110") | 2 |
| Manguera de suministro 234 cm (92") | 2 |
| Manguera de suministro 188 cm (74") | 4 |
| Manguera de suministro 81 cm (32") | 2 |
Note: Asegúrese de que el conector dentado está correctamente asentado en el acoplamiento.
Sujete los conectores dentados a los acoplamientos con una horquilla de retención.

Note: El conjunto de la manguera de suministro de 81 cm (32") tiene un acoplamiento en T con 2 derivaciones y 2 conectores dentados simples.
| Sección de brazo | Válvula de sección | Boquilla | Manguera de suministro |
|---|---|---|---|
| Izquierda | 1 | 1 | 279 cm (110") |
| 2 | 2 | 234 cm (92") | |
| 3 | 3 | 188 cm (74") | |
| 4 | 4 | 188 cm (74") | |
| Central | 5 | 5 y 6 | 81 cm (32") |
| 6 | 7 y 8 | 81 cm (32") | |
| Derecho | 7 | 9 | 188 cm (74") |
| 8 | 10 | 188 cm (74") | |
| 9 | 11 | 234 cm (92") | |
| 10 | 12 | 279 cm (110") |

Alinee el tubo de trasvase del collarín de una torreta [con el orificio situado en el lado del conector dentado simple (½")].

Cierre la abrazadera superior alrededor del conector de manguera dentado y sujete la abrazadera superior y el cuerpo de la torreta con el tornillo de acero inoxidable (N.º 12" × 1¼"); apriete el tornillo de acero inoxidable a 14-18 N∙m (20-25 pulgadas-libra).
Note: Asegúrese de que el perno de cabeza hexagonal (5/16" × ¾") está asentado en el hueco de la abrazadera superior al cerrar la abrazadera.
Sujete las torretas a los soportes usando las contratuercas con arandela prensada (5/16") que se retiraron anteriormente.

Apriete la contratuerca con arandela prensada a 1978–2542 N∙cm (175–225 pulgadas-libra).
Alinee el extremo del tubo del sensor de presión (plástico) del indicador de presión del panel de instrumentos con el anillo de bloqueo del acoplamiento del tubo.

Inserte el tubo del sensor en el anillo de bloqueo hasta que el tubo esté correctamente asentado.
Piezas necesarias en este paso:
| Placa del receptor de navegación | 1 |
| Soporte del receptor | 1 |
| Perno (⅜" × 3¼") | 1 |
| Arandela de freno (⅜") | 1 |
| Arandela (⅜" × 13/16") | 1 |
| Espaciador (⅜" × 1") | 1 |
| Contratuerca con arandela prensada (⅜") | 1 |
| Perno con arandela prensada (5/16" × ¾") | 1 |
| Contratuerca con arandela prensada (5/16") | 1 |
| Perno con arandela prensada (⅜" × 1½") | 2 |
| Espaciador (⅜" × 7/16") | 2 |
| Receptor de navegación | 1 |
| Soporte de la antena del módem | 1 |
| Perno de cabeza hexagonal (5 mm × 16 mm) | 3 |
| Arandela (5 mm) | 3 |
Sujete la placa del receptor al soporte del receptor con 1 perno (⅜" × 3¼"), 1 arandela de freno, 1 arandela, 1 espaciador (⅜" × 1") y 1 contratuerca (⅜").

Monte el perno con arandela prensada (5/16" × ¾") y la tuerca con arandela prensada (5/16") en el orificio más pequeño del soporte del receptor y la ranura de la placa del receptor.

Apriete los pernos y las tuercas hasta que pueda girar la placa del receptor con una ligera resistencia.
Monte el soporte del receptor y el espaciador (⅜" × 7/16") en la barra antivuelco con el perno con arandela prensada (⅜" × 1½").

Apriete los pernos hasta que pueda girar la placa del receptor con una ligera resistencia.
Nivele la placa del receptor lateralmente (izquierda/derecha).

Apriete el perno con arandela prensada (5/16" × ¾") y la tuerca con arandela prensada (5/16") a 1978–2542 N∙cm (175–225 pulgadas-libra).
Nivel la placa del receptor en sentido adelante/atrás.
Apriete el perno (⅜" × 3¼") y la contratuerca con arandela prensada (⅜") a 37–45 N∙m (27–33 pies-libra).
Instale el receptor en el soporte usando 4 pernos (5 mm × 16 mm) y 4 arandelas.
Note: Asegúrese de que ambas flechas apuntan hacia la parte delantera de la máquina.

Apriete los 3 pernos a 576–712 N∙cm (51–63 pulgadas-libra).
Piezas necesarias en este paso:
| Soporte de la antena | 1 |
| Remache | 2 |
| Imán | 2 |
| Antena del módem | 1 |
| Antena de alta ganancia | 1 |
Instale el soporte de las antenas del módem en la barra antivuelco.

Limpie cualquier grasa o aceite de la superficie de montaje de la antena.
Retire el soporte del adhesivo de doble cara y pegue la antena al soporte.

Sujete la antena y el arnés de cables al soporte con 3 bridas.

Coloque la antena de antena de alta ganancia junto a la otra antena de la barra antivuelco.

Enrute los arneses de las antenas del módem hacia la derecha por la barra antivuelco.


Enrute el arnés hacia abajo y hacia adelante.

Piezas necesarias en este paso:
| Adaptador de arnés | 1 |
| Arnés de datos y eléctrico | 1 |
| Brida | 8 |

Enrute la rama de 302 cm (119") del arnés de datos de navegación y eléctrico junto al tubo derecho del ROPS con el conector hembra de 12 vías (gris) y el conector hembra de 12 vías (negro) hacia arriba hasta el receptor de navegación.
Conecte los 2 conectores de la cara larga del conector hembra de 12 vías del arnés de datos marcado con los 2 conectores en el arnés del adaptador.

Enchufe el arnés adaptador en el receptor.
Enrute el arnés de datos de navegación y eléctrico por el tubo derecho de la barra antivuelco y el arnés de la antena del módem hasta el travesaño del soporte del asiento.

Sujete los arneses a la barra antivuelco con bridas.
Note: Asegúrese de que hay holgura en el arnés entre los conectores hembra de 12 vías y la brida.
Enrute la rama de 227 cm (89½") del arnés de datos de navegación y eléctrico por la parte inferior de la consola de control de la máquina.

Enrute la rama de 258 cm (101½") del arnés de datos de navegación y eléctrico por el tubo de sujeción del amortiguador y hacia la batería.
Pegue el soporte magnético del arnés trasero en el bastidor del tubo superior derecho del bastidor de la máquina.

Enchufe el conector de 4 pines marcado del arnés de datos en el conector hembra de 4 vías marcado del arnés trasero.
Piezas necesarias en este paso:
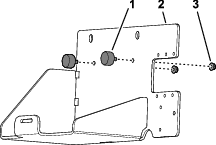
| Soporte de la pantalla | 1 |
| Perno con arandela prensada (6 mm × 12 mm) | 3 |
| Abrazadera (5/16") | 2 |
| Perno con arandela prensada (5/16" × ¾") | 4 |
| Contratuerca con arandela prensada (5/16") | 8 |
| Soporte de bola | 1 |
| Brazo de la pantalla | 1 |
Marque la posición del volante respecto a la válvula de dirección con un trozo de cinta.

Retire la tapa del volante.
Retire la tuerca (⅝") y la arandela (⅝") que sujetan el volante a la válvula de dirección, y retire el volante.
Alinee el soporte de la pantalla con la máquina como se muestra.

Monte el soporte de la pantalla en el alojamiento de la válvula de dirección con los 3 pernos con arandela prensada (6 mm × 12 mm).

Monte la placa del soporte de la pantalla en el tubo del chasis de la máquina con las 2 abrazaderas y las 4 contratuercas con arandela prensada (5/16").

Apriete los 3 pernos con arandela prensada (6 mm × 12 mm) de la válvula de dirección a 972–1198 N∙cm (86–106 pulgadas-libra); apriete las contratuercas con arandela prensada del tubo a 1978–2542 N∙cm (175–225 pulgadas-libra).
Alinee la cinta del volante con la cinta del alojamiento de la válvula de dirección.

Monte el volante sobre el husillo de la válvula de dirección con la arandela (⅝") y la tuerca (⅝") que se retiraron anteriormente.
Apriete la tuerca a 206–254 N∙m (152–188 pies-libra).
Instale el embellecedor.
Monte el soporte de bola en el soporte de la pantalla con los 4 pernos con arandela prensada (5/16" × ¾") y 4 contratuercas con arandela prensada (5/16").

Apriete los pernos y las tuercas a 1978–2542 N∙cm (175–225 pulgadas-libra).
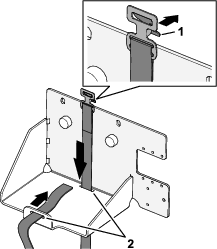
Monte el acoplamiento de bola de la pantalla y el soporte de bola de la máquina en el brazo largo de la pantalla.

Ajuste la pantalla de manera que quede visible desde la posición del operador de la máquina, y apriete el pomo del brazo de la pantalla a mano.
Enrute la rama de 227 cm (89½") del arnés de datos de navegación y eléctrico (la rama que tiene el conector hembra de 26 vías) hacia arriba por el tubo de sujeción de la pantalla.
Enchufe el arnés de datos de navegación en el monitor.

Retire la resistencia de terminación del conector hembra de 6 vías marcado CAN 2 TERMINATOR del cable de datos como se muestra.
Note: Ya no necesitará la resistencia de terminación.

Piezas necesarias en este paso:
| Arnés de datos del módem – 300 cm (118") | 1 |
Enrosque el conector del arnés del módem en la pantalla.

Enrute el arnés de datos del módem junto al arnés de datos de la pantalla.
Enrute el arnés de datos del módem por debajo del tubo de sujeción del amortiguador de la máquina
Enrute el arnés de datos del módem por detrás de los relés y hacia abajo.

Alinee el conector de 4 pines marcado del arnés de datos del módem cerca de los 4 conectores del arnés de la antena del módem, como se muestra.

En el tubo superior derecho del bastidor, enrolle y ate con 2 bridas el arnés de datos de navegación y eléctrico, y la
Enrolle y ate con 2 bridas el arnés de la antena del módem y el mazo del arnés trasero.

Sujete el arnés de datos del módem y el arnés de datos de navegación y eléctrico al tubo del monitor con una brida.

Sujete el arnés de datos del módem al arnés de datos de navegación y eléctrico con una brida.
Piezas necesarias en este paso:
| Arnés de alimentación del módem | 1 |
Alinee el arnés de alimentación del módem con la máquina.

Enrute los terminales de anillo del arnés de alimentación del módem marcados y hacia la batería.

Enrute el conector de 4 pines marcado y el conector hembra de 18 vías marcado del arnés de alimentación del módem por debajo del bloque de fusibles de la máquina.
En la parte delantera de la máquina, enrute el conector de 4 pines marcado y el conector hembra de 18 vías marcado del arnés de alimentación del módem hasta la máquina, como se muestra.

Enchufe el terminal del arnés de alimentación del módem marcado en el conector hembra de alimentación de accesorios del bloque de fusibles.
Note: Si el bloque de fusibles de la máquina no dispone de un circuito de alimentación de accesorios, instale un bloque de fusibles adicional; consulte a su distribuidor autorizado Toro.
Cerca del bloque de fusibles, recoja el arnés de alimentación del módem en el conector de 9 pines marcado , y sujete el arnés con 2 bridas, como se muestra.

Enrolle el arnés de alimentación del módem en el cable negativo de la batería, y ate el mazo al cable de la batería con una brida.
Introduzca el fusible (10 A) en el zócalo del bloque de fusibles (Figura 145) del circuito de alimentación de accesorios que utilizó en el paso 5.

Piezas necesarias en este paso:
| Módem CL-55 | 1 |
| Soporte del módem | 1 |
| Perno (N.º 10-24 × 1⅜") | 2 |
| Contratuerca (N.º 10-24") | 2 |
| Imán | 2 |
| Remache | 2 |
Retire la grapa que sujeta el arnés de cables de la máquina al soporte de la varilla de sujeción.

Sujete el módem al soporte con 2 pernos (N.º 10-24 × 1⅜") y 2 tuercas (N.º 10-24).

Sujete los imanes al soporte del módem usando los remaches.

Coloque el soporte del módem debajo del soporte de la varilla de sujeción y detrás de la pestaña del bastidor de la máquina.

Introduzca la grapa superior del arnés de cables en los orificios del soporte de la varilla.

Enchufe el conector coaxial del arnés de la antena del módem marcado en el puerto coaxial del módem CL-55 marcado WIFI/BT, y apriete el conector coaxial.

Enchufe el conector rápido coaxial azul del arnés de la antena del módem marcado en el conector del módem CL-55 marcado hasta que los conectores se enganchen firmemente.
Enchufe el conector rápido coaxial violeta del arnés de la antena del módem marcado en el conector del módem CL-55 marcado hasta que los conectores se enganchen firmemente.
Enchufe el conector rápido coaxial rojo del arnés de la antena del módem marcado en el conector del módem CL-55 marcado hasta que los conectores se enganchen firmemente.
Enchufe el conector de 4 pines del arnés de datos del módem marcado en el conector hembra de 4 vías (sin marcar) del módem CL-55, y apriete la tuerca moleteada del conector de 4 pines.

Enchufe el conector hembra de 18 vías del arnés de alimentación del módem marcado en el conector de 18 pines del módem CL-55.
En el lado interior de la consola de control de la máquina, retire y guarde la resistencia de terminación pasiva del conector de 3 pines sin marcar del arnés de cables de la máquina.


Piezas necesarias en este paso:
| Arnés Bus ISO-CAN – 302 cm (119") | 1 |
En la parte delantera de la consola de control de la máquina, enrute el conector marcado del arnés del Bus ISO-CAN al interior de la parte inferior de la pantalla.

Retire el tapón del conector hembra de 4 vías marcado del arnés de datos de navegación y eléctrico.

Enchufe el conector de 4 pines marcado del arnés del Bus ISO-CAN en el conector hembra de 4 vías marcado del arnés de datos de navegación y eléctrico.

Enrute los conectores marcados y del arnés del Bus ISO-CAN hacia el bloque de fusibles.


En el bloque de fusibles, retire el tapón del conector hembra de 3 vías marcado del arnés de cables de la máquina.

Enchufe el conector de 3 pines marcado del arnés del Bus ISO-CAN en el conector hembra de 3 vías marcado del arnés de cables de la máquina.
Important: No conecte los conectores del arnés marcados y del arnés trasero.
Enrolle el arnés del Bus ISO-CAN y átelo al arnés de datos de navegación y eléctrico con una brida.

Sujete el arnés del Bus ISO-CAN y el arnés de datos de navegación y eléctrico al tubo derecho del bastidor con una brida.
Piezas necesarias en este paso:
| Arnés adaptador – 13 cm (5") | 1 |
En el receptor de satélite, retire y deseche la terminación del Bus ISO del conector hembra de 6 vías del arnés GeoLink.

Enchufe el conector de 6 pines del arnés adaptador – 13 cm (5") – en el conector hembra de 6 vías del arnés GeoLink.
Enchufe la resistencia en el conector hembra de 3 vías del arnés adaptador.
Sujete el arnés adaptador al arnés GeoLink con una brida.
Desconecte el conector hembra de 2 vías del arnés de cables de la máquina marcado del conector de 2 pines del embrague de la bomba.

Conecte el conector de 2 pines de la rama del arnés trasero – 84 cm (33") – al conector hembra de 2 vías del arnés de cables de la máquina marcado .

Conecte el conector hembra de 2 vías del arnés trasero al conector de 2 pines del embrague de la bomba.
Enrute la rama de 84 cm (33") del arnés de cables contra el motor y la bomba de fumigación de manera que el arnés no toque la correa del alternador.

Piezas necesarias en este paso:
| Soporte de la batería | 1 |
| Tope | 1 |
| Contratuerca con arandela prensada (¼") | 2 |
| Pletina de sujeción | 1 |
| Batería (650 A) | 1 |
| Soporte del alternador | 1 |
| Polea de transmisión 279 mm (11") | 1 |
| Perno (¼" × 2¼") | 4 |
| Alternador (60 A) | 1 |
| Perno con arandela prensada (8 mm × 25 mm) | 1 |
| Perno con arandela prensada (⅜" × 1½") | 1 |
| Correa en V | 1 |
Retire las 2 contratuercas con arandela prensada y la varilla de sujeción de los 2 pernos en J que sujetan la batería al soporte de la batería.

Retire y deseche los 2 pernos en J y la bandeja de la batería del soporte de la batería.

Retire la batería de la máquina.
Note: Ya no necesitará las tuercas con arandela prensada, la varilla de sujeción y la batería (300 A).
Retire y guarde los 3 pernos (10"-24 × ¾") y las 3 tuercas (10-24) que sujetan los bloques de fusibles al soporte de la batería.

Retire y guarde los 2 pernos con arandela prensada (⅜" × ¾") que sujetan el soporte de la batería al tubo de sujeción del amortiguador de la máquina.
Retire y guarde los 2 pernos (10"-24 × ¾"), las 2 contratuercas (10"-24) y el clip del soporte del cable que sujetan el bloque de terminales de tierra y el cable al soporte de la batería.
Note: Deseche el clip del soporte del cable.

Retire y deseche el soporte de la batería de la máquina.

Monte los 2 topes en el soporte de la batería con 2 contratuercas con arandela prensada (¼").

Pase la correa a través de las 2 ranuras del soporte de la batería.

Alinee el nuevo soporte de la batería con el tubo del sujeción del amortiguador y los bloques de fusibles.

Monte el soporte de la batería en el tubo del sujeción del amortiguador con los 2 pernos con arandela prensada (⅜" × ¾") que se retiraron anteriormente.

Apriete los pernos con arandela prensada a 37–45 N∙m (27–33 pies-libra).
Sujete el bloque de terminales de tierra al soporte de la batería con los 2 pernos (10"-24 x ¾") y las 2 contratuercas (10"-24) que se retiraron anteriormente, y sujete el clip del soporte del cable al borde del soporte.

Sujete los bloques de fusibles al soporte de la batería con los 3 pernos (10"-24 × ¾") y las 3 tuercas (10"-24) que se retiraron anteriormente.

Monte la batería (650 A) en el soporte de la batería.

Pase la correa de la batería a través de la hebilla y apriete la correa hasta que la batería quede firmemente sujeta.
En el cabezal de la bomba, afloje los 2 pernos para que quede un espacio de 7 a 10 mm (¼"-⅜") entre la cabeza de los pernos y la bomba.
Note: No es necesario retirar los pernos de la bomba de fumigación.

Alinee el soporte del alternador entre los pernos y el cabezal de la bomba.

Apriete los pernos a 61–75 N (45–55 pies-libra).
Afloje la tuerca del eje la polea tensora.
Note: Asegúrese de que no hay tensión de la correa.

Gire el perno tensor de la correa para eliminar la tensión de la correa de la bomba de fumigación.
Retire los 4 pernos (¼" × 1") y las 4 arandelas de freno (¼") que sujetan la polea a la bomba de fumigación.
Important: No retire la polea.
Note: Guarde la arandela de freno; ya no necesitará los pernos.

Alinee los orificios de la polea del alternador (kit) con los orificios de la polea de la bomba de fumigación.

Monte la polea del alternador en la polea de la bomba de fumigación y la bomba de fumigación con los 4 pernos (¼" × 2¼") y 4 arandelas de freno (¼").
Apriete los pernos a 1017–1243 N∙m (90–110 pulgadas-libra).
Gire el perno tensor de la correa para aumentar la tensión de la correa hasta que la correa se desvíe 9.5 mm (⅜") al aplicar una fuerza de 4.5 kg (10 libras) en el punto intermedio entre los piñones del motor y la bomba de fumigación.

Apriete la tuerca del eje de la polea tensora a 37–44 N∙m (27–33 pies-libra).
Monte el alternador (60 A) en el saliente roscado del soporte del alternador con el perno con arandela prensada (⅜" × 1½").

Sujete la pestaña roscada del alternador a la pestaña ranurada del soporte del alternador con el perno con arandela prensada (8 mm x 25 mm).
Coloque la correa en V sobre la polea motriz (279 mm (11")) y la polea del alternador.

Gire el alternador hacia arriba para aumentar la tensión de la correa hasta que la correa se desvíe 9.5 mm (⅜") al aplicar una fuerza de 4.5 kg (10 libras) en el punto intermedio entre la polea del alternador y la polea de transmisión (279 mm (11")).

Apriete el perno con arandela prensada (8 mm × 25 mm) a 23–29 N∙m (17–21 pies-libra).
Apriete el perno con arandela prensada (⅜" × 1½") a 37–45 N∙m (27–33 pies-libra).
Piezas necesarias en este paso:
| Cable del alternador (rojo – calibre 6) | 1 |
| Relé | 1 |
| Grapa | 1 |
| Fusible (15 A) | 1 |
Conecte el conector de 2 vías del extremo del cable rosa de 57 cm (23½") del arnés trasero en el conector de 2 pines del alternador (50 A).

Enrute el cable rosa del sensor lejos de las correas del alternador, y sujete el cable con una brida.
Retire la tuerca del borne del alternador (50 A).

Conecte el extremo del cable rojo de calibre 6 del alternador con cubierta aislante al borne del alternador (50 A) con la tuerca.
Enrute el otro extremo del cable del alternador hacia los bornes de la batería, lejos de la polea y la correa del alternador.
Apriete la tuerca a 47–57 N∙m (34–42 pies-libra).
Coloque la cubierta aislante sobre el borne del alternador.
Conecte el conector de 5 pines del relé en el conector hembra de 5 vías del arnés marcado ASC 10 ENABLE RELAY.

Alinee el orificio de la pestaña de montaje del relé con el orificio del tubo de sujeción del amortiguador, y sujete el relé al tubo con una grapa.
Prepare un multímetro para realizar una prueba de continuidad.
En el bloque de fusibles 3 de la máquina, introduzca la sonda del multímetro en el contacto 4 (columna de la derecha) del bloque de fusibles 2.

En el lado delantero de los bloques de fusibles, utilice la otra sonda del multímetro para identificar el conector plano del extremo del cable rojo de calibre 10 que se conecta al contacto 4 del bloque de fusibles 2.

Utilice un trozo de cinta para marcar el conector y el cable que identificó en el paso anterior.
Conecte el conector plano que marcó en el paso anterior al conector hembra del extremo del cable rosa de 51 mm (2") del arnés.

Inserte el fusible (15 A) en la ranura 2 del bloque de fusibles 3 hasta que esté correctamente asentado.

Piezas necesarias en este paso:
| Abrazadera de conexión rápida (palanca roja) | 1 |
| Abrazadera de conexión rápida (palanca negra) | 1 |
Retire las tuercas hexagonales y las arandelas de las palancas de las abrazaderas de desconexión rápida.
Abra la palanca de la abrazadera de desconexión rápida con palanca negra.

Monte la abrazadera de desconexión rápida en el borne negativo de la batería, con el espárrago roscado de la abrazadera orientado hacia el centro de la batería.
Cierre la palanca de la abrazadera de desconexión rápida.
Note: Si es necesario ajustar la fuerza de apriete de la abrazadera de desconexión rápida, abra la palanca, gire la tuerca moleteada para aumentar o reducir la fuerza de apriete, y cierre la palanca de la abrazadera.
Repita los pasos con la abrazadera con palanca roja del borne positivo de la batería.
Un enrutado incorrecto de los cables de la batería podría dañar la máquina y los cables, causando chispas. Las chispas podrían hacer explotar los gases de la batería, causando lesiones personales.
Desconecte siempre el cable negativo (negro) de la batería antes de desconectar el cable positivo (rojo).
Conecte siempre el cable positivo (rojo) de la batería antes de conectar el cable negativo (negro).
Los bornes de la batería o una herramienta metálica podrían hacer cortocircuito si entran en contacto con los componentes metálicos, causando chispas. Las chispas podrían hacer explotar los gases de la batería, causando lesiones personales.
Al retirar o colocar la batería, no deje que los bornes toquen ninguna parte metálica de la máquina.
No deje que las herramientas metálicas hagan cortocircuito entre los bornes de la batería y las partes metálicas de la máquina.
Haga un corte en el capuchón aislante del cable positivo de la batería que va al motor de arranque.

Monte los siguientes cables y terminales en el espárrago roscado del borne positivo de la batería, en el orden siguiente:
Important: Asegúrese de que el terminal del cable positivo que va desde la batería al motor de arranque está situado encima de la pila de terminales del espárrago roscado.
Terminal de anillo – rama de 165 cm (65") del arnés de alimentación del módem (marcado
Terminal del cable de la batería (positivo) – al alternador (50 A)
Terminal de anillo – rama de 258 cm (101½") del arnés de datos de navegación y eléctrico (marcado )
Terminal de anillo – rama de 21.6 cm (8½") del arnés de la máquina (marcado )
Terminal de anillo – rama de 24 cm (9½") del arnés de fumigación del kit (sin marcar)
Terminal del cable de la batería (positivo) – al motor de arranque

Monte la tuerca hexagonal (¼") y la arandela (¼") en el espárrago roscado, y apriete la tuerca a 1017-1234 N∙cm (90-110 pulgadas-libra).
Coloque el capuchón aislante del cable positivo de la batería que va al motor de arranque sobre el espárrago roscado.
Monte los siguientes cables y terminales en el espárrago roscado del borne negativo de la batería, en el orden siguiente:
Important: Asegúrese de que el terminal del cable negativo que va desde la batería a la conexión de masa del motor y el chasis está situado encima de la pila de terminales del espárrago roscado.
Terminal de anillo – rama de 258 cm (101½") del arnés de datos de navegación y eléctrico (no marcado – con aislante negro)
Terminal de anillo – rama de 165 cm (65") del arnés de alimentación del módem (marcado )
Terminal del cable de la batería (negativo) – a la conexión de masa del motor y el chasis

Recoja el exceso de cables del arnés de datos contra el tubo superior derecho del bastidor.

Sujete el arnés de datos al tubo de sujeción del amortiguador con una brida.
Sujete el exceso de cables del arnés de datos al tubo superior derecho del bastidor con una brida.
Compruebe que hay espacio suficiente entre las poleas y las correas y el arnés de datos, el arnés de la batería, el arnés de cables del kit y los cables de la batería.
Sujete el arnés de cables y los cables con bridas, según sea necesario, para mantenerlos alejados de las correas y de las poleas.
Piezas necesarias en este paso:
| Tapón del interruptor | 1 |
Retire los 4 tornillos con arandela prensada (¼" x ½") que sujetan el panel de 3 interruptores a la consola de control.

Apriete las pestañas de bloqueo del interruptor de control de caudal, y saque el interruptor del panel de 3 interruptores.

Desconecte el conector hembra de 8 vías del arnés de cables de la máquina (marcado Rate Switch) del conector de 8 pines del interruptor.
Note: Ya no necesitará el interruptor de caudal que retiró de la máquina.
Enrute la rama del arnés delantero del interruptor de caudal por el hueco del panel de 3 interruptores, y sujete la rama del arnés contra una rama de cables adyacente con una brida.
Monte el panel de 3 interruptores en la consola de control con los 4 tornillos con arandela prensada (¼" x ½") que retiró en el paso 1.
Alinee el tapón del interruptor con el orificio del panel de 3 interruptores de donde retiró el interruptor de caudal.
Inserte el tapón del interruptor en el panel de 3 interruptores hasta que el tapón encaje firmemente en el panel.
Piezas necesarias en este paso:
| Grapa | 13 |
Alinee los orificios del capó con los orificios del panel de instrumentos y del bastidor de la máquina.

Sujete el capó al panel de instrumentos y al bastidor con 9 grapas.
Conecte los 2 conectores hembra de 2 vías del arnés de cables de la máquina a los conectores de 2 pines de los faros derecho e izquierdo.

Alinee el panel interior del guardabarros con los tubos superior izquierdo e inferior izquierdo del bastidor.

Sujete el panel interior del guardabarros a los tubos del bastidor con las 6 grapas.
Alinee los orificios del guardabarros con los orificios del bastidor de la máquina.

Monte provisionalmente el guardabarros en el bastidor con los 3 pernos (5/16" × 1") y las 3 arandelas (5/16") que se retiraron anteriormente.
Sujete el guardabarros al perfil del bastidor con las 2 grapas.

Apriete el perno (5/16" × 1") a 1978–2542 N∙cm (175–225 pulgadas-libra).
Repita los pasos 1 a 6 con el panel interior del guardabarros y el guardabarros del otro lado de la máquina.
Alinee el panel interior del guardabarros con los tubos superior derecho e inferior derecho del bastidor.


Sujete el panel interior del guardabarros a los tubos del bastidor con las 6 grapas y las 5 arandelas (9/16" × ½").
Alinee el guardabarros delantero derecho con la máquina y alinee los orificios del guardabarros con los del bastidor.

Sujete el guardabarros delantero derecho a la tuerca rápida del soporte del travesaño con el tornillo (5/16" × 1") y la arandela (5/16").
Sujete el guardabarros delantero derecho al perfil de montaje de la barra antivuelco con 2 grapas.

Alinee el orificio del guardabarros delantero derecho con el orificio del suelo de la plataforma, y sujete el guardabarros al suelo con un tornillo (5/16" × 1") y una arandela (5/16").

Alinee el orificio de la tapa inferior de la consola con el orificio del tubo de sujeción del amortiguador, y el orificio de la tapa del extremo de la consola con el orificio del tubo transversal.

Sujete las tapas a los tubos con 2 tornillos (5/16" × 1") y 2 arandelas (5/16").
Alinee los cierres del panel de acceso del motor con los casquillos de los soportes del panel en la barra antivuelco.

Monte el panel en los soportes.
Gire las palancas de los cierres hacia abajo para sujetar el panel a los soportes.
Alinee el asiento y la chapa del asiento con el chasis de la máquina.

Alinee los orificios de los soportes de giro de la base del asiento con los orificios del soporte del chasis.


Sujete la base del asiento a los soportes del chasis con los 2 pasadores de giro.
Sujete los pasadores de giro a la máquina con las 2 chavetas.
Sujete la varilla de sujeción al soporte del asiento con una arandela y una chaveta.

Enchufe el conector hembra de 2 vías del arnés de cables de la máquina en el conector del interruptor del asiento hasta que los conectores encajen firmemente.

Gire el asiento ligeramente hacia adelante, retire la varilla de sujeción de la muesca de retención, y gire el asiento hacia abajo hasta que se enganche correctamente.
Introduzca la llave en el interruptor de encendido y gírela a la posición de CONECTADO.
La pantalla de presentación aparece en la pantalla del InfoCenter y el testigo se enciende momentáneamente.
Note: No arranque el motor.

En la pantalla de Inicio, pulse el botón central del InfoCenter para acceder a la pantalla de navegación.

Pulse el botón central del InfoCenter para acceder al menú principal.
En la pantalla del MENú PRINCIPAL, pulse el botón central para desplazarse a la opción SETTING (Ajustes), y pulse el botón derecho para seleccionar la opción.

En la pantalla SETTING (Ajustes), pulse el botón central para desplazarse a la opción PROTECTED SETTINGS, y pulse el botón derecho para seleccionar esa opción.

Introduzca el código PIN como se indica a continuación:
Pulse el botón central las veces que sea necesario para introducir el número del código PIN que corresponde a la posición de la izquierda.

Pulse el botón derecho para desplazarse al número siguiente del código PIN.
Repita los pasos 1 y 2 para los 3 números restantes del código PIN.
Cuando termine de introducir los números del código PIN, pulse el botón derecho y luego el botón central para introducir el código PIN.
El testigo se enciende momentáneamente.

Pulse el botón central para desplazarse a la opción GEOLINK, y pulse el botón derecho para seleccionar la opción.

Aparece la pantalla de confirmación de GeoLink en el InfoCenter.

Gire el interruptor de encendido a la posición de DESCONECTADO y luego a la posición de CONECTADO.
La pantalla de presentación de GEOLINK aparece inicialmente cuando se gira la llave de contacto a la posición de CONECTADO.

Gire la llave de contacto a la posición de MARCHA (gasolina) o PRECALENTAMIENTO/MARCHA (diésel).
Compruebe que cada uno de los siguientes componentes indica que recibe potencia:
Consola de control — muestra gráficos y texto.

Receptor de satélite — se enciende el indicador PWR.

Módem — se encienden los indicadores LED.

Controlador automático de secciones — se enciende el indicador de ESTADO.

Gire la llave de contacto a la posición de DESCONECTADO.
Compruebe que los componentes siguientes no reciben corriente:
Consola de control
Receptor de satélite
Controlador automático de secciones
Consulte la Guía de software de su sistema GeoLink.
Realice los procedimientos siguientes:
Verificación de la versión de software.
Selección de las unidades de medida.
Creación de una parcela.
Creación de un nuevo producto y caudal de aplicación.
Creación de una tarea de fumigación.
Equilibrado de las válvulas de sección
Comprobación del sistema de fumigación
Equilibrado de la válvula de desvío de agitación.
Calibre el caudalímetro.
Comprobación del estado celular.
Calibración de la brújula en las instalaciones del distribuidor.
Borrado de la NVRAM en las instalaciones del cliente.
Calibración de la brújula en las instalaciones del cliente.