Note: Deze set moet samen met model 41712 of model 41713 worden gemonteerd.
De GeoLink spuitsysteemset is een werktuig voor Toro Multi Pro gazonsproeiers en is bedoeld voor gebruik door professionele bestuurders en voor commerciële toepassingen. Het systeem is met name ontworpen voor sproeien op goed onderhouden gazons in parken, golfbanen en sportvelden. Het gebruik van dit product voor andere doeleinden dan het bedoelde gebruik kan gevaarlijk zijn voor u en voor omstanders.
Lees deze informatie zorgvuldig door, zodat u weet hoe u dit product op de juiste wijze moet gebruiken en onderhouden en om letsel en schade aan de machine te voorkomen. U bent verantwoordelijk voor het juiste en veilige gebruik van de machine.
Ga naar www.Toro.com voor documentatie over productveiligheid en bedieningsinstructies, informatie over accessoires, hulp bij het vinden van een dealer of om uw product te registreren.
Als u service, originele Toro onderdelen of aanvullende informatie nodig hebt, kunt u contact opnemen met een erkende servicedealer of met de klantenservice van Toro. U dient hierbij altijd het modelnummer en het serienummer van het product te vermelden. De locatie van het plaatje met het modelnummer en het serienummer van het product is aangegeven op Figuur 1. U kunt de nummers noteren in de ruimte hieronder.
Important: U kunt met uw mobiel apparaat de QR-code (indien aanwezig) op het plaatje met het serienummer scannen om toegang te krijgen tot de garantie, onderdelen en andere productinformatie.

Er worden in deze handleiding een aantal mogelijke gevaren en een aantal veiligheidsberichten genoemd met de volgende veiligheidssymbolen (Figuur 2), die duiden op een gevaarlijke situatie die ernstig of fataal lichamelijk letsel tot gevolg kan hebben als u de veiligheidsvoorschriften niet in acht neemt.

Er worden in deze handleiding twee woorden gebruikt om uw aandacht op bijzondere informatie te vestigen. Belangrijk attendeert u op bijzondere technische informatie en Opmerking duidt op algemene informatie die bijzondere aandacht verdient.
Chemische stoffen die worden gebruikt in het spuitsysteem kunnen gevaarlijk en giftig voor de gebruiker, omstanders, dieren, planten, de bodem of eigendommen zijn.
U moet de waarschuwingsetiketten en de veiligheidsinformatiebladen voor alle gebruikte chemische stoffen zorgvuldig lezen en in acht nemen en uzelf beschermen volgens de instructies van de fabrikant van de chemische stoffen. Bijvoorbeeld, draag geschikte persoonlijke beschermende uitrusting zoals gezichts- en oogbescherming, handschoenen of andere voorzieningen ter bescherming tegen lichamelijk contact met chemische stoffen.
Er kunnen meerdere chemische stoffen zijn gebruikt; zorg ervoor dat u informatie over elke stof krijgt.
Weiger de machine te gebruiken of te bedienen als deze informatie niet beschikbaar is.
Voordat u onderhoud uitvoert aan een spuitsysteem moet dit drie keer zijn gespoeld en geneutraliseerd volgens de instructies van de fabrikant(en) van de chemische stoffen en moeten alle kleppen 3 cyclussen hebben doorlopen.
Controleer of er voldoende water en zeep in de buurt is, en als u in contact komt met chemische stoffen, moet u deze onmiddellijk afspoelen.
![]() |
Veiligheidsstickers en veiligheidsinstructies zijn gemakkelijk zichtbaar voor de bestuurder en bevinden zich bij plaatsen waar gevaar kan ontstaan. Vervang alle beschadigde of ontbrekende stickers. |




Raadpleeg de Gebruikershandleiding van de machine.
Parkeer de machine op een horizontaal vlak en stel de parkeerrem in werking.
Breng de linker- en rechterspuitboom in de spuitstand.
Zet de motor af, verwijder het sleuteltje en koppel de accu af.
Reinig de spuitmachine.
Important: U dient de spuittank volledig te ledigen alvorens de completeringsset voor het GeoLink spuitsysteem te monteren.
Ontkoppel de connector met 2 contacten van de machinekabelboom die aan de connector van de stoelschakelaar gekoppeld is.

Verwijder de R-pen waarmee de steunstang bevestigd is aan de beugel onderaan de stoelplaat.

Verwijder de 2 R-pennen waarmee de draaifitting van de stoelplaat is bevestigd aan de chassisbeugels.


Verwijder de 2 draaipennen waarmee de stoel en stoelplaat aan het chassis zijn bevestigd.
Til de stoel en stoelplaat op en neem ze van de machine.

Draai de handgrepen van de sluitingen van het inspectieluik van de motor naar boven.

Til het inspectieluik van de motor op en neem het van de machine.
Verwijder de 2 druknagels waarmee het spatbord linksvoor bevestigd is aan het onderste rolbeugelkanaal en gooi deze weg.

Verwijder de 3 bouten (5/16" x 1") en 3 ringen (5/16") waarmee het spatbord aan het frame van de machine bevestigd is.

Neem het spatbord van de machine.
Verwijder de 6 druknagels en 5 ringen (9/16" x ½") waarmee het binnenste spatbordscherm bevestigd is aan het frame van de machine.

Verwijder het binnenste spatbordscherm van de machine.

Herhaal stap 1 tot en met 5 voor het spatbord en het binnenste spatbordscherm aan de andere kant van de machine.
Note: Als u de druknagels beschadigt bij het verwijderen, moet u deze vervangen door Toro onderdeelnr. 117-2382.
Verwijder de 2 tapbouten (5/16" x 1") en 2 ringen (5/16") waarmee de onderste kap van het bedieningspaneel en de kap aan het uiteinde van het bedieningspaneel zijn bevestigd aan de machine, en verwijder de kappen.


Verwijder de tapbout (5/16" x 1") en ring (5/16") waarmee het spatbord rechtsvoor is bevestigd aan de platformvloer.

Verwijder voorzichtig de 2 druknagels waarmee het spatbord rechtsvoor is bevestigd aan het montagekanaal van de rolbeugel.


Verwijder de tapbout (5/16" x 1") en ring (5/16") waarmee het spatbord rechtsvoor is bevestigd aan de dwarsbalksteun.

Verwijder het spatbord rechtsvoor van de machine.
Verwijder de 6 druknagels en 5 ringen (9/16" x ½") waarmee het binnenste spatbordscherm bevestigd is aan de rechter bovenste en rechter onderste framebuis.

Verwijder het binnenste spatbordscherm van de machine.
Note: Bewaar het spatbord rechtsvoor, het binnenste spatbordscherm, de tapbouten, ringen en onbeschadigde druknagels.Vervang beschadigde druknagels door Toro onderdeelnr. 117-2382.
Koppel de 2 elektrische connectoren (met 2 contacten) op de machinekabelboom af van de connectoren met 2 pinnen van de linker- en rechterkoplamp.

Verwijder de 9 druknagels waarmee de motorkap aan het dashboard en het frame van de machine is bevestigd en bewaar deze.

Verwijder de motorkap van de machine en gooi deze weg.
Druk de kraag in van de buiskoppeling op de eindkap van de rechter spuitboomklep.

Trek de druksensorbuis voor de meter op het dashboard uit de buiskoppeling.
Maak de connector met 3 contacten en aanduiding LEFT SPRAY VALVE, CENTER SPRAY VALVE, en RIGHT SPRAY VALVE (linkerspuitklep, middelste spuitklep en rechterspuitklep) van de machinekabelboom los van de connector met 3 pinnen van de 3 spuitklepactuators.

Koppel de connector met 4 contacten van de machinekabelboom met aanduiding RATE VALVE (dosisklep) af van de connector met 4 pinnen van de dosisklepactuator.

Koppel de connector met 3 contacten van de machinekabelboom met aanduiding MASTER SPRAY VALVE (hoofdspuitklep) af van de connector met 3 pinnen van de actuator van de hoofdspuitklep.
Verwijder aan de buitenste spuitboom de slangklem waarmee de slang bevestigd is aan de T-slangpilaar.

Verwijder de slang van de T-fitting.
Verwijder het vrije uiteinde van de slang van de R-klem.
Herhaal stap 1 tot en met 3 voor de toevoerslang aan de andere buitenste spuitboom.
Verwijder onder de middelste spuitboom de slangklem waarmee de toevoerslang voor de middelste spuitboom bevestigd is aan de T-slangpilaar.

Verwijder de borgclips waarmee de snelkoppelingen van de toevoerslangen links, rechts en in het midden bevestigd zijn van de snelkoppelingen in de spuitboomkleppen en bewaar de borgclips (Figuur 24).

Koppel de toevoerslangen van de linker-, rechter- en middelste spuitboom af van de snelkoppelingen van de spuitboomkleppen, verwijder de slangen van de machine en gooi deze weg.
Verwijder de slangen van de openingen voor de uitgaande slag van de linker- en rechterhefcilinder.

Verwijder de slangen van de volgende openingen en gooi deze slangen weg:
Opening C1, C2, C3 en C4 van het verdeelstuk van de hefcilinder
Openingen voor de ingaande en uitgaande slag van de linker en rechter hefcilinder.
Note: Bewaar al het bevestigingsmateriaal dat u verwijdert, tenzij anders aangegeven.
Gebruik een hijswerktuig met voldoende hefvermogen om de buitenste spuitboom te ondersteunen.
Verwijder de R-pen en de gaffelpen waarmee het stanguiteinde van de hefcilinder bevestigd is aan de draaibeugel.

Verwijder de flensborgmoer (5/16") en de flenskopbout (5/16" x ¾") waarmee de draaipen bevestigd is aan de cilinderbevestiging.

Verwijder de draaipen en de hefcilinder van de machine.
Hefvermogen: 46 kg
Als het heffen van zware machines en werktuigen niet op de juiste manier wordt uitgevoerd, kan dit leiden tot ernstig of dodelijk letsel.
Gebruik voor het heffen van zware machines en werktuigen altijd hijswerktuigen en hulpmiddelen zoals kettingen en riemen die geschikt zijn voor het gewicht van de vracht.
Note: Bewaar al het bevestigingsmateriaal dat u verwijdert (behalve indien anders aangegeven). U gebruikt het bevestigingsmateriaal voor het monteren van de verlenging van de middelste spuitboom.
Verwijder de flensbout (5/16" x 1") en flensborgmoer (5/16") waarmee de draaipen bevestigd is aan de draaibeugel.

Verwijder de draaipen uit de draaibeugel van de middelste spuitboom en de draaifitting van de buitenste spuitboom.
Maak de buitenste spuitboom los van de middelste spuitboom en verwijder de buitenste spuitboom van de machine.
Verwijder de 2 nylon flenslagers van de draaifitting van de buitenste spuitboom en gooi deze weg.
Herhaal stap 1 tot en met 3 in De hefcilinders verwijderen voor de buitenste spuitboom aan de andere kant van de machine.
Herhaal stap 1 tot en met 4 van dit hoofdstuk voor de buitenste spuitboom aan de andere kant van de machine.
Verwijder de 2 flensborgmoeren (5/16") en 2 flenskopbouten (5/16" x 1") waarmee de steunbeugel voor het hefverdeelstuk van de spuitboom is bevestigd aan de cilinderbevestiging, en maak het verdeelstuk los van de beugel van de cilinderbevestiging.

Ondersteun het hefverdeelstuk van de spuitboom door het met een touw aan de montagebeugel van de klep te binden.
Hefvermogen: 41 kg
Ondersteun de middelste spuitboom met een hijswerktuig met voldoende hefvermogen.

Verwijder de 4 flenskopbouten (⅜" x 1¼") en 4 flensborgmoeren (⅜") waarmee de middelste spuitboom is bevestigd aan de steunbeugels en bewaar de flenskopbouten en de flensborgmoeren.

Til de middelste spuitboom op en verwijder hem van de machine.
Benodigde onderdelen voor deze stap:
| Flenskopbout (⅜" x 1") | 2 |
| Flensborgmoeren (⅜") | 2 |
| Verlenging van middelste spuitboom | 1 |
| Cilinderbevestiging (breed) | 1 |
| Verbindingsplaat (breed) | 1 |
| Slotbout (½" x 1¼") | 4 |
| Flensborgmoer (½") | 4 |
Verwijder aan de middelste spuitboom de flensborgmoer waarmee de houder aan de bevestiging is vastgemaakt en bewaar deze.


Verwijder de schroef uit roestvrij staal (nr. 12 x 1¼") waarmee de bovenste klemhelft en de dubbele of enkele steel met slangribbel (¾") bevestigd zijn aan de behuizing van de houder, en koppel de steel met slangribbel en de slang af van de spuitdop.
Note: De inbusbout (5/16" x ¾" – roestvrij staal) komt los van de bovenste klemhelft wanneer u de klem opent. Bewaar de bout voor montage.

Verwijder de houder van de middelste spuitboom.
Herhaal stap 1 en 2 voor de andere 2 houders.
Verwijder de slangen (binnendiameter van ¾"), de stelen met slangribbel, de klemmen en de geribde T-fitting van de middelste spuitboom.
Note: U hebt de slang, slangstelen, klemmen en T-fitting niet meer nodig. Bewaar alle andere onderdelen.
Verwijder de 2 flenskopbouten (⅜" x 1") en 2 borgmoeren (⅜") waarmee de verticale flenzen van de linker en rechter frames bevestigd zijn.

Verwijder de 2 slotbouten (½" x 1¼") en 2 borgmoeren (½") waarmee de smalle cilinderbevestiging, linker en rechter frames en de smalle verbindingsplaat bevestigd zijn.

Note: Bewaar de flenskopbouten, slotbouten en borgmoeren. U hebt de smalle cilinderbevestiging en de smalle verbindingsplaat niet meer nodig.
Maak het linker en rechter frame los van elkaar.
Monteer het verlengstuk van de middelste spuitboom losjes op het frame; gebruik hierbij de 2 eerder verwijderde flenskopbouten (⅜" x 1") en 2 flensborgmoeren (⅜").

Monteer het verlengstuk van de middelste spuitboom losjes op het andere frame; gebruik hierbij de 2 flenskopbouten (⅜" x 1") en 2 flensborgmoeren (⅜").
Monteer de verbindingsplaat op het frame en het verlengstuk van de middelste spuitboom, en lijn de opening in de verbindingsplaat uit met de openingen in het midden van de frames en het verlengstuk van de spuitboom.

Monteer de cilinderbevestiging, frames, het verlengstuk van de middelste spuitboom en de verbindingsplaat; maak hierbij gebruik van 6 slotbouten (½" x 1¼") en 6 flensborgmoeren (½").
Note: 2 van de slotbouten en borgmoeren zijn afkomstig van eerder verwijderde onderdelen.
Draai de flenskopbouten en flensborgmoeren van ⅜" vast met een torsie van 37 tot 45 N·m.
Draai de flensborgmoeren van ½" vast met een torsie van 91 tot 113 N·m.
Benodigde onderdelen voor deze stap:
| Houder | 2 |
| Slang (klep 5 of 6) | 2 |
| Flensborgmoer (5/16") | 2 |
Gebruik een hijswerktuig om de nieuwe middelste spuitboom tot een comfortabele werkhoogte te tillen.
Verwijder de schroef uit roestvrij staal waarmee de bovenste klemhelft is bevestigd aan de zitting.

Zoek de opening in de zijkant van de enkele steel met slangribbel aan het uiteinde van de slang van 25 cm van de slangeenheid (klep 5 of 6) voor de middelste spuitboom.

Lijn de verbindingsbuis in de zitting van een houder uit met de opening in de zijkant van de enkele steel met slangribbel (½").
Sluit de bovenste klemhelft rond de geribde slangaansluiting en zet de klemhelft en spuitdopbehuizing vast met de schroef uit roestvrij staal (nr. 12 x 1¼"); draai de schroef aan met 14 tot 18 N∙m.
Important: Draai de schroef uit roestvrij staal niet te vast.
Note: Zorg ervoor dat de bout (5/16" x ¾") in de uitsparing in de bovenste klemhelft zit wanneer u de klem sluit.
Herhaal stap 3 tot 5 voor de enkele steel met slangribbel van de andere slangeenheden (spuitklep 5 of 6) voor de middelste spuitboom.
Leid de slang van 13 mm en de houder tussen de framesteunen van het buitenste frame.

Leid de slang en de houder boven de framesteun en naar buiten, naar de buitenste spuitdopbeugel.
Bevestig de houder losjes aan de beugel met de inbusbout (5/16" x ¾") en een flensborgmoer (5/16").

Leid de andere slang van 13 mm en de houder tussen de framesteunen van het buitenste frame.
Leid de slang en de houder boven de framesteun en naar binnen, naar de binnenste houderbeugel.
Bevestig de houder losjes aan de beugel met de inbusbout (5/16" x ¾") en een flensborgmoer (5/16").
Draai de flensborgmoer aan met 1978 tot 2542 N·cm.
Leid de slang met geribde koppeling van 13 x 810 mm naar de zijkant van de middelste spuitboom met de linker- en rechtersteunbeugel.
Herhaal stap 1 tot en met 8 voor de andere slang en houder aan het andere buitenste frame.
Benodigde onderdelen voor deze stap:
| Dop (snelkoppeling) | 3 |
| Borgclip | 3 |
Verwijder de kleine borgclip waarmee de snelkoppelfitting van de omloopslang is bevestigd aan de snelkoppelfitting van de omloopklep van de rechter spuitboom.

Verwijder de grote borgclip waarmee de geribde fitting van 90° aan het onderste uiteinde van de omloopslang bevestigd is aan de tussenschotfitting van de spuittank en bewaar deze borgclip.

Verwijder de omloopslang van de machine en gooi deze weg.
Verwijder de 3 borgclips waarmee de 3 klepactuators bevestigd zijn aan de kleppen van de linker-, rechter- en middelste spuitboom.

Verwijder de klepactuators van de spuitboomkleppen van de linker-, rechter- en middelste spuitboom.
Verwijder de borgclip waarmee de dop bevestigd is aan de snelkoppelfitting van de omloopklep. Verwijder de dop en gooi deze weg.

Verwijder de 3 borgclips waarmee de 3 omloopkleppen bevestigd zijn aan de kleppen van de linker-, rechter- en middelste spuitboom.

Til de omloopkleppen van de spuitboomkleppen.
Draai de omloopkleppen 180° en druk ze op de snelkoppelfittings van de spuitboomkleppen.
Bevestig de 3 omloopkleppen aan de spuitboomkleppen; gebruik de 3 borgclips die u eerder hebt verwijderd.
Monteer de plug in de vrouwelijke snelkoppeling van de omloopklep.

Bevestig de plug aan de vrouwelijke snelkoppeling met de eerder verwijderde borgclip.
Monteer de 3 klepactuators op de kleppen van de linker-, rechter- en middelste spuitboom; gebruik de borgclips die u eerder hebt verwijderd.
Verwijder de 2 flenskopbouten (¼" x ¾") en 2 borgmoeren (¼") waarmee de klep van de linker spuitboom bevestigd is aan de bevestigingsbeugel van het verdeelstuk en gooi de flenskopbouten en de borgmoeren weg.

Verwijder de 2 flenskopbouten (¼" x ¾") en 2 borgmoeren (¼") waarmee de klep van de rechter spuitboom bevestigd is aan de bevestigingsbeugel van het verdeelstuk.
Verwijder de flensklem (40 x 64 mm) en de pakking (25 x 35 mm) waarmee de flens van de linker spuitboomklep bevestigd is aan de adapter.
Note: Bewaar de 2 flenskopbouten, 2 borgmoeren, flensklem en pakking.

Verwijder de 3 spuitboomkleppen van de machine.
Verwijder de stickers van de actuators van de 3 spuitboomkleppen.

Verwijder de flensklem van 51 mm en de pakking van 38 mm waarmee de flens van de adapter bevestigd is aan de flens van de vloeistofstroommeter en bewaar de flensklem en de pakking.

Benodigde onderdelen voor deze stap:
| Bevestiging van vloeistofstroommeter | 1 |
| Helft van steunklem | 4 |
| Bout (¼" x 4½") | 4 |
| Flensborgmoeren (¼") | 4 |
Koppel de connector met 3 contacten van de machinekabelboom met aanduiding FLOW METER (vloeistofstroommeter) af van de connector met 3 pinnen van de vloeistofstroommeter.

Maak de 2 druknagels van de machinekabelboom los van de onderste flens van de beugel van de spuitboomklep.
Verwijder de 4 flenskopschroeven (5/16" x ¾") waarmee de beugel van de spuitboomklep is bevestigd van de klepbevestiging, en verwijder de klepbeugel van de machine.
Note: Bewaar de 4 flenskopschroeven; de beugel van de spuitboomklep hebt u niet meer nodig.

Lijn de openingen in de beugel van de vloeistofstroommeter uit met de openingen in de klepbevestiging.

Monteer de beugel van de vloeistofstroommeter op de klepbevestiging; gebruik hierbij de 4 flenskopschroeven die u eerder hebt verwijderd en draai de schroeven aan met een torsie van 1978 tot 2542 N·cm.
Monteer de beide klemhelften op de beugel van de vloeistofstroommeter; gebruik 2 bouten (¼" x 4½") en 2 flensborgmoeren (¼").

Haal de bouten en moeren aan met 1017 tot 1243 N·cm.
Benodigde onderdelen voor deze stap:
| Achterste kabelboom | 1 |


Leid de kabelboomaftakkingen van 84 cm, 60 cm en 66 cm van de achterste kabelboom langs de machinekabelboom naar de linkerkant van de machine.


Leid de kabelboomaftakkingen van 84 cm, 60 cm en 66 cm van de achterste kabelboom naar voren langs het linkerframekanaal.



Leid de kabelboomaftakkingen van 84 cm, 60 cm en 66 cm van de achterste kabelboom langs de machinekabelboom aan de buitenkant van de parkeerrem.

Leid de kabelboomaftakkingen van 84 cm, 60 cm en 66 cm van de achterste kabelboom over de schokbrekerbuis.

Bevestig de achterste kabelboom aan de machinekabelboom.
Leid achteraan de machine de aftakking van 89 cm van de kabelboom langs de voorzijde van het hefverdeelstuk en naar de rechterkant van de vloeistofstroommeter.

Leid de kabelboomaftakking van 102 cm langs de achterzijde van het hefverdeelstuk en naar rechts.
Sluit de connector met 3 pinnen van de aftakking van 89 cm van de achterste kabelboom met aanduiding LEFT SPRAY (linkerspuitboom) aan op de connector met 3 contacten van de machinekabelboom met aanduiding LEFT SPRAY VALVE (linkerspuitboomklep).

Sluit de connector met 3 pinnen van de achterste kabelboom met aanduiding CENTER SPRAY (middelste spuitboom) aan op de connector met 3 contacten van de machinekabelboom met aanduiding CENTER SPRAY VALVE (middelste spuitklep).
Sluit de connector met 3 pinnen van de achterste kabelboom met aanduiding RIGHT SPRAY (rechterspuitboom) aan op de connector met 3 contacten van de machinekabelboom met aanduiding RIGHT SPRAY VALVE (rechterspuitklep).
Steek de druknagels van de achterste kabelboom in de opening in de flens van de beugel van de vloeistofstroommeter.
Sluit de elektrische connector van de aftakking van 89 cm van de achterste kabelboom met aanduiding FLOW METER (vloeistofstroommeter) aan op de connector met 3 pinnen van de vloeistofstroommeter.

Sluit de connector met 3 pinnen van de aftakking van 89 cm van de achterste kabelboom met aanduiding MASTER VALVE (hoofdklep) aan op de connector met 3 contacten van de machinekabelboom met aanduiding MASTER SPRAY VALVE (hoofdspuitklep).

Sluit de connector met 3 pinnen van de actuator voor de hoofdspuitklep aan op de connector met 3 contacten van de aftakking van 89 cm van de achterste kabelboom met aanduiding MASTER VALVE (hoofdklep).
Sluit de connector met 4 pinnen van de actuator voor de debietklep aan op de connector met 4 contacten van de aftakking van 89 cm van de achterste kabelboom met aanduiding RATE VALVE (debietklep).

Benodigde onderdelen voor deze stap:
| Rechte slangpilaar (1" x 2") | 1 |
| Slangklem (¾" tot 1½") | 3 |
| Slang (1" x 5¾") | 1 |
| Verdeelstuk | 1 |
| Slang (1" x 16") | 1 |
Monteer de slang (1" x 5¾") op de rechte slangpilaar (1" x 2"); gebruik hierbij een slangklem (¾" tot 1½") en zet de klem handmatig vast.

Monteer het andere uiteinde van de slang (1" x 5¾") op de geribde fitting van het verdeelstuk; gebruik hierbij een slangklem en draai de slangklem handmatig vast.
Monteer de slang (1" x 16") op de andere geribde fitting van het verdeelstuk; gebruik hierbij een slangklem en draai deze handmatig vast.
Monteer de rechte slangpilaar (1" x 2") op de flens van de vloeistofstroommeter; gebruik hierbij de pakking van 38 mm en de flensklem van 51 mm.

Draai de flensklem met de hand vast.
Benodigde onderdelen voor deze stap:
| Omloopslang | 1 |
| Afsluitklep | 1 |
Lijn de omloopslang uit op de tank.


Bevestig de geribde fitting van 90° met een borgclip aan de tussenschotfitting van de tank.
Hefvermogen: 55 kg
Gebruik een hijswerktuig met het gespecificeerde hefvermogen; breng de middelste spuitboom omhoog en lijn de spuitboom uit met de openingen in de steunbeugels.

Monteer de middelste spuitboom aan de steunbeugels; gebruik hierbij de 4 flenskopbouten (⅜" x 1¼") en 4 flensborgmoeren (⅜").
Draai de moeren en bouten vast met een torsie van 37 tot 45 N·m.
Maak het hefverdeelstuk los van de bevestigingsbeugel voor de klep.
Lijn de openingen in de steunbeugel voor het hefverdeelstuk van de spuitbomen uit met de openingen in de cilinderbevestiging.

Monteer de steunbeugel op de cilinderbevestiging; gebruik hierbij de 2 flenskopbouten (5/16 x 1") en 2 flensborgmoeren (5/16").
Haal de bouten en moeren aan met 1978 tot 2542 N·cm.
Benodigde onderdelen voor deze stap:
| Klepbevestiging en klep | 1 |
| Dosis/spuitboomcontroller | 1 |
| Magneet | 4 |
| Bout (nr. 8) | 4 |
| Platte ring | 4 |
| Borgmoer (nr. 8) | 4 |
| Dop (snelkoppelfitting) | 2 |
| Flenskopbouten (5/16" x ¾") | 8 |
| Flensborgmoeren (5/16") | 8 |
| Slangklem | 1 |
| Druknagel (kabelbinder) | 1 |
| Druknagel (connectorankers) | 3 |
Bevestig de magneten aan de controller met 4 bouten (nr. 8), 4 ringen en 4 borgmoeren (nr. 8).

Plaats de controller op de klepbevestiging.

Monteer de 3 spuitboomkleppen op de flens van klep 7 van de spuitkleppen met de flensklem en de pakking.
Important: U kunt de linker-, rechter- en middelste spuitboomklep van het GeoLink spuitsysteem als volgt identificeren: linkerspuitboomklep – spuitdop 8, middelste spuitboomklep – spuitdop 9, en rechterspuitboomklep – spuitdop 10.

Bevestig de vrouwelijke snelkoppeling voor de omloopklep van spuitboomklep 8 aan de snelkoppeling voor de omloopklep van spuitboomklep 7; gebruik de borgclip die u eerder hebt verwijderd.

Monteer spuitdopklep 10 aan de klepbevestiging met de 2 flenskopbouten (¼" x ¾") en 2 borgmoeren (¼") die u eerder hebt verwijderd.


Haal de flenskopbouten en borgmoeren aan met 1017 tot 1243 N·cm.
Hefvermogen: 23 kg
Gebruik een hijswerktuig met het gespecificeerde hefvermogen om de klepbevestiging en spuitboomklep op te hijsen en boven de middelste spuitboom uit te lijnen.

Lijn de openingen in de montagebeugel van de klepbevestiging uit met de openingen in het frame van de middelste spuitboom.

Monteer de klepbevestiging op het frame; gebruik hierbij 4 bouten (5/16" x ¾") en 4 flensborgmoeren (5/16").

Herhaal stap 2 tot en met 3 voor de andere montagebeugel van de klepbevestiging aan het andere frame.
Haal de flenskopbouten en flensborgmoeren aan met 1978 tot 2542 N·cm.
Monteer de slang (1" x 16") op de flensfitting van 90° (1").

Bevestig de slang met een slangklem aan de flensfitting.
Breng de kabelbinder/druknagel aan in de opening bovenaan de klepbevestiging.
Bevestig de kabelbinder/druknagel rond de slang (1" x 16").
Verwijder de borgclips van de vrouwelijke aansluitingen van de snelkoppelfittings.
Monteer de snelkoppelfitting van de omloopslang op de snelkoppelfitting aan de omloopklep bij spuitboomklep 10.

Bevestig de snelkoppelfittings voor de omloopslang en de omloopklep met de borgclip.
Herhaal stap 1 tot en met 3 voor de snelkoppelfittings bij spuitboomklep 1.
Monteer de druknagels van de elektrische connectoren van de klepactuator in de openingen in de klepbevestiging.

Sluit de connector met 3 contacten van de aftakking van 89 cm van de achterste kabelboom met aanduiding NOZZLE VALVE 1 (spuitdopklep 1) aan op de connector met 3 pinnen van de klepactuator uiterst links (locatie 1).
Note: De klepactuatorlocaties 1 tot 10 lopen op van links naar rechts, van achter de machine gezien.

Sluit de connector met 3 contacten van de aftakking van 89 cm van de achterste kabelboom met aanduiding NOZZLE VALVE 2 (spuitdopklep 2) aan op de connector met 3 pinnen van de klepactuator (locatie 2).
Sluit de overige connectors met 3 contacten van de aftakking van 89 cm van de achterste kabelboom aan op de connector met 3 pinnen van de klepactuators.
Note: Zorg ervoor dat de connectors met 3 contacten aangesloten zijn op de overeenkomende klepactuatorlocatie.
Sluit de connector met 3 contacten van de aftakking van 61 cm van de achterste kabelboom met aanduiding PRESSURE TRANSDUCER GREEN WEDGE (drukomzetter groene wig) aan op de connector met 3 pinnen van de drukomzetter.

Sluit de connector met 40 contacten van de aftakking van 102 cm van de achterste kabelboom aan op de connector met 40 pinnen van de spuitcontroller van de ASC 10.

Draai de kartelschroef van de connector met 40 contacten handmatig in de connector van de ASC 10.
Steek de connector met 4 contacten van de achterste kabelboom met aanduiding TO ASC 10 (naar ASC 10) in de connector met 4 pinnen van de spuitcontroller van de ASC 10.

Benodigde onderdelen voor deze stap:
| Hydraulische slang (¼" x 24¾") | 4 |
Lijn het vaste uiteinde van de hefcilinder uit met de opening van 16 mm in de cilinderbevestiging.
Note: Zorg ervoor dat de openingen voor de uitgaande en ingaande slag van de cilinder uitgelijnd zijn.

Monteer de cilinder op de cilinderbevestiging; gebruik hierbij de draaipen, flenskopbout en flensmoer.
Haal de bout en moer aan met 1978 tot 2542 N·cm.
Herhaal stap 1 tot en met 3 voor de andere hefcilinder aan de andere kant van de cilinderbevestiging.
Monteer losjes een nieuwe hydraulische slang (¼" x 24¾") tussen de opening voor de uitgaande slag van de hefcilinder van de linkerspuitboom en opening C3 van het hefverdeelstuk van de spuitboom.

Monteer losjes een nieuwe hydraulische slang (¼" x 24¾") tussen de opening voor de ingaande slag van de hefcilinder van de linker spuitboom en opening C4 van het hefverdeelstuk van de spuitboom.
Monteer losjes een nieuwe hydraulische slang (¼" x 24¾") tussen de opening voor de uitgaande slag van de hefcilinder van de rechter spuitboom en opening C1 van het hefverdeelstuk van de spuitboom.

Monteer losjes een nieuwe hydraulische slang (¼" x 24¾") tussen de opening voor de ingaande slag van de hefcilinder van de rechter spuitboom en opening C2 van het hefverdeelstuk van de spuitboom.
Draai de slangfittings van de openingen voor de uit- en ingaande slag van de hefcilinders vast met een torsie van 21 tot 26 N·m.
Draai de wartelmoeren van de slangen van het hefverdeelstuk van de spuitbomen vast met een torsie van 24 tot 30 N·m.
Benodigde onderdelen voor deze stap:
| Nylon flenslager | 4 |
| Toevoerslang van 188 cm | 1 |
| Toevoerslang van 234 cm | 1 |
| Toevoerslang van 279 cm | 1 |
Snijd de slang tussen 2 houders af.

Verwijder de flensborgmoer (5/16") waarmee de houder vastgemaakt is aan de houderbevestiging.
Herhaal de stappen voor de andere 3 houders.
Note: Bewaar de flensborgmoer en de houders.
Note: Gooi de slangen, klemmen en T-fitting weg.
Herhaal de stappen voor de andere buitenste spuitboom.
Verwijder de schroeven uit roestvrij staal (nr. 12 x 1¼") waarmee de bovenste klemhelften en de dubbele of enkele steel met slangribbel (¾") bevestigd zijn aan de behuizing van de spuitdoppen, en verwijder de stelen met slangribbel.
Note: De inbusbout (5/16" x ¾" – roestvrij staal) komt los van de bovenste klemhelft wanneer u de klem opent. Bewaar de bout voor montage.

Hefvermogen: 46 kg
Gebruik een hijswerktuig met voldoende hefvermogen om de buitenste spuitboom omhoog te brengen.
Steek een nylon flenslager in de openingen van 31,8 mm aan weerszijden van de draaifitting.

Lijn de lagers in de draaifitting uit met de openingen in de flenzen van de draaibeugel aan het uiteinde van de middelste spuitboom.

Monteer de draaifitting op de draaibeugel; gebruik hierbij de draaipen, flensbout (5/16" x 1") en flensborgmoer (5/16").
Haal de bout en moer aan met een torsie van 1978 tot 2542 N·cm.
Lijn het stanguiteinde van de hefcilinder uit met de opening van 25 mm in de arm van de draaifitting.

Bevestig de hefcilinder aan de draaifitting met de gaffelpen en de R-pen.
Herhaal stap 1 tot en met in 7 voor de buitenste spuitboom aan de andere kant van de machine.
Benodigde onderdelen voor deze stap:
| Toevoerslang van 279 cm | 2 |
| Toevoerslang van 234 cm | 2 |
| Toevoerslang van 188 cm | 4 |
| Toevoerslang van 81 cm | 2 |
Note: Verzeker dat de geribde fitting goed op de koppeling is gedrukt.
Zet de geribde fittings met een borgclip vast aan de koppelingen.

Note: De toevoerslang van 81 cm heeft een T-fitting met twee vertakkingen en 2 enkele geribde slangstelen.
| Spuitboom | Spuitboomklep | Spuitdop | Toevoerslang |
|---|---|---|---|
| Links | 1 | 1 | 279 cm |
| 2 | 2 | 234 cm | |
| 3 | 3 | 188 cm | |
| 4 | 4 | 188 cm | |
| Midden | 5 | 5 en 6 | 81 cm |
| 6 | 7 en 8 | 81 cm | |
| Rechts | 7 | 9 | 188 cm |
| 8 | 10 | 188 cm | |
| 9 | 11 | 234 cm | |
| 10 | 12 | 279 cm |

Lijn de verbindingsbuis in de zitting van een houder uit [met de opening in de zijkant van de enkele steel met slangribbel (½")].

Sluit de bovenste klemhelft rond de geribde slangaansluiting en zet de klemhelft en houderbehuizing vast met de schroef uit roestvrij staal (nr. 12 x 1¼"); draai deze schroef aan met 14 tot 18 N∙m.
Note: Zorg ervoor dat de bout (5/16" x ¾") in de uitsparing in de bovenste klemhelft zit wanneer u de klem sluit.
Maak de houders vast aan de bevestigingen met de eerder verwijderde flensborgmoeren (5/16")

Draai de flensborgmoer aan met 1978 tot 2542 N·cm.
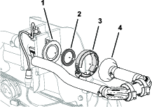
Lijn het uiteinde van de druksensorbuis (plastic) voor de drukmeter in het dashboard uit met de borgkraag voor de buiskoppeling.

Druk de sensorbuis in de borgkraag tot de buis niet meer verder kan.
Benodigde onderdelen voor deze stap:
| Navigatieontvangerplaat | 1 |
| Beugel van ontvanger | 1 |
| Bout (⅜" x 3¼") | 1 |
| Borgring (⅜") | 1 |
| Ring (⅜" x 13/16") | 1 |
| Afstandsstuk (⅜" x 1") | 1 |
| Flensborgmoer (⅜") | 1 |
| Flenskopbout (5/16" x ¾") | 1 |
| Flensborgmoer (5/16") | 1 |
| Flenskopbout (⅜" x 1½") | 2 |
| Afstandsstuk (⅜" x 7/16") | 2 |
| Navigatieontvanger | 1 |
| Beugel voor antenne van modem | 1 |
| Zeskantbout (5 x 16 mm) | 3 |
| Ring (5 mm) | 3 |
Bevestig de ontvangerplaat aan de beugel van de ontvanger met 1 bout (⅜" x 3¼"), 1 borgring, 1 ring, 1 afstandsstuk (⅜" x 1") en 1 borgmoer (⅜").

Breng de flenskopbout (5/16" x ¾") en de flensborgmoer (5/16") aan in het kleinere gat in de ontvangerbeugel en de opening in de ontvangerplaat.

Haal de bouten en moeren aan zodat u lichte weerstand voelt wanneer u de ontvangerplaat draait.
Monteer de beugel van de ontvanger en het afstandsstuk (⅜" x 7/16") op de rolbeugel; gebruik hiervoor de flenskopbout (⅜" x 1½").

Haal de bouten aan zodat u lichte weerstand voelt wanneer u de ontvangerplaat draait.
Stel de ontvangerplaat gelijk af in de breedte.

Haal de flenskopbout (5/16" x ¾") en flensborgmoer (5/16") aan met 1978 tot 2542 N·cm.
Stel de ontvangerplaat gelijk af in de lengterichting.
Haal de bout (3/8 x 3-1/4 inch) en de flensborgmoer (3/8 inch) aan met een torsie van 37 tot 45 N·m.
Monteer de ontvanger op de beugel met 4 bouten (5 x 16 mm) en 4 ringen.
Note: Zorg ervoor dat beide pijlen naar de voorkant van de machine wijzen.

Draai de 3 bouten vast met 576 tot 712 N·cm.
Benodigde onderdelen voor deze stap:
| Antennebevestiging | 1 |
| Popnagel | 2 |
| Magneet | 2 |
| Antenne van modem | 1 |
| Antenne met grote versterking | 1 |
Monteer de beugel van de antenne van de modem op de rolbeugel.

Verwijder vet of olie van het oppervlak waarop de antenne wordt bevestigd.
Verwijder de achterkant van de dubbelzijdige plakstrip en plak de antenne op de bevestiging.

Bevestig de antenne en de kabelboom aan de bevestiging met 3 kabelbinders.

Plaats de antenne met grote versterking naast de andere antenne op de rolbeugel.

Leid de kabelbomen van de antenne van de modem naar rechts, langs de rolbeugel.


Leid de kabelboom naar beneden en naar voren.

Benodigde onderdelen voor deze stap:
| Kabelboomadapter | 1 |
| Data- en elektrische kabelboom | 1 |
| Kabelbinder | 8 |

Leid de aftakking van 302 cm van de data- en elektrische kabelboom voor navigatie langs de rechter rolbeugelbuis, met de connector met 12 contacten (grijs) en de connector met 12 contacten (zwart) omhoog naar de navigatieontvanger.
Sluit de 2 connectoren aan de lange kant van de connector met 12 contacten van de datakabelboom met de aanduiding aan op de connectorsleuven in de adapterkabelboom.

Steek de adapterkabelboom in de ontvanger.
Leid de data- en elektrische kabelboom voor navigatie langs de rechter rolbeugelbuis en de kabelboom van de antenne van de modem naar de dwarsbalk voor de stoelsteun.

Bevestig de kabelboom met kabelbinders aan de rolbeugel.
Note: Zorg dat er speling is op de kabelboom tussen de connectors met 12 contacten en de kabelbinder.
Leid de aftakking van 227 cm van de data- en elektrische kabelboom voor navigatie langs de onderkant van het bedieningspaneel van de machine.

Leid de aftakking van 258 cm van de data- en elektrische kabelboom voor navigatie langs de schokbrekerbuis en naar de accu.
Breng de magnetische bevestiging van de achterste kabelboom aan op het bovenste buisframe rechts van de machine.

Steek de connector met 4 pinnen met de aanduiding van de datakabelboom in de connector met 4 contacten met de aanduiding van de achterste kabelboom.
Benodigde onderdelen voor deze stap:
| Displaybevestiging | 1 |
| Flenskopbout (6 x 12 mm) | 3 |
| U-bout (5/16") | 2 |
| Flenskopbout (5/16" x ¾") | 4 |
| Flensborgmoer (5/16") | 8 |
| Bal | 1 |
| Displayarm | 1 |
Gebruik een stukje tape om de positie van het stuurwiel op de stuurklep te markeren.

Verwijder de kap van het stuurwiel.
Verwijder de moer (⅝") en ring (⅝") waarmee het stuurwiel op de stuurklep bevestigd is, en verwijder het stuurwiel.
Lijn de displaybevestiging uit op de machine zoals wordt afgebeeld.

Monteer de displaybevestiging op de behuizing van de stuurklep; gebruik de 3 flenskopbouten (6 x 12 mm).

Monteer de plaat van de displaybevestiging op de steunbuis van het chassis van de machine; gebruik de 2 U-bouten en 4 flensborgmoeren (5/16").

Haal de 3 flenskopbouten (6 x 12 mm) van de stuurklep aan met een torsie van 972 tot 1198 N·cm; haal de flensborgmoeren aan de steunbuis aan met 1978 tot 2542 N·cm.
Lijn de tapemarkering op het stuurwiel uit met de tapemarkering op de behuizing van de stuurklep.

Monteer het stuurwiel op de as van de stuurklep met de eerder verwijderde ring (⅝") en moer (⅝").
Draai de moer vast tot 206 à 254 N·m.
Het deksel monteren.
Monteer de bal op de beugel voor de displaybevestiging; gebruik hierbij de 4 flenskopbouten (5/16" x ¾") en 4 flensborgmoeren (5/16").

Haal de bouten en moeren aan met 1978 tot 2542 N·cm.
Monteer de kogelfitting van het display en de bal van de machine op de lange displayarm.

Stel het display zo af dat het zichtbaar is vanaf de zitplaats van de bestuurder van de machine, en draai de knop van de displayarm handmatig aan.
Leid de aftakking van 227 cm van de data- en elektrische kabelboom voor navigatie (de aftakking met de connector met 26 contacten) omhoog en langs de steunbuis voor het display.
Sluit de datakabelboom voor navigatie aan op de monitor.

Verwijder de afsluitresistor van de connector met 6 contacten met de aanduiding CAN 2 TERMINATOR van de datakabel zoals afgebeeld.
Note: U hebt de oude afsluitresistor niet meer nodig.

Benodigde onderdelen voor deze stap:
| Datakabelboom modem - 300 cm | 1 |
Schroef de connector van de kabelboom van de modem in het display.

Leid de datakabelboom van de modem langs de datakabelboom voor het display.
Leid de datakabelboom van de modem onder de schokbrekerbuis van de machine.
Leid de datakabelboom van de modem langs de achterkant van de relais en naar beneden.

Lijn de connector met 4 pinnen met de aanduiding van de datakabelboom van de modem uit in de buurt van de 4 connectoren voor de kabelboom van de antenne van de model, zoals afgebeeld.

Bundel aan het bovenste buisframe rechts de data- en de elektrische kabelboom voor navigatie, en de kabelboomaftakkingCAN 2 ASC 10 BUS met de bijgeleverde kabelboom van het spuitsysteem. Gebruik hiervoor 2 kabelbinders.
Bundel de kabelboom van de antenne van de modem en bevestig deze met 2 kabelbinders aan de bijgeleverde kabelboom van het spuitsysteem.

Bevestig de datakabelboom van de modem en de data- en elektrische kabelboom voor navigatie met een kabelbinder aan de monitorbuis.

Bevestig de datakabelboom van de modem en de data- en elektrische kabelboom voor navigatie met een kabelbinder.
Benodigde onderdelen voor deze stap:
| Voedingskabelboom van modem | 1 |
Lijn de voedingskabelboom van de modem uit met de machine.

Leid de ringconnectoren van de voedingskabelboom van de modem met de aanduiding (accu) en (aarding) naar de accu.

Leid de connector met 4 pinnen met de aanduiding en de connector met 18 contacten met de aanduiding van de voedingskabelboom van de modem onder de zekeringhouder van de machine.
Leid aan de voorkant van de machine de connector met 4 pinnen met de aanduiding en de connector met 18 contacten met de aanduiding van de voedingskabelboom van de modem naar de machine zoals afgebeeld.

Steek de aansluiting van de voedingskabelboom van de modem met de aanduiding (geschakeld) in de vrouwelijke connector voor vermogen voor opties van de zekeringhouder.
Note: Als de zekeringhouder van uw machine geen beschikbaar vermogencircuit voor opties heeft, monteer dan een extra zekeringhouder voor vermogen voor opties; raadpleeg uw erkende Toro distributeur.
Bundel in de buurt van de zekeringhouder de voedingskabel van de modem bij de connector met 9 pinnen met de aanduiding en bevestig de kabelboom met 2 kabelbinders zoals afgebeeld.

Bundel de voedingskabel van de modem bij de minkabel van de accu, en bevestig de bundel met een kabelbinder aan de accukabel.
Plaats de zekering (10 A) in de aansluiting van de zekeringhouder (Figuur 145) voor het stroomcircuit voor opties dat u in stap 5 hebt gebruikt.

Benodigde onderdelen voor deze stap:
| CL-55 modem | 1 |
| Beugel van modem | 1 |
| Bout (nr. 10- 24" x 1⅜") | 2 |
| Borgmoer (nr. 10 - 24") | 2 |
| Magneet | 2 |
| Popnagel | 2 |
Verwijder de druknagel waarmee de kabelboom van de machine aan de beugel van de steunstang is bevestigd.

Bevestig de modem; gebruik hierbij 2 bouten (nr. 10- 24" x 1⅜") en 2 moeren (nr. 10 - 24").

Bevestig de magneten met de popnagels aan de beugel van de modem.

Plaats de beugel van de modem onder de beugel van de steunstang en achter de flens van het machineframe.

Steek de bovenste druknagel van de kabelboom in de openingen in de beugel van de steunstang.

Steek de coaxiale connector van de kabelboom van de antenne van de modem met de aanduiding in de coaxiale poort van de CL-55 modem met de aanduidingWIFI/BT en maak de coaxiale connector vast.

Steek de blauwe coaxiale induwconnector van de kabelboom van de antenne van de modem met de aanduiding in de connector van de CL-55 modem met de markering, tot de connectoren goed vastzitten.
Steek de violette coaxiale induwconnector van de kabelboom van de antenne van de modem met de aanduiding in de connector van de CL-55 modem met de markering, tot de connectoren goed vastzitten.
Steek de rode coaxiale induwconnector van de kabelboom van de antenne van de modem met de aanduiding in de connector van de CL-55 modem met de markering, tot de connectoren goed vastzitten.
Steek de connector met 4 pinnen van de datakabelboom van de modem met de aanduiding in de connector met 4 contacten (zonder aanduiding) van de CL-55 modem, en draai de kartelmoer van de connector met 4 pinnen vast.

Steek de connector met 18 contacten van de voedingskabelboom van de modem met de aanduiding in de connector met 18 pinnen van de CL-55 modem.
Verwijder aan de binnenkant van het bedieningspaneel van de machine de passieve afsluitresistor van de connector met 3 pinnen zonder aanduiding van de machinekabelboom en bewaar deze.


Benodigde onderdelen voor deze stap:
| ISO-CAN-bus kabelboom - 302 cm | 1 |
Leid aan de voorkant van het bedieningspaneel van de machine de connector met de aanduiding (Naar ISOBUS) van de ISO-Can-bus kabelboom in de onderkant van het display.

Verwijder de dop van de connector met 4 contacten met de aanduiding van de data- en elektrische kabelboom voor navigatie.

Steek de connector met 4 pinnen met de aanduiding (naar isobus) van de ISO-CAN-bus kabelboom in de connector met 4 contacten met de aanduiding van de data- en elektrische kabelboom voor navigatie.

Leid de connectoren met de aanduiding (naar Toro CANBUS) en (CAN poort A) van de ISO-CAN-bus kabelboom naar de zekeringhouder.


Verwijder aan de zekeringhouder de dop van de connector met 3 contacten met de aanduiding (Diagnostiek Can-bus) van de machinekabelboom.

Steek de connector met 3 pinnen met de aanduiding (naar Toro Canbus) van de ISO-CAN bus kabelboom in de connector met 3 contacten met de aanduiding (CAN bus diagnostiek) van de machinekabelboom.
Important: Sluit de kabelboomconnectoren met de aanduiding (Diagnostiek conn.) en (CAN diagnostiek interconnectie) van de achterste kabelboom niet aan.
Bundel de ISO-CAN-bus kabelboom en bevestig hem met een kabelbinder aan de data- en elektrische kabelboom voor navigatie.

Bevestig de ISO-CAN-bus kabelboom en data- en elektrische kabelboom voor navigatie met een kabelbinder aan de rechter framebuis zoals afgebeeld.
Benodigde onderdelen voor deze stap:
| Adapterkabelboom - 13 cm | 1 |
Verwijder aan de satellietontvanger de ISO-bus terminator voor de connector met 6 contacten van de GeoLink kabelboom en gooi de terminator weg.

Steek de connector met 6 pinnen van de adapterkabelboom van 13 cm in de stekker met 6 contacten van de GeoLink kabelboom.
Steek de resistor in de connector met 3 contacten van de adapterkabelboom.
Maak de adapterkabelboom met een kabelbinder vast aan de GeoLink kabelboom.
Koppel de connector met 2 contacten van de machinekabelboom aangeduid met (spoel van spuitpomp) af van de connector met 2 pinnen van de pompkoppeling.

Sluit de connector met 2 pinnen van de aftakking van 84 cm van de bijgeleverde kabelboom van het spuitsysteem aan op de connector met 2 contacten van de machinekabelboom met aanduiding (SPOEL VAN SPUITPOMP) ().

Sluit de connector met 2 contacten van de bijgeleverde kabelboom van het spuitsysteem aan op de connector met 2 pinnen van de pompkoppeling.
Leid de kabelboomaftakking van 84 cm tegen de motor en de spuitpomp, maar zorg voor vrije ruimte tussen de kabelboom en de riem van de wisselstroomdynamo.

Benodigde onderdelen voor deze stap:
| Beugel van accu | 1 |
| Aanslag | 1 |
| Flensborgmoer (¼") | 2 |
| Band | 1 |
| Accu (650 A) | 1 |
| Beugel van wisselstroomdynamo | 1 |
| Aandrijfpoelie, 279 mm | 1 |
| Bout (¼" x 2¼") | 4 |
| Wisselstroomdynamo (60 A) | 1 |
| Flenskopbout (8 x 25 mm) | 1 |
| Flenskopbout (⅜" x 1½") | 1 |
| V-riem | 1 |
Verwijder de 2 flensborgmoeren en de aandrukstang van de 2 J-bouten waarmee de accu aan de accubeugel van de machine is bevestigd.

Verwijder de 2 J-bouten en de accubak van de accubeugel en gooi de 2 J-bouten weg.

Haal de accu uit de machine.
Note: U hebt de flensmoeren, aandrukstang en accu (300 A) niet meer nodig.
Verwijder de 3 bouten (10-24 x ¾") en 3 moeren (10-24) waarmee de zekeringhouders aan de accubeugel zijn bevestigd en bewaar de bouten en moeren.

Verwijder de 2 flenskopbouten (⅜" x ¾") waarmee de accubeugel aan de schokbrekerbuis van de machine is bevestigd en bewaar de flenskopbouten.
Verwijder de 2 bouten (10-24 x ¾"), 2 borgmoeren (10-24) en de kabelclip waarmee het aardingsblok en de kabel aan de beugel van de accu zijn bevestigd en bewaar de bouten en borgmoeren.
Note: Gooi de kabelclip weg.

Verwijder de beugel van de accu van de machine en gooi deze weg.

Monteer 2 aanslagen op de beugel van de accu met 2 flensborgmoeren (¼").

Monteer de band door de 2 sleuven in de beugel van de accu.

Lijn de nieuwe accubeugel uit met de schokbrekerbuis van de machine en de zekeringhouders.

Monteer de beugel van de accu aan de schokbrekerbuis met de 2 eerder verwijderde flenskopbouten (⅜" x ¾").

Draai de flenskopbouten vast met een torsie van 37 tot 45 N·m.
Bevestig het aardingsblok en de beugel van de accu met de 2 bouten (10-24 x ¾") en 2 borgmoeren (10-24) die u eerder hebt verwijderd en bevestig de kabelclip aan de rand van de beugel.

Bevestig de zekeringhouders aan de beugel van de accu; gebruik hiervoor de 3 eerder verwijderde bouten (10-24 x ¾") en 3 moeren (10-24).

Monteer de accu (650 A) in de beugel van de accu.

Steek de band van de accu door de gesp en trek de band aan tot de accu goed vastzit.
Zet aan de pompkop de 2 bouten los zodat u een speling van 7 tot 10 mm verkrijgt tussen de boutkop en de pomp.
Note: U hoeft de bouten niet te verwijderen van de spuitpomp.

Lijn de beugel van de wisselstroomdynamo uit tussen de bouten en de pompkop.

Draai de bouten vast met een torsie van 61 tot 75 N·m.
Draai de moer voor de as van de spanpoelie los.
Note: Zorg dat er geen spanning op de riem zit.

Draai de spanbout van de riem om de spanning van de riem van de spuitpomp te halen.
Verwijder de 4 bouten (¼" x 1") en 4 borgringen (¼") waarmee de poelie aan de spuitpomp is bevestigd.
Important: Verwijder de poelie niet.
Note: Bewaar de borgring; u hebt de bouten niet meer nodig.

Lijn de gaten in de poelie voor de wisselstroomdynamo (bijgeleverd) uit met de gaten in de poelie voor de spuitpomp.

Monteer de poelie van de wisselstroomdynamo op de poelie van de spuitpomp en op de spuitpomp; gebruik de 4 bouten (¼" x 2¼") en de 4 borgringen (¼").
Draai de bouten vast met een torsie van 1017 tot 1243 N·m.
Draai de spanbout van de riem vast tot de riem 9,5 mm doorbuigt wanneer u een gewicht van 4,5 kg aanbrengt in het midden tussen het kettingwiel van de motor en dat van de spuitpomp.

Draai de moer van de as van de spanpoelie aan met een torsie van 37 tot 44 N·m.
Monteer de wisselstroomdynamo (60 A) op het tussenstuk met schroefdraad van de beugel van de wisselstroomdynamo; gebruik hierbij de flenskopbout (⅜" x 1½").

Monteer de flens met schroefdraad van de wisselstroomdynamo op de flens met uitsparing van de beugel van de wisselstroomdynamo; gebruik hierbij de flenskopbout (8 x 25 mm).
Leg de V-riem over de aandrijfpoelie van 279 mm en de poelie van de wisselstroomdynamo.

Draai de wisselstroomdynamo naar boven om de riem aan te spannen tot de riem 9,5 mm doorbuigt wanneer u een gewicht van 4,5 kg aanbrengt in het midden tussen de poelie van de wisselstroomdynamo en de aandrijfpoelie van 279 mm.

Draai de flenskopbout (8 x 25 mm) aan met een torsie van 23 tot 29 N·m.
Haal de flenskopbout (3/8 x 1-1/2 inch) aan met een torsie van 37 tot 45 N·m.
Benodigde onderdelen voor deze stap:
| Draad van wisselstroomdynamo (rood – 6 gauge) | 1 |
| Relais | 1 |
| Druknagel | 1 |
| Zekering (15 A) | 1 |
Verbind de 2 contacten aan het uiteinde van de roze draad van 57 cm van de kabelboom met de connector met 2 pinnen van de wisselstroomdynamo (50 A).

Leid de roze sensordraad weg van de riemen van de wisselstroomdynamo en bevestig de draad met een kabelbinder.
Verwijder de moer van de pool van de wisselstroomdynamo (50 A).

Monteer het uiteinde van de rode kabel van de wisselstroomdynamo (6 gauge) met het isolatorkapje op de pool van de wisselstroomdynamo (50 A) met de moer.
Leid het andere uiteinde van de kabel van de wisselstroomdynamo naar de accupolen, weg van de poelie en de riem van de wisselstroomdynamo.
Draai de moer vast tot 47 à 57 N·m.
Schuif het isolatorkapje over de pool van de wisselstroomdynamo.
Sluit de connector met 5 pinnen van het relais aan op de connector met 5 contacten van de kabelboom met aanduiding ASC 10 ENABLE RELAY (inschakelrelais ASC 10).

Lijn de opening in de montagelip van het relais uit met de opening in de schokbrekerbuis, en bevestig het relais aan de buis door middel van de druknagel.
Bereid een multimeter voor om een continuïteitstest uit te voeren.
Steek de sonde van de multimeter in contact 4 (rechterkolom) van zekeringopening 2 van zekeringhouder 3 van de machine.

Gebruik aan de voorzijde van de zekeringhouders de andere sonde van de multimeter om na te gaan welke kabelschoen die aan het uiteinde van de rode draad van 2,6 mm dik zit, aangesloten is op opening 2 – contact 4.

Gebruik een stukje tape om de connector en draad te markeren die u hebt geïdentificeerd in de vorige stap.
Sluit de kabelschoen die u gemarkeerd hebt in de vorige stap aan op de contrastekker aan het uiteinde van de roze draad van 51 mm van de kabelboom.

Druk de zekering (15 A) in zekeringopening 2 van zekeringhouder 3 tot de zekering goed op haar plaats zit.

Benodigde onderdelen voor deze stap:
| Snelsluitklem (rode handgreep) | 1 |
| Snelsluitklem (zwarte handgreep) | 1 |
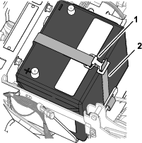
Verwijder de zeskantmoeren en de ringen van de snelsluitklemmen.
Open de sluiting van de snelsluitklem met de zwarte handgreep.

Monteer de snelsluitklem op de minpool van de accu, met de pool met schroefdraad van de klem naar het midden van de accu gericht.
Maak de sluiting van de snelsluitklem dicht.
Note: Als u de klemkracht van de snelsluitklem wenst aan te passen, maak dan de handgreep open, draai de kartelmoer om de klemkracht te vergroten of te verkleinen, en sluit de handgreep van de klem.
Herhaal de stappen voor de rode handgreepklem op de pluspool van de accu.
Als accukabels verkeerd worden verbonden, kan dit schade aan de machine en de kabels tot gevolg hebben en vonken veroorzaken. Hierdoor kunnen accugassen tot ontploffing komen en lichamelijk letsel veroorzaken.
Maak altijd eerst de minkabel (zwart) van de accu los voordat u de pluskabel (rood) losmaakt.
Sluit altijd eerst de pluskabel (rood) van de accu aan voordat u de minkabel (zwart) aansluit.
Accupolen of metalen gereedschappen kunnen kortsluiting maken met metalen onderdelen, waardoor vonken kunnen ontstaan. Hierdoor kunnen accugassen tot ontploffing komen en lichamelijk letsel veroorzaken.
Zorg ervoor dat bij het verwijderen of installeren van de accu de accupolen niet in aanraking komen met metalen onderdelen van de machine.
Voorkom dat metalen gereedschappen kortsluiting veroorzaken tussen de accupolen en metalen onderdelen van de machine.
Snijd in het isolatorkapje van de pluskabel naar de startinrichting.

Koppel de volgende draad- en kabelklemmen aan op de pool met schroefdraad van de plusklem van de accu. Hou de volgende volgorde aan:
Important: Zorg dat de klem van de pluskabel naar de motorstarter bovenaan de opeengestapelde klemmen op de pool met schroefdraad zit.
Ringconnector - aftakking van 165 cm van voedingskabelboom van modem (met de aanduiding (accu)
Klem van pluskabel van accu – naar wisselstroomdynamo (50 A)
Ringconnector - aftakking van 258 cm van data- en elektrische kabelboom voor navigatie (met de aanduiding (accu (+))
Ringconnector – aftakking van 21,6 cm van machinekabelboom met aanduiding (naar pluspool accu)
Ringconnector – aftakking van 24 cm van bijgeleverde kabelboom van spuitsysteem (zonder aanduiding)
Klem van pluskabel van accu – naar motorstarter

Monteer de zeskantmoer (¼") en de ring (¼") op de pool met schroefdraad, en haal de moer aan met een torsie van 1017 tot 1234 N·cm.
Lijn het isolatorkapje van de pluskabel van de accu naar de startinrichting uit over de pool met schroefdraad.
Koppel de volgende draad- en kabelklemmen aan op de pool met schroefdraad van de minklem van de accu. Hou de volgende volgorde aan:
Important: Zorg dat de klem van de minkabel naar de motor en de chassisaarding bovenaan de opeengestapelde klemmen op de pool met schroefdraad zit.
Ringconnector - aftakking van 258 cm van data- en elektrische kabelboom voor navigatie (zonder aanduiding - zwarte kabelisolatie)
Ringconnector - aftakking van 165 cm van voedingskabelboom van modem (met de aanduiding (aarding))
Klem van minkabel van accu – naar de motor en de chassisaarding

Bevestig het overtollige eind van de datakabelboom tegen de bovenste framebuis aan de rechterkant.

Lijn de datakabelboom uit met de schokbrekerbuis en bevestig de kabelboom met een kabelbinder aan de buis.
Lijn de kabelboombundel van de datakabelboom uit met de bovenste framebuis aan de rechterkant, en bevestig de kabelboombundel met een kabelbinder aan de framebuis.
Zorg voor speling tussen de poelies en riemen enerzijds en de datakabel, accukabel, bijgeleverde kabelboom en accukabels anderzijds.
Bevestig de kabelboom en de kabels indien nodig met kabelbinders om speling te verkrijgen met de riemen en de poelies.
Benodigde onderdelen voor deze stap:
| Schakelaarplug | 1 |
Verwijder de 4 flenskopschroeven (¼" x ½") waarmee het plaatje met 3 schakelaars aan het bedieningspaneel is bevestigd.

Druk de vergrendelingslipjes van de schakelaar voor de gebruiksdosis naar elkaar toe, en duw de schakelaar uit het plaatje met de 3 schakelaars.

Koppel de connector met 8 contacten van de machinekabelboom (aangeduid met Rate Switch (dosisschakelaar)) af van de connector met 8 pinnen van de schakelaar.
Note: U hebt de schakelaar voor de gebruiksdosis die u van de machine verwijderd hebt niet meer nodig.
Leid de aftakking van de voorste kabelboom voor de schakelaar voor de gebruiksdosis door de opening in het plaatje met 3 schakelaars, en bevestig de kabelaftakking met een kabelbinder aan een naburige kabelboomaftakking.
Monteer het plaatje met 3 schakelaars op het bedieningspaneel; gebruik hierbij de 4 flenskopschroeven (¼" x ½") die u verwijderd hebt in stap 1.
Lijn de schakelaarplug uit met de opening in het plaatje met 3 schakelaars waar u de schakelaar voor de gebruiksdosis verwijderd hebt.
Druk de schakelaarplug in het plaatje met 3 schakelaars tot de plug stevig in het plaatje klikt.
Benodigde onderdelen voor deze stap:
| Druknagel | 13 |
Lijn de gaten in de motorkap uit met de gaten in het dashboard en het frame van de machine.

Gebruik 9 druknagels om de motorkap aan het dashboard en het frame te bevestigen.
Sluit de 2 elektrische connectoren (met 2 contacten) op de machinekabelboom aan op de connectoren met 2 pinnen van de linker- en rechterkoplamp.

Lijn het binnenste spatbordscherm uit met de onderste en bovenste framebuis aan de linkerkant.

Bevestig het binnenste spatbordscherm met de 6 druknagels aan de framebuizen.
Lijn de gaten in het spatbord uit met de gaten in het frame van de machine.

Monteer het spatbord losjes aan het frame met de 3 bouten (5/16" x 1") en 3 ringen (5/16") die u eerder hebt verwijderd.
Bevestig het spatbord met de 2 druknagels aan het framekanaal.

Haal de bout (5/16" x 1") aan met een torsie van 1978 tot 2542 N·cm.
Herhaal stap 1 tot en met 6 voor het binnenste spatbordscherm en het spatbord aan de andere kant van de machine.
Lijn het binnenste spatbordscherm uit met de onderste en bovenste framebuis aan de rechterkant.


Bevestig het binnenste spatbordscherm met de 6 druknagels en 5 ringen (9/16" x ½") aan de framebuizen.
Lijn het spatbord rechtsvoor uit met de machine en lijn de gaten in het spatbord uit met de gaten in het frame.

Bevestig het spatbord rechtsvoor aan de clipmoer van de dwarsbalksteun met de tapbout (5/16" x 1") en ring (5/16").
Bevestig het spatbord rechtsvoor met 2 druknagels aan het montagekanaal van de rolbeugel.

Lijn de opening in het spatbord rechtsvoor uit met de opening in de platformvloer en bevestig het spatbord aan de vloer met een tapbout (5/16" x 1") en ring (5/16").

Lijn de opening in de onderste kap van het bedieningspaneel uit met de opening in de schokbrekerbuis en de opening in de kap van het uiteinde van het bedieningspaneel met de opening in de dwarsbalkbuis.

Bevestig de kappen aan de buizen met 2 tapbouten (5/16" x 1") en flensmoeren (5/16").
Lijn de sluitingen van het inspectieluik van de motor uit met de lagers in de steunbeugels van het luik op de rolbeugel.

Monteer het paneel op de beugels.
Draai de handgreep van de sluitingen naar beneden om het paneel aan de beugels te bevestigen.
Lijn de stoel en de stoelplaat uit met het chassis van de machine.

Lijn de gaten in de draaifittings van de stoelsteun uit met de gaten in de chassisbeugel.


Gebruik de 2 draaipennen om de stoelsteun op de chassisbeugels te monteren.
Gebruik de 2 R-pennen om de draaipennen aan de machine te bevestigen.
Monteer de steunstang op de stoelbeugel; gebruik hierbij de ring en de R-pen.

Druk de connector met 2 contacten van de machinekabelboom in de connector van de stoelschakelaar tot ze in elkaar klikken.

Kantel de stoel een beetje naar voren, verwijder de steunstang uit de uitsparing en kantel de stoel naar beneden tot deze vergrendeld wordt.
Breng de sleutel in het contact en draai het naar de stand AAN.
Het startscherm wordt weergegeven op het display van het InfoCenter en het indicatorlampje brandt kortstondig.
Note: Start de motor niet.

Druk in het hoofdscherm op de middelste knop van het InfoCenter om naar het navigatiescherm te gaan.

Druk op de middelste knop van het InfoCenter om naar het hoofdmenu te gaan.
Druk in het scherm HOOFDMENU op de middelste knop om naar de optie INSTELLINGEN te navigeren en druk op de rechterknop om de optie te selecteren.

Druk in het scherm INSTELLINGEN op de middelste knop om naar de optie BEVEILIGDE INSTELLINGEN te navigeren en druk op de rechterknop om de optie te selecteren.

Ga als volgt te werk om de pincode in te voeren:
Druk de middelste knop zo vaak als nodig is in om het linkercijfer van de pincode in te voeren.

Druk op de rechterknop om naar het volgende cijfer van de pincode te gaan.
Herhaal stap 1 en 2 voor de 3 andere cijfers van de pincode.
Wanneer u alle cijfers van de pincode ingevoerd hebt, drukt u op de rechterknop en vervolgens op de middelste knop om de pincode te bevestigen.
Het indicatorlampje gaat kortstondig branden.

Druk op de middelste knop om naar de optie GEOLINK te navigeren en druk op de rechterknop om de optie in te stellen.

Het InfoCenter toont het GeoLink-bevestigingsscherm.

Draai het contactsleuteltje naar de stand UIT en vervolgens naar AAN.
Eerst verschijnt het GEOLINK-startscherm wanneer u het contactsleuteltje naar AAN draait.

Draai het contactsleuteltje naar de stand LOPEN (benzine) of VOORGLOEIEN/LOPEN (diesel).
Controleer of de volgende onderdelen aangeven dat elk onderdeel van voeding wordt voorzien:
Bedieningspaneel - geeft afbeeldingen en tekst weer

Satellietontvanger - de STROOMINDICATORbrandt

Modem - de ledindicatoren branden.

Automatische besturing van de spuitboomsecties - de STATUSINDICATOR brandt

Draai het contactsleuteltje op UIT.
Controleer dat de voeding naar de volgende onderdelen uitgeschakeld is:
Bedieningspaneel
Satellietontvanger
Automatische besturing van de spuitboomsecties
Raadpleeg de Softwaregids van uw GeoLink systeem.
Voer de volgende stappen uit:
De softwareversie controleren.
De maateenheden selecteren.
Een veld creëren.
Een nieuw product en een nieuwe gebruiksdosis creëren.
Een spuittaak creëren.
De spuitboomkleppen balanceren
Het spuitsysteem controleren.
De mengomloopklep balanceren.
De vloeistofstroommeter kalibreren.
De cellulaire status controleren.
Het kompas op de locatie van de distributeur kalibreren.
Het niet vluchtig RAM op de locatie van de klant verwijderen.
Het kompas op de locatie van de klant kalibreren.