Note: Dieses Kit muss zusammen mit Modell 41712 oder Modell 41713 installiert werden
Das GeoLink Sprühsystem ist ein Anbaugerät für ein Toro Multi Pro Rasensprühfahrzeug und sollte nur von geschultem Bedienpersonal in gewerblichen Anwendungen eingesetzt werden. Es ist hauptsächlich für das Sprühen von Gras auf gepflegten Grünflächen in Parkanlagen, Golfplätzen, Sportplätzen und öffentlichen Anlagen gedacht. Der zweckfremde Einsatz dieser Maschine kann für Sie und Unbeteiligte gefährlich sein.
Lesen Sie diese Informationen sorgfältig durch, um sich mit dem ordnungsgemäßen Einsatz und der Wartung des Geräts vertraut zu machen und Verletzungen und eine Beschädigung des Geräts zu vermeiden. Sie tragen die Verantwortung für einen ordnungsgemäßen und sicheren Einsatz des Geräts.
Besuchen Sie Toro.com, hinsichtlich Produktsicherheit und Schulungsunterlagen, Zubehörinformationen, Standort eines Händlers, oder Registrierung des Produkts.
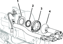
Wenden Sie sich an Ihren autorisierten Service-Vertragshändler oder Kundendienst, wenn Sie eine Serviceleistung, Toro Originalersatzteile oder zusätzliche Informationen benötigen. Halten Sie hierfür die Modell- und Seriennummern Ihres Produkts griffbereit. In Bild 1 ist angegeben, wo an dem Produkt die Modell- und die Seriennummer angebracht sind. Tragen Sie hier die Modell- und Seriennummern des Geräts ein.
Important: Scannen Sie mit Ihrem Mobilgerät den QR-Code (falls vorhanden) auf dem Typenschild, um auf Garantie-, Ersatzteil- oder andere Produktinformationen zuzugreifen.

In dieser Anleitung werden potenzielle Gefahren angeführt, und Sicherheitshinweise werden vom Sicherheitswarnsymbol (Bild 2) gekennzeichnet. Dieses Warnsymbol weist auf eine Gefahr hin, die zu schweren oder tödlichen Verletzungen führen kann, wenn Sie die empfohlenen Sicherheitsvorkehrungen nicht einhalten.

In dieser Anleitung werden zwei Begriffe zur Hervorhebung von Informationen verwendet. Wichtig weist auf spezielle mechanische Informationen hin, und Hinweis hebt allgemeine Informationen hervor, die Ihre besondere Beachtung verdienen.
Die im Sprühsystem verwendeten Chemikalien können gefährlich und giftig für Sie, Unbeteiligte, Tiere, Pflanzen, Boden oder anderes Eigentum sein.
Lesen Sie die chemischen Warnaufkleber und die Sicherheitsdatenblätter für alle verwendeten Chemikalien sorgfältig durch, und halten Sie sich an die Angaben. Tragen Sie außerdem die vom Chemikalienhersteller empfohlene Schutzkleidung. Tragen Sie z. B. geeignete Schutzanzüge, einschließlich Atemschutzmaske und Schutzbrille, Handschuhe oder andere Kleidung, damit Sie nicht mit den Chemikalien in Kontakt kommen.
Denken Sie daran, dass mehrere Chemikalien verwendet werden, und dass Sie alle Angaben berücksichtigen müssen.
Weigern Sie sich, das Sprühfahrzeug einzusetzen, wenn diese Informationen nicht verfügbar sind.
Vor dem Umgang mit einem Sprühsystem sollten Sie sicherstellen, dass es dreimal ausgespült und gemäß den Empfehlungen der Chemikalienhersteller neutralisiert wurde; alle Ventile müssen auch dreimal ausgespült werden.
Stellen Sie sicher, dass eine ausreichende Menge an frischem Wasser und Seife in der Nähe verfügbar sind, und waschen Sie unverzüglich jede Chemikalie ab, mit der Sie in Kontakt kommen.
![]() |
Die Sicherheits- und Bedienungsaufkleber sind für den Bediener gut sichtbar und befinden sich in der Nähe der möglichen Gefahrenbereiche. Tauschen Sie beschädigte oder verloren gegangene Aufkleber aus. |




Siehe Bedienungsanleitung für Ihre Maschine.
Stellen Sie die Maschine auf einer ebenen Fläche ab und aktivieren Sie die Feststellbremse.
Fahren Sie die linken und rechten Auslegerabschnitte in die horizontale Stellung aus.
Stellen Sie den Motor ab, ziehen Sie den Schlüssel ab und trennen Sie den Akku.
Reinigen Sie das Sprühfahrzeug.
Important: Sie müssen den Sprühbehälter komplett leeren, bevor Sie das Finishingkit für das GeoLink-Sprühsystem installieren.
Schließen Sie die 3-polige Buchse des Maschinenkabelbaums ab, der am Sitzschalteranschluss angeschlossen ist.

Entfernen Sie den Splint, mit dem die Stützstange an der Halterung unten an der Sitzplatte befestigt ist.

Entfernen Sie die beiden Splinte, mit denen das Drehzapfenanschlussstück der Sitzplatte an den Chassishalterungen befestigt ist.


Entfernen Sie die beiden Lagerbolzen, mit denen der Sitz und die Sitzplatte am Chassis befestigt sind.
Heben Sie den Sitz und die Sitzplatte von der Maschine ab.

Drehen Sie die Griffe für die Riegel der Motorabdeckplatte nach oben.

Heben Sie die Motorabdeckplatte an und nehmen Sie diese von der Maschine ab.
Entfernen und entsorgen Sie die beiden Eindrückbefestigungen, mit denen der linke vordere Kotflügel am unteren Überrollschutz-Kanal befestigt ist.

Entfernen Sie die drei Schrauben (5/16" x 1") und die drei Scheiben (5/16"), mit denen der Kotflügel am Rahmen der Maschine befestigt ist.

Nehmen Sie den Kotflügel von der Maschine ab.
Entfernen Sie die sechs Eindrückbefestigungen und die fünf Scheiben (9/16" x ½"), mit denen die innere Kotflügelhaube am Rahmen der Maschine befestigt ist.

Nehmen Sie die innere Kotflügelhaube von der Maschine ab.

Wiederholen Sie die Schritte 1 bis 5 für den Kotflügel und die innere Kotflügelhaube an der anderen Seite der Maschine.
Note: Wenn Sie die Eindrückbefestigungen beim Entfernen beschädigen, ersetzen Sie die Befestigungen durch neue Eindrückbefestigungen, Toro Bestellnr. 117-2382.
Entfernen Sie die beiden Kopfschrauben (5/16" x 1") und die beiden Unterlegscheiben (5/16"), mit denen die untere Bedienabdeckung und die Bedienfeldabdeckung (Abschluss) an der Maschine befestigt sind, und nehmen Sie die Abdeckungen ab.


Entfernen Sie die Kopfschraube (5/16" x 1") und die Unterlegscheibe (5/16"), mit denen der rechte, vordere Kotflügel am Plattformboden befestigt ist.

Entfernen Sie vorsichtig die beiden Eindrückbefestigungen, mit denen der rechte, vordere Kotflügel am Überrollschutz-Befestigungskanal befestigt ist.


Entfernen Sie die Kopfschraube (5/16" x 1") und die Unterlegscheibe (5/16"), mit denen der rechte, vordere Kotflügel am Querträger befestigt ist.

Nehmen Sie den rechten, vorderen Kotflügel von der Maschine ab.
Entfernen Sie die sechs Eindrückbefestigungen und die fünf Unterlegscheiben (9/16" x ½"), mit denen die innere Kotflügelhaube am rechten oberen und unteren Rahmenrohr befestigt ist.

Nehmen Sie die innere Kotflügelhaube von der Maschine ab.
Note: Bewahren Sie den rechten vorderen Kotflügel, die innere Kotflügelhaube, die Kopfschrauben, die Unterlegscheiben und die unbeschädigten Eindrückbefestigungen auf.Ersetzen Sie beschädigte Eindrückbefestigungen durch neue Eindrückbefestigungen, Toro Bestellnr. 117-2382.
Trennen Sie die zwei elektrischen Anschlüsse (2-polige Buchse) des Maschinenkabelbaums vom 2-poligen-Stecker am linken und rechten Scheinwerfer ab.

Entfernen Sie die neun Eindrückbefestigungen, mit denen die Haube am Armaturenbrett und am Rahmen der Maschine befestigt ist, und bewahren Sie diese auf.

Nehmen Sie die Haube von der Maschine ab und entsorgen Sie diese.
Drücken Sie den Stellring für die Schlauchkupplung in die Endkappe des rechten Auslegerabschnittsventils hinein.

Ziehen Sie den Druckmessschlauch für das Messgerät am Armaturenbrett aus der Schlauchkupplung.
Schließen Sie die 3-polige Buchse des Maschinenkabelbaums, der mit LEFT SPRAY VALVE, CENTER SPRAY VALVE und RIGHT SPRAY VALVE beschriftet ist, von den 3-poligen Steckern der 3 Sprühventilaktoren ab.

Schließen Sie die 4-polige Buchse des Maschinenkabelbaums, der mit RATE VALVE beschriftet ist, vom 4-poligen Stecker des Dosierungsventil-Aktors ab.

Schließen Sie die 3-polige Buchse des Maschinenkabelbaums, der mit MASTER SPRAY VALVE beschriftet ist, vom 3-poligen Stecker des Hauptsprühventil-Aktors ab.
Entfernen Sie am äußeren Auslegerabschnitt die Schlauchklemme, mit der der Schlauch am gezahnten T-Anschlussstück befestigt ist.

Nehmen Sie den Schlauch vom T-Anschlussstück ab.
Nehmen Sie das freie Ende des Schlauchs von der R-Klemme ab.
Wiederholen Sie die Schritte 1 bis 3 für den Zulaufschlauch am anderen äußeren Sprühabschnitt.
Entfernen Sie unter dem mittleren Auslegerabschnitt die Schlauchklemme, mit der der Zulaufschlauch für den mittleren Sprühabschnitt am gezahnten T-Anschlussstück befestigt ist.

Entfernen Sie die Befestigungen, mit denen die Schnellkupplungen des linken, mittleren und rechten Zulaufschlauchs befestigt sind, von den Schnellkupplungen der Abschnittsventile (Bild 24) und bewahren Sie diese auf.

Entfernen und entsorgen Sie die Zulaufschläuche des linken, mittleren und rechten Abschnitts von den Schnellkupplungen der Abschnittsventile und nehmen Sie die Schläuche von der Maschine ab.
Entfernen Sie die Schläuche von den Ausfahranschlüssen des rechten und linken Hubzylinders.

Entfernen und entsorgen Sie die Schläuche von:
Anschlüsse C1, C2, C3 und C4 des Hubzylinderverteilers
Aus- und Einfahranschlüsse des rechten und linken Hubzylinders.
Note: Bewahren Sie, sofern nicht anders angegeben, alle Befestigungselemente auf, die Sie entfernen.
Stützen Sie den äußeren Sprühabschnitt mit einer Hebevorrichtung ab, die die angegebene Kapazität hat.
Nehmen Sie den Lastösenbolzen und den Splint ab, mit denen das Stangenende des Hubzylinders an der Schwenkhalterung befestigt ist.

Entfernen Sie die Sicherungsbundmutter (5/16") und die Bundkopfschraube (5/16" x ¾"), mit denen der Lagerbolzen an der Zylinderbefestigung befestigt ist.

Nehmen Sie den Lagerbolzen und den Hubzylinder von der Maschine ab.
Kapazität der Hebevorrichtung: 46 kg
Das falsche Anheben von schweren Maschinen und Anbaugeräten kann zu schweren oder tödlichen Verletzungen führen.
Verwenden Sie zum Anheben von schweren Maschinen und Anbaugeräten Hebevorrichtungen, u. a. Ketten und Riemen, die für das Gewicht des Geräts angemessen sind.
Note: Bewahren Sie alle Befestigungen auf, falls nicht anders angegeben, da Sie die Befestigungen für die Installation der mittleren Auslegersektion erneut verwenden.
Entfernen Sie den Bundbolzen (5/16" x 1") und die Sicherungsbundmutter (5/16"), mit denen der Lagerbolzen an der Schwenkhalterung befestigt ist.

Nehmen Sie den Lagerbolzen aus der Schwenkhalterung für den mittleren Auslegerabschnitt und das Drehzapfen-Anschlussstück für den äußeren Auslegerabschnitt ab.
Trennen Sie den äußeren Auslegerabschnitt vom mittleren Sprühabschnitt und nehmen Sie den äußeren Abschnitt von der Maschine ab.
Entfernen Sie die zwei Nylonbundbüchsen aus dem Drehzapfen-Anschlussstück des äußeren Sprühabschnitts und entsorgen Sie diese.
Wiederholen Sie die Schritte 1 bis 3 für den Ausbau der Hubzylinder für den äußeren Auslegerabschnitt an der anderen Seite der Maschine.
Wiederholen Sie die Schritte 1 bis 4 dieses Abschnitts für den äußeren Auslegerabschnitt an der anderen Seite der Maschine.
Entfernen Sie die zwei Sicherungsbundmuttern (5/16") und die zwei Bundkopfschrauben (5/16" x 1"), mit denen die Stützhalterung für den Abschnitthubverteiler an der Zylinderbefestigung befestigt ist, und nehmen Sie den Verteiler und die Halterung von der Zylinderbefestigung ab.

Binden Sie den Abschnitthubverteiler mit einem Seil an der Befestigungshalterung des Ventils fest, um den Abschnitthubverteiler abzustützen.
Kapazität der Hebevorrichtung: 41 kg
Stützen Sie den mittleren Auslegerabschnitt mit der Hebevorrichtung ab, die die entsprechende Kapazität hat.

Entfernen Sie die vier Bundkopfschrauben (⅜" x 1-¼") und die vier Bundsicherungsmuttern (⅜"), mit denen der mittlere Auslegerabschnitt an den Halterungen befestigt ist, und bewahren Sie diese auf.

Heben Sie den mittleren Auslegerabschnitt an und nehmen Sie ihn von der Maschine ab.
Für diesen Arbeitsschritt erforderliche Teile:
| Bundkopfschraube (⅜" x 1") | 2 |
| Sicherungsbundmutter (⅜") | 2 |
| Mittlere Auslegersektion | 1 |
| Zylinderbefestigung (breit) | 1 |
| Verbindungsplatte (breit) | 1 |
| Schlossschraube (½" x 1¼") | 4 |
| Sicherungsbundmutter (½") | 4 |
Entfernen Sie am mittleren Auslegerabschnitt die Sicherungsbundmutter, mit der der Drehkopf an der Halterung befestigt ist.


Entfernen Sie die Edelstahlschraube (Gr. 12 x 1¼"), mit der die obere Klemmenhälfte und der gezahnte Einzelschlauch- oder Doppelschlauchschaft (¾") am Gehäuse des Drehkopfes befestigt ist, nehmen Sie den gezahnten Schlauchschaft und den Schlauch von der Düse ab.
Note: Die Sechskantschraube (5/16" x ¾", Edelstahl) kommt aus der oberen Klemmenhälfte heraus, wenn Sie die Klemme öffnen. Bewahren Sie die Schraube für einen späteren Einbau auf.

Entfernen Sie den Drehkopf vom mittleren Auslegerabschnitt.
Wiederholen Sie die Schritte 1 und 2 für die anderen beiden Drehköpfe.
Nehmen Sie die Schläuche (Innendurchmesser von ¾ Zoll), die gezahnten Schlauchschafte, die Klemmen und das gezahnte T-Anschlussstück vom mittleren Auslegerabschnitt ab.
Note: Entsorgen Sie den Schlauch, die Schlauchschafte, die Klemmen und das T-Anschlussstück, bewahren Sie die anderen Teile auf.
Entfernen Sie die zwei Bundkopfschrauben (⅜" x 1") und die zwei Sicherungsmuttern (⅜"), mit denen die vertikalen Flansche des linken und rechten Trägerrahmens befestigt sind.

Entfernen Sie die zwei Schlossschrauben (½" x 1-¼") und die zwei Sicherungsmuttern (½"), mit denen die schmale Zylinderbefestigung, die linken und rechten Trägerrahmen und die schmale Verbindungsplatte befestigt sind.

Note: Bewahren Sie Bundkopfschrauben, die Schlossschrauben und Sicherungsmuttern auf. Die schmale Zylinderbefestigung und die schmale Verbindungsplatte werden nicht mehr benötigt.
Trennen Sie die den linken und rechten Trägerrahmen.
Befestigen Sie die mittlere Auslegersektion mit den beiden zuvor entfernten Bundkopfschrauben (⅜" x 1") und den beiden Sicherungsbundmuttern (⅜") lose am Trägerrahmen.

Befestigen Sie die mittlere Auslegerverlängerung mit den zwei Bundkopfschrauben (⅜" x 1") und zwei Sicherungsbundmuttern (⅜") lose am anderen Trägerrahmen.
Setzen Sie die Verbindungsplatte in den Trägerrahmen und die mittlere Auslegersektion ein und fluchten Sie das Loch in der Verbindungsplatte mit den Löchern an der Mittellinie der Trägerrahmen und der Auslegerverlängerung aus.

Montieren Sie die Zylinderhalterung, die Trägerrahmen, die mittlere Auslegerverlängerung und die Verbindungsplatte mit sechs Schlossschrauben (½" x 1-¼") und sechs Sicherungsbundmuttern (½").
Note: Zwei der Schlossschrauben und Sicherungsmuttern stammen von zuvor ausgebauten Teilen.
Ziehen Sie die Bundkopfschrauben (⅜") und Sicherungsbundmuttern bis auf 37-45 N∙m an.
Ziehen Sie die Sicherungsbundmuttern (½") bis auf 91-113 N∙m an.
Für diesen Arbeitsschritt erforderliche Teile:
| Drehkopf | 2 |
| Schlauch (Ventil 5 oder 6) | 2 |
| Sicherungsbundmutter (5/16") | 2 |
Heben Sie den neuen mittleren Auslegerabschnitt mit einer Hebevorrichtung auf eine komfortable Arbeitshöhe an.
Entfernen Sie die Edelstahlschraube, mit der die obere Klemmhälfte am Sattel befestigt ist.

Ermitteln Sie das Loch in der Seite des gezahnten Einzelschlauchschafts am Ende des Schlauchs 25 cm vom Schlauch (Ventil 5 oder 6) für den mittleren Auslegerabschnitt.

Fluchten Sie den Transferschlauch im Sattel des Drehkopfes mit dem Loch in der Seite des gezahnten Einzelschlauchschafts (½") aus.
Schließen Sie die obere Klemmenhälfte um den gezahnten Schlauchschaft und befestigen die Klemmenhälfte und das Sprühdüsengehäuse mit der Edelstahlschraube (Nr. 12 x 1¼"). Ziehen Sie die Edelstahlschraube bis auf 14-18 N∙m an.
Important: Ziehen Sie die Edelstahlschraube nicht zu fest an.
Note: Stellen Sie sicher, dass die Sechskantschraube (5/16" x ¾") in der Vertiefung in der oberen Klemmenhälfte sitzt, wenn Sie die Klemme schließen.
Wiederholen Sie die Schritte 3 bis 5 an den gezahnten Einzelschlauchschafte der anderen Schläuche (Ventil 5 oder 6) für den mittleren Auslegerabschnitt.
Verlegen Sie den Schlauch (13 mm) und die Drehkopfbaugruppe zwischen die Trägerstreben des äußeren Trägers.

Verlegen Sie den Schlauch und das Drehkopf über der Trägerstrebe und an der Außenseite der äußeren Düsenbefestigung.
Montieren Sie den Drehkopf mit der Sechskantschraube (5/16" x ¾") und einer Sicherungsbundmutter (5/16") lose an der Halterung.

Verlegen Sie den anderen Schlauch (13 mm) und die Drehkopfbaugruppe zwischen den Trägerstreben des äußeren Trägers.
Verlegen Sie den Schlauch und das Drehkopf über der Trägerstrebe und an der Innenseite der inneren Drehkopfbefestigung.
Montieren Sie den Drehkopf mit einer Sechskantschraube (5/16" x ¾") und einer Sicherungsbundmutter (5/16") lose an der Halterung.
Ziehen Sie die Sicherungsbundmutter bis auf 1978-2542 N∙cm an.
Verlegen Sie den Schlauch und die gezahnte Kupplung (13 mm x 810 mm) an der Seite des mittleren Sprühabschnitts mit der linken und rechten Stützhalterung.
Wiederholen Sie die Schritte 1 bis 8 für den anderen Schlauch und den Drehkopf am anderen äußeren Träger.
Für diesen Arbeitsschritt erforderliche Teile:
| Deckel (Schnellkupplung) | 3 |
| Halter | 3 |
Entfernen Sie die kleine Halterung, mit der der Schnelltrennanschluss des Überlaufschlauchs am Schnelltrennanschluss des rechten Abschnitt-Sicherheitsventils befestigt ist.

Nehmen Sie die große Halterung ab, mit der das gezahnte 90°-Anschlussstück am unteren Ende des Überlaufschlauchs am Schottanschlussstück des Sprühbehälter befestigt ist und bewahren Sie diese auf.

Nehmen Sie den Überlaufschlauch von der Maschine ab und entsorgen Sie diesen.
Entfernen Sie die drei Halterungen, mit denen die drei Ventilaktoren am linken, mittleren und rechten Abschnittsventil befestigt sind.

Entfernen Sie die Ventilaktoren vom linken, mittleren und rechten Abschnittsventil.
Entfernen Sie die Halterung, mit der die Kappe des Schnelltrennanschlussstücks des Sicherheitsventils befestigt ist, entfernen und entsorgen Sie die Kappe.

Entfernen Sie die drei Halterungen, mit denen die drei Sicherheitsventile am linken, mittleren und rechten Abschnittsventil befestigt sind.

Nehmen Sie die Sicherheitsventile von den Abschnittsventilen ab.
Drehen Sie die Sicherheitsventile um 180° und montieren sie an den Schnelltrennanschlussstücken der Abschnittsventile.
Befestigen Sie die drei Sicherheitsventile mit den drei Halterungen, die Sie zuvor entfernt haben, an den Abschnittsventilen.
Setzen Sie den Stöpsel in die Schnellanschlussbuchse des Sicherheitsventils.

Befestigen Sie den Stecker mit der zuvor entfernten Halterung an der Schnellanschlussbuchse.
Befestigen Sie die drei Ventilaktoren mit den zuvor entfernten Halterungen am linken, mittleren und rechten Abschnittsventil.
Entfernen Sie die zwei Bundkopfschrauben (¼" x ¾") und die zwei Sicherungsmuttern (¼"), mit denen das linke Auslegerabschnittventil an der Verteilerbefestigung befestigt ist und entsorgen Sie diese.

Entfernen Sie die zwei Bundkopfschrauben (¼" x ¾") und die zwei Sicherungsmuttern (¼"), mit denen das rechte Auslegerabschnittsventil an der Verteilerbefestigung befestigt ist.
Entfernen Sie die Flanschklemme (40 mm bis 64 mm) und die Dichtung (25 mm x 35 mm), mit denen der Flansch des linken Abschnittsventils am Adapter befestigt ist.
Note: Bewahren Sie die zwei Bundkopfschrauben, zwei Sicherungsmuttern, die Flanschklemme und die Dichtung auf.

Nehmen Sie die drei Abschnittsventile von der Maschine ab.
Entfernen Sie die Aufkleber von den Aktoren der drei Abschnittsventile.

Entfernen Sie die Flanschklemme (51 mm) und die Dichtung (38 mm), mit denen der Flansch des Adapters am Flansch des Durchflussmessgeräts befestigt ist, und bewahren Sie diese auf.

Für diesen Arbeitsschritt erforderliche Teile:
| Befestigung für Durchflussmessgerät | 1 |
| Stützklemmenhälfte | 4 |
| Schraube (¼" x 4½") | 4 |
| Sicherungsbundmuttern (¼") | 4 |
Schließen Sie die 3-polige Buchse des Maschinenkabelbaums, der mit FLOW METER beschriftet ist, vom 3-poligen Stecker des Durchflussmessgeräts ab.

Nehmen Sie die beiden Eindrückbefestigungen des Maschinenkabelbaums vom unteren Flansch der Abschnittsventilhalterung ab.
Entfernen Sie die vier Bundkopfschrauben (5/16" x ¾"), mit denen die Abschnittsventilhalterung an der Ventilbefestigung befestigt ist, und nehmen Sie die Ventilhalterung von der Maschine ab.
Note: Bewahren Sie die vier Bundkopfschrauben auf; die Abschnittventilhalterung wird nicht mehr benötigt.

Fluchten Sie die Löcher in der Halterung für das Durchflussmessgerät mit den Löchern in der Ventilbefestigung aus.

Befestigen Sie die Halterung des Durchflussmessgeräts mit den zuvor entfernten vier Bundkopfschrauben an der Ventilhalterung, und ziehen Sie die Schrauben mit einem Drehmoment von 1978 bis 2542 N∙cm an.
Befestigen Sie das Paar der Klemmenhälften mit zwei Schrauben (¼" x 4½") und zwei Sicherungsbundmuttern (¼") an der Halterung für das Durchflussmessgerät.

Ziehen Sie die Schrauben und Mutter bis auf 1017-1243 N∙cm an.
Für diesen Arbeitsschritt erforderliche Teile:
| Hinterer Kabelbaum | 1 |


Verlegen Sie den 84 cm, 60 cm und 66 cm Kabelbaumzweig des hinteren Kabelbaums zur linken Seite der Maschine, entlang des Maschinenkabelbaums.


Verlegen Sie den 84 cm, 60 cm und 66 cm Kabelbaumzweig des hinteren Kabelbaums nach vorne entlang des linken Rahmenkanals.



Verlegen Sie den 84 cm, 60 cm und 66 cm Kabelbaumzweig des hinteren Kabelbaums entlang des Maschinenkabelbaums zur Außenseite der Feststellbremse.

Verlegen Sie den 84 cm, 60 cm und 66 cm Kabelbaumzweig des hinteren Kabelbaums über dem Stützrohr des Stoßdämpfers.

Befestigen Sie den hinteren Kabelbaum am Maschinenkabelbaum.
Verlegen Sie den 89-cm-Kabelbaumzweig an der Rückseite der Maschine zur Vorderseite des Hubverteilers und rechts vom Durchflussmessgerät.

Verlegen Sie den 102 cm Kabelbaumzweig zur Rückseite des Hubverteilers und zur rechten Seite.
Stecken Sie den 3-poligen Stecker des hinteren 89 cm Kabelbaumzweigs, der mit LEFT SPRAY beschriftet ist, in die 3-polige Buchse des Maschinenkabelbaums, der mit LEFT SPRAY VALVE beschriftet ist.

Stecken Sie den 3-poligen Stecker des hinteren Kabelbaums, der mit CENTER SPRAY beschriftet ist, in die 3-polige Buchse des Maschinenkabelbaums, der mit CENTER SPRAY VALVE beschriftet ist.
Stecken Sie den 3-poligen Stecker des hinteren Kabelbaums, der mit RIGHT SPRAY beschriftet ist, in die 3-polige Buchse des Maschinenkabelbaums, der mit RIGHT SPRAY VALVE beschriftet ist.
Stecken Sie die Eindrückbefestigung des hinteren Kabelbaums in das Loch im Flansch der Halterung des Durchflussmessgeräts.
Stecken Sie die 3-polige Buchse des hinteren 89-cm-Kabelbaumzweigs, der mit FLOW METER beschriftet ist, in den 3-poligen Stecker des Durchflussmessgeräts.

Stecken Sie den 3-poligen Stecker des hinteren 89-cm-Kabelbaumzweigs, der mit MASTER VALVE beschriftet ist, in die 3-polige Buchse des Maschinenkabelbaums, der mit MASTER SPRAY VALVE beschriftet ist.

Stecken Sie den 3-poligen Stecker des Aktors für das Hauptsprühventil in die 3-polige Buchse des hinteren 89 cm Kabelbaumzweigs, der mit MASTER VALVE beschriftet ist.
Stecken Sie den 4-poligen Stecker des Aktors für das Dosierungsventil in die 4-polige Buchse des hinteren 89 cm Kabelbaumzweigs, der mit RATE VALVE beschriftet ist.

Für diesen Arbeitsschritt erforderliche Teile:
| Gerade Schlauchzahnung (1" x 2") | 1 |
| Schlauchklemme (¾" x 1½") | 3 |
| Schlauch (1" x 5¾") | 1 |
| Verteiler | 1 |
| Schlauch (1" x 16") | 1 |
Montieren Sie den Schlauch (1" x 5¾") mit einer Schlauchklemme (¾" bis 1½") an der geraden Schlauchzahnung (1" x 2") und ziehen Sie die Klemme mit der Hand an.

Montieren Sie das andere Ende des Schlauchs (1" x 5¾") mit einer Schlauchklemme am gezahnten Anschlussstück des Verteilers und ziehen Sie die Klemme mit der Hand an.
Montieren Sie den Schlauch (1" x 16") mit einer Schlauchklemme am anderen gezahnten Anschlussstück des Verteilers und ziehen Sie die Klemme mit der Hand an.
Befestigen Sie die gerade Schlauchzahnung (1" x 2") mit der Dichtung 38 mm (1½") und der Flanschklemme 51 mm (2") am Flansch des Durchflussmessgeräts.

Ziehen Sie die Flanschklemme mit der Hand an.
Für diesen Arbeitsschritt erforderliche Teile:
| Überlaufschlauch | 1 |
| Kraftstoffhahn | 1 |
Fluchten Sie den Überlaufschlauch mit dem Behälter aus.


Befestigen Sie das gezahnte 90° Anschlussstück mit einer Halterung an der Spritzwanddurchführung des Behälters.
Kapazität der Hebevorrichtung: 55 kg
Heben Sie mit einem Hebezeug mit der angegebenen Hubkapazität den mittleren Auslegerabschnitt an und richten Sie den Auslegerabschnitt an den Löchern in den Stützhalterungen aus.

Befestigen Sie den mittleren Auslegerabschnitt mit den vier Bundkopfschrauben (⅜" x 1¼") und den vier Sicherungsbundmuttern (⅜") an den Stützhalterungen.
Ziehen Sie die Schrauben und Muttern bis auf 37-45 N∙m an.
Trennen Sie den Hubverteiler von der Ventilbefestigungshalterung ab.
Fluchten Sie die Löcher in der Stützhalterung für den Abschnitthubverteiler mit den Löchern in der Zylinderbefestigung aus.

Befestigen Sie die Stützhalterung mit den beiden Bundkopfschrauben (5/16" x 1") und zwei Sicherungsbundmuttern (5/16") an der Zylinderbefestigung.
Ziehen Sie die Schrauben und Muttern bis auf 1978–2542 N∙cm an.
Für diesen Arbeitsschritt erforderliche Teile:
| Ventilbefestigung und Ventilbaugruppe | 1 |
| Dosier-/Abschnittsteuerung | 1 |
| Magnet | 4 |
| Schraube (Nr. 8) | 4 |
| Flachscheibe | 4 |
| Sicherungsmutter (Nr. 8) | 4 |
| Kappe (Schnelltrennanschlussstück) | 2 |
| Bundkopfschrauben (5/16" x ¾") | 8 |
| Sicherungsbundmuttern (5/16") | 8 |
| Schlauchklemme | 1 |
| Eindrückbefestigungen (Kabelbinder) | 1 |
| Eindrückbefestigung (Steckeranker) | 3 |
Befestigen Sie die Magneten mit vier Schrauben (Gr. 8), vier Scheiben und vier Sicherungsmuttern (Gr. 8) am Steuergerät.

Setzen Sie die Steuerungsbaugruppe auf die Ventilbefestigung.

Montieren Sie die 3 Abschnittsventile mit der Flanschklemme und einer Dichtung auf den Flansch von Ventil 7 der Sprühventilbaugruppe.
Important: Die linken, mittleren und rechten Abschnittsventile sind im GeoLink-Sprühsystem wie folgt identifiziert: Linkes Abschnittsventil: Düse 8, mittleres Abschnittsventil: Düse 9 und rechtes Abschnittsventil: Düse 10.

Befestigen Sie die Buchse der Schnelltrennkupplung für das Sicherheitsventil des Abschnittsventils 8 an der Schnelltrennkupplung für das Sicherheitsventil des Abschnittsventils 7 mit der zuvor entfernten Halterung.

Montieren Sie das Abschnittventil 10 mit den beiden zuvor entfernten Bundkopfschrauben (¼" x ¾") und zwei Sicherungsmuttern (¼") an der Ventilbefestigung.


Ziehen Sie die Bundkopfschrauben und Sicherungsmuttern bis auf 1017-1243 N∙m an.
Kapazität der Hebevorrichtung: 23 kg
Verwenden Sie eine Hebevorrichtung mit der angegebenen Kapazität, heben Sie die Ventilbefestigung und die Abschnittsventile an und fluchten sie über dem mittleren Auslegerabschnitt aus.

Fluchten Sie die Löcher in der Befestigungshalterung der Ventilbefestigung mit den Löchern im Trägerrahmen des mittleren Auslegerabschnitts aus.

Befestigen Sie die Ventilbefestigung mit vier Schrauben (5/16" x ¾") und vier Sicherungsbundmuttern (5/16") am Trägerrahmen.

Wiederholen Sie die Schritte 2 bis 3 für die andere Befestigungshalterung der Ventilbefestigung am anderen Trägerrahmen.
Ziehen Sie die Bundkopfschrauben und Sicherungsbundmuttern bis auf 1978–2542 N·cm an.
Befestigen Sie den Schlauch (1" x 16") über dem 90° Flanschanschlussstück (1").

Befestigen Sie den Schlauch mit einer Schlauchklemme am Flanschanschlussstück.
Befestigen Sie den Kabelbinder bzw. die Eindrückbefestigung im Loch an der Oberseite der Ventilbefestigung.
Befestigen Sie den Kabelbinder bzw. die Eindrückbefestigung um den Schlauch (1" x 16").
Entfernen Sie die Halterungen aus den Buchsen der Schnelltrennanschlussstücke.
Befestigen Sie das Schnellanschluss-Anschlussstück des Überlaufschlauchs am Schnelltrennanschlussstück des Sicherheitsventils am Abschnittsventil 10.

Befestigen Sie die Schnelltrennanschlussstücke für den Überlaufschlauch und das Sicherheitsventil mit der Halterung.
Wiederholen Sie die Schritte 1 bis 3 für die Schnelltrennanschlussstücke am Abschnittsventil 1.
Stecken Sie die Eindrückbefestigungen der elektrischen Anschlüsse des Ventilaktors in die Löcher der Ventilbefestigung.

Stecken Sie die 3-polige Buchse des hinteren 89 cm Kabelbaumzweigs, der mit NOZZLE VALVE 1 beschriftet ist, in den 3-poligen Stecker des ganz linken Ventilaktors (Position 1).
Note: Die Stellungen 1 bis 10 der Ventilaktoren sind von links nach rechts arrangiert (wenn Sie hinter der Maschine stehen).

Stecken Sie die 3-polige Buchse des hinteren 89 cm Kabelbaumzweigs, der mit NOZZLE VALVE 2 beschriftet ist, in den 3-poligen Stecker des Ventilaktors (Position 2).
Stecken Sie die restlichen 3-poligen Buchsen des hinteren 89 cm-Kabelbaumzweigs in den 3-poligen Stecker der Ventilaktoren.
Note: Stellen Sie sicher, dass die 3-poligen Buchsen an den relevanten Stellungen des Ventilaktors angeschlossen sind.
Stecken Sie die 3-polige Buchse des hinteren 61 cm-Kabelbaumzweigs, der mit PRESSURE TRANSDUCER GREEN WEDGE beschriftet ist, in den 3-poligen Stecker des Druckwandlers.

Stecken Sie die 40-polige Buchse des hinteren 102 cm Kabelbaumzweigs in den 40-poligen Stecker des ASC 10 Sprühsteuergeräts.

Schrauben Sie die Daumenschraube der 40-poligen Buchse mit der Hand in den ASC 10-Stecker ein.
Stecken Sie die 4-polige Buchse des hinteren Kabelbaums (beschriftet mit TO ASC 10) in den 4-poligen Stecker des ASC 10 Sprühsteuergeräts.

Für diesen Arbeitsschritt erforderliche Teile:
| Hydraulikschlauch (¼" x 24¾") | 4 |
Fluchten Sie das starre Ende des Hubzylinders mit dem 16 mm großen Loch in der Zylinderbefestigung aus.
Note: Stellen Sie sicher, dass die Ausfahr- und Rückzuganschlüsse des Zylinders ausgefluchtet sind.

Befestigen Sie den Zylinder mit dem Lagerbolzen, der Bundkopfschraube und Bundmutter an der Zylinderbefestigung.
Ziehen Sie die Schraube und Mutter bis auf 1978–2542 N∙cm an.
Wiederholen Sie die Schritte 1 bis 3 für den anderen Hubzylinder an der anderen Seite der Zylinderbefestigung.
Montieren Sie einen neuen Hydraulikschlauch (¼" x 24¾") lose zwischen dem Ausfahranschluss des linken Auslegerhubzylinders und Anschluss C3 des Auslegerhubverteilers.

Montieren Sie einen neuen Hydraulikschlauch (¼" x 24¾") lose zwischen dem Rückzuganschluss des linken Auslegerhubzylinders und Anschluss C4 des Auslegerhubverteilers.
Montieren Sie einen neuen Hydraulikschlauch (¼" x 24¾") lose zwischen dem Ausfahranschluss des rechten Auslegerhubzylinders und Anschluss C1 des Auslegerhubverteilers.

Montieren Sie einen neuen Hydraulikschlauch (¼" x 24¾") lose zwischen dem Rückzuganschluss des rechten Auslegerhubzylinders und Anschluss C2 des Auslegerhubverteilers.
Ziehen Sie die Schlauchanschlussstücke an den Ausfahr- und Rückzuganschlüssen der Hubzylinder bis auf 21-26 N∙m an.
Ziehen Sie die Überwurfmuttern der Schläuche am Auslegerhubverteiler bis auf 24-30 N∙m an.
Für diesen Arbeitsschritt erforderliche Teile:
| Nylonbundbüchse | 4 |
| Zulaufschlauch, 188 cm | 1 |
| Zulaufschlauch, 234 cm | 1 |
| Zulaufschlauch, 279 cm | 1 |
Schneiden Sie den Schlauch zwischen zwei Drehköpfe durch.

Entfernen Sie die Sicherungsbundmutter (5/16"), mit der der Drehkopf an der Drehkopfhalterung befestigt ist.
Wiederholen Sie diese Schritte für die anderen drei Drehköpfe.
Note: Bewahren Sie die Sicherungsbundmutter und die Drehköpfe auf.
Note: Entsorgen Sie die Schläuche, Klemmen und das T-Stück.
Wiederholen Sie die Schritte für den anderen äußeren Auslegerabschnitt.
Entfernen Sie die Edelstahlschrauben (Gr. 12 x 1¼"), mit denen die oberen Klemmenhälften und der gezahnte Einzelschlauch- oder Doppelschlauchschaft (¾") am Gehäuse jeder Sprühdüse befestigt sind, und nehmen Sie die gezahnten Schlauchschafte ab.
Note: Die Sechskantschraube (5/16" x ¾", Edelstahl) kommt aus der oberen Klemmenhälfte heraus, wenn Sie die Klemme öffnen. Bewahren Sie die Schraube für einen späteren Einbau auf.

Kapazität der Hebevorrichtung: 46 kg
Heben Sie den äußeren Ausleger mit einer Hebevorrichtung, die die angegebene Kapazität hat, an.
Legen Sie eine Nylonbundbüchse in das 31,8 mm große Loch an jeder Seite des Drehzapfen-Anschlussstückes.

Fluchten Sie die Büchsen im Drehzapfen-Anschlussstück mit den Löchern in den Flanschen der Schwenkhalterung am Ende des mittleren Auslegerabschnitts aus.

Befestigen Sie das Drehzapfen-Anschlussstück mit dem Lagerbolzen, dem Bundbolzen (5/16" x 1") und der Sicherungsbundmutter (5/16") an der Schwenkhalterung.
Ziehen Sie die Schraube und Mutter bis auf 1978–2542 N∙cm an.
Fluchten Sie das Stangenende des Hubzylinders mit dem Loch (25 mm) im Horn des Drehzapfen-Anschlussstückes aus.

Befestigen Sie den Hubzylinder mit dem Lastösenbolzen und dem Splint am Drehzapfen-Anschlussstück.
Wiederholen Sie die Schritte 1 bis 7 am äußeren Auslegerabschnitt an der anderen Seite der Maschine.
Für diesen Arbeitsschritt erforderliche Teile:
| Zulaufschlauch, 279 cm | 2 |
| Zulaufschlauch, 234 cm | 2 |
| Zulaufschlauch, 188 cm | 4 |
| Zulaufschlauch, 81 cm | 2 |
Note: Stellen Sie sicher, dass das gezahnte Anschlussstück fest auf der Kupplung sitzt.
Befestigen Sie die gezahnten Anschlussstücke mit einer Halterung an den Kupplungen.

Note: Der Zulaufschlauch (81 cm) hat ein T-Anschlussstück mit zwei Zweigschläuchen und zwei gezahnten Einzelschlauchschäften.
| Auslegerabschnitt | Abschnittsventil | Düse | Zulaufschlauch |
|---|---|---|---|
| Links | 1 | 1 | 279 cm |
| 2 | 2 | 234 cm | |
| 3 | 3 | 188 cm | |
| 4 | 4 | 188 cm | |
| Mitte | 5 | 5 und 6 | 81 cm |
| 6 | 7 und 8 | 81 cm | |
| Rechts | 7 | 9 | 188 cm |
| 8 | 10 | 188 cm | |
| 9 | 11 | 234 cm | |
| 10 | 12 | 279 cm |

Fluchten Sie den Transferschlauch im Sattel eines Drehkopfes [mit dem Loch in der Seite des gezahnten Einzelschlauchschafts (½") aus].

Schließen Sie die obere Klemmenhälfte um den gezahnten Schlauchschaft und befestigen die Klemmenhälfte und das Drehkopfgehäuse mit der Edelstahlschraube (Nr. 12 x 1¼"). Ziehen Sie die Edelstahlschraube auf ein Drehmoment von 14-18 N∙m an.
Note: Stellen Sie sicher, dass die Sechskantschraube (5/16" x ¾") in der Vertiefung in der oberen Klemmenhälfte sitzt, wenn Sie die Klemme schließen.
Befestigen Sie die Drehköpfe mit den zuvor entfernten Sicherungsbundmuttern (5/16") an den Halterungen.

Ziehen Sie die Sicherungsbundmutter bis auf 1978-2542 N∙cm an.
Fluchten Sie das Ende des Druckmessschlauches (Kunststoff) für das Druckmanometer im Armaturenbrett mit dem arretierenden Stellring der Schlauchkupplung aus.

Setzen Sie den Messschlauch in den arretierenden Stellring ein, bis der Schlauch fest sitzt.
Für diesen Arbeitsschritt erforderliche Teile:
| Navigationsempfängerplatte | 1 |
| Empfängerbefestigung | 1 |
| Schraube (⅜" x 3¼") | 1 |
| Sicherungsscheibe (⅜") | 1 |
| Scheibe (⅜" x 13/16") | 1 |
| Distanzstück (⅜" x 1") | 1 |
| Sicherungsbundmutter (⅜") | 1 |
| Bundkopfschraube (5/16" x ¾") | 1 |
| Sicherungsbundmutter (5/16") | 1 |
| Bundkopfschraube (⅜" x 1½") | 2 |
| Distanzstück (⅜" x 7/16") | 2 |
| Navigationsempfänger | 1 |
| Halterung der Modemantenne | 1 |
| Sechskantschraube (5 x 16 mm) | 3 |
| Scheibe (5 mm) | 3 |
Befestigen Sie die Aufnahmeplatte mit einer Schraube (⅜" x 3¼"), Sicherungsscheibe, Unterlegscheibe, Distanzstück (⅜" x 1") und einer Sicherungsmutter (⅜") an der Empfängerbefestigung.

Befestigen Sie die Bundkopfschraube (5/16" x ¾") und die Sicherungsbundmutter (5/16") durch das kleinere Loch in der Empfängerbefestigung und den Schlitz in der Aufnahmeplatte.

Ziehen Sie die Schrauben und Muttern an, sodass Sie die Empfängerplatte mit geringem Widerstand drehen können.
Montieren Sie die Empfängerbefestigung und das Distanzstück (⅜" x 7/16") mit der Bundkopfschraube (⅜" x 1½") am Überrollbügel.

Ziehen Sie die Schrauben an, sodass Sie die Empfängerplatte mit geringem Widerstand drehen können.
Nivellieren Sie die Aufnahmeplatte seitlich.

Ziehen Sie die Bundkopfschraube (5/16" x ¾") und Sicherungsbundmutter (5/16") bis auf 1978-2542 N∙cm an.
Nivellieren Sie die Empfängerplatte in Längsrichtung.
Ziehen Sie die Schraube (⅜" x 3¼") und Sicherungsbundmutter (⅜") bis auf 37-45 N∙m an.
Befestigen Sie den Empfänger mit vier Schrauben (5 x 16 mm) und vier Unterlegscheiben an der Halterung.
Note: Achten Sie darauf, dass beide Pfeile zur Vorderseite der Maschine zeigen.

Ziehen Sie die drei Schrauben bis auf 576–712 N·cm an.
Für diesen Arbeitsschritt erforderliche Teile:
| Antennenhalterung | 1 |
| Niete | 2 |
| Magnet | 2 |
| Modem Antenne | 1 |
| Antenne mit hoher Verstärkung | 1 |
Montieren Sie die Halterung der Modemantenne am Überrollbügel.

Reinigen Sie die Oberfläche der Antennenhalterung von Fett oder Öl.
Entfernen Sie die Schutzfolie des doppelseitigen Klebebands und kleben Sie die Antenne auf die Halterung.

Befestigen Sie die Antenne und den Kabelbaum mit drei Kabelbindern an der Halterung.

Platzieren Sie die Antenne (mit hoher Verstärkung) neben der anderen Antenne auf dem Überrollbügel.

Verlegen Sie die Modemantennen-Kabelbäume nach rechts, entlang des Überrollbügels.


Führen Sie den Kabelbaum nach unten und nach vorne.

Für diesen Arbeitsschritt erforderliche Teile:
| Kabelbaumadapter | 1 |
| Daten- und Elektrokabelbaum | 1 |
| Kabelbinder | 8 |

Verlegen Sie den 302 cm Navigationsdaten- und Elektrokabelbaumzweig entlang des rechten Überrollschutzrohrs mit der 12-poligen Buchse (grau) und der 12-poligen Buchse ((schwarz) nach oben zum Navigationsdatenempfänger.
Verbinden Sie die beiden Stecker an der langen Seite der 12-poligen Buchse des Datenkabelbaums mit der Bezeichnung mit den beiden Steckplätzen im Adapterkabelbaum.

Stecken Sie den Adapterkabelbaum in den Empfänger ein.
Verlegen Sie den Navigationsdaten- und Elektrokabelbaum entlang des rechten Überrollbügelrohrs und den Modem-Antennenkabelbaum zum Querträger der Sitzhalterung.

Befestigen Sie die Kabelbäume mit Kabelbindern am Überrollbügel.
Note: Achten Sie darauf, dass der Kabelbaum zwischen den 12-poligen Buchsen und dem Kabelbinder locker ist.
Verlegen Sie den 227 cm langen Abzweig des Navigationsdaten- und Elektrokabelbaums an der Unterseite der Bedienkonsole der Maschine entlang.

Verlegen Sie den 258 cm langen Abzweig des Navigationsdaten- und Elektrokabelbaums über das Stützrohr des Stoßdämpfers und zur Batterie.
Befestigen Sie die Magnethalterung des hinteren Kabelbaums am rechten, oberen Rohrrahmen der Maschine.

Stecken Sie den 4-poligen Stecker mit der Bezeichnung des Datenkabelbaums in die 4-polige Buchse mit der Bezeichnung des hinteren Kabelbaums.
Für diesen Arbeitsschritt erforderliche Teile:
| Anzeigehalterung | 1 |
| Bundkopfschraube (6 mm x 12 mm) | 3 |
| U-Bügel (5/16") | 2 |
| Bundkopfschraube (5/16" x ¾") | 4 |
| Sicherungsbundmutter (5/16") | 8 |
| Kugelbefestigung | 1 |
| Anzeigearm | 1 |
Markieren Sie die Position des Lenkrads am Lenkventil mit einem Stück Band.

Entfernen Sie die Abdeckung vom Lenkrad.
Nehmen Sie die Mutter (⅝") und Scheibe (⅝") ab, mit denen das Lenkrad am Lenkventil befestigt ist, und nehmen Sie das Lenkrad ab.
Fluchten Sie die Anzeigehalterung mit der Maschine aus, wie abgebildet.

Montieren Sie die Anzeigehalterung mit den drei Bundkopfschrauben (6 mm x 12 mm) am Gehäuse des Lenkventils.

Montieren Sie die Platte der Anzeigehalterung mit den zwei U-Bügeln und vier Sicherungsbundmuttern (5/16") am Stützrohr des Maschinenchassis.

Ziehen Sie die drei Bundkopfschrauben (6 mm x 12 mm) am Lenkventil bis auf 972-1198 N∙cm an. Ziehen Sie die Sicherungsbundmuttern am Stützrohr bis auf 1978-2542 N∙cm an.
Fluchten Sie die Bandmarkierung am Lenkrad mit der Bandmarkierung am Gehäuse des Lenkventils aus.

Montieren Sie das Lenkrad mit der zuvor entfernten Unterlegscheibe (⅝") und Mutter (⅝") auf die Welle des Lenkventils.
Ziehen Sie die Mutter bis auf 206-254 N∙m an.
Einsetzen der Abdeckung.
Montieren Sie die Kugelbefestigung mit den vier Bundkopfschrauben (5/16" x ¾") und vier Sicherungsbundmuttern (5/16") an der Anzeigehalterung.

Ziehen Sie die Schrauben und Muttern bis auf 1978–2542 N∙cm an.
Montieren Sie das Kugelanschlussstück der Anzeige und die Kugelbefestigung an der Maschine am langen Anzeigearm.

Stellen Sie die Anzeige so ein, dass sie von der Bedienerposition aus sichtbar ist und ziehen Sie den Einstellknopf des Anzeigearms mit der Hand fest.
Verlegen Sie den 227 cm langen Abzweig des Navigationsdaten- und Elektrokabelbaums (den Zweig mit der 26-poligen Buchse) nach oben und entlang des Stützrohrs für die Anzeige.
Stecken Sie den Navigationsdatenkabelbaum in den Monitor.

Entfernen Sie den Abschlusswiderstand von der 6-poligen Buchse mit der Bezeichnung CAN 2 TERMINATOR des Datenkabelbaums wie dargestellt.
Note: Sie benötigen den Abschlusswiderstand nicht mehr.

Für diesen Arbeitsschritt erforderliche Teile:
| Modem-Datenkabelbaum - 300 cm | 1 |
Schrauben Sie den Stecker des Modem-Datenkabelbaums in die Anzeige.

Verlegen Sie den Modem-Datenkabelbaum entlang des Datenkabelbaums für die Anzeige.
Verlegen Sie den Modem-Datenkabelbaum unter dem Stützrohr des Stoßdämpfers der Maschine
Verlegen Sie den Modem-Datenkabelbaum über die Rückseite der Relais und nach unten.

Richten Sie den 4-poligen Stecker mit der Bezeichnung des Modem-Datenkabelbaums wie abgebildet in der Nähe der vier Anschlüsse für den Modem-Antennenkabelbaum aus.

Bündeln Sie am rechten, oberen Rohrrahmen den Navigationsdaten- und Elektrokabelbaum und den CAN 2 ASC 10 BUS Kabelbaumzweig mit zwei Kabelbindern am Kabelbaum des Sprühgerätekits.
Bündeln Sie den Modem-Antennenkabelbaum und befestigen Sie ihn mit zwei Kabelbindern am Kabelbaum des Sprühgeräts.

Befestigen Sie den Modemdaten-Kabelbaum und den Navigationsdaten- und Elektrokabelbaum mit einem Kabelbinder am Monitorrohr.

Befestigen Sie den Modemdaten-Kabelbaum mit einem Kabelbinder am Navigationsdaten- und Elektrokabelbaum.
Für diesen Arbeitsschritt erforderliche Teile:
| Modem-Stromkabelbaum | 1 |
Befestigen Sie den Modem-Stromkabelbaum an der Maschine.

Verlegen Sie die Ringkabelschuhe des Modem-Stromkabelbaums mit den Bezeichnungen und zur Batterie.

Verlegen Sie den 4-poligen Stecker mit der Bezeichnung und die 18-polige Buchse mit der Bezeichnung des Modem-Stromkabelbaums unter den Sicherungskasten der Maschine.
Verlegen Sie den 4-poligen Stecker mit der Bezeichnung und die 18-polige Buchse mit der Bezeichnung des Modem-Stromkabelbaums an der Vorderseite der Maschine, wie abgebildet.

Stecken Sie die Klemme des Modem-Stromkabelbaums mit der Bezeichnung in die Steckdose für die optionale Stromversorgung des Sicherungskastens (.
Note: Wenn der Sicherungskasten Ihrer Maschine keine optionale Stromversorgung besitzt, installieren Sie einen zusätzlichen Sicherungskasten für Optionen; wenden Sie sich hierzu an Ihren Toro Vertragshändler.
Bündeln Sie in der Nähe des Sicherungskastens den Modem-Stromkabelbaum am 9-poligen Stecker mit der Bezeichnung und befestigen Sie den Kabelbaum mit zwei Kabelbindern wie dargestellt.

Bündeln Sie den Modem-Stromkabelbaum am Minuskabel (-) der Batterie und befestigen Sie das Bündel mit einem Kabelbinder am Batteriekabel.
Stecken Sie die Sicherung (10 A) in die Sicherungsfassung (Bild 145) für die optionale Stromversorgung, den Sie in Schritt 5 verwendet haben.

Für diesen Arbeitsschritt erforderliche Teile:
| CL-55-Modem | 1 |
| Modem-Halterung | 1 |
| Schraube (Gr. 10 - 24" x 1⅜") | 2 |
| Sicherungsmutter (Gr. 10-24") | 2 |
| Magnet | 2 |
| Niete | 2 |
Entfernen Sie die Eindrückbefestigung, mit dem der Kabelbaum der Maschine an der Stützenhalterung befestigt ist.

Befestigen Sie das Modem mit zwei Schrauben (Gr. 10-24 x 1⅜") und zwei Muttern (Gr. 10-24) an der Halterung.

Befestigen Sie die Magnete mit den Nieten an der Modemhalterung.

Platzieren Sie die Modemhalterung unter der Stützenhalterung und hinter dem Flansch des Maschinenrahmens.

Stecken Sie die obere Eindrückbefestigung des Kabelbaums in die Löcher in der Stützenhalterung.

Stecken Sie den Koaxialstecker des Modem-Antennenkabelbaums, der mit beschriftet ist, in den Koaxialanschluss des CL-55-Modems, der mit WIFI/BT beschriftet ist, und ziehen Sie den Koaxialstecker fest.

Stecken Sie den blauen Koaxialsteckverbinder des Modem-Antennenkabelbaums mit der Bezeichnung in den mit gekennzeichneten Anschluss des CL-55-Modems, bis die Stecker fest einrasten.
Stecken Sie den violetten Koaxialsteckverbinder des Modem-Antennenkabelbaums mit der Bezeichnung in den mit gekennzeichneten Anschluss des CL-55-Modems, bis die Stecker fest einrasten.
Stecken Sie den roten Koaxialsteckverbinder des Modem-Antennenkabelbaums mit der Bezeichnung in den mit gekennzeichneten Anschluss des CL-55-Modems, bis die Stecker fest einrasten.
Stecken Sie den 4-poligen Stecker des Modemdaten-Kabelbaums mit der Bezeichnung in die 4-polige Buchse (ohne Beschriftung) des CL-55-Modems und ziehen Sie die Rändelmutter des 4-poligen Steckers fest.

Stecken Sie die 18-polige Buchse des Modem-Stromkabelbaums mit der Bezeichnung in den 18-poligen Stecker des CL-55-Modems.
Entfernen Sie den passiven Abschlusswiderstand an der Innenseite der Bedienkonsole der Maschine aus dem unbeschrifteten 3-poligen Stecker des Maschinenkabelbaums und bewahren Sie diesen auf.


Für diesen Arbeitsschritt erforderliche Teile:
| ISO-CAN-Bus-Kabelbaum (302 cm) | 1 |
Verlegen Sie den Stecker an der Vorderseite der Bedienkonsole der Maschine mit der Bezeichnung des ISO-CAN-Bus-Kabelbaums in die Unterseite der Anzeige.

Entfernen Sie die Kappe von der 4-poligen Buchse mit der Bezeichnung des Navigationsdaten- und Elektrokabelbaums.

Stecken Sie den 4-poligen Stecker mit der Bezeichnung des ISO-CAN-Bus-Kabelbaums in die 4-polige Buchse mit der Bezeichnung des Navigationsdaten- und Elektrokabelbaums.

Verlegen Sie die Stecker mit der Bezeichnung und des ISO-CAN-Bus-Kabelbaums in Richtung des Sicherungskastens.


Entfernen Sie am Sicherungskasten die Kappe der 3-poligen Buchse mit der Bezeichnung des Maschinenkabelbaums.

Stecken Sie den 3-poligen Stecker mit der Beschriftung des ISO-CAN-Bus-Kabelbaums in die 3-polige Buchse mit der Bezeichnung des Maschinenkabelbaums.
Important: Schließen Sie die Stecker des Kabelbaums mit der Bezeichnung und des hinteren Kabelbaums nicht an.
Bündeln Sie den ISO-CAN-Bus-Kabelbaum und befestigen Sie ihn mit einem Kabelbinder am Navigationsdaten- und Elektrokabelbaum.

Befestigen Sie den ISO-CAN-Bus-Kabelbaum und den Navigationsdaten- und Elektrokabelbaum mit einem Kabelbinder am rechten Rahmenrohr wie dargestellt.
Für diesen Arbeitsschritt erforderliche Teile:
| Adapterkabelbaum (13 cm) | 1 |
Entfernen Sie am Satellitenempfänger den ISO-Bus-Abschlusswiderstand für die 6-polige Buchse des GeoLink-Kabelbaums und entsorgen Sie diesen.

Stecken Sie den 6-poligen Stecker des Adapterkabelbaums 13 cm in die 6-polige Buchse des GeoLink-Kabelbaums.
Stecken Sie den Abschlusswiderstand in die 3-polige Buchse des Adapterkabelbaums.
Befestigen Sie den Adapterkabelbaum mit einem Kabelbinder am GeoLink-Kabelbaum.
Trennen Sie die 2-polige Buchse des Maschinenkabelbaums, der mit beschriftet ist, vom 2-poligen Stecker der Pumpenkupplung ab.

Verbinden Sie den 2-poligen Stecker des Kabelbaumzweigs des Sprühkits (84 cm) mit der 2-poligen Buchse des Maschinenkabelbaums, der mit beschriftet ist.

Stecken Sie die 2-polige Buchse des Kabelbaums des Sprühkits in den 2-poligen Stecker der Pumpenkupplung.
Verlegen Sie den Kabelbaumzweig (84 cm) entlang des Motors und der Sprühpumpe, sodass der Kabelbaum nicht den Lichtmaschinenriemen berührt.

Für diesen Arbeitsschritt erforderliche Teile:
| Batteriehalterung | 1 |
| Puffer | 1 |
| Sicherungsbundmutter (¼") | 2 |
| Halterung | 1 |
| Batterie (650 A) | 1 |
| Lichtmaschinenhalterung | 1 |
| Antriebsscheibe, 279 mm | 1 |
| Schraube (¼" x 2¼") | 4 |
| Lichtmaschine (60 A) | 1 |
| Bundkopfschraube (8 mm x 25 mm) | 1 |
| Bundkopfschraube (⅜" x 1½") | 1 |
| Keilriemen | 1 |
Nehmen Sie die zwei Sicherungsbundmuttern und die Befestigungsstange von den zwei J-Schrauben ab, mit denen die Batterie an der Batteriehalterung der Maschine befestigt ist.

Nehmen Sie die zwei J-Schrauben und das Batteriefach von der Batteriehalterung ab und entsorgen Sie diese.

Nehmen Sie die Batterie aus der Maschine heraus.
Note: Die Bundmuttern, Befestigungsstange und die Batterie (300 A) werden nicht mehr benötigt.
Entfernen Sie die drei Schrauben (10-24 x ¾") und die drei Muttern (10-24), mit denen die Sicherungskästen an der Batteriehalterung befestigt ist, und bewahren Sie diese auf.

Entfernen Sie die zwei Bundkopfschrauben (⅜" x ¾"), mit denen die Batteriehalterung am Stützrohr des Stoßdämpfers der Maschine befestigt ist, und bewahren Sie diese auf.
Entfernen Sie die beiden Schrauben (10-24 x ¾"), zwei Sicherungsmuttern (10-24) und die Kabelhalterung, mit denen der Masseblock und das Kabel an der Batteriehalterung befestigt sind, und bewahren Sie diese auf.
Note: Entsorgen Sie die Kabelhalterung.

Entfernen Sie die Batteriehalterung aus der Maschine und entsorgen Sie diese.

Montieren Sie die beiden Dämpfer mit zwei Sicherungsbundmuttern (¼") an der Batteriehalterung.

Führen Sie den Gurt durch die beiden Schlitze in der Batteriehalterung.

Fluchten Sie die neue Batteriehalterung mit dem Stützrohr des Stoßdämpfers der Maschine und den Sicherungskästen aus.

Befestigen Sie die Batteriehalterung mit der zuvor entfernten beiden Bundkopfschrauben (⅜" x ¾") am Stützrohr des Stoßdämpfers.

Ziehen Sie die Bundkopfschrauben bis auf 37-45 N∙m an.
Befestigen Sie den Masseblock an der Batteriehalterung mit den beiden zuvor entfernten Schrauben (10-24 x ¾") und Sicherungsmuttern (10-24), und befestigen Sie die Kabelhalterung an der Kante der Halterung.

Befestigen Sie die Sicherungskästen mit den drei zuvor entfernten Schrauben (10-24 x ¾") und Muttern (10-24) an der Batteriehalterung.

Setzen Sie die Batterie (650 A) in die Batteriehalterung ein.

Führen Sie das Gurtband des Batteriegurts durch die Schnalle, und ziehen Sie den Gurt fest, bis die Batterie sicher sitzt.
Lösen Sie die beiden Schrauben am Pumpenkopf, um einen 7 mm bis 10 mm großen Abstand zwischen dem Kopf der Schrauben und der Pumpe zu erhalten.
Note: Sie müssen die Schrauben nicht von der Sprühpumpe entfernen.

Richten Sie die Lichtmaschinenhalterung zwischen den Schrauben und dem Pumpenkopf aus.

Ziehen Sie die Schrauben bis auf 61-75 N an.
Lockern Sie die Mutter für die Spannscheibenwelle.
Note: Stellen Sie sicher, dass keine Riemenspannung vorhanden ist.

Drehen sie die Riemenspannungsschraube, um die Spannung vom Riemen der Sprühpumpe zu entfernen.
Entfernen Sie die vier Schrauben (¼ x 1") und vier Sicherungsscheiben (¼"), mit denen die Riemenscheibe an der Sprühpumpe befestigt ist.
Important: Nehmen Sie die Riemenscheibe nicht ab.
Note: Bewahren Sie die Sicherungsscheibe auf; die Schrauben werden nicht mehr benötigt.

Fluchten Sie die Löcher in der Riemenscheibe für die Lichtmaschine (Kit) mit den Löchern in der Riemenscheibe für die Sprühpumpe aus.

Montieren Sie die Riemenscheibe der Lichtmaschine mit den vier Schrauben (¼" x 2¼") und vier Sicherungsscheiben (¼") an der Riemenscheibe der Sprühpumpe und der Sprühpumpe.
Ziehen Sie die Schrauben bis auf 1017-1243 N∙m an.
Drehen Sie die Riemenspannungsschraube, um die Riemenspannung zu erhöhen, bis Sie in der Mitte zwischen dem Motor und den Kettenrädern der Sprühpumpe eine Riemenauslenkung von 9,5 mm messen, wenn Sie eine Kraft von 4,5 kg aufbringen.

Ziehen Sie die Mutter für die Spannscheibenwelle bis auf 37-44 N∙m an.
Montieren Sie die Lichtmaschine (60 A) mit der Bundkopfschraube (⅜" x 1½") an der Gewindeschraube der Halterung der Lichtmaschine.

Montieren Sie den Gewindeflansch der Lichtmaschine mit der Bundkopfschraube (8 mm x 25 mm) am geschlitzten Flansch der Halterung der Lichtmaschine.
Verlegen Sie den Keilriemen über die Antriebsscheibe (279 mm) und die Riemenscheibe der Lichtmaschine.

Drehen Sie die Lichtmaschine nach oben, um die Riemenspannung zu erhöhen, bis Sie in der Mitte zwischen der Riemenscheibe der Lichtmaschine und der Antriebsscheibe 279 mm eine Riemenauslenkung von 9,5 mm messen, wenn Sie eine Kraft von 4,5 kg aufbringen.

Ziehen Sie die Bundkopfschraube (8 mm x 25 mm) bis auf 23-29 N∙m an.
Ziehen Sie die Bundkopfschraube (⅜" x 1½") bis auf 37-45 N∙m an.
Für diesen Arbeitsschritt erforderliche Teile:
| Lichtmaschinenkabel, (rot, 4 mm) | 1 |
| Relais | 1 |
| Eindrückbefestigung | 1 |
| Sicherung (15 A) | 1 |
Stecken Sie die 2-polige Buchse am Ende des rosafarbenen Kabels (57 cm) des Kabelbaums in den 2-poligen Stecker der Lichtmaschine (50 A).

Verlegen Sie das rosa Messkabel von den Riemen der Lichtmaschine weg und befestigen Sie das Kabel mit einem Kabelbinder.
Nehmen Sie die Mutter von der Anschlussklemme der Lichtmaschine (50 A) ab.

Schließen Sie das Ende des roten Lichtmaschinenkabels (4 mm) mit der Isolierabdeckung auf die Anschlussklemme der Lichtmaschine (50 A) mit der Mutter an.
Verlegen Sie das andere Ende des Lichtmaschinenkabels zu den Batteriepolen, entfernt von der Riemenscheibe und dem Lichtmaschinenriemen.
Ziehen Sie die Mutter bis auf 47-57 N∙m an.
Schieben Sie die Isolierabdeckung über die Anschlussklemme der Lichtmaschine.
Stecken Sie den 5-poligen Stecker des Relais in die 5-polige Buchse des Kabelbaums, der mit ASC 10 ENABLE RELAY beschriftet ist.

Fluchten Sie das Loch in der Befestigungsnase des Relais mit dem Loch im Stützrohr des Stoßdämpfers aus und befestigen Sie das Relais mit einer Eindrückbefestigung am Rohr.
Stellen Sie ein Multimeter für die Durchführung eines Kontinuitätstests (Durchgangsprüfung) ein.
Stecken Sie am Sicherungskasten 3 der Maschine die Messkabel des Multimeters in den Kontakt 4 (die rechte Reihe) der Sicherungsfassung 2.

Identifizieren Sie an der Vorderseite der Sicherungskästen mit der anderen Messkabel des Multimeters den Flachstecker am Ende des roten Kabels (20 mm), der an der Sicherungsfassung 2, Kontakt 4, angeschlossen ist.

Kennzeichnen Sie den Anschluss und das Kabel, das Sie im vorherigen Schritt identifiziert haben, mit einem Stück Klebeband.
Stecken Sie den Flachstecker, den Sie in vorherigen Schritt gekennzeichnet haben, in den Buchsen-Stecker am Ende des rosa Kabels (51 mm) des Kabelbaums.

Setzen Sie die Sicherung (15 A) in die Sicherungsfassung 2 des Sicherungskastens 3 ein, bis sie fest sitzt.

Für diesen Arbeitsschritt erforderliche Teile:
| Schnellanschlussklemme (roter Hebel) | 1 |
| Schnellanschlussklemme (schwarzer Hebel) | 1 |
Entfernen Sie die Sechskantmuttern und die Unterlegscheiben von den Schnellanschlussklemmen am Griff.
Öffnen Sie den Verriegelungshebel der Schnellanschlussklemme mit dem schwarzen Hebel.

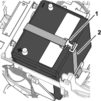
Montieren Sie die Schnellanschlussklemme am Minuspol der Batterie; wobei der Gewindestrebe der Klemme zur Mitte der Batterie ausgerichtet sein muss.
Schließen Sie den Verriegelungshebel der Schnellanschlussklemme.
Note: Wenn Sie die Klemmkraft der Schnellanschlussklemme einstellen müssen, öffnen Sie den Hebel, drehen Sie die gerädelte Mutter, um die Klemmkraft zu erhöhen oder zu verringern, und schließen Sie den Hebel für die Klemme.
Wiederholen Sie die Schritte für die rote Griffklemme am Pluspol der Batterie.
Das unsachgemäße Verlegen der Batteriekabel kann zu Schäden an der Maschine führen, und die Kabel können Funken erzeugen. Funken können zum Explodieren der Batteriegase führen, was Verletzungen zur Folge haben kann.
Klemmen Sie immer das Minuskabel (schwarz) ab, bevor Sie das Pluskabel (rot) abklemmen.
Klemmen Sie immer zuerst das (rote) Pluskabel an, bevor Sie das (schwarze) Minuskabel anklemmen.
Batteriepole und Metallwerkzeuge können an metallischen Teilen Kurzschlüsse verursachen, was Funken erzeugen kann. Funken können zum Explodieren der Batteriegase führen, was Verletzungen zur Folge haben kann.
Vermeiden Sie, wenn Sie eine Batterie ein- oder ausbauen, dass die Batteriepole mit metallischen Maschinenteilen in Berührung kommen.
Vermeiden Sie Kurzschlüsse zwischen metallischen Werkzeugen, den Batteriepolen und metallischen Maschinenteilen.
Schlitzen Sie die Isolierung des Pluskabels der Batterie zum Anlasser auf.

Montieren Sie die folgenden Kabel-Anschlussklemmen in der folgenden Reihenfolge an der Gewindestrebe des Pluspols der Batterie:
Important: Stellen Sie sicher, dass die Batteriekabel-Anschlussklemme (Plus) am Motoranlasser oben am Stapel der Anschlussklemmen an der Gewindestrebe ist.
Ringkabelschuh: 165 cm Modem-Stromkabelbaumzweig (beschriftet mit [Akku])
Batteriekabel-Anschlussklemme (Plus), zur Lichtmaschine (50 A)
Ringkabelschuh: 258 cm Navigationsdaten- und Elektrokabelbaumzweig (mit beschriftet)
Ringkabelschuh: 21,6 cm Maschinenkabelbaumzweig (mit beschriftet)
Ringkabelschuh: 24 cm Kabelbaumzweig Sprühkit (unbeschriftet)
Batteriekabel-Anschlussklemme (Plus), zum Motoranlasser

Befestigen Sie die Sechskantmutter (¼") und die Unterlegscheibe (¼") an der Gewindestrebe und ziehen Sie die Mutter bis auf 1017-1234 N∙cm an.
Fluchten Sie die Isolierabdeckung des Pluskabels der Batterie zum Anlasser über der Gewindestrebe aus.
Montieren Sie die folgenden Kabel-Anschlussklemmen in der folgenden Reihenfolge an der Gewindestrebe des Minuspols der Batterie:
Important: Stellen Sie sicher, dass die Batteriekabel-Anschlussklemme (Minus) an der Motor- und Chassiserde oben am Stapel der Anschlussklemmen an der Gewindestrebe ist.
Ringkabelschuh: 258 cm Navigationsdaten- und Stromversorgungskabelbaumzweig (nicht beschriftet - schwarze Kabelisolierung)
Ringkabelschuh: 165 cm Modem-Stromkabelbaumzweig (beschriftet mit [Masse])
Batteriekabel-Anschlussklemme (Minus), zu Motor- und Chassiserde

Bündeln Sie die überflüssige Länge des Datenkabelbaums am rechten, oberen Rahmenrohr.

Fluchten Sie den Datenkabelbaum mit dem Stützrohr des Stoßdämpfers aus und befestigen Sie den Kabelbaum mit einem Kabelbinder am Rohr.
Fluchten Sie das Datenkabelbaumbündel mit dem rechten, oberen Rahmenrohr aus und befestigen Sie das Kabelbaumbündel mit einem Kabelbinder am Rahmenrohr.
Stellen Sie sicher, dass zwischen den Riemenscheiben und Riemen und dem Datenkabelbaum, dem Batteriekabelbaum, dem Kitkabelbaum und den Batteriekabeln ein Abstand besteht.
Befestigen Sie den Kabelbaum und die Kabel ggf. mit Kabelbindern, um einen Abstand zu den Riemen und Riemenscheiben zu erhalten.
Für diesen Arbeitsschritt erforderliche Teile:
| Schalterblende | 1 |
Entfernen Sie die vier Bundkopfschrauben (¼" x ½"), mit denen die 3-Schalterplatte an der Bedienkonsole befestigt ist.

Drücken Sie die Verriegelungsnasen des Dosierungssteuerungsschalter zusammen und drücken Sie den Schalter aus der 3-Schalterplatte heraus.

Schließen Sie die 8-polige Buchse des Maschinenkabelbaums, der mit Rate Switch beschriftet ist, vom 8-poligen Stecker des Schalters ab.
Note: Sie benötigen den Dosierungsschalter, den Sie von der Maschine entfernt haben, nicht mehr.
Verlegen Sie den Zweig des vorderen Kabelbaums für den Dosierungsschalter durch die Öffnung in der 3-Schalterplatte und befestigen Sie den Kabelzweig mit einem Kabelbinder am danebenliegenden Kabelzweig.
Befestigen Sie die 3-Schalterplatte mit den vier Bundkopfschrauben (¼" x ½"), die Sie in Schritt 1 entfernt haben, an der Bedienkonsole.
Fluchten Sie die Schalterblende mit der Öffnung in der 3-Schalterplatte aus, von der Sie den Dosierungsschalter entfernt haben.
Setzen Sie die Schalterblende in die 3-Schalterplatte ein, bis die Blende richtig in der Platte einrastet.
Für diesen Arbeitsschritt erforderliche Teile:
| Eindrückbefestigung | 13 |
Fluchten Sie die Löcher in der Motorhaube mit den Löchern im Armaturenbrett und Rahmen der Maschine aus.

Befestigen Sie die Haube mit neun Eindrückbefestigungen am Armaturenbrett und Rahmen.
Stecken Sie die zwei elektrischen Anschlüsse (2-polige Buchsen) des Maschinenkabelbaums in die 2-poligen Stecker des linken und rechten Scheinwerfers.

Fluchten Sie die innere Kotflügelhaube mit den linken, oberen und linken, unteren Rahmenrohren aus.

Befestigen Sie die innere Kotflügelhaube mit den sechs Eindrückbefestigungen an den Rahmenrohren.
Fluchten Sie die Löcher im Kotflügel mit den Löchern im Rahmen der Maschine aus.

Montieren Sie den Kotflügel mit den drei zuvor entfernten Schrauben (5/16" x 1") und drei Unterlegscheiben (5/16") lose am Rahmen.
Befestigen Sie den Kotflügel mit zwei Eindrückbefestigungen am Rahmenkanal.

Ziehen Sie die Schraube (5/16" x 1") bis auf 1978-2542 N∙cm an.
Wiederholen Sie die Schritte 1 bis 6 für die innere Kotflügelhaube und den Kotflügel an der anderen Seite der Maschine.
Fluchten Sie die innere Kotflügelhaube mit den rechten, oberen und rechten, unteren Rahmenrohren aus.


Befestigen Sie die innere Kotflügelhaube mit den sechs Eindrückbefestigungen und fünf Unterlegscheiben (9/16" x ½") an den Rahmenrohren.
Richten Sie den rechten, vorderen Kotflügel an der Maschine aus und richten Sie die Löcher im Kotflügel mit den Löchern im Rahmen aus.

Befestigen Sie den rechten, vorderen Kotflügel mit der Kopfschraube (5/16" x 1") und der Unterlegscheibe (5/16") an der Clipmutter der Querträgerhalterung.
Befestigen Sie den rechten vorderen Kotflügel mit zwei Eindrückbefestigungen an der Überrollbügelhalterung.

Richten Sie das Loch im rechten, vorderen Kotflügel mit dem Loch im Plattformboden aus und befestigen Sie den Kotflügel mit einer Kopfschraube (5/16" x 1") und einer Unterlegscheibe (5/16") am Boden.

Richten Sie das Loch in der unteren Bedienfeldabdeckung mit dem Loch im Stützrohr des Stoßdämpfers und dem Loch in der Bedienfeldabdeckung (Abschluss) mit dem Loch im Querträgerrohr aus.

Befestigen Sie die Abdeckungen mit zwei Kopfschrauben (5/16" x 1") und zwei Unterlegscheiben (5/16") an den Rohren.
Fluchten Sie die Riegel der Motorabdeckplatte mit den Büchsen in den Plattenstützhalterungen am Überrollbügel aus.

Montieren Sie die Platte an den Halterungen.
Drehen Sie die Griffriegel nach unten, um die Platte an den Halterungen zu befestigen.
Fluchten Sie den Sitz und die Sitzplatte mit dem Chassis der Maschine aus.

Fluchten Sie die Löcher in den Drehzapfen-Anschlussstücken der Sitzpfanne mit den Löchern in der Chassishalterung aus.


Montieren Sie die Sitzpfanne mit den zwei Lagerbolzen an den Chassishalterungen.
Befestigen Sie die Lagerbolzen mit den zwei Splinten an der Maschine.
Montieren Sie die Stützstange mit der Unterlegscheibe und dem Splint an der Sitzhalterung.

Stecken Sie die 2-polige Buchse des Maschinenkabelbaums in den Stecker für den Sitzschalter, bis die Stecker einrasten.

Drehen Sie den Sitz etwas nach vorne, nehmen Stützstange aus der Arretierung, drehen Sie den Sitz nach unten, bis die Sitzriegel einrasten.
Stecken Sie den Schlüssel in das Zündschloss und drehen ihn in die EIN-Stellung.
Der Willkommensbildschirm wird auf dem InfoCenter-Display angezeigt und die Anzeigelampe leuchtet kurz auf.
Note: Lassen Sie den Motor nicht an.

Drücken Sie auf dem Homebildschirm die mittlere Taste auf dem InfoCenter, um den Navigationsbildschirm zu öffnen.

Drücken Sie die mittlere Taste auf dem InfoCenter, um auf das Hauptmenü zuzugreifen.
Drücken Sie auf dem Bildschirm HAUPTMENü die mittlere Taste, um auf die Option EINSTELLUNG zu navigieren; drücken Sie die rechte Taste, um die Option auszuwählen.

Drücken Sie auf dem Bildschirm EINSTELLUNG die mittlere Taste , um auf die Option GESCHüTZTE EINSTELLUNGEN zu navigieren; drücken Sie die rechte Taste, um die Option auszuwählen.

Geben Sie den PIN-Code wie folgt ein:
Drücken Sie die mittlere Taste nach Bedarf, um die Zahl des PIN-Codes für die linke Position einzugeben.

Drücken Sie die rechte Taste, um auf die nächste Position der Zahl des PIN-Codes zu navigieren.
Wiederholen Sie die Schritte 1 und 2 für die anderen drei Positionen der Zahl des PIN-Codes.
Wenn Sie alle Zahlen des PIN-Codes eingegeben haben, drücken Sie die rechte Taste und drücken Sie dann die mittlere Taste, um den PIN-Code einzugeben.
Die Anzeigelampe leuchtet kurz auf.

Drücken Sie die mittlere Taste, um auf die Option GEOLINK zu navigieren; drücken Sie die rechte Taste, um die Option auszuwählen.

Der GeoLink-Bestätigungsbildschirm wird auf dem InfoCenter angezeigt.

Drehen Sie das Zündschloss in die AUS-Stellung und dann in die EIN-Stellung.
Der Willkommensbildschirm von GEOLINK wird anfänglich angezeigt, wenn Sie das Zündschloss in die EIN-Stellung drehen.

Drehen Sie den Zündschlüssel auf die LAUF-Stellung (für benzinbetriebene Fahrzeuge) oder in die VORGLüHEN/LAUF-Stellung (für dieselbetriebene Fahrzeuge).
Vergewissern Sie sich, dass die folgenden Komponenten anzeigen, dass sie mit Strom versorgt werden:
Bedienkonsole: zeigt Grafiken und Texte an

Satellitenempfänger: die PWR-Anzeige leuchtet

Modem: die LED-Anzeigen leuchten.

Automatische Abschnittssteuerung: die STATUSanzeige leuchtet

Drehen Sie den Zündschlüssel in die AUS-Stellung.
Vergewissern Sie sich, dass die folgenden Komponenten ausgeschaltet sind:
Steuerkonsole
Satellitenempfänger
Automatische Abschnittsteuerung
Siehe Softwarehandbuch für Ihr GeoLink System.
Führen Sie die folgenden Verfahren durch:
Überprüfen Sie die Softwareversion.
Wählen Sie die Maßeinheiten aus.
Erstellen Sie einen Bereich.
Erstellen Sie ein neues Produkt und eine neue Ausbringungsmenge.
Erstellen Sie eine Sprühaufgabe.
Gleichen Sie die Abschnittsventile aus
Überprüfen Sie das Sprühsystem.
Gleichen Sie das Rührwerksicherheitsventil aus.
Kalibrieren Sie den Durchflussmesser.
Überprüfen Sie die Signalstärke des Mobilfunks.
Kalibrieren Sie den Kompass am Standort des Vertriebspartners.
Löschen Sie das NVRAM am Kundenstandort.
Kalibrieren Sie den Kompass am Kundenstandort.