CALIFORNIE
Proposition 65 - Avertissement
L'utilisation de ce produit peut entraîner une exposition à des substances chimiques considérées pas l'état de Californie comme capables de provoquer des cancers, des anomalies congénitales ou d'autres troubles de la reproduction.
![]() |
Des autocollants de sécurité et des instructions bien visibles par l'opérateur sont placés près de tous les endroits potentiellement dangereux. Remplacez tout autocollant endommagé ou manquant. |


Les pièces mobiles peuvent causer des blessures.
N'approchez jamais les mains, les doigts ou les vêtements des pièces mobiles.
N'essayez jamais de manipuler l'accessoire quand le moteur tourne.
Garez la machine sur une surface plane et horizontale, serrez le frein de stationnement (selon l'équipement) et abaissez les bras de chargeuse.
Coupez le moteur et retirez la clé.
Si une rallonge de la barre de sécurité est montée sur le longeron, déposez-la.

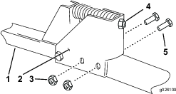
Montez la barre d'extension de la lame profileuse (fournie avec la flèche) par dessus l'extrémité du longeron de sécurité et fixez-la en place à l'aide des 2 boulons et contre-écrous.

Montez le support de fixation de la lame profileuse par dessus l’extrémité de la barre d'extension, et fixez-le en place avec 2 boulons et 2 écrous.

Réglez la lame profileuse de manière que la lame soit à une distance maximale de 3,8 à 6,35 cm (1½ à 2½ po) des dents de la trancheuse. Pour régler le racleur, desserrez ou serrez l'écrou de réglage selon les besoins (Figure 3).
Avant de transporter la trancheuse équipée du racleur, procédez comme suit :
Garez la machine sur une surface plane et horizontale, serrez le frein de stationnement (selon l'équipement) et abaissez les bras de chargeuse.
Coupez le moteur et retirez la clé.
Retirez l'axe de chape et la goupille fendue qui sont rangés dans la barre de la lame profileuse.
Glissez la lame profileuse aussi loin que possible en arrière (Figure 4).

Insérez l'axe de chape dans la coulisse de la lame profileuse et la barre, et fixez-le avec la goupille fendue (Figure 4).
La lame racleuse (Figure 4) qui est montée sur la lame profileuse doit correspondre à la largeur de la chaîne de la trancheuse. Pour remplacer la lame racleuse, retirez les 2 boulons et les 2 écrous de fixation et montez la lame racleuse neuve à sa place.
Note: Les lames racleuses sont légèrement plus étroites que les chaînes avec lesquelles elles doivent être associées. Par exemple, la lame racleuse de 15 cm (6 po) mesure en fait 14 cm (5½ po) de largeur, mais elle est prévue pour une chaîne de trancheuse de 15 cm (6 po).