KALIFORNIEN
Proposition 65 Varning
Användning av produkten kan orsaka kemikalieexponering som av den amerikanska delstaten Kalifornien anses orsaka cancer, fosterskador och andra fortplantningsskador.
![]() |
Säkerhetsdekalerna och säkerhetsinstruktionerna är fullt synliga för föraren och finns nära alla potentiella farozoner. Ersätt dekaler som har skadats eller saknas. |


Kontakt med rörliga delar kan orsaka personskador.
Håll fingrar, händer och kläder på avstånd från rörliga delar.
Försök aldrig att justera redskapet medan motorn är i gång.
Ställ maskinen på ett plant underlag, koppla in parkeringsbromsen (i förekommande fall) och sänk lastarmarna.
Stäng av motorn och ta ut nyckeln.
Om en säkerhetsprofilförlängning är installerad på skenan ska du ta bort den.

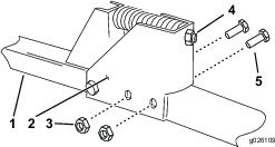
Montera förlängningsstången med renskraparen (medföljer grävarmen) över skyddsskenans ände och fäst den med de två skruvarna och låsmuttrarna.

Montera renskraparens monteringsfäste över änden på förlängningsstången med renskraparen, och fäst det med två skruvar och två muttrar.

Justera renskraparen så att dess blad är mellan 3,8 och 6,35 cm från dikesgrävarens tänder. Om du behöver justera renskraparen lossar du eller drar åt justeringsmuttern efter behov (Figur 3).
Utför följande steg innan du transporterar dikesgrävaren med renskraparen monterad:
Ställ maskinen på ett plant underlag, koppla in parkeringsbromsen (i förekommande fall) och sänk lastarmarna.
Stäng av motorn och ta ut nyckeln.
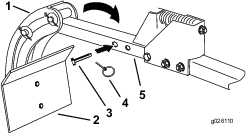
Ta bort saxpinnen och saxpinnen som finns förvarade i renskraparstången.
Skjut tillbaka renskraparen så långt som möjligt (Figur 4).

Montera sprintbulten genom renskraparens reglerdon och stång, och fäst den med saxpinnen (Figur 4).
Skrapan (Figur 4) som monteras på renskraparen ska motsvara grävkedjan som används. Om du behöver byta ut skrapan som sitter på renskraparen tar du bort de två skruvarna och de två muttrarna som håller fast skrapan. Montera sedan den nya skrapan.
Note: Skraporna är något smalare än de kedjor som de hör ihop med. Exempelvis så är den 15-centimetersskrapa som är avsedd att användas med 15-centimetersgrävkedjan i själva verket 14 cm bred.