CALIFORNIA
Advertencia de la Propuesta 65
El uso de este producto puede provocar la exposición a sustancias químicas que el Estado de California considera causantes de cáncer, defectos congénitos u otros trastornos del sistema reproductor.
![]() |
Las calcomanías de seguridad e instrucciones están a la vista del operador y están ubicadas cerca de cualquier zona de peligro potencial. Sustituya cualquier calcomanía que esté dañada o que falte. |


El contacto con las piezas en movimiento puede causar lesiones personales.
Mantenga las manos, los dedos y la ropa alejados de las piezas en movimiento.
No intente nunca manipular el accesorio con el motor en marcha.
Aparque la máquina en una superficie nivelada, ponga el freno de estacionamiento (si hay) y baje los brazos de carga.
Pare el motor y retire la llave.
Si la extensión de la barra de seguridad está instalada en el raíl, retírela.

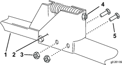
Instale la barra de extensión del rascador (suministrada con la espada) sobre el extremo de la barra de seguridad y sujétela usando los 2 pernos y contratuercas.

Instale el soporte de montaje del rascador sobre el extremo de la extensión de la barra del rascador y fíjelo usando 2 pernos y 2 tuercas.

Ajuste el rascador hasta que la hoja del rascador esté a 3.8–6.35 cm (1½" a 2½") de los dientes de la zanjadora. Para ajustar el rascador, afloje o apriete la tuerca de ajuste, según sea necesario (Figura 3).
Antes de transportar la zanjadora con el rascador montado, complete el procedimiento siguiente:
Aparque la máquina en una superficie nivelada, ponga el freno de estacionamiento (si hay) y baje los brazos de carga.
Pare el motor y retire la llave.
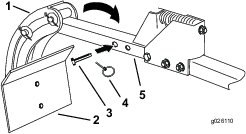
Retire el pasador y la chaveta de la barra del rascador.
Mueva la parte móvil del rascador todo lo posible hacia atrás (Figura 4).

Instale el pasador por el brazo y la barra del rascador y sujételo con la chaveta (Figura 4).
El rascador (Figura 4) instalado en el recogemigas debe corresponder a la anchura de la cadena de la zanjadora. Para sustituir el rascador del recogemigas, retire los 2 pernos y las 2 tuercas que sujetan el rascador, e instale el rascador nuevo en su lugar.
Note: Las palas son algo más estrechas que las cadenas con las que deben emparejarse. Por ejemplo, la pala de 15 cm (6") mide realmente 14 cm (5.5") de ancho, pero debe utilizarse con la cadena de 15 cm (6").